EP0853697B1 - Vorrichtung zum herstellen von vorzugsweise gemusterten textilen bändern, insbesondere von etikettbändern, aus einer schmelzfähiges material aufweisenden breitbahn - Google Patents

Vorrichtung zum herstellen von vorzugsweise gemusterten textilen bändern, insbesondere von etikettbändern, aus einer schmelzfähiges material aufweisenden breitbahn Download PDF

Info

Publication number
EP0853697B1
EP0853697B1 EP96933419A EP96933419A EP0853697B1 EP 0853697 B1 EP0853697 B1 EP 0853697B1 EP 96933419 A EP96933419 A EP 96933419A EP 96933419 A EP96933419 A EP 96933419A EP 0853697 B1 EP0853697 B1 EP 0853697B1
Authority
EP
European Patent Office
Prior art keywords
block
cutting element
leaf spring
broad web
strips
Prior art date
Legal status (The legal status is an assumption and is not a legal conclusion. Google has not performed a legal analysis and makes no representation as to the accuracy of the status listed.)
Expired - Lifetime
Application number
EP96933419A
Other languages
English (en)
French (fr)
Other versions
EP0853697A1 (de
Inventor
Willi Diesner
Marc Vaupel
Current Assignee (The listed assignees may be inaccurate. Google has not performed a legal analysis and makes no representation or warranty as to the accuracy of the list.)
Vaupel Textilmaschinen GmbH and Co KG
Original Assignee
Vaupel Textilmaschinen GmbH and Co KG
Priority date (The priority date is an assumption and is not a legal conclusion. Google has not performed a legal analysis and makes no representation as to the accuracy of the date listed.)
Filing date
Publication date
Priority claimed from DE19536963A external-priority patent/DE19536963A1/de
Application filed by Vaupel Textilmaschinen GmbH and Co KG filed Critical Vaupel Textilmaschinen GmbH and Co KG
Publication of EP0853697A1 publication Critical patent/EP0853697A1/de
Application granted granted Critical
Publication of EP0853697B1 publication Critical patent/EP0853697B1/de
Anticipated expiration legal-status Critical
Expired - Lifetime legal-status Critical Current

Links

Images

Classifications

    • DTEXTILES; PAPER
    • D03WEAVING
    • D03JAUXILIARY WEAVING APPARATUS; WEAVERS' TOOLS; SHUTTLES
    • D03J1/00Auxiliary apparatus combined with or associated with looms
    • D03J1/06Auxiliary apparatus combined with or associated with looms for treating fabric
    • D03J1/08Auxiliary apparatus combined with or associated with looms for treating fabric for slitting fabric
    • DTEXTILES; PAPER
    • D06TREATMENT OF TEXTILES OR THE LIKE; LAUNDERING; FLEXIBLE MATERIALS NOT OTHERWISE PROVIDED FOR
    • D06HMARKING, INSPECTING, SEAMING OR SEVERING TEXTILE MATERIALS
    • D06H7/00Apparatus or processes for cutting, or otherwise severing, specially adapted for the cutting, or otherwise severing, of textile materials
    • D06H7/22Severing by heat or by chemical agents

Definitions

  • the invention relates to a device in the preamble of Claim 1 specified type.
  • DE 25 16 057 A shows a device of another type, where a coulter of heated cutting knives sit on a crossbar, which from a Drive device is moved back and forth parallel to the fabric.
  • Moveable with the traverse is a cross across the Breitbahn Rod where smoothing plates arranged on the back of the long grain are slidably arranged for the rough melting edges. It takes up a lot of space.
  • Other smoothing plates are also on the top of the Breitbahn arranged on a holder for the cutting knife. All cutting knives and smoothing plates are moved together. Through the common The rod for all edge sheets is used to smooth the melting edges required heat dissipated too quickly, which is why not sufficiently smooth Edges can be created from the smoothing plates.
  • the exact setting the smoothing plates provided on both sides and their change in position according to the desired range of those to be cut Tapes is awkward. This must also be agreed with the corresponding adjustment of the cutting knife happen, which is time consuming is.
  • DE 23 07 096 A shows a spacer for a cutting head, the various workpieces made of metal or plastic using laser beams cut up.
  • a spacer can be made from a sliding shoe which, like a sewing machine foot, is slit longitudinally around the cutting edge Allow the beam to pass through the slot area. For a smoothing of the edges this laser beam does not occur on both sides of the separating cut on.
  • the slotted shoe does not require any post-treatment on the cut edges of the workpiece.
  • the invention has for its object an inexpensive, space-saving Develop device of the type mentioned in the preamble of claim 1 which are not only compact and easy to use but also ideal soft edges on those cut from the long grain Permitted to produce tapes. This is done according to the invention achieved the measures mentioned in the characterizing part of claim 1, those has the following special meaning.
  • each block those are effective in the area of a single cut Elements grouped together.
  • This triple is oriented exactly to each other in the block and forms a common one Unit.
  • a cutting member For the treatment of cuts occurring on both sides of a cut a single one serves both melting edges on the back of the Breitbahn Support member and on the top a common resilient pressure member.
  • Both the support member and the pressure member of this unit are massive small, common to all other components of the device Block thermally separated elements, which cool down too quickly avoid melting edges. These elements benefit from the warmth the melt and do not normally need to be additionally heated become.
  • This combination of the three elements with the block allowed a very space-saving construction.
  • the belts When changing the desired width the belts only need to be moved the entire block along the beam to become, whereby the cutting member, pressure member and the support member after assume the same ideal position in relation to each other. Man receives strips with perfect edges.
  • the pressure member is a leaf spring according to claim 2 and to provide this with an opening for the cutting member.
  • the Press-effective zone of the spring for smoothing the edges can be in the prefabricated unit very precisely and very close to the heated one Bring the cutting link so that the plastic consistency of the edge areas guaranteed by the smoothing by the spring and the fixed support member is.
  • the low mass of such a leaf spring prevents undesirable Dissipation of heat from the plastic edge areas. That leaves the plastic state in the press area between the leaf spring and the Get support link.
  • the heat of the heated cutting element can be Radiation or convection can be transmitted to the leaf spring. By the breakthrough, the leaf spring acts like a collector for heat.
  • FIG. 1 shows the application of the device 20 according to the invention in a weaving machine, where a broad web 10 made of warp threads 11 and through Registration of one or more different weft threads as Tissue 12 is generated.
  • the warp threads 11 must be woven during the relatively high thread tension already mentioned, which up to 40 g per warp thread 11.
  • the warp threads 11 spread to a shed 13 by means of shedding devices, for which so-called shafts 14 are provided in FIG. 1 by their strands the individual warp threads 11 are passed.
  • the stems 14 will in the sense of the arrows, according to the weaving pattern, in the Shed 13 moves up and down.
  • the warp threads 11 are through a reed 15 pulled, with which the wefts 12 entered in each case the finished tissue can be pressed on.
  • the finished fabric 10 is about a breast boom 16 led to a take-off roller 17, the feed of the tissue.
  • the Breitbahn fabric is in frictional engagement with the circumference of the take-off roller 17, which absorbs the high thread tension.
  • the behind the take-off roller 17 arranged deflection rollers 18 transport the there tissue section 40 with a much lower tension from a maximum of 20 g per warp thread to a fabric tree 19.
  • tissue section 40 there is at least one according to the invention Device 20 to be described in more detail.
  • the device 20 is attached to a support 41 which extends across the entire width of the fabric 10 runs. Numerous devices 20 sit on the carrier 41, which, according to their number and their distance from each other, the Breitbahn fabric 10 divide into a corresponding group of individual bands 10 '.
  • the thread material of the weft threads 12 and / or the warp threads 11 is meltable, d. that is, it can be cut using heat.
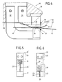
  • a cutting element 21 provided in the device 20 serves for this purpose in the first embodiment of FIGS. 2 to 8 from a heated wire consists. Belongs to this heated wire 21 in a compact arrangement another pressure member 22, which in the present case consists of a leaf spring 22 exists.
  • the leaf spring 22 is, according to FIG. 6, with a gap 24 trained breakthrough, the gap opening 25 for free Leaf end is open. 5 could be the breakthrough of the leaf spring 22 'alternatively from a slot enclosed on all sides by the sheet material 24 'exist.
  • the leaf spring 22 is opposite with one Blade end 26 stationary on a housing to be described in more detail 50 attached and has an angled free sheet portion 27. This angled sheet section 27 moves in the opposite direction to the transport movement 42 of the broad web 10 from the fabric and therefore acts as a run-up slope.
  • the leaf spring 22 is also bent in a Z-shape and rests with a central section 28 on a stationary support member 33, which forms the third element of the device 20 and on the housing 30 is attached.
  • the leaf spring 22 is under one because of it Kinks defined the spring tension of their resilient sheet material and presses with its central section 28 the tissue 10 or the tissue cut therefrom Bands 10 'from the top of the fabric against that on the bottom of the fabric arranged support member 33.
  • the leaf spring 22 belongs to the breakthrough penetrating wire 21 and finally this leaf spring 22nd assigned support member 33 to a compact unit 30, which on the desired separation point of the Breitbahn 10 is mounted.
  • This unit 30 is part of a block 35, which has a plate shape, made of insulation material exists and is part of the housing 50 already mentioned.
  • two electrical connections 31 protrude, 32 which here consist of angular metal sheets, one of which is 21 above and the other 32 below the Breitbahn 10 lie.
  • the lower plate 32 carries the support member 33, which is a wedge-shaped Has cross-sectional profile.
  • Wedge tip 34 of support member 33 is directed downwards to the assembly of the block 35 on the long grain 10, which is done from the top of the web.
  • the wedge tip 34 opposite wedge surface 36 is flat, stands with the Underside of the Breitbahn 10 in surface contact and serves as an abutment for the leaf spring 22 supported thereon under spring pressure
  • a fastening means sits at the front end face of the wedge-shaped support member 33 37 for the lower end of the wire 21.
  • the upper sheet 31 is provided at the end with a thickened head 38, which is also a fastener 39 for the other end of the wire 21.
  • An electrical cable 43 is led out at the upper end of the block 35, the electrical supply lines for the heating current of the wire 21st possesses that, which cannot be seen in more detail, in electrical connection stand with the aforementioned angular sheets 31, 32.
  • the electrical Cable 43 may also include electrical control lines.
  • the electrical Lines of the cable 43 are contacted with electrical components 44, which are arranged inside the block 35 and for heating control of the Serve wire 21.
  • the electrical components 44 are expediently Part of an electrical circuit board 45, which is inside the block 35 is integrated.
  • function indicators can also sit, which protrude from block 35 and Z. B. the thermal operating state of the wire 21 visible do.
  • the function displays 47 in the present case consist of a red and a green glow lamp.
  • the block 35 is part of a housing 50, which in the present case simply consists of two flat side plates 51, 52 exists, the distance 53 from each other simply by the plate thickness of the intermediate block 35 is determined.
  • Block 35 becomes sandwich-like between the two side plates 51, 52 by fastening screws braced which holes 55 protrude in block 35 and both ends are anchored in the side plates 51, 52.
  • the assembly 30 is attached to the already mentioned by means of the housing 50 Carrier 41 attached, the here from a cross across the fabric Support rail 41 is made.
  • the mounting rail has to hold the housing 50 41 an upper and a lower profile bar 48, 49.
  • the lower profile bar 48 has an edge cross section which is used to guide the housing 50 serves along the mounting rail 41 and in a corresponding angular Cutout 58 at the rear end of the two housing side plates 51, 52 engages.
  • the upper profile bar 48 of the mounting rail 41 is in the case of attachment gripped by a snap spring 59, which acts as a holding means of the housing 50 acts.
  • the snap spring 59 is, as shown in FIG.
  • the insert 54 is also effective on the front end face the upper profile bar 49.
  • the insert 54 is also sandwich-like clamped between the two side plates 51, 52, including the plate-shaped Block 35 at its end facing the mounting rail 41 has step-shaped outbreak 57.
  • the snap spring 59 reaches behind a rear edge of the upper profile bar 49 and holds the housing 50 under spring tension positively on the mounting rail 41.
  • the outbreak 57 of the plate-shaped block 35 is also yet another Insert 56, which acts as a guide on the front end face when installed the lower profile bar 48 is guided.
  • This insert too 56 is provided with holes for fastening screws that the insert 56 sandwich between the two side plates 51, 52.
  • the snap spring 59 can by a tool, for. B. a screwdriver, from their mounting position engaging behind the upper profile strip 49 Fig. 2 are solved.
  • the housing 50 is in the sense of the pivot arrow 65 can be tilted away from the mounting rail 41 in order to remove it from the mounting rail 41 to be able to disassemble.
  • the pivot point for this pivoting movement 65 then lies in the area of the described plate cutouts 58 on the lower one Profile bar 48.
  • the housing 50 After pivoting away 65, the housing 50 also subtracted from the lower profile bar 48 and thus comfortably from the support rail 41 are removed.
  • the assembly of the housing 50 on the mounting rail 41 takes place in the opposite sense.
  • actuating means 60 are also provided on the housing 50, the to its longitudinal adjustment in the sense of the double arrow 66 along the Serve rail 41 as shown in FIG. 3. This is required to get the exact one Adjust the width of the strips 10 'to be cut.
  • These positioning devices 60 comprise pinions 62, which have toothed racks provided on the mounting rail 41 61 are engaged.
  • the racks 61 are on the front End face of the mounting rail 41 between the two profile strips mentioned 48, 49 arranged.
  • the adjusting means 60 on the housing side are in the spacing space 63 arranged and located between the two side plates 51, 52 located in the outbreak 57 of the interposed already mentioned several times Blocks 35.
  • the pinion 62 sit on a shaft 63, which with their Actuating end 68 protrudes at the upper end of the housing 50 and is pivoted in an upper and lower bearing 64, 67, which is in the mentioned insert pieces 54, 56. Through a turning tool the shaft 63 can be rotated in the direction of the actuating arrow 69 of FIG. 2, which causes the longitudinal adjustment 66 of the housing 50 on the mounting rail 41 is coming.
  • the slot 24 allows it, the heatable wire 21 very close to the edge 23 of the slit-shaped To arrange opening 24 of the leaf spring 22.
  • the apparent from Fig. 8 Distances 75, 76 between the rear and side edges 23 can are less than 1 mm; 0.75 mm spacing 75 or 76 are sufficient.
  • the thread material 11, 12 of the broad web 10 can already be in the temperature range melt between 160 ° and 200 ° C.
  • the wire 21 itself can heated to red heat and therefore a temperature of over 400 ° receive.
  • a separating cut 70 which the wide fabric 10 in the divides the two bands 10 'shown in FIG. 8.
  • the resulting melting edges 77 are from the previously described effective zone 29 the leaf spring 22 is reshaped and smoothed on the support member 33. In the zone 29 effective for pressing, the two melting edges 77 are still plastic.
  • the leaf spring heats up indirectly through the strongly heated Wire 21.
  • the heat transfer to the leaf spring 22 can convection flow or heat radiation emanating from the heated wire 21 act on the leaf spring 22.
  • the angled course mentioned between the center piece and the End piece 27 of the leaf spring 22 favorable.
  • the cutting member consists of a bow-shaped blade 71.
  • the blade 71 has a U-shape, the temple thickness in the region 74 of the temple apex much flatter than in the area of the two ends 72, 73 of the is formed two bow legs. This causes flow of the heating current to a maximum heating in the area 74 of the temple apex.
  • the bow-shaped blade 71 passes through with her U-apex region 74 the slot 24 'of the leaf spring already described 22 ', which is used in this device 20' as a pressure member.
  • the two electrical connections 78, 79 of this Cutting member 71 on the same side of the wide web 10.
  • the leg ends 72, 73 are attached to a slide 80, which in the sense of the push arrow 81 is spring-loaded against the support member 33 'of the device 20'.
  • the Slider 80 is in a housing, not shown, of this device 20 'guided in its direction of displacement 81. On this case is the end 25 already described in connection with FIG. 5 the leaf spring 22 'attached.
  • This device 20 ' can also be used in a corresponding number arranged on a mounting rail and adjustable in the longitudinal direction of the rail, as described in connection with the device 20 is.
  • a difference in the device 20 ' is that all Devices 20 'is assigned a common support member 33'.
  • This consists of a multi-layer rod. This includes a central one Cartridge 82, z. B. steel clad is.
  • In the jacket 83 there is a longitudinal groove in which a round rod 84 is arranged from ceramic material.
  • the round rod 84 serves as an abutment for the blade 71 and, together with the jacket 83, also as a support member for the leaf spring 22 '.
  • the ceramic rod 84 forms an edge for deflection of the fabric between the broad web 10 and the cut bands 10 '.
  • the devices 20 and in particular 20 'according to the invention need not to be integrated in a loom according to FIG. 1.
  • Such an "on-loom” design could also be part of the device a cutting table, where one is previously on a loom or Breitbahn 10 produced on a knitting machine subsequently into individual Bands 10 'to be cut. In this case there is an "off-loom” version in front.
  • a heat treatment is used to smooth the fabric after weaving referred to as "heat setting". This heat setting is best done in the area of the take-off roller 17.
  • the necessary Means 85 are shown in FIG. 1.

Landscapes

  • Engineering & Computer Science (AREA)
  • Textile Engineering (AREA)
  • Treatment Of Fiber Materials (AREA)

Description

Die Erfindung richtet sich auf eine Vorrichtung der im Oberbegriff des Anspruches 1 angegebenen Art.
Um Etikettbänder herzustellen, webt man zunächst auf einer Webmaschine eine Breitbahn, in welcher mehrere Etikettbänder randseitig zusammenhängend in benachbarten Bahnzonen erzeugt werden. Dann wird die Breitbahn zwischen den einzelnen Bahnzonen durch Schneidglieder in einzelne Bänder zerschnitten. Dafür verwendet man z. B. einen ortsfest in der Breitbahn angeordneten beheizten Draht, der einen Schmelzschnitt erzeugt und zugleich die geschnittenen Fadenenden miteinander verschmilzt, so daß die Schnittkanten nicht ausfransen können. Es entstehen Schmelzkanten an den Bändern. Diese Schmelzkanten sind verhältnismäßig hart und besitzen ein rauhes Profil, wenn sie nicht nachbehandelt werden. Werden derartige, unbehandelte Etiketten an Kleidungsstücken befestigt, so wirken sich die rauhen Bandkanten unangenehm beim Tragen solcher Kleidungsstücke aus.
Um die rauhen Schmelzkanten der Bänder zu glätten, verwendet man ein federndes Druckglied, welches die geschnittenen Bänder im Kantenbereich jeweils gegen ein ortsfestes Stützglied preßt. Bei der bekannten Vorrichtung dieser Art (WO 93/02246) verwendet man für die Nachbehandlung der rauhen Bandkanten ein gegeneinander gepreßtes Walzenpaar, wo zwischen den beiden Walzen die geschnittenen Bänder durchgezogen werden. Als beheiztes Schneidglied wird ein Draht verwendet. Schon wegen des Walzendurchmessers muß die Nachbehandlungseinrichtung in beachtlichem Abstand zum Heizdraht angeordnet sein. Die vom Schneidglied kommenden Schmelzkanten der Bänder härten auf ihrem Weg bis zu den Walzen aus. Dies gilt insbesondere dann, wenn diese Vorrichtung in eine Webmaschine integriert ist, auf welcher zugleich die Breitbahn gewebt wird. Beim Weben ergibt sich nämlich nur ein sehr langsamer Vorschub der Breitbahn, weshalb es lange dauert, bis die vom Schneidglied kommenden Schmelzkanten der beiden geschnittenen Bänder zu den die nachbehandelnden Walzen gelangen. Außerdem würden unbeheizte Walzen wegen ihrer verhältnismäßig großen Masse eine möglicherweise noch in der Schmelzkante der Bänder verbleibende Restwärme zu schnell abführen und das Aushärten der Schmelzkanten so beschleunigen, daß die Nachbehandlung nicht mehr durchgeführt werden kann. Daher ist eine eigenständige Erwärmung der Walzen erforderlich, um die ausgehärteten Schmelzkanten der Bänder im Walzenbereich wieder aufzuweichen. Diese bekannte Vorrichtung ist verhältnismäßig platzaufwendig und erfordert für die Erwärmung der Nachbehandlungseinrichtung einen technischen Aufwand. Diese Vorrichtung ist verhältnismäßig kostspielig.
Bei der bekannten Vorrichtung dieser Art (GB 2 139 937 A) verwendet man für die Nachbehandlung der rauhen Bandkanten einen beheizten Fuß, der von einem federbelasteten Kolben gegen die Schmelzkanten der zu behandelnden Bänder gedrückt wird. In diesem Fall gibt es kein Stützglied, das auf der gegenüberliegenden Seite der Bänder angeordnet ist. Auch diese Vorrichtung ist verhältnismäßig platzaufwendig und besitzt einen komplizierten, störanfälligen Aufbau für die Beheizung des Fußes.
Die DE 25 16 057 A zeigt eine Vorrichtung anderer Art, wo eine Schar von beheizten Schneidmessern an einer Traverse sitzen, welche von einer Antriebsvorrichtung parallel zur Stoffbahn hin- und herbewegt wird. Mitbeweglich mit der Traverse ist eine quer über die Breitbahn verlaufende Stange, wo auf der Rückseite der Breitbahn angeordnete Glättungsbleche für die rauhen Schmelzkanten verschieblich angeordnet sind. Das ist platzaufwendig. Weitere Glättungsbleche sind aber auch auf der Oberseite der Breitbahn an einem Halter für die Schneidmesser angeordnet. Alle Schneidmesser und Glättungsbleche werden gemeinsam bewegt. Durch die gemeinsame Stange für alle Kantenbleche wird die zur Glättung der Schmelzkanten erforderliche Wärme zu schnell abgeführt, weshalb keine ausreichend glatten Kanten von den Glättungsblechen erzeugt werden können. Die genaue Einstellung der auf beiden Seiten vorgesehenen Glättungsbleche und ihre Lageveränderung entsprechend der jeweils gewünschten Bandbreite der zu zerschneidenden Bänder ist umständlich. Dies muß auch in Abstimmung mit der entsprechenden Verstellung der Schneidmesser geschehen, was zeitraubend ist.
Die DE 23 07 096 A zeigt einen Distanzhalter für einen Schneidkopf, der mittels Laserstrahlen verschiedene Werkstücke aus Metall oder Kunststoff zerschneiden soll. Ein solcher Distanzhalter kann aus einem Gleitschuh bestehen, der, wie ein Nähmaschinen-Fuß, längsgeschlitzt ist, um den schneidenden Strahl im Schlitzbereich durchzulassen. Auf eine Glättung der Kanten beidseitig des Trennschnitts kommt es bei diesem Laserstrahl nicht an. Der geschlitzte Gleitschuh führt keine Nachbehandlung an den Schnittkanten des Werkstücks aus.
Der Erfindung liegt die Aufgabe zugrunde, eine preiswerte, raumsparende Vorrichtung der im Oberbegriff des Anspruches 1 genannten Art zu entwickeln, welche nicht nur kompakt ausgebildet und bequem zu handhaben ist, sondern auch ideale weiche Kanten an den aus der Breitbahn geschnittenen Bändern herzustellen gestattet. Dies wird erfindungsgemäß durch die im Kennzeichen des Anspruches 1 genannten Maßnahmen erreicht, denen folgende besondere Bedeutung zukommt.
In jedem Block sind die im Bereich eines einzelnen Trennschnitts wirksamen Elemente baueinheitlich zusammengefaßt. Es sind nur drei Elemente, nämlich ein Schneidglied, ein Druckglied und ein Stützglied. Dieses Tripel ist in dem Block exakt zueinander orientiert und bildet eine gemeinsame Baueinheit. Zur Behandlung der beidseitig eines Trennschnitts entstehenden beiden Schmelzkanten dient auf der Rückseite der Breitbahn ein einziges Stützglied und auf der Oberseite ein gemeinsames federndes Druckglied. Sowohl das Stützglied als auch das Druckglied dieser Baueinheit sind massemäßig kleine, von allen übrigen Bauteilen der Vorrichtung im gemeinsamen Block thermisch getrennte Elemente, welche eine zu schnelle Abkühlung der Schmelzkanten vermeiden. Diese Elemente profitieren von der Wärme der Schmelze und brauchen normalerweise nicht zusätzlich erwärmt zu werden. Diese Kombination der drei Elemente mit dem Block erlaubt einen sehr raumsparenden Aufbau. Bei Änderung der gewünschten Breite der Bänder braucht nur der ganze Block entlang des Trägers verschoben zu werden, wodurch das Schneidglied, Druckglied und das Stützglied nach der Verstellung die gleiche ideale Position zueinander einnehmen. Man erhält dadurch Bänder mit einwandfreien Kanten.
Es empfiehlt sich, das Druckglied als Blattfeder nach Anspruch 2 auszubilden und diese mit einem Durchbruch für das Schneidglied zu versehen. Die zur Glättung der Kanten dienende preßwirksame Zone der Feder läßt sich in der vorgefertigten Baueinheit sehr genau und sehr nahe an das beheizte Schneidglied bringen, so daß die plastische Konsistenz der Kantenbereiche bei der Glättung durch die Feder und das feste Stützglied gewährleistet ist. Die geringe Masse einer solchen Blattfeder verhindert eine unerwünschte Ableitung der Wärme aus den plastischen Kantenbereichen. Damit bleibt der plastische Zustand im Preßbereich zwischen der Blattfeder und dem Stützglied erhalten. Die Wärme des beheizten Schneidgliedes kann durch Strahlung oder Konvektion auf die Blattfeder übertragen werden. Durch den Durchbruch wirkt die Blattfeder wie ein Kollektor für die Wärme.
Weitere Maßnahmen und Vorteile der Erfindung ergeben sich aus den Unteransprüchen, der nachfolgenden Beschreibung und den Zeichnungen. In den Zeichnungen ist die Erfindung in mehreren Ausführungsbeispielen dargestellt. Es zeigen:
Fig. 1
in schematischer Darstellung einen Querschnitt durch eine Webmaschine, wo die besondere Lage der erfindungsgemäßen Vorrichtung verdeutlicht ist,
Fig. 2,
in geschnittener Seitenansicht längs der Schnittlinie II-II von Fig. 3 und in Vergrößerung, eine kompakte Vorrichtung nach der Erfindung,
Fig. 3
die Draufsicht auf die in Fig. 2 gezeigte Vorrichtung,
Fig. 4,
in einer der Fig. 2 entsprechenden Darstellung und in weiterer Vergrößerung, ein Detail der Vorrichtung,
Fig. 5 und 6
zwei Varianten eines Bauteils der in Fig. 2 bis 4 bzw. in Fig. 9 gezeigten Vorrichtung,
Fig. 7
ein gegenüber Fig. 4 noch größer dargestelltes Detail der dortigen Vorrichtung,
Fig. 8
eine längs der Schnittlinie VIII-VIII von Fig. 7 geschnittene Draufsicht auf das in Fig. 7 gezeigte Detail der Vorrichtung, und
Fig. 9,
in einer zu Fig. 4 analogen Darstellung, eine alternative Ausbildung der erfindungsgemäßen Vorrichtung.
Die Fig. 1 zeigt die Anwendung der erfindungsgemäßen Vorrichtung 20 in einer Webmaschine, wo eine Breitbahn 10 aus Kettfäden 11 und durch Eintragung von einem oder mehreren unterschiedlichen Schußfäden als Gewebe 12 erzeugt wird. Die Kettfäden 11 müssen beim Weben unter der bereits erwähnten verhältnismäßig hohen Fadenspannung stehen, die bis zu 40 g pro Kettfaden 11 beträgt. Um die Kettfäden 11 mit dem jeweils eingetragenen Schußfaden 12 verkreuzen zu können, werden die Kettfäden 11 zu einem Webfach 13 mittels Fachbildungs-Einrichtungen gespreizt, wofür in Fig. 1 sogenannte Schäfte 14 vorgesehen sind, durch deren Litzen die einzelnen Kettfäden 11 hindurchgeführt sind. Die Schäfte 14 werden im Sinne der eingezeichneten Pfeile, entsprechend dem Webmuster, im Webfach 13 auf- und abbewegt. Die Kettfäden 11 sind durch ein Riet 15 gezogen, mit welchem die jeweils eingetragenen Schußfäden 12 an das fertige Gewebe angedrückt werden. Das fertige Gewebe 10 wird über einen Brustbaum 16 zu einer Abzugswalze 17 geführt, die den Vorschub des Gewebes bestimmt.
Das Breitbahn-Gewebe steht in Reibungseingriff mit dem Umfang der Abzugswalze 17, die dadurch die hohe Fadenspannung aufnimmt. Die hinter der Abzugswalze 17 angeordneten Umlenkwalzen 18 transportieren den dortigen Gewebeabschnitt 40 mit einer wesentlich niedrigeren Spannung von maximal 20 g pro Kettfaden bis zu einem Warenbaum 19 weiter. In diesem Gewebeabschnitt 40 ist wenigstens eine erfindungsgemäße, noch näher zu beschreibende Vorrichtung 20 angeordnet. Die Vorrichtung 20 ist an einem Träger 41 befestigt, der quer über die ganze Breite des Gewebes 10 verläuft. Am Träger 41 sitzen zahlreiche Vorrichtungen 20, welche, entsprechend ihrer Anzahl und ihrem Abstand zueinander, das Breitbahn-Gewebe 10 in eine entsprechende Schar von einzelnen Bändern 10' zerteilen.
Das Fadenmaterial der Schußfäden 12 und/oder der Kettfäden 11 ist schmelzfähig, d. h., es läßt sich unter Anwendung von Wärme zerschneiden. Dazu dient ein in der Vorrichtung 20 vorgesehenes Schneidglied 21, das im ersten Ausführungsbeispiel von Fig. 2 bis 8 aus einem beheizten Draht besteht. In kompakter Anordnung zu diesem beheizten Draht 21 gehört noch ein Druckglied 22, das im vorliegenden Fall aus einer Blattfeder 22 besteht. Die Blattfeder 22 ist, gemäß Fig. 6, mit einem als Spalt 24 ausgebildeten Durchbruch versehen, dessen Spaltöffnung 25 zum freien Blattende hin offen ist. Gemäß Fig. 5 könnte der Durchbruch der Blattfeder 22' alternativ aus einem allseitig vom Blattmaterial umschlossenen Schlitz 24' bestehen. Die Blattfeder 22 ist mit ihrem einen gegenüberliegenden Blattende 26 ortsfest an einem noch näher zu beschreibenden Gehäuse 50 befestigt und besitzt einen abgewinkelten freien Blattabschnitt 27. Dieser abgewinkelte Blattabschnitt 27 entfernt sich in Gegenrichtung zur Transportbewegung 42 der Breitbahn 10 vom Gewebe und wirkt daher als Auflaufschräge. Die Blattfeder 22 ist in sich auch noch Z-förmig geknickt und liegt mit einem Mittelabschnitt 28 an einem ortsfesten Stützglied 33 an, welches das dritte Element der Vorrichtung 20 bildet und am Gehäuse 30 befestigt ist. Die Blattfeder 22 steht dabei unter einer aufgrund ihrer Knickungen definierten Federspannung ihres federnden Blattmaterials und preßt mit ihrem Mittelabschnitt 28 das Gewebe 10 bzw. die daraus geschnittenen Bänder 10' von der Gewebeoberseite aus gegen das auf der Gewebeunterseite angeordnete Stützglied 33. Die preßwirksamen Zonen 29 der Blattfeder 22 bzw. 22' sind vom Rand 23 bzw. 23' des Durchbruchs 24 bzw. 24' begrenzt und in Fig. 5 und 6 durch Punktschraffur hervorgehoben.
Wie aus Fig. 2 zu erkennen ist, gehört die Blattfeder 22, der ihren Durchbruch durchgreifende Draht 21 und schließlich das dieser Blattfeder 22 zugeordnete Stützglied 33 zu einer kompakten Baueinheit 30, die an der gewünschten Trennstelle der Breitbahn 10 montiert ist. Diese Baueinheit 30 ist Bestandteil eines Blocks 35, der Plattenform aufweist, aus Isolationsmaterial besteht und Bestandteil des bereits erwähnten Gehäuses 50 ist. Am unteren Ende des Blocks 35 ragen zwei elektrische Anschlüsse 31, 32 heraus, die hier aus winkelförmigen metallischen Blechen bestehen, von denen eines 21 oberhalb und das andere 32 unterhalb der Breitbahn 10 liegen. Das untere Blech 32 trägt das Stützglied 33, welches ein keilförmiges Querschnittsprofil besitzt. Die Keilspitze 34 des Stützglieds 33 ist nach unten gerichtet, um die Montage des Blocks 35 an der Breitbahn 10, die von der Bahnoberseite aus erfolgt, zu erleichtern. Die der Keilspitze 34 gegenüberliegende Keilfläche 36 ist eben ausgebildet, steht mit der Unterseite der Breitbahn 10 in Flächenberührung und dient als Widerlager für die unter Federdruck sich daran abstützende Blattfeder 22. An der vorderen Stirnfläche des keilförmigen Stützglieds 33 sitzt ein Befestigungsmittel 37 für das untere Ende des Drahtes 21. Das obere Blech 31 ist endseitig mit einem verdickten Kopf 38 versehen, der ebenfalls ein Befestigungsmittel 39 für das andere Ende des Drahtes 21 besitzt.
Am oberen Ende des Blocks 35 ist ein elektrisches Kabel 43 herausgeführt, das elektrische Versorgungsleitungen für den Heizstrom des Drahtes 21 besitzt, die, was nicht näher zu erkennen ist, in elektrischer Verbindung mit den vorerwähnten winkelförmigen Blechen 31, 32 stehen. Das elektrische Kabel 43 kann auch elektrische Steuerleitungen beinhalten. Die elektrischen Leitungen des Kabels 43 sind mit elektrischen Bauteilen 44 kontaktiert, die im Inneren des Blocks 35 angeordnet sind und zur Heizsteuerung des Drahtes 21 dienen. Zweckmäßigerweise sind die elektrischen Bauteile 44 Bestandteil einer elektrischen Leiterplatte 45, die im Inneren des Blocks 35 integriert ist. Dazu kann die Leiterplatte 45 zusammen mit den Bauteilen 44 und dem hineinragenden Ende des Kabels 43 mittels einer Kunststoffmasse in einem Kanal 46 des Blocks 35 eingegossen sein. An der Leiterplatte 45 können zugleich Funktionsanzeigen sitzen, die aus dem Block 35 herausragen und z. B. den thermischen Betriebszustand des Drahtes 21 sichtbar machen. Die Funktionsanzeigen 47 bestehen im vorliegenden Fall aus einer roten und einer grünen Glimmlampe.
Wie bereits erwähnt wurde, ist der Block 35 Bestandteil eines Gehäuses 50, das im vorliegenden Fall einfach aus zwei ebenen Seitenplatten 51, 52 besteht, deren Abstand 53 zueinander einfach durch die Plattendicke des dazwischenliegenden Blocks 35 bestimmt ist. Der Block 35 wird sandwichartig zwischen den beiden Seitenplatten 51, 52 durch Befestigungsschrauben verspannt, welche Bohrungen 55 im Block 35 durchragen und beidendig in den Seitenplatten 51, 52 verankert sind.
Die Baueinheit 30 wird mittels des Gehäuses 50 an dem bereits erwähnten Träger 41 befestigt, der hier aus einer quer über das Gewebe verlaufenden Tragschiene 41 besteht. Zur Halterung des Gehäuses 50 besitzt die Tragschiene 41 eine obere und eine untere Profilleiste 48, 49. Die untere Profilleiste 48 hat einen Kantenquerschnitt, der zur Führung des Gehäuses 50 entlang der Tragschiene 41 dient und in einen entsprechenden kantigen Ausschnitt 58 am hinteren Ende der beiden Gehäuse-Seitenplatten 51, 52 eingreift. Die obere Profilleiste 48 der Tragschiene 41 wird im Befestigungsfall von einer Schnappfeder 59 hintergriffen, die als Haltemittel des Gehäuses 50 fungiert. Die Schnappfeder 59 ist dabei, wie Fig. 3 zeigt, im Abstandsraum 53 zwischen den beiden Seitenplatten 51, 52 angeordnet und sitzt an einem Einsatzstück 54, das wiederum durch Bohrungen durchgreifende Schrauben zwischen den beiden Platten 51, 52 befestigt ist. Das Einsatzstück 54 liegt auch führungswirksam an der vorderen Stirnfläche der oberen Profilleiste 49 an. Das Einsatzstück 54 ist ebenfalls sandwichartig zwischen den beiden Seitenplatten 51, 52 eingespannt, wozu der plattenförmige Block 35 an seinem der Tragschiene 41 zugekehrten Ende einen stufenförmigen Ausbruch 57 besitzt.
Im Befestigungsfall hintergreift, wie Fig. 2 zeigt, die Schnappfeder 59 eine hintere Kante der oberen Profilleiste 49 und hält das Gehäuse 50 unter Federspannung formschlüssig an der Tragschiene 41 fest. Im Ausbruch 57 des plattenförmigen Blocks 35 befindet sich auch noch ein weiteres Einsatzstück 56, das im Montagefall führungswirksam an der vorderen Stirnfläche der unteren Profilleiste 48 geführt wird. Auch dieses Einsatzstück 56 ist mit Bohrungen für Befestigungsschrauben versehen, die das Einsatzstück 56 zwischen den beiden Seitenplatten 51, 52 sandwichartig halten. Die Schnappfeder 59 kann durch ein Werkzeug, z. B. einen Schraubendreher, aus ihrer die obere Profilleiste 49 hintergreifenden Montagestellung von Fig. 2 gelöst werden. Dann ist das Gehäuse 50 im Sinne des Schwenkpfeils 65 von der Tragschiene 41 wegkippbar, um es von der Tragschiene 41 demontieren zu können. Der Drehpunkt für diese Schwenkbewegung 65 liegt dann im Bereich der beschriebenen Plattenausschnitte 58 an der unteren Profilleiste 48. Nach dem Wegschwenken 65 kann das Gehäuse 50 auch von der unteren Profilleiste 48 abgezogen und damit bequem von der Tragschiene 41 entfernt werden. Die Montage des Gehäuses 50 an der Tragschiene 41 erfolgt im umgekehrten Sinne.
Bei der Erfindung sind am Gehäuse 50 auch noch Stellmittel 60 vorgesehen, die zu seiner Längsverstellung im Sinne des Doppelpfeils 66 entlang der Tragschiene 41 gemäß Fig. 3 dienen. Dies ist erforderlich, um die genaue Breite der zu zerschneidenden Bänder 10' einzustellen. Diese Stellmittel 60 umfassen Ritzel 62, die mit an der Tragschiene 41 vorgesehenen Zahnstangen 61 in Eingriff stehen. Die Zahnstangen 61 sind an der vorderen Stirnfläche der Tragschiene 41 zwischen den beiden erwähnten Profilleisten 48, 49 angeordnet. Die gehäuseseitigen Stellmittel 60 sind im Abstandsraum 63 zwischen den beiden Seitenplatten 51, 52 angeordnet und befinden sich in dem bereits mehrfach erwähnten Ausbruch 57 des dazwischen angeordneten Blocks 35. Die Ritzel 62 sitzen auf einer Welle 63, die mit ihrem Betätigungsende 68 am oberen Ende des Gehäuses 50 herausragt und in einem oberen und unteren Lager 64, 67 drehgelagert ist, welches sich in den erwähnten Einsatzstücken 54, 56 befindet. Durch ein Drehwerkzeug läßt sich die Welle 63 im Sinne des Betätigungspfeils 69 von Fig. 2 verdrehen, wodurch es zu der Längsverstellung 66 des Gehäuses 50 an der Tragschiene 41 kommt.
Die Fig. 4, 7 und 8 zeigen in unterschiedlicher Größe die maßgeblichen Bauteile der erfindungsgemäßen Baueinheit 30. Der Schlitz 24 erlaubt es, den beheizbaren Draht 21 sehr nahe an den Rand 23 des spaltförmigen Durchbruchs 24 der Blattfeder 22 anzuordnen. Die aus Fig. 8 ersichtlichen Abstände 75, 76 zwischen dem hinteren und seitlichen Rand 23 können unterhalb von 1 mm liegen; es genügen 0,75 mm Abstand 75 bzw. 76. Das Fadenmaterial 11, 12 der Breitbahn 10 kann bereits im Temperaturbereich zwischen 160° bis 200° C schmelzen. Der Draht 21 selbst kann bis zur Rotglut erhitzt werden und daher eine Temperatur von über 400° erhalten. Beim Transport 42 der Breitbahn 10 während des Webens entsteht hinter dem Draht 21 ein Trennschnitt 70, der das Breitgewebe 10 in die beiden aus Fig. 8 ersichtlichen Bänder 10' teilt. Die entstehenden Schmelzkanten 77 werden von der bereits beschriebenen preßwirksamen Zone 29 der Blattfeder 22 am Stützglied 33 nachgeformt und geglättet. In der preßwirksamen Zone 29 sind die beiden Schmelzkanten 77 noch plastisch. Außerdem erwärmt sich die Blattfeder mittelbar durch den stark beheizten Draht 21. Für die Wärmeübertragung auf die Blattfeder 22 kann eine vom erhitzten Draht 21 ausgehende Konvektionsströmung oder Wärmestrahlung auf die Blattfeder 22 einwirken. Für diese Wärmeübertragung ist der erwähnte abgewinkelte Verlauf zwischen dem Mittelstück und dem Endstück 27 der Blattfeder 22 günstig.
Die Fig. 9 zeigt eine alternative Vorrichtung 20' nach der Erfindung, die nur hinsichtlich ihrer Abweichungen von der vorausgehenden Vorrichtung 20 beschrieben zu werden braucht. In übriger Hinsicht gelten die bisherigen Ausführungen auch für diese Vorrichtung 20'. Ein erster Unterschied besteht darin, daß hier das Schneidglied aus einer bügelförmigen Klinge 71 besteht. Die Klinge 71 hat U-Form, wobei die Bügelstärke im Bereich 74 des Bügelscheitels wesentlich flacher als im Bereich der beiden Enden 72, 73 der beiden Bügelschenkel ausgebildet ist. Dadurch kommt es bei Durchfluß des Heizstroms zu einer maximalen Erwärmung im Bereich 74 des Bügelscheitels. Auch hier durchgreift die bügelförmige Klinge 71 mit ihrem U-Scheitelbereich 74 den Schlitz 24' der bereits beschriebenen Blattfeder 22', welche bei dieser Vorrichtung 20' als Druckglied verwendet wird. In diesem Fall liegen die beiden elektrischen Anschlüsse 78, 79 dieses Schneidglieds 71 auf der gleichen Seite der Breitbahn 10. Die Schenkelenden 72, 73 sind an einem Schieber 80 befestigt, der im Sinne des Schubpfeils 81 gegen das Stützglied 33' der Vorrichtung 20' federbelastet ist. Der Schieber 80 ist in einem nicht näher gezeigten Gehäuse dieser Vorrichtung 20' in seiner Verschiebungsrichtung 81 geführt. An diesem Gehäuse ist ortsfest das bereits im Zusammenhang mit Fig. 5 beschriebene Ende 25 der Blattfeder 22' befestigt.
Auch diese Vorrichtung 20' kann in einer entsprechenden Vielzahl entlang einer Tragschiene angeordnet und in Schienenlängsrichtung einstellbar sein, wie es im Zusammenhang mit der Vorrichtung 20 beschrieben worden ist. Eine Abweichung bei der Vorrichtung 20' besteht aber darin, daß allen Vorrichtungen 20' ein gemeinsames Stützglied 33' zugeordnet ist. Dieses besteht aus einer mehrschichtigen Stange. Dazu gehört zunächst eine zentrale Heizpatrone 82, die von einem Mantel 83 aus z. B. Stahl umkleidet ist. Im Mantel 83 befindet sich eine Längsnut, in welcher ein Rundstab 84 aus Keramikmaterial angeordnet ist. Der Rundstab 84 dient als Widerlage für die Klinge 71 und, zusammen mit dem Mantel 83, auch als Stützglied für die Blattfeder 22'. Der Keramikstab 84 bildet eine Kante zur Umlenkung des Gewebes zwischen der Breitbahn 10 und den zerschnittenen Bändern 10'.
Die erfindungsgemäßen Vorrichtungen 20 und insbesondere 20' brauchen nicht in einen Webstuhl gemäß Fig. 1 integriert zu sein. Anstelle einer solchen "on-loom"-Ausführung könnte die Vorrichtung auch Bestandteil eines Schneidtisches sein, wo eine vorausgehend auf einem Webstuhl oder auf einer Wirkmaschine hergestellte Breitbahn 10 nachträglich in einzelne Bänder 10' zerschnitten werden soll. In diesem Fall liegt eine "off-loom"-Ausführung vor.
Um das Gewebe nach dem Weben zu glätten, wendet man eine Wärmebehandlung an, die als "Thermofixierung" bezeichnet wird. Diese Thermofixierung erfolgt am besten im Bereich der Abzugswalze 17. Die dafür erforderlichen Mittel 85 sind in Fig. 1 eingezeichnet.
Bezugszeichenliste:
10
Breitbahn
10'
Band
11
Kettfaden
12
Schußfaden
13
Webfach von 11
14
Schaft für 13
15
Riet für 12
16
Brustbaum
17
Abzugswalze für 10
18
Umlenkwalze für 10'
19
Bandaufrollvorrichtung, Warenbaum
20
erste Vorrichtung (Fig. 1 bis 8)
20'
zweite Vorrichtung (Fig.9)
21
Schneidglied, Draht
22, 22'
Druckglied, Blattfeder
23, 23'
Rand von 22 bzw. 22'
24
Durchbruch, Spalt
24'
Durchbruch, Schlitz
25
Spaltöffnung von 24
26
Befestigungsende von 22 bzw. 22'
27
freies, abgewinkeltes Blattende
28
Mittelabschnitt von 22
29
preßwirksame Zone von 22 bzw. 22' (Fig. 5, 6)
30
Baueinheit
31
Anschluß für 21, winkelförmiges Blech
32
Anschluß für 21, winkelförmiges Blech
33, 33'
Stützglied an 32
34
Keilspitze von 33
35
plattenförmiger Block von 50
36
Keilendfläche von 33
37
Befestigungsmittel für 21 an 33
38
Kopf an 31
39
Befestigungsmittel für 21 an 38
40
Gewebeabschnitt von 10 bzw. 10'
41
Träger für 20, Tragschiene
42
Pfeil der Transportbewegung von 10 bzw. 10'
43
elektrisches Kabel
44
elektrische Bauteile
45
elektrische Leiterplatte für 44
46
Kanal in 35
47
Funktionsanzeigen an 35
48
untere Profilleiste von 41
49
obere Profilleiste von 41
50
Gehäuse
51
erste Seitenplatte von 50
52
zweite Seitenplatte von 50
53
Abstand zwischen 51, 52
54
Einsatzstück für 59
55
Bohrung in 35
56
weiteres Einsatzstück in 53
57
Ausbruch von 35
58
Ausschnitt von 51, 52 für 48
59
Schnappfeder an 50 für 49
60
Stellmittel für 50 längs 41
61
Zahnstange an 41
62
Ritzel von 60
63
Welle von 62
64
oberes Lager von 63 in 54
65
Schwenkbewegungspfeil von 50 (Fig. 2)
66
Längsverstellung von 50 (Fig. 3)
67
unteres Lager von 63 in 56
68
Betätigungsende von 63
69
Betätigungspfeil von 63
70
Trennschnitt zwischen 10' (Fig. 8)
71
bügelförmige Klinge (Fig. 9)
72
erster Schenkel von 71
73
zweiter Schenkel von 71
74
Scheitelbereich von 71
75
hinterer Abstand zwischen 21, 23
76
seitlicher Abstand zwischen 21. 23
77
Schmelzkante von 10' (Fig. 8)
78
elektrischer Anschluß für 72
79
elektrischer Anschluß für 73
80
Schieber für 71 (Fig. 9)
81
Schubpfeil von 80
82
Heizpatrone von 33'
83
Mantel von 82
84
Rundstab in 83
85
Mittel für Thermofixierung bei 17 (Fig. 1)

Claims (17)

  1. Vorrichtung zum Herstellen von vorzugsweise gemusterten textilen Bändern (10'), insbesondere von Etikettbändern, aus einer schmelzfähiges Material aufweisenden Breitbahn (10), die vorzugsweise aus einem schmelzfähiges Fadenmaterial (11, 12) aufweisenden Gewebe oder Gewirke besteht,
    mit einer Schar von ruhenden beheizten Schneidgliedern (21), welche die Breitbahn (10) durchsetzen,
    wobei die Breitbahn (10) entlang der ruhenden Schneidglieder (21) transportiert (42) wird und dadurch Trennschnitte (70) in der Breitbahn (10) entstehen, welche parallel nebeneinanderliegende Bänder (10') erzeugen,
    und mit einer Schar von Druckgliedern (22) auf der Oberseite der Breitbahn (10),
    welche die geschnittenen Bänder (10') im Kantenbereich jeweils gegen ein ortsfestes Widerlager auf der Rückseite der Breitbahn (10) pressen und dadurch die rauhen Schmelzkanten (77) der Bänder (10') glätten,
    dadurch gekennzeichnet,
    daß das Widerlager aus einer Schar von Stützgliedern (33) auf der Rückseite der Breitbahn (10) besteht und jedem Stützglied (33) nicht nur ein Schneidglied (21), sondern auch ein als Federglied (22) ausgebildetes Druckglied zur Glättung der beiden Schmelzkanten (77) beidseitig des vom jeweiligen Schneidglieds (21) erzeugten Trennschnitts (70) zugeordnet sind,
    wobei das Federglied (22) zwar selbst nicht beheizt ist, aber so nahe an das beheizte Schneidglied (21) heranreicht, daß es noch auf die plastifizierten Schmelzkanten (77) der Bänder (10') wirkt,
    und daß dieses an jedem Trennschnitt (70) befindliche Tripel aus einem Schneidglied (21), einem Druckglied (22) und einem Stützglied (33) an einem ihnen zugeordneten einzelnen Block (35) fest montiert ist und das Tripel mit dem Block (35) jeweils eine kompakte, gemeinsam bewegliche Baueinheit bildet,
    und daß die den einzelnen Trennschnitten (70) zugeordneten Blöcke (35) an einem die Breitbahn (10) überquerenden, ortsfesten Träger (41) sitzen und zwecks Einstellung der jeweils gewünschten Breite der zu schneidenden Bänder individuell entlang des Trägers (41) verstellbar sind.
  2. Vorrichtung nach Anspruch 1, dadurch gekennzeichnet, daß das Federglied eine Blattfeder (22, 22') ist, die einen Durchbruch (24, 24') aufweist,
    daß das Schneidglied (21) den Durchbruch (24, 24') durchsetzt und der Rand (23, 23') des Durchbruchs (24, 24') eine preßwirksame Zone (29) der Blattfeder (22, 22') begrenzt.
  3. Vorrichtung nach Anspruch 1, dadurch gekennzeichnet, daß die freie Lücke (75, 76) zwischen der schmelzwirksamen Stelle des Schneidglieds (21) einerseits und der preßwirksamen Zone (29) der Blattfeder (22, 22') andererseits kleiner als 3 mm ausgebildet ist und vorzugsweise weniger als 1 mm beträgt.
  4. Vorrichtung nach Anspruch 2 oder 3, dadurch gekennzeichnet, daß der Durchbruch in der Blattfeder (22') aus einem Schlitz (24') besteht, der das hindurchragende Schneidglied (21; 71) allseitig umschließt.
  5. Vorrichtung nach Anspruch 2 oder 3, dadurch gekennzeichnet, daß der Durchbruch aus einem einseitig offenen Spalt (24) in der Blattfeder (22) besteht, dessen Spaltöffnung (25) zu dem noch unzerschnittenen Abschnitt der Breitbahn (10) hin gerichtet ist.
  6. Vorrichtung nach einem oder mehreren der Ansprüche 2 bis 5, dadurch gekennzeichnet, daß die Blattfeder (22, 22') zu dem noch unzerschnittenen Bereich der Breitbahn (10) hin abgewinkelt ist und die Abwinkelung (27) sich in Richtung des Blattfeder-Endes zunehmend von der Breitbahn (10) entfernt.
  7. Vorrichtung nach einem oder mehreren der Ansprüche 1 bis 6, dadurch gekennzeichnet, daß das Schneidglied aus einem beheizten Draht (21) besteht, dessen Drahtenden auf zueinander gegenüberliegenden Seiten der zu zerschneidenden Breitbahn (10) liegen.
  8. Vorrichtung nach einem oder mehreren der Ansprüche 1 bis 5, dadurch gekennzeichnet, daß das Schneidglied aus einer bügelförmigen Klinge (71) besteht, deren Bügelscheitel-Bereich (74) zwar den Durchbruch (24') der Blattfeder durchragt, dessen beide Bügelenden (72, 73) aber auf der gleichen Seite der Breitbahn (10) liegen.
  9. Vorrichtung nach Anspruch 1 bis 8, dadurch gekennzeichnet, daß wenigstens einige elektrische Bauteile (44), die zur Heizsteuerung des Schneidglieds (21) dienen, in den jeweiligen Block (35) integriert sind.
  10. Vorrichtung nach Anspruch 1 bis 9, dadurch gekennzeichnet, daß am Block (35) Funktionsanzeigen (47) für den thermischen und/oder mechanischen Betriebszustand des zugehörigen Schneidglieds (21) integriert sind.
  11. Vorrichtung nach einem oder mehreren der Ansprüche 1 bis 12, dadurch gekennzeichnet, daß der Block (35) Plattenform aufweist und Bestandteil eines aus zwei voneinander beabstandeten Seitenplatten (51, 52) bestehenden Gehäuses (50) ist,
    daß der Block (35) aus Isolationsmaterial besteht und im Abstandsraum (53) zwischen den beiden Seitenplatten (51, 52) des Gehäuses (50) befestigt ist,
    wobei der Block (35) elektrische Anschlüsse für das Schneidglied (21) besitzt und ggf. die elektrischen Bauteile (44) zur Heizsteuerung des Schneidglieds (21) beinhaltet,
    und daß das Gehäuse (50) die Haltemittel (58, 59) zur Anbringung des Blocks (35) an dem Träger (41) und ggf. die Stellmittel (60) zur Längsverstellung (41) des Blocks (35) am Träger (41) trägt.
  12. Vorrichtung nach Anspruch 11, dadurch gekennzeichnet, daß die Haltemittel (59) und ggf. die Stellmittel (60) im Abstandsraum (53) zwischen den beiden Seitenplatten (51, 52) des Gehäuses (50) angeordnet sind.
  13. Vorrichtung nach einem oder mehreren der Ansprüche 1 bis 12, dadurch gekennzeichnet, daß der Block (35) in eine Webmaschine integriert ist, auf welcher die Breitbahn (10) gewebt wird.
  14. Vorrichtung nach einem oder mehreren der Ansprüche 1 bis 12, dadurch gekennzeichnet, daß der Block (35) Bestandteil eines Schneidtisches ist, der eine anderweitig hergestellte Breitbahn (10) nachträglich in einzelne Bänder (10') zu zerschneiden gestattet.
  15. Vorrichtung insbesondere nach Anspruch 14 mit einer Abzugswalze (17), welche die Schußfadendichte des Gewebes in der Webmaschine bestimmt, dadurch gekennzeichnet, daß die Kombination aus dem Schneidglied (21) und der Blattfeder (22) bzw. die Baueinheit (30) aus dem Schneidglied (21), der Blattfeder (22) und dem Stützglied (33) bzw. der die Baueinheit aufweisende Block (35) - in Transportrichtung (42) des Breitbahn Gewebes (10) auf der Webmaschine gesehen - in einem hinter der Abzugswalze (17) liegenden Gewebeabschnitt (40) angeordnet ist, der nicht mehr unter der für das Weben erforderlichen hohen Gewebespannung steht.
  16. Vorrichtung nach Anspruch 15, dadurch gekennzeichnet, daß eine zusätzliche Wärmebehandlung zur sogenannten Fixierung des Gewebes (10) an dem noch unzerschnittenen Breitbahngewebe (10) im Bereich der Abzugswalze (17) erfolgt.
  17. Vorrichtung nach Anspruch 15, dadurch gekennzeichnet, daß eine Einrichtung zur zusätzliche Wärmebehandlung und Fixierung des Gewebes hinter der Abzugswalze (17) der Webmaschine angeordnet ist und ggf. an den bereits geschnittenen Bändern (10') des Gewebes erfolgt.
EP96933419A 1995-10-04 1996-09-28 Vorrichtung zum herstellen von vorzugsweise gemusterten textilen bändern, insbesondere von etikettbändern, aus einer schmelzfähiges material aufweisenden breitbahn Expired - Lifetime EP0853697B1 (de)

Applications Claiming Priority (5)

Application Number Priority Date Filing Date Title
DE19536963A DE19536963A1 (de) 1995-10-04 1995-10-04 Vorrichtung zum Herstellen gemusterter textiler Bänder, insbesondere Etikettbänder, aus einer Breitbahn
DE19536963 1995-10-04
DE19604735A DE19604735A1 (de) 1995-10-04 1996-02-09 Vorrichtung zum Herstellen gemusterter textiler Bänder, insbesondere Etikettbänder, aus einer Breitbahn
DE19604735 1996-02-09
PCT/EP1996/004244 WO1997013023A1 (de) 1995-10-04 1996-09-28 Vorrichtung zum herstellen von vorzugsweise gemusterten textilen bändern, insbesondere von etikettbändern, aus einer schmelzfähiges material aufweisenden breitbahn

Publications (2)

Publication Number Publication Date
EP0853697A1 EP0853697A1 (de) 1998-07-22
EP0853697B1 true EP0853697B1 (de) 1999-10-20

Family

ID=26019236

Family Applications (1)

Application Number Title Priority Date Filing Date
EP96933419A Expired - Lifetime EP0853697B1 (de) 1995-10-04 1996-09-28 Vorrichtung zum herstellen von vorzugsweise gemusterten textilen bändern, insbesondere von etikettbändern, aus einer schmelzfähiges material aufweisenden breitbahn

Country Status (2)

Country Link
EP (1) EP0853697B1 (de)
WO (1) WO1997013023A1 (de)

Cited By (1)

* Cited by examiner, † Cited by third party
Publication number Priority date Publication date Assignee Title
DE102006061140A1 (de) * 2006-12-22 2008-06-26 Vaupel Textilmaschinen Gmbh & Co. Kg Vorrichtung zum thermischen Schneiden einer aus schmelzfähigem Fadenmaterial bestehenden Textilbahn in Bänder

Families Citing this family (5)

* Cited by examiner, † Cited by third party
Publication number Priority date Publication date Assignee Title
DE19644534C2 (de) 1996-10-26 2001-03-22 Vaupel Textilmaschinen Gmbh & Vorrichtung zum Längstrennen einer schmelzfähigen Breitbahn in mindestens zwei Bändern, insbesondere in gemusterte Etikettbänder
CH697695B1 (de) * 2003-02-06 2009-01-15 Textilma Ag Schneidvorrichtung zum thermischen Schneiden einer laufenden, insbesondere gemusterten Textilbahn.
DE102006020950A1 (de) * 2006-05-05 2008-01-31 Vaupel Textilmaschinen Gmbh & Co. Kg Vorrichtung zum thermischen Schneiden einer aus schmelzfähigem Fadenmaterial bestehenden Textilbahn in Bänder
WO2009061310A1 (en) * 2007-11-05 2009-05-14 Yidi Carlos Jr Device for thermal cutting of a fabric sheet into ribbons
EP3722471A1 (de) 2019-04-10 2020-10-14 Textilma AG Verfahren zum herstellen von kaltgeschnittenen gewebebahnen

Family Cites Families (4)

* Cited by examiner, † Cited by third party
Publication number Priority date Publication date Assignee Title
DE2307096A1 (de) * 1973-02-14 1974-08-22 Ver Seidenwebereien Ag Gleitende distanzhalterung
DE2516057A1 (de) * 1975-04-12 1976-10-28 Mageba Textilmaschinen Gmbh Eine der abzugseinrichtung eines webstuhles nachgeordnete schneidvorrichtung
DE4011293A1 (de) * 1989-04-12 1990-10-18 Loepfe Ag Geb Vorrichtung zum thermischen trennen von textilen flaechengebilden
ES2096087T3 (es) * 1991-07-18 1997-03-01 Textilma Ag Procedimiento y maquina tejedora para la fabricacion de un carril cortado termicamente.

Cited By (1)

* Cited by examiner, † Cited by third party
Publication number Priority date Publication date Assignee Title
DE102006061140A1 (de) * 2006-12-22 2008-06-26 Vaupel Textilmaschinen Gmbh & Co. Kg Vorrichtung zum thermischen Schneiden einer aus schmelzfähigem Fadenmaterial bestehenden Textilbahn in Bänder

Also Published As

Publication number Publication date
EP0853697A1 (de) 1998-07-22
WO1997013023A1 (de) 1997-04-10

Similar Documents

Publication Publication Date Title
DE3937947C2 (de)
EP0389793A2 (de) Verfahren und Vorrichtung zur Herstellung einer Schar paralleler, insbesondere gemusterter, Etikettbänder
DE3140480A1 (de) "kettenwirkmaschine mit einem schussfadenmagazin und einer vlies-zufuehrvorrichtung"
WO1989002491A1 (fr) Metier a tisser
EP0934437B1 (de) Vorrichtung zum trennen einer schmelzfähigen breitbahn in mindestens zwei bänder, insbesondere in gemusterte etikettbänder
DE2302949C2 (de) Webmaschine zur Herstellung von Bändern
EP0853697B1 (de) Vorrichtung zum herstellen von vorzugsweise gemusterten textilen bändern, insbesondere von etikettbändern, aus einer schmelzfähiges material aufweisenden breitbahn
DE9102325U1 (de) Doppelpunktschweißmaschine
DE2931167C2 (de) Vorrichtung zum kompressiven Schrumpfen einer textilen Warenbahn
DE69401439T2 (de) Vorrichtung zum niederhalten der maschen an einer flachstrickmaschine
DE3851532T2 (de) Infrarot-wärmestrahler mit reflektor und belüfteter struktur.
DE3815395A1 (de) Webmaschine
DE3128011A1 (de) Verbindung zwischen laengenabschnitten von metallstreifen und vorrichtung zum herstellen dieser verbindungen
DE68917342T2 (de) Werkzeuge mit Einsatzzähnen.
CH695345A5 (de) Musterlegebarrenanordnung für Kettenwirkmaschinen.
DE3443914A1 (de) Maschine mit einer zum bilden von schweissnaehten in einer thermoplastischen folie dienenden schweissleiste
DE102007036503B3 (de) Vorrichtung zum Weben eines Breitgewebes und zum Trennen des Breitgewebes in Bänder
EP1525960A1 (de) Schneidvorrichtung zum Schneiden einer Materialbahn
EP0705925A2 (de) Heizeinrichtung mit auswechselbaren Fadenführern
DE4115800A1 (de) Verfahren und vorrichtung zur herstellung eines durch figurschuss gemusterten textilen bandes, insbesondere eines etikettbandes, aus einer breitbahn mit schmelzfaehigem fadenwerkstoff
DE19536963A1 (de) Vorrichtung zum Herstellen gemusterter textiler Bänder, insbesondere Etikettbänder, aus einer Breitbahn
DE10011570A1 (de) Vorrichtung zum Herstellen von vorzugsweise gemusterten textilen Bändern aus einer schmelzfähiges Material aufweisenden Breitbahn
EP0546485A1 (de) Verfahren zum Herstellen eines durch Figurschüsse gemusterten textilen Bandes, insbesondere eines Etikettbandes
DE1941438A1 (de) Schneidvorrichtung
WO1991003592A1 (de) Vorrichtung zum thermischen schneiden einer laufenden materialbahn aus thermoplastischem material

Legal Events

Date Code Title Description
PUAI Public reference made under article 153(3) epc to a published international application that has entered the european phase

Free format text: ORIGINAL CODE: 0009012

17P Request for examination filed

Effective date: 19980227

AK Designated contracting states

Kind code of ref document: A1

Designated state(s): DE

GRAG Despatch of communication of intention to grant

Free format text: ORIGINAL CODE: EPIDOS AGRA

17Q First examination report despatched

Effective date: 19990114

GRAG Despatch of communication of intention to grant

Free format text: ORIGINAL CODE: EPIDOS AGRA

GRAH Despatch of communication of intention to grant a patent

Free format text: ORIGINAL CODE: EPIDOS IGRA

GRAH Despatch of communication of intention to grant a patent

Free format text: ORIGINAL CODE: EPIDOS IGRA

GRAA (expected) grant

Free format text: ORIGINAL CODE: 0009210

AK Designated contracting states

Kind code of ref document: B1

Designated state(s): DE

REF Corresponds to:

Ref document number: 59603438

Country of ref document: DE

Date of ref document: 19991125

PLBE No opposition filed within time limit

Free format text: ORIGINAL CODE: 0009261

STAA Information on the status of an ep patent application or granted ep patent

Free format text: STATUS: NO OPPOSITION FILED WITHIN TIME LIMIT

26N No opposition filed
PGFP Annual fee paid to national office [announced via postgrant information from national office to epo]

Ref country code: DE

Payment date: 20021024

Year of fee payment: 7

PG25 Lapsed in a contracting state [announced via postgrant information from national office to epo]

Ref country code: DE

Free format text: LAPSE BECAUSE OF NON-PAYMENT OF DUE FEES

Effective date: 20040401