EP0840071B1 - Klimagerät und Steuerverfahren dafür - Google Patents
Klimagerät und Steuerverfahren dafür Download PDFInfo
- Publication number
- EP0840071B1 EP0840071B1 EP97308769A EP97308769A EP0840071B1 EP 0840071 B1 EP0840071 B1 EP 0840071B1 EP 97308769 A EP97308769 A EP 97308769A EP 97308769 A EP97308769 A EP 97308769A EP 0840071 B1 EP0840071 B1 EP 0840071B1
- Authority
- EP
- European Patent Office
- Prior art keywords
- heat exchanger
- refrigerant
- room
- compressor
- indoor
- Prior art date
- Legal status (The legal status is an assumption and is not a legal conclusion. Google has not performed a legal analysis and makes no representation as to the accuracy of the status listed.)
- Expired - Lifetime
Links
- 238000000034 method Methods 0.000 title claims description 11
- 239000003507 refrigerant Substances 0.000 claims description 144
- 238000010438 heat treatment Methods 0.000 claims description 114
- 238000010257 thawing Methods 0.000 claims description 95
- 229920006395 saturated elastomer Polymers 0.000 claims description 38
- 230000001276 controlling effect Effects 0.000 claims description 25
- 230000001105 regulatory effect Effects 0.000 claims description 17
- 238000004378 air conditioning Methods 0.000 claims description 15
- 238000001816 cooling Methods 0.000 claims description 13
- 230000009467 reduction Effects 0.000 claims description 13
- RWRIWBAIICGTTQ-UHFFFAOYSA-N anhydrous difluoromethane Natural products FCF RWRIWBAIICGTTQ-UHFFFAOYSA-N 0.000 claims description 8
- GTLACDSXYULKMZ-UHFFFAOYSA-N pentafluoroethane Chemical compound FC(F)C(F)(F)F GTLACDSXYULKMZ-UHFFFAOYSA-N 0.000 claims description 8
- 230000003247 decreasing effect Effects 0.000 claims description 5
- 230000004044 response Effects 0.000 claims description 2
- 238000007664 blowing Methods 0.000 claims 1
- 238000007599 discharging Methods 0.000 claims 1
- 230000004048 modification Effects 0.000 description 32
- 238000012986 modification Methods 0.000 description 32
- 238000010586 diagram Methods 0.000 description 16
- 238000001704 evaporation Methods 0.000 description 14
- 230000008859 change Effects 0.000 description 12
- 239000003921 oil Substances 0.000 description 11
- 230000009471 action Effects 0.000 description 8
- 230000000694 effects Effects 0.000 description 7
- 230000008020 evaporation Effects 0.000 description 6
- 239000007788 liquid Substances 0.000 description 5
- 239000000314 lubricant Substances 0.000 description 5
- 230000002159 abnormal effect Effects 0.000 description 4
- 230000005494 condensation Effects 0.000 description 4
- 238000009833 condensation Methods 0.000 description 4
- 238000009423 ventilation Methods 0.000 description 4
- CBENFWSGALASAD-UHFFFAOYSA-N Ozone Chemical compound [O-][O+]=O CBENFWSGALASAD-UHFFFAOYSA-N 0.000 description 3
- 230000002411 adverse Effects 0.000 description 3
- 230000006870 function Effects 0.000 description 3
- 239000007787 solid Substances 0.000 description 3
- OHMHBGPWCHTMQE-UHFFFAOYSA-N 2,2-dichloro-1,1,1-trifluoroethane Chemical compound FC(F)(F)C(Cl)Cl OHMHBGPWCHTMQE-UHFFFAOYSA-N 0.000 description 2
- 230000015556 catabolic process Effects 0.000 description 2
- 230000008569 process Effects 0.000 description 2
- 230000005855 radiation Effects 0.000 description 2
- 238000010521 absorption reaction Methods 0.000 description 1
- 239000010696 ester oil Substances 0.000 description 1
- 238000009499 grossing Methods 0.000 description 1
- 239000010721 machine oil Substances 0.000 description 1
- 230000007257 malfunction Effects 0.000 description 1
- 231100000252 nontoxic Toxicity 0.000 description 1
- 230000003000 nontoxic effect Effects 0.000 description 1
- 238000010792 warming Methods 0.000 description 1
- 238000004804 winding Methods 0.000 description 1
Images
Classifications
-
- F—MECHANICAL ENGINEERING; LIGHTING; HEATING; WEAPONS; BLASTING
- F24—HEATING; RANGES; VENTILATING
- F24F—AIR-CONDITIONING; AIR-HUMIDIFICATION; VENTILATION; USE OF AIR CURRENTS FOR SCREENING
- F24F11/00—Control or safety arrangements
- F24F11/70—Control systems characterised by their outputs; Constructional details thereof
- F24F11/72—Control systems characterised by their outputs; Constructional details thereof for controlling the supply of treated air, e.g. its pressure
- F24F11/79—Control systems characterised by their outputs; Constructional details thereof for controlling the supply of treated air, e.g. its pressure for controlling the direction of the supplied air
-
- F—MECHANICAL ENGINEERING; LIGHTING; HEATING; WEAPONS; BLASTING
- F24—HEATING; RANGES; VENTILATING
- F24F—AIR-CONDITIONING; AIR-HUMIDIFICATION; VENTILATION; USE OF AIR CURRENTS FOR SCREENING
- F24F1/00—Room units for air-conditioning, e.g. separate or self-contained units or units receiving primary air from a central station
- F24F1/0007—Indoor units, e.g. fan coil units
- F24F1/0043—Indoor units, e.g. fan coil units characterised by mounting arrangements
- F24F1/0057—Indoor units, e.g. fan coil units characterised by mounting arrangements mounted in or on a wall
-
- F—MECHANICAL ENGINEERING; LIGHTING; HEATING; WEAPONS; BLASTING
- F24—HEATING; RANGES; VENTILATING
- F24F—AIR-CONDITIONING; AIR-HUMIDIFICATION; VENTILATION; USE OF AIR CURRENTS FOR SCREENING
- F24F1/00—Room units for air-conditioning, e.g. separate or self-contained units or units receiving primary air from a central station
- F24F1/0007—Indoor units, e.g. fan coil units
- F24F1/0059—Indoor units, e.g. fan coil units characterised by heat exchangers
- F24F1/0063—Indoor units, e.g. fan coil units characterised by heat exchangers by the mounting or arrangement of the heat exchangers
-
- F—MECHANICAL ENGINEERING; LIGHTING; HEATING; WEAPONS; BLASTING
- F25—REFRIGERATION OR COOLING; COMBINED HEATING AND REFRIGERATION SYSTEMS; HEAT PUMP SYSTEMS; MANUFACTURE OR STORAGE OF ICE; LIQUEFACTION SOLIDIFICATION OF GASES
- F25B—REFRIGERATION MACHINES, PLANTS OR SYSTEMS; COMBINED HEATING AND REFRIGERATION SYSTEMS; HEAT PUMP SYSTEMS
- F25B2400/00—General features or devices for refrigeration machines, plants or systems, combined heating and refrigeration systems or heat-pump systems, i.e. not limited to a particular subgroup of F25B
- F25B2400/18—Refrigerant conversion
Definitions
- the present invention relates to an air conditioner using a replacing refrigerant which has a saturated pressure higher than that of HCFC (hydrochlorofluorocarbon) 22 (hereinafter, referred to as R22) at the same temperature, that is, an alternative refrigerant operating at a high pressure as a refrigerant replacing with the R22.
- R22 hydrochlorofluorocarbon
- JP-A-06/249,485 describes a system comprising air conditioning and ventilation systems in which the direction of airflow from the ventilation system is controlled according to the relative air temperature between the room and the external air supply and the operating mode of the air conditioning unit.
- the incoming air from the ventilation system is directed to the ceiling unless the air conditioning unit is operating in a cooling mode and the incoming air from outside is cooler than the temperature of the air at the ceiling of the room.
- the incoming air is directed by the ventilation system towards the floor.
- US-4,709,554 describes an air conditioning apparatus which monitors the refrigerant temperature at a pipeline near the outside heat exchanger as well as the room temperature, for controlling operations for room warming and defrosting.
- Air conditioners such as room air conditioners and the like, which circulate a refrigerant in a refrigerating cycle and cool or/and heat room air by the condensing action and evaporating action of the refrigerant, are now one of the necessary articles in homes, buildings and the like
- a compressor when heating is started by operating the air conditioners, a compressor is driven in the state that a room air supply louver is set to a position where it is usually directed in heating operation ⁇ position where blowout air is directed toward the floor (downward) in a room)) as shown in the flowchart of heating operation in FIG. 15.
- the operation of an indoor fan is stopped so as not to supply cool air into the room (step S1) until the temperature T of an indoor heat exchanger increases and exceeds a heat exchange (condense) possible temperature T0 (T ⁇ T0) (determination at step S2 is NO).
- step S3 When the temperature T of the indoor heat exchanger increases as a time elapse after the start of the operation, exceeds the heat exchange possible temperature T0 and reaches the state that hot air can be blown out (T ⁇ T0, the determination at step S2 is YES), the operation of the indoor fan is started so that ordinary operation is carried out (step S3).
- frost in the fresh air sometimes deposits on the outside surface of an outdoor heat exchanger as an evaporator during heating operation and the deposited frost is one of the reasons for hindering the evaporating action of the outdoor heat exchanger.
- the air conditioners temporarily carry out operation for removing the frost deposited on the outdoor heat exchanger, that is, so-called defrosting operation during heating operation.
- the defrosting operation of the air conditioners is such that, a four-way valve which is turned ON, for example in heating operation, is reversed to be turned OFF thereby reversing the circulating direction of the refrigerant from that in the heating. Then, an expansion valve as a flow regulating valve (electronic control valve) is controlled to keep opening of the expansion valve constant by a predetermined opening thereby stopping the operation of the indoor fan and an outdoor fan.
- the gaseous refrigerant of high temperature and high pressure which is discharged from a compressor is introduced into the outdoor heat exchanger and liquefied by radiating heat from the refrigerant in the outdoor heat exchanger.
- the frost deposited on the outside surface of the outdoor heat exchanger is removed by being heated by the heat radiated from the refrigerant.
- the liquid refrigerant condensed and liquefied in the outdoor heat exchanger flows into the indoor heat exchanger through the expansion valve and evaporated and vaporized in the indoor heat exchanger.
- the vaporized refrigerant (gaseous refrigerant) is returned to the compressor again so that the above operation cycle is repeated.
- an air conditioner using an alternative refrigerant having a saturated pressure (condensed pressure) higher than that of R22 at the same temperature (for example, the saturated pressure at 50° C is 2500 Pa or higher at 50° C) as an alternative refrigerant replacing the R22.
- the high pressure side is the system from the compressor to the expansion valve through the condenser (the indoor heat exchanger in heating operation) and the system from the expansion valve to the compressor through the evaporator (outdoor heat exchanger in heating operation) is called a low pressure side.
- the reliability of the compressor is adversely affected and there is a danger that the respective components of the air conditioner, such as respective heat exchangers, piping may be damaged.
- the lubricant refrigerating machine oil
- the refrigerant dissolves in the lubricant in the compressor according to the pressure on the high pressure side abruptly increases whereby the oil level of the lubricant rises.
- the winding portion of the motor in the compressor is dipped in the lubricant by the rise of the oil level, thereby increasing a leakage current.
- FIG. 17 is a graph showing an example of the change of the pressure P on the high pressure side, the height H of an oil level and a leakage current I after heating operation starts in the air conditioners using an alternative refrigerant having a saturated pressure higher than that of the conventional R22 at the same temperature (when the operation of the indoor fan stops) wherein the abscissa represents a period of time t elapsed from the start of the heating operation.
- the pressure P on the high pressure side abruptly and abnormally increases just after the start of the heating operation and, in accordance with the increase of the pressure P, the height H of the oil level and the amount of the leakage current I increase.
- FIG. 18 shows the relationship between a discharge pressure Pd' and a suction pressure Ps' which correspond to those shown in FIG. 16 when, for example, a refrigerant having a saturated pressure of 2500 kPa or higher at 50° C is used as an alternative refrigerant having a saturated pressure higher than that of R22 at the same temperature.
- the difference between the discharge pressure Pd' and the suction pressure Ps' reaches up to about 30 kg/cm 2 due to the abnormal increase of the discharge pressure Pd' in the defrosting operation. Therefore, the noise and vibration generated from the piping and the like of the four-way valve by the abrupt pressure change when the four-way valve is reversed are increased whereby there is a possibility that the environment is adversely affected by the increases of the noise and vibration.
- the present invention is directed to overcome the foregoing problems.
- an object of the present invention to provide an air conditioner using an alternative refrigerant having a saturated pressure higher than that of R22 at the same temperature, wherein the air conditioner is capable of maintaining the capability and reliability of a compressor to a high level, preventing the breakdown of heat exchangers and the like and providing a comfortable heating space by suppressing an abrupt and abnormal pressure increase on a high pressure side.
- Another object of the present invention is to provide an air conditioner using an alternative refrigerant having a saturated pressure higher than that of R22 at the same temperature such as, for example, an alternative refrigerant having a saturated pressure of 2500 kPa or higher at 50° C, wherein the air conditioner is capable of reducing the noise and vibration generated from the piping and the like of a four-way valve when the valve is reversed in defrosting operation by reducing the difference between a discharge pressure and a suction pressure so as to restrain the abnormal increase of the discharge pressure.
- an alternative refrigerant having a saturated pressure higher than that of R22 at the same temperature such as, for example, an alternative refrigerant having a saturated pressure of 2500 kPa or higher at 50° C
- the air conditioner is capable of reducing the noise and vibration generated from the piping and the like of a four-way valve when the valve is reversed in defrosting operation by reducing the difference between a discharge pressure and a suction pressure so as to restrain the abnormal increase of the discharge
- one aspect of a present invention is arranged such that an air flow is directed upward toward a ceiling side in the room at the start of heating operation and when, for example, the temperature of the indoor heat exchanger increases and reaches the heat exchange possible state, the air flow is directed downward toward a floor side in the room.
- another aspect of a present invention also provides means for reducing the difference between a discharge pressure and a suction pressure (for example, means for turning OFF the operation of a compressor for a predetermined period of time before a four-way valve is reversed, means for increasing or decreasing the opening of an expansion system by a predetermined amount of opening from the predetermined time before the four-way valve is reversed, and the like) when the four-way valve is reversed at the start of defrosting operation, an abrupt pressure change can be suppressed when the four-way valve is reversed. Therefore, the noise and vibration generated from the piping and like of the four-way valve when the defrosting operation starts can be reduced.
- an air conditioner having a refrigerant circulation cycle constituted by sequentially connecting a compressor, an indoor heat exchanger having an indoor fan disposed in a room, an expansion system and an outdoor heat exchanger having an outdoor fan disposed out of the room so as to carry out air conditioning operation including at least heating operation in the room by circulating the refrigerant in the refrigerant circulation cycle, in which an alternative refrigerant having a saturated pressure higher than a saturated pressure of HCFC22 at the same temperature is used as the refrigerant, characterized by comprising means for regulating a vertical direction of air flow blown out from the indoor fan and control means for controlling the regulation means at a start of the heating operation so as to direct the air flow upward toward a ceiling side in the room and, when the indoor heat exchanger reaches a state capable of executing heat exchange operation, for controlling the regulation means so as to direct the air flow downward toward a floor side in the room.
- This aspect of the present invention has an arrangement that the regulation means is adapted to regulate a vertical blowout angle of the air flow blown out from the indoor fan thereby regulating the vertical direction thereof.
- an air conditioner characterized by further comprising temperature sensing means for detecting at least one of the temperature of the indoor heat exchanger and the blowout temperature thereof and characterized in that said control means is adapted to control the regulation means in response to the signal detected by the temperature sensing means.
- This aspect of the present invention has an arrangement that the air conditioning operation includes cooling operation in the room and said direction of the air flow set at the start of the heating operation is substantially the same as a vertical direction set in the cooling operation.
- This aspect of the present invention has an arrangement that the conditioner according to claim 1, characterized in that the alternative refrigerant is any one of a refrigerant containing not less than 80% of the composition of HFC32 and HFC125, a refrigerant containing not less than 80% of the composition of HFC143a and HFC125 and a refrigerant containing not less than 45% of the composition of HFC32.
- the alternative refrigerant is any one of a refrigerant containing not less than 80% of the composition of HFC32 and HFC125, a refrigerant containing not less than 80% of the composition of HFC143a and HFC125 and a refrigerant containing not less than 45% of the composition of HFC32.
- a method of controlling an air conditioner having a refrigerant circulation cycle constituted by sequentially connecting a compressor, an indoor heat exchanger having an indoor fan disposed in a room, an expansion system and an outdoor heat exchanger having an outdoor fan disposed out of the room so as to carry out air conditioning operation including at least heating operation in the room by circulating the refrigerant in the refrigerant circulation cycle, in which an alternative refrigerant having a saturated pressure higher than a saturated pressure of HCFC22 at the same temperature is used as the refrigerant, the method characterized by comprising the steps of regulating a vertical direction of air flow blown out from the indoor fan at a start of the heating operation so as to direct the air flow upward toward a ceiling side in the room and regulating, when the indoor heat exchanger reaches a state capable of executing heat exchange operation, the vertical direction of air flow blown out from the indoor fan so as to direct the air flow downward toward a floor side in the room.
- an air conditioner having a refrigerant circulation cycle constituted by sequentially connecting a compressor, a four-way valve, an indoor heat exchanger having an indoor fan disposed in a room, an expansion system and an outdoor heat exchanger having an outdoor fan disposed out of the room so as to carry out air conditioning operation including at least heating operation in the room and defrosting operation therein, in which an alternative refrigerant having a saturated pressure higher than a saturated pressure of HCFC22 at the same temperature is used as the refrigerant and the heating operation is executed by operating the compressor at an operating frequency and rotating the indoor fan and outdoor fan while connecting a discharge side of the compressor of the refrigerant circulation cycle to the indoor heat exchanger through the four-way valve and a suction side of the compressor thereof to the outdoor heat exchanger therethrough, characterized by comprising means for controlling the four-way valve at a start of the defrosting operation during the heating operation so as to reversely connect the discharge side of the compressor to the
- This another aspect of the present invention has an arrangement that the reduction means is adapted to stop the operation of the compressor at a time before a predetermined period of time from the start of the reverse control of the control means so as to keep the stop of the operation of the compressor until the start of the reverse control thereof.
- the reduction means includes means for setting the operating frequency of the compressor lower than the defrosting operation frequency when the four-way valve is reversely connected.
- the reduction means has means for increasing the opening of the expansion system by a predetermined amount as compared with the opening thereof during the heating operation for a predetermined period of time before the reverse control of the control means starts so as to keep the increased opening of the expansion system until the reverse control thereof starts.
- This another aspect of the present invention has an arrangement that the reduction means has means for increasing a number of rotation of the indoor fan by a predetermined number as compared with a number of rotation thereof during the heating operation for a predetermined period of time before the reverse control of the control means starts so as to keep the increased number of rotation of the indoor fan until the reverse control thereof starts.
- This another aspect of the present invention has an arrangement that the alternative refrigerant is any one of a refrigerant containing not less than 80% of the composition of HFC32 and HFC125, a refrigerant containing not less than 80% of the composition of HFC143a and HFC125 and a refrigerant containing not less than 45% of the composition of HFC32.
- a method of controlling an air conditioner having a refrigerant circulation cycle constituted by sequentially connecting a compressor, four-way valve, an indoor heat exchanger having an indoor fan disposed in a room, an expansion system and an outdoor heat exchanger having an outdoor fan disposed out of the room so as to carry out air conditioning operation including at least heating operation in the room and defrosting operation therein, in which an alternative refrigerant having a saturated pressure higher than a saturated pressure of HCFC22 at the same temperature is used as the refrigerant and the heating operation is executed by operating the compressor at an operating frequency and rotating the indoor fan and outdoor fan while connecting a discharge side of the compressor of the refrigerant circulation cycle to the indoor heat exchanger through the four-way valve and a suction side of the compressor thereof to the outdoor heat exchanger therethrough, the method characterized by comprising the steps of controlling the four-way valve at a start of the defrosting operation during the heating operation so as to reversely connect the discharge
- the air flow is directed upward toward the ceiling side at the start of the heating operation (the air flow is directed in the cooling operation, the air flow blown out from the blowout grille is sucked into the suction grille in the short circuit fashion, or other similar positions), and when, for example, the temperature of the indoor heat exchanger increases and permits heat exchange, the air flow is directed downward toward the floor side, which permits to start the heating operation without sacrificing the comfortable state in the room while avoiding the abrupt pressure increase on the high pressure side. That is, since the pressure gradually increases on the high pressure side, the capability and reliability of the compressor can be maintained and the breakdown of the heat exchangers and the other components of the air conditioner.
- the air conditioner of another aspect of the present invention since the difference between the discharge pressure and the suction pressure is reduced when the four-way valve is reversed at the start of the defrosting operation, the abrupt pressure change can be suppressed when the four-way valve is reversed. Therefore, since the noise and vibration generated from the piping and other components of the four-way valve when it is reversed in the defrosting operation can be reduced, making it possible to provide the easily usable air conditioner.
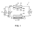
- FIG. 1 is a view showing the arrangement of the refrigerating cycle of an air conditioner according to a first embodiment.
- an alternative refrigerant having a saturated pressure higher than that of R22 at the same temperature such as, for example, an alternative refrigerant having a saturated temperature of 2500 kPa or higher at 50° C is used.
- alternative refrigerants which do not particularly destroy the ozone layer as such an alternative refrigerant are a refrigerant containing 80% or more of the composition of R32 (CH 2 F 2 ) and R125 (CHF 2 CF 3 ), a refrigerant containing 80% or more of the composition of R143a (CH 3 CF 3 ) and R125 (CHF 2 CF 3 ) and a refrigerant containing 45% or more of the composition of R32 (CH 2 F 2 ).
- an air conditioner 1 constitutes a refrigerating cycle which circulates an refrigerant by sequentially and annularly connecting a compressor 2, a four-way valve 3 having a function for switching a refrigerant flow passage, an indoor heat exchanger 4 having an indoor fan 4a, an electronic control valve (PMV) 5 as an expansion valve and an outdoor heat exchanger 6 having an outdoor fan 6a through a pipe 7.
- PMV electronic control valve
- the air conditioner 1 carries out cooling operation by switching the four-way valve 3 (four-way valve 3 OFF) when the indoor fan 4a and the outdoor fan 6a are in operation thereby circulating the alternative refrigerant (hereinafter, the alternative refrigerant is described easily as only “refrigerant” ) in the direction of the solid arrows in FIG.
- the air conditioner 1 can execute defrosting operation by stopping the indoor fan 4a and the outdoor fan 6a and, simultaneously, switching the four-way valve 3 in the heating operation so as to circulate the refrigerant in the direction opposite to that in the heating operation (in the direction of the solid arrows in FIG. 1).
- the compressor 2, the four-way valve 3, the PMV 5, the outdoor heat exchanger 6 and the outdoor fan 6a are disposed to an outdoor unit located to the outside of a room.
- the outdoor unit includes an evaporation temperature sensor 9 disposed to the outdoor heat exchanger 6 for detecting the refrigerant evaporating temperature of the outdoor heat exchanger 6 and an open air temperature sensor 10 provided with the outdoor heat exchanger 6 itself or in the vicinity thereof and has a function for controlling the outdoor components as a whole including the compressor 2 and the like according to the signals and the like detected by the evaporation temperature sensor 9 and the open air temperature sensor 10.
- the indoor heat exchanger 4 and the indoor fan 4a are provided to an indoor unit disposed in the room.
- the indoor unit includes a room temperature sensor 11 for detecting the temperature in the room and a heat exchanger temperature sensor 12 disposed to the indoor heat exchanger 4 for detecting the refrigerant condensing temperature of the indoor heat exchanger 4 and has a function for controlling the indoor side components as a whole including the indoor heat exchanger 4 and the indoor fan 4a on the basis of the signals and the like detected by the room temperature sensor 11 and the heat exchanger temperature sensor 12, respectively.
- the room temperature sensor 11 is disposed in the vicinity of the indoor heat exchanger 4 in the indoor unit (for example, on a windward side).
- FIG. 2 shows the schematic arrangement of the indoor unit in FIG. 1.
- the indoor unit 15 including the indoor heat exchanger 4 and the indoor fan 4a is formed to an substantially rectangular shape as a whole and disposed on, for example, a wall in the room so that the longitudinal direction thereof which corresponds to the direction of the rotary shaft of the indoor fan 4a is located along the horizontal direction of the room.
- the indoor unit 15 includes a main body casing 16 and a front panel 17 mounted on the front surface of the main body casing 16 which is opposite to the side of the casing where it is provided on the wall in the room.
- a suction grille 18 is disposed to the front surface of the front panel 17 and a blowout grille 19 as a blowout port is attached to the lower portion of the front panel 17 on the front floor side thereof (the lower side in the drawing).
- An airway 21 is formed in the fan casing 20 of the main body casing 16 to communicate the suction grille 18 with the blowout grille 19.
- the indoor heat exchanger 4 which is bent to, for example, an inverted-V-shape is disposed in the airway 21 and the indoor fan 4a which is composed of, for example, a transverse fan is also arranged in the airway 21 downstream of the indoor heat exchanger 4 in an air supply direction.
- the room air which is sucked from the suction grille 18 into the main body casing 16 is subjected to heat exchange in the indoor heat exchanger 4 and temperature-regulated air for cooling or heating is supplied again into the room from the blowout grille 19 by the indoor fan 4a whereby to carry out cooling operation or heating operation.
- the indoor fan 4a is arranged as a blower together with the fan casing 20 and a nose 25 which is fixed to the rear side wall of a drain pan 26 for receiving a drain from the indoor heat exchanger 4.
- an upward/downward (vertically) air flow regulating louver 27 Disposed inwardly of the blowout grille 19 are an upward/downward (vertically) air flow regulating louver 27 for regulating the vertical blowout angle of the blowout air (air flow) w in the room space which is blown from the blowout grille 19 from upward toward a ceiling side of the room space to downward toward a floor side thereof (hereinafter, the direction of the ceiling side and the direction of the floor side referred to as an up direction and down direction).
- a a rightward/ leftward (horizontal) air flow direction regulating louver 28 is provided for regulating the blowout angle in a horizontal direction (rightward and leftward) along the rotary shaft of the fan.
- the vertical air flow regulating louver 27 includes a pair of upper and lower lateral louvers 27a, 27b composed of, for example, a thin board and lateral louvers 27a, 27b are arranged along the longitudinal direction of the blowout grille 19 which is substantially in parallel with the rotary shaft of the fan over the substantially entire length thereof in parallel with each other with a predetermined interval defined therebetween in the up and down direction.
- the respective lateral louvers 27a, 27b are swung vertically (upward and downward) by a swing system about an axis (swing axis) along the above longitudinal direction and the upward/downward swing angle of the lateral louvers 27a, 27b is suitably controlled by the louver motor of the swing system which will be described later thereby controlling the blowout angle of the blowout air w in the upward/downward direction.
- FIG. 3 shows the control system of the air conditioner 1 as a whole including the indoor unit 15 and the outdoor unit 30.
- the indoor unit 15 includes an indoor control unit 31 having, for example, a microcomputer mounted thereon for controlling the entire indoor unit 15.
- An AC power supply S and a remote control unit R are connected to the indoor control unit 31, respectively.
- the indoor unit 15 further includes the room temperature sensor 11 and the heat exchanger temperature sensor 12 which are described above, a fan motor 32 for rotating the indoor fan 4a, a speed control circuit 33 for variably controlling the rotational speed of the fan motor 32, a louver motor (LM) 34 for swinging the upward/downward air flow direction regulating louver 27 (lateral louvers 27a, 27b) by turning the lateral louvers 27a, 27b about the swing axis and a louver drive circuit 35 for driving the LM 34 while controlling its rotating angel.
- the room temperature sensor 11, the heat exchanger temperature sensor 12, the speed control circuit 34 and the louver drive circuit 35 are connected to the indoor control unit 31, respectively.
- the indoor control unit 31 previously stores at least one of the heat exchange (condensation) possible temperature T0 of the indoor heat exchanger 4 in heating operation, the pressure P0 on a high pressure side corresponding to the heat exchange possible temperature T0 and the period of time t0 from the time at which heating operation starts to the time which permits the indoor heat exchanger 4 to carry out the heat exchange (condensation) in an inner memory and controls the speed control circuit 33 and the louver drive circuit 35 in accordance with the signals detected by the room temperature sensor 11 and the heat exchanger temperature sensor 12 and the outdoor information signal and the like supplied from the outdoor unit 30 (outdoor control unit).
- the outdoor unit 30 includes an outdoor control unit 40 on which, for example, a microcomputer is mounted for controlling the outdoor unit 30 as a whole and a memory (EEPROM) 41 which is interconnected to the outdoor control unit 40 and can store information data and the like which are necessary to control the outdoor control unit 40.
- An AC power supply line L is connected to the outdoor control unit 40 through the indoor control unit 31.
- the outdoor unit 30 further includes a compressor motor (CM) 42 for driving the compressor 2 in rotation and an inverter circuit 43 for converting an AC power supplied from the AC power supply S through the AC power supply line L into a direct current once and smoothing the direct current and thereafter converting the direct current into the an AC power again thereby driving the CM 42 in rotation.
- the inverter circuit 43 can regulate a cooling/heating capability in a wide range by controlling the rotation frequency of the CM 42 in accordance with the control signal from the outdoor control unit 40.
- the outdoor unit 30 further includes a fan motor (FM) 44 for driving the outdoor fan 6a in rotation, a fan drive circuit 45 for driving the FM 44 while variably controlling the rotational speed thereof, the four-way valve (4V) 3, the PMV 5 and the open air temperature sensor 10 which are described above.
- the outdoor control unit 40 controls the drive of the fan drive circuit 45, the turning ON/OFF of the four-way valve 3 and the opening of the PMV 5 in accordance with the signals detected by the evaporation temperature sensor 9 and the open air temperature sensor 10 and the indoor information signal supplied from the indoor unit 15 (the indoor control unit 31).
- the indoor control unit 31 controls the rotation of the LM 34 through the louver drive circuit 35 so as to set the angular position of the lateral louvers 27a and 27b to a position where the blowout air w is directed in the ceiling direction (upward) in the room space (for example, a horizontal position which is substantially in parallel with a ceiling surface or a floor surface (or a horizontal position which is directed in an upper direction toward the ceiling than the above horizontal position)) or a position where the blowout air w is sucked into the suction grille 18 in a short circuit fashion (short-circuit position where the louvers are directed in an upper direction toward the ceiling than the above horizontal position) (refer to the positions of the lateral louvers 27a' and 27b' shown by the broken lines and blowout air w1 (horizontal position of the louver) and blowout air w2 (short circuit position of the louver) shown by the broken arrows, respectively in FIG. 2).
- the outdoor control unit 40 switches the four-way valve 3 to an ON mode and drives the CM 42 in rotation through the inverter circuit 43 thereby starting the compressor 2 and the outdoor control unit 40 drives the FM 44 in rotation through the fan drive circuit 45 so as to drive the FM 44 and the outdoor fan 6a.
- the indoor control unit 31 drives the FM 32 in rotation through the speed control circuit 45 so as to start operation of the indoor fan 4a (the indoor fan is turned ON) substantially simultaneously with the start of the compressor 2.
- the indoor control unit 31 drives the FM 32 in rotation through the speed control circuit 45 so as to start operation of the indoor fan 4a (the indoor fan is turned ON) substantially simultaneously with the start of the compressor 2.
- heat exchange is carried out on the indoor side through the indoor heat exchanger 4 by the operation of the indoor fan 4a from the start of heating operation (refer to step S10 in FIG. 4).
- the indoor control unit 31 always refers to the signal detected by the heat exchanger temperature sensor 12 and determines whether the temperature T of the indoor heat exchanger 4 based on the detected signal increases and exceeds the heat exchange possible temperature T0 (T ⁇ T0) or not (step S11).
- the determination of the indoor control unit 31 at step S11 is NO and the indoor control unit 31 repeats the determination process at step S11.
- the indoor control unit 31 controls the rotation of the LM 34 through the louver drive circuit 35 and sets the angular position of the lateral louvers 27a and 27b to the position which is used in an ordinary heating operation, that is, the position where blowout air is directed toward the floor in the room (downward) (refer to the positions of the lateral louvers 27a and 27b shown by the solid lines in FIG. 2), by which ordinary heating operation is carried out.
- the air blown out from the blowout grille 19 by the operation of the indoor fan 4a is hot air because T ⁇ T0, and since the hot air is blown toward the floor in the room (downward) as shown by the solid arrows w0, the room space is heated (step S12).
- FIG. 5 is a graph showing an example of the change of the pressure P A on the high pressure side, the height H A of the oil level and the leakage current I A when the abscissa represents the period of time t elapsed from the start of the heating operation in the above operation for starting the heating operation.
- the air conditioner uses the alternative refrigerant whose saturated pressure is higher than that of R22 at the same temperature
- the indoor fan 4a since the indoor fan 4a has been operated from just after the start of the heating operation and the heat exchange has been carried out by the indoor heat exchanger 4 from just after the start of the heating operation, the pressure P A on the high pressure side gradually increases as shown in FIG. 5.
- the maximum pressure (peak) of the pressure P A on the high pressure side is lower than the conventional maximum pressure, there can be avoided the adverse affect to the reliability, life and the like of the compressor 2, the indoor heat exchanger 4 and the like which is caused by the abrupt increase and high peak of the pressure P A on the high pressure side.
- the refrigerant does not excessively dissolve into a lubricant and the oil level rises only slightly as compared with the conventional one (refer to the height H A of the oil level). Therefore, the peak of the leakage current I A which is caused by the rise of the oil level can be greatly lowered as compared with the conventional peak of the leakage current.
- the present invention is not limited thereto but the angular position of the lateral louvers 27a and 27b may be controlled by recognizing that the temperature T of the indoor heat exchanger 4 exceeds the heat exchange possible temperature T0 on the basis of the change of the room temperature detected by the room temperature sensor 11 in correspondence to the change of the temperature T.
- the angular position of the lateral louvers 27a and 27b may be controlled by the period of time elapsed from the start of the heating operation based on the period of time t0 from the time at which the heating operation starts to the time which permits the indoor heat exchanger 4 to carry out the heat exchange. Furthermore, the angular position of the lateral louvers 27a and 27b may be controlled based on the pressure value on the high pressure side which is determined from the temperature T of the indoor heat exchanger 4 with reference to the pressure P0 on the high pressure side in the state that the indoor heat exchanger 4 can carry out the heat exchange (condensation).
- the room temperature detected by the room temperature sensor 11 may be corrected by adding the temperature increase resulting from the air which is blown out upward toward ceiling so as to operate the indoor control unit 31 based on the corrected room temperature.
- the indoor control unit 31 may be operated by making the room temperature detected by the room temperature sensor 11 ineffective. With the above arrangement, the malfunction caused by the operation of the indoor control unit 31 based on a value detected by the room temperature sensor 1 which is different from an actual room temperature can be avoided, whereby the reliability of the air conditioner can be more improved.
- a refrigerant used here is not R22 but an alternative refrigerant whose saturated pressure is higher than that of R22 at the same temperature such as, for example, an alternative refrigerant having a saturated pressure of 2500 kPa at 50° C.
- a compressor 2 is driven at a predetermined constant operating frequency (number of rotation) and a four-way valve 3 is switched to an ON mode.
- the operating frequency (number of rotation) is referred to as a heating operation frequency, hereinafter.
- An indoor fan 4a is operated (turned ON) at a predetermined constant number of rotation and an outdoor fan 6a is also operated (turned ON) at a predetermined constant number of rotation. Further, a PMV 5 is controlled to a constant opening based on the control in the heating operation (superheat (SH) control).
- the refrigerant of high temperature and high pressure (alternative refrigerant) compressed by the compressor 2 is guided into an indoor heat exchanger 4 through the four-way valve 3 as shown by the solid lines and heats the interior of a room by radiating heat in accordance with the rotation of the indoor fan 4a.
- the refrigerant condensed by heating the interior of the room is expanded by the PMV 5 and its pressure is reduced and then guided into an outdoor heat exchanger 6.
- the refrigerant which has absorbed heat from the open air in the outdoor heat exchanger 6 in accordance with the number of rotation of the outdoor fan 6a and has evaporated is supplied to the compressor 2 again through the four-way valve 3 and compressed therein and guided into the indoor heat exchanger 4 again through the four-way valve 3 as the refrigerant of high temperature and high pressure.
- the heating operation is carried out by repeating the above heating cycle (refer to step S20 in FIG. 6).
- an outdoor control unit 40 always determines whether the evaporating temperature Te, which is detected by the evaporation temperature sensor 9, of the refrigerant having evaporated in the outdoor heat exchanger 6 continues the state that it is lower than a predetermined temperature Ts (for example, -2 ° C) (Te ⁇ Ts) for a predetermined period of time (for example, 30 minutes) or not (step S21) and when it does not continue the state, that is, the state "Te ⁇ Ts" is continued for the predetermined period of time (the result of determination at step S21 is NO), it is determined that the defrosting operation need not be carried out and the operation at step S20, that is, the heating operation is repeated.
- a predetermined temperature Ts for example, -2 ° C
- Te ⁇ Ts a predetermined period of time
- the outdoor control unit 40 first stops the CM 42 through the inverter circuit 43 so as to stop the rotation of the compressor 2 (compressor 2 is turned OFF at step S22).
- the outdoor control unit 40 reverses the four-way valve 3 in the ON mode to an OFF mode thereby reversing the circulating direction of the refrigerant from that in the heating operation and controls the PMV 5 so that it maintains a predetermined opening (opening for defrosting).
- the outdoor control unit 40 controls the FM 44 through the fan drive circuit 45 simultaneously with the reverse of the four-way valve 3 so as to stop the operation of the outdoor fan 6a.
- the indoor control unit 31 controls the FM 32 through the speed control circuit 33 at the same time the four-way valve 3 is reversed (simultaneously with the stop of the outdoor fan 6a) so that the operation of the indoor fan 4a is stopped(step S23).
- the defrosting operation is started. That is, the gaseous refrigerant of high temperature and high pressure discharged from the compressor 2 is guided into the outdoor heat exchanger 6 through the four-way valve 3 in the OFF mode and radiated and liquefied in the outdoor heat exchanger 6. At that time, frost deposited on the outside surface of the outdoor heat exchanger 6 is removed by being heated by the radiation of the refrigerant. Further, the liquid refrigerant having been condensed and liquefied by the outdoor heat exchanger 6 is supplied into the indoor heat exchanger 4 through the PMV 5 and evaporated and vaporized by absorbing heat by natural convection in the indoor heat exchanger 4. The vaporized refrigerant (gaseous refrigerant) is returned into the compressor 2 again so as to repeat the aforesaid operation cycle (step S24).
- the outdoor control unit 40 determines whether the evaporating temperature Te of the refrigerant which is evaporated in the outdoor heat exchanger 6 and detected by an evaporation temperature sensor 9 exceeds a predetermined temperature Tu (for example, 5° C, Te > Tu) or not (based on the value of the evaporating temperature Te of the refrigerant (step S25), and when the result of determination is NO (Te ⁇ Tu), the defrosting operation is repeated at step S24.
- a predetermined temperature Tu for example, 5° C, Te > Tu
- the indoor control unit 31 determines that the defrosting has been finished and returns to the processing at step S20 so as to repeat the above heating operation.
- FIG. 7 is a sequential view showing the sequence of the air conditioner 1 (the compressor 2, the four-way valve 3, the indoor fan 4a, the outdoor fan 6a and the PMV 5) in the heating operation and the defrosting operation shown by the flowchart in FIG. 6.
- the defrosting operation is started by setting the compressor 2 to the OFF mode before the defrosting operation starts and reversing the four-way valve 3 by setting the discharge pressure and suction pressure in the compressor 2 to zero in the arrangement, the difference between the discharge pressure and the suction pressure as a whole is reduced and the change of the pressure at which the four-way valve 3 is reversed is gradually occurred. Therefore, the noise and vibration caused to the piping and other components of the four-way valve 3 when the four-way valve 3 is reversed can be reduced to such a degree as not to almost affect the environment.
- the outdoor control unit 40 may increase the operating frequency of the compressor 2 from the defrosting frequency to the above heating operation frequency while continuously operating the compressor 2 by controlling the inverter circuit 43 and the CM 42. Further, the outdoor control unit 40 may stop the operation of the compressor 2 once by controlling the inverter circuit 43 and the CM 42 and increase the operating frequency of the compressor 2 to the above heating operation frequency after a predetermined period of time elapses (refer to the sequence of the operating frequency of the compressor shown by the broken line in FIG. 7).
- the present invention is not limited thereto but various modifications may be contemplated.
- a first modification starts the defrosting operation in such a manner that the outdoor control unit 40 gradually lowers the operating frequency of the compressor 2 in the processing at step S22 in FIG. 6 and reverses the four-way valve 3 at the time the operating frequency is made lower than the defrosting frequency (the operating frequency at the time: Hmin).
- the discharge pressure is sufficiently lowered because the operating frequency of the compressor 2 is sufficiently lowered as compared with the heating operation frequency and the defrosting frequency when defrosting operation starts likewise the aforesaid case of the compressor 2 ⁇ OFF.
- the difference between the discharge pressure and the suction pressure is reduced.
- the noise and vibration caused to the piping and the like of the four-way valve 3 when it is reversed can be reduced to such a degree as not to almost affect the environment.
- the degree of the difference between the discharge pressure and the suction pressure at the start of the defrosting operation (when the four-way valve 3 is reversed) is small as compared with the case of "the compressor 2 ⁇ OFF control”.
- the compressor 2 since the compressor 2 is driven at all times until the defrosting operation starts, the heating operation can be continuously carried out in the above period. Therefore, the modification has an effect that the comfortable state obtained by heating before the defrosting operation starts is not injured.
- the operating frequency Hmin may be set to "OHz" .
- FIG. 9 is a sequential diagram showing a second modification.
- the outdoor control unit 40 may start the defrosting operation in such a manner that the operating frequency of the compressor 2 is gradually lowered in the processing at step S22 in FIG. 6, the operating frequency is maintained for a predetermined period of time in the state that the operating frequency is caused to substantially coincide with the defrosting frequency and the four-way valve 3 is reversed while maintaining the operating frequency.
- the second modification is arranged as described above, since the operating frequency of the compressor 2 at the start of the defrosting is maintained to a constant defrosting frequency which is sufficiently lower than the operating frequency in the heating operation without being changed, the suction pressure can be increased and the discharge pressure can be lowered and thus the difference between discharge pressure and the suction pressure can be reduced. Therefore, the noise and vibration caused to the piping and other components of the four-way valve 3 when it is reversed can be reduced to such a degree as not to almost affect the environment.
- the modification Since the compressor 2 is driven at all times until the defrosting operation starts also in the second modification likewise the first modification, the heating operation can be continuously carried out during the period. Therefore, the modification has an effect that comfortable state obtained by heating before the start of the defrosting operation is not injured.
- FIG. 10 is a sequential diagram showing a third modification.
- the outdoor control unit 40 starts to gradually lower the operating frequency of the compressor 2 in the processing at step S22 in FIG. 6 and increases the opening of the PMV 5 from the opening based on the SH control by a predetermined amount of opening (opening "up " ).
- the outdoor control unit 40 reverses the four-way valve 3 to the OFF mode thereby reversing the circulating direction of the refrigerant from that in the heating operation and more increases the opening of the PMV 5 so as to maintain the increased opening in the defrosting operation.
- the operation of the outdoor fan 6a is turned OFF simultaneously with the reverse of the four-way valve 3 and the operation of the indoor fan 4a is turned OFF under the control of the indoor control unit 31 and so that the defrosting operation starts.
- the liquefied refrigerant is contained in the refrigerant gas supplied into the compressor 2 through the PMV 5 and the outdoor heat exchanger 6 (evaporator) in the period of time from the time at which the PMV 5 is opened to the time at which the defrosting starts (liquid back state).
- the liquefied refrigerant is removed from the refrigerant gas containing the refrigerant through a not shown accumulator and only the refrigerant gas is sucked into the compressor 2.
- the discharge pressure can be temporarily lowered (during the period of time until the defrosting operation starts). Therefore, the difference between the discharge pressure and the suction pressure is reduced and the pressure is gradually changed when the four-way valve 3 is reversed likewise the aforesaid second embodiment and the respective modifications. As a result, the noise and vibration caused to the piping and other components of the four-way valve 3 when it is reversed can be reduced to such a degree as not to almost affect the environment.
- FIG. 11 is a sequential diagram showing a fourth modification.
- the outdoor control unit 40 starts to gradually lower the operating frequency of the compressor 2 in the processing at step S22 in FIG. 6 and more reduces the opening of the PMV 5 from the opening based on the SH control by a predetermined amount of opening (opening "down").
- the outdoor control unit 40 reverses the four-way valve 3 to the OFF mode thereby reversing the circulating direction of the refrigerant from that in the heating and more increases the opening of the PMV 5 so as to keep the increased opening during the defrosting operation.
- the operation of the outdoor fan 6a is turned OFF simultaneously with the reverse of the four-way valve 3 and the operation of the indoor fan 4a is turned OFF under the control of the indoor control unit 31 whereby to start the defrosting operation.
- the opening of the PMV 5 is closed from the opening based on the SH control by the predetermined amount, the amount of the refrigerant gas circulating in the heating cycle is reduced during the period of time from the time at which the PMV 5 is closed to the time at which defrosting starts. Therefore, the discharge pressure can be lowered in the period until the defrosting operation starts. As a result, the difference between the discharge pressure and the suction pressure is reduced and the pressure is gradually changed when the four-way valve 3 is reversed likewise the aforesaid second embodiment and respective modifications. Thus, a noise and vibration suppressing effect similar to that of the second embodiment and respective modifications can be obtained.
- FIG. 12 is a sequential diagram showing a fifth modification.
- the outdoor control unit 40 starts to gradually lower the operating frequency of the compressor 2 in the processing at step S22 in FIG. 6.
- the indoor control unit 31 increases the number of rotation of the indoor fan 4a by a predetermined number ( "up” ) through the speed control circuit 33 and the fan motor 32 simultaneously with the start of the reduction of the operating frequency carried out by the outdoor control unit 40.
- the outdoor control unit 40 reverses the four-way valve 3 to the OFF mode thereby reversing the circulating direction of the refrigerant from that in the heating and more increases the opening of the PMV 5 so as to maintain the opening during the defrosting operation.
- the operation of the outdoor fan 6a is turned OFF simultaneously with the reverse of the four-way valve 3.
- the indoor control unit 31 turns OFF the operation (rotation) of the indoor fan 4a through the speed control circuit 33 and the FM 32 simultaneously with the reverse of the four-way valve 3 (simultaneously with the turning OFF of the operation of the outdoor fan 6a) so that the defrosting operation starts.
- the amount of condensation (amount of radiation) of the indoor heat exchanger 4 (condenser) is increased during the period from the time when the number of rotation of the indoor fan 4a increases to the time when the defrosting starts. Therefore, the discharge pressure can be lowered in the period until the defrosting operation starts. As a result, the difference between the discharge pressure and the suction pressure is reduced and the pressure is gradually changed when the four-way valve 3 is reversed likewise the aforesaid second embodiment and the respective modifications. Thus, a noise and vibration suppressing effect similar to that of the second embodiment and respective modifications can be obtained.
- FIG. 13 is a sequential diagram showing a sixth modification.
- the outdoor control unit 40 starts to gradually lower the operating frequency of the compressor 2 in the processing at step S22 in FIG. 6 and reduces the number of rotation of the outdoor fan 6a ( "down" ) through the fan drive circuit 45 and the FM 44.
- the outdoor control unit 40 reverses the four-way valve 3 to the OFF mode thereby reversing the circulating direction of the refrigerant from that during heating operation and more increases the opening of the PMV 5 so as to keep the increased opening during the defrosting operation.
- the outdoor control unit 40 turns OFF the operation (rotation) of the outdoor fan 6a through the fan drive circuit 45 and the FM 44 simultaneously with the reverse of the four-way valve 3 and turns OFF the operation of the indoor fan 4a under the control of the indoor control unit 31 whereby to start the defrosting operation.
- the amount of evaporation (amount heat absorption) of the outdoor heat exchanger 6 (evaporator) is reduced during the period from the time at which the number of rotation of the outdoor fan 6a is reduced to the time at which the defrosting operation starts. Therefore, although the suction pressure is lowered in the period of time until the defrosting operation starts, the amount of circulation of the refrigerant can be reduced in the heating cycle.
- the reduction of the amount of circulation of the refrigerant permits the discharge pressure to be lowered, and since the lowered amount of the discharge pressure is greater than the lowered amount of the suction pressure, the difference between the discharge pressure and the suction pressure is reduced likewise the aforesaid second embodiment and the respective modifications. Therefore, the pressure is gradually changed when the four-way valve 3 is reversed and a noise and vibration suppressing effect similar to that of the second embodiment and respective modifications can be obtained.
- FIG. 7 shows the various types of control for reducing the difference between the discharge pressure and the suction pressure by the flowchart in FIG. 6 and the sequential diagrams in FIG. 7 to FIG. 13, the embodiments may be executed by combining the various types of control shown in FIG. 7 to FIG. 13. That is, it is possible to execute the embodiments by combining any one of the frequency controls of the compressor 2 shown in FIG. 7 to FIG. 9, any one of the opening controls of the PMV 5 shown in FIG. 10 and FIG. 11, the number of rotation control of the indoor fan 4a shown in FIG. 12 and the number of rotation control of the outdoor fan 6a shown in FIG. 13, respectively.
- FIG. 14 shows a sequential diagram which is executed by combining the turning-OFF control of the compressor 2 (FIG. 7), the opening increase control of the PMV 5 (FIG. 10), the increase of the number of rotation of the indoor fan 4a (FIG. 12) and the decrease of the number of rotation of the outdoor fan 6a (FIG. 13), respectively.
- the embodiments executed by combining the various types of control result in a multiplied effect, whereby a great noise and vibration suppressing effect can be obtained.
- the embodiments use the refrigerant having the saturated pressure of 2500 kPa or more at 50 ° C as the alternative refrigerant, the present invention is not limited thereto but any refrigerant may be used so long as it has a saturated pressure higher than that of R22 at the same temperature and does not destroy the ozone layer.
- the lateral louvers 27a, 27b are swung vertically by the drive of the same louver motor.
- the present invention is not limited to this structure but may apply to a structure such that each of the lateral louvers 27a, 27b is individually swung vertically by each drives of the individual louver motors.
Landscapes
- Engineering & Computer Science (AREA)
- Chemical & Material Sciences (AREA)
- Combustion & Propulsion (AREA)
- Mechanical Engineering (AREA)
- General Engineering & Computer Science (AREA)
- Physics & Mathematics (AREA)
- Thermal Sciences (AREA)
- Air Conditioning Control Device (AREA)
- Compression-Type Refrigeration Machines With Reversible Cycles (AREA)
Claims (22)
- Klimaanlage (1) mit einem im Kreis umlaufenden Kühlmittel, welche gebildet wird durch ein aufeinander folgendes Verbinden eines Kompressors (2), eines im Innern liegenden Wärmeaustauschers (4) mit einem im Innern liegenden Ventilator (4a), der in einem Raum angeordnet ist, eines Expansionssystems (5) und eines im Freien liegenden Wärmeaustauschers (6) mit einem im Freien liegenden Ventilator (6a), der außerhalb des Raumes so angeordnet ist, dass er die Klimatisierungstätigkeit für die Luft durchführt, einschließlich mindestens eines Erhitzungsvorganges in dem Raum durch den Umlauf des Kühlmittels in dem Kühlmittelkreislauf, in welchem ein alternatives Kühlmittel mit einem Sättigungsdruck höher als der Sättigungsdruck von HCFC22 bei der gleichen Temperatur als das Kühlmittel eingesetzt wird,
wobei die Klimaanlage eine Einrichtung enthält für die Regulierung (27a, 27b, 34, 35) einer vertikalen Richtung eines Luftflusses, der aus dem im Innern liegenden Ventilator herausgeblasen wird;
gekennzeichnet durch,
eine Steuereinrichtung (31) für die Steuerung der Einrichtung für die Regulierung am Beginn des Erhitzungsvorganges, um so den Luftfluss aufwärts zu lenken in Richtung auf eine Seite der Decke in dem Raum und, wenn der im Innern liegende Wärmeaustauscher einen Zustand erreicht, der in der Lage ist den Vorgang des Wärmeaustausches auszuführen, für die Steuerung der Einrichtung für die Regulierung (27a, 27b, 34, 35), so dass der Luftfluss nach unten in Richtung auf eine Seite des Fußbodens in dem Raum gelenkt wird. - Klimaanlage gemäss Anspruch 1, dadurch gekennzeichnet, dass die Einrichtung für die Regulierung angepasst ist, um einen vertikalen Ausblaswinkel des Luftflusses zu regulieren, der von dem im Innern liegenden Ventilator ausgeblasen wird, wodurch die vertikale Richtung desselben reguliert wird.
- Klimaanlage gemäss Anspruch 2, dadurch gekennzeichnet, dass sie weiterhin eine Einrichtung eines Temperatursensors (12) umfasst für den Nachweis von mindestens einer Temperatur des im Innern liegenden Wärmeaustauschers und der Ausblastemperatur desselben und dadurch gekennzeichnet, dass die Steuereinrichtung angepasst ist, um die Einrichtung für die Regulierung zu steuern in Antwort auf das Signal, das durch die Einrichtung des Temperatursensors nachgewiesen wird.
- Klimaanlage gemäss Anspruch 2, dadurch gekennzeichnet, dass die Klimatisierungstätigkeit für die Luft einen Kühlvorgang in dem Raum mit einschließt und dass die Richtung des Luftflusses, die am Beginn des Erhitzungsvorganges festgesetzt wird, im Wesentlichen die gleiche ist wie eine vertikale Richtung, die bei dem Kühlvorgang festgesetzt wird.
- Klimaanlage gemäss Anspruch 2, dadurch gekennzeichnet, dass die Klimatisierungstätigkeit für die Luft einen Kühlvorgang in dem Raum mit einschließt und dass der im Innern liegende Ventilator (4a) und der im Innern liegende Wärmeaustauscher (4) in einer Innenraumeinheit (15) angeordnet sind, die in dem Raum aufgestellt ist, und dass diese Innenraumeinheit ein Ansauggitter (18) enthält, für das Ansaugen der Raumluft und für das Liefern der angesaugten Luft in den im Innern liegenden Wärmeaustauscher, und ein Ausblasgitter (19), für das Ausblasen der Luft, deren Temperatur von dem im Innern liegenden Wärmeaustauscher gesteuert wird, in den Raum hinein durch den im Innern liegenden Ventilator, wobei die Einrichtung für die Regulierung (27a, 27b) in der Nähe des Ausblasgitters angeordnet ist und die vertikale Richtung des Luftflusses, der aus dem Ausblasgitter herausgeblasen wird, reguliert, und dadurch gekennzeichnet, dass die vertikale Richtung des Luftflusses, die am Beginn des Erhitzungsvorganges festgesetzt wird, nach aufwärts gerichtet ist, im Vergleich mit einer vertikalen Richtung des Luftflusses bei dem Kühlvorgang, so dass der Luftfluss, der aus dem Ausblasgitter herausgeblasen wird, in das Sauggitter angesogen wird in der Art eines kurzen Arbeitskreises.
- Klimaanlage gemäss Anspruch 5, dadurch gekennzeichnet, dass die Einrichtung für die Regulierung (27a, 27b, 34, 35) ein Paar von Luftklappen (27a, 27b) enthält, von denen eine jede eine Schwingachse aufweist, die so entlang einer längsverlaufenden Richtung des Ausblasgitters angeordnet ist, dass sie um die Schwingachse herum vertikal schwingfähig sind, wobei die Schwingachse und die längsverlaufende Richtung im Wesentlichen parallel verlaufen mit einer Drehwelle des im Innern liegenden Ventilators, einem Luftklappenmotor (34), um das Paar Luftklappen unter einem vorherbestimmten Winkel um die Schwingachse herum zu schwingen, und einer Antriebsvorrichtung (35) für den Luftklappenmotor, während ein Drehwinkel des Luftklappenmotors gesteuert wird gemäss der Steuerung der Steuereinrichtung, wodurch der von dort herausgeblasene Luftfluss in das Sauggitter angesogen wird.
- Klimaanlage gemäss Anspruch 1, dadurch gekennzeichnet, dass die Steuereinrichtung (31) angepasst ist, um die Einrichtung für die Regulierung (27a, 27b, 34, 35) zu steuern gemäss einer Zeitdauer, die seit dem Beginn des Erhitzungsvorganges verstrichen ist, wodurch der Luftfluss nach oben in Richtung auf die Seite der Zimmerdecke oder nach unten in Richtung auf den Fußbodenseite gelenkt wird.
- Klimaanlage gemäss Anspruch 3, dadurch gekennzeichnet, dass die Steuereinrichtung (31) angepasst ist, um die Einrichtung für die Regulierung (27a, 27b, 34, 35) zu steuern gemäss einem Druck auf einer Hochdruckseite des im Innern liegenden Wärmeaustauschers, bestimmt von der einen Temperatur des im Innern liegenden Wärmeaustauschers und der Ausblastemperatur desselben, wodurch der Luftfluss nach oben in Richtung auf die Seite der Zimmerdecke oder nach unten in Richtung auf die Fußbodenseite gelenkt wird.
- Klimaanlage gemäss Anspruch 1, dadurch gekennzeichnet, dass sie weiter einen Raumtemperatursensor (11) enthält, der neben dem im Innern liegenden Wärmeaustauscher (4) für die Erfassung einer Raumtemperatur angeordnet ist, und Mittel für die Berichtigung der Raumtemperatur, die von dem Raumtemperatursensor erfasst wird, wenn der Luftfluss nach oben in Richtung auf die Seite der Zimmerdecke gelenkt wird.
- Klimaanlage gemäss Anspruch 1, dadurch gekennzeichnet, dass sie weiter einen Raumtemperatursensor (11) enthält, der neben dem im Innern liegenden Wärmeaustauscher (4) für die Erfassung einer Raumtemperatur angeordnet ist, und Mittel, um die Temperatur, die von dem Raumtemperatursensor erfasst wird, unwirksam zu machen, wenn der Luftfluss nach oben in Richtung auf die Seite der Zimmerdecke in dem Raum gelenkt wird.
- Klimaanlage gemäss Anspruch 1, dadurch gekennzeichnet, dass das alternative Kühlmittel irgendein Kühlmittel ist, das nicht weniger als 80% der Verbindungszusammensetzung aus HFC32 und HFC125 enthält, ein Kühlmittel, das nicht weniger als 80% der Verbindungszusammensetzung aus HFC143a und HFC125 enthält und ein Kühlmittel, das nicht weniger als 45% der Verbindung aus HFC32 enthält.
- Verfahren für die Steuerung einer Klimaanlage (1) mit einem im Kreis umlaufenden Kühlmittel welches gebildet wird durch ein aufeinander folgendes Verbinden eines Kompressors (2), eines im Innern liegenden Wärmeaustauschers (4) mit einem im Innern liegenden Ventilator (4a), der in einem Raum angeordnet ist, eines Expansionssystems (5) und eines im Freien liegenden Wärmeaustauschers (6) mit einem im Freien liegenden Ventilator (6a), der außerhalb des Raumes so aufgestellt ist, dass er die Klimatisierungstätigkeit für die Luft durchführt, einschließlich mindestens eines Erhitzungsvorganges in dem Raum durch den Umlauf des Kühlmittels in dem Kühlmittelkreislauf, in welchem ein alternatives Kühlmittel mit einem Sättigungsdruck höher als der Sättigungsdruck von HCFC22 bei der gleichen Temperatur als das Kühlmittel eingesetzt wird, wobei das Verfahren dadurch gekennzeichnet ist, dass es die folgenden Schritte umfasst:ein Regulieren einer vertikalen Richtung eines Luftflusses, der aus dem im Innern liegenden Ventilator herausgeblasen wird am Beginn des Erhitzungsvorganges, um so den Luftfluss aufwärts zu lenken in Richtung auf eine Seite einer Decke in dem Raum; undein Regulieren, wenn der im Innern liegende Wärmeaustauscher einen Zustand erreicht, der in der Lage ist, den Erhitzungsvorgang auszuführen, der vertikalen Richtung des Luftflusses, der aus dem im Innern liegenden Ventilator herausgeblasen wird, um so den Luftfluss nach unten zu lenken in Richtung auf eine Seite des Fußbodens in dem Raum.
- Klimaanlage (1) mit einem im Kreis umlaufenden Kühlmittel, welche gebildet wird durch ein aufeinander folgendes Verbinden eines Kompressors (2), eines Vierwegeventils (3), eines im Innern liegenden Wärmeaustauschers (4) mit einem im Innern liegenden Ventilator (4a), der in einem Raum angeordnet ist, eines Expansionssystems (5) und eines im Freien liegenden Wärmeaustauschers (6) mit einem im Freien liegenden Ventilator (6a), der außerhalb des Raumes so angeordnet ist, dass er die Klimatisierungstätigkeit für die Luft durchführt, einschließlich mindestens eines Erhitzungsvorganges in dem Raum und eines Enteisungsvorganges in demselben, bei welchem ein alternatives Kühlmittel mit einem Sättigungsdruck höher als der Sättigungsdruck von HCFC22 bei der gleichen Temperatur eingesetzt wird als das Kühlmittel, und der Erhitzungsvorgang durchgeführt wird, indem der Kompressor bei einer Betriebsfrequenz betrieben wird und indem der im Innern liegende Ventilator (4a) und der im Freien liegende Ventilator (6a) in Rotation versetzt werden, während eine Entladungsseite des Kompressors des Kühlmittelkreislaufes mit dem im Innern liegenden Wärmeaustauscher durch das Vierwegeventil (3) verbunden ist und eine Ansaugseite des Kompressors desselben mit dem im Freien liegenden Wärmeaustauscher (6) durch dasselbe, dadurch gekennzeichnet, dass die Klimaanlage enthält:eine Einrichtung für die Steuerung (40) des Vierwegeventils am Beginn des Enteisungsvorganges während des Erhitzungsvorganges, so dass die Entladungsseite des Kompressors umgekehrt mit dem im Freien liegenden Wärmeaustauscher verbunden ist bzw. die Ansaugseite desselben mit dem im Innern liegenden Wärmeaustauscher;ein Hilfsmittel für das Festsetzen der Betriebsfrequenz (40) des Kompressors auf eine vorherbestimmte Frequenz für den Enteisungsvorgang, für das Stoppen der Umdrehung des im Innern liegenden Ventilators und des in Freien liegenden Ventilators, und für das Festsetzen einer Öffnung eines Ausdehnungssystems auf eine vorherbestimmte Öffnung für den Enteisungsvorgang, wobei das Festsetzen der Betriebsfrequenz des Kompressors auf die vorherbestimmte Frequenz, das Stoppen der Umdrehung des im Innern liegenden Ventilators und des im Freien liegenden Ventilators, und das Festsetzen der Öffnung des Ausdehnungssystems auf die vorherbestimmte Öffnung im Wesentlichen zur gleichen Zeit mit der umgekehrten Verbindung des Vierwegeventils stattfindet; undMittel zur Verminderung eines Unterschiedes zwischen einem Druck an der Entladungsseite des im Kreis umlaufenden Kühlmittels und einem Druck an der Ansaugseite desselben, wenn das Vierwegeventil umgekehrt verbunden ist.
- Klimaanlage gemäss Anspruch 13, dadurch gekennzeichnet, dass das Mittel zur Verminderung angepasst ist, um den Betrieb des Kompressors zu stoppen zu einer Zeit vor einer vorherbestimmten Zeitdauer von dem Beginn der umgekehrten Steuerung der Steuereinrichtung, um so die Beendigung des Kompressorbetriebes zu halten bis zu dem Start der umgekehrten Steuerung desselben.
- Klimaanlage gemäss Anspruch 13, dadurch gekennzeichnet, dass das Mittel zur Verminderung ein Hilfsmittel enthält, um die Betriebsfrequenz des Kompressors niedriger einzustellen als die Betriebsfrequenz des Enteisungsvorganges, wenn das Vierwegeventil umgekehrt verbunden ist.
- Klimaanlage gemäss Anspruch 13, dadurch gekennzeichnet, dass das Mittel zur Verminderung ein Hilfsmittel enthält um die Betriebsfrequenz des Kompressors auf die Betriebsfrequenz des Enteisungsvorganges einzustellen zu einer Zeit vor einer vorherbestimmten Zeitdauer von dem Beginn der umgekehrten Steuerung der Steuereinrichtung, um so die Betriebsfrequenz des Enteisungsvorganges zu halten bis zu dem Start der umgekehrten Steuerung desselben.
- Klimaanlage gemäss Anspruch 13, dadurch gekennzeichnet, dass das Mittel zur Verminderung ein Hilfsmittel enthält für die Erhöhung der Öffnung des Ausdehnungssystems um einen vorherbestimmten Betrag verglichen mit der Öffnung desselben während des Erhitzungsvorganges für eine vorherbestimmte Zeitdauer bevor die umgekehrte Steuerung der Steuereinrichtung startet, um so die erhöhte Öffnung des Ausdehnungssystems zu halten bis die umgekehrte Steuerung desselben startet.
- Klimaanlage gemäss Anspruch 13, dadurch gekennzeichnet, dass das Mittel zur Verminderung ein Hilfsmittel enthält für die Verminderung der Öffnung des Ausdehnungssystems um einen vorherbestimmten Betrag verglichen mit der Öffnung desselben während des Erhitzungsvorganges für eine vorherbestimmten Zeitdauer bevor die umgekehrte Steuerung der Steuereinrichtung startet, um so die verminderte Öffnung des Ausdehnungssystems zu halten bis die umgekehrte Steuerung desselben startet.
- Klimaanlage gemäss Anspruch 13, dadurch gekennzeichnet, dass das Mittel zur Verminderung Hilfsmittel enthält für die Erhöhung einer Umdrehungszahl des im Innern liegenden Ventilators um eine vorherbestimmte Zahl verglichen mit einer Umdrehungszahl desselben während des Erhitzungsvorganges für eine vorherbestimmte Zeitdauer bevor die umgekehrte Steuerung der Steuereinrichtung startet, um so die erhöhte Umdrehungszahl des im Innern liegenden Ventilators zu halten bis die umgekehrte Steuerung desselben startet.
- Klimaanlage gemäss Anspruch 13, dadurch gekennzeichnet, dass das Mittel zur Verminderung Hilfsmittel enthält für die Verminderung einer Umdrehungszahl des im Freien liegenden Ventilators um eine vorherbestimmte Zahl verglichen mit einer Umdrehungszahl desselben während des Erhitzungsvorganges für eine vorherbestimmte Zeitdauer bevor die umgekehrte Steuerung der Steuereinrichtung startet, um so die verminderte Umdrehungszahl des im Freien liegenden Ventilators zu halten bis die umgekehrte Steuerung desselben startet.
- Klimaanlage gemäss Anspruch 13, dadurch gekennzeichnet, dass das alternative Kühlmittel irgendein Kühlmittel ist, das nicht weniger als 80% der Verbindungszusammensetzung aus HFC32 und HFC125 enthält, ein Kühlmittel, das nicht weniger als 80% der Verbindungszusammensetzung aus HFC143a und HFC125 enthält und ein Kühlmittel, das nicht weniger als 45% der Verbindung aus HFC32 enthält.
- Verfahren für die Steuerung einer Klimaanlage (1) mit einem im Kreis umlaufenden Kühlmittel welches gebildet wird durch aufeinander folgendes Verbinden eines Kompressors (2), einschließlich einer Entladungsseite für das Entladen des Kühlmittels und einer Ansaugseite für das Ansaugen des Kühlmittels, eines Vierwegeventils (3), eines im Innern liegenden Wärmeaustauschers (4) mit einem im Innern liegenden Ventilator (4a), der in einem Raum angeordnet ist, eines Expansionssystems (5) und eines im Freien liegender Wärmeaustauschers (6) mit einem im Freien liegenden Ventilator (6a), der außerhalb des Raumes angeordnet ist, dass er die Klimatisierungstätigkeit für die Luft durchführt, einschließlich mindestens eines Erhitzungsvorganges in dem Raum und eines Enteisungsvorganges in demselben, in welchem ein alternatives Kühlmittel mit einem Sättigungsdruck höher als der Sättigungsdruck von HCFC22 bei der gleichen Temperatur eingesetzt wird als das Kühlmittel, und der Erhitzungsvorgang ausgeführt durch Betreiben des Kompressors bei einer Betriebsfrequenz und durch eine Rotation des im Innern liegenden Ventilators und des im Freien liegenden Ventilators, während die Entladungsseite des Kompressors des Kühlmittelkreislaufes mit dem im Innern liegenden Wärmeaustauscher durch das Vierwegeventil (3) verbunden wird und die Ansaugseite des Kompressors desselben mit dem im Freien liegenden Wärmeaustauscher, Verfahren dadurch gekennzeichnet, dass es die folgenden Schritte aufweist:Steuerung des Vierwegeventils (3) am Beginn des Enteisungsvorganges während des Erhitzungsvorganges, um so die Entladungsseite des Kompressors umgekehrt mit dem im Freien liegenden Wärmeaustauscher zu verbinden bzw. die Ansaugseite desselben mit dem im Innern liegenden Wärmeaustauscher;Festsetzen der Betriebsfrequenz des Kompressors (2) auf eine vorherbestimmte Frequenz für den Enteisungsvorgang im Wesentlichen zur gleichen Zeit mit der umgekehrten Verbindung des Vierwegeventils;Stoppen der Umdrehung des im Innern liegenden Ventilators (4a) und des im Freien liegenden Ventilators (6a) im Wesentlichen zur gleichen Zeit mit der umgekehrten Verbindung des Vierwegeventils (3);Festsetzen einer Öffnung des Ausdehnungssystems auf eine vorherbestimmte Öffnung für den Enteisungsvorgang im Wesentlichen zur gleichen Zeit mit der umgekehrten Verbindung des Vierwegeventils; undVerminderung eines Unterschiedes zwischen einem Druck an der Entladungsseite in dem im Kreis umlaufenden Kühlmittel und einem Druck an der Ansaugseite desselben, wenn das Vierwegeventil umgekehrt ist.
Applications Claiming Priority (3)
| Application Number | Priority Date | Filing Date | Title |
|---|---|---|---|
| JP29088396 | 1996-10-31 | ||
| JP290883/96 | 1996-10-31 | ||
| JP29088396A JP3495858B2 (ja) | 1996-10-31 | 1996-10-31 | 空気調和機 |
Publications (3)
| Publication Number | Publication Date |
|---|---|
| EP0840071A2 EP0840071A2 (de) | 1998-05-06 |
| EP0840071A3 EP0840071A3 (de) | 1998-09-16 |
| EP0840071B1 true EP0840071B1 (de) | 2002-12-11 |
Family
ID=17761751
Family Applications (1)
| Application Number | Title | Priority Date | Filing Date |
|---|---|---|---|
| EP97308769A Expired - Lifetime EP0840071B1 (de) | 1996-10-31 | 1997-10-31 | Klimagerät und Steuerverfahren dafür |
Country Status (4)
| Country | Link |
|---|---|
| EP (1) | EP0840071B1 (de) |
| JP (1) | JP3495858B2 (de) |
| KR (1) | KR100263664B1 (de) |
| CN (1) | CN1108491C (de) |
Cited By (1)
| Publication number | Priority date | Publication date | Assignee | Title |
|---|---|---|---|---|
| CN110567120A (zh) * | 2019-09-09 | 2019-12-13 | 珠海格力电器股份有限公司 | 可提高外机风量的空调外机控制方法、装置及空调外机 |
Families Citing this family (22)
| Publication number | Priority date | Publication date | Assignee | Title |
|---|---|---|---|---|
| KR100307228B1 (ko) * | 1998-11-27 | 2002-02-19 | 윤종용 | 공기조화기의절전운전제어방법_ |
| JP3609286B2 (ja) * | 1999-05-25 | 2005-01-12 | シャープ株式会社 | 空調機器 |
| JP4073585B2 (ja) * | 1999-08-27 | 2008-04-09 | 三菱電機株式会社 | 壁掛け式空気調和機 |
| KR100487780B1 (ko) * | 2002-07-03 | 2005-05-06 | 엘지전자 주식회사 | 공기조화기의 운전제어방법 |
| JP2009058222A (ja) * | 2006-03-31 | 2009-03-19 | Daikin Ind Ltd | 室外機 |
| JP4270274B2 (ja) * | 2006-03-31 | 2009-05-27 | ダイキン工業株式会社 | 室外機 |
| JP4622921B2 (ja) * | 2006-04-03 | 2011-02-02 | パナソニック株式会社 | 空気調和機 |
| JP5448390B2 (ja) * | 2008-08-22 | 2014-03-19 | 東芝キヤリア株式会社 | 空気調和機 |
| CN103968494B (zh) * | 2013-01-25 | 2016-08-03 | 珠海格力电器股份有限公司 | 空调系统的控制方法及空调系统 |
| JP6171417B2 (ja) * | 2013-03-07 | 2017-08-02 | 株式会社富士通ゼネラル | 空気調和機 |
| JP2015042922A (ja) * | 2013-08-26 | 2015-03-05 | パナソニックIpマネジメント株式会社 | 空気調和機 |
| CN109059392A (zh) * | 2014-02-28 | 2018-12-21 | 株式会社电装 | 调温贮藏装置 |
| CN104199442B (zh) * | 2014-08-28 | 2017-05-31 | 广东美的制冷设备有限公司 | 空调电控系统的检测装置及方法 |
| JP6495064B2 (ja) * | 2015-03-26 | 2019-04-03 | 三菱重工サーマルシステムズ株式会社 | 空調システムの制御装置、空調システム、空調システムの制御プログラム、及び空調システムの制御方法 |
| JP6123853B2 (ja) * | 2015-08-18 | 2017-05-10 | ダイキン工業株式会社 | 空調機 |
| CN107084517B (zh) * | 2017-06-14 | 2023-12-22 | 珠海格力电器股份有限公司 | 天井式空调器化霜方法及天井式空调器 |
| JP6493486B1 (ja) * | 2017-10-30 | 2019-04-03 | ダイキン工業株式会社 | 空気調和機 |
| DE102020130541B3 (de) | 2020-11-19 | 2022-01-27 | Viessmann Climate Solutions Se | Verfahren zum Betrieb einer Wärmepumpe |
| CN113701244B (zh) * | 2021-08-23 | 2022-06-17 | 青岛海信日立空调系统有限公司 | 新风空调系统 |
| CN114279098A (zh) * | 2021-12-16 | 2022-04-05 | 珠海格力电器股份有限公司 | 一种制冷系统、空调和制冷系统的控制方法 |
| CN115717767B (zh) * | 2022-11-25 | 2024-09-24 | 珠海格力电器股份有限公司 | 移动空调器的控制方法及装置、移动空调器 |
| EP4414617A1 (de) * | 2023-02-09 | 2024-08-14 | Daikin Europe N.V. | Klimaanlage und verfahren zur steuerung einer klimaanlage |
Family Cites Families (8)
| Publication number | Priority date | Publication date | Assignee | Title |
|---|---|---|---|---|
| JPS57184847A (en) * | 1981-05-07 | 1982-11-13 | Matsushita Electric Ind Co Ltd | Air conditioner |
| JPS5866744A (ja) * | 1981-10-19 | 1983-04-21 | Hitachi Ltd | 空調機の吹き出し口 |
| KR900005979B1 (ko) * | 1985-08-22 | 1990-08-18 | 미쓰비시 덴끼 가부시기가이샤 | 공기조화장치 |
| JPH06249485A (ja) * | 1993-02-26 | 1994-09-06 | Toshiba Corp | 空気調和換気システム |
| JPH08166172A (ja) * | 1994-12-14 | 1996-06-25 | Sanyo Electric Co Ltd | 冷凍装置 |
| JPH09138026A (ja) * | 1995-11-14 | 1997-05-27 | Sanyo Electric Co Ltd | 冷凍サイクル及びその冷凍サイクルを備えた空気調和機 |
| JPH09145169A (ja) * | 1995-11-17 | 1997-06-06 | Sanyo Electric Co Ltd | 空気調和機 |
| JPH09145174A (ja) * | 1995-11-17 | 1997-06-06 | Sanyo Electric Co Ltd | 空気調和機及びその運転制御方法 |
-
1996
- 1996-10-31 JP JP29088396A patent/JP3495858B2/ja not_active Expired - Fee Related
-
1997
- 1997-09-23 CN CN97116922A patent/CN1108491C/zh not_active Expired - Fee Related
- 1997-10-29 KR KR1019970057581A patent/KR100263664B1/ko not_active Expired - Fee Related
- 1997-10-31 EP EP97308769A patent/EP0840071B1/de not_active Expired - Lifetime
Cited By (2)
| Publication number | Priority date | Publication date | Assignee | Title |
|---|---|---|---|---|
| CN110567120A (zh) * | 2019-09-09 | 2019-12-13 | 珠海格力电器股份有限公司 | 可提高外机风量的空调外机控制方法、装置及空调外机 |
| CN110567120B (zh) * | 2019-09-09 | 2020-09-04 | 珠海格力电器股份有限公司 | 可提高外机风量的空调外机控制方法、装置及空调外机 |
Also Published As
| Publication number | Publication date |
|---|---|
| KR19980033401A (ko) | 1998-07-25 |
| KR100263664B1 (ko) | 2000-08-01 |
| CN1181484A (zh) | 1998-05-13 |
| EP0840071A2 (de) | 1998-05-06 |
| EP0840071A3 (de) | 1998-09-16 |
| JPH10132358A (ja) | 1998-05-22 |
| CN1108491C (zh) | 2003-05-14 |
| JP3495858B2 (ja) | 2004-02-09 |
Similar Documents
| Publication | Publication Date | Title |
|---|---|---|
| EP0840071B1 (de) | Klimagerät und Steuerverfahren dafür | |
| KR100208322B1 (ko) | 한냉지용 히트펌프 공기조화기 | |
| JP5677233B2 (ja) | 室外機及びその室外機を備えた冷凍サイクル装置 | |
| WO2016084186A1 (ja) | 空調給湯複合システム | |
| CN114811876A (zh) | 空调器及其控制方法 | |
| JP6785987B2 (ja) | 冷凍サイクル装置 | |
| US6434959B2 (en) | Air conditioner | |
| CN113834248A (zh) | 空调机 | |
| JP2002174463A (ja) | 冷凍装置 | |
| JP3291380B2 (ja) | 空気調和機 | |
| JP6567086B2 (ja) | 空気調和装置 | |
| JP2018204935A (ja) | 冷凍装置 | |
| JP3853550B2 (ja) | 空気調和装置 | |
| JPH06257868A (ja) | 空調用ヒートポンプ式氷蓄熱装置 | |
| JP3945949B2 (ja) | 空気調和装置 | |
| JP3164079B2 (ja) | 冷凍装置 | |
| JP6624219B2 (ja) | 空気調和機 | |
| JP2668627B2 (ja) | 外気処理ユニット | |
| JP2002048382A (ja) | 空気調和装置 | |
| JP7082306B1 (ja) | 空気調和機 | |
| JP2025150591A (ja) | 空気調和機 | |
| JP3945948B2 (ja) | 空気調和装置 | |
| JP3819523B2 (ja) | 冷凍装置 | |
| JP2023158469A (ja) | 空気調和機 | |
| KR0164883B1 (ko) | 비공비 혼합 냉매를 이용한 냉동 싸이클을 갖는 공기 조화기 |
Legal Events
| Date | Code | Title | Description |
|---|---|---|---|
| PUAI | Public reference made under article 153(3) epc to a published international application that has entered the european phase |
Free format text: ORIGINAL CODE: 0009012 |
|
| 17P | Request for examination filed |
Effective date: 19971124 |
|
| AK | Designated contracting states |
Kind code of ref document: A2 Designated state(s): FR GB |
|
| AX | Request for extension of the european patent |
Free format text: AL;LT;LV;RO;SI |
|
| PUAL | Search report despatched |
Free format text: ORIGINAL CODE: 0009013 |
|
| AK | Designated contracting states |
Kind code of ref document: A3 Designated state(s): AT BE CH DE DK ES FI FR GB GR IE IT LI LU MC NL PT SE |
|
| AX | Request for extension of the european patent |
Free format text: AL;LT;LV;RO;SI |
|
| AKX | Designation fees paid |
Free format text: FR GB |
|
| RBV | Designated contracting states (corrected) |
Designated state(s): FR GB |
|
| REG | Reference to a national code |
Ref country code: DE Ref legal event code: 8566 |
|
| 17Q | First examination report despatched |
Effective date: 20010301 |
|
| GRAG | Despatch of communication of intention to grant |
Free format text: ORIGINAL CODE: EPIDOS AGRA |
|
| GRAG | Despatch of communication of intention to grant |
Free format text: ORIGINAL CODE: EPIDOS AGRA |
|
| GRAG | Despatch of communication of intention to grant |
Free format text: ORIGINAL CODE: EPIDOS AGRA |
|
| GRAH | Despatch of communication of intention to grant a patent |
Free format text: ORIGINAL CODE: EPIDOS IGRA |
|
| GRAH | Despatch of communication of intention to grant a patent |
Free format text: ORIGINAL CODE: EPIDOS IGRA |
|
| GRAA | (expected) grant |
Free format text: ORIGINAL CODE: 0009210 |
|
| AK | Designated contracting states |
Kind code of ref document: B1 Designated state(s): FR GB |
|
| REG | Reference to a national code |
Ref country code: GB Ref legal event code: FG4D |
|
| ET | Fr: translation filed | ||
| PLBE | No opposition filed within time limit |
Free format text: ORIGINAL CODE: 0009261 |
|
| STAA | Information on the status of an ep patent application or granted ep patent |
Free format text: STATUS: NO OPPOSITION FILED WITHIN TIME LIMIT |
|
| 26N | No opposition filed |
Effective date: 20030912 |
|
| PGFP | Annual fee paid to national office [announced via postgrant information from national office to epo] |
Ref country code: GB Payment date: 20101027 Year of fee payment: 14 |
|
| PGFP | Annual fee paid to national office [announced via postgrant information from national office to epo] |
Ref country code: FR Payment date: 20111103 Year of fee payment: 15 |
|
| GBPC | Gb: european patent ceased through non-payment of renewal fee |
Effective date: 20111031 |
|
| PG25 | Lapsed in a contracting state [announced via postgrant information from national office to epo] |
Ref country code: GB Free format text: LAPSE BECAUSE OF NON-PAYMENT OF DUE FEES Effective date: 20111031 |
|
| REG | Reference to a national code |
Ref country code: FR Ref legal event code: ST Effective date: 20130628 |
|
| PG25 | Lapsed in a contracting state [announced via postgrant information from national office to epo] |
Ref country code: FR Free format text: LAPSE BECAUSE OF NON-PAYMENT OF DUE FEES Effective date: 20121031 |