EP0572326B1 - Wärmesenke zur Kühlung eines Wärme produzierenden Bauteils und Anwendung - Google Patents
Wärmesenke zur Kühlung eines Wärme produzierenden Bauteils und Anwendung Download PDFInfo
- Publication number
- EP0572326B1 EP0572326B1 EP93401376A EP93401376A EP0572326B1 EP 0572326 B1 EP0572326 B1 EP 0572326B1 EP 93401376 A EP93401376 A EP 93401376A EP 93401376 A EP93401376 A EP 93401376A EP 0572326 B1 EP0572326 B1 EP 0572326B1
- Authority
- EP
- European Patent Office
- Prior art keywords
- heat sink
- heat
- cover
- producing element
- cooling
- Prior art date
- Legal status (The legal status is an assumption and is not a legal conclusion. Google has not performed a legal analysis and makes no representation as to the accuracy of the status listed.)
- Expired - Lifetime
Links
Images
Classifications
-
- F—MECHANICAL ENGINEERING; LIGHTING; HEATING; WEAPONS; BLASTING
- F28—HEAT EXCHANGE IN GENERAL
- F28F—DETAILS OF HEAT-EXCHANGE AND HEAT-TRANSFER APPARATUS, OF GENERAL APPLICATION
- F28F3/00—Plate-like or laminated elements; Assemblies of plate-like or laminated elements
- F28F3/02—Elements or assemblies thereof with means for increasing heat-transfer area, e.g. with fins, with recesses, with corrugations
- F28F3/022—Elements or assemblies thereof with means for increasing heat-transfer area, e.g. with fins, with recesses, with corrugations the means being wires or pins
-
- G—PHYSICS
- G06—COMPUTING OR CALCULATING; COUNTING
- G06F—ELECTRIC DIGITAL DATA PROCESSING
- G06F1/00—Details not covered by groups G06F3/00 - G06F13/00 and G06F21/00
- G06F1/16—Constructional details or arrangements
- G06F1/20—Cooling means
-
- G—PHYSICS
- G06—COMPUTING OR CALCULATING; COUNTING
- G06F—ELECTRIC DIGITAL DATA PROCESSING
- G06F1/00—Details not covered by groups G06F3/00 - G06F13/00 and G06F21/00
- G06F1/16—Constructional details or arrangements
- G06F1/20—Cooling means
- G06F1/203—Cooling means for portable computers, e.g. for laptops
-
- G—PHYSICS
- G06—COMPUTING OR CALCULATING; COUNTING
- G06F—ELECTRIC DIGITAL DATA PROCESSING
- G06F1/00—Details not covered by groups G06F3/00 - G06F13/00 and G06F21/00
- G06F1/16—Constructional details or arrangements
- G06F1/20—Cooling means
- G06F1/206—Cooling means comprising thermal management
-
- H—ELECTRICITY
- H01—ELECTRIC ELEMENTS
- H01L—SEMICONDUCTOR DEVICES NOT COVERED BY CLASS H10
- H01L23/00—Details of semiconductor or other solid state devices
- H01L23/34—Arrangements for cooling, heating, ventilating or temperature compensation ; Temperature sensing arrangements
- H01L23/40—Mountings or securing means for detachable cooling or heating arrangements ; fixed by friction, plugs or springs
- H01L23/4006—Mountings or securing means for detachable cooling or heating arrangements ; fixed by friction, plugs or springs with bolts or screws
-
- H—ELECTRICITY
- H01—ELECTRIC ELEMENTS
- H01L—SEMICONDUCTOR DEVICES NOT COVERED BY CLASS H10
- H01L23/00—Details of semiconductor or other solid state devices
- H01L23/34—Arrangements for cooling, heating, ventilating or temperature compensation ; Temperature sensing arrangements
- H01L23/46—Arrangements for cooling, heating, ventilating or temperature compensation ; Temperature sensing arrangements involving the transfer of heat by flowing fluids
- H01L23/467—Arrangements for cooling, heating, ventilating or temperature compensation ; Temperature sensing arrangements involving the transfer of heat by flowing fluids by flowing gases, e.g. air
-
- H—ELECTRICITY
- H01—ELECTRIC ELEMENTS
- H01L—SEMICONDUCTOR DEVICES NOT COVERED BY CLASS H10
- H01L2924/00—Indexing scheme for arrangements or methods for connecting or disconnecting semiconductor or solid-state bodies as covered by H01L24/00
- H01L2924/0001—Technical content checked by a classifier
- H01L2924/0002—Not covered by any one of groups H01L24/00, H01L24/00 and H01L2224/00
Definitions
- the present invention relates to a heat sink for cooling a heat producing element by being mounted on the top face thereof, especially, the present invention relates to the heat sink having a fan assembly attached inside of its body and forcibly cooling a heat producing element with a cooling air generated by the rotation of the fan assembly.
- a heat sink for cooling the element is mounted on the device producing a large quantity of heat.
- the heat sink is usually made of a material having a good heat conductivity such as aluminum, and a set of radiating fins are disposed on the upper face of the heat sink.
- the heat sink is used in circumstances where cooling air is forcibly flowing and is adhered or mounted with pressure on the heat producing element, and the heat produced at the element is transferred to the heat sink and absorbed by its body or dissipated by the flowing air, see for example IBM Technical Disclosure Bulletin, Vol. 30, No. 8, January 1988, NY, USA, pages 333-334.
- the powerful fan generally requires an increase in the size of the fan or an increase in the rotational speed of the fan, thereby causing an increase in the space for the powerful fan or an increase in the noise generated by the powerful fan, as a result.
- the object of the present invention is to provide a heat sink that can realize an efficiently cooling of a heat producing element without increasing the packaging space thereof.
- a fan assembly is disposed inside a heat sink body made of material having a good heat conductivity, so that a base of the heat sink body positioned next to the heat producing element is forcibly cooled by the cooling air generated by the rotation of the fan assembly during the operation of the heat producing. element.
- a flowing route of the cooling air generated by the rotation of the fan assembly becomes very efficient for cooling the heat sink body by modifying the shape of a top plate of the heat sink body, the shape of a radiating fin of the heat sink body, or the installing position of the fan assembly, thereby the cooling efficiency of the fixing wall of the heat sink body is increased within a limited inside space of the electronic apparatus.
- the heat sink in a portablc electronic apparatus having a limited internal space, such as a portable personal computer or the like, by modifying the top plate or the cover of the heat sink body.
- the heat sink of the present invention realizes a efficient cooling of the heat producing element in a limited small space. Further, the manufacturing of the heat sink body becomes easy when the heat sink body is assembled by combining the base and the cover.
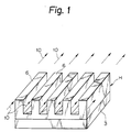
- FIG. 1 shows a conventional heat sink according to a prior art, for cooling a high temperature heat producing element.
- the heat sink H is made of material such as aluminum having a good heat conductivity.
- the top face of the heat sink H has a set of radiating fins 6 shaped like a comb.
- the heat sink H is mounted to the surface of a heat producing element 3 by adhesion or pressure, and is used in the circumstance where a cooling air 10 is forcibly passed through the heat sink H. Heat produced by the element 3 is transferred to the heat sink H and is absorbed by it body or dissipated by the cooling air 10.
- the powerful fan generally requires a large size fan blade or a high rotational speed. This results in increasing a fan installation space and noise.
- FIGS 2 to 4B show a heat sink H.
- the heat sink H comprises a heat sink body 1 made of material such as aluminum having a good heat conductivity, and a fan assembly 2 such as a microfan for air-cooling the heat sink body 1.
- the top of the heat sink body 1 is rectangular.
- the heat sink body 1 comprises base 7 a whose back is mounted on a heat producing element 3 with proper means described later, and a top plate 29 supported by upright rectangular bars 7a protruding from four corners of the base 7 respectively.
- Ventilation paths 5 are formed between the top plate 29 and the base 7 and open to the sides of the heat sink H.
- the center of the top plate 29 has a circular hole serving as a fan receiving recess 30 with the fixing wall 4 serving as the bottom thereof.
- a set of radiating fins 6 shaped like a comb are formed over the top plate 29 and a set of radiating fins 4a also shaped like a comb are formed over the base 7.
- the base 7 and top plate 29 may be separate parts as shown in Figs. 2 and 3, or be prepared as an integrated part. (not shown).
- the fan assembly 2 comprises a drive 2b such as a fan motor disposed in center and a fan blade 2a fixed to a rotary shaft of the fan motor 2b.
- the fan assembly 2 is disposed in the recess 30.
- the fan assembly 2 may be prefabricated and attached to the top plate 29 or to the base 7.
- a stator of the motor 2a may be integral with the base 7.
- the fan assembly 2 may blow air toward the base 7, or draw air from the ventilation paths 5.
- FIGs 5 to 7 show another heat sink H.
- the top of the heat sink H has four rectangular sections. A diagonally facing pair among the four sections is opened with square openings 29a, and the other pair is closed with lids 29b.
- Comb-like radiating fins 4a are formed over the base 7, and the center of base 7 has a circular recess 4b for receiving the fan assembly 2.
- the lids 29b are shown in Fig. 7 with hatching.
- Side walls are extended from the top plate 29 along the periphery of a base 7.
- a pair of corners corresponding to the closed sections with the lids 29b have each an opening 29c which opens into an internal ventilation path 5, and another pair of corners corresponding to the open sections with the openings 29a have each a side wall 29d.
- Cooling air 10 is forcibly drawn through the openings 29a of the top plate 29 to cool the fixing wall 4 as indicated with arrow marks in the Fig.7.
- the air is then discharged from the ventilation paths 5 through the openings 29c.
- the heated discharged air ascends along the side walls of a heat sink body 1. This ascending heated air, however, never re-enters the heat sink body 1 because the top face of the top plate 29 above the opening 29c is closed with the lid 6. This results in improving an overall cooling effect.
- FIGS 8 to 10 show a heat sink H according to a first embodiment of the present invention.
- a heat sink body 1 comprises a base 7 and a cover 8 that are made of material such as aluminum having a good heat conductivity.
- the top of the base 7 is rectangular.
- the base 7 has a set of radiating fins 6 shaped like pins disposed upright around a center space where a fan assembly 2 is disposed, and bars 7a protruding from four corners of the base 7, respectively.
- the top of each bar 7b has a threaded hole 31, and the cover 8 is fixed to the bars 7b with screws 32 engaging with the threaded holes 31.
- a lead hole 33 and a lead groove 33a are formed at the bottom of the base 7 as shown in Fig. 8 and 10.
- a lead 34 from the fan assembly 2 is guided through the lead groove 33a after penetrated through the lead hole 33 and is connected to a pad of a printed board 17.
- the top shape of the cover 8 is identical to that of the base 7. At each corner of the cover 8, a screw hole 8b is formed to pass the screw that engages with the threaded hole 31 of the base 7.
- the cover 8 has a center hole 8a for receiving the fan assembly 2 having fan blades 2a.
- the periphery of the hole 8a is extended to form a vertical partition 9.
- the partition 9 surrounds the fan blades 2a when the cover is fixed on the base 7, to increase the static pressure of cooling air 10 produced by the fan blades 2a.
- FIGS 11 to 12B show a heat sink H according to a second embodiment of the present invention.
- the fan assembly 2 is mounted on the bottom face of the cover 8 to prevent a rise of temperature by the heat conducted from the heat producing element 3 via the base 7 and to prolong the life of the fan motor 2b.
- the cover 8 has a fan fixing part 35 at the center part of the bottom face thereof, and the fan assembly 2 is fixed by hanging from the fan fixing part 35.
- the fan assembly 2 is press fitted to the fan fixing part 35 in this embodiment.
- the fan assembly 2 comprises a stator 36 having a coil 36a on the outer surface, a shaft 38 vertically disposed at the center of the rotor 36 with a bearing 37, a rotor 39 fixed on the shaft 38 and having magnets 39a on the inner surface of the wall and fan blades 2a on the outer surface of the wall, and a printed circuit board 40 to which a lead 34 is connected.
- reference numerals 39b denotes a ring yoke
- 36b denotes a yoke
- 38a denotes a cut washer disposed on the shaft 38
- 38b denotes a spring for pressing the shaft 38 to the upper direction.
- reference 41 denotes a opening for cooling air 10.
- a fastening pin 11 having a head 11a is disposed on each of the top faces of the bars 7a protruding from four corners of the base 7.
- a fastening hole 12 is disposed at each of the four corners of the cover 8, and a side of the fastening hole 12 is open to the edge of the cover 8 through the guide channel 12a.
- the guide channel 12a has a narrow part 12b.
- the cover 8 is set on the base 7 with entrances of the guide channels 12a facing the fastening pins 11 as shown by dotted line in Fig. 14A at first. Then the cover 8 is rotated to a direction indicated by an arrow in Fig. 14A and the pin 11 is led to be fastened in the hole 12 after guided by the guide channel 12a and passed through the narrow part 12b. In this way, the cover 8 is fixed on the base 7.
- each of the bars 7a protruding from four corners of the base 7 has a circular arc convex face 13 and a guide groove 14 at an upper part thereof.
- the guide groove 14 is cut at the base part of the circular arc convex face 13.
- a center of each circular arc convex face 13 corresponds to the center of the base 7.
- a hollow notch 13a is disposed on the middle part of each circular arc convex face 13.
- a curvature of the groove is smaller than that of the circular arc convex face 13 and a center of each groove 14 corresponds to the center of the base 7.
- a projection 42 shaped like a triangle, is disposed at each bottom face of the four corners of the cover 8 as shown in Fig. 15.
- the projection 42 has a circular arc concave face 15 and a fastening segment 16.
- the fastening segment 16 is protruded at the free edge of the circular arc concave face 15.
- a curvature of the fastening segment 16 is smaller than that of the circular arc concave face 15 and a center of each fastening segment 16 and a center of each circular arc concave face 15 correspond to the center of the cover 8.
- the circular arc concave face 15 faces to the circular arc convex face 13, and the fastening segment 16 faces to the guide groove 14 when the cover 8 is fixed on the base 7. Further, a protruding portion 15a for fitting the hollow notch 13a of the base 7 is disposed on the middle part of each circular arc concave face 15.
- the cover 8 is set on the base 7 with its protruding portion 15a engaged to the guide groove 14 of the base 7 as shown by dotted line in Fig. 16A at first. Then the cover 8 is rotated to a direction indicated by an arrow in Fig. 16A and the protruding portion 15a is led to be fastened in the hollow notch 13a after sliding on the circular arc convex face 13. In this way, the cover 8 is fixed on the base 7.
- Figure 17A to 20 are examples of the structure of the cover 8 when the heat sink H is uses in the above mentioned condition.
- the cover 8 shown in Fig. 17A has cooling grooves 8c cut crosswise on the top face thereof across the recess 8a.
- the cross section of the cooling grooves 8c in this embodiment is rectangular and each of the cooling grooves 8c is laid between the opposite sides of the cover 8.
- the shape of the cross section of the grooves 8c is not limited by rectangular.
- the other usable shape of the grooves 8c are, for example, a V shape as shown in Fig. 17B or a U shape as shown in Fig. 17C.
- the cooling grooves 8c disposed on the upper face of the cover 8 can increase a space of the upper area of the cover 8.
- Figure 18A shows an air flow of the upper space of the cover 8 having grooves 8c as shown in Fig. 17A
- Fig. 18B shows an air flow of the upper space of the cover 8 having no grooves 8c when a shielding member M is disposed over the cover 8.
- the heat sink 8 having no grooves 8c on the top face of the cover 8 as shown in Fig. 18B is cooled only by the cooling air 10.
- the heat sink 8 having grooves 8c on the top face of the cover 8 as shown in Fig. 18A is cooled not only by the cooling air 10 but a new cooling air 10' flowing in the grooves 8c.
- heat conducted from the bar 7a supporting the cover 8 is efficiently dissipated from the heat sink H by the cooling air 10' flowing in the grooves 8c on the top face of the cover 8.
- the grooves 8c assists cooling the cover 8.
- Figure 19A is a plan view of the cover 8 showing another example having a plurality of grooves 8c on the top face thereof, and Fig. 19B is an enlarged perspective view of a part X in Fig. 19A.
- the grooves 8c are cut on the top face of the cover 8 radially from the center of hole 8a for receiving the fan assembly 2.
- the sectional shape of the grooves 8c in this embodiment is V, but the shape thereof is not limited by this embodiment.
- the sectional shape of the 8c may rectangular or U, as explained before.
- Figure 20A is a plan view of the cover 8 showing other example having a plurality of radiating pins 8d on the top face thereof, and Fig. 20B is a side view of the cover 8 in Fig. 20A.
- the radiating pins 8d in this embodiment is formed by decreasing the thickness of the cover 8 making the total thickness of the cover 8 equal to that of the cover 8 in Fig. 8.
- the cover 8 is cooled effectively by forming the radiating pins 8d on the top face thereof decreasing the thickness of the cover 8 instead of excavating the cooling grooves 8c thereon.
- heat conducted from the bar 7a supporting the cover 8 is efficiently dissipated by the cooling air 10' flowing among the pins 8d on the top face of the cover 8. In this way the radiating pins 8d assist the cooling of the cover 8.
- the cover 8 having the cooling grooves 8c or the radiating pins 8d is effectively cooled by the additional cooling air 10' when the cover 8 is disposed in the condition where a little space is kept over the heat sink H by enlarging the space by the grooves 8c or the pins 8d. Though this effect is small when the cover 8 having the cooling grooves 8c or the radiating pins 8d is disposed in the condition where a large space is kept over the heat sink H.
- Figure 21 is a perspective assembly diagram showing a structure of a cover 8 and a base 7 of the heat sink H, and a manner of assembling according to a third embodiment of the present invention.
- the heat sink H in this embodiment uses the same base 7 explained as the first embodiment in Fig. 8, but the cover 8 is different from the first embodiment.
- the cover 8 in this embodiment has radiating pins 8e on the bottom face thereof, though the the bottom face of the first embodiment is flat.
- the radiating pin 8e in this embodiment is a circular pole and the diameter thereof is half the width of the radiating fin 6 projected on the base 7.
- the shape of the radiating pin 8e is not limited by the circular pole.
- the radiating pin 83 may be a triangular pole or a square pole.
- the positions of the radiating pins 8e on the cover 8 are shown in Fig. 22.
- Figures 23A and 23B show a difference of an air flow of the cooling air 10 between the cover 8 having radiating pins 8e and having no radiating pins 8e on the bottom face thereof.
- the cooling air 10 flows straight passing a side face of the radiating fin 6 when no pins are disposed therebetween as shown in Fig. 23A.
- an air flow of the cooling air 10 is diffused by the radiating pin 8e and is passing not only a side face but also a front and a back faces of the radiating fin 6 as shown by reference 10" in Fig. 23B.
- Figure. 24A is a diagram showing an air flow speed and an air flow distribution characteristic.
- black circles show the characteristic when the cover 8 has no radiating pins on the bottom face thereof
- black squares show the characteristic when the cover 8 has the radiating pins 8e on the bottom face thereof.
- Figure. 24B is a diagram showing the relationship between air flow speed and thermal resistance. As is shown in Fig. 24B, an increment ⁇ Rja of the thermal resistance Rja per unit voltage ⁇ V becomes smaller in accordance with the increment of the air flow speed. Accordingly, cooling efficiency will be improved by distributing the cooling air 10 from the area where a high speed cooling air is flowing to the area where a low speed cooling air is flowing.
- the air flow distribution of the cooling air 10 becomes diffuse and the air flow speed at the center part is decreased in the heat sink H of the third embodiment having the radiating pins 8d on the bottom face of the cover 8, as compared with the heat sink H having no radiating pins on the bottom face of the cover 8.
- an air flow speed of the cooling air 10 is increased at the side part of the heat sink H, thereby a cooling efficiency of the heat sink H of the third embodiment is increased.
- FIG 25 is a perspective assembly diagram showing a structure of a cover 8 and a base 7 of the heat sink H, and a manner of assembling according to a fourth embodiment of the present invention.
- the fan assembly 2 is installed at the center of the heat sink H in the embodiment as explained in Figs. 8 to 10. Contrary to this, the fan assembly 2 is disposed offset to one of the side of the heat sink H from the center in this embodiment.
- the base 7 has radiating fins 6, upright bars 7a at the four corners, and a windbreak wall 7b.
- the windbreak wall 7b is disposed at the side to which the fan assembly 2 is offset, shielding the side between the upright bars 7a.
- Figure. 26 is a perspective plan view of the assembled heat sink H with the screw 32 having the cover 8 and the base 7 in Fig. 25.
- the reason why the fan assembly 2 is offset from the center of the heat sink H is to increase the cooling efficiency of the heat sink H by decreasing the distance from the heat producing part and the heat radiating part.
- the center of the heat producing element 3 cannot be exposed by the cooling air generated by the rotation of the fan blades 2a. Contrary to this, when the fan assembly 2 is disposed offset from the center of the heat sink H, the center of the heat producing element 3 can be directly exposed by the cooling air generated by the rotation of the fan blades 2a.
- windbreak wall 7b increases the cooling effect of the cooling air 10 flowing to the center of the heat sink H.
- Figure 27 is a perspective assembly diagram showing a structure of a cover 8 and a base 7 of the heat sink H, and a manner of assembling according to a fifth embodiment of the present invention.
- the fan assembly 2 is disposed offset to one of the side of the heat sink H from the center thereof in the sixth embodiment as explained in Figs. 25 and 26. Contrary to this, the fan assembly 2 is disposed offset to one of the corner of the heat sink H from the center thereof in the fifth embodiment as shown in Fig. 27.
- the base 7 has radiating fins 6, upright bars 7a at the four corners, and a windbreak wall 7b.
- One of the bar 7a to which the fan assembly 2 is offset has a circular arc concave face and both sides thereof are extended to form a windbreak wall 7b.
- the windbreak wall 7b in this embodiment also makes the flow of the cooling air 10 efficient.
- Fig. 28 is a plan view of the assembled heat sink H with screws 32 having the cover 8 and the base 7 in Fig. 27;
- Figure. 29 is a partially cutaway view in perspective of a modified embodiment of the base 7 in Fig. 27.
- a space is formed by excavating an upper bottom face of the base 7 under the position of the fan assembly 2 where no radiating fins 6 are disposed.
- the space has a first stage part 7c which is a shallow recess and a second stage part 7d which is a deeper recess.
- the first stage 7c is formed under the fan motor 2b of the fan assembly 2 and under the half part of the trace path of the fan blades 2a
- the second stage 7d is formed under the other half part of the trace path of the fan blades 2a.
- the first stage 7c and the second stage 7d may be formed on the base in the fourth embodiment explained in Figs. 25 and 26.
- the first stage 7c and the second stage 7d decreases the air pressure loss due to the existence of the windbreak wall 7b by enlarging the space for the cooling air 10 to flow.
- Figure 30A is a plan view showing a modification of the base 7 in Fig. 27 wherein a distribution of the radiating fins 6 are changed.
- the radiating fins 6 are arranged densely around the center of the base 7 and are arranged less densely around the side of the base 7.
- cooling efficiency is increased at the center part of the heat sink H by the number of radiating fins 6, and air pressure loss is decreased at the side of the heat sink H by the space between the fins 6.
- the cooling efficiency of the heat sink H will be increased without decreasing the amount of air flow generated by the fan assembly 2 installed in the heat sink H.
- Figure 30B is a sectional view taken on line Y-Y in Fig. 30A explaining the structure of the stages 7c and 7c.
- Figures 31A and 31B are a plan view and a side view showing a modified embodiment of the cover 8 according to the fifth embodiment of the heat sink H in Fig. 27.
- the cover 8 in this embodiment has a plurality of radiating pins 8d on the top face thereof as explained in Fig. 20A and 20B embodiment.
- the radiating pins 8d in this embodiment are formed by decreasing the thickness of the cover 8 making the total thickness of the cover 8 equal to that of the cover 8 in Fig. 8.
- the cover 8 is cooled effectively with the radiating pins 8d on the top face thereof.
- the structure of making grooves 8c on the top face of the cover 8 as explained in Figs. 17A to 19B, and the structure making radiating pins 8e on the bottom face of the cover 8 can be effectively applied to the fourth and the fifth embodiment in which the fan assembly 2 is disposed offset from the center of the heat sink H as explained above.
- the arrangement of the radiating fins 6 as explained in Fig. 30A is not limited by the embodiment, and the arrangement of the radiating fins 6 are changeable in accordance with the capacity of the fan assembly 2 and the shape of the fan blades 2a to increase the cooling efficiency.
- Figure 32A and 32B show an example of a way of fitting the heat sink H to the heat producing element 3 disposed on the printed board 17.
- shoes 43 for mounting the heat sink H on the heat producing element 3 are soldered to the printed board 17.
- Each shoe 43 has an L-shaped cross section.
- a fixing spring bar 44 is attached to the shoes 43, to push the heat sink H against the heat producing element 3.
- Figure 32B shows another example of a manner of fitting the heat sink H to the heat producing element 3.
- a fixing clip 45 is formed as a channel-shape and has ends 45a.
- the heat sink H is mounted on the heat producing element 3 by the pressing force of the fixing clip 45.
- a plurality of the clips 45 are used to fix the heat sink H to the heat producing element 3.
- Numeral 3a denotes an I/O pin of the heat producing element 3.
- Figs. 33A to 33F show another example of fitting the heat sink H to the heat producing element 3 by using a heat sink fixture 28.
- the heat sink fixture 28 has a level segment 26 having a fin hole 26a and a L-shaped pressing segment 27 extended from the level segment 26 as shown in Fig. 33C.
- the size of the fin hole 26a is as large as the pin-like radiating fin 6 projected on the base 7 for penetrating therein as shown in Fig. 33B.
- the fin hole 26a of the heat sink fixture 28 is first penetrated by the radiating fin 6 with the pressing segment 27 bent.
- the heat sink fixture 28 is then moved and pressed until the pressing segment 27 clips the bottom face of the heat producing element 3.
- the heat sink H is mounted on the heat producing element with pressure by the heat sink fixture 28.
- the fin hole 26a provided on the level segment 26 of the heat sink fixture 28 may be be cut by a notch part 26b having a narrower distance than a diameter of the hole 26a as shown in Fig. 33D.
- the fin hole 26a has the notch part 26b, it is easy to mount the heat sink H on the heat producing element 3 by using the heat sink fixture 28, since the distance of the notch part 26b is enlarged by pressing the heat sink fixture 28 to the direction of the radiating fin 6 as shown by an arrow in Fig. 33D.
- the heat sink fixture 28 may have a parallel shape having a plurality of holes 26a or holes 26a with notch parts 26b as shown in Figs. 33E and 33F.
- the lead 34 is used to supply electricity to the fan motor 2b of the fan assembly 2.
- a power supply terminal 18 protrudes from the bottom side of the heat sink body 1.
- the terminal 18 is soldered to the printed board 17, to supply electricity to the fan motor 2b of the fan assembly 2.
- the terminal 18 may be attached to the printed board 17 according to a surface mounting technique or a through hole technique.
- Numeral 46 in Fig. 34 denotes internal circuit in the heat sink body 1
- 47 denotes a fan drive circuit
- 48 denotes a controller.
- FIG 32 shows still another example of a manner of fitting the heat sink H to the heat producing element 3.
- power supply units 19 such as pads and contacts are disposed on the heat producing element 3 and connected to power source pads 17a of the printed board 17.
- the heat sink H has power supply terminals 18, which are connected to the power supply units 19, to supply electricity to the fan assembly 2.
- FIG. 36 shows a controller 48 for controlling the ON/OFF operation or rotational speed of the fan assembly 2.
- the controller 48 comprises a fan driving circuit 47 and a switch 36.
- the fan driving circuit 47 comprises a Hall element 49, a comparator circuit 50, a switching element 51 such as a switching transistor, and a coil 36a.
- a temperature sensor 20 such as a thermocouple or thermistor is embedded in the fixing wall 4 of the heat sink body 1.
- the temperature sensor 20 provides the switch 53 with an ON/OFF signal.
- the switch 53 may comprise a transistor, a reed switch, or a relay.
- Figure 38 shows a rotational speed controller for the fan assembly 2.
- the rotational speed controller 54 is disposed between the switching element 51 and the comparator circuit 50 of the fan driving circuit 47.
- the rotational speed controller 54 has an oscillator whose number of oscillations corresponds to an output of the temperature sensor 20, thereby controlling the rotational speed of the fan assembly 2.
- FIG 39 shows a controller 48 for monitoring a rotational speed.
- the controller 48 includes a rotational speed monitor circuit 52 having a pulse generator.
- the pulse generator generates pulses in response to the rotational speed of the fan assembly 2.
- the controller 48 may be disposed in the fan assembly 2, or on a separate board.
- the control in Fig. 40A shows that the fan assembly 2 began to rotate when the temperature became a predetermined value T.
- the control in Fig. 40B shows that the fan assembly 2 rotates slowly when the temperature is lower than the value T and the fan assembly 2 rotates faster when the temperature is equal or larger than the value T.
- FIGS 41 to 43 show an application of the present invention where the heat sink H is used in a portable electronic apparatus such as a notebook-type personal computer.
- the portable electronic apparatus has a printed board 17 and a drive unit 56 such as a floppy disk drive or a hard disk drive in its casing 21.
- a heat producing element 3 such as an MPU (Micro Processing Unit) and other electronic parts 55 are mounted on the printed board 17.
- the liquid crystal display unit 57 is also disposed on the casing and is able to swing as shown by an arrow in Fig. 41
- a keyboard assembly 23 is disposed above the printed board 17 and is connected to the printed board 17 by a flat cable 58.
- Reference 59 denotes a connecter for connecting the flat cable 58.
- the keyboard assembly 23 is, as is well-known to public, composed of a plurality of key tops 23a arranged in matrix above the housing thereof which is made of a synthetic resin.
- a reinforcing plate 22 made of aluminum is disposed under the housing covering the full bottom face thereof for increasing the stiffness of the whole body.
- the heat sink H for cooling the heat producing element 3 mounted on the printed board 17 is formed by fixing the cover 8 on the base installing the fan assembly 2 as shown in Fig. 42.
- a surrounding wall 24 is disposed on the whole edge of the cover 8, and an upper edge of the surrounding wall 24 is contacted to the bottom face of the reinforcing plate 22.
- Figure 43 shows a plurality of cooling air ventilation holes 25 disposed on the reinforcing plate 22 corresponding to the position of the fan assembly 2.
- the cooling air 10 is forcibly drawn into the casing 21 through the cooling air ventilation holes 25.
- the heat sink H of the present invention has a good cooling efficiency of the heat producing element, so that the heat sink H of the present invention can be effectively used for the portable electronic apparatus having a limitation of the internal space.
Landscapes
- Engineering & Computer Science (AREA)
- Theoretical Computer Science (AREA)
- Physics & Mathematics (AREA)
- General Physics & Mathematics (AREA)
- General Engineering & Computer Science (AREA)
- Computer Hardware Design (AREA)
- Human Computer Interaction (AREA)
- Condensed Matter Physics & Semiconductors (AREA)
- Microelectronics & Electronic Packaging (AREA)
- Power Engineering (AREA)
- Thermal Sciences (AREA)
- Mechanical Engineering (AREA)
- Cooling Or The Like Of Electrical Apparatus (AREA)
- Cooling Or The Like Of Semiconductors Or Solid State Devices (AREA)
Claims (26)
- Wärmeableiter (H) zum Kühlen eines wärmeerzeugenden Elementes (3) umfassend:einen Wärmeableiterkörper (1) aus einem Material, welches eine gute Wärmeleitfähigkeit hat, umfassend eine Basis (7), die auf das wärmeerzeugende Element (3) montiert werden kann, sowie eine Abdeckung (8), die auf der Basis (7) montiert ist;eine Gebläseanordnung (2), die in einem Innenraum des Wärmeableiterkörpers (1) installiert ist, wobei die Gebläseanordnung einen Antrieb (2b) sowie Gebläseflügel (2a) umfaßt, die an der Drehwelle des Antriebs (2b) befestigt sind;wobei die Abdeckung (8) ein Loch (8a) aufweist, welches der Position der Gebläseanordnung entspricht, und wobei eine vertikale Abtrennung (9) sich von einer Peripherie des Loches (8a) nach unten erstreckt und die Gebläseflügel (2a) umgibt, wenn die Abdeckung (8) auf der Basis (7) befestigt ist.
- Wärmeableiter (H) zum Kühlen des wärmeerzeugenden Elementes (3) nach Anspruch 1, bei welchem die Gebläseanordnung (2) auf der Basis (7) angeordnet ist.
- Wärmeableiter (H) zum Kühlen des wärmeerzeugenden Elementes (3) nach Anspruch 1, bei welchem
der Wärmeableiterkörper (1) die Gebläseanordnung (2) umfaßt, die an der unteren Fläche der Abdeckung (8) angebracht ist; und wobei die Abdeckung (8) Öffnungen (41) für den Durchtritt einer Kühlluft aufweist, die von der Gebläseanordnung (2) erzeugt wird. - Wärmeableiter (H) zum Kühlen des wärmeerzeugenden Elementes (3) nach Anspruch 3, bei welchem die Gebläseanordnung (2) die Luft aus den Öffnungen (41) zieht, und wobei Ecken der Öffnungen (41) rund ausgebildet sind.
- Wärmeableiter (H) zum Kühlen des wärmeerzeugenden Elementes (3) nach einem der Ansprüche 1 bis 4, bei welchem der Wärmeableiterkörper (1) ferner Pfosten (7a) zum Halten der Abdeckung (8) umfaßt, die an den jeweiligen vier Ecken der Basis (7) angeordnet sind.
- Wärmeableiter (H) zum Kühlen des wärmeerzeugenden Elementes (3) nach Anspruch 5, bei welchem
ein Befestigungsstift (11) mit einem Kopf (11a) auf jeder der oberen Flächen der Pfosten (7a) angeordnet ist, wobei ein Befestigungsloch (12) an jeder der vier Ecken der Abdeckung (8) angeordnet ist, wobei ein Führungskanal (12a) mit einem engen Abschnitt (12b) so angeordnet ist, daß er das Loch (12) und eine der Kanten der Abdeckung (8) miteinander verbindet, und wobei die Abdeckung (8) auf dem Pfosten (7a) der Basis (7) durch Drehen der Abdeckung (8), bei den Befestigungsstiften (11) zugewandten Eingängen der Führungskanäle (12a), befestigt wird. - Wärmeableiter (H) zum Kühlen des wärmeerzeugenden Elementes (3) nach Anspruch 5, bei welchem
eine kreisbogenförmige konvexe Fläche (13) mit dem gleichen Zentrum wie das Zentrum der Abdeckung (8) an einem jeden Ende der Pfosten (7a) ausgebildet ist, wobei eine Führungsnut (14) an jedem Basisbereich der kreisbogenförmigen konvexen Fläche (13) angeordnet ist, wobei eine Hohlkerbe (13a) in dem mittleren Bereich einer jeden kreisbogenförmigen konvexen Fläche (13) angeordnet ist, wobei ein dreieckförmiger Vorsprung (42) an jeder unteren Fläche der vier Ecken der Abdeckung (8) angeordnet ist, wobei eine Fläche des Vorsprunges (42) als eine kreisbogenförmige konkave Fläche (15) mit dem gleichen Zentrum wie dem Zentrum der Abdeckung (8) ausgebildet ist, wobei ein Befestigungssegment (16), welches der Führungsnut (14) entspricht, an jedem Ende des Pols angeordnet ist, wobei ein vorstehendes Teil (15a) für einen passenden Eingriff in die Hohlkerbe (13a) der Basis (7) an dem mittleren Bereich einer jeden kreisbogenförmigen konkaven Fläche (15) angeordnet ist, und wobei die Abdeckung (8) auf dem Pfosten (7a) der Basis (7) durch Drehen der Abdeckung (8) bei in die Führungsnut (14) der Basis (7) eingreifendem vorstehendem Teil (15a) befestigt wird. - Wärmeableiter (H) zum Kühlen des wärmeerzeugenden Elementes (3) nach einem der Ansprüche 1 bis 7, bei welchem
Kühlnuten (8c), welche die Kante des Loches (8a) und eine der Seiten der Abdeckung (8) verbinden, an der oberen Fläche der Abdeckung (8) angeordnet sind. - Wärmeableiter (H) zum Kühlen des wärmeerzeugenden Elementes (3) nach den Ansprüche 1 bis 8, bei welchem
Abstrahlungsstifte (8d) an der oberen Fläche der Abdeckung (8) angeordnet sind. - Wärmeableiter (H) zum Kühlen des wärmeerzeugenden Elementes (3) nach einem der Ansprüche 1 bis 9, bei welchem
Abstrahlungsstifte (8e) an der unteren Fläche der Abdeckung (8) so angeordnet sind, daß sie sich in dem Raum befinden, welcher durch die Wärmeabstrahlungslamellen (6) umgeben ist, wenn die Abdeckung (8) auf der Basis (7) befestigt ist. - Wärmeableiter (H) zum Kühlen des wärmeerzeugenden Elementes (3) nach einem der Ansprüche 1 bis 10, bei welchem
die Gebläseanordnung (2) in dem Wärmeableiterkörper (1) installiert ist, wobei ihre Drehwelle in dem Zentrum des Wärmeableiterkörpers (1) angeordnet ist. - Wärmeableiter (H) zum Kühlen des wärmeerzeugenden Elementes (3) nach einem der Ansprüche 1 bis 10, bei welchem
die Gebläseanordnung (2) in dem Wärmeableiterkörper (1) installiert ist, wobei deren Drehwelle gegenüber dem Zentrum des Wärmeableiterkörpers (1) versetzt angeordnet ist. - Wärmeableiter (H) zum Kühlen des wärmeerzeugenden Elementes (3) nach Anspruch 12, bei welchem
der Wärmeableiterkörper (1) rechteckig ist, und wobei die Drehwelle der Gebläseanordnung (2) in der Richtung senkrecht zu einer der Seiten des Wärmeableiterkörpers (1) versetzt ist. - Wärmeableiter (H) zum Kühlen des wärmeerzeugenden Elementes (3) nach Anspruch 13, bei welchem
die eine der Seiten des Wärmeableiterkörpers (1), zu welcher die Drehwelle der Gebläseanordnung (2) versetzt ist, durch eine Windbrecherwand (7b) geschlossen ist. - Wärmeableiter (H) zum Kühlen des wärmeerzeugenden Elementes (3) nach Anspruch 12, bei welchem
der Wärmeableiterkörper (1) rechteckig ist, und wobei die Drehwelle der Gebläseanordnung (2) in der Richtung zu einer der Ecken des Wärmeableiterkörpers (1) versetzt ist. - Wärmeableiter (H) zum Kühlen des wärmeerzeugenden Elementes (3) nach Anspruch 15, bei welchem
Windbrecherwände (7b) in einer vorgegebenen Länge durch Verlängern der äußeren Flächen des Pfostens (7a) gebildet sind, welcher an einer der Ecken der Basis (7) angeordnet ist, zu der die Drehwelle der Gebläseanordnung (2) versetzt ist. - Wärmeableiter (H) zum Kühlen des wärmeerzeugenden Elementes (3) nach den Ansprüchen 14 oder 16, bei welchem
ein Raum zum Vermindern eines Luftdruckverlustes unter der Gebläseanordnung (2) an einer oberen Bodenfläche der Basis (7) unter der Position der Gebläseanordnung (2) durch Ausbilden einer Stufe (7c, 7d) mit unterschiedlicher Tiefe ausgebildet ist. - Wärmeableiter (H) zum Kühlen des wärmeerzeugenden Elementes (3) nach einem der Ansprüche 1 bis 17, bei welchem die Wärmeabstrahlungslamellen (6) stiftförmig ausgebildet sind,
eine Anordnung der an der oberen Bodenfläche der Basis (7) angeordneten Wärmeabstrahlungslamellen (6) um das Zentrum der Basis (7) herum dicht, jedoch um die Seite der Basis (7) herum nicht dicht ist. - Wärmeableiter (H) zum Kühlen des wärmeerzeugenden Elementes (3) nach einem der Ansprüche 1 bis 18, bei welchem
Stromzuführanschlüsse (18) an der unteren Bodenfläche des Wärmeableiterkörpers (1) angeordnet sind, und wobei die Stromzuführung zu der Gebläseanordnung (2) über die Stromzuführanschlüsse (18) bewerkstelligt wird. - Wärmeableiter (H) zum Kühlen des wärmeerzeugenden Elementes (3) nach einem der Ansprüche 1 bis 19, bei welchem
ein Temperatursensor (20) an der Basis (7) des Wärmeableiterkörpers (1) angeordnet ist, und wobei die EIN/AUS-Steuerung der Gebläseanordnung (2) durch das Ausgabesignal von dem Temperatursensor (20) bewirkt wird. - Wärmeableiter (H) zum Kühlen des wärmeerzeugenden Elementes (3)nach einem der Ansprüche 1 bis 19, bei welchem
ein Temperatursensor (20) an der Basis (7) des Wärmeableiterkörpers (1) angeordnet ist, und wobei eine Drehgeschwindigkeit der Gebläseanordnung (2) durch das Ausgabesignal von dem Temperatursensor (20) gesteuert wird. - Wärmeableiter (H) nach einem der Ansprüche 1 bis 21, welcher bei einem tragbaren elektronischen Gerät mit einer Tastaturanordnung (23) verwendet wird, die mit einer Verstärkungsplatte (22) an deren Boden ausgestattet und in einem Gehäuse (21) installiert ist, und mit einer gedruckten Leiterplatte (17) mit einem wärmeerzeugenden Element (3) an ihrer oberen Fläche, die unter der Tastaturanordnung (23) angeordnet ist, bei welchem
eine umgebende Wand (24), deren obere Kante eine untere Fläche der Verstärkungsplatte (22) berührt, an jeder Kante des auf dem wärmeerzeugenden Element (3) montierten Wärmeableiters (H) angeordnet ist, und wobei Ventilationslöcher (25) für den Durchtritt einer Kühlluft des Wärmeableiters (H) an der Verstärkungsplatte (22) angeordnet sind. - Wärmeableiter (H) nach einem der Ansprüche 1 bis 22, welcher bei einer gedruckten Leiterplatte (17) mit wenigstens einem Paar L-förmiger Schuhe (43) verwendet wird, deren horizontaler Teil nach außen abgebogen ist, und wobei ein wärmeerzeugendes Element (3) auf der gedruckten Leiterplatte (17) zwischen dem Paar Schuhen (43) montiert ist, ferner umfassend einen Befestigungsfederbügel (44), welcher als ein getrenntes Element ausgebildet ist, wobei der Befestigungsfederbügel (44) an den Schuhen (43) befestigt wird und den Wärmeableiterkörper (1) mit Druck überspannt, wodurch der Wärmeableiter (H) auf dem wärmeerzeugenden Element (3) montiert wird.
- Wärmeableiter (H) nach einem der Ansprüche 1 bis 23, ferner umfassend eine U-förmige Befestigungsfederklammer (45) mit Kontaktsegmenten (45a) an den beiden Enden, welche als ein getrenntes Element ausgebildet ist, wobei
ein Wärmeableiter (H) auf dem wärmeerzeugenden Element (3) durch Verklammern des Wärmeableiterkörpers (1) und des wärmeerzeugenden Elementes (3) mittels einer Federkraft der Klammer (45) montiert ist. - Wärmeableiter (H) nach einem der Ansprüche 1 bis 24, bei welchem die Wärmeabstrahlungslamellen (6), die wie ein Stift geformt sind, an der oberen Fläche der Basis (7) angeordnet sind, ferner umfassend:
eine Wärmeableiterbefestigung (28) mit einem horizontalen Segment (26), einem Lamellenloch (26a) zum Hineinstecken der Abstrahlungslamelle (6), und ein von dem horizontalen Segment (26) aus sich erstreckendes L-förmiges Andrücksegment (27) zum Andrücken einer Bodenfläche des wärmeerzeugenden Elementes (3), um den Wärmeableiter (H) auf dem wärmeerzeugenden Element (3) zu montieren, indem diese mit dem horizontalen Segment (26) und dem Andrücksegment (27) verklammert werden. - Wärmeableiter (H) nach Anspruch 25, bei welchem das horizontale Segment (26) einen Kerbenbereich (26b) hat, welcher die Seite des Lamellenloches (26) zu dem seitlichen Raum desselben hin öffnet, und wobei der Abstrahlungsstift (6) in das Lamellenloch (26a) gesteckt wird, indem der Kerbenbereich (26b) erweitert wird.
Priority Applications (2)
| Application Number | Priority Date | Filing Date | Title |
|---|---|---|---|
| EP99201506A EP0939442B1 (de) | 1992-05-28 | 1993-05-28 | Wärmesenke zur Kühlung eines Wärme produzierenden Bauteils und Anwendung |
| EP99201507A EP0939443B1 (de) | 1992-05-28 | 1993-05-28 | Wärmesenke zur Kühlung eines Wärme produzierenden Bauteils und Anwendung |
Applications Claiming Priority (12)
| Application Number | Priority Date | Filing Date | Title |
|---|---|---|---|
| JP13725492 | 1992-05-28 | ||
| JP13725492 | 1992-05-28 | ||
| JP137254/92 | 1992-05-28 | ||
| JP23023392 | 1992-08-28 | ||
| JP23023392 | 1992-08-28 | ||
| JP230233/92 | 1992-08-28 | ||
| JP5256/93 | 1993-01-14 | ||
| JP525693 | 1993-01-14 | ||
| JP525693 | 1993-01-14 | ||
| JP3893493 | 1993-02-26 | ||
| JP38934/93 | 1993-02-26 | ||
| JP5038934A JP3069819B2 (ja) | 1992-05-28 | 1993-02-26 | ヒートシンク並びに該ヒートシンクに用いるヒートシンク取付具及びヒートシンクを用いた可搬型電子装置 |
Related Child Applications (2)
| Application Number | Title | Priority Date | Filing Date |
|---|---|---|---|
| EP99201507A Division EP0939443B1 (de) | 1992-05-28 | 1993-05-28 | Wärmesenke zur Kühlung eines Wärme produzierenden Bauteils und Anwendung |
| EP99201506A Division EP0939442B1 (de) | 1992-05-28 | 1993-05-28 | Wärmesenke zur Kühlung eines Wärme produzierenden Bauteils und Anwendung |
Publications (3)
| Publication Number | Publication Date |
|---|---|
| EP0572326A2 EP0572326A2 (de) | 1993-12-01 |
| EP0572326A3 EP0572326A3 (en) | 1995-09-06 |
| EP0572326B1 true EP0572326B1 (de) | 2001-07-25 |
Family
ID=27454263
Family Applications (3)
| Application Number | Title | Priority Date | Filing Date |
|---|---|---|---|
| EP99201507A Expired - Lifetime EP0939443B1 (de) | 1992-05-28 | 1993-05-28 | Wärmesenke zur Kühlung eines Wärme produzierenden Bauteils und Anwendung |
| EP99201506A Expired - Lifetime EP0939442B1 (de) | 1992-05-28 | 1993-05-28 | Wärmesenke zur Kühlung eines Wärme produzierenden Bauteils und Anwendung |
| EP93401376A Expired - Lifetime EP0572326B1 (de) | 1992-05-28 | 1993-05-28 | Wärmesenke zur Kühlung eines Wärme produzierenden Bauteils und Anwendung |
Family Applications Before (2)
| Application Number | Title | Priority Date | Filing Date |
|---|---|---|---|
| EP99201507A Expired - Lifetime EP0939443B1 (de) | 1992-05-28 | 1993-05-28 | Wärmesenke zur Kühlung eines Wärme produzierenden Bauteils und Anwendung |
| EP99201506A Expired - Lifetime EP0939442B1 (de) | 1992-05-28 | 1993-05-28 | Wärmesenke zur Kühlung eines Wärme produzierenden Bauteils und Anwendung |
Country Status (5)
| Country | Link |
|---|---|
| US (4) | US5504650A (de) |
| EP (3) | EP0939443B1 (de) |
| JP (1) | JP3069819B2 (de) |
| KR (1) | KR0168462B1 (de) |
| DE (3) | DE69332840T9 (de) |
Families Citing this family (381)
| Publication number | Priority date | Publication date | Assignee | Title |
|---|---|---|---|---|
| JP3069819B2 (ja) * | 1992-05-28 | 2000-07-24 | 富士通株式会社 | ヒートシンク並びに該ヒートシンクに用いるヒートシンク取付具及びヒートシンクを用いた可搬型電子装置 |
| US5760333A (en) * | 1992-08-06 | 1998-06-02 | Pfu Limited | Heat-generating element cooling device |
| DE69333278T2 (de) * | 1992-08-06 | 2004-07-22 | Pfu Ltd. | Kühlvorrichtung für ein wärmeerzeugendes Bauelement |
| US6140571A (en) * | 1992-08-06 | 2000-10-31 | Pfu Limited | Heat-generating element cooling device |
| US5484262A (en) * | 1992-10-23 | 1996-01-16 | Nidec Corporation | Low profile fan body with heat transfer characteristics |
| JP2901867B2 (ja) * | 1993-03-19 | 1999-06-07 | 富士通株式会社 | ヒートシンク及びヒートシンクの取付構造 |
| US5452181A (en) * | 1994-02-07 | 1995-09-19 | Nidec Corporation | Detachable apparatus for cooling integrated circuits |
| GB2287837B (en) * | 1994-03-09 | 1997-10-08 | Ming Der Chiou | CPU cooling device |
| JP2834996B2 (ja) * | 1994-03-17 | 1998-12-14 | 富士通株式会社 | ヒートシンク |
| US6463396B1 (en) | 1994-05-31 | 2002-10-08 | Kabushiki Kaisha Toshiba | Apparatus for controlling internal heat generating circuit |
| FR2728116A1 (fr) * | 1994-12-12 | 1996-06-14 | Valeo Thermique Habitacle | Equipement regulateur de puissance pour moteur electrique et ventilateur centrifuge muni d'un tel equipement |
| FR2730894B3 (fr) * | 1995-02-21 | 1997-03-14 | Thomson Csf | Procede de fabrication d'une carte electronique a refroidissement par conduction thermique |
| GB2298520B (en) * | 1995-03-03 | 1999-09-08 | Hong Chen Fu In | Heat sink device for integrated circuit |
| JP3578825B2 (ja) * | 1995-03-17 | 2004-10-20 | 富士通株式会社 | ヒートシンク |
| US5810554A (en) * | 1995-05-31 | 1998-09-22 | Sanyo Denki Co., Ltd. | Electronic component cooling apparatus |
| US5704419A (en) * | 1995-06-30 | 1998-01-06 | International Business Machines Corporation | Air flow distribution in integrated circuit spot coolers |
| US5615084A (en) * | 1995-06-30 | 1997-03-25 | International Business Machines Corporation | Enhanced flow distributor for integrated circuit spot coolers |
| GB2303970A (en) * | 1995-07-31 | 1997-03-05 | Ming Der Chiou | CPU heat dissipating apparatus |
| JPH09149598A (ja) * | 1995-11-20 | 1997-06-06 | Seiko Epson Corp | 冷却ファンおよび冷却ファン組立体 |
| JPH09172113A (ja) * | 1995-12-18 | 1997-06-30 | Nec Corp | 半導体装置用ヒートシンク |
| US6698499B1 (en) | 1996-02-01 | 2004-03-02 | Agilent Technologies, Inc. | Cooling device and method |
| US5785116A (en) * | 1996-02-01 | 1998-07-28 | Hewlett-Packard Company | Fan assisted heat sink device |
| US5896917A (en) | 1996-02-22 | 1999-04-27 | Lemont Aircraft Corporation | Active heat sink structure with flow augmenting rings and method for removing heat |
| US5966286A (en) * | 1996-05-31 | 1999-10-12 | Intel Corporation | Cooling system for thin profile electronic and computer devices |
| US5690468A (en) * | 1996-06-19 | 1997-11-25 | Hong; Chen Fu-In | Fan assembly for an integrated circuit |
| JP3206436B2 (ja) * | 1996-07-03 | 2001-09-10 | 松下電器産業株式会社 | ヒートシンク装置 |
| US6041850A (en) * | 1996-07-26 | 2000-03-28 | General Electric Company | Temperature control of electronic components |
| US5724228A (en) * | 1996-08-14 | 1998-03-03 | Lee; Tzu-I | CPU heat dissipator |
| JP4290232B2 (ja) * | 1997-02-24 | 2009-07-01 | 富士通株式会社 | ヒートシンクとそれを使用する情報処理装置 |
| JP3942248B2 (ja) | 1997-02-24 | 2007-07-11 | 富士通株式会社 | ヒートシンクおよびそれを搭載した情報処理装置 |
| US6501652B2 (en) | 1997-02-24 | 2002-12-31 | Fujitsu Limited | Heat sink and information processor using it |
| US5828551A (en) * | 1997-03-04 | 1998-10-27 | Hoshino Kinzoku Koygo Kabushiki Kaisha | Heat sink apparatus for an electronic component |
| US5727624A (en) * | 1997-03-18 | 1998-03-17 | Liken Lin | CPU heat dissipating device with airguiding units |
| US5854738A (en) * | 1997-05-30 | 1998-12-29 | Intel Corporation | Apparatus for supporting a cooling assembly coupled to an integrated circuit |
| US5901040A (en) * | 1997-07-30 | 1999-05-04 | Hewlett-Packard Company | Heat sink and Faraday Cage assembly for a semiconductor module and a power converter |
| US6191945B1 (en) | 1997-07-30 | 2001-02-20 | Hewlett-Packard Company | Cold plate arrangement for cooling processor and companion voltage regulator |
| IT1294293B1 (it) * | 1997-07-31 | 1999-03-24 | Maurizio Checchetti | Dissipatore di calore |
| JP2997231B2 (ja) | 1997-09-12 | 2000-01-11 | 富士通株式会社 | マルチ半導体ベアチップ実装モジュールの製造方法 |
| US6069792A (en) * | 1997-09-16 | 2000-05-30 | Nelik; Jacob | Computer component cooling assembly |
| JPH11121666A (ja) * | 1997-10-20 | 1999-04-30 | Fujitsu Ltd | マルチチップモジュールの冷却装置 |
| US5829514A (en) * | 1997-10-29 | 1998-11-03 | Eastman Kodak Company | Bonded cast, pin-finned heat sink and method of manufacture |
| US6104608A (en) * | 1997-10-30 | 2000-08-15 | Emc Corporation | Noise reduction hood for an electronic system enclosure |
| JP3488060B2 (ja) * | 1997-11-12 | 2004-01-19 | 株式会社Pfu | 薄型電子装置の放熱装置 |
| US5936836A (en) * | 1997-12-19 | 1999-08-10 | Dell U.S.A., L.P. | Computer with an improved internal cooling system |
| JPH11252858A (ja) * | 1998-02-27 | 1999-09-17 | Matsushita Electric Ind Co Ltd | 電動機及びそれを用いたヒートシンク装置 |
| US6084178A (en) * | 1998-02-27 | 2000-07-04 | Hewlett-Packard Company | Perimeter clamp for mounting and aligning a semiconductor component as part of a field replaceable unit (FRU) |
| EP0948248A1 (de) * | 1998-03-24 | 1999-10-06 | Lucent Technologies Inc. | Elektronische Vorrichtung mit einem von der Umwelt abgedichteten Gehäuse |
| JP3454707B2 (ja) * | 1998-03-31 | 2003-10-06 | 山洋電気株式会社 | 電子部品冷却装置 |
| US6109341A (en) * | 1998-04-30 | 2000-08-29 | Sanyo Denki Co., Ltd. | Electronic component cooling apparatus including elongated heat sink |
| US6037660A (en) * | 1998-05-06 | 2000-03-14 | Liu; Yen-Wen | Device for securing a finned radiating structure to a computer chip |
| JPH11354954A (ja) * | 1998-06-10 | 1999-12-24 | Fujitsu Ltd | 電子装置 |
| JP2000012751A (ja) * | 1998-06-24 | 2000-01-14 | Nippon Densan Corp | 冷却ファン装置 |
| US5926370A (en) * | 1998-10-29 | 1999-07-20 | Hewlett-Packard Company | Method and apparatus for a modular integrated apparatus for multi-function components |
| US6061235A (en) * | 1998-11-18 | 2000-05-09 | Hewlett-Packard Company | Method and apparatus for a modular integrated apparatus for heat dissipation, processor integration, electrical interface, and electromagnetic interference management |
| US7584780B1 (en) | 1998-12-09 | 2009-09-08 | Lemont Aircraft Corporation | Active heat sink structure with flow augmenting rings and method for removing heat |
| US6198630B1 (en) | 1999-01-20 | 2001-03-06 | Hewlett-Packard Company | Method and apparatus for electrical and mechanical attachment, and electromagnetic interference and thermal management of high speed, high density VLSI modules |
| US6176299B1 (en) | 1999-02-22 | 2001-01-23 | Agilent Technologies, Inc. | Cooling apparatus for electronic devices |
| US6196302B1 (en) * | 1999-03-16 | 2001-03-06 | Wen-Hao Chuang | Heat sink with multi-layer dispersion space |
| US6157539A (en) * | 1999-08-13 | 2000-12-05 | Agilent Technologies | Cooling apparatus for electronic devices |
| US20010050164A1 (en) * | 1999-08-18 | 2001-12-13 | Agilent Technologies, Inc. | Cooling apparatus for electronic devices |
| US6606244B1 (en) * | 1999-09-10 | 2003-08-12 | Saint Song Corp. | Pointing device having computer host |
| US6301110B1 (en) | 1999-09-30 | 2001-10-09 | Sanyo Denki Co., Ltd. | Electronic component cooling apparatus |
| US6244331B1 (en) * | 1999-10-22 | 2001-06-12 | Intel Corporation | Heatsink with integrated blower for improved heat transfer |
| US6349760B1 (en) | 1999-10-22 | 2002-02-26 | Intel Corporation | Method and apparatus for improving the thermal performance of heat sinks |
| JP4461584B2 (ja) * | 1999-11-16 | 2010-05-12 | パナソニック株式会社 | ヒートシンク装置 |
| US6336592B1 (en) | 1999-12-09 | 2002-01-08 | Tektronix, Inc. | Thermal control for a test and measurement instrument |
| US6360816B1 (en) | 1999-12-23 | 2002-03-26 | Agilent Technologies, Inc. | Cooling apparatus for electronic devices |
| US6288899B1 (en) * | 2000-02-09 | 2001-09-11 | Unisys Corporation | Method and apparatus for heat dissipation in a multi-processor module |
| JP2001284865A (ja) | 2000-03-31 | 2001-10-12 | Fujitsu Ltd | ヒートシンク及びその製造方法、並びに、当該ヒートシンクを有する電子機器 |
| JP4386219B2 (ja) | 2000-03-31 | 2009-12-16 | 富士通株式会社 | 放熱機構及び当該放熱機構を有する電子機器 |
| US6483199B2 (en) * | 2000-04-28 | 2002-11-19 | Mitsubishi Denki Kabushiki Kaisha | Wind power generating device |
| JP4496400B2 (ja) * | 2000-05-30 | 2010-07-07 | 三菱電機株式会社 | エレベータかごの照明装置 |
| US6537019B1 (en) * | 2000-06-06 | 2003-03-25 | Intel Corporation | Fan assembly and method |
| US20020067596A1 (en) * | 2000-12-05 | 2002-06-06 | Searls Damion T. | Conduited heat dissipation device |
| US6826050B2 (en) * | 2000-12-27 | 2004-11-30 | Fujitsu Limited | Heat sink and electronic device with heat sink |
| DE10102434B4 (de) * | 2001-01-19 | 2005-01-20 | Siemens Ag | Kühlkörper mit innenliegendem Lüfter |
| US6446707B1 (en) * | 2001-04-17 | 2002-09-10 | Hewlett-Packard Company | Active heat sink structure with directed air flow |
| US10835307B2 (en) | 2001-06-12 | 2020-11-17 | Ethicon Llc | Modular battery powered handheld surgical instrument containing elongated multi-layered shaft |
| KR100422037B1 (ko) * | 2001-08-09 | 2004-03-12 | 삼성전기주식회사 | 광경로 변환형 가변 광학 감쇠기 |
| ITBZ20010043A1 (it) * | 2001-09-13 | 2003-03-13 | High Technology Invest Bv | Generatore elettrico azionato da energia eolica. |
| US6754072B2 (en) | 2001-09-24 | 2004-06-22 | International Business Machines Corporation | Portable device for cooling a laptop computer |
| US6942018B2 (en) | 2001-09-28 | 2005-09-13 | The Board Of Trustees Of The Leland Stanford Junior University | Electroosmotic microchannel cooling system |
| US7134486B2 (en) * | 2001-09-28 | 2006-11-14 | The Board Of Trustees Of The Leeland Stanford Junior University | Control of electrolysis gases in electroosmotic pump systems |
| US6606251B1 (en) | 2002-02-07 | 2003-08-12 | Cooligy Inc. | Power conditioning module |
| US6736192B2 (en) * | 2002-03-08 | 2004-05-18 | Ting-Fei Wang | CPU cooler |
| US6578625B1 (en) * | 2002-03-08 | 2003-06-17 | Raytheon Company | Method and apparatus for removing heat from a plate |
| US6622786B1 (en) * | 2002-04-17 | 2003-09-23 | International Business Machines Corporation | Heat sink structure with pyramidic and base-plate cut-outs |
| NL1023197C2 (nl) * | 2002-05-31 | 2005-10-26 | J Van Der Werff Holding B V | Verbeteringen aan of met betrekking tot de koeling van elektrische en/of elektronische componenten, in het bijzonder computerapparatuur. |
| DE60316801T2 (de) * | 2002-05-31 | 2008-07-17 | J. Van Der Werff Holding B.V. | Kühlung für elektrische oder elektronische bauelemente , insbesondere für rechnereinheiten |
| US7046515B1 (en) | 2002-06-06 | 2006-05-16 | Raytheon Company | Method and apparatus for cooling a circuit component |
| US6972950B1 (en) * | 2002-06-06 | 2005-12-06 | Raytheon Company | Method and apparatus for cooling a portable computer |
| US6970356B2 (en) * | 2002-07-16 | 2005-11-29 | Tseng Jyi Peng | Heat sink system |
| DE10233736B3 (de) * | 2002-07-24 | 2004-04-15 | N F T Nanofiltertechnik Gmbh | Wärmetauschervorrichtung |
| TW577585U (en) * | 2002-12-24 | 2004-02-21 | Delta Electronics Inc | Multi-level heat-dissipating device |
| EP1593853A4 (de) * | 2002-12-25 | 2007-06-27 | Toshiba Kk | Gebläse mit gehäuse mit zufuhröffnung, kühleinheit und elektronische vorrichtung mit dem gebläse |
| US20040163795A1 (en) * | 2003-02-25 | 2004-08-26 | Yi-Yung Lin | Heat sink |
| KR20050019951A (ko) * | 2003-08-18 | 2005-03-04 | 히타이트(주) | 냉각 유니트 |
| US6884033B2 (en) * | 2003-09-29 | 2005-04-26 | Cheng Home Electronics Co., Ltd. | Volute inlet of fan |
| DE20316334U1 (de) * | 2003-10-22 | 2004-03-11 | Nft Nanofiltertechnik Gmbh | Wärmetauschervorrichtung |
| US7007498B2 (en) * | 2003-10-24 | 2006-03-07 | American Standard International Inc. | HVAC cabinet with configurable duct connections |
| US7116555B2 (en) * | 2003-12-29 | 2006-10-03 | International Business Machines Corporation | Acoustic and thermal energy management system |
| US8182501B2 (en) | 2004-02-27 | 2012-05-22 | Ethicon Endo-Surgery, Inc. | Ultrasonic surgical shears and method for sealing a blood vessel using same |
| EP1747378B1 (de) * | 2004-03-30 | 2010-10-20 | ebm-papst St. Georgen GmbH & Co. KG | Lüfteranordnung |
| TW200537279A (en) * | 2004-05-13 | 2005-11-16 | Mitac Technology Corp | Heat sink module having heat conduction cover plate |
| JP2006002762A (ja) * | 2004-05-18 | 2006-01-05 | Nippon Densan Corp | 送風機 |
| US8475126B2 (en) * | 2004-05-18 | 2013-07-02 | Nidec Corporation | Housing assembly for use in fan unit and fan unit including the same |
| US20060021736A1 (en) * | 2004-07-29 | 2006-02-02 | International Rectifier Corporation | Pin type heat sink for channeling air flow |
| DE102004040557A1 (de) * | 2004-08-16 | 2006-02-23 | Kern, Dietmar, Dr.-Ing. | Elektronikkühlkörper |
| US7182124B2 (en) * | 2004-08-31 | 2007-02-27 | Egbon Electronics Ltd. | Heat sink structure |
| EP3162309B1 (de) | 2004-10-08 | 2022-10-26 | Ethicon LLC | Chirurgisches ultraschallinstrument |
| CN100361295C (zh) * | 2004-11-30 | 2008-01-09 | 技嘉科技股份有限公司 | 散热装置及其减噪方法 |
| CN2757508Y (zh) * | 2004-12-04 | 2006-02-08 | 鸿富锦精密工业(深圳)有限公司 | 散热装置 |
| JP2006269639A (ja) * | 2005-03-23 | 2006-10-05 | Denso Corp | 放熱装置および車載電子機器 |
| JP4562770B2 (ja) * | 2005-04-15 | 2010-10-13 | 富士通株式会社 | ヒートシンク、回路基板、電子機器 |
| CN2800719Y (zh) * | 2005-06-01 | 2006-07-26 | 鸿富锦精密工业(深圳)有限公司 | 散热装置 |
| US7231964B2 (en) * | 2005-06-13 | 2007-06-19 | Hsieh Hsin-Mao | Cooling appliance for hot beverages |
| JP4480638B2 (ja) * | 2005-07-04 | 2010-06-16 | Necディスプレイソリューションズ株式会社 | 貫流型強制空冷ヒートシンクおよび投写型表示装置 |
| US20070044942A1 (en) * | 2005-08-24 | 2007-03-01 | Xingwen Mou | Bottom plate of a radiator for a CPU |
| ITBZ20050063A1 (it) | 2005-11-29 | 2007-05-30 | High Technology Invest Bv | Pacco di lamierini per generatori e motori elettrici e procedimento per la sua attuazione |
| ITBZ20050062A1 (it) | 2005-11-29 | 2007-05-30 | High Technology Invest Bv | Rotore a magneti permanenti per generatori e motori elettrici |
| DK1934474T3 (da) | 2005-09-21 | 2010-06-21 | Wilic S A R L | Lejepakningsanordning med labyrintpaknings- og skruepakningskombination |
| US20070191713A1 (en) | 2005-10-14 | 2007-08-16 | Eichmann Stephen E | Ultrasonic device for cutting and coagulating |
| US7621930B2 (en) | 2006-01-20 | 2009-11-24 | Ethicon Endo-Surgery, Inc. | Ultrasound medical instrument having a medical ultrasonic blade |
| US7891464B2 (en) * | 2006-06-15 | 2011-02-22 | Hewlett-Packard Development, L.P. | System and method for noise suppression |
| US20080024985A1 (en) * | 2006-07-31 | 2008-01-31 | Zong-Jui Lee | Computer casing with high heat dissipation efficiency |
| US7779960B2 (en) * | 2006-08-18 | 2010-08-24 | Hewlett-Packard Development Company, L.P. | System and method for noise suppression |
| US20080061046A1 (en) * | 2006-09-13 | 2008-03-13 | Hypertherm, Inc. | Power Supply Cooling System |
| CN100592857C (zh) * | 2006-09-29 | 2010-02-24 | 鸿富锦精密工业(深圳)有限公司 | 散热装置 |
| KR101291428B1 (ko) * | 2006-12-14 | 2013-07-30 | 엘지전자 주식회사 | 조리기기 |
| CN101216442B (zh) * | 2007-01-04 | 2010-06-02 | 鸿富锦精密工业(深圳)有限公司 | 散热装置热阻值测试仪 |
| US7457119B2 (en) * | 2007-02-08 | 2008-11-25 | Inventec Corporation | Heatsink module |
| JP4694514B2 (ja) * | 2007-02-08 | 2011-06-08 | トヨタ自動車株式会社 | 半導体素子の冷却構造 |
| US8057498B2 (en) | 2007-11-30 | 2011-11-15 | Ethicon Endo-Surgery, Inc. | Ultrasonic surgical instrument blades |
| US8911460B2 (en) | 2007-03-22 | 2014-12-16 | Ethicon Endo-Surgery, Inc. | Ultrasonic surgical instruments |
| US8142461B2 (en) | 2007-03-22 | 2012-03-27 | Ethicon Endo-Surgery, Inc. | Surgical instruments |
| US8808319B2 (en) | 2007-07-27 | 2014-08-19 | Ethicon Endo-Surgery, Inc. | Surgical instruments |
| US8523889B2 (en) | 2007-07-27 | 2013-09-03 | Ethicon Endo-Surgery, Inc. | Ultrasonic end effectors with increased active length |
| US8512365B2 (en) | 2007-07-31 | 2013-08-20 | Ethicon Endo-Surgery, Inc. | Surgical instruments |
| US9044261B2 (en) | 2007-07-31 | 2015-06-02 | Ethicon Endo-Surgery, Inc. | Temperature controlled ultrasonic surgical instruments |
| US8430898B2 (en) | 2007-07-31 | 2013-04-30 | Ethicon Endo-Surgery, Inc. | Ultrasonic surgical instruments |
| RU2361378C2 (ru) * | 2007-08-13 | 2009-07-10 | Открытое акционерное общество "Научно-производственный комплекс "ЭЛАРА" | Устройство охлаждения |
| KR100901385B1 (ko) * | 2007-08-17 | 2009-06-05 | 최동철 | 히트싱크의 탭 가공장치 |
| CN101883531B (zh) | 2007-10-05 | 2014-07-02 | 伊西康内外科公司 | 人体工程学外科手术器械 |
| TWM333037U (en) * | 2007-10-26 | 2008-05-21 | Delta Electronics Inc | Series fan and frame set thereof |
| US10010339B2 (en) | 2007-11-30 | 2018-07-03 | Ethicon Llc | Ultrasonic surgical blades |
| CN101583263A (zh) * | 2008-05-16 | 2009-11-18 | 鸿富锦精密工业(深圳)有限公司 | 便携式电子装置 |
| US20100014974A1 (en) * | 2008-07-17 | 2010-01-21 | Mccorkendale Timothy E | Apparatus and method for cooling a wind turbine hub |
| CN201248224Y (zh) * | 2008-07-18 | 2009-05-27 | 鸿富锦精密工业(深圳)有限公司 | 散热装置 |
| IT1390758B1 (it) | 2008-07-23 | 2011-09-23 | Rolic Invest Sarl | Generatore eolico |
| US8070324B2 (en) * | 2008-07-30 | 2011-12-06 | Mp Design Inc. | Thermal control system for a light-emitting diode fixture |
| US9089360B2 (en) | 2008-08-06 | 2015-07-28 | Ethicon Endo-Surgery, Inc. | Devices and techniques for cutting and coagulating tissue |
| RU2389164C1 (ru) * | 2008-08-11 | 2010-05-10 | Открытое акционерное общество "Научно-производственный комплекс "ЭЛАРА" имени Г.А. Ильенко (ОАО "ЭЛАРА") | Радиоэлектронный блок |
| IT1391939B1 (it) | 2008-11-12 | 2012-02-02 | Rolic Invest Sarl | Generatore eolico |
| IT1391770B1 (it) | 2008-11-13 | 2012-01-27 | Rolic Invest Sarl | Generatore eolico per la generazione di energia elettrica |
| CN102257320B (zh) * | 2008-12-19 | 2015-11-25 | 马田专业公司 | 摇头灯具和冷却模块 |
| IT1392804B1 (it) | 2009-01-30 | 2012-03-23 | Rolic Invest Sarl | Imballo e metodo di imballo per pale di generatori eolici |
| CN101835363B (zh) * | 2009-03-10 | 2013-06-05 | 鸿富锦精密工业(深圳)有限公司 | 散热结构 |
| CN101848621B (zh) * | 2009-03-24 | 2012-06-20 | 鸿富锦精密工业(深圳)有限公司 | 散热器 |
| IT1393937B1 (it) | 2009-04-09 | 2012-05-17 | Rolic Invest Sarl | Aerogeneratore |
| IT1393707B1 (it) | 2009-04-29 | 2012-05-08 | Rolic Invest Sarl | Impianto eolico per la generazione di energia elettrica |
| US9700339B2 (en) | 2009-05-20 | 2017-07-11 | Ethicon Endo-Surgery, Inc. | Coupling arrangements and methods for attaching tools to ultrasonic surgical instruments |
| IT1394723B1 (it) | 2009-06-10 | 2012-07-13 | Rolic Invest Sarl | Impianto eolico per la generazione di energia elettrica e relativo metodo di controllo |
| US8663220B2 (en) | 2009-07-15 | 2014-03-04 | Ethicon Endo-Surgery, Inc. | Ultrasonic surgical instruments |
| IT1395148B1 (it) | 2009-08-07 | 2012-09-05 | Rolic Invest Sarl | Metodo e apparecchiatura di attivazione di una macchina elettrica e macchina elettrica |
| US20110061832A1 (en) * | 2009-09-17 | 2011-03-17 | Albertson Luther D | Ground-to-air heat pump system |
| US20110079376A1 (en) * | 2009-10-03 | 2011-04-07 | Wolverine Tube, Inc. | Cold plate with pins |
| US11090104B2 (en) | 2009-10-09 | 2021-08-17 | Cilag Gmbh International | Surgical generator for ultrasonic and electrosurgical devices |
| US8574231B2 (en) | 2009-10-09 | 2013-11-05 | Ethicon Endo-Surgery, Inc. | Surgical instrument for transmitting energy to tissue comprising a movable electrode or insulator |
| US8906016B2 (en) | 2009-10-09 | 2014-12-09 | Ethicon Endo-Surgery, Inc. | Surgical instrument for transmitting energy to tissue comprising steam control paths |
| US8939974B2 (en) * | 2009-10-09 | 2015-01-27 | Ethicon Endo-Surgery, Inc. | Surgical instrument comprising first and second drive systems actuatable by a common trigger mechanism |
| US10172669B2 (en) | 2009-10-09 | 2019-01-08 | Ethicon Llc | Surgical instrument comprising an energy trigger lockout |
| US9060775B2 (en) | 2009-10-09 | 2015-06-23 | Ethicon Endo-Surgery, Inc. | Surgical generator for ultrasonic and electrosurgical devices |
| US8747404B2 (en) * | 2009-10-09 | 2014-06-10 | Ethicon Endo-Surgery, Inc. | Surgical instrument for transmitting energy to tissue comprising non-conductive grasping portions |
| US10441345B2 (en) | 2009-10-09 | 2019-10-15 | Ethicon Llc | Surgical generator for ultrasonic and electrosurgical devices |
| IT1397081B1 (it) | 2009-11-23 | 2012-12-28 | Rolic Invest Sarl | Impianto eolico per la generazione di energia elettrica |
| US9200792B2 (en) * | 2009-11-24 | 2015-12-01 | Streamlight, Inc. | Portable light having a heat dissipater with an integral cooling device |
| IT1398060B1 (it) | 2010-02-04 | 2013-02-07 | Wilic Sarl | Impianto e metodo di raffreddamento di un generatore elettrico di un aerogeneratore, e aerogeneratore comprendente tale impianto di raffreddamento |
| US8951272B2 (en) | 2010-02-11 | 2015-02-10 | Ethicon Endo-Surgery, Inc. | Seal arrangements for ultrasonically powered surgical instruments |
| US8486096B2 (en) | 2010-02-11 | 2013-07-16 | Ethicon Endo-Surgery, Inc. | Dual purpose surgical instrument for cutting and coagulating tissue |
| US8469981B2 (en) | 2010-02-11 | 2013-06-25 | Ethicon Endo-Surgery, Inc. | Rotatable cutting implement arrangements for ultrasonic surgical instruments |
| EP2458695A4 (de) * | 2010-02-22 | 2014-08-13 | Fujikura Ltd | Faserlasergerät |
| US8696665B2 (en) | 2010-03-26 | 2014-04-15 | Ethicon Endo-Surgery, Inc. | Surgical cutting and sealing instrument with reduced firing force |
| IT1399201B1 (it) | 2010-03-30 | 2013-04-11 | Wilic Sarl | Aerogeneratore e metodo di rimozione di un cuscinetto da un aerogeneratore |
| US8623044B2 (en) | 2010-04-12 | 2014-01-07 | Ethicon Endo-Surgery, Inc. | Cable actuated end-effector for a surgical instrument |
| US8496682B2 (en) | 2010-04-12 | 2013-07-30 | Ethicon Endo-Surgery, Inc. | Electrosurgical cutting and sealing instruments with cam-actuated jaws |
| US8834518B2 (en) | 2010-04-12 | 2014-09-16 | Ethicon Endo-Surgery, Inc. | Electrosurgical cutting and sealing instruments with cam-actuated jaws |
| US8709035B2 (en) | 2010-04-12 | 2014-04-29 | Ethicon Endo-Surgery, Inc. | Electrosurgical cutting and sealing instruments with jaws having a parallel closure motion |
| IT1399511B1 (it) | 2010-04-22 | 2013-04-19 | Wilic Sarl | Generatore elettrico per un aerogeneratore e aerogeneratore equipaggiato con tale generatore elettrico |
| US8535311B2 (en) | 2010-04-22 | 2013-09-17 | Ethicon Endo-Surgery, Inc. | Electrosurgical instrument comprising closing and firing systems |
| US8685020B2 (en) | 2010-05-17 | 2014-04-01 | Ethicon Endo-Surgery, Inc. | Surgical instruments and end effectors therefor |
| GB2480498A (en) | 2010-05-21 | 2011-11-23 | Ethicon Endo Surgery Inc | Medical device comprising RF circuitry |
| US8795276B2 (en) | 2010-06-09 | 2014-08-05 | Ethicon Endo-Surgery, Inc. | Electrosurgical instrument employing a plurality of electrodes |
| US8790342B2 (en) | 2010-06-09 | 2014-07-29 | Ethicon Endo-Surgery, Inc. | Electrosurgical instrument employing pressure-variation electrodes |
| US8888776B2 (en) | 2010-06-09 | 2014-11-18 | Ethicon Endo-Surgery, Inc. | Electrosurgical instrument employing an electrode |
| US8926607B2 (en) | 2010-06-09 | 2015-01-06 | Ethicon Endo-Surgery, Inc. | Electrosurgical instrument employing multiple positive temperature coefficient electrodes |
| US8764747B2 (en) | 2010-06-10 | 2014-07-01 | Ethicon Endo-Surgery, Inc. | Electrosurgical instrument comprising sequentially activated electrodes |
| US9005199B2 (en) | 2010-06-10 | 2015-04-14 | Ethicon Endo-Surgery, Inc. | Heat management configurations for controlling heat dissipation from electrosurgical instruments |
| US8753338B2 (en) | 2010-06-10 | 2014-06-17 | Ethicon Endo-Surgery, Inc. | Electrosurgical instrument employing a thermal management system |
| US9149324B2 (en) | 2010-07-08 | 2015-10-06 | Ethicon Endo-Surgery, Inc. | Surgical instrument comprising an articulatable end effector |
| US8834466B2 (en) | 2010-07-08 | 2014-09-16 | Ethicon Endo-Surgery, Inc. | Surgical instrument comprising an articulatable end effector |
| US8453906B2 (en) | 2010-07-14 | 2013-06-04 | Ethicon Endo-Surgery, Inc. | Surgical instruments with electrodes |
| US20120016413A1 (en) | 2010-07-14 | 2012-01-19 | Ethicon Endo-Surgery, Inc. | Surgical fastening devices comprising rivets |
| US8795327B2 (en) | 2010-07-22 | 2014-08-05 | Ethicon Endo-Surgery, Inc. | Electrosurgical instrument with separate closure and cutting members |
| US8979843B2 (en) | 2010-07-23 | 2015-03-17 | Ethicon Endo-Surgery, Inc. | Electrosurgical cutting and sealing instrument |
| US8702704B2 (en) | 2010-07-23 | 2014-04-22 | Ethicon Endo-Surgery, Inc. | Electrosurgical cutting and sealing instrument |
| US9011437B2 (en) | 2010-07-23 | 2015-04-21 | Ethicon Endo-Surgery, Inc. | Electrosurgical cutting and sealing instrument |
| US9192431B2 (en) | 2010-07-23 | 2015-11-24 | Ethicon Endo-Surgery, Inc. | Electrosurgical cutting and sealing instrument |
| US8979844B2 (en) | 2010-07-23 | 2015-03-17 | Ethicon Endo-Surgery, Inc. | Electrosurgical cutting and sealing instrument |
| US8979890B2 (en) | 2010-10-01 | 2015-03-17 | Ethicon Endo-Surgery, Inc. | Surgical instrument with jaw member |
| US8628529B2 (en) | 2010-10-26 | 2014-01-14 | Ethicon Endo-Surgery, Inc. | Surgical instrument with magnetic clamping force |
| US8715277B2 (en) | 2010-12-08 | 2014-05-06 | Ethicon Endo-Surgery, Inc. | Control of jaw compression in surgical instrument having end effector with opposing jaw members |
| CN102655727B (zh) * | 2011-03-01 | 2016-06-29 | 华北理工大学 | 导风件 |
| US20120227940A1 (en) * | 2011-03-08 | 2012-09-13 | Novel Concepts, Inc. | Toroidal Fluid Mover and Associated Heat Sink |
| ITMI20110375A1 (it) | 2011-03-10 | 2012-09-11 | Wilic Sarl | Turbina eolica |
| ITMI20110378A1 (it) | 2011-03-10 | 2012-09-11 | Wilic Sarl | Macchina elettrica rotante per aerogeneratore |
| ITMI20110377A1 (it) | 2011-03-10 | 2012-09-11 | Wilic Sarl | Macchina elettrica rotante per aerogeneratore |
| US9039362B2 (en) * | 2011-03-14 | 2015-05-26 | Minebea Co., Ltd. | Impeller and centrifugal fan using the same |
| US9259265B2 (en) | 2011-07-22 | 2016-02-16 | Ethicon Endo-Surgery, Llc | Surgical instruments for tensioning tissue |
| US9044243B2 (en) | 2011-08-30 | 2015-06-02 | Ethcon Endo-Surgery, Inc. | Surgical cutting and fastening device with descendible second trigger arrangement |
| EP2770932B1 (de) | 2011-10-24 | 2018-12-12 | Ethicon LLC | Medizinisches instrument |
| CN103149971A (zh) * | 2011-12-06 | 2013-06-12 | 鸿富锦精密工业(武汉)有限公司 | 风扇模组 |
| EP2811932B1 (de) | 2012-02-10 | 2019-06-26 | Ethicon LLC | Robotisch gesteuertes chirurgisches instrument |
| US8699226B2 (en) | 2012-04-03 | 2014-04-15 | Google Inc. | Active cooling debris bypass fin pack |
| US9439668B2 (en) | 2012-04-09 | 2016-09-13 | Ethicon Endo-Surgery, Llc | Switch arrangements for ultrasonic surgical instruments |
| WO2013184931A1 (en) * | 2012-06-07 | 2013-12-12 | CoolChip Technologies, Inc. | Kinetic heat sink having controllable thermal gap |
| EP2679913B1 (de) * | 2012-06-28 | 2019-08-07 | BSH Hausgeräte GmbH | Hausgerät |
| US20140005640A1 (en) | 2012-06-28 | 2014-01-02 | Ethicon Endo-Surgery, Inc. | Surgical end effector jaw and electrode configurations |
| US20140005705A1 (en) | 2012-06-29 | 2014-01-02 | Ethicon Endo-Surgery, Inc. | Surgical instruments with articulating shafts |
| US9351754B2 (en) | 2012-06-29 | 2016-05-31 | Ethicon Endo-Surgery, Llc | Ultrasonic surgical instruments with distally positioned jaw assemblies |
| US9326788B2 (en) | 2012-06-29 | 2016-05-03 | Ethicon Endo-Surgery, Llc | Lockout mechanism for use with robotic electrosurgical device |
| US20140005702A1 (en) | 2012-06-29 | 2014-01-02 | Ethicon Endo-Surgery, Inc. | Ultrasonic surgical instruments with distally positioned transducers |
| US9408622B2 (en) | 2012-06-29 | 2016-08-09 | Ethicon Endo-Surgery, Llc | Surgical instruments with articulating shafts |
| US9393037B2 (en) | 2012-06-29 | 2016-07-19 | Ethicon Endo-Surgery, Llc | Surgical instruments with articulating shafts |
| US9226767B2 (en) | 2012-06-29 | 2016-01-05 | Ethicon Endo-Surgery, Inc. | Closed feedback control for electrosurgical device |
| US9198714B2 (en) | 2012-06-29 | 2015-12-01 | Ethicon Endo-Surgery, Inc. | Haptic feedback devices for surgical robot |
| US9820768B2 (en) | 2012-06-29 | 2017-11-21 | Ethicon Llc | Ultrasonic surgical instruments with control mechanisms |
| IN2015DN02432A (de) | 2012-09-28 | 2015-09-04 | Ethicon Endo Surgery Inc | |
| US9095367B2 (en) | 2012-10-22 | 2015-08-04 | Ethicon Endo-Surgery, Inc. | Flexible harmonic waveguides/blades for surgical instruments |
| US20140135804A1 (en) | 2012-11-15 | 2014-05-15 | Ethicon Endo-Surgery, Inc. | Ultrasonic and electrosurgical devices |
| US9817728B2 (en) | 2013-02-01 | 2017-11-14 | Symbolic Io Corporation | Fast system state cloning |
| US10133636B2 (en) | 2013-03-12 | 2018-11-20 | Formulus Black Corporation | Data storage and retrieval mediation system and methods for using same |
| US9304703B1 (en) | 2015-04-15 | 2016-04-05 | Symbolic Io Corporation | Method and apparatus for dense hyper IO digital retention |
| US10226273B2 (en) | 2013-03-14 | 2019-03-12 | Ethicon Llc | Mechanical fasteners for use with surgical energy devices |
| US9295514B2 (en) | 2013-08-30 | 2016-03-29 | Ethicon Endo-Surgery, Llc | Surgical devices with close quarter articulation features |
| WO2015037047A1 (ja) * | 2013-09-10 | 2015-03-19 | 三菱電機株式会社 | 半導体装置、半導体モジュール |
| US9814514B2 (en) | 2013-09-13 | 2017-11-14 | Ethicon Llc | Electrosurgical (RF) medical instruments for cutting and coagulating tissue |
| US9861428B2 (en) | 2013-09-16 | 2018-01-09 | Ethicon Llc | Integrated systems for electrosurgical steam or smoke control |
| US9265926B2 (en) | 2013-11-08 | 2016-02-23 | Ethicon Endo-Surgery, Llc | Electrosurgical devices |
| US9526565B2 (en) | 2013-11-08 | 2016-12-27 | Ethicon Endo-Surgery, Llc | Electrosurgical devices |
| GB2521229A (en) | 2013-12-16 | 2015-06-17 | Ethicon Endo Surgery Inc | Medical device |
| GB2521228A (en) | 2013-12-16 | 2015-06-17 | Ethicon Endo Surgery Inc | Medical device |
| US9795436B2 (en) | 2014-01-07 | 2017-10-24 | Ethicon Llc | Harvesting energy from a surgical generator |
| US9408660B2 (en) | 2014-01-17 | 2016-08-09 | Ethicon Endo-Surgery, Llc | Device trigger dampening mechanism |
| US9554854B2 (en) | 2014-03-18 | 2017-01-31 | Ethicon Endo-Surgery, Llc | Detecting short circuits in electrosurgical medical devices |
| US10092310B2 (en) | 2014-03-27 | 2018-10-09 | Ethicon Llc | Electrosurgical devices |
| US10463421B2 (en) | 2014-03-27 | 2019-11-05 | Ethicon Llc | Two stage trigger, clamp and cut bipolar vessel sealer |
| US10524852B1 (en) | 2014-03-28 | 2020-01-07 | Ethicon Llc | Distal sealing end effector with spacers |
| US9737355B2 (en) | 2014-03-31 | 2017-08-22 | Ethicon Llc | Controlling impedance rise in electrosurgical medical devices |
| US9913680B2 (en) | 2014-04-15 | 2018-03-13 | Ethicon Llc | Software algorithms for electrosurgical instruments |
| US9757186B2 (en) | 2014-04-17 | 2017-09-12 | Ethicon Llc | Device status feedback for bipolar tissue spacer |
| US9700333B2 (en) | 2014-06-30 | 2017-07-11 | Ethicon Llc | Surgical instrument with variable tissue compression |
| US10285724B2 (en) | 2014-07-31 | 2019-05-14 | Ethicon Llc | Actuation mechanisms and load adjustment assemblies for surgical instruments |
| US9877776B2 (en) | 2014-08-25 | 2018-01-30 | Ethicon Llc | Simultaneous I-beam and spring driven cam jaw closure mechanism |
| US10194976B2 (en) | 2014-08-25 | 2019-02-05 | Ethicon Llc | Lockout disabling mechanism |
| US10194972B2 (en) | 2014-08-26 | 2019-02-05 | Ethicon Llc | Managing tissue treatment |
| US10639092B2 (en) | 2014-12-08 | 2020-05-05 | Ethicon Llc | Electrode configurations for surgical instruments |
| US10111699B2 (en) | 2014-12-22 | 2018-10-30 | Ethicon Llc | RF tissue sealer, shear grip, trigger lock mechanism and energy activation |
| US10092348B2 (en) | 2014-12-22 | 2018-10-09 | Ethicon Llc | RF tissue sealer, shear grip, trigger lock mechanism and energy activation |
| US10159524B2 (en) | 2014-12-22 | 2018-12-25 | Ethicon Llc | High power battery powered RF amplifier topology |
| US9848937B2 (en) | 2014-12-22 | 2017-12-26 | Ethicon Llc | End effector with detectable configurations |
| US10245095B2 (en) | 2015-02-06 | 2019-04-02 | Ethicon Llc | Electrosurgical instrument with rotation and articulation mechanisms |
| US10436221B2 (en) * | 2015-02-19 | 2019-10-08 | Hewlett Packard Enterprise Development Lp | Fan guard with flexible compression member |
| US10321950B2 (en) | 2015-03-17 | 2019-06-18 | Ethicon Llc | Managing tissue treatment |
| US10342602B2 (en) | 2015-03-17 | 2019-07-09 | Ethicon Llc | Managing tissue treatment |
| US10595929B2 (en) | 2015-03-24 | 2020-03-24 | Ethicon Llc | Surgical instruments with firing system overload protection mechanisms |
| US10314638B2 (en) | 2015-04-07 | 2019-06-11 | Ethicon Llc | Articulating radio frequency (RF) tissue seal with articulating state sensing |
| US10117702B2 (en) | 2015-04-10 | 2018-11-06 | Ethicon Llc | Surgical generator systems and related methods |
| US10061514B2 (en) | 2015-04-15 | 2018-08-28 | Formulus Black Corporation | Method and apparatus for dense hyper IO digital retention |
| US10130410B2 (en) | 2015-04-17 | 2018-11-20 | Ethicon Llc | Electrosurgical instrument including a cutting member decouplable from a cutting member trigger |
| US9872725B2 (en) | 2015-04-29 | 2018-01-23 | Ethicon Llc | RF tissue sealer with mode selection |
| CN106211704B (zh) * | 2015-05-08 | 2020-01-03 | 技嘉科技股份有限公司 | 组合式的散热模块 |
| US11020140B2 (en) | 2015-06-17 | 2021-06-01 | Cilag Gmbh International | Ultrasonic surgical blade for use with ultrasonic surgical instruments |
| US10898256B2 (en) | 2015-06-30 | 2021-01-26 | Ethicon Llc | Surgical system with user adaptable techniques based on tissue impedance |
| US11129669B2 (en) | 2015-06-30 | 2021-09-28 | Cilag Gmbh International | Surgical system with user adaptable techniques based on tissue type |
| US10034704B2 (en) | 2015-06-30 | 2018-07-31 | Ethicon Llc | Surgical instrument with user adaptable algorithms |
| US11051873B2 (en) | 2015-06-30 | 2021-07-06 | Cilag Gmbh International | Surgical system with user adaptable techniques employing multiple energy modalities based on tissue parameters |
| US10765470B2 (en) | 2015-06-30 | 2020-09-08 | Ethicon Llc | Surgical system with user adaptable techniques employing simultaneous energy modalities based on tissue parameters |
| US10357303B2 (en) | 2015-06-30 | 2019-07-23 | Ethicon Llc | Translatable outer tube for sealing using shielded lap chole dissector |
| US10154852B2 (en) | 2015-07-01 | 2018-12-18 | Ethicon Llc | Ultrasonic surgical blade with improved cutting and coagulation features |
| US9713284B2 (en) * | 2015-07-15 | 2017-07-18 | Hong Kong Applied Science And Technology Research Institute Co. Ltd. | Locally enhanced direct liquid cooling system for high power applications |
| USD742887S1 (en) | 2015-07-22 | 2015-11-10 | Symbolic Io Corporation | Tray |
| US11058475B2 (en) | 2015-09-30 | 2021-07-13 | Cilag Gmbh International | Method and apparatus for selecting operations of a surgical instrument based on user intention |
| US10959771B2 (en) | 2015-10-16 | 2021-03-30 | Ethicon Llc | Suction and irrigation sealing grasper |
| US10595930B2 (en) | 2015-10-16 | 2020-03-24 | Ethicon Llc | Electrode wiping surgical device |
| JP6594177B2 (ja) * | 2015-11-24 | 2019-10-23 | 平田機工株式会社 | ハンド部材およびハンド |
| US9788460B2 (en) * | 2015-12-02 | 2017-10-10 | International Business Machines Corporation | Heatsink providing equivalent cooling for multiple in-line modules |
| US10959806B2 (en) | 2015-12-30 | 2021-03-30 | Ethicon Llc | Energized medical device with reusable handle |
| US10179022B2 (en) | 2015-12-30 | 2019-01-15 | Ethicon Llc | Jaw position impedance limiter for electrosurgical instrument |
| US10575892B2 (en) | 2015-12-31 | 2020-03-03 | Ethicon Llc | Adapter for electrical surgical instruments |
| US11129670B2 (en) | 2016-01-15 | 2021-09-28 | Cilag Gmbh International | Modular battery powered handheld surgical instrument with selective application of energy based on button displacement, intensity, or local tissue characterization |
| US10716615B2 (en) | 2016-01-15 | 2020-07-21 | Ethicon Llc | Modular battery powered handheld surgical instrument with curved end effectors having asymmetric engagement between jaw and blade |
| US10709469B2 (en) | 2016-01-15 | 2020-07-14 | Ethicon Llc | Modular battery powered handheld surgical instrument with energy conservation techniques |
| US12193698B2 (en) | 2016-01-15 | 2025-01-14 | Cilag Gmbh International | Method for self-diagnosing operation of a control switch in a surgical instrument system |
| US11229471B2 (en) | 2016-01-15 | 2022-01-25 | Cilag Gmbh International | Modular battery powered handheld surgical instrument with selective application of energy based on tissue characterization |
| US10555769B2 (en) | 2016-02-22 | 2020-02-11 | Ethicon Llc | Flexible circuits for electrosurgical instrument |
| US10987156B2 (en) | 2016-04-29 | 2021-04-27 | Ethicon Llc | Electrosurgical instrument with electrically conductive gap setting member and electrically insulative tissue engaging members |
| US10646269B2 (en) | 2016-04-29 | 2020-05-12 | Ethicon Llc | Non-linear jaw gap for electrosurgical instruments |
| US10856934B2 (en) | 2016-04-29 | 2020-12-08 | Ethicon Llc | Electrosurgical instrument with electrically conductive gap setting and tissue engaging members |
| US10485607B2 (en) | 2016-04-29 | 2019-11-26 | Ethicon Llc | Jaw structure with distal closure for electrosurgical instruments |
| US10702329B2 (en) | 2016-04-29 | 2020-07-07 | Ethicon Llc | Jaw structure with distal post for electrosurgical instruments |
| US10456193B2 (en) | 2016-05-03 | 2019-10-29 | Ethicon Llc | Medical device with a bilateral jaw configuration for nerve stimulation |
| US10245064B2 (en) | 2016-07-12 | 2019-04-02 | Ethicon Llc | Ultrasonic surgical instrument with piezoelectric central lumen transducer |
| US10893883B2 (en) | 2016-07-13 | 2021-01-19 | Ethicon Llc | Ultrasonic assembly for use with ultrasonic surgical instruments |
| US10842522B2 (en) | 2016-07-15 | 2020-11-24 | Ethicon Llc | Ultrasonic surgical instruments having offset blades |
| US10376305B2 (en) | 2016-08-05 | 2019-08-13 | Ethicon Llc | Methods and systems for advanced harmonic energy |
| US10285723B2 (en) | 2016-08-09 | 2019-05-14 | Ethicon Llc | Ultrasonic surgical blade with improved heel portion |
| USD847990S1 (en) | 2016-08-16 | 2019-05-07 | Ethicon Llc | Surgical instrument |
| US11350959B2 (en) | 2016-08-25 | 2022-06-07 | Cilag Gmbh International | Ultrasonic transducer techniques for ultrasonic surgical instrument |
| US10952759B2 (en) | 2016-08-25 | 2021-03-23 | Ethicon Llc | Tissue loading of a surgical instrument |
| US10751117B2 (en) | 2016-09-23 | 2020-08-25 | Ethicon Llc | Electrosurgical instrument with fluid diverter |
| US10603064B2 (en) | 2016-11-28 | 2020-03-31 | Ethicon Llc | Ultrasonic transducer |
| US11266430B2 (en) | 2016-11-29 | 2022-03-08 | Cilag Gmbh International | End effector control and calibration |
| US11033325B2 (en) | 2017-02-16 | 2021-06-15 | Cilag Gmbh International | Electrosurgical instrument with telescoping suction port and debris cleaner |
| US10799284B2 (en) | 2017-03-15 | 2020-10-13 | Ethicon Llc | Electrosurgical instrument with textured jaws |
| US11497546B2 (en) | 2017-03-31 | 2022-11-15 | Cilag Gmbh International | Area ratios of patterned coatings on RF electrodes to reduce sticking |
| KR101920776B1 (ko) * | 2017-06-08 | 2018-11-21 | 엘지이노텍 주식회사 | 열변환장치 |
| US10603117B2 (en) | 2017-06-28 | 2020-03-31 | Ethicon Llc | Articulation state detection mechanisms |
| US10820920B2 (en) | 2017-07-05 | 2020-11-03 | Ethicon Llc | Reusable ultrasonic medical devices and methods of their use |
| US11484358B2 (en) | 2017-09-29 | 2022-11-01 | Cilag Gmbh International | Flexible electrosurgical instrument |
| US11033323B2 (en) | 2017-09-29 | 2021-06-15 | Cilag Gmbh International | Systems and methods for managing fluid and suction in electrosurgical systems |
| US11490951B2 (en) | 2017-09-29 | 2022-11-08 | Cilag Gmbh International | Saline contact with electrodes |
| US10620439B1 (en) * | 2017-10-17 | 2020-04-14 | Facebook Technologies, Llc | Processor thermal management for liquid crystal temperature regulation |
| US10572186B2 (en) | 2017-12-18 | 2020-02-25 | Formulus Black Corporation | Random access memory (RAM)-based computer systems, devices, and methods |
| CN108235660B (zh) * | 2018-01-08 | 2024-01-26 | 四川大学 | 可弹出式散热装置及电子计算设备 |
| RU2691651C1 (ru) * | 2018-09-27 | 2019-06-17 | Общество с ограниченной ответственностью "ТРИАЛИНК ГРУП" | Блок акустического оповещения со свернутым рупором |
| US10951015B2 (en) * | 2018-12-14 | 2021-03-16 | Robroy Industries—Texas, LLC | Electrical conduit system having improved sealing between joints |
| WO2020142431A1 (en) | 2019-01-02 | 2020-07-09 | Formulus Black Corporation | Systems and methods for memory failure prevention, management, and mitigation |
| US10905028B2 (en) * | 2019-05-07 | 2021-01-26 | International Business Machines Corporation | Structure for eliminating the impact of cold plate fouling |
| EP3980863A1 (de) * | 2019-06-10 | 2022-04-13 | Telefonaktiebolaget Lm Ericsson (Publ) | Kühleinheit zur kühlung einer wärmeerzeugenden komponente und verfahren dafür |
| US11612445B2 (en) | 2019-06-27 | 2023-03-28 | Cilag Gmbh International | Cooperative operation of robotic arms |
| US11413102B2 (en) | 2019-06-27 | 2022-08-16 | Cilag Gmbh International | Multi-access port for surgical robotic systems |
| US11607278B2 (en) | 2019-06-27 | 2023-03-21 | Cilag Gmbh International | Cooperative robotic surgical systems |
| US11547468B2 (en) | 2019-06-27 | 2023-01-10 | Cilag Gmbh International | Robotic surgical system with safety and cooperative sensing control |
| US11723729B2 (en) | 2019-06-27 | 2023-08-15 | Cilag Gmbh International | Robotic surgical assembly coupling safety mechanisms |
| US11376082B2 (en) | 2019-06-27 | 2022-07-05 | Cilag Gmbh International | Robotic surgical system with local sensing of functional parameters based on measurements of multiple physical inputs |
| JP7321084B2 (ja) * | 2019-12-26 | 2023-08-04 | 株式会社豊田自動織機 | 冷却構造体および電気機器 |
| US12349961B2 (en) | 2019-12-30 | 2025-07-08 | Cilag Gmbh International | Electrosurgical instrument with electrodes operable in bipolar and monopolar modes |
| US12343063B2 (en) | 2019-12-30 | 2025-07-01 | Cilag Gmbh International | Multi-layer clamp arm pad for enhanced versatility and performance of a surgical device |
| US12082808B2 (en) | 2019-12-30 | 2024-09-10 | Cilag Gmbh International | Surgical instrument comprising a control system responsive to software configurations |
| US11937863B2 (en) | 2019-12-30 | 2024-03-26 | Cilag Gmbh International | Deflectable electrode with variable compression bias along the length of the deflectable electrode |
| US11660089B2 (en) | 2019-12-30 | 2023-05-30 | Cilag Gmbh International | Surgical instrument comprising a sensing system |
| US12053224B2 (en) | 2019-12-30 | 2024-08-06 | Cilag Gmbh International | Variation in electrode parameters and deflectable electrode to modify energy density and tissue interaction |
| US12114912B2 (en) | 2019-12-30 | 2024-10-15 | Cilag Gmbh International | Non-biased deflectable electrode to minimize contact between ultrasonic blade and electrode |
| US11779329B2 (en) | 2019-12-30 | 2023-10-10 | Cilag Gmbh International | Surgical instrument comprising a flex circuit including a sensor system |
| US20210196359A1 (en) | 2019-12-30 | 2021-07-01 | Ethicon Llc | Electrosurgical instruments with electrodes having energy focusing features |
| US11986201B2 (en) | 2019-12-30 | 2024-05-21 | Cilag Gmbh International | Method for operating a surgical instrument |
| US11684412B2 (en) | 2019-12-30 | 2023-06-27 | Cilag Gmbh International | Surgical instrument with rotatable and articulatable surgical end effector |
| US11950797B2 (en) | 2019-12-30 | 2024-04-09 | Cilag Gmbh International | Deflectable electrode with higher distal bias relative to proximal bias |
| US11786294B2 (en) | 2019-12-30 | 2023-10-17 | Cilag Gmbh International | Control program for modular combination energy device |
| US11779387B2 (en) | 2019-12-30 | 2023-10-10 | Cilag Gmbh International | Clamp arm jaw to minimize tissue sticking and improve tissue control |
| US11812957B2 (en) | 2019-12-30 | 2023-11-14 | Cilag Gmbh International | Surgical instrument comprising a signal interference resolution system |
| US11944366B2 (en) | 2019-12-30 | 2024-04-02 | Cilag Gmbh International | Asymmetric segmented ultrasonic support pad for cooperative engagement with a movable RF electrode |
| US12262937B2 (en) | 2019-12-30 | 2025-04-01 | Cilag Gmbh International | User interface for surgical instrument with combination energy modality end-effector |
| US20210196357A1 (en) | 2019-12-30 | 2021-07-01 | Ethicon Llc | Electrosurgical instrument with asynchronous energizing electrodes |
| US11696776B2 (en) | 2019-12-30 | 2023-07-11 | Cilag Gmbh International | Articulatable surgical instrument |
| US12336747B2 (en) | 2019-12-30 | 2025-06-24 | Cilag Gmbh International | Method of operating a combination ultrasonic / bipolar RF surgical device with a combination energy modality end-effector |
| US11786291B2 (en) | 2019-12-30 | 2023-10-17 | Cilag Gmbh International | Deflectable support of RF energy electrode with respect to opposing ultrasonic blade |
| US12076006B2 (en) | 2019-12-30 | 2024-09-03 | Cilag Gmbh International | Surgical instrument comprising an orientation detection system |
| US12023086B2 (en) | 2019-12-30 | 2024-07-02 | Cilag Gmbh International | Electrosurgical instrument for delivering blended energy modalities to tissue |
| US11911063B2 (en) | 2019-12-30 | 2024-02-27 | Cilag Gmbh International | Techniques for detecting ultrasonic blade to electrode contact and reducing power to ultrasonic blade |
| US12064109B2 (en) | 2019-12-30 | 2024-08-20 | Cilag Gmbh International | Surgical instrument comprising a feedback control circuit |
| US11452525B2 (en) | 2019-12-30 | 2022-09-27 | Cilag Gmbh International | Surgical instrument comprising an adjustment system |
| US12471982B2 (en) | 2020-12-02 | 2025-11-18 | Cilag Gmbh International | Method for tissue treatment by surgical instrument |
| US11974829B2 (en) | 2021-06-30 | 2024-05-07 | Cilag Gmbh International | Link-driven articulation device for a surgical device |
| US12358136B2 (en) | 2021-06-30 | 2025-07-15 | Cilag Gmbh International | Grasping work determination and indications thereof |
| US11931026B2 (en) | 2021-06-30 | 2024-03-19 | Cilag Gmbh International | Staple cartridge replacement |
| CN113903624B (zh) * | 2021-09-14 | 2024-11-15 | 北京市科通电子继电器总厂有限公司 | 一种多路继电器开关模块 |
| US11957342B2 (en) | 2021-11-01 | 2024-04-16 | Cilag Gmbh International | Devices, systems, and methods for detecting tissue and foreign objects during a surgical operation |
| TWI829186B (zh) * | 2022-06-08 | 2024-01-11 | 英業達股份有限公司 | 液冷裝置 |
| EP4293234A1 (de) * | 2022-06-17 | 2023-12-20 | FRONIUS INTERNATIONAL GmbH | Lüfter, kühlvorrichtung mit einem solchen lüfter und gehäuse mit einer solchen kühlvorrichtung |
| US20250085920A1 (en) * | 2023-09-07 | 2025-03-13 | Juke Audio Inc. | Control and user interface features of multi-zone audio amplifiers |
Family Cites Families (37)
| Publication number | Priority date | Publication date | Assignee | Title |
|---|---|---|---|---|
| JPS55162954A (en) * | 1979-06-08 | 1980-12-18 | Mitsui Seito Kk | Treatment of steffen's waste |
| US4250036A (en) * | 1979-08-09 | 1981-02-10 | Amsted Industries Incorporated | Conveying means for use in filtering devices |
| US4291364A (en) * | 1979-12-26 | 1981-09-22 | International Business Machines Corporation | Air-cooled hybrid electronic package |
| JP2548124B2 (ja) * | 1985-08-29 | 1996-10-30 | 松下電器産業株式会社 | ヒ−トシンク装置 |
| JPH0754876B2 (ja) * | 1985-09-04 | 1995-06-07 | 松下電器産業株式会社 | ヒ−トシンク装置 |
| DE3617989A1 (de) * | 1986-05-28 | 1987-12-03 | Mulfingen Elektrobau Ebm | Asymmetrischer elektromotor |
| US4745456A (en) * | 1986-09-11 | 1988-05-17 | Thermalloy Incorporated | Heat sink clip assembly |
| JPS63306696A (ja) * | 1987-06-08 | 1988-12-14 | Fujitsu Ltd | 龍巻気流空冷方式 |
| JPS6418747A (en) * | 1987-07-14 | 1989-01-23 | Daihatsu Motor Co Ltd | Seat belt device |
| FR2618886B1 (fr) * | 1987-07-28 | 1989-11-03 | Leguillerm Jean | Refrigerateur a effet peltier |
| JPH01167094A (ja) * | 1987-12-24 | 1989-06-30 | Nkk Corp | スラリー循環撹拌装置 |
| US5019880A (en) * | 1988-01-07 | 1991-05-28 | Prime Computer, Inc. | Heat sink apparatus |
| US5132780A (en) * | 1988-01-07 | 1992-07-21 | Prime Computer, Inc. | Heat sink apparatus with an air deflection member |
| DE68920513T2 (de) * | 1988-08-31 | 1995-05-04 | Hitachi Ltd | Wechselrichtervorrichtung. |
| SU1707798A1 (ru) * | 1989-01-19 | 1992-01-23 | Производственное Объединение "Квант" | Шкаф радиоэлектронной аппаратуры |
| US5191230A (en) * | 1989-01-30 | 1993-03-02 | Heung Lap Yan | Circuit module fan assembly |
| US5170336A (en) * | 1990-03-05 | 1992-12-08 | Dimensions Unlimited, Inc. | DC to AC inverter with improved forced air cooling method and apparatus |
| US5121290A (en) * | 1990-06-25 | 1992-06-09 | At&T Bell Laboratories | Circuit pack cooling using perforations |
| US5099550A (en) * | 1990-11-05 | 1992-03-31 | Mi Proprietary | Clamp for attachment of a heat sink |
| US5229914A (en) * | 1992-05-21 | 1993-07-20 | Digital Equipment Corporation | Cooling device that creates longitudinal vortices |
| JP3069819B2 (ja) * | 1992-05-28 | 2000-07-24 | 富士通株式会社 | ヒートシンク並びに該ヒートシンクに用いるヒートシンク取付具及びヒートシンクを用いた可搬型電子装置 |
| US5309983B1 (en) * | 1992-06-23 | 1997-02-04 | Pcubid Computer Tech | Low profile integrated heat sink and fan assembly |
| US5288203A (en) * | 1992-10-23 | 1994-02-22 | Thomas Daniel L | Low profile fan body with heat transfer characteristics |
| US5299632A (en) * | 1993-02-19 | 1994-04-05 | Lee Lien Jung | Fin device for an integrated circuit |
| DE9302754U1 (de) * | 1993-02-25 | 1993-04-15 | Hwang Piin Co. Ltd., Lu Jou Hsiang, Taipeh | Kühlrippenanordnung für eine integrierte Schaltung |
| JP2901867B2 (ja) * | 1993-03-19 | 1999-06-07 | 富士通株式会社 | ヒートシンク及びヒートシンクの取付構造 |
| US5377745A (en) * | 1993-11-30 | 1995-01-03 | Hsieh; Hsin M. | Cooling device for central processing unit |
| US5437327A (en) * | 1994-04-18 | 1995-08-01 | Chiou; Ming Der | CPU heat dissipating fan device |
| US5409352A (en) * | 1994-04-18 | 1995-04-25 | Lin; Mike | CPU heat dissipating device |
| US5526875A (en) * | 1994-10-14 | 1996-06-18 | Lin; Shih-Jen | Cooling device for CPU |
| US5421402A (en) * | 1994-11-22 | 1995-06-06 | Lin; Chuen-Sheng | Heat sink apparatus |
| US5475564A (en) * | 1994-12-20 | 1995-12-12 | Chiou; Ming D. | CPU heat sink holding-down device |
| GB2298520B (en) * | 1995-03-03 | 1999-09-08 | Hong Chen Fu In | Heat sink device for integrated circuit |
| US5810554A (en) * | 1995-05-31 | 1998-09-22 | Sanyo Denki Co., Ltd. | Electronic component cooling apparatus |
| JP2911819B2 (ja) * | 1996-05-16 | 1999-06-23 | 株式会社ホクコン | コンクリートブロックを連結してなる箱状構造物の構築工法及びそれに用いるコンクリート製箱形ブロック |
| US5727624A (en) * | 1997-03-18 | 1998-03-17 | Liken Lin | CPU heat dissipating device with airguiding units |
| US5867365A (en) * | 1997-06-10 | 1999-02-02 | Chiou; Ming Chin | CPU heat sink assembly |
-
1993
- 1993-02-26 JP JP5038934A patent/JP3069819B2/ja not_active Expired - Lifetime
- 1993-05-27 KR KR1019930009318A patent/KR0168462B1/ko not_active Expired - Lifetime
- 1993-05-28 DE DE69332840T patent/DE69332840T9/de active Active
- 1993-05-28 EP EP99201507A patent/EP0939443B1/de not_active Expired - Lifetime
- 1993-05-28 DE DE69330481T patent/DE69330481T2/de not_active Expired - Lifetime
- 1993-05-28 EP EP99201506A patent/EP0939442B1/de not_active Expired - Lifetime
- 1993-05-28 DE DE69332842T patent/DE69332842T2/de not_active Expired - Lifetime
- 1993-05-28 EP EP93401376A patent/EP0572326B1/de not_active Expired - Lifetime
-
1995
- 1995-05-03 US US08/433,131 patent/US5504650A/en not_active Expired - Lifetime
- 1995-06-07 US US08/478,667 patent/US5650912A/en not_active Expired - Lifetime
-
1996
- 1996-09-13 US US08/710,279 patent/US5940267A/en not_active Expired - Lifetime
-
1999
- 1999-02-09 US US09/246,956 patent/US6067227A/en not_active Expired - Lifetime
Also Published As
| Publication number | Publication date |
|---|---|
| DE69330481T2 (de) | 2002-03-28 |
| KR0168462B1 (ko) | 1999-04-15 |
| US6067227A (en) | 2000-05-23 |
| JP3069819B2 (ja) | 2000-07-24 |
| DE69330481D1 (de) | 2001-08-30 |
| DE69332840T2 (de) | 2003-11-06 |
| DE69332842D1 (de) | 2003-05-08 |
| EP0939442B1 (de) | 2003-04-02 |
| EP0939443A3 (de) | 1999-10-20 |
| KR940006439A (ko) | 1994-03-23 |
| EP0939443B1 (de) | 2003-04-02 |
| EP0572326A3 (en) | 1995-09-06 |
| EP0572326A2 (de) | 1993-12-01 |
| US5650912A (en) | 1997-07-22 |
| US5940267A (en) | 1999-08-17 |
| EP0939443A2 (de) | 1999-09-01 |
| DE69332840D1 (de) | 2003-05-08 |
| EP0939442A2 (de) | 1999-09-01 |
| EP0939442A3 (de) | 1999-10-20 |
| DE69332840T9 (de) | 2004-09-09 |
| US5504650A (en) | 1996-04-02 |
| JPH06268125A (ja) | 1994-09-22 |
| DE69332842T2 (de) | 2004-01-22 |
Similar Documents
| Publication | Publication Date | Title |
|---|---|---|
| EP0572326B1 (de) | Wärmesenke zur Kühlung eines Wärme produzierenden Bauteils und Anwendung | |
| KR100190426B1 (ko) | 히트싱크 및 그 장착구조 | |
| KR100215300B1 (ko) | 히트싱크 | |
| KR100322468B1 (ko) | 컴퓨터의팬고정장치와컴퓨터의팬고정장치를사용하는휴대용컴퓨터 | |
| US5421402A (en) | Heat sink apparatus | |
| US8157540B2 (en) | Fan assembly | |
| US20080048535A1 (en) | Controller for a direct current brushless motor | |
| CN110635632B (zh) | 马达装置及散热装置 | |
| US6118658A (en) | Heat sink fan for cooling an electronic apparatus | |
| CN211210349U (zh) | 一种显示器驱动主板的通风散热结构 | |
| JP2543977B2 (ja) | 自動車用送風機のファンモ―タ | |
| KR20050080099A (ko) | 방열효율을 극대화시킨 전력용 반도체소자의 방열판설치구조 및 그 설치방법 | |
| JPH11153099A (ja) | 冷却装置 | |
| JP3120802B2 (ja) | ヒートシンク | |
| JP3149847B2 (ja) | ヒートシンク | |
| JP3249777B2 (ja) | ヒートシンク | |
| KR100912524B1 (ko) | 브러시리스 모터 조립체 | |
| CN212322984U (zh) | 一种水冷散热器 | |
| KR200235567Y1 (ko) | 브러쉬레스 모터용 드라이버 냉각구조 | |
| CN222424209U (zh) | 磁悬浮电机用控制器及磁悬浮设备 | |
| KR100217553B1 (ko) | 히트싱크 | |
| JP2006066866A (ja) | ファンフレーム | |
| KR20230123629A (ko) | 제어 기판의 냉각 구조가 개선된 블로워 모터 장치 |
Legal Events
| Date | Code | Title | Description |
|---|---|---|---|
| PUAI | Public reference made under article 153(3) epc to a published international application that has entered the european phase |
Free format text: ORIGINAL CODE: 0009012 |
|
| AK | Designated contracting states |
Kind code of ref document: A2 Designated state(s): DE FR GB |
|
| PUAL | Search report despatched |
Free format text: ORIGINAL CODE: 0009013 |
|
| AK | Designated contracting states |
Kind code of ref document: A3 Designated state(s): DE FR GB |
|
| 17P | Request for examination filed |
Effective date: 19960305 |
|
| GRAG | Despatch of communication of intention to grant |
Free format text: ORIGINAL CODE: EPIDOS AGRA |
|
| 17Q | First examination report despatched |
Effective date: 19981111 |
|
| GRAG | Despatch of communication of intention to grant |
Free format text: ORIGINAL CODE: EPIDOS AGRA |
|
| GRAG | Despatch of communication of intention to grant |
Free format text: ORIGINAL CODE: EPIDOS AGRA |
|
| GRAG | Despatch of communication of intention to grant |
Free format text: ORIGINAL CODE: EPIDOS AGRA |
|
| GRAG | Despatch of communication of intention to grant |
Free format text: ORIGINAL CODE: EPIDOS AGRA |
|
| GRAH | Despatch of communication of intention to grant a patent |
Free format text: ORIGINAL CODE: EPIDOS IGRA |
|
| GRAH | Despatch of communication of intention to grant a patent |
Free format text: ORIGINAL CODE: EPIDOS IGRA |
|
| GRAA | (expected) grant |
Free format text: ORIGINAL CODE: 0009210 |
|
| AK | Designated contracting states |
Kind code of ref document: B1 Designated state(s): DE FR GB |
|
| REF | Corresponds to: |
Ref document number: 69330481 Country of ref document: DE Date of ref document: 20010830 |
|
| ET | Fr: translation filed | ||
| REG | Reference to a national code |
Ref country code: GB Ref legal event code: IF02 |
|
| RIN2 | Information on inventor provided after grant (corrected) |
Free format text: KATSUI, TADASHI, C/O FUJITSU LIMITED * NAKATA, KATSUHIKO, C/O FUJITSU LIMITED * KOGA, TAKESHI, C/O FUJITSU LIMITED * MATSUMURA, TADANOBU, C/O FUJITSU LIMITED * TANAKA, YOSHIMI, C/O FUJITSU LIMITED * SUGIMOTO, YASUAKI, C/O FUJITSU LIMITED * HORINISHI, TAKAYUKI, C/O FUJITSU LIMITED * KITAHARA, TAKASHI |
|
| PLBE | No opposition filed within time limit |
Free format text: ORIGINAL CODE: 0009261 |
|
| STAA | Information on the status of an ep patent application or granted ep patent |
Free format text: STATUS: NO OPPOSITION FILED WITHIN TIME LIMIT |
|
| 26N | No opposition filed | ||
| PGFP | Annual fee paid to national office [announced via postgrant information from national office to epo] |
Ref country code: DE Payment date: 20120523 Year of fee payment: 20 |
|
| PGFP | Annual fee paid to national office [announced via postgrant information from national office to epo] |
Ref country code: GB Payment date: 20120523 Year of fee payment: 20 Ref country code: FR Payment date: 20120608 Year of fee payment: 20 |
|
| REG | Reference to a national code |
Ref country code: DE Ref legal event code: R071 Ref document number: 69330481 Country of ref document: DE |
|
| REG | Reference to a national code |
Ref country code: DE Ref legal event code: R071 Ref document number: 69330481 Country of ref document: DE |
|
| REG | Reference to a national code |
Ref country code: GB Ref legal event code: PE20 Expiry date: 20130527 |
|
| PG25 | Lapsed in a contracting state [announced via postgrant information from national office to epo] |
Ref country code: GB Free format text: LAPSE BECAUSE OF EXPIRATION OF PROTECTION Effective date: 20130527 Ref country code: DE Free format text: LAPSE BECAUSE OF EXPIRATION OF PROTECTION Effective date: 20130529 |