EP0308904A2 - Mehrschichtige als Druckstock verwendbare Ausweiskarte und Verfahren zu deren Herstellung - Google Patents

Mehrschichtige als Druckstock verwendbare Ausweiskarte und Verfahren zu deren Herstellung Download PDF

Info

Publication number
EP0308904A2
EP0308904A2 EP88115505A EP88115505A EP0308904A2 EP 0308904 A2 EP0308904 A2 EP 0308904A2 EP 88115505 A EP88115505 A EP 88115505A EP 88115505 A EP88115505 A EP 88115505A EP 0308904 A2 EP0308904 A2 EP 0308904A2
Authority
EP
European Patent Office
Prior art keywords
card
characters
plateaus
plateau
laser
Prior art date
Legal status (The legal status is an assumption and is not a legal conclusion. Google has not performed a legal analysis and makes no representation as to the accuracy of the status listed.)
Granted
Application number
EP88115505A
Other languages
English (en)
French (fr)
Other versions
EP0308904A3 (en
EP0308904B1 (de
Inventor
Joseph Dr. Lass
Hansjürgen Merckle
Alexander Hierweger
Erwin Lob
Current Assignee (The listed assignees may be inaccurate. Google has not performed a legal analysis and makes no representation or warranty as to the accuracy of the list.)
GAO Gesellschaft fuer Automation und Organisation mbH
Original Assignee
GAO Gesellschaft fuer Automation und Organisation mbH
Priority date (The priority date is an assumption and is not a legal conclusion. Google has not performed a legal analysis and makes no representation as to the accuracy of the date listed.)
Filing date
Publication date
Application filed by GAO Gesellschaft fuer Automation und Organisation mbH filed Critical GAO Gesellschaft fuer Automation und Organisation mbH
Priority to AT88115505T priority Critical patent/ATE77068T1/de
Publication of EP0308904A2 publication Critical patent/EP0308904A2/de
Publication of EP0308904A3 publication Critical patent/EP0308904A3/de
Application granted granted Critical
Publication of EP0308904B1 publication Critical patent/EP0308904B1/de
Anticipated expiration legal-status Critical
Expired - Lifetime legal-status Critical Current

Links

Images

Classifications

    • BPERFORMING OPERATIONS; TRANSPORTING
    • B42BOOKBINDING; ALBUMS; FILES; SPECIAL PRINTED MATTER
    • B42DBOOKS; BOOK COVERS; LOOSE LEAVES; PRINTED MATTER CHARACTERISED BY IDENTIFICATION OR SECURITY FEATURES; PRINTED MATTER OF SPECIAL FORMAT OR STYLE NOT OTHERWISE PROVIDED FOR; DEVICES FOR USE THEREWITH AND NOT OTHERWISE PROVIDED FOR; MOVABLE-STRIP WRITING OR READING APPARATUS
    • B42D25/00Information-bearing cards or sheet-like structures characterised by identification or security features; Manufacture thereof
    • B42D25/40Manufacture
    • B42D25/405Marking
    • B42D25/41Marking using electromagnetic radiation
    • BPERFORMING OPERATIONS; TRANSPORTING
    • B42BOOKBINDING; ALBUMS; FILES; SPECIAL PRINTED MATTER
    • B42DBOOKS; BOOK COVERS; LOOSE LEAVES; PRINTED MATTER CHARACTERISED BY IDENTIFICATION OR SECURITY FEATURES; PRINTED MATTER OF SPECIAL FORMAT OR STYLE NOT OTHERWISE PROVIDED FOR; DEVICES FOR USE THEREWITH AND NOT OTHERWISE PROVIDED FOR; MOVABLE-STRIP WRITING OR READING APPARATUS
    • B42D25/00Information-bearing cards or sheet-like structures characterised by identification or security features; Manufacture thereof
    • B42D25/40Manufacture
    • B42D25/405Marking
    • B42D25/425Marking by deformation, e.g. embossing
    • BPERFORMING OPERATIONS; TRANSPORTING
    • B42BOOKBINDING; ALBUMS; FILES; SPECIAL PRINTED MATTER
    • B42DBOOKS; BOOK COVERS; LOOSE LEAVES; PRINTED MATTER CHARACTERISED BY IDENTIFICATION OR SECURITY FEATURES; PRINTED MATTER OF SPECIAL FORMAT OR STYLE NOT OTHERWISE PROVIDED FOR; DEVICES FOR USE THEREWITH AND NOT OTHERWISE PROVIDED FOR; MOVABLE-STRIP WRITING OR READING APPARATUS
    • B42D25/00Information-bearing cards or sheet-like structures characterised by identification or security features; Manufacture thereof
    • BPERFORMING OPERATIONS; TRANSPORTING
    • B42BOOKBINDING; ALBUMS; FILES; SPECIAL PRINTED MATTER
    • B42DBOOKS; BOOK COVERS; LOOSE LEAVES; PRINTED MATTER CHARACTERISED BY IDENTIFICATION OR SECURITY FEATURES; PRINTED MATTER OF SPECIAL FORMAT OR STYLE NOT OTHERWISE PROVIDED FOR; DEVICES FOR USE THEREWITH AND NOT OTHERWISE PROVIDED FOR; MOVABLE-STRIP WRITING OR READING APPARATUS
    • B42D25/00Information-bearing cards or sheet-like structures characterised by identification or security features; Manufacture thereof
    • B42D25/20Information-bearing cards or sheet-like structures characterised by identification or security features; Manufacture thereof characterised by a particular use or purpose
    • B42D25/23Identity cards
    • BPERFORMING OPERATIONS; TRANSPORTING
    • B42BOOKBINDING; ALBUMS; FILES; SPECIAL PRINTED MATTER
    • B42DBOOKS; BOOK COVERS; LOOSE LEAVES; PRINTED MATTER CHARACTERISED BY IDENTIFICATION OR SECURITY FEATURES; PRINTED MATTER OF SPECIAL FORMAT OR STYLE NOT OTHERWISE PROVIDED FOR; DEVICES FOR USE THEREWITH AND NOT OTHERWISE PROVIDED FOR; MOVABLE-STRIP WRITING OR READING APPARATUS
    • B42D25/00Information-bearing cards or sheet-like structures characterised by identification or security features; Manufacture thereof
    • B42D25/40Manufacture
    • B42D25/405Marking
    • B42D25/43Marking by removal of material
    • B42D25/435Marking by removal of material using electromagnetic radiation, e.g. laser
    • BPERFORMING OPERATIONS; TRANSPORTING
    • B41PRINTING; LINING MACHINES; TYPEWRITERS; STAMPS
    • B41MPRINTING, DUPLICATING, MARKING, OR COPYING PROCESSES; COLOUR PRINTING
    • B41M5/00Duplicating or marking methods; Sheet materials for use therein
    • B41M5/26Thermography ; Marking by high energetic means, e.g. laser otherwise than by burning, and characterised by the material used
    • B41M5/267Marking of plastic artifacts, e.g. with laser
    • B42D2033/08
    • B42D2035/50
    • BPERFORMING OPERATIONS; TRANSPORTING
    • B42BOOKBINDING; ALBUMS; FILES; SPECIAL PRINTED MATTER
    • B42DBOOKS; BOOK COVERS; LOOSE LEAVES; PRINTED MATTER CHARACTERISED BY IDENTIFICATION OR SECURITY FEATURES; PRINTED MATTER OF SPECIAL FORMAT OR STYLE NOT OTHERWISE PROVIDED FOR; DEVICES FOR USE THEREWITH AND NOT OTHERWISE PROVIDED FOR; MOVABLE-STRIP WRITING OR READING APPARATUS
    • B42D25/00Information-bearing cards or sheet-like structures characterised by identification or security features; Manufacture thereof
    • B42D25/30Identification or security features, e.g. for preventing forgery
    • B42D25/324Reliefs
    • YGENERAL TAGGING OF NEW TECHNOLOGICAL DEVELOPMENTS; GENERAL TAGGING OF CROSS-SECTIONAL TECHNOLOGIES SPANNING OVER SEVERAL SECTIONS OF THE IPC; TECHNICAL SUBJECTS COVERED BY FORMER USPC CROSS-REFERENCE ART COLLECTIONS [XRACs] AND DIGESTS
    • Y10TECHNICAL SUBJECTS COVERED BY FORMER USPC
    • Y10STECHNICAL SUBJECTS COVERED BY FORMER USPC CROSS-REFERENCE ART COLLECTIONS [XRACs] AND DIGESTS
    • Y10S283/00Printed matter
    • Y10S283/904Credit card

Definitions

  • the invention relates to a multilayer identification card with at least one card surface made of plastic, which in some areas has characters or symbols in a relief structure that can be used as a printing block, and to a method for producing such identification cards.
  • ID cards in the form of credit cards, bank cards, cash payment cards, authorization cards or the like are used in a wide variety of areas, such as. B. include cashless payments, access control systems and a wide variety of service systems. These ID cards generally have data related to the cardholder, which are applied in the so-called personalization process. A common form of the possible representation of these characters is the embossing, in which the user-related data are embossed in relief from the back of the ID card to the front of the card. To make the individual characters more visible, they are additionally colored in their apex areas.
  • this form of personalization is used more widely, particularly in the case of credit cards, since the character set which can be used as a printing block allows the data to be transferred easily from the card to the current payment slip. So-called imprinters are used, in which the card and the payment slip are inserted.
  • the user data is transferred to the payment document via a mechanical embossing process using carbon or carbon paper (DE-PS 20 18 927).
  • An internationally defined standard determines, among other things, the location of the embossed data on the ID card, its shape and its relief height (ISO standards 7811/1 and 7811/3).
  • the embossed data appear only on a card surface.
  • the personalization data are embossed in metal plates and transferred to the card surface when the ID card is laminated.
  • the card material softens and flows into the depressions in the metal plate without leaving a negative relief on the back. This creates an embossing in which the characters can no longer be embossed.
  • this method is much more complex than the usual embossing method, since a metal plate with the correspondingly engraved personalization data must be produced for each card and this personalization process is a process step that cannot be separated from the card production.
  • DE-OS 32 13 315 Only through DE-OS 32 13 315 was an identification card and a method for producing the same presented, with which identification cards can not only be provided in a simple form with characters that can be used as a printing block, but in which these characters are also available in a particularly forgery-proof form .
  • a laser beam is preferably used for this purpose, which generates the heat necessary for triggering the foaming process or activating the blowing agents in this foamable plastic material.
  • this foaming process can be carried out in a targeted manner in order to produce the characters in accordance with the standards with regard to their dimensions and their relief height.
  • this foaming can be associated with discoloration of the plastic material, so that the previously necessary coloring process is unnecessary. Since the discoloration takes place in the plastic material itself and is also irreversible, it is forgery-proof and resistant to abrasion.
  • the invention is therefore based on the object, while maintaining the simple, but particularly forgery-proof, individual labeling option given by the laser method, to provide an identification card which can be equipped with a standard embossed character set even without the use of special foamable foils.
  • the invention is based on the idea of using the "natural foamability" of plastic materials generally used in identity cards, such as PVC and polycarbonate, which can be caused by laser action, in order to achieve a relief height sufficient for a clear imprint of the characters and the total height of the embossing characters required according to the standard to be realized above the rest of the card surface by an additional deformation of the card body in the area of the embossed character.
  • plastic material such as. B. PVC
  • this increase in volume caused by the gas bubbles is now used in a targeted manner to generate characters which are not only apparent in color but also in their relief height in relation to the surroundings.
  • plastic material such as. B. PVC
  • Appropriate optimization of the material and process parameters can therefore be used to generate characters in a relief height sufficient for an impression, the surface in the character area being influenced only imperceptibly and, in particular, still being completely self-contained is.
  • the last-mentioned characteristic is of particular importance for the quality of the later reprint of the data. Only at very high intensities does the formation of the gas bubbles lead to bursting in the cover film, as is known from the aforementioned DE-PS.
  • the effective maximum height of the sign in relation to its immediate surroundings does not necessarily have to be the 0.46 mm specified by the standard.
  • a relief height of approximately 100 ⁇ is already sufficient for a mechanical impression of relief signs.
  • This relief height is now achieved according to the invention with the abovementioned laser inscription, preferably by means of a corresponding increase in volume in the transparent cover film of the identification card, while the relief height (360 über) above the card surface required to meet the standard is generated by deforming the card to form plateaus becomes.
  • a double-layer transparent cover film is preferably used for the identification card according to the invention, a plastic material being used for the outer layer, which is somewhat less sensitive to the laser effect. This ensures that the outer film softens, but the formation of bubbles is somewhat less than in the more sensitive inner film. The outer film can then evade the inner pressure resulting from the formation of bubbles, itself also contributes to the increase in volume, but is subjected to a somewhat less thermal load in view of a good surface quality.
  • the plateaus on which these characters are formed by means of laser can certainly cover a larger area, e.g. B. the area of one or more lines of characters or they can also be composed of a plurality of smaller plateaus, each of which can only accommodate one character.
  • plateau formation e.g. B. a mechanical embossing, thermal embossing or embossing the card material while softening the material by means of a high-frequency alternating electromagnetic field.
  • the latter method has the advantage that, by appropriately designing the electrodes which simultaneously form the embossing stamp, the card only has to be thermally stressed in the areas which are actually to be deformed. As will be shown later, this fact can also be used to be able to carry out the plateau formation after the laser marking.
  • An important advantage of the present invention is that the usual materials known from card production can be used for the construction of the card, only the layer thicknesses required to achieve a sufficient relief height being observed.
  • the card manufacturing and personalization processes are also two completely independent process stages. Personalization can thus represent the last step in the production of ID cards.
  • the main advantages of this circumstance include: B. that in the card manufacturing "scrap cards" can be discarded before the personalization process or already personalized cards are no longer endangered by subsequent manufacturing steps.
  • the relief structures achieved by the natural "foamability" of the plastic material also have sufficient strength, which is necessary for the frequent later use in the above-mentioned imprinters for printing the user-related data.
  • the proposed card structure with the transparent double-layer cover film also allows other authenticity features, such as. B. the "laser tilt image” known from DE-OS 36 34 865 or the “parallax image” known from DE-OS 36 34 857 by laser.
  • a font without a relief structure can also be generated, the intensity and the scanning speed of the laser beam having to be controlled accordingly in a manner to be explained later.
  • a font with a relief structure would have a negative impact on the readability of the magnetic data, since transport rollers arranged in this area impair the smooth card transport.
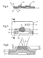
  • an identity card 1 and 2 show an identity card 1, such as. B. a credit card with the information content typical for them. This is e.g. B. the specification of the issuing credit institution 2, the z. B. be applied by printing to the card ticker. Furthermore, the card has an authenticity feature 3, such as. B. a hologram embedded or glued into the cover film.
  • the areas 4a and 4b of the card are reserved according to the international standard for the embossed characters 5, which are usually introduced in the area 4b in three or four lines (for the sake of simplicity, only one line is shown in the drawing). These characters are created after the card has been made. H. after welding the individual card layers, stamped in a corresponding embossing press. For better visual visibility, the characters are then displayed in their raised areas, i.e. in the crown areas 6, colored.
  • FIG. 2 shows the map in a sectional view with a two-layer structure shown here by way of example.
  • An opaque card core 7 carries z. B. one or both sides of a printed image 8 and in the back of a magnetic strip 9 is embedded.
  • an electrical circuit (not shown in the figure) can be embedded in a cutout in the card core.
  • the embossed characters 5 were introduced by pressing them in from the back and correspondingly deforming the card body, the card being deformed to such an extent that the apex regions 6 reach a height H of approximately 0.45 mm above the card surface.
  • the identification card is also embossed, but in this embossing it is not the characters themselves that are introduced, but rather only partial areas 21a, b, into which the embossed characters are to be introduced, raised by a uniform 1/4 0.35 mm above the card surface.
  • Areas marked 21a and 21b are hereinafter referred to as plateaus. You can e.g. B. have the size of a line or a multi-line field. These plateaus now serve to achieve the effective relief height of the embossed characters of 0.46 mm as required by the standard.
  • Fig. 4 shows the semi-finished product 20 of the identity card in the sectional view.
  • the card according to the invention has a three-layer structure. These three layers 22-24 are the opaque core layer 22 and a two-layer transparent cover layer 23, 24.
  • the core layer can, as already mentioned above, be provided on one or both sides with printed images 25, 26 and also carry other security features, such as, for. B. a security thread, watermark-like effects or other features that serve to protect against forgery of the card structure.
  • This opaque core layer 22 is covered on one side by a one-layer, but preferably two-layer transparent cover film which is matched to the laser inscription in terms of the choice of material.
  • the two-layer cover film consists of two transparent PVC layers 23, 24, which have an improved absorption compared to the laser beam to have ability. Such films are such. B. from the previously mentioned documents DE-PS 31 51 407 and DE-OS 36 34 857 known.
  • a film is selected which is more sensitive to the laser beam than the outer cover film 24.
  • This card can be completely finished, ie printed, laminated and embossed, so that the necessary data only have to be added as a last step in the context of personalization.
  • the back of the card can also be covered with a transparent cover film, equipped with a magnetic strip and / or an integrated circuit.
  • the data which can be introduced by means of a laser are introduced into the card, the embossing marks 28 being recorded in the plateau region 21 (FIGS. 5, 6).
  • the laser beam 29 is guided correspondingly over these plateaus 21a, b of the card 19 to form the characters, the recording parameters such as intensity, scanning speed, pulse frequency etc. being selected such that the greatest possible formation of bubbles 30 results with simultaneous softening of the film, without causing sharp bursts and pronounced crater formation in the surface area.
  • a so-called gray wedge can be recorded in a trial run, on the basis of which the optimal laser parameters can then be determined empirically.
  • a layer thickness of 100 to 150 150 is preferably selected for the inner cover film 23 and a thickness of 150 to 200 ⁇ for the outer cover film 24.
  • This in total Together with 250 to 350 ⁇ thick transparent cover film can be expanded to a thickness of 350 or 450 ⁇ by appropriate laser exposure. Because of the local limitation of the "foaming" area, an increase in volume of approximately 30% is reflected directly in a corresponding change in thickness.
  • This expansion (a) of approx. 100 ⁇ achieved by the laser effect together with the plateau formation (1 ⁇ 4 0.36 mm) created by the mechanical embossing results in the height H of 0.46 mm above the remaining card surface required for the standard. Attempts to use this card as a printing block in common imprinter devices showed excellent print quality.
  • the relief formation can be additionally optimized by means of an appropriate laser beam guidance.
  • the laser operated in pulse mode is guided over the card surface in such a way that the successive pulses overlap locally.
  • the effect of the laser beam on the material is thus increased with the intensity remaining the same, since the following pulse strikes partially blackened and thus more absorbent material.
  • the same card structure also allows the identification card to be labeled without simultaneously creating a relief. It is important to ensure that the intensity of the laser beam is reduced in such a way that the recording is preferably carried out without overlapping the individual laser pulses, that - as is known from DE-OS 36 34 857 - only a blackening in the more sensitive inner cover layer and essentially there are no visible bubbles.
  • This labeling method is particularly suitable for labeling the area of the card in which the magnetic stripe is located on the back, since here a surface that is smooth on both sides is necessary for scanning the magnetic stripe. Usually concerns this is the information provided by the institute 31.
  • the data is preferably recorded by scanning the card surface in accordance with a dot or line matrix, in which the laser beam is guided line by line over the card and the character is generated by correspondingly fading the laser beam on and off at the corresponding matrix points.
  • a dot or line matrix in which the laser beam is guided line by line over the card and the character is generated by correspondingly fading the laser beam on and off at the corresponding matrix points.
  • the card 19 shown in FIG. 5 also has a visually verifiable authenticity feature 27, which is also generated with a laser and whose appearance can change depending on the viewing angle.
  • authenticity features are known from the documents, DE-PS 36 34 865 and DE-OS 36 34 857, the disclosure of which reference is made here. It is precisely here that the versatility of laser marking can be seen, which allows data with both the same relief and relief and corresponding visual authenticity features to be created with the same card structure by simply changing the laser control or intensity, possibly combined with a partial embossing (plateau, lens grid) Insert card.
  • Fig. 7 shows a further embodiment, in which the plateau 21 each has only the size of a character 28 and a plurality of plateaus placed next to each other are embossed on the card. If technically justifiable, the number of individual fields can also be adapted to the respective number of characters required for the card-specific lettering.
  • the individual plateaus or the large-area plateaus shown in the aforementioned examples can be achieved in a variety of ways.
  • An embossing method is preferred in which the plastic material of the card 41 (FIG. 8) is softened by the action of a high-frequency electrical field and is deformed by appropriate embossing molds.
  • the embossing molds can be electrodes 40a, b for the alternating electrical field.
  • the processing of PVC with the help of high-frequency alternating electrical fields is e.g. B. known from the general literature.
  • This deformation technique has the advantage that the card is only thermally stressed in the areas to be effectively deformed. Furthermore, this deformation is difficult to recover, since, in contrast to the mechanical cold deformation, this is a deformation "without memory”.
  • the HF deformation also allows the plateaus to be formed even after the laser marking has been formed.
  • the embossing stamp 40a has a cutout 42 in the card area which carries the already lasered relief data 43, so that the mechanical effect of the embossing stamps is concentrated only on the edge regions of the plateau to be formed.
  • the lasered relief data therefore remain undamaged during the embossing process and this allows the embossing to be carried out even after the laser inscription.
  • This solution thus has the further advantage that in the case of laser marking, in which the cards are automatically separated, transported and stacked, it is possible to work with flat cards.
  • the embossing dies used in the above-mentioned deformation techniques can additionally have a relief in their surface, whereby an embossing pattern (32, FIG. 5) is embossed into the card surface at the same time as the plateau is formed.
  • This embossing pattern can e.g. B. represent a micro relief, texturing, a sequence of characters, logos or similar symbols.
  • the map thus contains a further feature that makes replication or change considerably more difficult, especially if a self-contained pattern runs over the entire plateau area and is only interrupted by the lasered relief symbols.
  • the multilayer card body 50 is provided with an additional film piece 51 in order to form the plateaus in the embossed area.
  • This embedded between core and cover sheet 53 or 54 piece of film 51 can, for. B. be a film of the same transparent material as the inner cover film layer of the embodiment shown in Fig. 4 or 6. This increases the thickness of the map by about 0.3 to 0.4 mm in the required range.
  • the characters with the relief structure are then formed by means of, as already described above a laser beam, the volume being increased by the formation of bubbles combined with a simultaneous discoloration in these transparent layers.
  • This additional piece of film 51 can, however, also be glued to the outer surface of the finished card or welded onto the card.
  • the two-layer cover film structure shown in FIG. 4 is recommended as the material for this additional film.
  • the intensity of the laser beam can be controlled in such a way that the card core is at least blackened in its surface and the user data can also be recognized on the card core layer.
  • the plateau formation by means of an additional piece of film has the advantage that the back of the card remains completely flat and thus a printed image on the back of the card is not disturbed by impressions. In addition, the plateaus gain stability due to this flat back of the card.
  • the support surface for the card in the imprinter devices could be provided with support elements which engage in the cavities on the back of the card and the plateaus during printing support the process.
  • the embossing dies or laminating plates in the plateau area on the back of the card are additionally provided with depressions in the form of bores, channels, etc., into which the softened card material can flow during the formation of the plateau.
  • FIG. 10 schematically shows such a card 60 with a plateau-like elevation 61 on the front of the card, which is supported on the back by a support profile 62 in the form of support rails 63 which run through the negative structure.

Landscapes

  • Engineering & Computer Science (AREA)
  • Manufacturing & Machinery (AREA)
  • Physics & Mathematics (AREA)
  • Health & Medical Sciences (AREA)
  • Electromagnetism (AREA)
  • General Health & Medical Sciences (AREA)
  • Toxicology (AREA)
  • Optics & Photonics (AREA)
  • Credit Cards Or The Like (AREA)
  • Medicines Containing Plant Substances (AREA)
  • Saccharide Compounds (AREA)
  • Diaphragms For Electromechanical Transducers (AREA)
  • Shaping Of Tube Ends By Bending Or Straightening (AREA)
  • Detergent Compositions (AREA)
  • Battery Electrode And Active Subsutance (AREA)
  • Laminated Bodies (AREA)

Abstract

Eine Ausweiskarte wird mit einem als Druckstock verwend­baren Zeichensatz versehen, wobei die durch Laserein­wirkung hervorrufbare "natürliche Aufschäumbarkeit" der bei Ausweiskarten allgemein verwendeten Kunststoffmate­rialien wie PVC und Polycarbonat genutzt wird, um eine für einen eindeutigen Abdruck der Schriftzeichen ausrei­chende Reliefhöhe zu erreichen. Die normgerechte Gesamt­höhe der Prägezeichen bezogen auf die restliche Karten­oberfläche wird durch eine zusätzliche Verformung des Kartenkörpers im Prägezeichenbereich unter Ausbildung flächiger Plateaus erreicht.

Description

  • Die Erfindung betrifft eine mehrschichtige Ausweiskarte mit wenigstens einer Kartenoberfläche aus Kunststoff, die in einem Teilbereich Schriftzeichen bzw. Symbole in einer als Druckstock verwendbaren Reliefstruktur aufweist sowie ein Verfahren zur Herstellung derartiger Ausweiskarten.
  • Ausweiskarten in Form von Kreditkarten, Bankkarten, Bar­zahlungskarten, Berechtigungskarten oder dergleichen wer­den in den verschiedensten Gebieten eingesetzt, zu denen z. B. der bargeldlose Zahlungsverkehr, Zugangskontroll­systeme und verschiedenste Dienstleistungssysteme geho­ren. Diese Ausweiskarten weisen in der Regel auf den Kar­teninhaber bezogene Daten auf, die beim sogenannten Per­sonalisierungsvorgang aufgebracht werden. Eine verbreite­te Form der möglichen Darstellung dieser Zeichen ist die Hochprägung, bei der die benutzerbezogenen Daten von der Ausweiskartenrückseite zur Kartenvorderseite hin relief­formig durchgeprägt werden. Zur besseren Sichtbarmachung der einzelnen Schriftzeichen werden diese in ihren Scheitelbereichen zusätzlich noch eingefärbt.
  • Diese kostenmäßig vorteilhafte Form der Personalisierung hat aber den Nachteil, daß die benutzerbezogenen Daten relativ ungeschützt Fälschungsversuchen ausgesetzt sind. Da es sich bei den Kartenmaterialien in der Regel um Thermoplaste, insbesondere PVC, handelt, können die geprägten Daten bei derartigen Manipulationen relativ leicht wieder niedergebügelt bzw. rückgeprägt und die Karten mit anderen Daten wieder neu geprägt werden. Die ursprüngliche Einfärbung kann ohne große Schwierigkeiten mit im Handel erhältlichen Lösungsmitteln entfernt und eine gefälschte Karte mit verändertem Datensatz wieder neu eingefärbt werden. Außerdem zeigt sich, daß diese Einfärbung bereits im täglichen Gebrauch mit der Zeit abgerieben wird. Damit ist nicht nur die Fälschung leich­ter möglich, sondern auch die Lesbarkeit der Daten häufig stark eingeschränkt.
  • Trotz dieser erheblichen Nachteile findet diese Persona­lisierungsform doch eine breitere Anwendung, insbesondere bei Kreditkarten, da der als Druckstock verwendbare Zei­chensatz die einfache Übertragung der Daten von der Karte auf den aktuellen Zahlungsbeleg gestattet. Dabei werden sogenannte Imprinter verwendet, in die die Karte und der Zahlungsbeleg eingelegt werden. Über einen mechanischen Prägevorgang werden unter Verwendung von Kohle- bzw. Durchschlagpapier die Benutzerdaten auf den Zahlungsbeleg übertragen werden (DE-PS 20 18 927). Eine international festgelegte Norm bestimmt unter anderem die Lage der Hochprägedaten auf der Ausweiskarte sowie deren Gestalt und deren Reliefhöhe (ISO-Norm 7811/1 und 7811/3).
  • Insbesondere wegen der hohen Fälschungsgefahr dieser ge­prägten Daten wurden bereits Vorschläge gemacht, wie durch zusätzliche Maßnahmen die aufgeprägten Zeichen ge­gen Veränderungen geschützt werden können (DE-PS 32 48 784, DE-PS 33 14 327).
  • Andere Entwicklungen versuchten, durch andere Verfahrens­techniken Zeichen herzustellen, die ebenfalls als Druck­stock verwendbar sind, aber nicht in der einfachen Form gefälscht werden können.
  • So ist z.B. aus der DE-OS 22 23 290 ein Verfahren be­kannt, bei dem die geprägten Daten nur auf einer Karten­oberfläche in Erscheinung treten. Bei diesem Verfahren werden die Personalisierungsdaten in Metallplatten einge­prägt und bei der Kaschierung der Ausweiskarte in die Kartenoberfläche übertragen. Während des Kaschiervorgangs erweicht das Kartenmaterial und fließt in die Vertiefun­gen der Metallplatte ein, ohne auf der Rückseite ein Ne­gativrelief zu hinterlassen. Auf diese Weise entsteht eine Hochprägung, bei der eine Rückprägung der Zeichen nicht mehr möglich ist.
  • Dieses Verfahren ist aber wesentlich aufwendiger als das übliche Prägeverfahren, da für jede Karte eine Metall­platte mit den entsprechend eingravierten Personalisie­rungsdaten hergestellt werden muß und dieser Personali­sierungsvorgang ein von der Kartenfertigung nicht trenn­barer Verfahrensschritt ist.
  • Erst durch die DE-OS 32 13 315 wurde eine Ausweiskarte und ein Verfahren zur Herstellung derselben vorgestellt, mit dem Ausweiskarten nicht nur in einfacher Form mit als Druckstock verwendbaren Zeichen versehen werden können, sondern bei dem diese Zeichen auch noch in einer beson­ders fälschungssicheren Form vorliegen. Das dort vorge­stellte Verfahren schlägt vor, die Ausweiskarte mit einer aufschäumbaren entsprechende Treibmittel enthaltenden Kunststoffschicht zu versehen. Diese Schicht wird dann gezielt lokal zur Ausbildung der gewünschten Zeichen in Reliefstruktur aufgeschäumt. Vorzugsweise wird hierzu ein Laserstrahl verwendet, der in diesem aufschäumbaren Kunststoffmaterial die für die Auslösung des Aufschäum­prozesses bzw. Aktivierung der Treibmittel notwendige Wärme erzeugt. Durch entsprechende Wahl des Kunststoffma­terials, des Treibmittels und der Laserparameter wie In­tensität etc. kann dieser Aufschäumprozeß gezielt durch­geführt werden, um die Zeichen normgerecht bezüglich ih­rer Abmaße und ihrer Reliefhöhe zu erzeugen. Gleichzeitig kann diese Aufschäumung mit einer Verfärbung des Kunst­stoffmaterials verbunden sein, so daß sich der vormals noch notwendige Einfärbungsprozeß erübrigt. Da die Ver­färbung in dem Kunststoffmaterial selbst erfolgt und zu­dem irreversibel ist, ist sie fälschungssicher und gegen Abrieb beständig.
  • Um die von der Norm verlangte Reliefhöhe von 0,48 bzw. 0,46 mm über der Kartenoberfläche zu erreichen (ISO-Norm 7811/1), ist der Einsatz spezieller Kunststoffolien, die mit den entsprechenden Treibmitteln versetzt sind, not­ wendig. Obwohl hierfür geeignete Kunststoffe und Treib­mittel bekannt sind, kann die Notwendigkeit des Einbaus derartiger Kunststoffschichten in einigen Fallen dazu führen, daß bestimmte, aus anderen Gründen geforderte, Kartenaufbauten nicht realisierbar sind oder z. B. die erwünschte Transparenz aufgrund eventueller Eigenfarbe der Treibmittel nicht erreicht wird.
  • Der Erfindung liegt daher die Aufgabe zugrunde, unter Beibehaltung der, insbesondere durch das Laserverfahren gegebenen einfachen, aber fälschungssicheren, individuel­len Beschriftungsmöglichkeit, eine Ausweiskarte zu schaf­fen, die auch ohne den Einsatz spezieller schäumbarer Folien mit einem normgerechten Prägezeichensatz ausge­stattet werden kann.
  • Diese Aufgabe wird durch im Patentanspruch 1 angegebenen Merkmale gelöst.
  • Die Erfindung geht von der Idee aus, die durch Laserein­wirkung hervorrufbare "natürliche Aufschäumbarkeit" von bei Ausweiskarten allgemein verwendeten Kunststoffmate­rialien wie PVC und Polycarbonat zu nutzen, um eine für einen eindeutigen Abdruck der Schriftzeichen ausreichende Reliefhöhe zu erreichen und die gemäß der Norm geforderte Gesamthöhe der Prägezeichen über der restlichen Karten­oberfläche durch eine zusätzliche Verformung des Karten­körpers im Prägezeichenbereich zu realisieren.
  • Wie aus der DE-PS 31 51 407 bekannt, entstehen bei der Einwirkung eines Laserstrahls mit entsprechender Intensi­tät in einem für den Laserstrahl empfindlichen bzw. sen­sibilisierten Kunststoffmaterial Gasbläschen und feine schwarze Punkte, die nicht nur eine Verfärbung des Mate­rials, sondern auch eine Volumenvergrößerung des Kunst­stoffmaterials zur Folge haben (dieser Nebeneffekt blieb in der genannten Druckschrift unberücksichtigt).
  • Bei der vorliegenden Erfindung wird nun diese durch die Gasbläschen entstehende Volumenvergrößerung gezielt ge­nutzt, um Schriftzeichen zu erzeugen, die sich nicht nur in der Farbe, sondern auch in ihrer Reliefhöhe gegenüber der Umgebung abzeichnen. Wie Versuche zeigten, kann Kunststoffmaterial, wie z. B. PVC, durch Einwirkung eines Laserstrahls auch ohne zusätzliche Treibmittel um 30 % und mehr seines Volumens vergrößert werden und zwar ohne daß die Folie in diesen Bereichen wesentlich an Festig­keit verliert.
  • Durch entsprechende Optimierung der Material- und Verfah­rensparameter (Kunststoffmaterial, Schichtaufbau, Schichtdicke, Laserintensität, Strahlführung etc.) las­sen sich daher Zeichen in einer für einen Abdruck aus­reichenden Reliefhöhe erzeugen, wobei die Oberfläche im Zeichenbereich nur unmerklich beeinflußt wird und insbe­sondere noch in sich völlig geschlossen ist. Gerade das letztgenannte Merkmal ist für die Qualität des späteren Abdrucks der Daten von Bedeutung. Erst bei sehr hohen Intensitäten führt die Bildung der Gasbläschen zu Auf­platzern in der Deckfolie, wie aus der vorgenannten DE-PS bekannt.
  • Es ist hier anzumerken, daß - um einen guten Abdruck der Reliefzeichen zu erreichen - die effektive maximale Höhe des Zeichens gegenüber seiner direkten Umgebung nicht unbedingt die durch die Norm festgelegten 0,46 mm aufwei­sen muß. Für einen mechanischen Abdruck von Reliefzeichen ist im Prinzip eine Reliefhöhe von ungefähr 100 Ì be­reits vollständig ausreichend. Diese Reliefhöhe wird nun erfindungsgemäß mit der obengenannten Laserbeschriftung, vorzugsweise durch eine entsprechende Volumenvergrößerung in der transparenten Deckfolie der Ausweiskarte erreicht, während die für die Erfüllung der Norm noch fehlende Re­liefhöhe (360 Ì) über der Kartenoberfläche durch Ver­formung der Karte unter Bildung von Plateaus erzeugt wird.
  • Vorzugsweise wird für die erfindungsgemäße Ausweiskarte eine doppelschichtige transparente Deckfolie verwendet, wobei für die äußere Schicht ein Kunststoffmaterial ver­wendet wird, das etwas weniger empfindlich auf die Laser­einwirkung reagiert. Damit wird erreicht, daß die äußere Folie erweicht, die Bläschenbildung aber etwas geringer ist als in der empfindlicheren inneren Folie. Die äußere Folie kann dann dem inneren, durch die Bläschenbildung entstehenden Druck ausweichen, trägt selbst ebenfalls zur Volumenvergrößerung bei, wird aber im Hinblick auf eine gute Oberflächenqualität etwas weniger stark thermisch belastet.
  • Die Plateaus, auf dem diese Zeichen mittels Laser ausge­bildet werden, können durchaus eine größere Fläche umfas­sen, z. B. die Fläche einer oder mehrerer Schriftzeichen­zeilen oder sie können sich auch aus Mehrzahl kleinerer Plateaus zusammensetzen, die jeweils nur einem Zeichen Platz bieten.
  • Für die Plateaubildung stehen verschiedene Verfahren zur Verfügung, z. B. ein mechanisches Prägen, thermisches Prägen oder eine Prägung des Kartenmaterials unter gleichzeitiger Erweichung des Materials mittels eines hochfrequenten elektromagnetischen Wechselfeldes. Letzte­res Verfahren hat den Vorteil, daß durch entsprechende Ausbildung der Elektroden, die gleichzeitig den Präge­stempel bilden, die Karte nur in den tatsächlich zu ver­formenden Bereichen thermisch belastet werden muß. Wie später noch gezeigt, kann dieser Umstand auch dazu ge­nutzt werden, die Plateaubildung im Anschluß an die La­serbeschriftung durchführen zu können.
  • Ein wesentlicher Vorteil der vorliegenden Erfindung ist, daß die üblichen aus der Kartenfertigung bekannten Mate­rialien für den Aufbau der Karte verwendet werden können, wobei lediglich die zum Erreichen einer ausreichenden Reliefhöhe erforderlichen Schichtdicken zu beachten sind.
  • Des weiteren sind auch die so eingebrachten Zeichen des Kunststoffmaterials extrem verfälschungssicher, da sowohl die Volumenvergrößerung als auch die gleichzeitige Ver­färbung (Schwärzung), die bis in den opaken Kartenkern reichen kann, irreversible Veränderungen des Kunststoff­materials sind. Derartige einmal erzeugte Zeichen sind weder chemisch noch mechanisch rückbildbar.
  • Der Kartenfertigungs- und der Personalisierungsvorgang sind zudem zwei völlig voneinander unabhängige Verfah­rensstadien. Die Personalisierung kann damit den letzten Arbeitsgang in der Herstellung der Ausweiskarten darstel­len. Wesentliche Vorteile dieses Umstands ist z. B., daß in der Kartenfabrikation anfallende "Ausschußkarten" be­reits vor dem Personalisierungsvorgang ausgesondert wer­den können bzw. bereits personalisierte Karten nicht mehr durch nachträgliche Fertigungsschritte gefährdet werden.
  • Die durch die natürliche "Schaumfähigkeit" des Kunst­stoffmaterials erreichten Reliefstrukturen weisen außer­dem auch eine ausreichende Festigkeit auf, die für die häufige spätere Benutzung in den eingangs erwähnten Im­printern zum Abdruck der benutzerbezogenen Daten notwen­dig ist.
  • Der vorgeschlagene Kartenaufbau mit der transparenten doppelschichtigen Deckfolie gestattet es außerdem, auch weitere Echtheitsmerkmale, wie z. B. das aus der DE-OS 36 34 865 bekannte "Laserkippbild" bzw. das aus der DE-OS 36 34 857 bekannte "Parallaxenbild" mittels Laser einzu­bringen.
  • Des weiteren kann neben der Schrift mit der Reliefstruk­tur auch eine Schrift ohne Reliefstruktur erzeugt werden, wobei der Laserstrahl in seiner Intensität und in der Abtastgeschwindigkeit entsprechend in später noch zu er­läuternder Weise gesteuert werden muß. Damit ist eine Beschriftung der Ausweiskarte auch z. B. in dem Bereich möglich, in dem normalerweise rückseitig der Magnetstrei­fen angeordnet ist. Eine Schrift mit einer Reliefstruktur würde sich hier negativ auf die Ablesefähigkeit der Mag­netdaten auswirken, da in diesem Bereich angeordnete Transportrollen den ruhigen Kartentransport beeinträchti­gen.
  • Weitere Vorteile und Weiterbildungen der Erfindung sind den Unteransprüchen und den folgenden Ausführungsbeispie­len zu entnehmen, die anhand der Zeichnungen näher er­läutert werden. Es zeigen:
    • Fig. 1 eine nach einem bekannten Verfahren mit Prägezeichen versehene Ausweiskarte in der Aufsicht,
    • Fig. 2 dieselbe Karte in einer Schnittansicht,
    • Fig. 3 eine erfindungsgemäße Ausweiskarte vor der Personalisierung,
    • Fig. 4 dieselbe Karte in einer Schnittansicht,
    • Fig. 5 eine erfindungsgemäße Ausweiskarte nach der Personalisierung,
    • Fig. 6 dieselbe Karte in einer Schnittansicht,
    • Fig. 7, 9, 10 weitere Ausführungsformen,
    • Fig. 8 einen Ausschnitt aus der Prägevorrich­ tung.
  • Die Fig. 1 und 2 zeigen eine Ausweiskarte 1, wie z. B. eine Kreditkarte, mit dem für sie typischen Informations­inhalt. Dies ist z. B. die Angabe des ausgebenden Kredit­instituts 2, die z. B. drucktechnisch auf das Kartenin­lett aufgebracht werden. Des weiteren weist die Karte ein Echtheitsmerkmal 3, wie z. B. ein in die Deckfolie eingebettetes oder aufgeklebtes Hologramm auf. Die Berei­che 4a und 4b der Karte, sind gemäß der internationalen Norm für die Hochprägezeichen 5 reserviert, die im Be­reich 4b meist in drei oder vier Zeilen eingebracht sind (der Einfachheit halber ist in der Zeichnung nur eine Zeile dargestellt). Diese Zeichen werden nach Fertigung der Karte, d. h. nach Verschweißung der einzelnen Karten­schichten, in einer entsprechenden Prägepresse einge­prägt. Zur besseren visuellen Sichtbarkeit werden die Zeichen anschließend noch in ihren erhöhten Bereichen, d.h. in den Scheitelbereichen 6, eingefärbt.
  • Die Fig. 2 zeigt die Karte in der Schnittansicht mit ei­nem hier beispielhaft gezeigten zweischichtigen Aufbau. Ein opaker Kartenkern 7 trägt z. B. ein- oder beidseitig ein Druckbild 8 und in seiner Rückseite ist ein Magnet­streifen 9 eingelassen. In einer Aussparung des Karten­kerns kann unter anderem ein elektrischer Schaltkreis eingebettet sein (in der Fig. nicht gezeigt). Die Präge­zeichen 5 wurden durch Einpressen von der Rückseite her und entsprechender Verformung des Kartenkörpers einge­bracht, wobei normgemäß die Karte soweit verformt wird, daß die Scheitelbereiche 6 eine Höhe H von ca. 0,45 mm über der Kartenoberfläche erreichen.
  • Wie einleitend bereits erwähnt, haben diese bekannten Karten den Nachteil, daß die Prägung durch entsprechendes Rückprägen der Zeichen wieder rückgängig gemacht und an­schließend die gleiche Karte wieder mit veränderten Daten neu geprägt werden kann. Auch die Entfernung und Wieder­aufbringung der Einfärbung bereitet dem Fälscher keine Probleme, da sich die Verfärbung mit einfachen Lösungs­mitteln entfernen läßt.
  • Die Fig. 3 zeigt nun das Halbzeug 20 einer erfindungsge­mäßen Karte vor dem Personalisierungsvorgangs. In einer bevorzugten Ausführungsform wird die Ausweiskarte zwar ebenfalls geprägt, jedoch werden bei dieser Prägung nicht die Zeichen selbst eingebracht, sondern lediglich Teilbe­reiche 21a,b, in die die Hochprägezeichen eingebracht werden sollen, um einheitlich¼ 0,35 mm über der Kar­tenoberfläche angehoben. Die in der Fig. 3 der Ziff. 21a und 21 b gekennzeichneten Bereiche werden im folgenden als Plateau bezeichnet. Sie können z. B. die Größe einer Zeile oder eines mehrere Zeilen umfassenden Feldes auf­weisen. Diese Plateaus dienen nun dazu, die insgesamt von der Norm geforderte effektive Reliefhöhe der Prägezeichen von 0,46 mm zu erreichen.
  • Die Fig. 4 zeigt das Halbzeug 20 der Ausweiskarte in der Schnittansicht. Die erfindungsgemäße Karte weist in dem gezeigten, bevorzugten Ausführungsbeispiel einen drei­schichtigen Aufbau auf. Diese drei Schichten 22 - 24 sind die opake Kernschicht 22 und eine zweischichtige transpa­rente Deckschicht 23, 24. Die Kernschicht kann, wie vor­her bereits genannt, ein- oder beidseitig mit Druckbil­dern 25, 26 versehen werden und auch andere Sicherheits­merkmale tragen, wie z. B. einen Sicherheitsfaden, was­serzeichenähnliche Effekte oder andere Merkmale, die der Fälschungssicherheit des Kartenaufbaus dienen. Diese opa­ke Kernschicht 22 wird auf einer Seite durch eine ein-, bevorzugt aber zweischichtige transparente Deckfolie ab­gedeckt, die bezüglich der Materialwahl auf die Laserbe­schriftung abgestimmt ist. Die zweischichtige Deckfolie besteht aus zwei transparenten PVC-Schichten 23, 24, die eine gegenüber dem Laserstrahl verbesserte Absorptions­ fähigkeit aufweisen. Derartige Folien sind z. B. aus den bereits erwähnten Schriften DE-PS 31 51 407 und DE-OS 36 34 857 bekannt. Für die innere Deckfolie 23 wird eine Folie gewählt, die stärker gegenüber dem Laserstrahl sen­sibilisiert ist- als die äußere Deckfolie 24. Mit diesem Aufbau können die Forderungen einer möglichst großen Vo­lumenvergrößerung bei gleichzeitigem Erhalt der Oberflä­chengüte der Karte in zufriedenstellender Weise entspro­chen werden. Diese Karte kann völlig fertiggestellt wer­denen d. h. bedruckt, kaschiert und geprägt werden, so daß nur noch als letzter Arbeitsgang im Rahmen der Personali­sierung die notwendigen Daten eingebracht werden müssen. Selbstverständlich kann die Karte auch rückseitig mit einer transparenten Deckfolie überzogen, mit einem Ma­gnetstreifen und/oder einem integrierten Schaltkreis aus­gestattet sein.
  • In einer Personalisierungsstation werden die mittels La­ser einbringbaren Daten in die Karte eingebracht, wobei im Plateaubereich 21 die Prägezeichen 28 aufgezeichnet werden (Fig. 5, 6). Der Laserstrahl 29 wird hierzu zur Bildung der Schriftzeichen entsprechend über diese Pla­teaus 21a, b der Karte 19 geführt, wobei die Aufzeich­nungsparameter wie Intensität, Abtastgeschwindigkeit, Pulsfrequenz etc. so gewählt werden, daß sich eine mög­lichst starke Bläschenbildung 30 unter gleichzeitiger Erweichung der Folie ergibt, ohne daß es dabei im Ober­flächenbereich zu starken Aufplatzern und ausgeprägten Kraterbildungen kommt. Um die hierfür erforderliche In­tensität zu ermitteln, kann in einem Probedurchgang ein sogenannter Graukeil aufgezeichnet werden, anhand dem dann empirisch die jeweils optimalen Laserparameter zu bestimmen sind.
  • Bevorzugt wird für die innere Deckfolie 23 eine Schicht­dicke von 100 bis 150 Ì gewahlt und für die äußere Deckfolie 24 eine Dicke von 150 bis 200 Ì. Diese insge­ samt 250 bis 350 Ì starke transparente Deckfolie läßt sich durch entsprechende Lasereinwirkung auf eine Dicke von 350 bzw. 450 Ì aufweiten. Wegen der lokalen Be­grenzung des "aufschäumenden" Bereichs schlägt sich eine Volumenvergrößerung von ca. 30 % im wesentlichen direkt in einer entsprechenden Dickenänderung nieder. Diese durch die Lasereinwirkung erreichte Aufweitung (a) um ca. 100 Ì ergibt nun zusammen mit der durch die mechanische Prägung erzeugten Plateaubildung (¼ 0,36 mm) die für die Norm erforderliche Höhe H von 0,46 mm über der rest­lichen Kartenoberfläche. Versuche, diese Karte in den gängigen Imprintergeräten als Druckstock zu verwenden, zeigten hervorragende Druckqualität.
  • Die Reliefbildung kann durch eine entsprechende Laser­strahlführung zusätzlich optimiert werden. Hierzu wird der im Pulsbetrieb betriebene Laser so über die Karten­oberfläche geführt, daß sich die zeitlich nacheinan­derfolgenden Pulse örtlich überlagern. Die Einwirkung des Laserstrahls auf das Material wird damit bei gleich­bleibender Intensität verstärkt, da der jeweils folgende Puls auf zum Teil schon geschwärztes und damit stärker absorbierendes Material trifft.
  • Der gleiche Kartenaufbau gestattet aber auch eine Be­schriftung der Ausweiskarte ohne gleichzeitige Ausbildung eines Reliefs. Hier ist darauf zu achten, daß der Laser­strahl in seiner Intensität derart reduziert wird und die Aufzeichnung vorzugsweise ohne Überlappung der einzelnen Laserpulse erfolgt, daß - wie aus der DE-OS 36 34 857 bekannt - nur eine Schwarzung in der sensibleren inneren Deckschicht und im wesentlichen keine sichtbare Bläschen­bildung stattfindet. Diese Beschriftungsweise eignet sich insbesondere zur Beschriftung desjenigen Bereichs der Karte, in dem rückseitig der Magnetstreifen liegt, da hier eine beidseits glatte Oberfläche für die Abtastung des Magnetstreifens notwendig ist. In der Regel betrifft dies die Institutsangaben 31.
  • Die Aufzeichnung der Daten erfolgt vorzugsweise durch Abtastung der Kartenoberfläche gemäß einer Punkt- bzw. Linienmatrix, -bei der der Laserstrahl zeilenweise über die Karte geführt wird und das Zeichen durch entsprechen­de Auf- und Abblendung des Laserstrahls an den ent­sprechenden Matrixpunkten erzeugt wird. Je nach Schrift­typ - mit oder ohne Relief - wird die Laserstrahlinten­sität und/oder die Pulsüberlappung gewählt.
  • Die in Fig. 5 gezeigte Karte 19 weist des weiteren ein visuell prüfbares Echtheitsmerkmal 27 auf, das ebenfalls mit einem Laser erzeugt wird und dessen Erscheinungsbild sich in Abhängigkeit des Betrachtungswinkels verändern kann. Derartige Echtheitsmerkmale sind aus den Schriften, die DE-PS 36 34 865 und DE-OS 36 34 857 bekannt, auf deren Offenbarung hier Bezug genommen wird. Gerade hier zeigt sich die Vielseitigkeit der Laserbeschriftung, die es gestattet, bei gleichem Kartenaufbau Daten sowohl ohne Relief als auch mit Relief sowie entsprechende visuelle Echtheitsmerkmale durch einfache Änderung der Laser­steuerung bzw. -intensität, gegebenenfalls verbunden mit einer partiellen Prägung (Plateau, Linsenraster) der Kar­te einzubringen.
  • Die Fig. 7 zeigt eine weitere Ausfuhrungsform, bei der das Plateau 21 jeweils nur die Größe eines Zeichens 28 aufweist und eine Vielzahl von Plateaus nebeneinander gesetzt in die Karte eingeprägt werden. Sofern verfah­renstechnisch vertretbar, kann die Anzahl der Einzelfel­der auch der jeweiligen Anzahl der für den kartenindivi­duellen Schriftzug erforderlichen Zeichen angepaßt wer­den.
  • Die Einzelplateaus oder die in den vorgenannten Beispie­len gezeigten großflächigen Plateaus können auf vielfäl­tige Weise erzielt werden. Bevorzugt wird ein Prägever­fahren, bei dem das Kunststoffmaterial der Karte 41 (Fig. 8) durch Einwirkung eines hochfrequenten elektri­schen Feldes erweicht wird und durch entsprechende Präge­formen verformt wird. Die Prägeformen können dabei direkt die Elektroden 40a, b für das elektrische Wechselfeld sein. Die Verarbeitung von PVC mit Hilfe hochfrequenter elektrischer Wechselfelder ist z. B. aus der allgemeinen Fachliteratur bekannt.
  • Diese Verformungstechnik hat den Vorteil, daß die Karte nur in den effektiv zu verformenden Bereichen thermisch belastet wird. Des weiteren ist diese Verformung nur schwer wieder rückbildbar, da dies im Gegensatz zur me­chanischen Kaltverformung eine Verformung "ohne Erinne­rung" ist. Die HF-Verformung gestattet es weiterhin, die Bildung der Plateaus auch nach Ausbildung der Laserbe­schriftung durchzuführen. Der Prägestempel 40a weist hierzu im Kartenbereich, der die bereits gelaserten Re­liefdaten 43 trägt, eine Aussparung 42 auf, so daß sich die mechanische Wirkung der Prägestempel nur auf die Randbereiche des zu bildenden Plateaus konzentriert. Die gelaserten Reliefdaten bleiben daher bei dem Präge­vorgang unbeschädigt und dies gestattet es, die Prägung auch nach der Laserbeschriftung vorzunehmen. Diese Lösung hat somit den weiteren Vorteil, daß bei der Laserbe­schriftung, bei der die Karten automatisch vereinzelt, transportiert und gestapelt, mit planen Karten gearbeitet werden kann.
  • Nichts destoweniger können trotzdem für die Bildung der Plateaus, sofern wünschenswert, auch andere Prägeverfah­ren herangezogen werden, so z. B. die bekannte Kaltver­formung bzw. die thermische Verformung. Des weiteren ist es auch möglich, direkt bei der Kaschierung der Karte eine Erhöhung der Kartenoberfläche im Hochprägedatenbe­reich zu bewirken. Hierzu können Matrizen mit dem ent­sprechenden Negativrelief zwischen die Karte und die Ka­schierplatte eingebracht werden. Da die Matrize hier im Gegensatz zu der Lehre der DE-OS 22 23 290 für alle Kar­ten gleich ist, stellt dies keinen allzu aufwendigen Ein­griff in die gängige Kartenfertigungstechnik dar. Die Plateaubildung beim Kaschiervorgang hat unter anderem den Vorteil, daß die rückseitige Oberfläche der Karte im ge­samten Bereich plan bleibt und das rückseitige Druckbild nicht, wie bei den bekannten Karten, durch die Durchprä­gung gestört wird.
  • Die bei den genannten Verformungstechniken verwendeten Prägestempel können zusätzlich in ihrer Oberfläche ein Relief aufweisen, wodurch gleichzeitig mit der Plateau­bildung ein Prägemuster (32, Fig. 5) in die Kartenober­fläche eingeprägt wird. Dieses Prägemuster kann z. B. ein Mikrorelief, eine Texturierung, eine Folge von Zei­chen, Logos oder ähnlichen Symbolen darstellen. Die Kar­te enthält damit ein weiteres Merkmal, das die Nachbil­dung oder Veränderung wesentlich erschwert, insbesondere wenn ein in sich geschlossenes Muster über den gesamten Plateaubereich verläuft und nur durch die gelaserten Re­liefzeichen unterbrochen ist.
  • In einer weiteren Ausführungsform (Fig. 9) wird der mehrschichtige Kartenkörper 50 zur Bildung der Plateaus im Prägezeichenbereich mit einem zusätzlichen Folienstück 51 versehen. Dieses zwischen Kern- und Deckfolie 53 bzw. 54 eingebettete Folienstück 51 kann z. B. eine Folie des gleichen transparenten Materials sein, wie die innere Deckfolienschicht des in Fig. 4 bzw. 6 gezeigten Aus­führungsbeispiels. Die Karte wird damit in dem erforder­lichen Bereich um ca. 0,3 bis 0,4 mm in ihrer Dicke ver­größert. Die Ausbildung der Zeichen mit der Reliefstruk­tur erfolgt dann, wie oben bereits beschrieben, mittels eines Laserstrahls, wobei die Volumenvergrößerung durch Bläschenbildung verbunden mit einer gleichzeitigen Ver­färbung in diesen transparenten Schichten erfolgt.
  • Dieses zusätzliche Folienstück 51 kann aber auch auf die Außenfläche der fertigen Karte aufgeklebt oder auf die Karte aufgeschweist werden. In diesem Fall empfiehlt sich der in Fig. 4 gezeigte zweischichtige Deckfolienauf­bau als Material für diese Zusatzfolie. Um einen späte­ren Austausch dieses Folienstücks zu verhindern, kann der Laserstrahl in seiner Intensität so gesteuert werden, daß auch der Kartenkern zumindest in seiner Oberfläche ge­schwärzt wird und die Benutzerdaten auch auf der Karten­kernschicht erkennbar sind.
  • Die Plateaubildung mittels eines zusätzlichen Folien­stücks hat den Vorteil, daß die Kartenrückseite völlig plan bleibt und damit ein auf der Kartenrückseite be­findliches Druckbild nicht durch Einprägungen gestört wird. Außerdem gewinnen die Plateaus durch diese plane Kartenrückseite an Stabilität.
  • Gerade bei flächenmäßig größeren Plateaus, die nach einem der vorgenannten Verfahren unter gleichzeitiger Ausbii­dung eines Negativreliefs auf der Kartenrückseite er­stellt werden, kann es vorkommen, daß die Plateaus durch die mechanischen Belastungen in den Imprintergeräten mit der Zeit durchgedrückt werden. Insbesondere im Mittenbe­reich der Plateaus weisen die Pragedaten dann nicht mehr die für die Erzeugung eines gut lesbaren Abdrucks erfor­derliche Höhe auf.
  • Um dieser Abnutzungserscheinung zu begegnen, könnte die Auflagefläche für die Karte in den Imprintergeräten mit Stützelementen versehen werden, die in die Hohlräume der Kartenrückseite eingreifen und die Plateaus beim Druck­ vorgang abstützen. Vorzugsweise werden aber die auf der Kartenrückseite anliegenden Prägestempel oder Kaschier­platten im Plateaubereich zusätzlich noch mit Vertiefun­gen im Form von Bohrungen, Kanälen etc. ausgestattet, in die während der Plateaubildung das erweichte Kartenmate­rial einfließen kann.
  • Die durch diese Vertiefungen gebildeten Strukturen in Form von Noppen, Stützschienen und anderer Profile dienen dann der rückseitigen Stützung und/oder Versteifung der plateauähnlichen Erhebungen. Die Fig. 10 zeigt schema­tisch eine derartige Karte 60 mit einer plateauähnlichen Erhebung 61 auf der Kartenvorderseite, das rückseitig durch ein Stützprofil 62 in Form von Stützschienen 63, die die Negativstruktur durchziehen, abgestützt wird.
  • Ein Durchdrücken der Prägedaten im Laufe der Benutzung der Karte wird damit wirksam verhindert.

Claims (16)

1. Ausweiskarte mit wenigstens einer Kartenoberfläche aus Kunststoff, die in einem Teilbereich Schriftzeichen bzw. Symtole in einer als Druckstock verwendbaren Reliefstruk­tur aufweist, dadurch gekennzeichnet, daß
- diese Reliefstruktur in zwei Stufen gebildet ist, wo­bei
- die erste Stufe eine plateauähnliche Erhöhung (21a, b) der Kartenoberfläche im Bereich der einzubringenden Schriftzeichen (5) ist und
- die zweite Stufe eine durch lokale Einwirkung eines Laserstrahls (29) bewirkte Volumenvergrößerung (30) des Kunststoffmaterials ist, die im Bereich dieser plateauähnlichen Erhöhungen (21a, b) in Form der ein­ zubringenden Schriftzeichen bzw. Symtolen vorliegt.
2. Ausweiskarte nach Anspruch 1, dadurch gekenn­zeichnet, daß die Karte aus mindestens einem opa­ken Kartenkern (22) und einer im visuellen Spektralbe­reich transparenten, durch die Laserstrahlung aber ver­änderbare Deckfolie besteht.
3. Ausweiskarte nach Anspruch 2, dadurch gekenn­kennzeichnet, daß die Deckfolie zweischich­tig ist und das Kunststoffmaterial der außenliegenden Deckfolienschicht (24) ein im Vergleich zur innenliegen­den Deckfolienschicht (23) geringeres Absorptionsvermögen gegenüber dem Laserstrahl aufweist.
4. Ausweiskarte nach einem oder mehreren der vorhergehen­den Ansprüche, dadurch gekennzeichnet, daß die plateauähnlichen Erhebungen (21a, 21b) größere Flächen zur Aufnahme mehrerer Prägezeichen (5) umfassen und die entsprechend vertieften Bereiche auf der Karten­ruckseite mit einem Stütz- und/oder Versteifungsprofil (62) versehen sind.
5. Ausweiskarte nach einem oder mehreren der vorhergehen­den Ansprüche, dadurch gekennzeichnet, daß die Summe aus der Höhe der plateauähnlichen Erhebungen (21a, 21b ) und der durch den Laserstrahl bewirkten Dickenzunahme (a) in der Deckfolie ca. 0,46 mm beträgt.
6. Ausweiskarte nach einem oder mehreren der vorhergehen­den Ansprüche, dadurch gekennzeichnet, daß die Karte (19) außerhalb der Plateaus (21a, 21b) mit ei­ner Laserbeschriftung (31) ohne gleichzeitige Reliefbil­dung versehen ist.
7. Ausweiskarte nach einem oder mehreren der vorherge­henden Ansprüche, dadurch gekennzeichnet, daß die Ausweiskarte (19) weitere mit Hilfe eines Laser­strahls eingebrachte visuelle Kennzeichnungsmerkmale (27) in anderen Darstellungsformen trägt.
8. Ausweiskarte nach einem oder mehreren der vorherge­henden Ansprüche, dadurch gekennzeichnet, daß die Kartenoberfläche zumindest im Bereich der Pla­teaus (21a, 21b) ein mechanisch eingeprägtes Mikrorelief (32) trägt.
9. Verfahren zur Herstellung einer Ausweiskarte mit min­destens einer Kartenoberfläche aus Kunststoff, die in einem Teilbereich Schriftzeichen bzw. Symbole in einer als Druckstock verwendbaren Reliefstruktur aufweist, da­durch gekennzeichnet, daß
- die als Druckstock verwendbaren Zeichen, Symbole etc. in zwei voneinander unabhängigen Verfahrensschritten gebildet werden, wobei
- in einem Verfahrensschritt der Kartenkörper in den Bereichen, in dem die Zeichen einzubringen sind, zur Bildung von sich über die restliche Kartenoberfläche erhebenden flächigen Plateaus verformt oder durch Auf­bringung zusätzlicher Schichten in seiner Dicke ver­größert wird und
- in einem anderen Verfahrensschritt im Bereich dieses Plateaus mindestens eine Kunststoffschicht des Karten­körpers zur Ausbildung der den Zeichen, Symbolen etc. entsprechenden Reliefstruktur lokal unter Einwirkung eines Laserstrahls in ihrem Volumen vergrößert wird.
10. Verfahren zur Herstellung einer Ausweiskarte nach Anspruch 9, dadurch gekennzeichnet, daß zur Bildung der Plateaus das Ausweiskartenmaterial in einer Prägestation zumindest lokal durch Einwirkung eines hochfrequenten elektrischen Wechselfeldes erweicht und mechanisch verformt wird.
11. Verfahren nach Anspruch 10, dadurch gekenn­zeichnet, daß die zur Erzeugung des elektrischen Wechselfeldes verwendeten Elektroden gleichzeitig die Prägeformen zur Ausbildung der Plateaus bilden.
12. Verfahren nach Anspruch 11, dadurch gekenn­zeichnet, daß mindestens eine der Elektroden vorgeheizt wird.
13. Verfahren nach Anspruch 11, dadurch gekenn­zeichnet, daß die Elektroden Aussparungen auf­weisen, um bestimmte Bereiche der Karte von mechanischen Belastungen bei der Erzeugung der Plateaus fernzuhalten.
14. Verfahren nach einem oder mehreren der vorhergehenden Ansprüche, dadurch gekennzeichnet, daß der zur Erzeugung der Volumenvergrößerung verwendete La­ser im Pulsbetrieb betrieben wird, wobei die Pulsfrequenz und die Aufzeichnungsgeschwindigkeit so gewählt werden, daß sich zeitlich aufeinanderfolgende Pulse auf der Kartenoberfläche zumindest teilweise örtlich überlagern.
15. Verfahren nach Anspruch 14, dadurch gekenn­zeichnet, daß außerhalb des Plateaubereichs eine Laserbeschriftung ohne gleichzeitige Ausbildung einer Reliefstruktur durchgeführt wird, wobei der Laserstrahl in nicht überlappender Form und entsprechend geringer Intensität über die Ausweiskartenoberfläche geführt wird.
16. Verfahren nach Anspruch 14 oder 15, dadurch ge­kennzeichnet, daß die Aufzeichnung durch punkt- oder linienweise Abtastung der Karte erfolgt.
EP88115505A 1987-09-22 1988-09-21 Mehrschichtige als Druckstock verwendbare Ausweiskarte und Verfahren zu deren Herstellung Expired - Lifetime EP0308904B1 (de)

Priority Applications (1)

Application Number Priority Date Filing Date Title
AT88115505T ATE77068T1 (de) 1987-09-22 1988-09-21 Mehrschichtige als druckstock verwendbare ausweiskarte und verfahren zu deren herstellung.

Applications Claiming Priority (2)

Application Number Priority Date Filing Date Title
DE3731853 1987-09-22
DE19873731853 DE3731853A1 (de) 1987-09-22 1987-09-22 Mehrschichtige als druckstock verwendbare ausweiskarte und verfahren zu deren herstellung

Publications (3)

Publication Number Publication Date
EP0308904A2 true EP0308904A2 (de) 1989-03-29
EP0308904A3 EP0308904A3 (en) 1989-10-18
EP0308904B1 EP0308904B1 (de) 1992-06-10

Family

ID=6336572

Family Applications (1)

Application Number Title Priority Date Filing Date
EP88115505A Expired - Lifetime EP0308904B1 (de) 1987-09-22 1988-09-21 Mehrschichtige als Druckstock verwendbare Ausweiskarte und Verfahren zu deren Herstellung

Country Status (9)

Country Link
US (2) US5005872A (de)
EP (1) EP0308904B1 (de)
JP (1) JP2731918B2 (de)
AT (1) ATE77068T1 (de)
DE (2) DE3731853A1 (de)
DK (1) DK166999B1 (de)
ES (1) ES2032512T3 (de)
FI (1) FI89252C (de)
NO (1) NO175416C (de)

Cited By (7)

* Cited by examiner, † Cited by third party
Publication number Priority date Publication date Assignee Title
US5005872A (en) * 1987-09-22 1991-04-09 Gao Gesellschaft Fur Automation Und Organisation Mbh Multilayer identity card usable as a printing block and a method of producing it
US5083850A (en) * 1989-08-29 1992-01-28 American Bank Note Holographics, Inc. Technique of forming a separate information bearing printed pattern on replicas of a hologram or other surface relief diffraction pattern
WO2007118654A2 (de) 2006-04-13 2007-10-25 Giesecke & Devrient Gmbh Ausweiskarte mit konturierter reliefstruktur und entsprechendes herstellungsverfahren
WO2010103499A1 (fr) 2009-03-13 2010-09-16 Arjowiggins Security Substrat marquable au laser et procede de fabrication associe
WO2014076428A1 (fr) * 2012-11-16 2014-05-22 Oberthur Technologies Procédé de réalisation d'un motif en relief dans une carte plastique mince
EP2956311A4 (de) * 2013-02-13 2016-11-02 Entrust Datacard Corp Identifikationsdokument und verfahren zur herstellung davon
WO2017140421A1 (de) * 2016-02-17 2017-08-24 Giesecke & Devrient Gmbh Tragbarer datenträger mit hochprägung

Families Citing this family (49)

* Cited by examiner, † Cited by third party
Publication number Priority date Publication date Assignee Title
JPH0389971A (ja) * 1989-08-31 1991-04-15 Mitsubishi Materials Corp 貴金属薄板への絵文字記入方法
DE3932505C2 (de) * 1989-09-28 2001-03-15 Gao Ges Automation Org Datenträger mit einem optisch variablen Element
US5131686A (en) * 1990-09-20 1992-07-21 Carlson Thomas S Method for producing identification cards
US5261987A (en) * 1992-06-05 1993-11-16 Eastman Kodak Company Method of making an identification card
US6176522B1 (en) * 1993-06-08 2001-01-23 Securency Pty Ltd Embossing of bank notes or the like with security devices
DK0710183T3 (da) * 1993-06-08 2002-03-18 Securency Pty Ltd Prægning af pengesedler eller lignende med sikkerhedsindretninger
JP3703860B2 (ja) * 1994-02-28 2005-10-05 大日本印刷株式会社 印刷物の製造方法
DE4410431A1 (de) * 1994-03-25 1995-09-28 Giesecke & Devrient Gmbh Vor unerlaubter Reproduktion mit einem Kopiergerät geschützte Ausweiskarte
DE19537177C2 (de) * 1995-10-06 1998-07-23 Orga Kartensysteme Gmbh Verfahren zur Herstellung einer Kunststoffkarte in Form einer Ausweiskarte, Telefonkarte, Kreditkarte, Krankenversichertenkarte o. dgl.
US6086707A (en) * 1996-02-29 2000-07-11 Raytheon Company Method for making an identification document
DE19646331C2 (de) * 1996-11-09 2000-08-10 Fraunhofer Ges Forschung Verfahren zur lokalen plastischen Verformung durch einen Laser
AUPO523997A0 (en) 1997-02-20 1997-04-11 Securency Pty Ltd Laser marking of articles
US6919162B1 (en) * 1998-08-28 2005-07-19 Agilent Technologies, Inc. Method for producing high-structure area texturing of a substrate, substrates prepared thereby and masks for use therein
AUPQ119999A0 (en) * 1999-06-25 1999-07-22 Note Printing Australia Limited Improved security documents
DE19934434B4 (de) * 1999-07-22 2006-10-05 Bundesdruckerei Gmbh Wert- und Sicherheitserzeugnis mit Mikrokanälen
US6628808B1 (en) * 1999-07-28 2003-09-30 Datacard Corporation Apparatus and method for verifying a scanned image
ITMI20011889A1 (it) * 2001-09-10 2003-03-10 Elmiva S A S Di Walter Mantega Procedimento contro la falsificazione e la contraffazione di documenti di valore in particolare banconote
US6701605B2 (en) 2001-10-09 2004-03-09 Sonoco Development, Inc. Conductive electrical element and antenna with ink additive technology
US7131380B2 (en) * 2001-11-07 2006-11-07 Sonoco Development, Inc. EB pattern profile printing
US20030107639A1 (en) * 2001-12-11 2003-06-12 Gary Field Process for printing a fluorescent security feature on identification cards and cards produced therefrom
US6929413B2 (en) * 2001-12-11 2005-08-16 Zebra Atlantek, Inc. Printer driver log security verification for identification cards
US6734887B2 (en) * 2001-12-11 2004-05-11 Zih Corp. Process for printing a metallic security feature on identification cards and cards produced therefrom
US6988665B2 (en) * 2001-12-11 2006-01-24 Zebra Atlantek, Inc. Grayscale security microprinting for identification cards
CA2470547C (en) 2001-12-24 2008-05-20 Digimarc Id Systems, Llc Laser etched security features for identification documents and methods of making same
ATE552120T1 (de) 2001-12-24 2012-04-15 L 1 Secure Credentialing Inc Verdeckte variableninformationen auf id- dokumenten und verfahren zu ihrer herstellung
US7728048B2 (en) * 2002-12-20 2010-06-01 L-1 Secure Credentialing, Inc. Increasing thermal conductivity of host polymer used with laser engraving methods and compositions
EP1550077B1 (de) * 2001-12-24 2009-07-08 Digimarc ID Systems, LLC Lasergravierverfahren sowie mit lasergravur versehene artikel
US7694887B2 (en) 2001-12-24 2010-04-13 L-1 Secure Credentialing, Inc. Optically variable personalized indicia for identification documents
ATE555911T1 (de) 2001-12-24 2012-05-15 L 1 Secure Credentialing Inc Verfahren zur vollfarb-markierung von id- dokumenten
WO2003088144A2 (en) 2002-04-09 2003-10-23 Digimarc Id Systems, Llc Image processing techniques for printing identification cards and documents
US7824029B2 (en) 2002-05-10 2010-11-02 L-1 Secure Credentialing, Inc. Identification card printer-assembler for over the counter card issuing
JP4269644B2 (ja) * 2002-10-29 2009-05-27 富士ゼロックス株式会社 画像形成装置
AU2003298731A1 (en) 2002-11-26 2004-06-18 Digimarc Id Systems Systems and methods for managing and detecting fraud in image databases used with identification documents
US7763179B2 (en) * 2003-03-21 2010-07-27 Digimarc Corporation Color laser engraving and digital watermarking
ATE491190T1 (de) 2003-04-16 2010-12-15 L 1 Secure Credentialing Inc Dreidimensionale datenspeicherung
CN100522648C (zh) * 2004-05-05 2009-08-05 德国捷德有限公司 有价文件
RU2381906C2 (ru) * 2004-05-05 2010-02-20 Гизеке Унд Девриент Гмбх Ценный документ
US7383999B2 (en) 2004-12-28 2008-06-10 Digimarc Corporation ID document structure with pattern coating providing variable security features
DE102005025095A1 (de) * 2005-06-01 2006-12-07 Giesecke & Devrient Gmbh Datenträger und Verfahren zu seiner Herstellung
GB201005895D0 (en) 2010-04-08 2010-05-26 Rue De Int Ltd Security articles comprising security features and methods of manufacture therof
GB201117530D0 (en) * 2011-10-11 2011-11-23 Rue De Int Ltd Security devices
JP6044087B2 (ja) * 2012-03-14 2016-12-14 大日本印刷株式会社 カード、カードの製造方法
EP3357706A4 (de) * 2015-10-02 2018-10-03 Toppan Printing Co., Ltd. Struktur zur verhinderung von fälschungen
GB2583210A (en) * 2017-11-03 2020-10-21 Vladimirovna Orlova Alexandra Plastic card having 3D multi-level raised embossed impression
JP7584289B2 (ja) * 2020-12-09 2024-11-15 株式会社トッパンインフォメディア 媒体
PL440023A1 (pl) 2021-12-29 2023-07-03 Polska Wytwórnia Papierów Wartościowych Spółka Akcyjna Sposób wytwarzania podłoża polimerowego ulegającego karbonizacji opatrzonego wyczuwalnym w dotyku oznakowaniem w postaci reliefu z efektem płaskorzeźby, oraz wytworzone tym sposobem zabezpieczone podłoże polimerowe
DE102022001564A1 (de) 2022-05-04 2023-11-09 Giesecke+Devrient ePayments GmbH Sicheres Element, insbesondere Ausweiskarte mit einem Personalisierungselement und Verfahren zu dessen Herstellung
DE102022117017A1 (de) * 2022-07-07 2024-01-18 Bundesdruckerei Gmbh Wert- oder Sicherheitsprodukt und Verfahren zu dessen Herstellung
DE102024108177A1 (de) * 2024-03-21 2025-09-25 Bundesdruckerei Gmbh Maskierungsplatte, Anordnung und Verfahren zum Erzeugen mindestens eines taktil erfassbaren Rasterelements eines Rasters an oder in einem Substrat

Family Cites Families (15)

* Cited by examiner, † Cited by third party
Publication number Priority date Publication date Assignee Title
DE2223290B2 (de) * 1971-05-14 1975-08-07 General Binding Corp., Northbrook, Ill. (V.St.A.) Ausweiskreditkarte und Verfahren zu Ihrer Herstellung
GB1477203A (en) * 1974-02-11 1977-06-22 Whiley Ltd G Manufacture of image-bearing cards and other documents
US4006060A (en) * 1974-11-25 1977-02-01 Merck & Co., Inc. Thienamycin production
DE2907004C2 (de) * 1979-02-22 1981-06-25 GAO Gesellschaft für Automation und Organisation mbH, 8000 München Ausweiskarte und Verfahren zu ihrer Herstellung
DE3048736C2 (de) * 1980-12-23 1982-09-30 GAO Gesellschaft für Automation und Organisation mbH, 8000 München Ausweiskarte und Verfahren zu deren Herstellung
DE3151407C1 (de) * 1981-12-24 1983-10-13 GAO Gesellschaft für Automation und Organisation mbH, 8000 München Ausweiskarte und Verfahren zu deren Herstellung
DE3213315C2 (de) * 1982-04-08 1986-10-09 GAO Gesellschaft für Automation und Organisation mbH, 8000 München Verfahren zur Herstellung einer mehrschichtigen Ausweiskarte
DE3248784C1 (de) * 1982-12-31 1984-04-12 GAO Gesellschaft für Automation und Organisation mbH, 8000 München Ausweiskarte und Verfahren zu ihrer Herstellung
US4557963A (en) * 1983-04-04 1985-12-10 American Hoechst Corporation Tamper-resistant polyester credit cards
DE3314327C1 (de) * 1983-04-20 1984-07-26 GAO Gesellschaft für Automation und Organisation mbH, 8000 München Ausweiskarte und Verfahren zur Herstellung derselben
US4544183A (en) * 1983-08-05 1985-10-01 Computer Identification Systems Identification card with a radiant energy reactive coating
JPS61248228A (ja) * 1985-04-26 1986-11-05 Tokyo Jiki Insatsu Kk 磁気エンボス用磁気媒体及びそれを使用した磁気カ−ド
DE3683339D1 (de) * 1985-10-15 1992-02-20 Gao Ges Automation Org Ausweiskarte mit visuell sichtbarem echtheitsmerkmal und verfahren zur herstellung derselben.
ES2038119T3 (es) * 1985-10-15 1993-07-16 Gao Gesellschaft Fur Automation Und Organisation Mbh Soporte de datos con caracteristica optica de autenticidad, asi como procedimiento para la fabricacion y comprobacion de dicho soporte de datos.
DE3731853A1 (de) * 1987-09-22 1989-03-30 Gao Ges Automation Org Mehrschichtige als druckstock verwendbare ausweiskarte und verfahren zu deren herstellung

Cited By (12)

* Cited by examiner, † Cited by third party
Publication number Priority date Publication date Assignee Title
US5005872A (en) * 1987-09-22 1991-04-09 Gao Gesellschaft Fur Automation Und Organisation Mbh Multilayer identity card usable as a printing block and a method of producing it
US5122813A (en) * 1987-09-22 1992-06-16 Gao Gesellschaft Fur Automation Und Organisation Mbh. Method of making a multilayer identification card usable as a printing block
US5083850A (en) * 1989-08-29 1992-01-28 American Bank Note Holographics, Inc. Technique of forming a separate information bearing printed pattern on replicas of a hologram or other surface relief diffraction pattern
WO2007118654A2 (de) 2006-04-13 2007-10-25 Giesecke & Devrient Gmbh Ausweiskarte mit konturierter reliefstruktur und entsprechendes herstellungsverfahren
WO2007118654A3 (de) * 2006-04-13 2008-01-17 Giesecke & Devrient Gmbh Ausweiskarte mit konturierter reliefstruktur und entsprechendes herstellungsverfahren
WO2010103499A1 (fr) 2009-03-13 2010-09-16 Arjowiggins Security Substrat marquable au laser et procede de fabrication associe
WO2014076428A1 (fr) * 2012-11-16 2014-05-22 Oberthur Technologies Procédé de réalisation d'un motif en relief dans une carte plastique mince
FR2998208A1 (fr) * 2012-11-16 2014-05-23 Oberthur Technologies Procede de realisation d'un motif en relief dans une carte plastique mince
US9600753B2 (en) 2012-11-16 2017-03-21 Oberthur Technologies Method for producing a pattern in relief in a thin plastic card
EP2956311A4 (de) * 2013-02-13 2016-11-02 Entrust Datacard Corp Identifikationsdokument und verfahren zur herstellung davon
WO2017140421A1 (de) * 2016-02-17 2017-08-24 Giesecke & Devrient Gmbh Tragbarer datenträger mit hochprägung
US10572782B2 (en) 2016-02-17 2020-02-25 Giesecke+Devrient Mobile Security Gmbh Portable data carrier comprising a relief structure

Also Published As

Publication number Publication date
DK166999B1 (da) 1993-08-16
US5122813A (en) 1992-06-16
NO884115D0 (no) 1988-09-16
JPH01141095A (ja) 1989-06-02
JP2731918B2 (ja) 1998-03-25
DK525388D0 (da) 1988-09-21
FI884342A0 (fi) 1988-09-21
NO175416C (no) 1994-10-12
FI89252C (fi) 1993-09-10
DE3871884D1 (de) 1992-07-16
EP0308904A3 (en) 1989-10-18
ES2032512T3 (es) 1993-02-16
NO175416B (no) 1994-07-04
FI884342L (fi) 1989-03-23
NO884115L (no) 1989-03-28
EP0308904B1 (de) 1992-06-10
FI89252B (fi) 1993-05-31
ATE77068T1 (de) 1992-06-15
DK525388A (da) 1989-03-23
US5005872A (en) 1991-04-09
DE3731853A1 (de) 1989-03-30

Similar Documents

Publication Publication Date Title
EP0308904B1 (de) Mehrschichtige als Druckstock verwendbare Ausweiskarte und Verfahren zu deren Herstellung
EP0219011B1 (de) Ausweiskarte mit visuell sichtbarem Echtheitsmerkmal und Verfahren zur Herstellung derselben
AT391656B (de) Ausweiskarte und verfahren zu deren herstellung
DE3248784C1 (de) Ausweiskarte und Verfahren zu ihrer Herstellung
DE2907004C2 (de) Ausweiskarte und Verfahren zu ihrer Herstellung
DE3314327C1 (de) Ausweiskarte und Verfahren zur Herstellung derselben
DE3048733C2 (de) "Ausweiskarte und Verfahren zur Herstellung derselben"
DE102007025866B4 (de) Datenträger mit Sicherheitskennzeichnung
EP3386771A1 (de) Sicherheitselement mit linsenrasterbild
EP3215371B1 (de) Datenträger mit durchsichtssicherheitselement
DE102008028705B4 (de) Verfahren zum Herstellen eines Wert- und/oder Sicherheitsdokuments sowie Wert- und/oder Sicherheitsdokument mit einer demetallisierten Struktur
DE19537177A1 (de) Kunststoffkarte in Form einer Ausweiskarte, Telefonkarte, Kreditkarte, Krankenversichertenkarte, o. dgl.
DE4131617C2 (de)
EP0365018B1 (de) Ausweiskarte und Verfahren zum Herstellen einer Ausweiskarte
EP3484715B1 (de) Verfahren zum herstellen eines wert- oder sicherheitsproduktes
DE3314244A1 (de) Ausweiskarte und verfahren zur herstellung derselben
WO2023016670A1 (de) Verfahren zur herstellung eines sicherheitsmerkmals, sicherheitsmerkmal für einen datenträger, datenträger und laminierblech
EP3511176B1 (de) Sicherheitselement mit einer optisch variablen struktur in einer vertiefung
WO2002038396A1 (de) Einseitig verdeckte kennzeichnung an blechflächen
AT394975B (de) Verfahren zum aufbringen von individuellen, visuell erkennbaren informationen auf eine ausweiskarte
DE19949881A1 (de) Wert- und Sicherheitserzeugnis mit Sicherheitsmerkmalen als variable Elemente und Verfahren zum Aufbringen dieser Sicherheitsmerkmale
DE102022002471A1 (de) Verfahren zur Herstellung eines Sicherheitsmerkmals, Sicherheitsmerkmal für einen Datenträger, Datenträger und Laminierblech
EP4368409A1 (de) Sicherheitselement, sicherheitsdokument und verfahren zur herstellung eines sicherheitsdokuments
EP2965918B1 (de) Datenträger mit taktiler reliefstruktur
EP0189501A1 (de) Verfahren zur Herstellung von Informationen sichtbar wiedergebenden Kunststoffträgern

Legal Events

Date Code Title Description
PUAI Public reference made under article 153(3) epc to a published international application that has entered the european phase

Free format text: ORIGINAL CODE: 0009012

AK Designated contracting states

Kind code of ref document: A2

Designated state(s): AT BE CH DE ES FR GB IT LI LU NL SE

PUAL Search report despatched

Free format text: ORIGINAL CODE: 0009013

AK Designated contracting states

Kind code of ref document: A3

Designated state(s): AT BE CH DE ES FR GB IT LI LU NL SE

17P Request for examination filed

Effective date: 19900315

17Q First examination report despatched

Effective date: 19911024

GRAA (expected) grant

Free format text: ORIGINAL CODE: 0009210

AK Designated contracting states

Kind code of ref document: B1

Designated state(s): AT BE CH DE ES FR GB IT LI LU NL SE

REF Corresponds to:

Ref document number: 77068

Country of ref document: AT

Date of ref document: 19920615

Kind code of ref document: T

GBT Gb: translation of ep patent filed (gb section 77(6)(a)/1977)
REF Corresponds to:

Ref document number: 3871884

Country of ref document: DE

Date of ref document: 19920716

ET Fr: translation filed
ITF It: translation for a ep patent filed
REG Reference to a national code

Ref country code: ES

Ref legal event code: FG2A

Ref document number: 2032512

Country of ref document: ES

Kind code of ref document: T3

PLBE No opposition filed within time limit

Free format text: ORIGINAL CODE: 0009261

STAA Information on the status of an ep patent application or granted ep patent

Free format text: STATUS: NO OPPOSITION FILED WITHIN TIME LIMIT

26N No opposition filed
EPTA Lu: last paid annual fee
EAL Se: european patent in force in sweden

Ref document number: 88115505.5

REG Reference to a national code

Ref country code: GB

Ref legal event code: IF02

PGFP Annual fee paid to national office [announced via postgrant information from national office to epo]

Ref country code: GB

Payment date: 20050913

Year of fee payment: 18

PGFP Annual fee paid to national office [announced via postgrant information from national office to epo]

Ref country code: NL

Payment date: 20050919

Year of fee payment: 18

PGFP Annual fee paid to national office [announced via postgrant information from national office to epo]

Ref country code: FR

Payment date: 20050920

Year of fee payment: 18

PGFP Annual fee paid to national office [announced via postgrant information from national office to epo]

Ref country code: AT

Payment date: 20050922

Year of fee payment: 18

Ref country code: BE

Payment date: 20050922

Year of fee payment: 18

PGFP Annual fee paid to national office [announced via postgrant information from national office to epo]

Ref country code: CH

Payment date: 20050923

Year of fee payment: 18

Ref country code: LU

Payment date: 20050923

Year of fee payment: 18

Ref country code: SE

Payment date: 20050923

Year of fee payment: 18

PGFP Annual fee paid to national office [announced via postgrant information from national office to epo]

Ref country code: ES

Payment date: 20050927

Year of fee payment: 18

PGFP Annual fee paid to national office [announced via postgrant information from national office to epo]

Ref country code: DE

Payment date: 20051125

Year of fee payment: 18

PG25 Lapsed in a contracting state [announced via postgrant information from national office to epo]

Ref country code: AT

Free format text: LAPSE BECAUSE OF NON-PAYMENT OF DUE FEES

Effective date: 20060921

PG25 Lapsed in a contracting state [announced via postgrant information from national office to epo]

Ref country code: SE

Free format text: LAPSE BECAUSE OF NON-PAYMENT OF DUE FEES

Effective date: 20060922

PG25 Lapsed in a contracting state [announced via postgrant information from national office to epo]

Ref country code: BE

Free format text: LAPSE BECAUSE OF NON-PAYMENT OF DUE FEES

Effective date: 20060930

Ref country code: CH

Free format text: LAPSE BECAUSE OF NON-PAYMENT OF DUE FEES

Effective date: 20060930

Ref country code: LI

Free format text: LAPSE BECAUSE OF NON-PAYMENT OF DUE FEES

Effective date: 20060930

PGFP Annual fee paid to national office [announced via postgrant information from national office to epo]

Ref country code: IT

Payment date: 20060930

Year of fee payment: 19

PG25 Lapsed in a contracting state [announced via postgrant information from national office to epo]

Ref country code: NL

Free format text: LAPSE BECAUSE OF NON-PAYMENT OF DUE FEES

Effective date: 20070401

PG25 Lapsed in a contracting state [announced via postgrant information from national office to epo]

Ref country code: DE

Free format text: LAPSE BECAUSE OF NON-PAYMENT OF DUE FEES

Effective date: 20070403

REG Reference to a national code

Ref country code: CH

Ref legal event code: PL

EUG Se: european patent has lapsed
GBPC Gb: european patent ceased through non-payment of renewal fee

Effective date: 20060921

NLV4 Nl: lapsed or anulled due to non-payment of the annual fee

Effective date: 20070401

REG Reference to a national code

Ref country code: FR

Ref legal event code: ST

Effective date: 20070531

PG25 Lapsed in a contracting state [announced via postgrant information from national office to epo]

Ref country code: GB

Free format text: LAPSE BECAUSE OF NON-PAYMENT OF DUE FEES

Effective date: 20060921

REG Reference to a national code

Ref country code: ES

Ref legal event code: FD2A

Effective date: 20060922

BERE Be: lapsed

Owner name: G.- FUR AUTOMATION UND ORGANISATION M.B.H. *GAO

Effective date: 20060930

PG25 Lapsed in a contracting state [announced via postgrant information from national office to epo]

Ref country code: ES

Free format text: LAPSE BECAUSE OF NON-PAYMENT OF DUE FEES

Effective date: 20060922

PG25 Lapsed in a contracting state [announced via postgrant information from national office to epo]

Ref country code: FR

Free format text: LAPSE BECAUSE OF NON-PAYMENT OF DUE FEES

Effective date: 20061002

PG25 Lapsed in a contracting state [announced via postgrant information from national office to epo]

Ref country code: LU

Free format text: LAPSE BECAUSE OF NON-PAYMENT OF DUE FEES

Effective date: 20060921

PG25 Lapsed in a contracting state [announced via postgrant information from national office to epo]

Ref country code: IT

Free format text: LAPSE BECAUSE OF NON-PAYMENT OF DUE FEES

Effective date: 20070921