EP0307601B1 - Geräteschalter mit Einschaltschutz - Google Patents
Geräteschalter mit Einschaltschutz Download PDFInfo
- Publication number
- EP0307601B1 EP0307601B1 EP88112523A EP88112523A EP0307601B1 EP 0307601 B1 EP0307601 B1 EP 0307601B1 EP 88112523 A EP88112523 A EP 88112523A EP 88112523 A EP88112523 A EP 88112523A EP 0307601 B1 EP0307601 B1 EP 0307601B1
- Authority
- EP
- European Patent Office
- Prior art keywords
- switch
- locking
- appliance
- engagement means
- legs
- Prior art date
- Legal status (The legal status is an assumption and is not a legal conclusion. Google has not performed a legal analysis and makes no representation as to the accuracy of the status listed.)
- Expired - Lifetime
Links
- 238000005192 partition Methods 0.000 claims description 19
- 238000006073 displacement reaction Methods 0.000 claims description 5
- 230000003213 activating effect Effects 0.000 claims 1
- 230000000903 blocking effect Effects 0.000 description 3
- 230000000694 effects Effects 0.000 description 2
- 230000000284 resting effect Effects 0.000 description 2
- 230000001960 triggered effect Effects 0.000 description 1
Images
Classifications
-
- H—ELECTRICITY
- H01—ELECTRIC ELEMENTS
- H01H—ELECTRIC SWITCHES; RELAYS; SELECTORS; EMERGENCY PROTECTIVE DEVICES
- H01H3/00—Mechanisms for operating contacts
- H01H3/02—Operating parts, i.e. for operating driving mechanism by a mechanical force external to the switch
- H01H3/20—Operating parts, i.e. for operating driving mechanism by a mechanical force external to the switch wherein an auxiliary movement thereof, or of an attachment thereto, is necessary before the main movement is possible or effective, e.g. for unlatching, for coupling
Definitions
- the invention relates to a switch for a device for personal use, consisting of a device switch for switching on and off an electrically operated drive part provided in a device housing and a locking switch which can be moved in the switching path of the device switch.
- a dry shaving apparatus is known with an on and off switch arranged on a printed circuit board as a pressure switch and a locking switch arranged transversely to the actuation direction of the on and off switch for locking or unlocking the on and off switch.
- the invention has for its object to provide a switch of the type mentioned, in which a device switch in the off position is reliably secured against any actuation in the on position.
- the switch should also be easy to use, accommodate in the smallest possible space and be equipped with the smallest possible number of components.
- the locking switch and the device switch can each be moved in a straight line in the same direction when the device is switched on and off, and that the device switch and / or the locking switch have positive and / or non-positive locking elements, which can be moved into one another or brought into engagement in order to secure the device switch in the off position by means of the locking switch, and that the device switch and the locking switch are accommodated on a supporting part of the device housing.
- the device switch and also the locking switch can be wedged together in a simple manner in the off position of the device switch, so that a secure locking of one in the off position Device switch against operations of any kind, in particular unintentional operations.
- the present invention allows various embodiments, the common advantage of which is that all form-locking and / or force-locking elements in corresponding coordination with one another on three mutually associated components of the device, namely the fixed partition of the housing or the housing wall, the device switch and the Locking switches are molded or molded.
- the device switch preferably has at least one form-locking element which is held in predetermined switching positions by means of at least one latching element provided on the support part.
- the locking switch has locking parts which are displaceable in the locking positions provided on the support part.
- the form-locking element of the device switch consists of a spring-elastic, L-shaped locking part with a knob formed on the leg.
- the form-locking element of the device switch is designed as a U-shaped locking bracket, with a knob being formed on each of its elastic legs.
- the positive locking element of the device switch is molded onto the device switch as a bolt.
- the locking element is formed from a web located between two slot openings provided in the support part.
- the locking element is formed as a bolt on the support part.
- the latching element consists of a U-shaped articulation bracket formed on the partition, on the resilient legs of which a knob is molded.
- the locking switch has at least one force-locking element which is displaceable in the spring travel of the form-locking elements of the device switch.
- the above-mentioned effect is achieved in that the locking switch has at least one force-locking element which is displaceable in the spring travel of the resilient legs of the locking element of the partition.
- the force-locking element is preferably designed as an L-shaped locking part which can be pushed onto the form-locking element in the switched-off position of the device switch.
- the force-locking element is designed as a U-shaped locking bracket, the legs of which can be pushed onto the legs of the form-locking element of the device switch in the switched-off position of the device switch.
- the force-locking element is designed as a U-shaped locking bracket, the arm web connecting the legs of which can be pushed between the legs of the form-locking element.
- FIGS. 1 and 2 show the individual parts of an embodiment of a switch 10 for a device for personal use, for example for an electric shaver or a toothbrush shown in perspective. This embodiment is shown in section in the following FIGS. 3a to 3c in the assembled state and is explained in more detail below with reference to these figures.
- the switch 10 consists of a device switch 12 and a locking switch 14, which are slidably received in a support member 16.
- the support member 16 is part of a housing, not shown in the drawing, in which an electrically operable drive part is provided for operating the device.
- the supporting part 16 consists of a rectangular recess or recess 24 provided in the housing wall of the device and used to hold the device switch 12 and the locking switch 14, with a front limiting part 18 and a rear limiting part 20.
- a rectangular opening 26 is provided on the axis of symmetry of the supporting part 16, which is used to receive an L-shaped locking part 28, the leg 32 of which runs parallel to the underside 30 of the supporting part 16 and has a knob 34 at the end, which in the operating position of the device switch 12 counteracts abuts a web 36 of the support member 16.
- the web 36 delimits the left end of the opening 26 and the right end of an elongated hole opening 38, which serves to receive the knob 34 when the device switch 12 has been adjusted to the left according to FIG. 3c. In this position, the knob 34 provided on the leg 32 of the locking part 28 is located in the elongated hole opening 38.
- the L-shaped locking part 44 is formed on the locking switch 14 and extends through the elongated hole opening 38 adjoining the web 36. Parallel to the elongated hole opening 38 run two further slot openings 40, the are designed to be somewhat shorter than the elongated hole opening 38.
- the elongated hole openings 40 serve to receive two locking parts 46, which are also L-shaped and are each provided with knobs 48 at the ends.
- the locking parts 28 and 46 are advantageously designed to be resilient, so that they slide slightly upwards as they slide along on the underside 30 of the supporting part 16 until the knobs 34 and 48 snap into corresponding recesses.
- the device switch 12 is provided with a recess 50 into which the front end part 52 of the locking switch 14 can be pushed until the end face 66 of the locking switch 14 comes to rest against the end face 54 of the device switch 12.
- the locking part 28 of the device switch 12 has on both sides of the locking part 28 small hooks 56 which rest on the underside 30 of the supporting part 16 and which are firmly connected to the device switch 12.
- the hooks 56 also extend through the opening 26 and secure the locking part 28 against slipping out of the opening 26. If the device switch 12 with the locking part 28 is to be removed from the opening 26, only the two opposite hook parts 56 need to be pressed a little, so that the upper part of the hook part no longer bears against the underside 30 of the supporting part 16. The device switch 12 can then easily be pulled out of the opening 26.
- two hooks 58 are also arranged on the locking switch 14, which according to. 3a to 3c the locking switch 14th secure on the support member 16 and allow adjustment of the locking switch 14.
- the two locking parts 46 of the locking switch 14, which run parallel to one another, engage with their knobs 48 in recesses or recesses 60 when the locking switch according to FIG. 3b has been moved completely to the right.
- the device switch 12 is in its exhibition and is secured by the locking switch 14 against unintentional adjustment.
- the locking switch 14 and the device switch 12 assume a central position in which the knobs 48 of the legs 46 of the locking switch 14 and the rib 34 of the leg 32 of the device switch rest resiliently on the web 36.
- the device switch 12 acc. Fig. 3b completely to the right in a switch-off position, the device switch 12 rests with its grip part against an edge 62 of the limiting part 20 of the support part 16, so that a further adjustment of the device switch 12 to the right is prevented.
- the knob 34 is moved behind the web 36 and engages in the opening 26 due to the spring-elastic design of the locking part 28.
- the locking switch 14 can now be moved to the right, the L-shaped locking part 44 moving over the L-shaped locking part 28 pushes and thus prevents the knob 34 can move out of the opening 26. This ensures that the device switch 12 which is in exhibition cannot move to the left into an operating position, since the knob 34 blocked by the L-shaped locking part 44 of the locking switch 14 only comes to rest against the edge 70 of the web 36.
- By pushing the locking part 44 onto the locking part 28 a non-positive connection between the two locking parts is also obtained, which is caused by the friction between the underside of the locking part 44 and the surface of the locking part 28.
- the locking part 44 can also be provided with a knob, also not shown in the drawing, which can snap into recesses provided on the surface of the locking part 28. This additionally creates a jamming or wedging of the locking part 44 with the locking part 28.
- the device switch 12 and the locking switch 14 by positive locking elements and non-positive locking elements after taking the position acc. Fig. 3b secured. Since the device switch 12 and the locking switch 14 can be moved and pushed into one plane, the overall height of the switching element 10 is greatly reduced compared to conventional switching elements.
- the locking switch 14 takes the position acc. 3b, the knobs 48 of the locking parts 46 also snap into the recesses 60 of the supporting part 16. This provides a positive connection between the locking switch 14 and the support member 16.
- the locking switch 14 must first be moved all the way to the left until it abuts the limiting part 18, the knobs 48 being moved out of the cutouts 60 and being transferred via the web 36 into the slot openings 40 .
- the L-shaped locking part 44 releases the locking part 28 of the device switch 12.
- the knob 34 slides on the underside 30 of the supporting part 16 via the web 36 into the elongated hole opening 38 until the end face 54 of the device switch 12 comes into contact with an end face 66 of the locking switch 14. From this operating position shown in Fig. 3c, the device switch 12 can lack a blocking effect by the L-shaped locking part 44 at any time moved back to the right to the switch-off position or then moved back to the switch-on position.
- the device switch 12 is in its switched-off position, the knob 34 resting against an edge 70 of the web 36 delimiting the opening 26.
- the contact element 72 provided between the walls 61 is arranged at a distance from another contact element 74 provided in the housing of the device, so that the circuit of the electrical drive of the device is interrupted.
- an L-shaped locking part 44 is pushed over the front end of the locking part 28 and prevents the knobs 34 from moving over the edge 70 and the web 36 on the underside 30 of the supporting part 16 or the housing. The locking part 44 thus prevents an adjustment of the device switch 12 into an operating position.
- the locking switch and device switch are equipped with U-shaped locking brackets which can be moved into one another and thus serve to secure the device switch.
- the device switch 12 is also slidably received in a supporting part 16 or a housing and is equipped with a U-shaped locking bracket 80, which consists of two parallel spring-elastic legs 82 and 84, which have knobs at the ends 34 have.
- a U-shaped locking bracket 80 which consists of two parallel spring-elastic legs 82 and 84, which have knobs at the ends 34 have.
- the two legs 82 and 84 can no longer be moved apart, so that an adjustment of the device switch 12 due to the legs 82 and 84 resting on the fixed bolt 37 is excluded.
- the device switch 12 can only be adjusted again after the locking switch 14 has been adjusted to the left, so that the knobs 34 can then be moved past the bolt 37 again.
- an opening 87 passing through the partition wall and a depression 24 delimiting the sliding path of the device switch 12 and the locking switch 14 are provided in the partition wall 16.
- a U-shaped locking bracket 79 consisting of two resilient legs 82 and 84, which are provided with knobs 35 on the end.
- the legs 82 and 84 with the knobs 35 grip the bolt 86, which is formed on the device switch 12 as a component thereof.
- a U-shaped locking bracket 81 protruding into the opening 87, the legs 83 and 85 of which engage around the legs 82 and 84 in order to trigger a spreading movement of the legs 82 and 84, which can be triggered by the bolt 86 which can be displaced via the device switch 12 , to prevent.
- two locking lugs 90 and 92 are provided on the locking switch 14, which engage in locking grooves 94, 96 or 97, 98 provided in the side walls 100 and 102 of the opening 87, depending on the respective switching position of the locking switch 14.
- the locking lugs 90 and 92 are preferably formed on two spring-elastic hooks 58 which, for easy assembly and mounting of the locking part 14 in the opening 87 of the partition 16 - as can be seen in FIG. 5d - on the locking part 14 partially under the partition 16 are provided, the dimensions of the locking lugs 90, 92 being such that, by utilizing the resilient properties of the hooks 58, the locking part 14 can be displaced until the holding part of the locking part 14 is maintained by means of the hooks 58 at the same time.
- resiliently designed hooks 56 are also formed, which partially engage under the partition wall 16 for guiding and holding the device switch 12.
- the device switch 12 is in its switched-off position, in which it is held against unintentional sliding movements by the locking switch 14.
- the locking lugs 90 and 92 of the locking switch are in engagement with corresponding locking grooves 94 and 96.
- the legs 83 and 85 of the U-shaped locking bracket of the locking switch 14 encompass the spring-elastic legs 82 and 84 of the U-shaped locking bracket 79 and thus prevent a spreading movement this leg 82 and 84, which is essential for a release or displacement of the device switch 12, the bolt 86 located between the legs 82 and 84 is secured against displacement by the legs 82 and 84 and the knobs 35 formed thereon.
- the locking switch 14 By moving the locking switch 14 to the left into the locking position shown in FIG. 5c, in which the locking lugs 90 and 92 are in engagement with the locking grooves 97 and 98, the locking of the legs 82 and 84 by the legs 83 and 85 is released.
- the device switch 12 can also be moved to the left into an operating position, the pin 86 acting on the knobs 35 and, using the spring-elastic properties of the legs 82 and 84, causing these legs to spread, in the course of which the pin 86 between the knobs 35 5c, to assume the switch position shown in FIG. 5c, which corresponds to the operating position of the device switch 12, in which the electrical circuit of an electric drive is closed by a contact element, which is not shown in FIGS. 5a-5c but is provided on the device switch 12.
- the device switch 12 is held by the spring 86 of the resilient legs 82, 84 and the knobs 35 integrally formed thereon, both in the operating position and in the switch-off position and is made use of the spring-elastic properties of the legs 82, 84 from the respective switch position into the other switch position transferable.
- the device switch 12 can be ascertained by sliding the legs 83 and 85 of the U-shaped locking bracket 81 of the locking switch 14 onto the legs 82 and 84 of the partition 16 against any sliding movement acting on the device switch 12.
- a recess 24 is provided in the partition 16, in which the device switch 12 and the locking switch 14 are slidably mounted.
- the device switch 12 is slidably fastened by means of four hooks 56, which are guided through corresponding elongated holes 104 provided in the partition 16 and reach under the partition 16.
- Two further elongated holes 106 provided in the partition 16, which are penetrated by corresponding hooks 58 formed on the locking switch 14 and which engage under the partition 16, serve for the sliding fastening of the locking switch 14 on the partition 16.
- the locking switch 14 consists of a U-shaped bracket 81 which can be inserted between the legs 82 and 84, the resiliently designed legs 83 and 85 of which are provided with knobs 35 which are arranged on the longitudinal side walls 108 and 110 abut as well as an actuating element 114 which is guided through an opening 112 provided in the device switch 12, the opening 112 being designed in such a way that an unimpeded displacement of the locking switch 14 via the actuating element 114 is ensured.
- the device switch 12 is in its exhibition, in which it is secured by the locking switch 14 inserted between the legs 82 and 84.
- the locking switch 14 By shifting the locking switch 14 to the left, the resilient legs 83 and 85 springing with the knobs 35 over projections 116 provided on the side walls 108 and 110, the locking switch 14 is brought from the shown blocking position into a release position in which the knobs 35 are are in contact with the locking positions 120.
- the device switch 12 thus unlocked can now be transferred from the illustrated switch-off position to the operating position due to the spring-elastic legs 82 and 84, which is reached after the projections 118 have slid around by the knobs 34 provided on the legs 82 and 84.
- the device switch 12 is provided with a contact element, not shown, which closes the electrical circuit of an electric drive in the operating position of the device switch.
Landscapes
- Switch Cases, Indication, And Locking (AREA)
- Slide Switches (AREA)
- Emergency Protection Circuit Devices (AREA)
- Dry Shavers And Clippers (AREA)
- Keying Circuit Devices (AREA)
- Push-Button Switches (AREA)
- Electrophonic Musical Instruments (AREA)
Description
- Die Erfindung bezieht sich auf einen Schalter für ein Gerät des persönlichen Bedarfs, bestehend aus einem Geräteschalter zur Ein- und Ausschaltung eines in einem Gerätegehäuse vorgesehenen, elektrisch betreibbaren Antriebsteiles sowie einem Arretierungsschalter, der in den Schaltweg des Geräteschalters bewegbar ist.
- Es ist bereits ein automatischer Einschaltschutz für aufladbare elektrische Rasierapparate und Zahnbürsten bekannt, der aus einem im Gehäuse gelagerten, gegen die Wirkung einer Feder bewegbaren Stößel besteht, dessen inneres Ende in den Einschaltweg eines in Ausschaltstellung befindlichen Ein- und Ausschaltteils verschiebbar ist. Der Stellweg des Stößels verläuft dabei quer zum Stellweg des Ein- und Ausschalters, so daß relativ viel Platz für den Einschaltschutz zur Verfügung gestellt werden muß (DE-A-33 15 643).
- Aus der DE-A-33 09 221 ist ein Trockenrasierapparat bekannt mit einem auf einer Leiterplatte angeordneten als Druckschalter ausgebildeten Ein- und Ausschalter und einem quer zur Betätigungsrichtung des Ein- und Ausschalters verschiebbar angeordneten Arretierungsschalter zur Verriegelung bzw. Entriegelung des Ein- und Ausschalters.
- Aus der US-A-45 63 553 ist bekannt, einem in zwei Schaltstellungen bewegbaren Stufenschalter eines elektronischen Gerätes einen quer zur Bewegungsrichtung des Stufenschalters bewegbaren Stoppschalter zuzuordnen, um ein Durchschalten des Stufenschalters in eine zweite Schaltstellung zu verhindern.
- Demgegenüber liegt der Erfindung die Aufgabe zugrunde, einen Schalter der eingangs genannten Gattung zu schaffen, bei dem ein in Ausschaltstellung befindlicher Geräteschalter gegen jegliche Betätigung in die Einschaltstellung zuverlässig gesichert ist. Der Schalter soll darüber hinaus einfach zu handhaben, auf kleinstmöglichem Raum unterzubringen sowie mit einer geringstmöglichen Anzahl von Bauteilen ausgestattet sein.
- Diese Aufgabe wird bei einem Schalter der eingangs genannten Art dadurch gelöst, daß der Arretierungsschalter und der Geräteschalter beim Aus- bzw. Einschalten jeweils in der gleichen Richtung geradlinig bewegbar sind, daß der Geräteschalter und/oder der Arretierungsschalter Form- und/oder Kraftschlußelemente aufweisen, die ineinander verschiebbar bzw. in Eingriff bringbar sind, um den Geräteschalter mittels des Arretierungsschalters in Ausschaltstellung zu sichern, und daß der Geräteschalter sowie der Arretierungsschalter auf einem Tragteil des Gerätegehäuses aufgenommen sind.
- Dies ergibt eine sehr platzsparende Ausbildung des Schalters und eine minimale Bauhöhe.
- Mittels Verwendung von ineinander in Eingriff bringbaren Formschluß- und Kraftschlußelementen, die an dem Geräteschalter und an dem Arretierungsschalter vorgesehen sind, lassen sich Geräteschalter sowie auch der Arretierungsschalter in der Ausschaltstellung des Geräteschalters auf einfache Weise miteinander verkeilen, so daß eine sichere Arretierung eines in Ausschaltstellung befindlichen Geräteschalters gegen Betätigungen jeglicher Art, insbesondere unbeabsichtigte Betätigungen gegeben ist.
- Die vorliegende Erfindung läßt verschiedene Ausführungsformen zu, deren gemeinsamer Vorteil darin besteht, daß sämtliche Form- und/oder Kraftschlußelemente in entsprechender Abstimmung zueinander an drei einander zugeordneten Bauteilen des Gerätes, und zwar der feststehenden Trennwand des Gehäuses bzw. der Gehäusewand, dem Geräteschalter und dem Arretierungsschalter angeformt bzw. eingeformt sind.
- Vorzugsweise weist der Geräteschalter wenigstens ein Formschlußelement auf, das mittels wenigstens einem am Tragteil vorgesehenen Rastelement in vorgegebenen Schaltpositionen gehalten ist. Zum Zwecke der Arretierung weist der Arretierungsschalter Arretierungsteile auf, die in am Tragteil vorgesehenen Rastpositionen verschiebbar sind. Nach einer Ausführungsform der Erfindung besteht das Formschlußelement des Geräteschalters aus einem federelastischen, L-förmigen Arretierungsteil mit einem am Schenkel angeformten Noppen. Nach einer weiteren Ausführungsform der Erfindung ist das Formschlußelement des Geräteschalters als U-förmiger Arretierungsbügel ausgebildet, wobei an dessen elastisch ausgebildeten Schenkeln jeweils ein Noppen angeformt ist. Nach einer Ausführungsform der Erfindung ist das Formschlußelement des Geräteschalters als Bolzen am Geräteschalter angeformt. Nach einer Ausführungsform der Erfindung ist das Rastelement aus einem zwischen zwei im Tragteil vorgesehenen Langlochöffnungen befindlichen Steg gebildet. Nach einer Ausführungsform der Erfindung ist das Rastelement als Bolzen am Tragteil angeformt. Nach einer Ausführungsform der Erfindung besteht das Rastelement aus einem an der Trennwand angeformten, U-förmigen Artetierungsbügel, an dessen federelastischen Schenkeln jeweils ein Noppen angeformt ist. Um ein Herausgleiten der Formschlußelemente des Geräteschalters aus bestimmten vorgegebenen Rastpositionen zu verhindern, weist der Arretierungsschalter wenigstens ein Kraftschlußelement auf, das in den Federweg der Formschlußelemente des Geräteschalters verschiebbar ist.
- Nach einer weiteren Ausführungsform wird zuvor genannte Wirkung dadurch erzielt, daß der Arretierungsschalter wenigstens ein Kraftschlußelement aufweist, das in den Federweg der federelastischen Schenkel des Rastelementes der Trennwand verschiebbar ist. Vorzugsweise ist das Kraftschlußelement als L-förmiges Arretierungsteil ausgebildet, das in Ausschaltstellung des Geräteschalters auf dessen Formschlußelement aufschiebbar ist. Nach einer weiteren Ausführungsform ist das Kraftschlußelement als U -förmiger Arretierungsbügel ausgebildet, dessen Schenkel in Ausschaltstellung des Geräteschalters auf die Schenkel des Formschlußelementes des Geräteschalters aufschiebbar sind. Nach einer anderen Ausführungsform ist das Kraftschlußelement als U-förmiger Arretierungsbügel ausgebildet, dessen die Schenkel verbindender Bügelsteg zwischen die Schenkel des Formschlußelementes schiebbar ist. Durch die an den Arretierungsteilen des Geräteschalters sowie des Arretierungsschalters vorgesehenen Noppen wird mit einfachen baulichen Mitteln eine Schaltfolge beider Schalter, einschließlich einer Arretierung, dadurch bewerkstelligt, daß für die Noppen beider Schalter in wenigstens einer der Längsseitenwände des Tragteiles die Rastpositionen mittels angeformter Vorsprünge gebildet sind.
- Weitere Vorteile und Einzelheiten der Erfindung ergeben sich aus der nachfolgenden Beschreibung und den Zeichnungen, in denen einige bevorzugte Ausführungsbeispiele dargestellt sind, und zwar zeigen:
- Fig. 1
- eine Explosionsdarstellung der Bauteile eines Schalters in Perspektive von oben,
- Fig. 2
- eine Explosionsdarstellung des Schalters nach Fig. 1 in Perspektive von unten,
- Fig. 3a
- eine Schnittdarstellung durch den Schalter nach Fig. 1 und 2,
- Fig. 3b
- eine Schnittdarstellung des Schalters nach Fig. 1 und 2, mit einem in Ausschaltstellung befindlichen Geräteschalter und einem diesen sperrenden Arretierungsschalter,
- Fig. 3c
- eine Schnittdarstellung des Schalters nach Fig. 1 und 2, mit einem vom Arretierungsschalter freigegebenen, in Einschaltstellung befindlichen Geräteschalter,
- Fig. 4a
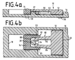
- eine Schnittdarstellung eines Schalters mit am Geräteschalter sowie am Arretierungsschalter angeformten U-förmigen Arretierungsbügeln,
- Fig. 4b
- eine weitere Schnittdarstellung des Schalters nach Fig. 4a,
- Fig. 5a
- ein weiteres Ausführungsbeispiel eines Geräteschalters im Schnitt,
- Fig. 5b
- eine Draufsicht des Schalters nach Fig. 5a in Schnittdarstellung, wobei der Arretierungsschalter mit parallel zueinander verlaufenden, Noppen aufweisenden, Schenkeln ausgerüstet ist, die in der Ausstellung des Geräteschalters einen Bolzen umklammern,
- Fig. 5c
- eine Schnittdarstellung des Schalters nach Fig. 5a und Fig. 5b in Betriebsstellung,
- Fig. 5d
- Einzelheiten der Rasteinrichtung des Arretierungsschalters im Schnitt,
- Fig. 6a
- ein weiteres Ausführungsbeispiel eines Schalters mit U-förmigen Arretierungsteilen im Schnitt,
- Fig. 6b
- eine Draufsicht des Geräteschalters nach Fig. 6a in Schnittdarstellung.
- In den Figuren 1 und 2 sind die einzelnen Teile einer Ausführungsform eines Schalters 10 für ein Gerät des persönlichen Bedarfs, beispielsweise für einen Elektrorasierer oder eine Zahnbürste perspektivisch dargestellt. Diese Ausführungsform ist in den nachfolgenden Figuren 3a bis 3c im zusammengebauten Zustand im Schnitt dargestellt und wird nachfolgend anhand dieser Figuren näher erläutert.
- Der Schalter 10 besteht aus einem Geräteschalter 12 und einem Arretierungsschalter 14, die in einem Tragteil 16 verschiebbar aufgenommen sind. Das Tragteil 16 ist Bestandteil eines in der Zeichnung nicht dargestellten Gehäuses, in dem ein elektrisch betriebbares Antriebsteil zum Betrieben des Gerätes vorgesehen ist. Das Tragteil 16 besteht aus einer in der Gehäusewandung des Gerätes vorgesehenen, der Aufnahme des Geräteschalters 12 und des Arretierungsschalters 14 dienenden, rechteckigen Vertiefung bzw. Aussparung 24, mit einem vorderen Begrenzungsteil 18 und einem hinteren Begrenzungsteil 20.
- Auf der Symmetrieachse des Tragteiles 16 ist eine rechteckförmige Offnung 26 vorgesehen, die zur Aufnahme eines L-förmig ausgebildeten Arretierungsteiles 28 dient, dessen zur Unterseite 30 des Tragteiles 16 parallel verlaufender Schenkel 32 endseitig eine Noppe 34 aufweist, die in der Betriebsstellung des Geräteschalters 12 gegen einen Steg 36 des Tragteiles 16 anliegt. Der Steg 36 begrenzt das linke Ende der Offnung 26 und das rechte Ende einer Langlochöffnung 38, die zur Aufnahme des Noppens 34 dient, wenn der Geräteschalter 12 gemäß Fig. 3c nach links verstellt worden ist. In dieser Stellung befindet sich der am Schenkel 32 des Arretierungsteiles 28 vorgesehene Noppen 34 in der Langlochöffnung 38. Das L-förmige Arretierungsteil 44 ist an dem Arretierungsschalter 14 angeformt und erstreckt sich durch die sich an den Steg 36 anschließende Langlochöffnung 38. Parallel zu der Langlochöffnung 38 verlaufen zwei weitere Langlochöffnungen 40, die etwas kürzer ausgebildet sind als die Langlochöffnung 38. Die Langlochöffnungen 40 dienen zur Aufnahme von zwei ebenfalls L-förmigen Arretierungsteilen 46, die endseitig jeweils mit Noppen 48 ausgestattet sind. Die Arretierungsteile 28 und 46 sind in vorteilhafter Weise federelastisch ausgebildet, so daß diese beim Entlanggleiten auf der Unterseite 30 des Tragteiles 16 etwas nach oben gebogen werden, bis die Noppen 34 und 48 in entsprechende Aussparungen einrasten.
- Damit das Arretierungsteil 44 des Arretierungsschalters 14 auf das Arretierungsteil 28 des Geräteschalters 12 aufgeschoben werden kann, wenn sich der Geräteschalter 12 in seiner Ausstellung gemäß Fig. 3b befindet, ist der Geräteschalter 12 mit einer Aussparung 50 versehen, in die das vordere Endteil 52 des Arretierungsschalters 14 geschoben werden kann, bis die Stirnseite 66 des Arretierungsschalters 14 zur Anlage an die Stirnseite 54 des Geräteschalters 12 gelangt.
- Der Arretierungsteil 28 des Geräteschalters 12 weist beiderseits des Arretierungsteiles 28 kleine Haken 56 auf, die an der Unterseite 30 des Tragteiles 16 anliegen und die mit dem Geräteschalter 12 fest verbunden sind. Die Haken 56 erstrecken sich ebenfalls durch die Offnung 26 und sichern das Arretierungsteil 28 gegen Herausrutschen aus der Offnung 26. Soll der Geräteschalter 12 mit dem Arretierungsteil 28 aus der Offnung 26 herausgenommen werden, so brauchen lediglich die beiden gegenüberliegenden Hakenteile 56 ein wenig zusammengedrückt werden, so daß der obere Teil des Hakenteiles nicht mehr gegen die Unterseite 30 des Tragteiles 16 anliegt. Der Geräteschalter 12 läßt sich dann ohne weiteres aus der Offnung 26 herausziehen. Zur Sicherung des Arretierungsschalters 14 sind ebenfalls zwei Haken 58 an dem Arretierungsschalter 14 angeordnet, die gem. Fig. 3a bis 3c dem Arretierungsschalter 14 am Tragteil 16 sichern und eine Verstellung des Arretierungsschalters 14 zulassen. Die beiden parallel zueinander verlaufenden Arretierungsteile 46 des Arretierungschalters 14 rasten mit ihren Noppen 48 in Vertiefungen bzw. Aussparungen 60 ein, wenn der Arretierungsschalter gemäß Fig. 3b ganz nach rechts verschoben worden ist.
- In Fig. 3b befindet sich der Geräteschalter 12 in seiner Ausstellung und ist durch den Arretierungsschalter 14 gegen unbeabsichtigtes Verstellen gesichert. In Fig. 3a nehmen der Arretierungschalter 14 und der Geräteschalter 12 eine Mittelstellung ein, in der die Noppen 48 der Schenkel 46 des Arretierungsschalters 14 sowie die Rippe 34 des Schenkels 32 des Geräteschalters an dem Steg 36 federelastisch anliegen. Wird beispielsweise der Geräteschalter 12 gem. Fig. 3b ganz nach rechts in eine Ausschaltstellung verstellt, so liegt der Geräteschalter 12 mit seinem Griffteil gegen eine Kante 62 des Begrenzungsteils 20 des Tragteiles 16 an, so daß eine weitere Verstellung des Geräteschalters 12 nach rechts verhindert wird. Gleichzeitig wird der Noppen 34 hinter den Steg 36 bewegt und rastet in der Offnung 26 ein aufgrund der federelastischen Ausbildung des Arretierungsteils 28. Nunmehr läßt sich der Arretierungsschalter 14 nach rechts verschieben, wobei das L-förmige Arretierungsteil 44 sich über das L-förmige Arretierungsteil 28 schiebt und somit verhindert, daß der Noppen 34 sich aus der Offnung 26 bewegen kann. Somit ist sichergestellt, daß der sich in Ausstellung befindliche Geräteschalter 12 sich nicht nach links in eine Betriebsstellung bewegen kann, da der Noppen 34 gesperrt durch den L-förmigen Arretierungsteil 44 des Arretierungsschalters 14 lediglich gegen die Kante 70 des Steges 36 zur Anlage kommt. Durch das Aufschieben des Arretierungsteiles 44 auf das Arretierungsteil 28 erhält man außerdem eine kraftschlüssige Verbindung zwischen den beiden Arretierungsteilen, die aufgrund der Reibung zwischen der Unterseite des Arretierungsteiles 44 und der Oberfläche des Arretierungsteiles 28 hervorgerufen wird. Das Arretierungsteil 44 kann ferner mit einer ebenfalls nicht in der Zeichnung dargestellten Noppe versehen sein, die in auf der Oberfläche des Arretierungsteiles 28 vorgesehene Vertiefungen einrasten kann. Hierdurch wird zusätzlich eine Verklemmung bzw. Verkeilung des Arretierungsteiles 44 mit dem Arretierungsteil 28 geschaffen. Somit wird der Geräteschalter 12 und der Arretierungsschalter 14 durch Formschlußelemente und Kraftschlußelemente nach Einnahme der Stellung gem. Fig. 3b gesichert. Da der Geräteschalter 12 und der Arretierungsschalter 14 in einer Ebene verschoben und ineinandergeschoben werden können, wird die Gesamtbauhöhe des Schaltorgans 10 gegenüber herkömmlichen Schaltorganen stark reduziert. Nimmt der Arretierungsschalter 14 die Stellung gem. Fig. 3b ein, so rasten ferner die Noppen 48 der Arretierungsteile 46 in die Aussparungen 60 des Tragteiles 16 ein. Hierdurch erhält man zwischen dem Arretierungsschalter 14 und dem Tragteil 16 eine formschlüssige Verbindung. Soll der Geräteschalter 12 wieder in einer Betriebsstellung verschoben werden, so muß zuerst der Arretierungsschalter 14 ganz nach links bis zur Anlage an das Begrenzungsteil 18 verschoben werden, wobei die Noppen 48 aus den Aussparungen 60 herausbewegt und über den Steg 36 in die Langlochöffnungen 40 überführt werden. Gleichzeitig gibt das L-förmige Arretierungsteil 44 das Arretierungsteil 28 des Geräteschalters 12 frei. Wird nunmehr der Geräteschalter 12 nach links verschoben, so gleitet der Noppen 34 auf der Unterseite 30 des Tragteiles 16 über den Steg 36 entlang in die Langlochöffnung 38 hinein, bis die Stirnseite 54 des Geräteschalters 12 gegen eine Stirnseite 66 des Arretierungsschalters 14 zur Anlage kommt. Aus dieser in Fig. 3c dargestellten Betriebsstellung kann der Gerätschalter 12 mangels einer Sperrwirkung durch das L-förmige Arretierungsteil 44 jederzeit nach rechts in die Ausschaltstellung zurückbewegt bzw. anschließend wieder in die Einschaltstellung bewegt werden.
- In Fig. 3b befindet sich der Geräteschalter 12 in seiner Ausschaltstellung, wobei die Noppe 34 gegen eine Kante 70 des die Offnung 26 begrenzenden Steges 36 anliegt. In dieser Stellung ist das zwischen den Wänden 61 vorgesehen Kontaktelement 72 mit Abstand zu einem weiteren im Gehäuse des Gerätes vorgesehen Kontaktelement 74 angeordnet, so daß der Stromkreis des elektrischen Antriebes des Gerätes unterbrochen ist. Zur Sicherung des Arretierungsteiles 28 ist ein L-förmiges Arretierungsteil 44 über das vordere Ende des Arretierungsteiles 28 geschoben und verhindert, daß der Noppen 34 sich über die Kante 70 und den Steg 36 auf der Unterseite 30 des Tragteiles 16 bzw. des Gehäuses bewegen kann. Somit verhindert das Arretierungsteil 44 eine Verstellung des Geräteschalters 12 in eine Betriebsstellung.
- Zur Verstellung des Geräteschalters 12 in eine Betriebsstellung gemäß Fig. 3c braucht lediglich der Arretierungschalter 14 nach links bewegt zu werden, so daß nunmehr der Noppen 34 über die Kante 70 des Steges 36 in die Langlochöffnung 38, die zur Aufnahme des Formschlußelementes 28 des Geräteschalters 14 vorgesehen ist, bewegt werden kann. Dabei federt der Noppen 34 aufgrund der federelastischen Ausbildung des Arretierungsteils 28 über den Steg 36 in die Langlochöffnung 38 hinein. In dieser Betriebsstellung legt sich das von dem Geräteschalter 12 mitgenommene Kontaktelement 72 des elektrischen Stromkreises an dem Kontaktelement 74 an und schließt den elektrischen Stromkreis, um den elektrischen Antrieb des Gerätes in Betrieb zu setzen.
- In den weiteren Ausführungsformen nach den Figuren 4a bis 6b sind Arretierungsschalter und Geräteschalter mit U-förmigen Arretierungsbügeln ausgestattet, die ineinander verschiebbar sind und somit zur Sicherung des Geräteschalters dienen.
- Wie aus Fig. 4a und 4b hervorgeht, ist der Geräteschalter 12 ebenfalls in einem Tragteil 16 bzw. einem Gehäuse verschiebbar aufgenommen und mit einem U-förmigen Arretierungsbügel 80 ausgestattet, der aus zwei parallel zueinander verlaufenden federlastischen Schenkeln 82 und 84 besteht, die endseitig Noppen 34 aufweisen. Wird nunmehr der Geräteschalter 12 aus einer Betriebsstellung in seine Ausstellung gem. Fig. 4b verstellt, so werden die beiden Noppen 34 an einem am Tragteil 16 vorgesehenen Bolzen 37 vorbeibewegt, so daß die Noppen 34 an der Rückseite des Bolzens wieder zur Anlage kommen. Damit nunmehr der Geräteschalter 12 nicht mehr verstellt werden kann, wird der Arretierungsschalter 14 mit der U-förmigen Aussparung 88 auf die Schenkel 82 und 84 des Arretierungsbügels 80 aufgeschoben, wobei die Schenkel 83 und 85 eine Klemmwirkung auf die Schenkel 82 und 84 ausüben. Nunmehr können bei einer Bewegung des Geräteschalters 12 nach links die beiden Schenkel 82 und 84 nicht mehr auseinanderbewegt werden, so daß eine Verstellung des Geräteschalters 12 infolge der am feststehenden Bolzen 37 anliegenden Schenkel 82 und 84 ausgeschlossen ist. Der Geräteschalter 12 läßt sich erst wieder verstellen, nachdem der Arretierungsschalter 14 nach links verstellt worden ist, so daß dann wieder die Noppen 34 an dem Bolzen 37 vorbeibewegt werden können.
- Nach dem Ausführungsbeispiel gemäß den Figuren 5a und 5d ist in der Trennwand 16 eine die Trennwand durchsetzende Offnung 87 sowie eine den Schiebeweg des Geräteschalters 12 und des Arretierungsschalters 14 begrenzende Vertiefung 24 vorgesehen. Innerhalb der Offnung 87 ist an der Trennwand 16 ein U-förmiger Arretierungsbügel 79, bestehend aus zwei federelastisch ausgebildeten Schenkeln 82 und 84, die endseitig mit Noppen 35 versehen sind, angeformt. In der in den Figuren 5a und 5b dargestellten Ausschaltstellung des Geräteschalters 12 umgreifen die Schenkel 82 und 84 mit den Noppen 35 den Bolzen 86, der als Bestandteil des Geräteschalters 12 an diesem angeformt ist. An dem Arretierungsschalter 14 ist ein in die Offnung 87 hineinragender, U-förmiger Arretierungsbügel 81 vorgesehen, dessen Schenkel 83 und 85 die Schenkel 82 und 84 umgreifen, um eine Spreizbewegung der Schenkel 82 und 84, auslösbar durch den über dem Geräteschalter 12 verschiebbaren Bolzen 86, zu verhindern. Quer zur Schieberichtung des Arretierungsschalters 14 sind an dem Arretierungsschalter 14 zwei Rastnasen 90 und 92 vorgesehen, die in in den Seitenwänden 100 und 102 der Offnung 87 vorgesehenen Rastnuten 94, 96 oder 97, 98 eingreifen, und zwar in Abhängigkeit von der jeweiligen Schaltstellung des Arretierungsschalters 14. Die Rastnasen 90 und 92 sind vorzugsweise an zwei federelastisch ausgebildeten Haken 58 angeformt, die zur leichten Montage und Halterung des Arretierungsteils 14 in der Offnung 87 der Trennwand 16 - wie aus Fig. 5d ersichtlich - an dem Arretierungsteil 14 die Trennwand 16 teilweise untergreifend vorgesehen sind, wobei die Dimensionierung der Rastnasen 90, 92 derart getroffen ist, daß unter Ausnutzung der federelastischen Eigenschaften der Haken 58 eine Verschiebung des Arretierungsteils 14 bis gleichzeitiger Aufrechterhaltung der Halterung des Arretierungsteils 14 mittels der Haken 58 vollzogen werden kann.
- An dem Geräteschalter 12 sind, wie in den Figuren 5a bis 5c dargestellt, im Bereich der Seitenwände 100, 102 der Trennwand 16 ebenfalls federelastisch ausgebildete Haken 56 angeformt, die die Trennwand 16 zur Führung und Halterung des Geräteschalters 12 teilweise untergreifen.
- In den Darstellungen nach den Figuren 5a und 5b befindet sich der Geräteschalter 12 in seiner Ausschaltstellung, in der er durch den Arretierungsschalter 14 gegen unabsichtliche Schiebebewegungen gehalten ist. Die Rastnasen 90 und 92 des Arretierungsschalters befinden sich im Eingriff mit entsprechenden Rastnuten 94 und 96. Die Schenkel 83 und 85 des U-förmigen Arretierungsbügels des Arretierungsschalters 14 umgreifen die federelastisch ausgebildeten Schenkel 82 und 84 des U-förmigen Arretierungsbügels 79 und verhindern somit eine Spreizbewegung dieser Schenkel 82 und 84, die unerläßlich ist für eine Freigabe bzw. Verschiebung des Geräteschalters 12, dessen zwischen den Schenkeln 82 und 84 befindlicher Bolzen 86 von den Schenkeln 82 und 84 und den an diesen angeformten Noppen 35 gegen Verschiebung gesichert ist.
- Mittels Verschiebung des Arretierungsschalters 14 nach links in die in Fig. 5c dargestellte Raststellung, in der sich die Rastnasen 90 und 92 im Eingriff mit den Rastnuten 97 und 98 befinden, wird die Sperrung der Schenkel 82 und 84 durch die Schenkel 83 und 85 aufgehoben. Der Geräteschalter 12 kann numehr ebenfalls nach links in eine Betriebsstellung bewegt werden, wobei der Bolzen 86 auf die Noppen 35 einwirkt und unter Ausnutzung der federelastischen Eigenschaften der Schenkel 82 und 84 eine Spreizbewegung dieser Schenkel bewirkt, in deren Verlauf der Bolzen 86 zwischen den Noppen 35 hindurchgleitet, um die in Fig. 5c dargestellte Schaltstellung, die der Betriebsstellung des Geräteschalters 12 entspricht, einzunehmen, in der der elektrische Stromkreis eines elektrischen Antriebes von einem in den Figuren 5a - 5c nicht dargestellten, an dem Geräteschalter 12 jedoch vorgesehenen Kontaktelement geschlossen wird.
- Der Geräteschalter 12 wird über den Bolzen 86 von den federelastischen Schenkeln 82, 84 und den an diesen angeformten Noppen 35 sowohl in Betriebsstellung als auch in Ausschaltstellung gehalten und ist unter Ausnutzung der federelastischen Eigenschaften der Schenkel 82, 84 von der jeweiligen Schaltstellung in die andere Schaltstellung überführbar. In Ausschaltstellung ist der Geräteschalter 12 durch Aufschieben der Schenkel 83 und 85 des U-förmigen Arretierungsbügels 81 des Arretierungsschalters 14 auf die Schenkel 82 und 84 der Trennwand 16 feststellbar gegen jegliche auf den Geräteschalter 12 einwirkende Schiebebewegung.
- In dem Ausführungsbeispiel nach den Figuren 6a und 6b ist in der Trennwand 16 eine Vertiefung 24 vorgesehen, in der der Geräteschalter 12 sowie der Arretierungsschalter 14 verschiebbar gelagert sind. Der Geräteschalter 12 ist mittels vier Haken 56, die durch entsprechende, in der Trennwand 16 vorgesehene Langlochöffnungen 104 hindurchgeführt sind und die Trennwand 16 untergreifen, gleitend befestigt. Zwei weitere, in der Trennwand 16 vorgesehene Langlochöffnungen 106, die von entsprechenden, am Arretierungsschalter 14 angeformten Haken 58 durchsetzt werden, die die Trennwand 16 untergreifen, dienen der gleitenden Befestigung des Arretierungsschalters 14 auf der Trennwand 16.
- An dem Geräteschalter 12 ist ein U-förmiger Arretierungsbügel 80 vorgesehen, dessen federelastisch ausgebildete Schenkel 82 und 84 mit daran angeformten Noppen 34 an den beiden Längsseitenwänden 108 und 110 der Vertiefung 24 anliegen. Der Arretierungsschalter 14 besteht aus einem zwischen die Schenkel 82 und 84 einschiebbaren, U-förmigen Bügel 81, dessen federelastisch ausgebildete Schenkel 83 und 85 mit Noppen 35 versehen sind, die an den Längsseitenwänden 108 und 110 anliegen sowie einem Betätigungselement 114, das durch eine im Geräteschalter 12 vorgesehene Offnung 112 hindurchgeführt ist, wobei die Offnung 112 derart gestaltet ist, daß eine ungehinderte Verschiebung des Arretierungsschalters 14 über das Betätigungselement 114 gewährleistet ist.
- In die Längsseitenwände 108 und 110 sind mittels Vorsprünge 115, 116, 118 Rastpositionen 121, 122, 119 und 120 eingeformt, in die die Noppen 34, 35 der sich in gleicher Richtung erstreckenden Schenkel 82, 84, 83 und 85 eingreifen, um sowohl den Geräteschalter 12 als auch den Arretierungsschalter 14 in durch die jeweilige Rastposition bestimmten Schaltstellungen zu halten.
- In Fig. 6b befindet sich der Geräteschalter 12 in seiner Ausstellung, in der er durch den zwischen die Schenkel 82 und 84 eingeschobenen Arretierungsschalter 14 gesichert ist. Durch Verschiebung des Arretierungsschalters 14 nach links, wobei die federelastischen Schenkel 83 und 85 mit den Noppen 35 über an den Seitenwänden 108 und 110 vorgesehene Vorsprünge 116 federn, wird der Arretierungsschalter 14 aus der dargestellten Sperrstellung in eine Freigabestellung gebracht, in der die Noppen 35 sich in Anlage an den Rastpositionen 120 befinden. Der demzufolge entsperrte Geräteschalter 12 kann nunmehr aufgrund der federelastisch ausgebildeten Schenkel 82 und 84 von der dargestellten Ausschaltstellung in die Betriebsstellung überführt werden, die nach Umgleiten der Vorsprünge 118 durch die an den Schenkeln 82 und 84 vorgesehenen Noppen 34 erreicht ist. Der Geräteschalter 12 ist mit einem nicht dargestellten Kontaktelement versehen, das in Betriebsstellung des Geräteschalters den elektrischen Stromkreis eines elektrischen Antriebes schließt.
Claims (15)
- Schalter für ein Gerät des persönlichen Bedarfs bestehend aus einem Geräteschalter (12) zur Ein- und Ausschaltung eines in einem Gerätegehäuse vorgesehenen, elektrisch betreibbaren Antriebsteiles sowie einem Arretierungsschalter (14), der in den Schaltweg des Geräteschalters (12) bewegbar ist, dadurch gekennzeichnet, daß der Arretierungsschalter (14) und der Geräteschalter (12) beim Aus- bzw. Einschalten jeweils in der gleichen Richtung geradlinig bewegbar sind, saß der Geräteschalter (12) und/oder der Arretierungsschalter (14) Form- und/oder Kraftschlußelemente aufweisen, die ineinander verschiebbar bzw. in Eingriff bringbar sind, um den Geräteschalter (12) mittels des Arretierungsschalters (14) in Ausschaltstellung zu sichern, und daß der Geräteschalter (12) sowie der Arretierungsschalter (14) auf einem Tragteil (16) des Gerätegehäuses aufgenommen sind.
- Schalter nach Anspruch 1, dadurch gekennzeichnet, daß der Geräteschalter (12) wenigstens ein Formschlußelement (28, 80, 86) aufweist, das mittels wenigstens eines am Tragteil (16) vorgesehenen Rastelements (36, 37, 79, 118) in vorgegebenen Schaltpositionen gehalten ist.
- Schalter nach Anspruch 1, dadurch gekennzeichnet, daß der Arretierungsschalter (14) Arretierungsteile (46, 83, 85, 90, 92) aufweist, die in am Tragteil (16) vorgesehenen Rastpositionen (40, 60, 94, 96, 97, 98, 119, 120) verschiebbar sind.
- Schalter nach Anspruch 2, dadurch gekennzeichnet, daß das Formschlußelement (28) des Geräteschalters (12) aus einem federelastischen, L-förmigen Arretierungsteil mit einem am Schenkel (32) angeformten Noppen (34) besteht.
- Schalter nach Anspruch 2, dadurch gekennzeichnet, daß das Formschlußelement (80) des Geräteschalters (12) als U-förmiger Arretierungsbügel ausgebildet ist, an dessen elastisch ausgebildeten Schenkeln (82, 84) jeweils ein Noppen (34) angeformt ist.
- Schalter nach Anspruch 2, dadurch gekennzeichnet, daß das Formschlußelement (86) des Geräteschalters (12) als Bolzen am Geräteschalter (12) angeformt ist.
- Schalter nach Anspruch 2, dadurch gekennzeichnet, daß das Rastelement (36) aus einem zwischen zwei im Tragteil (16) vorgesehenen Langlochöffnungen (26, 38) befindlichen Steg gebildet ist.
- Schalter nach Anspruch 2, dadurch gekennzeichnet, daß das Rastelement (37) als Bolzen am Tragteil (16) angeformt ist.
- Schalter nach Anspruch 2, dadurch gekennzeichnet, daß das Rastelement (79) aus einem an der Trennwand (16) angeformten U-förmigen Arretierungsbügel besteht, an dessen federelastischen Schenkeln (82, 84) jeweils ein Noppen (35) angeformt ist.
- Schalter nach einem der vorhergehenden Ansprüche 4, 5 und 9, dadurch gekennzeichnet, daß der Arretierungsschalter (14) wenigstens ein Kraftschlußelement (44, 81) aufweist, das in den Federweg der Formschlußelemente (28, 80) des Geräteschalters (12) verschiebbar ist.
- Schalter nach Anspruch 9 oder 10, dadurch gekennzeichnet, daß der Arretierungsschalter (14) wenigstens ein Kraftschlußelement (81) aufweist, das in den Federweg der federelastischen Schenkel (82, 84) des Rastelementes (79) der Trennwand (16) verschiebbar ist.
- Schalter nach Anspruch 10, dadurch gekennzeichnet, daß das Kraftschlußelement (44) als L-förmiges Arretierungsteil ausgebildet ist, das in Ausschaltstellung des Geräteschalters (12) auf dessen Formschlußelement (28) aufschiebbar ist.
- Schalter nach Anspruch 10, dadurch gekennzeichnet, daß das Kraftschlußelement (81) als U-förmiger Arretierungsbügel ausgebildet ist, dessen Schenkel (83, 85) in Ausschaltstellung des Geräteschalters (12) auf die Schenkel (82, 84) des Formschlußelementes (80) des Geräteschalters (12) aufschiebbar sind.
- Schalter nach Anspruch 10, dadurch gekennzeichnet, daß das Kraftschlußelement (81) als U-förmiger Arretierungsbügel ausgebildet ist, dessen die Schenkel (83 und 85) verbindender Bügelsteg (123) zwischen die Schenkel (82, 84) des Formschlußelementes (80) schiebbar ist.
- Schalter nach einem der vorhergehenden Ansprüche, dadurch gekennzeichnet, daß in wenigstens einer der Längsseitenwände (110, 108) der Tragteils (16) die Rastpositionen (121, 122, 119, 120) mittels angeformter Vorsprünge (118, 115, 116) gebildet sind.
Applications Claiming Priority (2)
| Application Number | Priority Date | Filing Date | Title |
|---|---|---|---|
| DE3727921 | 1987-08-21 | ||
| DE3727921A DE3727921C1 (de) | 1987-08-21 | 1987-08-21 | Schalter zur Ein- und Ausschaltung eines elektrisch betreibbaren Antriebsteiles eines Geraetes |
Publications (3)
| Publication Number | Publication Date |
|---|---|
| EP0307601A2 EP0307601A2 (de) | 1989-03-22 |
| EP0307601A3 EP0307601A3 (en) | 1990-08-22 |
| EP0307601B1 true EP0307601B1 (de) | 1995-02-15 |
Family
ID=6334198
Family Applications (1)
| Application Number | Title | Priority Date | Filing Date |
|---|---|---|---|
| EP88112523A Expired - Lifetime EP0307601B1 (de) | 1987-08-21 | 1988-08-02 | Geräteschalter mit Einschaltschutz |
Country Status (6)
| Country | Link |
|---|---|
| US (1) | US4882458A (de) |
| EP (1) | EP0307601B1 (de) |
| JP (2) | JPS6481132A (de) |
| AT (1) | ATE118642T1 (de) |
| DE (2) | DE3727921C1 (de) |
| HK (1) | HK92796A (de) |
Cited By (2)
| Publication number | Priority date | Publication date | Assignee | Title |
|---|---|---|---|---|
| DE19745714A1 (de) * | 1997-10-16 | 1999-05-06 | Braun Gmbh | Schalter für ein Gerät des persönlichen Bedarfs |
| DE10310163A1 (de) * | 2003-03-08 | 2004-09-16 | Braun Gmbh | Schiebeschalter |
Families Citing this family (25)
| Publication number | Priority date | Publication date | Assignee | Title |
|---|---|---|---|---|
| US5268674A (en) * | 1992-01-31 | 1993-12-07 | Apple Computer, Inc. | Mechanically latching mouse button |
| DE4229756A1 (de) * | 1992-09-05 | 1994-03-10 | Abb Patent Gmbh | Elektrisches Schaltgerät |
| DE4236516C2 (de) * | 1992-10-29 | 2003-06-18 | Ascom Audiosys Ag Flamatt | Fernbedienung mit verschiebbarer Abdeckklappe |
| US5383875A (en) * | 1994-05-31 | 1995-01-24 | Zimmer, Inc. | Safety device for a powered surgical instrument |
| DE4439905A1 (de) * | 1994-11-08 | 1996-05-09 | Teves Gmbh Alfred | Getriebeschalter mit Schaltsperre durch Schiebetaste |
| US5738206A (en) * | 1997-04-16 | 1998-04-14 | Leviton Manufacturing Co., Inc. | Child resistant switch lock |
| DE19911317A1 (de) * | 1999-03-13 | 2000-09-28 | Braun Gmbh | Verfahren zum Betreiben eines elektrischen Geräts sowie elektrisches Gerät mit Einschaltschutz |
| DE29920439U1 (de) | 1999-11-22 | 2000-02-03 | Schreiber, Raimund, 76307 Karlsbad | Fernbediengerät |
| KR100384315B1 (ko) * | 2000-12-18 | 2003-05-16 | 대부기공주식회사 | 자동차용 시트레일의 로킹시스템 |
| US20020152576A1 (en) * | 2001-04-20 | 2002-10-24 | Pro-Team, Inc. An Idaho Corporation | Method and apparatus for improved use, maintenance and management of floor maintenance equipment |
| WO2002090865A2 (en) * | 2001-05-07 | 2002-11-14 | Vito Cellini | A baton |
| US7040559B2 (en) | 2004-04-02 | 2006-05-09 | Fellowes Inc. | Shredder with lock for on/off switch |
| DE102005002421A1 (de) * | 2005-01-18 | 2006-07-27 | Leopold Kostal Gmbh & Co. Kg | Betätigungseinrichtung zur Ansteuerung eines fremdkraftbetätigten Aggregats zum Öffnen und Schließen einer Karosserieöffnung eines Kraftfahrzeugs |
| JP4774919B2 (ja) * | 2005-10-31 | 2011-09-21 | アイシン精機株式会社 | 車両用シートスライド装置 |
| CN2915259Y (zh) | 2006-07-14 | 2007-06-27 | 上海震旦办公设备有限公司 | 碎纸机触碰安全装置 |
| US8008812B2 (en) | 2006-07-14 | 2011-08-30 | Aurora Office Equipment Co., Ltd. | Paper shredder control system responsive to touch-sensitive element |
| CN201239643Y (zh) | 2008-08-06 | 2009-05-20 | 上海震旦办公设备有限公司 | 不择纸的全自动碎纸机 |
| CN201244502Y (zh) | 2008-08-19 | 2009-05-27 | 上海震旦办公设备有限公司 | 自动碎纸机可剃钉结构 |
| CN101543800A (zh) | 2009-05-07 | 2009-09-30 | 上海震旦办公设备有限公司 | 碎纸机防卡纸保护装置 |
| US8723468B2 (en) | 2011-04-28 | 2014-05-13 | Aurora Office Equipment Co., Ltd. | Cooled motor |
| US8708260B2 (en) | 2011-08-08 | 2014-04-29 | Aurora Office Equipment Co., Ltd. | Depowered standby paper shredder and method |
| DE102011084464B4 (de) * | 2011-10-13 | 2013-09-05 | Dewert Antriebs- Und Systemtechnik Gmbh | Mechanisch sperrbare Kabelfernbedienung |
| JP6167304B2 (ja) * | 2014-08-18 | 2017-07-26 | パナソニックIpマネジメント株式会社 | ハンドブレンダ |
| GB2573289B (en) * | 2018-04-30 | 2021-06-30 | Lister Shearing Equip Ltd | Improvement in or Relating to Clippers |
| US12502760B2 (en) | 2021-02-25 | 2025-12-23 | Black & Decker Inc. | Compact powered wrench |
Family Cites Families (13)
| Publication number | Priority date | Publication date | Assignee | Title |
|---|---|---|---|---|
| DE1947573U (de) * | 1966-07-20 | 1966-10-13 | Wietek & Co Elektrotechn | Schiebeschalter, insbesondere fuer taschenleuchten. |
| US3839614A (en) * | 1973-03-16 | 1974-10-01 | Schick Inc | Appliance control system |
| US4112271A (en) * | 1976-12-20 | 1978-09-05 | Sperry Rand Corporation | Counter device associated with switch actuator of electrical shaver to determine battery recharging and use |
| DD139689A1 (de) * | 1977-10-25 | 1980-01-16 | Walter Hammerschmidt | Batterieraumabdeckungsverriegelung und schalter fuer batteriebetriebene spielzeuge |
| DE2850120A1 (de) * | 1977-11-21 | 1979-05-23 | Black & Decker Mfg Co | Schalter-betaetigungseinrichtung |
| US4180712A (en) * | 1978-07-13 | 1979-12-25 | Switchcraft, Inc. | Slide switch |
| JPS6047250B2 (ja) * | 1979-02-05 | 1985-10-21 | 住友化学工業株式会社 | 1,6,8↓−デカトリエンの製造方法 |
| FR2515349A1 (fr) * | 1981-10-26 | 1983-04-29 | Commissariat Energie Atomique | Dispositif de prelevement d'echantillons liquides et banc de prelevement utilisant un tel dispositif |
| US4504707A (en) * | 1982-03-15 | 1985-03-12 | Kyushu Hitachi Maxell, Ltd. | Push-button switch locking device for use in electric appliance |
| DE3309221A1 (de) * | 1982-03-15 | 1983-10-20 | Kyushu Hitachi Maxell Ltd., Fukuoka | Elektrischer rasierapparat |
| JPS59144924A (ja) * | 1983-02-08 | 1984-08-20 | Canon Inc | 電子機器 |
| DE3315643C2 (de) * | 1983-04-29 | 1985-08-08 | Braun Ag, 6000 Frankfurt | Automatischer Einschaltschutz |
| JPS6071A (ja) * | 1983-06-15 | 1985-01-05 | Matsushita Electric Works Ltd | 電池による負荷駆動装置 |
-
1987
- 1987-08-21 DE DE3727921A patent/DE3727921C1/de not_active Expired
-
1988
- 1988-08-02 AT AT88112523T patent/ATE118642T1/de not_active IP Right Cessation
- 1988-08-02 US US07/227,150 patent/US4882458A/en not_active Expired - Lifetime
- 1988-08-02 DE DE3853031T patent/DE3853031D1/de not_active Expired - Fee Related
- 1988-08-02 EP EP88112523A patent/EP0307601B1/de not_active Expired - Lifetime
- 1988-08-19 JP JP63206240A patent/JPS6481132A/ja active Pending
-
1996
- 1996-05-30 HK HK92796A patent/HK92796A/xx not_active IP Right Cessation
-
1997
- 1997-06-23 JP JP1997005379U patent/JP2606915Y2/ja not_active Expired - Lifetime
Cited By (3)
| Publication number | Priority date | Publication date | Assignee | Title |
|---|---|---|---|---|
| DE19745714A1 (de) * | 1997-10-16 | 1999-05-06 | Braun Gmbh | Schalter für ein Gerät des persönlichen Bedarfs |
| DE19745714C2 (de) * | 1997-10-16 | 2000-04-27 | Braun Gmbh | Schiebeschalter für ein Gerät des persönlichen Bedarfs |
| DE10310163A1 (de) * | 2003-03-08 | 2004-09-16 | Braun Gmbh | Schiebeschalter |
Also Published As
| Publication number | Publication date |
|---|---|
| JPS6481132A (en) | 1989-03-27 |
| HK92796A (en) | 1996-06-07 |
| ATE118642T1 (de) | 1995-03-15 |
| JP2606915Y2 (ja) | 2001-02-19 |
| US4882458A (en) | 1989-11-21 |
| DE3853031D1 (de) | 1995-03-23 |
| EP0307601A2 (de) | 1989-03-22 |
| EP0307601A3 (en) | 1990-08-22 |
| DE3727921C1 (de) | 1989-01-05 |
| JPH10116U (ja) | 1998-05-06 |
Similar Documents
| Publication | Publication Date | Title |
|---|---|---|
| EP0307601B1 (de) | Geräteschalter mit Einschaltschutz | |
| EP0392200B1 (de) | Sicherheits-Türschloss für Türen von Elektrogeräten | |
| DE4025382A1 (de) | Verbessertes schloss mit zuschlagwirkung mit auswurffeder | |
| DE1129587B (de) | Elektrischer Schnappschalter mit zwei unter Zugfederspannung am Stoessel gehalterten Kontaktarmen | |
| DE4202214A1 (de) | Elektrischer schalter | |
| DE676325T1 (de) | Rastfeder für Drehhandgriff-Betätigungseinrichtung. | |
| DE2028499C3 (de) | Elektrische Schaltvorrichtung | |
| DE8424056U1 (de) | Schraubenlose Anschlußklemme für elektrische Geräte, insbesondere für Installationsgeräte | |
| DE2509566C2 (de) | Elektrischer befehlsschalter | |
| DE2559861B1 (de) | Verriegelbarer Drucktastenschalter | |
| DE10216209C1 (de) | Berührungsschutzvorrichtung mit Längsschieber für eine elektrische Steckdose | |
| DE3485796T2 (de) | Adaptierungsvorrichtung zur seitlichen betaetigung eines schiebeschalters. | |
| DE2144756C3 (de) | Fernbetätigungsvorrichtung, insbesondere für Kraftfahrzeugtürschlösser | |
| DE4336931C2 (de) | In eine elektrische Schutzkontaktsteckdose nachträglich einsetzbare Kinderschutzsicherung | |
| DE68908003T2 (de) | Vorrichtung zum Manövrieren des Klemmechanismus modularer elektrischer Geräte. | |
| DE29502987U1 (de) | Ausklinkbares Schnappschloß | |
| EP0302249B1 (de) | Druckknopfbetätigter Überstromschutzschalter | |
| DE3107440A1 (de) | Elektrischer schalter, insbesondere zur anordnung im schalthebelende eines lenkstockschalters | |
| DE3707491C2 (de) | ||
| DE2702555C2 (de) | Drucktasten-Schalterblock | |
| DE10211814C1 (de) | Schutzkontaktsteckdose mit im Steckdosensockel integrierter Berührungsschutzvorrichtung | |
| DE2904646B1 (de) | Drucktastenschalter | |
| EP0464174B1 (de) | Gurtschloss für gurt-rückhaltesysteme | |
| DE3324253A1 (de) | Tastenschalter | |
| DE3513028C2 (de) | Fassung zur Halterung einer Vielzahl von Anschlußstiften |
Legal Events
| Date | Code | Title | Description |
|---|---|---|---|
| PUAI | Public reference made under article 153(3) epc to a published international application that has entered the european phase |
Free format text: ORIGINAL CODE: 0009012 |
|
| AK | Designated contracting states |
Kind code of ref document: A2 Designated state(s): AT CH DE FR GB LI NL |
|
| PUAL | Search report despatched |
Free format text: ORIGINAL CODE: 0009013 |
|
| AK | Designated contracting states |
Kind code of ref document: A3 Designated state(s): AT CH DE FR GB LI NL |
|
| 17P | Request for examination filed |
Effective date: 19900911 |
|
| 17Q | First examination report despatched |
Effective date: 19920717 |
|
| GRAA | (expected) grant |
Free format text: ORIGINAL CODE: 0009210 |
|
| AK | Designated contracting states |
Kind code of ref document: B1 Designated state(s): AT CH DE FR GB LI NL |
|
| REF | Corresponds to: |
Ref document number: 118642 Country of ref document: AT Date of ref document: 19950315 Kind code of ref document: T |
|
| GBT | Gb: translation of ep patent filed (gb section 77(6)(a)/1977) |
Effective date: 19950203 |
|
| REF | Corresponds to: |
Ref document number: 3853031 Country of ref document: DE Date of ref document: 19950323 |
|
| ET | Fr: translation filed | ||
| RAP2 | Party data changed (patent owner data changed or rights of a patent transferred) |
Owner name: BRAUN AKTIENGESELLSCHAFT |
|
| REG | Reference to a national code |
Ref country code: CH Ref legal event code: PFA Free format text: BRAUN AKTIENGESELLSCHAFT TRANSFER- BRAUN AKTIENGESELLSCHAFT |
|
| NLT2 | Nl: modifications (of names), taken from the european patent patent bulletin |
Owner name: BRAUN AKTIENGESELLSCHAFT |
|
| PLBE | No opposition filed within time limit |
Free format text: ORIGINAL CODE: 0009261 |
|
| STAA | Information on the status of an ep patent application or granted ep patent |
Free format text: STATUS: NO OPPOSITION FILED WITHIN TIME LIMIT |
|
| 26N | No opposition filed | ||
| REG | Reference to a national code |
Ref country code: FR Ref legal event code: CD Ref country code: FR Ref legal event code: CA |
|
| REG | Reference to a national code |
Ref country code: CH Ref legal event code: PFA Free format text: BRAUN AKTIENGESELLSCHAFT TRANSFER- BRAUN AKTIENGESELLSCHAFT;BRAUN GMBH Ref country code: CH Ref legal event code: NV Representative=s name: BOSSHARD & LUCHS PATENTANWAELTE;LUCHS & PARTNER PA |
|
| REG | Reference to a national code |
Ref country code: GB Ref legal event code: IF02 |
|
| PGFP | Annual fee paid to national office [announced via postgrant information from national office to epo] |
Ref country code: GB Payment date: 20020722 Year of fee payment: 15 |
|
| PGFP | Annual fee paid to national office [announced via postgrant information from national office to epo] |
Ref country code: FR Payment date: 20020820 Year of fee payment: 15 |
|
| PGFP | Annual fee paid to national office [announced via postgrant information from national office to epo] |
Ref country code: CH Payment date: 20020903 Year of fee payment: 15 |
|
| PG25 | Lapsed in a contracting state [announced via postgrant information from national office to epo] |
Ref country code: GB Free format text: LAPSE BECAUSE OF NON-PAYMENT OF DUE FEES Effective date: 20030802 |
|
| PGFP | Annual fee paid to national office [announced via postgrant information from national office to epo] |
Ref country code: NL Payment date: 20030819 Year of fee payment: 16 |
|
| PGFP | Annual fee paid to national office [announced via postgrant information from national office to epo] |
Ref country code: AT Payment date: 20030820 Year of fee payment: 16 |
|
| PG25 | Lapsed in a contracting state [announced via postgrant information from national office to epo] |
Ref country code: LI Free format text: LAPSE BECAUSE OF NON-PAYMENT OF DUE FEES Effective date: 20030831 Ref country code: CH Free format text: LAPSE BECAUSE OF NON-PAYMENT OF DUE FEES Effective date: 20030831 |
|
| GBPC | Gb: european patent ceased through non-payment of renewal fee |
Effective date: 20030802 |
|
| REG | Reference to a national code |
Ref country code: CH Ref legal event code: PL |
|
| PG25 | Lapsed in a contracting state [announced via postgrant information from national office to epo] |
Ref country code: FR Free format text: LAPSE BECAUSE OF NON-PAYMENT OF DUE FEES Effective date: 20040430 |
|
| REG | Reference to a national code |
Ref country code: FR Ref legal event code: ST |
|
| PGFP | Annual fee paid to national office [announced via postgrant information from national office to epo] |
Ref country code: DE Payment date: 20040731 Year of fee payment: 17 |
|
| PG25 | Lapsed in a contracting state [announced via postgrant information from national office to epo] |
Ref country code: AT Free format text: LAPSE BECAUSE OF NON-PAYMENT OF DUE FEES Effective date: 20040802 |
|
| PG25 | Lapsed in a contracting state [announced via postgrant information from national office to epo] |
Ref country code: NL Free format text: LAPSE BECAUSE OF NON-PAYMENT OF DUE FEES Effective date: 20050301 |
|
| NLV4 | Nl: lapsed or anulled due to non-payment of the annual fee |
Effective date: 20050301 |
|
| PG25 | Lapsed in a contracting state [announced via postgrant information from national office to epo] |
Ref country code: DE Free format text: LAPSE BECAUSE OF NON-PAYMENT OF DUE FEES Effective date: 20060301 |

