WO2021117501A1 - 配線回路基板の製造方法 - Google Patents

配線回路基板の製造方法 Download PDF

Info

Publication number
WO2021117501A1
WO2021117501A1 PCT/JP2020/044169 JP2020044169W WO2021117501A1 WO 2021117501 A1 WO2021117501 A1 WO 2021117501A1 JP 2020044169 W JP2020044169 W JP 2020044169W WO 2021117501 A1 WO2021117501 A1 WO 2021117501A1
Authority
WO
WIPO (PCT)
Prior art keywords
wiring
resist
seed film
forming
thickness direction
Prior art date
Legal status (The legal status is an assumption and is not a legal conclusion. Google has not performed a legal analysis and makes no representation as to the accuracy of the status listed.)
Ceased
Application number
PCT/JP2020/044169
Other languages
English (en)
French (fr)
Japanese (ja)
Inventor
伊藤 正樹
隼人 高倉
顕也 滝本
Current Assignee (The listed assignees may be inaccurate. Google has not performed a legal analysis and makes no representation or warranty as to the accuracy of the list.)
Nitto Denko Corp
Original Assignee
Nitto Denko Corp
Priority date (The priority date is an assumption and is not a legal conclusion. Google has not performed a legal analysis and makes no representation as to the accuracy of the date listed.)
Filing date
Publication date
Application filed by Nitto Denko Corp filed Critical Nitto Denko Corp
Priority to KR1020227018620A priority Critical patent/KR102901557B1/ko
Priority to US17/783,206 priority patent/US20230007783A1/en
Priority to CN202080085687.7A priority patent/CN114788423A/zh
Publication of WO2021117501A1 publication Critical patent/WO2021117501A1/ja
Anticipated expiration legal-status Critical
Ceased legal-status Critical Current

Links

Images

Classifications

    • HELECTRICITY
    • H05ELECTRIC TECHNIQUES NOT OTHERWISE PROVIDED FOR
    • H05KPRINTED CIRCUITS; CASINGS OR CONSTRUCTIONAL DETAILS OF ELECTRIC APPARATUS; MANUFACTURE OF ASSEMBLAGES OF ELECTRICAL COMPONENTS
    • H05K3/00Apparatus or processes for manufacturing printed circuits
    • H05K3/10Apparatus or processes for manufacturing printed circuits in which conductive material is applied to the insulating support in such a manner as to form the desired conductive pattern
    • H05K3/108Apparatus or processes for manufacturing printed circuits in which conductive material is applied to the insulating support in such a manner as to form the desired conductive pattern by semi-additive methods; masks therefor
    • HELECTRICITY
    • H05ELECTRIC TECHNIQUES NOT OTHERWISE PROVIDED FOR
    • H05KPRINTED CIRCUITS; CASINGS OR CONSTRUCTIONAL DETAILS OF ELECTRIC APPARATUS; MANUFACTURE OF ASSEMBLAGES OF ELECTRICAL COMPONENTS
    • H05K3/00Apparatus or processes for manufacturing printed circuits
    • H05K3/10Apparatus or processes for manufacturing printed circuits in which conductive material is applied to the insulating support in such a manner as to form the desired conductive pattern
    • H05K3/18Apparatus or processes for manufacturing printed circuits in which conductive material is applied to the insulating support in such a manner as to form the desired conductive pattern using precipitation techniques to apply the conductive material
    • H05K3/181Apparatus or processes for manufacturing printed circuits in which conductive material is applied to the insulating support in such a manner as to form the desired conductive pattern using precipitation techniques to apply the conductive material by electroless plating
    • H05K3/182Apparatus or processes for manufacturing printed circuits in which conductive material is applied to the insulating support in such a manner as to form the desired conductive pattern using precipitation techniques to apply the conductive material by electroless plating characterised by the patterning method
    • H05K3/184Apparatus or processes for manufacturing printed circuits in which conductive material is applied to the insulating support in such a manner as to form the desired conductive pattern using precipitation techniques to apply the conductive material by electroless plating characterised by the patterning method using masks
    • HELECTRICITY
    • H05ELECTRIC TECHNIQUES NOT OTHERWISE PROVIDED FOR
    • H05KPRINTED CIRCUITS; CASINGS OR CONSTRUCTIONAL DETAILS OF ELECTRIC APPARATUS; MANUFACTURE OF ASSEMBLAGES OF ELECTRICAL COMPONENTS
    • H05K3/00Apparatus or processes for manufacturing printed circuits
    • H05K3/02Apparatus or processes for manufacturing printed circuits in which the conductive material is applied to the surface of the insulating support and is thereafter removed from such areas of the surface which are not intended for current conducting or shielding
    • H05K3/06Apparatus or processes for manufacturing printed circuits in which the conductive material is applied to the surface of the insulating support and is thereafter removed from such areas of the surface which are not intended for current conducting or shielding the conductive material being removed chemically or electrolytically, e.g. by photo-etch process
    • H05K3/061Etching masks
    • H05K3/064Photoresists
    • HELECTRICITY
    • H05ELECTRIC TECHNIQUES NOT OTHERWISE PROVIDED FOR
    • H05KPRINTED CIRCUITS; CASINGS OR CONSTRUCTIONAL DETAILS OF ELECTRIC APPARATUS; MANUFACTURE OF ASSEMBLAGES OF ELECTRICAL COMPONENTS
    • H05K3/00Apparatus or processes for manufacturing printed circuits
    • H05K3/02Apparatus or processes for manufacturing printed circuits in which the conductive material is applied to the surface of the insulating support and is thereafter removed from such areas of the surface which are not intended for current conducting or shielding
    • H05K3/06Apparatus or processes for manufacturing printed circuits in which the conductive material is applied to the surface of the insulating support and is thereafter removed from such areas of the surface which are not intended for current conducting or shielding the conductive material being removed chemically or electrolytically, e.g. by photo-etch process
    • GPHYSICS
    • G03PHOTOGRAPHY; CINEMATOGRAPHY; ANALOGOUS TECHNIQUES USING WAVES OTHER THAN OPTICAL WAVES; ELECTROGRAPHY; HOLOGRAPHY
    • G03FPHOTOMECHANICAL PRODUCTION OF TEXTURED OR PATTERNED SURFACES, e.g. FOR PRINTING, FOR PROCESSING OF SEMICONDUCTOR DEVICES; MATERIALS THEREFOR; ORIGINALS THEREFOR; APPARATUS SPECIALLY ADAPTED THEREFOR
    • G03F7/00Photomechanical, e.g. photolithographic, production of textured or patterned surfaces, e.g. printing surfaces; Materials therefor, e.g. comprising photoresists; Apparatus specially adapted therefor
    • G03F7/004Photosensitive materials
    • G03F7/09Photosensitive materials characterised by structural details, e.g. supports, auxiliary layers
    • G03F7/094Multilayer resist systems, e.g. planarising layers
    • HELECTRICITY
    • H05ELECTRIC TECHNIQUES NOT OTHERWISE PROVIDED FOR
    • H05KPRINTED CIRCUITS; CASINGS OR CONSTRUCTIONAL DETAILS OF ELECTRIC APPARATUS; MANUFACTURE OF ASSEMBLAGES OF ELECTRICAL COMPONENTS
    • H05K2201/00Indexing scheme relating to printed circuits covered by H05K1/00
    • H05K2201/03Conductive materials
    • H05K2201/0332Structure of the conductor
    • H05K2201/0335Layered conductors or foils
    • H05K2201/0338Layered conductor, e.g. layered metal substrate, layered finish layer or layered thin film adhesion layer
    • HELECTRICITY
    • H05ELECTRIC TECHNIQUES NOT OTHERWISE PROVIDED FOR
    • H05KPRINTED CIRCUITS; CASINGS OR CONSTRUCTIONAL DETAILS OF ELECTRIC APPARATUS; MANUFACTURE OF ASSEMBLAGES OF ELECTRICAL COMPONENTS
    • H05K2201/00Indexing scheme relating to printed circuits covered by H05K1/00
    • H05K2201/03Conductive materials
    • H05K2201/0332Structure of the conductor
    • H05K2201/0335Layered conductors or foils
    • H05K2201/0344Electroless sublayer, e.g. Ni, Co, Cd or Ag; Transferred electroless sublayer
    • HELECTRICITY
    • H05ELECTRIC TECHNIQUES NOT OTHERWISE PROVIDED FOR
    • H05KPRINTED CIRCUITS; CASINGS OR CONSTRUCTIONAL DETAILS OF ELECTRIC APPARATUS; MANUFACTURE OF ASSEMBLAGES OF ELECTRICAL COMPONENTS
    • H05K2201/00Indexing scheme relating to printed circuits covered by H05K1/00
    • H05K2201/03Conductive materials
    • H05K2201/0332Structure of the conductor
    • H05K2201/0335Layered conductors or foils
    • H05K2201/0347Overplating, e.g. for reinforcing conductors or bumps; Plating over filled vias
    • HELECTRICITY
    • H05ELECTRIC TECHNIQUES NOT OTHERWISE PROVIDED FOR
    • H05KPRINTED CIRCUITS; CASINGS OR CONSTRUCTIONAL DETAILS OF ELECTRIC APPARATUS; MANUFACTURE OF ASSEMBLAGES OF ELECTRICAL COMPONENTS
    • H05K2201/00Indexing scheme relating to printed circuits covered by H05K1/00
    • H05K2201/09Shape and layout
    • H05K2201/09209Shape and layout details of conductors
    • H05K2201/09654Shape and layout details of conductors covering at least two types of conductors provided for in H05K2201/09218 - H05K2201/095
    • H05K2201/09736Varying thickness of a single conductor; Conductors in the same plane having different thicknesses
    • HELECTRICITY
    • H05ELECTRIC TECHNIQUES NOT OTHERWISE PROVIDED FOR
    • H05KPRINTED CIRCUITS; CASINGS OR CONSTRUCTIONAL DETAILS OF ELECTRIC APPARATUS; MANUFACTURE OF ASSEMBLAGES OF ELECTRICAL COMPONENTS
    • H05K2203/00Indexing scheme relating to apparatus or processes for manufacturing printed circuits covered by H05K3/00
    • H05K2203/05Patterning and lithography; Masks; Details of resist
    • H05K2203/0562Details of resist
    • H05K2203/058Additional resists used for the same purpose but in different areas, i.e. not stacked
    • HELECTRICITY
    • H05ELECTRIC TECHNIQUES NOT OTHERWISE PROVIDED FOR
    • H05KPRINTED CIRCUITS; CASINGS OR CONSTRUCTIONAL DETAILS OF ELECTRIC APPARATUS; MANUFACTURE OF ASSEMBLAGES OF ELECTRICAL COMPONENTS
    • H05K2203/00Indexing scheme relating to apparatus or processes for manufacturing printed circuits covered by H05K3/00
    • H05K2203/14Related to the order of processing steps
    • H05K2203/1476Same or similar kind of process performed in phases, e.g. coarse patterning followed by fine patterning

Definitions

  • the present invention relates to a method for manufacturing a wiring circuit board.
  • the first resist layer is formed with a write wiring and an inverted pattern of the lead wiring before forming the lower portion of the lead wiring, and then the light is plated.
  • the lower portion of the wiring and the lead wiring is formed, after which a second resist layer is formed with an inverted pattern of the lead wiring, followed by plating to form the upper portion of the lead wiring.
  • the method of forming the second resist layer around the portion where the lower portion of the lead wiring is formed in the reverse pattern of the lead wiring is the lower side of the lead wiring.
  • a tolerance is included between the portion and the inversion pattern of the second resist layer. Therefore, a deviation occurs between the lower portion of the lead wiring and the inversion pattern of the second resist layer. Then, if plating is performed using such a second resist layer, there is a problem that lead wiring having a desired shape, arrangement, size, etc. is formed.
  • the present invention provides a method for manufacturing a wiring circuit board capable of forming a first wiring or a second wiring having a desired shape, arrangement, and size.
  • the present invention (1) includes a first step of forming an insulating layer and a second step of sequentially forming first wiring and second wiring having different thicknesses on one surface of the insulating layer in the thickness direction.
  • a seed film is formed on one surface of the insulating layer in the thickness direction
  • a first resist is formed on one surface of the seed film in the thickness direction in an inverted pattern of the first wiring.
  • Manufacture of a wiring circuit board including a step of forming by plating on one side in a direction, a step of removing the second resist, and a step of removing the seed film exposed from the first wiring and the second wiring in order. Including the method.
  • the first wiring and the second wiring having different thicknesses are formed by using the first resist and the second resist, respectively, and thus have a desired shape, arrangement, and size.
  • the first wiring and the second wiring can be formed.
  • the present invention (2) includes the step of removing the first resist, which leaves the seed film, and the method for manufacturing a wiring circuit board according to (1).
  • the seed film is formed in advance on one surface of the base insulating layer in the thickness direction, and then the plating film is grown on the seed film exposed from the first resist, and then the first resist layer is removed, the seed film is formed. Since it is usually extremely thin, it is removed together with the above-mentioned first resist. Therefore, it is necessary to form the seed film again before forming the second resist.
  • the seed membrane can be reused.
  • the second wiring can be formed with a small number of man-hours.
  • the present invention (3) includes the method for manufacturing a wiring circuit board according to (1) or 2, wherein the second wiring is thicker than the first wiring.
  • the first wiring is thicker than the second wiring
  • the first wiring is first formed by using the thicker first resist, and then the thin second resist is formed.
  • a resist it is difficult to reliably mask the thick first wiring.
  • the first wiring is thinner than the second wiring, when the first wiring is first formed by using the thin first resist and then the thick second resist is formed, the first wiring is formed. With such a second resist, the thin first wiring can be easily and surely masked.
  • the present invention (4) includes the method for manufacturing a wiring circuit board according to any one of (1) to (3), wherein the second wiring is independent of the first wiring.
  • the second wiring since the second wiring is independent of the first wiring, the second wiring can be used for another purpose.
  • the present invention (5) includes the method for manufacturing a wiring circuit board according to any one of (1) to (4), wherein the thickness of the seed film is 50 nm or more and 1000 nm or less.
  • the method for manufacturing a wiring circuit board of the present invention can form a first wiring or a second wiring having a desired shape, arrangement, and size.
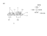
  • FIG. 1A to 1J are manufacturing process diagrams of an embodiment of the method for manufacturing a wiring circuit board of the present invention.
  • FIG. 1A is a first step of forming a base insulating layer
  • FIG. 1B is a seed film.
  • the fourth step FIG. 1C is the fifth step of forming the first resist
  • FIG. 1D is the sixth step of forming the first wiring
  • FIG. 1E is the seventh step of removing the first resist
  • FIG. 1F is The eighth step of forming the second resist
  • FIG. 1G is the ninth step of forming the second wiring
  • FIG. 1H is the step of removing the second resist
  • FIG. 1I is the tenth step of removing the seed film.
  • 1J is the third step of forming the cover insulating layer.
  • FIG. 1C is the fifth step of forming the first resist
  • FIG. 1D is the sixth step of forming the first wiring
  • FIG. 1E is the seventh step of removing the first resist
  • FIG. 1F is The
  • FIG. 2 is a cross-sectional view of a wiring circuit board corresponding to FIG. 1J, and is a diagram showing a mode in which a seed film is included in the first wiring and the second wiring.
  • 3A to 3H are manufacturing process diagrams of a modification of the manufacturing method shown in FIGS. 1C to 1J (a mode in which the second wiring is thinner than the first wiring), and FIG. 3A shows a fifth forming the first resist.
  • FIG. 3B is the sixth step of forming the first wiring
  • FIG. 3C is the seventh step of removing the first resist
  • FIG. 3D is the eighth step of forming the second resist
  • FIG. 3E is the second step.
  • FIG. 3F is the step of removing the second resist, FIG.
  • FIG. 3G is the tenth step of removing the seed film
  • FIG. 3H is the third step of forming the cover insulating layer.
  • 4A to 4G are manufacturing process diagrams of the manufacturing method of Comparative Example 1
  • FIG. 4A is a step of forming a first resist having a first opening and a second opening
  • FIG. 4B is a first wiring
  • 4C shows a step of removing the first resist
  • FIG. 4D shows a step of forming a seed film again
  • FIG. 4E shows a second resist.
  • FIG. 4F is a step of forming one side portion of the second wiring
  • FIG. 4G is a step of removing the second resist.
  • FIG. 5A to 5B are part of a manufacturing process diagram of the manufacturing method of Comparative Example 2 in which one side portion in the thickness direction of the second wiring is narrower than the other side portion, and FIG. 5A shows the other side in the thickness direction of the second wiring.
  • FIG. 5B a diagram for explaining the tolerance between the portion and the second opening, is a process diagram for forming one side portion of the second wiring in the thickness direction.
  • 6A to 6B are part of the manufacturing process diagram of the manufacturing method of Comparative Example 3 in which one side portion in the thickness direction of the second wiring is wider than the other side portion, and FIG. 6A shows the other side in the thickness direction of the second wiring.
  • FIG. 6B a diagram for explaining the tolerance between the portion and the second opening, is a process diagram for forming one side portion of the second wiring in the thickness direction.
  • the wiring circuit board 1 obtained by this manufacturing method has a predetermined thickness and has a long flat band shape. Specifically, the wiring circuit board 1 extends in the depth direction of the paper surface.
  • the wiring circuit board 1 includes a base insulating layer 2 as an example of the base insulating layer, a first wiring 3 and a second wiring 4, and a cover insulating layer 5.
  • the base insulating layer 2 has the same shape as the wiring circuit board 1 in a plan view. One surface of the base insulating layer 2 in the thickness direction is flat. Examples of the material of the base insulating layer 2 include an insulating resin such as polyimide.
  • the thickness of the base insulating layer 2 is, for example, 5 ⁇ m or more, and is, for example, 30 ⁇ m or less.
  • the first wiring 3 is arranged on one side of the base insulating layer 2 in the thickness direction.
  • a plurality of the first wirings 3 are arranged on one side of the base insulating layer 2 in the width direction (direction orthogonal to the thickness direction and the length direction), for example, at intervals in the width direction.
  • Each of the plurality of first wirings 3 has a substantially rectangular shape in a cross section along the width direction and the thickness direction.
  • the first wiring 3 specifically transmits an electric signal (for example, a weak current of less than 10 mA and further less than 1 mA).
  • Examples of the material of the first wiring 3 include conductors such as copper, silver, gold, chromium, nickel, titanium, and alloys thereof.
  • the thickness T1 of the first wiring 3 is, for example, 25 ⁇ m or less, preferably 20 ⁇ m or less, more preferably 15 ⁇ m or less, and for example, 1 ⁇ m or more.
  • the width W1 of the first wiring 3 is, for example, 5 ⁇ m or more, and is, for example, 50 ⁇ m or less.
  • the second wiring 4 is arranged on one surface of the base insulating layer 2 in the thickness direction at a distance from the first wiring 3 in the width direction.
  • the second wiring 4 is provided independently of the first wiring 3.
  • the second wiring 4 is arranged, for example, in a singular manner in the other side portion of the base insulating layer 2 in the width direction. Further, the second wiring 4 is formed of one layer.
  • the second wiring 4 has a substantially rectangular shape in a cross section along the width direction and the thickness direction.
  • the second wiring 4 transmits a power supply current (for example, a large current of 10 mA or more, and further, a large current of 100 mA or more).
  • Examples of the material of the second wiring 4 include conductors such as copper, chromium, and alloys thereof, and preferably the same material as that of the first wiring 3.
  • the second wiring 4 is thicker than the first wiring 3 in this embodiment.
  • the thickness T2 of the second wiring 4 is, for example, 10 ⁇ m or more, preferably 15 ⁇ m or more, more preferably 20 ⁇ m or more, and for example, 500 ⁇ m or less.
  • the ratio (T2 / T1) of the thickness T2 of the second wiring 4 to the thickness T1 of the first wiring 3 is, for example, 1.25 or more, preferably 1.5 or more, more preferably 1.8 or more, still more preferable. Is 2 or more, and is, for example, 100 or less.
  • the width W2 of the second wiring 4 may be the same as or exceed the width W1 of the first wiring 3. For example, it is 5 ⁇ m or more, preferably 10 ⁇ m or more, more preferably 20 ⁇ m or more, and for example, 100 ⁇ m or less.
  • the cover insulating layer 5 overlaps the first wiring 3 and the second wiring 4.
  • the cover insulating layer 5 has a thickness on one side in the thickness direction and both sides in the width direction of the first wiring 3 and the second wiring 4, and a thickness around the first wiring 3 and the second wiring 4 in the base insulating layer 2. It is arranged on one side in the direction.
  • Examples of the material of the cover insulating layer 5 include the same materials exemplified in the material of the base insulating layer 2.
  • the thickness of the cover insulating layer 5 is the length between one surface of the cover insulating layer 5 in the thickness direction and one surface of the first wiring 3 in the thickness direction, and the thickness of the cover insulating layer 5 in the thickness direction and the second wiring 4.
  • the length between the two surfaces in the thickness direction for example, is 5 ⁇ m or more, and is, for example, 30 ⁇ m or less.
  • this manufacturing method forms a first step of forming the base insulating layer 2, a second step of forming the first wiring 3 and the second wiring 4, and the cover insulating layer 5.
  • a third step is provided.
  • the base insulating layer 2 having the above-mentioned shape is formed from an insulating resin such as polyimide.
  • the above-mentioned insulating resin composition is applied to a base material to form a photosensitive base layer, which is then photolithographically formed to form a base insulating layer 2.
  • the first wiring 3 and the second wiring 4 are formed on one surface of the base insulating layer 2 in the thickness direction in this order. That is, as shown in FIG. 1E, the first wiring 3 is first formed on one surface in the thickness direction of the base insulating layer 2, and then the second wiring 4 is formed in the thickness direction of the base insulating layer 2 as shown in FIG. 1I. Form on one side.
  • the second step is the fourth step of forming the seed film 6 (see FIG. 1B), the fifth step of forming the first resist 7 (see FIG. 1C), and the first wiring 3 by plating.
  • the sixth step of forming see FIG. 1D
  • the seventh step of removing the first resist 7 see FIG. 1E
  • the eighth step of forming the second resist 8 see FIG. 1F
  • the second wiring 4 A ninth step (see FIG. 1G), a tenth step of removing the second resist 8 (see FIG. 1H), and an eleventh step of removing the seed film 6 (see FIG. 1I) are provided.
  • the fourth step to the eleventh step are carried out in order.
  • the seed film 6 is formed on one surface of the base insulating layer 2 in the thickness direction.
  • the seed film 6 contacts the entire surface of the base insulating layer 2 on one side in the thickness direction.
  • the seed film 6 is formed by a film forming method such as sputtering or plating (electroless plating or the like), preferably by sputtering.
  • the material of the seed film 6 examples include the materials exemplified in the first wiring 3 and the second wiring 4 described above.
  • the thickness T3 of the seed film 6 is, for example, 50 nm or more, preferably 75 nm or more, more preferably 100 nm or more, and for example, 1000 nm or less, preferably 300 nm or less.
  • the seed film 6 exposed from the first wiring 3 is surely left with the removal of the first resist 7 in the subsequent seventh step (FIG. 1E). Can be done.
  • the thickness T3 of the seed film 6 is equal to or less than the above upper limit, the seed film 6 can be formed in a short time.
  • the first resist 7 is formed on one surface of the seed film 6 in the thickness direction in the inverted pattern of the first wiring 3.
  • a photosensitive dry film resist is placed on the entire surface of one surface of the seed film 6 in the thickness direction, and then the photosensitive dry film resist is photolithographically formed to form the first resist 7 in the above pattern.
  • the first resist 7 has a first opening 17 corresponding to a position where the first wiring 3 is to be formed.
  • the first opening 17 penetrates the first resist 7 in the thickness direction.
  • the first opening 17 exposes one surface of the seed film 6 in the thickness direction.
  • the thickness T4 of the first resist 7 exceeds, for example, the thickness T1 of the first wiring 3.
  • the first wiring 3 is formed by plating on one surface in the thickness direction of the seed film 6 exposed from the first opening 17 of the first resist 7.
  • the base insulating layer 2, the seed film 6 and the first resist 7 are immersed in the plating solution while supplying power to the seed film 6 to expose the seed film 6 from the first opening 17 in the thickness direction.
  • the first wiring 3 is formed in the direction.
  • the first resist 7 is removed.
  • the first resist 7 is removed so that the seed film 6 remains by etching, peeling, or the like.
  • the seed film 6 exposed from the first wiring 3 is thinner than the seed film 6 corresponding to the first wiring 3 by, for example, 10 to 100 nm due to the removal of the first resist 7 described above. That is, the seed film 6 corresponding to the second wiring 4 formed in the later step is, for example, 10 to 100 nm thinner than the seed film 6 corresponding to the first wiring 3.
  • the second resist 8 is formed in the eighth step.
  • the second resist 8 is formed on one surface of the seed film 6 in the thickness direction in an inverted pattern of the second wiring 4 so as to mask (cover) the first wiring 3.
  • a photosensitive dry film resist is placed on one side of the seed film 6 in the thickness direction, and one side of the first wiring 3 in the thickness direction and both sides in the width direction, and then the photosensitive dry film resist is subjected to photolithography.
  • the second resist 8 is formed by the above-mentioned pattern.
  • the second resist 8 has a second opening 18 corresponding to a position where the second wiring 4 is to be formed. The second opening 18 penetrates the second resist 8 in the thickness direction.
  • the second opening 18 exposes one surface of the seed film 6 in the thickness direction.
  • the thickness T5 of the second resist 8 exceeds the thickness T2 of the second wiring 4.
  • the thickness T5 of the second resist 8 is thicker than, for example, the thickness T4 of the first resist 7.
  • the ratio (T5 / T4) of the thickness T5 of the second resist 8 to the thickness T4 of the first resist 7 is, for example, 2 or more, further 3 or more, and for example, 20 or less, further 10 or less. is there.
  • the second wiring 4 is formed by plating on one surface in the thickness direction of the seed film 6 exposed from the second opening 18 of the second resist 8.
  • the seed film 6 is fed with the base insulating layer 2, the seed film 6, the first wiring 3 and the second resist 8 while being immersed in the plating solution, and is exposed from the second opening 18.
  • the second wiring 4 is formed on one surface in the thickness direction of 6. Both the first wiring 3 and the second wiring 4 are provided on one surface (on the same plane) in the thickness direction of the seed film 6. Further, the seed film 6 of the first wiring 3 and the seed film 6 of the second wiring 4 are common and have the same layer.
  • the second resist 8 is removed in the tenth step.
  • the second resist 8 is removed by etching, peeling, or the like.
  • the seed film 6 exposed from the first wiring 3 and the second wiring 4 is removed.
  • the seed film 6 is removed by a removing method such as etching or peeling.
  • the first wiring 3 and the second wiring 4 are sequentially formed on one side in the thickness direction of the base insulating layer 2 by the second step of carrying out the above-mentioned fourth to eleventh steps.
  • the cover insulating layer 5 is formed so as to cover the first wiring 3 and the second wiring 4 on one surface of the base insulating layer 2 in the thickness direction.
  • the above-mentioned insulating resin composition is applied to one surface of the base insulating layer 2, the first wiring 3 and the second wiring 4 in the thickness direction to form a photosensitive cover layer, which is photolithographically formed.
  • the cover insulating layer 5 is formed.
  • the wiring circuit board 1 including the base insulating layer 2, the first wiring 3 and the second wiring 4, the seed film 6 corresponding to the first wiring 3 and the second wiring 4, and the cover insulating layer 5 is manufactured. To do.
  • the first wiring 3 and the second wiring 4 having different thicknesses are each of the first resist 7 and the second resist 8, respectively.
  • the first wiring 3 and the second wiring 4 having a desired shape, arrangement, and size can be formed.
  • the first wiring 3 and the other side portion 13 in the thickness direction of the second wiring 4 are formed at the same time by plating.
  • the seed film 6 is removed when the first resist 7 is removed.
  • the seed film 6 is then formed again on one surface in the thickness direction of the base insulating layer 2 and on one surface and both side surfaces in the thickness direction of the first wiring 3 and the other side portion 13 in the thickness direction. ..
  • the second resist 8 having the second opening 18 is formed.
  • the position of the second opening 18 of the first resist 7 and the position of the other side portion 13 of the second wiring 4 in the thickness direction may deviate from each other. That is, there is a positional tolerance between the second opening 18 of the first resist 7 in the fifth step shown in FIG. 4A and the second opening 18 of the second resist 8 in the eighth step shown in FIG. 4E. To do. Then, a deviation occurs between the other side portion 13 of the second wiring 4 in the thickness direction and the second opening 18 of the second resist 8.
  • the inner side surface 21 on one side of the second opening 18 is one side in the width direction of the other side portion 13 in the thickness direction. It shifts to one side in the width direction with respect to the side surface 23.
  • the other side inner side surface 22 of the second opening 18 is displaced to one side in the width direction with respect to the other side surface 24 in the width direction of 13.
  • the deviation is not limited to the above.
  • the one-side inner side surface 21 of the second opening 18 is relative to the width-direction one side surface 23 of the thickness-direction other-side portion 13. And shifts to the other side in the width direction.
  • the other side inner side surface 22 of the second opening 18 is displaced to the width direction other side with respect to the width direction other side surface 24 of the thickness direction other side portion 13.
  • one side portion 14 is displaced to one side in the width direction with respect to the other side portion 13.
  • the width of the one-side portion 14 is narrower than that of the other-side portion 13 in the thickness direction.
  • Comparative Example 3 as shown in FIG. 6B, the one side portion 14 is wider than the other side portion 13 in the thickness direction.
  • the second wiring 4 is formed at one time using only the second resist 8 without using the first resist 7, so that the desired shape, arrangement, and size can be obtained.
  • the second wiring 4 to have can be formed.
  • the first resist 7 is removed so that the seed film 6 remains, so that the second resist 8 shown in FIG. 1F is formed again before being formed.
  • the seed film 6 it is not necessary to form the seed film 6 (see the process of FIG. 4D). Therefore, the seed film 6 used in the plating of the sixth step can be reused as it is and used for the plating of the ninth step shown in FIG. 1G.
  • the second wiring 4 can be formed with a small number of man-hours.
  • the second wiring 4 is independent of the first wiring 3, the second wiring 4 can be used for a purpose different from that of the first wiring 3.
  • the first wiring 3 is used as the signal wiring, and the second wiring 4 thicker than the first wiring 3 is used as the power supply wiring.
  • the thickness T3 equal to or more than the above lower limit is obtained.
  • the seed film 6 to have can be surely left. Therefore, in the ninth step, plating when forming the second wiring 4 can be stably performed. Further, the seed film 6 having a thickness T3 equal to or less than the above upper limit can be formed in a short time.
  • the first wiring 3 is thicker than the second wiring 4 as shown in FIG. 3H.
  • the first resist 7 has a thickness T4 corresponding to the first wiring 3
  • the second resist 8 has a thickness T5 corresponding to the second wiring 4.
  • the second resist 8 is usually thinner than the thickness T1 of the first wiring 3.
  • the thick second resist 8 when the second wiring 4 is thicker than the first wiring 3, the thick second resist 8 easily makes the first wiring 3 thinner than the second wiring 4. Can be reliably covered (masked). Therefore, the above-mentioned plating growth can be suppressed.
  • the wiring circuit board 1 may further include the metal support board 20.
  • the metal support substrate 20 is arranged on the other surface of the base insulating layer 2 in the thickness direction.
  • Examples of the material of the metal support substrate 20 include metals such as iron, copper, and alloys (stainless steel, copper alloy, etc.).
  • the thickness of the metal support substrate 20 is not particularly limited.
  • the metal support substrate 20 is prepared, and the base insulating layer 2 is arranged on one surface in the thickness direction of the metal support substrate 20.
  • the 10th step and the 11th step can be carried out without distinction. Specifically, when removing the second resist 8, the seed film 6 is unintentionally removed.
  • Wiring circuit boards are used in various industrial applications.

Landscapes

  • Engineering & Computer Science (AREA)
  • Manufacturing & Machinery (AREA)
  • Microelectronics & Electronic Packaging (AREA)
  • Manufacturing Of Printed Wiring (AREA)
  • Structure Of Printed Boards (AREA)
PCT/JP2020/044169 2019-12-10 2020-11-27 配線回路基板の製造方法 Ceased WO2021117501A1 (ja)

Priority Applications (3)

Application Number Priority Date Filing Date Title
KR1020227018620A KR102901557B1 (ko) 2019-12-10 2020-11-27 배선 회로 기판의 제조 방법
US17/783,206 US20230007783A1 (en) 2019-12-10 2020-11-27 Method for producing wiring circuit board
CN202080085687.7A CN114788423A (zh) 2019-12-10 2020-11-27 布线电路基板的制造方法

Applications Claiming Priority (2)

Application Number Priority Date Filing Date Title
JP2019222680A JP7019657B2 (ja) 2019-12-10 2019-12-10 配線回路基板の製造方法
JP2019-222680 2019-12-10

Publications (1)

Publication Number Publication Date
WO2021117501A1 true WO2021117501A1 (ja) 2021-06-17

Family

ID=76312732

Family Applications (1)

Application Number Title Priority Date Filing Date
PCT/JP2020/044169 Ceased WO2021117501A1 (ja) 2019-12-10 2020-11-27 配線回路基板の製造方法

Country Status (5)

Country Link
US (1) US20230007783A1 (enExample)
JP (1) JP7019657B2 (enExample)
CN (1) CN114788423A (enExample)
TW (1) TWI886182B (enExample)
WO (1) WO2021117501A1 (enExample)

Families Citing this family (15)

* Cited by examiner, † Cited by third party
Publication number Priority date Publication date Assignee Title
JP7387453B2 (ja) * 2020-01-10 2023-11-28 住友電気工業株式会社 フレキシブルプリント配線板及びその製造方法
US12016130B2 (en) * 2021-05-26 2024-06-18 Samsung Electro-Mechanics Co., Ltd. Method of manufacturing printed circuit board
JP2022185667A (ja) * 2021-06-03 2022-12-15 株式会社三洋物産 遊技機
JP2022185675A (ja) * 2021-06-03 2022-12-15 株式会社三洋物産 遊技機
JP2022185678A (ja) * 2021-06-03 2022-12-15 株式会社三洋物産 遊技機
JP2022185673A (ja) * 2021-06-03 2022-12-15 株式会社三洋物産 遊技機
JP2022185674A (ja) * 2021-06-03 2022-12-15 株式会社三洋物産 遊技機
JP2022185676A (ja) * 2021-06-03 2022-12-15 株式会社三洋物産 遊技機
JP2022185677A (ja) * 2021-06-03 2022-12-15 株式会社三洋物産 遊技機
JP2022185672A (ja) * 2021-06-03 2022-12-15 株式会社三洋物産 遊技機
JP2022185679A (ja) * 2021-06-03 2022-12-15 株式会社三洋物産 遊技機
JP2022185671A (ja) * 2021-06-03 2022-12-15 株式会社三洋物産 遊技機
JP2022185669A (ja) * 2021-06-03 2022-12-15 株式会社三洋物産 遊技機
JP2022185670A (ja) * 2021-06-03 2022-12-15 株式会社三洋物産 遊技機
US20250151208A1 (en) * 2023-11-06 2025-05-08 Dell Products L.P. Systems and methods for optimizing metal weight of conductive layers of circuit board

Citations (6)

* Cited by examiner, † Cited by third party
Publication number Priority date Publication date Assignee Title
JPH0832244A (ja) * 1994-07-12 1996-02-02 Toshiba Corp 多層配線基板
JPH1032201A (ja) * 1996-07-16 1998-02-03 Nec Corp パターン形成方法
JP2006086341A (ja) * 2004-09-16 2006-03-30 Tdk Corp 多層基板及びその製造方法
US20160307852A1 (en) * 2015-04-16 2016-10-20 Taiwan Semiconductor Manufacturing Company, Ltd. Conductive Traces in Semiconductor Devices and Methods of Forming Same
JP2016186986A (ja) * 2015-03-27 2016-10-27 株式会社フジクラ プリント配線板及びプリント配線板の製造方法
US20170017011A1 (en) * 2015-07-14 2017-01-19 Conocophillips Company Enhanced recovery response prediction

Family Cites Families (11)

* Cited by examiner, † Cited by third party
Publication number Priority date Publication date Assignee Title
US4159222A (en) * 1977-01-11 1979-06-26 Pactel Corporation Method of manufacturing high density fine line printed circuitry
JP2001007456A (ja) * 1999-06-17 2001-01-12 Toshiba Corp 配線回路基板
JP2002111174A (ja) * 2000-09-27 2002-04-12 Nitto Denko Corp 配線回路基板の製造方法
JP5136311B2 (ja) * 2008-09-11 2013-02-06 大日本印刷株式会社 サスペンション用基板
JP2010171170A (ja) * 2009-01-22 2010-08-05 Hitachi Cable Ltd 銅回路配線基板およびその製造方法
JP5010669B2 (ja) * 2009-12-07 2012-08-29 パナソニック株式会社 配線基板及びその製造方法
US10115668B2 (en) * 2015-12-15 2018-10-30 Intel IP Corporation Semiconductor package having a variable redistribution layer thickness
JP6778585B2 (ja) * 2016-11-02 2020-11-04 日東電工株式会社 配線回路基板およびその製造方法
JP2018157051A (ja) * 2017-03-17 2018-10-04 三菱マテリアル株式会社 バンプ付き配線基板の製造方法
JP6810908B2 (ja) * 2017-03-31 2021-01-13 大日本印刷株式会社 導電基板およびその製造方法
JP7085328B2 (ja) * 2017-09-29 2022-06-16 日東電工株式会社 配線回路基板、その製造方法および撮像装置

Patent Citations (6)

* Cited by examiner, † Cited by third party
Publication number Priority date Publication date Assignee Title
JPH0832244A (ja) * 1994-07-12 1996-02-02 Toshiba Corp 多層配線基板
JPH1032201A (ja) * 1996-07-16 1998-02-03 Nec Corp パターン形成方法
JP2006086341A (ja) * 2004-09-16 2006-03-30 Tdk Corp 多層基板及びその製造方法
JP2016186986A (ja) * 2015-03-27 2016-10-27 株式会社フジクラ プリント配線板及びプリント配線板の製造方法
US20160307852A1 (en) * 2015-04-16 2016-10-20 Taiwan Semiconductor Manufacturing Company, Ltd. Conductive Traces in Semiconductor Devices and Methods of Forming Same
US20170017011A1 (en) * 2015-07-14 2017-01-19 Conocophillips Company Enhanced recovery response prediction

Also Published As

Publication number Publication date
TW202137836A (zh) 2021-10-01
KR20220113935A (ko) 2022-08-17
US20230007783A1 (en) 2023-01-05
CN114788423A (zh) 2022-07-22
JP7019657B2 (ja) 2022-02-15
TWI886182B (zh) 2025-06-11
JP2021093434A (ja) 2021-06-17

Similar Documents

Publication Publication Date Title
JP7019657B2 (ja) 配線回路基板の製造方法
JP4523051B2 (ja) 配線回路基板の製造方法
CN100586251C (zh) 布线电路板
CN103999559A (zh) 导电迹线结构的制备方法及具有导电迹线结构的基材
JP4298597B2 (ja) 配線回路基板および配線回路基板の製造方法
JP4394432B2 (ja) 配線回路基板保持シートの製造方法
CN109673111B (zh) 电路板的制作方法
KR100958771B1 (ko) 초소형 콘택트 및 그 제조 방법 및 전자 부품
JP7203939B2 (ja) 配線回路基板の製造方法
JP2007335539A (ja) 両面配線基板の製造方法
JP4838155B2 (ja) プリント基板の製造方法
JP2017107621A (ja) 回路付サスペンション基板、および、回路付サスペンション基板の製造方法
US20240284600A1 (en) Method for producing wiring circuit board
JP7211930B2 (ja) 配線回路基板の製造方法
JP2022190665A (ja) 配線回路基板の製造方法
KR102901557B1 (ko) 배선 회로 기판의 제조 방법
JP2006013301A (ja) 回路基板の製造方法
TW202243572A (zh) 集合體片材及集合體片材之製造方法
JP4326014B2 (ja) 回路基板とその製造方法
JP4252227B2 (ja) 両面可撓性回路基板の製造法
CN117461394A (zh) 布线电路基板的制造方法
JP2023029294A (ja) 配線回路基板の製造方法
TW202243553A (zh) 集合體片材及集合體片材之製造方法
JPH0357291A (ja) 可撓性回路基板の製造法
TW202429966A (zh) 配線電路基板之製造方法、附有虛置圖案之配線電路基板、及集合體片材

Legal Events

Date Code Title Description
121 Ep: the epo has been informed by wipo that ep was designated in this application

Ref document number: 20897747

Country of ref document: EP

Kind code of ref document: A1

NENP Non-entry into the national phase

Ref country code: DE

122 Ep: pct application non-entry in european phase

Ref document number: 20897747

Country of ref document: EP

Kind code of ref document: A1