WO2020184620A1 - ベーパーチャンバ、電子機器、及び、ベーパーチャンバ用シート - Google Patents

ベーパーチャンバ、電子機器、及び、ベーパーチャンバ用シート Download PDF

Info

Publication number
WO2020184620A1
WO2020184620A1 PCT/JP2020/010587 JP2020010587W WO2020184620A1 WO 2020184620 A1 WO2020184620 A1 WO 2020184620A1 JP 2020010587 W JP2020010587 W JP 2020010587W WO 2020184620 A1 WO2020184620 A1 WO 2020184620A1
Authority
WO
WIPO (PCT)
Prior art keywords
flow path
sheet
liquid flow
vapor chamber
groove
Prior art date
Legal status (The legal status is an assumption and is not a legal conclusion. Google has not performed a legal analysis and makes no representation as to the accuracy of the status listed.)
Ceased
Application number
PCT/JP2020/010587
Other languages
English (en)
French (fr)
Japanese (ja)
Inventor
武田 利彦
和範 小田
太田 貴之
清隆 竹松
伸一郎 高橋
輝寿 百瀬
洋平 津金澤
陽子 中村
Current Assignee (The listed assignees may be inaccurate. Google has not performed a legal analysis and makes no representation or warranty as to the accuracy of the list.)
Dai Nippon Printing Co Ltd
Original Assignee
Dai Nippon Printing Co Ltd
Priority date (The priority date is an assumption and is not a legal conclusion. Google has not performed a legal analysis and makes no representation as to the accuracy of the date listed.)
Filing date
Publication date
Application filed by Dai Nippon Printing Co Ltd filed Critical Dai Nippon Printing Co Ltd
Priority to JP2021503608A priority Critical patent/JP6888751B2/ja
Priority to CN202080010217.4A priority patent/CN113366631B/zh
Priority to CN202411936865.9A priority patent/CN119812143A/zh
Priority to KR1020257003234A priority patent/KR20250020736A/ko
Priority to KR1020247005733A priority patent/KR102763334B1/ko
Priority to US17/432,867 priority patent/US20220120509A1/en
Priority to KR1020217024168A priority patent/KR102640712B1/ko
Publication of WO2020184620A1 publication Critical patent/WO2020184620A1/ja
Anticipated expiration legal-status Critical
Ceased legal-status Critical Current

Links

Images

Classifications

    • FMECHANICAL ENGINEERING; LIGHTING; HEATING; WEAPONS; BLASTING
    • F28HEAT EXCHANGE IN GENERAL
    • F28DHEAT-EXCHANGE APPARATUS, NOT PROVIDED FOR IN ANOTHER SUBCLASS, IN WHICH THE HEAT-EXCHANGE MEDIA DO NOT COME INTO DIRECT CONTACT
    • F28D15/00Heat-exchange apparatus with the intermediate heat-transfer medium in closed tubes passing into or through the conduit walls ; Heat-exchange apparatus employing intermediate heat-transfer medium or bodies
    • F28D15/02Heat-exchange apparatus with the intermediate heat-transfer medium in closed tubes passing into or through the conduit walls ; Heat-exchange apparatus employing intermediate heat-transfer medium or bodies in which the medium condenses and evaporates, e.g. heat pipes
    • F28D15/04Heat-exchange apparatus with the intermediate heat-transfer medium in closed tubes passing into or through the conduit walls ; Heat-exchange apparatus employing intermediate heat-transfer medium or bodies in which the medium condenses and evaporates, e.g. heat pipes with tubes having a capillary structure
    • FMECHANICAL ENGINEERING; LIGHTING; HEATING; WEAPONS; BLASTING
    • F28HEAT EXCHANGE IN GENERAL
    • F28DHEAT-EXCHANGE APPARATUS, NOT PROVIDED FOR IN ANOTHER SUBCLASS, IN WHICH THE HEAT-EXCHANGE MEDIA DO NOT COME INTO DIRECT CONTACT
    • F28D15/00Heat-exchange apparatus with the intermediate heat-transfer medium in closed tubes passing into or through the conduit walls ; Heat-exchange apparatus employing intermediate heat-transfer medium or bodies
    • F28D15/02Heat-exchange apparatus with the intermediate heat-transfer medium in closed tubes passing into or through the conduit walls ; Heat-exchange apparatus employing intermediate heat-transfer medium or bodies in which the medium condenses and evaporates, e.g. heat pipes
    • F28D15/0233Heat-exchange apparatus with the intermediate heat-transfer medium in closed tubes passing into or through the conduit walls ; Heat-exchange apparatus employing intermediate heat-transfer medium or bodies in which the medium condenses and evaporates, e.g. heat pipes the conduits having a particular shape, e.g. non-circular cross-section, annular
    • FMECHANICAL ENGINEERING; LIGHTING; HEATING; WEAPONS; BLASTING
    • F28HEAT EXCHANGE IN GENERAL
    • F28DHEAT-EXCHANGE APPARATUS, NOT PROVIDED FOR IN ANOTHER SUBCLASS, IN WHICH THE HEAT-EXCHANGE MEDIA DO NOT COME INTO DIRECT CONTACT
    • F28D15/00Heat-exchange apparatus with the intermediate heat-transfer medium in closed tubes passing into or through the conduit walls ; Heat-exchange apparatus employing intermediate heat-transfer medium or bodies
    • F28D15/02Heat-exchange apparatus with the intermediate heat-transfer medium in closed tubes passing into or through the conduit walls ; Heat-exchange apparatus employing intermediate heat-transfer medium or bodies in which the medium condenses and evaporates, e.g. heat pipes
    • F28D15/0266Heat-exchange apparatus with the intermediate heat-transfer medium in closed tubes passing into or through the conduit walls ; Heat-exchange apparatus employing intermediate heat-transfer medium or bodies in which the medium condenses and evaporates, e.g. heat pipes with separate evaporating and condensing chambers connected by at least one conduit; Loop-type heat pipes; with multiple or common evaporating or condensing chambers
    • HELECTRICITY
    • H01ELECTRIC ELEMENTS
    • H01LSEMICONDUCTOR DEVICES NOT COVERED BY CLASS H10
    • H01L23/00Details of semiconductor or other solid state devices
    • H01L23/34Arrangements for cooling, heating, ventilating or temperature compensation ; Temperature sensing arrangements
    • H01L23/36Selection of materials, or shaping, to facilitate cooling or heating, e.g. heatsinks
    • HELECTRICITY
    • H01ELECTRIC ELEMENTS
    • H01LSEMICONDUCTOR DEVICES NOT COVERED BY CLASS H10
    • H01L23/00Details of semiconductor or other solid state devices
    • H01L23/34Arrangements for cooling, heating, ventilating or temperature compensation ; Temperature sensing arrangements
    • H01L23/42Fillings or auxiliary members in containers or encapsulations selected or arranged to facilitate heating or cooling
    • H01L23/427Cooling by change of state, e.g. use of heat pipes
    • HELECTRICITY
    • H04ELECTRIC COMMUNICATION TECHNIQUE
    • H04MTELEPHONIC COMMUNICATION
    • H04M1/00Substation equipment, e.g. for use by subscribers
    • H04M1/02Constructional features of telephone sets
    • HELECTRICITY
    • H05ELECTRIC TECHNIQUES NOT OTHERWISE PROVIDED FOR
    • H05KPRINTED CIRCUITS; CASINGS OR CONSTRUCTIONAL DETAILS OF ELECTRIC APPARATUS; MANUFACTURE OF ASSEMBLAGES OF ELECTRICAL COMPONENTS
    • H05K7/00Constructional details common to different types of electric apparatus
    • H05K7/20Modifications to facilitate cooling, ventilating, or heating
    • H05K7/2029Modifications to facilitate cooling, ventilating, or heating using a liquid coolant with phase change in electronic enclosures
    • H05K7/20318Condensers
    • HELECTRICITY
    • H05ELECTRIC TECHNIQUES NOT OTHERWISE PROVIDED FOR
    • H05KPRINTED CIRCUITS; CASINGS OR CONSTRUCTIONAL DETAILS OF ELECTRIC APPARATUS; MANUFACTURE OF ASSEMBLAGES OF ELECTRICAL COMPONENTS
    • H05K7/00Constructional details common to different types of electric apparatus
    • H05K7/20Modifications to facilitate cooling, ventilating, or heating
    • H05K7/2029Modifications to facilitate cooling, ventilating, or heating using a liquid coolant with phase change in electronic enclosures
    • H05K7/20336Heat pipes, e.g. wicks or capillary pumps

Definitions

  • the present disclosure relates to a vapor chamber that transports heat by refluxing a working fluid sealed in a closed space with a phase change.
  • Heat pipes are well known as a means for such cooling. This is to cool the heat source by transporting the heat in the heat source to another part and diffusing it by the working fluid sealed in the pipe.
  • the vapor chamber is a device that develops the concept of heat transport by heat pipes into plate-shaped members. That is, in the vapor chamber, a working fluid is sealed between the opposing flat plates, and the working fluid recirculates with a phase change to transport heat, and the heat in the heat source is transported and diffused to provide a heat source. Cooling.
  • a steam flow path and a condensate flow path are provided inside the vapor chamber, and a working fluid is sealed therein.
  • the working fluid receives the heat from the heat source and evaporates near the heat source to become a gas (steam) and moves in the steam flow path.
  • the heat from the heat source is smoothly transported to a position away from the heat source, and as a result, the heat source is cooled.
  • the working fluid in a gaseous state that transports heat from a heat source moves to a position away from the heat source, is cooled by being absorbed by the surroundings, condenses, and undergoes a phase change to a liquid state.
  • the phase-changed liquid working fluid passes through the condensate flow path, returns to the position of the heat source, receives heat from the heat source, evaporates, and changes to the gaseous state.
  • the heat generated from the heat source is transported and diffused to a position away from the heat source, and the heat source is cooled.
  • One aspect of the present disclosure is a vapor chamber in which a working fluid is sealed in a closed space, and the closed space is provided with a first flow path and a liquid flow path portion adjacent to the first flow path.
  • the portion is provided with second flow paths in both the thickness directions of the vapor chamber, and is composed of three stacked sheets. Of the three sheets, the sheet arranged in the center is in the thickness direction of the sheets. It is a vapor chamber that penetrates and extends along the sheet surface to form the first flow path, and the second flow path is provided on both sides of the liquid flow path portion of the sheet arranged in the center in the thickness direction. ..
  • an electronic device including a housing, an electronic component arranged inside the housing, and the vapor chamber arranged in the electronic component.
  • Another aspect of the present disclosure is a sheet for a vapor chamber having a hollow portion into which a working fluid is to be injected, wherein the hollow portion includes a first flow path and a liquid flow path portion adjacent to the first flow path.
  • the liquid flow path portion is provided with a second flow path in both the thickness directions of the vapor chamber, and is composed of three stacked sheets. Of the three sheets, the sheet arranged in the center is the sheet. It penetrates in the thickness direction of the sheet and extends along the sheet surface to form the first flow path, and the second flow path is provided on both sides of the liquid flow path portion of the sheet arranged in the center in the thickness direction. It is a sheet for a vapor chamber.
  • a vapor chamber in which a working fluid is sealed in a closed space, wherein the closed space is provided with a first flow path and a liquid flow path portion adjacent to the first flow path.
  • the part is provided with a second flow path and a heat insulating part, and the heat insulating part does not communicate with the first flow path and the second flow path, and consists of three stacked sheets, which are arranged in the center of the three sheets.
  • the sheet penetrates in the thickness direction of the sheet and extends along the sheet surface to form the first flow path, and the second sheet is placed on one surface of the liquid flow path portion of the sheet arranged in the center in the thickness direction.
  • It is a vapor chamber provided with a flow path and a heat insulating portion on the other side surface.
  • an electronic device including a housing, an electronic component arranged inside the housing, and the vapor chamber arranged in the electronic component.
  • Another aspect of the present disclosure is a sheet for a vapor chamber having a hollow portion into which a working fluid is to be injected, wherein the hollow portion includes a first flow path and a liquid flow path portion adjacent to the first flow path.
  • the liquid flow path portion is provided with a second flow path and a heat insulating part, and the heat insulating part does not communicate with the first flow path and the second flow path, and is composed of three stacked sheets, out of the three sheets.
  • the sheet arranged in the center penetrates in the thickness direction of the sheet and extends along the sheet surface to form the first flow path, and one side of the liquid flow path portion of the sheet arranged in the center in the thickness direction.
  • This is a vapor chamber sheet provided with a second flow path on the surface of the surface and a heat insulating portion on the other surface.
  • Another aspect of the present disclosure is a vapor chamber in which a working fluid is sealed in a closed space, wherein the closed space is provided with a first flow path and a liquid flow path portion adjacent to the first flow path.
  • the portion is provided with a second flow path and an introduction portion that protrudes toward the first flow path side at the boundary surface with the first flow path, and the introduction portion is a second flow path from the top that protrudes most toward the first flow path side. It has an introduction surface extending toward, and consists of three stacked sheets, of which the centrally arranged sheet penetrates in the thickness direction of the sheet and along the sheet surface.
  • Another aspect of the present disclosure is a sheet for a vapor chamber having a hollow portion into which a working fluid is to be injected, wherein the hollow portion includes a first flow path and a liquid flow path portion adjacent to the first flow path.
  • the liquid flow path portion is provided with an introduction portion that protrudes toward the first flow path side at the boundary surface with the second flow path and the first flow path, and the introduction portion is provided from the top that protrudes most toward the first flow path side. It has an introduction surface extending toward the second flow path, and is composed of three stacked sheets. Of the three sheets, the sheet arranged in the center penetrates in the thickness direction of the sheet and is a sheet.
  • a sheet for a vapor chamber which extends along a surface to form a first flow path and has a second flow path provided on at least one surface in the thickness direction of the liquid flow path portion of the sheet arranged in the center. ..
  • Another aspect of the present disclosure is a vapor chamber in which a working fluid is sealed in a closed space, wherein the closed space is provided with a first flow path and a liquid flow path portion adjacent to the first flow path.
  • the portion is provided with a second flow path in at least one of the thickness directions of the vapor chamber, and the first sheet, the second sheet, and the third sheet arranged between the first sheet and the second sheet are laminated.
  • the third sheet penetrates in the thickness direction of the sheet and extends along the sheet surface to form the first flow path, and at least one of the first sheet and the second sheet is on the third sheet side.
  • the inner sheet and the reinforcing sheet on the side opposite to the third sheet side are laminated, and the proof stress of the reinforcing sheet is higher than the proof stress of the inner sheet, which is a vapor chamber.
  • Another aspect of the present disclosure is a vapor chamber in which a working fluid is sealed in a closed space, wherein the closed space is provided with a first flow path and a liquid flow path portion adjacent to the first flow path.
  • the portion is provided with a second flow path in at least one of the thickness directions of the vapor chamber, and the first sheet, the second sheet, and the third sheet arranged between the first sheet and the second sheet are laminated.
  • the third sheet penetrates in the thickness direction of the sheet and extends along the sheet surface to form the first flow path, and at least one of the first sheet and the second sheet is on the third sheet side.
  • the inner sheet, the reinforcing sheet on the side opposite to the third sheet side, and the barrier sheet arranged between the inner sheet and the reinforcing sheet are laminated, and the proof stress of the reinforcing sheet is higher than the proof stress of the inner sheet.
  • the barrier sheet is a vapor chamber containing at least one of tungsten, titanium, tantalum and molybdenum.
  • the heat transport capacity of the vapor chamber can be enhanced.
  • FIG. 1 is a perspective view of the vapor chamber 1.
  • FIG. 2 is an exploded perspective view of the vapor chamber 1.
  • FIG. 3 is a view of the third sheet 30 as viewed from the z direction.
  • FIG. 4 is a view seen from the opposite side of FIG.
  • FIG. 5 is a cross-sectional view of the third sheet 30.
  • FIG. 6 is another cross-sectional view of the third sheet 30.
  • 7 (a) and 7 (b) are cross-sectional views focusing on the outer peripheral liquid flow path portion 34.
  • FIG. 8 is an enlarged view of a part of the outer peripheral liquid flow path portion 34 when viewed from the z direction.
  • FIG. 9 is an enlarged view of a part of the outer peripheral liquid flow path portion of another example when viewed from the z direction.
  • FIG. 10 is a diagram illustrating an outer peripheral liquid flow path portion of another example.
  • FIG. 11 is a diagram illustrating an outer peripheral liquid flow path portion of another example.
  • FIG. 12 is a diagram illustrating an outer peripheral liquid flow path portion of another example.
  • 13 (a) and 13 (b) are cross-sectional views focusing on the inner liquid flow path portion 38.
  • FIG. 14 is an enlarged view of a part of the inner liquid flow path portion 38 when viewed from the z direction.
  • FIG. 15 is a cross-sectional view of the vapor chamber 1.
  • FIG. 16 is another cross-sectional view of the vapor chamber 1.
  • 17 (a) and 17 (b) are enlarged cross-sectional views of a part of FIG.
  • FIG. 18 (a) and 18 (b) are enlarged cross-sectional views of a part of FIG.
  • FIG. 19 is a diagram illustrating an electronic device 50.
  • FIG. 20 is a diagram illustrating the flow of the working fluid. It is a figure explaining the example by four sheets.
  • FIG. 22 is an exploded perspective view of the vapor chamber 51 according to the second embodiment.
  • FIG. 23 is a diagram illustrating a closed space of the vapor chamber 51.
  • FIG. 24 is a cross-sectional view of the vapor chamber 51.
  • FIG. 25 is an enlarged view of a part of FIG. 24.
  • FIG. 26 is a perspective view of the vapor chamber 101.
  • FIG. 27 is an exploded perspective view of the vapor chamber 101.
  • FIG. 28 is a view of the third sheet 130 as viewed from the z direction.
  • FIG. 29 is a view seen from the opposite side of FIG. 28.
  • FIG. 30 is a cross-sectional view of the third sheet 130.
  • FIG. 31 is another cross-sectional view of the third sheet 130.
  • FIG. 32 is a cross-sectional view focusing on the outer peripheral liquid flow path portion 134.
  • FIG. 33 is a diagram illustrating the outer peripheral liquid flow path portion 134.
  • FIG. 34 is a cross-sectional view of a portion where the pillar 136a is arranged.
  • FIG. 35 is a cross-sectional view focusing on the inner liquid flow path portion 138.
  • FIG. 36 is a diagram illustrating an inner liquid flow path portion 138.
  • FIG. 37 is a cross-sectional view of a portion where the pillar 140a is arranged.
  • FIG. 38 is a cross-sectional view of the vapor chamber 101.
  • FIG. 39 is another cross-sectional view of the vapor chamber 101.
  • FIG. 40 is an enlarged view of a part of FIG. 38.
  • FIG. 41 is an enlarged cross-sectional view of a portion where the pillar 136a is arranged.
  • FIG. 42 is an enlarged view of a part of FIG. 38.
  • FIG. 43 is an enlarged cross-sectional view of the portion where the pillar 140a is arranged.
  • FIG. 44 is a diagram illustrating another form.
  • FIG. 45 is a diagram illustrating another form.
  • FIG. 46 is a diagram illustrating another form.
  • FIG. 47 is a diagram illustrating another form.
  • FIG. 50 is a diagram illustrating a preferred form in a cross section.
  • 51 (a) and 51 (b) are diagrams for explaining the introduction portion of another form.
  • 52 (a) and 52 (b) are diagrams for explaining the introduction portion of another form.
  • 53 (a) and 53 (b) are diagrams for explaining the introduction portion of another form.
  • 54 (a) and 54 (b) are diagrams for explaining the introduction portion of another form.
  • FIGS. 55 (a) and 55 (b) are diagrams illustrating an introduction portion of another form.
  • FIG. 58 is a cross-sectional view of the vapor chamber 301.
  • FIG. 59 is a diagram illustrating a manufacturing process of the vapor chamber 301.
  • FIG. 60 is a diagram illustrating a manufacturing process of the vapor chamber 301.
  • FIG. 61 is a diagram illustrating a manufacturing process of the vapor chamber 301.
  • FIG. 62 is a diagram illustrating a manufacturing process of the vapor chamber 301.
  • FIG. 63 is a diagram illustrating a manufacturing process of the vapor chamber 301.
  • FIG. 64 is a diagram illustrating a manufacturing process of the vapor chamber 301.
  • FIG. 65 is a cross-sectional view of the vapor chamber 301'.
  • FIG. 66 is a cross-sectional view of the vapor chamber 301 ”.
  • FIG. 67 is a cross-sectional view of the vapor chamber 401.
  • FIG. 68 is a diagram illustrating an inner liquid flow path portion 538 in the vapor chamber 501.
  • FIG. 69 is a diagram illustrating a form of a pair of liquid flow path convex portions shown in FIG. 68.
  • FIG. 70 is a diagram illustrating the operation of the pair of liquid flow path convex portions shown in FIG. 69.
  • FIG. 71 is a diagram illustrating an actual form of the liquid flow path convex portion shown in FIG. 68.
  • FIG. 72 is a diagram illustrating an inner liquid flow path portion 538'in the vapor chamber 501'.
  • FIG. 73 is a diagram illustrating an inner liquid flow path portion 538 "in the vapor chamber 501".
  • the shapes of a plurality of parts that can be expected to have the same function are regularly described, but the function should be expected without being bound by a strict meaning.
  • the shapes of the portions may be different from each other as long as they can be formed.
  • the boundary line indicating the joint surface between members is shown by a simple straight line for convenience, but it is not limited to a strict straight line, and a desired joint performance can be expected.
  • the shape of the boundary line is arbitrary as long as it is possible.
  • FIG. 1 shows an external perspective view of the vapor chamber 1 according to the first embodiment
  • FIG. 2 shows an exploded perspective view of the vapor chamber 1.
  • Arrows (x, y, z) indicating the directions corresponding to the three-dimensional Cartesian coordinate system are also displayed in these figures and each of the figures shown below for convenience as necessary.
  • the in-plane direction of xy is the plate surface direction of the vapor chamber 1 which is plate-shaped
  • the z direction is the thickness direction.
  • the vapor chamber 1 of the present embodiment has a first sheet 10, a second sheet 20, and a third sheet 30 (sometimes referred to as “intermediate sheet 30”). ing. Then, as will be described later, these sheets are overlapped and joined (diffusion joining, brazing, etc.) so that the shape of the third sheet 30 is formed between the first sheet 10 and the second sheet 20. It becomes a sheet for a vapor chamber in which a hollow portion based on the base is formed. Then, when the working fluid is sealed in this hollow portion, it becomes a closed space 2 (see, for example, FIG. 15) and becomes a vapor chamber 1.
  • the first sheet 10 is a sheet-like member as a whole in which the front and back surfaces (one and the other surface in the thickness direction, the inner surface 10a and the outer surface 10b) are flat.
  • the first sheet 10 is composed of flat surfaces on both the front and back surfaces, and forms a thickness by passing a flat inner surface 10a, a flat outer surface 10b opposite to the inner surface 10a, and the inner surface 10a and the outer surface 10b.
  • the end face 10c is provided.
  • the first sheet 10 includes a main body 11 and an injection unit 12.
  • the main body 11 is a sheet-like portion that forms a hollow portion and a closed space, and in this embodiment, it is a rectangle whose corners are arcuate (having a so-called R) in a plan view.
  • the main body 11 of the first sheet 10 has a quadrangular shape as in this embodiment, and may have a shape required for each vapor chamber. For example, it may be circular, elliptical, triangular, other polygonal, and a shape having a bent portion, for example, L-shaped, T-shaped, crank-shaped, U-shaped, or the like. Further, the shape may be a combination of at least two of these.
  • the injection portion 12 is a portion for injecting the working fluid into the formed hollow portion, and in this embodiment, it has a rectangular sheet shape in a plan view protruding from one side of the main body 11 which is a rectangular shape in a plan view.
  • the thickness of such a first sheet 10 is not particularly limited, but is preferably 1.0 mm or less, and may be 0.75 mm or less, or 0.5 mm or less. On the other hand, this thickness is preferably 0.01 mm or more, may be 0.05 mm or more, or may be 0.1 mm or more.
  • the range of the thickness may be determined by a combination of any one of the plurality of upper limit candidate values and one of the plurality of lower limit candidate values. Further, the thickness range may be determined by a combination of any two of a plurality of upper limit candidate values or by any combination of a plurality of lower limit candidate values. This makes it possible to increase the number of situations in which it can be applied as a thin vapor chamber.
  • the material constituting the first sheet 10 is not particularly limited, but a metal having high thermal conductivity is preferable. Examples thereof include copper and copper alloys. However, not necessarily a metallic material, for example AlN, Si 3 N 4, or, ceramics, such as Al 2 O 3, which resin may be such as polyimide or epoxy. Further, a material obtained by laminating two or more kinds of materials in one sheet may be used, or the materials may be different depending on the part.
  • the first sheet 10 may be a single layer, or a plurality of sheets may be laminated.
  • a sheet (clad material) in which a plurality of layers having different strengths are laminated may be used.
  • the second sheet 20 is also a sheet-like member as a whole whose front and back surfaces are flat.
  • the second sheet 20 is composed of flat surfaces on both the front and back surfaces, and forms a thickness by passing the flat inner surface 20a, the flat outer surface 20b opposite to the inner surface 20a, and the inner surface 20a and the outer surface 20b.
  • the end face 20c is provided.
  • the second sheet 20 also includes a main body 21 and an injection unit 22 like the first sheet 10.
  • the second sheet 20 can be considered in the same manner as the first sheet 10.
  • the thickness and material of the second sheet 20 do not have to be the same as those of the first sheet 10, and may be configured differently.
  • the second sheet 20 may also be a single layer, or a plurality of sheets may be laminated.
  • a sheet (clad material) in which a plurality of layers having different strengths are laminated may be used.
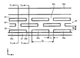
  • the third sheet 30 is a sheet sandwiched and stacked between the inner surface 10a of the first sheet 10 and the inner surface 20a of the second sheet 20, and has a structure for the closed space 2 in which the working fluid moves. It is equipped. 3 and 4 show a plan view (viewed from the z direction) of the third sheet 30.
  • FIG. 3 is a view of the surface stacked on the first sheet 10
  • FIG. 4 is a view of the surface stacked on the second sheet 20.
  • the cross-sectional view taken along the line indicated by C 1 -C 1 3 in FIG. 5 it is shown a cross-sectional view taken along the line indicated by C 2 -C 2 in FIG. 3, respectively in FIG.
  • hatching (diagonal line) is attached to the part related to the cut surface, and hatching is attached to the part not related to the cut surface and appearing in the cross-sectional view that needs to be displayed. It is displayed without. The same applies to the following drawings.
  • the third sheet 30 may also be a single layer, or a plurality of sheets may be laminated.
  • the plurality of sheets may be laminated and then formed into the following form, or the plurality of sheets may be individually processed and then overlapped to form the following form. You may.
  • the third sheet 30 includes a first surface 30a that overlaps the inner surface 10a of the first sheet 10, a second surface 30b that overlaps the inner surface 20a of the second sheet 20, and the first surface 30a and the second surface 30b. It is provided with an end face 30c that is passed to form a thickness. Therefore, the first surface 30a appears in FIG. 3, and the second surface 30b appears in FIG. 4, respectively.
  • the third sheet 30 includes a main body 31 and an injection unit 32.
  • the main body 31 is a hollow portion in the sheet for the vapor chamber and a sheet-like portion forming a closed space in the vapor chamber 1, and in this embodiment, it is a rectangle whose corners are arcuate (having a so-called R) in a plan view. ..
  • the main body 31 has a quadrangular shape as in this embodiment, and can also have a shape required as a vapor chamber. For example, it may be circular, elliptical, triangular, other polygonal, and a shape having a bent portion, for example, L-shaped, T-shaped, crank-shaped, U-shaped, or the like. Further, the shape may be a combination of at least two of these.
  • the injection portion 32 is a portion for injecting the working fluid into the formed hollow portion, and in this embodiment, it has a rectangular sheet shape in a plan view protruding from one side of the main body 31 which is a rectangular shape in a plan view.
  • the injection unit 32 is provided with a groove 32a leading from the end surface 30c to the main body 31 on the second surface 30b side.
  • the thickness of the third sheet 30 can be 0.03 mm or more and 0.8 mm or less. However, the thickness of the third sheet 30 is preferably thicker than that of the first sheet 10 and the second sheet 20. As a result, the cross section of the steam flow path 4 described later can be made large, and the working fluid can move more smoothly.
  • the material of the third sheet 30 can be considered in the same manner as the first sheet 10 and the second sheet 20.
  • the main body 31 is formed with a structure for refluxing the working fluid. Specifically, the main body 31 is provided with an outer peripheral joint portion 33, an outer peripheral liquid flow path portion 34, an inner liquid flow path portion 38, a vapor flow path groove 42, and a vapor flow path communication groove 44. There is.
  • the vapor chamber 1 of this embodiment is the first flow path through which the vapor of the working fluid passes through the steam flow path 4 (see FIG. 15 and the like) and the second flow path through which the working fluid is condensed and liquefied.
  • a condensate flow path 3 (see FIG. 18 and the like) is provided.
  • the vapor flow path groove 42 of the third sheet 30 forms the vapor flow path 4, and the liquid flow path groove 35, the liquid flow path groove 36 (see FIG. 7 and the like) provided in the outer peripheral liquid flow path portion 34, and
  • the liquid flow path groove 39 and the liquid flow path groove 40 (see FIGS. 13 (a), 13 (b), etc.) provided in the inner liquid flow path portion 38 form the condensate flow path 3.
  • the outer peripheral joint portion 33 is a portion provided along the outer circumference of the main body 31, and includes an outer peripheral joint surface 33a provided on the first surface 30a of the main body 31 and an outer peripheral joint surface 33b provided on the second surface 30b. ing.
  • the outer peripheral joint surface 33a overlaps the outer peripheral portion of the inner surface 10a of the first sheet 10
  • the outer peripheral joint surface 33b overlaps the outer peripheral portion of the inner surface 20a of the second sheet 20, and each is joined (diffusion bonding, brazing, etc.).
  • a hollow portion based on the shape of the third sheet 30 is formed between the first sheet 10 and the second sheet 20, and the working fluid is sealed therein to form a closed space.
  • the width W 1 is preferably 3.0 mm or less, and may be 2.5 mm or less, or 2.0 mm or less. If the width W 1 is larger than 3.0 mm, the internal volume of the closed space becomes small, and there is a risk that the vapor flow path and the condensate flow path cannot be sufficiently secured.
  • the width W 1 is preferably 0.1 mm or more, may be 0.4 mm or more, or may be 0.8 mm or more.
  • the joining area may be insufficient when the positions of the sheets are displaced during joining.
  • the range of the width W 1 may be determined by a combination of any one of the plurality of upper limit candidate values and one of the plurality of lower limit candidate values. Further, the range of the width W 1 may be defined by a combination of any two of a plurality of upper limit candidate values or an arbitrary combination of a plurality of lower limit candidate values.
  • the width of the outer peripheral joint surface 33a and the width of the outer peripheral joint surface 33b are both indicated by W 1 , the width of the outer peripheral joint surface 33a and the width of the outer peripheral joint surface 33b do not necessarily have to be the same and are different. It may be the width.
  • the outer peripheral liquid flow path portion 34 functions as a liquid flow path portion, and is a portion forming a part of the condensate flow path 3 which is a second flow path through which the working fluid is condensed and liquefied.
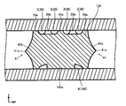
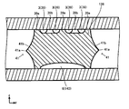
  • FIG. 7 (a), FIG. 7 (b) showing an enlarged portion indicated by an arrow C 3 of FIG.
  • the (viewed from the z-direction) of the perimetric liquid flow path 34 seen from the direction indicated by the arrow C 4 in FIG. 7 a plan view, of the Figure 8 showing an enlarged view. That is, FIG. 8 shows a part of the outer peripheral liquid flow path portion 34 seen from the first surface 30a.
  • FIG. 8 shows a part of the outer peripheral liquid flow path portion 34 seen from the first surface 30a.
  • FIG. 7 (a) is a C 15 -C 15 arrow sectional view of FIG. 8
  • FIG. 7 (b) is a cross-sectional view taken along C 16 -C 16 of Figure 8.
  • FIG. 7A is a cross section in which the convex portion 35a is arranged on the introduction portion 37 side
  • FIG. 7B is a cross section in which the communication opening 35b is arranged on the introduction portion 37 side.
  • the outer peripheral liquid flow path portion 34 is a portion of the main body 31 formed along the inside of the outer peripheral joint portion 33 and provided along the outer circumference of the portion that becomes the closed space 2. Further, each of the first surface 30a and the second surface 30b of the outer peripheral liquid flow path portion 34 has a liquid flow path groove 35 (first surface 30a side) and a liquid which are a plurality of grooves extending along the outer peripheral direction of the main body 31.
  • the flow path groove 36 (second surface 30b side) is formed, and the plurality of liquid flow path grooves 35 and the liquid flow path groove 36 are determined in a direction different from the direction in which the liquid flow path groove 35 and the liquid flow path groove 36 extend. Are arranged at intervals of.
  • the convex portion 35a between the liquid flow path groove 35 which is a concave portion and the liquid flow path groove 35 on the first surface 30a side. Is formed by repeating unevenness.
  • the liquid flow path groove 36, which is a concave portion, and the convex portion 36a, which is between the liquid flow path groove 36, are formed by repeating unevenness. That is, in the present embodiment, liquid flow path grooves serving as the condensate flow path 3 are provided on one side and the other side (front and back sides) in the thickness direction (z direction).
  • each of the first surface 30a and the second surface 30b is provided with a plurality of liquid flow path grooves 35 and liquid flow path grooves 36, so that the total flow path of the condensed liquid flow path 3 as a whole is provided.
  • the cross-sectional area is secured to an appropriate size, the condensate of the required flow rate can be flowed, and the depth and width of the liquid flow path groove 35 and the liquid flow path groove 36 per one are reduced, whereby the first A large capillary force can be utilized by reducing the flow path cross-sectional area of the condensate flow path 3 (see FIGS. 17 (a), 17 (b), etc.) which is the two flow paths.
  • the depth and width may be changed between one and the other (front and back), that is, the liquid flow path groove 35 and the liquid flow path groove 36, respectively. According to this, the flow rate and the capillary force can be adjusted independently according to the final product.
  • the liquid flow path groove 35 and the liquid flow path groove 36 are grooves, they have a bottom portion in the cross-sectional shape thereof, and the opposite side facing the bottom portion is open. As will be described later, when the first sheet 10 and the second sheet 20 are overlapped with the third sheet 30, this opening is closed to form the condensate flow path 3.
  • the liquid flow path groove 35 and the liquid flow path groove 36 have a semi-elliptical cross section.
  • the cross-sectional shape is not limited to a semi-elliptical shape, and may be a quadrangle such as a circle, a rectangle, a square, a trapezoid, another polygon, or a shape obtained by combining any one or more of these. ..
  • the adjacent liquid flow path grooves 35 are communicated with each other by the communication openings 35b at predetermined intervals.
  • the equalization of the amount of condensate is promoted among the plurality of liquid flow path grooves 35, the condensate can flow efficiently, and the working fluid can be smoothly returned.
  • the liquid flow path groove 35, the convex portion 35a, and the communication opening 35b will be described, but the liquid flow path groove 36 and the convex portion provided on the second surface 30b side will be described.
  • the same can be considered for the portion 36a, in which a communication opening 36b (not shown) is provided, and can be considered in the same manner as the liquid flow path groove 35, the convex portion 35a, and the communication opening 35b.
  • communication openings 35b may be arranged at different positions in the direction in which the liquid flow path groove 35 extends with the groove of one liquid flow path groove 35 interposed therebetween. That is, the convex portions 35a and the communication openings 35b are alternately arranged along the direction orthogonal to the direction in which the liquid flow path groove extends.
  • the present invention is not limited to this, and for example, as shown in FIG. 9, the communication opening so as to face the same position in the direction in which the liquid flow path groove 35 extends across the groove of one liquid flow path groove 35. 35b may be arranged.
  • FIGS. 10 to 12 show one liquid flow path groove 35, two convex portions 35a sandwiching the liquid flow path groove 35, and one communication opening 35b provided in each convex portion 35a from the same viewpoint as in FIG. The figure is shown.
  • the shape of the convex portion 35a is different from the example of FIG. 8 from the viewpoint (plan view). That is, in the convex portion 35a shown in FIG. 8, the width thereof is the same as that of the other portions and is constant even at the end portion where the communication opening 35b is formed.
  • FIG. 10 to 12 is formed so that the width thereof is smaller than the maximum width of the convex portion 35a at the end portion where the communication opening 35b is formed. .. More specifically, FIG. 10 shows an example in which the corners are arcuate at the ends and R is formed at the corners to reduce the width of the ends, and FIG. 11 shows an example in which the ends are semicircular. An example in which the width of the end portion is reduced, and FIG. 12 is an example in which the end portion is tapered so as to be sharpened.
  • communication is formed by forming the width of the convex portion 35a at the end where the communication opening 35b is formed so as to be smaller than the maximum width of the convex portion 35a.
  • the working fluid can easily move through the opening 35b, and the working fluid can easily move to the adjacent condensate flow path.
  • an introduction portion 37 is provided in the outer peripheral liquid flow path portion 34.
  • the introduction portion 37 is a portion formed on the interface with the steam flow path groove 42, and is a portion protruding toward the steam flow path groove 42 side.
  • the most protruding top portion 37a is provided at the center in the thickness direction (z direction), and the outer peripheral liquid flow is viewed in cross section from the top portion 37a toward the first surface 30a and the second surface 30b side (z direction).
  • An introduction surface 37b having a concave arc shape is provided on the road portion 34 side.
  • the form of the introduction portion 37 is not limited to this, and the position of the top portion 37a may be any of the z directions, and the introduction surface 37b may be a straight line in cross section or a curved line that is not arcuate. Further, the top portion 37a may be a point in a cross-sectional view and may have a length.
  • the condensate easily collects on the introduction surface 37b due to the shape as described above, and the working fluid moves smoothly between the condensate flow path 3 and the vapor flow path 4 through the introduction unit 37. Therefore, the heat transport capacity can be further increased.
  • the outer peripheral liquid flow path portion 34 having the above configuration may further have the following configuration.
  • the drawing is referred to here, only the first surface 30a side will be described, but the second surface 30b side (liquid flow path groove 36, convex portion 36a, and communication opening 36b) should be considered in the same manner. Can be done. However, this does not mean that the shape of the first surface 30a side and the shape of the second surface 30b side need to be the same, and the first surface 30a side and the second surface 30b side The shapes of the above may be the same or different.
  • the width of the outer peripheral liquid flow path portion 34 (the size in the direction in which the liquid flow path groove 35 and the liquid flow path groove 36 are arranged) shown by W 2 in FIGS. 3 to 5 and 7 (a) is the vapor chamber.
  • the width W 2 is preferably 3.0 mm or less, and may be 1.5 mm or less, or 1.0 mm or less. If the width W 2 exceeds 3.0 mm, there is a risk that sufficient space for the inner liquid flow path and vapor flow path cannot be secured.
  • the width W 2 is preferably 0.05 mm or more, and may be 0.1 mm or more, or 0.2 mm or more.
  • the range of the width W 2 may be determined by a combination of any one of the plurality of upper limit candidate values and one of the plurality of lower limit candidate values. Further, the range of the width W 2 may be defined by a combination of any two of a plurality of upper limit candidate values or an arbitrary combination of a plurality of lower limit candidate values.
  • the width of the outer peripheral liquid flow path portion 34 on the first surface 30a side and the width on the second surface 30b side are both indicated by W 2 , but the width of the outer peripheral joining surface 33a and the width of the outer peripheral joining surface 33b are shown. It does not have to be the same, but may have different widths.
  • the groove width shown in W 3 in FIG. 8 (a size in the direction of liquid flow path grooves 35 are arranged, the width of the opening surface of the groove) is a 1000 ⁇ m or less It is preferably 500 ⁇ m or less, or 200 ⁇ m or less.
  • the width W 3 is preferably 20 ⁇ m or more, and may be 45 ⁇ m or more, or 60 ⁇ m or more.
  • the range of the width W 3 may be determined by a combination of any one of the plurality of upper limit candidate values and one of the plurality of lower limit candidate values.
  • the range of the width W 3 may be defined by any combination of a plurality of upper limit candidate values or any combination of a plurality of lower limit candidate values.
  • the depth of the groove indicated by D 1 FIGS. 7 (a) is preferably 200 ⁇ m or less, may also be 150 ⁇ m or less, it may be 100 ⁇ m or less.
  • the depth D 1 is preferably 5 ⁇ m or more, and may be 10 ⁇ m or more, or 20 ⁇ m or more.
  • the range of the depth D 1 may be determined by a combination of any one of the plurality of upper limit candidate values and one of the plurality of lower limit candidate values.
  • the range of the depth D 1 may be defined by any combination of a plurality of upper limit candidate values or any combination of a plurality of lower limit candidate values.
  • the aspect ratio (aspect ratio) in the flow path cross section represented by the value obtained by dividing the groove width W 3 by the depth D 1 is larger than 1.0. Is preferable. This ratio may be 1.5 or more, or 2.0 or more. Alternatively, the aspect ratio may be less than 1.0. This ratio may be 0.75 or less, or 0.5 or less. Among them, W 3 is preferably larger than D 1 from the viewpoint of manufacturing, and the aspect ratio is preferably larger than 1.3 from this viewpoint.
  • the pitch of the liquid flow path grooves 35 adjacent in the plurality of liquid flow path grooves 35 shown in P 1 in FIG. 7 (a) is preferably not more than 1100 .mu.m, it may be less 550 .mu.m, 220 .mu.m or less It may be.
  • the pitch P 1 is preferably 30 ⁇ m or more, may be 55 ⁇ m or more, or may be 70 ⁇ m or more.
  • the range of the pitch P 1 may be determined by a combination of any one of the plurality of upper limit candidate values and one of the plurality of lower limit candidate values.
  • the range of the pitch P 1 may be defined by a combination of any two of a plurality of upper limit candidate values or an arbitrary combination of a plurality of lower limit candidate values.
  • the size of the opening along the liquid flow path grooves 35 shown extends in L 1 in FIG. 8 is preferably not more than 1100 .mu.m, it may be less 550 .mu.m, 220 .mu.m or less It may be.
  • the size L 1 is preferably 30 ⁇ m or more, 55 ⁇ m or more, or 70 ⁇ m or more.
  • the range of the magnitude L 1 may be determined by a combination of any one of the plurality of upper limit candidate values and one of the plurality of lower limit candidate values. Further, the range of the size L 1 may be defined by a combination of any two of a plurality of upper limit candidate values or an arbitrary combination of a plurality of lower limit candidate values.
  • the pitch of the communication opening portion 35b adjacent in the direction in which the liquid passage grooves 35 shown by L 2 in FIG. 8 extends is preferably not more than 2700Myuemu, may be less 1800 .mu.m, equal to or less than 900 ⁇ m May be good.
  • the pitch L 2 is preferably 60 ⁇ m or more, and may be 110 ⁇ m or more, or 140 ⁇ m or more.
  • the range of the pitch L 2 may be determined by a combination of any one of the plurality of upper limit candidate values and one of the plurality of lower limit candidate values. Further, the range of the pitch L 2 may be defined by a combination of any two of a plurality of upper limit candidate values or by any combination of a plurality of lower limit candidate values.
  • protruded amount shown in W 4 in FIGS. 7 (a) is preferably 1000 ⁇ m or less, may also be 500 ⁇ m or less, 300 [mu] m It may be as follows.
  • the protrusion amount W 4 is preferably 20 ⁇ m or more, and may be 45 ⁇ m or more, or 60 ⁇ m or more.
  • the range of the protrusion amount W 4 may be determined by a combination of any one of the plurality of upper limit candidate values and one of the plurality of lower limit candidate values. Further, the range of the protrusion amount W 4 may be determined by combining any two of a plurality of upper limit candidate values or by any combination of a plurality of lower limit candidate values.
  • the inner liquid flow path portion 38 also functions as a liquid flow path portion, and is a part of a condensate flow path 3 which is a second flow path through which the working fluid is condensed and liquefied, and a portion constituting the introduction portion 41. is there.
  • FIG. 13 (a) showing an enlarged portion indicated by an arrow C 5 out of 5 in Figure 13 (b).
  • the cross-sectional shape of the inner liquid flow path portion 38 also appears in FIGS. 13 (a) and 13 (b).
  • FIG. 13 (a) showing an enlarged portion indicated by an arrow C 5 out of 5 in Figure 13 (b).
  • FIG. 13 (a) is a C 17 -C 17 arrow sectional view of FIG. 14
  • FIG. 13 (b) is a cross-sectional view taken along a C 18 -C 18 of Figure 14.
  • FIG. 13A is a cross section in which the convex portion 39a is arranged on the introduction portion 41 side
  • FIG. 13B is a cross section in which the communication opening 39b is arranged on the introduction portion 41 side.
  • the inner liquid flow path portion 38 is a portion of the main body 31 formed inside the annular ring of the outer peripheral liquid flow path portion 34.
  • the inner liquid flow path portion 38 of the present embodiment extends in a direction (x direction) parallel to the long side of the rectangle in the plan view (when viewed from the z direction) of the main body 31, and a plurality of (three in this embodiment) inner liquids.
  • the flow path portions 38 are arranged at predetermined intervals in a direction parallel to the short side (y direction).
  • Liquid flow path groove 39 (first surface 30a side), which is a plurality of grooves extending in the direction in which the inner liquid flow path portion 38 extends, on each of the first surface 30a and the second surface 30b of the inner liquid flow path portion 38.
  • the liquid flow path groove 40 (second surface 30b side) is formed, and the plurality of liquid flow path grooves 39 and the liquid flow path groove 40 are in a direction different from the direction in which the liquid flow path groove 39 and the liquid flow path groove 40 extend. Are arranged at predetermined intervals. Therefore, as can be seen from FIG.
  • the liquid flow path groove 39 which is a recess on the first surface 30a side and the convex portion 39a between the liquid flow path grooves 39. Is formed by repeating unevenness.
  • the liquid flow path groove 40 which is a concave portion, and the convex portion 40a, which is between the liquid flow path grooves 40, are formed by repeating unevenness. That is, in this embodiment, the liquid flow path groove serving as the condensate flow path 3 is provided on both one side and the other side (front and back) in the thickness direction (z direction).
  • each of the first surface 30a and the second surface 30b is provided with a plurality of liquid flow path grooves 39 and liquid flow path grooves 40, so that the total flow path of the condensed liquid flow path 3 as a whole is provided.
  • the cross-sectional area is secured to an appropriate size, the condensate of the required flow rate can be flowed, and the depth and width of each liquid flow path groove 39 and liquid flow path groove 40 are reduced to reduce the depth and width of the second flow.
  • a large capillary force can be utilized by reducing the flow path cross-sectional area of the condensate flow path 3 (see FIG. 18 and the like), which is a path.
  • the liquid flow path groove 39 and the liquid flow path groove 40 are grooves, they have a bottom portion in their cross-sectional shape, and the opposite side facing the bottom portion is open. As will be described later, when the first sheet 10 and the second sheet 20 are overlapped with the third sheet 30, this opening is closed to form the condensate flow path 3.
  • the liquid flow path groove 39 and the liquid flow path groove 40 have a semi-elliptical cross section.
  • the cross-sectional shape is not limited to a semi-elliptical shape, and may be a quadrangle such as a circle, a rectangle, a square, a trapezoid, another polygon, or a shape obtained by combining any one or more of these. ..
  • the adjacent liquid flow path grooves 39 are communicated with each other by the communication opening 39b at a predetermined interval.
  • the equalization of the amount of condensate is promoted among the plurality of liquid flow path grooves 39, the condensate can flow efficiently, and the working fluid can be smoothly returned. Since the first surface 30a side is shown in FIG. 14, the liquid flow path groove 39, the convex portion 39a, and the communication opening 39b will be described, but the liquid flow path groove 40 and the convex portion provided on the second surface 30b side will be described.
  • the portion 40a in which a communication opening 40b (not shown) is provided, and can be considered in the same manner as the liquid flow path groove 39, the convex portion 39a, and the communication opening 39b.
  • the communication opening 39b similarly to the communication opening 35b described above, in the direction orthogonal to the direction in which the liquid flow path groove 39 and the liquid flow path groove 40 extend, following the example shown in FIG.
  • the communication openings 39b may be arranged at the same position.
  • the shape of the communication opening 39b and the convex portion 39a may be formed according to the examples of FIGS. 10 to 12.
  • the introduction portion 41 is provided in the inner liquid flow path portion 38.
  • the introduction portion 41 is a portion formed on the interface with the steam flow path groove 42, and is a portion protruding toward the steam flow path groove 42 side.
  • the most protruding top portion 41a is provided at the center in the thickness direction (z direction), and the inner liquid flow is viewed in cross section from the top portion 41a toward the first surface 30a and the second surface 30b side (z direction).
  • An introduction surface 41b having a concave arc shape is provided on the road portion 38 side.
  • the form of the introduction portion 41 is not limited to this, and the position of the top portion 41a may be any of the z directions, and the introduction surface 41b may be a straight line in cross section or a curved line that is not arcuate. Further, the top portion 41a may be a point in cross section or may have a length.
  • the condensate easily collects on the introduction surface 41b due to the shape as described above, and the working fluid moves smoothly between the condensate flow path 3 and the vapor flow path 4 through the introduction unit 41.
  • the heat transport capacity can be further increased.
  • the inner liquid flow path portion 38 having the above configuration is preferably further provided with the following configuration.
  • the largest value is preferably 3000 ⁇ m or less, and may be 2000 ⁇ m or less, or 1500 ⁇ m or less.
  • the width W 5 is preferably 100 ⁇ m or more, and may be 200 ⁇ m or more, or 400 ⁇ m or more.
  • the range of the width W 5 may be determined by a combination of any one of the plurality of upper limit candidate values and one of the plurality of lower limit candidate values. Further, the range of the width W 5 may be defined by any combination of a plurality of upper limit candidate values or any combination of a plurality of lower limit candidate values.
  • the pitch of the plurality of inner liquid flow path portion 38 shown in P 2 in FIG. 5 may be that it is less preferable 3500 ⁇ m or less 5000 .mu.m, may be not more than 3000 .mu.m.
  • the pitch P 2 is preferably 200 ⁇ m or more, and may be 400 ⁇ m or more, or 800 ⁇ m or more.
  • the range of the pitch P 2 may be determined by a combination of any one of the plurality of upper limit candidate values and one of the plurality of lower limit candidate values.
  • the range of the pitch P2 may be defined by a combination of any two of a plurality of upper limit candidate values or by any combination of a plurality of lower limit candidate values.
  • the inner liquid flow path portion 38 having the above configuration may further have the following configuration.
  • the drawing is referred to here, only the first surface 30a side will be described, but the second surface 30b side (liquid flow path groove 40, convex portion 40a, and communication opening 40b) should be considered in the same manner. Can be done. However, this does not mean that the shape of the first surface 30a side and the shape of the second surface 30b side need to be the same, and the first surface 30a side and the second surface 30b side The shapes of the above may be the same or different.
  • the width of the opening surface of the groove groove width shown in the W 6 in FIG. 14, 1000 .mu.m or less It may be 500 ⁇ m or less, and may be 200 ⁇ m or less.
  • the width W 6 is preferably 20 ⁇ m or more, and may be 45 ⁇ m or more, or 60 ⁇ m or more.
  • the range of the width W 6 may be determined by a combination of any one of the plurality of upper limit candidate values and one of the plurality of lower limit candidate values. Further, the range of the width W 6 may be defined by any combination of a plurality of upper limit candidate values or any combination of a plurality of lower limit candidate values.
  • the depth of the liquid flow path groove 39 shown by D 2 in FIG. 13A is preferably 200 ⁇ m or less, preferably 150 ⁇ m or less, or 100 ⁇ m or less.
  • the depth D 2 is preferably 5 ⁇ m or more, and may be 10 ⁇ m or more, or 20 ⁇ m or more.
  • the range of the depth D 2 may be determined by a combination of any one of the plurality of upper limit candidate values and one of the plurality of lower limit candidate values. Further, the range of the depth D 2 may be defined by a combination of any two of a plurality of upper limit candidate values or an arbitrary combination of a plurality of lower limit candidate values.
  • the aspect ratio (aspect ratio) in the flow path cross section represented by the value obtained by dividing the groove width W 6 by the depth D 2 may be larger than 1.0. preferable. It may be 1.5 or more, or 2.0 or more. Alternatively, it may be smaller than 1.0, 0.75 or less, or 0.5 or less.
  • the groove width W 6 is preferably larger than the depth D 2 from the viewpoint of manufacturing, and the aspect ratio is preferably larger than 1.3 from this viewpoint.
  • the pitch shown in FIG. 13 (a) to P 3 in the liquid flow path grooves 39 adjacent in the plurality of liquid flow path grooves 39 shown is preferably not more than 1100 .mu.m, it may be less 550 .mu.m, 220 .mu.m or less It may be.
  • the pitch P 3 is preferably 30 ⁇ m or more, and may be 55 ⁇ m or more, or 70 ⁇ m or more.
  • the range of the pitch P 3 may be determined by a combination of any one of the plurality of upper limit candidate values and one of the plurality of lower limit candidate values.
  • the range of the pitch P 3 may be defined by a combination of any two of a plurality of upper limit candidate values or by any combination of a plurality of lower limit candidate values.
  • the communication opening portion 39 b, at the indicated liquid flow path groove 39 direction of the opening size along extending L 3 in FIG. 14 is preferably not more than 1100 .mu.m, it may be less 550 .mu.m, It may be 220 ⁇ m or less.
  • the size L 3 is preferably 30 ⁇ m or more, and may be 55 ⁇ m or more, or 70 ⁇ m or more.
  • the range of the magnitude L 3 may be determined by a combination of any one of the plurality of upper limit candidate values and one of the plurality of lower limit candidate values. Further, the range of the size L 3 may be defined by any combination of a plurality of upper limit candidate values or any combination of a plurality of lower limit candidate values.
  • the pitch of the communication opening portion 39b adjacent in the direction in which the liquid flow path groove 39 extends may be that it is less preferable 1800 ⁇ m or less 2700Myuemu, equal to or less than 900 ⁇ m May be good.
  • the pitch L 4 is preferably 60 ⁇ m or more, and may be 110 ⁇ m or more, or 140 ⁇ m or more.
  • the range of the pitch L 4 may be determined by a combination of any one of the plurality of upper limit candidate values and one of the plurality of lower limit candidate values. Further, the range of the pitch L 4 may be defined by a combination of any two of a plurality of upper limit candidate values or by any combination of a plurality of lower limit candidate values.
  • the liquid flow path groove 35 and the liquid flow path groove 36, and the liquid flow path groove 39 and the liquid flow path groove 40 of the present embodiment described above are arranged at equal intervals and parallel to each other, but the present invention is limited to this. If the capillarity can be achieved, the pitches of the grooves may vary, and the grooves may not be parallel to each other.
  • protrusion amount W 7 is preferably 20 ⁇ m or more, and may be 45 ⁇ m or more, or 60 ⁇ m or more.
  • the range of the protrusion amount W 7 may be determined by a combination of any one of the plurality of upper limit candidate values and one of the plurality of lower limit candidate values. Further, the range of the protrusion amount W 7 may be determined by combining any two of a plurality of upper limit candidate values or by any combination of a plurality of lower limit candidate values.
  • the steam flow path groove 42 is a portion through which the vaporized steam by evaporating the working fluid passes, and constitutes a part of the steam flow path 4 (see FIG. 15 and the like) which is the first flow path.
  • 3 and 4 show the shape of the steam flow path groove 42 in a plan view
  • FIG. 5 shows the cross-sectional shape of the steam flow path groove 42.
  • the vapor flow path groove 42 is formed of a groove (slit) formed inside the annular ring of the outer peripheral liquid flow path portion 34 in the main body 31.
  • the vapor flow path groove 42 of the present embodiment is formed between the adjacent inner liquid flow path portions 38 and between the outer peripheral liquid flow path portion 34 and the inner liquid flow path portion 38, and is viewed in a plan view of the main body 31. It is a rectangular groove extending in the direction parallel to the long side (x direction).
  • a plurality of (four in this embodiment) steam flow path grooves 42 are arranged in a direction parallel to the short side (y direction).
  • the steam flow path groove 42 of the present embodiment is configured to communicate the first surface 30a and the second surface 30b side of the third sheet 30, that is, it is a slit-shaped groove, and the thickness of the third sheet 30 is increased. It penetrates in the direction, opens to the first surface 30a and the second surface 30b, and extends along the sheet surfaces (first surface 30a, second surface 30b) of the third sheet 30. Therefore, as can be seen from FIG. 5, the third sheet 30 has a shape in which the outer peripheral liquid flow path portion 34, the inner liquid flow path portion 38, and the vapor flow path groove 42 are alternately repeated in the y direction.
  • the steam flow path groove 42 having such a configuration can further include the following configuration.
  • the width of the vapor flow path groove 42 shown by W 8 in FIGS. 3, 4, and 5 (the size in the direction in which the inner liquid flow path portion 38 and the steam flow path groove 40 are arranged, and the opening of the steam flow path groove).
  • width in the plane is at least the above-mentioned liquid flow path grooves 35 and the liquid flow path groove 37 width W 3 of, and is larger than the width W 6 of the liquid flow path grooves 39 and the liquid passage grooves 40, below 2500 ⁇ m It is preferably 2000 ⁇ m or less, and may be 1500 ⁇ m or less.
  • the width W 8 is preferably 100 ⁇ m or more, and may be 200 ⁇ m or more, or 400 ⁇ m or more.
  • the range of the width W 8 may be determined by a combination of any one of the plurality of upper limit candidate values and one of the plurality of lower limit candidate values. Further, the range of the width W 8 may be defined by any combination of a plurality of upper limit candidate values or any combination of a plurality of lower limit candidate values.
  • the pitch of the vapor flow path groove 42 is usually determined by the pitch of the inner liquid flow path portion 38.
  • the cross-sectional shape of the steam flow path groove 42 is based on the introduction portion 37 and the introduction portion 41, but when the introduction portion 41 is not provided, a quadrangle such as a rectangle, a square, a trapezoid, a triangle, or a triangle.
  • the shape may be a combination of any one or more of these.
  • the steam flow path communication groove 44 is a groove for communicating a plurality of steam flow path grooves 42.
  • the steam flow path communication groove 44 is a groove for communicating a plurality of steam flow path grooves 42.
  • the vapor flow path communication groove 44 of the present embodiment includes the inner liquid flow path portion 38, both ends in the direction in which the vapor flow path groove 42 extends, and the outer liquid flow path. It is formed between the portion 34 and the portion 34.
  • the steam flow path communication groove 44 is formed so as to communicate the adjacent steam flow path grooves 42.
  • the steam flow path communication groove 44 has a groove 44a on the first surface 30a side and a groove 44b on the second surface 30b side, and is connected between the groove 44a and the groove 44b.
  • the part 44c is provided.
  • the connecting portion 44c connects the inner liquid flow path portion 38 and the outer peripheral liquid flow path portion 33 and holds the inner liquid flow path portion 38. Further, as shown in FIGS.
  • the steam flow path communication groove 44 may be connected to a plurality of steam flow path grooves 42, and its shape is not particularly limited, but for example, the following configuration can be provided.
  • the width of the steam flow path communication groove 44 (the size in the direction orthogonal to the communication direction and the width on the opening surface of the groove) shown by W 9 in FIGS. 3, 4 and 6 is preferably 2500 ⁇ m or less. , 2000 ⁇ m or less, or 1500 ⁇ m or less.
  • the width W 9 is preferably 100 ⁇ m or more, may be 200 ⁇ m or more, or may be 400 ⁇ m or more.
  • the range of the width W 9 may be determined by a combination of any one of the plurality of upper limit candidate values and one of the plurality of lower limit candidate values. Further, the range of the width W 9 may be defined by any combination of a plurality of upper limit candidate values or any combination of a plurality of lower limit candidate values.
  • the cross-sectional shape of the groove 44a and the groove 44b of the steam flow path communication groove 44 is semi-elliptical, but the cross-sectional shape is not limited to this, and is not limited to this.
  • the bottom may be semi-elliptical or a combination of any or more of these. Since the steam flow path communication groove can allow the working fluid to flow smoothly by reducing the flow resistance of the steam, the shape of the flow path cross section can be determined from this viewpoint.
  • FIG. 15 showing a sectional view of the vapor chamber 1 in the thickness direction along the y direction shown in C 7 -C 7 in FIG. Is a cross-sectional view taken along the vapor chamber 1 in the thickness direction along the x direction indicated by C 8 -C 8 1 in Figure 16.
  • FIGS. 15 in the section corresponding to FIGS. 7 (a) at the portion indicated by C 9
  • FIG. 18 (a) was expressed cross section corresponding to FIG. 13 (a) at the portion indicated by C 10
  • the steam flow path 4 and the steam flow path 3 are separated by a convex portion 35a and a convex portion 39a, but FIG. And as described with reference to FIG. 14, the convex portion 35a and the convex portion 39a are provided with a communication opening 35b and a communication opening 39b, respectively. Therefore, according to the cross section in which the communication opening 35b and the communication opening 39b are in contact with the steam flow path 4 as shown in FIGS. 17 (b) and 18 (b), the steam flow path 4 and the steam flow path 3 are It communicates with the communication opening 35b and the communication opening 39b.
  • the inner surface 10a of the first sheet 10 is overlapped on the first surface 30a side of the third sheet 30, and is placed on the second surface 30b side of the third sheet 30.
  • the inner surface 20a of the second sheet 20 is arranged so as to be overlapped and joined to form the vapor chamber 1.
  • the main body 31 of the third sheet 30 and the main body 11 of the first sheet 10 overlap, and the first sheet of the injection portion 32 of the third sheet 30 overlaps.
  • the injection part 12 of 10 and the injection part 32 of the third sheet 30 and the injection part 22 of the second sheet 20 overlap each other.
  • each configuration provided in the main body 11, the main body 21, and the main body 31 is shown in FIGS. 15, 16, 17 (a), and FIG. They are arranged as shown in 17 (b), FIG. 18 (a), and FIG. 18 (b). Specifically, it is as follows.
  • the outer peripheral joint surface 33a provided on the first surface 30a side of the third sheet 30 and the outer peripheral surface of the inner surface 10a of the first sheet 10 are arranged so as to overlap with each other, and the second of the third sheet 30.
  • the outer peripheral joining surface 33b provided on the surface 30b side and the outer peripheral surface of the inner surface 20a of the second sheet 20 are arranged so as to overlap each other, and are joined by a joining means such as diffusion joining or brazing.
  • a hollow portion based on the shape of the third sheet 30 is formed between the first sheet 10 and the second sheet 20, and the working fluid is sealed therein to form a closed space 2.
  • the inner surface 10a of the first sheet 10 is arranged so as to overlap the first surface 30a side of the outer peripheral liquid flow path portion 34 of the third sheet 30. As a result, the opening of the liquid flow path groove 35 is closed by the first sheet 10 and becomes a part of the hollow portion.
  • the inner surface 20a of the second sheet 20 is arranged so as to overlap the second surface 30b side of the outer peripheral liquid flow path portion 34 of the third sheet 30. As a result, the opening of the liquid flow path groove 36 is closed by the second sheet 20 and becomes a part of the hollow portion.
  • This is a condensate flow path 3 which is a second flow path through which the condensate in a state where the working fluid sealed in the hollow portion is condensed and liquefied flows.
  • the inner surface 10a of the first sheet 10 is arranged so as to overlap the first surface 30a side of the inner liquid flow path portion 38 of the third sheet 30.
  • the opening of the liquid flow path groove 39 is closed by the first sheet 10 and becomes a part of the hollow portion.
  • This is a condensate flow path 3 which is a second flow path through which the condensate in a state where the working fluid sealed in the hollow portion is condensed and liquefied flows.
  • the inner surface 20a of the second sheet 20 is arranged so as to overlap the second surface 30b side of the outer peripheral liquid flow path portion 38 of the third sheet 30.
  • the opening of the liquid flow path groove 40 is closed by the second sheet 20 and becomes a part of the hollow portion.
  • This is a condensate flow path 3 which is a second flow path through which the condensate in a state where the working fluid sealed in the hollow portion is condensed and liquefied flows.
  • the condensate is moved by a strong capillary force, and smooth circulation is possible. That is, when considering a flow path assuming that the condensate flows, the condensate flow path 3 is compared with a flow path having a so-called groove in which one surface of the flow path is continuously open. According to this, high capillary force can be obtained. Further, since the condensate flow path 3 is formed separately from the vapor flow path 4 which is the first flow path, the circulation of the working fluid can be smoothed.
  • the condensate flow path 3 by the liquid flow path groove 35 and the liquid flow path groove 39, and the condensate flow path 3 by the liquid flow path groove 36 and the liquid flow path groove 40 are provided, and the thickness direction of the vapor chamber 1 is provided.
  • Condensate flow paths 3 are provided on one side and the other side (z direction), respectively.
  • the total flow path cross-sectional area of the condensate flow path 3 can be made large while keeping the flow path cross-sectional area of one condensate flow path 3 small (thin), so that the capillary force can be maintained high.
  • the flow of condensate can be smoothed.
  • the shape of the condensate flow path 3 can be considered based on the shape and dimensions described in the third sheet 30 described above.
  • the opening of the steam flow path groove 42 is closed by the first sheet 10 and the second sheet 20 to form a part of the hollow portion, which is the flow path of the enclosed working fluid.
  • the steam flow path 4 is the first flow path through which steam flows.
  • the surfaces of the first sheet 10 and the second sheet 20 that form a part of the steam flow path 4 on the steam flow path 4 side are flat.
  • the surfaces of the first sheet 10 and the second sheet 20 are not processed and have a flat plate surface, so that the inner wall of the steam flow path 4 becomes smooth and the resistance when steam moves is suppressed. be able to.
  • the flow path cross-sectional area of the condensate flow path 3 which is the second flow path is smaller than the flow path cross-sectional area of the vapor flow path 4 which is the first flow path. More specifically, the average flow path cross-sectional area of two adjacent steam flow paths 4 (in this embodiment, one steam flow path groove 42, a flow path surrounded by the first sheet 10, and the second sheet 20) is calculated.
  • a l is 0.5 times the relation of a g It is preferably 0.25 times or less. This makes it easier for the working fluid to selectively pass between the first flow path and the second flow path depending on its phase mode (gas phase, liquid phase). This relationship may be satisfied in at least a part of the entire vapor chamber, and more preferably in the entire vapor chamber.
  • the shape of the steam flow path 4 can be considered based on the shape and dimensions described in the third sheet 30 described above. Since the introduction section 37 and the introduction section 41 are provided in this embodiment, one steam flow path 4 is configured to be in contact with the two introduction sections.
  • a plurality of steam flows are formed by closing the opening of the groove 44a of the steam flow path communication groove 44 of the third sheet 30 with the first sheet 10 and the opening of the groove 44b with the second sheet 20.
  • a hollow portion through which the path 4 communicates is formed to serve as a flow path for the working fluid.
  • the injection unit 12, the injection unit 22, and the injection unit 32 are also on the first surface 30a side of the injection unit 32 and on the second surface 30 side of the injection unit 32.
  • the injection portions 22 overlap, the opening of the injection groove 32a on the second surface 30b side of the third sheet 30 is closed by the injection portion 22 of the second sheet 20, and the outside and the hollow portion (condensate flow path 3 and steam flow path 3).
  • An injection flow path 5 communicating with 4) is formed.
  • the injection flow path 5 is closed to form a closed space 2. Therefore, in the final form of the vapor chamber 1, the outside and the hollow portion are different. Not in communication.
  • the injection unit 12, the injection unit 22, and the injection unit 32 are provided at one end of a pair of ends in the longitudinal direction of the vapor chamber 1. It is not limited, and may be arranged at any other end, or may be arranged in plurality. When a plurality are arranged, for example, they may be arranged at each of the pair of ends in the longitudinal direction of the vapor chamber 1, or may be arranged at one end of the other pair of ends.
  • the working fluid is sealed in the closed space 2 of the vapor chamber 1.
  • the type of the working fluid is not particularly limited, but a working fluid used in a normal vapor chamber such as pure water, ethanol, methanol, acetone, and a mixture thereof can be used.
  • the vapor chamber as described above can be produced, for example, as follows. Liquid flow path groove 35, liquid flow path groove 36, liquid flow path groove 39, liquid flow path groove 40, vapor flow path groove 42, and groove 44a and groove 44b with respect to the sheet having the outer peripheral shape of the third sheet 30. Is formed by half etching. Half-etching is to perform etching halfway without penetrating in the thickness direction. However, the steam flow path groove 42 is half-etched from both the first surface 30a side and the second surface 30b side so as to penetrate in the thickness direction. By etching in this way, the shapes of the introduction portion 37 and the introduction portion 41 can be formed.
  • the first sheet 10 is placed on the first surface 30a side of the third sheet 30, and the second sheet 20 is placed on the second surface 30b side of the third sheet 30 for temporary fixing.
  • the method of temporary fixing is not particularly limited, and examples thereof include resistance welding, ultrasonic welding, and bonding with an adhesive.
  • diffusion bonding is performed to permanently join the first sheet 10, the second sheet 20, and the third sheet 30 to form a vapor chamber sheet.
  • "permanently joined” is not bound by a strict meaning, and is joined to the extent that the sealing of the sealed space 2 can be maintained during the operation of the vapor chamber 1. Means to be.
  • the internal liquid flow path portion 38 functions as a support column, it is possible to prevent the closed space from being crushed during joining and depressurization.
  • the manufacturing method is not limited to this, and the vapor chamber can also be manufactured by pressing, cutting, laser processing, and processing with a 3D printer.
  • the vapor chamber can also be manufactured by pressing, cutting, laser processing, and processing with a 3D printer.
  • a vapor chamber is manufactured by a 3D printer, it is not necessary to join a plurality of sheets to make the vapor chamber, and it is possible to form a vapor chamber without a joint.
  • FIG. 19 schematically shows a state in which the vapor chamber 1 is arranged inside the portable terminal 80, which is a form of an electronic device.
  • the vapor chamber 1 is arranged inside the housing 81 of the portable terminal 80, it is represented by a dotted line.
  • Such a portable terminal 80 is configured to include a housing 81 containing various electronic components and a display unit 82 exposed so that an image can be seen to the outside through an opening of the housing 81.
  • an electronic component 53 to be cooled by the vapor chamber 1 is arranged in the housing 51.
  • the vapor chamber 1 is installed in a housing of a portable terminal or the like, and is attached to an electronic component 83 which is an object to be cooled such as a CPU.
  • the electronic components are attached directly to the outer surface or outer surface of the vapor chamber 1 or via an adhesive, sheet, tape or the like having high thermal conductivity.
  • the position of the electronic component 83 to be attached to the vapor chamber is not particularly limited, and is appropriately set depending on the arrangement of other members in a portable terminal or the like.
  • the electronic component 53 is arranged at the center of the main body 21 in the xy direction on the surface of the second sheet 20 opposite to the side on which the third sheet 30 is arranged. Therefore, in FIG.
  • FIG. 20 shows a diagram illustrating the flow of the working fluid.
  • the first surface 30a side of the third sheet 30 is displayed so as to be visible inside the vapor chamber 1.
  • the heat is transferred through the second sheet 20 by heat conduction, and the condensate existing in the closed space 2 near the electronic component 83 receives heat.
  • the condensate that receives this heat absorbs the heat and evaporates and vaporizes. As a result, the electronic component 83 is cooled.
  • the vaporized working fluid becomes steam and moves in the steam flow path 4 as shown by the straight line arrow in FIG. 20. Since this flow is generated in the direction away from the electronic component 83, the steam moves in the direction away from the electronic component 83.
  • the steam in the steam flow path 4 separates from the electronic component 83, which is a heat source, and moves to the outer peripheral portion of the vapor chamber 1, which has a relatively low temperature.
  • the three sheets 30 are cooled while being deprived of heat.
  • the first sheet 10, the second sheet 20, and the third sheet 30, which have taken heat from the steam, transfer the heat to the housing 81 of the electronic device 80 in contact with the vapor chamber, and finally the heat is released to the outside air.
  • the condensate flow path 3 of the present embodiment includes a communication opening 35b, a communication opening 36b, a communication opening 39b, and a communication opening 40b, so that the condensate liquid is provided. Is distributed to a plurality of condensate flow paths 3 through these communication openings.
  • the condensate flow path 3 is provided in both the thickness directions of the vapor chamber 1, it is possible to increase the chances of movement from the vapor flow path 4 to the condensate flow path 3, which is smoother.
  • the condensate can be moved.
  • the introduction portion 37 and the introduction portion 41 are provided, a portion surrounded by the introduction surface 37b, the introduction surface 41b, the first sheet 10, and the second sheet 20 is formed, and the action of capillary force is generated. This makes it easier for the condensate to collect here. As a result, the condensed liquid is introduced into the condensed liquid flow path 3 more smoothly.
  • the condensate that has entered the condensate flow path 3 approaches the electronic component 83 that is the heat source as shown by the dotted straight arrow in FIG. 20 due to the capillary force of the condensate flow path and the pressure from the vapor. Moving. Then, it is vaporized again by the heat from the electronic component 83 which is a heat source, and the above is repeated.
  • the condensate flow path 3 is provided on both one side and the other side in the thickness direction (z direction) of the vapor chamber 1. As a result, the total flow path cross-sectional area of the condensate flow path 3 can be made large while keeping the flow path cross-sectional area of one condensate flow path 3 small (thin), so that the capillary force can be maintained high.
  • the flow of condensate can be smoothed.
  • the vapor chamber 1 up to this point is composed of three sheets, a first sheet 10, a second sheet 20, and a third sheet 30, has been described.
  • the vapor chamber 1 up to this point is composed of three sheets in this way, it is easier to manufacture because there is no complexity in stacking the sheets as compared with the case where more sheets are used, and the bonding of each sheet is made stronger. be able to.
  • the surfaces of the first sheet 10 and the second sheet 20 are not processed and have a flat shape as in the present embodiment, the condensate flow path and the vapor flow path are formed when the sheets are overlapped. Since it is not necessary to worry about the alignment for forming, simpler manufacturing becomes possible.
  • the condensate flow path may be provided on one side and the other side in the thickness direction of the vapor chamber, and the number of sheets may be four or five.
  • the vapor chamber By forming the vapor chamber with three or more sheets in this way, it becomes easier to form the introduction surface 41b as shown in FIG. 18 as compared with the case where the vapor chamber is composed of two sheets, and the working fluid is condensed here. It becomes easier to move the working fluid more smoothly.
  • a groove is also formed in the center of the inner liquid flow path portion 38 in the thickness direction. It can also be formed to provide a condensate flow path.
  • FIG. 22 is an exploded perspective view of the vapor chamber 51, which corresponds to FIG.
  • FIG. 23 is a view showing the closed space 2 of the vapor chamber 51 so as to be visible, and is a view showing the first surface 30a side of the third sheet 52 so as to be visible.
  • Figure 24 represents a cross-sectional view of the vapor chamber 101 at a position indicated by C 12 -C 12 in FIG.
  • Figure 25 is a view corresponding to Figure 18 a view showing an enlarged vicinity of a portion indicated by C 13 of FIG. 24 (inner liquid flow path 138).
  • a third sheet 52 is applied to the vapor chamber 1 described above instead of the third sheet 30, and the third sheet 52 communicates with the inner liquid flow path portion 54 of the main body 53 in the thickness direction.
  • the difference is that the hole 54a is provided. Since the description of the vapor chamber 1 is valid for other members and parts, the same reference numerals are given to the drawings and the description thereof will be omitted. Therefore, here, the description will be focused on the thickness direction communication hole 54a provided in the inner liquid flow path portion 54.
  • the thickness direction communication hole 54a is a hole provided in the inner liquid flow path portion 54 of the third sheet 52 and communicating from the first surface 30a to the second surface 30b.
  • the liquid flow path groove 39 and the liquid flow path groove 40 are communicated with each other by the thickness direction communication hole 54a, and the condensate flow path 3 on the first surface 30a side and the condensate flow path 3 on the second surface 30b side are communicated with each other.
  • communication without the condensate flow path 3 separately disposed in the thickness direction through the steam flow path 4 to further equalize the distribution of the condensate Therefore, the working fluid can flow more smoothly.
  • the thickness direction communication hole 54a need only be able to communicate the condensate flow path 3 arranged on one side and the other side of one inner liquid flow path portion 54 in the thickness direction, and the specific form for that purpose is particularly limited. Will not be done. For example, it can be explained as follows.
  • the cross-sectional shape of the thickness direction communication hole 54a shown in FIGS. 22 and 23 is not particularly limited, and is a circle, an ellipse, a triangle, a quadrangle, another polygon, and a geometry obtained by combining these. It can be a geometric shape.
  • the shape in the direction in which the thickness direction communication hole 54a extends is not particularly limited, and the cross-sectional shape may be constant at each position in the z direction. , May change.
  • the cross-sectional area is greatly expanded with respect to the other portion can be mentioned.
  • the number of condensate flow paths 3 connected by one thickness direction communication hole 54a is not particularly limited. As in this embodiment, the two condensate flow paths 3 on the first surface 30a side and the two condensate flow paths 3 on the second surface 30b side may be configured to communicate with each other, or one of them in the thickness direction. One or three or more condensate flow paths 3 may be configured to communicate with each other on the surface side.
  • At least one thickness direction communication hole 54a is provided in the vapor chamber 1, the effect is exhibited, but for a more remarkable effect, it is preferable to provide a plurality of thickness direction communication holes 54a.
  • the mode in which the plurality of thickness direction communication holes 54a are provided is not particularly limited, but one may be provided in one inner liquid flow path portion 54, and a plurality of thickness directions may be provided in one inner liquid flow path portion 54.
  • the communication hole 54a may be provided.
  • a plurality of thickness direction communication holes 54a are arranged in one inner liquid flow path portion 54, they may be arranged in a straight line, and as shown in FIG. 23, adjacent thickness direction communication holes 54a may be arranged. Then, the position in the direction orthogonal to the line-up direction (y direction) may be shifted.
  • the thickness direction communication hole 54a is provided only in the inner liquid flow path portion 54, but instead, the thickness direction communication hole may be provided only in the outer peripheral liquid flow path portion 34, or the inner liquid may be provided. Thickness direction communication holes may be provided in both the flow path portion 54 and the outer peripheral liquid flow path portion 34.
  • FIG. 26 shows an external perspective view of the vapor chamber 101 according to the form 2a
  • FIG. 27 shows an exploded perspective view of the vapor chamber 101.
  • the vapor chamber 101 of the present embodiment has a first sheet 10, a second sheet 20, and a third sheet 130 (sometimes referred to as “intermediate sheet 130”). ing. Then, as will be described later, these sheets are overlapped and joined (diffusion joining, brazing, etc.) so that the shape of the third sheet 130 is formed between the first sheet 10 and the second sheet 20. It becomes a sheet for a vapor chamber in which a hollow portion based on the base is formed. Then, the working fluid is sealed in the hollow portion to form a closed space 102 (see, for example, FIG. 19), which becomes a vapor chamber 101.
  • first sheet 10 and the second sheet 20 provided in this embodiment can be considered in the same manner as the first sheet 10 and the second sheet 20 described in the first form, the reference numerals are the same here, and the description thereof will be made. Is omitted.
  • the third sheet 130 is a sheet sandwiched and stacked between the inner surface 10a of the first sheet 10 and the inner surface 20a of the second sheet 20, and has a structure for the closed space 2 in which the working fluid moves. It is equipped. 28 and 29 are views (viewed from the z direction) of the third sheet 130 in a plan view.
  • FIG. 28 is a view of the surface stacked on the first sheet 10
  • FIG. 29 is a view of the surface stacked on the second sheet 20.
  • FIG. 30 shows a cross-sectional view taken along the line shown by C 101- C 101 in FIG. 28, and
  • FIG. 31 shows a cross-sectional view taken along the line shown by C 102- C 102 in FIG. 28.
  • the third sheet 130 may also be a single layer, or a plurality of sheets may be laminated.
  • the plurality of sheets may be laminated and then formed into the following form, or the plurality of sheets may be individually processed and then overlapped to form the following form. You may.
  • the third sheet 130 includes a first surface 130a that overlaps the inner surface 10a of the first sheet 10, a second surface 130b that overlaps the inner surface 20a of the second sheet 20, and the first surface 130a and the second surface 130b. It includes an end face 130c that is passed to form a thickness. Therefore, the first surface 130a appears in FIG. 28, and the second surface 130b appears in FIG. 29.
  • the third sheet 130 includes a main body 131 and an injection unit 32. Since the injection unit 32 of the present embodiment can be considered in the same manner as the injection unit 32 shown in the first aspect, the same reference numerals are given here and the description thereof will be omitted.
  • the main body 31 is a hollow portion in the sheet for the vapor chamber and a sheet-like portion forming a closed space in the vapor chamber 1, and in this embodiment, the main body 31 is a rectangle having an arc (so-called R) at an angle in a plan view. However, the main body 31 has a quadrangular shape as in this embodiment, and can also have a shape required as a vapor chamber.
  • it may be a circle, an ellipse, a triangle, another polygon, and a shape having a bent portion, for example, an L-shape, a T-shape, a crank-type U-shape, or the like.
  • the shape may be a combination of at least two of these.
  • the thickness and material of the third sheet 130 can be considered in the same manner as the first sheet 10. However, the thickness and material of the third sheet 130 do not have to be the same as those of the first sheet 10, and may be configured differently.
  • the main body 131 is formed with a structure for refluxing the working fluid. Specifically, the main body 131 is provided with an outer peripheral joint portion 33, an outer peripheral liquid flow path portion 134, an inner liquid flow path portion 138, a vapor flow path groove 142, and a vapor flow path communication groove 144. There is.
  • the vapor chamber 101 of this embodiment is the first flow path through which the vapor of the working fluid passes through the steam flow path 4 (see FIG. 38, etc.) and the second flow path through which the working fluid is condensed and liquefied.
  • a condensate flow path 3 (see FIG. 42 and the like) is provided.
  • the vapor flow path groove 142 of the third sheet 130 forms the vapor flow path 4, and the liquid flow path 35 provided in the outer peripheral liquid flow path portion 134 and the liquid flow provided in the inner liquid flow path portion 138.
  • the path groove 39 forms the condensate flow path 3.
  • outer peripheral joint portion 33 can be considered in the same manner as the outer peripheral joint portion 33 described in the above-described first embodiment, the same reference numerals are given here and the description thereof will be omitted.
  • the outer peripheral liquid flow path portion 134 functions as a liquid flow path portion, constitutes a part of a condensate flow path 3 which is a second flow path through which the working fluid is condensed and liquefied, and also forms a heat insulating portion 6. It includes a constituent part.
  • FIG. 32 the portion indicated by the arrow C 103 in FIG. 30 is enlarged and shown.
  • FIG. 33 shows an enlarged view of the outer peripheral liquid flow path portion 134 viewed from the direction indicated by the arrow C 105 in FIG. 32 as viewed from the z direction. That is, FIG. 33 shows a part of the outer peripheral liquid flow path portion 134 as seen from the second surface 130b.
  • the outer peripheral liquid flow path portion 134 is a portion of the main body 131 formed along the inside of the outer peripheral joint portion 33 and provided along the outer circumference of the portion that becomes the closed space 2.
  • Liquid flow path grooves 35 which are a plurality of grooves extending parallel to the outer peripheral direction of the main body 131, are formed on the first surface 130a of the outer peripheral liquid flow path portion 134, and the plurality of liquid flow path grooves 35 extend in the extending direction. They are arranged in different directions at predetermined intervals. Since the liquid flow path groove 35 can be considered in the same manner as the liquid flow path groove 35 described in the above-described first embodiment, the same reference numerals are given here and the description thereof will be omitted.
  • the outer peripheral liquid flow path portion 134 is provided with the heat insulating portion groove 136 on the second surface 30b side.
  • the heat insulating groove 136 is a groove extending along the direction in which the outer peripheral liquid flow path 134 extends, does not communicate with the vapor flow path groove 42 or the liquid flow path groove 35, and operates in the heat insulating groove 136. It is configured to prevent fluid from flowing in.
  • the heat insulating portion groove 136 is a groove, it has a bottom portion in its cross-sectional shape, and the opposite side (second surface 130b) facing the bottom portion is open. As will be described later, when the second sheet 20 is overlapped with the third sheet 30, this opening is closed to form the heat insulating portion 6.
  • the heat insulating groove 136 has a semi-elliptical cross section.
  • the cross-sectional shape is not limited to a semi-elliptical shape, and may be a quadrangle such as a circle, a rectangle, a square, a trapezoid, another polygon, or a shape obtained by combining any one or more of these. ..
  • FIG. 34 shows a cross-sectional view of C 106- C 106 shown in FIG. 33. That is, FIG. 34 is a cross-sectional view of the outer peripheral liquid flow path portion 134 at the portion provided with the pillar 136a.
  • the cross section shown in FIG. 32 is a cross-sectional view of the outer peripheral liquid flow path portion 134 in the portion of the heat insulating portion groove 136 where the pillar 136a is not arranged.
  • a plurality of columns 136a erected from the bottom are arranged at intervals.
  • the plan view shape of the pillar is not particularly limited, and is not particularly limited as in this form, but also a polygon such as a triangle or a pentagon, a circle, an ellipse, or an arbitrary shape. Can be applied.
  • the pitch and number of pillars to be arranged are not particularly limited and can be set as appropriate. Therefore, the number of columns may be reduced to 1 or less, and one column may be long so as to extend along the groove for the heat insulating portion.
  • an introduction portion 37 is provided in the outer peripheral liquid flow path portion 134. Since the introduction unit 37 can be considered in the same manner as the introduction unit 37 described in the first embodiment, the same reference numerals are given and the description thereof will be omitted here.
  • the outer peripheral liquid flow path portion 134 having the above configuration may further have the following configuration.
  • the width of the outer peripheral liquid flow path portion 134 (the size in the direction in which the liquid flow path grooves 35 are arranged) shown by W 102 in FIGS. 28 to 30 and 32 is appropriately set from the size of the entire vapor chamber and the like.
  • the width W 102 is preferably 3.0 mm or less, and may be 1.5 mm or less, or 1.0 mm or less. If the width W 102 exceeds 3.0 mm, there is a risk that sufficient space for the inner liquid flow path and vapor flow path cannot be secured.
  • the width W 102 is preferably 0.05 mm or more, and may be 0.1 mm or more, or 0.2 mm or more.
  • the range of the width W 102 may be determined by a combination of any one of the plurality of upper limit candidate values and one of the plurality of lower limit candidate values. Further, the range of the width W 102 may be defined by any combination of a plurality of upper limit candidate values or any combination of a plurality of lower limit candidate values.
  • the width of the outer peripheral liquid flow path portion 134 on the first surface 130a side and the width of the second surface 130b side are both shown by W 102 , but the width of the outer peripheral joining surface 33a and the width of the outer peripheral joining surface 33b are shown. It does not have to be the same, but may have different widths.
  • the groove width shown by W 104 in FIG. 32 is preferably 1500 ⁇ m or less, and may be 1000 ⁇ m or less, or 700 ⁇ m or less.
  • the width W 104 is preferably 20 ⁇ m or more, and may be 45 ⁇ m or more, or 60 ⁇ m or more.
  • the range of the width W 104 may be defined by a combination of any one of the plurality of upper limit candidate values and one of the plurality of lower limit candidate values. Further, the range of the width W 104 may be defined by any combination of a plurality of upper limit candidate values or by any combination of a plurality of lower limit candidate values. Further, the depth of the groove shown by D 102 in FIG.
  • the depth D 102 is preferably 200 ⁇ m or less, and may be 150 ⁇ m or less, or 100 ⁇ m or less.
  • the depth D 102 is preferably 5 ⁇ m or more, and may be 10 ⁇ m or more, or 20 ⁇ m or more.
  • the range of the depth D 102 may be defined by a combination of any one of the plurality of upper limit candidate values and one of the plurality of lower limit candidate values. Further, the range of the depth D 102 may be defined by any combination of a plurality of upper limit candidate values or by any combination of a plurality of lower limit candidate values.
  • the inner liquid flow path portion 138 is also a part of the condensate flow path 3 which is a second flow path through which the working fluid is condensed and liquefied, a part which constitutes the heat insulating portion 6, and a portion which constitutes the introduction portion 41.
  • FIG. 35 the portion indicated by the arrow C 107 in FIG. 30 is enlarged and shown.
  • FIG. 35 also shows the cross-sectional shapes of the inner liquid flow path portion 38, the heat insulating groove 140, and the introduction portion 41.
  • FIG. 36 shows an enlarged view of the inner liquid flow path portion 138 viewed from the direction indicated by the arrow C 109 in FIG. 35 in a plan view.
  • the inner liquid flow path portion 138 is a portion of the main body 131 formed inside the annular ring of the outer liquid flow path portion 134.
  • the inner liquid flow path portion 138 of the present embodiment extends in a direction (x direction) parallel to the long side of the rectangle in the plan view (when viewed from the z direction) of the main body 131, and a plurality of (three in this embodiment) inner liquids.
  • the flow path portions 138 are arranged at predetermined intervals in a direction parallel to the short side (y direction).
  • Liquid flow path grooves 39 which are a plurality of grooves extending in the direction in which the inner liquid flow path portion 138 extends, are formed on the first surface 130a of the inner liquid flow path portion 138, and the plurality of liquid flow path grooves 39 are formed. They are arranged at predetermined intervals in a direction different from the extending direction.
  • the liquid flow path groove 39 can be considered in the same manner as the liquid flow path groove 39 described in the first embodiment, the same reference numerals are given and the description thereof will be omitted.
  • the inner liquid flow path portion 138 is provided with a groove 140 for a heat insulating portion on the second surface 130b.
  • the heat insulating groove 140 is a groove extending along the direction in which the inner liquid flow path 138 extends, does not communicate with the vapor flow path groove 42 or the liquid flow path groove 39, and operates in the heat insulating groove 140. It is configured to prevent fluid from flowing in.
  • the heat insulating portion groove 140 is a groove, it has a bottom portion in its cross-sectional shape, and the opposite side (second surface 130b) facing the bottom portion is open. As will be described later, when the second sheet 20 is overlapped with the third sheet 30, this opening is closed to form the heat insulating portion 6.
  • the heat insulating groove 140 has a semi-elliptical cross section.
  • the cross-sectional shape is not limited to a semi-elliptical shape, and may be a quadrangle such as a circle, a rectangle, a square, a trapezoid, another polygon, or a shape obtained by combining any one or more of these. ..
  • FIG. 37 shows a cross-sectional view taken along the line C 110- C 110 shown in FIG. 36. That is, FIG. 37 is a cross-sectional view of the inner liquid flow path portion 138 at the portion provided with the pillar 140a.
  • the cross-sectional view shown in FIG. 35 is a cross-sectional view of the inner liquid flow path portion 138 in the portion of the groove 140 for the heat insulating portion where the pillar 140a is not arranged.
  • a plurality of pillars 140a erected from the bottom are arranged at intervals in the groove of the heat insulating portion groove 140.
  • the plan view shape of the pillar is not particularly limited, and is not particularly limited as in this form, but also a polygon such as a triangle or a pentagon, a circle, an ellipse, or an arbitrary shape. Can be applied.
  • the pitch and number of pillars to be arranged are not particularly limited and can be set as appropriate. Therefore, the number of columns may be reduced to one or less, and one column may be long so as to extend along the heat insulating groove.
  • the introduction portion 41 is provided in the inner liquid flow path portion 138. Since the introduction unit 41 can be considered in the same manner as the introduction unit 41 described in the first embodiment, the same reference numerals are given and the description thereof will be omitted.
  • the inner liquid flow path portion 138 having the above structure is preferably further provided with the following structure.
  • the width of the inner liquid flow path portion 138 shown by W 106 in FIGS. 28 to 30 and 35 (the largest value in the direction in which the inner liquid flow path portion 138 and the steam flow path groove 42 are arranged) is It is preferably 3000 ⁇ m or less, and may be 2000 ⁇ m or less, or 1500 ⁇ m or less.
  • the width W 106 is preferably 100 ⁇ m or more, and may be 200 ⁇ m or more, or 400 ⁇ m or more.
  • the range of the width W 106 may be determined by a combination of any one of the plurality of upper limit candidate values and one of the plurality of lower limit candidate values. Further, the range of the width W 106 may be defined by any combination of a plurality of upper limit candidate values or any combination of a plurality of lower limit candidate values.
  • the pitch of the plurality of inner liquid flow path portion 138 shown in P 102 in Figure 30 may be that it is less preferable 3500 ⁇ m or less 5000 .mu.m, may be not more than 3000 .mu.m.
  • the pitch P 102 is preferably 200 ⁇ m or more, and may be 400 ⁇ m or more, or 800 ⁇ m or more.
  • the range of the pitch P 102 may be determined by a combination of any one of the plurality of upper limit candidate values and one of the plurality of lower limit candidate values. Further, the range of the pitch P 102 may be defined by any combination of a plurality of upper limit candidate values or any combination of a plurality of lower limit candidate values.
  • the inner liquid flow path portion 38 having the above configuration may further have the following configuration.
  • the groove width shown by W 108 in FIG. 35 is preferably 1500 ⁇ m or less, and may be 1000 ⁇ m or less, or 700 ⁇ m or less.
  • the width W 108 is preferably 20 ⁇ m or more, and may be 45 ⁇ m or more, or 60 ⁇ m or more.
  • the range of the width W 108 may be defined by a combination of any one of the plurality of upper limit candidate values and one of the plurality of lower limit candidate values. Further, the range of the width W 108 may be defined by any combination of a plurality of upper limit candidate values or by any combination of a plurality of lower limit candidate values. Further, the depth of the groove shown by D 104 in FIG.
  • the depth D 104 is preferably 5 ⁇ m or more, and may be 10 ⁇ m or more, or 20 ⁇ m or more.
  • the range of the depth D 104 may be defined by a combination of any one of the plurality of upper limit candidate values and one of the plurality of lower limit candidate values. Further, the range of the depth D 104 may be defined by any combination of a plurality of upper limit candidate values or any combination of a plurality of lower limit candidate values.
  • the steam flow path groove 142 is a portion through which the vaporized steam by evaporating the working fluid passes, and constitutes a part of the steam flow path 4 (see FIG. 19 and the like) which is the first flow path.
  • 28 and 29 show the shape of the steam flow path groove 142 in a plan view
  • FIG. 30 shows the cross-sectional shape of the steam flow path groove 142.
  • the vapor flow path groove 142 is formed of a groove (slit) formed inside the annular ring of the outer peripheral liquid flow path portion 134 in the main body 131.
  • the steam flow path groove 142 of the present embodiment is formed between the adjacent inner liquid flow path portions 138 and between the outer peripheral liquid flow path portion 134 and the inner liquid flow path portion 138, and is viewed in a plan view of the main body 131. It is a rectangular groove extending in the direction parallel to the long side (x direction). A plurality of (four in this embodiment) steam flow path grooves 142 are arranged in a direction parallel to the short side (y direction).
  • the steam flow path groove 142 of the present embodiment is configured to communicate the first surface 130a and the second surface 130b side of the third sheet 130, that is, it is a slit-shaped groove, and the first surface 130a and the second surface 130a and the second surface 130a. It is open to the surface 130b side. Therefore, as can be seen from FIG. 30, the third sheet 130 has a shape in which the outer peripheral liquid flow path portion 134, the inner liquid flow path portion 138, and the vapor flow path groove 142 are alternately repeated in the y direction.
  • the configuration of the steam flow path groove 142 having such a configuration can be considered in the same manner as the steam flow path groove 42 described in the first embodiment.
  • the steam flow path communication groove 44 is a groove that communicates a plurality of steam flow path grooves 142, and can be considered in the same manner as the steam flow path communication groove 44 described in the above-described first embodiment, and is therefore described with the same reference numerals. Is omitted.
  • FIG. 38 shows a cross-sectional view of the vapor chamber 101 cut in the thickness direction along the y direction shown by C 111- C 111 in FIG.
  • FIG. 39 shows a cross-sectional view of the vapor chamber 101 cut in the thickness direction along the x direction shown by C 112 to C 112 in FIG. 40 shows the portion shown by C 113 in FIG. 38
  • FIG. 41 shows the portion of the outer peripheral liquid flow path portion 134 provided with the pillar 136a
  • FIG. 42 shows the portion shown by C 114 in FIG. 38
  • FIG. 43 shows. Is an enlarged representation of the portion of the inner liquid flow path portion 138 provided with the pillar 140a.
  • the vapor flow path 4 and the condensate flow path 3 are separated by a convex portion 35a and a convex portion 39a, but the convex portion 35a and the convex portion 39a are each separated by a communication opening 35b. And a communication opening 39b is provided. Therefore, the vapor flow path 4 and the condensate flow path 3 are communicated with each other by the communication opening 35b and the communication opening 39b.
  • the inner surface 10a of the first sheet 10 is overlapped on the first surface 130a side of the third sheet 130, and is placed on the second surface 130b side of the third sheet 130.
  • the inner surface 20a of the second sheet 20 is arranged so as to be overlapped and joined to form a vapor chamber 101.
  • the main body 131 of the third sheet 130 and the main body 11 of the first sheet 10 overlap, and the first sheet of the injection portion 32 of the third sheet 130 overlaps.
  • the injection part 12 of 10 and the injection part 32 of the third sheet 130 and the injection part 22 of the second sheet 20 overlap each other.
  • the configurations provided in the main body 11, the main body 21, and the main body 131 are arranged so as to appear in FIGS. 38 to 42. Specifically, it is as follows.
  • the outer peripheral joint surface 33a provided on the first surface 130a side of the third sheet 130 and the outer peripheral surface of the inner surface 10a of the first sheet 10 are arranged so as to overlap with each other, and the second surface of the third sheet 30.
  • the outer peripheral joining surface 33b provided on the 30b side and the outer peripheral surface of the inner surface 20a of the second sheet 20 are arranged so as to overlap each other, and are joined by a joining means such as diffusion joining or brazing.
  • a hollow portion based on the shape of the third sheet 130 is formed between the first sheet 10 and the second sheet 20, and the working fluid is sealed therein to form a closed space 102.
  • the inner surface 10a of the first sheet 10 is arranged so as to overlap the first surface 130a side of the outer peripheral liquid flow path portion 134 of the third sheet 130. As a result, the opening of the liquid flow path groove 35 is closed by the first sheet 10 and becomes a part of the hollow portion.
  • This is a condensate flow path 3 which is a second flow path through which the condensate in a state where the working fluid sealed in the hollow portion is condensed and liquefied flows.
  • the inner surface 20a of the second sheet 20 is arranged so as to overlap the second surface 30b side of the outer peripheral liquid flow path portion 134 of the third sheet 130. As a result, the opening of the heat insulating portion groove 136 is closed by the second sheet 20 to become the heat insulating portion 6.
  • the heat insulating portion 6 is configured so as not to communicate with the condensate flow path 3 and the vapor flow path 4, and the thermal conductivity thereof is lower than that of the material adjacent to the heat insulating portion 6.
  • the heat insulating portion 6 is not particularly limited, but the heat insulating portion 6 may be evacuated, filled with air or other gas, or filled with a material having low thermal conductivity.
  • the inner surface 10a of the first sheet 10 is arranged so as to overlap the first surface 130a side of the inner liquid flow path portion 138 of the third sheet 130. As a result, the opening of the liquid flow path groove 39 is closed by the first sheet 10 and becomes a part of the hollow portion.
  • This is a condensate flow path 3 which is a second flow path through which the condensate in a state where the working fluid sealed in the hollow portion is condensed and liquefied flows.
  • the inner surface 20a of the second sheet 20 is arranged so as to overlap the second surface 130b side of the inner liquid flow path portion 138 of the third sheet 130. As a result, the opening of the heat insulating portion groove 140 is closed by the second sheet 20 to become the heat insulating portion 6.
  • the heat insulating portion 6 is configured so as not to communicate with the condensate flow path 3 and the vapor flow path 4, and has a thermal conductivity lower than that of the material adjacent to the heat insulating portion 6.
  • the heat insulating portion 6 is not particularly limited, but the heat insulating portion 6 may be evacuated, filled with air or other gas, or filled with a material having low thermal conductivity.
  • the condensate flow path 3 by forming a narrow flow path surrounded by walls on all four sides in the cross section, the condensate is moved by a strong capillary force, and smooth circulation is possible. That is, when considering a flow path assuming that the condensate flows, the condensate flow path 3 is compared with a flow path having a so-called groove in which one surface of the flow path is continuously open. According to this, high capillary force can be obtained. Further, since the condensate flow path 3 is formed separately from the vapor flow path 4 which is the first flow path, the circulation of the working fluid can be smoothed.
  • a heat insulating portion having a reduced thermal conductivity is provided on the opposite side of the condensate flow path 3 in the thickness direction (z direction) of the vapor chamber 101.
  • the heat transfer to the working fluid is slowed down, and the local temperature rise and the local temperature drop are alleviated, so that the uniformity can be improved. More specifically, it is possible to suppress the obstruction of the flow of the working fluid due to dryout due to rapid heating or clogging of the condensate due to condensation earlier than necessary, and it is possible to enhance the heat transport capacity.
  • the shape of the condensate flow path 3 and the heat insulating portion 6 can be considered based on the shape and dimensions described in the third sheet 130 described above.
  • the opening of the steam flow path groove 142 is closed by the first sheet 10 and the second sheet 20 to form a part of the hollow portion, which forms the flow path of the working fluid. It becomes the steam flow path 4 which is the first flow path through which steam flows.
  • the relationship between the flow path cross-sectional area of the condensate flow path 3 and the flow path cross-sectional area of the vapor flow path 4 is the flow path cross-sectional area of the condensate flow path 3 and the flow path cross-sectional area of the vapor flow path 4 described in the first embodiment. Can be thought of in the same way as the relationship of.
  • the shape of the steam flow path 4 can be considered based on the shape and dimensions described in the third sheet 130 described above. Since the introduction section 37 and the introduction section 41 are provided in this embodiment, the steam flow path 4 is configured to be in contact with the two introduction sections.
  • the opening of the groove 44a of the steam flow path communication groove 44 of the third sheet 130 is closed by the first sheet 10, and the opening of the groove 44b is closed by the second sheet 20, so that a plurality of steam flows are formed.
  • a hollow portion through which the path 4 communicates is formed to serve as a flow path for the working fluid.
  • the working fluid is sealed in the closed space 102 of the vapor chamber 101.
  • the type of the working fluid is not particularly limited, but a working fluid used in a normal vapor chamber such as pure water, ethanol, methanol, acetone, and a mixture thereof can be used.
  • the vapor chamber as described above can be produced, for example, as follows. With respect to the sheet having the outer peripheral shape of the third sheet 130, the liquid flow path groove 35, the heat insulating portion groove 136, the liquid flow path groove 39, the heat insulating portion groove 140, the vapor flow path groove 142, and the groove 44a and the groove 44b. Is formed by half etching. However, the steam flow path groove 142 is half-etched from both the first surface 130a side and the second surface 130b side so as to penetrate in the thickness direction. By etching in this way, the shapes of the introduction portion 37 and the introduction portion 41 can also be formed.
  • the first sheet 10 is placed on the first surface 130a side of the third sheet 130, and the second sheet 20 is placed on the second surface 130b side of the third sheet 130 for temporary fixing.
  • the method of temporary fixing is not particularly limited, and examples thereof include resistance welding, ultrasonic welding, and bonding with an adhesive.
  • diffusion bonding is performed to permanently join the first sheet 10, the second sheet 20, and the third sheet 130 to form a vapor chamber sheet.
  • "permanently joined” is not bound by a strict meaning, and is joined to such an extent that the hermeticity of the sealed space 102 can be maintained during the operation of the vapor chamber 101. Means to be.
  • the heat insulating portion 6 By performing this joining in a vacuum, the heat insulating portion 6 can be evacuated, and when performed in the air or other gas, the heat insulating portion 6 can be filled with a gas corresponding thereto. If the heat insulating groove 136 is provided with a pillar 136a and the heat insulating groove 140 is provided with a pillar 140a, it is necessary to provide the pillars at the time of joining, at the time of decompression of the hollow portion described below, and at the time of injecting the working fluid. It is possible to suppress the crushing and swelling of the heat insulating portion 6. Further, when a solid material is put in the heat insulating portion 6, the material may be put in the groove for the heat insulating portion before joining.
  • the internal liquid flow path portion 138 functions as a support column, it is possible to prevent the closed space from being crushed during joining and depressurization.
  • the heat insulating portion 6 is provided on the opposite side of the condensate flow path 3 in the thickness direction (z direction) of the vapor chamber 101, the heat transfer to the working fluid becomes gentle and is localized. Since the temperature rise and the local temperature drop are reduced, the uniformity can be improved. That is, it is possible to suppress obstruction of the flow of the working fluid due to dryout due to rapid heating or clogging of the condensate due to condensation earlier than necessary, and it is possible to enhance the heat transport capacity. Therefore, the heat insulating portion is not necessarily arranged in the entire vapor chamber, and may be arranged only in a portion where local heat transfer is expected. Examples thereof include a portion where a heat source (electronic component) is arranged, and conversely, an end portion of a vapor chamber separated from the heat source.
  • a heat source electronic component
  • the introduction portion 37 and the introduction portion 41 are provided, a portion surrounded by the introduction surface 37b and the introduction surface 41b and the first sheet 10 and the second sheet 20 is formed, and the action of the capillary force causes the introduction portion 37 and the introduction portion 41 to be provided. Condensate tends to collect here. As a result, the condensed liquid is introduced into the condensed liquid flow path 3 more smoothly.
  • FIG. 44 shows an example in which the groove 140 for the heat insulating portion is provided on a part of the second surface 130b of the third sheet 130. This figure corresponds to FIG. 29.
  • the heat insulating portion 6 is also limited to the portion where the groove 140 for the heat insulating portion is provided. This is for thermal design, for example, a heat insulating portion 6 is provided in a portion close to the cooling target and a portion where condensation is desired to be suppressed, and a heat insulating portion 6 is not provided in a portion where condensation is desired to be performed promptly.
  • a heat insulating portion can be provided.
  • FIG. 45 to 47 are examples in which the heat insulating portion 6 is also provided in the steam flow path 4. Both are diagrams corresponding to FIG. 38.
  • FIG. 45 shows an example in which the heat insulating portion 6 is provided in each of the condensate flow path 3 and the vapor flow path 4.
  • FIG. 46 shows an example in which the heat insulating portion 6 communicates through the condensate flow path 3 and the vapor flow path 4.
  • FIG. 47 is an example in which the heat insulating portion 6 is provided only in the steam flow path 4.
  • the introduction unit 37 and the introduction unit 39 have been described in the first and second forms, the introduction unit will be described in detail in the third form. Therefore, the configurations other than the introduction portion can be considered in the same manner as in the above-described first and second forms, and the description thereof will be omitted.
  • the second surface 30b of the third sheet 30 is provided with the liquid flow path groove 40
  • the second surface 130b of the third sheet 130 is provided with the groove 140 for the heat insulating portion. Since it is not always necessary that the second surface of the third sheet is provided with these elements, an example will be described here in which the second surface of the third sheet is not provided with these elements. However, this does not prevent the liquid flow path groove 40 and the heat insulating groove 140 from being provided on the second surface of the third sheet.
  • the reference numerals used in the first form are used for the elements other than the introduction part.
  • Form 3a 48 (a) and 48 (b) are views for explaining the inner liquid flow path portion 238, and are views corresponding to FIGS. 13 (a) and 13 (b).
  • the introduction portion 241 will be described here by the inner liquid flow path portion 238, the introduction portion provided in the outer liquid flow path portion can also be considered in the same manner.
  • the introduction portion 241 is provided in the inner liquid flow path portion 238.
  • the introduction portion 241 is a portion formed on the interface with the steam flow path groove 42, and is a portion protruding toward the steam flow path groove 42 side. Therefore, in this embodiment, the introduction portions 241 are arranged in both the width direction (y direction) of the inner liquid flow path portion 238.
  • the introduction portion 241 includes a top portion 241a that most protrudes from the first surface 30a (the top portion of the convex portion 39a of the liquid flow path groove) in the thickness direction (z direction) at the position of T 203 , and is provided from the top portion 241a.
  • a concave arc-shaped introduction surface 241b is provided on the inner liquid flow path portion 238 side in a cross-sectional view toward the liquid flow path groove 39.
  • it does not have to be an arc shape, and may be a curved shape other than a concave arc shape on the inner liquid flow path portion 238 side in cross-sectional view.
  • Other examples of the introduction portion will be shown later, but each introduction portion is a portion protruding toward the vapor flow path groove 42 (steam flow path), and the liquid flow path groove (condensate) is formed from the most protruding top portion thereof.
  • a surface (introduction surface) having a surface approaching the flow path) is provided.
  • the condensate easily collects on the introduction surface 241b, and the working fluid moves smoothly between the condensate flow path 3 and the vapor flow path 4 through the introduction unit 241 to enhance the heat transport capacity. Can be done.
  • the surface of the introduction surface 241b is not particularly limited, but may be a rough surface or a minute stepped surface. This makes it possible to increase the holding power of the condensate.
  • the surface roughness of the introduction surface (ISO 25178) can be measured with, for example, a laser microscope (model number: VK-X250) manufactured by KEYENCE CORPORATION.
  • the arithmetic mean height Sa of this surface roughness is preferably 0.005 ⁇ m or more, and more preferably 0.03 ⁇ m or more.
  • the maximum height Sz is preferably 0.05 ⁇ m or more, and more preferably 0.3 ⁇ m or more.
  • the introduction unit 241 having the above configuration is preferably further provided with the following configuration.
  • the width of the inner liquid flow path portion 238 (the size in the direction in which the inner liquid flow path portion 238 and the vapor flow path groove 42 are arranged, which is the largest value) shown by W 205 in FIG. 48 (a) is 3000 ⁇ m or less. It may be 2000 ⁇ m or less, or 1500 ⁇ m or less.
  • the width W 205 is preferably 100 ⁇ m or more, may be 200 ⁇ m or more, or may be 400 ⁇ m or more.
  • the range of the width W 205 may be determined by a combination of any one of the plurality of upper limit candidate values and one of the plurality of lower limit candidate values. Further, the range of the width W 205 may be defined by any combination of a plurality of upper limit candidate values or any combination of a plurality of lower limit candidate values.
  • the amount of protrusion (distance from the end of the convex portion 39a to the top 241a) shown by W 207 in FIG. 48 (a) is preferably 1000 ⁇ m or less, and may be 500 ⁇ m or less, or 300 ⁇ m or less. Good.
  • the protrusion amount W 207 is preferably 20 ⁇ m or more, and may be 45 ⁇ m or more, or 60 ⁇ m or more.
  • the range of the protrusion amount W 207 may be determined by a combination of any one of the plurality of upper limit candidate values and one of the plurality of lower limit candidate values.
  • the range of the protrusion amount W 207 may be defined by any combination of a plurality of upper limit candidate values or any combination of a plurality of lower limit candidate values.
  • the distance in the thickness direction from the top portion 241a of the convex portion 39a shown by T 203 in FIG. 48 (a) to the top portion 241a of the introduction portion 241 is when the thickness of the inner liquid flow path portion 238 is T 204 .
  • the value obtained by dividing T 203 by T 204 is preferably 0.05 or more, and may be 0.15 or more, or 0.3 or more. On the other hand, the value obtained by dividing T 203 by T 204 may be 1.0 or less, 0.8 or less, or 0.6 or less.
  • the range of values obtained by dividing T 203 by T 204 may be determined by a combination of any one of the plurality of upper limit candidate values and one of the plurality of lower limit candidate values. Further, the range of the value obtained by dividing T 203 by T 204 may be determined by a combination of any two of a plurality of upper limit candidate values or an arbitrary combination of a plurality of lower limit candidate values. In this embodiment, the value is 0.5, and the top portion 241a is arranged at the center of the inner liquid flow path portion 238 in the thickness direction.
  • the width of the liquid flow path groove 39 closest to the introduction section 241 is W 209
  • the depth of the liquid flow path groove 39 closest to the introduction section 241 is D 201 .
  • 49 (a) and 49 (b) show figures corresponding to FIGS. 18 (a) and 18 (b).
  • the steam flow path 4 and the steam flow path 3 are separated by a convex portion 39a, but the convex portion 39a includes a communication opening 39b. Therefore, as shown in FIG. 49B, according to the cross section of the communication opening 39b adjacent to the steam flow path 4, the steam flow path 4 and the steam flow path 3 are communicated with each other by the communication opening 39b.
  • the inner surface 10a of the first sheet 10 is overlapped on the first surface 30a side of the third sheet 30, and the third sheet 30 is on the second surface 30b side.
  • the inner surface 20a of the two sheets 20 is arranged so as to be overlapped and joined to form the vapor chamber 1.
  • the introduction unit 241 Since the introduction unit 241 is provided, the introduction unit 241 is provided between the condensate flow path 3 and the vapor flow path 4 and projects toward the vapor flow path 4 side.
  • the introduction portion 241 has a top portion 241a that protrudes most toward the vapor flow path 4 side in the thickness direction (z direction), and is circular in cross section from the top portion 241a toward the side provided with the condensate flow path 3.
  • An arc-shaped introduction surface 241b is provided. That is, the introduction portion is arranged between the condensate flow path 3 and the vapor flow path 4, projects toward the vapor flow path 4, and approaches the condensate flow path 3 from the most protruding portion (top).
  • a surface including a surface (introduction surface) is provided.
  • FIG. 50 shows a diagram for explanation. Although a part of the reference numeral is omitted in FIG. 50 for the sake of readability, FIG. 49 (a) can be referred to.
  • a rectangle having a horizontal distance between opposite tops 241a and a vertical size in the thickness direction of the steam flow path 4 is defined as a region A and its area. Let A A. In the same section as FIG. 49.
  • the form of these introduction portions can also be applied to the outer peripheral liquid flow path portion.
  • reference numeral 238 represents an inner liquid flow path portion
  • reference numeral 241 represents an introduction portion
  • reference numeral 241a represents a top portion
  • reference numeral 241b represents an introduction surface in any of the embodiments.
  • the top 241a is connected to the condensate flow path 3 in the thickness direction as compared with the top 41a of the form 3a of FIGS. 49 (a) and 49 (b). It is located close to each other. Specifically, the value obtained by dividing T 203 shown in FIG. 48 by T 204 is in the range of 0.2 or more and 0.4 or less. According to this form, since the space sandwiched between the introduction surface 141b and the first sheet 10 is small, the capillary force is strong and easy to work, and the above effect becomes more remarkable.
  • the introduction surface 241b extending from the top 241a is linear in cross-sectional view.
  • the top portion 241a is planar, and the introduction surface 241b is parallel to the direction in which the plurality of condensate flow paths 3 and the vapor flow paths 4 are arranged ( It has a surface extending in the y direction). Even in such a form, the above effect can be obtained.
  • the introduction surface 241b extending from the top portion 241a has an arc shape that is convex toward the steam flow path 4 side in a cross-sectional view. However, it does not have to be arcuate, and may be curved in a cross-sectional view other than the arc that is convex toward the steam flow path 4. Even in such a form, the above effect can be obtained.
  • the introduction surface 241b approaches the condensate flow path 3 a relatively large number of portions having a narrow distance from the first sheet 10 can be formed, and efficient use of capillary force can be expected.
  • the top portion 241a is provided at a distance from the surface of the vapor flow path 4 opposite to the condensate flow path 3 side. is there. Even in such a form, the introduction surface 241b can be formed and the above effect can be obtained. However, from the viewpoint of utilizing stronger capillary force by narrowing the space between the introduction surface and the first surface 10a, the top portion is in the steam flow path in the thickness direction as in each of the above-mentioned examples. It is preferably arranged on any of the side surfaces that do not match the inner surfaces facing each other in the thickness direction.
  • the condensate flow path 3 is formed in both the thickness direction of the inner liquid flow path portion 238 (that is, in this respect, it is the same as that of the first form 1). is there.).
  • the introduction portion 241 can form an introduction surface 241b from the top portion 241a toward both of the condensate flow paths 3, and in each of the condensate flow paths 3 existing in both the thickness directions.
  • the above effect is achieved.
  • the condensate flow path 3 is formed at the center of the inner liquid flow path portion 238 in the thickness direction.
  • the vapor chamber consists of two sheets.
  • the first sheet 210 includes a part of the above-mentioned first sheet 10 and the third sheet 30, and the second sheet 220 includes a part of the above-mentioned second sheet 20 and the third sheet 30. By combining both, a closed space of the vapor chamber is formed.
  • the introduction surface 241b is provided from the top portion 241a of the introduction portion 241 so as to extend in parallel (y direction) in the direction in which the plurality of condensate flow paths 3 and the vapor flow paths 4 are arranged. Even in such a form, the above effect can be obtained.
  • this embodiment is an example in which the position in the thickness direction (position in the z direction) of the top portion 241a and the condensate flow path 3 is the same, and each of the above-described forms is the position in the thickness direction of the top portion and the condensate flow path. (Position in z direction) is different. It is possible to apply any of them as needed, but there is a tendency that more condensate can be retained and introduced when the top and the condensate flow path have different thickness direction positions (z direction positions). It is in.
  • the working fluid may freeze in a temperature environment lower than the freezing point of the enclosed working fluid.
  • the vapor chamber is deformed due to the volume expansion of the working fluid in the steam flow path portion.
  • the first sheet 10 and the second sheet 20 in the first to third forms are different. Therefore, since the aspects described in the above-described first to third forms can be applied to the third sheet, the description thereof will be omitted here.
  • the third sheet 30 of the first embodiment is applied will be described, but the present invention is not limited thereto. Therefore, the concept of the arrangement in the electronic device, the operation of the working fluid, and the heat diffusion by the operation is as described above, and the description thereof will be omitted.
  • FIG. 58 shows a cross section of the vapor chamber 301, which corresponds to FIG.
  • the first sheet 310 includes an inner sheet 311 and a reinforcing sheet 312
  • the second sheet 320 includes an inner sheet 321 and a reinforcing sheet.
  • the inner sheet 311 is a sheet arranged in contact with the first surface 30a of the third sheet 30, and constitutes the inner surface 10a.
  • the inner sheet 321 is a sheet arranged in contact with the second surface 30b of the third sheet 30, and constitutes the inner surface 20a.
  • the reinforcing sheet 312 is a sheet of the inner sheet 311 arranged on the side opposite to the third sheet 30 side, and constitutes the outer surface 10b.
  • the reinforcing sheet 322 is a sheet of the inner sheet 321 that is arranged on the side opposite to the third sheet 30 side, and constitutes the outer surface 10b.
  • the inner sheet 311 and the reinforcing sheet 312 may be configured as a clad material.
  • the clad material means a laminated material in which a plurality of types of sheets are bonded to each other.
  • the inner sheet 311 and the reinforcing sheet 312 may be manufactured as a clad material by plating one sheet with the other sheet. In this case, an adhesion layer (strike plating layer, seed layer, etc.) (not shown) for improving these adhesions may be interposed between the two sheets. Further, both sheets may be produced as a clad material by diffusion bonding.
  • the inner sheet 321 and the reinforcing sheet 322 may be configured as a clad material.
  • the clad material means a laminated material in which a plurality of types of sheets are bonded to each other.
  • the inner sheet 321 and the reinforcing sheet 322 may be manufactured as a clad material by plating one sheet with the other sheet.
  • an adhesion layer (strike plating layer, seed layer, etc.) (not shown) for improving these adhesions may be interposed between the two sheets.
  • both sheets may be produced as a clad material by diffusion bonding.
  • the material constituting the inner sheet 311 and the inner sheet 321 is not particularly limited as long as it is a material having good thermal conductivity, but may contain, for example, copper or a copper alloy. In this case, the thermal conductivity of each sheet can be increased. Therefore, the heat dissipation efficiency of the vapor chamber 301 can be improved. Further, when pure water is used as the working fluid, corrosion can be prevented. Other metal materials such as aluminum and titanium, and other metal alloy materials such as stainless steel can also be used as long as the desired heat dissipation efficiency can be obtained and corrosion can be prevented.
  • the reinforcing sheet 312 is made of a material having a higher yield strength than the inner sheet 311 and the reinforcing sheet 322 is made of a material having a higher yield strength than the inner sheet 321.
  • the proof stress is a stress at which the permanent strain at the time of unloading becomes 0.2%.
  • the specific materials of the reinforcing sheet 312 and the reinforcing sheet 322 are not particularly limited, but it is preferable that the reinforcing sheet 312 and the reinforcing sheet 322 are metal materials having good thermal conductivity and have desired mechanical strength, for example, a copper alloy. , Iron alloys, nickels, nickel alloys, titanium, titanium alloys or aluminum alloys. Among these, examples of iron alloys include stainless steel, Invar material (iron alloy containing nickel), and Kovar (iron alloy containing cobalt).
  • the thickness of the inner sheet 311 and the inner sheet 312 can be, for example, 0.2 ⁇ m or more and 100 ⁇ m or less. By setting this thickness to 0.2 ⁇ m or more, it is possible to prevent pinholes from being formed on the inner sheet 311 and the inner sheet 312, and impurities contained in the materials constituting the reinforcing sheet 312 and the reinforcing sheet 322 are said to be present. It is possible to prevent precipitation on the third sheet 30 side via the pinhole. On the other hand, by setting the thickness to 100 ⁇ m or less, it is possible to prevent the vapor chamber 301 from becoming thicker.
  • the thickness of the inner sheet is more preferably 0.25 ⁇ m or more and 10 ⁇ m or less, and further preferably 0.45 ⁇ m or more and 5 ⁇ m or less.
  • the thickness of the reinforcing sheet 312 and the reinforcing sheet 322 may be thicker than the thickness of the inner sheet 311 and the inner sheet 321 in order to enhance the reinforcing function.
  • the reinforcing sheet 321 is preferably thicker than the inner sheet 311, and more specifically, the thickness of the reinforcing sheet is preferably 5 times or more and 30 times or less the thickness of the inner sheet. , More preferably 5 times or more and 20 times or less.
  • the specific thickness of the reinforcing sheet 312 and the reinforcing sheet 322 is not particularly limited, but is, for example, 3 ⁇ m or more and 100 ⁇ m or less.
  • this thickness By setting this thickness to 3 ⁇ m or more, it can be effectively reinforced. On the other hand, by setting the thickness to 100 ⁇ m or less, it is possible to prevent the vapor chamber 301 from becoming thicker. It is more preferably 5 ⁇ m or more and 50 ⁇ m or less, and further preferably 9 ⁇ m or more and 25 ⁇ m or less.
  • the thickness of the first sheet 310 and the second sheet 320 is 0.1 mm or less, preferably 0.05 mm or less, and more preferably 0.02 mm or less. This makes it possible to manufacture a thin (for example, 0.4 mm or less) vapor chamber in which freeze expansion is unlikely to occur.
  • the thickness of the first sheet 310 and the second sheet 320 is, for example, 0.01 mm or more. As a result, deformation of the inner sheet 311 and the inner sheet 321 due to freezing and expansion of the working fluid of the steam flow path 4 can be suppressed.
  • both the first sheet 310 and the second sheet 320 are provided with both an inner sheet and a reinforcing sheet, but the present invention is not limited to this and is not necessary.
  • the reinforcing sheet may be provided only on either the first sheet or the second sheet.
  • a layer having the same material and thickness as the inner sheet may be further laminated on at least one of the reinforcing sheet 312 of the first sheet 310 and the reinforcing sheet 322 of the second sheet 320. According to this, the occurrence of warpage can be suppressed in the sheet in which the layers are laminated.
  • a flat metal material sheet M including a first surface Ma and a second surface Mb is prepared.
  • a resist film 340 is formed on the first surface Ma of the metal material sheet M, and a resist film 341 is formed on the second surface Mb.
  • the first surface Ma and the second surface Mb of the metal material sheet M may be subjected to an acid degreasing treatment as a pretreatment.
  • the resist film 340 and the resist film 341 are patterned by a photolithography technique.
  • openings corresponding to the liquid flow path groove 39, the communication opening 39b, and the vapor flow path groove 42 of the inner liquid flow path 38 are formed.
  • the opening corresponding to the liquid flow path groove 39 and the communication opening 39b can be formed so as to be smaller than the width of the liquid flow path groove 39 and the communication opening 39b.
  • the opening corresponding to the steam flow path groove 42 can be formed to have the same width as the width of the steam flow path groove 42 on the first surface 30a.
  • openings corresponding to the liquid flow path groove 40, the communication opening 40b, and the vapor flow path groove 42 of the inner liquid flow path 38 are formed.
  • the openings corresponding to the liquid flow path groove 40 and the communication opening 40b can be formed so as to be smaller than the width of the liquid flow path groove 40 and the communication opening 40b.
  • the opening corresponding to the steam flow path groove 42 can be formed to have the same width as the width of the steam flow path groove 42 on the second surface 30b.
  • the first surface 30a and the second surface 30b of the metal material sheet M are etched as an etching step.
  • the portion of the metal material sheet M corresponding to the opening portion where the resist film 340 and the resist film 341 are formed is etched to form the liquid flow path groove 39, the communication opening 39b, the liquid flow path portion 40, and the communication.
  • the opening 40b and the steam flow path groove 42 are formed.
  • an iron chloride-based etching solution such as a ferric chloride aqueous solution or a copper chloride-based etching solution such as a copper chloride aqueous solution can be used.
  • the openings corresponding to the liquid flow path groove 39, the communication opening 39b, the liquid flow path groove 40 and the communication opening 40b are smaller than the groove width. When formed in width, this reduces the amount of etching solution that enters the opening and reduces the etching rate in this portion. Therefore, the depths of the liquid flow path groove 39, the communication opening 39b, the liquid flow path groove 40, and the communication opening 40b can be made shallow.
  • the openings of the resist film 340 and the resist film 341 corresponding to the steam flow path groove 42 are formed to be the same as the width of the steam flow path groove 42 on the first surface 30a and the second surface 30b. The amount of the etching solution that enters can be secured, and the etching depth for forming the vapor flow path groove 42 can be secured (as a result, the vapor flow path groove 42 penetrates in the thickness direction).
  • the portion is resisted. This can be done by adjusting the width of the film to suppress the depth, or by providing an opening in only one of the resist films arranged on both sides of the metal material sheet M.
  • the resist film 340 and the resist film 341 are removed as a resist removing step.
  • the third sheet 30 can be obtained.
  • a sheet in which the reinforcing sheet 312 is laminated on the inner sheet 311 is prepared, and as a preparatory step for the second sheet 320, a sheet in which the reinforcing sheet 322 is laminated on the inner sheet 321 is prepared.
  • the method of each preparatory step is not particularly limited, but one produced as a clad material can be used.
  • the inner sheets 311 and 312 may be formed by plating the reinforcing sheets 311 and 322 formed from the rolled material. In this case, an adhesion layer for improving the bondability between the reinforcing sheets 312 and 322 and the inner sheets 311 and 321 may be interposed.
  • the adhesion layer examples include a strike plating layer and a seed layer.
  • a strike plating layer containing a material such as nickel or copper may be interposed, or sputtering.
  • a seed layer containing a material such as titanium or molybdenum may be interposed.
  • the thickness of the strike plating layer and the seed layer is, for example, in the range of 10 nm or more and 1000 nm or less.
  • the inner sheets 311 and 321 may be formed from the rolled material, and the reinforcing sheets 312 and 322 may be formed by plating. Further, one of the inner sheets 311 and 321 and the reinforcing sheets 312 and 322 may be formed by plating, and the other may be laminated by further plating.
  • the method of fixing for temporary fixing is not particularly limited, but can be, for example, by performing resistance welding.
  • resistance welding may be performed spot-wise using an electrode rod (not shown). Laser welding may be performed instead of resistance welding.
  • the first sheet 310, the second sheet 320, and the third sheet 30 are permanently joined by diffusion joining as a joining step.
  • Diffusion bonding means that the first sheet 310 and the third sheet 30 to be joined are brought into close contact with each other, and the third sheet 30 and the second sheet 320 are brought into close contact with each other in a controlled atmosphere such as in a vacuum or in an inert gas. This is a method of joining by utilizing the diffusion of atoms generated on the joining surface by pressurizing and heating in the stacking direction. Diffusion bonding heats the material constituting each sheet to a temperature close to the melting point, but since it is lower than the melting point, it is possible to avoid melting and deforming each sheet.
  • the working fluid is sealed from the injection part to the hollow part as a sealing step.
  • the injection flow path is sealed.
  • the injection portion may be irradiated with a laser to partially melt the injection portion to seal the injection flow path. As a result, the space in which the working fluid is sealed is blocked from the outside.
  • the injection portion may be crimped (pressed to plastically deform) or brazed.
  • the vapor chamber 301 is obtained.
  • the first sheet and the second sheet are plated and then each sheet is laminated, but the present invention is not limited to this, and each sheet may be laminated and then plated. According to this, a layer by plating is also formed on the side surface.
  • the electronic device equipped with the vapor chamber 301 may be placed in a temperature environment lower than the freezing point of the working fluid.
  • the working fluid freezes and, depending on the type of working fluid, expands due to freezing.
  • the working fluid is pure water, it can freeze and expand in a sub-zero environment. Due to this expansion, a force in the direction of expanding the vapor chamber 301 in the thickness direction may be applied at the portion where the working fluid is accumulated.
  • the first sheet 310 is provided with the reinforcing sheet 312
  • the second sheet 320 is provided with the reinforcing sheet 322
  • the first sheet 310 and the second sheet 320 are reinforced, respectively. It is possible to suppress deformation even when the working fluid is subjected to a force due to freezing and expansion. Therefore, it is possible to suppress a decrease in the flatness of the contact surface with the heat source at the portion receiving heat from the heat source and the contact surface with the member (for example, the housing) at the portion releasing heat to the outside, and a gap is formed. Can be suppressed. In this case, it is possible to suppress the inhibition of heat conduction from the heat source to the vapor chamber 301 and heat conduction from the vapor chamber 301 to the outside.
  • the reinforcing sheets 312 and 322 make the inner sheets 311, 321 more thick. It can be further reinforced and the deformation of the vapor chamber 301 can be further suppressed.
  • FIG. 65 shows a diagram for explaining the vapor chamber 301'
  • FIG. 66 shows a diagram for explaining the vapor chamber 301', both of which are sectional views corresponding to FIG. 64.
  • the third sheet 30 is not arranged, and the first sheet 310'and the second sheet 320' are directly laminated. That is, the inner sheet 311'of the first sheet 310'and the inner sheet 321' of the second sheet 320' are overlapped and joined to each other.
  • the inner sheet 311'and the inner sheet 321' have grooves formed on the surfaces to be overlapped, whereby the condensate flow path 3 and the vapor flow path 4 are formed.
  • the concept of the form of the condensate flow path 3 and the vapor flow path 4 is the same as described above. Even in such a form, since the reinforcing sheets 312 and 222 are provided, the same effect as described above can be obtained.
  • the third sheet 30 is not arranged, and the first sheet 310" and the second sheet 320 "are directly laminated, that is, inside the first sheet 310".
  • the condensate flow path 3 is not provided between the adjacent vapor flow paths 4, but the condensate flow path 3 and the vapor flow path 4 are provided in the same flow path. Therefore, in this embodiment, the capillary structural member 339 is arranged in the same flow path as the flow path that becomes the steam flow path 4.
  • the capillary structure member 339 is configured as a capillary structure (wick) through which a liquefied working fluid flows.
  • the capillary structural member 339 can be made of, for example, a metal mesh, metal powder, metal stranded wire, or the like. Even in such a form, since the reinforcing sheets 312 and 222 are provided, the same effect as described above can be obtained.
  • the vapor chamber 401 of the fifth embodiment is an example in which the first sheet 410 and the second sheet 420 are applied instead of the first sheet 310 and the second sheet 320 provided in the vapor chamber 301 described in the fourth embodiment.
  • the first sheet 410 is different from the first sheet 310 in that the barrier sheet 413 is arranged between the inner sheet 311 and the reinforcing sheet 312 described in the first sheet 310.
  • the second sheet 420 is different from the second sheet 320 in that the barrier sheet 423 is arranged between the inner sheet 321 and the reinforcing sheet 322 described in the first sheet 320. Therefore, other than the barrier sheets 413 and 423 can be considered in the same manner as the vapor chamber 301 of the fourth embodiment, and therefore, the barrier sheets 413 and 423 will be described here.
  • the barrier material constituting the barrier sheets 413 and 423 is not particularly limited as long as it is a material capable of preventing the metal elements constituting the reinforcing sheets 312 and 322 from permeating toward the inner sheets 311 and 321.
  • a barrier material may contain, for example, at least one of tungsten (W), titanium (Ti), tantalum (Ta) and molybdenum (Mo).
  • the barrier material may be composed of only one of tungsten, titanium, tantalum and molybdenum.
  • the barrier sheets 413 and 423 are formed as a single-phase film.
  • the barrier material may be composed of a combination of any two or more materials of tungsten, titanium, tantalum and molybdenum.
  • the barrier sheets 413 and 423 are formed as an alloy film.
  • An example of such an alloy film is an alloy film of tungsten and titanium.
  • the barrier material may be a combination of the above-mentioned four metal elements and other metal elements. Examples of the alloy film in this case include an alloy film of nickel and tungsten.
  • the thickness of the barrier sheets 413 and 423 is arbitrary as long as the barrier function can be exhibited.
  • the thickness of the barrier sheets 413 and 423 is, for example, in the range of 10 nm or more and 1000 nm or less.
  • the thickness of the barrier sheets 413 and 423 is preferably 100 nm or more from the viewpoint of more effectively exerting the barrier function.
  • the presence or absence of the barrier sheets 413 and 423 can be confirmed by, for example, an image obtained by imaging a cross section obtained by cutting the vapor chamber 401 at an arbitrary position with a SEM (scanning electron microscope). ..
  • the components of the barrier sheets 413 and 423 may be analyzed by, for example, slightly scraping the lower surface of the vapor chamber 401, analyzing the scraped components by energy dispersive X-ray analysis (EDX), and further scraping the components. By repeating the component analysis in this way, the components of the barrier sheets 413 and 423 can be confirmed.
  • EDX energy dispersive X-ray analysis
  • an adhesion layer for improving the bondability between the barrier sheets 413 and 423 and the inner sheets 311 and 321 may be further formed.
  • the adhesion layer is formed, first, the adhesion layer is formed on the surface of the barrier sheet 413.423, and then the inner sheets 311 and 321 are formed on the surface of the adhesion layer.
  • the adhesion layer include a strike plating layer and a seed layer.
  • the barrier sheets 413 and 423 are formed of a material containing molybdenum and the inner sheets 311 and 321 are formed of copper
  • the copper material is obtained by performing a sputtering treatment using a sputtering target material containing copper.
  • a seed layer containing the seed layer may be interposed.
  • the thickness of the strike plating layer and the seed layer can be, for example, in the range of 50 nm or more and 500 nm or less.
  • the cover sheets 413 and 423 may be formed from the rolled material, and the reinforcing sheets 312 and 322 may be formed by plating. Further, one of the cover sheets 413 and 423 and the reinforcing sheets 312 and 322 may be formed by plating, and the other may be laminated by further plating.
  • a vapor chamber 401 in addition to the same effect as that of the vapor chamber 301 described in the fourth embodiment, it is possible to suppress the metal material forming the reinforcing sheet from diffusing into the inner sheet.
  • Form 6 In the sixth form, the shape of the liquid flow path groove of the third sheet is different from that of the vapor chambers of the first to fifth forms described so far. Since other parts can be considered in the same manner as in the first to fifth forms, the inner liquid flow path portion will be focused on here, and the other parts will be omitted. However, the same shape can be applied to the outer peripheral liquid flow path portion.
  • the parts common to Form 1 to Form 5 are designated by the reference numerals of Form 1, but the forms of Form 2 to Form 5 can also be applied to the common parts.
  • FIG. 68 is a view of the inner liquid flow path portion 538 of the vapor chamber 501 of the present embodiment as viewed from the z direction, and is a view from the same viewpoint as in FIG.
  • the inner liquid flow path portion 538 has a liquid flow path groove 551 extending in the x direction) and a liquid flow path convex portion 552 which is a pair of convex portions adjacent to each other via the liquid flow path groove 551. And have.
  • the liquid flow path groove 551 is mainly configured to transport a liquid working fluid.
  • the pair of liquid flow path convex portions 552 includes a first liquid flow path convex portion 552A arranged on one side with respect to the liquid flow path groove 551 (the y-direction side in the drawing) and the one side with respect to the liquid flow path groove 551. Is composed of a second liquid flow path convex portion 552B arranged on the opposite side (opposite side in the y direction in the drawing). A plurality of the first liquid flow path convex portions 552A are arranged in the first direction (x direction in the drawing) to form the first liquid flow path convex portion row 553A. Similarly, the second liquid flow path convex portion 552A is formed. A plurality of portions 552B are arranged in the first direction (x direction in the drawing) to form a second liquid flow path convex portion row 553B.
  • a first connecting groove 554A is formed between the first liquid flow path convex portions 552A which are arranged in a plurality of first directions (x direction in the drawing), and similarly, the first direction (the first direction (x direction in the drawing)).
  • a second connecting groove 554B is formed between the second liquid flow path convex portions 552B which are arranged in the x direction in the drawing.
  • Each first connecting groove 554A and each second connecting groove 554B are connected to a liquid flow path groove 551.
  • the working fluid that loses heat from the vapor state and condenses and becomes liquid on the surface of the vapor flow path groove 42 (vapor flow path 4) is the surface of the vapor flow path groove 42 (vapor flow path 4) due to capillary action. Then, it enters the first connecting groove 554A and the second connecting groove 554B, and further enters the liquid flow path groove 551 (condensate flow path 3) by capillary action.
  • the plurality of first liquid flow path convex portions 552A constituting the first liquid flow path convex portion row 553A are arranged in the first direction (x direction) at a constant pitch P 501 .
  • a plurality of second liquid flow path convex portions 552B constituting the second liquid flow path convex portion row 553B are also arranged in the first direction (x direction) at a constant pitch P 501 .
  • the design of the first liquid flow path convex portion row 553A and the second liquid flow path convex portion row 553B does not become complicated. Further, it can be expected that the actions of each pair of liquid flow path convex portions 552 are equalized. For example, it can be expected that the ease of entry of the liquid working fluid from each of the plurality of first connecting grooves 554A and the plurality of second connecting grooves 554B into the liquid flow path groove 551 is equalized. However, the plurality of first liquid flow path convex portions 552A and the plurality of second liquid flow path convex portions 552B may not be arranged at a constant pitch.
  • the first liquid flow path convex portion 552A constituting the pair of liquid flow path convex portions 552 and the second liquid flow path convex portion 552B adjacent to each other via the liquid flow path groove 551 are It is formed line-symmetrically with respect to the liquid flow path groove 551.
  • the design of the first liquid flow path convex portion row 553A and the second liquid flow path convex portion row 553B does not become complicated. It can also be expected that the actions of each pair of liquid flow path convex portions 552 are equalized. For example, it can be expected that the ease with which the liquid working fluid enters the liquid flow path groove 551 from each of the plurality of first connecting grooves 554A and the plurality of second connecting grooves 554B is equalized.
  • the first liquid flow path convex portion 552A and the second liquid flow path convex portion 552B adjacent to each other via the liquid flow path groove 551 are formed line-symmetrically with respect to the liquid flow path groove 551. It does not have to be.
  • the first liquid flow path convex portion 552A advances in the first direction (x direction in the figure) while advancing from one side (y direction side in the figure) with respect to the liquid flow path groove 551 toward the liquid flow path groove 551.
  • the second liquid flow path convex portion 552B extends in a direction inclined with respect to the first direction so as to proceed, and the liquid flows from the side opposite to the one side (the side opposite to the y direction in the drawing) with respect to the liquid flow path groove 551. It extends in a direction inclined with respect to the first direction so as to proceed in the first direction while advancing toward the flow path groove 551.
  • the distance between the first liquid flow path convex portion 552A and the second liquid flow path convex portion 552B constituting the pair of liquid flow path convex portions 552 is different from that of the first direction side. Less than the distance on the other side.
  • first liquid flow path convex portion 552A and the second liquid flow path convex portion 552B will be described in more detail with reference to FIGS. 69 and 70.
  • FIG. 69 is a diagram illustrating a form of the pair of liquid flow path convex portions 52 shown in FIG. 68.
  • the first liquid flow path convex portion 552A has a parallelogram planar shape composed of four points P1, Q1, R1, and S1, and the side connecting P1 and Q1 is ,
  • the angle ⁇ 1 is formed with respect to the first direction (x direction).
  • the angle ⁇ 1 can be in a range larger than 0 ° and less than 90 °, but is preferably 30 ° or more and 60 ° or less.
  • the first liquid flow path convex portion 552A advances in the first direction (x direction) from one side (y direction side in the drawing) with respect to the liquid flow path groove 551 toward the liquid flow path groove 551. It has a form extending in a direction inclined with respect to the first direction so as to proceed. Therefore, the first connecting groove 554A (the portion surrounded by the broken line in the figure) formed between the first liquid flow path convex portions 552A arranged in the first direction (x direction) is also the liquid flow path groove. It is a form that extends in a direction inclined with respect to the first direction so as to proceed in the first direction (x direction) while advancing toward the liquid flow path groove 551 from one side (y direction side) with respect to 551.
  • the second liquid flow path convex portion 552B has a parallelogram planar shape composed of four points P2, Q2, R2, and S2, and the side connecting P2 and Q2 is in the first direction.
  • the angle ⁇ 2 is formed with respect to (x direction).
  • the angle ⁇ 2 can also be in the range larger than 0 ° and less than 90 °, but is preferably 30 ° or more and 60 ° or less.
  • the second liquid flow path convex portion 552B moves in the first direction while advancing toward the liquid flow path groove 551 from the side opposite to the one side with respect to the liquid flow path groove 551 (the side opposite to the y direction). It has a form extending in a direction inclined with respect to the first direction so as to proceed. Therefore, the second connecting groove 554B (the portion surrounded by the broken line in the figure) formed between the second liquid flow path convex portions 552B arranged in the first direction (x direction) is also the liquid flow path groove.
  • the first liquid flow path convex portion 552A constituting the pair of liquid flow path convex portions 552 and the second liquid flow adjacent to each other via the main flow groove 551.
  • the road convex portion 552B is formed line-symmetrically with respect to the liquid flow path groove 551.
  • the angle ⁇ 1 and the angle ⁇ 2 described above are equal to each other.
  • the first connecting groove 554A and the second connecting groove 554B are also line-symmetric with respect to the liquid flow path 551.
  • the design of the first liquid flow path convex portion row 553A and the second liquid flow path convex portion row 553B does not become complicated. It can also be expected that the actions of each pair of liquid flow path convex portions 552 are equalized. For example, it can be expected that the ease of entry of the liquid working fluid from each of the plurality of first connecting grooves 554A and the plurality of second connecting grooves 554B into the liquid flow path groove 551 is equalized.
  • the first liquid flow path convex portion 552A and the second liquid flow path convex portion 552B constituting the pair of liquid flow path convex portions 552 are formed line-symmetrically with respect to the liquid flow path groove 551. It does not have to be. When it is not formed line-symmetrically, for example, the following effects can be obtained.
  • the first liquid flow path convex portion 552A and the second liquid flow path convex portion 552B constituting the pair of liquid flow path convex portions 552 are formed line-symmetrically with respect to the liquid flow path groove 551.
  • the distance between the first liquid flow path convex portion 552A and the second liquid flow path convex portion 552B constituting the pair of liquid flow path convex portions 552 is on the first direction side. Is smaller than the distance on the side opposite to the first direction side.
  • the first liquid flow path convex portion 552A parallelogram composed of four points P1, Q1, R1 and S1 and the second liquid flow path convex portion 552B (P2, Q2).
  • R2, S2 parallelogram
  • the distance between the ends in the first direction (x direction) side (distance between S1 and S2) D1 is opposite to the first direction (x direction) side.
  • the distance between the ends on the side (distance between R1 and R2) is smaller than D2.
  • FIG. 70 is a diagram for explaining the operation of the pair of liquid flow path convex portions 552 shown in FIG. 69, and is mainly a diagram for explaining the flow of the liquid working fluid and the flow of the steam working fluid in the present embodiment. Is.
  • the flow of the liquid working fluid is indicated by a thick arrow with a solid line
  • the flow of the working fluid of steam is indicated by a thick arrow with a broken line.
  • the first liquid flow path convex portion 552A and the second liquid flow path convex portion 552B constituting the pair of liquid flow path convex portions 552 are oriented in a direction inclined with respect to the first direction, as described with reference to FIG. 69. It has an extended form, and the distance between the first liquid flow path convex portion 552A and the second liquid flow path convex portion 552B is such that the distance on the first direction side is opposite to that on the first direction side. It has a form smaller than the distance.
  • FIG. 70 as shown by the thick arrow of the solid line, it is sandwiched between the first liquid flow path convex portion 552A and the second liquid flow path convex portion 552B constituting the pair of liquid flow path convex portions 552.
  • the liquid working fluid existing in the region has the first liquid flow path convex portion 552A from the side where the distance between the first liquid flow path convex portion 552A and the second liquid flow path convex portion 552B is large due to the capillary action. It will proceed to the side where the distance between the second liquid flow path convex portion 552B and the second liquid flow path convex portion 552B is small.
  • a stronger propulsive force can be given to the fluid to transport it in the first direction (x direction).
  • the depth of the region sandwiched between the pair of liquid flow path convex portions 552 is set on the side where the distance between the first liquid flow path convex portion 552A and the second liquid flow path convex portion 552B is large.
  • the form can be made deeper than the side where the distance between the first liquid flow path convex portion 552A and the second liquid flow path convex portion 552B is small.
  • liquid working fluid existing in this region can be transported in the first direction (x direction) (that is, toward the evaporation part V) with a stronger propulsive force. it can. Therefore, it is possible to prevent the liquid working fluid from running short in the evaporation part (the part 4 near the cooling target).
  • the depth on the side where the distance between the first liquid flow path convex portion 552A and the second liquid flow path convex portion 552B is small becomes shallower, that is, the first The flow path cross-sectional area on the side where the distance between the first liquid flow path convex portion 552A and the second liquid flow path convex portion 552B is small is the first liquid flow path convex portion 552A and the second liquid flow path convex portion 552B. Since the distance between them is smaller than that on the side where the distance is large, the capillary action works more strongly.
  • the liquid working fluid that has passed through the end on the side where the distance between the first liquid flow path convex portion 552A and the second liquid flow path convex portion 552B is small is transferred to the next pair of liquid flow path convex portions 552. It will diffuse in the sandwiched region, but due to the pressure of this diffusion and the volume of the liquid working fluid existing in the region sandwiched between the pair of liquid flow path protrusions 552, the vapor of the working fluid is the first. It is possible to more effectively prevent the liquid flow path groove 551 (condensate liquid flow path 3) from entering the liquid flow path groove 551 (condensate flow path 3) from the connecting groove 554A and the second connecting groove 554B.
  • the above-mentioned form can be obtained, for example, by forming the liquid flow path portion 50 by half etching using an etching solution.
  • Half-etching using an etching solution has a property that a larger etching area tends to have a deeper etching depth than a smaller etching area.
  • the etching pattern used for forming the inner liquid flow path portion 538 is the first liquid flow path convex portion 552A and the second liquid flow path convex portion 552A with respect to the region sandwiched between the pair of liquid flow path convex portions 552.
  • the area on the side where the distance from the 552B is large (the above D2 side) is the side where the distance between the first liquid flow path convex portion 552A and the second liquid flow path convex portion 552B is small (the above D1 side).
  • the etching pattern is larger than the area of.
  • the first liquid flow path convex portion 552A and the second liquid flow path convex portion 552B The depth on the side with a large distance (D2 side above) is on the side with a small distance between the convex portion 552A of the first liquid flow path and the convex portion 552B of the second liquid flow path (D1 side above). It can be deeper than the depth.
  • the first liquid flow path convex portion 552A and the second liquid flow path convex portion 552B, and the first connecting groove 554A and the second connecting groove 554B are inclined with respect to the first direction as described with reference to FIG. 69. It has a form extending in the desired direction. Therefore, the vapor of the working fluid (indicated by the broken line arrow in the figure) diffused in the direction opposite to the first direction (x direction) through the steam flow path groove 42 (steam flow path 4). It is difficult to enter the liquid flow path groove 551 (condensate flow path 3) through the first connecting groove 554A and the second connecting groove 554B which are substantially opposite to the diffusion direction.
  • the steam pressure is higher on the upper side (x direction side) in FIG. 70.
  • the steam pressure is low on the lower side (opposite the x direction). Therefore, the vapor of the working fluid is unlikely to diffuse from the lower side (opposite the x direction) on the low pressure side to the upper side (x direction) on the high pressure side. That is, it is unlikely that the vapor of the working fluid flows through the first connecting groove 554A and the second connecting groove 554B from the lower side (opposite to the x direction) to the upper side (x direction).
  • the liquid working fluid that has passed through the end on the side where the distance between the first liquid flow path convex portion 552A and the second liquid flow path convex portion 552B is small is the next pair of liquid flows. It will diffuse in the region sandwiched between the road convex portions 552. Therefore, due to the pressure of this diffusion and the volume of the liquid working fluid existing in the region sandwiched between the pair of liquid flow path protrusions 552, the vapor of the working fluid flows from the first connecting groove 554A and the second connecting groove 554B. It is possible to more effectively prevent the liquid flow path from entering the groove 551 (condensate flow path 3).
  • the working fluid invades the liquid flow path groove 551 (condensate flow path 3) from the first connecting groove 554A and the second connecting groove 554B in the state of vapor. It can be effectively blocked to improve the transport function of the liquid working fluid and improve the heat transport efficiency.
  • the pressure of the vapor immediately after (instantaneous) when the vapor of the working fluid flows into the liquid flow path groove 551 (condensate flow path 3) or the liquid working fluid bumps (that is, the generation of steam) occurs is a pair.
  • the side where the distance between the first liquid flow path convex portion 552A and the second liquid flow path convex portion 552B of the liquid flow path convex portion 552 is small is higher, and the other side (first liquid flow path convex portion 552A and the second).
  • the distance between the liquid flow path convex portion 552B and the larger side and the first connecting groove 554A side and the second connecting groove 554B side) are lower.
  • the vapor flowing into or generated in the region sandwiched between the pair of liquid flow path convex portions 552 is the first liquid flow path convex portion 552A and the second liquid flow path convex portion 552 of the pair of liquid flow path convex portions 552.
  • the vapor chamber 501 of the present embodiment when the temperature of the evaporation section V is high and the evaporation is active, vapor inflow or generation occurs in the liquid flow path groove 551 (condensate flow path 3), for example. Even if this is the case, it is possible to prevent the inflow or generated vapor from advancing in the first direction (x direction) in the liquid flow path groove 551 (condensate flow path 3), and the function of transporting the liquid working fluid. Can be improved and the heat transport efficiency can be improved.
  • the vapor that has flowed in or generated in the region sandwiched between the pair of liquid flow path convex portions 552 is the first liquid flow path convex portion 552A and the second liquid flow path convex portion 552A of the pair of liquid flow path convex portions 552.
  • the steam is discharged to the steam flow path portion groove 42 (steam flow path 4) through the first connecting groove 554A and the second connecting groove 554B.
  • the width of the first connecting groove 554A and the second connecting groove 554B is set from the distance between the first liquid flow path convex portion 552A and the second liquid flow path convex portion 552B of the pair of liquid flow path convex portions 552. The effect of the above-mentioned steam discharge can be further promoted by designing a large size.
  • the inner liquid flow path portion 538 is formed by half-etching the metal material sheet with an etching solution. Therefore, the planar shapes of the first liquid flow path convex portion 552A and the second liquid flow path convex portion 552B constituting the pair of liquid flow path convex portions 552 are not strictly parallelograms, and the corner portions are formed. It becomes a curled form.
  • the convex portion 552A of the first liquid flow path is steep from a parallelogram composed of four points P1, Q1, R1, and S1 (parallelogram shown by a solid line in FIG. 71).
  • the corners are rounded to form a shape having curved portions 555 and 556 as shown by the broken line.
  • the various effects described above can be obtained in the vapor chamber 501 of the present embodiment. Can be done.
  • the shape of the inner liquid flow path portion of the vapor chamber according to the form 6b is different from that of the vapor chamber according to the form 6a, and other configurations can be the same as those of the vapor chamber according to the form 6a.
  • FIG. 72 is a diagram showing an example of the inner liquid flow path portion 538'of the vapor chamber 501'according to the form 6b. More specifically, FIG. 72 is a diagram corresponding to FIG. 69 in the vapor chamber 501'.
  • the liquid flow path portion of the vapor chamber has a plurality of liquid flow path grooves, each of which extends in the first direction and through which a liquid working fluid passes, and a plurality of liquid flow path grooves extending in the first direction via the liquid flow path groove. It has a convex row, and the plurality of fluid flow channels include a reference liquid flow path groove, and each of the convex rows is arranged in the first direction via a plurality of connecting grooves.
  • a plurality of liquid flow path protrusions are included, and the plurality of connecting grooves include a first connecting groove arranged on one side with respect to the reference mainstream groove and a second connecting groove arranged on the other side with respect to the reference mainstream groove.
  • the first connecting groove extends in a direction inclined with respect to the first direction so as to proceed in the first direction while advancing toward the reference mainstream groove
  • the second connecting groove extends toward the reference liquid flow path groove. It extends in a direction inclined with respect to the first direction so as to proceed in the first direction while advancing.
  • first connecting groove is aligned in the extending direction of the first connecting groove
  • second connecting groove is aligned in the extending direction of the second connecting groove
  • the inner liquid flow path portion 538'of the vapor chamber 501' has three liquid flow path grooves (551', 551'A including one reference liquid flow path groove 551'. , 551'B). Each liquid flow path groove extends in the first direction (x direction).
  • the inner liquid flow path portion 538'of the vapor chamber 501' has four convex rows (553'A, 553'B, 553'C, 555'D) extending in the first direction.
  • the part row is the first convex part row (553'A, 353'B), and the convex part row on the other side (opposite the y direction in the figure) of the reference liquid flow path groove 551' , 2nd convex row (553'D, 553'C).
  • the mainstream groove 551', the second convex portion row 553'D, the liquid flow path groove 551'B, and the second convex portion row 553'C are arranged.
  • the first convex portion row 553'A includes a plurality of liquid flow path convex portions 552'A arranged in the first direction (x direction) via the plurality of first connecting grooves 554'A.
  • the first convex row 553'B includes a plurality of liquid flow path convexes 552'B arranged in the first direction via the plurality of first connecting grooves 554'B.
  • the second convex portion row 553'D includes a plurality of liquid flow path convex portions 552'D arranged in the first direction via the plurality of second connecting grooves 554'D.
  • the second convex portion row 553'C includes a plurality of liquid flow path convex portions 552'C arranged in the first direction via the plurality of second connecting grooves 554'C.
  • each of the first connecting grooves 554'A and 554'B advances from one side (y direction side) of the reference liquid flow path groove 551 toward the reference liquid flow path groove 551', and is the first. It extends in a direction inclined with respect to the first direction so as to proceed in one direction (x direction).
  • the angle (acute angle side angle) formed by the extending direction of the first connecting groove 554'A and 554'B (the direction indicated by the thick broken line arrow in the figure) and the first direction (x direction). ) Is the angle ⁇ 3.
  • the angle ⁇ 3 can be in a range larger than 0 ° and less than 90 °, but is preferably 30 ° or more and 60 ° or less.
  • each of the second contacts 534'D and 554'C advances from the other side (opposite side in the y direction) of the reference liquid flow path groove 551' toward the reference liquid flow path groove 551'. , It extends in a direction inclined with respect to the first direction so as to proceed in the first direction (x direction).
  • the angle (acute angle side angle) formed by the extending direction of the second connecting groove 554'D and 554'C (the direction indicated by the thick broken line arrow in the figure) and the first direction (x direction). ) Is the angle ⁇ 4.
  • the angle ⁇ 4 can be in a range larger than 0 ° and less than 90 °, but is preferably 30 ° or more and 60 ° or less.
  • each of the first connecting grooves 554'A and 554'B is aligned in the extending direction of the first connecting groove
  • each of the second connecting grooves 554'D and 554'C is in the extending direction of the second connecting groove. Aligned in.
  • the first is in the direction in which the first connecting groove extends, that is, the direction formed by the first direction (x direction) is the angle ⁇ 3 (the direction indicated by the thick broken arrow in the figure).
  • the connecting grooves 554'A and 554'B are arranged, and the direction in which the second connecting groove extends, that is, the angle formed with the first direction (x direction) is the direction of the angle ⁇ 4 (in the figure, it is indicated by a thick dashed arrow).
  • the second connecting groove 554'C and 554'D are arranged in the direction).
  • the vapor chamber 501' has a plurality of liquid flow path grooves (551', 551'A, 551B) and a plurality of protrusions extending in the first direction via these liquid flow path grooves. Since it has a section row (553'A, 555'B, 555'C, 555'D), the uneven structure of the inner liquid flow path portion 538'of the vapor chamber 501'is made more complicated, and the inner liquid is made more complicated. It is possible to increase the surface area of the flow path portion 538'. Therefore, the transport amount of the working fluid due to the capillary action can be further increased, and the transport efficiency can be further improved.
  • first connecting groove 554'A and the second connecting groove 554'C of the vapor chamber 501' have a form extending in a direction inclined with respect to the first direction. Therefore, similarly to the vapor chamber 501 of the above-described form 6a, the working fluid of the steam that diffuses through the steam flow path 4 in the direction opposite to the first direction (x direction) is in this diffusion direction. Is expected to have the effect of being less likely to enter the liquid flow path groove (condensate flow path) through the first connecting groove 554'A and the second connecting groove 554'C, which are generally in opposite directions.
  • the first connecting groove 554'A and the second connecting groove 554'C of the vapor chamber 501'according to the form 6b have a form extending in a direction inclined with respect to the first direction. .. Therefore, similarly to the vapor chamber 501 according to the form 6a, the working fluid of the steam that diffuses in the direction opposite to the first direction (x direction) through the steam flow path portion is generally different from this diffusion direction. It is expected that the liquid flow path groove is less likely to enter the liquid flow path groove through the first connecting groove 554'A and the second connecting groove 554'C which are in the opposite directions.
  • the distance (D3) between the convex portions of the liquid flow paths adjacent to each other is constant (see FIG. 72). That is, in the vapor chamber 501'shown in FIG. 72, the first liquid flow path convex portion and the second liquid flow path convex portion constituting the pair of liquid flow path convex portions as in the vapor chamber 501 according to the form 6a The distance between them is not in the form that the distance on the first direction side is smaller than the distance on the side opposite to the first direction side.
  • the distance between the first liquid flow path convex portion 552A and the second liquid flow path convex portion 552B is on the first direction side (x).
  • the distance (D1) on the direction side) was smaller than the distance (D2) on the side opposite to the first direction side.
  • the following pair of liquid working fluids that have passed through the end portion on the side where the distance between the first liquid flow path convex portion 552A and the second liquid flow path convex portion 552B is small are as follows. It will diffuse in the region sandwiched by the convex portion 552 of the liquid flow path. Then, due to the diffusion pressure and the capacity of the liquid working fluid existing in the region sandwiched between the pair of liquid flow path convex portions 552, the working fluid of the vapor is sent from the first connecting groove 554A and the second connecting groove 554B. It is expected that the effect of invading the liquid flow path portion 551 (condensate flow path 3) can be prevented more effectively.
  • the distance (D3) between the liquid flow path convex portion 552'B and the liquid flow path convex portion 552'D adjacent to each other is constant. Yes, the distance on the first direction side (x direction side) and the distance on the side opposite to the first direction side are also the same.
  • the vapor chamber 501 is preferable in terms of the effect of more effectively preventing the invasion of the road 3).
  • each of the first connecting grooves 554'A and 554'B is aligned in the extending direction of the first connecting groove
  • the second connecting grooves 554'D and 554'C are aligned.
  • Each of the two is aligned in the extending direction of the second connecting groove.
  • the first is in the direction in which the first connecting groove extends, that is, the direction formed by the first direction (x direction) is the angle ⁇ 3 (the direction indicated by the thick broken arrow in the figure).
  • the connecting grooves 554'A and 554'B are arranged, and the direction in which the second connecting groove extends, that is, the angle formed with the first direction (x direction) is the direction of the angle ⁇ 4 (in the figure, it is indicated by a thick dashed arrow).
  • the second connecting groove 554'C and 554'D are arranged in the direction).
  • the working fluid of the vapor that has entered from the first connecting groove 554'A which is on the outer side of the reference liquid flow path groove 551', has a liquid flow path convex portion in the extending direction of the first connecting groove. Since it does not exist, there is a possibility that the first connecting groove 554'B, which is further inside, also passes through and easily invades the reference liquid flow path groove 551'(condensate flow path 3).
  • the working fluid of the vapor that has entered from the second connecting groove 554'C, which is on the outer side of the reference liquid flow path groove 551' has a liquid flow path convex portion in the extending direction of the second connecting groove. Since it does not exist, there is a possibility that the second connecting groove 554'D, which is further inside, also passes through and easily invades the reference liquid flow path groove 551'(condensate flow path 3).
  • the liquid flow path convex portion exists in the extending direction of the connecting groove.
  • the shape of the inner liquid flow path portion of the vapor chamber in the form 6c is different from that of the vapor chamber according to the forms 6a and 6b, and other configurations are the same as those of the vapor chamber according to the above form 6a. can do.
  • FIG. 73 is a diagram showing an example of the inner liquid flow path portion 538 "of the vapor chamber 501" according to the form 6c.
  • the inner liquid flow path portion 538 "of the vapor chamber 501" has three liquid flow path grooves (551 “, 551” A, 551 “including the liquid flow path groove 551" as a reference. Has “B).
  • Each liquid flow path groove extends in the first direction (x direction).
  • the inner liquid flow path portion 538 "of the vapor chamber 501" has four convex rows (553 “A, 553” B, 553 “C, 535" D) extending in the first direction.
  • the convex rows on one side (y direction side) of the reference liquid flow path groove 551 " Is the first convex portion row (553 “A, 535" B), and the convex portion row on the other side (opposite side of the y direction) of the reference liquid flow path groove 551 "is the second convex portion. Rows (553 "D, 535" C).
  • the first convex portion row 553 "A, the liquid flow path groove 551" A, the first convex portion row 553 “B, and the reference liquid are in this order from the y direction side.
  • the flow path groove 551 ", the second convex portion row 553” D, the liquid flow path groove 551 "B, and the second convex portion row 553" C are arranged.
  • the first convex row 553 "A includes a plurality of liquid flow path convexes 552" A arranged in the first direction (x direction) via the plurality of first connecting grooves 554 "A.
  • the first convex row 553 "B includes a plurality of liquid flow path convexes 552" B arranged in the first direction via the plurality of first connecting grooves 554 "B.
  • the second convex portion row 553 "D includes a plurality of liquid flow path convex portions 552" D arranged in the first direction via the plurality of second connecting grooves 554 "D.
  • the convex row 553 "C includes a plurality of liquid flow path convexes 552" C arranged in the first direction via the plurality of second connecting grooves 554 "C.
  • each of the first connecting grooves 554 "A, 554" B advances from one side (y direction side) of the reference liquid flow path groove 551 "toward the reference liquid flow path groove 551", while advancing. It extends in a direction inclined with respect to the first direction so as to proceed in the first direction (x direction).
  • the angle (angle on the acute angle side) formed by the extending direction of the first connecting groove 554 "A (the direction indicated by the thick broken line arrow in the figure) and the first direction (x direction) is the angle ⁇ 5.
  • the angle ⁇ 5 can be in a range larger than 0 ° and less than 90 °, but is preferably 30 ° or more and 60 ° or less.
  • each of the second connecting grooves 554 "D, 554" C proceeds from the other side (opposite side in the y direction) of the reference liquid flow path groove 551 "toward the reference liquid flow path groove 551". However, it extends in a direction inclined with respect to the first direction so as to proceed in the first direction (x direction).
  • the angle (the angle on the acute angle side) formed by the extending direction of the second connecting groove 554 “C (the direction indicated by the thick broken line arrow in the figure) and the first direction (x direction) is the angle ⁇ 6.
  • the angle ⁇ 6 can be in a range larger than 0 ° and less than 90 °, but is preferably 30 ° or more and 60 ° or less.
  • the first convex row arranged outside the reference liquid flow path groove is designated as the outer first convex row.
  • the first convex chamber row arranged inside the reference liquid flow path groove is defined as the inner first convex chamber row, and the pair of second convex chamber rows adjacent to each other with respect to the reference liquid flow path groove.
  • the liquid flow path convex portion forming the inner first convex portion row is arranged in the direction in which the first connecting groove passing between the liquid flow path convex portions forming the outer first convex portion row is arranged, and the outer second convex portion is arranged.
  • the liquid flow path convex portion forming the inner second convex portion row is arranged in the direction in which the second connecting groove passing between the liquid flow path convex portions forming the convex portion row extends.
  • the first convex row 553" A is the outer first convex row
  • the first convex row 553 "B is the inner first convex row
  • the second convex chamber row 553 "C is the outer second convex chamber row
  • the second convex chamber row 553" D is the inner second convex chamber row.
  • the working fluid of the vapor that has entered from the first connecting groove 554 "A, which is on the outer side of the reference liquid flow path groove 551" is the liquid flow path convex that exists in the extending direction of the first connecting groove.
  • the flow is blocked by the portion 552 "B, and it becomes difficult to enter the reference liquid flow path groove 551" on the inner side.
  • the vapor flow is dispersed by the liquid flow path convex portion 552 "B, the vapor pressure also decreases. Therefore, it becomes difficult to penetrate into the reference liquid flow path groove 551".
  • the working fluid of the vapor that has entered from the second connecting groove 554 "C, which is on the outer side of the reference liquid flow path groove 551" is the liquid flow path convex that exists in the extending direction of the first connecting groove.
  • the flow is blocked by the portion 552 "D, and it becomes difficult to enter the reference liquid flow path groove 551" on the inner side.
  • the vapor flow is dispersed by the liquid flow path convex portion 552 "D, the vapor pressure also decreases. Therefore, it becomes difficult to penetrate into the reference liquid flow path groove 551".
  • the vapor working fluid is effectively prevented from entering the reference liquid flow path groove 551" to improve the transport function of the liquid working fluid.
  • the heat transport efficiency can be improved.
  • the vapor chamber 501 is interposed between a plurality of liquid flow path grooves (551", 551 “A, 551” B) and these liquid flow path grooves. Since it has a plurality of convex rows (553 “A, 553” B, 535 “C, 535" D) extending in the first direction, the unevenness of the inner liquid flow path portion 538 "of the vapor chamber 501" It is possible to make the structure more complicated and increase the surface area of the inner liquid flow path portion 538 ". Therefore, the transport amount of the working fluid due to the capillary action can be further increased, and the transport efficiency is further improved. Can be made to.
  • each of the above forms of the present disclosure is not limited as it is, and the components can be modified and embodied without departing from the gist thereof.
  • a plurality of the constituent elements disclosed in the above forms can be combined into various forms that produce an effect. Some components may be deleted from all the components shown in each form, or only one or several of the components may be used from the viewpoint of obtaining the required effect.

Landscapes

  • Engineering & Computer Science (AREA)
  • Physics & Mathematics (AREA)
  • Microelectronics & Electronic Packaging (AREA)
  • Thermal Sciences (AREA)
  • Life Sciences & Earth Sciences (AREA)
  • Sustainable Development (AREA)
  • Mechanical Engineering (AREA)
  • General Engineering & Computer Science (AREA)
  • Computer Hardware Design (AREA)
  • General Physics & Mathematics (AREA)
  • Condensed Matter Physics & Semiconductors (AREA)
  • Power Engineering (AREA)
  • Chemical & Material Sciences (AREA)
  • Materials Engineering (AREA)
  • Signal Processing (AREA)
  • Cooling Or The Like Of Semiconductors Or Solid State Devices (AREA)
  • Cooling Or The Like Of Electrical Apparatus (AREA)
  • Physical Or Chemical Processes And Apparatus (AREA)
  • Push-Button Switches (AREA)
  • Casings For Electric Apparatus (AREA)
PCT/JP2020/010587 2019-03-11 2020-03-11 ベーパーチャンバ、電子機器、及び、ベーパーチャンバ用シート Ceased WO2020184620A1 (ja)

Priority Applications (7)

Application Number Priority Date Filing Date Title
JP2021503608A JP6888751B2 (ja) 2019-03-11 2020-03-11 ベーパーチャンバ、電子機器、及び、ベーパーチャンバ用シート
CN202080010217.4A CN113366631B (zh) 2019-03-11 2020-03-11 蒸发室、电子设备以及蒸发室用片
CN202411936865.9A CN119812143A (zh) 2019-03-11 2020-03-11 蒸发室、电子设备以及蒸发室用片
KR1020257003234A KR20250020736A (ko) 2019-03-11 2020-03-11 베이퍼 챔버, 전자 기기 및 베이퍼 챔버용 시트
KR1020247005733A KR102763334B1 (ko) 2019-03-11 2020-03-11 베이퍼 챔버, 전자 기기 및 베이퍼 챔버용 시트
US17/432,867 US20220120509A1 (en) 2019-03-11 2020-03-11 Vapor chamber, electronic device and sheet for vapor chamber
KR1020217024168A KR102640712B1 (ko) 2019-03-11 2020-03-11 베이퍼 챔버, 전자 기기 및 베이퍼 챔버용 시트

Applications Claiming Priority (12)

Application Number Priority Date Filing Date Title
JP2019-043928 2019-03-11
JP2019043928 2019-03-11
JP2019-045167 2019-03-12
JP2019-045156 2019-03-12
JP2019045167 2019-03-12
JP2019045156 2019-03-12
JP2019-046510 2019-03-13
JP2019046509 2019-03-13
JP2019-046509 2019-03-13
JP2019046510 2019-03-13
JP2019054517 2019-03-22
JP2019-054517 2019-03-22

Publications (1)

Publication Number Publication Date
WO2020184620A1 true WO2020184620A1 (ja) 2020-09-17

Family

ID=72426635

Family Applications (1)

Application Number Title Priority Date Filing Date
PCT/JP2020/010587 Ceased WO2020184620A1 (ja) 2019-03-11 2020-03-11 ベーパーチャンバ、電子機器、及び、ベーパーチャンバ用シート

Country Status (6)

Country Link
US (1) US20220120509A1 (enExample)
JP (4) JP6888751B2 (enExample)
KR (3) KR102640712B1 (enExample)
CN (2) CN113366631B (enExample)
TW (2) TWI897457B (enExample)
WO (1) WO2020184620A1 (enExample)

Cited By (6)

* Cited by examiner, † Cited by third party
Publication number Priority date Publication date Assignee Title
JP2020197314A (ja) * 2019-05-31 2020-12-10 大日本印刷株式会社 ベーパーチャンバ、電子機器、及び、ベーパーチャンバ用金属シート
JPWO2022168801A1 (enExample) * 2021-02-03 2022-08-11
WO2022176985A1 (ja) * 2021-02-18 2022-08-25 大日本印刷株式会社 ベーパーチャンバ用の本体シート、ベーパーチャンバおよび電子機器
WO2022191240A1 (ja) * 2021-03-10 2022-09-15 大日本印刷株式会社 ベーパーチャンバ、ベーパーチャンバ用のウィックシート及び電子機器
WO2023106285A1 (ja) * 2021-12-06 2023-06-15 大日本印刷株式会社 ベーパーチャンバおよび電子機器
EP4429422A4 (en) * 2021-11-26 2025-03-12 Huawei Technologies Co., Ltd. VAPOR CHAMBER COMPRISING A MICROSTRUCTURE LAYER

Families Citing this family (8)

* Cited by examiner, † Cited by third party
Publication number Priority date Publication date Assignee Title
WO2021045211A1 (ja) * 2019-09-06 2021-03-11 大日本印刷株式会社 ベーパーチャンバ、電子機器、ベーパーチャンバ用シート、ベーパーチャンバ用の中間体が多面付けされたシート、ベーパーチャンバ用の中間体が多面付けされたシートが巻かれたロール、ベーパーチャンバ用の中間体
CN112956286B (zh) * 2019-10-09 2025-06-27 大日本印刷株式会社 蒸发室用的芯部片、蒸发室以及电子设备
WO2022097417A1 (ja) * 2020-11-04 2022-05-12 株式会社村田製作所 熱拡散デバイス
JP2022142665A (ja) * 2021-03-16 2022-09-30 富士通株式会社 冷却装置
WO2022201918A1 (ja) * 2021-03-23 2022-09-29 株式会社村田製作所 熱拡散デバイスおよび電子機器
KR102698446B1 (ko) * 2022-10-12 2024-09-02 주세현 기체 확산로를 형성하는 다공 필러부를 갖는 베이퍼 챔버
US20240240874A1 (en) * 2023-01-18 2024-07-18 Cisco Technology, Inc. Multiple wick section heatpipe for effective heat transfer
WO2025005440A1 (ko) * 2023-06-30 2025-01-02 삼성전자주식회사 방열 구조 및 이를 포함하는 전자 장치

Citations (13)

* Cited by examiner, † Cited by third party
Publication number Priority date Publication date Assignee Title
JPS53145471U (enExample) * 1977-04-19 1978-11-16
JPH11304381A (ja) * 1998-04-23 1999-11-05 Fujikura Ltd ヒートパイプ
JP2000111281A (ja) * 1998-10-08 2000-04-18 Hitachi Cable Ltd 平面状ヒートパイプ及びその製造方法
JP2002039693A (ja) * 2000-07-21 2002-02-06 Toufuji Denki Kk フラット型ヒートパイプ
WO2002058879A1 (en) * 2001-01-25 2002-08-01 Toyo Kohan Co., Ltd. Plate stacked body, hollow stacked body using plate stacked body, and plate heat pipe using hollow stacked body
JP2004028557A (ja) * 2002-05-08 2004-01-29 Furukawa Electric Co Ltd:The 薄型シート状ヒートパイプ
JP2005009763A (ja) * 2003-06-19 2005-01-13 Fuji Electric Holdings Co Ltd 偏平型ヒートパイプ
JP2007113864A (ja) * 2005-10-21 2007-05-10 Sony Corp 熱輸送装置及び電子機器
US20100065255A1 (en) * 2008-09-18 2010-03-18 Pegatron Corporation Vapor Chamber
JP2010087461A (ja) * 2008-09-04 2010-04-15 Fuchigami Micro:Kk 熱輸送ユニットおよび電子機器
JP2013185774A (ja) * 2012-03-08 2013-09-19 Welcon:Kk ベーパチャンバ
WO2018155641A1 (ja) * 2017-02-24 2018-08-30 大日本印刷株式会社 ベーパーチャンバ、電子機器、ベーパーチャンバ用金属シートおよびベーパーチャンバの製造方法
WO2019230911A1 (ja) * 2018-05-30 2019-12-05 大日本印刷株式会社 ベーパーチャンバー、及び電子機器

Family Cites Families (13)

* Cited by examiner, † Cited by third party
Publication number Priority date Publication date Assignee Title
CN1192202C (zh) * 2001-09-06 2005-03-09 李嘉豪 平板式环路型热管(一)
US6981543B2 (en) * 2001-09-20 2006-01-03 Intel Corporation Modular capillary pumped loop cooling system
JP4874664B2 (ja) 2006-02-08 2012-02-15 株式会社フジクラ ヒートパイプ
WO2008012960A1 (fr) * 2006-07-28 2008-01-31 Molex Kiire Co., Ltd. tuyau chauffant et son procédé de fabrication
JP5413735B2 (ja) 2010-01-18 2014-02-12 日本モレックス株式会社 熱輸送ユニット、電子機器
CN102095323A (zh) * 2010-11-04 2011-06-15 华中科技大学 一种平板均热板
JP2014142143A (ja) 2013-01-24 2014-08-07 Ntec Co Ltd ヒートパイプ
JP6121854B2 (ja) 2013-09-18 2017-04-26 東芝ホームテクノ株式会社 シート型ヒートパイプまたは携帯情報端末
JP6509680B2 (ja) 2015-08-24 2019-05-08 東芝ホームテクノ株式会社 シート状ヒートパイプ
US20180156545A1 (en) 2016-12-05 2018-06-07 Microsoft Technology Licensing, Llc Vapor chamber with three-dimensional printed spanning structure
JP6799503B2 (ja) 2016-12-14 2020-12-16 新光電気工業株式会社 ヒートパイプ及びその製造方法
JP7123527B2 (ja) 2017-04-11 2022-08-23 大日本印刷株式会社 ベーパーチャンバおよびベーパーチャンバ用金属シート
US10820454B2 (en) * 2018-01-31 2020-10-27 Toyota Motor Engineering & Manufacturing North America, Inc. Vapor chamber heat spreaders with engineered vapor and liquid flow paths

Patent Citations (13)

* Cited by examiner, † Cited by third party
Publication number Priority date Publication date Assignee Title
JPS53145471U (enExample) * 1977-04-19 1978-11-16
JPH11304381A (ja) * 1998-04-23 1999-11-05 Fujikura Ltd ヒートパイプ
JP2000111281A (ja) * 1998-10-08 2000-04-18 Hitachi Cable Ltd 平面状ヒートパイプ及びその製造方法
JP2002039693A (ja) * 2000-07-21 2002-02-06 Toufuji Denki Kk フラット型ヒートパイプ
WO2002058879A1 (en) * 2001-01-25 2002-08-01 Toyo Kohan Co., Ltd. Plate stacked body, hollow stacked body using plate stacked body, and plate heat pipe using hollow stacked body
JP2004028557A (ja) * 2002-05-08 2004-01-29 Furukawa Electric Co Ltd:The 薄型シート状ヒートパイプ
JP2005009763A (ja) * 2003-06-19 2005-01-13 Fuji Electric Holdings Co Ltd 偏平型ヒートパイプ
JP2007113864A (ja) * 2005-10-21 2007-05-10 Sony Corp 熱輸送装置及び電子機器
JP2010087461A (ja) * 2008-09-04 2010-04-15 Fuchigami Micro:Kk 熱輸送ユニットおよび電子機器
US20100065255A1 (en) * 2008-09-18 2010-03-18 Pegatron Corporation Vapor Chamber
JP2013185774A (ja) * 2012-03-08 2013-09-19 Welcon:Kk ベーパチャンバ
WO2018155641A1 (ja) * 2017-02-24 2018-08-30 大日本印刷株式会社 ベーパーチャンバ、電子機器、ベーパーチャンバ用金属シートおよびベーパーチャンバの製造方法
WO2019230911A1 (ja) * 2018-05-30 2019-12-05 大日本印刷株式会社 ベーパーチャンバー、及び電子機器

Cited By (14)

* Cited by examiner, † Cited by third party
Publication number Priority date Publication date Assignee Title
JP7243457B2 (ja) 2019-05-31 2023-03-22 大日本印刷株式会社 ベーパーチャンバ、電子機器、及び、ベーパーチャンバ用金属シート
JP2020197314A (ja) * 2019-05-31 2020-12-10 大日本印刷株式会社 ベーパーチャンバ、電子機器、及び、ベーパーチャンバ用金属シート
JPWO2022168801A1 (enExample) * 2021-02-03 2022-08-11
JP7769918B2 (ja) 2021-02-03 2025-11-14 大日本印刷株式会社 ベーパーチャンバ、ベーパーチャンバ用のウィックシート及び電子機器
JP7477039B2 (ja) 2021-02-18 2024-05-01 大日本印刷株式会社 ベーパーチャンバ用の本体シート、ベーパーチャンバおよび電子機器
JPWO2022176985A1 (enExample) * 2021-02-18 2022-08-25
TWI876132B (zh) * 2021-02-18 2025-03-11 日商大日本印刷股份有限公司 蒸氣腔用之本體片材、蒸氣腔及電子機器
WO2022176985A1 (ja) * 2021-02-18 2022-08-25 大日本印刷株式会社 ベーパーチャンバ用の本体シート、ベーパーチャンバおよび電子機器
WO2022191240A1 (ja) * 2021-03-10 2022-09-15 大日本印刷株式会社 ベーパーチャンバ、ベーパーチャンバ用のウィックシート及び電子機器
EP4429422A4 (en) * 2021-11-26 2025-03-12 Huawei Technologies Co., Ltd. VAPOR CHAMBER COMPRISING A MICROSTRUCTURE LAYER
WO2023106285A1 (ja) * 2021-12-06 2023-06-15 大日本印刷株式会社 ベーパーチャンバおよび電子機器
JP7344481B1 (ja) * 2021-12-06 2023-09-14 大日本印刷株式会社 ベーパーチャンバおよび電子機器
JP2023169214A (ja) * 2021-12-06 2023-11-29 大日本印刷株式会社 ベーパーチャンバおよび電子機器
JP7568017B2 (ja) 2021-12-06 2024-10-16 大日本印刷株式会社 ベーパーチャンバおよび電子機器

Also Published As

Publication number Publication date
TWI846840B (zh) 2024-07-01
TWI897457B (zh) 2025-09-11
KR20240028552A (ko) 2024-03-05
CN113366631A (zh) 2021-09-07
KR102763334B1 (ko) 2025-02-07
JP2021119328A (ja) 2021-08-12
KR20250020736A (ko) 2025-02-11
US20220120509A1 (en) 2022-04-21
TW202040085A (zh) 2020-11-01
CN113366631B (zh) 2025-01-14
CN119812143A (zh) 2025-04-11
JP7700945B2 (ja) 2025-07-01
TW202436821A (zh) 2024-09-16
JPWO2020184620A1 (ja) 2021-04-30
JP2025129173A (ja) 2025-09-04
KR20210135220A (ko) 2021-11-12
KR102640712B1 (ko) 2024-02-27
JP2024177386A (ja) 2024-12-19
JP6888751B2 (ja) 2021-06-16
JP7567653B2 (ja) 2024-10-16

Similar Documents

Publication Publication Date Title
JP6888751B2 (ja) ベーパーチャンバ、電子機器、及び、ベーパーチャンバ用シート
CN112902717B (zh) 蒸发室用片、蒸发室和电子设备
JP2024016179A (ja) ベーパーチャンバ、電子機器およびベーパーチャンバ用金属シート
JP7567796B2 (ja) ベーパーチャンバ、及び、電子機器
JP2019039662A (ja) ベーパーチャンバ用のウィックシート、ベーパーチャンバおよびベーパーチャンバの製造方法
WO2019088301A1 (ja) ベーパーチャンバ、電子機器、ベーパーチャンバ用シート、並びに、ベーパーチャンバ用シート及びベーパーチャンバの製造方法
JP2019143960A (ja) ベーパーチャンバ、電子機器、ベーパーチャンバ用金属シートおよびベーパーチャンバの製造方法
JP2021143809A (ja) ベーパーチャンバー及び電子機器
JP7352872B2 (ja) ベーパーチャンバ用金属シートおよびベーパーチャンバ
JP7259564B2 (ja) ベーパーチャンバ、電子機器、及び、ベーパーチャンバ用金属シート
JP7563055B2 (ja) ベーパーチャンバ用の中間体が多面付けされたシートの製造方法、ベーパーチャンバ用の中間体が多面付けされたシートが巻かれたロールの製造方法、ベーパーチャンバ用の中間体の製造方法、及び、ベーパーチャンバの製造方法
JP7788093B2 (ja) ベーパーチャンバおよび電子機器
JP7452615B2 (ja) ベーパーチャンバ、電子機器、及びベーパーチャンバ用シート
JP7200607B2 (ja) ベーパーチャンバ、電子機器、及びベーパーチャンバ用シート

Legal Events

Date Code Title Description
121 Ep: the epo has been informed by wipo that ep was designated in this application

Ref document number: 20771010

Country of ref document: EP

Kind code of ref document: A1

ENP Entry into the national phase

Ref document number: 2021503608

Country of ref document: JP

Kind code of ref document: A

NENP Non-entry into the national phase

Ref country code: DE

122 Ep: pct application non-entry in european phase

Ref document number: 20771010

Country of ref document: EP

Kind code of ref document: A1

WWG Wipo information: grant in national office

Ref document number: 202080010217.4

Country of ref document: CN

WWP Wipo information: published in national office

Ref document number: 1020257003234

Country of ref document: KR