WO2019093070A1 - 旋回式作業機械 - Google Patents

旋回式作業機械 Download PDF

Info

Publication number
WO2019093070A1
WO2019093070A1 PCT/JP2018/038104 JP2018038104W WO2019093070A1 WO 2019093070 A1 WO2019093070 A1 WO 2019093070A1 JP 2018038104 W JP2018038104 W JP 2018038104W WO 2019093070 A1 WO2019093070 A1 WO 2019093070A1
Authority
WO
WIPO (PCT)
Prior art keywords
swing
brake
capacity
hydraulic
pilot
Prior art date
Legal status (The legal status is an assumption and is not a legal conclusion. Google has not performed a legal analysis and makes no representation as to the accuracy of the status listed.)
Ceased
Application number
PCT/JP2018/038104
Other languages
English (en)
French (fr)
Japanese (ja)
Inventor
雅俊 洪水
Current Assignee (The listed assignees may be inaccurate. Google has not performed a legal analysis and makes no representation or warranty as to the accuracy of the list.)
Kobelco Construction Machinery Co Ltd
Original Assignee
Kobelco Construction Machinery Co Ltd
Priority date (The priority date is an assumption and is not a legal conclusion. Google has not performed a legal analysis and makes no representation as to the accuracy of the date listed.)
Filing date
Publication date
Application filed by Kobelco Construction Machinery Co Ltd filed Critical Kobelco Construction Machinery Co Ltd
Priority to US16/759,872 priority Critical patent/US11131081B2/en
Priority to EP18876294.2A priority patent/EP3690149B1/en
Priority to CN201880069687.0A priority patent/CN111247296B/zh
Publication of WO2019093070A1 publication Critical patent/WO2019093070A1/ja
Anticipated expiration legal-status Critical
Ceased legal-status Critical Current

Links

Images

Classifications

    • EFIXED CONSTRUCTIONS
    • E02HYDRAULIC ENGINEERING; FOUNDATIONS; SOIL SHIFTING
    • E02FDREDGING; SOIL-SHIFTING
    • E02F9/00Component parts of dredgers or soil-shifting machines, not restricted to one of the kinds covered by groups E02F3/00 - E02F7/00
    • E02F9/08Superstructures; Supports for superstructures
    • E02F9/10Supports for movable superstructures mounted on travelling or walking gears or on other superstructures
    • E02F9/12Slewing or traversing gears
    • E02F9/121Turntables, i.e. structure rotatable about 360°
    • E02F9/125Locking devices
    • EFIXED CONSTRUCTIONS
    • E02HYDRAULIC ENGINEERING; FOUNDATIONS; SOIL SHIFTING
    • E02FDREDGING; SOIL-SHIFTING
    • E02F9/00Component parts of dredgers or soil-shifting machines, not restricted to one of the kinds covered by groups E02F3/00 - E02F7/00
    • E02F9/20Drives; Control devices
    • E02F9/22Hydraulic or pneumatic drives
    • E02F9/2278Hydraulic circuits
    • E02F9/2296Systems with a variable displacement pump
    • EFIXED CONSTRUCTIONS
    • E02HYDRAULIC ENGINEERING; FOUNDATIONS; SOIL SHIFTING
    • E02FDREDGING; SOIL-SHIFTING
    • E02F9/00Component parts of dredgers or soil-shifting machines, not restricted to one of the kinds covered by groups E02F3/00 - E02F7/00
    • E02F9/08Superstructures; Supports for superstructures
    • E02F9/10Supports for movable superstructures mounted on travelling or walking gears or on other superstructures
    • E02F9/12Slewing or traversing gears
    • E02F9/121Turntables, i.e. structure rotatable about 360°
    • E02F9/128Braking systems
    • EFIXED CONSTRUCTIONS
    • E02HYDRAULIC ENGINEERING; FOUNDATIONS; SOIL SHIFTING
    • E02FDREDGING; SOIL-SHIFTING
    • E02F9/00Component parts of dredgers or soil-shifting machines, not restricted to one of the kinds covered by groups E02F3/00 - E02F7/00
    • E02F9/20Drives; Control devices
    • E02F9/22Hydraulic or pneumatic drives
    • E02F9/2221Control of flow rate; Load sensing arrangements
    • E02F9/2232Control of flow rate; Load sensing arrangements using one or more variable displacement pumps
    • E02F9/2235Control of flow rate; Load sensing arrangements using one or more variable displacement pumps including an electronic controller
    • EFIXED CONSTRUCTIONS
    • E02HYDRAULIC ENGINEERING; FOUNDATIONS; SOIL SHIFTING
    • E02FDREDGING; SOIL-SHIFTING
    • E02F9/00Component parts of dredgers or soil-shifting machines, not restricted to one of the kinds covered by groups E02F3/00 - E02F7/00
    • E02F9/20Drives; Control devices
    • E02F9/22Hydraulic or pneumatic drives
    • E02F9/226Safety arrangements, e.g. hydraulic driven fans, preventing cavitation, leakage, overheating
    • FMECHANICAL ENGINEERING; LIGHTING; HEATING; WEAPONS; BLASTING
    • F15FLUID-PRESSURE ACTUATORS; HYDRAULICS OR PNEUMATICS IN GENERAL
    • F15BSYSTEMS ACTING BY MEANS OF FLUIDS IN GENERAL; FLUID-PRESSURE ACTUATORS, e.g. SERVOMOTORS; DETAILS OF FLUID-PRESSURE SYSTEMS, NOT OTHERWISE PROVIDED FOR
    • F15B11/00Servomotor systems without provision for follow-up action; Circuits therefor
    • F15B11/02Systems essentially incorporating special features for controlling the speed or actuating force of an output member
    • F15B11/04Systems essentially incorporating special features for controlling the speed or actuating force of an output member for controlling the speed
    • F15B11/0406Systems essentially incorporating special features for controlling the speed or actuating force of an output member for controlling the speed during starting or stopping
    • FMECHANICAL ENGINEERING; LIGHTING; HEATING; WEAPONS; BLASTING
    • F15FLUID-PRESSURE ACTUATORS; HYDRAULICS OR PNEUMATICS IN GENERAL
    • F15BSYSTEMS ACTING BY MEANS OF FLUIDS IN GENERAL; FLUID-PRESSURE ACTUATORS, e.g. SERVOMOTORS; DETAILS OF FLUID-PRESSURE SYSTEMS, NOT OTHERWISE PROVIDED FOR
    • F15B11/00Servomotor systems without provision for follow-up action; Circuits therefor
    • F15B11/08Servomotor systems without provision for follow-up action; Circuits therefor with only one servomotor

Definitions

  • the present invention relates to a swing type working machine such as a hydraulic shovel.
  • a swing type working machine is provided with a base body, a swing body mounted on the base body in a swingable manner, a swing motor for turning the swing body, and a swing command operation for turning the swing body.
  • a swing control device for operating a swing motor and a swing parking brake are provided.
  • the turning parking brake is a mechanical brake that applies a stop holding force to the turning body separately from the turning motor in order to reliably hold the turning body in the stop state when the turning command operation is not given. It is.
  • Patent Document 1 discloses that a pilot pressure generated by performing the swing command operation is introduced to the swing parking brake to switch it to the brake release state. ing.
  • the brake by the swing parking brake may be released after the swing command operation is actually given and a swing torque is generated by the swing motor. ,preferable.
  • the release of the brake at such a timing involves the so-called drag of the swing parking brake that applies the stop holding force to the swing structure when the swing torque applied to the swing structure is large.
  • Such pivoting with dragging creates the possibility of breakage of the pivoting parking brake or other equipment.
  • An object of the present invention is a swing type working machine provided with a swing body and a swing parking brake for holding the same in a stopped state, wherein the swing parking brake is used by the swing parking brake until a swing torque is applied to the swing body.
  • a turning which can securely hold the body in a stationary state and which can quickly protect the turning parking brake and other devices from the turning torque while enabling a rapid rise of the turning speed after the start of turning It is in providing a work machine.
  • a swiveling working machine which comprises a base, a swiveling body mounted on the base so as to be pivotable, and a variable displacement hydraulic motor, which receives the supply of hydraulic oil.
  • a swing motor for applying a swing torque for swinging a swing body to the swing body, a displacement control device for controlling a capacity of the swing motor, a hydraulic pump for discharging hydraulic fluid to be supplied to the swing motor,
  • a swing control device for permitting supply of hydraulic fluid from the hydraulic pump to the swing motor by receiving a swing command operation for swinging the swing body, and maintaining the swing body in a stop state
  • a capacity limiting unit for limiting The capacity restriction portion allows the turning by the input of a brake release command to the brake switching device after the turning control device receives the turning command operation and permits supply of hydraulic fluid from the hydraulic pump to the turning motor.
  • the capacity of the swing motor controlled by the capacity control device is limited to a capacity equal to or less than a predetermined brake release capacity. After the release time point, the capacity control device is allowed to increase the capacity of the swing motor by exceeding the brake release capacity.
  • FIG. 2 is a view showing a hydraulic circuit for swing drive mounted on the working machine according to the first embodiment of the present invention. It is a figure which shows the hydraulic circuit for the turning drive mounted in the working machine which concerns on the 2nd Embodiment of this invention. It is a figure which shows the hydraulic circuit for the turning drive mounted in the working machine which concerns on the 3rd Embodiment of this invention.
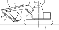
  • FIG. 6 is a side view of a hydraulic shovel corresponding to the working machine according to the first to third embodiments.
  • FIG. 4 shows a hydraulic shovel corresponding to a working machine according to each embodiment.
  • the hydraulic shovel comprises a crawler type lower traveling body 1 constituting a base, an upper revolving body 2 which is a revolving body pivotally mounted around a revolving center axis Z perpendicular to the traveling surface, and an upper portion of the upper revolving body 2.
  • a drilling attachment 3 mounted on the revolving unit 2.
  • the drilling attachment 3 moves the boom 4 which can be raised and lowered, an arm 5 attached to the tip of the boom 4, a bucket 6 attached to the tip of the arm 5, the boom 4, the arm 5 and the bucket 6 respectively.
  • Hydraulic cylinders i.e., the boom cylinder 7, the arm cylinder 8 and the bucket cylinder 9;
  • the working machine according to the present invention is not limited to such a hydraulic shovel.
  • the present invention can be applied to various working machines (for example, a pivoting crane) including a base and a pivoting body pivotally mounted thereon.
  • substrate is not limited to what can be drive
  • FIG. 1 shows a hydraulic circuit according to a first embodiment of the present invention, and shows an example of a circuit for driving the upper swing body 2 in a turning manner.
  • This circuit includes a hydraulic pump 10, a swing motor 11, a swing operation device 12, a control valve 13, a right swing conduit 14, a left swing conduit 15, a relief circuit 18, and a check valve circuit 21. , Communication passage 22 and a makeup line.
  • the swing motor 11 is connected to, for example, the swing shaft portion 2a of the upper swing body 2, and receives an operation oil to apply a swing torque to the upper swing body 2 so as to swing the upper swing body 2. It is a hydraulic motor to carry out. Specifically, the turning motor 11 has a right turn port 11 a connected to the right turn pipeline 14 and a left turn port 11 b connected to the left turn pipeline 15.
  • the turning torque in the direction to cause the upper turning body 2 to perform the right turning operation with the discharge of the hydraulic oil from the left turning port 11b is the upper turning body 2
  • the swing torque in the direction to cause the upper swing body 2 to perform the left swing operation while discharging the hydraulic fluid from the right swing port 11a gives to the said upper revolving superstructure 2.
  • the hydraulic motor constituting the swing motor 11 is a variable displacement hydraulic motor whose capacity (displacement volume) is variable.
  • the swing torque applied from the swing motor 11 to the upper swing body 2 increases as the capacity of the swing motor 11 increases.
  • the hydraulic pump 10 is connected to an unshown engine mounted on the upper swing body 2 and is driven by the engine to discharge hydraulic oil to be supplied to the swing motor 11.
  • the turning operation device 12 and the control valve 13 constitute a turning control device.
  • the swing control device allows supply of hydraulic fluid from the hydraulic pump 10 to the swing motor 11 by receiving a swing command operation for swinging the upper swing body 2, and operates the swing motor 11.
  • the control valve 13 is interposed between the hydraulic pump 10 and the swing motor 11 and operates to change the direction and flow rate of the hydraulic oil supplied from the hydraulic pump 10 to the swing motor 11.
  • the control valve 13 shown in FIG. 1 is configured of a pilot-operated three-position hydraulic switching valve having a right turn pilot port 13a and a left turn pilot port 13b.
  • the control valve 13 maintains the neutral position, which is the central position in FIG. 1, and blocks both the swing pipelines 14 and 15 with respect to the pump 10. Thus, the rotation of the swing motor 11 is blocked.
  • the control valve 13 moves from the neutral position to the right turn position which is the left position in FIG.
  • the turning operation device 12 has an operation lever 12a and a pilot valve 12b.
  • the operating lever 12a is an operating member, and is rotated in the direction when the operator issues the turning command to the operating lever 12a.
  • the pilot valve 12b has an inlet port connected to a pilot hydraulic pressure source (not shown) and a pair of outlet ports, and the pair of outlet ports are respectively connected via a right turn pilot line 26A and a left turn pilot line 26B. It is connected to the right turn pilot port 13a and the left turn pilot port 13b of the control valve 13.
  • the pilot valve 12b is connected to the operation lever 12a, and the pilot port corresponding to the direction of the turn command operation given to the operation lever 12a among the right turn and left turn pilot ports 13a and 13b is selected.
  • the valve is opened to allow the pilot hydraulic pressure source to supply a pilot pressure corresponding to the magnitude of the turn command operation.
  • the relief valve circuit 18, the check valve circuit 21, the communication passage 22 and the make-up line 23 constitute a circuit for braking the swing motor 11 when the control valve 13 returns to the neutral position. . These are not essential in the present invention.
  • the relief valve circuit 18 bypasses the turning motor 11 and interconnects the right turning conduit 14 and the left turning conduit 15.
  • the relief valve circuit 18 includes a left turn relief valve 16 and a right turn relief valve 17.
  • the inlet port of the left turn relief valve 16 is connected to the right turn line 14, and the inlet port of the right turn relief valve 17 is connected to the left turn line 15. And arranged such that the outlet ports of both relief valves 16 and 17 are interconnected.
  • the check valve circuit 21 interconnects the two swing channels 14 and 15 at a position closer to the swing motor 11 than the relief valve circuit 18.
  • the check valve circuit 21 includes a left turn check valve 18 and a right turn check valve 19.
  • the left turn check valve 18 is disposed in a direction to block the inflow of hydraulic oil from the right turn pipeline 14, and the right turn check valve 19 prevents the inflow of hydraulic fluid from the left turn pipeline 15.
  • the communication passage 22 is a portion of the relief valve circuit 18 located between the left and right swing relief valves 16 and 17, and the left and right swing check valves of the check valve circuit 21. 19 and 20 are connected to a part located between them.
  • the make-up line 23 allows the hydraulic fluid to be drawn from the tank to the communication passage 22 through the make-up line 23 when the communication passage 22 has a negative pressure, thereby preventing cavitation.
  • the communication passage 22 and the tank are connected to each other.
  • the makeup line 23 is provided with a back pressure valve (not shown).
  • the hydraulic shovel further includes a swing parking brake 30, a brake switching device 40, a displacement operation unit 50, a hydraulic pressure supply control unit 60, a displacement pilot line 69, a pilot pressure control valve 68, and a right turn pilot sensor. 28A and a left turn pilot sensor 28B, and a controller 70.
  • the swing parking brake 30 is at least the upper portion when the upper swing body 2 is not driven by the swing motor 11, that is, at least when the swing motor 11 is not applying a swing torque to the upper swing body 2. It is a brake device for giving mechanical stop holding power to the upper revolving superstructure 2 so as to keep the revolving superstructure 2 in the stop state.
  • the swing parking brake 30 can be switched between a brake state in which the upper swing body 2 is provided with the stop holding force and a brake release state in which the upper swing body 2 is released so that the upper swing body 2 can be turned. It is.
  • the swing parking brake 30 is a hydraulic negative brake, and is switched to the brake release state only when the supply of the brake release pressure is received, and the supply of the brake release pressure is not received.
  • the swing parking brake 30 is loaded into a hydraulic cylinder 32 having a spring chamber 32a which is a first hydraulic chamber and a brake release chamber 32b which is a second hydraulic chamber on the opposite side, and the spring chamber 32a. And a spring 34.
  • the brake release pressure is not supplied to the brake release chamber 32b, the swing parking brake 30 is moved to a suitable portion of the upper swing body 2, for example, the pivot shaft portion 2a shown in FIG.
  • the restraining force that is, the stop holding force is given to.
  • the brake release pressure is supplied to the brake release chamber 32b, the brake release pressure resists the elastic force of the spring 34 and releases the application of the restraint force. Act on.
  • the brake switching device 40 switches the swing parking brake 30 between the brake state and the brake release state by the supply of the brake release pressure to the swing parking brake 30 and the stop of the supply.
  • the brake switching device 40 has a pilot pump 42 connected to the brake releasing chamber 32 b via the brake releasing line 44 and a brake switching valve 46 provided in the middle of the brake releasing line 44. .
  • the pilot pump 42 is driven by the engine to discharge pilot oil.
  • the pilot oil is supplied to the brake release chamber 32 b through the brake release line 44 to generate the brake release pressure in the brake release chamber 32 b.
  • the brake switching valve 46 is a two-position electromagnetic switching valve having a solenoid 48 in this embodiment.
  • the brake switching valve 46 maintains the closed position, which is the brake position on the left side in FIG. 1, and interrupts the brake release line 44 While the supply of the brake release pressure from the pump 42 to the brake release chamber 32b is cut off, when the brake release command is input to the solenoid 48, the solenoid switch is switched to the open position which is the brake release position on the right side in FIG.
  • the brake release line 44 is opened to allow supply of brake release pressure from the pilot pump 42 to the brake release chamber 32b.
  • the displacement operation unit 50 and the hydraulic pressure supply control unit 60 constitute a displacement control device together with the controller 70.
  • the displacement control device controls the displacement of the turning motor 11, that is, the displacement by hydraulic pressure in accordance with the turning command operation given to the turning operation lever 12a.
  • the displacement operation unit 50 receives the supply of the displacement operation hydraulic pressure controlled by the hydraulic pressure supply control unit 60 to change the displacement of the hydraulic motor 11.
  • the said volume operation part 50 has the volume operation cylinder 52 which encloses a piston chamber, and the volume operation piston 54 with which the said piston chamber of the said volume operation cylinder 52 is loaded.
  • the displacement operation piston 54 can be displaced in the axial direction while sliding on the inner peripheral surface of the displacement operation cylinder 52 in the piston chamber, and the displacement of the rotation motor 11 is caused by the displacement in the axial direction.
  • the displacement operation piston 54 is connected to the swing motor 11 via a rod 53 extending from the displacement operation piston 54 so as to penetrate the first hydraulic chamber 55.
  • the displacement operation piston 54 divides the inside of the piston chamber 52 into a first hydraulic chamber 55 and a second hydraulic chamber 56, and causes displacement of the first hydraulic chamber 55 in the direction of increasing the volume (in FIG.
  • the displacement of the swing motor 11 is reduced with the displacement.
  • the axial position of the displacement operation piston 54 is determined by the balance between the first displacement hydraulic pressure supplied to the first hydraulic pressure chamber 55 and the second displacement hydraulic pressure supplied to the second hydraulic pressure chamber 56. Be done. That is, as the second displacement operation hydraulic pressure is lower than the first displacement operation hydraulic pressure, the displacement operation piston 54 is displaced in the direction to increase the displacement of the hydraulic motor 11 (rightward in FIG. 1).
  • a pressure receiving area which is an area in which the displacement operation piston 54 receives the displacement operation hydraulic pressure in the first hydraulic chamber 55, is smaller than a pressure receiving area in the second hydraulic chamber 56 by the cross sectional integral of the rod 53.
  • the difference in cross-sectional area is the position at which the volume of the second hydraulic chamber 56 is maximized when the first hydraulic pressure for operating the first displacement and the second hydraulic operating pressure are equal, that is, the hydraulic pressure It is possible to hold the motor 11 at a position where the displacement of the motor 11 is the minimum displacement, which is the leftmost position in FIG.
  • the hydraulic pressure supply control unit 60 controls the position of the displacement operation piston 54 by changing the magnitude balance between the first displacement operation hydraulic pressure and the second displacement operation hydraulic pressure, to thereby perform the swing corresponding to the position.
  • the capacity of the motor 11 is controlled.
  • the supply control unit 60 uses the oil discharged from the pilot pump 42 of the brake switching device 40 to supply the hydraulic pressure for volume operation to the volume operation unit 50 and further for the volume operation.
  • the hydraulic pressure is changed and includes a hydraulic pressure supply line 61 as shown in FIG. 1 and a hydraulic pressure supply control valve 62.
  • the hydraulic pressure supply line 61 is connected to the pilot pump 42 in parallel with the brake switching device 46, and guides the oil discharged from the pilot pump 42 to the volume operation unit 50, whereby the hydraulic pressure supply line 61 is connected to the volume operation unit 50.
  • the hydraulic pressure for operating the displacement is supplied to the first hydraulic chamber 55 and the second hydraulic chamber 56.
  • the hydraulic pressure supply line 61 branches from the brake release line 44 at a position upstream of the brake switching valve 46 in the brake switching device 40. Further, the hydraulic pressure supply line 61 branches into a first hydraulic line 65 connected to the first hydraulic chamber 55 and a second hydraulic line 66 connected to the second hydraulic chamber 56.
  • the hydraulic pressure supply control valve 62 is provided in the middle of the second hydraulic pressure line 66, and the second hydraulic pressure line 66 passes the second hydraulic pressure line 66 at a degree corresponding to the magnitude of the volume pilot pressure applied to the hydraulic pressure supply control valve 62.
  • the second displacement operating hydraulic pressure supplied to the second hydraulic pressure chamber 56 is lowered relative to the first displacement operating hydraulic pressure supplied to the first hydraulic pressure chamber 55 through the first hydraulic pressure line 65.
  • the hydraulic pressure supply control valve 62 is a pilot operated servo valve and includes a sleeve 62a, a spool 62b slidably loaded in the sleeve 62a, a spring 63, and a pilot port 64. And.
  • the spring 63 and the pilot port 64 are disposed on both sides in the axial direction of the spool 62b.
  • the spool 62b is held at a fully open position (left position in FIG. 1) which opens the second hydraulic line 66 with a maximum opening area by the spring force of the spring 63 when the capacity pilot pressure is not supplied to the pilot port 64 Be done.
  • the spool 62b When the capacity pilot pressure is supplied to the pilot port 64, the spool 62b is displaced from the fully open position in the closing direction (leftward in FIG. 1) by a stroke corresponding to the magnitude of the capacity pilot pressure.
  • the second displacement hydraulic pressure supplied to the second hydraulic pressure chamber 56 is lowered relative to the first displacement hydraulic pressure supplied to the first hydraulic pressure chamber 55.
  • the capacity pilot line 69 supplies the capacity pilot pressure to the pilot port 64 by guiding the oil discharged by the pilot pump 42 of the brake switching device 40 to the pilot port 64 of the hydraulic pressure supply control valve 62. That is, the capacity pilot line 69 has an upstream end connected to the brake release line 44 and a downstream end connected to the pilot port 64.
  • the pilot pressure control valve 68 is provided in the middle of the capacity pilot line 69 and receives an input of a capacity command to open the valve at an opening corresponding to the size of the capacity command, whereby the pilot port 64 is opened.
  • the supplied volume pilot pressure is varied.
  • the pilot pressure control valve 68 according to this embodiment is an electromagnetic proportional valve having a solenoid 67.
  • the solenoid 67 receives supply of excitation current as the capacity command.
  • the pilot pressure control valve 68 closes the capacity pilot line 69 to connect the pilot port 64 to the tank when the excitation current is not supplied to the solenoid 67 (that is, the capacity command is not input).
  • the magnitude corresponds to the magnitude of the excitation current.
  • the capacity pilot line 69 is opened to allow the capacity pilot pressure corresponding to the opening degree to be supplied to the pilot port 64.
  • the upstream end of the capacity pilot line 69 is connected to a portion of the brake release line 44 downstream of the brake switching valve 46. Therefore, when the brake switching valve 46 is switched to the brake position (left position in FIG. 1), the pilot port 64 is communicated with the tank regardless of whether the pilot pressure control valve 67 is opened or closed. Block the supply of capacitive pilot pressure to port 64.
  • the right turn pilot sensor 28A and the left turn pilot sensor 28B respectively generate pilot pressure detection signals corresponding to the right turn pilot pressure and the left turn pilot pressure in the right turn pilot line 26A and the left turn pilot line 26B. It generates and inputs it to the controller 70. Therefore, the right turn and left turn pilot pressure sensors 28A and 28B detect that the turn command operation is given to the control lever 12a of the turn operation device 12 and give the information to the controller 70.
  • the controller 70 is constituted by, for example, a microcomputer, and has a brake release instruction input unit 72 and a capacity instruction input unit 74 shown in FIG. 1 as functions related to the present invention.
  • the brake release command input unit 72 constitutes a brake release command unit together with the right turn and left turn pilot sensors 28A and 28B. Specifically, when the brake release instruction input unit 72 detects that either the right turn and left turn pilot pressure sensors 28A and 28B has given the turn instruction operation to the turn operation device 12 After the control valve 13 is opened by the swing command operation to allow the supply of hydraulic fluid from the hydraulic pump 10 to the swing motor 11, the swing parking brake 30 is released from the braking state to the brake release state The brake release command is input to the solenoid 48 of the brake switching valve 46 so as to switch to the above.
  • the time from when the swing command operation is performed to the time when the swing parking brake 30 is switched to the brake release state is when the swing motor 11 actually operates and the upper swing body 2 swings.
  • the interval is set to a minute time enough to hold the upper swing body 2 stationary by the swing parking brake 30 with certainty.
  • the minute time is a naturally occurring time from when the right turn and left turn pilot pressure sensors 28A and 28B detect the turn command operation to when the brake switching valve 46 is actually switched to the brake release position. It may be the time corresponding to the time lag as it is.
  • the brake release command input unit 72 incorporates a timer, and the brake release command is sent to the solenoid 48 of the brake switching valve 46 after the predetermined minute time has elapsed from when the turn command operation is detected. May be input.
  • the capacity command input unit 74 generates a larger capacity command as the swing speed of the upper swing body 2 (that is, the operating speed of the swing motor 11) specified by the swing command operation increases, and the solenoid of the pilot pressure control valve 68 Enter 67 That is, the capacity command input unit 74 generates and inputs a capacity command such that a larger capacity pilot pressure is given to the pilot port 64 of the hydraulic pressure supply control valve 62 as the swing speed corresponding to the turn command operation increases. .
  • the turning lever 12a of the turning operation device 12 When the turning lever 12a of the turning operation device 12 is in the neutral position, no pilot pressure is supplied to either the right turning or left turning pilot port 13a, 13b of the control valve 13, and the control valve 13 maintains the neutral position. . Therefore, the swing motor 11 does not apply swing torque to the upper swing body 2.
  • the brake release command input unit 72 of the controller 70 does not input the brake release command to the solenoid 48 of the brake switching valve 46, thereby keeping the brake switching valve 46 in the closed position, that is, the brake position.
  • the brake switching valve 46 in the brake position breaks the brake release line 44 to communicate the brake release chamber 32b of the swing parking brake 30, which is a negative brake, with the tank, thereby braking the swing parking brake 30;
  • the upper swing body 2 is kept in the state of giving a stop holding force.
  • the displacement control device keeps the displacement of the swing motor 11 at the minimum displacement.
  • the capacity pilot line 69 connected to the brake release line 44 at a position downstream of the brake switching valve 48 is the brake switch at the brake position.
  • the valve 48 communicates with the tank, and prevents the pilot pressure input to the pilot port 64 of the hydraulic pressure supply control valve 62 regardless of the opening degree of the pilot pressure control valve 68.
  • the hydraulic pressure supply control valve 62 is kept at the fully open position, and the second operating hydraulic pressure supplied to the second hydraulic chamber 56 of the displacement operating unit 50 is supplied to the first hydraulic chamber 55. Keep the same.
  • the position at which the volume of the second hydraulic chamber 56 is maximized by the difference between the pressure receiving area of the second hydraulic chamber 56 and the pressure receiving area of the first hydraulic chamber 55 (the leftmost position in FIG. And holds the capacity of the swing motor 11 at the minimum capacity.
  • the turning lever 12a When the turning lever 12a receives a turning command operation and turns from the neutral position to a specific operation direction, that is, a right turning operation direction or a left turning operation direction, the right turning and left turning pilot port 13a of the control valve 13
  • the pilot pressure is supplied from the pilot valve 12b of the turning operation device 12 through the pilot line 26A (or 26B) to the pilot port corresponding to the specific operation direction out of 13b.
  • the control valve 13 is switched to a position corresponding to the direction among the right turn position and the left turn position, and from the hydraulic pump 10 to the right turn port 11a or the left turn port 11b of the turning motor 11. Allow the supply of hydraulic oil
  • the swing motor 11 applies a swing torque in the direction corresponding to the port to which the hydraulic fluid is supplied to the upper swing body 2.
  • the brake switching valve 46 is still kept in the closed position (brake position), and the pilot oil is discharged from the pilot pump 42 to the brake release chamber 32b of the hydraulic cylinder 32 in the swing parking brake 30 through the brake release line 44. Is prevented from being supplied, and the pilot line 64 of the hydraulic supply control valve 62 is communicated with the tank to keep the capacity of the hydraulic motor 11 at the minimum capacity. This makes it possible to prevent the swing torque given from the hydraulic motor 11 to the upper swing body 2 from exceeding the stop holding force (torque) by the swing parking brake 30, and limit it to a smaller torque than that. Make it In this way, a so-called drag with the drag of the swing parking brake 30 caused by the start of the swing at the maximum torque despite the swing parking brake 30 being in the brake state is prevented.
  • the right turn pilot sensor 28A or the left turn pilot sensor 28B With the generation of the pilot pressure, the right turn pilot sensor 28A or the left turn pilot sensor 28B generates a pilot pressure detection signal and inputs it to the controller 70.
  • the brake release command input unit 72 determines that a turn command operation has been given to the operation lever 12a when the detected pilot pressure is equal to or greater than a predetermined determination value, and is set in advance after the determination. After the lapse of a minute time, a brake release command is input to the solenoid 48 of the brake switching valve 46 to open the brake switching valve 46.
  • the brake switching valve 46 opened in this manner allows pilot oil to be supplied from the pilot pump 42 to the brake release chamber 32b of the hydraulic cylinder 32 in the swing parking brake 30 through the brake release line 44 to thereby enable the swing parking.
  • the oil discharged from the pilot pump 42 is transferred to the pilot port 64 of the hydraulic pressure supply control valve 62 through the brake release line 44 and the capacity pilot line 69. It is allowed to be introduced, and the opening of the pilot pressure control valve 67 allows the displacement of the swing motor 11 to increase from the minimum displacement to the maximum displacement.
  • the allowance of the increase of the capacity of the swing motor 11, that is, the release of the prohibition of the increase enables the upper swing body 2 to be started with the swing torque which increases according to the swing command operation given to the control lever 12 by the operator. This makes it possible to quickly raise the swing speed regardless of the large weight of the upper swing body 2.
  • the opening of the turning torque is surely synchronized with the switching of the turning parking brake 30 to the release state by the opening of the brake switching valve 46, so that the turning parking brake 30
  • the drag of the swing parking brake 30 due to the fact that the upper swing body 2 is given an excessive torque (for example, a torque much larger than the torque corresponding to the minimum displacement of the hydraulic motor 11 like the maximum torque) despite being in the state Damage to the swing parking brake 30 or other equipment due to
  • the permission of the increase of the turning torque and the synchronization with the switching to the brake releasing state are due to the turning torque increasing before the swing parking brake 30 is switched from the braking state to the brake releasing state.
  • the point in time when the brake is released and the point in time when the permission (prohibition release) in increasing the turning torque is started coincide with a degree that the turning of the upper swing body 2 accompanied by so-called dragging of the turning parking brake 30 can be reliably prevented.
  • the term "synchronization" as used herein is intended to encompass an aspect in which the two timings are slightly deviated as far as the turning accompanied by the drag can be reliably prevented.
  • the capacity pilot line 69 is branched from the brake release line 44 at a position downstream of the brake switching valve 46, in other words, the capacity pilot line 69
  • the upstream end of the brake switching valve 46 is connected to the brake release line 44 at a position downstream of the brake switching valve 46, but the brake release in the swing parking brake 30 and the allowance of increase in the swing torque can be reliably performed with a simple configuration. Allows to synchronize. For example, after the turning command operation is given to the operation lever 12a, the capacity command input unit 74 is more than the time when the brake release command input unit 72 inputs a brake release command to the brake switching valve 46 (brake release time).
  • the present invention is not limited to the first embodiment.
  • the present invention also encompasses, for example, an aspect in which the capacity pilot line 69 branches off from the upstream side of the brake switching valve.
  • FIG. 2 shows a second embodiment which is an example of this aspect.
  • the capacity pilot line 69 branches from the brake release line 44 on the upstream side of the brake switching valve 46 and reaches the first hydraulic line 65 of the hydraulic pressure supply control unit 60. That is, the upstream end of the capacity pilot line 69 is directly connected to the pilot pump 42 without passing through the brake switching valve 46, and the capacity pilot line 69 controls the oil discharged from the pilot pump 42 to the hydraulic pressure supply control valve 62. Lead directly to the pilot port 64 of.
  • the controller 70 It has a part 76.
  • the capacity limiting section 76 determines that at least a predetermined minute time has elapsed after determining that the turning command operation has been given to the operation lever 12a, that is, the brake release command input section 72 instructs the brake switching valve 46 to release the brake Until the brake release time to input a capacity restriction command to limit the capacity of the hydraulic motor 11 to the minimum capacity is input to the capacity command input unit 74, and is preset from the time of the brake release time or the brake release time.
  • the capacity restriction command is canceled.
  • the capacity command input unit 74 stops the input of the capacity command to the pilot pressure control valve 68 regardless of the presence or absence of the turn command operation, and Keep the capacity to the minimum capacity.
  • the capacity limiting unit 76 synchronizes the time of releasing the brake, that is, the time of switching of the swing parking brake 30 to the brake release state, and the allowance (prohibition release) of the increase of the capacity of the swing motor 11. Similar to the first embodiment, it is possible to prevent so-called dragging of the swing parking brake 30.
  • the invention is not limited to the use of the pilot pump of the brake switching device as a means for increasing the displacement of the pivoting motor. That is, the present invention also encompasses an aspect in which a hydraulic pressure source for increasing the displacement of the swing motor is provided separately from the pilot pump.
  • the supply of the hydraulic pressure for volume operation to the volume operation unit 50 does not necessarily have to be by use of the pilot pump 42, and the hydraulic pressure for volume operation is given to the volume operation unit 50 by a pump different from the pilot pump 42. It may be done.
  • the upstream end of the hydraulic pressure supply line 61 of the hydraulic pressure supply control unit 60 may be connected to the downstream portion of the brake switching valve 46 in the brake release line 44 .
  • the hydraulic pressure supply line 61 be provided with a check valve 82 for preventing the backflow of oil from the displacement operation unit 50 to the brake release line 44 as shown in FIG.
  • a swing type working machine provided with a swing body and a swing parking brake for holding the same in a stopped state, the swing body by the swing parking brake until a swing torque is applied to the swing body Can be held in a stationary state, and it is possible to securely protect the swing parking brake and other devices from the swing torque while allowing a rapid rise of the swing speed after the start of the swing A work machine is provided.
  • a swiveling working machine which comprises a base, a swiveling body mounted on the base so as to be pivotable, and a variable displacement hydraulic motor, which receives the supply of hydraulic oil.
  • a swing motor for applying a swing torque for swinging a swing body to the swing body, a displacement control device for controlling a capacity of the swing motor, a hydraulic pump for discharging hydraulic fluid to be supplied to the swing motor,
  • a swing control device for permitting supply of hydraulic fluid from the hydraulic pump to the swing motor by receiving a swing command operation for swinging the swing body, and maintaining the swing body in a stop state
  • a capacity limiting unit for limiting The capacity restriction portion allows the turning by the input of a brake release command to the brake switching device after the turning control device receives the turning command operation and permits supply of hydraulic fluid from the hydraulic pump to the turning motor.
  • the capacity of the swing motor controlled by the capacity control device is limited to a capacity equal to or less than a predetermined brake release capacity. After the release time point, the capacity control device is allowed to increase the capacity of the swing motor by exceeding the brake release capacity.
  • the brake release command unit sends a brake release command to the brake switching device after the swing control device receives the swing command operation and starts supplying hydraulic oil from the hydraulic pump to the swing motor. Since the turning parking brake is switched from the braking state to the brake releasing state, the turning state of the turning body is reliably maintained until the turning torque is applied to the turning body.
  • the capacity limiting unit limits the capacity of the swing motor to at least a capacity (preferably, the minimum capacity of the swing motor) equal to or less than the preset capacity for brake release until at least the brake release time, and after the brake release time
  • a capacity preferably, the minimum capacity of the swing motor
  • the capacity limiting unit limits the capacity of the swing motor to at least a capacity (preferably, the minimum capacity of the swing motor) equal to or less than the preset capacity for brake release until at least the brake release time, and after the brake release time
  • the displacement control device increases the capacity of the turning motor as the turning speed designated by the turning command operation is larger.
  • the capacity limiting unit limits the capacity of the swing motor to a capacity equal to or less than the brake release capacity regardless of the swing speed designated by the swing command operation until the brake release time point. preferable. In this aspect, it is possible to perform acceleration for turning start at a degree corresponding to the turn command operation after the brake release time while preventing the drag at the brake release time.
  • the swing parking brake holds the brake state when not receiving the supply of the brake release pressure, and only when the supply of the brake release pressure is received.
  • the brake switching device is supplied to the swing parking brake through the brake release line to generate the brake release pressure at the swing parking brake.
  • the brake switching valve switch to the open position by receiving an input of a command.
  • the displacement control device operates to change the displacement of the swing motor by receiving the supply of hydraulic pressure for displacement operation, and the supply of a displacement pilot pressure by the displacement control unit.
  • a hydraulic pressure supply control unit that changes a form of supply of the displacement operation hydraulic pressure to the displacement operation unit so as to increase the displacement as the displacement pilot pressure increases; and the displacement of the pilot oil discharged by the pilot pump
  • a capacity pilot line for giving the capacity pilot pressure by being guided to the operation unit, and provided in the middle of the capacity pilot line, and receiving an input of a capacity command opens the valve at an opening degree corresponding to the capacity command.
  • a pilot pressure operated valve which is opened, a capacity command input unit for inputting the capacity command to the pilot pressure operated valve, to contain, preferred.
  • the displacement pilot line and the pilot pressure control valve make it possible to supply the displacement pilot pressure to the hydraulic pressure supply control unit and control it using a pilot pump included in the brake switching device.
  • the capacity pilot line is connected to a portion of the brake release line downstream of the brake switching valve.
  • the capacity pilot line also shuts off the supply of the volume pilot pressure to the capacity operation unit, and the pilot pressure operated valve
  • the capacity pilot line constitutes the capacity limiting portion together with the brake switching valve of the brake switching device, and the capacity can be reliably limited and released in conjunction with the operation of the brake switching valve. is there.
  • the capacity limiting unit can be configured without increasing the number of parts by using the brake switching valve of the brake switching device and the capacity pilot line of the capacity control device.
  • the displacement operation unit of the displacement control device includes a displacement operation cylinder forming a piston chamber for receiving the supply of the displacement operation hydraulic pressure, and the piston chamber as a first oil pressure chamber and a second oil pressure chamber. It is a displacement operating piston having a shape in which the pressure receiving area in the second hydraulic chamber is larger than the pressure receiving area in the first hydraulic chamber, and the pivoting is performed as the volume of the second hydraulic chamber is increased.
  • the hydraulic pressure supply control unit includes an hydraulic pressure supply control valve that operates in response to the supply of the volume pilot pressure, the hydraulic pressure supply control unit including the hydraulic pressure supply control unit connected to the swing motor so as to reduce the motor capacity;
  • the valve receives the supply of the capacity pilot pressure to generate the capacity operating oil pressure supplied to the second oil pressure chamber relative to the capacity operating oil pressure supplied to the first oil pressure chamber.
  • the hydraulic pressure for volume control operation supplied to the second hydraulic chamber is supplied to the first hydraulic chamber when the supply of the volume pilot pressure is not received.
  • the displacement operation piston is displaced to a position where the displacement of the swing motor is minimized by the difference between the pressure receiving area of the first hydraulic chamber and the pressure receiving area of the second hydraulic chamber by making it equal to the hydraulic pressure for displacement operation. Is preferred.
  • the capacity operation piston in the second oil pressure chamber and the first oil pressure chamber in the capacity operation portion is shut off by blocking the supply of the capacity pilot pressure to the oil pressure supply control valve in the brake operating state. It is possible to reliably maintain the displacement of the swing motor at the minimum displacement by utilizing the difference in pressure receiving area of

Landscapes

  • Engineering & Computer Science (AREA)
  • General Engineering & Computer Science (AREA)
  • Mining & Mineral Resources (AREA)
  • Civil Engineering (AREA)
  • Structural Engineering (AREA)
  • Physics & Mathematics (AREA)
  • Fluid Mechanics (AREA)
  • Mechanical Engineering (AREA)
  • Operation Control Of Excavators (AREA)
  • Fluid-Pressure Circuits (AREA)
PCT/JP2018/038104 2017-11-08 2018-10-12 旋回式作業機械 Ceased WO2019093070A1 (ja)

Priority Applications (3)

Application Number Priority Date Filing Date Title
US16/759,872 US11131081B2 (en) 2017-11-08 2018-10-12 Pivoting work machine
EP18876294.2A EP3690149B1 (en) 2017-11-08 2018-10-12 Pivoting work machine
CN201880069687.0A CN111247296B (zh) 2017-11-08 2018-10-12 回转式工程机械

Applications Claiming Priority (2)

Application Number Priority Date Filing Date Title
JP2017-215634 2017-11-08
JP2017215634A JP6981186B2 (ja) 2017-11-08 2017-11-08 旋回式作業機械

Publications (1)

Publication Number Publication Date
WO2019093070A1 true WO2019093070A1 (ja) 2019-05-16

Family

ID=66437896

Family Applications (1)

Application Number Title Priority Date Filing Date
PCT/JP2018/038104 Ceased WO2019093070A1 (ja) 2017-11-08 2018-10-12 旋回式作業機械

Country Status (5)

Country Link
US (1) US11131081B2 (enExample)
EP (1) EP3690149B1 (enExample)
JP (1) JP6981186B2 (enExample)
CN (1) CN111247296B (enExample)
WO (1) WO2019093070A1 (enExample)

Families Citing this family (4)

* Cited by examiner, † Cited by third party
Publication number Priority date Publication date Assignee Title
JP7377022B2 (ja) * 2019-08-23 2023-11-09 川崎重工業株式会社 建設機械の油圧システム
CN114439797B (zh) * 2020-10-30 2025-08-29 卡特彼勒S.A.R.L公司 回转制动解除方法、回转液压系统及回转式工程机械
CN115012467B (zh) * 2022-06-17 2023-12-19 山河智能装备股份有限公司 一种挖掘机回转平台与工作装置动作匹配控制系统
US12416133B2 (en) * 2023-06-09 2025-09-16 Caterpillar Inc. Swing motion variable control system

Citations (5)

* Cited by examiner, † Cited by third party
Publication number Priority date Publication date Assignee Title
JPS63121666U (enExample) * 1987-01-30 1988-08-08
JPS63180372U (enExample) * 1987-05-09 1988-11-22
JPH03365U (enExample) * 1989-05-25 1991-01-07
JP2010065510A (ja) 2008-09-12 2010-03-25 Sumitomo (Shi) Construction Machinery Co Ltd 作業機械の駆動装置
JP2010138587A (ja) * 2008-12-10 2010-06-24 Sumitomo (Shi) Construction Machinery Co Ltd 旋回駆動制御装置及びこれを含む建設機械

Family Cites Families (11)

* Cited by examiner, † Cited by third party
Publication number Priority date Publication date Assignee Title
GB2204652B (en) 1987-05-09 1991-05-15 Kubota Ltd Fluid pressure control circuit for working vehicle having transmission operable by fluid pressure
JP3544810B2 (ja) * 1997-01-08 2004-07-21 日立建機株式会社 建設機械の旋回体のロック・解除装置
JP3847475B2 (ja) 1998-11-10 2006-11-22 ボッシュ・レックスロス株式会社 旋回系油圧装置の制御方法及び制御装置
JP5304236B2 (ja) 2008-12-26 2013-10-02 コベルコ建機株式会社 建設機械の旋回ブレーキ装置
WO2012077833A1 (ko) * 2010-12-07 2012-06-14 볼보 컨스트럭션 이큅먼트 에이비 하이브리드 건설기계용 선회 제어시스템
JP5683361B2 (ja) * 2011-04-01 2015-03-11 日立建機株式会社 作業機械の油圧駆動装置
WO2012150651A1 (ja) * 2011-05-02 2012-11-08 コベルコ建機株式会社 旋回式作業機械
EP2706151B1 (en) 2011-05-02 2017-10-11 Kobelco Construction Machinery Co., Ltd. Slewing type working machine
JP5738674B2 (ja) * 2011-05-25 2015-06-24 コベルコ建機株式会社 旋回式作業機械
JP6693842B2 (ja) * 2016-09-08 2020-05-13 住友重機械建機クレーン株式会社 クレーン
US10422361B2 (en) * 2016-12-14 2019-09-24 Cnh Industrial America Llc Regenerative energy capturing and launching assistant

Patent Citations (5)

* Cited by examiner, † Cited by third party
Publication number Priority date Publication date Assignee Title
JPS63121666U (enExample) * 1987-01-30 1988-08-08
JPS63180372U (enExample) * 1987-05-09 1988-11-22
JPH03365U (enExample) * 1989-05-25 1991-01-07
JP2010065510A (ja) 2008-09-12 2010-03-25 Sumitomo (Shi) Construction Machinery Co Ltd 作業機械の駆動装置
JP2010138587A (ja) * 2008-12-10 2010-06-24 Sumitomo (Shi) Construction Machinery Co Ltd 旋回駆動制御装置及びこれを含む建設機械

Non-Patent Citations (1)

* Cited by examiner, † Cited by third party
Title
See also references of EP3690149A4

Also Published As

Publication number Publication date
JP2019085791A (ja) 2019-06-06
US20200340211A1 (en) 2020-10-29
CN111247296B (zh) 2022-04-01
CN111247296A (zh) 2020-06-05
EP3690149A1 (en) 2020-08-05
JP6981186B2 (ja) 2021-12-15
EP3690149A4 (en) 2020-12-02
US11131081B2 (en) 2021-09-28
EP3690149B1 (en) 2022-04-13

Similar Documents

Publication Publication Date Title
JP6335093B2 (ja) 建設機械の油圧駆動システム
WO2019093070A1 (ja) 旋回式作業機械
KR101876590B1 (ko) 유압 작업기의 유압 구동 장치
WO1998024987A1 (en) Control device for construction machine
WO2012150652A1 (ja) 旋回式作業機械
JP5649449B2 (ja) 旋回装置駆動装置をオーバーライドするための油圧制御回路
CN102893038B (zh) 铺管机及铺管机的预热方法
JP2019052702A (ja) 建設機械の油圧駆動システム
JP7006346B2 (ja) 旋回式作業機械
JP2015172400A (ja) ショベル
JP6565614B2 (ja) 旋回式油圧作業機械
WO2017170256A1 (ja) ショベル
CN111344459B (zh) 工程机械的驱动系统
JP2017145950A (ja) 油圧モータの油圧駆動装置及び建設車両
JP2005195131A (ja) 建設機械
JP2746906B2 (ja) 油圧モータのブレーキ回路
JP2019173468A (ja) 旋回式作業機械
JP6580301B2 (ja) ショベル
JP4081457B2 (ja) 建設機械における旋回体ブレーキ装置
JP7001554B2 (ja) クレーン機能付き油圧ショベル
JP3634601B2 (ja) 旋回式建設機械の油圧ポンプ制御装置
JP2005054526A (ja) 建設機械の旋回制御装置
JP2738660B2 (ja) 油圧式ウインチ装置
JP2594221Y2 (ja) 旋回制御装置
JP4017812B2 (ja) カウンタバランス弁を有する油圧回路およびクレーン

Legal Events

Date Code Title Description
121 Ep: the epo has been informed by wipo that ep was designated in this application

Ref document number: 18876294

Country of ref document: EP

Kind code of ref document: A1

ENP Entry into the national phase

Ref document number: 2018876294

Country of ref document: EP

Effective date: 20200427

NENP Non-entry into the national phase

Ref country code: DE