WO2019003523A1 - 蓄熱装置 - Google Patents

蓄熱装置 Download PDF

Info

Publication number
WO2019003523A1
WO2019003523A1 PCT/JP2018/011975 JP2018011975W WO2019003523A1 WO 2019003523 A1 WO2019003523 A1 WO 2019003523A1 JP 2018011975 W JP2018011975 W JP 2018011975W WO 2019003523 A1 WO2019003523 A1 WO 2019003523A1
Authority
WO
WIPO (PCT)
Prior art keywords
heat storage
storage material
electrode
storage device
inorganic porous
Prior art date
Legal status (The legal status is an assumption and is not a legal conclusion. Google has not performed a legal analysis and makes no representation as to the accuracy of the status listed.)
Ceased
Application number
PCT/JP2018/011975
Other languages
English (en)
French (fr)
Japanese (ja)
Inventor
敬 久保
鈴木 基啓
博宣 町田
竹口 伸介
健太郎 椎
谷 直幸
達也 仲村
Current Assignee (The listed assignees may be inaccurate. Google has not performed a legal analysis and makes no representation or warranty as to the accuracy of the list.)
Panasonic Corp
Original Assignee
Panasonic Corp
Priority date (The priority date is an assumption and is not a legal conclusion. Google has not performed a legal analysis and makes no representation as to the accuracy of the date listed.)
Filing date
Publication date
Application filed by Panasonic Corp filed Critical Panasonic Corp
Priority to EP18822641.9A priority Critical patent/EP3647708B1/en
Publication of WO2019003523A1 publication Critical patent/WO2019003523A1/ja
Priority to US16/667,946 priority patent/US11268003B2/en
Anticipated expiration legal-status Critical
Ceased legal-status Critical Current

Links

Images

Classifications

    • CCHEMISTRY; METALLURGY
    • C09DYES; PAINTS; POLISHES; NATURAL RESINS; ADHESIVES; COMPOSITIONS NOT OTHERWISE PROVIDED FOR; APPLICATIONS OF MATERIALS NOT OTHERWISE PROVIDED FOR
    • C09KMATERIALS FOR MISCELLANEOUS APPLICATIONS, NOT PROVIDED FOR ELSEWHERE
    • C09K5/00Heat-transfer, heat-exchange or heat-storage materials, e.g. refrigerants; Materials for the production of heat or cold by chemical reactions other than by combustion
    • C09K5/02Materials undergoing a change of physical state when used
    • C09K5/06Materials undergoing a change of physical state when used the change of state being from liquid to solid or vice versa
    • C09K5/063Materials absorbing or liberating heat during crystallisation; Heat storage materials
    • CCHEMISTRY; METALLURGY
    • C09DYES; PAINTS; POLISHES; NATURAL RESINS; ADHESIVES; COMPOSITIONS NOT OTHERWISE PROVIDED FOR; APPLICATIONS OF MATERIALS NOT OTHERWISE PROVIDED FOR
    • C09KMATERIALS FOR MISCELLANEOUS APPLICATIONS, NOT PROVIDED FOR ELSEWHERE
    • C09K5/00Heat-transfer, heat-exchange or heat-storage materials, e.g. refrigerants; Materials for the production of heat or cold by chemical reactions other than by combustion
    • C09K5/02Materials undergoing a change of physical state when used
    • C09K5/06Materials undergoing a change of physical state when used the change of state being from liquid to solid or vice versa
    • FMECHANICAL ENGINEERING; LIGHTING; HEATING; WEAPONS; BLASTING
    • F01MACHINES OR ENGINES IN GENERAL; ENGINE PLANTS IN GENERAL; STEAM ENGINES
    • F01PCOOLING OF MACHINES OR ENGINES IN GENERAL; COOLING OF INTERNAL-COMBUSTION ENGINES
    • F01P3/00Liquid cooling
    • F01P3/20Cooling circuits not specific to a single part of engine or machine
    • FMECHANICAL ENGINEERING; LIGHTING; HEATING; WEAPONS; BLASTING
    • F28HEAT EXCHANGE IN GENERAL
    • F28DHEAT-EXCHANGE APPARATUS, NOT PROVIDED FOR IN ANOTHER SUBCLASS, IN WHICH THE HEAT-EXCHANGE MEDIA DO NOT COME INTO DIRECT CONTACT
    • F28D20/00Heat storage plants or apparatus in general; Regenerative heat-exchange apparatus not covered by groups F28D17/00 or F28D19/00
    • F28D20/02Heat storage plants or apparatus in general; Regenerative heat-exchange apparatus not covered by groups F28D17/00 or F28D19/00 using latent heat
    • F28D20/023Heat storage plants or apparatus in general; Regenerative heat-exchange apparatus not covered by groups F28D17/00 or F28D19/00 using latent heat the latent heat storage material being enclosed in granular particles or dispersed in a porous, fibrous or cellular structure
    • FMECHANICAL ENGINEERING; LIGHTING; HEATING; WEAPONS; BLASTING
    • F28HEAT EXCHANGE IN GENERAL
    • F28DHEAT-EXCHANGE APPARATUS, NOT PROVIDED FOR IN ANOTHER SUBCLASS, IN WHICH THE HEAT-EXCHANGE MEDIA DO NOT COME INTO DIRECT CONTACT
    • F28D20/00Heat storage plants or apparatus in general; Regenerative heat-exchange apparatus not covered by groups F28D17/00 or F28D19/00
    • F28D20/02Heat storage plants or apparatus in general; Regenerative heat-exchange apparatus not covered by groups F28D17/00 or F28D19/00 using latent heat
    • F28D20/028Control arrangements therefor
    • YGENERAL TAGGING OF NEW TECHNOLOGICAL DEVELOPMENTS; GENERAL TAGGING OF CROSS-SECTIONAL TECHNOLOGIES SPANNING OVER SEVERAL SECTIONS OF THE IPC; TECHNICAL SUBJECTS COVERED BY FORMER USPC CROSS-REFERENCE ART COLLECTIONS [XRACs] AND DIGESTS
    • Y02TECHNOLOGIES OR APPLICATIONS FOR MITIGATION OR ADAPTATION AGAINST CLIMATE CHANGE
    • Y02EREDUCTION OF GREENHOUSE GAS [GHG] EMISSIONS, RELATED TO ENERGY GENERATION, TRANSMISSION OR DISTRIBUTION
    • Y02E60/00Enabling technologies; Technologies with a potential or indirect contribution to GHG emissions mitigation
    • Y02E60/14Thermal energy storage

Definitions

  • the present invention relates to a heat storage device.
  • Patent Document 1 discloses a heat storage system using sodium acetate trihydrate as a heat storage material.
  • Sodium acetate trihydrate melts at a melting point of 58 ° C. However, sodium acetate trihydrate does not solidify immediately upon cooling below the melting point. A state in which the liquid does not solidify even when cooled below the melting point is called a supercooled state.
  • the heat storage material containing sodium acetate trihydrate After the heat storage material containing sodium acetate trihydrate is heated and melted, the heat storage material is cooled until it is supercooled. In this way, the latent heat is stored in sodium acetate trihydrate. When heat is required, the supercooled state of the heat storage material containing sodium acetate trihydrate is released. Sodium acetate trihydrate changes from a liquid state to a solid state, and heat is released from sodium acetate trihydrate due to this change. That is, latent heat is taken out. In this way, the heat storage effect is achieved.
  • Patent Document 2 discloses a heat storage tank provided with a silver electrode for applying a voltage to a heat storage material in a subcooling state as a means for releasing the subcooling state.
  • Patent Document 3 discloses a supercooling preventing agent, a heat storage method, and a heat storage system.
  • Heat is stored by heating the heat storage material containing sodium acetate trihydrate at a temperature higher than the melting point of sodium acetate trihydrate.
  • the heat storage material is deprived of heat so that sodium acetate trihydrate changes from liquid phase to solid phase.
  • JP 2008-20177 A Japanese Patent Application Laid-Open No. 61-204293 JP, 2013-067720, A
  • An object of the present invention is to provide a heat storage device that releases subcooling and releases heat by voltage application and that can be used repeatedly.
  • the present invention is a heat storage device, and Heat storage material containing sodium acetate trihydrate, A first electrode having a surface in contact with the heat storage material and formed of at least one selected from the group consisting of silver, a silver alloy, and a silver compound; A second electrode in contact with the heat storage material, The inorganic porous body contained in the heat storage material, and a power supply for applying a voltage to the first electrode and the second electrode,
  • the inorganic porous body is a heat storage device having an average pore diameter of 50 nanometers or less.
  • the present invention includes a heat release method using the above-described heat storage device.
  • the present invention includes a vehicle equipped with the above-described heat storage device. Furthermore, the invention includes a method of applying heat to an engine in the vehicle.
  • the present invention releases subcooling by applying a voltage to release heat, and provides a heat storage device that can be used repeatedly.
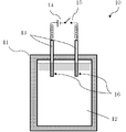
  • FIG. 1 shows a schematic view of a heat storage device according to an embodiment.
  • FIG. 2 shows a schematic view of the pore structure of activated carbon.
  • FIG. 1 shows a schematic view of a heat storage device 10 according to an embodiment.
  • the heat storage device 10 includes a heat storage tank 11 filled with a heat storage material 12, a pair of electrodes 13 including a first electrode 13 a and a second electrode 13 b, a DC power supply 14, and a switch 15.
  • the heat storage tank 11 is kept warm by a heat insulating material.
  • An example of a thermal insulation is glass wool.
  • the heat storage tank 11 contains a heat storage material 12.
  • the heat storage material 12 is sodium acetate trihydrate.
  • the heat storage material 12 contains sodium acetate trihydrate as a main component.
  • Heat storage material 12 The heat storage material 12 contains an inorganic porous body.
  • the present inventors believe that the inside of the pores of the inorganic porous body has a fine solid heat storage material 12.
  • the fine solid heat storage material 12 is also referred to as a "cluster".
  • the fine solid heat storage material 12 contained in the pores has stronger intermolecular bonding than the heat storage material 12 located outside the pores due to capillary condensation.
  • the heat storage material 12 when the heat storage material 12 is heated, the heat storage material 12 contained in the pores melts more slowly than the heat storage material 12 located outside the pores. As a result, it is possible to enhance the viability of the cluster after the heat storage material 12 is held at a high temperature in the liquid state. Therefore, even after the heat storage material 12 is held at a high temperature in the liquid state, the application of the voltage can cancel the supercooling state of sodium acetate trihydrate at a temperature of 58 ° C. or less.
  • the cluster that is, the fine heat storage material 12 in the solid phase
  • the heat storage material 12 crystallizes so as to spread from the center of the cluster to its periphery when a voltage is applied at the point.
  • the crystallization of the heat storage material 12 at the time of application of the voltage in the subcooling state is based on the cluster.
  • the inorganic porous body contained in the heat storage material 12 has an average pore diameter of 50 nanometers or less.
  • the pore size of the inorganic porous material can be measured by a commonly used method. For example, the pore size can be calculated based on a nitrogen gas adsorption method or a mercury intrusion method.
  • the term "average pore size” refers to the adsorption isotherm of nitrogen by the Barret-Joyner-Halenda method (hereinafter referred to as "BJH method") or Horvath-Kawazoe method (hereinafter referred to as "HK method”).
  • BJH method Barret-Joyner-Halenda method
  • HK method Horvath-Kawazoe method
  • the pore size distribution curve is drawn on the graph of the pore diameter on the horizontal axis and the pore volume on the vertical axis.
  • the mean pore size is equal to the pore size at the maximum of the pore volume.
  • the term "average pore size" as used herein means the pore size at the peak value of the pore size distribution curve determined by mercury porosimetry.
  • the average pore size of zeolite, mesoporous silica or activated carbon is calculated by a nitrogen gas adsorption method.
  • the average pore size of silica gel is calculated by mercury porosimetry.
  • the average pore size of the commercially available inorganic porous material is disclosed in its catalog.
  • the lower limit of the average pore size of the inorganic porous body is not limited as long as the inside of the pore has the heat storage material 12 and the melting of the cluster is suppressed.
  • the average pore size of the inorganic porous body is 0.9 nm or more.
  • the material of the inorganic porous body is, for example, metal oxide or carbon.
  • metal oxides are zeolite, silica, alumina, titania or tungsten oxide.
  • the desirable inorganic porous material is activated carbon or silica gel.
  • Activated carbon and silica gel have pores having a size of 50 nm or less (hereinafter referred to as “micro mesopores”), and are connected to these pores and having a size larger than 50 nm (hereinafter , "Macropores”) on its surface.
  • micro mesopores pores having a size of 50 nm or less
  • Macropores pores having a size larger than 50 nm
  • FIG. 2 shows a schematic view of the pore structure of the inorganic porous material.
  • the activated carbon surface 20 has macropores 21.
  • the micro mesopores 22 are arranged inside the activated carbon so as to be connected to the macropores 21. Therefore, the heat storage material 12 is easily introduced into the micro mesopores 22. In this manner, a fine solid heat storage material 12 is formed inside the micro mesopores. This will be described in detail later.
  • heat storage material 12 can be disposed in micro mesopores 22 having a size of 50 nanometers or less, as compared with an inorganic porous body having no macropores 21 such as mesoporous silica.
  • the cluster survival rate is further improved after the heat storage material 12 is held at a high temperature in the liquid state. For this reason, even if the heat storage material 12 is held at a high temperature for a long time in the liquid state, the subcooling can be canceled by voltage application.
  • the heat storage material 12 may contain an additive.
  • additives are supercooling release aids, viscosity modifiers, foam stabilizers, antioxidants, defoamers, abrasive grains, fillers, pigments, dyes, colorants, thickeners, surfactants, Flame retardants, plasticizers, lubricants, antistatic agents, heat stabilizers, tackifiers, curing catalysts, stabilizers, silane coupling agents, or waxes.
  • the type and amount of additives are not limited as long as the object of the present invention is not hindered.
  • the additive need not be added to the heat storage material 12.
  • the method of forming the fine heat storage material 12 of the solid phase in the pores of the inorganic porous body will be described below.
  • the heat storage material 12 containing an inorganic porous body is heated at a temperature equal to or higher than the melting point of the heat storage material 12 (that is, 58 degrees Celsius).
  • the heat storage material 12 is in a liquid state.
  • the heat storage material 12 is allowed to stand for a predetermined time while the temperature is maintained. During this time, the heat storage material 12 is introduced into the pores of the inorganic porous body.
  • the present inventors believe that the heat storage material 12 is introduced into the pores of the inorganic porous body by capillary action.
  • the heat storage material 12 is cooled at a temperature of minus 30 degrees Celsius or lower.
  • the heat storage material 12 is cooled to 58 ° C. or lower, and after being subcooled, seed crystals made of sodium acetate trihydrate are added to the heat storage material 12.
  • the heat storage material 12 in the pores is crystallized by cooling at a low temperature of minus 30 degrees Celsius or less or addition of seed crystals in a supercooled state. That is, the heat storage material 12 in the pore changes from the liquid phase to the solid phase. In this way, the fine heat storage material 12 of the solid phase can be formed in the pores of the inorganic porous body.
  • the first electrode 13 a and the second electrode 13 b are electrically connected to the power supply 15 through the wiring and the switch 14.
  • the first electrode 13 a and the second electrode 13 b are both arranged to be in contact with the heat storage material 12.
  • the distance between the first electrode 13a and the second electrode 13b of the portion in contact with the heat storage material 12 is not particularly limited. An example of the distance is 1 mm or more and 30 mm or less.
  • the first electrode 13a has silver, a silver alloy, or a silver compound on its surface. Needless to say, the silver or its alloy is in contact with the heat storage material 12. Examples of silver alloys are silver palladium alloys or silver copper alloys. Examples of silver compounds are silver halide or silver oxide. An example of silver halide is silver bromide.
  • the second electrode 13b need not have silver, a silver alloy, or a silver compound on the surface thereof. It goes without saying that the second electrode 13b may also have silver, a silver alloy or a silver compound on its surface.
  • the shapes of the first electrode 13a and the second electrode 13b are not limited.
  • the shapes of the first electrode 13a and the second electrode 13b are, for example, plate-like or linear.
  • an AC power supply may be used instead of the DC power supply 14.
  • the heat storage device 10 may include a plurality of heat storage tanks 11.
  • Each heat storage tank 11 may include a first electrode 13 a and a second electrode 13 b in contact with each heat storage material 12.
  • the plurality of heat storage tanks 11 can be electrically connected in parallel to the DC power supply 14.
  • the heat storage material 12 is cooled and brought into a subcooling state. In this way, the latent heat is stored in sodium acetate trihydrate.
  • the heat storage device 12 After the heat storage material 12 releases heat, the heat storage device is heated at a temperature of 58 degrees Celsius or more and 80 degrees Celsius or less for repeated use. Thus, the sodium acetate trihydrate contained in the heat storage material 12 melts. In other words, the crystallized sodium acetate trihydrate (ie, solid state sodium acetate trihydrate) melts upon heating.
  • the heat storage material 12 should not be heated to a temperature of 90 degrees Celsius or more. If the heat storage material 12 is heated at a temperature of 90 degrees centigrade or more, as shown in Comparative Example 4 to Comparative Example 12, the viability of the cluster is significantly reduced.
  • the fine heat storage material 12 of solid phase may be formed again.
  • Example 1 The first embodiment is configured of the first embodiment 1A to the first embodiment 1D.
  • Example 1A (Preparation of heat storage device 10) To the thermal storage tank 11, sodium acetate (2.2 grams), water (1.8 grams), and a zeolite having an average pore size of 0.9 nanometers were added.
  • the heat storage tank 11 was a glass sample bottle having a capacity of 9 ml.
  • Zeolite was purchased from Tosoh Corporation under the trade name "X-type zeolite, F-9".
  • the amount of zeolite added was 20% by mass based on the total weight of sodium acetate and water (ie, 4.0 grams). In other words, the amount of zeolite added was 0.8 grams.
  • the heat storage material 12 containing zeolite and containing sodium acetate trihydrate as the main component was stored in the heat storage tank 11.
  • the first electrode 13 a and the second electrode 13 b made of linear silver were dipped in the heat storage material 12.
  • the first electrode 13a and the second electrode 13b had a diameter of 1.5 millimeters.
  • the length of the portion where the first electrode 13a and the second electrode 13b are in contact with the heat storage material 12 was approximately 5 millimeters.
  • the heat storage tank 11 was covered. Thus, the heat storage device 10 according to Example 1 was obtained.
  • the liquid heat storage material 12 contained in the heat storage tank 11 was allowed to stand at a temperature of 70 degrees Celsius for 2 hours. The present inventors believe that the heat storage material 12 has entered into the pores of the zeolite during this time. Thereafter, the heat storage material 12 was cooled to minus 30 degrees Celsius. Thus, the heat storage material 12 was crystallized. The present inventors considered that the heat storage material 12 in the pores and the heat storage material 12 outside the pores also changed from the liquid state to the solid state.
  • the heat storage material 12 contained in the heat storage tank 11 was heated at a temperature of 70 degrees Celsius for 1 hour. Thereby, the heat storage material 12 was melted.
  • the heat storage material 12 was allowed to stand at a stationary temperature of 80 degrees Celsius for a stationary time of 15 minutes. Furthermore, the heat storage material 12 was cooled to room temperature (approximately 25 degrees Celsius). A voltage of 2 volts was applied for approximately 2 minutes between the first electrode 13a and the second electrode 13b, and the inventors visually observed whether the heat storage material 12 was crystallized. The evaluation was repeated six times. Table 1 shows the observation results.
  • the fractional molecule included in Table 1 is the number of times the heat storage material 12 has been crystallized.
  • the denominator of the fractions included in Table 1 is the number of evaluations (ie six times).
  • Example 1B to 1D In Examples 1B-1D, the same experiment as Example 1A was conducted except that the standing time was 30 minutes, 1 hour and 2 hours, respectively. The experimental results are shown in Table 1.
  • Example 2 The same experiment as Example 1 was conducted except for the following items (i) and (ii).
  • mesoporous silica purchased from Sigma-Aldrich under the trade name “MCM-41”, average pore size: 2.5 nm to 3.0 nm
  • MCM-41 average pore size: 2.5 nm to 3.0 nm
  • the amount of mesoporous silica added was 15% by mass (ie, 0.6 gram) based on the total weight of sodium acetate and water (ie, 4.0 gram).
  • Example 3 The same experiment as in Example 1 was conducted except for the following item (i).
  • activated carbon purchased from Calgon Carbon Japan Co., Ltd. under the trade name “Ladhus activated carbon”, average pore diameter: 1.0 nm to 3.0 nm was used.
  • Example 4 The same experiment as in Example 1 was conducted except for the following item (i).
  • silica gel purchased from Fuji Silysia Chemical Co., Ltd. under the trade name “MB100”, average pore diameter: 10 nm was used.
  • Example 5 The same experiment as in Example 1 was conducted except for the following item (i).
  • silica gel purchased from Fuji Silysia Chemical Co., Ltd. under the trade name “MB300”, average pore diameter: 30 nm was used.
  • Example 6 The same experiment as in Example 1 was conducted except for the following item (i).
  • silica gel purchased from Fuji Silysia Chemical Co., Ltd. under the trade name “MB500”, average pore diameter: 50 nm was used.
  • Example 1 The same experiment as in Example 1 was conducted except that the zeolite was not added to the heat storage tank 11.
  • silica gel purchased from Fuji Silysia Chemical Co., Ltd. under the trade name “MB800”, average pore diameter: 80 nm was used.
  • silica purchased from Kanto Chemical Co., Ltd.
  • the silica was formed from non-porous amorphous silicon dioxide.
  • the standing temperature needs to be 80 degrees Celsius or less. Otherwise, crystallization of the heat storage material 12 often fails.
  • the average pore size needs to be 50 nm or less. Otherwise, crystallization of the heat storage material 12 often fails.
  • the inorganic porous material is preferably silica gel or activated carbon.
  • the heat storage material 12 has a melting point (that is, 58 degrees Celsius or higher) and 80 degrees Celsius by adding an inorganic porous material having an average pore diameter of 50 nanometers or less to the heat storage material 12. Even after the temperature is maintained at a high temperature below, it is possible to extract latent heat by voltage application.
  • the latent heat can be extracted by the application of the voltage.
  • the heat storage device according to the present invention is attached to a vehicle equipped with an engine that drives wheels.
  • the heat released from the heat storage material 12 is used to warm up an internal combustion engine such as an engine provided in a vehicle.
  • the heat storage device according to the present invention is also attached to a boiler, an air conditioner or a water heater.

Landscapes

  • Engineering & Computer Science (AREA)
  • Chemical & Material Sciences (AREA)
  • Thermal Sciences (AREA)
  • Physics & Mathematics (AREA)
  • Combustion & Propulsion (AREA)
  • Mechanical Engineering (AREA)
  • General Engineering & Computer Science (AREA)
  • Materials Engineering (AREA)
  • Chemical Kinetics & Catalysis (AREA)
  • Organic Chemistry (AREA)
  • Dispersion Chemistry (AREA)
  • Secondary Cells (AREA)
  • Electric Double-Layer Capacitors Or The Like (AREA)
PCT/JP2018/011975 2017-06-29 2018-03-26 蓄熱装置 Ceased WO2019003523A1 (ja)

Priority Applications (2)

Application Number Priority Date Filing Date Title
EP18822641.9A EP3647708B1 (en) 2017-06-29 2018-03-26 Method for releasing heat
US16/667,946 US11268003B2 (en) 2017-06-29 2019-10-30 Heat storage device

Applications Claiming Priority (2)

Application Number Priority Date Filing Date Title
JP2017126876A JP6733615B2 (ja) 2017-06-29 2017-06-29 蓄熱装置
JP2017-126876 2017-06-29

Related Child Applications (1)

Application Number Title Priority Date Filing Date
US16/667,946 Continuation US11268003B2 (en) 2017-06-29 2019-10-30 Heat storage device

Publications (1)

Publication Number Publication Date
WO2019003523A1 true WO2019003523A1 (ja) 2019-01-03

Family

ID=64741410

Family Applications (1)

Application Number Title Priority Date Filing Date
PCT/JP2018/011975 Ceased WO2019003523A1 (ja) 2017-06-29 2018-03-26 蓄熱装置

Country Status (4)

Country Link
US (1) US11268003B2 (enExample)
EP (1) EP3647708B1 (enExample)
JP (1) JP6733615B2 (enExample)
WO (1) WO2019003523A1 (enExample)

Cited By (1)

* Cited by examiner, † Cited by third party
Publication number Priority date Publication date Assignee Title
WO2023162972A1 (ja) * 2022-02-24 2023-08-31 パナソニックホールディングス株式会社 蓄冷材

Families Citing this family (1)

* Cited by examiner, † Cited by third party
Publication number Priority date Publication date Assignee Title
EP4102167B1 (en) * 2021-06-07 2024-01-31 GGD Global Green Developer APS A thermal system for thermal energy storage

Citations (9)

* Cited by examiner, † Cited by third party
Publication number Priority date Publication date Assignee Title
JPS60243189A (ja) * 1984-05-17 1985-12-03 Nok Corp 蓄熱材
JPS61204293A (ja) 1985-03-07 1986-09-10 Hitachi Chem Co Ltd 蓄熱槽
JPH0596769U (ja) * 1991-08-01 1993-12-27 エヌオーケー株式会社 過冷却液体の発核装置
JPH06117787A (ja) * 1992-10-05 1994-04-28 Mitsubishi Motors Corp 蓄熱装置
JPH09143461A (ja) * 1995-11-24 1997-06-03 Toyota Central Res & Dev Lab Inc 蓄熱材
JP2008020177A (ja) 2006-06-15 2008-01-31 Matsushita Electric Ind Co Ltd 蓄熱システム
JP2012078030A (ja) * 2010-10-04 2012-04-19 Honda Motor Co Ltd 蓄熱装置
JP2013067720A (ja) 2011-09-22 2013-04-18 Panasonic Corp 過冷却防止剤、蓄熱方法及び蓄熱システム
JP2016044917A (ja) * 2014-08-25 2016-04-04 株式会社東芝 蓄熱装置

Family Cites Families (25)

* Cited by examiner, † Cited by third party
Publication number Priority date Publication date Assignee Title
US3806433A (en) * 1966-04-04 1974-04-23 I Diller Method and apparatus for the activation of an electrolytic cell
DE2731572C3 (de) * 1977-07-13 1980-09-18 Philips Patentverwaltung Gmbh, 2000 Hamburg Wärmespeichermittel
US4248291A (en) * 1978-10-18 1981-02-03 Seymour Jarmul Compact thermal energy reservoirs
US4491172A (en) * 1981-04-22 1985-01-01 Thermal Energy Storage, Inc. Energy storage apparatus
US4529488A (en) * 1982-06-29 1985-07-16 Nippon Gohsei Kagaku Kogyo Kabushiki Kaisha Process for depositing salts
FR2569418B1 (fr) * 1984-08-27 1986-12-05 Solvay Composition a base de chlorure de calcium hexahydrate pour le stockage de calories par changement de phase et procede pour sa preparation
JPH0239175Y2 (enExample) 1986-02-20 1990-10-22
JPS63116073A (ja) * 1986-10-31 1988-05-20 株式会社東芝 蓄熱式ヒ−トポンプ
JPH0760075B2 (ja) * 1987-01-31 1995-06-28 株式会社東芝 蓄熱装置
US4949549A (en) * 1987-07-07 1990-08-21 International Thermal Packaging, Inc. Cooling device with improved waste-heat handling capability
US5378337A (en) * 1992-05-12 1995-01-03 Nok Corporation Electrical nucleation device for supercooled heat storage medium
JP2943609B2 (ja) * 1994-06-21 1999-08-30 トヨタ自動車株式会社 蓄熱装置
GB9514252D0 (en) * 1995-07-12 1995-09-13 Univ Strathclyde Mouldable product
CA2208695C (en) * 1996-06-25 2007-03-20 Kenji Saita Heat storage system and heat release control method
JP3588630B2 (ja) * 2000-09-06 2004-11-17 独立行政法人産業技術総合研究所 蓄熱式加熱体
JP4175388B2 (ja) * 2006-06-05 2008-11-05 トヨタ自動車株式会社 蓄熱装置及びエンジン
DE202011002156U1 (de) * 2011-01-31 2011-05-26 Promat GmbH, 40878 Latentwärmespeicher
JP5670853B2 (ja) * 2011-09-27 2015-02-18 株式会社東芝 空調システム
US9410747B2 (en) * 2011-12-06 2016-08-09 Korea Institute Of Construction Technology Porous material having micropores capable of storing and releasing heat by phase change and preparation method thereof
JP5875532B2 (ja) 2013-01-15 2016-03-02 三菱電機株式会社 蓄熱装置
US20150241136A1 (en) * 2014-02-21 2015-08-27 Panasonic Intellectual Property Management Co., Ltd. Heat storage device and method of using latent heat storage material
US10161688B2 (en) * 2014-04-02 2018-12-25 Panasonic Intellectual Property Management Co., Ltd. Heat storage apparatus, method for storing heat, and method for producing heat storage apparatus
JP2016006370A (ja) * 2014-05-29 2016-01-14 パナソニックIpマネジメント株式会社 潜熱蓄熱材における結晶核形成方法及び蓄熱装置
JP6590607B2 (ja) * 2014-09-29 2019-10-16 パナソニック株式会社 蓄熱材組成物、蓄熱装置及び蓄熱方法
JP2017053528A (ja) 2015-09-08 2017-03-16 株式会社東芝 蓄熱装置、過冷却解除装置

Patent Citations (9)

* Cited by examiner, † Cited by third party
Publication number Priority date Publication date Assignee Title
JPS60243189A (ja) * 1984-05-17 1985-12-03 Nok Corp 蓄熱材
JPS61204293A (ja) 1985-03-07 1986-09-10 Hitachi Chem Co Ltd 蓄熱槽
JPH0596769U (ja) * 1991-08-01 1993-12-27 エヌオーケー株式会社 過冷却液体の発核装置
JPH06117787A (ja) * 1992-10-05 1994-04-28 Mitsubishi Motors Corp 蓄熱装置
JPH09143461A (ja) * 1995-11-24 1997-06-03 Toyota Central Res & Dev Lab Inc 蓄熱材
JP2008020177A (ja) 2006-06-15 2008-01-31 Matsushita Electric Ind Co Ltd 蓄熱システム
JP2012078030A (ja) * 2010-10-04 2012-04-19 Honda Motor Co Ltd 蓄熱装置
JP2013067720A (ja) 2011-09-22 2013-04-18 Panasonic Corp 過冷却防止剤、蓄熱方法及び蓄熱システム
JP2016044917A (ja) * 2014-08-25 2016-04-04 株式会社東芝 蓄熱装置

Cited By (1)

* Cited by examiner, † Cited by third party
Publication number Priority date Publication date Assignee Title
WO2023162972A1 (ja) * 2022-02-24 2023-08-31 パナソニックホールディングス株式会社 蓄冷材

Also Published As

Publication number Publication date
US11268003B2 (en) 2022-03-08
EP3647708A4 (en) 2020-07-15
EP3647708B1 (en) 2021-07-21
US20200063012A1 (en) 2020-02-27
EP3647708A1 (en) 2020-05-06
JP6733615B2 (ja) 2020-08-05
JP2019011874A (ja) 2019-01-24

Similar Documents

Publication Publication Date Title
JP5003213B2 (ja) 蓄熱剤、包接水和物の蓄熱速度を増加させる方法
WO2019003523A1 (ja) 蓄熱装置
US10921064B2 (en) Heat storage apparatus, method for storing heat, and method for producing heat storage apparatus
JP2016108535A (ja) 蓄熱材組成物、蓄熱装置及び蓄熱方法
TW200804176A (en) Methods for hydrogen storage and refrigeration
CN104531077A (zh) 膨胀石墨基水合盐复合固-固相变储能材料的制备方法
WO2021000439A1 (zh) 相变储热硅胶、制备方法及其应用
JP2018059676A (ja) 蓄熱装置
JP2017078163A (ja) 潜熱蓄冷材
US20150153110A1 (en) Heat storage material composition, and auxiliary heat source and heat supply method using the same
JP2013067720A (ja) 過冷却防止剤、蓄熱方法及び蓄熱システム
JP2019196867A (ja) 蓄熱方法および蓄熱装置
JP5660949B2 (ja) 蓄熱材組成物
JP5573193B2 (ja) 蓄熱材組成物
JP2019011874A5 (enExample)
JP4394594B2 (ja) シリコーン液入り静止誘導器
US4604223A (en) Heat storage material
JP2007314741A (ja) 潜熱蓄熱材組成物
JP2009051905A (ja) 包接水和物を生成する性質を有する水溶液、第四級アンモニウム塩をゲスト化合物とする包接水和物及び当該包接水和物のスラリ並びに、包接水和物の生成方法、包接水和物が生成又は成長する速度を増加させる方法及び包接水和物が生成又は成長する際に起こる過冷却現象を防止又は抑制する方法
JP2019207055A (ja) 蓄熱方法および蓄熱装置
JP7422132B2 (ja) 蓄熱材組成物及び蓄熱装置
JP2017036438A (ja) 潜熱蓄熱材
JP2019074246A (ja) 蓄熱装置
JP3880677B2 (ja) 潜熱蓄熱材組成物
JP5590102B2 (ja) 包接水和物の蓄熱速度の増加方法、包接水和物が生成又は成長する速度の増加方法、包接水和物及び包接水和物のスラリ

Legal Events

Date Code Title Description
121 Ep: the epo has been informed by wipo that ep was designated in this application

Ref document number: 18822641

Country of ref document: EP

Kind code of ref document: A1

NENP Non-entry into the national phase

Ref country code: DE

ENP Entry into the national phase

Ref document number: 2018822641

Country of ref document: EP

Effective date: 20200129