WO2018168911A1 - 電動モビリティおよびその分解方法 - Google Patents

電動モビリティおよびその分解方法 Download PDF

Info

Publication number
WO2018168911A1
WO2018168911A1 PCT/JP2018/009915 JP2018009915W WO2018168911A1 WO 2018168911 A1 WO2018168911 A1 WO 2018168911A1 JP 2018009915 W JP2018009915 W JP 2018009915W WO 2018168911 A1 WO2018168911 A1 WO 2018168911A1
Authority
WO
WIPO (PCT)
Prior art keywords
rear wheel
vehicle body
wheel side
tilt
side vehicle
Prior art date
Legal status (The legal status is an assumption and is not a legal conclusion. Google has not performed a legal analysis and makes no representation as to the accuracy of the status listed.)
Ceased
Application number
PCT/JP2018/009915
Other languages
English (en)
French (fr)
Japanese (ja)
Inventor
豊隆 上月
Current Assignee (The listed assignees may be inaccurate. Google has not performed a legal analysis and makes no representation or warranty as to the accuracy of the list.)
Whill Inc
Original Assignee
Whill Inc
Priority date (The priority date is an assumption and is not a legal conclusion. Google has not performed a legal analysis and makes no representation as to the accuracy of the date listed.)
Filing date
Publication date
Application filed by Whill Inc filed Critical Whill Inc
Priority to CN201880001434.XA priority Critical patent/CN109070967B/zh
Priority to CN201811393523.1A priority patent/CN109484544B/zh
Publication of WO2018168911A1 publication Critical patent/WO2018168911A1/ja
Anticipated expiration legal-status Critical
Ceased legal-status Critical Current

Links

Images

Classifications

    • BPERFORMING OPERATIONS; TRANSPORTING
    • B62LAND VEHICLES FOR TRAVELLING OTHERWISE THAN ON RAILS
    • B62KCYCLES; CYCLE FRAMES; CYCLE STEERING DEVICES; RIDER-OPERATED TERMINAL CONTROLS SPECIALLY ADAPTED FOR CYCLES; CYCLE AXLE SUSPENSIONS; CYCLE SIDE-CARS, FORECARS, OR THE LIKE
    • B62K5/00Cycles with handlebars, equipped with three or more main road wheels
    • B62K5/003Cycles with four or more wheels, specially adapted for disabled riders, e.g. personal mobility type vehicles with four wheels
    • B62K5/007Cycles with four or more wheels, specially adapted for disabled riders, e.g. personal mobility type vehicles with four wheels power-driven
    • AHUMAN NECESSITIES
    • A61MEDICAL OR VETERINARY SCIENCE; HYGIENE
    • A61GTRANSPORT, PERSONAL CONVEYANCES, OR ACCOMMODATION SPECIALLY ADAPTED FOR PATIENTS OR DISABLED PERSONS; OPERATING TABLES OR CHAIRS; CHAIRS FOR DENTISTRY; FUNERAL DEVICES
    • A61G5/00Chairs or personal conveyances specially adapted for patients or disabled persons, e.g. wheelchairs
    • A61G5/04Chairs or personal conveyances specially adapted for patients or disabled persons, e.g. wheelchairs motor-driven
    • AHUMAN NECESSITIES
    • A61MEDICAL OR VETERINARY SCIENCE; HYGIENE
    • A61GTRANSPORT, PERSONAL CONVEYANCES, OR ACCOMMODATION SPECIALLY ADAPTED FOR PATIENTS OR DISABLED PERSONS; OPERATING TABLES OR CHAIRS; CHAIRS FOR DENTISTRY; FUNERAL DEVICES
    • A61G5/00Chairs or personal conveyances specially adapted for patients or disabled persons, e.g. wheelchairs
    • A61G5/10Parts, details or accessories
    • BPERFORMING OPERATIONS; TRANSPORTING
    • B62LAND VEHICLES FOR TRAVELLING OTHERWISE THAN ON RAILS
    • B62KCYCLES; CYCLE FRAMES; CYCLE STEERING DEVICES; RIDER-OPERATED TERMINAL CONTROLS SPECIALLY ADAPTED FOR CYCLES; CYCLE AXLE SUSPENSIONS; CYCLE SIDE-CARS, FORECARS, OR THE LIKE
    • B62K15/00Collapsible or foldable cycles

Definitions

  • the present invention relates to an electric mobility and a disassembling method thereof.
  • the present invention has been made in view of such circumstances, and after removing the rear wheel side vehicle body from the front wheel side vehicle body, the rear wheel side vehicle body is formed by a projecting member and a rear wheel protruding from the rear wheel.
  • An object of the present invention is to provide an electric mobility that can be stably supported and that can improve the degree of freedom in designing the rear wheel side vehicle body and a method for disassembling the mobility.
  • the electric mobility according to the first aspect of the present invention includes a front wheel side vehicle body, a rear wheel side vehicle body that is detachably connected to the front wheel side vehicle body, and one end side supported by the rear wheel side vehicle body so that it can tilt in the vertical direction.
  • the other end of the rear wheel provided on the rear wheel side vehicle body protrudes forward or rearward of the vehicle and the tilting member so as not to tilt upward from the first tilting position.
  • Means and an operation means capable of releasing the tilt restriction by the first restricting means.
  • the projecting member when the tilt restriction by the first restricting means is released by the operating means, the projecting member is tilted to the second tilt position above the first tilt position, and the second restricting means is at that position. Therefore, the upward tilt is restricted.
  • the other end portion of the protruding member in a state where the tilting restriction is performed by the first restricting means, the other end portion of the protruding member is positioned near the ground behind the vehicle rather than the rear wheel in a state where the rear wheel side vehicle body is connected to the front wheel side vehicle body.
  • the center of gravity of the rear wheel side vehicle body When the center of gravity of the rear wheel side vehicle body is located in front of the vehicle with respect to the rotation axis of the rear wheel, the position of the center of gravity can be Since it is not disposed between the other end of the projecting member, the rear wheel side vehicle body cannot be stably supported by the rear wheel and the projecting member.
  • the center of gravity of the rear wheel side vehicle body is increased.
  • the position moves to the rear of the vehicle.
  • the position of the center of gravity is disposed between the ground contact portion of the rear wheel and the other end of the protruding member, and the rear wheel side vehicle body can be supported by the rear wheel and the protruding member.
  • the other end of the projecting member is located near the ground in front of the vehicle relative to the rear wheel, and the center of gravity of the rear wheel side vehicle body is closer to the vehicle front than the rear wheel. The same applies to the case of being near the ground.
  • connection lock member is provided on the rear wheel side vehicle body and is movable to a lock position for maintaining the connection between the front wheel side vehicle body and the rear wheel side vehicle body and to a retracted position for releasing the connection.
  • the connection lock member is moved from the lock position to the retracted position when the operation means is operated, and the connection lock member is moved from the lock position to the retracted position by operation of the operation means. It is preferable that the tilting restriction by the first restricting means is released when moving to the position.
  • connection lock member when the connection lock member is moved to the retracted position by the operating means and the connection lock between the front wheel side vehicle body and the rear wheel side vehicle body is released, the tilt restriction by the first restriction means is released, and the protruding member is Tilt to a second tilt position above the first tilt position, and tilting upward is regulated by the second restricting means at that position.
  • the connection release operation when the connection release operation is performed, the rear wheel side vehicle body can be supported by the rear wheel and the protruding member, which is advantageous in facilitating the connection release operation.
  • the first restricting means is a tilt lock member that engages the projecting member at the first tilt position to perform the tilt control, and the retracted position from the lock position of the coupling lock member. It is preferable to further include a link mechanism that interlocks the movement to the position where the tilt lock member engages with the protruding member to the position where the engagement with the protruding member is released.
  • connection lock member and the tilt lock member are tilted, the other is also tilted by the link mechanism, so that when the connection release operation is performed, the tilt restriction by the first restricting means is released in conjunction with each other, and The rear wheel side vehicle body can be reliably supported by the rear wheel and the protruding member.
  • the protruding member is configured to prevent the electric mobility from falling backward when the protruding member is disposed at the first tilt position.
  • the rear wheel side vehicle body can be stably supported after the connection with the front wheel side vehicle body is released by using the protruding member that prevents the electric mobility from falling backward. There is no need to provide a dedicated member for supporting.
  • the operation means is a tiltable operation lever provided in the rear wheel side vehicle body, and one of the connection lock member and the tilt lock member is operated by the tilt of the operation lever, and the other is It is preferable to be configured to be operated via the link mechanism.
  • the tilt restriction state by the first restricting means and the lock state by the connecting lock member can be physically confirmed. Unreasonable operations such as tilting the rear wheel side vehicle body in a state where the regulation and the lock by the connecting lock member are not released are prevented. Further, when the front wheel side vehicle body and the rear wheel side vehicle body are connected, the state of tilting restriction by the first restricting means and the state of locking by the connecting lock member can be physically confirmed.
  • the tilting of the projecting member is restricted and the tilting of the projecting member above the second tilting position is regulated by contacting the predetermined frame.
  • a method for disassembling electric mobility in which a rear wheel side vehicle body can be detached from a front wheel side vehicle body, wherein the rear wheel side vehicle body includes a protruding member and a first restricting means.
  • the projecting member is supported at one end side by the rear wheel side vehicle body and can tilt in the vertical direction, and the other end portion of the projecting member is a rear wheel provided on the rear wheel side vehicle body.
  • the first projecting means projects from the outer peripheral surface to the front or rear of the vehicle, and the first regulating means regulates the tilt of the projecting member so as not to tilt upward from the first tilt position.
  • the other end portion of the protruding member is positioned near the ground behind the vehicle rather than the rear wheel in a state where the rear wheel side vehicle body is connected to the front wheel side vehicle body.
  • the center of gravity of the rear wheel side vehicle body is located in front of the vehicle with respect to the rotation axis of the rear wheel, the position of the center of gravity is the same as the grounding portion of the rear wheel even if the other end of the protruding member is grounded. Since it is not disposed between the other end of the projecting member, the rear wheel side vehicle body cannot be stably supported by the rear wheel and the projecting member.
  • the position of the center of gravity of the rear wheel side vehicle body is the vehicle.
  • the position of the center of gravity is disposed between the ground contact portion of the rear wheel and the other end of the protruding member, and the rear wheel side vehicle body can be supported by the rear wheel and the protruding member.
  • the rear wheel side vehicle body after the rear wheel side vehicle body is removed from the front wheel side vehicle body, the rear wheel side vehicle body can be stably supported by the projecting member and the rear wheel projecting from the rear wheel.
  • the degree of freedom in designing the side body can be improved.
  • the electric mobility has a mobility main body 30 as shown in FIGS. 1 to 3, and the mobility main body 30 is supported by a pair of front wheels 10, a pair of rear wheels 20, and a front wheel 10 and a rear wheel 20.
  • the electric mobility includes a seat unit 40 that is detachably attached to the mobility main body 30, and a motor 50 that is attached to the mobility main body 30 and drives at least one of the pair of front wheels 10 and the pair of rear wheels 20.
  • the vehicle front-rear direction may be referred to as the front-rear direction
  • the vehicle width direction may be referred to as the width direction.
  • a motor 50 is connected to each of the pair of rear wheels 20, and the two rear wheels 20 can be driven by each motor 50.
  • You may comprise so that the driving force of the motor 50 may be transmitted to a pair of front wheels 10 via power transmission means, such as a belt and a gear.
  • Each front wheel 10 is supported by the body 31 via an axle, a suspension, etc. (not shown).
  • Each front wheel 10 has a ground contact surface formed by a plurality of rollers 13 and 14 arranged in the circumferential direction.
  • the outer shape of the roller 13 is smaller than the outer shape of the roller 14, and the roller 13 and the roller 14 are alternately arranged in the circumferential direction.
  • each front wheel 10 includes a hub 15 attached to the axle, and a plurality of roller support shafts arranged in the circumferential direction of the hub 15 and supported by the hub 15, respectively. Each is rotatably supported on a roller spindle.
  • the hub 15 may be directly attached to the axle via a bearing or the like, or may be attached to the axle via a buffer member or other intermediate member.
  • each of the rollers 13 and 14 can rotate around an axis extending in a direction intersecting the radial direction of the axle, and each front wheel 10 can move in all directions with respect to the ground plane. It is a moving wheel.
  • each rear wheel 20 is provided on an axle (may be common with the main shaft of the motor 50), a hub 22 attached to the axle, and an outer peripheral side of the hub 22, and the outer peripheral surface has rubber-like elasticity.
  • the outer peripheral member 23 is made of a material, an omnidirectional moving wheel may be used similarly to the front wheel 10.
  • each front wheel 10 may be the same wheel as the rear wheel 10.
  • each front wheel 10 may be the same wheel as the rear wheel 20, and means for changing the steering angle of the front wheel 10 and / or the rear wheel 20 may be provided.
  • the mobility main body 30 includes a front wheel side vehicle body 110 and a rear wheel side vehicle body 120 that is detachably connected to the front wheel side vehicle body 110.
  • the front wheel side vehicle body 110 is formed so as to extend along the ground, and is provided so as to cover at least a part of the front wheel side frame 111 and the front wheel side frame 111 to which the axle of the front wheel 10 is attached.
  • a front wheel side cover 110a used for protection, a part on which a foot of a passenger sitting on the seat unit 40 is placed, a luggage placing part, mudguard and the like.
  • the front wheel side frame 111 is made of a material suitable for obtaining strength, such as metal.
  • the first to third cross members 113a to 113c extend in the vehicle width direction and connect the pair of side members 112 to each other.
  • a first cross member (first front engaging portion) 113a is provided at a rear end portion of the pair of side members 112, and a second cross member (second front side engaging portion) is provided.
  • the joint portion 113b is disposed on the vehicle front side with respect to the first cross member 113a.
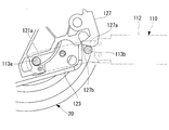
  • the rear wheel side body 120 supports the motor 50 and the rear wheel 20 on both sides in the vehicle width direction, and the rear wheel side frame 121 that supports the seat unit 40 on the upper end side, and at least a part of the rear wheel side frame 121.
  • the rear wheel side cover 120a is provided so as to cover and used for protection of the rear wheel side frame 121, mudguard and the like.
  • the rear wheel side frame 121 is made of a material suitable for obtaining strength such as metal, and as shown in FIGS. 3 and 5, for example, a lower member 122 having a pair of side members 122a extending in the front-rear direction.
  • a pair of motor fixing portions 123 in the vehicle width direction to which the motor 50 to which the rear wheel 20 is attached is fixed, and a pair of motor fixing portions 123 extending in the vehicle width direction and connecting the pair of motor fixing portions 123 to each other.
  • each fall prevention member 126 includes a metal tilting member 126a supported at one end side by the rear wheel side frame 121 and tiltable in the vertical direction, and an auxiliary wheel 126b rotatably supported at the other end of the tilting member 126a.
  • One end side of the fall prevention member 126 is supported by the rear wheel side frame 121 and can be tilted in the vertical direction, and the auxiliary wheel 126b as the other end portion protrudes rearward of the pair of rear wheels 20.
  • the pair of fall prevention members 126 are connected to each other by the connecting member 126c, whereby the pair of fall prevention members 126 are tilted together in the vertical direction.
  • a seat support portion 33 for supporting the seat unit 40 is formed on the body 31 by the support portion frame 125 and a portion of the rear wheel side cover 120a that covers the support portion frame 125.
  • the support portion frame 125 is inclined forward of the vehicle from the lower end side toward the upper end side. Therefore, the seat support portion 33 is also inclined forward of the vehicle from the lower end side toward the upper end side. Since the support part frame 125 has such a shape, the center of gravity of the rear wheel side vehicle body 120 is disposed in front of the vehicle with respect to the rotational axis 20a of the rear wheel 20 to such an extent that the center of gravity can be clearly seen.
  • the seat support portion 33 has a front surface 33a, a back surface 33b, and a pair of side surfaces 33c disposed between the front surface 33a and the back surface 33b.
  • a handle portion 125 c is integrally provided on the upper end side of the support portion frame 125, and the handle portion 125 c protrudes from the upper end side of the back surface 33 b of the seat support portion 33. It is preferable that the position of the handle portion 125c to be gripped by the hand is arranged in front of the rotation axis 20a of the rear wheel 20 of the rear wheel side vehicle body 120 connected to the front wheel side vehicle body 110.
  • a rechargeable battery BA is detachably attached to the seat support 33.
  • the front surface 33a and the rear surface 33b of the seat support portion 33 are inclined forward from the lower end side toward the upper end side, and an opening portion of an accommodation space 33d for accommodating the battery BA is provided on the rear surface 33b.
  • a control unit 60 described later is disposed in the seat support portion 33.
  • the seat mounting member 32 is a member having a longitudinal length, and is provided with a plurality of positioning holes 32a spaced in the vertical direction. Each positioning hole 32a penetrates the seat mounting member 32 in a direction orthogonal to the longitudinal direction thereof.
  • a cylindrical portion 125a through which the seat mounting member 32 is inserted in the vertical direction is provided on the upper end side of the support portion frame 125, and a support portion side hole 125b penetrating in the front-rear direction is provided in the cylindrical portion 125a.
  • the inner shape of the cylindrical portion 125 a is slightly larger than the outer shape of the seat mounting member 32.
  • the seat mounting member 32 is inserted into the cylindrical portion 125a, and any positioning hole 32a and the support portion side hole 125b are aligned, and the positioning member 32b is inserted into the support portion side hole 125b and the positioning hole 32a.
  • the seat attachment member 32 is attached by attaching to the cylindrical part 125a. Further, by changing the positioning hole 32a through which the positioning member 32b is inserted, the height position of the seat mounting member 32 relative to the mobility main body 30, that is, the height position of the seat unit 40 can be adjusted.
  • the seat unit 40 is fixed under the seat surface portion 41, the backrest portion 42, the pair of control arms 43 in the vehicle width direction, and the seat surface portion 41, and is attached to and detached from the seat mounting member 32 of the seat support portion 33. And a seating frame 44 that can.
  • An operation portion 43a having an operation lever 43b is provided at the upper end of the right control arm 43.
  • the operation lever 43b is moved by a biasing member (not shown) disposed in the operation portion 43a. It is arranged at the neutral position, and the rider can displace the operation lever 43b in the right direction, the left direction, the front direction, and the rear direction with respect to the neutral position with the right hand.
  • a signal corresponding to the displacement direction and displacement amount of the operation lever 43b is transmitted from the operation unit 43a to the control unit 60 described later, and each motor 50 is driven according to the signal.
  • the operation lever 43b is displaced in the forward direction with respect to the neutral position
  • a signal for rotating each motor 50 toward the front of the vehicle is transmitted, and the electric mobility advances at a speed corresponding to the displacement amount of the operation lever 43b.
  • the operation lever 43b is displaced diagonally left forward with respect to the neutral position, a signal for rotating the left motor 50 toward the front of the vehicle at a slower speed than the right motor 50 is transmitted, and the electric mobility is operated by the operation lever.
  • the vehicle advances while turning left at a speed corresponding to the amount of displacement 43b.
  • the upper end of the left control arm 43 is provided with a setting unit 43c capable of performing various settings related to electric mobility such as maximum speed setting, operation mode setting, electric mobility lock setting, and the like. Operating buttons, a display device and the like are provided.
  • the driving mode an energy saving driving mode that suppresses power consumption, a sports driving mode that emphasizes driving performance without reducing power consumption, a normal driving mode between the energy saving driving mode and the sports driving mode, etc.
  • Examples of the setting of electric mobility lock include setting of a personal identification number for locking, setting of unlock timing, and the like.
  • the setting signal of the setting unit 43c is transmitted to the control unit 60 described later, and the setting of the electric mobility is registered or changed in the control unit 60.
  • the control unit 60 includes a motor driver 70 that drives each motor 50 and a control device 80.
  • the motor driver 70 is connected to the battery BA through a power line and is connected to each motor 50 through a power line, and drives each motor 50 by supplying power.
  • the control device 80 includes, for example, a control unit 81 having a CPU, a RAM, a storage device 82 having a nonvolatile memory, a ROM, and the like, and a transmission / reception unit 83.
  • the storage device 82 stores a program for controlling the electric mobility.
  • the control unit 81 operates based on the program, and drives each motor 50 based on signals from the operation unit 43a and the setting unit 43c. A drive signal is transmitted to the motor driver 70.
  • each side member 122a of the rear wheel side frame 121 has a substantially U-shaped first recess (first rear engagement portion) 121a that opens toward the front of the vehicle. And a substantially U-shaped second recess (second rear engagement portion) 121b that is disposed in front of the vehicle relative to the first recess 121a and opens downward is formed. .
  • the first recess 121a is engaged with the first cross member 113a of the front wheel side frame 111
  • the second recess 121b is engaged with the second cross member 113b of the front wheel side frame 111 (See FIG. 9).
  • the front wheel side frame 111 is in a state where the rear wheel side vehicle body 120 is tilted rearward around the rotation axis 20 a of the rear wheel 20 rather than being connected to the front wheel side vehicle body 110.
  • the first cross member 113a is placed in the pair of first recesses 121a. In this state, each of the first recesses 121a is opened obliquely upward, so that the first cross member 113a of the front wheel side vehicle body 110 is difficult to drop off from the first recess 121a.
  • the second cross member 113 b of the front wheel side frame 111 is paired with a pair. It enters the second recess 121b from below. Accordingly, the vertical movement of the first cross member 113a with respect to the rear wheel side frame 121 is restricted by the pair of side surfaces 121c of the first recess 121a shown in FIG. 11, and the rear wheel side of the second cross member 113b. The upward movement with respect to the frame 121 is restricted by the bottom surface 121f of the second recess 121b shown in FIG.
  • the movement in the front-rear direction with respect to the rear wheel side frame 121 of the second cross member 113b is performed by the pair of side surfaces 121e (see FIG. 11) of the second recess 121b, or by the pair of side surfaces 121e of the second recess 121b and later.
  • the connection lock member 127 is regulated. In this way, the front wheel side vehicle body 110 and the rear wheel side vehicle body 120 are connected. Note that the backward movement of the first cross member 113a relative to the rear wheel side frame 121 is also restricted by the bottom surface 121d of the first recess 121a.
  • the rear wheel side frame 121 is provided with a connecting lock member 127 that tilts around a tilt axis 127c extending in the vehicle width direction.
  • One end side of the connection lock member 127 is supported by one of the pair of side members 122a, the plurality of cross members 124a to 124c, the support portion frame 125, etc., and the connection lock member 127 tilts around the tilt axis 127c.
  • the connection lock member 127 is disposed on the inner side in the vehicle width direction than the pair of second recesses 121b provided in the pair of side members 122a in the vehicle width direction.
  • the connecting lock member 127 is urged by an urging member 127d such as a torsion spring so that the other end tilts backward. Further, when the connecting lock member 127 is tilted rearward by the biasing member 127d, a part of the connecting lock member 127 or a member fixed to the connecting lock member 127 comes into contact with a part of the rear wheel side frame 121, and The connection lock member 127 is configured not to tilt to the rear side of the vehicle with respect to the contact position.
  • an urging member 127d such as a torsion spring
  • the connecting lock member 127 is formed with a protruding portion 127a that protrudes rearward, and when the connecting lock member 127 is tilted rearward by the biasing member 127d and disposed at the lock position A indicated by the solid line in FIG.
  • the protrusion 127a is configured to come into contact with the second cross member 113b entering the second recess 121b from below. For this reason, the engagement between the second cross member 113b and the second recess 121b is maintained by the connection lock member 127. That is, the connection between the front wheel side vehicle body 110 and the rear wheel side vehicle body 120 is maintained by the connection lock member 127.
  • a part of the protrusion 127a (a part at the rear of the vehicle) is located at the rear of the pair of side surfaces 121e of the second recess 121b. It arrange
  • connection lock member 127 has an inclined surface 127b that is inclined rearward from the bottom upward when the front wheel body 110 and the rear wheel body 120 are connected. Is provided. Then, when the rear wheel side vehicle body 120 is tilted forward of the vehicle around the rotation axis 20a of the rear wheel 20 with the first cross member 113a of the front wheel side frame 111 being in the pair of first recesses 121a, The second cross member 113b is configured to contact the inclined surface 127b from below (see FIG. 10).
  • the connecting lock member 127 tilts forward of the vehicle against the urging force of the urging member 127d, whereby the second cross member 113b becomes the second cross member 113b.
  • the connecting lock member 127 is tilted rearward by the biasing member 127d, and the front wheel side vehicle body 110 and the rear wheel side vehicle body 120 are moved by the connection lock member 127. The connection with is maintained.
  • Each tilting member 126a is provided with a member engaging portion 126e that engages the cross member 124a from above, behind the vehicle, or from below. Further, on each tilting member 126a, the other end side of the member engaging portion 126e is engaged with an engaging pin 128a provided at one end portion of the tilting lock member (first restricting means) 128 from above or from the rear of the vehicle.
  • a lock member engaging portion 126f is provided.
  • each tilt lock member 128 is supported by the rear wheel side frame 121 and can be tilted around a tilt axis 128b extending in the vehicle width direction, and an engagement pin 128a is provided at one end (lower end).
  • an engagement pin 128a is provided at one end (lower end).
  • the lock member engaging portion 126f of the fall-preventing member 126 is engaged with the cross member (second restricting means) 124a from above or from the rear of the vehicle. Tilt to is regulated.
  • tilting of the fall prevention member 126 below the third tilt position may be restricted.
  • the second tilt position is above the first tilt position
  • the third tilt position is equivalent to or slightly below the first tilt position.
  • One end of a plate-like link member 129 is connected to the other end of the tilt lock member 128, and the other end of the link member 129 is connected to a position away from the tilt axis 127c of the connection lock member 127. .
  • the engagement pin 128 a is engaged with the lock member engagement portion 126 f in a state where the connection lock member 127 is disposed at the lock position A, or is disposed at an engageable position.
  • the engagement pin 128a and the lock member engagement portion 126f are not engaged.
  • the other end of the tilt lock member 128 is connected to one end of an operation lever 130 as an operation means, and the operation lever 130 tilts around the tilt axis 128 b of the tilt lock member 128.
  • the other end of the operation lever 130 protrudes from the rear wheel side cover 120a of the rear wheel body 120, so that the operation lever 130 is tilted rearward or downward to engage the engagement lever 130.
  • the engagement between the coupling pin 128a and the lock member engagement portion 126f can be released, and the connection lock member 127 can be disposed at the retracted position B.
  • the position of the center of gravity of the rear wheel side vehicle body 120 is disposed between or near the ground contact position of the rear wheel 20 and the ground contact position of the auxiliary wheel 126b of the fall prevention member 126 in the vehicle longitudinal direction. It is preferable. As a result, the rear wheel side vehicle body 120 is stably supported by the rear wheel 20 and the overturn prevention member 126.
  • each first recess 121a is opened obliquely upward, so that the first cross member 113a of the front wheel side vehicle body 110 is stably in the first recess 121a. Supported. Therefore, the front wheel side vehicle body 110 is removed from the first recess 121a by releasing the handle 125c, lifting the rear end side of the front wheel side vehicle body 110, and pulling out the first cross member 113a from the first recess 121a. Can be removed from. Also at this time, the rear wheel side vehicle body 120 is stably supported by the rear wheel 20 and the fall prevention member 126. After being disassembled in this way, the front wheel side vehicle body 110 and the rear wheel side vehicle body 120 are loaded on an automobile or the like.
  • the auxiliary wheel 126b and the rear wheel 20 of the fall prevention member 126 are grounded in a state where the fall prevention member 126 is disposed at the second tilt position.
  • the first cross member 113a of the front wheel side vehicle body 110 is inserted into the first recess 121a.
  • the front wheel side vehicle body 10 is supported by the first recess 121a and the front wheel 110.
  • the rear wheel body 120 is tilted forward around the axle of the rear wheel 20.
  • the second cross member 113 b comes into contact with the inclined surface 127 b of the connection lock member 127 from below.
  • the connecting lock member 127 tilts forward of the vehicle, whereby the second cross member 113b is moved into the second recess 121b. enter.
  • the connecting lock member 127 is tilted rearward by the biasing member 127d, and the front wheel side vehicle body 110 and the rear wheel side vehicle body 120 are moved by the connection lock member 127. The connection with is maintained.
  • the fall prevention member 126 tilts to the second tilt position above the first tilt position. At this position, the upward tilting is restricted by the cross member 124a. For this reason, when the auxiliary wheel 126b of the fall prevention member 126 is grounded, the position of the center of gravity of the rear wheel-side vehicle body 120 moves to the rear of the vehicle. For example, the position of the center of gravity is the grounding part of the rear wheel 20 and the grounding part of the auxiliary wheel 126b.
  • the rear wheel side vehicle body 120 can be stably supported by the rear wheel 20 and the toppling prevention member 126.
  • connection lock member 127 when the connection lock member 127 is moved to the retracted position B by the operation lever 130 and the connection lock between the front wheel side vehicle body 110 and the rear wheel side vehicle body 120 is released, the tilting by the tilt lock member 128 is performed.
  • the overturn prevention member 126 is tilted to the second tilt position above the first tilt position, and the tilting upward is regulated by the cross member 124a at that position. For this reason, when the connection release operation is performed, the rear wheel body 120 can be stably supported by the rear wheel 20 and the fall-preventing member 126, which is advantageous in facilitating the connection release operation. It is.
  • the link lock member 129 also tilts the link lock member 127. Therefore, the tilt restriction by the tilt lock member 128 is released in conjunction with the release operation of the connection, and the rear wheel side vehicle body 120 can be stably and stably supported by the rear wheel 20 and the fall prevention member 126. Can be in a state.
  • the operation lever 130 may be fixed to the connection lock member 127, and when the connection lock member 127 is tilted, the tilt lock member 128 may also be tilted by the link member 129.
  • a fall prevention member 126 that is disposed at the first tilt position and prevents the electric mobility from falling backward is provided between the front wheel side vehicle body 110 and the front wheel side vehicle body 110. Since it is used to support the rear wheel side vehicle body 120 that has been released from the connection, there is no need to provide a dedicated member for supporting the rear wheel side vehicle body 120.
  • the tilting restriction state by the tilting lock member 128 and the locking state by the connecting lock member 127 are physically confirmed. can do. For this reason, unreasonable operations such as tilting the rear wheel side vehicle body 120 rearward in a state where the tilting restriction by the tilting lock member 128 and the lock by the connecting lock member 127 are not released are prevented.
  • the front wheel side vehicle body 110 and the rear wheel side vehicle body 120 are connected, the state of tilt restriction by the tilt lock member 128 and the state of lock by the connection lock member 127 can be physically confirmed.
  • the downward tilt of the fall prevention member 126 is restricted by the cross member 124a of the rear wheel side frame 121. Further, even when the restriction of the tilting by the tilt lock member 128 is released and the tipping prevention member 126 is tilted to the second tilting position, the upward tilting of the tipping prevention member 126 is restricted by the same cross member 124a. For this reason, the configuration for controlling the tilting of the fall prevention member 126 can be simplified, which is advantageous in electric mobility where there is a strong demand for weight reduction and design space is limited.
  • the tilting lock member 128 and the connecting lock member 127 are tilted by the operation lever 130.
  • the output shaft of the speed reducer is connected to at least one of the tilting lock member 128 and the connecting lock member 127.
  • the drive shaft of the speed reducer can be configured to be driven by a motor.
  • the control device 80 may be configured to control the motor 50 based on the lock release signal or the lock signal received by the control device 80.
  • the seat unit 40 is disassembled into the front wheel side vehicle body 110 and the rear wheel side vehicle body 120 after being removed from the mobility main body 30.
  • the seat unit 40 is attached to the front wheel side vehicle body 110 instead of the rear wheel side vehicle body 120, or when the seat unit 40 is small, it may not be necessary to remove the seat unit 40.
  • the fall prevention member 126 protrudes rearward of the rear wheel 20 and tilts the fall prevention member 126 upward so that the auxiliary wheel 126b and the rear wheel 20 at the other end of the fall prevention member 126
  • the support for the rear wheel side vehicle body 120 is shown.
  • the fall prevention member 126 may be configured without the auxiliary wheel 126b. Even in this case, the fall prevention member 126 can prevent the electric mobility from falling backward, and the rear wheel side vehicle body 120 can be supported by the other end portion of the fall prevention member 126 and the rear wheel 20.
  • the fall prevention member 126 when the center of gravity of the rear wheel side vehicle body 120 is located behind the rotation axis 20a of the rear wheel 20, the fall prevention member 126 is located above the first tilt position.
  • one end of the projecting member is supported by the rear wheel side vehicle body 120 and can be tilted in the vertical direction. Further, in a connected state of the front wheel side vehicle body 110 and the rear wheel side vehicle body 120, the projecting member is disposed at the first tilt position so as to extend in the vehicle longitudinal direction, for example. When the connection between the front wheel side vehicle body 110 and the rear wheel side vehicle body 120 is released, or after that, the projecting member can be tilted to a second tilt position that is higher than the first tilt position. As a result, when the rear wheel side vehicle body 120 is supported by the other end portion of the protruding member and the rear wheel 20, the position of the center of gravity of the rear wheel side vehicle body 120 moves forward of the vehicle as compared with the connection.
  • the rear wheel side frame 121 is provided with a cross member, an engagement pin, etc. extending in the vehicle width direction instead of the first recess 121a, and each side member 112 of the front wheel side frame 111 is replaced with the first cross member 113a.
  • a substantially U-shaped recess opening obliquely downward toward the front of the vehicle may be provided, and the recess may be configured such that a cross member, an engagement pin, or the like of the rear wheel side frame 121 is engaged with each recess.
  • each side member 112 of the front wheel side frame 111 is replaced with the second cross member 113b.
  • a substantially U-shaped recess that opens upward may be provided, and a cross member, an engagement pin, and the like of the rear wheel side frame 121 may be engaged with each recess.
  • the front wheel side vehicle body 110 and the rear wheel side vehicle body 120 may be configured to be detachably connected by other methods.
  • the first recess 121a contacts the first cross member 113a from below, above, and from the rear of the vehicle when the front wheel side vehicle body 110 and the rear wheel side vehicle body 120 are connected, and opens to the front of the vehicle. If it exists, even if it is another shape, there exists an effect similar to the above-mentioned.
  • the second recess 121b is also configured so as to contact the second cross member 113b from the upper side, the rear side of the vehicle, and the front side of the vehicle when the front wheel side vehicle body 110 and the rear wheel side vehicle body 120 are connected, and open downward. Even in other shapes, the same effects as described above can be obtained.
  • the front wheel side frame 111 when the front wheel side frame 111 is provided with a recess opening obliquely downward toward the front of the vehicle instead of the first cross member 113a, the front wheel side vehicle body 110 and the rear wheel side vehicle body 120 are connected. As long as it is in contact with the cross member, engagement pin, etc. of the rear wheel side vehicle body 120 from above, below, and from the rear of the vehicle and opens obliquely downward toward the front of the vehicle, it is the same as described above even in other shapes Has the effect of.
  • the rear wheel side vehicle body 110 is connected when the front wheel side vehicle body 110 and the rear wheel side vehicle body 120 are connected. Any other shape can be obtained as long as it is in contact with 120 cross members, engagement pins, etc. from below, the rear of the vehicle, and the front of the vehicle and opens upward.
  • the locking member engaging portion 126f of the tilting member 126a is engaged with the cross member 124a so that the tilting of the tipping prevention member 126 is restricted from being tilted upward from the second tilting position. Indicated.
  • a part between the other end portion of the tilting member 126a and the tilting center 126d is engaged with the rear wheel side cover 120a and the rear wheel side frame 121, thereby the second tilting position of the fall prevention member 126. Further upward tilting may be restricted.
  • the tilting of the fall-preventing member 126 upward from the second tilt position may be restricted by another structure.

Landscapes

  • Health & Medical Sciences (AREA)
  • Life Sciences & Earth Sciences (AREA)
  • Animal Behavior & Ethology (AREA)
  • General Health & Medical Sciences (AREA)
  • Public Health (AREA)
  • Veterinary Medicine (AREA)
  • Engineering & Computer Science (AREA)
  • Mechanical Engineering (AREA)
  • Automatic Cycles, And Cycles In General (AREA)
  • Electric Propulsion And Braking For Vehicles (AREA)
  • Motorcycle And Bicycle Frame (AREA)
PCT/JP2018/009915 2017-03-16 2018-03-14 電動モビリティおよびその分解方法 Ceased WO2018168911A1 (ja)

Priority Applications (2)

Application Number Priority Date Filing Date Title
CN201880001434.XA CN109070967B (zh) 2017-03-16 2018-03-14 电动移动车和其拆解方法
CN201811393523.1A CN109484544B (zh) 2017-03-16 2018-03-14 电动移动车

Applications Claiming Priority (2)

Application Number Priority Date Filing Date Title
JP2017051782A JP6746521B2 (ja) 2017-03-16 2017-03-16 電動モビリティおよびその分解方法
JP2017-051782 2017-03-16

Publications (1)

Publication Number Publication Date
WO2018168911A1 true WO2018168911A1 (ja) 2018-09-20

Family

ID=63523788

Family Applications (1)

Application Number Title Priority Date Filing Date
PCT/JP2018/009915 Ceased WO2018168911A1 (ja) 2017-03-16 2018-03-14 電動モビリティおよびその分解方法

Country Status (3)

Country Link
JP (1) JP6746521B2 (enExample)
CN (2) CN109484544B (enExample)
WO (1) WO2018168911A1 (enExample)

Cited By (2)

* Cited by examiner, † Cited by third party
Publication number Priority date Publication date Assignee Title
JP2021146216A (ja) * 2020-03-17 2021-09-27 緯創資通股▲ふん▼有限公司Wistron Corporation 歩行器
US11273716B2 (en) * 2019-03-12 2022-03-15 Kubota Corporation Electric work vehicle

Families Citing this family (5)

* Cited by examiner, † Cited by third party
Publication number Priority date Publication date Assignee Title
JP6980948B2 (ja) * 2019-12-27 2021-12-15 Whill株式会社 電動モビリティ
CN111249079B (zh) * 2020-01-21 2021-12-07 广州视源电子科技股份有限公司 防倾轮椅
CN111249076B (zh) * 2020-01-21 2022-04-12 广州视源电子科技股份有限公司 轮椅
JP7068359B2 (ja) * 2020-01-31 2022-05-16 本田技研工業株式会社 移動体および電動車両
JP2021123116A (ja) * 2020-01-31 2021-08-30 本田技研工業株式会社 電動車両及び移動体

Citations (6)

* Cited by examiner, † Cited by third party
Publication number Priority date Publication date Assignee Title
JPH07300087A (ja) * 1994-05-06 1995-11-14 Kubota Corp 小型電動カート
JPH08308882A (ja) * 1995-05-19 1996-11-26 Atex Co Ltd 介助兼用電動車椅子のステップ装置
JP2001029398A (ja) * 1999-07-23 2001-02-06 Araco Corp 小型電動車両
JP2004135811A (ja) * 2002-10-17 2004-05-13 Atex Co Ltd 電動車椅子
JP2007062669A (ja) * 2005-09-01 2007-03-15 Suzuki Motor Corp 小型電動車両の転倒防止装置
JP3135395U (ja) * 2007-07-03 2007-09-13 自遊實股▲分▼有限公司 人載せキャリヤー用折畳み装置

Family Cites Families (14)

* Cited by examiner, † Cited by third party
Publication number Priority date Publication date Assignee Title
FR2675688A1 (fr) * 1991-04-26 1992-10-30 Poirier Ets Vehicule individuel utilisable en version manuelle ou motorisee, notamment fauteuil roulant ou tricycle.
JP2610738B2 (ja) * 1991-12-24 1997-05-14 株式会社クボタ 小型電動車
US5351774A (en) * 1992-06-02 1994-10-04 Quickie Designs Inc. Powered wheelchair with a detachable power drive assembly
ATE279895T1 (de) * 1996-07-17 2004-11-15 Deka Products Lp Anti-kippvorrichtung
EP1441401A1 (en) * 2003-01-25 2004-07-28 Pihsiang Machinery MFG. Co., Ltd. Battery module structure of electrical vehicle
TWM270935U (en) * 2004-10-26 2005-07-21 Yung-Cheng Chen Detachable structure of scooter frame
JP4783624B2 (ja) * 2005-12-13 2011-09-28 株式会社カワムラサイクル 車いす
JP5045707B2 (ja) * 2009-05-28 2012-10-10 トヨタ自動車株式会社 走行装置、その制御方法、及び制御プログラム
CN201814751U (zh) * 2010-10-11 2011-05-04 长沙恒润机械有限责任公司 一种既可站立又可平躺的电动轮椅
CN202173534U (zh) * 2011-07-06 2012-03-28 苏州康帝医疗器械有限公司 轻便型电动轮椅
US20130149032A1 (en) * 2011-12-09 2013-06-13 Sunpex Technology Co., Ltd. Fixing member for vehicle frame joint of scooter
JP6309297B2 (ja) * 2014-02-18 2018-04-11 Whill株式会社 電動モビリティおよびその制御方法
CN106572937B (zh) * 2014-06-23 2019-07-23 韩国生产技术研究院 具有另外的安装框架的行驶辅助装置
CN104224462A (zh) * 2014-08-22 2014-12-24 太仓市中峰模具塑胶有限公司 一种多功能电动轮椅

Patent Citations (6)

* Cited by examiner, † Cited by third party
Publication number Priority date Publication date Assignee Title
JPH07300087A (ja) * 1994-05-06 1995-11-14 Kubota Corp 小型電動カート
JPH08308882A (ja) * 1995-05-19 1996-11-26 Atex Co Ltd 介助兼用電動車椅子のステップ装置
JP2001029398A (ja) * 1999-07-23 2001-02-06 Araco Corp 小型電動車両
JP2004135811A (ja) * 2002-10-17 2004-05-13 Atex Co Ltd 電動車椅子
JP2007062669A (ja) * 2005-09-01 2007-03-15 Suzuki Motor Corp 小型電動車両の転倒防止装置
JP3135395U (ja) * 2007-07-03 2007-09-13 自遊實股▲分▼有限公司 人載せキャリヤー用折畳み装置

Cited By (2)

* Cited by examiner, † Cited by third party
Publication number Priority date Publication date Assignee Title
US11273716B2 (en) * 2019-03-12 2022-03-15 Kubota Corporation Electric work vehicle
JP2021146216A (ja) * 2020-03-17 2021-09-27 緯創資通股▲ふん▼有限公司Wistron Corporation 歩行器

Also Published As

Publication number Publication date
CN109484544A (zh) 2019-03-19
JP6746521B2 (ja) 2020-08-26
JP2018154201A (ja) 2018-10-04
CN109070967B (zh) 2021-01-29
CN109484544B (zh) 2023-02-28
CN109070967A (zh) 2018-12-21

Similar Documents

Publication Publication Date Title
WO2018168911A1 (ja) 電動モビリティおよびその分解方法
EP1407961B1 (en) Folding bicycle
JP2000084008A (ja) 車椅子の組付構造
WO2018169034A1 (ja) コネクタ構造
WO2019106926A1 (ja) 電動車椅子
WO2018168914A1 (ja) 電動モビリティおよびその分解方法
JP2018154202A5 (enExample)
JP2002337780A (ja) 鞍乗型車両における折り畳み式車体構造
EP2731812A1 (en) Lawn care vehicle with rear wheel axle assembly
WO2017104193A1 (ja) 複輪車両
JPWO2021132198A1 (ja) 電動モビリティ
FR2989346A1 (fr) Vehicule de transport ou porte-outil articule avec conduite au sol
JP2610738B2 (ja) 小型電動車
JP5825973B2 (ja) 歩行型作業機及びその支持装置
JP7399993B2 (ja) 自転車用両脚スタンドおよび自転車
JP7033751B2 (ja) キックスケーター
JP7370298B2 (ja) スタンドおよびこれを備えた自転車
JP6304747B2 (ja) 作業車両及びその走行機体
JP4362357B2 (ja) 乗用田植機
JP3997229B2 (ja) 草刈機
CN120712218A (zh) 转向机构和电动移动设备
JP2004182003A (ja) 懸架装置
JP2011068220A (ja) 倒立振子型移動体
JP2014043219A (ja) 作業車両の安全フレーム
JP2003127958A (ja) 鞍乗型車両における折り畳み式ハンドル装置

Legal Events

Date Code Title Description
121 Ep: the epo has been informed by wipo that ep was designated in this application

Ref document number: 18768508

Country of ref document: EP

Kind code of ref document: A1

NENP Non-entry into the national phase

Ref country code: DE

122 Ep: pct application non-entry in european phase

Ref document number: 18768508

Country of ref document: EP

Kind code of ref document: A1