WO2018142883A1 - シールドコネクタ及び雄側シールド端子 - Google Patents
シールドコネクタ及び雄側シールド端子 Download PDFInfo
- Publication number
- WO2018142883A1 WO2018142883A1 PCT/JP2018/000708 JP2018000708W WO2018142883A1 WO 2018142883 A1 WO2018142883 A1 WO 2018142883A1 JP 2018000708 W JP2018000708 W JP 2018000708W WO 2018142883 A1 WO2018142883 A1 WO 2018142883A1
- Authority
- WO
- WIPO (PCT)
- Prior art keywords
- male
- female
- housing
- outer conductor
- conductor
- Prior art date
- Legal status (The legal status is an assumption and is not a legal conclusion. Google has not performed a legal analysis and makes no representation as to the accuracy of the status listed.)
- Ceased
Links
Images
Classifications
-
- H—ELECTRICITY
- H01—ELECTRIC ELEMENTS
- H01R—ELECTRICALLY-CONDUCTIVE CONNECTIONS; STRUCTURAL ASSOCIATIONS OF A PLURALITY OF MUTUALLY-INSULATED ELECTRICAL CONNECTING ELEMENTS; COUPLING DEVICES; CURRENT COLLECTORS
- H01R13/00—Details of coupling devices of the kinds covered by groups H01R12/70 or H01R24/00 - H01R33/00
- H01R13/648—Protective earth or shield arrangements on coupling devices, e.g. anti-static shielding
- H01R13/658—High frequency shielding arrangements, e.g. against EMI [Electro-Magnetic Interference] or EMP [Electro-Magnetic Pulse]
- H01R13/6591—Specific features or arrangements of connection of shield to conductive members
- H01R13/6592—Specific features or arrangements of connection of shield to conductive members the conductive member being a shielded cable
- H01R13/6593—Specific features or arrangements of connection of shield to conductive members the conductive member being a shielded cable the shield being composed of different pieces
-
- H—ELECTRICITY
- H01—ELECTRIC ELEMENTS
- H01R—ELECTRICALLY-CONDUCTIVE CONNECTIONS; STRUCTURAL ASSOCIATIONS OF A PLURALITY OF MUTUALLY-INSULATED ELECTRICAL CONNECTING ELEMENTS; COUPLING DEVICES; CURRENT COLLECTORS
- H01R13/00—Details of coupling devices of the kinds covered by groups H01R12/70 or H01R24/00 - H01R33/00
- H01R13/648—Protective earth or shield arrangements on coupling devices, e.g. anti-static shielding
- H01R13/658—High frequency shielding arrangements, e.g. against EMI [Electro-Magnetic Interference] or EMP [Electro-Magnetic Pulse]
- H01R13/6581—Shield structure
- H01R13/6582—Shield structure with resilient means for engaging mating connector
-
- H—ELECTRICITY
- H01—ELECTRIC ELEMENTS
- H01R—ELECTRICALLY-CONDUCTIVE CONNECTIONS; STRUCTURAL ASSOCIATIONS OF A PLURALITY OF MUTUALLY-INSULATED ELECTRICAL CONNECTING ELEMENTS; COUPLING DEVICES; CURRENT COLLECTORS
- H01R2107/00—Four or more poles
Definitions
- the present invention relates to a shield connector and a male shield terminal.
- Patent Document 1 a female outer terminal and a female inner terminal are provided in a female housing, a male outer terminal and a male inner terminal are provided in the male housing, and the female inner terminal and the male inner are fitted by fitting the female housing and the male housing.
- a connector for connecting terminals is disclosed.
- the female housing and the male housing are fitted, the female outer terminal and the male outer terminal are connected.
- the contact portion between the female inner terminal and the male inner terminal is shielded over the entire circumference. It has become.
- an elastic contact piece may be formed in one semi-cylindrical portion, and the elastic contact piece may be elastically brought into contact with the other half-cylindrical portion.
- the semi-cylindrical portion has a shape that can be expanded and deformed radially outward by the elasticity of the elastic contact piece, even if the elastic contact piece is formed, the contact reliability cannot be improved, and the shield A decline in functionality cannot be avoided.
- the present invention has been completed based on the above circumstances, and aims to improve the reliability of the shield function.
- the first invention is A female housing; A female shield terminal attached to the female housing; A female-side inner conductor constituting the female-side shield terminal; A female outer conductor that surrounds the female inner conductor via a female dielectric; A male housing that can be fitted with the female housing; A male shield terminal attached to the male housing; Constituting the male shield terminal, the male inner conductor connected to the female inner conductor by fitting the female housing and the male housing; A male outer conductor that surrounds the male inner conductor via a male dielectric and contacts the female outer conductor by fitting the female housing and the male housing; A cylindrical portion formed on the male outer conductor and surrounding the female outer conductor in a state where the female housing and the male housing are fitted; An elastic contact piece formed on at least one of the female outer conductor and the male outer conductor, and elastically connecting an outer periphery of the female outer conductor and an inner periphery of the tube portion;
- the said cylinder part has the characteristic in the place where the expansion deformation is controlled by being the form connected over the perimeter.
- the second invention is A male shield terminal attached to a male housing that can be fitted with a female housing, A male inner conductor connectable to a female inner conductor provided in the female housing; A male outer conductor that surrounds the male inner conductor via a male dielectric and is capable of contacting a female outer conductor provided in the female housing; A cylindrical portion formed on the male outer conductor and surrounding the female outer conductor in a state where the female housing and the male housing are fitted; An elastic contact piece formed on the cylindrical portion and elastically connected to the outer periphery of the female-side outer conductor; The said cylinder part has the characteristic in the place where the expansion deformation is controlled by being the form connected over the perimeter.
- the elastic force of the elastic contact piece acts as a force in the direction of expanding and deforming the cylindrical portion.
- the cylindrical portion is in a form that is connected over the entire circumference, the expansion deformation is restricted, so that the contact reliability between the female-side outer conductor and the male-side outer conductor is excellent.
- Side sectional view showing the mating state of the male connector and female connector Flat cross section showing the mating state of male and female connectors
- Side cross-sectional view of male connector Perspective view showing disassembled state of male shield terminal Bottom view of cylindrical member
- Perspective view showing the state before connecting the male inner conductor and the multi-core covered wire The perspective view showing a mode that the lower member is attached to a cylindrical member and a male side dielectric
- the perspective view showing a mode that the upper member is attached to a cylindrical member and a lower member A perspective view showing a state where the assembly of the male shield terminal is completed
- the cylindrical portion may surround the tab of the male inner conductor. According to this structure, in the state which removed the male side shield terminal from the male side housing, the interference of the foreign material with respect to a tab can be prevented by a cylinder part.
- the male outer conductor includes a cylindrical member in which the cylindrical portion is formed and a crimping member in which a crimping portion to be crimped to the shield layer of the electric wire is formed. May be.
- the shape of the cylindrical member can be simplified.
- priority can be given to the function for restricting the expansion and deformation of the cylindrical portion, so that the expansion and deformation of the cylindrical portion can be reliably prevented.
- the female housing may be provided with a contact surface that contacts the outer peripheral surface of the cylindrical portion in a state where the female housing and the male housing are fitted. According to this configuration, in the state in which the female housing and the male housing are fitted, the expansion deformation of the cylindrical portion is also restricted by the contact surface of the female housing, so the female outer conductor and the male outer The contact reliability of the conductor is improved.
- the shield connector of the present embodiment includes a male connector M and a female connector F that can be fitted and detached from each other.
- the shield connector of the present embodiment includes a male connector M and a female connector F that can be fitted and detached from each other.
- the front-rear direction of the male connector M the left side in FIGS.
- the male connector M includes a male housing 10 made of synthetic resin and a male shield terminal 20.
- the male housing 10 is formed with a terminal accommodating portion 11 that is open at both front and rear ends, and a hood portion 12 that extends forward from the terminal accommodating portion 11 in a rectangular tube shape.
- a lance 13 for retaining the male shield terminal 20 is formed inside the terminal accommodating portion 11, and a lock projection 14 is formed on the outer surface of the hood portion 12.
- the male shield terminal 20 is configured by assembling a male outer conductor 21, a male dielectric 31, and a plurality of male inner conductors 37.
- the male-side outer conductor 21 is configured by assembling three parts: a cylindrical member 22, a lower member 40 (a crimping member described in claims), and an upper member 47.
- the cylindrical member 22 is formed into a generally rectangular shape by subjecting a metal plate material that is a single member of a predetermined shape (generally rectangular) to a substantially right-angle bending process or a cut-and-raising process at four folds in the front-rear direction. It is formed into a cylindrical shape.
- a metal plate material that is a single member of a predetermined shape (generally rectangular) to a substantially right-angle bending process or a cut-and-raising process at four folds in the front-rear direction. It is formed into a cylindrical shape.
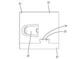
- the recessed part 23 of the substantially trapezoid shape (ant groove shape) formed in one edge part of a metal plate material and the other edge of a metal plate material
- the substantially trapezoidal convex part 24 formed in the part is fitted in a state in which separation in the circumferential direction (left-right direction) is restricted.
- the cylindrical member 22 is held in a rectangular tube shape that is connected over the entire circumference in the circumferential direction, and does
- the front end side region of the tubular member 22 is a substantially rectangular tubular portion 25 that functions as a contact means with the female outer conductor 76.
- Each of the four plate portions constituting the cylindrical portion 25 is formed with an elastic contact piece 26 in a form in which a part of the plate portion is cut and raised and extends in a cantilevered manner to the front side obliquely inside. Yes.
- These elastic contact pieces 26 are configured to elastically contact the outer peripheral surface of the female outer conductor 76.
- the elastic contact piece 26 is disposed in a region ahead of the concave portion 23 and the convex portion 24.
- the rear end side region of the cylindrical member 22 functions as a substantially rectangular cylindrical holding portion 27 for holding the male dielectric 31.
- the left and right side plate portions constituting the holding portion 27 are respectively provided with a first locking portion 28 having a window hole shape and a second engagement in which the rear end edge of the holding portion 27 is notched.
- a stop portion 29 and a window hole-shaped third locking portion 30 are formed.
- the male side dielectric 31 is made of synthetic resin and has a block shape as a whole.
- a plurality of receiving holes 32 are formed in the male dielectric 31 so as to be elongated in the front-rear direction.
- a first locking projection 33, a second locking projection 34, a fourth locking projection 35, and a first guide pin 36 are formed on the left and right side surfaces of the male dielectric 31, respectively.
- the male-side inner conductor 37 is made of a metal material and has an elongated shape in the front-rear direction as a whole.
- An elongated tab 38 is formed at the front end of the male inner conductor 37 so as to extend forward in a cantilevered manner.
- An electric wire connecting portion 39 is formed at the rear end portion of the male-side inner conductor 37.
- the lower member 40 is formed by bending a metal plate material.
- the front end side region of the lower member 40 is a lower shell 41 having a form in which a pair of left and right side plates are raised from the left and right side edges of the bottom plate.
- the bottom plate portion of the lower shell 41 is formed with a first fulcrum portion 42 that protrudes in a rib shape along the front end edge and is bent in a step shape in a side view.
- the left and right side plate portions of the lower shell 41 are respectively provided with a first guide groove 45F cut out obliquely downward and rearward from the front edge of the side plate portion, a window-hole-like fourth locking portion 43, and a window-hole-like first plate.
- 5 locking portions 44 and second guide grooves 45 ⁇ / b> R that are notched obliquely downward and forward from the rear edge of the side plate portion are formed.
- the rear end region of the lower member 40 is an open barrel-shaped crimping portion 46.
- the upper member 47 is formed by bending a metal plate material.
- the front end side region of the upper member 47 is an upper shell 48 in a form in which a pair of left and right side plate portions are extended downward from left and right side edges of the upper plate portion.
- a second fulcrum portion 49 is formed that protrudes in a rib shape along the front end edge thereof and is bent in a step shape in a side view.
- a third locking protrusion 50, a fifth locking protrusion 51, and a second guide pin 52 are formed on the inner surfaces of the left and right side plate portions of the upper shell 48, respectively.
- the rear end region of the upper member 47 is a cover portion 53 that faces the crimping portion 46 of the lower member 40 from above.
- a plurality of male inner conductors 37 are inserted into the housing holes 32 from the rear side and attached to the male dielectric 31. 4 and 8, when the male inner conductor 37 is attached to the male dielectric 31, the tab 38 projects forward from the front end surface of the male dielectric 31, and the wire connecting portion 39 is the male dielectric. The upper surface and the lower surface of the body 31 are exposed to the outside.
- the male dielectric 31 is assembled to the cylindrical member 22 from the rear.
- the front end side region of the male dielectric 31 is fitted into the holding portion 27 of the cylindrical member 22, and the plurality of tabs 38 are collectively bundled by the cylindrical portion 25. Besieged.
- the cylindrical member 22 and the male side dielectric 31 are engaged with the first engagement projection 33 and the first engagement portion 28 and between the second engagement projection 34 and the second engagement portion 29.
- the assembled state is maintained.
- the fourth locking protrusion 35, the first guide pin 36, and the electric wire connecting portion 39 of the male inner conductor 37 are exposed behind the cylindrical member 22.
- the multi-core electric wire 60 includes a plurality of thin covered electric wires 61, a shield layer 62 made of a braided wire or the like surrounding the plural covered electric wires 61 in a bundled state, and a cylindrical sheath 63 surrounding the shield layer 62. It is configured with.
- the front end portion of the shield layer 62 is folded back to cover the outer periphery of the sheath 63.
- the plurality of covered electric wires 61 extend forward from the front ends of the sheath 63 and the shield layer 62.
- the lower member 40 After connecting the covered wire 61 to the wire connecting portion 39, the lower member 40 is assembled to the tubular member 22 and the male dielectric 31. At the time of attachment, as shown in FIG. 10, the first fulcrum portion 42 of the lower member 40 is locked to the lower edge portion of the rear end of the holding portion 27 of the cylindrical member 22, and the lower member with the locking position as a fulcrum. 40 is swung upward. In the process of swinging the lower member 40, the swing trajectory of the lower member 40 is stabilized as the first guide groove 45F and the first guide pin 36 slide.
- the lower member 40, the cylindrical member 22, and the male side dielectric 31 are engaged with the engagement between the fourth engagement protrusion 35 and the fourth engagement portion 43, the first guide groove 45 ⁇ / b> F, and the first guide groove 45 ⁇ / b> F.
- the assembled state is maintained.
- the crimping portion 46 covers the lower surface side region of the outer periphery of the shield layer 62.
- the upper member 47 is assembled to the cylindrical member 22, the male side dielectric 31 and the lower member 40.
- the second fulcrum portion 49 of the upper member 47 is locked to the upper edge portion of the rear end of the holding portion 27 of the cylindrical member 22, and the upper member is used as a fulcrum. 47 is swung downward.
- the second guide groove 45R and the second guide pin 52 slide to stabilize the swing locus of the upper member 47.
- the upper member 47, the cylindrical member 22, and the lower member 40 are engaged with the third locking projection 50 and the third locking portion 30, and between the fifth locking projection 51 and the fifth locking portion 44. Then, the second guide groove 45 ⁇ / b> R and the second guide pin 52 are fitted together to be held in the assembled state.
- the cover portion 53 is in a state of covering the upper surface side region of the outer periphery of the shield layer 62.
- the crimping portion 46 and the cover portion 53 surround the entire outer periphery of the shield layer 62 and are electrically connected. It is fixed in a possible state, and the assembly of the male shield terminal 20 is completed.
- the male shield terminal 20 is inserted into the male housing 10 from the rear, and the lance 13 holds the male shield terminal 20.
- the rubber plug 64 and the rear holder 65 which are externally fitted to the multicore electric wire 60, are attached to the rear end portion of the male housing 10, the assembly of the male connector M is completed.
- the female connector F includes a female housing 70 made of synthetic resin and a female shield terminal 75.
- the female housing 70 includes a housing body 71 that houses the female shield terminal 75, and a cylindrical fitting portion 72 that surrounds the housing body 71.
- the housing body 71 is formed with four contact surfaces 73 that face the front end portion of the outer periphery of the female-side outer conductor 76 with a slight gap therebetween.
- a lock arm 74 is formed in the cylindrical fitting portion 72.
- the female shield terminal 75 includes a substantially rectangular tube-shaped female outer conductor 76, a female dielectric 77 accommodated in the female outer conductor 76, and an inner periphery of the female dielectric 77.
- a plurality of female inner conductors 78 are accommodated.
- the housing main body 71 When the male connector M and the female connector F are fitted, the housing main body 71 is accommodated in the hood 12, the cylindrical fitting 72 surrounds the hood 12, and the lock arm 74 and the lock protrusion 14 are enclosed.
- the two connectors F and M are locked in the fitted state by the engagement with.
- the tab 38 of the male inner conductor 37 is connected to the female inner conductor 78 and the elastic contact piece 26 of the male outer conductor 21 is on the outer periphery of the female outer conductor 76. Elastic contact.
- the elastic contact piece 26 Since the elastic contact piece 26 is formed on the four plate portions constituting the cylindrical portion 25, the elastic contact piece 26 comes into contact with the outer periphery of the female-side outer conductor 76 from the upper, lower, left, and right directions. Since the rear end of the elastic contact piece 26 is supported by the cylinder portion 25, when the elastic contact piece 26 elastically contacts the outer periphery of the female-side outer conductor 76, the cylinder portion 25 has a diameter due to the elastic restoring force of the elastic contact piece 26. A reaction force acts outwardly in the direction (vertical direction and horizontal direction).
- the cylindrical portion 25 since the cylindrical portion 25 is connected so as not to be expanded and deformed over the entire circumference by fitting the concave portion 23 and the convex portion 24, the cylindrical portion 25 maintains an intended substantially rectangular tube shape. . Therefore, the inner peripheral surface of the cylindrical portion is not displaced in the direction away from the outer peripheral surface of the female-side outer conductor 76.
- the upper, lower, left, and right four surfaces constituting the outer periphery of the cylindrical portion 25 are in contact with or close to the four (upper, lower, left, and right) contact surfaces 73 of the female-side housing 70, Even if the portion 25 is to be expanded or displaced in the vertical direction or the horizontal direction, the expansion displacement is restricted by the contact with the contact surface 73. Thereby, the contact pressure of the elastic contact piece 26 with respect to the female-side outer conductor 76 is ensured, and the male-side outer conductor 21 and the female-side outer conductor 76 are reliably connected to each other.
- the shield connector of this embodiment includes the male connector M and the female connector F.
- the male connector M includes a female housing 70, a female shield terminal 75 attached to the female housing 70, a female inner conductor 78 constituting the female shield terminal 75, and a female dielectric 77. And a female-side outer conductor 76 surrounding the female-side inner conductor 78.
- the female connector F includes a male housing 10 that can be fitted to the female housing 70, a male shield terminal 20 attached to the male housing 10, and a male shield terminal 20.
- the male inner conductor 37 is connected to the female inner conductor 78 by fitting the male housing 10, and the male inner conductor 37 is surrounded by the male dielectric 31, so that the female housing 70 and the male housing are enclosed.
- 10 is provided with a male outer conductor 21 that comes into contact with the female outer conductor 76 by fitting.
- the male outer conductor 21 is formed with a cylindrical portion 25 that surrounds the female outer conductor 76 in a state where the female housing 70 and the male housing 10 are fitted.
- the member 22 is formed with an elastic contact piece 26 that elastically connects the outer periphery of the female outer conductor 76 and the inner periphery of the cylindrical portion 25.
- the cylindrical portion 25 is in a form that is connected over the entire circumference, so that the expansion deformation is restricted.
- the elastic force of the elastic contact piece 26 is a force in a direction that causes the cylindrical portion 25 to expand and deform.
- the cylindrical portion 25 is in a form that is connected over the entire circumference, the expansion deformation is restricted, so that the contact reliability between the female outer conductor 76 and the male outer conductor 21 is excellent. Yes.
- the female housing 70 is formed with an abutment surface 73 that abuts the outer peripheral surface of the cylindrical portion 25 in a state where the female housing 70 and the male housing 10 are fitted. According to this configuration, in the state in which the female housing 70 and the male housing 10 are fitted, the expansion deformation of the cylindrical portion 25 is also restricted by the contact surface 73 of the female housing 70. Contact reliability between the conductor 76 and the male outer conductor 21 is improved.
- the male outer conductor 21 includes a cylindrical member 22 in which the cylindrical portion 25 is formed, and a lower member 40 (crimping member) in which a crimping portion 46 to be crimped to the shield layer 62 of the multicore electric wire 60 is formed. It may be provided with. According to this configuration, since the crimp portion 46 having a complicated shape is formed on the lower member 40 that is a separate body from the cylindrical member 22, the shape of the cylindrical member 22 can be simplified. Thereby, when designing the cylindrical member 22, priority can be given to the function for restricting the expansion and deformation of the cylindrical portion 25, so that the expansion and deformation of the cylindrical portion 25 can be reliably prevented.
- cylindrical portion 25 surrounds the tab 38 of the male inner conductor 37, the cylindrical portion 25 prevents the foreign matter from interfering with the tab 38 when the male shield terminal 20 is removed from the male housing 10. can do.
- the present invention is not limited to the embodiments described with reference to the above description and drawings.
- the elastic contact piece is formed only on the cylindrical portion of the male outer conductor, but the elastic contact piece may be formed on both the cylindrical portion and the female outer conductor. You may form only.
- the cylinder part has surrounded the tab, the front-end part of a tab may protrude rather than the front end of a cylinder part.
- the male outer conductor is composed of three parts, a cylindrical member, a lower member, and an upper member, but the number of parts constituting the male outer conductor may be two or less. Well, four or more.
- the contact surface for contacting the outer peripheral surface of the cylindrical portion is formed on the female-side housing, but the female-side housing may be configured to have no contact surface.
- SYMBOLS 10 Male side housing 20 ... Male side shield terminal 21 ... Male side outer conductor 22 ... Cylindrical member 25 ... Cylindrical part 26 ... Elastic contact piece 31 ... Male side dielectric 37 ... Male side inner conductor 38 ... Tab 40 ... Lower member (Crimping member) 46 ... crimp part 60 ... multi-core electric wire (electric wire) 62 ... Shield layer 70 ... Female housing 73 ... Abutting surface 75 ... Female shield terminal 76 ... Female outer conductor 78 ... Female inner conductor
Landscapes
- Details Of Connecting Devices For Male And Female Coupling (AREA)
- Coupling Device And Connection With Printed Circuit (AREA)
Priority Applications (3)
| Application Number | Priority Date | Filing Date | Title |
|---|---|---|---|
| US16/482,698 US10741976B1 (en) | 2017-02-02 | 2018-01-12 | Shield connector and male shield terminal |
| DE112018000644.1T DE112018000644B4 (de) | 2017-02-02 | 2018-01-12 | Abschirmverbinder und stecker-abschirmanschluss |
| CN201880008774.5A CN110226266B (zh) | 2017-02-02 | 2018-01-12 | 屏蔽连接器及阳侧屏蔽端子 |
Applications Claiming Priority (2)
| Application Number | Priority Date | Filing Date | Title |
|---|---|---|---|
| JP2017017180A JP6750525B2 (ja) | 2017-02-02 | 2017-02-02 | シールドコネクタ及び雄側シールド端子 |
| JP2017-017180 | 2017-02-02 |
Publications (1)
| Publication Number | Publication Date |
|---|---|
| WO2018142883A1 true WO2018142883A1 (ja) | 2018-08-09 |
Family
ID=63039617
Family Applications (1)
| Application Number | Title | Priority Date | Filing Date |
|---|---|---|---|
| PCT/JP2018/000708 Ceased WO2018142883A1 (ja) | 2017-02-02 | 2018-01-12 | シールドコネクタ及び雄側シールド端子 |
Country Status (5)
| Country | Link |
|---|---|
| US (1) | US10741976B1 (enExample) |
| JP (1) | JP6750525B2 (enExample) |
| CN (1) | CN110226266B (enExample) |
| DE (1) | DE112018000644B4 (enExample) |
| WO (1) | WO2018142883A1 (enExample) |
Cited By (3)
| Publication number | Priority date | Publication date | Assignee | Title |
|---|---|---|---|---|
| JP2020095916A (ja) * | 2018-12-14 | 2020-06-18 | 日本航空電子工業株式会社 | コネクタ組立体 |
| CN114175413A (zh) * | 2019-08-09 | 2022-03-11 | 株式会社自动网络技术研究所 | 连接器 |
| TWI841814B (zh) * | 2020-02-14 | 2024-05-11 | 日商廣瀨電機股份有限公司 | 屏蔽式電連接器 |
Families Citing this family (11)
| Publication number | Priority date | Publication date | Assignee | Title |
|---|---|---|---|---|
| JP6745043B2 (ja) | 2017-02-03 | 2020-08-26 | 株式会社オートネットワーク技術研究所 | シールド端子 |
| JP6745044B2 (ja) | 2017-02-03 | 2020-08-26 | 株式会社オートネットワーク技術研究所 | シールド端子 |
| JP6757497B2 (ja) | 2017-02-03 | 2020-09-23 | 株式会社オートネットワーク技術研究所 | シールド端子 |
| JP7052736B2 (ja) * | 2019-01-08 | 2022-04-12 | 住友電装株式会社 | 内導体端子及びシールド端子 |
| US10971864B1 (en) * | 2019-09-30 | 2021-04-06 | BAKC Capital Group | DIN rail shield |
| DE102020204913A1 (de) * | 2020-04-17 | 2021-10-21 | Te Connectivity Germany Gmbh | Miniaturisierter Stecker |
| JP7363703B2 (ja) * | 2020-07-28 | 2023-10-18 | 住友電装株式会社 | コネクタ構造体 |
| JP7454124B2 (ja) * | 2020-09-14 | 2024-03-22 | 株式会社オートネットワーク技術研究所 | シールドコネクタ |
| JP7563325B2 (ja) * | 2021-08-02 | 2024-10-08 | 住友電装株式会社 | コネクタ |
| JP2023077165A (ja) * | 2021-11-24 | 2023-06-05 | 住友電装株式会社 | シールド端子とシールド電線の接続構造 |
| JP7641482B2 (ja) * | 2021-11-24 | 2025-03-07 | 住友電装株式会社 | シールド端子およびコネクタ |
Citations (5)
| Publication number | Priority date | Publication date | Assignee | Title |
|---|---|---|---|---|
| JPH10172681A (ja) * | 1996-12-10 | 1998-06-26 | Harness Sogo Gijutsu Kenkyusho:Kk | コネクタ |
| JP2000012165A (ja) * | 1998-06-25 | 2000-01-14 | Sumitomo Wiring Syst Ltd | シールドコネクタ |
| JP2000299163A (ja) * | 1999-04-15 | 2000-10-24 | Harness Syst Tech Res Ltd | シールドコネクタ |
| JP2010282895A (ja) * | 2009-06-05 | 2010-12-16 | Hirose Electric Co Ltd | 電気コネクタ |
| JP2015524604A (ja) * | 2013-07-09 | 2015-08-24 | コニンフェールス ゲーエムベーハー | 対称的に装着したプラグコンタクトを有する遮蔽された円形プラグコネクターユニット |
Family Cites Families (45)
| Publication number | Priority date | Publication date | Assignee | Title |
|---|---|---|---|---|
| GB2098412B (en) | 1981-05-11 | 1984-08-01 | Trw Carr Ltd | Shielded electrical connectors |
| FR2517482B1 (fr) | 1981-11-30 | 1988-12-02 | Itt Composants Instr | Dispositif de continuite de masse entre boitiers de connecteurs |
| JPS6124983U (ja) * | 1984-07-18 | 1986-02-14 | 星電器製造株式会社 | ピンプラグ |
| JPS6424373A (en) | 1987-07-13 | 1989-01-26 | Amp Inc | Shielded connector |
| US5158481A (en) | 1991-09-27 | 1992-10-27 | Amp Incorporated | Shielded electrical connector with torsioned shield interconnect |
| US5409400A (en) | 1993-01-15 | 1995-04-25 | The Whitaker Corporation | Shielding for an electrical connector |
| JP3365549B2 (ja) * | 1998-11-19 | 2003-01-14 | 住友電装株式会社 | シールド端子 |
| JP3365550B2 (ja) * | 1999-05-07 | 2003-01-14 | 住友電装株式会社 | シールド端子 |
| JP3802742B2 (ja) * | 2000-10-06 | 2006-07-26 | 矢崎総業株式会社 | シールドコネクタ |
| JP4158877B2 (ja) * | 2001-07-04 | 2008-10-01 | 古河電気工業株式会社 | シールドコネクタ |
| JP3946096B2 (ja) * | 2001-09-11 | 2007-07-18 | 株式会社オートネットワーク技術研究所 | シールドコネクタ |
| US6540551B1 (en) | 2001-12-05 | 2003-04-01 | Cosner Precision Electronics Co., Ltd. | Connector structure |
| JP2003297493A (ja) * | 2002-04-05 | 2003-10-17 | Auto Network Gijutsu Kenkyusho:Kk | 同軸コネクタ |
| US6887106B2 (en) * | 2002-11-08 | 2005-05-03 | Sumitomo Wiring Systems, Ltd. | Shielding connector |
| US7204716B1 (en) * | 2006-03-01 | 2007-04-17 | Delphi Technologies, Inc. | Shielded electrical connector and connection system |
| JP2009099266A (ja) * | 2007-10-12 | 2009-05-07 | Yazaki Corp | 同軸ケーブル用シールド端子 |
| JP2011003363A (ja) * | 2009-06-17 | 2011-01-06 | Hirose Electric Co Ltd | 圧着端子構造と端子圧着装置 |
| US7980894B1 (en) * | 2010-08-23 | 2011-07-19 | Tyco Electronics Corporation | Coaxial connector with a cable receptor with an outer contact |
| JP2012129103A (ja) | 2010-12-16 | 2012-07-05 | Yazaki Corp | 同軸コネクタ |
| US8366483B2 (en) * | 2011-02-04 | 2013-02-05 | Tyco Electronics Corporation | Radio frequency connector assembly |
| US8870602B2 (en) | 2011-07-14 | 2014-10-28 | Powerwave Technologies S.A.R.L. | Combination of radio frequency, high speed digital communication, and direct current signals in a single cable assembly |
| JP5785011B2 (ja) * | 2011-07-19 | 2015-09-24 | 矢崎総業株式会社 | シールドコネクタ |
| JP5771094B2 (ja) * | 2011-08-25 | 2015-08-26 | 矢崎総業株式会社 | シールドコネクタ |
| JP5829911B2 (ja) * | 2011-12-28 | 2015-12-09 | 矢崎総業株式会社 | シールドコネクタ |
| JP5934568B2 (ja) * | 2012-04-26 | 2016-06-15 | 矢崎総業株式会社 | シールドコネクタ |
| JP5826895B2 (ja) | 2013-11-27 | 2015-12-02 | 日本航空電子工業株式会社 | コネクタ |
| JP6276157B2 (ja) * | 2014-09-29 | 2018-02-07 | ホシデン株式会社 | プラグコネクタ |
| JP2016072067A (ja) * | 2014-09-30 | 2016-05-09 | ホシデン株式会社 | コネクタ |
| US9537231B2 (en) * | 2014-11-12 | 2017-01-03 | Tyco Electronics Corporation | Connector assembly |
| EP3220483A1 (en) * | 2016-03-17 | 2017-09-20 | TE Connectivity Germany GmbH | Electric connection device, method of assembling an electrical cable and assembled electrical coaxial cable |
| US9787017B1 (en) * | 2016-03-17 | 2017-10-10 | Te Connectivity Corporation | Electrical connector with two-piece cavity insert |
| US9673578B1 (en) * | 2016-05-06 | 2017-06-06 | Te Connectivity Corporation | Cable-mounted electrical connector |
| US9960550B2 (en) * | 2016-07-25 | 2018-05-01 | Delphi Technologies, Inc. | Coaxial connector assembly |
| US9929519B1 (en) * | 2016-09-22 | 2018-03-27 | Te Connectivity Corporation | Electrical cable connector and method of assembling the same |
| JP2018113176A (ja) * | 2017-01-12 | 2018-07-19 | 住友電装株式会社 | シールド導電路 |
| JP6745043B2 (ja) * | 2017-02-03 | 2020-08-26 | 株式会社オートネットワーク技術研究所 | シールド端子 |
| JP6745044B2 (ja) * | 2017-02-03 | 2020-08-26 | 株式会社オートネットワーク技術研究所 | シールド端子 |
| JP6757497B2 (ja) * | 2017-02-03 | 2020-09-23 | 株式会社オートネットワーク技術研究所 | シールド端子 |
| JP6913524B2 (ja) * | 2017-06-14 | 2021-08-04 | モレックス エルエルシー | 同軸コネクタ |
| JP6816668B2 (ja) * | 2017-07-11 | 2021-01-20 | 株式会社オートネットワーク技術研究所 | コネクタ |
| JP6939529B2 (ja) * | 2017-12-26 | 2021-09-22 | 住友電装株式会社 | 端子金具 |
| JP6943175B2 (ja) * | 2017-12-26 | 2021-09-29 | 住友電装株式会社 | 端子金具及びコネクタ |
| JP6933126B2 (ja) * | 2017-12-26 | 2021-09-08 | 住友電装株式会社 | コネクタハウジング及びコネクタ |
| JP6939531B2 (ja) * | 2017-12-26 | 2021-09-22 | 住友電装株式会社 | 端子金具 |
| JP6939530B2 (ja) * | 2017-12-26 | 2021-09-22 | 住友電装株式会社 | コネクタ |
-
2017
- 2017-02-02 JP JP2017017180A patent/JP6750525B2/ja active Active
-
2018
- 2018-01-12 CN CN201880008774.5A patent/CN110226266B/zh active Active
- 2018-01-12 US US16/482,698 patent/US10741976B1/en active Active
- 2018-01-12 DE DE112018000644.1T patent/DE112018000644B4/de active Active
- 2018-01-12 WO PCT/JP2018/000708 patent/WO2018142883A1/ja not_active Ceased
Patent Citations (5)
| Publication number | Priority date | Publication date | Assignee | Title |
|---|---|---|---|---|
| JPH10172681A (ja) * | 1996-12-10 | 1998-06-26 | Harness Sogo Gijutsu Kenkyusho:Kk | コネクタ |
| JP2000012165A (ja) * | 1998-06-25 | 2000-01-14 | Sumitomo Wiring Syst Ltd | シールドコネクタ |
| JP2000299163A (ja) * | 1999-04-15 | 2000-10-24 | Harness Syst Tech Res Ltd | シールドコネクタ |
| JP2010282895A (ja) * | 2009-06-05 | 2010-12-16 | Hirose Electric Co Ltd | 電気コネクタ |
| JP2015524604A (ja) * | 2013-07-09 | 2015-08-24 | コニンフェールス ゲーエムベーハー | 対称的に装着したプラグコンタクトを有する遮蔽された円形プラグコネクターユニット |
Cited By (5)
| Publication number | Priority date | Publication date | Assignee | Title |
|---|---|---|---|---|
| JP2020095916A (ja) * | 2018-12-14 | 2020-06-18 | 日本航空電子工業株式会社 | コネクタ組立体 |
| JP7144305B2 (ja) | 2018-12-14 | 2022-09-29 | 日本航空電子工業株式会社 | コネクタ組立体 |
| CN114175413A (zh) * | 2019-08-09 | 2022-03-11 | 株式会社自动网络技术研究所 | 连接器 |
| CN114175413B (zh) * | 2019-08-09 | 2024-03-22 | 株式会社自动网络技术研究所 | 连接器 |
| TWI841814B (zh) * | 2020-02-14 | 2024-05-11 | 日商廣瀨電機股份有限公司 | 屏蔽式電連接器 |
Also Published As
| Publication number | Publication date |
|---|---|
| US20200235531A1 (en) | 2020-07-23 |
| JP2018125199A (ja) | 2018-08-09 |
| CN110226266A (zh) | 2019-09-10 |
| US10741976B1 (en) | 2020-08-11 |
| CN110226266B (zh) | 2021-06-18 |
| JP6750525B2 (ja) | 2020-09-02 |
| DE112018000644B4 (de) | 2023-02-02 |
| DE112018000644T5 (de) | 2019-10-17 |
Similar Documents
| Publication | Publication Date | Title |
|---|---|---|
| WO2018142883A1 (ja) | シールドコネクタ及び雄側シールド端子 | |
| JP6745043B2 (ja) | シールド端子 | |
| CN110235317B (zh) | 屏蔽端子 | |
| US7731536B2 (en) | Shielded connector | |
| JP6745044B2 (ja) | シールド端子 | |
| US20150144396A1 (en) | Connector | |
| WO2017122779A1 (ja) | コネクタ | |
| JP6375246B2 (ja) | コネクタの嵌合構造 | |
| JP6271604B2 (ja) | コネクタの防水構造 | |
| JP6847016B2 (ja) | 同軸ケーブル用コネクタ | |
| JP7563322B2 (ja) | コネクタ | |
| JP6224041B2 (ja) | コネクタの防水構造 | |
| JP2004158376A (ja) | シールドコネクタ | |
| WO2014192517A1 (ja) | 防水コネクタ | |
| JP3997893B2 (ja) | シールドコネクタ | |
| JP7428633B2 (ja) | コネクタの防水構造 | |
| JP6195137B1 (ja) | コネクタ | |
| JP2004171832A (ja) | シールドコネクタ | |
| JP4720718B2 (ja) | シールドコネクタ | |
| JP7633668B2 (ja) | ケーブルコネクタ | |
| JP2005149905A (ja) | シールドコネクタ | |
| JP2016157673A (ja) | コネクタの防水構造 | |
| JP2024092558A (ja) | シールドコネクタ | |
| JP6227579B2 (ja) | コネクタの防水構造 | |
| JP2022113061A (ja) | コネクタ嵌合構造 |
Legal Events
| Date | Code | Title | Description |
|---|---|---|---|
| 121 | Ep: the epo has been informed by wipo that ep was designated in this application |
Ref document number: 18748660 Country of ref document: EP Kind code of ref document: A1 |
|
| 122 | Ep: pct application non-entry in european phase |
Ref document number: 18748660 Country of ref document: EP Kind code of ref document: A1 |