WO2017150092A1 - 樹脂成形品 - Google Patents

樹脂成形品 Download PDF

Info

Publication number
WO2017150092A1
WO2017150092A1 PCT/JP2017/004354 JP2017004354W WO2017150092A1 WO 2017150092 A1 WO2017150092 A1 WO 2017150092A1 JP 2017004354 W JP2017004354 W JP 2017004354W WO 2017150092 A1 WO2017150092 A1 WO 2017150092A1
Authority
WO
WIPO (PCT)
Prior art keywords
bent
terminal
flat
resin
molded product
Prior art date
Legal status (The legal status is an assumption and is not a legal conclusion. Google has not performed a legal analysis and makes no representation as to the accuracy of the status listed.)
Ceased
Application number
PCT/JP2017/004354
Other languages
English (en)
French (fr)
Japanese (ja)
Inventor
浩二 坂倉
小林 豊
Current Assignee (The listed assignees may be inaccurate. Google has not performed a legal analysis and makes no representation or warranty as to the accuracy of the list.)
Sumitomo Wiring Systems Ltd
Original Assignee
Sumitomo Wiring Systems Ltd
Priority date (The priority date is an assumption and is not a legal conclusion. Google has not performed a legal analysis and makes no representation as to the accuracy of the date listed.)
Filing date
Publication date
Application filed by Sumitomo Wiring Systems Ltd filed Critical Sumitomo Wiring Systems Ltd
Priority to US16/078,782 priority Critical patent/US10622733B2/en
Priority to CN201780013509.1A priority patent/CN108886207B/zh
Priority to CN202010237055.XA priority patent/CN111478066B/zh
Publication of WO2017150092A1 publication Critical patent/WO2017150092A1/ja
Anticipated expiration legal-status Critical
Priority to US16/823,793 priority patent/US10916867B2/en
Ceased legal-status Critical Current

Links

Images

Classifications

    • HELECTRICITY
    • H01ELECTRIC ELEMENTS
    • H01RELECTRICALLY-CONDUCTIVE CONNECTIONS; STRUCTURAL ASSOCIATIONS OF A PLURALITY OF MUTUALLY-INSULATED ELECTRICAL CONNECTING ELEMENTS; COUPLING DEVICES; CURRENT COLLECTORS
    • H01R9/00Structural associations of a plurality of mutually-insulated electrical connecting elements, e.g. terminal strips or terminal blocks; Terminals or binding posts mounted upon a base or in a case; Bases therefor
    • H01R9/16Fastening of connecting parts to base or case; Insulating connecting parts from base or case
    • HELECTRICITY
    • H01ELECTRIC ELEMENTS
    • H01RELECTRICALLY-CONDUCTIVE CONNECTIONS; STRUCTURAL ASSOCIATIONS OF A PLURALITY OF MUTUALLY-INSULATED ELECTRICAL CONNECTING ELEMENTS; COUPLING DEVICES; CURRENT COLLECTORS
    • H01R13/00Details of coupling devices of the kinds covered by groups H01R12/70 or H01R24/00 - H01R33/00
    • H01R13/40Securing contact members in or to a base or case; Insulating of contact members
    • H01R13/405Securing in non-demountable manner, e.g. moulding, riveting
    • HELECTRICITY
    • H01ELECTRIC ELEMENTS
    • H01RELECTRICALLY-CONDUCTIVE CONNECTIONS; STRUCTURAL ASSOCIATIONS OF A PLURALITY OF MUTUALLY-INSULATED ELECTRICAL CONNECTING ELEMENTS; COUPLING DEVICES; CURRENT COLLECTORS
    • H01R9/00Structural associations of a plurality of mutually-insulated electrical connecting elements, e.g. terminal strips or terminal blocks; Terminals or binding posts mounted upon a base or in a case; Bases therefor
    • H01R9/22Bases, e.g. strip, block, panel
    • H01R9/24Terminal blocks
    • HELECTRICITY
    • H02GENERATION; CONVERSION OR DISTRIBUTION OF ELECTRIC POWER
    • H02KDYNAMO-ELECTRIC MACHINES
    • H02K5/00Casings; Enclosures; Supports
    • H02K5/04Casings or enclosures characterised by the shape, form or construction thereof
    • H02K5/22Auxiliary parts of casings not covered by groups H02K5/06-H02K5/20, e.g. shaped to form connection boxes or terminal boxes
    • HELECTRICITY
    • H01ELECTRIC ELEMENTS
    • H01RELECTRICALLY-CONDUCTIVE CONNECTIONS; STRUCTURAL ASSOCIATIONS OF A PLURALITY OF MUTUALLY-INSULATED ELECTRICAL CONNECTING ELEMENTS; COUPLING DEVICES; CURRENT COLLECTORS
    • H01R4/00Electrically-conductive connections between two or more conductive members in direct contact, i.e. touching one another; Means for effecting or maintaining such contact; Electrically-conductive connections having two or more spaced connecting locations for conductors and using contact members penetrating insulation
    • H01R4/28Clamped connections, spring connections
    • H01R4/30Clamped connections, spring connections utilising a screw or nut clamping member
    • HELECTRICITY
    • H01ELECTRIC ELEMENTS
    • H01RELECTRICALLY-CONDUCTIVE CONNECTIONS; STRUCTURAL ASSOCIATIONS OF A PLURALITY OF MUTUALLY-INSULATED ELECTRICAL CONNECTING ELEMENTS; COUPLING DEVICES; CURRENT COLLECTORS
    • H01R9/00Structural associations of a plurality of mutually-insulated electrical connecting elements, e.g. terminal strips or terminal blocks; Terminals or binding posts mounted upon a base or in a case; Bases therefor
    • H01R9/22Bases, e.g. strip, block, panel
    • H01R9/24Terminal blocks
    • H01R9/2491Terminal blocks structurally associated with plugs or sockets

Definitions

  • the technology disclosed by this specification relates to a resin molded product.
  • Patent Document 1 discloses a terminal block formed so that a conductive plate having a bent portion bent in an L shape and a connector housing made of synthetic resin are integrally fixed. Is known.
  • a metal plate material is punched out by pressing and bent to form a conductive plate bent in an L shape.
  • the conductive plate is set in a molding die, a molding resin is poured into the molding die, and a primary molded body is molded by primary molding.
  • a connector housing is shape
  • the outer peripheral portion on the side surface of the bent portion is reduced in thickness along with the bending, and the inner peripheral portion on the side surface of the bent portion has a surplus bulging outward. Further, distortion occurs in the side portion of the bent portion. Therefore, if you try to mold the connector housing by cutting out the resin between the side edge of the bent part and the molding die that molds the connector housing, the side edge of the bent part and the connector housing are molded due to the effect of extra space. A gap is formed between the forming mold and the resin leakage at the bent portion.
  • This specification discloses a technique for preventing a reduction in work efficiency of a molding operation while preventing resin leakage.
  • the technology disclosed in this specification is a resin molded product in which a plate-shaped metal member and a synthetic resin resin portion are integrally fixed, and a bent portion provided in a form bent on the metal member;
  • a part of the pair of flat plate portions is embedded together with a pair of flat plate portions extended in a flat plate shape so as to be connected to both end portions of the bent portion, and an inner surface of the bent portion.
  • the mold part provided integrally with the resin part and the two side edges extending along the extending direction in the pair of flat plate parts are provided in a planar shape and are adjacent to the mold part so as to be exposed from the mold part.
  • the flat plate portion side plane portion arranged in this way and the inner peripheral edge portions of both side edges extending along the bending direction in the bent portion are provided in a flat shape so as to be flush with the flat plate portion side flat portion.
  • the flat portion provided on the inner peripheral edge portion of the side edge portion of the bent portion and the flat plate portion flat portion of the pair of flat plate portions are formed to be flush with each other, and the width dimension of the pair of flat plate portions and the bent portion is the same.
  • the metal member can be set in the molding die on the basis of the width dimension of the flat plate portion having high dimensional stability.
  • the entire side edge portion or the bending portion of the bending portion is based on the outer peripheral edge portion of the bending portion. It is possible to prevent the work efficiency of the assembling operation of the resin molded product from being lowered as compared with the case where a flat portion is provided at the outer peripheral edge portion and the arrangement of the molding die is adjusted for each terminal.
  • the resin molded product disclosed by this specification is good also as the following structures.
  • the pair of flat plate portions may be configured to be connection portions connectable to the counterpart conductor.
  • connection portions connectable to the counterpart conductor.
  • the bent portion is processed into a flat shape to form a flat portion that is flush with the flat plate portion flat portion, and the flat plate portion and the flat portion and the molding die are used for resin. Since it can be cut off, it is very effective to prevent resin leakage to the connection part.
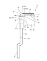
  • FIGS. 1 to 18 This embodiment exemplifies a terminal block (an example of “resin molded product”) 10 attached to a case (not shown) of a device mounted on a vehicle.
  • the terminal block 10 is a device (not shown) arranged in the case. It relays a side terminal and a mating terminal (an example of “mating conductor”) provided at the terminal of the wire harness.
  • the horizontal direction is based on the horizontal direction in FIGS. 2 and 10
  • the vertical direction is based on the vertical direction in FIGS.
  • the front-rear direction is described with reference to the left-right direction in FIGS.
  • the terminal block 10 is integrated with each terminal 20 in a state where three terminals (an example of “metal member”) 20 and the three terminals 20 are arranged in the left-right direction. And a fixed synthetic resin housing 40 (an example of a “resin portion”).
  • each terminal 20 is formed in a strip shape that is long in the vertical direction by punching a thick metal plate excellent in conductivity by a press process and performing a bending process or the like.
  • the terminal 20 includes a flat terminal body 21 (an example of a “flat plate portion”) 21 that extends vertically, a bent portion 22 provided at the upper end of the terminal main body 21, and an electric wire extending backward from the bent portion 22.
  • the side connection portion (an example of “flat plate portion” and “connection portion”) 23 and a flat plate-like device side connection portion 24 provided at the lower end portion of the terminal body 21 are configured.
  • the left and right terminals 20 are bent in the left-right direction on the upper side of the terminal main body 21, but the other structures are the same. Therefore, the right-side terminals 20 in FIGS. I will explain as a representative.
  • the terminal body 21 is embedded in the housing 40 except for the upper end portion and the lower end portion of the terminal body 21, and extends in the vertical direction at the upper end portion of the terminal body 21.
  • the side surfaces on both sides in the left-right direction are flat main body side plane portions (an example of “flat plate side flat portion”) 25 that extend straight in the vertical direction.
  • a seal attaching portion 26 to which a sealing agent (not shown) is attached is provided at a substantially central portion in the vertical direction of the terminal body 21.
  • the bent portion 22 is connected to the upper end of the terminal main body 21 and connected to the front end of the wire-side connecting portion 23, and is rearward from the upper end of the terminal main body 21. It is formed by being bent at a substantially right angle. Therefore, as shown in FIGS. 15 and 17, the left and right side surfaces 22 ⁇ / b> A extending in the bending direction in the bending portion 22 are in a state where the outer peripheral edge portion is curved more gently than the inner peripheral edge portion as the bending portion 22 is bent. It has become.
  • the electric wire side connecting portion 23 has a flat plate shape, and the side surfaces on both sides in the left-right direction extending in the extending direction in the electric wire side connecting portion 23 are flat connecting portion sides extending in the front-rear direction.
  • the flat portion (an example of the “flat portion on the flat plate portion side”) 27 is used.
  • the upper surface of the electric wire side connecting portion 23 is a connecting surface 28 that is bolted to the counterpart terminal, and the electric wire side connecting portion 23 is provided with a bolt hole 29 penetrating in the vertical direction that is the plate thickness direction.
  • a counterpart terminal is placed on the connection surface 28, and a bolt (not shown) is inserted into the bolt hole 29 to be connected to the counterpart terminal by bolts.
  • the apparatus side connection part 24 is provided in the lower end part of the terminal main body 21 in the form offset a little ahead of the terminal main body 21, and can be connected to the apparatus side terminal by bolts.
  • the housing 40 surrounds the cover 41 over the entire circumference together with the cover 41 that covers the upper end of each terminal 20 from front, rear, left, and right, and the upper end of each terminal 20.
  • a cylindrical portion 42 and a fitting portion 43 fitted in a mounting hole (not shown) provided in the case are provided.
  • the cover portion 41 embeds the lower half of the electric wire side connection portion 23 excluding the rear end portion 27A of the connection portion side flat portion 27 and the inner curved surface 30 inside the bent portion 22, and the main body side flat portion 25 of the terminal main body 21.
  • the upper end portion 25A of the terminal body 21 and a portion near the upper end of the terminal body 21 excluding the upper end portion on the front surface of the terminal body 21 are formed in a block shape.
  • the cover portions 41 are connected by a rib-shaped connection portion 44 provided between the adjacent cover portions 41.
  • a nut accommodating portion 45 that accommodates the nut N is provided inside each cover portion 41.
  • the nut N is a square nut having a fastening hole N1 that opens up and down, and the thickness dimension of the nut N is approximately twice the plate thickness dimension of the terminal 20. In other words, the plate thickness dimension of the terminal 20 is set to about half of the thickness dimension of the nut N.
  • the nut accommodating portion 45 is formed to open upward and rearward, and the nut N is accommodated in a press-fit state from the rear end opening.
  • the upper end opening of the nut housing part 45 is in a state of being blocked by the wire side connection part 23, and when the nut N is housed in a proper position in the nut housing part 45, as shown in FIG.
  • the lower surface of the wire-side connection portion 23 and the upper surface of the nut N are in contact with each other vertically, and the bolt hole 29 of the wire-side connection portion 23 and the fastening hole N1 of the nut N are set to be coaxial. .
  • the cylindrical portion 42 is formed in a bottomed cylindrical shape that is horizontally long in the left-right direction and opens upward and has a bottom wall 46 at the lower end.
  • the bottom wall 46 and the electric wire side connecting portion 23 of the terminal 20 face upward from the upper end opening.
  • the bottom wall 46 has an oblong shape that is horizontally long in the left-right direction, and three cover portions 41 arranged in the left-right direction are arranged at the center of the bottom wall 46 so as to be integrated with the bottom wall 46.
  • the fitting portion 43 is configured to extend downward from the lower surface of the tubular portion 42, and a seal ring is provided on the outer periphery of the fitting portion 43. R is fitted.
  • the lower half of the terminal body 21 of the three terminals 20 is embedded in the fitting portion 43 at one time, and the equipment side connection portion 24 of the terminal 20 is fitted below the fitting portion 43. It is arranged in a state of projecting downward from the lower surface of 43.
  • device-side nut housing portions 49 provided for each terminal so as to be connected to the lower end portion of the fitting portion 43 are provided to be connected to the left and right.
  • the apparatus side nut accommodating part 49 is opened downward, and the nut N is accommodated in the apparatus side nut accommodating part 49 in a press-fit state from the lower end opening.
  • the terminal block 10 is configured by performing resin molding in two steps. Specifically, the terminal block 10 first forms a primary molded product 61 composed of the terminals 20 and the mold part 62, and three primary molded products 61 are arranged in the left-right direction to form a primary molded product group 60.
  • the primary molded product group 60 is set as a core in a molding die, and the secondary molded portion 70 is molded. That is, the housing 40 is configured by integrating the mold part 62 and the secondary molding part 70 of the primary molded product 61.
  • the terminal 20 in the primary molded product 61 is a terminal 20 having a bent portion 22 formed by punching a thick metal plate material by pressing and bending it.
  • the bent portion 22 When the bent portion 22 is formed by bending a thick metal plate material in the terminal 20, the outer peripheral edge portion on the side surface 22 ⁇ / b> A of the bent portion 22 is inward in the left-right direction as the outer curved surface 31 outside the bent portion 22 extends. It will be in a state where it has been thinned towards. In addition, at the inner peripheral edge portion of the side surface 22A of the bent portion 22, a surplus that bulges outward due to bending of the inner curved surface 30 of the bent portion 22 is generated. That is, the side surface 22A of the bent portion 22 becomes wider as it goes from the outside to the inside.
  • the inner peripheral edge portion on the side surface 22A of the bent portion 22 is as shown in the schematic diagram of FIG.
  • a planar portion 32 having a planar shape is formed. Further, as shown in FIG. 15, the plane part 32 is formed flush with the connection part side plane part 27 and the main body side plane part 25.
  • description is abbreviate
  • the mold part 62 of the primary molded product 61 roughly constitutes the cover part 41 in the housing 40 and has a rectangular block shape. Further, as shown in FIGS. 8, 11, and 12, the mold portion 62 includes a connection portion covering portion 63 that embeds the lower end portion of the electric wire side connection portion 23 and a bending portion that embeds the inner curved surface 30 of the bending portion 22.
  • a cover 64, a body cover 65 that embeds a portion near the upper end of the terminal body 21, and a nut housing portion 66 that is integrally formed so as to be connected to the three covers 63, 64, 65 are provided. Has been.
  • the connecting portion covering portion 63 covers the lower half of the connecting portion side flat portion 27 excluding the rear end portion 27 ⁇ / b> A of the connecting portion side flat portion 27 from the side, and also connects the electric wire side connecting portion. It is set as the form which covered the left-right direction both ends in the lower surface of 23 from the downward direction. Therefore, the connection portion covering portion 63 is configured by exposing the rear end portion 27 ⁇ / b> A of the connection portion side plane portion 27.
  • the bent portion covering portion 64 is configured to cover both left and right side edges of the inner curved surface 30 of the bent portion 22 from obliquely downward and rearward, and the rear end of the connecting portion covering portion 63.
  • the bent portion covering portion 64 is formed by exposing both side surfaces 22 ⁇ / b> A of the bent portion 22.
  • the main body cover portion 65 is connected to the lower end portion of the bent portion cover portion 64 so that the upper end portion on the front surface 21A of the terminal main body 21 and the upper end portion 25A of the main body side plane portion 25 are arranged. It is formed so as to cover a portion near the upper end of the terminal body 21 excluding the entire circumference. Therefore, the main body cover 65 is configured by exposing the upper end portion 25 ⁇ / b> A of the main body side plane portion 25.
  • the upper end portion 25 ⁇ / b> A of the side plane portion 25 is exposed from the mold portion 62, and the rear end portion 27 ⁇ / b> A of the connection portion side plane portion 27 is
  • the flat portion 32 of the bent portion 22 and the upper end portion 25 ⁇ / b> A of the main body-side flat portion 25 of the terminal body 21 are formed as a resin cut-out surface 33 that is continuous with the side surface of the terminal 20.
  • the nut housing portion 66 constitutes the nut housing portion 45 of the housing 40, and as shown in FIGS. 12 and 13, the lower end portion of the connection portion covering portion 63, the rear end portion of the bent portion covering portion 64, and It is formed so as to be connected to the lower end portion and the rear end portion of the main body cover portion 65, and as shown in FIG. 11, it is configured in a box shape having a substantially rectangular shape in side view.
  • the structure of the nut accommodating part 66 since it overlaps with the structure of the above-mentioned nut accommodating part 45, description is abbreviate
  • the primary molded product 61 is completed in the nut housing portion 66, the nut N is inserted, and the secondary molded portion 70 is molded using the primary molded product 61 in a state in which the nut N is received as a core. .
  • the secondary molding part 70 roughly constitutes the cylindrical part 42, the fitting part 43 and the device side nut housing part 49 in the housing 40, and the bottom wall 46 of the cylindrical part 42 is primary molded.
  • the primary molded product 61 and the secondary molded portion 70 are integrally fixed by being formed continuously with the lower end portion of the molded portion 62 of the product 61, and the terminal block 10 is configured.
  • the present embodiment is configured as described above. Next, a procedure for assembling the terminal block 10 will be briefly described, and its operation and effects will be described.
  • a plurality of primary molded products 61 are first formed.
  • a thick metal plate material is first stamped and subjected to bending to form the terminal 20, and the terminal 20 is set in a molding die (not shown).
  • the terminal 20 when the terminal 20 is set in the molding die, in the terminal main body 21 of the terminal 20, the position slightly above the seal adherent portion 26 is pressed over the entire circumference by the molding die, The upper end portion 25A of the main body side plane portion 25 and the upper end portion of the front surface 21A of the terminal main body 21 are pressed by the molding die. Moreover, in the electric wire side connection part 23 of the terminal 20, the rear end part 27A of the connection part side plane part 27 and the upper half of the connection part side plane part 27 are pressed by the molding die. It will be in the state where the plane part 32 in 22 A of side surfaces on both sides was pressed. That is, the resin biting surface 33 is pressed by the molding die on both side surfaces of the terminal 20.
  • a gap may be formed between the side surface of the bending portion and the molding die.
  • resin leaks from the gap, so that the resin adheres to the outer curved surface of the bent portion and further to the connection surface of the electric wire side connecting portion.
  • the resin cut-off surface 33 is pressed by the molding die on the side surface of the terminal 20, so that each of the cover portions 63, 64, 65 is provided.
  • the molding resin 62 is molded by the resin cutting surface 33, and the molding part 62 is molded without the molding resin adhering to the connection surface 28 of the electric wire side connection part 23 and the outer curved surface 31 of the bending part 22. . Then, the molded part 62 is cooled and hardened, whereby the primary molded product 61 in which the terminal 20 and the molded part 62 are integrally fixed is completed.
  • the flat surface portion 32 is provided on the inner peripheral edge portion of the side surface 22A of the bent portion 22 that is distorted by press working, and the flat surface portion 32 and the molding die, and the upper end portion 25A of the main body side flat surface portion 25 Since the molding resin can be bitten between the molding die and the rear end portion 27A of the connecting portion side plane portion 27 and the molding die, that is, the resin biting surface 33, the molding resin passes through the side surface 22A of the bending portion 22. It can prevent adhering to the outer curved surface 31 of the bending part 22, and by extension, the connection surface 28 of the electric wire side connection part 23. FIG. Thereby, it can prevent that the connection reliability of the electric wire side connection part 23 and the other party terminal falls.
  • the terminal block 10 can be completed by forming the forming portion 70.
  • the resin when eaten off at the side surface 22A of the bent portion 22, for example, not only the inner peripheral edge portion at the side surface of the bent portion but also the flat surface portion is formed on the entire side surface of the bent portion or the outer peripheral edge portion at the side surface of the bent portion.
  • a method of eating away the resin is also conceivable.
  • the outer peripheral edge portion on the side surface of the bent portion is reduced to the inner side in the left-right direction along with the extension of the outer curved surface outside the bent portion, and the side surface of the bent portion In the inner peripheral edge, the inner curved surface on the inner side of the bent part is bent and a surplus wall bulging out is generated.
  • the surplus bulge on the side surface 22A of the bent portion 22 is processed into a flat shape, and the connecting portion side flat portion 27 of the electric wire side connecting portion 23 and the main body side flat portion 25 of the terminal main body 21 are processed.
  • the flat portion 32 is formed so as to be flush with each other. That is, since the width dimension in the left-right direction of the bent portion 22 is aligned with the width dimension in the left-right direction of the wire-side connecting portion 23 and the terminal body 21, the primary dimension can be adjusted without adjusting the arrangement of the molding die for each terminal 20.
  • the molded product 61 can be set in a molding die. Thereby, it can prevent that the work efficiency of the assembly operation
  • the molding resin can be prevented from adhering to the outer curved surface 31 of the bent portion 22 and the connection surface 28 of the electric wire side connecting portion 23 through the side surface 22A of the bent portion 22. That is, it is possible to prevent the connection reliability between the electric wire side connection portion 23 and the counterpart terminal from being lowered due to the resin adhering to the connection surface 28 of the electric wire side connection portion 23.
  • the primary molded product 61 is molded into the molding die while preventing the resin leakage in the primary molded product 61 only by performing planar processing only on the inner peripheral edge on the side surface of the bent portion 22. Since it can be set inside, when the thickness of the metal plate is increased and distortion occurs in the pressed portion, it is very effective.
  • the plane part 32 is formed in the inner peripheral part of side surface 22A of the bending part 22, and the width dimension of the left-right direction of the bending part 22 is made into the width of the left-right direction of the electric wire side connection part 23 and the terminal main body 21. Because the dimensions are aligned, for example, it is easier to manage the width dimension of the entire terminal 20 than when the width dimension of the bent part is set based on the entire side surface of the bent part or the outer peripheral edge of the side surface of the bent part. Can be. Thereby, the primary molded product 61 can be set in the molding die without adjusting the arrangement of the molding die for each terminal 20, and the work efficiency of the assembly work of the terminal block 10 is prevented from being lowered. be able to.
  • the technology disclosed in the present specification is not limited to the embodiments described with reference to the above description and drawings, and includes, for example, the following various aspects.
  • the terminal block 10 in which the plane part 32 was formed in the bending part 22 of the terminal 20 was shown as an example.
  • the present invention is not limited to this, and the technology disclosed in this specification may be applied when a resin molded part is formed by insert molding a metal bracket, a metal plate, or the like in a synthetic resin resin part.
  • the flat portion 32 is formed on the bent portion 22 that is bent at a substantially right angle.
  • the present invention is not limited to this, and the flat portion may be formed in a bent portion bent at an obtuse angle or an acute angle.
  • Terminal block (resin molded product) 20: Terminal (metal member) 21: Terminal body (flat plate) 22: Bending portion 23: Electric wire side connecting portion (flat plate portion, connecting portion) 25: Main body side plane part (flat part side plane part) 27: Connection part side plane part (flat part side plane part) 30: Inner curved surface (the inner surface of the bent part) 32: Plane part 40: Housing (resin part) 62: Mold part

Landscapes

  • Engineering & Computer Science (AREA)
  • Power Engineering (AREA)
  • Connector Housings Or Holding Contact Members (AREA)
  • Connections Arranged To Contact A Plurality Of Conductors (AREA)
  • Manufacturing Of Electrical Connectors (AREA)
PCT/JP2017/004354 2016-02-29 2017-02-07 樹脂成形品 Ceased WO2017150092A1 (ja)

Priority Applications (4)

Application Number Priority Date Filing Date Title
US16/078,782 US10622733B2 (en) 2016-02-29 2017-02-07 Resin molded product
CN201780013509.1A CN108886207B (zh) 2016-02-29 2017-02-07 树脂成形品
CN202010237055.XA CN111478066B (zh) 2016-02-29 2017-02-07 树脂成形品
US16/823,793 US10916867B2 (en) 2016-02-29 2020-03-19 Resin molded product

Applications Claiming Priority (2)

Application Number Priority Date Filing Date Title
JP2016-036779 2016-02-29
JP2016036779A JP6536431B2 (ja) 2016-02-29 2016-02-29 樹脂成形品

Related Child Applications (2)

Application Number Title Priority Date Filing Date
US16/078,782 A-371-Of-International US10622733B2 (en) 2016-02-29 2017-02-07 Resin molded product
US16/823,793 Continuation US10916867B2 (en) 2016-02-29 2020-03-19 Resin molded product

Publications (1)

Publication Number Publication Date
WO2017150092A1 true WO2017150092A1 (ja) 2017-09-08

Family

ID=59742764

Family Applications (1)

Application Number Title Priority Date Filing Date
PCT/JP2017/004354 Ceased WO2017150092A1 (ja) 2016-02-29 2017-02-07 樹脂成形品

Country Status (4)

Country Link
US (2) US10622733B2 (enExample)
JP (1) JP6536431B2 (enExample)
CN (2) CN111478066B (enExample)
WO (1) WO2017150092A1 (enExample)

Families Citing this family (10)

* Cited by examiner, † Cited by third party
Publication number Priority date Publication date Assignee Title
JP6536431B2 (ja) * 2016-02-29 2019-07-03 住友電装株式会社 樹脂成形品
JP6597393B2 (ja) * 2016-02-29 2019-10-30 住友電装株式会社 樹脂成形品とその製造方法
JP6709513B2 (ja) 2017-07-04 2020-06-17 住友電装株式会社 端子台
JP7275853B2 (ja) 2019-05-23 2023-05-18 住友電装株式会社 コネクタ
JP6849012B2 (ja) * 2019-06-07 2021-03-24 住友電装株式会社 樹脂成形品
KR102886086B1 (ko) * 2019-07-09 2025-11-14 현대모비스 주식회사 모터 결선용 터미널블럭 조립체 및 그 조립방법
JP2022071603A (ja) * 2020-10-28 2022-05-16 住友電装株式会社 コネクタ
US11557850B1 (en) * 2021-07-06 2023-01-17 Tyco Electronics Shanghai CO Ltd. Header power connector
JP2024138666A (ja) * 2023-03-27 2024-10-09 矢崎総業株式会社 端子台アセンブリ及び端子台組付構造
JP2025149312A (ja) * 2024-03-26 2025-10-08 住友電装株式会社 端子台、及び端子台の製造方法

Citations (4)

* Cited by examiner, † Cited by third party
Publication number Priority date Publication date Assignee Title
JP2001332371A (ja) * 2000-05-23 2001-11-30 Sumitomo Wiring Syst Ltd 端子台及びその製造方法
JP2007033164A (ja) * 2005-07-26 2007-02-08 Alps Electric Co Ltd 筐体及び筐体の製造方法
JP2014232688A (ja) * 2013-05-30 2014-12-11 株式会社オートネットワーク技術研究所 端子台
JP2015053301A (ja) * 2013-09-05 2015-03-19 富士電機株式会社 半導体モジュール

Family Cites Families (11)

* Cited by examiner, † Cited by third party
Publication number Priority date Publication date Assignee Title
JP2001033237A (ja) 1999-07-16 2001-02-09 Seiko Precision Inc 光学検知装置
JP4632320B2 (ja) * 2007-11-09 2011-02-16 住友電装株式会社 機器用コネクタ
JP5206480B2 (ja) * 2009-02-23 2013-06-12 住友電装株式会社 コネクタ装置
JP4832581B2 (ja) * 2010-01-29 2011-12-07 トヨタ自動車株式会社 回転電機用端子台
JP5640837B2 (ja) 2011-03-15 2014-12-17 住友電装株式会社 機器用コネクタ
JP5626047B2 (ja) * 2011-03-15 2014-11-19 住友電装株式会社 機器用コネクタ
JP5641345B2 (ja) * 2011-03-15 2014-12-17 住友電装株式会社 機器用コネクタ
JP5641346B2 (ja) * 2011-03-15 2014-12-17 住友電装株式会社 シールドシェルの取付構造
CH706557A2 (de) * 2012-05-24 2013-11-29 Schwanden Kunststoff Elektrische Kontaktleiterdurchführung durch eine Behälterwand.
JP6040914B2 (ja) * 2013-11-12 2016-12-07 住友電装株式会社 機器用コネクタ
JP6536431B2 (ja) * 2016-02-29 2019-07-03 住友電装株式会社 樹脂成形品

Patent Citations (4)

* Cited by examiner, † Cited by third party
Publication number Priority date Publication date Assignee Title
JP2001332371A (ja) * 2000-05-23 2001-11-30 Sumitomo Wiring Syst Ltd 端子台及びその製造方法
JP2007033164A (ja) * 2005-07-26 2007-02-08 Alps Electric Co Ltd 筐体及び筐体の製造方法
JP2014232688A (ja) * 2013-05-30 2014-12-11 株式会社オートネットワーク技術研究所 端子台
JP2015053301A (ja) * 2013-09-05 2015-03-19 富士電機株式会社 半導体モジュール

Also Published As

Publication number Publication date
US20200220281A1 (en) 2020-07-09
CN108886207A (zh) 2018-11-23
CN111478066B (zh) 2022-06-28
CN111478066A (zh) 2020-07-31
US20190051997A1 (en) 2019-02-14
JP2017157287A (ja) 2017-09-07
US10622733B2 (en) 2020-04-14
JP6536431B2 (ja) 2019-07-03
CN108886207B (zh) 2020-04-21
US10916867B2 (en) 2021-02-09

Similar Documents

Publication Publication Date Title
WO2017150092A1 (ja) 樹脂成形品
JP6597393B2 (ja) 樹脂成形品とその製造方法
US8317544B2 (en) Mounting structure for shielding shell
CN204696302U (zh) 电连接器
CN104412453B (zh) 树脂成型方法、用于树脂成型的金属模具和端子配件
US8608515B2 (en) Device connector
US9407027B2 (en) Device connector
JP6334456B2 (ja) コネクタ及びその製造方法
JP6604516B2 (ja) 防水コネクタ
JP2011040257A (ja) コネクタの製造方法
JP2019153597A (ja) 樹脂成形品
JP2017188288A (ja) 中継バスバー
JP6881534B2 (ja) 樹脂成形品
JP3119119B2 (ja) 圧接ジョイントコネクタ
JP2017143024A (ja) 機器用コネクタ
US9276351B2 (en) Composite insert
JP5229583B2 (ja) 機器用コネクタ
JP6344320B2 (ja) コネクタ
JP5998188B2 (ja) 端子付き電線及びその製造方法
JP2022131072A (ja) コネクタ
JP2003178823A (ja) 機器用コネクタ
JP2005295628A (ja) インサート成形品

Legal Events

Date Code Title Description
NENP Non-entry into the national phase

Ref country code: DE

121 Ep: the epo has been informed by wipo that ep was designated in this application

Ref document number: 17759563

Country of ref document: EP

Kind code of ref document: A1

122 Ep: pct application non-entry in european phase

Ref document number: 17759563

Country of ref document: EP

Kind code of ref document: A1