WO2017126207A1 - 半導体装置の製造方法 - Google Patents

半導体装置の製造方法 Download PDF

Info

Publication number
WO2017126207A1
WO2017126207A1 PCT/JP2016/084092 JP2016084092W WO2017126207A1 WO 2017126207 A1 WO2017126207 A1 WO 2017126207A1 JP 2016084092 W JP2016084092 W JP 2016084092W WO 2017126207 A1 WO2017126207 A1 WO 2017126207A1
Authority
WO
WIPO (PCT)
Prior art keywords
film
electrode
forming
layer
capacitor
Prior art date
Legal status (The legal status is an assumption and is not a legal conclusion. Google has not performed a legal analysis and makes no representation as to the accuracy of the status listed.)
Ceased
Application number
PCT/JP2016/084092
Other languages
English (en)
French (fr)
Japanese (ja)
Inventor
洋平 小田
藤原 剛
Current Assignee (The listed assignees may be inaccurate. Google has not performed a legal analysis and makes no representation or warranty as to the accuracy of the list.)
Denso Corp
Original Assignee
Denso Corp
Priority date (The priority date is an assumption and is not a legal conclusion. Google has not performed a legal analysis and makes no representation as to the accuracy of the date listed.)
Filing date
Publication date
Application filed by Denso Corp filed Critical Denso Corp
Priority to US15/777,681 priority Critical patent/US10403709B2/en
Publication of WO2017126207A1 publication Critical patent/WO2017126207A1/ja
Anticipated expiration legal-status Critical
Ceased legal-status Critical Current

Links

Images

Classifications

    • HELECTRICITY
    • H10SEMICONDUCTOR DEVICES; ELECTRIC SOLID-STATE DEVICES NOT OTHERWISE PROVIDED FOR
    • H10DINORGANIC ELECTRIC SEMICONDUCTOR DEVICES
    • H10D1/00Resistors, capacitors or inductors
    • H10D1/60Capacitors
    • H10D1/68Capacitors having no potential barriers
    • H10D1/692Electrodes
    • H10D1/696Electrodes comprising multiple layers, e.g. comprising a barrier layer and a metal layer
    • CCHEMISTRY; METALLURGY
    • C23COATING METALLIC MATERIAL; COATING MATERIAL WITH METALLIC MATERIAL; CHEMICAL SURFACE TREATMENT; DIFFUSION TREATMENT OF METALLIC MATERIAL; COATING BY VACUUM EVAPORATION, BY SPUTTERING, BY ION IMPLANTATION OR BY CHEMICAL VAPOUR DEPOSITION, IN GENERAL; INHIBITING CORROSION OF METALLIC MATERIAL OR INCRUSTATION IN GENERAL
    • C23CCOATING METALLIC MATERIAL; COATING MATERIAL WITH METALLIC MATERIAL; SURFACE TREATMENT OF METALLIC MATERIAL BY DIFFUSION INTO THE SURFACE, BY CHEMICAL CONVERSION OR SUBSTITUTION; COATING BY VACUUM EVAPORATION, BY SPUTTERING, BY ION IMPLANTATION OR BY CHEMICAL VAPOUR DEPOSITION, IN GENERAL
    • C23C14/00Coating by vacuum evaporation, by sputtering or by ion implantation of the coating forming material
    • C23C14/06Coating by vacuum evaporation, by sputtering or by ion implantation of the coating forming material characterised by the coating material
    • CCHEMISTRY; METALLURGY
    • C23COATING METALLIC MATERIAL; COATING MATERIAL WITH METALLIC MATERIAL; CHEMICAL SURFACE TREATMENT; DIFFUSION TREATMENT OF METALLIC MATERIAL; COATING BY VACUUM EVAPORATION, BY SPUTTERING, BY ION IMPLANTATION OR BY CHEMICAL VAPOUR DEPOSITION, IN GENERAL; INHIBITING CORROSION OF METALLIC MATERIAL OR INCRUSTATION IN GENERAL
    • C23CCOATING METALLIC MATERIAL; COATING MATERIAL WITH METALLIC MATERIAL; SURFACE TREATMENT OF METALLIC MATERIAL BY DIFFUSION INTO THE SURFACE, BY CHEMICAL CONVERSION OR SUBSTITUTION; COATING BY VACUUM EVAPORATION, BY SPUTTERING, BY ION IMPLANTATION OR BY CHEMICAL VAPOUR DEPOSITION, IN GENERAL
    • C23C16/00Chemical coating by decomposition of gaseous compounds, without leaving reaction products of surface material in the coating, i.e. chemical vapour deposition [CVD] processes
    • C23C16/06Chemical coating by decomposition of gaseous compounds, without leaving reaction products of surface material in the coating, i.e. chemical vapour deposition [CVD] processes characterised by the deposition of metallic material
    • CCHEMISTRY; METALLURGY
    • C23COATING METALLIC MATERIAL; COATING MATERIAL WITH METALLIC MATERIAL; CHEMICAL SURFACE TREATMENT; DIFFUSION TREATMENT OF METALLIC MATERIAL; COATING BY VACUUM EVAPORATION, BY SPUTTERING, BY ION IMPLANTATION OR BY CHEMICAL VAPOUR DEPOSITION, IN GENERAL; INHIBITING CORROSION OF METALLIC MATERIAL OR INCRUSTATION IN GENERAL
    • C23CCOATING METALLIC MATERIAL; COATING MATERIAL WITH METALLIC MATERIAL; SURFACE TREATMENT OF METALLIC MATERIAL BY DIFFUSION INTO THE SURFACE, BY CHEMICAL CONVERSION OR SUBSTITUTION; COATING BY VACUUM EVAPORATION, BY SPUTTERING, BY ION IMPLANTATION OR BY CHEMICAL VAPOUR DEPOSITION, IN GENERAL
    • C23C16/00Chemical coating by decomposition of gaseous compounds, without leaving reaction products of surface material in the coating, i.e. chemical vapour deposition [CVD] processes
    • C23C16/22Chemical coating by decomposition of gaseous compounds, without leaving reaction products of surface material in the coating, i.e. chemical vapour deposition [CVD] processes characterised by the deposition of inorganic material, other than metallic material
    • C23C16/30Deposition of compounds, mixtures or solid solutions, e.g. borides, carbides, nitrides
    • C23C16/34Nitrides
    • CCHEMISTRY; METALLURGY
    • C23COATING METALLIC MATERIAL; COATING MATERIAL WITH METALLIC MATERIAL; CHEMICAL SURFACE TREATMENT; DIFFUSION TREATMENT OF METALLIC MATERIAL; COATING BY VACUUM EVAPORATION, BY SPUTTERING, BY ION IMPLANTATION OR BY CHEMICAL VAPOUR DEPOSITION, IN GENERAL; INHIBITING CORROSION OF METALLIC MATERIAL OR INCRUSTATION IN GENERAL
    • C23CCOATING METALLIC MATERIAL; COATING MATERIAL WITH METALLIC MATERIAL; SURFACE TREATMENT OF METALLIC MATERIAL BY DIFFUSION INTO THE SURFACE, BY CHEMICAL CONVERSION OR SUBSTITUTION; COATING BY VACUUM EVAPORATION, BY SPUTTERING, BY ION IMPLANTATION OR BY CHEMICAL VAPOUR DEPOSITION, IN GENERAL
    • C23C16/00Chemical coating by decomposition of gaseous compounds, without leaving reaction products of surface material in the coating, i.e. chemical vapour deposition [CVD] processes
    • C23C16/22Chemical coating by decomposition of gaseous compounds, without leaving reaction products of surface material in the coating, i.e. chemical vapour deposition [CVD] processes characterised by the deposition of inorganic material, other than metallic material
    • C23C16/30Deposition of compounds, mixtures or solid solutions, e.g. borides, carbides, nitrides
    • C23C16/40Oxides
    • HELECTRICITY
    • H01ELECTRIC ELEMENTS
    • H01LSEMICONDUCTOR DEVICES NOT COVERED BY CLASS H10
    • H01L21/00Processes or apparatus adapted for the manufacture or treatment of semiconductor or solid state devices or of parts thereof
    • H01L21/02Manufacture or treatment of semiconductor devices or of parts thereof
    • H01L21/04Manufacture or treatment of semiconductor devices or of parts thereof the devices having potential barriers, e.g. a PN junction, depletion layer or carrier concentration layer
    • H01L21/18Manufacture or treatment of semiconductor devices or of parts thereof the devices having potential barriers, e.g. a PN junction, depletion layer or carrier concentration layer the devices having semiconductor bodies comprising elements of Group IV of the Periodic Table or AIIIBV compounds with or without impurities, e.g. doping materials
    • H01L21/28Manufacture of electrodes on semiconductor bodies using processes or apparatus not provided for in groups H01L21/20 - H01L21/268
    • H01L21/283Deposition of conductive or insulating materials for electrodes conducting electric current
    • H01L21/285Deposition of conductive or insulating materials for electrodes conducting electric current from a gas or vapour, e.g. condensation
    • H01L21/28506Deposition of conductive or insulating materials for electrodes conducting electric current from a gas or vapour, e.g. condensation of conductive layers
    • H01L21/28512Deposition of conductive or insulating materials for electrodes conducting electric current from a gas or vapour, e.g. condensation of conductive layers on semiconductor bodies comprising elements of Group IV of the Periodic Table
    • H01L21/28556Deposition of conductive or insulating materials for electrodes conducting electric current from a gas or vapour, e.g. condensation of conductive layers on semiconductor bodies comprising elements of Group IV of the Periodic Table by chemical means, e.g. CVD, LPCVD, PECVD, laser CVD
    • H01L21/28562Selective deposition
    • HELECTRICITY
    • H10SEMICONDUCTOR DEVICES; ELECTRIC SOLID-STATE DEVICES NOT OTHERWISE PROVIDED FOR
    • H10DINORGANIC ELECTRIC SEMICONDUCTOR DEVICES
    • H10D84/00Integrated devices formed in or on semiconductor substrates that comprise only semiconducting layers, e.g. on Si wafers or on GaAs-on-Si wafers
    • HELECTRICITY
    • H10SEMICONDUCTOR DEVICES; ELECTRIC SOLID-STATE DEVICES NOT OTHERWISE PROVIDED FOR
    • H10DINORGANIC ELECTRIC SEMICONDUCTOR DEVICES
    • H10D84/00Integrated devices formed in or on semiconductor substrates that comprise only semiconducting layers, e.g. on Si wafers or on GaAs-on-Si wafers
    • H10D84/01Manufacture or treatment
    • H10D84/02Manufacture or treatment characterised by using material-based technologies
    • H10D84/03Manufacture or treatment characterised by using material-based technologies using Group IV technology, e.g. silicon technology or silicon-carbide [SiC] technology
    • H10D84/038Manufacture or treatment characterised by using material-based technologies using Group IV technology, e.g. silicon technology or silicon-carbide [SiC] technology using silicon technology, e.g. SiGe

Definitions

  • the present disclosure relates to a method for manufacturing a semiconductor device having a capacitor having a metal insulator metal structure (hereinafter referred to as an MIM capacitor).
  • an MIM capacitor configured by sandwiching a capacitive film between a lower electrode and an upper electrode.
  • an MIM capacitor is manufactured by forming an upper electrode by chemical vapor deposition (hereinafter referred to as chemical vapor deposition). ing.
  • the upper electrode when the upper electrode is formed by the CVD method, the upper electrode becomes high resistance.
  • the upper electrode When the upper electrode is formed by the CVD method, it is possible to reduce the damage to the underlying capacitive film and to increase the reliability of the capacitive film. Such an effect is obtained by reducing damage to the capacitor film serving as a base. Therefore, if the damage to the capacitor film can be reduced without using the CVD method, it is possible to increase the reliability of the capacitor film while suppressing the increase in resistance of the upper electrode. In addition, even if the damage to the capacitive film is reduced by using the CVD method, a configuration that can suppress the increase in resistance is sufficient, and if the damage to the capacitive film can be further suppressed, the reliability of the capacitive film is further improved. It becomes possible to make it.
  • This disclosure has a first object to provide a method for manufacturing a semiconductor device that can increase the reliability of a capacitive film by suppressing damage to the capacitive film. Furthermore, a second object is to provide a method of manufacturing a semiconductor device that can suppress an increase in resistance of an electrode.
  • a first electrode is formed, a capacitor film in contact with the first electrode is formed on the first electrode, and a capacitor film is formed on the capacitor film.
  • Forming a second electrode in contact with the capacitor film, and forming the second electrode comprises forming a first layer on the surface of the capacitor film by chemical vapor deposition, atomic layer deposition, or organometallic vapor deposition. And forming a second layer on the first layer by physical vapor deposition.
  • the first layer is formed on the surface of the capacitive film by chemical vapor deposition, atomic layer deposition, or organometallic vapor deposition, damage to the capacitive film can be suppressed.
  • the second electrode is not formed entirely by chemical vapor deposition, atomic layer deposition, or metal organic chemical vapor deposition, but by forming the second layer on the first layer by physical vapor deposition, It is also possible to suppress the increase in resistance of the two electrodes. Therefore, it is possible to provide a semiconductor device manufacturing method that can suppress damage to the capacitor film and increase the reliability of the capacitor film.
  • a method for manufacturing a semiconductor device includes forming a first electrode, forming a capacitive film in contact with the first electrode on the first electrode, and a capacitive film. Forming a second electrode in contact with the capacitor film, and forming the first electrode includes forming a metal oxide film on one surface of the first electrode on the capacitor film side. Contains.
  • the metal oxide film on one surface of the first electrode on the capacitor film side the roughness of the first electrode can be eliminated and the first electrode can be flattened. Damage caused by roughness can be reduced. Therefore, it is possible to provide a semiconductor device manufacturing method that can suppress damage to the capacitor film and increase the reliability of the capacitor film.
  • FIG. 1 is a cross-sectional view of a semiconductor device according to a first embodiment.
  • FIG. 3 is a cross-sectional view showing a manufacturing process of the semiconductor device shown in FIG. 1. It is the figure which showed the electrical characteristics of the MIM capacitor. It is sectional drawing which showed the damage to the capacitive film at the time of forming an upper electrode by PVD method. It is the figure which showed the relationship between the proof pressure of a MIM capacitor, and a Weibull distribution. It is the figure which showed the electrical characteristic of the MIM capacitor in the case of forming an upper electrode by sputtering. It is the figure which showed the mode of the electric charge in the MIM capacitor in an ideal state. It is the figure which showed the electrical characteristic of the MIM capacitor in an ideal state.
  • a first embodiment will be described.
  • the MIM capacitor will be described by taking a plate structure as an example.
  • the semiconductor device having the MIM capacitor described here is applied to, for example, an analog-digital converter (hereinafter referred to as an A / D converter).
  • the MIM capacitor is formed on a semiconductor substrate 1 such as a silicon substrate with an insulating film 2 interposed therebetween.
  • the MIM capacitor is configured by laminating the lower electrode 3, the capacitor film 4 and the upper electrode 5 in this order on the insulating film 2.
  • the lower electrode 3 corresponds to the first electrode, is configured using a general electrode material, and has a structure in which a metal oxide film 3 a is formed on one surface in contact with the capacitive film 4.
  • the lower electrode 3 is made of aluminum (Al), titanium nitride (TiN), titanium (Ti), copper (Cu), a single layer film such as polysilicon doped with impurities, metal silicide, or aluminum and copper. Are formed by a laminated film of a plurality of electrode materials.
  • the metal oxide film 3a is formed by oxidizing the surface of the lower electrode 3 or the like.
  • the capacitor film 4 is formed of an insulating film, and is formed in a planar shape on the lower electrode 3 in this embodiment.
  • the capacitor film 4 is made of an insulating film such as a silicon oxide film (SiO) or a silicon nitride film (SiN), and has a thickness corresponding to the required capacity.
  • the upper electrode 5 corresponds to the second electrode and is made of a general electrode material. That is, like the lower electrode 3, the upper electrode 5 is formed of a single layer film such as aluminum, titanium nitride, titanium, or copper, or a laminated film of a plurality of electrode materials such as aluminum and copper.
  • the upper electrode 5 may be made of the same material as the lower electrode 3 or may be made of a different material.
  • One surface of the upper electrode 5 on the side in contact with the capacitance film 4 is constituted by a first layer 5a formed by a CVD method or an atomic layer deposition (hereinafter referred to as ALD (abbreviation of atomic layer deposition)) method.
  • ALD abbreviation of atomic layer deposition
  • the side of the upper electrode 5 opposite to the capacitor film 4 with respect to the first layer 5a is formed by a second layer 5b formed by a physical vapor deposition (hereinafter referred to as PVD (Physical Vapor Deposition)) method such as sputtering. It is configured.
  • the second layer 5b can be formed of tungsten (W), a metal material having a low stress, or polysilicon.
  • TEOS TetraylEthylOrthoSilicate
  • a semiconductor device including the MIM capacitor according to the present embodiment is configured.
  • the MIM capacitor provided in the semiconductor device configured as described above has a wiring (not shown) connected to the lower electrode 3 and a wiring 8 connected to the upper electrode 5 respectively connected to desired positions of the integrated circuit formed on the semiconductor substrate 1. It is used by being connected to the outside through the pad portion.
  • the semiconductor substrate 1 is prepared.
  • a substrate on which semiconductor elements constituting an integrated circuit or the like are formed can be used as necessary.
  • the lower electrode 3 is formed on the surface of the insulating film 2.
  • the lower electrode 3 is formed by a PVD method such as sputtering. Note that although the case where the semiconductor substrate 1 is used as an example is described here, a substrate that is not a semiconductor substrate may be used, and the insulating film 2 may not be formed if an insulating substrate is used.
  • a metal oxide film 3 a is formed by oxidizing the surface layer portion of the lower electrode 3.
  • the metal oxide film 3a can be formed by performing O 2 plasma oxidation or thermal oxidation, which is CVD mainly composed of O 2 radicals.
  • the O 2 plasma oxidation includes an O 2 gas atmosphere included in the process so far.
  • the metal oxide film 3a can be formed by O 2 plasma oxidation in an O 2 gas atmosphere included in the dry etching gas.
  • dry etching performed during the formation of a semiconductor element, formation of a contact hole (not shown) in the insulating film 2 or dry etching when patterning the lower electrode 3 are applicable.
  • the lower electrode 3 can be formed using the above-described materials, but when the lower electrode 3 is made of titanium nitride, a titanium oxide (TiO) film is formed as the metal oxide film 3a.
  • TiO titanium oxide
  • a capacitive film 4 is formed on the lower electrode 3.
  • the capacitor film 4 is formed by forming a silicon oxide film by a CVD method or the like.
  • the metal oxide film 3a is formed and the metal oxide film 3a is formed by the oxidation of the lower electrode 3 itself, so that the capacitor film 4 formed thereon is formed. It becomes possible to suppress damage. That is, when the lower electrode 3 is simply formed, the capacitance film 4 formed with the lower electrode 3 as a base becomes non-uniform due to roughness of the surface of the lower electrode 3, that is, unevenness. Damage is imparted to the film, which degrades the film quality.
  • the roughness cannot be improved when a metal oxide film made of a metal different from the lower electrode 3 is formed on the lower electrode 3.
  • the one surface side of the lower electrode 3 as the metal oxide film 3a by the oxidation of the lower electrode 3 itself, it is possible to suppress the nonuniformity of the film thickness of the capacitor film 4 and the deterioration of the film quality.
  • the surface unevenness can be reduced and the portion where the electric field is concentrated can be eliminated.
  • An upper electrode 5 is formed on the capacitive film 4.
  • the first layer 5a is formed by the CVD method or the ALD method, and then the second layer 5b is formed by the PVD method, whereby the upper electrode 5 is formed.
  • the first layer 5a is formed by a CVD method or an ALD method in which damage to the capacitive film 4 is unlikely to occur.
  • the entire upper electrode 5 is not formed by the CVD method or the ALD method.
  • a second layer 5b is formed on the first layer 5a by the PVD method.
  • the second layer 5b formed by the PVD method is less likely to enter impurities and has a lower resistance value than the first layer 5a formed by the CVD method or the ALD method. For this reason, by using a laminated film of the first layer 5a and the second layer 5b, it is possible to reduce the resistance of the upper electrode 5 while suppressing damage to the capacitor film 4.
  • the upper electrode 5 and the capacitive film 4 are patterned using a predetermined mask.
  • a step of forming an interlayer insulating film 6 on the upper electrode 5 or the like is performed.
  • a contact hole 6a is formed in the interlayer insulating film 6 using a predetermined mask, and then a via 7 is formed in the contact hole 6a by embedding a bonding metal material such as a tungsten plug.
  • the wiring 8 is formed by patterning with a predetermined mask. Thereby, the semiconductor device having the MIM capacitor shown in FIG. 1 can be manufactured.
  • the influence of the electrical characteristics of the MIM capacitor appears as a conversion error in A / D conversion when digital output is performed for an analog input.
  • the electrical characteristics of the MIM capacitor have a parabolic relationship as shown in FIG. 3.
  • the smaller the capacitance change with respect to the change in voltage applied to the MIM capacitor the better the electrical characteristics.
  • the error can also be reduced.
  • the roughness of the surface of the lower electrode 3 is inevitably achieved when the lower electrode 3 is formed, and the flatness of the surface of the lower electrode 3 cannot be ensured simply by forming the lower electrode 3 by the PVD method or the like. This causes damage such as defects in the capacitive film 4.
  • the electrical characteristics of the MIM capacitor were examined, and the result shown in FIG. 6 was obtained.
  • the electric characteristic indicated by the capacitance change C / Co of the MIM capacitor with respect to the voltage (V) applied to the MIM capacitor has a parabolic relationship.
  • the linear coefficient in the approximate quadratic function corresponds to the slope of the tangent to the apex of the parabola
  • the quadratic coefficient corresponds to the degree of opening of the parabola.
  • the primary coefficient was 38.5 ppm / V
  • the secondary coefficient was ⁇ 6.9 ppm / V 2 .
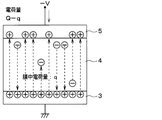
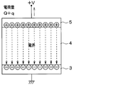
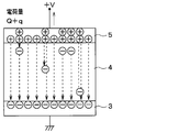
  • the capacitance change C / Co with respect to the voltage (V) applied to the MIM capacitor is constant at any voltage, and the capacitance change C / Co does not depend on the voltage (V).
  • the capacitance change C / Co with respect to the voltage (V) applied to the MIM capacitor that is, the electrical characteristic does not become constant, and an inclination occurs.
  • the slope of the electric characteristic is a linear change mainly composed of a first-order coefficient, and changes as indicated by an arrow in the figure depending on the amount of charge trapped.
  • the first layer 5a is first formed by the CVD method or the ALD method, so that the capacitor film 4 is formed. Damage can be suppressed, and the electrical characteristics of the MIM capacitor can be made close to constant.
  • the breakdown voltage of the capacitive film 4 is compared with the case where damage has occurred. The result that reliability was secured was obtained. Further, when the electrical characteristics of the MIM capacitor were examined in the case of forming the first layer 5a, the electrical characteristics became substantially linear as shown in FIG. When this electric characteristic was approximated by a quadratic function, the primary coefficient in the approximate quadratic function was 21.5 ppm / V, and the secondary coefficient was -1.2 ppm / V 2 . This result also shows that the approximate quadratic function is almost linear.
  • damage to the capacitor film 4 particularly affects the electricity of the MIM capacitor.
  • the damage to the capacitor film 4 is mainly due to the roughness of the lower electrode 3 and the physical properties when the upper electrode 5 is formed. This is due to damage.
  • the roughness due to the roughness of the lower electrode 3 on the capacitance film 4 can be reduced by eliminating the roughness of the lower electrode 3 and further flattening, and the first layer 5a of the upper electrode 5 can be reduced.
  • the CVD method or the like physical damage to the capacitive film 4 can be reduced.
  • the crystal structure in the capacitive film 4 is in an ordered state, and dangling bonds are reduced.
  • a semiconductor device having a capacitor capable of suppressing damage to the capacitor film 4 and improving the reliability of the capacitor film 4 can be used as a manufacturing method.
  • the upper electrode 5 is not formed entirely by the CVD method or the like, but the second layer 5b is formed on the first layer 5a by the PVD method or the like, thereby suppressing the resistance of the upper electrode 5 from being increased. It becomes possible.
  • an interlayer insulating film 10 is formed on the lower electrode 3, and a capacitive film so as to enter a trench 10 a formed so as to penetrate the interlayer insulating film 10. 4 and the upper electrode 5 are formed.
  • the lower electrode 3 is exposed from the trench 10a, and the capacitor film 4 and the upper electrode 5 are sequentially stacked so as to be in contact with the exposed portion of the lower electrode 3.
  • an interlayer insulating film 6 and a wiring 8 are sequentially formed on the upper electrode 5, and the wiring 8 is electrically connected to the upper electrode 5 through a via 7 formed in the contact hole 6 a of the interlayer insulating film 6.
  • the MIM capacitor has a trench structure in which the capacitive film 4 and the upper electrode 5 are formed so as to enter the trench 10a. Also in the MIM capacitor having such a structure, the same effect as that of the first embodiment can be obtained by forming the metal oxide film 3a on the one surface side of the lower electrode 3 or forming the first layer 5a on the upper electrode 5. be able to.
  • the manufacturing method of the semiconductor device having the MIM capacitor having such a structure is basically the same as that of the first embodiment, but the manufacturing process of the capacitive film 4 and the upper electrode 5 is the same as that of the first embodiment. It will be changed from the manufacturing method. Specifically, before the step shown in FIG. 2C, the interlayer insulating film 10 is formed by a TEOS film or the like, and then a trench 10a is formed in the interlayer insulating film 10 using a mask (not shown). Then, the process after the process shown in FIG.2 (c) is performed in order. By such a manufacturing method, the semiconductor device having the MIM capacitor of this embodiment can be manufactured.
  • a third embodiment will be described.
  • a reverse connection capacitor is configured using the MIM capacitor described in the first and second embodiments, and the configuration itself of the MIM capacitor is the same as that of the first and second embodiments. Only differences from the second embodiment will be described.
  • two MIM capacitors shown in the first and second embodiments are provided.
  • the upper electrode 5 of one MIM capacitor C1 and the lower electrode 3 of the other MIM capacitor C2 are electrically connected, and the lower electrode 3 of one MIM capacitor C1 and the upper electrode 5 of the other MIM capacitor C2 Are electrically connected.
  • the respective electrical characteristics can be added. That is, as shown in FIG. 15, the electrical characteristic of one MIM capacitor C1 has a characteristic that the capacitance change C / Co increases based on the increase of the voltage (V), and the electrical characteristic of the other MIM capacitor C1 is the voltage (V ), The capacitance change C / Co decreases. For this reason, when the electric characteristics of these two MIM capacitors C1 and C2 are added together, the electric characteristics of the electric characteristics cancel each other, and the electric power is almost flat. In this way, it is possible to cancel the linear component of the electric characteristics, that is, the primary coefficient, and it is possible to obtain an electric characteristic close to a constant.
  • both the formation of the metal oxide film 3a on the one surface side of the lower electrode 3 and the formation of the first layer 5a on the upper electrode 5 are performed.
  • the film quality of the capacitive film 4 can be improved.
  • the film quality improvement effect of the capacitive film 4 can be further improved, and the reliability of the capacitive film 4 can be further improved.
  • the upper electrode 5 has a structure in which the second layer 5b is formed on the first layer 5a, the second layer 5b is not necessarily required. That is, the via 7 may be directly connected to the first layer 5a.
  • an insulating film such as a silicon oxide film or a silicon nitride film has been described as an example, but other insulating films such as aluminum oxide (Al 2 O 3 ) may be used.
  • a laminated structure of various types of insulating films may be used.
  • the first layer 5a in the upper electrode 5 is formed by metal organic chemical vapor deposition (MOCVD (abbreviation of metal-organic chemical vapor deposition)). You may do it.
  • MOCVD abbreviation of metal-organic chemical vapor deposition
  • the structure in which the first electrode is the lower electrode and the second electrode is the upper electrode has been described.

Landscapes

  • Chemical & Material Sciences (AREA)
  • Engineering & Computer Science (AREA)
  • Chemical Kinetics & Catalysis (AREA)
  • Organic Chemistry (AREA)
  • General Chemical & Material Sciences (AREA)
  • Materials Engineering (AREA)
  • Mechanical Engineering (AREA)
  • Metallurgy (AREA)
  • Inorganic Chemistry (AREA)
  • Condensed Matter Physics & Semiconductors (AREA)
  • Physics & Mathematics (AREA)
  • General Physics & Mathematics (AREA)
  • Manufacturing & Machinery (AREA)
  • Computer Hardware Design (AREA)
  • Microelectronics & Electronic Packaging (AREA)
  • Power Engineering (AREA)
  • Semiconductor Integrated Circuits (AREA)
  • Physical Vapour Deposition (AREA)
  • Chemical Vapour Deposition (AREA)
PCT/JP2016/084092 2016-01-22 2016-11-17 半導体装置の製造方法 Ceased WO2017126207A1 (ja)

Priority Applications (1)

Application Number Priority Date Filing Date Title
US15/777,681 US10403709B2 (en) 2016-01-22 2016-11-17 Method for manufacturing semiconductor device

Applications Claiming Priority (2)

Application Number Priority Date Filing Date Title
JP2016-010821 2016-01-22
JP2016010821A JP6583014B2 (ja) 2016-01-22 2016-01-22 半導体装置の製造方法

Publications (1)

Publication Number Publication Date
WO2017126207A1 true WO2017126207A1 (ja) 2017-07-27

Family

ID=59362060

Family Applications (1)

Application Number Title Priority Date Filing Date
PCT/JP2016/084092 Ceased WO2017126207A1 (ja) 2016-01-22 2016-11-17 半導体装置の製造方法

Country Status (3)

Country Link
US (1) US10403709B2 (enExample)
JP (1) JP6583014B2 (enExample)
WO (1) WO2017126207A1 (enExample)

Families Citing this family (2)

* Cited by examiner, † Cited by third party
Publication number Priority date Publication date Assignee Title
JP2018120123A (ja) * 2017-01-26 2018-08-02 株式会社ジャパンディスプレイ 表示装置及び基板間導通構造
JP6888581B2 (ja) 2018-04-11 2021-06-16 株式会社デンソー 半導体装置およびその製造方法

Citations (6)

* Cited by examiner, † Cited by third party
Publication number Priority date Publication date Assignee Title
JP2001200363A (ja) * 1999-12-03 2001-07-24 Asm Microchemistry Oy テクスチャ加工されたキャパシタ電極上のコンフォーマル薄膜
JP2004064091A (ja) * 2002-07-30 2004-02-26 Samsung Electronics Co Ltd 半導体装置のキャパシタ及びその製造方法
JP2007134726A (ja) * 2005-11-12 2007-05-31 Samsung Electronics Co Ltd Mimキャパシタを備える集積回路装置およびその製造方法
JP2011258832A (ja) * 2010-06-10 2011-12-22 Renesas Electronics Corp 半導体装置及び半導体装置の製造方法
JP2012104551A (ja) * 2010-11-08 2012-05-31 Elpida Memory Inc 半導体記憶装置及びその製造方法
JP2014154585A (ja) * 2013-02-05 2014-08-25 Mitsubishi Electric Corp 半導体装置、半導体装置の製造方法

Family Cites Families (11)

* Cited by examiner, † Cited by third party
Publication number Priority date Publication date Assignee Title
JPH04241449A (ja) * 1991-01-16 1992-08-28 Hitachi Ltd 半導体集積回路装置
JPH11274428A (ja) * 1998-03-19 1999-10-08 Kawasaki Steel Corp 半導体装置及びその製造方法
JP3948321B2 (ja) * 2002-03-26 2007-07-25 株式会社村田製作所 3端子コンデンサの実装構造
KR100480603B1 (ko) 2002-07-19 2005-04-06 삼성전자주식회사 일정한 커패시턴스를 갖는 금속-절연체-금속 커패시터를 포함하는 반도체 소자
JP4571836B2 (ja) 2004-07-23 2010-10-27 ルネサスエレクトロニクス株式会社 半導体装置およびその製造方法
JP4837943B2 (ja) * 2005-05-30 2011-12-14 ラピスセミコンダクタ株式会社 半導体装置およびその製造方法
JP4333642B2 (ja) * 2005-06-17 2009-09-16 ヤマハ株式会社 キャパシタ装置及びキャパシタ装置の製造方法
JP2007294848A (ja) * 2006-03-30 2007-11-08 Eudyna Devices Inc キャパシタおよび電子回路
KR101712040B1 (ko) 2009-10-20 2017-03-03 에이에스엠 인터내셔널 엔.브이. 유전체 막들의 부동태화를 위한 공정들
EP2434531B1 (en) 2010-09-28 2019-12-04 IMEC vzw Method for manufacturing of a metal-insulator-metal capacitor
US8952748B2 (en) * 2013-03-13 2015-02-10 Futurewei Technologies, Inc. Circuit and method for a multi-mode filter

Patent Citations (6)

* Cited by examiner, † Cited by third party
Publication number Priority date Publication date Assignee Title
JP2001200363A (ja) * 1999-12-03 2001-07-24 Asm Microchemistry Oy テクスチャ加工されたキャパシタ電極上のコンフォーマル薄膜
JP2004064091A (ja) * 2002-07-30 2004-02-26 Samsung Electronics Co Ltd 半導体装置のキャパシタ及びその製造方法
JP2007134726A (ja) * 2005-11-12 2007-05-31 Samsung Electronics Co Ltd Mimキャパシタを備える集積回路装置およびその製造方法
JP2011258832A (ja) * 2010-06-10 2011-12-22 Renesas Electronics Corp 半導体装置及び半導体装置の製造方法
JP2012104551A (ja) * 2010-11-08 2012-05-31 Elpida Memory Inc 半導体記憶装置及びその製造方法
JP2014154585A (ja) * 2013-02-05 2014-08-25 Mitsubishi Electric Corp 半導体装置、半導体装置の製造方法

Also Published As

Publication number Publication date
US20180350897A1 (en) 2018-12-06
JP2017130620A (ja) 2017-07-27
US10403709B2 (en) 2019-09-03
JP6583014B2 (ja) 2019-10-02

Similar Documents

Publication Publication Date Title
JP2682392B2 (ja) 薄膜キャパシタおよびその製造方法
US7915135B2 (en) Method of making multi-layer structure for metal-insulator-metal capacitor
US9196674B2 (en) Insulation layer to improve capacitor breakdown voltage
US7872292B2 (en) Capacitance dielectric layer and capacitor
KR20050028748A (ko) 적어도 3층의 고유전막들을 갖는 아날로그 커패시터 및그것을 제조하는 방법
EP3758067B1 (en) Capacitor and manufacturing method therefor
US7745280B2 (en) Metal-insulator-metal capacitor structure
JP6583014B2 (ja) 半導体装置の製造方法
US20080038895A1 (en) Capacitor of semiconductor device and method of manufacturing the same
KR20180027269A (ko) 박막 커패시터
TWI622176B (zh) Mim電容之結構及其製造方法
US20180138263A1 (en) Semiconductor structure and method for forming the same
CN112018241B (zh) 半导体结构及其形成方法
TWI430399B (zh) 製造供金屬-絕緣體-金屬電容使用之多層結構之方法
US20070052107A1 (en) Multi-layered structure and fabricating method thereof and dual damascene structure, interconnect structure and capacitor
JP5396943B2 (ja) 半導体装置及びその製造方法
KR100685635B1 (ko) 반도체 소자의 엠아이엠 캐패시터 형성방법 및 엠아이엠캐패시터
KR100951557B1 (ko) TiN 하부 전극을 갖는 반도체 메모리 소자 및 그제조방법
CN118016652B (zh) Mim电容的制造方法及mim电容
TW202401841A (zh) 金屬絕緣體金屬電容器結構及其製造方法
JP2008147300A (ja) 半導体装置およびその製造方法
CN110730905A (zh) 半导体装置及其制造方法
CN100479157C (zh) 金属-绝缘层-金属电容器的制造方法
KR100523168B1 (ko) 반도체 소자의 커패시터 제조 방법
US20110278697A1 (en) Metal-insulator-metal capacitor and method for fabricating metal-insulator-metal capacitor structures

Legal Events

Date Code Title Description
121 Ep: the epo has been informed by wipo that ep was designated in this application

Ref document number: 16886446

Country of ref document: EP

Kind code of ref document: A1

NENP Non-entry into the national phase

Ref country code: DE

122 Ep: pct application non-entry in european phase

Ref document number: 16886446

Country of ref document: EP

Kind code of ref document: A1