WO2016158649A1 - マスクブランク、位相シフトマスク及び位相シフトマスクの製造方法、並びに半導体装置の製造方法 - Google Patents

マスクブランク、位相シフトマスク及び位相シフトマスクの製造方法、並びに半導体装置の製造方法 Download PDF

Info

Publication number
WO2016158649A1
WO2016158649A1 PCT/JP2016/059326 JP2016059326W WO2016158649A1 WO 2016158649 A1 WO2016158649 A1 WO 2016158649A1 JP 2016059326 W JP2016059326 W JP 2016059326W WO 2016158649 A1 WO2016158649 A1 WO 2016158649A1
Authority
WO
WIPO (PCT)
Prior art keywords
phase shift
film
layer
mask
silicon
Prior art date
Legal status (The legal status is an assumption and is not a legal conclusion. Google has not performed a legal analysis and makes no representation as to the accuracy of the status listed.)
Ceased
Application number
PCT/JP2016/059326
Other languages
English (en)
French (fr)
Japanese (ja)
Inventor
博明 宍戸
野澤 順
Current Assignee (The listed assignees may be inaccurate. Google has not performed a legal analysis and makes no representation or warranty as to the accuracy of the list.)
Hoya Corp
Original Assignee
Hoya Corp
Priority date (The priority date is an assumption and is not a legal conclusion. Google has not performed a legal analysis and makes no representation as to the accuracy of the date listed.)
Filing date
Publication date
Application filed by Hoya Corp filed Critical Hoya Corp
Priority to KR1020177030296A priority Critical patent/KR102069960B1/ko
Priority to US15/561,124 priority patent/US10365556B2/en
Publication of WO2016158649A1 publication Critical patent/WO2016158649A1/ja
Anticipated expiration legal-status Critical
Ceased legal-status Critical Current

Links

Images

Classifications

    • GPHYSICS
    • G03PHOTOGRAPHY; CINEMATOGRAPHY; ANALOGOUS TECHNIQUES USING WAVES OTHER THAN OPTICAL WAVES; ELECTROGRAPHY; HOLOGRAPHY
    • G03FPHOTOMECHANICAL PRODUCTION OF TEXTURED OR PATTERNED SURFACES, e.g. FOR PRINTING, FOR PROCESSING OF SEMICONDUCTOR DEVICES; MATERIALS THEREFOR; ORIGINALS THEREFOR; APPARATUS SPECIALLY ADAPTED THEREFOR
    • G03F1/00Originals for photomechanical production of textured or patterned surfaces, e.g., masks, photo-masks, reticles; Mask blanks or pellicles therefor; Containers specially adapted therefor; Preparation thereof
    • G03F1/26Phase shift masks [PSM]; PSM blanks; Preparation thereof
    • G03F1/32Attenuating PSM [att-PSM], e.g. halftone PSM or PSM having semi-transparent phase shift portion; Preparation thereof
    • CCHEMISTRY; METALLURGY
    • C23COATING METALLIC MATERIAL; COATING MATERIAL WITH METALLIC MATERIAL; CHEMICAL SURFACE TREATMENT; DIFFUSION TREATMENT OF METALLIC MATERIAL; COATING BY VACUUM EVAPORATION, BY SPUTTERING, BY ION IMPLANTATION OR BY CHEMICAL VAPOUR DEPOSITION, IN GENERAL; INHIBITING CORROSION OF METALLIC MATERIAL OR INCRUSTATION IN GENERAL
    • C23CCOATING METALLIC MATERIAL; COATING MATERIAL WITH METALLIC MATERIAL; SURFACE TREATMENT OF METALLIC MATERIAL BY DIFFUSION INTO THE SURFACE, BY CHEMICAL CONVERSION OR SUBSTITUTION; COATING BY VACUUM EVAPORATION, BY SPUTTERING, BY ION IMPLANTATION OR BY CHEMICAL VAPOUR DEPOSITION, IN GENERAL
    • C23C14/00Coating by vacuum evaporation, by sputtering or by ion implantation of the coating forming material
    • C23C14/06Coating by vacuum evaporation, by sputtering or by ion implantation of the coating forming material characterised by the coating material
    • CCHEMISTRY; METALLURGY
    • C23COATING METALLIC MATERIAL; COATING MATERIAL WITH METALLIC MATERIAL; CHEMICAL SURFACE TREATMENT; DIFFUSION TREATMENT OF METALLIC MATERIAL; COATING BY VACUUM EVAPORATION, BY SPUTTERING, BY ION IMPLANTATION OR BY CHEMICAL VAPOUR DEPOSITION, IN GENERAL; INHIBITING CORROSION OF METALLIC MATERIAL OR INCRUSTATION IN GENERAL
    • C23CCOATING METALLIC MATERIAL; COATING MATERIAL WITH METALLIC MATERIAL; SURFACE TREATMENT OF METALLIC MATERIAL BY DIFFUSION INTO THE SURFACE, BY CHEMICAL CONVERSION OR SUBSTITUTION; COATING BY VACUUM EVAPORATION, BY SPUTTERING, BY ION IMPLANTATION OR BY CHEMICAL VAPOUR DEPOSITION, IN GENERAL
    • C23C14/00Coating by vacuum evaporation, by sputtering or by ion implantation of the coating forming material
    • C23C14/06Coating by vacuum evaporation, by sputtering or by ion implantation of the coating forming material characterised by the coating material
    • C23C14/0641Nitrides
    • C23C14/0652Silicon nitride
    • CCHEMISTRY; METALLURGY
    • C23COATING METALLIC MATERIAL; COATING MATERIAL WITH METALLIC MATERIAL; CHEMICAL SURFACE TREATMENT; DIFFUSION TREATMENT OF METALLIC MATERIAL; COATING BY VACUUM EVAPORATION, BY SPUTTERING, BY ION IMPLANTATION OR BY CHEMICAL VAPOUR DEPOSITION, IN GENERAL; INHIBITING CORROSION OF METALLIC MATERIAL OR INCRUSTATION IN GENERAL
    • C23CCOATING METALLIC MATERIAL; COATING MATERIAL WITH METALLIC MATERIAL; SURFACE TREATMENT OF METALLIC MATERIAL BY DIFFUSION INTO THE SURFACE, BY CHEMICAL CONVERSION OR SUBSTITUTION; COATING BY VACUUM EVAPORATION, BY SPUTTERING, BY ION IMPLANTATION OR BY CHEMICAL VAPOUR DEPOSITION, IN GENERAL
    • C23C14/00Coating by vacuum evaporation, by sputtering or by ion implantation of the coating forming material
    • C23C14/06Coating by vacuum evaporation, by sputtering or by ion implantation of the coating forming material characterised by the coating material
    • C23C14/0682Silicides
    • GPHYSICS
    • G03PHOTOGRAPHY; CINEMATOGRAPHY; ANALOGOUS TECHNIQUES USING WAVES OTHER THAN OPTICAL WAVES; ELECTROGRAPHY; HOLOGRAPHY
    • G03FPHOTOMECHANICAL PRODUCTION OF TEXTURED OR PATTERNED SURFACES, e.g. FOR PRINTING, FOR PROCESSING OF SEMICONDUCTOR DEVICES; MATERIALS THEREFOR; ORIGINALS THEREFOR; APPARATUS SPECIALLY ADAPTED THEREFOR
    • G03F1/00Originals for photomechanical production of textured or patterned surfaces, e.g., masks, photo-masks, reticles; Mask blanks or pellicles therefor; Containers specially adapted therefor; Preparation thereof
    • G03F1/66Containers specially adapted for masks, mask blanks or pellicles; Preparation thereof

Definitions

  • the present invention relates to a phase shift mask used for manufacturing a semiconductor device and a mask blank used for manufacturing the same.
  • the present invention relates to a phase shift mask suitably used for an exposure apparatus that uses exposure light having a short wavelength of 200 nm or less as an exposure light source, and a method for manufacturing the same.
  • a fine pattern is formed using a photolithography method.
  • a number of substrates called transfer masks (photomasks) are usually used for forming this fine pattern.
  • This transfer mask is generally provided with a fine pattern made of a metal thin film or the like on a translucent glass substrate, and a photolithography method is also used in the production of the photomask.
  • semiconductor device patterns have been remarkably miniaturized.
  • the wavelength has been shortened from a KrF excimer laser (wavelength 248 nm) to an ArF excimer laser (wavelength 193 nm).
  • a halftone phase shift mask is known in addition to a binary mask having a light-shielding film pattern made of a chromium-based material on a conventional translucent substrate.
  • This halftone phase shift mask has a structure having a light semi-transmissive film (phase shift film) on a translucent substrate, and the light semi-transmissive film has a light intensity that does not substantially contribute to exposure (for example, In other words, a material made of a transition metal silicide compound such as molybdenum silicide is widely used.
  • the halftone phase shift mask includes a light semi-transmission part obtained by patterning a light semi-transmission film, and a light transmission part that does not have the light semi-transmission film and transmits light having an intensity that substantially contributes to exposure. Near the boundary between the light semi-transmission part and the light transmission part by making the phase of the light transmitted through the light semi-transmission part substantially inverted with respect to the phase of the light transmitted through the light transmission part. The light that has passed through the beam and spilled into the other region due to the diffraction phenomenon cancels each other out, and the light intensity at the boundary is made almost zero to improve the contrast of the boundary, that is, the resolution.
  • the background of the problem of mask deterioration due to repeated use of such a transfer mask is presumed as follows.
  • Conventionally for example, when haze is generated, cleaning is performed to remove the haze, but film reduction (elution) due to cleaning is unavoidable, and the number of times of cleaning determines the mask life.
  • the number of cleanings has been reduced due to the recent improvement in haze, the repeated use period of the mask has been extended, and the exposure time has also been extended accordingly. It was.
  • the transition metal silicide film after the pattern is formed is subjected to plasma treatment, UV irradiation treatment, or heat treatment. And a method of forming a passive film on the surface of the pattern of the transition metal silicide film is described. By forming a passive film on the surface of the pattern, the light resistance of the transition metal silicide film to the exposure light is being improved.
  • the ratio of the transition metal of the transition metal in the sum total of a silicon and a transition metal is 9 atomic% or less, and the example of the light semi-transmissive film
  • a bond between a transition metal and nitrogen, and a bond between a transition metal and silicon are controlled to prevent oxidation of the transition metal accompanying exposure light exposure and to improve light resistance.
  • Patent Document 1 According to the methods described in Patent Document 1 and Patent Document 2 as described above, the effect of suppressing deterioration of the transition metal silicide-based thin film accompanying exposure light exposure can be obtained.
  • the method described in Patent Document 1 has a problem that it is difficult to make the layer thickness (film thickness) of the passivated region uniform. If the layer thickness of the passivated region is not uniform, the refractive index and extinction coefficient will not be uniform.
  • the method described in Patent Document 2 when an incomplete nitride film is formed so as to be in a desired bonding state, conditions for nitrogen flow rate during film formation and pressure control in the film formation chamber are complicated. It has the problem of being. In short, with the conventional technique, although the effect of improving the light resistance can be obtained to some extent, it is difficult to realize a stable light resistance improvement effect, and it is difficult to obtain a mask with a stable quality even after long-term use.
  • the present invention has been made to solve the conventional problems, and the object of the present invention is firstly excellent in light resistance of the transition metal silicide phase shift film with respect to exposure light having a wavelength of 200 nm or less, and It is to provide a mask blank excellent in quality stability. Secondly, it is to provide a phase shift mask manufactured using this mask blank, and thirdly, to provide a method of manufacturing a semiconductor device to which this phase shift mask is applied.
  • the conventional sputter-deposited MoSi-based film has a structural gap, and even if annealed after film formation, the change in the structure of the MoSi film is small.
  • Si and Mo constituting the light semi-transmissive film in such an environment are excited and become a transition state when irradiated with exposure light (especially short wavelength light such as ArF), and Si is oxidized and expanded (as compared with Si).
  • Mo also altered layer is produced on the surface layer side of the light semi-transmitting film is oxidized.
  • the exposure light is accumulated by repeated use of the photomask, the oxidation and expansion of Si further progress, and the oxidized Mo diffuses in the altered layer and precipitates on the surface, for example, MoO. 3.
  • the thickness of the deteriorated layer gradually increases (the proportion of the deteriorated layer in the MoSi film increases).
  • the phenomenon in which such a deteriorated layer is generated and further expanded is the energy required for these constituent atoms, which trigger the oxidation reaction of Si and Mo constituting the light semitransmissive film, to be excited and enter a transition state. This is remarkably confirmed in the case of exposure light having a short wavelength, such as an ArF excimer laser having a thickness of ⁇ .
  • the present inventor paid attention to attenuating the exposure light irradiated to the phase shift film such as the MoSi film as a measure for suppressing the generation and expansion of the deteriorated layer, and conducted further research. As a result of continuing, the present invention has been completed. That is, in order to solve the above problems, the present invention has the following configuration.
  • a mask blank for producing a phase shift mask to which laser exposure light having a wavelength of 200 nm or less is applied comprising a phase shift film on a translucent substrate, wherein the phase shift film includes at least a transition metal and A phase shift layer containing silicon; and a silicon layer for attenuating exposure light irradiated to the phase shift layer, the silicon layer being formed in contact with the substrate side of the phase shift layer A mask blank characterized by that.
  • (Configuration 4) 4. The mask blank according to any one of configurations 1 to 3, wherein the silicon layer has an exposure light transmittance of 30% to 70%.
  • (Configuration 5) The mask blank according to any one of configurations 1 to 4, wherein the phase shift layer further contains one or both of nitrogen and oxygen.
  • (Configuration 8) The mask blank according to any one of Structures 1 to 7, further comprising a light-shielding film containing chromium as a main component on a surface of the phase shift film opposite to the substrate.
  • (Configuration 9) 9. The mask blank according to Configuration 8, wherein a hard mask film containing silicon is provided on a surface of the light shielding film opposite to the phase shift film.
  • phase shift mask A method of manufacturing a phase shift mask, comprising a step of patterning the phase shift film in the mask blank according to any one of configurations 1 to 9.
  • configuration 11 A phase shift mask to which laser exposure light having a wavelength of 200 nm or less is applied, comprising a phase shift film pattern on a translucent substrate, wherein the phase shift film pattern includes a phase containing at least a transition metal and silicon.
  • Phase shift mask A phase shift mask to which laser exposure light having a wavelength of 200 nm or less is applied, comprising a phase shift film pattern on a translucent substrate, wherein the phase shift film pattern includes a phase containing at least a transition metal and silicon.
  • a shift layer and a silicon layer that attenuates exposure light applied to the phase shift layer, wherein the silicon layer is formed in contact with the substrate side of the phase shift layer.
  • a method for manufacturing a semiconductor device comprising:
  • a phase shift film is provided on a translucent substrate, the phase shift film includes a phase shift layer containing at least a transition metal and silicon, and exposure light applied to the phase shift layer.
  • the silicon layer is formed in contact with the substrate side of the phase shift layer.
  • the silicon layer is present under the phase shift layer (substrate side, that is, the exposure side), and in the phase shift mask manufactured using this mask blank, the exposure light attenuated in the phase shift layer. Since it is irradiated, the transition metal contained in the phase shift layer is hardly excited by the exposure light, so that the oxidation and alteration of the phase shift layer containing the transition metal silicide can be effectively suppressed. Therefore, according to the present invention, it is possible to obtain a mask blank excellent in light resistance and quality stability of the transition metal silicide phase shift film with respect to exposure light having a wavelength of 200 nm or less.
  • the transition metal silicide phase shift film is excellent in light resistance and quality with respect to exposure light having a wavelength of 200 nm or less as described above. Excellent stability. Further, a high-quality semiconductor device with excellent pattern accuracy can be manufactured by pattern transfer using this phase shift mask.
  • FIG. 1 is a schematic cross-sectional view of an embodiment of a mask blank according to the present invention. It is the cross-sectional schematic of other embodiment of the mask blank which concerns on this invention. It is the cross-sectional schematic of other embodiment of the mask blank which concerns on this invention. It is a cross-sectional schematic diagram which shows one manufacturing process of the phase shift mask using the mask blank which concerns on this invention. It is a cross-sectional schematic diagram which shows one manufacturing process of the phase shift mask using the mask blank which concerns on this invention. It is a cross-sectional schematic diagram which shows one manufacturing process of the phase shift mask using the mask blank which concerns on this invention. It is a cross-sectional schematic diagram which shows one manufacturing process of the phase shift mask using the mask blank which concerns on this invention. It is a cross-sectional schematic diagram which shows one manufacturing process of the phase shift mask using the mask blank which concerns on this invention.
  • the present invention is a mask blank for producing a phase shift mask to which laser exposure light having a wavelength of 200 nm or less is applied, as described in Configuration 1, and includes a phase shift film on a translucent substrate.
  • the phase shift film includes a phase shift layer containing at least a transition metal and silicon, and a silicon layer that attenuates exposure light irradiated to the phase shift layer, and the silicon layer includes the phase shift layer.
  • the present invention relates to a mask blank that is formed in contact with the substrate side of a shift layer.
  • the mask blank of the present invention is particularly suitable for producing a halftone phase shift mask among the phase shift masks.
  • FIG. 1 is a schematic sectional view showing an embodiment of a mask blank according to the present invention.
  • an embodiment of a mask blank 10 according to the present invention has a structure in which a phase shift film 2 is provided on a translucent substrate 1.
  • the phase shift film 2 includes a phase shift layer 22 containing at least a transition metal and silicon, and a silicon layer 21 that attenuates exposure light irradiated to the phase shift layer 22.
  • the layer 21 is formed in contact with the substrate 1 side of the phase shift layer. That is, in the present embodiment, the phase soft film 2 in which the silicon layer 21 and the phase shift layer 22 are laminated in this order is provided on the translucent substrate 1.
  • the translucent substrate 1 in the mask blank 10 is not particularly limited as long as it is a substrate used for a transfer mask for manufacturing a semiconductor device.
  • a synthetic quartz substrate and other various glass substrates for example, soda lime glass, Aluminosilicate glass or the like.
  • a synthetic quartz substrate is particularly preferably used because it is highly transparent in an ArF excimer laser (wavelength 193 nm) effective for fine pattern formation or in a shorter wavelength region.
  • the phase shift film 2 has a laminated structure of a silicon layer 21 and a phase shift layer 22.
  • the silicon layer 21 is present in the lower layer (substrate side) of the phase shift layer 22.
  • the phase shift layer 22 is formed of a material containing at least a transition metal and silicon, but the configuration of the phase shift layer 22 applicable to the present invention is not particularly limited. For example, it has been conventionally used.
  • the configuration of the phase shift film in the existing phase shift mask can be applied.
  • phase shift layer 22 examples include, for example, a light semi-transmissive film containing a metal silicide composed of transition metal and silicon, or transition metal and silicon with optical properties and physical properties (etching rate, other films ( A light translucent film containing a transition metal silicide material containing one or more elements selected from oxygen, nitrogen or carbon in order to improve the etching selectivity with the layer) and the like is preferred.
  • transition metal examples include molybdenum, tantalum, tungsten, titanium, chromium, nickel, vanadium, zirconium, ruthenium, and rhodium. Of these, molybdenum is particularly preferred. In the case where the transition metal is molybdenum, the problem of deterioration of the conventional phase shift film due to exposure light occurs remarkably, so that the effects of the present invention are particularly exhibited.
  • the material containing at least a transition metal and silicon include a transition metal silicide or a transition metal silicide nitride, oxide, carbide, oxynitride, carbonate, or carbonitride. Is preferred.
  • the phase shift layer 22 can be applied to either a single layer structure or a laminated structure including a low transmittance layer and a high transmittance layer.
  • the preferable film thickness of the phase shift layer 22 varies depending on the material, but it is desirable that the phase shift layer 22 is appropriately adjusted particularly from the viewpoint of the phase shift function and light transmittance.
  • the phase shift film 2 since the phase shift film 2 has a laminated structure of the silicon layer 21 and the phase shift layer 22, the phase shift film 2 as a whole is considered in consideration of the phase difference and the light transmittance of the silicon layer 21. From the viewpoint of the phase shift function and the light transmittance, it is desirable to adjust the film thickness of the phase shift layer 22.
  • the silicon layer 21 located below the phase shift layer 22 has a function of attenuating the exposure light applied to the phase shift layer 22. Since the silicon layer 21 is present on the substrate side of the phase shift layer 22, that is, on the side irradiated with the exposure light, in the phase shift mask manufactured using this mask blank, the phase shift layer 22 has an attenuated exposure. Since light is irradiated, the transition metal contained in the phase shift layer 22 becomes difficult to be excited by the exposure light, and the oxidation and alteration of the phase shift layer 22 containing the transition metal silicide can be effectively suppressed. .
  • substrate 1 for example, synthetic quartz glass
  • silicon layer is allowed to contain an impurity element that inevitably enters in the thin film formation stage or an impurity element that enters due to a change with time after film formation.
  • the impurity component contained in the target when a silicon layer is formed by sputtering, the impurity component contained in the target, the rare gas component that has entered the thin film during the film formation process, and other changes to the upper silicide film and the underlying substrate due to changes over time after film formation.
  • the layer in which the derived component is slightly mixed is a concept included in the “silicon layer” in the present invention.
  • the silicon compound layer containing other components in addition to silicon is not intentionally formed is included in the configuration of the present invention.
  • the film density of the silicon layer 21 is preferably 2.1 g / cm 3 or more, and more preferably 2.2 g / cm 3 or more.
  • voids increase in the Si layer, which may cause a component such as oxygen to be received from an adjacent substrate or an upper layer.
  • the film density exceeds 2.5 g / cm 3 , there is a problem that the silicon layer 21 becomes too dense and the etching time when performing dry etching becomes too long. Therefore, a preferable film density is 2.1 g / cm 3 or more and 2.5 g / cm 3 or less, more preferably 2.2 g / cm 3 or more and 2.3 g / cm 3 or less.
  • the film density can be measured by a known method such as an X-ray reflectance measurement method (XRR method) (the same applies hereinafter).
  • the film thickness of the silicon layer 21 is not particularly limited, but in the present embodiment, it is preferable to be in the range of, for example, 3 nm or more and 20 nm or less. If the film thickness is less than 3 nm, the exposure light applied to the phase shift layer 22 is attenuated, and the effect of suppressing deterioration of the phase shift layer 22 may not be sufficiently exhibited. On the other hand, if the film thickness exceeds 20 nm, the attenuation amount of the exposure light energy applied to the phase shift layer 22 increases, which may affect the pattern transfer when manufacturing the semiconductor device.
  • the optical characteristics of the entire phase shift film 2 need to be adjusted particularly from the viewpoint of the phase shift function and light transmittance.
  • the silicon layer 21 of the present invention has a small refractive index, The influence on the phase difference in the phase shift layer 22 is relatively small. Therefore, it is desirable to design the phase shift film 2 (or the phase shift layer 22) mainly in consideration of the light transmittance of the silicon layer 21.
  • the exposure light transmittance of the silicon layer 21 varies depending on the film thickness, it is preferably 30% or more and 70% or less, for example. Within this range, it becomes easy to adjust the exposure light transmittance of the upper phase shift layer 22.
  • the phase shift film 2 is required to have a transmittance of 2% or more for exposure light.
  • the transmittance with respect to the exposure light is required to be at least 2%.
  • the transmittance of the phase shift film 2 with respect to exposure light is preferably 3% or more, and more preferably 4% or more.
  • the transmittance of the phase shift film 2 for exposure light is preferably 30% or less, more preferably 20% or less, and even more preferably 10% or less.
  • the phase shift film 2 has a phase difference of 150 between the transmitted ArF exposure light and the light that has passed through the air by the same distance as the thickness of the phase shift film 2. It is required to be adjusted to be in the range of not less than 180 degrees and not more than 180 degrees.
  • the phase difference in the phase shift film 2 is preferably 155 degrees or more, and more preferably 160 degrees or more.
  • the phase difference in the phase shift film 2 is preferably 179 degrees or less, and more preferably 177 degrees or less. This is to reduce the influence of an increase in phase difference caused by minute etching of the translucent substrate 1 during dry etching when forming a pattern on the phase shift film 2.
  • the exposure light irradiation method to the phase shift mask by the exposure apparatus is increasing in which the exposure light is incident from a direction inclined at a predetermined angle with respect to the vertical direction of the film surface of the phase shift film 2. It is also for the purpose.
  • the method for forming the phase shift film 2 composed of a laminated film in which the silicon layer 21 and the phase shift layer 22 are laminated in order on the light transmitting substrate 1 such as the mask blank 10 shown in FIG. 1 needs to be particularly restricted.
  • the sputtering film forming method is preferable.
  • the sputtering film forming method is preferable because a uniform film having a constant film thickness can be formed.
  • the mask blank 10 of the present embodiment may have other constituent layers between the translucent substrate 1 and the phase shift film 2 as long as the effects of the present invention are not impaired.
  • An example of such a constituent layer is an etching stopper layer made of a Cr-based material that is not etched by a fluorine-based gas.
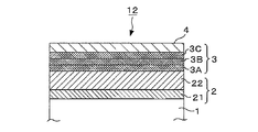
  • FIG. 2 is a schematic sectional view showing another embodiment of the mask blank according to the present invention.
  • the mask blank according to the present invention has a phase shift film 2 made of a laminate of the silicon layer 21 and the phase shift layer 22 on the translucent substrate 1, and this phase shift film 2.
  • a mask blank 11 having a structure in which a light shielding film 3 and a hard mask film 4 are further provided may be used. For example, it can be used for the production of a halftone phase shift mask having a light shielding band in the mask peripheral region. Since the phase shift film 2 including the translucent substrate 1, the silicon layer 21, and the phase shift layer 22 is already described, duplicate description is omitted here.
  • the light shielding film 3 is provided for the purpose of transferring the pattern of the hard mask film 4 to the phase shift film 2 as faithfully as possible.
  • the light shielding film 3 is formed of a material containing chromium in order to ensure etching selectivity with the phase shift layer 22 formed of a transition metal silicide-based material.
  • the chromium-containing material include chromium (Cr) alone or a chromium compound in which elements such as oxygen, nitrogen, and carbon are added to chromium (for example, CrN, CrC, CrO, CrON, CrCN, CrOC, CrOCN, etc.). Can be mentioned.
  • the material containing chromium forming the light shielding film 3 may contain one or more elements of molybdenum, indium and tin. By including one or more elements of molybdenum, indium and tin, the etching rate for the mixed gas of chlorine-based gas and oxygen gas can be further increased.
  • the light-shielding film 3 may be formed of a material containing a transition metal and silicon as long as etching selectivity for dry etching can be obtained with the material forming the phase shift layer 22 (particularly the surface layer portion). . This is because a material containing a transition metal and silicon has a high light shielding performance, and the thickness of the light shielding film 3 can be reduced.
  • transition metals to be contained in the light shielding film 3 molybdenum (Mo), tantalum (Ta), tungsten (W), titanium (Ti), chromium (Cr), hafnium (Hf), nickel (Ni), vanadium (V) , Zirconium (Zr), ruthenium (Ru), rhodium (Rh), zinc (Zn), niobium (Nb), palladium (Pd), and any one metal or an alloy of these metals.
  • the metal element other than the transition metal element contained in the light shielding film 3 include aluminum (Al), indium (In), tin (Sn), and gallium (Ga).
  • the light shielding film 3 may have a structure in which a layer made of a material containing chromium and a layer made of a material containing a transition metal and silicon are laminated in this order from the phase shift film 2 side.
  • the specific matters of the material containing chromium and the material containing transition metal and silicon in this case are the same as those of the light shielding film 3 described above.
  • the light shielding film 3 may have a single layer structure or a laminated structure. For example, a two-layer structure of a light-shielding layer and a front-surface antireflection layer, or a three-layer structure further including a back-surface antireflection layer can be used.
  • FIG. 3 shows a mask blank 12 according to an embodiment in which the light shielding film 3 has a three-layer structure of a light shielding film lower layer 3A, a light shielding film intermediate layer 3B, and a light shielding film upper layer 3C.
  • the film thickness of the light shielding film 3 is not particularly limited, it is usually preferably in the range of, for example, 30 nm or more and 80 nm or less from the viewpoint of securing a predetermined light shielding property.
  • the light-shielding film 3 is required to have an optical density (OD) with respect to exposure light in the laminated structure of the phase shift film 2 of greater than 2.0, preferably 2.5 or more, and 2.8 or more. More preferably, it is more preferably 3.0 or more.
  • the hard mask film 4 needs to be a material having high etching selectivity with the light shielding film 3 directly below, but in the present embodiment, a material containing silicon is particularly selected for the hard mask film 4.
  • a material containing silicon is particularly selected for the hard mask film 4.
  • the hard mask film 4 can be made of a material containing silicon (Si).
  • a material containing silicon (Si) suitable for the hard mask film 4 is selected from silicon (Si), oxygen (O), nitrogen (N), carbon (C), boron (B), and hydrogen (H). Examples thereof include materials containing one or more elements.
  • silicon (Si) and transition metals include oxygen (O), nitrogen (N), carbon (C), boron (B And a material containing one or more elements selected from hydrogen (H).
  • transition metal examples include molybdenum (Mo), tungsten (W), titanium (Ti), tantalum (Ta), zirconium (Zr), hafnium (Hf), niobium (Nb), vanadium (V), Examples include cobalt (Co), chromium (Cr), nickel (Ni), ruthenium (Ru), and tin (Sn).
  • the material constituting the hard mask film 4 include silicon oxide (SiO 2), silicon oxynitride (SiON), tantalum oxide (TaO), tantalum oxynitride (TaON), and tantalum boride oxide (TaBO). And tantalum boride oxynitride (TaBON). Since the hard mask film 4 formed of a material containing silicon and oxygen tends to have low adhesion to a resist film made of an organic material, the surface of the hard mask film 4 is subjected to HMDS (Hexamethyldisilazane) treatment. It is preferable to improve surface adhesion.
  • HMDS Hexamethyldisilazane
  • the film thickness of the hard mask film 4 need not be particularly limited, but it needs to be a film thickness that does not disappear at least before the etching of the light shielding film 3 immediately below is completed. On the other hand, if the hard mask film 4 is thick, it is difficult to reduce the thickness of the resist pattern immediately above. From such a viewpoint, it is preferable that it is the range of 2 nm or more and 20 nm or less, for example.
  • the method for forming the light-shielding film 3 and the hard mask film 4 is not particularly limited, but among these, a sputtering film forming method is preferable.
  • the sputtering film forming method is preferable because a uniform film having a constant film thickness can be formed.
  • the thin film of SiN-based material has significantly higher ArF light resistance than the thin film of MoSi-based material.
  • the pattern change CD (thickening) that occurs when the ArF excimer laser exposure light (hereinafter also referred to as ArF exposure light) is integrated after the transfer pattern is formed on the thin film of the SiN-based material is the conventional MoSi. This is greatly suppressed as compared with the case of a thin film of a system material. However, further extension of the life of the phase shift mask is desired.
  • Si 3 N 4 is a stoichiometrically stable material, and the light resistance against ArF exposure light (hereinafter also referred to as ArF light resistance) is superior among materials composed of silicon and nitrogen.
  • Si 3 N 4 has a higher refractive index n at the wavelength of ArF exposure light than SiNx having a low nitrogen content. Therefore, when Si 3 N 4 is applied as the material of the phase shift film, it is predetermined for ArF exposure light. It is possible to reduce the film thickness necessary for providing the above phase difference.
  • the refractive index n when simply describing the refractive index n, it means the refractive index n with respect to the wavelength of the ArF exposure light, and when simply describing the extinction coefficient k, extinction with respect to the wavelength of the ArF exposure light. It means the coefficient k.
  • the biggest cause of the CD change of the phase shift pattern which is a problem in ArF light resistance, is that when ArF exposure light is incident on the inside of the phase shift film, the elements constituting the phase shift film are photoexcited. It is considered.
  • the transition metal molybdenum (Mo) is easily photoexcited, resulting in significant progress of oxidation of silicon (Si) from the surface, and the pattern volume greatly expands.
  • the phase shift film of the MoSi-based material has a significant CD change (thickness) before and after irradiation with ArF exposure light.
  • phase shift film made of a SiN-based material since the transition metal is not contained, the CD change before and after irradiation with ArF exposure light is relatively small. However, although silicon in the phase shift film is not as remarkable as the transition metal, it is photoexcited by irradiation with ArF exposure light.
  • the phase shift film of the mask blank for manufacturing the phase shift mask is formed by sputtering under film forming conditions so as to have an amorphous or microcrystalline structure.
  • Si 3 N 4 in a thin film of amorphous or microcrystalline structure is weakly bound state than Si 3 N 4 in the crystalline film. Therefore, the Si 3 N 4 phase shift film having an amorphous or microcrystalline structure is likely to be photoexcited by silicon in the film by irradiation with ArF exposure light. If the phase shift film is a crystal film of Si 3 N 4 , it is possible to suppress photoexcitation of silicon in the film.
  • Si 3 N 4 is a material having a large refractive index n, but a significantly small extinction coefficient k at the wavelength of ArF exposure light. For this reason, when the phase shift film is formed of Si 3 N 4 and an attempt is made to design the predetermined phase difference to be slightly less than 180 degrees, only a high transmittance of about 20% or less can be produced. . If the nitrogen content of the SiN-based material is lowered, it is possible to produce a phase shift film having a predetermined phase difference and a predetermined transmittance. Naturally, however, the ArF light resistance also decreases as the nitrogen content decreases. Go.
  • the mask blank 10 of the modified example preferably has the following configuration. That is, a mask blank 10 having a phase shift film 2 on a translucent substrate 1, the phase shift film 2 having a function of transmitting ArF excimer laser exposure light with a transmittance of 2% or more, and a phase shift A function of causing a phase difference of 150 degrees or more and 180 degrees or less between the exposure light transmitted through the film 2 and the exposure light transmitted through the air by the same distance as the thickness of the phase shift film 2;
  • the phase shift film 2 includes a structure in which a silicon layer 21 and a phase shift layer 22 are laminated in this order from the translucent substrate 1 side.
  • the phase shift layer 22 is made of a material composed of silicon and nitrogen, except for the surface layer portion thereof.
  • the phase shift layer 22 is formed of a material containing one or more elements selected from non-metal elements and metalloid elements excluding oxygen in a material composed of silicon and nitrogen, and the phase shift layer 22 is thicker than the silicon layer 21. And it is characterized in and.
  • the silicon layer 21 of the phase shift film 2 is disposed on the translucent substrate 1 side.
  • the reflectance hereinafter also referred to as the back surface reflectance
  • the light intensity of ArF exposure light incident on the inside of the silicon layer 21 is reduced, generation of silicon photoexcitation inside the silicon layer 21 and the phase shift layer 22 can be reduced. By acting on these, the ArF light resistance of the entire phase shift film 2 can be greatly enhanced.
  • the silicon layer 21 has a higher function of attenuating ArF exposure light transmitted through the layer than the phase shift layer 22 made of SiN material. For this reason, even if the nitrogen content of the phase shift layer 22 is increased, the phase difference for the entire exposure light of the phase shift film 2 is within the above range, and the transmittance for the exposure light is 10% or less. Can do. Other matters (film density and the like) related to the silicon layer 21 in this modification are the same as those of the silicon layer 21 in the above embodiments.
  • the phase shift layer 22 of this modification preferably has a film density higher than 2.5 g / cm 3, more preferably 2.6 g / cm 3 or more.
  • the film density is less than 2.5 g / cm 3 , voids increase in the SiN film, so that a component such as oxygen may be accepted from the atmosphere or the like.
  • the film density of the phase shift layer 22 exceeds 3.0 g / cm 3 , there is a problem that the Si—N bond in the film becomes too dense and the etching time when performing dry etching becomes too long.
  • the film density of the phase shift layer 22 is a 3.0 g / cm 3 or less, more preferably 2.9 g / cm 3 or less.
  • the thickness of the silicon layer 21 of this modification is as thin as possible within the range where the above-described conditions required for the phase shift film 2 can be satisfied.
  • the thickness of the silicon layer 21 is preferably less than 12 nm, more preferably 11 nm or less, and even more preferably 10 nm or less.
  • the thickness of the silicon layer 21 is preferably 3 nm or more, more preferably 4 nm or more, and further preferably 5 nm or more.
  • the phase shift layer 22 of this modification is formed of a material having relatively high ArF light resistance, the phase shift layer 2 has a phase relative to the entire film thickness of the phase shift film 2 within a range that satisfies the above-described conditions required for the phase shift film 2. It is desirable to increase the thickness ratio of the shift layer 22 as much as possible.
  • the thickness of the phase shift layer 22 is preferably not less than 5 times the thickness of the silicon layer 21, more preferably not less than 5.5 times, and further preferably not less than 6 times. Further, the thickness of the phase shift layer 22 is more preferably 10 times or less the thickness of the silicon layer 21.
  • the thickness of the phase shift layer 22 is preferably 80 nm or less, more preferably 70 nm or less, and further preferably 65 nm or less. Further, the thickness of the phase shift layer 22 is preferably 50 nm or more, and more preferably 55 nm or more.
  • the phase shift layer 22 of this modification contains at least one element selected from a non-metal element and a semi-metal element excluding oxygen in a material consisting of silicon and nitrogen, or a material consisting of silicon and nitrogen, except for the surface layer portion. It is made of a material that The surface layer portion of the phase shift layer 22 refers to the surface layer portion on the opposite side of the phase shift layer 22 from the silicon layer 21 side.
  • the phase shift layer 22 is preferably a material having a high refractive index n. Since the refractive index n tends to decrease as the oxygen content in the material increases, oxygen is not actively contained in the phase shift layer 22 during film formation except for the surface layer portion (the oxygen content is , Below the lower limit of detection when composition analysis is performed by X-ray photoelectron spectroscopy or the like.) From these things, the surface layer part of the phase shift layer 22 is formed with the material which added oxygen to the material which forms the phase shift layer 22 except a surface layer part.
  • the surface layer portion of the phase shift layer 22 of this modification may be formed by various oxidation treatments. This is because the surface layer can be a stable oxide layer.
  • this oxidation treatment for example, heat treatment in a gas containing oxygen such as the atmosphere, light irradiation treatment with a flash lamp or the like in a gas containing oxygen, ozone or oxygen plasma is brought into contact with the surface of the phase shift layer 22. Processing.
  • the surface layer portion of the phase shift layer 22 preferably has a thickness of 1 nm or more, and more preferably 1.5 nm or more. Further, the surface layer portion of the phase shift layer 22 preferably has a thickness of 5 nm or less, and more preferably 3 nm or less.
  • the phase shift layer 22 of this modification does not contain a transition metal that can cause a decrease in light resistance to ArF exposure light. Since it is impossible to deny the possibility that the light resistance to ArF exposure light can be reduced, it is desirable not to include metal elements other than transition metals.
  • the phase shift layer 22 may contain any metalloid element in addition to silicon and nitrogen. Among these metalloid elements, it is preferable to include one or more elements selected from boron, germanium, antimony, and tellurium because it can be expected to increase the conductivity of silicon used as a sputtering target.
  • the phase shift layer 22 of this modification may contain a nonmetallic element other than oxygen in addition to silicon and nitrogen.
  • these nonmetallic elements it is preferable to include one or more elements selected from carbon, fluorine and hydrogen.
  • This nonmetallic element also includes rare gases such as helium (He), argon (Ar), krypton (Kr), and xenon (Xe).
  • the phase shift layer 22 is preferably a material having a higher refractive index n, and the silicon-based material tends to have a higher refractive index n as the nitrogen content increases.
  • the nitrogen content in the material forming the phase shift layer 22 is preferably greater than 50 atomic%, more preferably 52 atomic% or more, and even more preferably 55 atomic% or more.
  • the matters relating to the translucent substrate 1, the light shielding film 3, and the hard mask film 4 are the same as those in the mask blank 10 of each of the above embodiments.
  • the present invention also provides a phase shift mask manufactured from the mask blank according to the present invention and a method for manufacturing the same.
  • 4A to 4E and FIG. 5A (continuation of FIG. 4E) to FIG. 5D are schematic cross-sectional views of a mask blank and the like showing a manufacturing process of a phase shift mask using the mask blank of the present invention.
  • description will be made using the mask blank 11 of the embodiment shown in FIG.
  • a resist film 5 for electron beam drawing is formed on the surface of the mask blank 11 by spin coating (see FIG. 4A).
  • a predetermined pattern is drawn on the resist film 5 by electron beam, and after the drawing, development is performed to form a predetermined resist pattern 5a (see FIG. 4B).
  • the resist pattern 5a has a desired device pattern to be formed on the phase shift film 2 to be a final transfer pattern.
  • the hard mask film 4 corresponds to the pattern formed on the phase shift film 2 by dry etching using a fluorine-based gas.
  • a hard mask film pattern 4a is formed (see FIG. 4C).
  • the light-shielding film 3 and the phase shift film 2 are formed by dry etching using a mixed gas of chlorine gas and oxygen gas using the hard mask film pattern 4a as a mask.
  • a light shielding film pattern 3a corresponding to the pattern is formed (see FIG. 4D).
  • phase shift film 2 formed by stacking the silicon layer 21 and the phase shift layer 22 is continuously performed by dry etching using a fluorine-based gas using the light shielding film pattern 3a as a mask.
  • a pattern 2a is formed (see FIG. 4E).
  • the hard mask film pattern 4a exposed on the surface is removed.
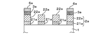
  • a resist film 6 similar to that described above is formed by spin coating on the entire surface of the substrate in the state shown in FIG. 4E (see FIG. 5A), and a predetermined device pattern (for example, A pattern corresponding to the light-shielding band pattern) is drawn and developed to form a predetermined resist pattern 6a (see FIG. 5B).
  • a predetermined device pattern for example, A pattern corresponding to the light-shielding band pattern
  • the exposed light shielding film pattern 3a is etched by dry etching using a mixed gas of chlorine gas and oxygen gas, for example, a light shielding film in a transfer pattern forming region.
  • the pattern 3a is removed, and a light-shielding band pattern is formed around the transfer pattern formation region (see FIG. 5C).
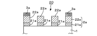
  • a phase shift mask for example, a halftone phase shift mask 20 is completed (see FIG. 5D).
  • the completed phase shift mask 20 is provided with a phase shift film pattern 2a on the translucent substrate 1, and the phase shift film pattern 2a includes the silicon layer pattern 21a and the phase shift film pattern 2a.
  • the phase shift layer pattern 22a has a laminated structure, and the silicon layer pattern 21a is present in the lower layer (substrate side) of the phase shift layer pattern 22a.
  • the phase shift layer 22 is irradiated with attenuated exposure light due to the presence of the silicon layer 21, so that the transition metal contained in the phase shift layer 22 is exposed to exposure light.
  • the phase shift layer 22 containing transition metal silicide can be effectively suppressed from being oxidized and altered. According to the present invention, it is possible to obtain a phase shift mask having excellent light resistance of the transition metal silicide phase shift film with respect to exposure light having a wavelength of 200 nm or less and excellent quality stability.
  • a method of manufacturing a semiconductor device including a step of pattern transfer of a transfer pattern of the phase shift mask onto a semiconductor substrate by lithography using a phase shift mask manufactured using such a mask blank of the present invention According to this, a high-quality semiconductor device having excellent pattern accuracy can be obtained.
  • the phase shift mask manufactured from the mask blank of the above-described modification and the manufacturing method thereof are the same as those in the above-described manufacturing method of the phase shift mask and the phase shift mask according to the present invention.
  • the phase shift layer 22 made of silicon and nitrogen such as SiN the light intensity of the exposure light incident on the silicon layer 21 is reduced, so that the inside of the silicon layer 21 and the phase shift layer 22
  • the generation of photoexcitation of silicon in the substrate can be reduced, and oxidation and alteration of the phase shift layer 22 containing the SiN-based material can be effectively suppressed.
  • the manufacturing method of the semiconductor device using the phase shift mask of the above modification is the same as that of the manufacturing method of the semiconductor device according to the present invention.
  • the mask blank, the method for manufacturing a phase shift mask, and the method for manufacturing a semiconductor device of the above modification have the following configurations, for example.
  • (Configuration 1A) A mask blank provided with a phase shift film on a translucent substrate, The phase shift film has a function of transmitting exposure light of ArF excimer laser with a transmittance of 2% or more, and in the air by the same distance as the thickness of the phase shift film with respect to the exposure light transmitted through the phase shift film.
  • the phase shift film includes a structure in which a silicon layer and a phase shift layer are laminated in this order from the translucent substrate side,
  • the phase shift layer is formed of a material containing one or more elements selected from a non-metal element and a metalloid element excluding oxygen in a material consisting of silicon and nitrogen or a material consisting of silicon and nitrogen except for the surface layer portion thereof,
  • the mask blank wherein the phase shift layer is thicker than the silicon layer.
  • Configuration 8A The mask blank according to any one of configurations 1A to 7A, further comprising: a light-shielding film made of a material containing chromium on a surface of the phase shift film opposite to the substrate.
  • Configuration 9A The mask blank according to Configuration 8A, comprising a hard mask film made of a material containing silicon on a surface of the light shielding film opposite to the phase shift film.
  • (Configuration 10A) A method of manufacturing a phase shift mask, comprising a step of patterning the phase shift film in the mask blank according to any one of configurations 1A to 9A.
  • phase shift mask having a phase shift film pattern on a translucent substrate,
  • the phase shift film pattern has a function of transmitting exposure light of ArF excimer laser with a transmittance of 2% or more, and the same distance as the thickness of the phase shift film with respect to the exposure light transmitted through the phase shift film pattern.
  • the phase shift film pattern includes a structure in which a silicon layer and a phase shift layer are laminated in this order from the translucent substrate side,
  • the phase shift layer is formed of a material containing one or more elements selected from a non-metal element and a metalloid element excluding oxygen in a material consisting of silicon and nitrogen or a material consisting of silicon and nitrogen except for the surface layer portion thereof,
  • the phase shift mask is characterized in that the phase shift layer is thicker than the silicon layer.
  • (Configuration 12A) The phase shift mask according to Configuration 11A, wherein a film density of the silicon layer is 2.1 g / cm 3 or more and 2.5 g / cm 3 or less.
  • (Configuration 14A) 14 The phase shift mask according to any one of configurations 11 ⁇ / b> A to 13 ⁇ / b> A, wherein the thickness of the phase shift layer is five times or more the thickness of the silicon layer.
  • (Configuration 15A) 14 The phase shift mask according to any one of configurations 11 ⁇ / b> A to 14 ⁇ / b> A, wherein a thickness of the silicon layer is 3 nm or more and less than 12 nm.
  • (Configuration 16A) The phase shift mask according to any one of Structures 11A to 15A, wherein the thickness of the phase shift layer is 80 nm or less.
  • (Configuration 17A) The phase shift mask according to any one of configurations 11A to 16A, wherein the phase shift layer has a nitrogen content greater than 50 atomic%.
  • (Configuration 19A) A step of transferring a pattern of the phase shift mask onto a semiconductor substrate by a lithography method using the phase shift mask manufactured by the method of manufacturing a phase shift mask described in Structure 10A. Production method.
  • (Configuration 20A) A method of manufacturing a semiconductor device, comprising: using the phase shift mask according to any one of Structures 11A to 18A and transferring a pattern of the phase shift mask onto a semiconductor substrate by lithography.
  • the present embodiment relates to the manufacture of a mask blank and a phase shift mask used for manufacturing a halftone phase shift mask using an ArF excimer laser having a wavelength of 193 nm as exposure light.
  • a mask blank 12 used in this example is a phase shift film 2 and a three-layer laminate composed of a laminate of a silicon layer 21 and a phase shift layer 22 on a translucent substrate (glass substrate) 1 as shown in FIG. In this structure, the light shielding film 3 and the hard mask film 4 having a structure are sequentially laminated.
  • This mask blank 12 was produced as follows.
  • a synthetic quartz substrate (size: about 152 mm ⁇ 152 mm ⁇ thickness 6.35 mm) was prepared as the glass substrate 1.
  • the phase shift film 2 composed of a laminate of the silicon layer 21 and the phase shift layer 22 was formed.
  • a silicon (Si) layer 21 was formed with a thickness of 8 nm.
  • the formed Si layer 21 had a refractive index of 0.95 and an extinction coefficient of 2.70 for exposure light having a wavelength of 193 nm.
  • the formed MoSiON layer 22 had a refractive index of 2.38 and an extinction coefficient of 0.32 with respect to exposure light having a wavelength of 193 nm.
  • the phase shift film 2 having a two-layer structure formed as described above had a total film thickness of 83 nm, a phase difference of 176.3 degrees with respect to exposure light having a wavelength of 193 nm, and a transmittance of 6.08%.
  • a light shielding film 3 having a laminated structure of a lower layer 3A made of a CrOCN film, an intermediate layer 3B made of a CrN film, and an upper layer 3A made of a CrOCN film was formed on the phase shift film 2.
  • the light-shielding film lower layer 3A made of a CrOCN film having a thickness of 30 nm was formed on the phase shift film 2 by performing reactive sputtering.
  • a hard mask film 4 made of a SiO 2 film was formed on the light shielding film 3. Specifically, SiO 2 having a thickness of 5 nm is formed on the light-shielding film 3 by performing reactive sputtering in an argon (Ar) gas atmosphere (pressure 0.3 Pa) using a silicon dioxide (SiO 2 ) target. A hard mask film 4 composed of two films was formed.
  • the optical density of the laminated film of the phase shift film 2 and the light shielding film 3 was 3.0 or more (transmittance of 0.1% or less) at the wavelength (193 nm) of ArF excimer laser.
  • the mask blank 12 of this example was produced as described above.
  • a halftone phase shift mask was manufactured according to the manufacturing steps shown in FIGS. 4A to 4E and FIGS. 5A to 5D.
  • the following symbols correspond to those in FIGS. 4A to 4E and FIGS. 5A to 5D.
  • an HMDS process is performed on the upper surface of the mask blank 12, and a chemical amplification resist for electron beam drawing (PRL009 made by Fuji Film Electronics Materials) is applied by spin coating, and a predetermined baking process is performed.
  • a resist film 5 having a thickness of 80 nm was formed (see FIG. 4A).
  • a predetermined device pattern (pattern corresponding to the phase shift pattern to be formed on the phase shift film 2) is drawn on the resist film 5 using an electron beam drawing machine, and then the resist film is developed.
  • a resist pattern 5a was formed (see FIG. 4B).
  • the hard mask film 4 was dry etched to form a hard mask film pattern 4a (see FIG. 4C).
  • a fluorine-based gas (CF 4 ) was used as the dry etching gas.
  • the light shielding film 3 composed of the laminated film of the upper layer 3C, the intermediate layer 3B, and the lower layer 3A is continuously subjected to dry etching, and the light shielding film pattern 3a is formed. Formed (see FIG. 4D).
  • phase shift film 2 formed by stacking the silicon layer 21 and the phase shift layer 22 is continuously dry-etched to form the phase shift film pattern 2a (see FIG. 4E).
  • a fluorine-based gas (SF 6 ) was used as the dry etching gas.
  • the hard mask film pattern 4a exposed on the surface was removed.
  • a resist film 6 similar to that described above is formed by spin coating on the entire surface of the substrate in the state shown in FIG. 4E (see FIG. 5A), and a predetermined device pattern (for example, A pattern corresponding to the shading band pattern) was drawn and developed to form a predetermined resist pattern 6a (see FIG. 5B).
  • a predetermined device pattern for example, A pattern corresponding to the shading band pattern
  • the exposed light-shielding film pattern 3a is etched, for example, to remove the light-shielding film pattern 3a in the transfer pattern formation region, and in the periphery of the transfer pattern formation region.
  • a shading band pattern was formed (see FIG. 5C).
  • the obtained phase shift mask 20 was continuously irradiated with an ArF excimer laser so that the total irradiation amount was 30 kJ / cm 2 .
  • the irradiation amount of 30 kJ / cm 2 corresponds to the use of the phase shift mask 20 approximately 100,000 times, and the frequency of use of the normal phase shift mask 20 This is equivalent to using for about 3 months.
  • the transmittance and phase difference of the phase shift film 2 (Si layer + MoSiON layer) after irradiation were measured, the transmittance was 6.12% and the phase difference was 176.1 degrees in an ArF excimer laser (wavelength 193 nm). It was. Accordingly, the amount of change before and after irradiation is such that the transmittance is + 0.04% and the phase difference is ⁇ 0.2 degrees, and the amount of change is suppressed to a small level. There is no effect. Further, when the cross section of the phase shift film pattern 2a was observed in detail using a TEM (transmission electron microscope), a thick deteriorated layer, which has been generated in particular, was not confirmed, and the line width was increased (CD change amount).
  • the mask blank of this example and the phase shift mask manufactured using the mask blank have extremely high light resistance against cumulative irradiation with an exposure light source having a short wavelength of 200 nm or less.
  • Example 2 The mask blank of Example 2 was manufactured in the same procedure as the mask blank of Example 1 except that the SiN film was applied to the material for forming the phase shift layer 22 of the phase shift film 2. Specifically, the translucent substrate 1 is installed in a single-wafer RF sputtering apparatus, and a silicon (Si) target is used and RF sputtering using argon (Ar) gas as a sputtering gas is performed. A silicon layer 21 having a thickness of 8 nm was formed in contact with the surface.
  • Si silicon
  • Ar argon
  • the phase shift film 2 in which the silicon layer 21 and the phase shift layer 22 were laminated in contact with the surface of the translucent substrate 1 was formed with a thickness of 71 nm.
  • the thickness of the phase shift layer 22 is 7.9 times the thickness of the silicon layer 21.
  • the composition of the phase shift layer 22 is a result obtained by measurement by X-ray photoelectron spectroscopy (XPS).
  • the light-transmitting substrate 1 on which the phase shift film 2 was formed was subjected to heat treatment for reducing the film stress of the phase shift film 2 and forming an oxide layer on the surface layer portion.
  • a phase shift measuring device MPM193, manufactured by Lasertec Corporation
  • the transmittance and phase difference of the phase shift film 2 with respect to light having a wavelength of 193 nm were measured.
  • the transmittance was 6.1% and the phase difference was 177.0. Degree.
  • phase shift film 2 when this phase shift film 2 was analyzed by STEM (Scanning Electron Microscope) and EDX (Energy Dispersive X-Ray Spectroscopy), it was oxidized at the surface layer portion having a thickness of about 2 nm from the surface of the phase shift layer 22. It was confirmed that a layer was formed. Furthermore, when the optical characteristics of the silicon layer 21 and the phase shift layer 22 of the phase shift film 2 were measured, the silicon layer 21 had a refractive index n of 1.06 and an extinction coefficient k of 2.72. The layer 22 had a refractive index n of 2.63 and an extinction coefficient k of 0.37. The back surface reflectance (reflectance on the translucent substrate 1 side) of the phase shift film 2 with respect to light having a wavelength of 193 nm was 44.1%.
  • a light shielding film 3 and a hard mask film 4 were formed on the phase shift film 2 in the same manner as the mask blank of Example 1.
  • the mask of Example 2 having a structure in which the phase shift film 2 including the silicon layer 21 and the SiN phase shift layer 22, the light shielding film 3, and the hard mask film 4 are laminated on the translucent substrate 1 by the above procedure.
  • a blank 12 was produced.
  • the phase shift mask 20 of Example 2 was produced in the same procedure as in Example 1. Note that dry etching using SF 6 + He was performed on the phase shift film 2, and the ratio of the etching rate of the silicon layer 21 to the etching rate of the phase shift layer 22 at that time was 2.06.
  • the ArF excimer laser light is irradiated and transferred to the resist film on the semiconductor device with the exposure light having a wavelength of 193 nm using the AIMS 193 (manufactured by Carl Zeiss) on the phase shift mask 20.
  • the exposure transfer image was simulated at. When the exposure transfer image obtained by this simulation was verified, the design specifications were sufficiently satisfied. From the above, the phase shift mask 20 manufactured from the mask blank of Example 2 is set in an exposure apparatus and subjected to exposure transfer with exposure light of an ArF excimer laser until the integrated dose reaches 40 kJ / cm 2. In other words, it can be said that exposure transfer can be performed with high accuracy on the resist film on the semiconductor device.
  • Example 2 In the mask blank used in Example 1, the light shielding film and the hard mask film were the same as Example 1 except that the formation of the silicon layer was omitted and the MoSiON layer was formed as a phase shift film on the surface of the substrate 1.
  • the mask blank of the comparative example was produced.
  • the light-transmitting substrate on which the MoSiON film was formed was subjected to heat treatment. Specifically, heat treatment was performed in the atmosphere at a heating temperature of 400 ° C. and a heating time of 2 hours.
  • the MoSiON film had an transmittance of 6.11% and a phase difference of 175.6 degrees in an ArF excimer laser. Further, when the cross section of the MoSiON film after the heat treatment was observed in detail using a TEM (transmission electron microscope), there was no particular change in the surface layer portion of the MoSiON film, and no film was formed.
  • Example 2 a phase shift mask was produced using the mask blank of the comparative example. Note that the transmittance and phase difference of the phase shift film in the produced phase shift mask were hardly changed from those at the time of manufacturing the mask blank.
  • the obtained phase shift mask of this comparative example was continuously irradiated with an ArF excimer laser so that the total dose was 30 kJ / cm 2.
  • the transmittance and phase difference of the phase shift film (MoSiON film) after irradiation were measured, the transmittance was 7.69% and the phase difference was 170.8 degrees in the ArF excimer laser. Therefore, the amount of change before and after irradiation is + 1.58% for the transmittance and the phase difference is ⁇ 4.8 degrees, and the amount of change is very large. When this amount of change occurs, it can be used as a photomask. I can't.

Landscapes

  • Chemical & Material Sciences (AREA)
  • Chemical Kinetics & Catalysis (AREA)
  • Engineering & Computer Science (AREA)
  • Materials Engineering (AREA)
  • Mechanical Engineering (AREA)
  • Metallurgy (AREA)
  • Organic Chemistry (AREA)
  • Physics & Mathematics (AREA)
  • General Physics & Mathematics (AREA)
  • Preparing Plates And Mask In Photomechanical Process (AREA)
PCT/JP2016/059326 2015-03-27 2016-03-24 マスクブランク、位相シフトマスク及び位相シフトマスクの製造方法、並びに半導体装置の製造方法 Ceased WO2016158649A1 (ja)

Priority Applications (2)

Application Number Priority Date Filing Date Title
KR1020177030296A KR102069960B1 (ko) 2015-03-27 2016-03-24 마스크 블랭크, 위상 시프트 마스크 및 위상 시프트 마스크의 제조 방법, 및 반도체 장치의 제조 방법
US15/561,124 US10365556B2 (en) 2015-03-27 2016-03-24 Mask blank, phase shift mask, method for manufacturing phase shift mask, and method for manufacturing semiconductor device

Applications Claiming Priority (2)

Application Number Priority Date Filing Date Title
JP2015-067259 2015-03-27
JP2015067259 2015-03-27

Publications (1)

Publication Number Publication Date
WO2016158649A1 true WO2016158649A1 (ja) 2016-10-06

Family

ID=57006798

Family Applications (1)

Application Number Title Priority Date Filing Date
PCT/JP2016/059326 Ceased WO2016158649A1 (ja) 2015-03-27 2016-03-24 マスクブランク、位相シフトマスク及び位相シフトマスクの製造方法、並びに半導体装置の製造方法

Country Status (5)

Country Link
US (1) US10365556B2 (enExample)
JP (2) JP6073028B2 (enExample)
KR (1) KR102069960B1 (enExample)
TW (1) TWI682233B (enExample)
WO (1) WO2016158649A1 (enExample)

Cited By (6)

* Cited by examiner, † Cited by third party
Publication number Priority date Publication date Assignee Title
JP2018077418A (ja) * 2016-11-11 2018-05-17 Hoya株式会社 マスクブランク、転写用マスク、転写用マスクの製造方法および半導体デバイスの製造方法
CN108957941A (zh) * 2017-05-18 2018-12-07 思而施技术株式会社 相移空白掩膜及其制造方法
CN109782525A (zh) * 2017-11-14 2019-05-21 爱发科成膜株式会社 掩模基底及其制造方法、相移掩模及其制造方法
WO2019163310A1 (ja) * 2018-02-22 2019-08-29 Hoya株式会社 マスクブランク、位相シフトマスク及び半導体デバイスの製造方法
CN115933308A (zh) * 2017-03-16 2023-04-07 Hoya株式会社 掩模坯料、转印用掩模及半导体器件的制造方法
JP2023154019A (ja) * 2017-05-22 2023-10-18 エヌチェーン ライセンシング アーゲー パラメータ化可能なスマートコントラクト

Families Citing this family (9)

* Cited by examiner, † Cited by third party
Publication number Priority date Publication date Assignee Title
JP6058757B1 (ja) * 2015-07-15 2017-01-11 Hoya株式会社 マスクブランク、位相シフトマスク、位相シフトマスクの製造方法および半導体デバイスの製造方法
WO2018020913A1 (ja) * 2016-07-25 2018-02-01 Hoya株式会社 マスクブランク、転写用マスク、転写用マスクの製造方法及び半導体デバイスの製造方法
JP6740107B2 (ja) * 2016-11-30 2020-08-12 Hoya株式会社 マスクブランク、転写用マスク及び半導体デバイスの製造方法
JP6812236B2 (ja) * 2016-12-27 2021-01-13 Hoya株式会社 位相シフトマスクブランク及びこれを用いた位相シフトマスクの製造方法、並びに表示装置の製造方法
JP7126836B2 (ja) * 2017-03-28 2022-08-29 Hoya株式会社 位相シフトマスクブランク及びそれを用いた位相シフトマスクの製造方法、並びにパターン転写方法
TWI847949B (zh) * 2018-11-30 2024-07-01 日商Hoya股份有限公司 光罩基底、光罩之製造方法及顯示裝置之製造方法
JP7350682B2 (ja) * 2020-03-23 2023-09-26 Hoya株式会社 マスクブランク及び転写用マスクの製造方法
JP7296927B2 (ja) * 2020-09-17 2023-06-23 信越化学工業株式会社 位相シフトマスクブランク、位相シフトマスクの製造方法、及び位相シフトマスク
DE102023112057A1 (de) * 2022-08-31 2024-02-29 Taiwan Semiconductor Manufacturing Co., Ltd. Verfahren zum herstellen von fotomasken

Citations (6)

* Cited by examiner, † Cited by third party
Publication number Priority date Publication date Assignee Title
JPH0683034A (ja) * 1992-07-17 1994-03-25 Toshiba Corp 露光用マスク、露光マスク用基板及びその製造方法
JPH07128840A (ja) * 1993-11-02 1995-05-19 Hoya Corp ハーフトーン型位相シフトマスク及びハーフトーン型位相シフトマスクブランク
JP2002258460A (ja) * 2000-12-26 2002-09-11 Hoya Corp ハーフトーン型位相シフトマスクブランク及びマスク
JP2004004791A (ja) * 2002-04-25 2004-01-08 Hoya Corp ハーフトーン型位相シフトマスクブランク及びハーフトーン型位相シフトマスク
JP2005208282A (ja) * 2004-01-22 2005-08-04 Hoya Corp ハーフトーン型位相シフトマスクブランクの製造方法、及びハーフトーン型位相シフトマスクの製造方法
JP2006209128A (ja) * 2005-01-27 2006-08-10 Applied Materials Inc 保護マスクを使用したホトマスクプラズマエッチング方法

Family Cites Families (16)

* Cited by examiner, † Cited by third party
Publication number Priority date Publication date Assignee Title
JP3410089B2 (ja) * 1991-11-13 2003-05-26 株式会社東芝 露光用マスクの製造方法及び露光方法
KR0131192B1 (en) 1992-04-22 1998-04-14 Toshiba Corp Exposed mask, fabrication method of exposed mask substrate and patterning method based on exposed mask
JP3247485B2 (ja) * 1992-07-08 2002-01-15 株式会社東芝 露光用マスク及びその製造方法
JP2002040625A (ja) * 1992-07-17 2002-02-06 Toshiba Corp 露光用マスク、レジストパターン形成方法及び露光マスク用基板の製造方法
JP3257893B2 (ja) * 1993-10-18 2002-02-18 三菱電機株式会社 位相シフトマスク、その位相シフトマスクの製造方法およびその位相シフトマスクを用いた露光方法
JP4387390B2 (ja) * 2000-12-26 2009-12-16 Hoya株式会社 ハーフトーン型位相シフトマスクおよびマスクブランク、これらの製造方法、並びにパターン転写方法
JP2002258458A (ja) 2000-12-26 2002-09-11 Hoya Corp ハーフトーン型位相シフトマスク及びマスクブランク
DE10307545A1 (de) 2002-02-22 2003-11-06 Hoya Corp Zuschnitt für halbtonartige Phasenverschiebungsmaske und zugehörige Phasenverschiebungsmaske
TWI348590B (en) 2004-03-31 2011-09-11 Shinetsu Chemical Co Halftone phase shift mask blank, halftone phase shift mask, and pattern transfer method
JP4348536B2 (ja) * 2004-03-31 2009-10-21 信越化学工業株式会社 位相シフトマスクブランク、位相シフトマスク及びパターン転写方法
JP2010217514A (ja) 2009-03-17 2010-09-30 Toppan Printing Co Ltd フォトマスクの製造方法
JP4797114B2 (ja) * 2009-10-12 2011-10-19 Hoya株式会社 転写用マスクの製造方法及び半導体デバイスの製造方法
CN102834773B (zh) 2010-04-09 2016-04-06 Hoya株式会社 相移掩模坯料及其制造方法、以及相移掩模
JP5713953B2 (ja) * 2012-04-26 2015-05-07 信越化学工業株式会社 フォトマスクブランクおよびその製造方法
JP5795991B2 (ja) 2012-05-16 2015-10-14 信越化学工業株式会社 フォトマスクブランク、フォトマスクの製造方法、および位相シフトマスクの製造方法
JP6100096B2 (ja) * 2013-05-29 2017-03-22 Hoya株式会社 マスクブランク、位相シフトマスク、これらの製造方法、および半導体デバイスの製造方法

Patent Citations (6)

* Cited by examiner, † Cited by third party
Publication number Priority date Publication date Assignee Title
JPH0683034A (ja) * 1992-07-17 1994-03-25 Toshiba Corp 露光用マスク、露光マスク用基板及びその製造方法
JPH07128840A (ja) * 1993-11-02 1995-05-19 Hoya Corp ハーフトーン型位相シフトマスク及びハーフトーン型位相シフトマスクブランク
JP2002258460A (ja) * 2000-12-26 2002-09-11 Hoya Corp ハーフトーン型位相シフトマスクブランク及びマスク
JP2004004791A (ja) * 2002-04-25 2004-01-08 Hoya Corp ハーフトーン型位相シフトマスクブランク及びハーフトーン型位相シフトマスク
JP2005208282A (ja) * 2004-01-22 2005-08-04 Hoya Corp ハーフトーン型位相シフトマスクブランクの製造方法、及びハーフトーン型位相シフトマスクの製造方法
JP2006209128A (ja) * 2005-01-27 2006-08-10 Applied Materials Inc 保護マスクを使用したホトマスクプラズマエッチング方法

Cited By (15)

* Cited by examiner, † Cited by third party
Publication number Priority date Publication date Assignee Title
JP2018077418A (ja) * 2016-11-11 2018-05-17 Hoya株式会社 マスクブランク、転写用マスク、転写用マスクの製造方法および半導体デバイスの製造方法
CN115933308B (zh) * 2017-03-16 2025-08-26 Hoya株式会社 掩模坯料、转印用掩模及半导体器件的制造方法
CN115933308A (zh) * 2017-03-16 2023-04-07 Hoya株式会社 掩模坯料、转印用掩模及半导体器件的制造方法
CN108957941A (zh) * 2017-05-18 2018-12-07 思而施技术株式会社 相移空白掩膜及其制造方法
JP2023154019A (ja) * 2017-05-22 2023-10-18 エヌチェーン ライセンシング アーゲー パラメータ化可能なスマートコントラクト
JP2025094024A (ja) * 2017-05-22 2025-06-24 エヌチェーン ライセンシング アーゲー パラメータ化可能なスマートコントラクト
CN109782525A (zh) * 2017-11-14 2019-05-21 爱发科成膜株式会社 掩模基底及其制造方法、相移掩模及其制造方法
JP2019090910A (ja) * 2017-11-14 2019-06-13 アルバック成膜株式会社 マスクブランク、位相シフトマスクおよびその製造方法
JP6998181B2 (ja) 2017-11-14 2022-02-04 アルバック成膜株式会社 マスクブランク、位相シフトマスクおよびその製造方法
TWI767053B (zh) * 2017-11-14 2022-06-11 日商阿爾貝克成膜股份有限公司 光罩基底、相位偏移光罩、光罩基底之製造方法、及相位偏移光罩之製造方法
CN109782525B (zh) * 2017-11-14 2023-10-27 爱发科成膜株式会社 掩模基底及其制造方法、相移掩模及其制造方法
US11009787B2 (en) 2018-02-22 2021-05-18 Hoya Corporation Mask blank, phase shift mask, and method for manufacturing semiconductor device
US11415875B2 (en) 2018-02-22 2022-08-16 Hoya Corporation Mask blank, phase shift mask, and method for manufacturing semiconductor device
JP2019144444A (ja) * 2018-02-22 2019-08-29 Hoya株式会社 マスクブランク、位相シフトマスク及び半導体デバイスの製造方法
WO2019163310A1 (ja) * 2018-02-22 2019-08-29 Hoya株式会社 マスクブランク、位相シフトマスク及び半導体デバイスの製造方法

Also Published As

Publication number Publication date
JP6709540B2 (ja) 2020-06-17
JP6073028B2 (ja) 2017-02-01
KR20170123346A (ko) 2017-11-07
JP2017058703A (ja) 2017-03-23
TWI682233B (zh) 2020-01-11
TW201640216A (zh) 2016-11-16
KR102069960B1 (ko) 2020-01-23
JP2016189002A (ja) 2016-11-04
US10365556B2 (en) 2019-07-30
US20180129130A1 (en) 2018-05-10

Similar Documents

Publication Publication Date Title
JP6073028B2 (ja) マスクブランク、位相シフトマスク及び位相シフトマスクの製造方法、並びに半導体装置の製造方法
JP6297734B2 (ja) マスクブランク、位相シフトマスクおよび半導体デバイスの製造方法
TWI689777B (zh) 遮罩基底、相位轉移遮罩及半導體元件之製造方法
WO2012043695A1 (ja) マスクブランク及びその製造方法並びに転写用マスク
JP5642643B2 (ja) フォトマスクブランク及びその製造方法、並びにフォトマスク及びその製造方法
JP5666218B2 (ja) マスクブランク、転写用マスク、および転写用マスクセット
JP6271780B2 (ja) マスクブランク、位相シフトマスクおよび半導体デバイスの製造方法
JPWO2019102990A1 (ja) マスクブランク、位相シフトマスクおよび半導体デバイスの製造方法
KR20180008458A (ko) 마스크 블랭크, 전사용 마스크, 전사용 마스크의 제조 방법 및 반도체 디바이스의 제조 방법
WO2019230313A1 (ja) マスクブランク、位相シフトマスクおよび半導体デバイスの製造方法
WO2019230312A1 (ja) マスクブランク、位相シフトマスクおよび半導体デバイスの製造方法
JP6490786B2 (ja) マスクブランク、位相シフトマスクおよび半導体デバイスの製造方法
CN113242995B (zh) 掩模坯料、相移掩模、相移掩模的制造方法及半导体器件的制造方法
WO2022004350A1 (ja) マスクブランク、位相シフトマスク、位相シフトマスクの製造方法及び半導体デバイスの製造方法

Legal Events

Date Code Title Description
121 Ep: the epo has been informed by wipo that ep was designated in this application

Ref document number: 16772530

Country of ref document: EP

Kind code of ref document: A1

WWE Wipo information: entry into national phase

Ref document number: 15561124

Country of ref document: US

NENP Non-entry into the national phase

Ref country code: DE

ENP Entry into the national phase

Ref document number: 20177030296

Country of ref document: KR

Kind code of ref document: A

122 Ep: pct application non-entry in european phase

Ref document number: 16772530

Country of ref document: EP

Kind code of ref document: A1