WO2016157901A1 - 液体供給装置および液体消費装置 - Google Patents
液体供給装置および液体消費装置 Download PDFInfo
- Publication number
- WO2016157901A1 WO2016157901A1 PCT/JP2016/001845 JP2016001845W WO2016157901A1 WO 2016157901 A1 WO2016157901 A1 WO 2016157901A1 JP 2016001845 W JP2016001845 W JP 2016001845W WO 2016157901 A1 WO2016157901 A1 WO 2016157901A1
- Authority
- WO
- WIPO (PCT)
- Prior art keywords
- ink
- liquid
- unit
- tank
- liquid storage
- Prior art date
- Legal status (The legal status is an assumption and is not a legal conclusion. Google has not performed a legal analysis and makes no representation as to the accuracy of the status listed.)
- Ceased
Links
Images
Classifications
-
- B—PERFORMING OPERATIONS; TRANSPORTING
- B41—PRINTING; LINING MACHINES; TYPEWRITERS; STAMPS
- B41J—TYPEWRITERS; SELECTIVE PRINTING MECHANISMS, i.e. MECHANISMS PRINTING OTHERWISE THAN FROM A FORME; CORRECTION OF TYPOGRAPHICAL ERRORS
- B41J2/00—Typewriters or selective printing mechanisms characterised by the printing or marking process for which they are designed
- B41J2/005—Typewriters or selective printing mechanisms characterised by the printing or marking process for which they are designed characterised by bringing liquid or particles selectively into contact with a printing material
- B41J2/01—Ink jet
- B41J2/17—Ink jet characterised by ink handling
- B41J2/175—Ink supply systems ; Circuit parts therefor
-
- B—PERFORMING OPERATIONS; TRANSPORTING
- B41—PRINTING; LINING MACHINES; TYPEWRITERS; STAMPS
- B41J—TYPEWRITERS; SELECTIVE PRINTING MECHANISMS, i.e. MECHANISMS PRINTING OTHERWISE THAN FROM A FORME; CORRECTION OF TYPOGRAPHICAL ERRORS
- B41J2/00—Typewriters or selective printing mechanisms characterised by the printing or marking process for which they are designed
- B41J2/005—Typewriters or selective printing mechanisms characterised by the printing or marking process for which they are designed characterised by bringing liquid or particles selectively into contact with a printing material
- B41J2/01—Ink jet
-
- B—PERFORMING OPERATIONS; TRANSPORTING
- B41—PRINTING; LINING MACHINES; TYPEWRITERS; STAMPS
- B41J—TYPEWRITERS; SELECTIVE PRINTING MECHANISMS, i.e. MECHANISMS PRINTING OTHERWISE THAN FROM A FORME; CORRECTION OF TYPOGRAPHICAL ERRORS
- B41J2/00—Typewriters or selective printing mechanisms characterised by the printing or marking process for which they are designed
- B41J2/005—Typewriters or selective printing mechanisms characterised by the printing or marking process for which they are designed characterised by bringing liquid or particles selectively into contact with a printing material
- B41J2/01—Ink jet
- B41J2/17—Ink jet characterised by ink handling
- B41J2/175—Ink supply systems ; Circuit parts therefor
- B41J2/17503—Ink cartridges
-
- B—PERFORMING OPERATIONS; TRANSPORTING
- B41—PRINTING; LINING MACHINES; TYPEWRITERS; STAMPS
- B41J—TYPEWRITERS; SELECTIVE PRINTING MECHANISMS, i.e. MECHANISMS PRINTING OTHERWISE THAN FROM A FORME; CORRECTION OF TYPOGRAPHICAL ERRORS
- B41J2/00—Typewriters or selective printing mechanisms characterised by the printing or marking process for which they are designed
- B41J2/005—Typewriters or selective printing mechanisms characterised by the printing or marking process for which they are designed characterised by bringing liquid or particles selectively into contact with a printing material
- B41J2/01—Ink jet
- B41J2/17—Ink jet characterised by ink handling
- B41J2/175—Ink supply systems ; Circuit parts therefor
- B41J2/17503—Ink cartridges
- B41J2/17506—Refilling of the cartridge
- B41J2/17509—Whilst mounted in the printer
-
- B—PERFORMING OPERATIONS; TRANSPORTING
- B41—PRINTING; LINING MACHINES; TYPEWRITERS; STAMPS
- B41J—TYPEWRITERS; SELECTIVE PRINTING MECHANISMS, i.e. MECHANISMS PRINTING OTHERWISE THAN FROM A FORME; CORRECTION OF TYPOGRAPHICAL ERRORS
- B41J2/00—Typewriters or selective printing mechanisms characterised by the printing or marking process for which they are designed
- B41J2/005—Typewriters or selective printing mechanisms characterised by the printing or marking process for which they are designed characterised by bringing liquid or particles selectively into contact with a printing material
- B41J2/01—Ink jet
- B41J2/17—Ink jet characterised by ink handling
- B41J2/175—Ink supply systems ; Circuit parts therefor
- B41J2/17503—Ink cartridges
- B41J2/17513—Inner structure
-
- B—PERFORMING OPERATIONS; TRANSPORTING
- B41—PRINTING; LINING MACHINES; TYPEWRITERS; STAMPS
- B41J—TYPEWRITERS; SELECTIVE PRINTING MECHANISMS, i.e. MECHANISMS PRINTING OTHERWISE THAN FROM A FORME; CORRECTION OF TYPOGRAPHICAL ERRORS
- B41J2/00—Typewriters or selective printing mechanisms characterised by the printing or marking process for which they are designed
- B41J2/005—Typewriters or selective printing mechanisms characterised by the printing or marking process for which they are designed characterised by bringing liquid or particles selectively into contact with a printing material
- B41J2/01—Ink jet
- B41J2/17—Ink jet characterised by ink handling
- B41J2/175—Ink supply systems ; Circuit parts therefor
- B41J2/17503—Ink cartridges
- B41J2/1752—Mounting within the printer
-
- B—PERFORMING OPERATIONS; TRANSPORTING
- B41—PRINTING; LINING MACHINES; TYPEWRITERS; STAMPS
- B41J—TYPEWRITERS; SELECTIVE PRINTING MECHANISMS, i.e. MECHANISMS PRINTING OTHERWISE THAN FROM A FORME; CORRECTION OF TYPOGRAPHICAL ERRORS
- B41J2/00—Typewriters or selective printing mechanisms characterised by the printing or marking process for which they are designed
- B41J2/005—Typewriters or selective printing mechanisms characterised by the printing or marking process for which they are designed characterised by bringing liquid or particles selectively into contact with a printing material
- B41J2/01—Ink jet
- B41J2/17—Ink jet characterised by ink handling
- B41J2/175—Ink supply systems ; Circuit parts therefor
- B41J2/17503—Ink cartridges
- B41J2/1752—Mounting within the printer
- B41J2/17523—Ink connection
-
- B—PERFORMING OPERATIONS; TRANSPORTING
- B41—PRINTING; LINING MACHINES; TYPEWRITERS; STAMPS
- B41J—TYPEWRITERS; SELECTIVE PRINTING MECHANISMS, i.e. MECHANISMS PRINTING OTHERWISE THAN FROM A FORME; CORRECTION OF TYPOGRAPHICAL ERRORS
- B41J2/00—Typewriters or selective printing mechanisms characterised by the printing or marking process for which they are designed
- B41J2/005—Typewriters or selective printing mechanisms characterised by the printing or marking process for which they are designed characterised by bringing liquid or particles selectively into contact with a printing material
- B41J2/01—Ink jet
- B41J2/17—Ink jet characterised by ink handling
- B41J2/175—Ink supply systems ; Circuit parts therefor
- B41J2/17503—Ink cartridges
- B41J2/17553—Outer structure
-
- B—PERFORMING OPERATIONS; TRANSPORTING
- B41—PRINTING; LINING MACHINES; TYPEWRITERS; STAMPS
- B41J—TYPEWRITERS; SELECTIVE PRINTING MECHANISMS, i.e. MECHANISMS PRINTING OTHERWISE THAN FROM A FORME; CORRECTION OF TYPOGRAPHICAL ERRORS
- B41J2/00—Typewriters or selective printing mechanisms characterised by the printing or marking process for which they are designed
- B41J2/005—Typewriters or selective printing mechanisms characterised by the printing or marking process for which they are designed characterised by bringing liquid or particles selectively into contact with a printing material
- B41J2/01—Ink jet
- B41J2/17—Ink jet characterised by ink handling
- B41J2/175—Ink supply systems ; Circuit parts therefor
- B41J2/17566—Ink level or ink residue control
-
- B—PERFORMING OPERATIONS; TRANSPORTING
- B41—PRINTING; LINING MACHINES; TYPEWRITERS; STAMPS
- B41J—TYPEWRITERS; SELECTIVE PRINTING MECHANISMS, i.e. MECHANISMS PRINTING OTHERWISE THAN FROM A FORME; CORRECTION OF TYPOGRAPHICAL ERRORS
- B41J29/00—Details of, or accessories for, typewriters or selective printing mechanisms not otherwise provided for
- B41J29/02—Framework
-
- B—PERFORMING OPERATIONS; TRANSPORTING
- B41—PRINTING; LINING MACHINES; TYPEWRITERS; STAMPS
- B41J—TYPEWRITERS; SELECTIVE PRINTING MECHANISMS, i.e. MECHANISMS PRINTING OTHERWISE THAN FROM A FORME; CORRECTION OF TYPOGRAPHICAL ERRORS
- B41J29/00—Details of, or accessories for, typewriters or selective printing mechanisms not otherwise provided for
- B41J29/12—Guards, shields or dust excluders
- B41J29/13—Cases or covers
-
- B—PERFORMING OPERATIONS; TRANSPORTING
- B41—PRINTING; LINING MACHINES; TYPEWRITERS; STAMPS
- B41J—TYPEWRITERS; SELECTIVE PRINTING MECHANISMS, i.e. MECHANISMS PRINTING OTHERWISE THAN FROM A FORME; CORRECTION OF TYPOGRAPHICAL ERRORS
- B41J2/00—Typewriters or selective printing mechanisms characterised by the printing or marking process for which they are designed
- B41J2/005—Typewriters or selective printing mechanisms characterised by the printing or marking process for which they are designed characterised by bringing liquid or particles selectively into contact with a printing material
- B41J2/01—Ink jet
- B41J2/17—Ink jet characterised by ink handling
- B41J2/175—Ink supply systems ; Circuit parts therefor
- B41J2/17566—Ink level or ink residue control
- B41J2002/17573—Ink level or ink residue control using optical means for ink level indication
-
- B—PERFORMING OPERATIONS; TRANSPORTING
- B41—PRINTING; LINING MACHINES; TYPEWRITERS; STAMPS
- B41J—TYPEWRITERS; SELECTIVE PRINTING MECHANISMS, i.e. MECHANISMS PRINTING OTHERWISE THAN FROM A FORME; CORRECTION OF TYPOGRAPHICAL ERRORS
- B41J2/00—Typewriters or selective printing mechanisms characterised by the printing or marking process for which they are designed
- B41J2/005—Typewriters or selective printing mechanisms characterised by the printing or marking process for which they are designed characterised by bringing liquid or particles selectively into contact with a printing material
- B41J2/01—Ink jet
- B41J2/17—Ink jet characterised by ink handling
- B41J2/175—Ink supply systems ; Circuit parts therefor
- B41J2/17566—Ink level or ink residue control
- B41J2002/17579—Measuring electrical impedance for ink level indication
Definitions
- the present invention relates to a liquid supply device and a liquid consumption device.
- an ink jet printer that discharges ink to form an image
- the printer usually includes a tank unit that is an aspect of the liquid supply apparatus, and receives ink supplied from an ink tank included in the tank unit.
- a detection unit that detects the remaining amount of ink is provided in an ink tank (for example, Patent Document 1 below).
- the detection accuracy of the ink by the detection unit is increased in order to suppress the occurrence of printing failure or deterioration of the print head due to the ink running out. Further, even when the ink tank is enlarged in order to increase the ink capacity in the ink tank, it is possible to prevent the ink detection accuracy from being lowered and the detection unit from being enlarged. It is desirable. In addition, it is desirable that the remaining amount of ink in the ink tank can be easily checked without being limited to the case where the detection unit is used. In addition, printers and tank units included in printers are conventionally desired to be reduced in size, reduced in cost, resource-saving, easy to manufacture, and improved in usability.
- the present invention has been made to solve at least a part of the above-described problems in a liquid supply apparatus capable of supplying a liquid to a liquid consuming apparatus, and can be realized as the following embodiments.
- a liquid supply apparatus may include a first liquid storage unit, a second liquid storage unit, and a detection unit.
- the first liquid storage unit may store the liquid and may be able to introduce air.
- the second liquid storage unit can store the liquid and communicates with the first liquid storage unit and introduces air so that the liquid stored in the first liquid storage unit can flow in. It may be possible.
- the detection unit may be capable of detecting the liquid stored in the second liquid storage unit.
- the cross-sectional area of the horizontal cross section of the second liquid storage unit at the detection site where the detection unit detects the liquid is the cross-sectional area of the horizontal cross section of the first liquid storage unit at a height position corresponding to the position of the detection site. Smaller than that. According to the liquid supply device of this aspect, the influence of the variation in the arrangement angle of the liquid supply device on the liquid detection accuracy is suppressed, and the liquid detection accuracy is enhanced.
- the second liquid storage unit may include a visual recognition unit that allows a user to visually recognize the position of the liquid surface from the outside. According to the liquid supply apparatus of this aspect, the user can visually recognize the amount of liquid stored in the first liquid storage unit via the second liquid storage unit.
- the first liquid storage unit includes: a liquid storage chamber that stores the liquid; and an air storage chamber that communicates with the liquid storage chamber and stores the air.
- the atmospheric flow passage may be connected to the atmospheric chamber.
- the air stored in the air storage chamber of the first liquid storage unit can be introduced into the second liquid storage chamber.
- the second liquid storage unit may include a sealing member capable of sealing the injection port of the liquid injection unit. According to the liquid supply device of this aspect, leakage or evaporation of liquid from the second liquid storage unit via the injection port, contamination of foreign matter into the second liquid storage chamber, and the like are suppressed.
- the second liquid storage unit may be disposed on the front side of the liquid consumption device. According to the liquid consumption apparatus of this form, the user's accessibility to the second liquid storage unit is improved.
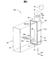
- FIG. 1 is a schematic perspective view illustrating an external configuration of the printer 10.
- FIG. 2 is a schematic perspective view showing the internal unit 20 of the printer 10.
- FIG. 2 illustrates a state where the casing unit 12 and the box body 41b are removed from the printer 10 and the internal unit 20 of the printer 10 is exposed.
- the indicator 45 is not shown for convenience.
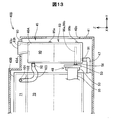
- FIG. 3 is a schematic exploded perspective view showing a part of the printer 10 in an exploded manner.
- FIG. 3 shows a state in which the tank unit 40A is separated from the printing unit 11 and the casing unit 41 is removed from the tank unit 40A.
- the printing unit 11 and the tank unit 40A are configured as separate bodies. Accordingly, it is possible to maintain the printing unit 11 and the tank unit 40A separately, and the maintainability of the printer 10 is improved. Further, in a normal use state, the printing unit 11 and the tank unit 40A are connected (details will be described later). Therefore, the printing unit 11 and the tank unit 40A can be transported together, and the movement and installation of the printer 10 are facilitated. Below, after demonstrating the structure of the printing part 11, the structure of the tank unit 40A, etc. are demonstrated.
- the cable connecting portion 53 is provided on the second substrate surface 52 opposite to the first substrate surface 51 of the substrate portion 50.
- the cable connecting portion 53 is fixed to the end portion on the opposite side of the arrow X of the substrate portion 50.
- the cable connection portion 53 is electrically connected to a terminal electrically connected to each ink cylinder portion 46 ⁇ / b> A via a wiring pattern formed on the substrate portion 50. Illustration and detailed description of the wiring pattern are omitted.
- the wiring cable 55 is connected to the cable connection portion 53.
- the wiring cable 55 has flexibility and is disposed so as to extend from the casing part 41 of the tank unit 40A (FIG. 3), and is connected to the signal processing part 22 (FIG. 2) of the printing part 11. ing.
- a current for detecting ink flows through the terminal pins of each ink cylinder portion 46A through the terminal connection portion 48 by the signal processing portion 22 (details will be described later).
- a lower end portion 70b that protrudes downward locally is provided at the lower end of the ink storage chamber 70 of the present embodiment (FIGS. 6 to 8).
- An ink supply unit 73 and an ink circulation unit 75 are provided in the lower end portion 70b.
- the ink supply unit 73 is a part that communicates with the ink storage chamber 70 from the outside so that the ink in the ink storage chamber 70 can be supplied to the print head unit 25 (FIG. 2) via the tube 44.
- the ink supply part 73 is configured as a cylindrical part protruding in the opposite direction of the arrow X from the lower end part 70b of the ink containing chamber 70, and has a through hole 73h communicating with the ink containing chamber 70 (FIG. 6, FIG. 7).
- the tube 44 is attached to the ink supply unit 73 in an airtight manner with the direction of the arrow X as the attachment direction.
- the ink circulation part 75 (FIGS. 6 to 8) externally passes the ink in the ink storage chamber 70 with the corresponding ink cylinder part 46A via the tube 47 (FIG. 4). This is a part communicating with the ink storage chamber 70.
- the ink circulation part 75 is configured as a cylindrical part protruding in the opposite direction of the arrow X in parallel with the ink supply part 73 from the lower end part 70 b of the ink storage chamber 70, and is a through hole communicating with the ink storage chamber 70. 75 h (FIG. 7).
- the tube 47 is attached to the ink circulation portion 75 in an airtight manner with the direction of the arrow X as the attachment direction.
- the ink storage chamber 70 and the air storage chamber 71 are connected by an air communication path 74 so that the air in the air storage chamber 71 can flow into the ink storage chamber 70 (FIG. 8).
- the atmosphere communication passage 74 is a groove portion that opens on the opposite side of the arrow Y in the case member 68 and extends along the outer periphery of the ink accommodation chamber 70 and the atmosphere accommodation chamber 71 on the joining surface of the film member 69. Is formed.
- the atmosphere communication path 74 extends by being bent a plurality of times.
- the ink tank 43A of this embodiment even when the printer 10 is transported in a state where the ink tank 43A is filled with ink, even if the ink flows into the atmosphere storage chamber 71 from the atmosphere communication path 74. The ink is stored in the atmospheric chamber 71. Accordingly, ink leakage through the air introduction unit 76 is suppressed.
- the wall portion of the case member 68 constituting the third surface portion 63 is transparent or transparent so that the user can visually recognize the liquid level of the ink stored in the ink storage chamber 70. It is configured to be translucent. Thus, the user can visually recognize the amount of ink stored in the ink tank 43A when the ink tank 43A is replenished with ink.
- the wall portion constituting the third surface portion 63 may be configured to be transparent or translucent, or the entire case member 68 may be configured to be transparent or translucent. .
- FIG. 9 is a schematic exploded perspective view of the ink cylinder portion 46A.
- FIG. 10 is a schematic cross-sectional view showing the internal structure of the ink cylinder portion 46A.
- FIG. 8 shows a schematic cross section of the ink cylinder portion 46 ⁇ / b> A whose cut surface is the joint surface of the film member 89.
- arrows X, Y, and Z correspond to FIGS. 1 to 3 on the basis of the arrangement posture in which the ink cylinder portion 46A is fixed to the tank unit 40A connected to the printer 10. Is shown.
- the direction description is based on the ink cylinder portion 46A when in the above-described arrangement posture unless otherwise specified.
- the plurality of ink cylinder portions 46A are arranged on the front side of the printer 10 so that the third surface portions 83 are arranged in a line along the direction of the arrow X (FIG. 4).
- the casing unit 41 of the tank unit 40A is provided with a third window portion 42c so that the third surface portion 83 of each ink cylinder portion 46A is exposed so as to be visible from the outside (FIG. 1).
- the ink cylinder portion 46A indicating the ink amount of each ink tank 43A is collectively arranged on the front side facing the user in the normal use state of the printer 10, and the user Convenience for is improved.
- the presence or absence of the ink IN is detected at the portion where the terminal pins 96a and 96b are installed.
- the portion at the height position where the pair of terminal pins 96a and 96b are installed corresponds to the subordinate concept of the detection portion in the present invention.
- the height position of the terminal pin arranged on the upper side is a subordinate concept of the detection site in the present invention. Equivalent to.
- the control unit 21, the signal processing unit 22, the terminal connection unit 48, and a pair of terminal pins 96a and 96b that are detection elements include the ink contained in the ink cylinder unit 46A. It can be interpreted that a detection unit capable of detection is configured.
- the terminal connection portion 48 that is disposed outside the ink cylinder portion 46A and exchanges electrical signals with the pair of terminal pins 96a and 96b corresponds to a subordinate concept of the connection portion in the present invention.
- the horizontal cross-sectional area in the ink storage chamber 90 of the ink cylinder portion 46A includes the installation site of the terminal pins 96a and 96b over the entire area in the height direction of the ink tank 43A. It is smaller than the horizontal sectional area in the ink containing chamber 70. Therefore, even when the tank unit 40A is disposed to be inclined with respect to the horizontal plane, in the ink cylinder portion 46A, the position of the liquid level of the ink IN at the height position where the terminal pins 96a and 96b are installed. The fluctuation is suppressed as compared with the ink tank 43A.
- a detection unit for detecting the remaining amount of ink is provided for the ink cylinder unit 46A constituting the indicator unit 45. Therefore, even if each ink tank 43A is enlarged in order to increase the ink capacity of each ink tank 43A, it is possible to suppress the detection unit from becoming enlarged accordingly.
- the tank unit 40A of the present embodiment since the respective ink cylinder portions 46A are arranged together, it is possible to reduce the size of the terminal connection portion 48 that is commonly connected to each ink cylinder portion 46A. It is.
- the width Wb of the row of the ink cylinder portions 46A in the direction of the arrow X is smaller than the width Wa of the row of the ink tank 43A in the direction of the arrow X.
- the indicator portion 45 itself is downsized, which contributes to downsizing of the tank unit 40A and the printer 10.
- the width Wc of each ink cylinder 46A in the direction of arrow X is equal to or less than 1 ⁇ 4 of the width Wa of each ink tank 43A in the direction of arrow X.
- the tank unit 40A includes n ink tanks 43A and n ink cylinders 46A (n is a natural number of 1 or more)
- the width Wc of each ink cylinder 46A in the direction of the arrow X is set to each ink tank 43A. 1 / n or less of the width Wa in the direction of the arrow X.
- each ink cylinder portion 46A is thus configured smaller than the corresponding ink tank 43A. Therefore, it is possible to obtain a higher level of the effect of suppressing erroneous detection of ink shortage due to the above-described fluctuation of the liquid level of the ink IN.
- the terminal connection portion 48 is disposed in the gap between the end of the row of the ink tank 43A and each ink cylinder portion 46A, so that the space utilization efficiency in the tank unit 40A is increased. It has been. Further, since the terminal connection portion 48 is disposed at such a deep position, it is possible to prevent the user from touching the terminal connection portion 48 by mistake, and the protection of the terminal connection portion 48 is enhanced.
- the tank unit 40A of the present embodiment As described above, according to the tank unit 40A of the present embodiment, erroneous detection of ink shortage due to the arrangement state of the tank unit 40A is suppressed, and ink detection accuracy is improved. Further, according to the printer 10 of the present embodiment, the management of the ink amount in the ink tank 43A is enhanced by including the tank unit 40A. In addition, according to the tank unit 40A of the present embodiment and the printer 10 including the tank unit 40A, the various functions and effects described above can be achieved.
- the ink tank 43B provided in the tank unit 40B has substantially the same configuration as the ink tank 43A described in the first embodiment except that an air circulation unit 101 communicating with the air accommodating chamber 71 is provided.
- the air circulation part 101 is configured as a cylindrical part protruding in the reverse direction of the arrow X on the fifth surface part 65 of the ink tank 43 ⁇ / b> B, and has a through hole 102 communicating with the air accommodating chamber 71.
- the tank unit 40B includes a plurality of tubes 103.
- Each tube 103 is constituted by a resin member having flexibility, for example.
- One end of the tube 103 is airtightly connected to the air circulation part 101 of each ink tank 43B, and the other end is airtightly connected to the air introduction part 92 of the corresponding ink cylinder part 46A.
- the air storage chamber 71 of each ink tank 43 ⁇ / b> B and the ink storage chamber 90 of the ink cylinder portion 46 ⁇ / b> A are connected via the tube 103 so that the air can flow between them.
- the tube 103 of this embodiment corresponds to a subordinate concept of the atmospheric flow passage in the present invention.
- the ink containing chamber 70 of the ink cylinder portion 46A is not in direct communication with the outside. Therefore, it is possible to suppress ink from evaporating from the ink cylinder portion 46A with a simple configuration.
- the tube 103 is connected to the air storage chamber 71 of the ink tank 43B, the ink in the ink storage chamber 70 of the ink tank 43B flows into the ink cylinder portion 46A via the tube 103. Is suppressed.
- various functions and effects similar to those described in the first embodiment can be achieved.
- FIG. 14 is a schematic exploded perspective view for explaining the configuration of a tank unit 40C in the third embodiment of the present invention.
- FIG. 14 shows a state in which the film member 89 is separated from one of the plurality of ink cylinder portions 46C constituting the indicator portion 45 accommodated in the casing portion 41 of the tank unit 40C.
- the illustration of the wiring cable 55 is omitted for convenience.
- the tank unit 40C of the third embodiment has the same configuration as the tank unit 40A of the first embodiment except for the points described below, and the printer 10 described in the first embodiment (FIGS. 1 and 2). ) Is mounted on a printer having the same configuration as in FIG.
- the same or corresponding names and symbols used in the first embodiment are used for the same or corresponding components described in the first embodiment.
- a detection unit capable of detecting ink in each ink tube portion 46C is configured by optical means.
- a triangular prism 105 is provided in the ink storage chamber 70 of each ink cylinder portion 46C as a detection element used for ink detection instead of the pair of terminal pins 96a and 96b. .
- the triangular prism 105 is made of, for example, acrylic resin.
- an optical sensor unit 106 is provided instead of the terminal connection unit 48 between the column of the ink cylinder units 46C and the column of the ink tank 43A.
- the optical sensor unit 106 has the same configuration as the terminal connection unit 48 except that a plurality of sets of light emitting elements 107 and light receiving elements 108 are provided on the substrate surface of the substrate unit 50 instead of the plurality of terminals 56. Have.
- FIGS. 15A and 15B are schematic diagrams for explaining the operation of ink detection in the indicator unit 45 in the third embodiment.
- FIG. 15A and FIG. 15B schematic cross sections of the indicator section 45 taken along the line AA shown in FIG. 14 are schematically shown.
- FIG. 15A shows a state where ink is sufficiently stored in the ink storage chamber 70 of the ink cylinder portion 46C
- FIG. 15B shows that ink is insufficient in the ink storage chamber 70 of the ink cylinder portion 46C. The state is shown.
- the control unit 21 and the signal processing unit 22 of the printing unit 11 are illustrated, and the wiring cable 55 is illustrated by a one-dot chain line.
- the light emitting element 107 is disposed to face the second surface 105b with the first surface 105a interposed therebetween, and the light receiving element 108 is disposed to face the third surface 105c with the first surface 105a interposed therebetween. Is arranged.
- the control unit 21 determines that ink shortage has occurred in the ink tank 43A corresponding to the ink cylinder unit 46C.
- the control unit 21, the signal processing unit 22, the triangular prism 105 serving as a detection element, and the optical sensor unit 106 detect ink by optical means. Possible detectors are configured.
- a portion at a height position where light from the light emitting element 107 enters the triangular prism 105 corresponds to a subordinate concept of the detection portion in the present invention.
- the optical sensor unit 106 disposed outside the ink cylinder unit 46C and exchanges an optical signal with the triangular prism 105 serving as a detection element corresponds to a subordinate concept of the connection unit in the present invention. .
- FIG. 16 is a schematic cross-sectional view showing the internal structure of a tank unit 40D according to the sixth embodiment of the present invention.
- FIG. 16 illustrates a partial configuration in the casing portion 41 when the tank unit 40D is viewed in the direction of the arrow X.
- the tank unit 40D of the fourth embodiment has substantially the same configuration as the tank unit 40A of the first embodiment except for the points described below, and the printer 10 described in the first embodiment (FIGS. 1 and 1). It is mounted on a printer having the same configuration as in 2).
- the same or corresponding names and symbols used in the first embodiment are used for the same or corresponding components described in the first embodiment.
- the air tightness of the ink storage chamber 70 is ensured between the first terminal pin 110a and the inner peripheral surface of the first through hole 111a and between the second terminal pin 110b and the inner peripheral surface of the second through hole 111b. It is desirable to arrange a sealing member for this purpose.
- the pair of terminal pins 110a and 110b are held in the ink storage chamber 70 so that the respective lower end portions 110t are positioned on the lower end side of the ink storage chamber 70 and higher than the lower end.
- the lower end portions 110t of the terminal pins 110a and 110b may be positioned at substantially the same height as the second mark portion 95b.
- the terminal connecting portion 48 includes each ink cylinder portion 46D so that each terminal 56 of the first substrate surface 51 can electrically contact the corresponding terminal pins 110a and 110b of each ink cylinder portion 46D. It is erected above.
- the control unit 21 periodically applies the first terminal pin 110a of each ink cylinder unit 46D by the signal processing unit 22, as described in the first embodiment. Current is passed through.
- the control unit 21 detects ink shortage in the corresponding ink tank 43A.
- part of the height position of the lower end part 110t of the 1st terminal pin 110a is equivalent to the subordinate concept of the detection site
- the detection accuracy of ions is improved as in the tank unit 40A of the first embodiment.
- various functions and effects similar to those described in the first embodiment can be achieved.
- FIG. 17 is a schematic exploded perspective view of the ink cylinder portion 46E.
- FIG. 18 is a schematic cross-sectional view showing the internal structure of the ink cylinder portion 46E.
- FIG. 18 shows a schematic cross section of the ink cylinder portion 46E with the joining surface of the film member 89 as a cut surface.
- the tank unit in the fifth embodiment has substantially the same configuration as the tank unit 40A of the first embodiment except that the configuration of the ink cylinder portion 46E is different, and the printer 10 described in the first embodiment. It is mounted on a printer having the same configuration as the above.
- the same or corresponding names and symbols used in the first embodiment are used for the same or corresponding components described in the first embodiment.
- an atmosphere containing chamber 115 and an atmosphere communication passage 116 are provided inside.
- the atmosphere storage chamber 115 is a substantially rectangular parallelepiped hollow portion that can store the atmosphere, and is formed by being partitioned by an inner wall portion 117 above the ink storage chamber 90.
- the atmosphere introduction portion 92 communicates with the atmosphere accommodation chamber 115.
- the atmosphere communication passage 116 is formed as a groove portion that is open on the side opposite to the arrow Y on the end face of the inner wall portion 117.
- the air communication path 116 is formed between the air storage chamber 115 and the ink storage chamber 90 so as to communicate with the air storage chamber 115 and the ink storage chamber 90.
- the atmosphere communication path 116 is folded back so as to reciprocate once in the direction of the arrow Y.
- the ink cylinder portion 46E of the fifth embodiment since the atmosphere containing chamber 115 and the atmosphere communication passage 116 are provided between the ink containing chamber 90 and the atmosphere introducing portion 92, the ink from the ink containing chamber 90 is removed. Ink leakage and ink evaporation are suppressed.
- the tank unit of the sixth embodiment including the ink cylinder portion 46E and the printer including the tank unit, various functions and effects similar to those described in the first embodiment can be achieved.
- FIG. 19 is a schematic block diagram illustrating a connection configuration between the ink tank 43F and the ink cylinder portion 46A included in the tank unit 40F according to the sixth embodiment of the present invention.
- the tank unit 40F of the sixth embodiment has substantially the same configuration as the tank unit 40A of the first embodiment, except for the points described below, and the printer 10 described in the first embodiment (FIGS. 1 and 1). It is mounted on a printer having the same configuration as in 2).
- the same or corresponding names and symbols used in the first embodiment are used for the same or corresponding components described in the first embodiment.
- the ink tank 43F provided in the tank unit 40F of the sixth embodiment has substantially the same configuration as the ink tank 43A of the first embodiment except that the ink circulation part 75 is not provided.
- a tube 120 is connected to the ink supply part 73 of the ink tank 43F and the ink circulation part 91 of the corresponding ink cylinder part 46A.
- the ink tank 43F and the ink cylinder part 46A are connected in parallel to the print head part 25 of the printing part 11 via the tube 120. Even with the tank unit 40F of the sixth embodiment having such a connection configuration, various functions and effects similar to those described in the first embodiment can be achieved. The same applies to a printer including the tank unit 40F.
- FIG. 20 is a schematic block diagram illustrating a connection configuration between the ink tank 43F and the ink cylinder portion 46G included in the tank unit 40G according to the seventh embodiment of the present invention.
- the tank unit 40G of the seventh embodiment has substantially the same configuration as the tank unit 40F of the sixth embodiment except for the points described below, and the printer 10 described in the first embodiment (FIG. 1, FIG. 1). It is mounted on a printer having the same configuration as in 2).
- the same or corresponding components as those described in the first embodiment and the sixth embodiment are the same as those used in the first embodiment and the sixth embodiment. Names and symbols are used.
- the ink cylinder portion 46G provided in the tank unit 40G of the seventh embodiment has substantially the same configuration as the ink tank 43A of the first embodiment except that an ink supply portion 98 is added.
- the ink supply part 98 of the ink cylinder part 46 ⁇ / b> G is formed as a cylindrical part protruding downward in the first surface part 81, and has a through hole (not shown) communicating with the ink storage chamber 90.
- the ink supply unit 98 may not be provided on the first surface portion 81, and may be provided on the lower end of the third surface portion 83 or the fourth surface portion 84, for example.
- tank units 40A to 40D, 40F, and 40G, the ink tanks 43A, 43B, and 43F, and the ink cylinder portions 46A, 46C to 46E, and 46G described in the above embodiments are distinguished unless otherwise specified. They are called the tank unit 40, the ink tank 43, and the ink cylinder portion 46.
- the tank unit 40 of each of the above embodiments includes a plurality of ink tanks 43 and a corresponding number of ink cylinder portions 46.
- the tank unit 40 may include only one ink tank 43 and one ink cylinder portion 46.
- the ink cylinder portion 46 may be provided corresponding to only a part of the plurality of ink tanks 43.
- the printing unit 11 and the tank unit 40 include separate casing units 12 and 41, respectively.
- the printing part 11 and the tank unit 40 may be integrally accommodated in a common casing part.
- a plurality of ink tanks 43 and an indicator unit 45 are accommodated in the casing unit 41.
- the indicator part 45 may be arranged outside the casing part 41.
- the indicator unit 45 may be installed at a location away from the plurality of ink tanks 43.
- the casing portion 41 may be omitted.
- Each ink tank 43 and the indicator part 45 may be arranged in a state exposed to the outside.
- the printing unit 11 and the tank unit 40 are connected.
- the printing part 11 and the tank unit 40 do not need to be connected, and may be arranged separately.
- the plurality of ink cylinder portions 46 are arranged adjacent to each other in a line in the direction of the arrow X on the front side of the printer 10.
- the plurality of ink cylinder portions 46 may not be arranged on the front side of the printer 10, and may be arranged on the right side surface of the printer 10, for example. Further, the plurality of ink cylinder portions 46 may not be arranged in a line, and may not be arranged adjacent to each other.
- the plurality of ink tube portions 46 may be arranged in two rows, for example, or may be arranged in a distributed manner.
- the ink cylinder portion 46 has a substantially rectangular parallelepiped shape.
- the ink cylinder portion 46 may have a shape other than a substantially rectangular parallelepiped shape.
- the ink cylinder portion 46 may have a substantially cylindrical shape.
- the main body portion of the ink cylinder portion 46 includes the case member 88 and the film member 89.
- the main body portion of the ink cylinder portion 46 may not be constituted by the case member 88 and the film member 89.
- the cylindrical member and the opening portion of the cylindrical member are provided. You may be comprised with the cover body which obstruct
- the ink storage chamber 90 of the ink cylinder portion 46 is configured so that the horizontal cross-sectional area is substantially constant over the height direction.
- the ink storage chamber 90 of the ink cylinder portion 46 may not have a substantially constant horizontal cross-sectional area over the height direction, and may have a configuration including a part with a different horizontal cross-sectional area. Good.
- the ink storage chamber 90 of the ink cylinder portion 46 may have a configuration in which the horizontal cross-sectional area decreases or increases in the height direction in part or in whole.
- the ink cylinder portion 46 only needs to be smaller than the horizontal sectional area of the ink storage chamber 70 of the ink tank 43 at the corresponding height position at least at the height position of the detection portion where the ink is detected.
- the ink cylinder portion 46 includes the ink injection portion 93.
- the ink cylinder part 46 does not need to include the ink injection part 93.
- the cap member 94 is attached to the ink injection portion 93 of the ink cylinder portion 46.
- the cap member 94 of the ink injection portion 93 may be omitted.
- the third surface portion 83 of the ink cylinder portion 46 is configured as a visual recognition portion that can visually recognize the position of the ink liquid level in the ink storage chamber 90 from the outside.
- the ink cylinder portion 46 does not have to have a portion configured such that the position of the ink surface can be visually recognized from the outside, such as the third surface portion 83.
- two mark portions 95a and 95b are provided on the third surface portion 83 which is a visual recognition portion. Both of the two mark portions 95a and 95b may be omitted, or only one of them may be omitted. Further, a scale indicating the ink amount may be formed instead of the mark portions 95a and 95b indicating the upper limit position or the lower limit position of the ink liquid level.
- the ink circulation part 91 of the ink cylinder part 46 is provided at the lower end of the ink cylinder part 46.
- the ink circulation part 91 may not be provided at the lower end of the ink cylinder part 46.
- the ink circulation part 91 only needs to be formed at a position where the ink from the corresponding ink tank 43 can flow into the ink storage chamber 90, and the ink in the ink storage chamber 90 can flow out toward the ink tank 43. It is desirable that they are provided at various positions.
- the terminal connection portion 48 and the optical sensor portion 106 include the substrate portion 50 that is disposed so as to face each of the plurality of ink cylinder portions 46.
- the terminal connection unit 48 and the optical sensor unit 106 may not include the substrate unit 50.
- One terminal connection part 48 may be provided separately for each of the pair of terminal pins 96a, 96b provided in each ink cylinder part 46.
- a set of the light emitting element 107 and the light receiving element 108 of the optical sensor unit 106 may be arranged separately for each of the plurality of ink cylinder units 46.
- the tank unit 40 of the embodiment includes a plurality of ink tanks 43 having the same shape and the same volume.
- the tank unit 40 may include a plurality of ink tanks 43 having different volumes.
- the plurality of ink tanks 43 are arranged in a line.
- the ink tanks 43 may not be arranged in a line.
- the plurality of ink tanks 43 may be arranged in two rows, for example, or may be arranged in a distributed manner.
- the control unit 21 detects that the ink level is lower than the lower end portion 110t of the first terminal pin 110a and the signal processing unit 22 detects an increase in resistance equal to or greater than the threshold value. Ink shortage in the ink tank 43A is detected. On the other hand, the control unit 21 is accommodated in the ink tank 43A based on the change in resistance between the first terminal pin 110a and the second terminal pin 110b in the configuration of the tank unit 40D of the fourth embodiment. It is also possible to detect the ink amount. This ink amount can be detected by the following configuration, for example.
- the control unit 21 sets a unique relationship between the resistance between the first terminal pin 110a and the second terminal pin 110b and the position of the ink liquid level in the ink storage chamber 70 of the ink tank 43A.
- the map is read in advance from a nonvolatile storage device or the like.
- the control unit 21 detects the resistance between the first terminal pin 110a and the second terminal pin 110b by the signal processing unit 22, the control unit 21 refers to the map and determines the ink liquid corresponding to the detected current resistance. Get the position of the face. With such a configuration, it is possible to detect the amount of ink stored in the ink tank 43A.
- the entire range in which the terminal pins 110a and 110b are arranged in the ink storage chamber 70 corresponds to the subordinate concept of the detection site in the present invention.
- the horizontal cross-sectional area of the ink cylinder portion 46 in the ink storage chamber 90 corresponds to the corresponding ink over the range in which the position of the ink liquid level is detected. It is desirable that the horizontal sectional area of the ink storage chamber 70 of the tank 43 be smaller.
- the tank unit 40 includes a plurality of ink tanks 43 and is configured to be able to supply the ink to the printer 10 that can consume the ink.
- the configuration of the tank unit 40 in each of the above embodiments may be applied to a tank unit that can supply the liquid to a liquid consuming device that can consume liquids other than ink.
- the present invention may be applied to a tank unit including a detergent tank that supplies a detergent to a detergent ejection device that ejects a liquid detergent.
- a liquid consuming apparatus that consumes liquid by discharging or ejecting liquid like the printer 10 is also an embodiment of the liquid ejecting apparatus.
- the present invention is not limited to the above-described embodiments, examples, and modifications, and can be realized with various configurations without departing from the spirit of the invention.
- the technical features in the embodiments, examples, and modifications corresponding to the technical features in each embodiment described in the summary section of the invention are to solve some or all of the above-described problems, or In order to achieve part or all of the above effects, replacement or combination can be performed as appropriate. Further, if the technical feature is not described as essential in the present specification, it can be deleted as appropriate.
- DESCRIPTION OF SYMBOLS 10 ... Printer, 11 ... Printing part, 12 ... Casing part, 13 ... Paper feed port, 14 ... Paper discharge port, 15 ... Interface part, 16 ... Side part, 19 ... Screw, 20 ... Internal unit, 21 ... Control part, DESCRIPTION OF SYMBOLS 22 ... Signal processing part, 23 ... Image forming part, 24 ... Paper conveyance mechanism, 25 ... Print head part, 26 ... Head drive part, 30 ... Carriage, 31 ... Ink discharge head, 32 ... Relay unit, 35 ... Motor, 36 ... endless belt, 37 ... guide rail, 40, 40A to 40D, 40F, 40G ... tank unit, 41 ... casing part, 41a ...
- Ink supply section 73h ... Through hole, 74 ... Atmospheric communication path, 75 ... Ink distribution part, 75 h... Through hole, 76... Air introduction part, 76 h... Through hole, 76 o .. Air release port, 78 a, 78 b ... Mark part, 79 ... Cap member, 81 to 86. ... Case member, 89 ... Film member, 90 ... Ink storage chamber, 91 ... Ink distribution part, 91h ... Through hole, 92 ... Air introduction part, 92h ... Through hole, 92o ... Air release port, 93 ... Ink injection part, 93 ... through hole, 93o ... injection port, 94 ...
- cap member 95a, 95b ... mark part, 96a, 96b ... terminal pin, 97a, 97b ... through hole, 98 ... ink supply part, 101 ... atmospheric circulation part, 102 ... through Hole: 103 ... Tube, 105 ... Triangular prism, 105a to 105c ... Surface, 106 ... Optical sensor, 107 ... Light emitting element, 108 ... Light receiving element, 110a, 110b ... Terminal pin, 110t ... Lower end, 111a, 111b ... Through Hole 115, atmosphere accommodation chamber 116, atmosphere communication passage 117, inner wall 120, tube
Landscapes
- Ink Jet (AREA)
Priority Applications (5)
| Application Number | Priority Date | Filing Date | Title |
|---|---|---|---|
| BR112017020829-6A BR112017020829A2 (pt) | 2015-03-31 | 2016-03-30 | aparelho de suprimento de líquido e aparelho de consumo de líquido |
| CN201680017501.8A CN107405927A (zh) | 2015-03-31 | 2016-03-30 | 液体供给装置和液体消耗装置 |
| US15/562,886 US10195860B2 (en) | 2015-03-31 | 2016-03-30 | Liquid supply apparatus and liquid consuming apparatus |
| KR1020177027536A KR20170120177A (ko) | 2015-03-31 | 2016-03-30 | 액체 공급 장치 및 액체 소비 장치 |
| PH12017501709A PH12017501709A1 (en) | 2015-03-31 | 2017-09-18 | Liquid supply apparatus and liquid consuming apparatus |
Applications Claiming Priority (2)
| Application Number | Priority Date | Filing Date | Title |
|---|---|---|---|
| JP2015070897A JP6657583B2 (ja) | 2015-03-31 | 2015-03-31 | 液体供給装置および液体消費装置 |
| JP2015-070897 | 2015-03-31 |
Publications (1)
| Publication Number | Publication Date |
|---|---|
| WO2016157901A1 true WO2016157901A1 (ja) | 2016-10-06 |
Family
ID=57004400
Family Applications (1)
| Application Number | Title | Priority Date | Filing Date |
|---|---|---|---|
| PCT/JP2016/001845 Ceased WO2016157901A1 (ja) | 2015-03-31 | 2016-03-30 | 液体供給装置および液体消費装置 |
Country Status (8)
| Country | Link |
|---|---|
| US (1) | US10195860B2 (enExample) |
| JP (1) | JP6657583B2 (enExample) |
| KR (1) | KR20170120177A (enExample) |
| CN (2) | CN107405927A (enExample) |
| BR (1) | BR112017020829A2 (enExample) |
| PH (1) | PH12017501709A1 (enExample) |
| TW (1) | TW201637885A (enExample) |
| WO (1) | WO2016157901A1 (enExample) |
Cited By (8)
| Publication number | Priority date | Publication date | Assignee | Title |
|---|---|---|---|---|
| US10118399B2 (en) | 2017-03-27 | 2018-11-06 | Brother Kogyo Kabushiki Kaisha | Liquid cartridge provided with snap-fit mechanism capable of suppressing detachment of cap |
| CN109249704A (zh) * | 2017-07-12 | 2019-01-22 | 精工爱普生株式会社 | 液体容纳容器 |
| EP3437877A1 (en) * | 2017-07-31 | 2019-02-06 | Brother Kogyo Kabushiki Kaisha | Liquid cartridge and system therefor |
| US10343410B2 (en) | 2017-03-27 | 2019-07-09 | Brother Kogyo Kabushiki Kaisha | Liquid cartridge capable of reducing remaining amount of liquid in liquid storage chamber |
| US10357976B2 (en) | 2017-03-27 | 2019-07-23 | Brother Kogyo Kabushiki Kaisha | Liquid cartridge provided with liquid supply portion having guide groove |
| JP2019155688A (ja) * | 2018-03-12 | 2019-09-19 | ブラザー工業株式会社 | システム |
| US10449771B2 (en) | 2017-03-27 | 2019-10-22 | Brother Kogyo Kabushiki Kaisha | Liquid cartridge capable of improving visibility to liquid stored in liquid storage chamber |
| US10493765B2 (en) | 2017-03-27 | 2019-12-03 | Brother Kogyo Kabushiki Kaisha | Liquid cartridge capable of reducing leakage of liquid from liquid storage chamber |
Families Citing this family (14)
| Publication number | Priority date | Publication date | Assignee | Title |
|---|---|---|---|---|
| JP6961946B2 (ja) * | 2017-01-31 | 2021-11-05 | ブラザー工業株式会社 | 供給装置 |
| JP6825445B2 (ja) * | 2017-03-27 | 2021-02-03 | セイコーエプソン株式会社 | 収容ユニットおよび収容ユニットの液体量管理方法 |
| JP7077612B2 (ja) * | 2017-12-27 | 2022-05-31 | ブラザー工業株式会社 | 液体排出装置 |
| JP7063065B2 (ja) * | 2018-03-30 | 2022-05-09 | ブラザー工業株式会社 | システム |
| JP7236280B2 (ja) * | 2019-01-31 | 2023-03-09 | 理想科学工業株式会社 | タンク |
| JP7164455B2 (ja) * | 2019-01-31 | 2022-11-01 | 理想科学工業株式会社 | 容器 |
| JP7247624B2 (ja) * | 2019-02-12 | 2023-03-29 | セイコーエプソン株式会社 | 印刷装置 |
| JP7298173B2 (ja) * | 2019-02-12 | 2023-06-27 | セイコーエプソン株式会社 | 印刷装置 |
| JP7305973B2 (ja) * | 2019-02-12 | 2023-07-11 | セイコーエプソン株式会社 | 印刷装置 |
| JP7363333B2 (ja) * | 2019-10-10 | 2023-10-18 | セイコーエプソン株式会社 | 液体収容容器、及び液体噴射装置 |
| JP2022179914A (ja) * | 2021-05-24 | 2022-12-06 | セイコーエプソン株式会社 | 記録装置、および液体収容体 |
| JP7767883B2 (ja) | 2021-12-03 | 2025-11-12 | ブラザー工業株式会社 | タンクユニット、ヘッドシステム、インク供給システム、印刷システム、及び印刷方法 |
| JP7729198B2 (ja) * | 2021-12-16 | 2025-08-26 | セイコーエプソン株式会社 | 印字システム |
| JP2025018462A (ja) * | 2023-07-27 | 2025-02-06 | キヤノン株式会社 | 記録装置およびタンク |
Citations (9)
| Publication number | Priority date | Publication date | Assignee | Title |
|---|---|---|---|---|
| JP2005161637A (ja) * | 2003-12-02 | 2005-06-23 | Canon Inc | インクジェット記録装置のインク供給機構およびヘッドカートリッジ |
| JP2007160850A (ja) * | 2005-12-16 | 2007-06-28 | Sony Corp | 液体供給装置 |
| JP2007237552A (ja) * | 2006-03-08 | 2007-09-20 | Fuji Xerox Co Ltd | 液滴吐出ユニット、及び液滴吐出装置 |
| JP2008044361A (ja) * | 2006-07-19 | 2008-02-28 | Canon Inc | インクカートリッジ |
| JP2011056741A (ja) * | 2009-09-09 | 2011-03-24 | Mimaki Engineering Co Ltd | インク残量監視方法 |
| JP2014151512A (ja) * | 2013-02-07 | 2014-08-25 | Seiko Epson Corp | 液体容器、液体供給システム |
| JP2014195974A (ja) * | 2013-03-29 | 2014-10-16 | ブラザー工業株式会社 | 液体貯留装置 |
| JP2015020347A (ja) * | 2013-07-19 | 2015-02-02 | セイコーエプソン株式会社 | インクタンクユニット、インクジェットプリンター、インクタンク |
| JP2015044379A (ja) * | 2013-08-29 | 2015-03-12 | キヤノン株式会社 | 液体吐出装置とその制御方法 |
Family Cites Families (25)
| Publication number | Priority date | Publication date | Assignee | Title |
|---|---|---|---|---|
| JPS5924676A (ja) * | 1982-07-31 | 1984-02-08 | Sharp Corp | インクジェットプリンタの気泡除去装置 |
| DE3428434C2 (de) * | 1983-08-02 | 1995-09-14 | Canon Kk | Druckvorrichtung |
| JPH07106637B2 (ja) * | 1983-08-02 | 1995-11-15 | キヤノン株式会社 | 記録装置 |
| JPS61195848A (ja) * | 1985-02-25 | 1986-08-30 | Ricoh Co Ltd | インクジエツト記録装置 |
| JPS62156963A (ja) * | 1985-12-28 | 1987-07-11 | Canon Inc | 記録装置 |
| JPH05340791A (ja) * | 1992-06-11 | 1993-12-21 | Canon Inc | 液面検知手段およびインクジェット記録装置 |
| JPH08281966A (ja) * | 1995-04-13 | 1996-10-29 | Matsushita Electric Ind Co Ltd | インクジェット記録装置及びそのインク残量検知方法 |
| JPH09145451A (ja) | 1995-11-16 | 1997-06-06 | Brother Ind Ltd | 残量検出装置 |
| JPH10230623A (ja) * | 1997-02-21 | 1998-09-02 | Hitachi Koki Co Ltd | 加熱溶融形インクを用いたインクジェットプリンタの気泡除去装置およびその方法 |
| JPH11192720A (ja) * | 1998-01-05 | 1999-07-21 | Seiko Epson Corp | インクジェット式記録装置、インク充填方法、及びインク補給方法 |
| US6293662B1 (en) * | 1998-01-19 | 2001-09-25 | Canon Kabushiki Kaisha | Ink tank coupling method, ink jet recording apparatus, and ink tank |
| DE29915256U1 (de) * | 1999-08-31 | 2000-03-09 | Sailer, Johann, 89335 Ichenhausen | Vorrichtung zum Messen des Flüssigkeitsstandes |
| US6431672B1 (en) * | 2001-03-01 | 2002-08-13 | Hewlett-Packard Company | Ink container having dual capillary members with differing capillary pressures for precise ink level sensing |
| JP2004090432A (ja) * | 2002-08-30 | 2004-03-25 | Seiko Epson Corp | 液体噴射装置、液体噴射装置の液体排出用タンク及び液体噴射装置の液体排出方法 |
| US7210771B2 (en) * | 2004-01-08 | 2007-05-01 | Eastman Kodak Company | Ink delivery system with print cartridge, container and reservoir apparatus and method |
| JP4384067B2 (ja) * | 2004-03-23 | 2009-12-16 | キヤノン株式会社 | 液体吐出装置および液体処理方法 |
| CN101559674A (zh) * | 2008-04-18 | 2009-10-21 | 株式会社御牧工程 | 墨供给器及搭载有该墨供给器的喷墨打印机 |
| CN201317161Y (zh) * | 2008-12-04 | 2009-09-30 | 珠海纳思达电子科技有限公司 | 一种用于喷墨打印机的墨盒 |
| CN202368067U (zh) * | 2011-11-14 | 2012-08-08 | 常州纳捷机电科技有限公司 | 便捷墨盒 |
| JP5834951B2 (ja) * | 2012-01-25 | 2015-12-24 | セイコーエプソン株式会社 | 液体収容容器、および液体消費装置 |
| JP2013151100A (ja) * | 2012-01-25 | 2013-08-08 | Seiko Epson Corp | 液体供給システムおよび液体噴射装置 |
| JP6115029B2 (ja) * | 2012-05-31 | 2017-04-19 | セイコーエプソン株式会社 | 液体収容容器の製造方法 |
| JP2014058087A (ja) * | 2012-09-14 | 2014-04-03 | Seiko Epson Corp | 液体収容体、液体収容体ユニット、液体消費装置、及び液体収容体の製造方法 |
| JP2014184594A (ja) * | 2013-03-22 | 2014-10-02 | Seiko Epson Corp | インク供給システム |
| JP6260212B2 (ja) * | 2013-11-12 | 2018-01-17 | セイコーエプソン株式会社 | 記録装置 |
-
2015
- 2015-03-31 JP JP2015070897A patent/JP6657583B2/ja active Active
-
2016
- 2016-03-29 TW TW105109911A patent/TW201637885A/zh unknown
- 2016-03-30 CN CN201680017501.8A patent/CN107405927A/zh active Pending
- 2016-03-30 BR BR112017020829-6A patent/BR112017020829A2/pt not_active Application Discontinuation
- 2016-03-30 CN CN202010328227.4A patent/CN111546777B/zh active Active
- 2016-03-30 US US15/562,886 patent/US10195860B2/en active Active
- 2016-03-30 KR KR1020177027536A patent/KR20170120177A/ko not_active Ceased
- 2016-03-30 WO PCT/JP2016/001845 patent/WO2016157901A1/ja not_active Ceased
-
2017
- 2017-09-18 PH PH12017501709A patent/PH12017501709A1/en unknown
Patent Citations (9)
| Publication number | Priority date | Publication date | Assignee | Title |
|---|---|---|---|---|
| JP2005161637A (ja) * | 2003-12-02 | 2005-06-23 | Canon Inc | インクジェット記録装置のインク供給機構およびヘッドカートリッジ |
| JP2007160850A (ja) * | 2005-12-16 | 2007-06-28 | Sony Corp | 液体供給装置 |
| JP2007237552A (ja) * | 2006-03-08 | 2007-09-20 | Fuji Xerox Co Ltd | 液滴吐出ユニット、及び液滴吐出装置 |
| JP2008044361A (ja) * | 2006-07-19 | 2008-02-28 | Canon Inc | インクカートリッジ |
| JP2011056741A (ja) * | 2009-09-09 | 2011-03-24 | Mimaki Engineering Co Ltd | インク残量監視方法 |
| JP2014151512A (ja) * | 2013-02-07 | 2014-08-25 | Seiko Epson Corp | 液体容器、液体供給システム |
| JP2014195974A (ja) * | 2013-03-29 | 2014-10-16 | ブラザー工業株式会社 | 液体貯留装置 |
| JP2015020347A (ja) * | 2013-07-19 | 2015-02-02 | セイコーエプソン株式会社 | インクタンクユニット、インクジェットプリンター、インクタンク |
| JP2015044379A (ja) * | 2013-08-29 | 2015-03-12 | キヤノン株式会社 | 液体吐出装置とその制御方法 |
Cited By (17)
| Publication number | Priority date | Publication date | Assignee | Title |
|---|---|---|---|---|
| US10493765B2 (en) | 2017-03-27 | 2019-12-03 | Brother Kogyo Kabushiki Kaisha | Liquid cartridge capable of reducing leakage of liquid from liquid storage chamber |
| US10703107B2 (en) | 2017-03-27 | 2020-07-07 | Brother Kogyo Kabushiki Kaisha | Liquid cartridge provided with liquid supply portion having guide groove |
| US11897267B2 (en) | 2017-03-27 | 2024-02-13 | Brother Kogyo Kabushiki Kaisha | Liquid cartridge capable of reducing leakage of liquid from liquid storage chamber |
| US11890876B2 (en) | 2017-03-27 | 2024-02-06 | Brother Kogyo Kabushiki Kaisha | Liquid cartridge provided with liquid supply portion having guide groove |
| US10343410B2 (en) | 2017-03-27 | 2019-07-09 | Brother Kogyo Kabushiki Kaisha | Liquid cartridge capable of reducing remaining amount of liquid in liquid storage chamber |
| US10357976B2 (en) | 2017-03-27 | 2019-07-23 | Brother Kogyo Kabushiki Kaisha | Liquid cartridge provided with liquid supply portion having guide groove |
| US11571907B2 (en) | 2017-03-27 | 2023-02-07 | Brother Kogyo Kabushiki Kaisha | Liquid cartridge provided with liquid supply portion having guide groove |
| US10449771B2 (en) | 2017-03-27 | 2019-10-22 | Brother Kogyo Kabushiki Kaisha | Liquid cartridge capable of improving visibility to liquid stored in liquid storage chamber |
| US20220016897A1 (en) | 2017-03-27 | 2022-01-20 | Brother Kogyo Kabushiki Kaisha | Liquid cartridge capable of reducing leakage of liquid from liquid storage chamber |
| US11065880B2 (en) | 2017-03-27 | 2021-07-20 | Brother Kogyo Kabushiki Kaisha | Liquid cartridge provided with liquid supply portion having guide groove |
| US10118399B2 (en) | 2017-03-27 | 2018-11-06 | Brother Kogyo Kabushiki Kaisha | Liquid cartridge provided with snap-fit mechanism capable of suppressing detachment of cap |
| US11077669B2 (en) | 2017-03-27 | 2021-08-03 | Brother Kogyo Kabushiki Kaisha | Liquid cartridge capable of reducing leakage of liquid from liquid storage chamber |
| CN109249704A (zh) * | 2017-07-12 | 2019-01-22 | 精工爱普生株式会社 | 液体容纳容器 |
| EP3434485A1 (en) * | 2017-07-12 | 2019-01-30 | Seiko Epson Corporation | Liquid container |
| EP3437877A1 (en) * | 2017-07-31 | 2019-02-06 | Brother Kogyo Kabushiki Kaisha | Liquid cartridge and system therefor |
| JP7035647B2 (ja) | 2018-03-12 | 2022-03-15 | ブラザー工業株式会社 | システム |
| JP2019155688A (ja) * | 2018-03-12 | 2019-09-19 | ブラザー工業株式会社 | システム |
Also Published As
| Publication number | Publication date |
|---|---|
| TW201637885A (zh) | 2016-11-01 |
| KR20170120177A (ko) | 2017-10-30 |
| JP2016190354A (ja) | 2016-11-10 |
| US10195860B2 (en) | 2019-02-05 |
| CN111546777A (zh) | 2020-08-18 |
| JP6657583B2 (ja) | 2020-03-04 |
| BR112017020829A2 (pt) | 2018-07-03 |
| CN107405927A (zh) | 2017-11-28 |
| PH12017501709A1 (en) | 2018-03-19 |
| CN111546777B (zh) | 2021-12-14 |
| US20180111377A1 (en) | 2018-04-26 |
Similar Documents
| Publication | Publication Date | Title |
|---|---|---|
| JP6657583B2 (ja) | 液体供給装置および液体消費装置 | |
| CN102416770B (zh) | 罐单元以及具有罐单元的液体喷射系统 | |
| CN105966072B (zh) | 罐 | |
| CN105966081B (zh) | 罐、罐单元、液体喷射系统及液体喷射装置 | |
| US20160263905A1 (en) | Tank, tank unit, liquid ejection system, and liquid ejection apparatus | |
| JP2008037097A (ja) | 液体供給システム及び液体消費装置 | |
| JP6387694B2 (ja) | タンク | |
| JP2016172358A (ja) | 液体容器、液体噴射装置 | |
| CN110091611A (zh) | 液体罐、液体喷射装置 | |
| JP2018202679A (ja) | タンク | |
| JP6922235B2 (ja) | 画像記録装置 | |
| JP6923020B2 (ja) | プリンター | |
| JP6988238B2 (ja) | 画像記録装置 | |
| JP2018122515A (ja) | 画像記録装置 | |
| JP2018122513A (ja) | 画像記録装置 | |
| JP2005225198A (ja) | 液体吐出性能維持方法及び液体吐出装置 | |
| CN107878030A (zh) | 液体盒 | |
| JP2018122514A (ja) | 画像記録装置 | |
| JP2018108667A (ja) | インクジェット記録装置 | |
| US10286669B2 (en) | Liquid cartridge having air communication pipe and liquid-consuming device using the same | |
| CN116021891B (zh) | 油墨罐 | |
| US11123992B2 (en) | System including first and second tanks with respective first and second reservoirs | |
| JP2022169753A (ja) | 液体の収容容器及び液体吐出装置 | |
| HK1192518B (en) | Filling kit and filing method of a printing material | |
| JP2005225197A (ja) | 液体吐出性能維持方法及び液体吐出装置 |
Legal Events
| Date | Code | Title | Description |
|---|---|---|---|
| 121 | Ep: the epo has been informed by wipo that ep was designated in this application |
Ref document number: 16771787 Country of ref document: EP Kind code of ref document: A1 |
|
| WWE | Wipo information: entry into national phase |
Ref document number: 12017501709 Country of ref document: PH |
|
| ENP | Entry into the national phase |
Ref document number: 20177027536 Country of ref document: KR Kind code of ref document: A |
|
| WWE | Wipo information: entry into national phase |
Ref document number: 15562886 Country of ref document: US |
|
| NENP | Non-entry into the national phase |
Ref country code: DE |
|
| REG | Reference to national code |
Ref country code: BR Ref legal event code: B01A Ref document number: 112017020829 Country of ref document: BR |
|
| 122 | Ep: pct application non-entry in european phase |
Ref document number: 16771787 Country of ref document: EP Kind code of ref document: A1 |
|
| ENP | Entry into the national phase |
Ref document number: 112017020829 Country of ref document: BR Kind code of ref document: A2 Effective date: 20170928 |