WO2016110906A1 - 電子デバイス用エピタキシャル基板、電子デバイス、電子デバイス用エピタキシャル基板の製造方法、並びに電子デバイスの製造方法 - Google Patents

電子デバイス用エピタキシャル基板、電子デバイス、電子デバイス用エピタキシャル基板の製造方法、並びに電子デバイスの製造方法 Download PDF

Info

Publication number
WO2016110906A1
WO2016110906A1 PCT/JP2015/006313 JP2015006313W WO2016110906A1 WO 2016110906 A1 WO2016110906 A1 WO 2016110906A1 JP 2015006313 W JP2015006313 W JP 2015006313W WO 2016110906 A1 WO2016110906 A1 WO 2016110906A1
Authority
WO
WIPO (PCT)
Prior art keywords
layer
electronic device
epitaxial substrate
aln initial
buffer layer
Prior art date
Legal status (The legal status is an assumption and is not a legal conclusion. Google has not performed a legal analysis and makes no representation as to the accuracy of the status listed.)
Ceased
Application number
PCT/JP2015/006313
Other languages
English (en)
French (fr)
Japanese (ja)
Inventor
和徳 萩本
篠宮 勝
慶太郎 土屋
博一 後藤
憲 佐藤
洋志 鹿内
Current Assignee (The listed assignees may be inaccurate. Google has not performed a legal analysis and makes no representation or warranty as to the accuracy of the list.)
Sanken Electric Co Ltd
Shin Etsu Handotai Co Ltd
Original Assignee
Sanken Electric Co Ltd
Shin Etsu Handotai Co Ltd
Priority date (The priority date is an assumption and is not a legal conclusion. Google has not performed a legal analysis and makes no representation as to the accuracy of the date listed.)
Filing date
Publication date
Application filed by Sanken Electric Co Ltd, Shin Etsu Handotai Co Ltd filed Critical Sanken Electric Co Ltd
Priority to KR1020177018664A priority Critical patent/KR20170101932A/ko
Priority to CN201580072647.8A priority patent/CN107112242B/zh
Priority to US15/538,500 priority patent/US10115589B2/en
Publication of WO2016110906A1 publication Critical patent/WO2016110906A1/ja
Anticipated expiration legal-status Critical
Ceased legal-status Critical Current

Links

Images

Classifications

    • HELECTRICITY
    • H01ELECTRIC ELEMENTS
    • H01LSEMICONDUCTOR DEVICES NOT COVERED BY CLASS H10
    • H01L21/00Processes or apparatus adapted for the manufacture or treatment of semiconductor or solid state devices or of parts thereof
    • H01L21/02Manufacture or treatment of semiconductor devices or of parts thereof
    • H01L21/02104Forming layers
    • H01L21/02107Forming insulating materials on a substrate
    • H01L21/02225Forming insulating materials on a substrate characterised by the process for the formation of the insulating layer
    • H01L21/0226Forming insulating materials on a substrate characterised by the process for the formation of the insulating layer formation by a deposition process
    • H01L21/02293Forming insulating materials on a substrate characterised by the process for the formation of the insulating layer formation by a deposition process formation of epitaxial layers by a deposition process
    • HELECTRICITY
    • H01ELECTRIC ELEMENTS
    • H01LSEMICONDUCTOR DEVICES NOT COVERED BY CLASS H10
    • H01L21/00Processes or apparatus adapted for the manufacture or treatment of semiconductor or solid state devices or of parts thereof
    • H01L21/02Manufacture or treatment of semiconductor devices or of parts thereof
    • H01L21/02104Forming layers
    • H01L21/02365Forming inorganic semiconducting materials on a substrate
    • H01L21/02436Intermediate layers between substrates and deposited layers
    • H01L21/02494Structure
    • H01L21/02513Microstructure
    • CCHEMISTRY; METALLURGY
    • C30CRYSTAL GROWTH
    • C30BSINGLE-CRYSTAL GROWTH; UNIDIRECTIONAL SOLIDIFICATION OF EUTECTIC MATERIAL OR UNIDIRECTIONAL DEMIXING OF EUTECTOID MATERIAL; REFINING BY ZONE-MELTING OF MATERIAL; PRODUCTION OF A HOMOGENEOUS POLYCRYSTALLINE MATERIAL WITH DEFINED STRUCTURE; SINGLE CRYSTALS OR HOMOGENEOUS POLYCRYSTALLINE MATERIAL WITH DEFINED STRUCTURE; AFTER-TREATMENT OF SINGLE CRYSTALS OR A HOMOGENEOUS POLYCRYSTALLINE MATERIAL WITH DEFINED STRUCTURE; APPARATUS THEREFOR
    • C30B25/00Single-crystal growth by chemical reaction of reactive gases, e.g. chemical vapour-deposition growth
    • C30B25/02Epitaxial-layer growth
    • C30B25/18Epitaxial-layer growth characterised by the substrate
    • C30B25/183Epitaxial-layer growth characterised by the substrate being provided with a buffer layer, e.g. a lattice matching layer
    • CCHEMISTRY; METALLURGY
    • C30CRYSTAL GROWTH
    • C30BSINGLE-CRYSTAL GROWTH; UNIDIRECTIONAL SOLIDIFICATION OF EUTECTIC MATERIAL OR UNIDIRECTIONAL DEMIXING OF EUTECTOID MATERIAL; REFINING BY ZONE-MELTING OF MATERIAL; PRODUCTION OF A HOMOGENEOUS POLYCRYSTALLINE MATERIAL WITH DEFINED STRUCTURE; SINGLE CRYSTALS OR HOMOGENEOUS POLYCRYSTALLINE MATERIAL WITH DEFINED STRUCTURE; AFTER-TREATMENT OF SINGLE CRYSTALS OR A HOMOGENEOUS POLYCRYSTALLINE MATERIAL WITH DEFINED STRUCTURE; APPARATUS THEREFOR
    • C30B29/00Single crystals or homogeneous polycrystalline material with defined structure characterised by the material or by their shape
    • C30B29/10Inorganic compounds or compositions
    • C30B29/40AIIIBV compounds wherein A is B, Al, Ga, In or Tl and B is N, P, As, Sb or Bi
    • C30B29/403AIII-nitrides
    • HELECTRICITY
    • H01ELECTRIC ELEMENTS
    • H01LSEMICONDUCTOR DEVICES NOT COVERED BY CLASS H10
    • H01L21/00Processes or apparatus adapted for the manufacture or treatment of semiconductor or solid state devices or of parts thereof
    • H01L21/02Manufacture or treatment of semiconductor devices or of parts thereof
    • H01L21/02104Forming layers
    • H01L21/02365Forming inorganic semiconducting materials on a substrate
    • H01L21/02367Substrates
    • H01L21/0237Materials
    • H01L21/02373Group 14 semiconducting materials
    • H01L21/02381Silicon, silicon germanium, germanium
    • HELECTRICITY
    • H01ELECTRIC ELEMENTS
    • H01LSEMICONDUCTOR DEVICES NOT COVERED BY CLASS H10
    • H01L21/00Processes or apparatus adapted for the manufacture or treatment of semiconductor or solid state devices or of parts thereof
    • H01L21/02Manufacture or treatment of semiconductor devices or of parts thereof
    • H01L21/02104Forming layers
    • H01L21/02365Forming inorganic semiconducting materials on a substrate
    • H01L21/02436Intermediate layers between substrates and deposited layers
    • H01L21/02439Materials
    • H01L21/02455Group 13/15 materials
    • H01L21/02458Nitrides
    • HELECTRICITY
    • H01ELECTRIC ELEMENTS
    • H01LSEMICONDUCTOR DEVICES NOT COVERED BY CLASS H10
    • H01L21/00Processes or apparatus adapted for the manufacture or treatment of semiconductor or solid state devices or of parts thereof
    • H01L21/02Manufacture or treatment of semiconductor devices or of parts thereof
    • H01L21/02104Forming layers
    • H01L21/02365Forming inorganic semiconducting materials on a substrate
    • H01L21/02436Intermediate layers between substrates and deposited layers
    • H01L21/02494Structure
    • H01L21/02496Layer structure
    • H01L21/02505Layer structure consisting of more than two layers
    • H01L21/02507Alternating layers, e.g. superlattice
    • HELECTRICITY
    • H01ELECTRIC ELEMENTS
    • H01LSEMICONDUCTOR DEVICES NOT COVERED BY CLASS H10
    • H01L21/00Processes or apparatus adapted for the manufacture or treatment of semiconductor or solid state devices or of parts thereof
    • H01L21/02Manufacture or treatment of semiconductor devices or of parts thereof
    • H01L21/02104Forming layers
    • H01L21/02365Forming inorganic semiconducting materials on a substrate
    • H01L21/02518Deposited layers
    • H01L21/02521Materials
    • H01L21/02538Group 13/15 materials
    • H01L21/0254Nitrides
    • HELECTRICITY
    • H10SEMICONDUCTOR DEVICES; ELECTRIC SOLID-STATE DEVICES NOT OTHERWISE PROVIDED FOR
    • H10DINORGANIC ELECTRIC SEMICONDUCTOR DEVICES
    • H10D30/00Field-effect transistors [FET]
    • H10D30/40FETs having zero-dimensional [0D], one-dimensional [1D] or two-dimensional [2D] charge carrier gas channels
    • H10D30/47FETs having zero-dimensional [0D], one-dimensional [1D] or two-dimensional [2D] charge carrier gas channels having 2D charge carrier gas channels, e.g. nanoribbon FETs or high electron mobility transistors [HEMT]
    • H10D30/471High electron mobility transistors [HEMT] or high hole mobility transistors [HHMT]
    • H10D30/475High electron mobility transistors [HEMT] or high hole mobility transistors [HHMT] having wider bandgap layer formed on top of lower bandgap active layer, e.g. undoped barrier HEMTs such as i-AlGaN/GaN HEMTs
    • HELECTRICITY
    • H10SEMICONDUCTOR DEVICES; ELECTRIC SOLID-STATE DEVICES NOT OTHERWISE PROVIDED FOR
    • H10DINORGANIC ELECTRIC SEMICONDUCTOR DEVICES
    • H10D30/00Field-effect transistors [FET]
    • H10D30/60Insulated-gate field-effect transistors [IGFET]
    • HELECTRICITY
    • H10SEMICONDUCTOR DEVICES; ELECTRIC SOLID-STATE DEVICES NOT OTHERWISE PROVIDED FOR
    • H10DINORGANIC ELECTRIC SEMICONDUCTOR DEVICES
    • H10D30/00Field-effect transistors [FET]
    • H10D30/80FETs having rectifying junction gate electrodes
    • H10D30/87FETs having Schottky gate electrodes, e.g. metal-semiconductor FETs [MESFET]
    • HELECTRICITY
    • H01ELECTRIC ELEMENTS
    • H01LSEMICONDUCTOR DEVICES NOT COVERED BY CLASS H10
    • H01L2924/00Indexing scheme for arrangements or methods for connecting or disconnecting semiconductor or solid-state bodies as covered by H01L24/00
    • H01L2924/049Nitrides composed of metals from groups of the periodic table
    • H01L2924/050313th Group
    • H01L2924/05032AlN
    • HELECTRICITY
    • H01ELECTRIC ELEMENTS
    • H01LSEMICONDUCTOR DEVICES NOT COVERED BY CLASS H10
    • H01L2924/00Indexing scheme for arrangements or methods for connecting or disconnecting semiconductor or solid-state bodies as covered by H01L24/00
    • H01L2924/10Details of semiconductor or other solid state devices to be connected
    • H01L2924/102Material of the semiconductor or solid state bodies
    • H01L2924/1025Semiconducting materials
    • H01L2924/1026Compound semiconductors
    • H01L2924/1032III-V
    • H01L2924/10323Aluminium nitride [AlN]
    • HELECTRICITY
    • H10SEMICONDUCTOR DEVICES; ELECTRIC SOLID-STATE DEVICES NOT OTHERWISE PROVIDED FOR
    • H10DINORGANIC ELECTRIC SEMICONDUCTOR DEVICES
    • H10D62/00Semiconductor bodies, or regions thereof, of devices having potential barriers
    • H10D62/80Semiconductor bodies, or regions thereof, of devices having potential barriers characterised by the materials
    • H10D62/85Semiconductor bodies, or regions thereof, of devices having potential barriers characterised by the materials being Group III-V materials, e.g. GaAs
    • H10D62/8503Nitride Group III-V materials, e.g. AlN or GaN

Definitions

  • the present invention relates to an electronic device epitaxial substrate, an electronic device, a method for manufacturing an electronic device epitaxial substrate, and a method for manufacturing an electronic device.
  • Patent Document 1 touches the roughness of the AlN layer as an initial layer, and the surface roughness Ra of the silicon substrate in contact with the AlN layer is set to 0.2 to 1 nm, so that the group III nitride grown above the surface roughness Ra.
  • the improvement of crystallinity of a physical semiconductor is disclosed.
  • Patent Document 1 does not mention electrical characteristics.
  • the present inventors have studied the electrical characteristics of the epitaxial wafer as described above, and there is a correlation between the V pits of the buffer layer structure and the longitudinal leakage current characteristics. It has been found that the directional leakage current decreases. However, there is room for study on how to suppress the V pits of the buffer layer structure.
  • the present invention has been made in view of the above problems, and provides an epitaxial substrate for an electronic device that can suppress V pits in a buffer layer structure and improve current leakage characteristics when an electronic device is fabricated.
  • the purpose is to do.
  • the present invention provides an epitaxial substrate for an electronic device comprising a Si-based substrate, an AlN initial layer provided on the Si-based substrate, and a buffer layer provided on the AlN initial layer. And the roughness Sa of the surface by the side of the said buffer layer of the said AlN initial layer is 4 nm or more,
  • the epitaxial substrate for electronic devices characterized by the above-mentioned is provided.
  • the roughness Sa on the surface of the AlN initial layer on the buffer layer side is 4 nm or more, V pits in the buffer layer structure formed on the AlN initial layer are suppressed, and the vertical length when the electronic device is manufactured is reduced.
  • Directional leakage current characteristics can be improved.
  • the surface roughness Sa of the AlN initial layer on the buffer layer side is preferably 8 nm or less.
  • the roughness Sa on the surface of the AlN initial layer on the buffer layer side is 8 nm or less, V pits of the buffer layer structure formed on the AlN initial layer can be reliably suppressed.
  • the buffer layer includes an Al z Ga 1-z N (0 ⁇ z ⁇ 1) layer in contact with the AlN initial layer, and the Al z Ga 1-z N (0 ⁇ z ⁇ 1) layer It is preferable that the roughness Sa on the surface opposite to the AlN initial layer is 0.6 nm or less. Thus, if the roughness Sa of the surface of the Al z Ga 1-z N layer opposite to the AlN initial layer is 0.6 nm or less, the longitudinal leakage current characteristics when the electronic device is fabricated are effectively improved. can do.
  • the buffer layer is in contact with the Al z Ga 1-z N (0 ⁇ z ⁇ 1) layer, and the Al x Ga 1-x N (0 ⁇ x ⁇ 1) layer and the Al y Ga 1 ⁇ a multilayer film in which y N (0 ⁇ y ⁇ x) layers are alternately stacked, and the roughness of the surface of the multilayer film on the side opposite to the Al z Ga 1-z N (0 ⁇ z ⁇ 1) layer It is preferable that Sa is 0.3 nm or less. Thus, if the roughness Sa on the surface opposite to the Al z Ga 1-z N (0 ⁇ z ⁇ 1) layer of the multilayer film is 0.3 nm or less, the longitudinal leakage current when the electronic device is manufactured The characteristics can be improved more effectively.
  • a channel layer provided on the buffer layer it is preferable to further include a channel layer provided on the buffer layer, a barrier layer provided on the channel layer, and a cap layer provided on the barrier layer.
  • a channel layer provided on the buffer layer a barrier layer provided on the channel layer, and a cap layer provided on the barrier layer.
  • Such a configuration can be suitably used as an epitaxial substrate for electronic devices.
  • an electronic device manufactured using the above-described epitaxial substrate for an electronic device, wherein an electrode is provided on the epitaxial substrate for an electronic device. provide.
  • Such an electronic device can suppress the V pits of the buffer layer structure formed on the AlN initial layer and improve the vertical leakage current characteristics.
  • the present invention also includes a step of forming an AlN initial layer on a Si-based substrate, a step of forming a buffer layer on the AlN initial layer, a step of forming a channel layer on the buffer layer, and the channel layer.
  • a method for manufacturing an epitaxial substrate for an electronic device is provided.
  • V pits in the buffer layer structure formed on the AlN initial layer are suppressed, and the longitudinal leakage current characteristics when the electronic device is manufactured are improved.
  • An epitaxial substrate for electronic devices can be manufactured.
  • the present invention also includes a step of forming an AlN initial layer on a Si-based substrate, a step of forming a buffer layer on the AlN initial layer, a step of forming a channel layer on the buffer layer, and the channel layer.
  • roughness Sa is 4 nm or more.
  • Such an electronic device manufacturing method can manufacture an electronic device in which the V pits of the buffer layer structure formed on the AlN initial layer are suppressed and the vertical leakage current characteristics are improved.
  • the present invention it is possible to suppress the V pits of the buffer layer structure formed on the AlN initial layer and improve the vertical leakage current characteristics when an electronic device is manufactured.
  • the present inventors examined the electrical characteristics of an epitaxial wafer obtained by epitaxially growing a GaN film on a Si substrate.
  • the one with the poor vertical leakage current characteristics was selected arbitrarily, the one with the good one was divided, each wafer was divided into two, and the vertical leakage current characteristic evaluation was performed on one of the two divided wafers, and the other two divided wafers Failure analysis (cross-sectional observation) was performed.
  • the failure analysis was performed by cleaving the epitaxial wafer and observing the V pits of the buffer layer structure with a cross-section of SEM magnification of 25k.
  • the V pit of the buffer layer structure will be described.
  • each layer of the buffer layer must be stacked parallel to the substrate.
  • the “V pit” is a portion that is not parallel to the substrate but is partially recessed, and the multilayer film or Al z Ga 1-z N (0 ⁇ z ⁇ 1) insertion layer is not flat (see FIG. 13).
  • arbitrary five points that are not adjacent to each other that is, five points slightly apart
  • were observed were counted (see FIGS. 13 and 14).
  • FIG. 13 and 14 For each wafer, arbitrary five points that are not adjacent to each other (that is, five points slightly apart) were observed, and the number of V pits in the buffer layer structure was counted (see FIGS. 13 and 14).
  • FIG. 13 For each wafer, arbitrary five points that are not adjacent to each other (that is,
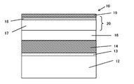
  • the electronic device epitaxial substrate 100 includes a Si substrate 112, an AlN initial layer 113 provided on the Si substrate 112, and a buffer layer 114 provided on the AlN initial layer 113. is doing.
  • the buffer layer 114 is formed by laminating a first layer 114a made of Al z Ga 1-z N and a first multilayer film 115 ′, and further Al ⁇ Ga 1- ⁇ on the first multilayer film 115 ′.
  • the epitaxial substrate 100 for an electronic device includes a high resistance layer 116 provided on the buffer layer 114, a channel layer 117 provided on the high resistance layer 116, a barrier layer 118 provided on the channel layer 117, a barrier layer It further has a cap layer 119 provided on the layer 118.
  • FIG. 15 shows the longitudinal leakage current characteristics of each wafer.
  • FIG. 15 also shows the number of V pits on the surface of the buffer layer structure of each wafer.
  • FIG. 16 is a rewrite of FIG. 15 with respect to the relationship between the number of V pits on the surface of the buffer layer structure and the longitudinal leakage current. 15 and 16 that the leakage current increases as the number of V pits in the buffer structure increases. Therefore, in order to improve the vertical leakage current characteristics, it is necessary to suppress the V pit of the buffer layer structure.
  • the present inventors have conducted intensive studies on an epitaxial substrate for electronic devices that can suppress the V pits of the buffer layer structure and improve the longitudinal leakage current characteristics when the electronic device is fabricated. If the surface roughness Sa on the buffer layer side is 4 nm or more, V pits of the buffer layer structure formed on the AlN initial layer are suppressed, and the vertical leakage current characteristics when an electronic device is fabricated is improved. As a result, the present inventors have found that it is possible to achieve the present invention.
  • the electronic device epitaxial substrate 10 of the present invention shown in FIG. 1 has a Si-based substrate 12, an AlN initial layer 13 provided on the Si-based substrate 12, and a buffer layer 14 provided on the AlN initial layer 13.
  • the surface roughness Sa on the buffer layer 14 side of the AlN initial layer 13 is 4 nm or more.
  • the roughness Sa is defined as a three-dimensional representation of the two-dimensional arithmetic average roughness Ra.
  • the Si substrate is a Si substrate or a SiC substrate.
  • the high resistance layer 16 can be, for example, a GaN layer containing C or Fe
  • the channel layer 17 can be, for example, a GaN layer in which either C or Fe is less than the high resistance layer 16.
  • the barrier layer 18 can be, for example, an AlGaN layer
  • the cap layer 19 can be, for example, a GaN layer.
  • the detailed configuration of the buffer layer 14 is shown in FIG. 2, and the detailed configuration including the AlN initial layer 13 and the surface roughness Sa of the buffer layer 14 is shown in FIG.
  • the buffer layer 14 includes a first layer (Al z Ga 1-z N layer) 14a made of Al z Ga 1-z N (0 ⁇ z ⁇ 1) and a first multilayer film (multilayer film) 15 ′. It can be laminated.
  • the first multilayer film 15 ′ is formed by alternately laminating Al x Ga 1-x N (0 ⁇ x ⁇ 1) layers 14b and Al y Ga 1-y N (0 ⁇ y ⁇ x) layers 14c. And a plurality of pairs can be alternately stacked. Further, as shown in FIG.
  • a plurality of pairs or a single pair of insertion layers 14d and a second multilayer film 15 are alternately stacked on the first multilayer film 15 ′ (in FIG. 2, a plurality of pairs are stacked). May be a singular pair).
  • the insertion layer 14d can be an Al ⁇ Ga 1- ⁇ N (0 ⁇ ⁇ ⁇ 1) layer
  • the second multilayer film 15 can be an Al x Ga 1-x N (0 ⁇ x ⁇ 1) layer 14b.
  • the Al y Ga 1-y N (0 ⁇ y ⁇ x) layers 14c may be alternately stacked.
  • the roughness Sa on the surface of the AlN initial layer 13 on the buffer layer 14 side is set to 4 nm or more, so that V pits of the structure of the buffer layer 14 formed on the AlN initial layer 13 are formed. It is possible to suppress the vertical leakage current characteristics when the electronic device is manufactured.
  • the surface roughness Sa of the AlN initial layer 13 is preferably 8 nm or less.
  • the roughness Sa on the buffer layer 14 side of the AlN initial layer 13 is 4 nm or more and 8 nm or less, the V pits of the structure of the buffer layer 14 formed on the AlN initial layer 13 are surely suppressed. be able to.
  • the roughness of the surface opposite to the AlN initial layer 13 of the first layer 14 a made of Al z Ga 1-z N (0 ⁇ z ⁇ 1) in contact with the AlN initial layer 13. Sa is preferably 0.6 nm or less.
  • the roughness Sa of the surface of the first layer 14a opposite to the AlN initial layer 13 is 0.6 nm or less, the longitudinal leakage current characteristics when the electronic device is manufactured can be effectively improved. Can do.
  • the roughness Sa of the surface opposite to the AlN initial layer 13 of the first multilayer film 15 ′ in contact with the first layer 14a is 0.3 nm or less.
  • the longitudinal leakage current characteristic when the electronic device is manufactured is more effectively obtained. Can be improved.
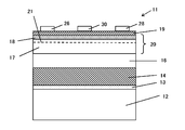
  • FIG. 4 includes a source electrode 26, a drain electrode 28, and a gate electrode 30 on the cap layer 19 on the active layer 20 including the channel layer 17 and the barrier layer 18 of the epitaxial substrate 10 for the electronic device of FIG. It is provided.
  • the source electrode 26 and the drain electrode 28 are arranged so that current flows from the source electrode 26 to the drain electrode 28 through the two-dimensional electron gas layer 21 formed in the channel layer 17. .
  • the current flowing between the source electrode 26 and the drain electrode 28 can be controlled by the potential applied to the gate electrode 30.
  • the source electrode 26 and the drain electrode 28 are only required to be connected to the two-dimensional electron gas layer 21 with a low resistance, and are arranged in a region where the cap layer 19 is removed or in a region where the cap layer 19 and the barrier layer 18 are removed. May be. With such an electronic device, it is possible to suppress the V pits of the buffer layer structure formed on the AlN initial layer and improve the vertical leakage current characteristics.
  • an AlN initial layer 13 having a thickness of 20 to 200 nm is formed on a Si-based substrate 12 having a thickness of about 1 mm by, for example, MOVPE (organic metal vapor phase epitaxy). Epitaxially grow.
  • MOVPE organic metal vapor phase epitaxy
  • the surface roughness Sa of the AlN initial layer 13 is 4 nm or more, preferably 4 nm or more and 8 nm or less.
  • the surface roughness can be adjusted by changing the growth temperature, the gas flow rate, and the group III element / group V element ratio.
  • the buffer layer 14 is epitaxially grown on the AlN initial layer 13 by, for example, the MOVPE method.
  • a first layer 14a made of Al z Ga 1-z N having a thickness of about 100 to 500 nm and an Al x Ga 1-x N layer having a thickness of about 3 to 7 nm.
  • An insertion layer 14d made of Al ⁇ Ga 1- ⁇ N having a thickness of about 500 nm, an Al x Ga 1-x N layer 14b having a thickness of about 3 to 7 nm, and an Al y Ga 1-y N layer 14c having a thickness of about 2 to 5 nm.
  • the first multilayer film 15 alternately stacked with each other to form the buffer layer 14.
  • the first layer 14 a is formed to be thicker than each layer constituting the first multilayer film 15 ′ and the second multilayer film 15.
  • the surface roughness Sa of the AlN initial layer 13 on the buffer layer 14 side is increased as described above, the lateral growth of the first layer 14a formed on the AlN initial layer 13 is promoted.
  • the filling of the surface of the AlN initial layer 13 by the first layer 14a is promoted, and as a result, the surface after the growth of the first layer 14a becomes flat (see FIG. 3), and the first layer 14a on the first layer 14a becomes flat.
  • the flatness of one multilayer film 15 ′ can also be improved (see FIG. 3), and the longitudinal leakage current characteristics when an electronic device is manufactured can be improved.
  • the high resistance layer 16 for example, a GaN layer containing C or Fe
  • the channel layer 17 for example, a GaN layer having less C or Fe than the high resistance layer 16.
  • the epitaxial layer 10 for an electronic device shown in FIG. 1 can be manufactured by epitaxially growing a barrier layer 18 such as an AlGaN layer and a cap layer 19 such as a GaN layer thereon by MOVPE, for example.
  • MOVPE MOVPE
  • V pits in the buffer layer structure formed on the AlN initial layer are suppressed, and the vertical leakage current characteristics when the electronic device is manufactured are improved.
  • An epitaxial substrate for an electronic device can be manufactured.
  • the epitaxial substrate 10 for the electronic device of FIG. 1 is manufactured, and the source is formed on the cap layer 19 on the active layer 20 including the channel layer 17 and the barrier layer 18 of the epitaxial substrate 10 for the electronic device.
  • An electrode 26, a drain electrode 28, and a gate electrode 30 are formed.
  • the source electrode 26 and the drain electrode 28 can be formed of, for example, a laminated film of Ti / Al
  • the gate electrode 30 can be formed of, for example, a lower layer film made of a metal oxide such as SiO or SiN, and Ni, Au, Mo, Pt. It can be formed of a laminated film of an upper film made of a metal such as.
  • the electronic device 11 shown in FIG. 4 is obtained.
  • the electronic device manufacturing method as described above it is possible to manufacture an electronic device in which the V pit of the buffer layer structure formed on the AlN initial layer is suppressed and the vertical leakage current characteristics are improved.
  • the epitaxial substrate 10 for electronic devices as shown in FIG. 1 was manufactured by changing the roughness of the AlN initial layer surface in the range of 2 nm to 7.5 nm (preparation of 6 levels).
  • FIG. 6 shows the relationship between the V pit density (location / cm 2 ) of the buffer layer structure and the roughness Sa of the AlN initial layer surface.
  • FIG. 7 shows the relationship between the vertical leakage current and the roughness Sa of the AlN initial layer surface.
  • the roughness of the surface of the AlN initial layer is 4 nm or more, there are no V pits (at 4 nm or more, there are almost no V pits and there is no plot on FIG. 6).
  • the roughness of the upper surface is 4 nm or more, the vertical leakage current is also improved.
  • An AlN initial layer 13 was grown to a thickness of 160 nm on a silicon substrate having a thickness of about 1 mm by the MOVPE method.
  • the AlN initial layer was formed at a growth temperature of 1100 ° C. to 1200 ° C., for example, 1130 ° C., and the surface roughness Sa of the AlN initial layer 13 was 4.79 nm.
  • the buffer layer 14 was grown.
  • the buffer layer 14 is formed by laminating a first layer 14a made of GaN having a thickness of 300 nm and a first multilayer film 15 ′. Further, an insertion layer 14d made of GaN having a thickness of 300 nm is further formed on the first multilayer film 15 ′.
  • the second multilayer film 15 were alternately laminated.
  • the first multilayer film 15 ′ and the second multilayer film 15 are formed by alternately stacking AlN layers 14b having a thickness of 5 nm and GaN layers 14c having a thickness of 3 nm.
  • a high carbon concentration layer (high resistance layer 16) made of GaN and then a low carbon concentration layer (channel layer 17) also made of GaN were grown.
  • a barrier layer 18 made of AlGaN and a GaN layer (cap layer 19) were grown on the barrier layer 18, whereby the epitaxial substrate 10 for electronic devices of FIG. 1 was manufactured.
  • FIG. 8 shows a photograph of the surface of the AlN initial layer 13.
  • FIG. 3 shows a cross section of the buffer layer 14 after epitaxial growth.
  • FIG. 9 shows a photograph of the surface of the first layer 14a.
  • the roughness Sa of the surface of the first layer 14a was 0.6 nm or less.
  • FIG. 10 shows a photograph of the surface of the first multilayer film 15 ′.
  • the roughness Sa of the surface of the first multilayer film 15 ′ was 0.3 nm or less. Note that the two photographs in FIG. 10 are photographs of two different wafers.
  • Electrodes are formed on this epitaxial substrate for electronic devices, and the electronic device 11 shown in FIG. 4 is manufactured.
  • a longitudinal (thickness direction) leakage current is measured by applying a voltage of 600 V, 4 ⁇ 10 ⁇ 9 (A)
  • the longitudinal leakage current can be greatly suppressed as compared with the comparative example described later.
  • the electronic device epitaxial substrate 10 was manufactured in the same manner as in the example. However, the AlN initial layer 13 was formed at a growth temperature of 1240 ° C., the surface roughness Sa of the AlN initial layer was 2.16 nm, and the others were the same as in the example.
  • FIG. 11 shows a photograph of the surface of the AlN initial layer 13.
  • FIG. 12 shows a cross section of the AlN initial layer 13 and the buffer layer 14 after epitaxial growth. Thus, it can be seen that the surface of the AlN initial layer 13 is flat, but the surface of the first layer 14a and the surface of the first multilayer film 15 ′ thereon are uneven.
  • An electrode was formed on this semiconductor epitaxial wafer, and the electronic device 11 shown in FIG. 4 was manufactured. When a longitudinal leakage current was measured by applying a voltage of 600 V, it was 8.6 ⁇ 10 ⁇ 6 (A).
  • the present invention is not limited to the above embodiment.
  • the above-described embodiment is an exemplification, and the present invention has substantially the same configuration as the technical idea described in the claims of the present invention, and any device that exhibits the same function and effect is the present invention. It is included in the technical scope of the invention.
  • the first multilayer film 15 ′ and the second multilayer film 15 may be a single layer having an Al composition gradient. Further, the second multilayer film 15 or the insertion layer 14 may not be provided.

Landscapes

  • Engineering & Computer Science (AREA)
  • Chemical & Material Sciences (AREA)
  • Condensed Matter Physics & Semiconductors (AREA)
  • Power Engineering (AREA)
  • Microelectronics & Electronic Packaging (AREA)
  • Computer Hardware Design (AREA)
  • Manufacturing & Machinery (AREA)
  • General Physics & Mathematics (AREA)
  • Physics & Mathematics (AREA)
  • Materials Engineering (AREA)
  • Crystallography & Structural Chemistry (AREA)
  • Organic Chemistry (AREA)
  • Metallurgy (AREA)
  • Inorganic Chemistry (AREA)
  • General Chemical & Material Sciences (AREA)
  • Chemical Kinetics & Catalysis (AREA)
  • Insulated Gate Type Field-Effect Transistor (AREA)
  • Junction Field-Effect Transistors (AREA)
  • Recrystallisation Techniques (AREA)
PCT/JP2015/006313 2015-01-08 2015-12-18 電子デバイス用エピタキシャル基板、電子デバイス、電子デバイス用エピタキシャル基板の製造方法、並びに電子デバイスの製造方法 Ceased WO2016110906A1 (ja)

Priority Applications (3)

Application Number Priority Date Filing Date Title
KR1020177018664A KR20170101932A (ko) 2015-01-08 2015-12-18 전자 디바이스용 에피택셜 기판, 전자 디바이스, 전자 디바이스용 에피택셜 기판의 제조 방법, 그리고 전자 디바이스의 제조 방법
CN201580072647.8A CN107112242B (zh) 2015-01-08 2015-12-18 电子器件用外延基板、电子器件、电子器件用外延基板的制造方法及电子器件的制造方法
US15/538,500 US10115589B2 (en) 2015-01-08 2015-12-18 Epitaxial substrate for electronic devices, electronic device, method for producing the epitaxial substrate for electronic devices, and method for producing the electronic device

Applications Claiming Priority (2)

Application Number Priority Date Filing Date Title
JP2015-002047 2015-01-08
JP2015002047A JP6261523B2 (ja) 2015-01-08 2015-01-08 電子デバイス用エピタキシャル基板の製造方法、並びに電子デバイスの製造方法

Publications (1)

Publication Number Publication Date
WO2016110906A1 true WO2016110906A1 (ja) 2016-07-14

Family

ID=56355636

Family Applications (1)

Application Number Title Priority Date Filing Date
PCT/JP2015/006313 Ceased WO2016110906A1 (ja) 2015-01-08 2015-12-18 電子デバイス用エピタキシャル基板、電子デバイス、電子デバイス用エピタキシャル基板の製造方法、並びに電子デバイスの製造方法

Country Status (6)

Country Link
US (1) US10115589B2 (enExample)
JP (1) JP6261523B2 (enExample)
KR (1) KR20170101932A (enExample)
CN (1) CN107112242B (enExample)
TW (1) TWI624879B (enExample)
WO (1) WO2016110906A1 (enExample)

Cited By (1)

* Cited by examiner, † Cited by third party
Publication number Priority date Publication date Assignee Title
US12119398B2 (en) 2017-11-20 2024-10-15 Rohm Co., Ltd. Semiconductor device

Families Citing this family (5)

* Cited by examiner, † Cited by third party
Publication number Priority date Publication date Assignee Title
JP6239017B2 (ja) * 2015-03-31 2017-11-29 クアーズテック株式会社 窒化物半導体基板
TWI645454B (zh) * 2017-03-31 2018-12-21 環球晶圓股份有限公司 磊晶基板及其製造方法
JP2019125737A (ja) * 2018-01-18 2019-07-25 株式会社サイオクス 窒化物半導体エピタキシャル基板
US11515408B2 (en) 2020-03-02 2022-11-29 Taiwan Semiconductor Manufacturing Company, Ltd. Rough buffer layer for group III-V devices on silicon
CN114080692A (zh) * 2021-04-02 2022-02-22 英诺赛科(苏州)科技有限公司 三族氮基半导体晶圆

Citations (3)

* Cited by examiner, † Cited by third party
Publication number Priority date Publication date Assignee Title
WO2011016304A1 (ja) * 2009-08-07 2011-02-10 日本碍子株式会社 半導体素子用エピタキシャル基板、半導体素子用エピタキシャル基板の製造方法、および半導体素子
JP2011114267A (ja) * 2009-11-30 2011-06-09 Sanken Electric Co Ltd 半導体装置
JP2013042032A (ja) * 2011-08-18 2013-02-28 Fujitsu Ltd 化合物半導体装置及びその製造方法

Family Cites Families (12)

* Cited by examiner, † Cited by third party
Publication number Priority date Publication date Assignee Title
JP2008078613A (ja) * 2006-08-24 2008-04-03 Rohm Co Ltd 窒化物半導体の製造方法及び窒化物半導体素子
JP4677499B2 (ja) * 2008-12-15 2011-04-27 Dowaエレクトロニクス株式会社 電子デバイス用エピタキシャル基板およびその製造方法
JP2011023677A (ja) * 2009-07-21 2011-02-03 Hitachi Cable Ltd 化合物半導体エピタキシャルウェハおよびその製造方法
JP5378128B2 (ja) 2009-09-18 2013-12-25 Dowaエレクトロニクス株式会社 電子デバイス用エピタキシャル基板およびiii族窒化物電子デバイス用エピタキシャル基板
WO2011161975A1 (ja) * 2010-06-25 2011-12-29 Dowaエレクトロニクス株式会社 エピタキシャル成長基板及び半導体装置、エピタキシャル成長方法
KR101820327B1 (ko) * 2010-08-07 2018-01-19 티피케이 홀딩 컴퍼니 리미티드 표면 매립 첨가제를 가진 디바이스 콤포넌트 및 이와 관련된 제조 방법
JP6035721B2 (ja) * 2011-09-27 2016-11-30 住友電気工業株式会社 半導体装置の製造方法
JP6130995B2 (ja) * 2012-02-20 2017-05-17 サンケン電気株式会社 エピタキシャル基板及び半導体装置
JP6152700B2 (ja) * 2013-05-23 2017-06-28 住友電気工業株式会社 半導体装置の製造方法
TWI523222B (zh) * 2013-10-14 2016-02-21 國立交通大學 含氮化鎵之半導體結構
KR102145205B1 (ko) * 2014-04-25 2020-08-19 삼성전자주식회사 반도체 소자 제조방법 및 증착 장치의 유지보수방법
US9337023B1 (en) * 2014-12-15 2016-05-10 Texas Instruments Incorporated Buffer stack for group IIIA-N devices

Patent Citations (3)

* Cited by examiner, † Cited by third party
Publication number Priority date Publication date Assignee Title
WO2011016304A1 (ja) * 2009-08-07 2011-02-10 日本碍子株式会社 半導体素子用エピタキシャル基板、半導体素子用エピタキシャル基板の製造方法、および半導体素子
JP2011114267A (ja) * 2009-11-30 2011-06-09 Sanken Electric Co Ltd 半導体装置
JP2013042032A (ja) * 2011-08-18 2013-02-28 Fujitsu Ltd 化合物半導体装置及びその製造方法

Non-Patent Citations (1)

* Cited by examiner, † Cited by third party
Title
A. ABLE ET AL.: "Growth of crack-free GaN on Si(1 1 1) with graded AlGaN buffer layers", JOURNAL OF CRYSTAL GROWTH, vol. 276, no. 3-4, pages 415 - 418, XP004806888, DOI: doi:10.1016/j.jcrysgro.2004.12.003 *

Cited By (1)

* Cited by examiner, † Cited by third party
Publication number Priority date Publication date Assignee Title
US12119398B2 (en) 2017-11-20 2024-10-15 Rohm Co., Ltd. Semiconductor device

Also Published As

Publication number Publication date
KR20170101932A (ko) 2017-09-06
CN107112242B (zh) 2020-11-13
JP6261523B2 (ja) 2018-01-17
US10115589B2 (en) 2018-10-30
JP2016127223A (ja) 2016-07-11
TWI624879B (zh) 2018-05-21
CN107112242A (zh) 2017-08-29
US20170352537A1 (en) 2017-12-07
TW201635394A (zh) 2016-10-01

Similar Documents

Publication Publication Date Title
JP6473017B2 (ja) 化合物半導体基板
JP6261523B2 (ja) 電子デバイス用エピタキシャル基板の製造方法、並びに電子デバイスの製造方法
JP7175804B2 (ja) 半導体装置及びその製造方法
JP6170893B2 (ja) 半導体素子用エピタキシャル基板の作製方法
JP5252813B2 (ja) 半導体装置の製造方法
JP5665171B2 (ja) Iii族窒化物半導体電子デバイス、iii族窒化物半導体電子デバイスを作製する方法
CN102891174A (zh) 包括氮化物基半导体层的外延片
KR102211209B1 (ko) 질화알루미늄 기반 트랜지스터의 제조 방법
JP4276135B2 (ja) 窒化物半導体成長用基板
TWI578382B (zh) A semiconductor substrate, a semiconductor device, and a semiconductor device
US8633514B2 (en) Group III nitride semiconductor wafer and group III nitride semiconductor device
JP5134265B2 (ja) 半導体装置とその製造方法
JP6239017B2 (ja) 窒化物半導体基板
JP4933513B2 (ja) 窒化物半導体成長用基板
JP6029538B2 (ja) 半導体装置
JP2009231302A (ja) 窒化物半導体結晶薄膜およびその作製方法、半導体装置およびその製造方法
CN106024588A (zh) 一种选择区域外延生长界面改善方法
JP6174253B2 (ja) 窒化物系化合物半導体
JP2012064977A (ja) Iii族窒化物半導体積層ウェハ及びiii族窒化物半導体デバイス
CN103348479A (zh) 半导体器件
JP2016157875A (ja) 半導体積層構造体及びその製造方法、並びに半導体素子及びその製造方法
JP2016039314A (ja) 化合物半導体基板

Legal Events

Date Code Title Description
121 Ep: the epo has been informed by wipo that ep was designated in this application

Ref document number: 15876786

Country of ref document: EP

Kind code of ref document: A1

WWE Wipo information: entry into national phase

Ref document number: 15538500

Country of ref document: US

ENP Entry into the national phase

Ref document number: 20177018664

Country of ref document: KR

Kind code of ref document: A

NENP Non-entry into the national phase

Ref country code: DE

122 Ep: pct application non-entry in european phase

Ref document number: 15876786

Country of ref document: EP

Kind code of ref document: A1