WO2016108284A1 - 平坦加工方法および平坦加工装置 - Google Patents

平坦加工方法および平坦加工装置 Download PDF

Info

Publication number
WO2016108284A1
WO2016108284A1 PCT/JP2015/086493 JP2015086493W WO2016108284A1 WO 2016108284 A1 WO2016108284 A1 WO 2016108284A1 JP 2015086493 W JP2015086493 W JP 2015086493W WO 2016108284 A1 WO2016108284 A1 WO 2016108284A1
Authority
WO
WIPO (PCT)
Prior art keywords
pad
workpiece
substrate
direction parallel
holding means
Prior art date
Legal status (The legal status is an assumption and is not a legal conclusion. Google has not performed a legal analysis and makes no representation as to the accuracy of the status listed.)
Ceased
Application number
PCT/JP2015/086493
Other languages
English (en)
French (fr)
Japanese (ja)
Inventor
鈴木英資
山内和人
鈴木辰俊
鈴木大介
Current Assignee (The listed assignees may be inaccurate. Google has not performed a legal analysis and makes no representation or warranty as to the accuracy of the list.)
Toho Engineering Co Ltd
University of Osaka NUC
Original Assignee
Osaka University NUC
Toho Engineering Co Ltd
Priority date (The priority date is an assumption and is not a legal conclusion. Google has not performed a legal analysis and makes no representation as to the accuracy of the date listed.)
Filing date
Publication date
Application filed by Osaka University NUC, Toho Engineering Co Ltd filed Critical Osaka University NUC
Priority to DE112015002319.4T priority Critical patent/DE112015002319B4/de
Priority to JP2016528258A priority patent/JP6127235B2/ja
Priority to US15/315,864 priority patent/US10199242B2/en
Publication of WO2016108284A1 publication Critical patent/WO2016108284A1/ja
Anticipated expiration legal-status Critical
Priority to US16/227,270 priority patent/US10665480B2/en
Ceased legal-status Critical Current

Links

Images

Classifications

    • HELECTRICITY
    • H01ELECTRIC ELEMENTS
    • H01LSEMICONDUCTOR DEVICES NOT COVERED BY CLASS H10
    • H01L21/00Processes or apparatus adapted for the manufacture or treatment of semiconductor or solid state devices or of parts thereof
    • H01L21/67Apparatus specially adapted for handling semiconductor or electric solid state devices during manufacture or treatment thereof; Apparatus specially adapted for handling wafers during manufacture or treatment of semiconductor or electric solid state devices or components ; Apparatus not specifically provided for elsewhere
    • H01L21/67005Apparatus not specifically provided for elsewhere
    • H01L21/67011Apparatus for manufacture or treatment
    • H01L21/67017Apparatus for fluid treatment
    • H01L21/67063Apparatus for fluid treatment for etching
    • H01L21/67075Apparatus for fluid treatment for etching for wet etching
    • BPERFORMING OPERATIONS; TRANSPORTING
    • B01PHYSICAL OR CHEMICAL PROCESSES OR APPARATUS IN GENERAL
    • B01JCHEMICAL OR PHYSICAL PROCESSES, e.g. CATALYSIS OR COLLOID CHEMISTRY; THEIR RELEVANT APPARATUS
    • B01J23/00Catalysts comprising metals or metal oxides or hydroxides, not provided for in group B01J21/00
    • B01J23/38Catalysts comprising metals or metal oxides or hydroxides, not provided for in group B01J21/00 of noble metals
    • B01J23/40Catalysts comprising metals or metal oxides or hydroxides, not provided for in group B01J21/00 of noble metals of the platinum group metals
    • B01J23/42Platinum
    • HELECTRICITY
    • H01ELECTRIC ELEMENTS
    • H01LSEMICONDUCTOR DEVICES NOT COVERED BY CLASS H10
    • H01L21/00Processes or apparatus adapted for the manufacture or treatment of semiconductor or solid state devices or of parts thereof
    • H01L21/02Manufacture or treatment of semiconductor devices or of parts thereof
    • H01L21/02002Preparing wafers
    • H01L21/02005Preparing bulk and homogeneous wafers
    • H01L21/02008Multistep processes
    • H01L21/0201Specific process step
    • H01L21/02019Chemical etching
    • HELECTRICITY
    • H01ELECTRIC ELEMENTS
    • H01LSEMICONDUCTOR DEVICES NOT COVERED BY CLASS H10
    • H01L21/00Processes or apparatus adapted for the manufacture or treatment of semiconductor or solid state devices or of parts thereof
    • H01L21/02Manufacture or treatment of semiconductor devices or of parts thereof
    • H01L21/02002Preparing wafers
    • H01L21/02005Preparing bulk and homogeneous wafers
    • H01L21/02008Multistep processes
    • H01L21/0201Specific process step
    • H01L21/02024Mirror polishing
    • HELECTRICITY
    • H01ELECTRIC ELEMENTS
    • H01LSEMICONDUCTOR DEVICES NOT COVERED BY CLASS H10
    • H01L21/00Processes or apparatus adapted for the manufacture or treatment of semiconductor or solid state devices or of parts thereof
    • H01L21/02Manufacture or treatment of semiconductor devices or of parts thereof
    • H01L21/04Manufacture or treatment of semiconductor devices or of parts thereof the devices having potential barriers, e.g. a PN junction, depletion layer or carrier concentration layer
    • H01L21/18Manufacture or treatment of semiconductor devices or of parts thereof the devices having potential barriers, e.g. a PN junction, depletion layer or carrier concentration layer the devices having semiconductor bodies comprising elements of Group IV of the Periodic Table or AIIIBV compounds with or without impurities, e.g. doping materials
    • H01L21/30Treatment of semiconductor bodies using processes or apparatus not provided for in groups H01L21/20 - H01L21/26
    • H01L21/302Treatment of semiconductor bodies using processes or apparatus not provided for in groups H01L21/20 - H01L21/26 to change their surface-physical characteristics or shape, e.g. etching, polishing, cutting
    • HELECTRICITY
    • H01ELECTRIC ELEMENTS
    • H01LSEMICONDUCTOR DEVICES NOT COVERED BY CLASS H10
    • H01L21/00Processes or apparatus adapted for the manufacture or treatment of semiconductor or solid state devices or of parts thereof
    • H01L21/02Manufacture or treatment of semiconductor devices or of parts thereof
    • H01L21/04Manufacture or treatment of semiconductor devices or of parts thereof the devices having potential barriers, e.g. a PN junction, depletion layer or carrier concentration layer
    • H01L21/18Manufacture or treatment of semiconductor devices or of parts thereof the devices having potential barriers, e.g. a PN junction, depletion layer or carrier concentration layer the devices having semiconductor bodies comprising elements of Group IV of the Periodic Table or AIIIBV compounds with or without impurities, e.g. doping materials
    • H01L21/30Treatment of semiconductor bodies using processes or apparatus not provided for in groups H01L21/20 - H01L21/26
    • H01L21/302Treatment of semiconductor bodies using processes or apparatus not provided for in groups H01L21/20 - H01L21/26 to change their surface-physical characteristics or shape, e.g. etching, polishing, cutting
    • H01L21/306Chemical or electrical treatment, e.g. electrolytic etching
    • H01L21/30604Chemical etching
    • HELECTRICITY
    • H01ELECTRIC ELEMENTS
    • H01LSEMICONDUCTOR DEVICES NOT COVERED BY CLASS H10
    • H01L21/00Processes or apparatus adapted for the manufacture or treatment of semiconductor or solid state devices or of parts thereof
    • H01L21/02Manufacture or treatment of semiconductor devices or of parts thereof
    • H01L21/04Manufacture or treatment of semiconductor devices or of parts thereof the devices having potential barriers, e.g. a PN junction, depletion layer or carrier concentration layer
    • H01L21/18Manufacture or treatment of semiconductor devices or of parts thereof the devices having potential barriers, e.g. a PN junction, depletion layer or carrier concentration layer the devices having semiconductor bodies comprising elements of Group IV of the Periodic Table or AIIIBV compounds with or without impurities, e.g. doping materials
    • H01L21/30Treatment of semiconductor bodies using processes or apparatus not provided for in groups H01L21/20 - H01L21/26
    • H01L21/302Treatment of semiconductor bodies using processes or apparatus not provided for in groups H01L21/20 - H01L21/26 to change their surface-physical characteristics or shape, e.g. etching, polishing, cutting
    • H01L21/306Chemical or electrical treatment, e.g. electrolytic etching
    • H01L21/30604Chemical etching
    • H01L21/30612Etching of AIIIBV compounds
    • HELECTRICITY
    • H10SEMICONDUCTOR DEVICES; ELECTRIC SOLID-STATE DEVICES NOT OTHERWISE PROVIDED FOR
    • H10DINORGANIC ELECTRIC SEMICONDUCTOR DEVICES
    • H10D62/00Semiconductor bodies, or regions thereof, of devices having potential barriers
    • H10D62/80Semiconductor bodies, or regions thereof, of devices having potential barriers characterised by the materials
    • H10D62/83Semiconductor bodies, or regions thereof, of devices having potential barriers characterised by the materials being Group IV materials, e.g. B-doped Si or undoped Ge
    • H10D62/832Semiconductor bodies, or regions thereof, of devices having potential barriers characterised by the materials being Group IV materials, e.g. B-doped Si or undoped Ge being Group IV materials comprising two or more elements, e.g. SiGe
    • H10D62/8325Silicon carbide
    • BPERFORMING OPERATIONS; TRANSPORTING
    • B01PHYSICAL OR CHEMICAL PROCESSES OR APPARATUS IN GENERAL
    • B01JCHEMICAL OR PHYSICAL PROCESSES, e.g. CATALYSIS OR COLLOID CHEMISTRY; THEIR RELEVANT APPARATUS
    • B01J2235/00Indexing scheme associated with group B01J35/00, related to the analysis techniques used to determine the catalysts form or properties
    • B01J2235/30Scanning electron microscopy; Transmission electron microscopy
    • BPERFORMING OPERATIONS; TRANSPORTING
    • B01PHYSICAL OR CHEMICAL PROCESSES OR APPARATUS IN GENERAL
    • B01JCHEMICAL OR PHYSICAL PROCESSES, e.g. CATALYSIS OR COLLOID CHEMISTRY; THEIR RELEVANT APPARATUS
    • B01J35/00Catalysts, in general, characterised by their form or physical properties
    • B01J35/30Catalysts, in general, characterised by their form or physical properties characterised by their physical properties
    • HELECTRICITY
    • H10SEMICONDUCTOR DEVICES; ELECTRIC SOLID-STATE DEVICES NOT OTHERWISE PROVIDED FOR
    • H10DINORGANIC ELECTRIC SEMICONDUCTOR DEVICES
    • H10D62/00Semiconductor bodies, or regions thereof, of devices having potential barriers
    • H10D62/80Semiconductor bodies, or regions thereof, of devices having potential barriers characterised by the materials
    • H10D62/85Semiconductor bodies, or regions thereof, of devices having potential barriers characterised by the materials being Group III-V materials, e.g. GaAs
    • H10D62/8503Nitride Group III-V materials, e.g. AlN or GaN

Definitions

  • the present invention relates to a flat processing method and a flat processing apparatus, and more particularly to a method and apparatus that can be suitably used for flat processing using a catalyst-assisted chemical processing method.
  • Patent Document 1 and Patent Document 2 disclose catalyst-assisted chemical processing methods.
  • the catalyst-assisted chemical processing method uses a catalyst made of a transition metal as a processing reference surface, places the workpiece in a solution that does not contain abrasive grains, etc., and uses the processing reference surface as the processing surface of the workpiece.
  • the workpiece is processed (etched) by causing the chemical reaction between the active species generated from the solution and the surface atoms of the workpiece, and removing them by moving them relative to each other in contact with or in close proximity to the workpiece.
  • a difficult-to-process substrate such as SiC or GaN can be processed flat with high accuracy of the atomic level.
  • Patent Document 1 discloses a conventional method. As shown in the figure, a large-diameter circular pad is rotated on a surface plate, and the surface of a small-diameter workpiece held by a rotating holder is brought into contact with or close to the circumferential portion of the pad surface that rotates. I am letting. *
  • the pad diameter is more than twice the workpiece diameter, so the equipment is large, and in processing SiC and GaN substrates, processing time is long, so economical processing I could't.
  • the substrate to be processed is rotated by being pressed against the pad surface by the back pressure of the air bag provided in the holder, the pad and the workpiece which are smooth and flat with a catalyst layer such as Pt formed on the surface
  • the substrate to be processed is adsorbed to the pad surface by the so-called water sticking effect of the solution supplied between the substrates, so that a large circumferential force of the pad acts on the substrate to be processed and the substrate to be processed is pulled away from the holder.
  • the pad may be damaged by being blown toward the outer periphery of the pad and being pinched by a retainer located outside. This deteriorates the yield and raises the processing cost.
  • An object of the present invention is to provide a flat processing method and a flat processing apparatus capable of suppressing the above-described problem.
  • the surface of the workpiece and at least the surface of the pad having a catalyst layer on the surface are brought into contact with or close to each other, and the workpiece or the pad Is rotated around the axis intersecting the surface within the surface, and the other of the workpiece or the pad is moved in a direction parallel to the surface by at least an amount capable of flattening by catalytic reaction, A liquid necessary for a catalytic reaction is supplied between the surface of the workpiece and the surface of the pad that are in contact with or close to each other.
  • the movement in the direction parallel to the surface may be movement excluding the rotation around the axis.
  • the movement in the direction parallel to the surface can be a reciprocating movement.
  • the outer peripheral movement distance of one of the workpiece or the pad to be rotated is 120% or less (however, 0%) of the other movement distance of the workpiece or the pad to be moved in a direction parallel to the surface. (Except for).
  • one of the workpiece or the pad is stopped and the other is rotated and parallel to the surface. It may be moved in any direction.
  • the workpiece or the pad when performing the flattening process by the catalyst-assisted chemical processing method, the workpiece or the pad is relatively rotated, and the relative movement is performed by an amount capable of flattening by the catalytic reaction. The process is averaged, thereby realizing a precise flattening process.
  • the movement at this time can be processed if the movement distance at the atomic level can be secured. Therefore, it is not necessary to use a large-diameter pad as in the prior art, and the outer diameter of the pad can be made approximately equal to the outer diameter of the workpiece, so that the apparatus can be miniaturized. At this time, if the movement is a reciprocating movement, the movement width of the workpiece or the pad can be further reduced.
  • the workpiece (7) or the first holding means (8) for holding at least one back surface of the pad (6) having a catalyst layer on the surface, the workpiece (7) to First driving means (101) for rotating one of the workpiece (7) to the pad (6) around an axis intersecting the surface within one surface of the pad (6), and the workpiece (7) thru
  • first holding means (8) to the second holding hand (4) is advanced in a direction intersecting the surfaces of the workpiece (7) to the pad (6) to bring the surface of the workpiece (7) and the surface of the pad (6) into contact with each other or close to each other Third driving means (102) to be operated.
  • the movement in the direction parallel to the surface can be reciprocating.
  • the outer peripheral movement distance of one of the workpiece or the pad to be rotated is 120% or less (however, 0%) of the other movement distance of the workpiece or the pad to be moved in a direction parallel to the surface. (Except for).
  • one of the workpiece or the pad is stopped and the other is rotated and parallel to the surface. It may be moved in any direction. Since the flat processing method of the present invention can be carried out by the flat processing apparatus of the present invention, the same effects as described above can be obtained.
  • FIG. 1 shows a front view of a flat processing apparatus for carrying out the method of the present invention
  • FIG. 2 shows a side view thereof.
  • the bases 21 and 22 having a symmetrical L-shaped cross section are arranged on the base 1 in parallel with the left and right positions and extend in the front-rear direction of FIG.
  • the rails 31 constituting the linear guides 3 are fixed on the gantry 21 and 22 along these.
  • the rail 31 is provided with two sliders 32 that can slide along the longitudinal direction, and a rectangular support substrate 4 as a second holding means is mounted on the sliders 32 on the left and right and front and rear. Yes. Thereby, the support substrate 4 can reciprocate linearly along the rail 31.
  • a cam block 51 constituting a reciprocating drive mechanism 5 described below is fixed to the lower surface of the center portion of the support substrate 4 downward.
  • the cam block 51 is a thick convex body extending in parallel with the rail 31, and an elongated hole-like cam opening 52 extends through the cam block 51 in the center in the longitudinal direction. And is formed horizontally.
  • a circular cam body 53 having a diameter substantially equal to the short diameter of the opening 52 is provided in the cam opening 52 so as to be movable in the vertical direction along the cam opening 52.
  • a crankshaft 54 is provided so as to penetrate the cam body 53 in the horizontal direction, and the crankshaft 54 penetrates the center of the cam body 53 so as to be relatively rotatable.
  • the center portion of the crankshaft 54 is eccentric from the line connecting the left and right ends, and one end of the crankshaft 54 is rotatably supported by a bearing member 55 erected on the base 1 and the crankshaft 54 The other end is connected to an output shaft 571 of a speed reducer 57 fixed in a horizontal posture to the standing wall of the L-shaped support plate 56.
  • a drive motor 58 (FIG. 3) is attached to the speed reducer 57.
  • a circular liquid storage container 61 that opens upward is placed.
  • the bottom surface of the container 61 is provided with a pad 6 having a catalyst layer formed on the entire surface with a predetermined thickness by sputtering or the like.
  • a pad 6 having a catalyst layer formed on the entire surface with a predetermined thickness by sputtering or the like.
  • rubber, urethane, or the like that is resistant to the processing solution is used.
  • a transition metal such as Pt can be used as the catalyst.
  • the pad 6 may have a diameter slightly larger than the outer diameter of the substrate 7 to be processed.
  • a main shaft 9 having a circular cross section is suspended above the container 61, and the main shaft 9 is rotatably held by the sleeve 91 in a vertical posture.
  • the main shaft 9 is rotated by a drive motor 101 (FIG. 1) as first drive means.
  • the sleeve 91 is moved up and down by a drive cylinder 102 as third drive means, and the main shaft 9 is moved back and forth with respect to the pad 6 in response to this.
  • FIG. 4 Details of the holder 8 are shown in FIG. In FIG. 4, a disc-like base 82 is mounted on the lower end surface of the main shaft 9 with a ball 81 in the center so that the angle can be changed with respect to the lower end surface.
  • a wall-like retainer 83 is vertically suspended.
  • a cover body 84 projects outwardly and upwardly from the entire outer periphery of the retainer 83.
  • the substrate 7 to be processed is accommodated in a retainer 83, and a diaphragm 85 is located behind the substrate 82 between the substrate 82 and the substrate 82.
  • the compressed air is supplied into the diaphragm 85 through the air supply pipe 86, and the substrate 7 is pressed against the surface of the pad 6 by the pressing force of the expanded diaphragm 85 in a state where the main shaft 9 is lowered.
  • the diaphragm 85 is formed with a plurality of suction holes, and when the main shaft 9 is raised, the inside of the diaphragm 85 is evacuated and the substrate 7 to be processed is attracted to the suction holes and held in the holder 8. It is like that.
  • the container 61 When flat processing of the lower surface (processed surface) of the substrate 7 to be processed is performed with the flat processing apparatus having such a structure, the container 61 is filled with a liquid necessary for a catalytic reaction, such as HF, HCl, pure water, or the like.
  • the main shaft 9, that is, the substrate 7 to be processed is rotated, and at the same time, the container 61 on the support substrate 4 is linearly reciprocated along the rail 31 in the horizontal direction. That is, the processing surface of the substrate 7 to be processed and the pad 6 on which the catalyst layer with which the substrate 7 abuts are relatively rotated and reciprocated in a plane intersecting the rotation axis.
  • the surface to be processed of the substrate 7 to be processed is flattened with high accuracy of the atomic level by catalyst-assisted chemical processing.
  • the relationship between the rotational speed of the relative rotation and the relative reciprocation is that the outer peripheral movement distance of the substrate 7 to be processed is 120% or less (excluding 0%) of the reciprocation movement distance of the relative reciprocation. good.
  • the moving range of the reciprocating movement may originally be a small one of several atoms level, but is determined in consideration of mechanical constraints and frequency.
  • the surface of the pad 6 is only reciprocally moved. Such a large circumferential force is not applied to the substrate 7 to be processed. Therefore, there is no problem that the substrate to be processed is separated from the holder and is sandwiched between the retainers outside and damaged as in the prior art.
  • Example and comparative example based on this embodiment A SiC substrate having an outer diameter of 6 inches was used as the substrate 7 to be processed, and flat processing was performed using ultrapure water as a liquid necessary for the catalytic reaction.
  • a Pt film was formed as a catalyst layer on the surface of the pad 6 having a diameter of 160 mm.
  • the substrate 7 to be processed was rotated, and the support substrate 4 (that is, the pad 6) was reciprocated.
  • FIG. 5 shows another example of the flat processing apparatus.
  • FIG. 5 corresponds to FIG. 2 of the first embodiment, and the same reference numerals denote the same parts.
  • a piston vibrator 59 is provided on the support substrate 4 in the horizontal direction, and the support substrate 4 is reciprocated along the rails 31 by vibration force (vibration).
  • vibration force vibration force
  • Example and comparative example based on this embodiment A GaN substrate having an outer diameter of 2 inches was used as the substrate 7 to be processed, and flat processing was performed using ultrapure water as a liquid necessary for the catalytic reaction. A Pt film was formed as a catalyst layer on the surface of the pad 6 having a diameter of 53 mm. In this state, the substrate 7 to be processed was rotated, and the support substrate 4 (that is, the pad 6) was reciprocated. And the state of the to-be-processed surface of the to-be-processed substrate 7 was observed with the non-contact three-dimensional surface shape measuring apparatus (Zygo New View 6300 by the US Zygo company).
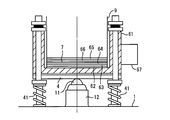
  • the support substrate 4 is disposed on the base 1 with the bottom corners supported by the coiled spring material 41, and a container 61 for storing liquid is provided on the support substrate 4.
  • a cushion layer 63 and a pad 64 are placed on the cushion layer 63 via an adhesive tape layer 62 from the bottom side, and the substrate 7 to be processed is placed on the upper surface of the pad 64.
  • the center of the lower surface of the support substrate 4 is placed on the top of the support member 11 that protrudes upward, and can swing within the three-dimensional space.
  • the support member 11 is held by a holding member 12 on the base 1.
  • a vibrator 67 is mounted on the side surface of the container 61.
  • the main shaft 9 enters the container 61 from above, and a pad 66 is joined to the lower surface of the main shaft 9 via a cushion layer 65.
  • FIG. 7 shows another example of the holding structure of the substrate 7 to be processed at the lower end of the main shaft 9.
  • a header plate 92 is fixed to the lower end of the main shaft 9.
  • a plurality of small holes are formed on the lower surface of the header plate 92, and the small holes are formed in the header plate 92.
  • a flow path that branches and communicates is formed.
  • a flow path 93 is formed in the main shaft 9 and communicates with the flow path in the header plate 92.
  • a holding plate 95 made of rubber or the like is provided on the lower surface of the header plate 92 via an adhesive tape layer 94, and a flow path is formed in the holding plate 95 so as to penetrate the small hole. Each flow path opens as a suction hole on the lower surface of the holding plate 95.
  • the substrate 7 to be processed when the inside of the flow path 93 is evacuated, the substrate 7 to be processed can be sucked and held on the lower surface of the holding plate 95 with the suction holes as shown in FIG. 7, and this state has been described in the first embodiment. Such flat processing can be performed.
  • compressed air or the like is supplied into the flow path 93.
  • the substrate to be processed is rotated and the pad is reciprocated linearly.
  • the substrate to be processed may be reciprocated linearly and the pad may be rotated.
  • the reciprocating drive mechanism is not limited to that of the first embodiment, and a normal crank mechanism that changes the rotational motion of the drive motor to a linear reciprocating motion can be used.
  • a ball screw mechanism, a magnetic force repulsion mechanism, a cylinder mechanism, or the like can be used.
  • the reciprocation does not necessarily have to be linear.
  • an arc may be drawn in a two-dimensional plane such as a circular motion.
  • the base may be reciprocated in a direction parallel to the base surface by a ball screw mechanism or the like. In this way, the flattening of the substrate to be processed is made more uniform at the center and the outer periphery.
  • the workpiece is not limited to a plate-like object such as a substrate.
  • the holder is moved up and down, but a structure in which the support substrate is moved up and down may be used.
  • a separate pad is provided in the liquid storage container.
  • the pad itself may be formed in a container shape so that the liquid required for the catalytic reaction can be stored. Note that the liquid does not necessarily have to be stored, and may be poured between the substrate to be processed and the pad.
  • a drive cylinder is used as the third drive means, but a ball screw mechanism, a robot arm, or the like can be used instead.

Landscapes

  • Engineering & Computer Science (AREA)
  • Computer Hardware Design (AREA)
  • Power Engineering (AREA)
  • Microelectronics & Electronic Packaging (AREA)
  • Physics & Mathematics (AREA)
  • Condensed Matter Physics & Semiconductors (AREA)
  • General Physics & Mathematics (AREA)
  • Manufacturing & Machinery (AREA)
  • Chemical & Material Sciences (AREA)
  • Chemical Kinetics & Catalysis (AREA)
  • General Chemical & Material Sciences (AREA)
  • Organic Chemistry (AREA)
  • Materials Engineering (AREA)
  • Finish Polishing, Edge Sharpening, And Grinding By Specific Grinding Devices (AREA)
  • Weting (AREA)
  • Grinding And Polishing Of Tertiary Curved Surfaces And Surfaces With Complex Shapes (AREA)
  • Catalysts (AREA)
  • Cleaning Or Drying Semiconductors (AREA)
PCT/JP2015/086493 2014-12-31 2015-12-28 平坦加工方法および平坦加工装置 Ceased WO2016108284A1 (ja)

Priority Applications (4)

Application Number Priority Date Filing Date Title
DE112015002319.4T DE112015002319B4 (de) 2014-12-31 2015-12-28 Planarisierungsbearbeitungsverfahren und Planarisierungsbearbeitungsvorrichtung
JP2016528258A JP6127235B2 (ja) 2014-12-31 2015-12-28 触媒支援型化学加工方法および触媒支援型化学加工装置
US15/315,864 US10199242B2 (en) 2014-12-31 2015-12-28 Planarizing processing method and planarizing processing device
US16/227,270 US10665480B2 (en) 2014-12-31 2018-12-20 Planarizing processing method and planarizing processing device

Applications Claiming Priority (2)

Application Number Priority Date Filing Date Title
JP2014267111 2014-12-31
JP2014-267111 2014-12-31

Related Child Applications (2)

Application Number Title Priority Date Filing Date
US15/315,864 A-371-Of-International US10199242B2 (en) 2014-12-31 2015-12-28 Planarizing processing method and planarizing processing device
US16/227,270 Division US10665480B2 (en) 2014-12-31 2018-12-20 Planarizing processing method and planarizing processing device

Publications (1)

Publication Number Publication Date
WO2016108284A1 true WO2016108284A1 (ja) 2016-07-07

Family

ID=56284438

Family Applications (1)

Application Number Title Priority Date Filing Date
PCT/JP2015/086493 Ceased WO2016108284A1 (ja) 2014-12-31 2015-12-28 平坦加工方法および平坦加工装置

Country Status (4)

Country Link
US (2) US10199242B2 (enExample)
JP (2) JP6127235B2 (enExample)
DE (1) DE112015002319B4 (enExample)
WO (1) WO2016108284A1 (enExample)

Cited By (1)

* Cited by examiner, † Cited by third party
Publication number Priority date Publication date Assignee Title
CN111015504A (zh) * 2019-12-02 2020-04-17 深圳市凯合达智能设备有限公司 一种具有防护功能的化学机械抛光设备

Families Citing this family (5)

* Cited by examiner, † Cited by third party
Publication number Priority date Publication date Assignee Title
DE112015002319B4 (de) 2014-12-31 2024-07-25 Osaka University Planarisierungsbearbeitungsverfahren und Planarisierungsbearbeitungsvorrichtung
JP6187948B1 (ja) 2016-03-11 2017-08-30 東邦エンジニアリング株式会社 平坦加工装置、その動作方法および加工物の製造方法
JP7270919B2 (ja) * 2018-07-20 2023-05-11 株式会社東邦鋼機製作所 加工用ヘッド
CN116585976B (zh) * 2023-05-29 2023-12-05 湖北嘉裕生物技术有限公司 一种造粒抛光一体机
CN120680385A (zh) * 2025-06-06 2025-09-23 中国科学院上海光学精密机械研究所 气压调控的膜介质修形超光滑加工装置及加工方法

Citations (2)

* Cited by examiner, † Cited by third party
Publication number Priority date Publication date Assignee Title
JP2009184088A (ja) * 2008-02-08 2009-08-20 Nikon Corp 研磨装置
JP2014038981A (ja) * 2012-08-20 2014-02-27 Toho Engineering Kk 基板研磨装置

Family Cites Families (43)

* Cited by examiner, † Cited by third party
Publication number Priority date Publication date Assignee Title
US5245790A (en) * 1992-02-14 1993-09-21 Lsi Logic Corporation Ultrasonic energy enhanced chemi-mechanical polishing of silicon wafers
EP0641626B1 (fr) 1993-09-06 1997-10-01 Voumard Machines Co. S.A. Procédé et dispositif d'usinage, notamment rectifieuse avec mouvement oscillant équilibré
US5938504A (en) * 1993-11-16 1999-08-17 Applied Materials, Inc. Substrate polishing apparatus
DE69719847T2 (de) 1996-05-16 2004-02-05 Ebara Corp. Verfahren und Vorrichtung zum Polieren von Werkstücken
TW375550B (en) 1997-06-19 1999-12-01 Komatsu Denshi Kinzoku Kk Polishing apparatus for semiconductor wafer
JP2000158331A (ja) 1997-12-10 2000-06-13 Canon Inc 基板の精密研磨方法および装置
JP2000033555A (ja) * 1998-07-17 2000-02-02 Sony Corp 研磨装置
US7516536B2 (en) 1999-07-08 2009-04-14 Toho Engineering Kabushiki Kaisha Method of producing polishing pad
US6869343B2 (en) 2001-12-19 2005-03-22 Toho Engineering Kabushiki Kaisha Turning tool for grooving polishing pad, apparatus and method of producing polishing pad using the tool, and polishing pad produced by using the tool
US6722963B1 (en) 1999-08-03 2004-04-20 Micron Technology, Inc. Apparatus for chemical-mechanical planarization of microelectronic substrates with a carrier and membrane
JP2001345297A (ja) 2000-05-30 2001-12-14 Hitachi Ltd 半導体集積回路装置の製造方法及び研磨装置
US6540590B1 (en) 2000-08-31 2003-04-01 Multi-Planar Technologies, Inc. Chemical mechanical polishing apparatus and method having a rotating retaining ring
US6527625B1 (en) 2000-08-31 2003-03-04 Multi-Planar Technologies, Inc. Chemical mechanical polishing apparatus and method having a soft backed polishing head
JP4060043B2 (ja) 2001-03-28 2008-03-12 株式会社Sumco 研磨装置
US6585562B2 (en) * 2001-05-17 2003-07-01 Nevmet Corporation Method and apparatus for polishing control with signal peak analysis
WO2003083918A1 (en) 2002-04-03 2003-10-09 Toho Engineering Kabushiki Kaisha Polishing pad and semiconductor substrate manufacturing method using the polishing pad
JP2004017229A (ja) 2002-06-18 2004-01-22 Shimadzu Corp 基板研磨装置
JP2004223636A (ja) 2003-01-21 2004-08-12 Nikon Corp 研磨方法、研磨装置、研磨シミュレーション方法、半導体デバイス、及び半導体デバイスの製造方法
US20050247673A1 (en) 2004-05-07 2005-11-10 International Business Machines Corporation Confinement of fluids on surfaces
JP4506399B2 (ja) * 2004-10-13 2010-07-21 株式会社荏原製作所 触媒支援型化学加工方法
JP3872081B2 (ja) 2004-12-29 2007-01-24 東邦エンジニアリング株式会社 研磨用パッド
JP4873694B2 (ja) 2006-04-12 2012-02-08 国立大学法人 熊本大学 触媒支援型化学加工方法
JP5007791B2 (ja) 2006-08-24 2012-08-22 住友金属鉱山株式会社 ウエハーの研磨方法
JP2008136983A (ja) 2006-12-05 2008-06-19 Osaka Univ 触媒支援型化学加工方法及び加工装置
JP5007384B2 (ja) 2006-10-18 2012-08-22 株式会社荏原製作所 触媒支援型化学加工方法及び装置
EP1894900A3 (en) 2006-08-28 2010-02-24 Osaka University Catalyst-aided chemical processing method and apparatus
JP2008081389A (ja) 2006-08-28 2008-04-10 Osaka Univ 触媒支援型化学加工方法及び装置
JP4982742B2 (ja) * 2006-09-13 2012-07-25 国立大学法人 熊本大学 磁性微粒子を用いた触媒化学加工方法及び装置
JP4887266B2 (ja) 2007-10-15 2012-02-29 株式会社荏原製作所 平坦化方法
JP5632132B2 (ja) 2009-02-27 2014-11-26 株式会社荏原製作所 基板処理方法
EP2513955A1 (en) 2009-12-15 2012-10-24 Osaka University Polishing method, polishing apparatus and polishing tool
JP4680314B1 (ja) 2010-02-04 2011-05-11 東邦エンジニアリング株式会社 研磨パッド用補助板およびそれを用いた研磨パッドの再生方法
DE102010032335A1 (de) 2010-07-20 2012-01-26 C. & E. Fein Gmbh Handwerkzeug
US9291056B2 (en) 2010-08-30 2016-03-22 Lawrence Livermore National Security, Llc Harmonic uniflow engine
JP2012235072A (ja) * 2011-05-09 2012-11-29 Sumco Corp ウェーハ表面処理方法
JP5789869B2 (ja) 2011-07-28 2015-10-07 東邦エンジニアリング株式会社 研磨パッド用補助板および研磨パッド用補助板を備えた研磨装置
US20130288577A1 (en) 2012-04-27 2013-10-31 Applied Materials, Inc. Methods and apparatus for active substrate precession during chemical mechanical polishing
JP2013255961A (ja) 2012-06-12 2013-12-26 Takatori Corp 基板の研磨装置
JP6282437B2 (ja) 2012-10-18 2018-02-21 アプライド マテリアルズ インコーポレイテッドApplied Materials,Incorporated 研磨パッドコンディショナ用ダンパ
EP3024015B1 (en) * 2013-07-19 2019-08-14 Nagoya Institute Of Technology Metallic polishing pad and production method therefor
JP6206847B2 (ja) * 2014-03-12 2017-10-04 国立大学法人大阪大学 ワイドバンドギャップ半導体基板の加工方法及びその装置
JP6454326B2 (ja) 2014-04-18 2019-01-16 株式会社荏原製作所 基板処理装置、基板処理システム、および基板処理方法
DE112015002319B4 (de) * 2014-12-31 2024-07-25 Osaka University Planarisierungsbearbeitungsverfahren und Planarisierungsbearbeitungsvorrichtung

Patent Citations (2)

* Cited by examiner, † Cited by third party
Publication number Priority date Publication date Assignee Title
JP2009184088A (ja) * 2008-02-08 2009-08-20 Nikon Corp 研磨装置
JP2014038981A (ja) * 2012-08-20 2014-02-27 Toho Engineering Kk 基板研磨装置

Cited By (1)

* Cited by examiner, † Cited by third party
Publication number Priority date Publication date Assignee Title
CN111015504A (zh) * 2019-12-02 2020-04-17 深圳市凯合达智能设备有限公司 一种具有防护功能的化学机械抛光设备

Also Published As

Publication number Publication date
DE112015002319T5 (de) 2017-02-09
US10199242B2 (en) 2019-02-05
JP2017100280A (ja) 2017-06-08
US20190122904A1 (en) 2019-04-25
US20170098559A1 (en) 2017-04-06
US10665480B2 (en) 2020-05-26
DE112015002319B4 (de) 2024-07-25
JP6127235B2 (ja) 2017-05-17
JPWO2016108284A1 (ja) 2017-04-27

Similar Documents

Publication Publication Date Title
JP6127235B2 (ja) 触媒支援型化学加工方法および触媒支援型化学加工装置
KR102625451B1 (ko) 평탄 가공 장치
JP2005305586A (ja) 研磨装置
TW200932423A (en) Polishing apparatus and polishing method
JP2009208214A (ja) 研磨装置
TW201240927A (en) Breaking device for brittle material substrate
JP2012183637A (ja) 基板を処理する方法及び装置
JP2018001406A (ja) 研磨装置及び研磨方法
JP2024081698A (ja) 加工装置
TW201535503A (zh) 研磨裝置及研磨方法
KR101324886B1 (ko) 초음파를 이용하는 유리연마장치
TWM441208U (en) Processing device for plate
WO2016002396A1 (ja) 研磨装置
JP5433968B2 (ja) 保持装置、研磨装置および保持方法
JP2019118982A (ja) 被加工物の切削方法及び切削装置のチャックテーブル
JP2017163144A (ja) 平坦加工装置
CN108608313A (zh) 研磨抛光装置及研磨抛光系统
JP6044955B2 (ja) ウェーハ研磨ヘッドおよびウェーハ研磨装置
JP6573381B2 (ja) 研磨装置
JP2014200901A (ja) 加工装置
JP2017087305A (ja) 円板状ワークの研磨加工方法及び研磨加工装置
JP6573168B2 (ja) 板ガラスの製造方法及び製造装置

Legal Events

Date Code Title Description
ENP Entry into the national phase

Ref document number: 2016528258

Country of ref document: JP

Kind code of ref document: A

121 Ep: the epo has been informed by wipo that ep was designated in this application

Ref document number: 15875410

Country of ref document: EP

Kind code of ref document: A1

WWE Wipo information: entry into national phase

Ref document number: 15315864

Country of ref document: US

WWE Wipo information: entry into national phase

Ref document number: 112015002319

Country of ref document: DE

122 Ep: pct application non-entry in european phase

Ref document number: 15875410

Country of ref document: EP

Kind code of ref document: A1