WO2016084943A1 - ロボットアーム機構 - Google Patents

ロボットアーム機構 Download PDF

Info

Publication number
WO2016084943A1
WO2016084943A1 PCT/JP2015/083430 JP2015083430W WO2016084943A1 WO 2016084943 A1 WO2016084943 A1 WO 2016084943A1 JP 2015083430 W JP2015083430 W JP 2015083430W WO 2016084943 A1 WO2016084943 A1 WO 2016084943A1
Authority
WO
WIPO (PCT)
Prior art keywords
row
guide rail
connection
piece
robot arm
Prior art date
Legal status (The legal status is an assumption and is not a legal conclusion. Google has not performed a legal analysis and makes no representation as to the accuracy of the status listed.)
Ceased
Application number
PCT/JP2015/083430
Other languages
English (en)
French (fr)
Japanese (ja)
Inventor
尹 祐根
順央 川口
眞二 栗原
光 佐野
宗祐 ▲高▼▲瀬▼
摩美 前田
Current Assignee (The listed assignees may be inaccurate. Google has not performed a legal analysis and makes no representation or warranty as to the accuracy of the list.)
Life Robotics Inc
Original Assignee
Life Robotics Inc
Priority date (The priority date is an assumption and is not a legal conclusion. Google has not performed a legal analysis and makes no representation as to the accuracy of the date listed.)
Filing date
Publication date
Application filed by Life Robotics Inc filed Critical Life Robotics Inc
Priority to EP15862345.4A priority Critical patent/EP3225367B1/en
Priority to CN201580064927.4A priority patent/CN107000221B/zh
Publication of WO2016084943A1 publication Critical patent/WO2016084943A1/ja
Priority to US15/605,376 priority patent/US10131058B2/en
Anticipated expiration legal-status Critical
Ceased legal-status Critical Current

Links

Images

Classifications

    • BPERFORMING OPERATIONS; TRANSPORTING
    • B25HAND TOOLS; PORTABLE POWER-DRIVEN TOOLS; MANIPULATORS
    • B25JMANIPULATORS; CHAMBERS PROVIDED WITH MANIPULATION DEVICES
    • B25J18/00Arms
    • B25J18/02Arms extensible
    • BPERFORMING OPERATIONS; TRANSPORTING
    • B25HAND TOOLS; PORTABLE POWER-DRIVEN TOOLS; MANIPULATORS
    • B25JMANIPULATORS; CHAMBERS PROVIDED WITH MANIPULATION DEVICES
    • B25J17/00Joints
    • BPERFORMING OPERATIONS; TRANSPORTING
    • B25HAND TOOLS; PORTABLE POWER-DRIVEN TOOLS; MANIPULATORS
    • B25JMANIPULATORS; CHAMBERS PROVIDED WITH MANIPULATION DEVICES
    • B25J9/00Programme-controlled manipulators
    • B25J9/02Programme-controlled manipulators characterised by movement of the arms, e.g. cartesian coordinate type
    • B25J9/04Programme-controlled manipulators characterised by movement of the arms, e.g. cartesian coordinate type by rotating at least one arm, excluding the head movement itself, e.g. cylindrical coordinate type or polar coordinate type
    • B25J9/041Cylindrical coordinate type
    • B25J9/042Cylindrical coordinate type comprising an articulated arm
    • BPERFORMING OPERATIONS; TRANSPORTING
    • B25HAND TOOLS; PORTABLE POWER-DRIVEN TOOLS; MANIPULATORS
    • B25JMANIPULATORS; CHAMBERS PROVIDED WITH MANIPULATION DEVICES
    • B25J9/00Programme-controlled manipulators
    • B25J9/02Programme-controlled manipulators characterised by movement of the arms, e.g. cartesian coordinate type
    • B25J9/04Programme-controlled manipulators characterised by movement of the arms, e.g. cartesian coordinate type by rotating at least one arm, excluding the head movement itself, e.g. cylindrical coordinate type or polar coordinate type
    • B25J9/045Polar coordinate type
    • BPERFORMING OPERATIONS; TRANSPORTING
    • B25HAND TOOLS; PORTABLE POWER-DRIVEN TOOLS; MANIPULATORS
    • B25JMANIPULATORS; CHAMBERS PROVIDED WITH MANIPULATION DEVICES
    • B25J9/00Programme-controlled manipulators
    • B25J9/02Programme-controlled manipulators characterised by movement of the arms, e.g. cartesian coordinate type
    • B25J9/04Programme-controlled manipulators characterised by movement of the arms, e.g. cartesian coordinate type by rotating at least one arm, excluding the head movement itself, e.g. cylindrical coordinate type or polar coordinate type
    • B25J9/046Revolute coordinate type
    • FMECHANICAL ENGINEERING; LIGHTING; HEATING; WEAPONS; BLASTING
    • F16ENGINEERING ELEMENTS AND UNITS; GENERAL MEASURES FOR PRODUCING AND MAINTAINING EFFECTIVE FUNCTIONING OF MACHINES OR INSTALLATIONS; THERMAL INSULATION IN GENERAL
    • F16GBELTS, CABLES, OR ROPES, PREDOMINANTLY USED FOR DRIVING PURPOSES; CHAINS; FITTINGS PREDOMINANTLY USED THEREFOR
    • F16G13/00Chains
    • F16G13/18Chains having special overall characteristics
    • F16G13/20Chains having special overall characteristics stiff; Push-pull chains
    • FMECHANICAL ENGINEERING; LIGHTING; HEATING; WEAPONS; BLASTING
    • F16ENGINEERING ELEMENTS AND UNITS; GENERAL MEASURES FOR PRODUCING AND MAINTAINING EFFECTIVE FUNCTIONING OF MACHINES OR INSTALLATIONS; THERMAL INSULATION IN GENERAL
    • F16HGEARING
    • F16H19/00Gearings comprising essentially only toothed gears or friction members and not capable of conveying indefinitely-continuing rotary motion
    • F16H19/02Gearings comprising essentially only toothed gears or friction members and not capable of conveying indefinitely-continuing rotary motion for interconverting rotary or oscillating motion and reciprocating motion
    • YGENERAL TAGGING OF NEW TECHNOLOGICAL DEVELOPMENTS; GENERAL TAGGING OF CROSS-SECTIONAL TECHNOLOGIES SPANNING OVER SEVERAL SECTIONS OF THE IPC; TECHNICAL SUBJECTS COVERED BY FORMER USPC CROSS-REFERENCE ART COLLECTIONS [XRACs] AND DIGESTS
    • Y10TECHNICAL SUBJECTS COVERED BY FORMER USPC
    • Y10STECHNICAL SUBJECTS COVERED BY FORMER USPC CROSS-REFERENCE ART COLLECTIONS [XRACs] AND DIGESTS
    • Y10S901/00Robots
    • Y10S901/27Arm part
    • Y10S901/28Joint

Definitions

  • the embodiment of the present invention relates to a robot arm mechanism.
  • the robot arm mechanism is equipped with, for example, a linear motion expansion joint.
  • the arm part which comprises a linear motion expansion-contraction joint is comprised by the 1st connection top row
  • the first linked frame sequence and the second linked frame sequence are stored in the storage unit.
  • the motor rotates forward in order to drive the linear motion joint
  • the first connection frame row and the second connection frame row stored in the storage unit are joined and sent out as a columnar body.
  • the motor rotates in the reverse direction, the arm portion is pulled back to the storage portion, and the columnar body is separated into the first connection frame row and the second connection frame row and stored in the storage portion.
  • the first connected frame row and the second connected frame row collide in the storage unit.
  • the purpose is to prevent the first connected top row from colliding with the second connected top row in the robot arm mechanism having the linear motion telescopic joint.
  • the robot arm mechanism has a linear motion expansion / contraction joint, the linear motion expansion / contraction joint includes an arm portion and an ejection portion that supports the arm portion, and the arm portion includes a first connection top row and A second connection piece row, wherein the first connection piece row is composed of a plurality of first connection pieces having a U-shaped cross-section, a cross-sectional square shape, or a cross-sectional arc shape, A plurality of second connection pieces having a substantially flat plate shape, and the second connection piece row is forwardly connected to the first connection piece row together with the first connection piece row from the injection portion.
  • the first connection frame row and the second connection frame row are separated from each other between the first connection frame row and the second connection frame row at the rear of the injection unit. Possible to guide two connected frame rows to the injection part Guide rail is interposed having sex.
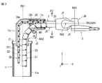
  • FIG. 1 is an external perspective view of a robot arm mechanism according to the present embodiment.
  • FIG. 2 is a perspective view showing the internal structure of the robot arm mechanism of FIG.
  • FIG. 3 is a view of the internal structure of the robot arm mechanism of FIG. 1 as viewed from the cross-sectional direction.
  • FIG. 4 is a view showing a storage structure of the robot arm mechanism according to the present embodiment.
  • FIG. 5 is a view showing the structure of the rail piece of the robot arm mechanism according to the present embodiment.
  • FIG. 6 corresponds to FIG. 4 and is a view of the actual positional relationship among the guide rail, the first connecting frame row, and the second connecting frame row as seen from the cross-sectional direction.
  • FIG. 7 corresponds to FIG.
  • FIG. 4 is a view of the actual positional relationship among the guide rail, the first connecting frame row, and the second connecting frame row as seen from the feeding direction.
  • FIG. 8 is a view showing the structure of the guide rail of the robot arm mechanism according to the present embodiment.
  • FIG. 9 is a supplementary explanatory diagram for explaining the effect of the guide rail of the robot arm mechanism according to the present embodiment.
  • FIG. 1 is an external perspective view of the robot arm mechanism according to the present embodiment. 2 and 3 show the internal structure of the robot arm mechanism of FIG.
  • the robot arm mechanism has a substantially cylindrical base 1 and an arm 2 connected to the base 1.
  • a hand effector 3 called an end effector is attached to the tip of the arm unit 2.
  • a hand unit capable of gripping an object is illustrated as the hand effector 3.
  • the hand effector 3 is not limited to the hand unit, and may be another tool, a camera, or a display.
  • An adapter that can be replaced with any kind of hand effector 3 may be provided at the tip of the arm portion 2.
  • the arm portion 2 has a plurality of, here six joint portions J1, J2, J3, J4, J5 and J6.
  • the plurality of joint portions J1, J2, J3, J4, J5, and J6 are sequentially arranged from the base portion 1.
  • the first, second, and third axes RA1, RA2, and RA3 are referred to as root three axes
  • the fourth, fifth, and sixth axes RA4, RA5, and RA6 are wrists that change the posture of the hand unit 3. Called three axes.
  • At least one of the joint portions J1, J2, and J3 constituting the base three axes is a linear motion joint.
  • the third joint portion J3 is configured as a linear motion joint, particularly a joint portion having a relatively long expansion / contraction distance.
  • the first joint portion J1 is a torsional joint centered on a first rotation axis RA1 that is supported, for example, perpendicularly to the pedestal surface.
  • the second joint portion J2 is a bending joint centered on the second rotation axis RA2 arranged perpendicular to the first rotation axis RA1.
  • the third joint portion J3 is a joint that linearly expands and contracts around a third axis (moving axis) RA3 arranged perpendicular to the second rotation axis RA2.
  • the fourth joint portion J4 is a torsion joint centered on the fourth rotation axis RA4 that coincides with the third movement axis RA3, and the fifth joint portion J5 is a fifth rotation axis RA5 orthogonal to the fourth rotation axis RA4. It is a bending joint centered around.
  • the sixth joint portion J6 is a bending joint centered on the sixth rotation axis RA6 that is perpendicular to the fourth rotation axis RA4 and perpendicular to the fifth rotation axis RA5.
  • the arm part 2 turns together with the hand part 3 by the torsional rotation of the first joint part J1.
  • the arm portion 2 moves up and down around the second rotation axis RA2 of the second joint portion J2 together with the hand portion 3.
  • the arm support body (first support body) 11a forming the base portion 1 has a cylindrical hollow structure formed around the rotation axis RA1 of the first joint portion J1.
  • the first joint portion J1 is attached to a fixed base (not shown).
  • the first support 11 a rotates along with the turning of the arm portion 2.
  • the first support 11a may be fixed to the ground plane. In that case, the arm part 2 is provided in a structure that turns independently of the first support 11a.
  • a second support part 11b is connected to the upper part of the first support 11a.
  • the second support portion 11b has a hollow structure that is continuous with the first support portion 11a. One end of the second support portion 11b is attached to the rotating portion of the first joint portion J1. The other end of the second support portion 11b is opened, and the third support portion 11c is rotatably fitted on the rotation axis RA2 of the second joint portion J2.
  • the 3rd support part 11c has a scale-like hollow structure connected to the 1st support part 11a and the 2nd support part. The third support portion 11c is accommodated in the second support portion 11b and sent out as the second joint portion J2 is bent and rotated.
  • the rear portion of the third joint portion J3 that constitutes the linear motion joint portion of the arm portion 2 is housed in the hollow structure in which the first support portion 11a and the second support portion 11b are continuous by contraction thereof.
  • the inside of the hollow structure is also called a storage part.
  • the first joint portion J1 includes an annular fixed portion and a rotating portion, and is fixed to the pedestal at the fixed portion.
  • a first support portion 11a and a second support portion 11b are attached to the rotating portion.
  • the first, second, and third supports 11a, 11b, and 11c rotate together with the arm portion 2 and the hand portion 3 about the first rotation axis RA1.
  • the third support portion 11c is fitted to the lower end portion of the second support portion 11b so as to be rotatable about the rotation axis RA2 at the lower end portion of the second support portion 11b.
  • a second joint portion J2 is formed as a bending joint portion around the rotation axis RA2.
  • the arm portion 2 rotates in a vertical direction around the rotation axis RA2 of the second joint portion J2 together with the hand portion 3, that is, performs a undulation operation.
  • the rotation axis RA2 of the second joint portion J2 is provided perpendicular to the first rotation axis RA1 of the first joint portion J1 as a torsion joint portion.
  • the third joint portion J3 as the joint portion constitutes a main component of the arm portion 2.
  • the hand portion 3 described above is provided at the tip of the arm portion 2.
  • the hand unit 3 is provided at the tip of the arm unit 2.
  • the hand portion 3 includes first, second, and third joint portions J1. J2. It is moved to an arbitrary position by J3, and is arranged in an arbitrary posture by the fourth, fifth, and sixth joint portions J4, J5, and J6.
  • the hand portion 3 has two finger portions 16a and 16b that are opened and closed.
  • the fourth joint portion J4 is a torsional joint having a rotation axis RA4 that typically coincides with the central axis of the arm portion 2 along the extending and contracting direction of the arm portion 2, that is, the movement axis RA3 of the third joint portion J3.
  • the hand portion 3 rotates about the rotation axis RA4 from the fourth joint portion J4 to the tip.
  • the fifth joint J5 is a bending joint having a rotation axis RA5 orthogonal to the movement axis RA4 of the fourth joint J4.
  • the sixth joint portion J6 is a bending joint having a rotation axis RA6 perpendicular to the rotation axis RA4 of the fourth joint portion J4 and perpendicular to the rotation axis RA5 of the fifth joint portion J5.
  • the hand 16 turns left and right.
  • the two-finger hand 16 of the hand part 3 is placed in an arbitrary position and posture by rotating, bending, and extending / contracting the first to sixth joint parts J1-J6.
  • the length of the linear motion expansion / contraction distance of the third joint portion J3 enables the hand portion 3 to act on a wide range of objects from the proximity position of the base 1 to the remote position.
  • the third joint portion J3 is characterized by the length of the linear motion expansion / contraction distance realized by the linear motion expansion / contraction arm mechanism constituting the third joint portion J3.
  • the length of the linear expansion / contraction distance is achieved by the structure shown in FIGS.
  • the direct acting telescopic arm mechanism has a first connecting frame row 21 and a second connecting frame row 20. In the reference posture in which the arm unit 2 is horizontally disposed, the first connection frame row 21 is positioned below the second connection frame row 20, and the second connection frame row 20 is positioned above the first connection frame row 21. .
  • the first connecting piece row 21 has the same U-shaped cross section, and is composed of a plurality of first connecting pieces 23 connected in a row at the back portion by pins. Depending on the cross-sectional shape of the first connecting piece 23 and the connecting position by the pins, the first connecting piece row 21 can be bent in the back surface direction BD, but conversely, it cannot be bent in the surface direction FD. Accordingly, the cross-sectional shape of the first connecting piece 23 is not limited to the U-shape, but may be a cross-sectional shape, an arc shape, or the like.
  • the second connecting piece row 20 has a substantially flat plate shape having a width substantially equivalent to that of the first connecting piece 23, and is connected in a row with pins in a state where it can be bent together with the back direction BD and the surface direction FD. It consists of a second connecting piece 22.
  • the first connection frame row 21 is connected to the second connection frame row 20 by a connection piece 26 at the tip.
  • the connecting piece 26 has a shape in which the first connecting piece 23 and the second connecting piece 22 are integrated.
  • linear gears 22 a are individually formed on the inner side (back side) of the second connecting piece 22.
  • the linear gear 22a is connected when the second connecting piece 22 becomes linear, and forms a continuous linear gear (rack).
  • the front side of the first connecting piece 23 faces the back side of the second connecting piece 22.
  • the back side of the first connecting piece 23 and the front side of the second connecting piece 22 are opposed to the inner surface of the base 1, the second support 11b, or the third support 11c.
  • FIG. 3 is a view of the internal structure of the robot arm mechanism of FIG. 1 as viewed from the cross-sectional direction.
  • the second connection piece 22 is sandwiched between the roller 291 and the drive gear 24 a by the injection unit 29. Thereby, the linear gear 22a is meshed with the drive gear 24a.
  • the motor M1 is driven and the drive gear 24a rotates forward, so that the second connecting piece row 20 is sent forward from the injection unit 29 together with the first connecting piece row 21.
  • column 20 are pinched
  • the surface side of the first connection piece 23 is joined to the back side of the second connection piece 22.
  • the joined first connected frame row 21 and the second connected piece row 20 are supported by the injection unit 29, so that the joined state is maintained.
  • the joining state of the first connection top row 21 and the second connection top row 20 is maintained, the bending of the first connection top row 21 and the second connection top row 20 is limited, thereby the first connection top row 21.
  • the second connecting piece row 20 constitute a columnar body having a certain rigidity.
  • the joined pieces 26 starting ends
  • the joined columnar bodies are sent out linearly along the third movement axis RA3.
  • the injection part 29 has a rectangular tube shape.
  • the size of the width of the hollow portion substantially matches the width of the columnar body.
  • a plurality of rollers 291 are rotatably provided on the side surface, and support the columnar body from the side.
  • the injection unit 29 is fixed to the second support 11c or the second support 11b. Therefore, the injection unit 29 turns together with the arm unit 2 and the hand unit 3 around the first rotation axis RA1. In addition, the injection unit 29 rotates in the vertical direction together with the arm unit 2 and the hand unit 3 around the second rotation axis RA2, that is, performs a hoisting operation.
  • the motor M1 When the arm contracts, the motor M1 is driven and the drive gear 24a rotates in the reverse direction, whereby the second connecting piece row 20 and the first connecting piece row 21 are released from the joined state by the injection portion 29 and separated from each other.
  • the separated second connection top row 20 and first connection top row 21 are in a bendable state, bent in the direction along the first rotation axis RA1, and stored in the storage unit.
  • FIG. 4 is a view showing a storage structure of the robot arm mechanism according to the present embodiment.
  • the guide rail 41 is composed of a plurality of rail pieces 43 connected in a row by pins. As shown in FIG. 4, one end of the guide rail 41 is attached to the rear end portion of the injection portion 29 using the pinholes 431 and 432 of the leading rail piece 43.
  • One end of the spring 50 is fixed to the other end of the guide rail 41 using a pinhole 433 of the rearmost rail piece 43.
  • the other end of the spring 50 is fixed to the bottom surface of the base 1 (first support 11a).
  • the spring 50 expands and contracts in the axial direction of the base 1.
  • a guide rail storage 48 is fixed to the first support 11a.
  • the guide rail storage 48 is fixed to the inner surface of the base 1.
  • the guide rail storage 48 is composed of a pair of slide rails. Both ends of the rail piece 43 are slid along the slide rail and stored.
  • the guide rail storage part 48 may be extended to the second support 11b
  • FIG. 5 is a view showing the structure of the rail piece 43 of the robot arm mechanism according to the present embodiment.
  • FIG. 5 shows a view of the rail piece 43 as seen from three orthogonal directions.
  • FIGS. 5A, 5B, and 5C are views of the rail piece 43 viewed from the side (+ X direction), the upper side (+ Z direction), and the rear side (+ Y direction), respectively.
  • FIG. 6 corresponds to FIG. 4, and is a view of the actual positional relationship among the guide rail 41, the first connecting piece row 21, and the second connecting piece row 20 as seen from the cross-sectional direction.
  • FIG. 7 corresponds to FIG. 4, and is a view of an actual positional relationship among the guide rail 41, the first connecting piece row 21, and the second connecting piece row 20 as viewed from the feeding direction.
  • the front end portion of the rail piece 43 has a concave shape, and pin holes 431 and 432 into which pins for connecting to the rear end portion of the rail piece 43 are inserted are formed on both sides thereof.
  • the axial directions of the pinholes 431 and 432 are parallel to the width direction of the rail piece 43.
  • the pinhole 431 has the same axial length as the pinhole 432.
  • the length obtained by adding the axial length of the pinhole 432 to the axial length of the pinhole 431 is shorter than the width of the rail piece 43.
  • the rear end portion of the rail piece 43 has a convex shape, and a pin hole 433 into which a pin for connecting to the front end portion of the rail piece 43 is inserted is formed.
  • the axial direction of the pinhole 433 is parallel to the width direction of the rail piece 43.
  • the axial length of the pinhole 433 is shorter than the width of the rail piece 43.
  • the total length of the axial lengths of the pinholes 431, 432, and 433 substantially matches the width of the rail piece 43.
  • the total length of the axial lengths of the pinholes 431, 432, 433 may be equal to or less than the width of the rail piece 43.
  • the length L3 from the pinholes 431 and 432 at the front end of the rail piece 43 to the pinhole 433 at the rear end is the length from the pinhole at the front end of the second connection piece 22 to the pinhole at the rear end. Shorter than L2. As shown in FIG. 4, the first connecting piece row 21, the second connecting piece row 20, and the guide rail 41 are rotated around the second rotation axis RA2. At that time, the guide rail 41 is on the inner side of the second connecting frame row 20. Therefore, since the length L3 of the rail piece 43 is shorter than the length L2 of the second connection piece 22, the track of the guide rail 41 can be made smoother than the track of the second connection piece row 20.
  • the guide rail 41 can smoothly guide the second connecting frame row 20 to the injection unit 20.
  • the length L1 from the tip pinhole to the rear end pinhole of the first connection piece 23 is substantially the same as the length L2 from the tip pinhole to the rear end pinhole of the second connection piece 22. Have a length.
  • the width W3 of the rail piece 43 is longer than the width W1 of the first connection piece 23 and the width W2 of the second connection piece 22.
  • the width W1 of the first connecting piece 23 has the same length as the width W2 of the second connecting piece 22.
  • the width W3 of the rail piece 43 has a length that is 1.05 to 1.5 times the width W1 of the first connection piece 23.
  • a shaft hole 434 is formed on the surface of the rail piece 43 near the midpoint in the length direction.
  • the axial direction of the shaft hole 434 is parallel to the width direction of the rail piece 43.
  • the midpoint of the shaft hole 434 in the axial direction coincides with the midpoint of the rail piece 43 in the width direction.
  • the shaft hole 434 is shorter than the width W ⁇ b> 2 of the second connection piece 22, and preferably, as shown in FIG. 7, the one from the outer surface of the two lock portions 221 provided on the back surface of the second connection piece 22 to the other. It has an axial length on the order of the length to the outer surface.
  • a shaft 435 longer than the shaft hole 434 is inserted into the shaft hole 434.
  • Wheels 437 and 438 are fixed to both ends of the shaft 435, respectively.
  • the surface of the wheel 437 is covered with an elastic body such as rubber. Thereby, the loss
  • the wheel 437 has a shorter width than the side surface of the second connection piece 22 to the outer side surface of the lock portion 221 provided on the back surface of the second connection piece 22.
  • the wheel 437 has a radius longer than the distance from the back surface of the second connection piece 22 to the lower end of the lock portion 221.
  • the wheel 438 has the same shape as the wheel 437.
  • a recess is formed between both ends of the shaft hole 434 and the side surface of the rail piece 43.
  • the depth from the hole center of the shaft hole 434 to the bottom surface of the recess is slightly deeper than the radii of the wheels 437 and 438.
  • the length from the hole center of the shaft hole 434 to the end in the length direction of the recess is slightly longer than the radius of the wheels 437 and 438.
  • the protruding length that protrudes from the surface of the rail piece 43 toward the second connecting piece 22 is substantially the same as the radius of the wheels 437 and 438.
  • FIG. 8 is a view showing the structure of the guide rail 41 of the robot arm mechanism according to the present embodiment.
  • FIG. 8A shows the guide rail 41 in a posture in which the arm portion 2 is disposed horizontally (hereinafter referred to as a horizontal posture).
  • FIG. 8B shows the guide rail 41 when the arm portion 2 is in a posture (hereinafter referred to as a downward posture) in which the arm portion 2 is inclined downward by a predetermined angle from the posture of FIG.
  • the guide rail 41 has flexibility. Specifically, the guide rail 41 has a structure that cannot be bent in the surface direction and bends in the back direction. At this time, the bending angle ⁇ max that bends in the back direction is limited.
  • the bending angle of the connecting portion is limited by a pin that connects the two rail pieces 43. Note that the bending angle of the connecting portion may be limited by the frame shape of the connecting portion.
  • the guide rail storage 48 has a function of limiting the range in which the guide rail 41 is allowed to be bent, in addition to the function of storing the guide rail 41 along the axial direction of the base 1.
  • the guide rail 41 When the entire portion of the guide rail 41 can be bent, the guide rail 41 may be inclined toward the first connecting piece row 21 side. As a result, the guide rail 41 may come into contact with the first connection frame row 21, which may hinder smooth feeding of the first connection frame row 21.
  • the guide rail 41 stored in the base 1 is stored in the guide rail storage portion 48, the guide rail 41 is stored in the guide rail storage portion 48 and tilted no matter how the guide rail 41 is pulled. No. Therefore, the first connected frame row 21 and the second connected frame row 20 do not come into contact with each other.
  • the guide rail 41 can move along the circular arc shape centering on 2nd rotating shaft RA2.
  • the bending angle ⁇ max is, for example, an outer angle when an arc l2 having a radius r2 centered on the second rotation axis RA2 is arranged so as to contact the guide rail 41 having a length L3. Designed.
  • the radius r2 is, for example, the distance from the rotation center of the second rotation axis RA2 to the fixed point P29 of the guide rail 41 in the injection unit 29, and the distance from the rotation center of the second rotation axis RA2 to the tip P48 of the guide rail storage unit 48. And may be determined based on the above.
  • the bending angle ⁇ max is not a geometric method as described above, but is designed so as to be a gentle track from the fixed position of the guide rail 41 at the rear end of the injection portion 29 to the tip of the guide rail storage portion 48. It only has to be done. As a result, even when the arm portion 2 moves up and down, the guide rail 41 bends within a limited angular range, so that the guide rail 41 can move along a previously designed track.
  • the guide rail 41 can be bent only within a limited angle range, the guide rail 41 has a certain rigidity.
  • the arm part 2 moves up and down only in the surface direction of the guide rail 41, the bending in the surface direction of the guide rail 41 may be possible. In this case, it is more likely that the guide rail 41 does not have a track as designed in advance, compared to a case where bending in the surface direction is impossible.
  • the track of the guide rail 41 in the base 1 is determined by the guide rail storage 48. Further, the track of the guide rail 41 from the front end portion of the guide rail storage portion 48 to the rear end of the injection portion 29 is designed in advance by the bending angle ⁇ max of the guide rail 41. Therefore, even when the arm portion 2 moves up and down, the guide rail 41 is disposed between the first connecting piece row 21 and the second connecting piece row 20. Therefore, the guide rail 41 can store the second connection frame row 20 and the first connection frame row 21 separated by the injection unit 29 separately. Thereby, it is possible to prevent the second connected frame row 20 from interfering with the first connected frame row 21. In addition, the guide rail 41 can guide the second connecting piece row 20 to the injection portion 29 (feeding direction) along a previously designed track even when the arm portion 2 moves up and down.
  • FIG. 9 is a supplementary explanatory diagram for explaining the effect of the guide rail 41 of the robot arm mechanism according to the present embodiment.
  • FIG. 9 is a diagram for explaining a difference in a track (hereinafter referred to as a guide track) in which the second connecting frame row 20 is guided to the injection unit 29 depending on the presence or absence of the guide rail 41.
  • FIG. 9A shows the guide track of the second connecting top row 20 when the guide rail 41 is not provided.
  • FIG. 9B shows the guide track of the second connecting top row 20 when the guide rail 41 is provided.
  • the second connected top row 20 is stored in the storage unit along the axial direction of the base 1.
  • the second linked frame row 20 must rotate around the second rotation axis RA2 before being sent out from the injection unit 29 from the stored state.
  • the arm part 2 is in a horizontal posture, the arm part 2 is sent out in a direction orthogonal to the axial direction of the base part 1. Therefore, the second linked frame row 20 is rotated 90 degrees around the second rotation axis RA2 from the state stored in the storage unit and is guided to the injection unit 29. And it joins with the 1st connection top row
  • the guide rail 41 guides the second connecting frame row 20 to the injection unit 29 along a previously designed track. The effect will be described with reference to FIG.
  • FIG. 9 shows three continuous second connecting pieces 225, 226, and 227.
  • FIG. 9A shows a case where the guide rail 41 is not provided.
  • FIG. 9B shows the case where the guide rail 41 is provided.
  • States t1-t6 indicate changes in the state of the second connecting pieces 225, 226, 227 each time the drive gear 24a rotates by a step angle and the arm portion 2 moves by ⁇ d in the feeding direction.
  • the state t1 shows a state in which the linear gear 22a of the second connecting piece 225 is engaged with the drive gear 24a.
  • the drive gear 24a and the linear gear 22a of the second connecting piece 225 are engaged at the position P. And until the state t4, the state which the 2nd connection top 225 is sent out in the sending-out direction by the drive gear 24a is shown.
  • the state t4 shows immediately after the drive gear 24a and the linear gear 22a of the second connecting piece 226 are engaged at the position P.
  • States t5 and t6 show a state in which the second connecting piece 226 is sent out by the drive gear 24a.
  • the angle ⁇ 41 that rotates at the moment when the second connecting piece 226 becomes horizontal as in the state t4 is large, the second connecting piece 226 rotates vigorously, and the second connecting piece 226 becomes the second support body. It may collide with the inner surface of 11b. As a result, there may be a problem that a collision sound is generated or the second connecting piece 226 is scraped off.
  • the rotational angle ⁇ 42 at the moment when the linear gear 22a of the second connecting piece 226 is engaged with the drive gear 24a at the position P is the rotational angle when the guide rail 41 is not present. It is smaller than ⁇ 41. That is, at the moment when the linear gear 22a of the second connecting piece 226 is engaged with the drive gear 24a, the second connecting piece 226 does not rotate greatly. This is because the second connecting piece 226 is guided by the guide rail 41 and can be leveled to some extent immediately before the linear gear 22a of the second connecting piece 226 is engaged with the drive gear 24a (state t3).
  • the presence of the guide rail 41 enables the guide rail 41 to intentionally disperse the rotation angle of 90 degrees required until the second connecting piece 226 changes from the retracted state to the horizontal state.
  • the second connecting piece 226 rotates by ⁇ 21 in the state t2, ⁇ 31 in the state t3, and ⁇ 41 in the state t4, and is rotated by 90 degrees in total.
  • the second connecting piece 226 rotates by ⁇ 12 in the state t1, ⁇ 22 in the state t2, ⁇ 32 in the state t3, ⁇ 42 in the state t4, ⁇ 52 in the state t5, and ⁇ 62 in the state t6.
  • the guide rail 41 can be arranged along a previously designed track even when the arm unit 2 moves up and down.
  • the track of the guide rail 41 can be designed based on the guide rail storage portion 48 and the bending angle of the guide rail 41.
  • the 1st connection top row 21 and the 2nd connection top row 20 can be separated and stored in a storage part.
  • the second connecting top row 20 can be guided to the injection unit 29 (feeding direction) along the guide rail 41 designed in advance.
  • the guide rail 41 can disperse the rotation of the second connecting piece row 20 necessary until the guide rail 41 is sent out from the retracted state toward the front of the injection unit 29. Since the angle of rotation in unit time can be reduced, the second connecting piece 22 can be prevented from rotating vigorously. As a result, it is possible to prevent the second connecting piece 22 from colliding with the inner surface of the second support 11b, and consequently, it is possible to prevent the occurrence of a collision sound, the loss of the second connecting piece 22, and the like.

Landscapes

  • Engineering & Computer Science (AREA)
  • Mechanical Engineering (AREA)
  • Robotics (AREA)
  • General Engineering & Computer Science (AREA)
  • Manipulator (AREA)
  • Transmission Devices (AREA)
PCT/JP2015/083430 2014-11-29 2015-11-27 ロボットアーム機構 Ceased WO2016084943A1 (ja)

Priority Applications (3)

Application Number Priority Date Filing Date Title
EP15862345.4A EP3225367B1 (en) 2014-11-29 2015-11-27 Robot arm mechanism
CN201580064927.4A CN107000221B (zh) 2014-11-29 2015-11-27 机械臂机构
US15/605,376 US10131058B2 (en) 2014-11-29 2017-05-25 Robot arm mechanism

Applications Claiming Priority (2)

Application Number Priority Date Filing Date Title
JP2014242673A JP6508704B2 (ja) 2014-11-29 2014-11-29 ロボットアーム機構
JP2014-242673 2014-11-29

Related Child Applications (1)

Application Number Title Priority Date Filing Date
US15/605,376 Continuation US10131058B2 (en) 2014-11-29 2017-05-25 Robot arm mechanism

Publications (1)

Publication Number Publication Date
WO2016084943A1 true WO2016084943A1 (ja) 2016-06-02

Family

ID=56074488

Family Applications (1)

Application Number Title Priority Date Filing Date
PCT/JP2015/083430 Ceased WO2016084943A1 (ja) 2014-11-29 2015-11-27 ロボットアーム機構

Country Status (6)

Country Link
US (1) US10131058B2 (enExample)
EP (1) EP3225367B1 (enExample)
JP (1) JP6508704B2 (enExample)
CN (1) CN107000221B (enExample)
TW (1) TW201628808A (enExample)
WO (1) WO2016084943A1 (enExample)

Cited By (1)

* Cited by examiner, † Cited by third party
Publication number Priority date Publication date Assignee Title
DE112017003832B4 (de) 2016-07-30 2023-05-17 Life Robotics Inc. Roboterarmmechanismus

Families Citing this family (17)

* Cited by examiner, † Cited by third party
Publication number Priority date Publication date Assignee Title
JP6468804B2 (ja) * 2014-10-30 2019-02-13 ライフロボティクス株式会社 ロボットアーム機構
JP2016117127A (ja) 2014-12-20 2016-06-30 ライフロボティクス株式会社 ロボットアーム機構
JP2016124068A (ja) * 2014-12-27 2016-07-11 ライフロボティクス株式会社 ロボットアーム機構及び直動伸縮機構
JP2016136060A (ja) * 2015-01-24 2016-07-28 ライフロボティクス株式会社 直動伸縮機構及びロボットアーム機構
JP6605847B2 (ja) * 2015-06-05 2019-11-13 ライフロボティクス株式会社 ロボットアーム機構
CN108368916B (zh) * 2015-11-30 2020-04-21 生活机器人学股份有限公司 直动伸缩机构
CN108698236A (zh) * 2016-02-29 2018-10-23 生活机器人学股份有限公司 机械臂机构及直动伸缩机构
CN108698237B (zh) * 2016-02-29 2022-01-04 生活机器人学股份有限公司 直动伸缩机构及具有该直动伸缩机构的机械臂机构
DE112017001656B4 (de) * 2016-03-29 2022-12-22 Life Robotics Inc. Roboterarmmechanismus und Drehgelenkvorrichtung
DE112017001742T5 (de) * 2016-03-29 2018-12-27 Life Robotics Inc. Torsionsgelenkmechanismus, Roboterarmmechanismus und freitragender Drehmechanismus
JP2019162670A (ja) * 2016-07-30 2019-09-26 ライフロボティクス株式会社 ロボットアーム機構
US12042932B2 (en) * 2017-12-06 2024-07-23 Solwr Robotics As Robot picking assembly
CN108556965B (zh) * 2018-01-29 2023-08-11 上汽大众汽车有限公司 一种混合动力电池零件安装方法及安装设备
CN111000635B (zh) * 2019-12-06 2020-09-18 河南省肿瘤医院 一种肿瘤切除用机械臂机构
CN110815254B (zh) * 2019-12-06 2025-03-14 深圳优艾智合机器人科技有限公司 一种柔性结构、柔性连接件、执行机构、机械臂及机器人
JP7314857B2 (ja) * 2020-04-30 2023-07-26 トヨタ自動車株式会社 伸縮機構及び移動体
US20220204266A1 (en) * 2020-12-30 2022-06-30 Trinity Axis Inc. Systems And Methods To Dispense Items From A Vending Machine

Citations (4)

* Cited by examiner, † Cited by third party
Publication number Priority date Publication date Assignee Title
JPH053300U (ja) * 1991-07-03 1993-01-19 住友金属工業株式会社 移送装置
JP2011144832A (ja) * 2010-01-12 2011-07-28 Tsubakimoto Chain Co 噛合チェーン式進退作動装置
WO2011152265A1 (ja) * 2010-05-31 2011-12-08 独立行政法人産業技術総合研究所 直動伸縮アーム機構および当該直動伸縮アーム機構を備えたロボットアーム
JP2014139482A (ja) * 2014-04-22 2014-07-31 Ntn Corp チェーンガイド

Family Cites Families (14)

* Cited by examiner, † Cited by third party
Publication number Priority date Publication date Assignee Title
SE419421B (sv) * 1979-03-16 1981-08-03 Ove Larson Bojlig arm i synnerhet robotarm
US4473365A (en) * 1980-11-26 1984-09-25 Lapeyre James M Detachable link chain
JPH0429660A (ja) * 1990-05-25 1992-01-31 Asahi Okuma Ind Co Ltd 往復移動装置
JPH053300A (ja) 1990-10-05 1993-01-08 Nippon Steel Corp 半導体装置
JPH07116986A (ja) * 1993-10-22 1995-05-09 Mitsubishi Electric Corp 産業用ロボット
GB9617538D0 (en) * 1996-08-21 1996-10-02 Weatherford Oil Tool Positioning device
DE29706739U1 (de) * 1997-04-15 1997-06-12 Grasl, Andreas, Ing., Heiligeneich Einrichtung zur Übertragung einer Kraft, insbesondere Druckkraft, längs einer im wesentlichen geraden Strecke
JP3898182B2 (ja) * 2003-12-17 2007-03-28 学校法人東京理科大学 伸縮機構
US7621078B2 (en) * 2005-01-20 2009-11-24 Drs Sustainment Systems, Inc. Telescoping mast having variable height locking and a chain erection mechanism with a cable management system
US7258521B2 (en) * 2005-05-31 2007-08-21 Scriptpro Llc Chain-driven robotic arm
WO2010070915A1 (ja) * 2008-12-19 2010-06-24 株式会社川渕機械技術研究所 直動伸縮機構及び当該直動伸縮機構を備えたロボットアーム
US8899359B1 (en) * 2010-11-05 2014-12-02 The Boeing Company Locomotion system for robotic snake
US9294737B2 (en) * 2012-08-23 2016-03-22 Siemens Energy, Inc. Flexible linkage camera system and method for visual inspection of off line industrial gas turbines and other power generation machinery
JP6468804B2 (ja) * 2014-10-30 2019-02-13 ライフロボティクス株式会社 ロボットアーム機構

Patent Citations (4)

* Cited by examiner, † Cited by third party
Publication number Priority date Publication date Assignee Title
JPH053300U (ja) * 1991-07-03 1993-01-19 住友金属工業株式会社 移送装置
JP2011144832A (ja) * 2010-01-12 2011-07-28 Tsubakimoto Chain Co 噛合チェーン式進退作動装置
WO2011152265A1 (ja) * 2010-05-31 2011-12-08 独立行政法人産業技術総合研究所 直動伸縮アーム機構および当該直動伸縮アーム機構を備えたロボットアーム
JP2014139482A (ja) * 2014-04-22 2014-07-31 Ntn Corp チェーンガイド

Non-Patent Citations (1)

* Cited by examiner, † Cited by third party
Title
See also references of EP3225367A4 *

Cited By (1)

* Cited by examiner, † Cited by third party
Publication number Priority date Publication date Assignee Title
DE112017003832B4 (de) 2016-07-30 2023-05-17 Life Robotics Inc. Roboterarmmechanismus

Also Published As

Publication number Publication date
TW201628808A (zh) 2016-08-16
EP3225367A1 (en) 2017-10-04
JP2016101652A (ja) 2016-06-02
US10131058B2 (en) 2018-11-20
EP3225367B1 (en) 2019-09-04
CN107000221B (zh) 2020-04-14
US20170266819A1 (en) 2017-09-21
CN107000221A (zh) 2017-08-01
EP3225367A4 (en) 2018-08-08
JP6508704B2 (ja) 2019-05-08

Similar Documents

Publication Publication Date Title
WO2016084943A1 (ja) ロボットアーム機構
CN107107345B (zh) 机械臂机构
CN107107334B (zh) 机械臂机构
JP2016136059A (ja) 連結コマ、直動伸縮機構及びロボットアーム機構
WO2016068106A1 (ja) ロボットアーム機構
WO2016104807A1 (ja) ロボットアーム機構及び直動伸縮機構
WO2017170306A1 (ja) 直動伸縮機構及びロボットアーム機構
WO2017150315A1 (ja) 直動伸縮機構及びそれを備えたロボットアーム機構
WO2016098815A1 (ja) ロボットアーム機構
WO2017208872A1 (ja) 直動伸縮機構
JP6514024B2 (ja) ロボットアーム機構
JP2016136060A (ja) 直動伸縮機構及びロボットアーム機構
WO2016108281A1 (ja) 直動伸縮機構及びロボットアーム機構
JP2016160962A (ja) 曲動伸縮機構及びロボットアーム機構
JP6662581B2 (ja) ロボットアーム機構
JP2016160963A (ja) 曲動伸縮機構及びロボットアーム機構
JP2016160964A (ja) 直動伸縮機構及びロボットアーム機構
JP2016168646A (ja) 直動伸縮機構及びロボットアーム機構
WO2018025726A1 (ja) ロボットアーム機構
JP2016101645A (ja) ロボットアーム機構
WO2017030104A1 (ja) 回転関節部のカバー装置

Legal Events

Date Code Title Description
121 Ep: the epo has been informed by wipo that ep was designated in this application

Ref document number: 15862345

Country of ref document: EP

Kind code of ref document: A1

NENP Non-entry into the national phase

Ref country code: DE

REEP Request for entry into the european phase

Ref document number: 2015862345

Country of ref document: EP