WO2016047116A1 - 電子装置、及び電子装置を備えた電子構造体 - Google Patents

電子装置、及び電子装置を備えた電子構造体 Download PDF

Info

Publication number
WO2016047116A1
WO2016047116A1 PCT/JP2015/004756 JP2015004756W WO2016047116A1 WO 2016047116 A1 WO2016047116 A1 WO 2016047116A1 JP 2015004756 W JP2015004756 W JP 2015004756W WO 2016047116 A1 WO2016047116 A1 WO 2016047116A1
Authority
WO
WIPO (PCT)
Prior art keywords
electronic device
cap
base material
electronic
hole
Prior art date
Legal status (The legal status is an assumption and is not a legal conclusion. Google has not performed a legal analysis and makes no representation as to the accuracy of the status listed.)
Ceased
Application number
PCT/JP2015/004756
Other languages
English (en)
French (fr)
Japanese (ja)
Inventor
聖 吉水
祐紀 眞田
Current Assignee (The listed assignees may be inaccurate. Google has not performed a legal analysis and makes no representation or warranty as to the accuracy of the list.)
Denso Corp
Original Assignee
Denso Corp
Priority date (The priority date is an assumption and is not a legal conclusion. Google has not performed a legal analysis and makes no representation as to the accuracy of the date listed.)
Filing date
Publication date
Application filed by Denso Corp filed Critical Denso Corp
Priority to US15/507,364 priority Critical patent/US9980407B2/en
Priority to CN201580050573.8A priority patent/CN106796921B/zh
Publication of WO2016047116A1 publication Critical patent/WO2016047116A1/ja
Anticipated expiration legal-status Critical
Ceased legal-status Critical Current

Links

Images

Classifications

    • HELECTRICITY
    • H05ELECTRIC TECHNIQUES NOT OTHERWISE PROVIDED FOR
    • H05KPRINTED CIRCUITS; CASINGS OR CONSTRUCTIONAL DETAILS OF ELECTRIC APPARATUS; MANUFACTURE OF ASSEMBLAGES OF ELECTRICAL COMPONENTS
    • H05K1/00Printed circuits
    • H05K1/02Details
    • H05K1/11Printed elements for providing electric connections to or between printed circuits
    • H05K1/117Pads along the edge of rigid circuit boards, e.g. for pluggable connectors
    • HELECTRICITY
    • H05ELECTRIC TECHNIQUES NOT OTHERWISE PROVIDED FOR
    • H05KPRINTED CIRCUITS; CASINGS OR CONSTRUCTIONAL DETAILS OF ELECTRIC APPARATUS; MANUFACTURE OF ASSEMBLAGES OF ELECTRICAL COMPONENTS
    • H05K7/00Constructional details common to different types of electric apparatus
    • H05K7/14Mounting supporting structure in casing or on frame or rack
    • H05K7/1422Printed circuit boards receptacles, e.g. stacked structures, electronic circuit modules or box like frames
    • H05K7/1427Housings
    • HELECTRICITY
    • H01ELECTRIC ELEMENTS
    • H01GCAPACITORS; CAPACITORS, RECTIFIERS, DETECTORS, SWITCHING DEVICES, LIGHT-SENSITIVE OR TEMPERATURE-SENSITIVE DEVICES OF THE ELECTROLYTIC TYPE
    • H01G2/00Details of capacitors not covered by a single one of groups H01G4/00-H01G11/00
    • H01G2/02Mountings
    • H01G2/06Mountings specially adapted for mounting on a printed-circuit support
    • H01G2/065Mountings specially adapted for mounting on a printed-circuit support for surface mounting, e.g. chip capacitors
    • HELECTRICITY
    • H01ELECTRIC ELEMENTS
    • H01GCAPACITORS; CAPACITORS, RECTIFIERS, DETECTORS, SWITCHING DEVICES, LIGHT-SENSITIVE OR TEMPERATURE-SENSITIVE DEVICES OF THE ELECTROLYTIC TYPE
    • H01G2/00Details of capacitors not covered by a single one of groups H01G4/00-H01G11/00
    • H01G2/08Cooling arrangements; Heating arrangements; Ventilating arrangements
    • HELECTRICITY
    • H01ELECTRIC ELEMENTS
    • H01GCAPACITORS; CAPACITORS, RECTIFIERS, DETECTORS, SWITCHING DEVICES, LIGHT-SENSITIVE OR TEMPERATURE-SENSITIVE DEVICES OF THE ELECTROLYTIC TYPE
    • H01G2/00Details of capacitors not covered by a single one of groups H01G4/00-H01G11/00
    • H01G2/10Housing; Encapsulation
    • H01G2/103Sealings, e.g. for lead-in wires; Covers
    • HELECTRICITY
    • H01ELECTRIC ELEMENTS
    • H01LSEMICONDUCTOR DEVICES NOT COVERED BY CLASS H10
    • H01L21/00Processes or apparatus adapted for the manufacture or treatment of semiconductor or solid state devices or of parts thereof
    • H01L21/02Manufacture or treatment of semiconductor devices or of parts thereof
    • H01L21/04Manufacture or treatment of semiconductor devices or of parts thereof the devices having potential barriers, e.g. a PN junction, depletion layer or carrier concentration layer
    • H01L21/50Assembly of semiconductor devices using processes or apparatus not provided for in a single one of the groups H01L21/18 - H01L21/326 or H10D48/04 - H10D48/07 e.g. sealing of a cap to a base of a container
    • H01L21/56Encapsulations, e.g. encapsulation layers, coatings
    • H01L21/565Moulds
    • HELECTRICITY
    • H01ELECTRIC ELEMENTS
    • H01LSEMICONDUCTOR DEVICES NOT COVERED BY CLASS H10
    • H01L23/00Details of semiconductor or other solid state devices
    • H01L23/02Containers; Seals
    • H01L23/04Containers; Seals characterised by the shape of the container or parts, e.g. caps, walls
    • H01L23/041Containers; Seals characterised by the shape of the container or parts, e.g. caps, walls the container being a hollow construction having no base used as a mounting for the semiconductor body
    • HELECTRICITY
    • H01ELECTRIC ELEMENTS
    • H01LSEMICONDUCTOR DEVICES NOT COVERED BY CLASS H10
    • H01L23/00Details of semiconductor or other solid state devices
    • H01L23/02Containers; Seals
    • H01L23/04Containers; Seals characterised by the shape of the container or parts, e.g. caps, walls
    • H01L23/053Containers; Seals characterised by the shape of the container or parts, e.g. caps, walls the container being a hollow construction and having an insulating or insulated base as a mounting for the semiconductor body
    • HELECTRICITY
    • H01ELECTRIC ELEMENTS
    • H01LSEMICONDUCTOR DEVICES NOT COVERED BY CLASS H10
    • H01L23/00Details of semiconductor or other solid state devices
    • H01L23/02Containers; Seals
    • H01L23/10Containers; Seals characterised by the material or arrangement of seals between parts, e.g. between cap and base of the container or between leads and walls of the container
    • HELECTRICITY
    • H01ELECTRIC ELEMENTS
    • H01LSEMICONDUCTOR DEVICES NOT COVERED BY CLASS H10
    • H01L23/00Details of semiconductor or other solid state devices
    • H01L23/12Mountings, e.g. non-detachable insulating substrates
    • HELECTRICITY
    • H01ELECTRIC ELEMENTS
    • H01LSEMICONDUCTOR DEVICES NOT COVERED BY CLASS H10
    • H01L23/00Details of semiconductor or other solid state devices
    • H01L23/28Encapsulations, e.g. encapsulating layers, coatings, e.g. for protection
    • HELECTRICITY
    • H01ELECTRIC ELEMENTS
    • H01LSEMICONDUCTOR DEVICES NOT COVERED BY CLASS H10
    • H01L23/00Details of semiconductor or other solid state devices
    • H01L23/48Arrangements for conducting electric current to or from the solid state body in operation, e.g. leads, terminal arrangements ; Selection of materials therefor
    • H01L23/488Arrangements for conducting electric current to or from the solid state body in operation, e.g. leads, terminal arrangements ; Selection of materials therefor consisting of soldered or bonded constructions
    • H01L23/498Leads, i.e. metallisations or lead-frames on insulating substrates, e.g. chip carriers
    • H01L23/49827Via connections through the substrates, e.g. pins going through the substrate, coaxial cables
    • HELECTRICITY
    • H01ELECTRIC ELEMENTS
    • H01LSEMICONDUCTOR DEVICES NOT COVERED BY CLASS H10
    • H01L23/00Details of semiconductor or other solid state devices
    • H01L23/48Arrangements for conducting electric current to or from the solid state body in operation, e.g. leads, terminal arrangements ; Selection of materials therefor
    • H01L23/488Arrangements for conducting electric current to or from the solid state body in operation, e.g. leads, terminal arrangements ; Selection of materials therefor consisting of soldered or bonded constructions
    • H01L23/498Leads, i.e. metallisations or lead-frames on insulating substrates, e.g. chip carriers
    • H01L23/49838Geometry or layout
    • H01L23/49844Geometry or layout for individual devices of subclass H10D
    • HELECTRICITY
    • H05ELECTRIC TECHNIQUES NOT OTHERWISE PROVIDED FOR
    • H05KPRINTED CIRCUITS; CASINGS OR CONSTRUCTIONAL DETAILS OF ELECTRIC APPARATUS; MANUFACTURE OF ASSEMBLAGES OF ELECTRICAL COMPONENTS
    • H05K1/00Printed circuits
    • H05K1/02Details
    • H05K1/0201Thermal arrangements, e.g. for cooling, heating or preventing overheating
    • H05K1/0203Cooling of mounted components
    • HELECTRICITY
    • H05ELECTRIC TECHNIQUES NOT OTHERWISE PROVIDED FOR
    • H05KPRINTED CIRCUITS; CASINGS OR CONSTRUCTIONAL DETAILS OF ELECTRIC APPARATUS; MANUFACTURE OF ASSEMBLAGES OF ELECTRICAL COMPONENTS
    • H05K1/00Printed circuits
    • H05K1/02Details
    • H05K1/11Printed elements for providing electric connections to or between printed circuits
    • H05K1/115Via connections; Lands around holes or via connections
    • HELECTRICITY
    • H05ELECTRIC TECHNIQUES NOT OTHERWISE PROVIDED FOR
    • H05KPRINTED CIRCUITS; CASINGS OR CONSTRUCTIONAL DETAILS OF ELECTRIC APPARATUS; MANUFACTURE OF ASSEMBLAGES OF ELECTRICAL COMPONENTS
    • H05K1/00Printed circuits
    • H05K1/18Printed circuits structurally associated with non-printed electric components
    • H05K1/181Printed circuits structurally associated with non-printed electric components associated with surface mounted components
    • HELECTRICITY
    • H05ELECTRIC TECHNIQUES NOT OTHERWISE PROVIDED FOR
    • H05KPRINTED CIRCUITS; CASINGS OR CONSTRUCTIONAL DETAILS OF ELECTRIC APPARATUS; MANUFACTURE OF ASSEMBLAGES OF ELECTRICAL COMPONENTS
    • H05K3/00Apparatus or processes for manufacturing printed circuits
    • H05K3/22Secondary treatment of printed circuits
    • H05K3/28Applying non-metallic protective coatings
    • H05K3/284Applying non-metallic protective coatings for encapsulating mounted components
    • HELECTRICITY
    • H01ELECTRIC ELEMENTS
    • H01LSEMICONDUCTOR DEVICES NOT COVERED BY CLASS H10
    • H01L23/00Details of semiconductor or other solid state devices
    • H01L23/28Encapsulations, e.g. encapsulating layers, coatings, e.g. for protection
    • H01L23/31Encapsulations, e.g. encapsulating layers, coatings, e.g. for protection characterised by the arrangement or shape
    • H01L23/3107Encapsulations, e.g. encapsulating layers, coatings, e.g. for protection characterised by the arrangement or shape the device being completely enclosed
    • H01L23/3121Encapsulations, e.g. encapsulating layers, coatings, e.g. for protection characterised by the arrangement or shape the device being completely enclosed a substrate forming part of the encapsulation
    • HELECTRICITY
    • H01ELECTRIC ELEMENTS
    • H01LSEMICONDUCTOR DEVICES NOT COVERED BY CLASS H10
    • H01L23/00Details of semiconductor or other solid state devices
    • H01L23/34Arrangements for cooling, heating, ventilating or temperature compensation ; Temperature sensing arrangements
    • H01L23/36Selection of materials, or shaping, to facilitate cooling or heating, e.g. heatsinks
    • H01L23/367Cooling facilitated by shape of device
    • H01L23/3675Cooling facilitated by shape of device characterised by the shape of the housing
    • HELECTRICITY
    • H01ELECTRIC ELEMENTS
    • H01LSEMICONDUCTOR DEVICES NOT COVERED BY CLASS H10
    • H01L2924/00Indexing scheme for arrangements or methods for connecting or disconnecting semiconductor or solid-state bodies as covered by H01L24/00
    • H01L2924/0001Technical content checked by a classifier
    • H01L2924/0002Not covered by any one of groups H01L24/00, H01L24/00 and H01L2224/00
    • HELECTRICITY
    • H05ELECTRIC TECHNIQUES NOT OTHERWISE PROVIDED FOR
    • H05KPRINTED CIRCUITS; CASINGS OR CONSTRUCTIONAL DETAILS OF ELECTRIC APPARATUS; MANUFACTURE OF ASSEMBLAGES OF ELECTRICAL COMPONENTS
    • H05K2201/00Indexing scheme relating to printed circuits covered by H05K1/00
    • H05K2201/09Shape and layout
    • H05K2201/09209Shape and layout details of conductors
    • H05K2201/095Conductive through-holes or vias
    • H05K2201/09609Via grid, i.e. two-dimensional array of vias or holes in a single plane
    • HELECTRICITY
    • H05ELECTRIC TECHNIQUES NOT OTHERWISE PROVIDED FOR
    • H05KPRINTED CIRCUITS; CASINGS OR CONSTRUCTIONAL DETAILS OF ELECTRIC APPARATUS; MANUFACTURE OF ASSEMBLAGES OF ELECTRICAL COMPONENTS
    • H05K2201/00Indexing scheme relating to printed circuits covered by H05K1/00
    • H05K2201/10Details of components or other objects attached to or integrated in a printed circuit board
    • H05K2201/10007Types of components
    • H05K2201/10015Non-printed capacitor
    • HELECTRICITY
    • H05ELECTRIC TECHNIQUES NOT OTHERWISE PROVIDED FOR
    • H05KPRINTED CIRCUITS; CASINGS OR CONSTRUCTIONAL DETAILS OF ELECTRIC APPARATUS; MANUFACTURE OF ASSEMBLAGES OF ELECTRICAL COMPONENTS
    • H05K2201/00Indexing scheme relating to printed circuits covered by H05K1/00
    • H05K2201/10Details of components or other objects attached to or integrated in a printed circuit board
    • H05K2201/10007Types of components
    • H05K2201/10166Transistor
    • HELECTRICITY
    • H05ELECTRIC TECHNIQUES NOT OTHERWISE PROVIDED FOR
    • H05KPRINTED CIRCUITS; CASINGS OR CONSTRUCTIONAL DETAILS OF ELECTRIC APPARATUS; MANUFACTURE OF ASSEMBLAGES OF ELECTRICAL COMPONENTS
    • H05K2201/00Indexing scheme relating to printed circuits covered by H05K1/00
    • H05K2201/10Details of components or other objects attached to or integrated in a printed circuit board
    • H05K2201/10227Other objects, e.g. metallic pieces
    • H05K2201/10295Metallic connector elements partly mounted in a hole of the PCB
    • H05K2201/10303Pin-in-hole mounted pins
    • HELECTRICITY
    • H05ELECTRIC TECHNIQUES NOT OTHERWISE PROVIDED FOR
    • H05KPRINTED CIRCUITS; CASINGS OR CONSTRUCTIONAL DETAILS OF ELECTRIC APPARATUS; MANUFACTURE OF ASSEMBLAGES OF ELECTRICAL COMPONENTS
    • H05K2201/00Indexing scheme relating to printed circuits covered by H05K1/00
    • H05K2201/10Details of components or other objects attached to or integrated in a printed circuit board
    • H05K2201/10227Other objects, e.g. metallic pieces
    • H05K2201/10371Shields or metal cases
    • HELECTRICITY
    • H05ELECTRIC TECHNIQUES NOT OTHERWISE PROVIDED FOR
    • H05KPRINTED CIRCUITS; CASINGS OR CONSTRUCTIONAL DETAILS OF ELECTRIC APPARATUS; MANUFACTURE OF ASSEMBLAGES OF ELECTRICAL COMPONENTS
    • H05K2201/00Indexing scheme relating to printed circuits covered by H05K1/00
    • H05K2201/10Details of components or other objects attached to or integrated in a printed circuit board
    • H05K2201/10431Details of mounted components
    • H05K2201/1056Metal over component, i.e. metal plate over component mounted on or embedded in PCB
    • HELECTRICITY
    • H05ELECTRIC TECHNIQUES NOT OTHERWISE PROVIDED FOR
    • H05KPRINTED CIRCUITS; CASINGS OR CONSTRUCTIONAL DETAILS OF ELECTRIC APPARATUS; MANUFACTURE OF ASSEMBLAGES OF ELECTRICAL COMPONENTS
    • H05K2201/00Indexing scheme relating to printed circuits covered by H05K1/00
    • H05K2201/10Details of components or other objects attached to or integrated in a printed circuit board
    • H05K2201/10431Details of mounted components
    • H05K2201/1059Connections made by press-fit insertion
    • HELECTRICITY
    • H05ELECTRIC TECHNIQUES NOT OTHERWISE PROVIDED FOR
    • H05KPRINTED CIRCUITS; CASINGS OR CONSTRUCTIONAL DETAILS OF ELECTRIC APPARATUS; MANUFACTURE OF ASSEMBLAGES OF ELECTRICAL COMPONENTS
    • H05K2203/00Indexing scheme relating to apparatus or processes for manufacturing printed circuits covered by H05K3/00
    • H05K2203/13Moulding and encapsulation; Deposition techniques; Protective layers
    • H05K2203/1305Moulding and encapsulation
    • H05K2203/1327Moulding over PCB locally or completely

Definitions

  • the present disclosure relates to an electronic device including a circuit board provided with a through hole into which a terminal is inserted, and an electronic structure including the electronic device.
  • Patent Document 1 there is a technique in which a terminal is inserted into a through hole provided in a circuit board.
  • an electronic device in which an electronic component is mounted on the circuit board and the electronic component is sealed with a sealing resin is conceivable.
  • the terminal and a peripheral member may be electrically connected unintentionally.
  • a sealing resin in order to electrically insulate a terminal and a peripheral member, it is conceivable to form a sealing resin so as to reach a region facing the through hole.
  • the peripheral members here are different potential members having different potentials from the terminals.
  • the sealing resin is formed in a state where the protrusions of the mold are inserted into the through holes and the through holes are closed.
  • the position of the through hole is limited to the position of the protrusion in the mold. Further, in order to change the position of the through hole, it is necessary to process the mold and change the position of the protrusion. Therefore, such an electronic device has a low degree of freedom in the through-hole position.
  • This disclosure provides an electronic device and an electronic structure including the electronic device that can improve the degree of freedom of the through-hole position while ensuring the insulation of the terminal inserted into the through-hole.
  • An electronic device includes an insulating base material, a wiring formed on the base material, an electronic component mounted on the base material and electrically connected to the wiring, A circuit board including at least one through hole formed so as to penetrate from one surface of the base material to an opposite surface of the one surface of the base material and having a conductive member electrically connected to the wiring on the surface A sealing resin that seals the electronic component, an annular connection portion that is mounted on the base material and includes a portion connected to the base material, and the annular connection And a cap including a recess recessed from the portion.
  • connection portion In the cap, at least a part of the connection portion is in the state where the concave portion faces one of an opening end of one surface of the base material in the through hole and an opening end of the opposite surface of the base material. Is connected to the through-hole and is integrally sealed with the electronic component by the sealing resin, and a terminal is inserted into the through-hole to be electrically connected to the wiring. Become connected.
  • the electronic device even if the tip of the terminal inserted into the through hole is exposed from the through hole, the tip is covered with the cap and the sealing resin. That is, even when the tip of the terminal is exposed from the through hole, the electronic device is only disposed in a space communicating with the through hole and is not exposed to the outside of the sealing resin. Therefore, when the terminal is inserted into the through hole, the electronic device can ensure insulation between the terminal and the different potential member.
  • the electronic device has a cap on the through hole. For this reason, the electronic device can suppress the sealing resin from entering the through hole when the sealing resin is provided. Since the electronic device prevents the sealing resin from entering the through-hole by the cap in this way, when the sealing resin is provided on a base material having a different through-hole position, the cap is matched to the through-hole position. Change the position of. Therefore, the electronic device does not need to process the mold when providing the sealing resin on the base materials having different through-hole positions. Therefore, the electronic device can improve the freedom degree of a through-hole position.
  • An electronic structure forms the electronic device as described above, the terminal, and an accommodating space for accommodating the electronic device, and accommodates the electronic device in the accommodating space.
  • the housing member is made of metal, includes a portion facing the surface on which the cap is mounted on the base material, and is joined to the first member and the first member in contact with the electronic device.
  • a second member that forms the housing space includes a portion of the substrate facing the surface on which the cap is not mounted, and the terminal projects from the housing space.
  • the electronic structure an accommodation space is formed by the first member and the second member, and the electronic device is accommodated in the accommodation space. Therefore, the electronic structure can suppress foreign matter from adhering to the electronic device.
  • the first member made of metal is in contact with the electronic device. Therefore, the electronic structure can dissipate heat through the first member even when heat is emitted from the electronic device.
  • the electronic device can ensure insulation between the terminal and the different potential member as described above. Therefore, the electronic structure can ensure the insulation between the terminal and the first member even if the first member is made of metal and includes a portion of the base material facing the surface on which the cap is mounted.
  • FIG. 1 is a cross-sectional view illustrating a schematic configuration of an electronic structure according to an embodiment.
  • FIG. 2 is a plan view illustrating a schematic configuration of the electronic device according to the embodiment.
  • 3 is a cross-sectional view taken along line III-III in FIG.
  • FIG. 4 is a perspective view showing a schematic configuration of the cap in the embodiment.
  • FIG. 5 is a cross-sectional view illustrating a manufacturing process of the electronic device according to the embodiment.
  • FIG. 6 is a cross-sectional view showing a schematic configuration of the electronic structure in Modification 1.
  • FIG. 1 is a cross-sectional view illustrating a schematic configuration of an electronic structure according to an embodiment.
  • FIG. 2 is a plan view illustrating a schematic configuration of the electronic device according to the embodiment.
  • 3 is a cross-sectional view taken along line III-III in FIG.
  • FIG. 4 is a perspective view showing a schematic configuration of the cap in the embodiment.
  • FIG. 5 is a cross-sectional
  • FIG. 7 is a cross-sectional view showing a schematic configuration of the electronic structure in Modification 2.
  • FIG. 8 is a plan view showing a schematic configuration of a cap in Modification 3.
  • FIG. 9 is a sectional view taken along line IX-IX in FIG.
  • FIG. 10 is a plan view showing a schematic configuration of a cap in Modification Example 4
  • FIG. 11 is a cross-sectional view taken along line XI-XI in FIG.
  • FIG. 12 is a plan view showing a schematic configuration of a base material in Modification Example 5
  • FIG. 13 is a plan view showing a schematic configuration of the base substrate in Modification 6.
  • FIG. 14 is a bottom view showing a schematic configuration of an electronic device according to Modification 6.
  • FIG. 14 is a bottom view showing a schematic configuration of an electronic device according to Modification 6.
  • FIG. 15 is a top view illustrating a schematic configuration of an electronic device according to Modification Example 6, 16 is a cross-sectional view taken along line XVI-XVI in FIG.
  • FIG. 17 is a cross-sectional view showing a schematic configuration of the electronic structure in Modification Example 7, and
  • FIG. 18 is a cross-sectional view showing a schematic configuration of an electronic structure in Modification 8.
  • the electronic structure 100 includes an electronic device 10, a terminal 20, and a first member 31 and a second member 32 that form an accommodation space for accommodating the electronic device 10. Configured.
  • the electronic device 10 includes a base material 11, a mold resin 12, a cap 13, an electronic component 14, and the like. The electronic device 10 will be described in detail later.
  • the terminal 20 is a part of a connector of an external device provided outside the electronic device 10.
  • the terminal 20 employs a press-fit terminal provided with a deformed portion 21.
  • the terminal 20 employs a so-called press-fit terminal.
  • the deformed portion 21 is deformed by inserting the terminal 20 into a through hole TH provided in the electronic device 10 described later.
  • the deformed portion 21 is a portion that stays in the through hole TH when the terminal 20 is inserted into the through hole TH.
  • transformation part 21 has a ring shape.
  • the terminal 20 is configured such that the deformation portion 21 is deformed when inserted into the through hole TH. That is, when the deformed portion 21 is inserted into the through hole TH, the deformed portion 21 receives stress from the conductive member 18 provided on the surface of the through hole TH. Therefore, it can be said that the terminal 20 is press-fitted into the through hole TH. Further, it can be said that the terminal 20 is in contact with the conductive member 18 by the reaction force of the deformable portion 21.
  • the terminal 20 is press-fitted into the through hole TH and is electrically connected to the electronic device 10.
  • the terminal 20 is provided on a second member 32 which will be described later. More specifically, in the terminal 20, a portion disposed in the accommodation space s2, such as the deforming portion 21, a portion embedded in the second member 32, and a portion disposed outside the accommodation space s2 are integrated. Is formed. However, here, illustration of a portion embedded in the second member 32 and a portion disposed outside the accommodation space s2 is omitted.
  • the first member 31 and the second member 32 correspond to housing members. That is, the first member 31 and the second member 32 are cases that house the electronic device 10.
  • the first member 31 is a lid that closes the opening of the box-shaped second member 32, and is joined to the second member 32 to form an accommodation space s ⁇ b> 2 of the electronic device 10. Yes.
  • the first member 31 includes a portion facing the surface of the base 11 of the electronic device 10 where the cap 13 is mounted, and is mechanically connected to the electronic device 10 via an adhesive 40.
  • an example is employed in which the first member 31 and the mold resin 12 of the electronic device 10 are mechanically connected via the adhesive 40.
  • the first member 31 is made of metal and has a function as a heat radiating member. That is, the first member 31 dissipates heat generated from the electronic device 10 from the mold resin 12 side. More specifically, the first member 31 radiates heat generated by the operation of the electronic component 14 provided in the electronic device 10. For this reason, the 1st member 31 can employ
  • the adhesive 40 employs a heat dissipating adhesive to transmit heat generated from the electronic device 10 to the first member 31. That is, the adhesive 40 has a function for mechanically connecting the mold resin 12 and the first member 31 and a function for transferring the heat generated from the electronic device 10 to the first member 31. Yes.
  • the adhesive 40 corresponds to a member having heat dissipation properties.
  • the first member 31 and the electronic device 10 are mechanically connected via the adhesive 40 .
  • the present disclosure is not limited to this.
  • the first member 31 and the electronic device 10 may be in contact with, for example, heat radiation grease mainly containing silicone. That is, the first member 31 and the electronic device 10 may be in contact with each other via a member having a function for transmitting heat generated from the electronic device 10 to the first member 31.
  • heat radiation grease can be employed instead of the adhesive 40.
  • the second member 32 is joined to the first member 31 to form the accommodation space s2, includes a portion facing the surface of the substrate 11 where the cap 13 is not mounted, and the terminal 20 is in the accommodation space s2. Protrusively provided.
  • the second member 32 is a box-shaped member having a bottom portion and an annular side wall portion protruding from the bottom portion. In other words, the second member 32 is a box member having one surface opened. The opening of the second member 32 is closed by the first member 31 by joining the first member 31 to the tip of the side wall portion.
  • the bottom portion includes a portion facing the surface of the base material 11 where the cap 13 is not mounted.
  • the second member 32 is made of, for example, resin, and the terminal 20 is insert-molded.
  • the second member 32 is employed in which a part of the terminal 20 is provided so as to protrude from the bottom to the accommodation space s2.
  • the electronic device 10 includes a circuit board and a mold resin 12. As shown in FIG. 1 and FIG. 3, the circuit board is electrically connected to the insulating base material 11, wiring 17 formed on the base material 11, and mounted on the base material 11. A circuit board including the electronic component 14 is included.
  • the electronic device 10 has a through-hole TH in which a conductive member 18 formed so as to penetrate from the one surface a1 of the base material 11 to the opposite surface a2 of the one surface a1 and electrically connected to the wiring 17 is formed on the surface. Is formed.
  • the base material 11 is made of an insulating material such as resin or ceramic.
  • the base material 11 has a flat plate shape, for example, and has a surface a1 and a surface a2 opposite to the surface a1.
  • the substrate 11 is also formed with a laser via hole or a blind via hole as an interlayer connection member.
  • the substrate 11 has at least one through hole TH formed therein.
  • the base material 11 in which a plurality of through holes TH are formed is employed. More specifically, in the present embodiment, an example is adopted in which through holes TH are provided in two rows at both ends of the base material 11.
  • This through hole TH is a part for electrically connecting the terminal 20 and the wiring 17 and is provided in the same number as the number of terminals 20 of the external device or more than the number of terminals 20 of the external device. .
  • Each through hole TH has one opening covered with a cap 13. The cap 13 will be described later.
  • the wiring 17 is made of a conductive member, and is formed inside or on the surface of the base material 11.
  • the wiring 17 is formed in a foil shape, for example. Further, the wiring 17 includes a land on which the electronic component 14 is mounted as a part thereof.
  • the structure in which the wiring 17 and the through hole TH are formed on the base material 11 can also be referred to as a printed board.
  • the electronic component 14 is mounted on one surface a1 of the substrate 11 and is electrically connected to the wiring 17 and the like.
  • the electronic component 14 is an element sealed with a mold resin 12 described later.
  • the electronic component 14 is mounted on the base material 11 via the solder 16.
  • the solder 16 corresponds to a conductive connection member. Note that the electronic component 14 may be mounted on the base material 11 via a conductive adhesive different from the solder 16.
  • an outer resin element 15 that is not sealed with the mold resin 12 is mounted on the opposite surface a2 of the substrate 11. That is, it can be said that the electronic device 10 includes a double-sided mounting board. However, the present disclosure is not limited to this. The electronic device 10 can be employed even if it includes a single-sided mounting board in which the electronic component 14 is mounted on one side of the base material 11.
  • the non-resin element 15 corresponds to a back circuit element.
  • Mold resin 12 corresponds to sealing resin.
  • the mold resin 12 is made of, for example, an epoxy resin and seals the electronic component 14.
  • the mold resin 12 integrally seals a connection portion between the electronic component 14 and the base material 11. Further, the mold resin 12 seals the electronic component 14 and the like while being in close contact with at least a part of the one surface a1 of the substrate 11. In other words, it can be said that the mold resin 12 integrally seals the electronic component 14 and the periphery of the electronic component 14 on the one surface a1.
  • the mold resin 12 is mechanically connected to the first member 31 via an adhesive 40 as shown in FIG.
  • the adhesive 40 is formed on the surface of the mold resin 12 parallel to the one surface a ⁇ b> 1 of the substrate 11, and the adhesive 40 is mechanically connected to the first member 31.
  • the cap 13 is mounted on the base material 11, and has an annular connection portion 131 that is a portion connected to the base material 11, and a concave portion 132 that is recessed from the connection portion 131. Is included.
  • the concave portion 132 is formed by a ceiling portion 134 and an annular side wall portion 133 that is provided so as to protrude from the ceiling portion 134. That is, the cap 13 is a cylindrical member having a bottom on one side.
  • the cap 13 having a shape in which the contents of the column are hollowed out is employed.
  • the present disclosure is not limited to this.
  • the present disclosure can be used even with the bowl-shaped cap 13 in which the contents of the hemisphere are hollowed out.
  • the cap 13 has the connecting portion 131 mechanically connected to the base material 11 with the recess 132 facing the open end of the through hole TH on the one surface a1 side. That is, the cap 13 is mechanically connected to the annular connecting portion 131 around the through hole TH. Further, the cap 13 is connected to the base material 11 in this way, thereby forming a space s1 communicating with the through hole TH. Furthermore, the cap 13 is integrally sealed together with the electronic component 14 by the mold resin 12 as shown in FIGS. Thus, the cap 13 is disposed so as to face one opening end of the target through hole TH, and is not disposed so as to face both opening ends of the target through hole TH. Further, the tip of the terminal 20 is arranged in the space s1. In FIG. 2, the mold resin 12 and the through hole TH are indicated by a two-dot chain line in order to make the drawing easy to see.
  • the caps 13 are individually provided corresponding to the plurality of through holes. That is, the electronic device 10 is provided with the same number of caps 13 as the through holes TH, and one cap 13 is provided for one through hole TH. Therefore, it can be said that each cap 13 is provided separately.
  • the cap 13 illustrated by the alternate long and short dash line in FIG. 2 is a virtual cap illustrated for explaining the effect of the present disclosure.
  • the cap 13 is formed of, for example, metal, resin, ceramics or the like. In the present embodiment, a cap 13 made of metal is employed. Therefore, the cap 13 can be mounted on the base material 11 via the solder 16. Further, as shown in FIGS. 2 and 3, the cap 13 is mounted on one surface a1 on which the electronic component 14 is mounted. That is, the cap 13 and the electronic component 14 are mounted on the same surface of the substrate 11. For this reason, the cap 13 can be mounted together with the electronic component 14 on the base material 11. In other words, the cap 13 can be mounted on the substrate 11 in the same process as the electronic component 14. The cap 13 can be mounted on the base material 11 in the same process as the electronic component 14 as long as at least the connection portion 131 is made of metal.
  • the mold resin 12 sealing the cap 13 and the electronic component 14 can be formed by, for example, compression molding or transfer molding.
  • compression molding a molding process for compression molding the molding resin 12 will be described with reference to FIG.
  • an upper mold 210 and a lower mold including the fixed portion 221 and the movable portion 222 are used as the mold.
  • the upper mold 210 is a surface with which the opposite surface a2 of the base material 11 is brought into contact, and has a flat contact surface.
  • a fixed portion 221 provided with a hole, and a movable portion 222 that can move along the hole are disposed in the hole.
  • a cavity in which a resin material to be the mold resin 12 is disposed is formed by the fixed portion 221 and the movable portion 222.
  • the movable part 222 can move up and down in the hole of the fixed part 221.
  • the movable part 222 is movable in a direction approaching the upper mold 210 and a direction moving away from the upper mold 210 in a state where the electronic device 10 before molding is fixed to the upper mold 210 and the fixing part 221. Can do.
  • the contact surface of the upper mold 210 is brought into contact with the opposite surface a2 of the base material 11, and the fixing portion 221 is brought into contact with the one surface a1 of the electronic device 10.
  • the lower mold causes the fixing portion 221 to come into contact with the one surface a1 of the electronic device 10 so that the cavity faces the mounting region where the cap 13 and the electronic component 14 are mounted on the one surface a1 of the base material 11.
  • the movable portion 222 is moved toward the upper mold 210 in a state where the resin material is put in the cavity, and a forming pressure is applied to the resin material.
  • the mold is heated to a predetermined temperature in order to apply heat to the resin material.
  • the molding resin 12 is formed by curing the resin material while applying the forming pressure. In this way, the cap 13 and the electronic component 14 are collectively sealed in the molding process.
  • the electronic device 10 since the cap 13 is put on the through hole TH, the resin material can be prevented from entering the through hole TH. Therefore, the electronic device 10 can make the inside of the cap 13 hollow even after the mold resin 12 is provided.
  • the electronic device 10 and the first member 31 are mechanically connected via the adhesive 40.
  • the mold resin 12 and the first member 31 are mechanically connected by the adhesive 40 in a state where the mold resin 12 and the first member 31 of the electronic device 10 face each other.
  • the electronic device 10 and the first member 31 manufactured by the first step are mechanically connected to each other and also referred to as a first structure.
  • the first structure is assembled to the second member 32.
  • the first member 31 is joined to the tip of the side wall portion of the second member 32 in a state where the electronic device 10 is disposed in the space surrounded by the bottom portion of the second member 32 and the annular side wall portion. .
  • the first member 31 is bonded to the tip of the side wall portion of the second member 32, thereby closing the opening of the second member 32.
  • the electronic device 10 is placed in a space surrounded by the bottom and the annular side wall while the terminal 20 is press-fitted into the through hole TH. Further, in the second step, in order to press-fit the terminal 20 into the through hole TH, the first structure is pushed from the opening side of the second member 32 to the bottom side with the through hole TH and the terminal 20 aligned. . As described above, the electronic device 10 is disposed in the accommodation space s ⁇ b> 2 while being mechanically connected to the first member 31.
  • the electronic structure 100 can also be manufactured by the second manufacturing method in which the first member 31 is joined to the second member 32 after the electronic device 10 is assembled to the second member 32.
  • the electronic device 10 in the first step, is arranged in a space surrounded by the bottom of the second member 32 and the annular side wall.
  • the electronic device 10 is disposed in a space surrounded by the bottom and the annular side wall while the terminal 20 is press-fitted into the through hole TH.
  • the electronic device 10 in order to press-fit the terminal 20 into the through hole TH, the electronic device 10 is pushed from the opening side of the second member 32 to the bottom side with the through hole TH and the terminal 20 aligned. Thereby, the electronic device 10 is electrically connected to the terminal 20 and assembled to the second member 32.
  • the electronic device 10 and the second member 32 manufactured by the first process are also referred to as a second structure.
  • the first member 31 is assembled to the second structure.
  • the first member 31 is joined to the tip of the side wall portion of the second member 32.
  • the first member 31 is bonded to the tip of the side wall portion of the second member 32, thereby closing the opening of the second member 32.
  • the first member 31 and the electronic device 10 are mechanically connected via the adhesive 40.
  • the mold resin 12 and the first member 31 may be brought into contact with each other through heat radiation grease instead of the adhesive 40.
  • the terminal 20 is inserted into the through hole TH provided in the base material 11.
  • the electronic device 10 includes a cap 13 including an annular connection portion 131 connected to the base material 11 and a recess portion 132 that is recessed from the connection portion 131.
  • the cap 13 has the concave portion 132 facing the opening end of the through hole TH, and the connecting portion 131 is connected to the base material 11 to form a space s1 that communicates with the through hole TH. It is sealed together with the component 14. That is, in the electronic device 10, the cap 13 is put on the opening end of the through hole TH, and the cap 13 is sealed with the mold resin 12.
  • the electronic device 10 even when the tip of the terminal 20 inserted into the through hole TH is exposed from the through hole TH, the tip is covered with the cap 13 and the mold resin 12. That is, even when the tip of the terminal 20 is exposed from the through hole TH, the electronic device 10 is only disposed in the space s1 communicating with the through hole TH and is not exposed to the outside of the mold resin 12. Therefore, when the terminal 20 is inserted into the through hole TH, the electronic device 10 can ensure insulation between the terminal 20 and the different potential member. That is, the electronic device 10 does not need to perform a special process for preventing a short circuit between the terminal 20 and the first member 31.
  • the electronic device 10 has a cap 13 covering the through hole TH. For this reason, the electronic device 10 can suppress the mold resin 12 from entering the through hole TH when the mold resin 12 is provided. For this reason, the electronic device 10 can suppress a decrease in electrical connectivity between the conductive member 18 and the terminal 20.
  • the electronic device 10 suppresses the mold resin 12 from entering the through hole TH by the cap 13 as described above. For this reason, the electronic device 10 needs only to change the position of the cap 13 according to the position of the through hole TH when the mold resin 12 is provided on the base material 11 having a different position of the through hole TH, and it is necessary to process the mold. There is no.
  • the electronic device 10 is illustrated with a cap 13 illustrated by a one-dot chain line, and an electronic device in which a through hole TH is provided at a position facing the cap 13 (hereinafter referred to as a modified electronic device).
  • a modified electronic device an electronic device in which a through hole TH is provided at a position facing the cap 13
  • a cap 13 is provided.
  • the electronic device 10 and the modified electronic device are different in the positions of the through holes TH, since the caps 13 are put on all the through holes TH, the cap 13 prevents the mold resin 12 from entering the through holes TH. Yes. Therefore, although the electronic device 10 and the modified electronic device are different in the position of the through hole TH, they can be manufactured with the same mold if the position of the cap 13 is changed in accordance with the position of the through hole TH. Thus, the electronic device 10 can improve the degree of freedom of the position of the through hole TH.
  • the electronic device 10 since the electronic device 10 is covered with the cap 13 on the opening end of the through hole TH and the cap 13 is sealed with the mold resin 12, the strength around the through hole TH can be improved. Therefore, the electronic device 10 can suppress the base material 11 from being distorted by the stress from the terminal 20 when the terminal 20 is press-fitted into the through hole TH. That is, the electronic device 10 can suppress the distortion of the base material 11 without reinforcing the periphery of the through hole TH with a jig. Moreover, since the electronic device 10 can suppress the distortion of the base material 11, it is possible to suppress the wiring 17 from being disconnected due to the distortion of the base material 11.
  • the first member 31 and the second member 32 form an accommodation space s2, and the electronic device 10 is accommodated in the accommodation space s2. Therefore, the electronic structure 100 can suppress foreign matter from adhering to the electronic device 10.
  • the first member 31 made of metal is mechanically connected to the electronic device 10. Therefore, the electronic structure 100 can dissipate heat through the first member 31 even when heat is generated from the electronic device 10. Note that the electronic structure 100 can dissipate heat generated from the electronic device 10 even when the electronic device 10 and the first member 31 are in contact with each other via heat dissipation grease.
  • the electronic device 10 can ensure the insulation between the terminal 20 and the different potential member as described above. Therefore, in the electronic structure 100, even if the first member 31 is made of metal and includes a portion facing the surface on which the cap 13 is mounted on the base material 11, the insulation between the terminal 20 and the first member 31 is included. Can be secured.
  • Modification 1 As shown in FIG. 6, the electronic device 10 a of Modification 1 has a cap 13 mounted on the back surface of the base 11 a on which the electronic component 14 is mounted.
  • an electronic device 10a in which the electronic component 14 is mounted on one surface a1 of the substrate 11a and the cap 13 is mounted on the opposite surface a2 of the substrate 11a is employed.
  • the base material 11a is provided with a through hole 11a1 in order to mold each part of the mold resin at once.
  • the element sealing portion 12a1 and the cap sealing portion 12a3 are molded by the resin material serving as the mold resin passing through the through hole 11a1.
  • the connecting portion 12a2 is provided in the through hole 11a1.
  • the mold used for molding the electronic device 10a is provided with a space for forming the element sealing portion 12a1 and a space for forming the cap sealing portion 12a3, both of which are through holes 11a1. It is communicated by.
  • the electronic device 10a can achieve the same effects as the electronic device 10.
  • the electronic structure 100a of Modification 1 includes a terminal 20, a first member 31a, and a second member 32a in addition to the electronic device 10a.
  • the second member 32a is the same as the second member 32, and a description thereof will be omitted.
  • the first member 31a is a part mechanically connected to the electronic device 10a, and is provided with a protruding part 31a1 protruding from the periphery. That is, the first member 31a includes a protruding portion 31a1 and a peripheral portion 31a2 that is recessed from the protruding portion 31a1 provided in the periphery of the protruding portion 31a1. In other words, the first member 31a has a step formed by the protruding portion 31a1 and the peripheral portion 31a2 on the side facing the electronic device 10a, and the protruding portion 31a1 protrudes from the peripheral portion 31a2. Moreover, the thickness of the protrusion part 31a1 is formed thinner than the thickness of the cap sealing part 12a3. The difference between the thickness of the protruding portion 31a1 and the thickness of the cap sealing portion 12a3 is the thickness of the adhesive 40.
  • the thickness of the protrusion 31a1 corresponds to the distance between the virtual plane along the surface on the accommodation space s2 side in the peripheral portion 31a2 and the virtual plane along the surface on the accommodation space s2 side in the protrusion 31a1.
  • the thickness of the cap sealing part 12a3 is the thickness of the thickest part in the cap sealing part 12a3, a virtual plane along the surface of the cap sealing part 12a3 opposite to the base material 11a, and the base material This corresponds to the distance from the opposite surface a2 of 11a.
  • the thickness of the cap sealing portion 12a3 corresponds to a length obtained by adding the thickness of the portion provided on the cap 13 in the cap sealing portion 12a3 to the height of the cap 13.
  • the protrusion 31a1 is mechanically connected to a part of the opposite surface a2 via the adhesive 40. That is, in the electronic device 10a, the protruding portion 31a1 is connected to the periphery of the cap sealing portion 12a3 on the opposite surface a2. Further, in the electronic structure 100a, the cap sealing portion 12a3 is in contact with the peripheral portion 31a2 in a state where the protruding portion 31a1 is mechanically connected to the electronic device 10a. Therefore, it can be said that the thickness of the cap sealing portion 12a3 is a thickness obtained by adding the thickness of the protruding portion 31a1 and the thickness of the adhesive 40.
  • the electronic structure 100a can achieve the same effects as the electronic structure 100. Furthermore, when the electronic structure 100a mechanically connects the first member 31a and the electronic device 10a, the peripheral portion 31a2 and the cap sealing portion 12a3 are in contact with each other. Easy to manage the thickness. That is, the electronic structure 100a can manage the thickness of the adhesive 40 by manufacturing the cap sealing portion 12a3 and the protruding portion 31a1 so as to have a thickness corresponding to the desired thickness of the adhesive 40. it can. In other words, the electronic structure 100a can easily manage the thickness of the adhesive by controlling the thickness of the cap sealing portion 12a3 and the thickness of the protruding portion 31a1. Accordingly, the electronic structure 100a can easily manage the contact area between the first member 31a and the electronic device 10a. Therefore, the electronic structure 100a can efficiently radiate heat from the electronic device 10a.
  • the heat dissipating member 60 is mechanically connected to the opposite surface a2 of the base material 11 via an adhesive 50.
  • the resin outer element 15 is not mounted on the opposite surface a2. That is, the electronic device 10b includes a circuit board that is a single-sided mounting board.
  • the electronic device 10b has a circuit board that is a single-sided mounting board, and is disposed in the accommodation space s2 formed by the first member 31b and the second member 32b.
  • the first member 31b is mechanically connected to the one surface a1 side
  • the heat dissipation member 60 is mechanically connected to the opposite surface a2 side. Since the adhesive 50 is the same as the adhesive 40, the description thereof is omitted.
  • the electronic structure 100b can achieve the same effects as the electronic structure 100. Furthermore, the electronic structure 100b can dissipate the electronic device 10b from both sides of the one surface a1 side and the opposite surface a2 side. Therefore, the electronic structure 100b can improve the heat dissipation of the electronic device 10b more than the electronic structure 100.
  • the non-resin element 15 may be mounted around the adhesive 50 in the base material 11. Further, the heat dissipating member 60 and the electronic device 10b may be in contact with each other through heat dissipating grease instead of the adhesive 50.
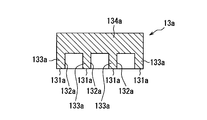
  • Modification 3 The electronic device of Modification 3 is provided with a cap 13a as shown in FIGS. In other words, the electronic device of Modification 3 is different from the electronic device 10 in the configuration of the cap 13a.
  • the cap 13 a is an integrated object provided with a plurality of recesses 132 a partitioned from each other.
  • the substrate 11 has a plurality of through holes TH. Therefore, the cap 13a is provided with a recess 132a corresponding to at least two through holes TH among the plurality of through holes TH.
  • each recess 132a is formed by a ceiling part 134a and an annular side wall part 133a provided so as to protrude from the ceiling part 134a. That is, each recessed part 132a is partitioned off by the side wall part 133a.
  • each recessed part 132a is a site
  • the cap 13a provided with three concave portions 132a corresponding to the three through holes TH is employed.
  • the electronic device of Modification 3 can achieve the same effects as the electronic device 10. Furthermore, since the electronic device of Modification 3 employs the cap 13a provided with a plurality of recesses 132a, the same number of through holes TH as the number of the recesses 132a can be collectively covered.
  • both the cap 13 and the cap 13 a may be mounted on the base material 11.
  • the cap 13 a is mounted in a region where the through holes TH are dense in the base material 11, and the cap 13 is mounted in a region where the through hole TH is provided alone. Also good.
  • the cap 13 a is mounted in a region where the plurality of through holes TH are provided adjacent to each other without the electronic component 14 interposed therebetween, and the through hole is provided between the electronic component 14.
  • the cap 13 may be mounted in a region where the head is located.
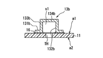
  • Modification 4 The electronic device of Modification 4 is provided with a cap 13b as shown in FIGS. That is, the electronic device of Modification 4 is different from the electronic device 10 in the configuration of the cap 13b.
  • the cap 13b includes a recess 132b and a flange 131b as a connecting portion protruding from the recess 132b.
  • the recessed part 132b is formed of the ceiling part 134b and the cyclic
  • the flange 131b is provided so as to protrude from the end of the side wall 133b to the outside of the recess 132b along the plane of the base material 11. As shown in FIG. 10, the flange 131b is provided over the entire circumference of the side wall 133b.
  • the flange 131b is provided so as to expand outward, that is, on the side opposite to the recess 132b with respect to the side wall portion 133b.
  • the plane of the base material 11 is a mounting surface on which the cap 13b of the base material 11 is mounted, and here is the one surface a1.
  • the electronic device of Modification 4 can achieve the same effects as the electronic device 10. Furthermore, since the electronic device of the modification 4 employs the cap 13b having the flange 131b, the cap 13b and the base material 11 can be mechanically connected more firmly. Therefore, the electronic device of Modification 4 can further improve the leakage of the mold resin 12 into the through hole TH. For this reason, the electronic device of the modification 4 can suppress further the fall of the electrical connectivity of the electroconductive member 18 and the terminal 20 further.
  • the flange 131b may be provided in a part of the entire periphery of the end portion of the side wall portion 133b as long as the front end surface of the side wall portion 133b is provided in an annular shape.
  • Modification 5 As shown in FIG. 12, in the electronic device according to the fifth modification, a plurality of lands 19 are provided in the opposing region of the connection portion 131 in the base material 11 at intervals. As described above, the electronic device of Modification 5 is different in the configuration of the electronic device 10 of the above embodiment and the base material 11 in that the land 19 is provided. However, here, for convenience, description will be made using the same reference numerals.
  • the cap 13 is mounted on the base material 11 via a plurality of lands 19. Therefore, the cap 13 is partially mechanically connected to the base material 11.
  • the connection portion 131 of the cap 13 includes a portion that is connected to the base material 11 and includes a portion that is not connected to the base material 11.
  • a gap is partially formed between the base material 11 and the connection portion 131.
  • the electronic device of Modification 5 is provided with a plurality of lands 19 at intervals so as to function as an air vent when the mold resin 12 is molded.
  • the plurality of lands 19 are provided at intervals such that the resin material that becomes the mold resin 12 does not leak out while allowing air to pass during molding.
  • the land 19 is normally formed thin enough so that the resin material that becomes the mold resin 12 does not leak through the air during molding.
  • the electronic device according to the modified example 5 when the mold resin 12 is molded, the resin material that becomes the mold resin 12 leaks from the gap between the base material 11 and the connection portion 131, that is, between the plurality of lands 19. While suppressing this, air in the mold cavity can be released. That is, the electronic device of Modification 5 can release air from between the plurality of lands 19 to the through hole TH during molding.
  • the electronic device of Modification 5 can achieve the same effects as the electronic device 10. Furthermore, since the electronic device of Modification 5 can release air during molding, it can suppress the formation of bubbles in the mold resin 12. That is, the electronic device of Modification 5 includes the mold resin 12 that has no bubbles or few bubbles.
  • the cap 13 a and the cap 13 b may be mounted on the base material 11 via the plurality of lands 19.
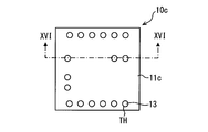
  • Modification 6 As shown in FIGS. 14 to 16, in the electronic device 10c of Modification 6, the entire surface of the substrate 11c on which the electronic component 14 is mounted is covered with the mold resin 12c. That is, the entire surface a1 of the base material 11c is covered with the mold resin 12c.
  • the electronic device 10c can only see the mold resin 12c when viewed from the mold resin 12c side. Further, as shown in FIG. 15, when the electronic device 10 c is viewed from the base material 11 c side, the cap 13 can be seen through the base material 11 c, the through hole TH, and the through hole TH. In the electronic device 10c, as shown in FIG. 16, the side surface of the base material 11c and the side surface of the mold resin 12c are flush with each other. The electronic device 10c can achieve the same effects as the electronic device 10.
  • the electronic device 10c can be manufactured by dicing the base substrate 10c1 with a dicing line DL as shown in FIG.
  • the base substrate 10c1 has a plurality of regions to be a plurality of electronic devices 10c. That is, in the base substrate 10c1, the cap 13 and the electronic component 14 are mounted on the base material 11c1 before being divided into the plurality of base materials 11c, and the mold resin 12c1 before the cap 13 and the electronic component 14 are divided. It is sealed with.
  • the base substrate 10c1 of FIG. 13 has 15 electronic devices 10c integrally formed. Therefore, the base substrate 10c1 is divided into 15 electronic devices 10c when diced along the dicing line DL.
  • the electronic structure 100 c of Modification 7 is provided with a terminal 20 a that is not a press-fit terminal such as the terminal 20.
  • the electronic structure 100c includes a terminal 20a, a first member 31c similar to the first member 31, and a lid portion 32c and a side wall portion 33 as second members.
  • illustration of the resin outer element 15, the wiring 17, the conductive member 18, and the like in the electronic device 10 is omitted.
  • the electronic device 10 refer to the above embodiment.
  • the terminal 20a is inserted into the through hole TH and is electrically connected to the conductive member 18 by the solder 70. That is, the terminal 20a is electrically connected to the conductive member 18 without directly contacting the through hole TH.
  • the electronic structure 100c includes a lid portion 32c and a side wall portion 33 which are separate members as a second member in order to easily connect the terminal 20a and the conductive member 18 with the solder 70. That is, in the electronic structure 100c, it can be said that the bottom portion and the side wall portion of the second member 32 are provided separately. Therefore, the lid portion 32 c corresponds to the bottom portion of the second member 32, and the side wall portion 33 corresponds to the side wall portion of the second member 32. Further, the side wall 33 has one opening closed by the first member 31c and the other opening closed by the lid 32c. Note that the electronic device is mechanically connected to the first member 31c via the adhesive 40 as in the above embodiment.
  • the lid portion 32c can employ, for example, a plate-like member in the same manner as the first member 31c.
  • the side wall part 33 is a cylindrical member, for example, and the terminal 20a is insert-molded.
  • the terminal 20a has a portion bent in an L shape disposed in the accommodation space s2.
  • the electronic structure 100c can be manufactured by the following processes, for example. First, in the first step, the electronic device 10 is mechanically connected to the first member 31c via the adhesive 40. In the next step, the side wall portion 33 is inserted into the through hole TH while the terminal 20a provided on the side wall portion 33 is inserted into the state in which the first member 31c and the electronic device 10 are mechanically connected. And the first member 31c are joined. As a result, one opening of the side wall 33 is closed by the first member 31c.
  • the conductive member 18 and the terminal 20 a inserted into the through hole TH are electrically connected by the solder 70.
  • the lid portion 32 c is joined to the side wall portion 33.
  • the other opening of the side wall 33 is closed by the lid 32c. That is, both openings of the side wall portion 33 are closed by the first member 31c and the lid portion 32c. Therefore, the electronic device is accommodated in the accommodation space s2 formed by the first member 31c, the lid portion 32c, and the side wall portion 33.
  • the electronic device 10 can achieve the object of the present disclosure even if such a terminal 20a is inserted into the through hole TH.
  • the electronic structure 100c can achieve the same effects as the electronic structure 100.
  • the terminal 20 a may be electrically connected to the conductive member 18 with a conductive adhesive different from the solder 70. That is, the terminal 20a only needs to be electrically connected to the conductive member 18 by the conductive connection member.
  • the second member 32d may be a part of an external device. That is, the terminal 20 may be provided in an external device.
  • the electronic device 10 is integrally assembled with an external device.
  • the electronic structure 100d can achieve the same effects as the electronic structure 100.

Landscapes

  • Engineering & Computer Science (AREA)
  • Microelectronics & Electronic Packaging (AREA)
  • Power Engineering (AREA)
  • Physics & Mathematics (AREA)
  • General Physics & Mathematics (AREA)
  • Computer Hardware Design (AREA)
  • Condensed Matter Physics & Semiconductors (AREA)
  • Manufacturing & Machinery (AREA)
  • Geometry (AREA)
  • Structures Or Materials For Encapsulating Or Coating Semiconductor Devices Or Solid State Devices (AREA)
  • Casings For Electric Apparatus (AREA)
  • Chemical & Material Sciences (AREA)
  • Materials Engineering (AREA)
  • Non-Metallic Protective Coatings For Printed Circuits (AREA)
PCT/JP2015/004756 2014-09-22 2015-09-17 電子装置、及び電子装置を備えた電子構造体 Ceased WO2016047116A1 (ja)

Priority Applications (2)

Application Number Priority Date Filing Date Title
US15/507,364 US9980407B2 (en) 2014-09-22 2015-09-17 Electronic device, and electronic structure provided with electronic device
CN201580050573.8A CN106796921B (zh) 2014-09-22 2015-09-17 电子装置及具备电子装置的电子构造体

Applications Claiming Priority (2)

Application Number Priority Date Filing Date Title
JP2014-192745 2014-09-22
JP2014192745A JP6274058B2 (ja) 2014-09-22 2014-09-22 電子装置、及び電子装置を備えた電子構造体

Publications (1)

Publication Number Publication Date
WO2016047116A1 true WO2016047116A1 (ja) 2016-03-31

Family

ID=55580663

Family Applications (1)

Application Number Title Priority Date Filing Date
PCT/JP2015/004756 Ceased WO2016047116A1 (ja) 2014-09-22 2015-09-17 電子装置、及び電子装置を備えた電子構造体

Country Status (4)

Country Link
US (1) US9980407B2 (enExample)
JP (1) JP6274058B2 (enExample)
CN (1) CN106796921B (enExample)
WO (1) WO2016047116A1 (enExample)

Families Citing this family (5)

* Cited by examiner, † Cited by third party
Publication number Priority date Publication date Assignee Title
JP6612723B2 (ja) * 2016-12-07 2019-11-27 株式会社東芝 基板装置
JP7058772B2 (ja) * 2019-01-28 2022-04-22 三菱電機株式会社 基板アセンブリ及び空気調和装置
JP7215322B2 (ja) * 2019-05-17 2023-01-31 株式会社デンソー 電子装置
DE102019220159A1 (de) * 2019-12-19 2021-06-24 Robert Bosch Gmbh Verfahren zum Herstellen eines Leiterplattenmoduls sowie ein Leiterplattenmodul
JP7694433B2 (ja) 2022-03-29 2025-06-18 株式会社デンソー 電子装置

Citations (5)

* Cited by examiner, † Cited by third party
Publication number Priority date Publication date Assignee Title
JPS63213936A (ja) * 1987-03-02 1988-09-06 Nec Corp 混成集積回路装置の製造方法
JP2003179093A (ja) * 2001-12-12 2003-06-27 Nissan Motor Co Ltd 半導体モジュールの製造方法および半導体モジュール
US7294007B1 (en) * 2006-09-20 2007-11-13 Delphi Technologies, Inc. Electronics enclosure and method of fabricating an electronics enclosure
JP2008166634A (ja) * 2006-12-29 2008-07-17 Nippon Micron Kk 電子部品用パッケージ
JP2015009466A (ja) * 2013-06-28 2015-01-19 株式会社デンソー 電子装置およびその電子装置の製造方法

Family Cites Families (28)

* Cited by examiner, † Cited by third party
Publication number Priority date Publication date Assignee Title
US6111306A (en) * 1993-12-06 2000-08-29 Fujitsu Limited Semiconductor device and method of producing the same and semiconductor device unit and method of producing the same
JP2573809B2 (ja) * 1994-09-29 1997-01-22 九州日本電気株式会社 電子部品内蔵のマルチチップモジュール
JP3822123B2 (ja) 2002-03-22 2006-09-13 三菱電機株式会社 多層プリント配線板
US20040089943A1 (en) * 2002-11-07 2004-05-13 Masato Kirigaya Electronic control device and method for manufacturing the same
JP4342174B2 (ja) * 2002-12-27 2009-10-14 新光電気工業株式会社 電子デバイス及びその製造方法
JP2007516602A (ja) * 2003-09-26 2007-06-21 テッセラ,インコーポレイテッド 流動可能な伝導媒体を含むキャップ付きチップの製造構造および方法
JP4512980B2 (ja) 2004-03-30 2010-07-28 株式会社デンソー 素子装置
US7524024B2 (en) * 2005-03-15 2009-04-28 Fuji Xerox Co., Ltd. Electrical connection substrate, droplet discharge head, and droplet discharge apparatus
JP4049160B2 (ja) * 2005-03-16 2008-02-20 ヤマハ株式会社 蓋体フレーム、半導体装置、及びその製造方法
US7690105B2 (en) * 2005-08-19 2010-04-06 Coilcraft, Incorporated Method for conserving space in a circuit
US20080002460A1 (en) * 2006-03-01 2008-01-03 Tessera, Inc. Structure and method of making lidded chips
JP5026038B2 (ja) * 2006-09-22 2012-09-12 新光電気工業株式会社 電子部品装置
JP5179046B2 (ja) * 2006-11-22 2013-04-10 新光電気工業株式会社 電子部品および電子部品の製造方法
US8077447B2 (en) * 2006-12-12 2011-12-13 Panasonic Corporation Electronic element package and method of manufacturing the same
DE112008000229B4 (de) 2007-01-22 2014-10-30 Mitsubishi Electric Corp. Leistungshalbleitervorrichtung
JP2009064916A (ja) * 2007-09-05 2009-03-26 Kokusan Denki Co Ltd 電子ユニット及びその製造方法
JP5117282B2 (ja) 2008-05-27 2013-01-16 日立オートモティブシステムズ株式会社 配線基板及びこれを備えた電子装置
JP2012042490A (ja) * 2008-12-16 2012-03-01 Sharp Corp 液晶表示用パネル及び液晶表示装置
JP2011151185A (ja) * 2010-01-21 2011-08-04 Shinko Electric Ind Co Ltd 配線基板及び半導体装置
JP5826532B2 (ja) * 2010-07-15 2015-12-02 新光電気工業株式会社 半導体装置及びその製造方法
EP2469156A4 (en) * 2010-07-16 2014-09-10 Toshiba Lighting & Technology LAMP DEVICE AND LIGHTING DEVICE
JP2012028487A (ja) 2010-07-22 2012-02-09 Panasonic Corp 樹脂封止基板装置と、それらの製造方法
JP5383621B2 (ja) 2010-10-20 2014-01-08 三菱電機株式会社 パワー半導体装置
JP5594198B2 (ja) * 2011-03-16 2014-09-24 富士通株式会社 電子部品及び電子部品組立装置
JP5746919B2 (ja) * 2011-06-10 2015-07-08 新光電気工業株式会社 半導体パッケージ
US20140216801A1 (en) * 2011-09-12 2014-08-07 Meiko Electronics Co., Ltd. Method of manufacturing component-embedded substrate and component-embedded substrate manufactured by the same
JP6138603B2 (ja) * 2013-06-24 2017-05-31 新光電気工業株式会社 冷却装置、冷却装置の製造方法及び半導体装置
JP5997393B2 (ja) * 2013-09-27 2016-09-28 京セラ株式会社 蓋体、パッケージおよび電子装置

Patent Citations (5)

* Cited by examiner, † Cited by third party
Publication number Priority date Publication date Assignee Title
JPS63213936A (ja) * 1987-03-02 1988-09-06 Nec Corp 混成集積回路装置の製造方法
JP2003179093A (ja) * 2001-12-12 2003-06-27 Nissan Motor Co Ltd 半導体モジュールの製造方法および半導体モジュール
US7294007B1 (en) * 2006-09-20 2007-11-13 Delphi Technologies, Inc. Electronics enclosure and method of fabricating an electronics enclosure
JP2008166634A (ja) * 2006-12-29 2008-07-17 Nippon Micron Kk 電子部品用パッケージ
JP2015009466A (ja) * 2013-06-28 2015-01-19 株式会社デンソー 電子装置およびその電子装置の製造方法

Also Published As

Publication number Publication date
US20170290187A1 (en) 2017-10-05
CN106796921A (zh) 2017-05-31
US9980407B2 (en) 2018-05-22
JP6274058B2 (ja) 2018-02-07
CN106796921B (zh) 2019-03-05
JP2016063202A (ja) 2016-04-25

Similar Documents

Publication Publication Date Title
US9736952B2 (en) Vehicle-mounted electronic module
JP6274058B2 (ja) 電子装置、及び電子装置を備えた電子構造体
EP3432353B1 (en) High frequency circuit
KR101814546B1 (ko) 전자 소자 실장용 기판 및 전자 장치
KR20140107292A (ko) 차량용 전자 모듈
CN101107893A (zh) 控制模块
CN108353511A (zh) 电子模块和用于制造带有流体密封的壳体的电子模块的方法
KR20150025129A (ko) 전자 소자 모듈 및 그 제조 방법
JP2020004840A (ja) 電子ユニットおよびその製造方法
CN107926114B (zh) 制作led设备的方法
JP2004153034A (ja) 車載電子機器の筐体構造
JP2016103702A (ja) 通信モジュール
JP2014220921A (ja) コネクタ一体型電子制御装置
JP7124214B2 (ja) レーザ装置およびレーザ装置の製造方法
CN105592393A (zh) 具有合并的导线结合搁架的金属化麦克风盖
JP5135101B2 (ja) 基板キャリア用の密閉機構を備えるパワー半導体モジュールおよびその製造方法
KR20140019751A (ko) 밀봉 배치되는 소자들을 포함하는 샌드위치 구조의 자동차 변속기의 변속기 제어 모듈
JPWO2013047354A1 (ja) 中空封止構造
JP5325487B2 (ja) 接続された基板キャリアを備えるパワー半導体モジュールおよびその製造方法
CN206650065U (zh) 半导体封装体
KR20150000174A (ko) 전자 소자 모듈 및 그 제조 방법
CN108269765A (zh) 半导体传感器封装体
WO2014208006A1 (ja) 電子装置およびその電子装置の製造方法
JP6405732B2 (ja) 電子装置
JP2016031980A (ja) 電子装置の製造方法及び電子装置

Legal Events

Date Code Title Description
121 Ep: the epo has been informed by wipo that ep was designated in this application

Ref document number: 15843677

Country of ref document: EP

Kind code of ref document: A1

WWE Wipo information: entry into national phase

Ref document number: 15507364

Country of ref document: US

NENP Non-entry into the national phase

Ref country code: DE

122 Ep: pct application non-entry in european phase

Ref document number: 15843677

Country of ref document: EP

Kind code of ref document: A1