WO2015198523A1 - 磁性薄膜および磁性薄膜を含む応用デバイス - Google Patents

磁性薄膜および磁性薄膜を含む応用デバイス Download PDF

Info

Publication number
WO2015198523A1
WO2015198523A1 PCT/JP2015/002519 JP2015002519W WO2015198523A1 WO 2015198523 A1 WO2015198523 A1 WO 2015198523A1 JP 2015002519 W JP2015002519 W JP 2015002519W WO 2015198523 A1 WO2015198523 A1 WO 2015198523A1
Authority
WO
WIPO (PCT)
Prior art keywords
magnetic
layer
thin film
magnetic recording
magnetic thin
Prior art date
Legal status (The legal status is an assumption and is not a legal conclusion. Google has not performed a legal analysis and makes no representation as to the accuracy of the status listed.)
Ceased
Application number
PCT/JP2015/002519
Other languages
English (en)
French (fr)
Japanese (ja)
Inventor
中田 仁志
島津 武仁
Current Assignee (The listed assignees may be inaccurate. Google has not performed a legal analysis and makes no representation or warranty as to the accuracy of the list.)
Fuji Electric Co Ltd
Original Assignee
Fuji Electric Co Ltd
Priority date (The priority date is an assumption and is not a legal conclusion. Google has not performed a legal analysis and makes no representation as to the accuracy of the date listed.)
Filing date
Publication date
Application filed by Fuji Electric Co Ltd filed Critical Fuji Electric Co Ltd
Priority to CN201580011466.4A priority Critical patent/CN106062900B/zh
Priority to SG11201607105PA priority patent/SG11201607105PA/en
Publication of WO2015198523A1 publication Critical patent/WO2015198523A1/ja
Priority to US15/251,056 priority patent/US10115890B2/en
Anticipated expiration legal-status Critical
Ceased legal-status Critical Current

Links

Images

Classifications

    • HELECTRICITY
    • H10SEMICONDUCTOR DEVICES; ELECTRIC SOLID-STATE DEVICES NOT OTHERWISE PROVIDED FOR
    • H10NELECTRIC SOLID-STATE DEVICES NOT OTHERWISE PROVIDED FOR
    • H10N50/00Galvanomagnetic devices
    • H10N50/80Constructional details
    • H10N50/85Materials of the active region
    • BPERFORMING OPERATIONS; TRANSPORTING
    • B81MICROSTRUCTURAL TECHNOLOGY
    • B81BMICROSTRUCTURAL DEVICES OR SYSTEMS, e.g. MICROMECHANICAL DEVICES
    • B81B3/00Devices comprising flexible or deformable elements, e.g. comprising elastic tongues or membranes
    • B81B3/0064Constitution or structural means for improving or controlling the physical properties of a device
    • B81B3/0091Magnetic properties, e.g. guiding magnetic flux
    • BPERFORMING OPERATIONS; TRANSPORTING
    • B81MICROSTRUCTURAL TECHNOLOGY
    • B81BMICROSTRUCTURAL DEVICES OR SYSTEMS, e.g. MICROMECHANICAL DEVICES
    • B81B7/00Microstructural systems; Auxiliary parts of microstructural devices or systems
    • B81B7/02Microstructural systems; Auxiliary parts of microstructural devices or systems containing distinct electrical or optical devices of particular relevance for their function, e.g. microelectro-mechanical systems [MEMS]
    • GPHYSICS
    • G11INFORMATION STORAGE
    • G11BINFORMATION STORAGE BASED ON RELATIVE MOVEMENT BETWEEN RECORD CARRIER AND TRANSDUCER
    • G11B5/00Recording by magnetisation or demagnetisation of a record carrier; Reproducing by magnetic means; Record carriers therefor
    • G11B5/127Structure or manufacture of heads, e.g. inductive
    • G11B5/33Structure or manufacture of flux-sensitive heads, i.e. for reproduction only; Combination of such heads with means for recording or erasing only
    • G11B5/39Structure or manufacture of flux-sensitive heads, i.e. for reproduction only; Combination of such heads with means for recording or erasing only using magneto-resistive devices or effects
    • G11B5/3903Structure or manufacture of flux-sensitive heads, i.e. for reproduction only; Combination of such heads with means for recording or erasing only using magneto-resistive devices or effects using magnetic thin film layers or their effects, the films being part of integrated structures
    • G11B5/3906Details related to the use of magnetic thin film layers or to their effects
    • GPHYSICS
    • G11INFORMATION STORAGE
    • G11BINFORMATION STORAGE BASED ON RELATIVE MOVEMENT BETWEEN RECORD CARRIER AND TRANSDUCER
    • G11B5/00Recording by magnetisation or demagnetisation of a record carrier; Reproducing by magnetic means; Record carriers therefor
    • G11B5/62Record carriers characterised by the selection of the material
    • G11B5/64Record carriers characterised by the selection of the material comprising only the magnetic material without bonding agent
    • G11B5/65Record carriers characterised by the selection of the material comprising only the magnetic material without bonding agent characterised by its composition
    • G11B5/658Record carriers characterised by the selection of the material comprising only the magnetic material without bonding agent characterised by its composition containing oxygen, e.g. molecular oxygen or magnetic oxide
    • HELECTRICITY
    • H01ELECTRIC ELEMENTS
    • H01FMAGNETS; INDUCTANCES; TRANSFORMERS; SELECTION OF MATERIALS FOR THEIR MAGNETIC PROPERTIES
    • H01F10/00Thin magnetic films, e.g. of one-domain structure
    • H01F10/08Thin magnetic films, e.g. of one-domain structure characterised by magnetic layers
    • H01F10/10Thin magnetic films, e.g. of one-domain structure characterised by magnetic layers characterised by the composition
    • H01F10/12Thin magnetic films, e.g. of one-domain structure characterised by magnetic layers characterised by the composition being metals or alloys
    • H01F10/123Thin magnetic films, e.g. of one-domain structure characterised by magnetic layers characterised by the composition being metals or alloys having a L10 crystallographic structure, e.g. [Co,Fe][Pt,Pd] thin films
    • HELECTRICITY
    • H10SEMICONDUCTOR DEVICES; ELECTRIC SOLID-STATE DEVICES NOT OTHERWISE PROVIDED FOR
    • H10BELECTRONIC MEMORY DEVICES
    • H10B61/00Magnetic memory devices, e.g. magnetoresistive RAM [MRAM] devices
    • HELECTRICITY
    • H10SEMICONDUCTOR DEVICES; ELECTRIC SOLID-STATE DEVICES NOT OTHERWISE PROVIDED FOR
    • H10BELECTRONIC MEMORY DEVICES
    • H10B61/00Magnetic memory devices, e.g. magnetoresistive RAM [MRAM] devices
    • H10B61/20Magnetic memory devices, e.g. magnetoresistive RAM [MRAM] devices comprising components having three or more electrodes, e.g. transistors
    • H10B61/22Magnetic memory devices, e.g. magnetoresistive RAM [MRAM] devices comprising components having three or more electrodes, e.g. transistors of the field-effect transistor [FET] type
    • HELECTRICITY
    • H10SEMICONDUCTOR DEVICES; ELECTRIC SOLID-STATE DEVICES NOT OTHERWISE PROVIDED FOR
    • H10NELECTRIC SOLID-STATE DEVICES NOT OTHERWISE PROVIDED FOR
    • H10N50/00Galvanomagnetic devices
    • H10N50/10Magnetoresistive devices
    • GPHYSICS
    • G11INFORMATION STORAGE
    • G11CSTATIC STORES
    • G11C11/00Digital stores characterised by the use of particular electric or magnetic storage elements; Storage elements therefor
    • G11C11/02Digital stores characterised by the use of particular electric or magnetic storage elements; Storage elements therefor using magnetic elements
    • G11C11/16Digital stores characterised by the use of particular electric or magnetic storage elements; Storage elements therefor using magnetic elements using elements in which the storage effect is based on magnetic spin effect
    • G11C11/161Digital stores characterised by the use of particular electric or magnetic storage elements; Storage elements therefor using magnetic elements using elements in which the storage effect is based on magnetic spin effect details concerning the memory cell structure, e.g. the layers of the ferromagnetic memory cell
    • HELECTRICITY
    • H01ELECTRIC ELEMENTS
    • H01FMAGNETS; INDUCTANCES; TRANSFORMERS; SELECTION OF MATERIALS FOR THEIR MAGNETIC PROPERTIES
    • H01F10/00Thin magnetic films, e.g. of one-domain structure
    • H01F10/32Spin-exchange-coupled multilayers, e.g. nanostructured superlattices
    • H01F10/324Exchange coupling of magnetic film pairs via a very thin non-magnetic spacer, e.g. by exchange with conduction electrons of the spacer
    • H01F10/3254Exchange coupling of magnetic film pairs via a very thin non-magnetic spacer, e.g. by exchange with conduction electrons of the spacer the spacer being semiconducting or insulating, e.g. for spin tunnel junction [STJ]

Definitions

  • the invention in which some of the embodiments are disclosed herein relates to a magnetic thin film containing an ordered alloy. More specifically, some of the configuration examples of the embodiment relate to a magnetic thin film in which the ordered alloy includes Fe and Pt as main components and includes Sc. Furthermore, the invention in which some of the embodiments are disclosed herein relates to an application device including the magnetic thin film described above.
  • Application devices including a magnetic thin film include a magnetic recording medium, a tunnel magnetoresistive element (TMR), a magnetoresistive random access memory (MRAM), a microelectromechanical system (MEMS) device, and the like.
  • TMR tunnel magnetoresistive element
  • MRAM magnetoresistive random access memory
  • MEMS microelectromechanical system
  • a magnetic recording medium will be described as a first example of an application device including a magnetic thin film.
  • Magnetic recording media are used in magnetic recording devices such as hard disks, magneto-optical recording (MO) disks, and magnetic tapes.
  • the magnetic recording system includes an in-plane magnetic recording system and a perpendicular magnetic recording system.
  • the in-plane magnetic recording method is a method that has been used conventionally, and performs magnetic recording horizontally with respect to the hard disk surface, for example.
  • a perpendicular magnetic recording method that can achieve higher recording density and performs magnetic recording perpendicular to the disk surface is mainly used.
  • the magnetic recording medium used in the perpendicular magnetic recording system includes at least a nonmagnetic substrate and a magnetic recording layer formed of a hard magnetic material.
  • the perpendicular magnetic recording medium is optionally formed of a soft magnetic material, and a soft magnetic backing layer that plays a role of concentrating the magnetic flux generated by the magnetic head on the magnetic recording layer, and a hard magnetic material of the magnetic recording layer. It may further include a seed layer for orientation in the direction, a protective layer for protecting the surface of the magnetic recording layer, and the like.
  • a magnetic recording medium having a magnetic recording layer formed of a material having high magnetic anisotropy has a large coercive force and is difficult to record magnetization.
  • energy assisted magnetic recording methods such as a heat assisted recording method and a microwave assisted recording method have been proposed.
  • the heat-assisted recording method utilizes the temperature dependence of the magnetic anisotropy constant (Ku) in the magnetic material, that is, the characteristic that Ku becomes smaller as the temperature increases.
  • a head having a function of heating the magnetic recording layer is used. That is, by increasing the temperature of the magnetic recording layer and temporarily lowering Ku, the reversal magnetic field is reduced, and writing is performed during that time. Since Ku returns to the original high value after the temperature is lowered, the recorded magnetization can be maintained stably.
  • tunnel magnetoresistive element TMR
  • MRAM magnetoresistive random access memory
  • flash memory static random access memory
  • DRAM dynamic random access memory
  • the MRAM is a memory using the same magnetic material as a hard disk or the like as a recording medium.
  • the MRAM has an address access time of about 10 ns and a cycle time of about 20 ns. Therefore, the read / write speed of the MRAM is about five times the read / write speed of the DRAM, that is, the read / write speed of the static random access memory (SRAM). In addition, the MRAM has an advantage that low power consumption about one-tenth that of a flash memory and high-density integration can be realized.
  • the TMR used for the MRAM can be manufactured by various techniques.
  • a laminated body including TMR can be obtained by forming a ferromagnetic thin film on an antiferromagnetic thin film.
  • Patent Document 1 Japanese Patent Laid-Open No. 2005-333106 (Patent Document 1), an antiferromagnetic layer and a ferromagnetic layer exchange-coupled to the antiferromagnetic layer are sequentially stacked on a substrate, and the antiferromagnetic layer is formed of Mn—
  • An exchange coupling device including an ordered phase (Mn 3 Ir) of an Ir alloy is disclosed.
  • FIG. 5 of this document discloses a schematic cross-sectional view of a TMR including the above-described exchange coupling element.
  • FIG. 4 of the document discloses a spin valve magnetoresistive element including an exchange coupling element.
  • a micro electro mechanical system (MEMS) device will be described as a third example of an application device including a magnetic thin film.
  • a MEMS device is a general term for devices in which mechanical element parts, sensors, actuators, and / or electronic circuits are integrated on a single substrate. Substrates that can be used include silicon substrates, glass substrates, or organic material substrates. Applications of MEMS devices are: Digital micromirror device (DMD), one of the optical elements of projectors; Micro nozzles used in inkjet printer heads; and various types of sensors such as pressure sensors, acceleration sensors, and flow sensors Includes sensors. In recent years, in addition to applications in the manufacturing industry, applications of MEMS devices in the medical field and the like are expected.
  • JP-2010-135610 proposes a magnetic thin film containing L1 1 type Co-Pt-C ordered alloy.
  • This Co—Pt—C ordered alloy optionally comprises Ni, Fe, Mn, Cr, V, Ti, Sc, Cu, Zn, Pd, Rh, Ru, Mo, Nb, Zr, Ag, Ir, Au.
  • Re, W, Ta, Hf, Al, Si, Ge, and B at least one additive element selected from the group consisting of B can be included.
  • the effect of these additive elements on the magnetic thin film has not been specifically studied.
  • Patent Document 3 composed of FePd, FePt, and the magnetic crystal grains consisting of L1 0 type ordered alloys such as CoPt and MnAl, a non-magnetic grain boundary of oxide
  • the oxide is composed of oxygen and one or more elements in which at least one element has a negative reduction potential.
  • Scandium (Sc) is described as an example of an element constituting the oxide.
  • this document does not perform any evaluation on the characteristics of the magnetic recording layer having the granular structure.
  • the document does not disclose or suggest the introduction of additional element in L1 0 type ordered alloy.
  • An object of the invention in which some of the configuration examples are disclosed in the present specification, is to provide a magnetic thin film having a high magnetic anisotropy constant Ku and a large coercive force Hc, and an application device including the magnetic thin film.
  • the magnetic thin film as an example of the embodiment of the present invention includes an ordered alloy, and the ordered alloy includes at least one first element selected from the group consisting of Fe and Ni, Pt, Pd, Au, and It contains at least one second element selected from the group consisting of Ir and Sc.
  • the first element is Fe and the second element is Pt.
  • it ordered alloy it is desirable to have a L1 0 ordered structure.
  • the magnetic thin film of the present embodiment may have a granular structure including magnetic crystal grains including the above-mentioned ordered alloy and nonmagnetic crystal grain boundaries.
  • the non-magnetic grain boundary may include at least one material selected from the group consisting of carbon, boron, oxide, and nitride.
  • a micro electro mechanical system can be formed using the magnetic thin film of this embodiment.
  • a magnetic recording medium as an example of an embodiment of the present invention includes a nonmagnetic substrate and a magnetic recording layer, and the magnetic recording layer includes the magnetic thin film.
  • a tunnel magnetoresistive element as an example of an embodiment of the present invention includes a pinned magnetic layer, a free magnetic layer, and a barrier layer, and the barrier layer is between the pinned magnetic layer and the free magnetic layer. And at least one of the pinned magnetic layer and the free magnetic layer includes the magnetic thin film.
  • a magnetic random access memory can be formed using this tunnel magnetoresistive element.
  • the magnetic thin film which is one example of the embodiment of the present invention can have both a large magnetic anisotropy constant Ku and a large coercive force Hc.
  • the magnetic thin film having the above-described characteristics is useful as a magnetic recording layer of a magnetic recording medium having a high recording density.
  • the above-described magnetic thin film is considered useful for reducing the size of the magnetoresistive element, improving the degree of integration of the magnetic random access memory, and the microelectromechanical system.
  • the magnetic thin film of the first embodiment includes an ordered alloy, and the ordered alloy includes at least one first element selected from the group consisting of Fe and Ni, and a group consisting of Pt, Pd, Au, and Ir. It includes at least one selected second element and Sc.
  • ordered alloy has L1 0 type structure. Preferred L1 0 type ordered alloys, FePtSc, and a FePdSc. Further, particularly preferred L1 0 type ordered alloys, Fe as a first element, Pt of the second element, and a Sc.
  • the ratio of the first element to the second element is in the range of 0.7 to 1.3, preferably in the range of 0.8 to 1.1, based on the number of atoms. Also good. By using the composition ratio within this range, it is possible to obtain L1 0 ordered structure having a large magnetic anisotropy constant Ku.
  • Sc in the ordered alloy used in the present embodiment is preferably Sc in a zero-valent oxidation state, that is, Sc in a metal state. While not intending to be bound by any theory, deformation occurs to the c-axis length of the crystal lattice of the L1 0 ordered structure by the addition of Sc is increased, a large magnetic anisotropy constant by the deformation of the crystal lattice It can be considered that Ku and a large coercive force Hc are obtained.
  • the ordered alloy does not contain higher oxidation state Sc like Sc oxide.
  • the process of deforming the crystal lattice such as substitution of other atoms with a higher oxidation state of the Sc compound or penetration of the higher oxidation state Sc compound into the lattice, is considered to be less likely to occur in principle. This is because it is unlikely that the effect of the present embodiment can be realized by a highly oxidized Sc compound.
  • the regularity S representing the degree of the regular structure may be a predetermined value or more.
  • the degree of order S is calculated by the ratio of the measured value to the theoretical value when the magnetic thin film is measured by X-ray diffraction (XRD) and completely ordered.
  • XRD X-ray diffraction
  • For L1 0 type ordered alloy is calculated using from ordered alloy (001) and the integrated intensity of the (002) peak.
  • the ratio of the (002) peak integrated intensity to the (001) peak integrated intensity calculated theoretically when the value of the ratio of the (002) peak integrated intensity to the measured (001) peak integrated intensity is perfectly ordered
  • the regularity S can be obtained by dividing by. When the degree of order S obtained in this way is 0.5 or more, the magnetic thin film has a practical magnetic anisotropy constant Ku.
  • the magnetic thin film of this embodiment may have a granular structure composed of magnetic crystal grains made of the ordered alloy and nonmagnetic crystal grain boundaries.
  • the nonmagnetic grain boundary may include carbon (C), boron (B), oxide, and nitride.
  • Oxides that can be used for the non-magnetic grain boundaries include SiO 2 , TiO 2 , and ZnO.
  • Nitrides that can be used for nonmagnetic grain boundaries include SiN and TiN.
  • each magnetic crystal grain is magnetically separated by a nonmagnetic grain boundary. This magnetic separation is effective in improving the SNR of the magnetic recording medium, particularly when a magnetic thin film is used for the magnetic recording layer of the magnetic recording medium.
  • the magnetic thin film of this embodiment is preferably formed by a sputtering method that involves heating the substrate.
  • a sputtering method a method well known in the technical field such as a DC magnetron sputtering method and an RF sputtering method can be used. The same applies to the description of the sputtering method in the following description unless otherwise specified.
  • the substrate temperature when forming the magnetic thin film is preferably in the range of 400 to 500 ° C. By employing a substrate temperature within this range, it is possible to improve the degree of order S of L1 0 type ordered alloy in the magnetic thin film.
  • a target used for the sputtering method a target composed of the first element and the second element and two targets composed of Sc may be used.
  • three targets that are a target made of the first element, a target made of the second element, and a target made of Sc may be used.
  • the ratio of the first element, the second element, and Sc in the ordered alloy of the magnetic recording layer 30 can be controlled by supplying power to each target separately.
  • the substrate used for forming the magnetic thin film of this embodiment may be various substrates having a smooth surface.
  • an Al alloy plated with NiP, tempered glass, crystallized glass, silicon or MgO can be used as the substrate.
  • a target in which a material for forming magnetic crystal grains and a material for forming nonmagnetic crystal grain boundaries are mixed at a predetermined ratio may be used.
  • a target made of a material that forms magnetic crystal grains and a target made of a material that forms nonmagnetic crystal grain boundaries may be used.
  • a plurality of targets may be used as targets for forming magnetic crystal grains. In this case, power can be separately supplied to each target to control the ratio of magnetic crystal grains and nonmagnetic crystal grain boundaries in the magnetic thin film.
  • the magnetic recording medium according to the second embodiment includes a nonmagnetic substrate and a magnetic recording layer, and the magnetic recording layer includes at least one magnetic thin film according to the first embodiment.
  • the magnetic recording medium includes a nonmagnetic substrate 10, a magnetic recording layer 30, and an optionally provided seed layer 20.
  • the nonmagnetic substrate 10 may be various substrates having a smooth surface. Materials generally used for magnetic recording media can be used.
  • the nonmagnetic substrate 10 can be formed using Al alloy plated with NiP, tempered glass, crystallized glass, MgO, or the like.
  • the magnetic recording layer 30 may be a single layer or a laminate of a plurality of layers. In the case of a single layer, the magnetic recording layer 30 is the magnetic thin film of the first embodiment.
  • the magnetic recording layer is composed of a plurality of layers
  • at least one of the plurality of layers is the magnetic thin film of the first embodiment.
  • the other layers of the plurality of layers are a layer intended for Curie temperature (Tc) control, a cap layer for adjusting magnetization reversal, an exchange coupling control layer for controlling exchange coupling between two magnetic layers, and magnetic characteristics It may be a magnetic layer for controlling the magnetic field, a magnetic layer for controlling the ferromagnetic resonance frequency for microwave-assisted magnetic recording, or the like. These layers can be formed using any method known in the art, including sputtering.
  • the magnetic recording medium of this embodiment is one selected from the group consisting of an adhesion layer, a heat sink layer, a soft magnetic backing layer, an underlayer, and a seed layer 20 between the nonmagnetic substrate 10 and the magnetic recording layer 30. Alternatively, a plurality of layers may be further included.
  • the magnetic recording medium of this embodiment may further include a protective layer 40 on the magnetic recording layer 30.
  • the magnetic recording medium of this embodiment may further include a liquid lubricant layer on the magnetic recording layer 30 or the protective layer 40.
  • the adhesion layer that may be optionally provided is used to enhance the adhesion between the layer formed thereon and the layer (including the nonmagnetic substrate 10) formed thereunder.
  • the adhesion layer 20 can be formed using a material having good adhesion to the material of the nonmagnetic substrate 10 described above. Such materials include metals such as Ni, W, Ta, Cr, Ru, and alloys containing the aforementioned metals.
  • an adhesion layer may be formed between two constituent layers other than the nonmagnetic substrate 10.
  • the adhesion layer may be a single layer or may have a laminated structure of a plurality of layers.
  • the soft magnetic backing layer which may be optionally provided controls the magnetic flux from the magnetic head and improves the recording / reproducing characteristics of the magnetic recording medium.
  • the materials for forming the soft magnetic underlayer include crystalline materials such as NiFe alloy, sendust (FeSiAl) alloy, CoFe alloy, microcrystalline materials such as FeTaC, CoFeNi, CoNiP, and Co alloys such as CoZrNb and CoTaZr. Including amorphous material.
  • the optimum value of the thickness of the soft magnetic underlayer depends on the structure and characteristics of the magnetic head used for magnetic recording. When the soft magnetic backing layer is formed by continuous film formation with other layers, it is preferable that the soft magnetic backing layer has a thickness in the range of 10 nm to 500 nm (including both ends) from the viewpoint of productivity.
  • a heat sink layer may be provided.
  • the heat sink layer is a layer for effectively absorbing excess heat of the magnetic recording layer 30 generated during the heat-assisted magnetic recording.
  • the heat sink layer can be formed using a material having high thermal conductivity and specific heat capacity.
  • a material includes Cu simple substance, Ag simple substance, Au simple substance, or an alloy material mainly composed of them.
  • “mainly” means that the content of the material is 50 wt% or more.
  • the heat sink layer can be formed using an Al—Si alloy, a Cu—B alloy, or the like.
  • the heat sink layer can be formed using Sendust (FeSiAl) alloy, soft magnetic CoFe alloy, or the like.
  • Sendust FeSiAl
  • soft magnetic material By using a soft magnetic material, the function of concentrating the perpendicular magnetic field generated by the head on the magnetic recording layer 30 can be imparted to the heat sink layer, and the function of the soft magnetic backing layer can be supplemented.
  • the optimum value of the heat sink layer thickness varies depending on the amount of heat and heat distribution during heat-assisted magnetic recording, the layer configuration of the magnetic recording medium, and the thickness of each component layer. In the case of forming by continuous film formation with other constituent layers, the film thickness of the heat sink layer is preferably 10 nm or more and 100 nm or less in consideration of productivity.
  • the heat sink layer can be formed using any method known in the art, such as a sputtering method or a vacuum evaporation method. Usually, the heat sink layer is formed using a sputtering method.
  • the heat sink layer can be provided between the nonmagnetic substrate 10 and the adhesion layer, between the adhesion layer and the underlayer, etc. in consideration of characteristics required for the magnetic recording medium.
  • the underlayer is a layer for controlling the crystallinity and / or crystal orientation of the seed layer 20 formed above.
  • the underlayer may be a single layer or a multilayer.
  • the underlayer is formed of Cr metal or an alloy in which at least one metal selected from the group consisting of Mo, W, Ti, V, Mn, Ta, and Zr is added to Cr as a main component.
  • a magnetic film is preferred.
  • the underlayer can be formed using any method known in the art such as sputtering.
  • the function of the seed layer 20 is to ensure the adhesion between the magnetic recording layer 30 and an underlying layer such as an underlayer, and to change the grain size and crystal orientation of the magnetic recording layer 30 of the upper magnetic recording layer 30. Is to control.
  • the seed layer 20 is preferably nonmagnetic.
  • the temperature rise and temperature distribution of the magnetic recording layer 30 are controlled by using the seed layer 20 as a thermal barrier.
  • the seed layer 20 has a function of rapidly raising the temperature of the magnetic recording layer 30 when the magnetic recording layer 30 is heated during the heat-assisted recording, Before the heat transfer in the in-plane direction of the recording layer 30 occurs, it is preferable to achieve both the function of guiding the heat of the magnetic recording layer 30 to the lower layer such as the underlayer by the heat transfer in the depth direction.
  • the material of the seed layer 20 is appropriately selected according to the material of the magnetic recording layer 30. More specifically, the material of the seed layer 20 is selected according to the material of the magnetic crystal grains of the magnetic recording layer. For example, if the magnetic crystal grains in the magnetic recording layer 30 is formed by L1 0 type ordered alloy, it is preferable to form the seed layer using a Pt metal or NaCl-type compounds. Particularly preferably, the seed layer 20 is formed using an oxide such as MgO or SrTiO 3 or a nitride such as TiN. Alternatively, the seed layer 20 can be formed by stacking a plurality of layers made of the above materials.
  • the seed layer 20 may have a thickness of 1 nm to 60 nm, preferably 1 nm to 20 nm.
  • the seed layer 20 can be formed using any method known in the art, such as a sputtering method or a vacuum evaporation method.
  • the protective layer can be formed using a material conventionally used in the field of magnetic recording media.
  • the protective layer 40 can be formed using a non-magnetic metal such as Pt, a carbon-based material such as diamond-like carbon, or a silicon-based material such as silicon nitride.
  • the protective layer may be a single layer or may have a laminated structure.
  • the protective layer having a laminated structure may be, for example, a laminated structure of two types of carbon materials having different characteristics, a laminated structure of metals and carbon materials, or a laminated structure of metal oxide films and carbon materials.
  • the protective layer can be formed using any method known in the art, such as sputtering, CVD, and vacuum deposition.
  • the liquid lubricant layer can be formed using a material conventionally used in the field of magnetic recording media.
  • a perfluoropolyether lubricant can be used.
  • the liquid lubricant layer can be formed using, for example, a coating method such as a dip coating method or a spin coating method.
  • TMR tunnel magnetoresistive element
  • the TMR includes a pinned magnetic layer 62, a free magnetic layer 64, and a barrier layer 66 between the pinned magnetic layer 62 and the free magnetic layer 64, as shown in FIG. At least one of 64 is the magnetic thin film of the first embodiment.
  • the free magnetic layer 64 is a magnetic layer that can change the direction of magnetization. Magnetization can be changed by a spin injection type using a current flowing through the tunnel magnetoresistive element 60. Or you may change magnetization by the magnetic field given from the outside.
  • the barrier layer 66 is a component that disposes a barrier for allowing a tunnel current to flow between the free magnetic layer 64 and the pinned magnetic film 62.
  • the barrier layer 66 can be formed using a thin film of an oxide such as magnesium oxide (MgO) or aluminum oxide (Al 2 O 3 ).
  • the barrier layer 66 can be formed using any method and conditions known in the art, such as sputtering and vacuum deposition.
  • the pinned magnetic film 62 is a component arranged as a magnetic layer whose magnetization direction does not change even when a current or an external magnetic field is applied to the tunnel magnetoresistive element 60.
  • the magnitude of the tunnel current flowing through the barrier layer 66 can be changed by the difference in magnetization direction between the fixed magnetic layer 62 and the free magnetic layer 64.
  • the tunnel magnetoresistive element 60 having such a configuration operates by changing the magnetization direction of the free magnetic layer 64 by a current supplied to the element or an external magnetic field.
  • a tunnel magnetoresistive element that performs spin injection by energization and changes magnetization by spin injection operates as follows. As shown in FIG. 2A, by passing a current from the pinned magnetic layer 62 toward the free magnetic layer 64, the magnetization directions of the pinned magnetic layer 62 and the free magnetic layer 64 can be made parallel. . Further, as shown in FIG. 2B, by passing a current from the free magnetic layer 64 toward the pinned magnetic layer 62, the magnetization directions of the pinned magnetic layer 62 and the free magnetic layer 64 are made antiparallel. be able to.
  • Both states shown in FIGS. 2A and 2B can be reversibly changed with each other.
  • the tunnel magnetoresistive element 60 can record “0” and “1” information depending on whether the magnetization directions of the pinned magnetic layer 62 and the free magnetic layer 64 are parallel or antiparallel.
  • 2A and 2B the case where the magnetization directions of the pinned magnetic layer 62 and the free magnetic layer 64 are parallel is “0”, and the magnetization directions of the pinned magnetic layer 62 and the free magnetic layer 64 are the same.
  • “1” is set when “A” is antiparallel, this correspondence may be reversed.
  • 2A and 2B exemplify the case where the magnetization directions of the pinned magnetic layer 62 and the free magnetic layer 64 are parallel to the layers.
  • the direction of magnetization of the layer 64 may be a direction perpendicular to the layer. Also in this case, information of “0” and “1” is recorded by changing the magnitude of the tunnel current flowing through the barrier layer 66 depending on whether the magnetization directions of both layers are parallel or antiparallel. be able to.
  • a magnetoresistive element in which the fixed magnetic layer 62 and the free magnetic layer 64 are directly joined may be used.
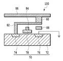
  • FIG. 3 shows one configuration example of a magnetic random access memory (MRAM) according to the fourth embodiment.
  • FIG. 3 shows a configuration example in which a signal recorded in the TMR is changed by a magnetic field applied from the outside.
  • the MRAM 100 shown in FIG. 3 is connected to a MOS-FET 70 having a substrate 72, a source 74, a drain 76, and a gate 78, a tunnel magnetoresistive element 60 connected to the source 74 via a contact 82, and a gate 78.
  • Word line 84, bit line 86 connected to tunneling magneto-resistance element 60, and digit line 88 for applying a write magnetic field to tunneling magneto-resistance element 60 are included.
  • the MRAM 100 causes a current to flow through the bit line 86 and the digit line 88 and records a signal of “0” or “1” in the tunnel magnetoresistive element 60 by the resultant combined magnetic field.
  • the bit line 86 and the digit line 88 extend in a direction crossing each other, and a signal can be recorded in the tunnel magnetoresistive element 60 located at the intersection of the bit line 86 and the digit line 88 through which a current flows.
  • the signal from the MRAM 100 applies a current to the word line 84 to apply a voltage to the bit line 86 in a state where the MOS-FET 70 is turned “ON”. It can be read out by detecting the current flowing to the MOS-FET 70 via the contact 82.
  • the current at this time corresponds to the tunnel current of the tunnel magnetoresistive element 60 and corresponds to a signal of “0” or “1”.
  • a method other than the configuration example of FIG. 3 may be used. For example, a spin-injection type magnetoresistive element may be used, and a signal to be recorded may be changed by a current flowing through the magnetoresistive element.
  • the magnetic thin film of the first embodiment can be used in a MEMS device.
  • the MEMS device can be formed using any known technique by incorporating the magnetic thin film of the first embodiment into a predetermined member.
  • Example 1 A (001) MgO single crystal substrate (manufactured by Tateho Chemical Industry Co., Ltd.) having a smooth surface was washed to prepare a nonmagnetic substrate 10.
  • the nonmagnetic substrate 10 after cleaning was introduced into the sputtering apparatus. After heating the nonmagnetic substrate 10 to 350 ° C., a 20 nm-thick Pt seed layer 20 was formed by RF magnetron sputtering using a Pt target in Ar gas at a pressure of 0.4 Pa.
  • an FePtSc magnetic film having a thickness of 10 nm is formed by an RF magnetron sputtering method using an FePt target and an Sc target in Ar gas at a pressure of 0.6 Pa.
  • a recording layer 30 was formed to obtain a magnetic recording medium having the structure shown in FIG.
  • a target having a Fe / Pt ratio of 45/55 was used as the FePt target.
  • the electric power applied to the FePt target was fixed at 300 W, and the electric power applied to the Sc target was changed from 40 to 450 W to adjust the Sc content in the magnetic recording layer 30.
  • magnetic recording layer 30 of the resultant magnetic recording medium is determined to have a L1 0 ordered structure. Further, by XRD, to determine the length of a-axis and c-axis of the crystal lattice of the L1 0 ordered structure. Furthermore, using a vibrating sample magnetometer (VSM), the hysteresis curve of the obtained magnetic recording medium was measured, and the coercive force Hc was measured. Further, the composition of the magnetic recording layer 30 of the obtained magnetic recording medium was measured by Rutherford backscattering method (RBS). The above measurement results are shown in Table 1.
  • VSM vibrating sample magnetometer
  • RBS Rutherford backscattering method
  • FIG. 4 shows the relationship between the Sc content of the magnetic recording layer 30 and the lengths of the a-axis and c-axis of the crystal lattice.
  • the length of the a-axis of the crystal lattice hardly changes.
  • the length of the c-axis of the crystal lattice increases as the Sc content increases. From this, it is considered that Sc exists in the FePt crystal grains.
  • FIG. 5 shows the relationship between the Sc content of the magnetic recording layer 30 and the coercive force Hc.
  • FIG. 6 shows the relationship between the Sc content of the magnetic recording layer 30 and the magnetic anisotropy constant Ku.
  • the inclusion of Sc increases the coercivity Hc and the magnetic anisotropy constant Ku.
  • the coercive force Hc shows a maximum value of 8.5 kOe (680 A / mm)
  • the magnetic anisotropy constant Ku is 26.7 erg / cm 3 ( The maximum value of 2.67 J / m 3 ) was shown.

Landscapes

  • Engineering & Computer Science (AREA)
  • Microelectronics & Electronic Packaging (AREA)
  • Computer Hardware Design (AREA)
  • Power Engineering (AREA)
  • Chemical & Material Sciences (AREA)
  • Crystallography & Structural Chemistry (AREA)
  • Physics & Mathematics (AREA)
  • Spectroscopy & Molecular Physics (AREA)
  • Manufacturing & Machinery (AREA)
  • Thin Magnetic Films (AREA)
  • Hall/Mr Elements (AREA)
  • Mram Or Spin Memory Techniques (AREA)
  • Magnetic Record Carriers (AREA)
  • Micromachines (AREA)
  • Magnetic Heads (AREA)
PCT/JP2015/002519 2014-06-24 2015-05-19 磁性薄膜および磁性薄膜を含む応用デバイス Ceased WO2015198523A1 (ja)

Priority Applications (3)

Application Number Priority Date Filing Date Title
CN201580011466.4A CN106062900B (zh) 2014-06-24 2015-05-19 磁性薄膜以及包括磁性薄膜的应用设备
SG11201607105PA SG11201607105PA (en) 2014-06-24 2015-05-19 Magnetic thin film and application device including magnetic thin film
US15/251,056 US10115890B2 (en) 2014-06-24 2016-08-30 Magnetic thin film and application device including magnetic thin film

Applications Claiming Priority (2)

Application Number Priority Date Filing Date Title
JP2014129203A JP6375719B2 (ja) 2014-06-24 2014-06-24 磁性薄膜および磁性薄膜を含む応用デバイス
JP2014-129203 2014-06-24

Related Child Applications (1)

Application Number Title Priority Date Filing Date
US15/251,056 Continuation US10115890B2 (en) 2014-06-24 2016-08-30 Magnetic thin film and application device including magnetic thin film

Publications (1)

Publication Number Publication Date
WO2015198523A1 true WO2015198523A1 (ja) 2015-12-30

Family

ID=54937635

Family Applications (1)

Application Number Title Priority Date Filing Date
PCT/JP2015/002519 Ceased WO2015198523A1 (ja) 2014-06-24 2015-05-19 磁性薄膜および磁性薄膜を含む応用デバイス

Country Status (6)

Country Link
US (1) US10115890B2 (enExample)
JP (1) JP6375719B2 (enExample)
CN (1) CN106062900B (enExample)
MY (1) MY175040A (enExample)
SG (1) SG11201607105PA (enExample)
WO (1) WO2015198523A1 (enExample)

Cited By (3)

* Cited by examiner, † Cited by third party
Publication number Priority date Publication date Assignee Title
WO2018079669A1 (ja) * 2016-10-31 2018-05-03 国立大学法人福井大学 2次元光走査ミラー装置、その製造方法、2次元光走査装置及び画像投影装置
JP2020115217A (ja) * 2020-03-24 2020-07-30 国立大学法人福井大学 2次元光走査ミラー装置、2次元光走査装置及び画像投影装置
JP2021532571A (ja) * 2018-07-09 2021-11-25 アプライド マテリアルズ インコーポレイテッドApplied Materials, Incorporated 磁気トンネル接合及びその製造方法

Families Citing this family (6)

* Cited by examiner, † Cited by third party
Publication number Priority date Publication date Assignee Title
US10453510B2 (en) * 2016-02-05 2019-10-22 Iucf-Hyu (Industry-University Cooperation Foundation Hanyang University) Memory device
TWI626162B (zh) * 2017-06-07 2018-06-11 國立清華大學 合金膜結晶織構誘導方法及其結構
JP2019047119A (ja) * 2017-09-04 2019-03-22 Tdk株式会社 磁気抵抗効果素子、磁気メモリ、および磁気デバイス
CN110246656A (zh) * 2019-07-02 2019-09-17 西华大学 一种多层耦合图形化磁性薄膜及制备和测试方法
CN113460951B (zh) * 2021-07-06 2023-07-25 北方工业大学 一种主动式mems固态制冷器件及其制造方法
JP7587795B2 (ja) * 2021-08-16 2024-11-21 株式会社デンソー 正方晶系薄膜構造体

Citations (4)

* Cited by examiner, † Cited by third party
Publication number Priority date Publication date Assignee Title
JP2003060263A (ja) * 2001-08-15 2003-02-28 Toshiba Corp 磁気抵抗効果素子、磁気ヘッド及び磁気再生装置
JP2007150265A (ja) * 2005-10-28 2007-06-14 Toshiba Corp 磁気抵抗効果素子および磁気記憶装置
JP2008098523A (ja) * 2006-10-13 2008-04-24 Toshiba Corp 磁気抵抗効果素子および磁気メモリ
JP2014056624A (ja) * 2012-09-11 2014-03-27 Fuji Electric Co Ltd 規則化合金を含む薄膜およびその製造方法

Family Cites Families (9)

* Cited by examiner, † Cited by third party
Publication number Priority date Publication date Assignee Title
TWI222630B (en) 2001-04-24 2004-10-21 Matsushita Electric Industrial Co Ltd Magnetoresistive element and magnetoresistive memory device using the same
JP3749873B2 (ja) * 2002-03-28 2006-03-01 株式会社東芝 磁気抵抗効果素子、磁気ヘッド及び磁気再生装置
JP4686430B2 (ja) * 2002-03-28 2011-05-25 株式会社東芝 磁気抵抗効果素子、磁気ヘッド及び磁気再生装置
JP2005333106A (ja) 2004-04-20 2005-12-02 Ken Takahashi 交換結合素子とその製造方法並びに交換結合素子を具備したデバイス
US20070096229A1 (en) 2005-10-28 2007-05-03 Masatoshi Yoshikawa Magnetoresistive element and magnetic memory device
US20080057350A1 (en) 2006-09-01 2008-03-06 Heraeus, Inc. Magnetic media and sputter targets with compositions of high anisotropy alloys and oxide compounds
JP5550007B2 (ja) 2008-12-05 2014-07-16 国立大学法人東北大学 磁性薄膜及びその製造方法、並びにこのような磁性薄膜を用いた各種応用デバイス
JP4903277B2 (ja) * 2010-01-26 2012-03-28 株式会社日立製作所 磁気抵抗効果素子、それを用いた磁気メモリセル及びランダムアクセスメモリ
JP5811672B2 (ja) * 2011-08-04 2015-11-11 富士電機株式会社 垂直磁気記録媒体およびその製造方法

Patent Citations (4)

* Cited by examiner, † Cited by third party
Publication number Priority date Publication date Assignee Title
JP2003060263A (ja) * 2001-08-15 2003-02-28 Toshiba Corp 磁気抵抗効果素子、磁気ヘッド及び磁気再生装置
JP2007150265A (ja) * 2005-10-28 2007-06-14 Toshiba Corp 磁気抵抗効果素子および磁気記憶装置
JP2008098523A (ja) * 2006-10-13 2008-04-24 Toshiba Corp 磁気抵抗効果素子および磁気メモリ
JP2014056624A (ja) * 2012-09-11 2014-03-27 Fuji Electric Co Ltd 規則化合金を含む薄膜およびその製造方法

Cited By (7)

* Cited by examiner, † Cited by third party
Publication number Priority date Publication date Assignee Title
WO2018079669A1 (ja) * 2016-10-31 2018-05-03 国立大学法人福井大学 2次元光走査ミラー装置、その製造方法、2次元光走査装置及び画像投影装置
JP2018072591A (ja) * 2016-10-31 2018-05-10 国立大学法人福井大学 2次元光走査ミラー装置、その製造方法、2次元光走査装置及び画像投影装置
US11067792B2 (en) 2016-10-31 2021-07-20 National University Corporation University Of Fukui Two-dimensional optical scanning mirror device, manufacturing method for same, two-dimensional optical scanner and image projector
US11307407B2 (en) 2016-10-31 2022-04-19 National University Corporation University Of Fukui Two-dimensional optical scanning mirror device, manufacturing method for same, two-dimensional optical scanner and image projector
JP2021532571A (ja) * 2018-07-09 2021-11-25 アプライド マテリアルズ インコーポレイテッドApplied Materials, Incorporated 磁気トンネル接合及びその製造方法
JP7125535B2 (ja) 2018-07-09 2022-08-24 アプライド マテリアルズ インコーポレイテッド 磁気トンネル接合及びその製造方法
JP2020115217A (ja) * 2020-03-24 2020-07-30 国立大学法人福井大学 2次元光走査ミラー装置、2次元光走査装置及び画像投影装置

Also Published As

Publication number Publication date
SG11201607105PA (en) 2016-10-28
US20160372657A1 (en) 2016-12-22
MY175040A (en) 2020-06-03
JP2016009753A (ja) 2016-01-18
JP6375719B2 (ja) 2018-08-22
CN106062900A (zh) 2016-10-26
US10115890B2 (en) 2018-10-30
CN106062900B (zh) 2018-03-23

Similar Documents

Publication Publication Date Title
JP6375719B2 (ja) 磁性薄膜および磁性薄膜を含む応用デバイス
US12020734B2 (en) Multilayer exchange spring recording media
JP5550007B2 (ja) 磁性薄膜及びその製造方法、並びにこのような磁性薄膜を用いた各種応用デバイス
US8941950B2 (en) Underlayers for heat assisted magnetic recording (HAMR) media
US8530065B1 (en) Composite magnetic recording medium
JP5103097B2 (ja) 垂直磁気記録媒体及びそれを用いた磁気記録再生装置
CN101393750B (zh) 磁记录介质
US8076012B2 (en) Magnetic thin film and method for forming the film, and magnetic thin film-applied device
JP2007273057A (ja) 垂直磁気記録媒体および磁気記憶装置
US20080075979A1 (en) Magnetic recording medium, method of manufacturing magnetic recording medium, and magnetic recording device
JP2014056624A (ja) 規則化合金を含む薄膜およびその製造方法
JP2010034182A5 (enExample)
CN100527228C (zh) 垂直磁记录介质和磁存储装置
JP6156518B2 (ja) 垂直磁気記録媒体
JP6260742B2 (ja) 磁気記録媒体
CN102576546B (zh) 磁记录介质和磁记录再生装置
JP5267938B2 (ja) 磁気記録媒体
JP5294062B2 (ja) 磁気記録媒体
US10388315B2 (en) Perpendicular magnetic recording medium
JP2007273054A (ja) 垂直磁気記録媒体および磁気記憶装置
HK1187443A (en) Underlayers for heat assisted magnetic recording (hamr) media

Legal Events

Date Code Title Description
121 Ep: the epo has been informed by wipo that ep was designated in this application

Ref document number: 15811395

Country of ref document: EP

Kind code of ref document: A1

NENP Non-entry into the national phase

Ref country code: DE

122 Ep: pct application non-entry in european phase

Ref document number: 15811395

Country of ref document: EP

Kind code of ref document: A1