WO2015159595A1 - 電池パック - Google Patents

電池パック Download PDF

Info

Publication number
WO2015159595A1
WO2015159595A1 PCT/JP2015/055753 JP2015055753W WO2015159595A1 WO 2015159595 A1 WO2015159595 A1 WO 2015159595A1 JP 2015055753 W JP2015055753 W JP 2015055753W WO 2015159595 A1 WO2015159595 A1 WO 2015159595A1
Authority
WO
WIPO (PCT)
Prior art keywords
overlapping portion
case
battery pack
bent
outer overlapping
Prior art date
Legal status (The legal status is an assumption and is not a legal conclusion. Google has not performed a legal analysis and makes no representation as to the accuracy of the status listed.)
Ceased
Application number
PCT/JP2015/055753
Other languages
English (en)
French (fr)
Japanese (ja)
Inventor
英史 大石
加藤 崇行
Current Assignee (The listed assignees may be inaccurate. Google has not performed a legal analysis and makes no representation or warranty as to the accuracy of the list.)
Toyota Industries Corp
Original Assignee
Toyota Industries Corp
Priority date (The priority date is an assumption and is not a legal conclusion. Google has not performed a legal analysis and makes no representation as to the accuracy of the date listed.)
Filing date
Publication date
Application filed by Toyota Industries Corp filed Critical Toyota Industries Corp
Priority to CN201580019448.0A priority Critical patent/CN106233496B/zh
Priority to DE112015001875.1T priority patent/DE112015001875T5/de
Priority to US15/302,249 priority patent/US10714718B2/en
Publication of WO2015159595A1 publication Critical patent/WO2015159595A1/ja
Anticipated expiration legal-status Critical
Ceased legal-status Critical Current

Links

Images

Classifications

    • HELECTRICITY
    • H01ELECTRIC ELEMENTS
    • H01MPROCESSES OR MEANS, e.g. BATTERIES, FOR THE DIRECT CONVERSION OF CHEMICAL ENERGY INTO ELECTRICAL ENERGY
    • H01M50/00Constructional details or processes of manufacture of the non-active parts of electrochemical cells other than fuel cells, e.g. hybrid cells
    • H01M50/20Mountings; Secondary casings or frames; Racks, modules or packs; Suspension devices; Shock absorbers; Transport or carrying devices; Holders
    • H01M50/233Mountings; Secondary casings or frames; Racks, modules or packs; Suspension devices; Shock absorbers; Transport or carrying devices; Holders characterised by physical properties of casings or racks, e.g. dimensions
    • H01M50/24Mountings; Secondary casings or frames; Racks, modules or packs; Suspension devices; Shock absorbers; Transport or carrying devices; Holders characterised by physical properties of casings or racks, e.g. dimensions adapted for protecting batteries from their environment, e.g. from corrosion
    • HELECTRICITY
    • H01ELECTRIC ELEMENTS
    • H01MPROCESSES OR MEANS, e.g. BATTERIES, FOR THE DIRECT CONVERSION OF CHEMICAL ENERGY INTO ELECTRICAL ENERGY
    • H01M50/00Constructional details or processes of manufacture of the non-active parts of electrochemical cells other than fuel cells, e.g. hybrid cells
    • H01M50/20Mountings; Secondary casings or frames; Racks, modules or packs; Suspension devices; Shock absorbers; Transport or carrying devices; Holders
    • H01M50/204Racks, modules or packs for multiple batteries or multiple cells
    • H01M50/207Racks, modules or packs for multiple batteries or multiple cells characterised by their shape
    • H01M50/209Racks, modules or packs for multiple batteries or multiple cells characterised by their shape adapted for prismatic or rectangular cells
    • HELECTRICITY
    • H01ELECTRIC ELEMENTS
    • H01MPROCESSES OR MEANS, e.g. BATTERIES, FOR THE DIRECT CONVERSION OF CHEMICAL ENERGY INTO ELECTRICAL ENERGY
    • H01M50/00Constructional details or processes of manufacture of the non-active parts of electrochemical cells other than fuel cells, e.g. hybrid cells
    • H01M50/20Mountings; Secondary casings or frames; Racks, modules or packs; Suspension devices; Shock absorbers; Transport or carrying devices; Holders
    • H01M50/271Lids or covers for the racks or secondary casings
    • BPERFORMING OPERATIONS; TRANSPORTING
    • B60VEHICLES IN GENERAL
    • B60JWINDOWS, WINDSCREENS, NON-FIXED ROOFS, DOORS, OR SIMILAR DEVICES FOR VEHICLES; REMOVABLE EXTERNAL PROTECTIVE COVERINGS SPECIALLY ADAPTED FOR VEHICLES
    • B60J10/00Sealing arrangements
    • B60J10/20Sealing arrangements characterised by the shape
    • B60J10/23Sealing arrangements characterised by the shape assembled from two or more parts
    • B60J10/235Sealing arrangements characterised by the shape assembled from two or more parts the parts being joined along their longitudinal direction
    • BPERFORMING OPERATIONS; TRANSPORTING
    • B60VEHICLES IN GENERAL
    • B60RVEHICLES, VEHICLE FITTINGS, OR VEHICLE PARTS, NOT OTHERWISE PROVIDED FOR
    • B60R13/00Elements for body-finishing, identifying, or decorating; Arrangements or adaptations for advertising purposes
    • B60R13/06Sealing strips
    • HELECTRICITY
    • H01ELECTRIC ELEMENTS
    • H01MPROCESSES OR MEANS, e.g. BATTERIES, FOR THE DIRECT CONVERSION OF CHEMICAL ENERGY INTO ELECTRICAL ENERGY
    • H01M2220/00Batteries for particular applications
    • H01M2220/20Batteries in motive systems, e.g. vehicle, ship, plane
    • YGENERAL TAGGING OF NEW TECHNOLOGICAL DEVELOPMENTS; GENERAL TAGGING OF CROSS-SECTIONAL TECHNOLOGIES SPANNING OVER SEVERAL SECTIONS OF THE IPC; TECHNICAL SUBJECTS COVERED BY FORMER USPC CROSS-REFERENCE ART COLLECTIONS [XRACs] AND DIGESTS
    • Y02TECHNOLOGIES OR APPLICATIONS FOR MITIGATION OR ADAPTATION AGAINST CLIMATE CHANGE
    • Y02EREDUCTION OF GREENHOUSE GAS [GHG] EMISSIONS, RELATED TO ENERGY GENERATION, TRANSMISSION OR DISTRIBUTION
    • Y02E60/00Enabling technologies; Technologies with a potential or indirect contribution to GHG emissions mitigation
    • Y02E60/10Energy storage using batteries

Definitions

  • the present invention relates to a battery pack.
  • the battery module described in Patent Literature 1 includes a plurality of unit cells (battery cells) and a module case that houses the unit cells.
  • liquid such as water or dust that has entered the case may cause a short circuit of the battery cell, which may cause the battery cell to fail. For this reason, improvement of the sealing performance of a case is desired.
  • An object of the present invention is to provide a battery pack with improved sealing performance of a case.
  • a battery pack including a battery cell and a case for accommodating the battery cell.
  • the case is sandwiched between a case body having an opening, a lid that is fixed to the case body and closes the opening, and an end surface surrounding the opening of the case body and the lid, and follows the shape of the opening.
  • a long and bent sealing material having elastic force.
  • the sealing material applies a restoring force to the inner overlapping portion, the outer overlapping portion that overlaps with the inner overlapping portion and disposed outside the inner overlapping portion, and the inner overlapping portion is pressed against the outer overlapping portion.
  • an inner bent portion is provided.
  • a long sealing material may be bent and placed between the case body and the lid to ensure the case's sealing performance.
  • the sealing performance of the case cannot be ensured.
  • the inner overlapping portion is pressed against the outer overlapping portion by the restoring force acting on the inner overlapping portion.
  • the adhesiveness of an inner side overlap part and an outer side overlap part improves. Therefore, it becomes difficult to produce the clearance gap between an inner side overlap part and an outer side overlap part, and the sealing performance between a case main body and a cover body, ie, the sealing performance of a case, improves.
  • the disassembled perspective view which shows the battery pack which concerns on one Embodiment of this invention.
  • the front view which shows the case main body of a battery pack.
  • the partial top view which expands and shows the inner side overlapping part and outer side overlapping part of a sealing material.
  • the partial top view which expands and shows the inner side overlapping part and outer side overlapping part of the sealing material which concern on a modification.
  • the partial top view which expands and shows the inner side overlap part and outer side overlap part which concern on a modification.
  • the partial top view which expands and shows the inner side overlap part and outer side overlap part which concern on a modification.
  • the vertical direction is the vertical direction.
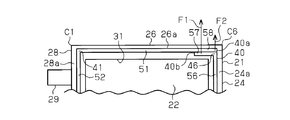
  • the battery pack 10 has a case 11.
  • a plurality of battery cells 12 are accommodated in the case 11.
  • the case 11 has a bottomed cylindrical case body 21, a flat lid 13, and a sealing material 40.
  • the sealing material 40 is disposed between the case main body 21 and the lid body 13.
  • the case body 21 has a flat base 22 and six rectangular flat walls 23 to 28. Each of the wall portions 23 to 28 extends from the periphery of the base portion 22 in the thickness direction of the base portion 22.
  • a first side wall portion 24 and a second side wall portion 25 are provided at both ends of the lower wall portion 23 in the longitudinal direction.
  • the first and second side wall portions 24 and 25 extend in the thickness direction of the lower wall portion 23.
  • the length of the first side wall portion 24 is larger than that of the second side wall portion 25.
  • An upper wall portion 26 is provided at an end of the first side wall portion 24 opposite to the lower wall portion 23.
  • the upper wall portion 26 extends in the thickness direction of the first side wall portion 24.
  • the lower wall portion 23 faces the upper wall portion 26.
  • the length of the upper wall portion 26 is smaller than that of the lower wall portion 23.
  • An inclined wall portion 27 is provided at an end of the second side wall portion 25 opposite to the lower wall portion 23.
  • the inclined wall portion 27 extends obliquely so as to approach both the first side wall portion 24 and the upper wall portion 26.
  • the inclined wall portion 27 is connected to the upper wall portion 26 via the third side wall portion 28.
  • the wall portions 23 to 28 are connected in a frame shape.
  • the second side wall part 25 and the third side wall part 28 are opposed to the first side wall part 24.
  • the case 11 is disposed with the lower wall portion 23 facing downward and the upper wall portion 26 facing upward.
  • a connector 29 is provided on the third side wall 28.
  • the connector 29 protrudes from the third side wall portion 28 to the outside of the case 11.
  • the connector 29 is electrically connected to the battery cell 12 by a harness (not shown).
  • the third side wall portion 28 is disposed between the second side wall portion 25 and the first side wall portion 24.
  • the third side wall portion 28 and the inclined wall portion 27 form a recess 30 that is recessed inside the case 11.
  • a region surrounded by the inclined wall portion 27 and the third side wall portion 28 is partitioned by the recess 30 as a region where the connector 29 is disposed.
  • the case body 21 has an opening 31 surrounded by the wall portions 23 to 28.
  • Each of the walls 23 to 28 has end faces 23 a to 28 a surrounding the opening 31.
  • a sealing material 40 is attached to the end surfaces 23a to 28a of the wall portions 23 to 28.
  • the sealing material 40 is manufactured using a material having elasticity such as rubber or a resin sponge.
  • the sealing material 40 is made of a single long bar and is bent along the shape of the opening 31.
  • the sealing material 40 is disposed so as to surround the opening 31.
  • a lid 13 that closes the opening 31 of the case body 21 is fixed to each of the walls 23 to 28.
  • the sealing material 40 is crushed by being sandwiched between the end faces 23a to 28a of the wall portions 23 to 28 and the lid body 13. In this way, the sealing performance between the case main body 21 and the lid body 13, that is, the sealing performance of the case 11 is ensured.
  • the sealing material 40 has six bent portions 41 to 46.
  • the first bent portion 41 is bent at an angle C1 where the upper wall portion 26 and the third side wall portion 28 intersect.
  • the second bent portion 42 is bent at an angle C ⁇ b> 2 where the third side wall portion 28 and the inclined wall portion 27 intersect.
  • the third bent portion 43 is bent at an angle C3 where the inclined wall portion 27 and the second side wall portion 25 intersect.
  • the fourth bent portion 44 is bent at an angle C4 where the second side wall portion 25 and the lower wall portion 23 intersect.
  • the fifth bent portion 45 is bent at an angle C5 where the lower wall portion 23 and the first side wall portion 24 intersect.
  • the sixth bent part 46 is bent at an angle C6 where the first side wall part 24 and the upper wall part 26 intersect.
  • the sealing material 40 has a first end 40a at one end in the longitudinal direction and a second end 40b at the other end.
  • the sealing material 40 has an upper portion 51 between the first end portion 40 a and the first bent portion 41.
  • the upper portion 51 is disposed along the end surface 26 a of the upper wall portion 26.
  • the sealing material 40 has a side portion 52 between the first bent portion 41 and the second bent portion 42.
  • the side portion 52 is disposed along the end surface 28 a of the third side wall portion 28.
  • the sealing material 40 has an inclined portion 53 between the second bent portion 42 and the third bent portion 43.
  • the inclined portion 53 is disposed along the end surface 27 a of the inclined wall portion 27.
  • the sealing material 40 has a side portion 54 between the third bent portion 43 and the fourth bent portion 44.
  • the side portion 54 is disposed along the end surface 25 a of the second side wall portion 25.
  • the sealing material 40 has a lower portion 55 between the fourth bent portion 44 and the fifth bent portion 45.
  • the lower portion 55 is disposed along the end surface 23 a of the lower wall portion 23.
  • the sealing material 40 has a side portion 56 between the fifth bent portion 45 and the sixth bent portion 46.
  • the side portion 56 is disposed along the end surface 24 a of the first side wall portion 24.
  • the sealing material 40 has an inner overlapping portion 57 between the sixth bent portion 46 and the second end portion 40 b.
  • the inner overlapping portion 57 is disposed along the end surface 26 a of the upper wall portion 26.
  • the inner overlapping portion 57 is disposed inside the upper portion 51.
  • the length of the inner overlapping portion 57 is smaller than that of the upper portion 51.
  • the inner overlapping portion 57 is in close contact with a part of the upper portion 51.
  • the upper portion 51 has an outer overlapping portion 58 at a portion overlapping the inner overlapping portion 57.
  • the outer overlapping portion 58 is disposed along the end surface 26 a of the upper wall portion 26.
  • the outer overlapping portion 58 is disposed outside the inner overlapping portion 57.
  • the outer overlapping portion 58 covers the sixth bent portion 46 from above.
  • the inner overlapping portion 57 and the outer overlapping portion 58 are disposed on the uppermost end surface 26a among the end surfaces 23a to 28a of the wall portions 23 to 28.
  • the sealing material 40 has an elastic force. For this reason, when the sealing material 40 is bent, a restoring force for restoring the original shape acts on the sealing material 40.
  • the restoring force F ⁇ b> 1 acting on the inner overlapping portion 57 depends on the sixth bent portion 46 closest to the inner overlapping portion 57.
  • the sixth bent portion 46 is bent from the end surface 24 a of the first side wall portion 24 toward the end surface 26 a of the upper wall portion 26.
  • a restoring force F ⁇ b> 1 acts on the inner overlapping portion 57 on the outer side so that the inner overlapping portion 57 is aligned with the side portion 56.
  • the restoring force F ⁇ b> 1 of the inner overlapping portion 57 acts on the outer overlapping portion 58.
  • the sixth bent portion 46 is an inner bent portion that applies a restoring force F1 to the inner overlapping portion 57 so that the inner overlapping portion 57 is pressed against the outer overlapping portion 58.
  • a restoring force F2 acts on the outer overlapping portion 58.
  • the restoring force F ⁇ b> 2 depends on the first bent portion 41 that is the bent portion closest to the upper portion 51 including the outer overlapping portion 58.
  • a restoring force F2 acts on the outer overlapping portion 58 to make the outer overlapping portion 58 in a straight line with the side portion 52. That is, the restoring force acts on the inner overlapping portion 57 and the outer overlapping portion 58 in the same direction.
  • the restoring force F ⁇ b> 2 acts on the outer overlapping portion 58 in a direction away from the inner overlapping portion 57.
  • the restoring force acting on the sealing material 40 depends on the distance from each bent portion 41 to 46. That is, the closer the distance from each of the bent portions 41 to 46, the greater the restoring force that acts on the sealing material 40.
  • the magnitude of the restoring force F ⁇ b> 1 acting on the inner overlapping portion 57 depends on the distance from the sixth bent portion 46.
  • the magnitude of the restoring force F ⁇ b> 2 acting on the outer overlapping portion 58 depends on the distance from the first bent portion 41. The distance from the first bent portion 41 to the outer overlapping portion 58 is larger than the distance from the sixth bent portion 46 to the inner overlapping portion 57.
  • the restoring force F2 acting on the outer overlapping portion 58 is smaller than the restoring force F1 acting on the inner overlapping portion 57. Therefore, even if the direction of the restoring force acting on the inner overlapping portion 57 and the outer overlapping portion 58 is the same, the inner overlapping portion 57 is pressed against the outer overlapping portion 58.
  • the long sealing material 40 is disposed between the case main body 21 and the lid body 13 in a bent state.
  • the sealing material 40 is disposed between the case main body 21 and the lid body 13 so as to surround the opening 31 without a gap.
  • the sealing material 40 is disposed so as to have an inner overlapping portion 57 and an outer overlapping portion 58 that overlap each other. At this time, if a gap is generated between the inner overlapping portion 57 and the outer overlapping portion 58, the sealing performance may not be ensured.
  • the restoring force F ⁇ b> 1 acts on the inner overlapping portion 57 toward the outer overlapping portion 58.
  • the restoring force F ⁇ b> 1 acts on the inner overlapping portion 57 toward the outer overlapping portion 58. For this reason, the adhesiveness of the inner side overlap part 57 and the outer side overlap part 58 improves, and the sealing performance of the case 11 improves. For this reason, it becomes difficult for liquid, dust, or the like to enter the case 11 from the outside. Therefore, the short circuit of the battery cell 12 is suppressed.
  • the inner overlapping portion 57 and the outer overlapping portion 58 overlap each other at the uppermost portion of the case 11.
  • the battery pack 10 may be housed in a housing portion such as a vehicle.
  • the inner overlapping portion 57 and the outer overlapping portion 58 are provided in the lower portion of the case 11, the liquid staying in the storage portion easily enters the case 11.
  • the inner overlapping portion 57 and the outer overlapping portion 58 at the uppermost portion of the case 11, it is difficult for the liquid staying in the storage portion to enter the case 11.
  • the outer overlapping portion 58 covers the sixth bent portion 46 from above.
  • the outer overlapping portion 58 does not cover the sixth bent portion 46, liquid stays between the sixth bent portion 46 and the inner overlapping portion 57, or the joint between the inner overlapping portion 57 and the outer overlapping portion 58.
  • by extending the outer overlapping portion 58 to a position that covers the sixth bent portion 46 it is possible to prevent liquid from staying near the joint between the inner overlapping portion 57 and the outer overlapping portion 58. Therefore, it is possible to prevent liquid from entering the case 11.
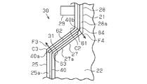
  • an inner overlapping portion 61 and an outer overlapping portion 62 may be disposed on the end surface 27 a of the inclined wall portion 27.
  • a restoring force F3 acts on the inner overlapping portion 61 by an inner bent portion 63 bent at a corner C3.
  • a restoring force F4 acts on the outer overlapping portion 62 inward due to the outer bent portion 64 bent at the corner C2. That is, the restoring force acts on the inner overlapping portion 61 and the outer overlapping portion 62 in a direction approaching each other. For this reason, the adhesiveness of the inner side overlapping part 61 and the outer side overlapping part 62 improves, and the sealing performance of the case 11 further improves.
  • the inclined wall portion 27 is one of the wall portions that define the recess 30. Further, the inclined portion 27 is not provided with the connector 29. Double sealing materials 40 are provided at the portions where the inner overlapping portion 61 and the outer overlapping portion 62 are arranged. For this reason, the end surface of the wall portion of the case 11 where the inner overlapping portion 61 and the outer overlapping portion 62 are arranged needs to have a large area. In this case, it is conceivable to increase the end surface area by thickening the wall. However, this method is not preferable because it may obstruct the arrangement of other members other than the battery pack 10. In this respect, the wall section that defines the recess 30 in which the connector 29 is disposed has the following advantages.
  • the inner overlapping portion 71 and the outer overlapping portion 72 may be disposed on the first side wall portion 24.
  • a restoring force F5 acts on the inner overlapping portion 71 on the outer side by an inner bent portion 73 bent at a corner C5.
  • the adhesiveness of the inner side overlapping part 71 and the outer side overlapping part 72 improves, and the sealing performance of the case 11 further improves.
  • the inner overlapping portion 71 extends upward and the outer overlapping portion 72 extends downward.
  • the joint between the inner overlapping portion 71 and the outer overlapping portion 72 is exposed upward.
  • the liquid moves from the top to the bottom, the liquid easily enters from the seam exposed upward.
  • the inner overlapping portion 71 extends upward and the outer overlapping portion 72 extends downward, the seam is not exposed facing upward, and the liquid can be prevented from entering the case 11.
  • an inner overlapping portion 81 and an outer overlapping portion 82 may be arranged on the third side wall portion 28. Also in this case, the restoring forces F6 and F7 act on the inner overlapping portion 81 and the outer overlapping portion 82 in the direction of approaching each other. For this reason, the adhesiveness of the inner side overlapping part 81 and the outer side overlapping part 82 improves.
  • the inner overlapping portion 57 and the outer overlapping portion 58 may be disposed on the second side wall portion 25 and the lower wall portion 23. In other words, the inner overlapping portion 57 and the outer overlapping portion 58 may be arranged at arbitrary positions on the end faces 23 a to 28 a surrounding the opening 31.
  • the shape of the opening 31 may be any shape such as a quadrangle or a pentagon.
  • a plurality of sealing materials 40 may be used.
  • the overlapping portions of the sealing materials 40 are the inner overlapping portion 57 and the outer overlapping portion 58. Further, as the number of sealing materials 40 increases, the number of inner overlapping portions 57 and outer overlapping portions 58 also increases.

Landscapes

  • Chemical & Material Sciences (AREA)
  • Chemical Kinetics & Catalysis (AREA)
  • Electrochemistry (AREA)
  • General Chemical & Material Sciences (AREA)
  • Battery Mounting, Suspending (AREA)
  • Sealing Battery Cases Or Jackets (AREA)
PCT/JP2015/055753 2014-04-18 2015-02-27 電池パック Ceased WO2015159595A1 (ja)

Priority Applications (3)

Application Number Priority Date Filing Date Title
CN201580019448.0A CN106233496B (zh) 2014-04-18 2015-02-27 电池组
DE112015001875.1T DE112015001875T5 (de) 2014-04-18 2015-02-27 Batteriepackung
US15/302,249 US10714718B2 (en) 2014-04-18 2015-02-27 Battery pack

Applications Claiming Priority (2)

Application Number Priority Date Filing Date Title
JP2014086854A JP6233168B2 (ja) 2014-04-18 2014-04-18 電池パック
JP2014-086854 2014-04-18

Publications (1)

Publication Number Publication Date
WO2015159595A1 true WO2015159595A1 (ja) 2015-10-22

Family

ID=54323812

Family Applications (1)

Application Number Title Priority Date Filing Date
PCT/JP2015/055753 Ceased WO2015159595A1 (ja) 2014-04-18 2015-02-27 電池パック

Country Status (5)

Country Link
US (1) US10714718B2 (enExample)
JP (1) JP6233168B2 (enExample)
CN (1) CN106233496B (enExample)
DE (1) DE112015001875T5 (enExample)
WO (1) WO2015159595A1 (enExample)

Families Citing this family (5)

* Cited by examiner, † Cited by third party
Publication number Priority date Publication date Assignee Title
JP6657919B2 (ja) * 2015-12-18 2020-03-04 株式会社豊田自動織機 電池パック
JP2018037185A (ja) * 2016-08-30 2018-03-08 株式会社豊田自動織機 電池パック
JP6794767B2 (ja) * 2016-10-19 2020-12-02 株式会社豊田自動織機 電池パック
JP6787148B2 (ja) * 2017-01-23 2020-11-18 株式会社豊田自動織機 電池パック
KR102270269B1 (ko) * 2018-01-17 2021-06-28 주식회사 엘지에너지솔루션 리유즈, 리사이클 내지 리웍이 용이한 접착 구조를 갖는 배터리 모듈 하우징 및 이를 포함하는 배터리 모듈

Citations (4)

* Cited by examiner, † Cited by third party
Publication number Priority date Publication date Assignee Title
JPH07317907A (ja) * 1994-05-30 1995-12-08 Mitsubishi Heavy Ind Ltd 軟質パッキン材
US6352267B1 (en) * 1999-03-12 2002-03-05 John E. Rode Adjustaby sizeable ring seal
JP2003120815A (ja) * 2001-10-18 2003-04-23 Japan Gore Tex Inc 矩形シール材
JP2013207114A (ja) * 2012-03-28 2013-10-07 Fujitsu Ltd 筐体

Family Cites Families (15)

* Cited by examiner, † Cited by third party
Publication number Priority date Publication date Assignee Title
JPS6482457A (en) * 1987-09-25 1989-03-28 Fuji Electrochemical Co Ltd Button type alkaline-manganese cell
JPH0648266Y2 (ja) * 1987-11-20 1994-12-12 三洋電機株式会社 温風コタツ
JP2005339995A (ja) * 2004-05-27 2005-12-08 Matsushita Electric Ind Co Ltd 扁平形有機電解液電池
WO2007001345A2 (en) * 2005-03-14 2007-01-04 Johnson Controls Technology Company Lithium battery system
WO2006126831A1 (en) * 2005-05-27 2006-11-30 E.M.W. Energy Co., Ltd. Battery and method for producing the same
KR100644776B1 (ko) * 2005-05-27 2006-11-14 유병훈 공기 아연 전지 및 그 제조 방법
US7816026B2 (en) * 2006-09-22 2010-10-19 Eveready Battery Company, Inc. Battery having air electrode and biased lever gasket
JP4739264B2 (ja) * 2007-03-30 2011-08-03 Nok株式会社 密封構造及びガスケット
JP5180505B2 (ja) 2007-03-30 2013-04-10 三菱重工業株式会社 電池モジュール
EP2525426B1 (en) * 2010-01-15 2017-10-18 Mitsubishi Jidosha Kogyo Kabushiki Kaisha Battery case for vehicle
US9331321B2 (en) * 2011-03-31 2016-05-03 GM Global Technology Operations LLC Fabric composite support or enclosure for an automotive battery pack
JP5655944B2 (ja) * 2011-06-10 2015-01-21 富士通株式会社 携帯型電子機器、および、防水カバー
US8574021B2 (en) * 2011-09-23 2013-11-05 Mattel, Inc. Foldable toy vehicles
CN203423217U (zh) * 2013-06-25 2014-02-05 常州市宇峰电源有限公司 防泄漏纽扣电池
DE102015217076A1 (de) * 2015-09-07 2017-03-09 Robert Bosch Gmbh Gehäuse für eine Mehrzahl von elektrischen Energiespeichereinheiten

Patent Citations (4)

* Cited by examiner, † Cited by third party
Publication number Priority date Publication date Assignee Title
JPH07317907A (ja) * 1994-05-30 1995-12-08 Mitsubishi Heavy Ind Ltd 軟質パッキン材
US6352267B1 (en) * 1999-03-12 2002-03-05 John E. Rode Adjustaby sizeable ring seal
JP2003120815A (ja) * 2001-10-18 2003-04-23 Japan Gore Tex Inc 矩形シール材
JP2013207114A (ja) * 2012-03-28 2013-10-07 Fujitsu Ltd 筐体

Also Published As

Publication number Publication date
DE112015001875T5 (de) 2016-12-29
CN106233496B (zh) 2019-01-15
CN106233496A (zh) 2016-12-14
US10714718B2 (en) 2020-07-14
JP6233168B2 (ja) 2017-11-22
JP2015207427A (ja) 2015-11-19
US20170033340A1 (en) 2017-02-02

Similar Documents

Publication Publication Date Title
WO2015159595A1 (ja) 電池パック
JP6094740B2 (ja) 電装ケース
EP3578421A1 (en) Liquid-proof structure of fitting body, electrical connection box, and wire harness
KR20140047899A (ko) 밀폐케이스
JP2014164825A (ja) コネクタ
US10340482B2 (en) Energy storage apparatus
KR20150081855A (ko) 연료전지용 스택
JP2020072056A (ja) コネクタ
JP2015118804A5 (enExample)
CN108353513A (zh) 机器壳体的封闭结构
CN105633449B (zh) 可再充电电池
JP2019115242A (ja) 電気接続箱
JP6071649B2 (ja) 電気的素子のシール構造
WO2016039066A1 (ja) 防水カバーを備えた電気装置及び防水カバー
JP2016127640A (ja) 密封箱および密封構造
JP6343169B2 (ja) グロメット、及び、ワイヤーハーネス
JP5145010B2 (ja) シール体、及びそのシール体を有するコネクタ
KR20150102295A (ko) 방수 케이스
WO2019189162A1 (ja) 蓄電モジュール
JP6896924B2 (ja) アキュムレータ
JP2015122914A (ja) 電力変換ユニットケース
JP2013101218A (ja) 表示装置のフロントユニット
JP2010272561A (ja) 防水構造
JP2016092055A (ja) ケース
JP2014184897A (ja) グロメット

Legal Events

Date Code Title Description
121 Ep: the epo has been informed by wipo that ep was designated in this application

Ref document number: 15780172

Country of ref document: EP

Kind code of ref document: A1

WWE Wipo information: entry into national phase

Ref document number: 15302249

Country of ref document: US

WWE Wipo information: entry into national phase

Ref document number: 112015001875

Country of ref document: DE

122 Ep: pct application non-entry in european phase

Ref document number: 15780172

Country of ref document: EP

Kind code of ref document: A1