WO2015159500A1 - ヘッドアップディスプレイ装置 - Google Patents

ヘッドアップディスプレイ装置 Download PDF

Info

Publication number
WO2015159500A1
WO2015159500A1 PCT/JP2015/001918 JP2015001918W WO2015159500A1 WO 2015159500 A1 WO2015159500 A1 WO 2015159500A1 JP 2015001918 W JP2015001918 W JP 2015001918W WO 2015159500 A1 WO2015159500 A1 WO 2015159500A1
Authority
WO
WIPO (PCT)
Prior art keywords
display
video information
vehicle
area
control device
Prior art date
Legal status (The legal status is an assumption and is not a legal conclusion. Google has not performed a legal analysis and makes no representation as to the accuracy of the status listed.)
Ceased
Application number
PCT/JP2015/001918
Other languages
English (en)
French (fr)
Japanese (ja)
Inventor
慎二 久富
Current Assignee (The listed assignees may be inaccurate. Google has not performed a legal analysis and makes no representation or warranty as to the accuracy of the list.)
Denso Corp
Original Assignee
Denso Corp
Priority date (The priority date is an assumption and is not a legal conclusion. Google has not performed a legal analysis and makes no representation as to the accuracy of the date listed.)
Filing date
Publication date
Application filed by Denso Corp filed Critical Denso Corp
Priority to US15/303,307 priority Critical patent/US9817237B2/en
Publication of WO2015159500A1 publication Critical patent/WO2015159500A1/ja
Anticipated expiration legal-status Critical
Ceased legal-status Critical Current

Links

Images

Classifications

    • GPHYSICS
    • G02OPTICS
    • G02BOPTICAL ELEMENTS, SYSTEMS OR APPARATUS
    • G02B27/00Optical systems or apparatus not provided for by any of the groups G02B1/00 - G02B26/00, G02B30/00
    • G02B27/01Head-up displays
    • G02B27/0179Display position adjusting means not related to the information to be displayed
    • GPHYSICS
    • G02OPTICS
    • G02BOPTICAL ELEMENTS, SYSTEMS OR APPARATUS
    • G02B27/00Optical systems or apparatus not provided for by any of the groups G02B1/00 - G02B26/00, G02B30/00
    • G02B27/01Head-up displays
    • BPERFORMING OPERATIONS; TRANSPORTING
    • B60VEHICLES IN GENERAL
    • B60KARRANGEMENT OR MOUNTING OF PROPULSION UNITS OR OF TRANSMISSIONS IN VEHICLES; ARRANGEMENT OR MOUNTING OF PLURAL DIVERSE PRIME-MOVERS IN VEHICLES; AUXILIARY DRIVES FOR VEHICLES; INSTRUMENTATION OR DASHBOARDS FOR VEHICLES; ARRANGEMENTS IN CONNECTION WITH COOLING, AIR INTAKE, GAS EXHAUST OR FUEL SUPPLY OF PROPULSION UNITS IN VEHICLES
    • B60K35/00Instruments specially adapted for vehicles; Arrangement of instruments in or on vehicles
    • B60K35/20Output arrangements, i.e. from vehicle to user, associated with vehicle functions or specially adapted therefor
    • B60K35/21Output arrangements, i.e. from vehicle to user, associated with vehicle functions or specially adapted therefor using visual output, e.g. blinking lights or matrix displays
    • B60K35/213Virtual instruments
    • BPERFORMING OPERATIONS; TRANSPORTING
    • B60VEHICLES IN GENERAL
    • B60KARRANGEMENT OR MOUNTING OF PROPULSION UNITS OR OF TRANSMISSIONS IN VEHICLES; ARRANGEMENT OR MOUNTING OF PLURAL DIVERSE PRIME-MOVERS IN VEHICLES; AUXILIARY DRIVES FOR VEHICLES; INSTRUMENTATION OR DASHBOARDS FOR VEHICLES; ARRANGEMENTS IN CONNECTION WITH COOLING, AIR INTAKE, GAS EXHAUST OR FUEL SUPPLY OF PROPULSION UNITS IN VEHICLES
    • B60K35/00Instruments specially adapted for vehicles; Arrangement of instruments in or on vehicles
    • B60K35/20Output arrangements, i.e. from vehicle to user, associated with vehicle functions or specially adapted therefor
    • B60K35/21Output arrangements, i.e. from vehicle to user, associated with vehicle functions or specially adapted therefor using visual output, e.g. blinking lights or matrix displays
    • B60K35/23Head-up displays [HUD]
    • BPERFORMING OPERATIONS; TRANSPORTING
    • B60VEHICLES IN GENERAL
    • B60KARRANGEMENT OR MOUNTING OF PROPULSION UNITS OR OF TRANSMISSIONS IN VEHICLES; ARRANGEMENT OR MOUNTING OF PLURAL DIVERSE PRIME-MOVERS IN VEHICLES; AUXILIARY DRIVES FOR VEHICLES; INSTRUMENTATION OR DASHBOARDS FOR VEHICLES; ARRANGEMENTS IN CONNECTION WITH COOLING, AIR INTAKE, GAS EXHAUST OR FUEL SUPPLY OF PROPULSION UNITS IN VEHICLES
    • B60K35/00Instruments specially adapted for vehicles; Arrangement of instruments in or on vehicles
    • B60K35/20Output arrangements, i.e. from vehicle to user, associated with vehicle functions or specially adapted therefor
    • B60K35/29Instruments characterised by the way in which information is handled, e.g. showing information on plural displays or prioritising information according to driving conditions
    • BPERFORMING OPERATIONS; TRANSPORTING
    • B60VEHICLES IN GENERAL
    • B60KARRANGEMENT OR MOUNTING OF PROPULSION UNITS OR OF TRANSMISSIONS IN VEHICLES; ARRANGEMENT OR MOUNTING OF PLURAL DIVERSE PRIME-MOVERS IN VEHICLES; AUXILIARY DRIVES FOR VEHICLES; INSTRUMENTATION OR DASHBOARDS FOR VEHICLES; ARRANGEMENTS IN CONNECTION WITH COOLING, AIR INTAKE, GAS EXHAUST OR FUEL SUPPLY OF PROPULSION UNITS IN VEHICLES
    • B60K35/00Instruments specially adapted for vehicles; Arrangement of instruments in or on vehicles
    • B60K35/65Instruments specially adapted for specific vehicle types or users, e.g. for left- or right-hand drive
    • B60K35/652Instruments specially adapted for specific vehicle types or users, e.g. for left- or right-hand drive for left- or right-hand drive
    • BPERFORMING OPERATIONS; TRANSPORTING
    • B60VEHICLES IN GENERAL
    • B60KARRANGEMENT OR MOUNTING OF PROPULSION UNITS OR OF TRANSMISSIONS IN VEHICLES; ARRANGEMENT OR MOUNTING OF PLURAL DIVERSE PRIME-MOVERS IN VEHICLES; AUXILIARY DRIVES FOR VEHICLES; INSTRUMENTATION OR DASHBOARDS FOR VEHICLES; ARRANGEMENTS IN CONNECTION WITH COOLING, AIR INTAKE, GAS EXHAUST OR FUEL SUPPLY OF PROPULSION UNITS IN VEHICLES
    • B60K35/00Instruments specially adapted for vehicles; Arrangement of instruments in or on vehicles
    • B60K35/80Arrangements for controlling instruments
    • B60K35/81Arrangements for controlling instruments for controlling displays
    • GPHYSICS
    • G02OPTICS
    • G02BOPTICAL ELEMENTS, SYSTEMS OR APPARATUS
    • G02B27/00Optical systems or apparatus not provided for by any of the groups G02B1/00 - G02B26/00, G02B30/00
    • G02B27/01Head-up displays
    • G02B27/0101Head-up displays characterised by optical features
    • GPHYSICS
    • G06COMPUTING OR CALCULATING; COUNTING
    • G06TIMAGE DATA PROCESSING OR GENERATION, IN GENERAL
    • G06T19/00Manipulating 3D models or images for computer graphics
    • G06T19/006Mixed reality
    • GPHYSICS
    • G06COMPUTING OR CALCULATING; COUNTING
    • G06TIMAGE DATA PROCESSING OR GENERATION, IN GENERAL
    • G06T19/00Manipulating 3D models or images for computer graphics
    • G06T19/20Editing of 3D images, e.g. changing shapes or colours, aligning objects or positioning parts
    • GPHYSICS
    • G06COMPUTING OR CALCULATING; COUNTING
    • G06VIMAGE OR VIDEO RECOGNITION OR UNDERSTANDING
    • G06V20/00Scenes; Scene-specific elements
    • G06V20/50Context or environment of the image
    • G06V20/56Context or environment of the image exterior to a vehicle by using sensors mounted on the vehicle
    • GPHYSICS
    • G09EDUCATION; CRYPTOGRAPHY; DISPLAY; ADVERTISING; SEALS
    • G09GARRANGEMENTS OR CIRCUITS FOR CONTROL OF INDICATING DEVICES USING STATIC MEANS TO PRESENT VARIABLE INFORMATION
    • G09G5/00Control arrangements or circuits for visual indicators common to cathode-ray tube indicators and other visual indicators
    • G09G5/36Control arrangements or circuits for visual indicators common to cathode-ray tube indicators and other visual indicators characterised by the display of a graphic pattern, e.g. using an all-points-addressable [APA] memory
    • G09G5/38Control arrangements or circuits for visual indicators common to cathode-ray tube indicators and other visual indicators characterised by the display of a graphic pattern, e.g. using an all-points-addressable [APA] memory with means for controlling the display position
    • HELECTRICITY
    • H04ELECTRIC COMMUNICATION TECHNIQUE
    • H04NPICTORIAL COMMUNICATION, e.g. TELEVISION
    • H04N9/00Details of colour television systems
    • H04N9/12Picture reproducers
    • H04N9/31Projection devices for colour picture display, e.g. using electronic spatial light modulators [ESLM]
    • H04N9/3179Video signal processing therefor
    • BPERFORMING OPERATIONS; TRANSPORTING
    • B60VEHICLES IN GENERAL
    • B60KARRANGEMENT OR MOUNTING OF PROPULSION UNITS OR OF TRANSMISSIONS IN VEHICLES; ARRANGEMENT OR MOUNTING OF PLURAL DIVERSE PRIME-MOVERS IN VEHICLES; AUXILIARY DRIVES FOR VEHICLES; INSTRUMENTATION OR DASHBOARDS FOR VEHICLES; ARRANGEMENTS IN CONNECTION WITH COOLING, AIR INTAKE, GAS EXHAUST OR FUEL SUPPLY OF PROPULSION UNITS IN VEHICLES
    • B60K2360/00Indexing scheme associated with groups B60K35/00 or B60K37/00 relating to details of instruments or dashboards
    • B60K2360/18Information management
    • B60K2360/186Displaying information according to relevancy
    • B60K2360/1868Displaying information according to relevancy according to driving situations
    • BPERFORMING OPERATIONS; TRANSPORTING
    • B60VEHICLES IN GENERAL
    • B60KARRANGEMENT OR MOUNTING OF PROPULSION UNITS OR OF TRANSMISSIONS IN VEHICLES; ARRANGEMENT OR MOUNTING OF PLURAL DIVERSE PRIME-MOVERS IN VEHICLES; AUXILIARY DRIVES FOR VEHICLES; INSTRUMENTATION OR DASHBOARDS FOR VEHICLES; ARRANGEMENTS IN CONNECTION WITH COOLING, AIR INTAKE, GAS EXHAUST OR FUEL SUPPLY OF PROPULSION UNITS IN VEHICLES
    • B60K2360/00Indexing scheme associated with groups B60K35/00 or B60K37/00 relating to details of instruments or dashboards
    • B60K2360/20Optical features of instruments
    • B60K2360/33Illumination features
    • B60K2360/334Projection means
    • BPERFORMING OPERATIONS; TRANSPORTING
    • B60VEHICLES IN GENERAL
    • B60KARRANGEMENT OR MOUNTING OF PROPULSION UNITS OR OF TRANSMISSIONS IN VEHICLES; ARRANGEMENT OR MOUNTING OF PLURAL DIVERSE PRIME-MOVERS IN VEHICLES; AUXILIARY DRIVES FOR VEHICLES; INSTRUMENTATION OR DASHBOARDS FOR VEHICLES; ARRANGEMENTS IN CONNECTION WITH COOLING, AIR INTAKE, GAS EXHAUST OR FUEL SUPPLY OF PROPULSION UNITS IN VEHICLES
    • B60K2360/00Indexing scheme associated with groups B60K35/00 or B60K37/00 relating to details of instruments or dashboards
    • B60K2360/20Optical features of instruments
    • B60K2360/33Illumination features
    • B60K2360/347Optical elements for superposition of display information
    • BPERFORMING OPERATIONS; TRANSPORTING
    • B60VEHICLES IN GENERAL
    • B60KARRANGEMENT OR MOUNTING OF PROPULSION UNITS OR OF TRANSMISSIONS IN VEHICLES; ARRANGEMENT OR MOUNTING OF PLURAL DIVERSE PRIME-MOVERS IN VEHICLES; AUXILIARY DRIVES FOR VEHICLES; INSTRUMENTATION OR DASHBOARDS FOR VEHICLES; ARRANGEMENTS IN CONNECTION WITH COOLING, AIR INTAKE, GAS EXHAUST OR FUEL SUPPLY OF PROPULSION UNITS IN VEHICLES
    • B60K35/00Instruments specially adapted for vehicles; Arrangement of instruments in or on vehicles
    • B60K35/50Instruments characterised by their means of attachment to or integration in the vehicle
    • GPHYSICS
    • G02OPTICS
    • G02BOPTICAL ELEMENTS, SYSTEMS OR APPARATUS
    • G02B27/00Optical systems or apparatus not provided for by any of the groups G02B1/00 - G02B26/00, G02B30/00
    • G02B27/01Head-up displays
    • G02B27/0101Head-up displays characterised by optical features
    • G02B2027/014Head-up displays characterised by optical features comprising information/image processing systems
    • GPHYSICS
    • G02OPTICS
    • G02BOPTICAL ELEMENTS, SYSTEMS OR APPARATUS
    • G02B27/00Optical systems or apparatus not provided for by any of the groups G02B1/00 - G02B26/00, G02B30/00
    • G02B27/01Head-up displays
    • G02B27/0179Display position adjusting means not related to the information to be displayed
    • G02B2027/0183Adaptation to parameters characterising the motion of the vehicle
    • GPHYSICS
    • G02OPTICS
    • G02BOPTICAL ELEMENTS, SYSTEMS OR APPARATUS
    • G02B27/00Optical systems or apparatus not provided for by any of the groups G02B1/00 - G02B26/00, G02B30/00
    • G02B27/01Head-up displays
    • G02B27/0179Display position adjusting means not related to the information to be displayed
    • G02B2027/0187Display position adjusting means not related to the information to be displayed slaved to motion of at least a part of the body of the user, e.g. head, eye
    • GPHYSICS
    • G02OPTICS
    • G02BOPTICAL ELEMENTS, SYSTEMS OR APPARATUS
    • G02B27/00Optical systems or apparatus not provided for by any of the groups G02B1/00 - G02B26/00, G02B30/00
    • G02B27/01Head-up displays
    • G02B2027/0192Supplementary details
    • G02B2027/0196Supplementary details having transparent supporting structure for display mounting, e.g. to a window or a windshield
    • GPHYSICS
    • G06COMPUTING OR CALCULATING; COUNTING
    • G06TIMAGE DATA PROCESSING OR GENERATION, IN GENERAL
    • G06T2207/00Indexing scheme for image analysis or image enhancement
    • G06T2207/30Subject of image; Context of image processing
    • G06T2207/30248Vehicle exterior or interior
    • G06T2207/30252Vehicle exterior; Vicinity of vehicle
    • GPHYSICS
    • G09EDUCATION; CRYPTOGRAPHY; DISPLAY; ADVERTISING; SEALS
    • G09GARRANGEMENTS OR CIRCUITS FOR CONTROL OF INDICATING DEVICES USING STATIC MEANS TO PRESENT VARIABLE INFORMATION
    • G09G2340/00Aspects of display data processing
    • G09G2340/04Changes in size, position or resolution of an image
    • G09G2340/0464Positioning
    • GPHYSICS
    • G09EDUCATION; CRYPTOGRAPHY; DISPLAY; ADVERTISING; SEALS
    • G09GARRANGEMENTS OR CIRCUITS FOR CONTROL OF INDICATING DEVICES USING STATIC MEANS TO PRESENT VARIABLE INFORMATION
    • G09G2380/00Specific applications
    • G09G2380/10Automotive applications

Definitions

  • the present disclosure relates to a head-up display device.
  • This type of device detects the driver's line of sight and pointing direction, detects coincidence between the line of sight and pointing direction, and moves the driver to a display screen where the driver wants to move the line of sight and pointing direction.
  • a display screen that matches the pointing direction is selected as the movement target screen, and when the driver moves the line of sight and pointing direction to a desired position, the moving target screen moves to a position where the line of sight and pointing direction do not match (For example, see Patent Document 1).
  • Patent Document 1 can move the display screen to be moved to a position preferred by the occupant, the driver naturally moves the line of sight according to the vehicle state. Since the display position of the display screen is fixed even in a situation that cannot be obtained, there is a problem in that the visual field may be obstructed by the video information.
  • This disclosure is intended to enable video information to be displayed at a display position suitable for a vehicle state.
  • an optical unit that projects image light toward a front windshield of a vehicle and displays the image information reflected on the front windshield as a virtual image;
  • a display control device that controls the optical unit so as to display video information on the windshield; and a vehicle state specifying device that specifies the vehicle state.
  • the display control device controls the optical unit to move the display position of the video information in a direction in which the field of view of the driver of the vehicle is secured according to the vehicle state specified by the vehicle state specifying device.
  • the display control device controls the optical unit so as to move the display position of the video information in a direction in which the field of view of the driver of the vehicle is ensured according to the vehicle state.
  • the video information can be displayed at the display position.
  • FIG. 1 is a diagram illustrating an overall configuration of a head-up display device according to an embodiment of the present disclosure
  • FIG. 2 is a diagram showing the arrangement of each component in the vehicle
  • FIG. 3 is a diagram showing virtual image display by a head-up display
  • FIG. 4 is a flowchart of the display control apparatus.
  • FIG. 5 is a flowchart of the information acquisition process.
  • FIG. 6 is a state transition diagram of the vehicle state
  • FIG. 7 is a flowchart of the display position control process.
  • FIG. 8 is a diagram for explaining the calculation of the moving amount of the video information.
  • FIG. 9 is a diagram for explaining the display prohibition area and the display permission area.
  • FIG. 10 is a diagram for explaining the entire movement of the display prohibited area and the display permitted area.
  • FIG. 11 is a flowchart of the individual correction process.
  • FIG. 12 is a diagram for explaining the movement of individual video information.
  • FIG. 13 is a diagram for explaining the movement of individual video information.
  • FIG. 1 illustrates an overall configuration of a head-up display device according to an embodiment of the present disclosure.
  • the head-up display device 1 according to this embodiment is mounted on a vehicle and includes an optical unit 2, a display control device 11, a vehicle state measurement unit 37, an indoor camera 23, and a line-of-sight detection unit 30.
  • the optical unit 2 includes a plurality of, for example, three head-up displays 3 to 5, for example.
  • the head-up displays 3 to 5 project individual images on the transparent front windshield 6 as shown in FIG.
  • the front windshield 6 will be referred to as a wind glass 6.
  • the head-up displays 3 to 5 display an image on the wind glass 6 is shown in FIG. That is, the head-up displays 3 to 5 are disposed in the instrument panel 7 of the vehicle shown in FIG. 2, and each includes a TFT liquid crystal panel 8, a backlight 9, and a mirror 10 as a display unit.
  • the liquid crystal panel 8 acquires the video information from the display control device 11, receives the light from the backlight 9, and displays this video information as an image.
  • the display light of the image output from the liquid crystal panel 8 is reflected by the mirror 10 and reflected toward the window glass 6, thereby forming a virtual image m in front of the window glass 6.
  • the virtual image m is formed in front of the window glass 6, but for the viewer, it looks as if the image was displayed on the window glass 6. Is treated as a display screen projected on the window glass 6.
  • each head-up display 3 to 5 is configured so that its orientation can be freely changed up, down, left, and right, and the position of the display screen displayed on the window glass 6 is changed by changing the orientation. It has been moved.
  • the direction change of the liquid crystal panel 8 and the backlight 9 is automatically performed by the rotation mechanism 12.
  • the rotating mechanism 12 supports the liquid crystal panel 8 and the backlight 9 so as to be rotatable about two orthogonal axes, and is centered on one axis and the other axis by two stepping motors 12a and 12b. It is a structure to rotate.
  • a display control device 11 is connected to each head-up display 3-5.
  • the display control device 11 is configured as a computer including a CPU, a RAM, a ROM, and an I / O lamp, and the CPU performs various processes according to a program stored in the ROM.
  • a vehicle state measuring unit 37 is connected to the display control device 11.
  • the vehicle state measurement unit 37 is connected to a vehicle state measurement sensor group 25.
  • the vehicle state measurement sensor group 25 includes a three-axis gyro sensor 26, a steering wheel angle sensor 27, and a direction indicator 28.
  • the 3-axis gyro sensor 26 outputs a signal corresponding to the posture of the vehicle, and outputs angular velocity information indicating angular velocities in the three-axis directions of the pitch direction, the roll direction, and the yaw direction.
  • the steering wheel angle sensor 27 outputs steering angle information corresponding to the rotation angle of the steering wheel of the vehicle.
  • the direction indicator 28 has a vehicle direction indicator lamp (blinker) and a direction indicator lever (both not shown), and blinks the vehicle direction indicator lamp in response to a user operation on the direction indicator lever.
  • the direction indicator 28 outputs winker information indicating a right turn or a left turn according to a user operation on the direction indicator lever.
  • the navigation device 13 is mounted on the vehicle.
  • the navigation device 13 is configured as an audio video integrated type in which a DVD player 14 and a television receiver 15 are incorporated in addition to a radio receiver and a CD player (not shown). Further, the navigation device 13 incorporates a display unit 16 composed of a color liquid crystal display for projecting road maps, videos and television broadcast images.
  • the navigation device 13 includes a position detection unit 17, a map data storage unit 18, an input unit 19 including a mechanical switch and a touch panel provided on the screen of the display unit 16, a control unit 20, and the like.
  • the control unit 20 detects the current position from the position detection unit 17, acquires map information around the current position from the map data storage unit 18, and outputs road map video information (hereinafter simply referred to as map video information).
  • the DVD player 14 acquires and outputs video information from the DVD, and the TV receiver 15 receives TV broadcast radio waves and outputs TV video information (hereinafter simply referred to as TV video information).
  • map image information, video information, and television image information are given to the display control device 11 described above, and are displayed on the display unit 16 of the navigation device 13 under the control of the display control device 11.
  • the map image information, video information, and TV image information are given to the optical unit 2 under the control of the display control device 11 and can be displayed on the window glass 6. Note that which of the map video information, the video information, and the television video information is displayed on the display unit 16 of the navigation device 13 is determined by operating the input unit 19 of the navigation device 13.
  • an instrument video information generation device 21 is provided in the vehicle as a video information source given to the display control device 11.
  • the instrument video information generating device 21 acquires measurement data from various instrument sensor groups 22 such as a vehicle speed sensor, a fuel remaining amount sensor, a hydraulic pressure sensor, and an engine rotation speed sensor, and generates instrument video information based on the measurement data.
  • the display control device 11 gives the instrument video information to the optical unit 2 and displays it on the window glass 6.
  • the head-up displays 3 to 5 of the optical unit 2 share the video to be displayed, the head-up display 3 is dedicated to map video information, the head-up display 4 is used for both video information and TV video information, The display 5 is dedicated to instrument video information.
  • the display control device 11 changes the display position of the video information in a direction that does not hinder the driver's field of view according to the vehicle state, that is, a direction in which the driver's field of view is secured. ing.
  • the vehicle in order to change the display position of the video information according to the vehicle state, the vehicle is provided with an indoor camera 23 as shown in FIG.
  • the indoor camera 23 is arranged in the center of the front part of the ceiling of the vehicle interior, captures the driver's face, and outputs the captured image to the line-of-sight detection unit 30.
  • the line-of-sight detection unit 30 detects both eyes from the driver's face photographed by the indoor camera 23, and detects the line of sight by performing image recognition processing (for example, pattern matching) on the images of both eyes.
  • image recognition processing for example, pattern matching
  • the captured image is subjected to image processing to detect the position (coordinates) of the driver's eyes.
  • the line-of-sight detection method by the line-of-sight detection unit 30 includes, for example, a three-dimensional line-of-sight (for example, pattern matching) by performing image recognition processing (for example, pattern matching) on the direction of the driver's face and the bias direction of both eyes with respect to the face.
  • a three-dimensional line-of-sight for example, pattern matching
  • image recognition processing for example, pattern matching
  • a method for detecting the line of sight there are a method of detecting eye movement, a method of using the boundary between the cornea and the sclera, a method of using a cornea reflection image, and a method of using a cornea reflection image and a pupil.
  • An eye camera registered trademark
  • an information acquisition process is performed (S100). A flowchart of this information acquisition process is shown in FIG.
  • angular velocity information is acquired from the three-axis gyro sensor 26 (S102). Note that it is possible to specify how much the vehicle is traveling on a slope (uphill or downhill) with a road gradient by the angular velocity in the pitch direction included in the angular velocity information. Further, it is possible to specify whether the vehicle is traveling on a rough road such as a bumpy road by using the angular velocity in the roll direction and the angular velocity in the pitch direction included in the angular velocity information.
  • steering angle information corresponding to the rotation angle of the steering wheel of the vehicle is obtained from the steering wheel steering angle sensor 27 (S104). Note that it is possible to periodically acquire the steering angle information and estimate the turning angle of the vehicle based on the amount of change in the previous steering wheel steering angle and the current steering wheel steering angle.
  • the winker information output from the direction indicator 28 is acquired (S106). It is possible to specify whether the vehicle is turning right or left based on the winker information.
  • FIG. 6 shows a state transition diagram of the vehicle state.
  • the state transits to the “left turn” state.
  • the winker information indicating the left turn is not acquired in the “left turn” state, the state returns to the “normal” state. .
  • the state transits to the “right turn” state.
  • the blinker information indicating the right turn is not acquired in the “right turn” state, the “normal” state is acquired.
  • winker information indicating a right turn is acquired in a “left turn” state
  • the state transits to a “right turn” state.
  • winker information indicating a left turn is acquired in a “right turn” state
  • a “left turn” state is acquired.
  • the state transitions to the “bad road” state.
  • a threshold value for example, 10 degrees
  • the state transitions to the “normal” state.
  • a bad road flag indicating “bad road” is stored in the RAM. Also, in the “right turn” state, a right turn flag indicating the right turn state is stored in the RAM, and in the “left turn” state, a left turn flag indicating the left turn state is stored in the RAM, and this processing is terminated.
  • FIG. 7 shows a flowchart of the display position control process.
  • a vehicle state specifying result is acquired (S202). Specifically, the result of the vehicle state specified in S108 is acquired.
  • S203 it is determined whether there is a bad road flag (S203). Specifically, it is determined whether a bad road flag is stored in the RAM.
  • FIG. 8 shows a state in which the driver is viewing specific video information determined in advance on the window glass 6.
  • the distance L in the horizontal direction between the driver's eyes and the window glass 6 is specified using the position (coordinates) of the driver's eyes detected by the line-of-sight detection unit 30.
  • the window glass 6 is divided into a display prohibition area that prohibits display of video information and a display permission area that allows display of video information, and displays video information in the display permission area. Yes.
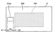
  • FIG. 9 shows a display example of video information when the vehicle is traveling on a flat road.
  • a display prohibition area 100 is provided at the center, and a display permission area 200 is provided so as to surround the display prohibition area 100, and video information is displayed in the display permission area 200.
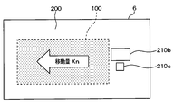
  • display bodies 210a, 210b, and 210c are displayed.
  • the entire display-prohibited area and the display-permitted area including the video information are moved in a direction in which the driver's view is secured. For example, when the vehicle is in an uphill running state, the entire display-prohibited area and the display-permitted area including video information are moved downward. In addition, when the vehicle is in a downhill running state, the entire display-prohibited area and the display-permitted area including video information are moved upward. In addition, when the vehicle is turning right, the entire display prohibited area and the entire display permitted area including the video information are moved to the right side, and when turning left, the entire display prohibited area and the entire display permitted area including the video information are displayed. Is moved to the left.
  • the horizontal distance between the driver's eyes and the window glass 6 is L, and the direction in which the driver is viewing the video information (the direction of the line of sight).
  • the angle ⁇ y can be obtained from the angular velocity of the triaxial gyro sensor 26 in the pitch direction. On the down slope, the angle ⁇ y may be a negative value.
  • the display prohibition area 100 and the display permission area 200 are used using a table that defines the amount of movement of the steering angle information output from the steering angle sensor 27 and the entire video information in the horizontal direction.
  • the overall movement amount X is determined. Note that the total movement amount X is determined so that the total movement amount of the display prohibition area 100 and the display permission area 200 increases as the rotation angle of the steering wheel of the vehicle increases. Further, here, only the determination of the total movement amount is performed, and the actual movement of the display of the video information is performed later.
  • the determination in S212 is NO, and then it is determined whether there is a left turn flag (S214). Specifically, it is determined whether a left turn flag is stored in the RAM.
  • FIG. 11 shows a flowchart of the individual correction process.
  • this individual correction process first, it is determined whether or not the individual video information n existing in the moving direction can be displayed even if the entire image is moved (S302).
  • a display body 210a having a horizontal length of Xn is displayed in the display permission area 200 on the left side of the display prohibition area 100, and a length X1 is displayed on the left side of the display body 210a. It is assumed that there is a margin and that there is a margin of length X2 on the right side of the display body 210a.
  • the leftward movement amount X is the length of the left and right margins of the display body 210a ( X1 + X2) or less, it is determined that the individual video information n existing in the moving direction can be displayed even if the whole is moved, and the amount of movement X in the left direction is the left and right margins of the display body 210a. If it is larger than the length (X1 + X2), it is determined that display of the individual video information n existing in the moving direction is impossible when the whole is moved.
  • the determination in S302 is NO, and next, the video information n that cannot be displayed is erased.
  • the entire display prohibited area 100 and the display permitted area 200 are moved by the movement amount calculated in S206 (S306).
  • the display body 210a on the left side of the display prohibition area 100 is deleted, and the display prohibition area 100 and the display permission area 200 including the individual video information n that can be displayed are displayed.
  • the optical unit 2 is controlled to move to the left by the entire movement range specified in S204, and this process is terminated.
  • the determination in S302 is YES, and then the individual video information n is the end. It is determined whether or not it is necessary to move (S304).
  • the movement amount X in the left direction is the display body. If it is equal to or less than the margin length X1 on the end side (left side) 210a, it is determined that an area for displaying the video information is secured without moving the individual video information n to the end side, and leftward Is larger than the margin length X1 on the end side (left side) of the display body 210a, an area for displaying the video information is secured by moving the individual video information n to the end side. Is determined.
  • the optical unit 2 is controlled to move the entire display-prohibited area 100 and the display-permitted area 200 by the movement amount calculated in S206, and this process ends.
  • the determination in S304 is YES, and then the video information n is moved to the end. (S308).
  • the display position of the display body 210a existing in the movement direction is corrected so as to move to the end of the display permission area 200, and the amount of movement calculated in S206 is displayed.
  • the optical unit 2 is controlled so as to move the entire prohibited area 100 and display permitted area 200, and this process ends.
  • the determination in S203 is YES, and display of all video information is prohibited (S210). Specifically, the optical unit 2 is controlled so as to prohibit display of all video information.
  • the optical unit is configured to hide the video information included in the display permission area at the position overlapping the right half of the window glass 6 and display the image information included in the display permission area at the position overlapping the left half of the window glass 6 as it is. 2 is controlled and this processing is terminated.
  • the optical unit is configured to hide the video information included in the display permission area at the position overlapping the left half of the window glass 6 and display the image information included in the display permission area at the position overlapping the right half of the window glass 6 as it is. 2 is controlled and this processing is terminated.
  • the head-up display device 1 projects the image light toward the window glass 6 of the vehicle and displays the image information reflected on the window glass 6 as a virtual image, and the window glass 6.
  • a display control device 11 for controlling the optical unit 2 so as to display the video information and the display control device 11 sets the position of the video information in a direction in which the field of view of the driver of the vehicle is secured according to the vehicle state. Since the optical unit 2 is controlled to move, the video information can be displayed at a display position suitable for the vehicle state.
  • the display control device 11 moves the display position of the video information downward when the vehicle is identified as being in an uphill running state, and the upward direction when the vehicle is identified as being in a downhill running state.
  • the display position of the video information can be moved.
  • the display control device 11 moves the display position of the video information to the right when the vehicle is specified as turning right, and the left when the vehicle is specified as turning left.
  • the display position of the video information can be moved.
  • the display control device 11 can display the video information in the display permission area 200 that permits the display of the video information defined on the window glass 6.
  • the display control device 11 specifies the total movement amount for moving the entire display permission area including the video information, and optically moves the entire display permission area including the video information by the specified total movement amount.
  • the unit can be controlled.
  • the display control apparatus 11 moves the entire display permission area including the video information by the specified total movement amount, whether or not an area for displaying the video information is secured in the display permission area in the movement direction. If it is determined that the display area for displaying the video information is not secured in the display permission area in the moving direction, the optical unit is controlled so as to hide the video information for which the display area is not secured. In particular, it is possible to secure the field of view of the driver of the vehicle even when the total movement amount becomes large.
  • the display control device 11 individually sets the display position of the video information in the movement direction on the end side of the display permission area.
  • An area for determining whether or not an area for displaying video information without being moved is secured, and displaying the video information without individually moving the display position of the video information in the moving direction to the end side of the display permission area.
  • the display position of the display information area including the video information is moved as a whole without individually moving the display position of the video information in the moving direction to a position where the display is possible. Since the optical unit is controlled, the position of the display permission area including the video information can be moved as a whole without individually moving the display position of the video information in the moving direction to a position where it can be displayed.
  • the display control device 11 can be controlled so as to move the position of the display permission area including the video information as a whole while individually moving the display position of the video information to the end of the display permission area.
  • the display control device 11 specifies whether the vehicle turns right or left based on a signal corresponding to the operation of the direction indicator lever for controlling the direction indicator lamp of the vehicle, and when the vehicle is specified to turn right If the optical unit is controlled to hide the video information in the right half area of the front windshield and the vehicle is specified to turn left, the video information in the left half area of the front windshield is hidden. Since the optical unit is controlled as described above, it is possible to secure the field of view of the driver of the vehicle when the vehicle turns right or left.
  • the display control device 11 specifies whether or not the vehicle is traveling on a rough road with a large change in posture based on information for determining whether or not the vehicle is traveling on a rough road with a large variation in posture.
  • the optical unit is controlled so as to prohibit the display of all video information. Can be secured.
  • the entire display prohibited area and the display permitted area are moved in accordance with the vehicle state so that the driver's field of view is ensured.
  • the display prohibited area is not defined.
  • the display permission area including the video information may be moved.
  • the steering angle information output from the steering wheel steering angle sensor 27 is periodically acquired, and the turning amount of the vehicle is estimated based on the previous steering wheel steering angle and the change amount of the current steering wheel steering angle.
  • the amount of movement of the video information in the left-right direction is specified from the turning amount of the vehicle.
  • the turning amount of the vehicle is estimated based on the angular velocity information input from the gyro sensor, and the turning amount of the vehicle is calculated.
  • the amount of movement of the video information in the left-right direction may be specified.
  • a transition to a “bad road” state is made using a condition other than the above conditions, such as a transition to a “bad road” state based on an output signal of an acceleration sensor that detects vehicle acceleration. You may do it.
  • S108 corresponds to a vehicle state identification device
  • S206 corresponds to an overall movement amount identification device
  • S302 corresponds to an area securing determination device
  • S304 corresponds to an individual movement determination device.

Landscapes

  • Engineering & Computer Science (AREA)
  • Physics & Mathematics (AREA)
  • General Physics & Mathematics (AREA)
  • Combustion & Propulsion (AREA)
  • Transportation (AREA)
  • Mechanical Engineering (AREA)
  • Chemical & Material Sciences (AREA)
  • Theoretical Computer Science (AREA)
  • Optics & Photonics (AREA)
  • Computer Hardware Design (AREA)
  • Software Systems (AREA)
  • General Engineering & Computer Science (AREA)
  • Computer Graphics (AREA)
  • Multimedia (AREA)
  • Architecture (AREA)
  • Signal Processing (AREA)
  • Instrument Panels (AREA)
  • Fittings On The Vehicle Exterior For Carrying Loads, And Devices For Holding Or Mounting Articles (AREA)
PCT/JP2015/001918 2014-04-16 2015-04-06 ヘッドアップディスプレイ装置 Ceased WO2015159500A1 (ja)

Priority Applications (1)

Application Number Priority Date Filing Date Title
US15/303,307 US9817237B2 (en) 2014-04-16 2015-04-06 Head-up display device

Applications Claiming Priority (2)

Application Number Priority Date Filing Date Title
JP2014084701A JP6369106B2 (ja) 2014-04-16 2014-04-16 ヘッドアップディスプレイ装置
JP2014-084701 2014-04-16

Publications (1)

Publication Number Publication Date
WO2015159500A1 true WO2015159500A1 (ja) 2015-10-22

Family

ID=54323726

Family Applications (1)

Application Number Title Priority Date Filing Date
PCT/JP2015/001918 Ceased WO2015159500A1 (ja) 2014-04-16 2015-04-06 ヘッドアップディスプレイ装置

Country Status (3)

Country Link
US (1) US9817237B2 (enExample)
JP (1) JP6369106B2 (enExample)
WO (1) WO2015159500A1 (enExample)

Cited By (4)

* Cited by examiner, † Cited by third party
Publication number Priority date Publication date Assignee Title
WO2018019544A1 (de) * 2016-07-26 2018-02-01 Audi Ag Verfahren zum steuern einer anzeigevorrichtung für ein kraftfahrzeug, anzeigevorrichtung für ein kraftfahrzeug und kraftfahrzeug mit einer anzeigevorrichtung
CN109643021A (zh) * 2016-08-29 2019-04-16 麦克赛尔株式会社 平视显示装置
WO2020241134A1 (ja) * 2019-05-29 2020-12-03 パナソニックIpマネジメント株式会社 表示システム
CN112867626A (zh) * 2018-11-15 2021-05-28 宝马股份公司 用于显示装置的动态信息保护

Families Citing this family (36)

* Cited by examiner, † Cited by third party
Publication number Priority date Publication date Assignee Title
WO2017056228A1 (ja) * 2015-09-30 2017-04-06 三菱電機株式会社 表示制御装置および表示制御方法
WO2017134861A1 (ja) * 2016-02-05 2017-08-10 日立マクセル株式会社 ヘッドアップディスプレイ装置
WO2017134865A1 (ja) 2016-02-05 2017-08-10 日立マクセル株式会社 ヘッドアップディスプレイ装置
US10989929B2 (en) 2016-02-05 2021-04-27 Maxell, Ltd. Head-up display apparatus
JP2017174018A (ja) * 2016-03-22 2017-09-28 Line株式会社 表示制御方法、プログラム、及び端末
US10564829B2 (en) * 2016-03-25 2020-02-18 Vmware, Inc. Optimizing window resize actions for remoted applications
JP6704645B2 (ja) * 2016-03-29 2020-06-03 ダイハツ工業株式会社 車両用表示システム
EP3438805B1 (en) 2016-03-31 2020-09-09 Honda Motor Co., Ltd. Image display apparatus and image display method
JP6775188B2 (ja) * 2016-08-05 2020-10-28 パナソニックIpマネジメント株式会社 ヘッドアップディスプレイ装置および表示制御方法
JP2018094986A (ja) * 2016-12-09 2018-06-21 株式会社デンソー 電子制御装置
JP2018103646A (ja) * 2016-12-22 2018-07-05 株式会社デンソー 車両用情報表示装置及び車両用情報表示プログラム
GB2559606B (en) * 2017-02-13 2021-03-10 Jaguar Land Rover Ltd Controlling the operation of a head-up display apparatus
JP6601441B2 (ja) * 2017-02-28 2019-11-06 株式会社デンソー 表示制御装置及び表示制御方法
JP6695049B2 (ja) * 2017-05-10 2020-05-20 パナソニックIpマネジメント株式会社 表示装置及び表示制御方法
US10810773B2 (en) * 2017-06-14 2020-10-20 Dell Products, L.P. Headset display control based upon a user's pupil state
JP6834861B2 (ja) * 2017-09-07 2021-02-24 トヨタ自動車株式会社 ヘッドアップディスプレイシステム
US10488874B2 (en) 2017-09-14 2019-11-26 Cnh Industrial America Llc Overhead display having multi-color indicators for indicating machine states
US10895741B2 (en) * 2017-10-03 2021-01-19 Industrial Technology Research Institute Ultra-wide head-up display system and display method thereof
WO2019074114A1 (en) * 2017-10-13 2019-04-18 Ricoh Company, Ltd. DISPLAY DEVICE, PROGRAM, IMAGE PROCESSING METHOD, DISPLAY SYSTEM, AND MOBILE BODY
JP2019073272A (ja) * 2017-10-13 2019-05-16 株式会社リコー 表示装置、プログラム、映像処理方法、表示システム、移動体
JP6812952B2 (ja) * 2017-11-15 2021-01-13 オムロン株式会社 脇見判定装置、脇見判定方法、およびプログラム
JP6724885B2 (ja) * 2017-11-28 2020-07-15 株式会社デンソー 虚像表示装置
JP6724886B2 (ja) * 2017-11-28 2020-07-15 株式会社デンソー 虚像表示装置
JP6919621B2 (ja) * 2018-04-24 2021-08-18 株式会社Soken 表示制御ユニット、及び表示制御プログラム
JP7042443B2 (ja) * 2018-06-21 2022-03-28 パナソニックIpマネジメント株式会社 映像表示システム、映像表示方法、プログラム、及び移動体
JP7024765B2 (ja) 2018-08-10 2022-02-24 株式会社デンソー 車両用マスタ装置、更新データの配信制御方法及び更新データの配信制御プログラム
CN118991421A (zh) * 2018-10-23 2024-11-22 麦克赛尔株式会社 车辆
JP7240208B2 (ja) * 2019-03-07 2023-03-15 株式会社豊田中央研究所 車載表示装置、車載表示方法、および、コンピュータプログラム
JP6873350B2 (ja) * 2019-04-11 2021-05-19 三菱電機株式会社 表示制御装置及び表示制御方法
EP3846009B1 (en) * 2019-12-31 2023-05-10 Seiko Epson Corporation Display system, electronic apparatus, mobile body, and display method
EP3848781B1 (en) 2019-12-31 2023-05-10 Seiko Epson Corporation Circuit device, electronic apparatus, and mobile body
CN112781600B (zh) * 2020-12-25 2025-04-08 深圳市万集科技有限公司 一种车辆导航方法、装置及存储介质
CN114619885A (zh) * 2022-03-10 2022-06-14 浙江吉利控股集团有限公司 车辆行驶信息的显示系统和方法
JP7769569B2 (ja) * 2022-03-16 2025-11-13 株式会社小糸製作所 画像投影装置、および画像投影方法
WO2023176897A1 (ja) * 2022-03-16 2023-09-21 株式会社小糸製作所 画像投影装置、および画像投影方法
JP2023149942A (ja) * 2022-03-31 2023-10-16 株式会社小糸製作所 画像投影装置、および画像投影方法

Citations (5)

* Cited by examiner, † Cited by third party
Publication number Priority date Publication date Assignee Title
JP2003291688A (ja) * 2002-04-03 2003-10-15 Denso Corp 表示方法、運転支援装置、プログラム
JP2006273002A (ja) * 2005-03-28 2006-10-12 Nippon Seiki Co Ltd 車両用監視装置
JP2008296701A (ja) * 2007-05-30 2008-12-11 Calsonic Kansei Corp 車両用表示器
JP2010256878A (ja) * 2009-03-30 2010-11-11 Equos Research Co Ltd 情報表示装置
JP2012096731A (ja) * 2010-11-04 2012-05-24 Toshiba Corp 表示装置及び表示方法

Family Cites Families (10)

* Cited by examiner, † Cited by third party
Publication number Priority date Publication date Assignee Title
US5269687A (en) * 1990-08-01 1993-12-14 Atari Games Corporation System and method for recursive driver training
US5757268A (en) * 1996-09-26 1998-05-26 United Technologies Automotive, Inc. Prioritization of vehicle display features
JP4007274B2 (ja) 2003-07-09 2007-11-14 株式会社デンソー 車両前方暗視システム
JP4305318B2 (ja) * 2003-12-17 2009-07-29 株式会社デンソー 車両情報表示システム
DE102004016808A1 (de) * 2004-04-06 2005-10-27 Robert Bosch Gmbh Signalisiervorrichtung zur Anzeige von Warn- und/oder Informationshinweisen in Fahrzeugen
GB0422500D0 (en) * 2004-10-09 2004-11-10 Ibm Method and system for re-arranging a display
JP4622794B2 (ja) 2005-10-07 2011-02-02 株式会社デンソー 画面移動型表示装置
JP2009176112A (ja) * 2008-01-25 2009-08-06 Mazda Motor Corp 乗員の視線検出装置
JP5198368B2 (ja) 2009-06-18 2013-05-15 本田技研工業株式会社 車両用画像表示装置
US9691182B1 (en) * 2014-10-01 2017-06-27 Sprint Communications Company L.P. System and method for adaptive display restriction in a headset computer

Patent Citations (5)

* Cited by examiner, † Cited by third party
Publication number Priority date Publication date Assignee Title
JP2003291688A (ja) * 2002-04-03 2003-10-15 Denso Corp 表示方法、運転支援装置、プログラム
JP2006273002A (ja) * 2005-03-28 2006-10-12 Nippon Seiki Co Ltd 車両用監視装置
JP2008296701A (ja) * 2007-05-30 2008-12-11 Calsonic Kansei Corp 車両用表示器
JP2010256878A (ja) * 2009-03-30 2010-11-11 Equos Research Co Ltd 情報表示装置
JP2012096731A (ja) * 2010-11-04 2012-05-24 Toshiba Corp 表示装置及び表示方法

Cited By (11)

* Cited by examiner, † Cited by third party
Publication number Priority date Publication date Assignee Title
WO2018019544A1 (de) * 2016-07-26 2018-02-01 Audi Ag Verfahren zum steuern einer anzeigevorrichtung für ein kraftfahrzeug, anzeigevorrichtung für ein kraftfahrzeug und kraftfahrzeug mit einer anzeigevorrichtung
CN109564501A (zh) * 2016-07-26 2019-04-02 奥迪股份公司 用于控制机动车的显示装置的方法,机动车的显示装置及具有显示装置的机动车
CN109564501B (zh) * 2016-07-26 2021-11-19 奥迪股份公司 用于控制机动车的显示装置的方法,机动车的显示装置及具有显示装置的机动车
US11221724B2 (en) 2016-07-26 2022-01-11 Audi Ag Method for controlling a display apparatus for a motor vehicle, display apparatus for a motor vehicle and motor vehicle having a display apparatus
CN109643021A (zh) * 2016-08-29 2019-04-16 麦克赛尔株式会社 平视显示装置
CN109643021B (zh) * 2016-08-29 2024-05-07 麦克赛尔株式会社 平视显示装置
CN112867626A (zh) * 2018-11-15 2021-05-28 宝马股份公司 用于显示装置的动态信息保护
WO2020241134A1 (ja) * 2019-05-29 2020-12-03 パナソニックIpマネジメント株式会社 表示システム
JPWO2020241134A1 (enExample) * 2019-05-29 2020-12-03
JP7450230B2 (ja) 2019-05-29 2024-03-15 パナソニックIpマネジメント株式会社 表示システム
US11945309B2 (en) 2019-05-29 2024-04-02 Panasonic Intellectual Property Management Co., Ltd. Display system

Also Published As

Publication number Publication date
JP2015202842A (ja) 2015-11-16
US9817237B2 (en) 2017-11-14
US20170038595A1 (en) 2017-02-09
JP6369106B2 (ja) 2018-08-08

Similar Documents

Publication Publication Date Title
JP6369106B2 (ja) ヘッドアップディスプレイ装置
US11181743B2 (en) Head up display apparatus and display control method thereof
US10510276B1 (en) Apparatus and method for controlling a display of a vehicle
US8692739B2 (en) Dynamic information presentation on full windshield head-up display
CN107554425B (zh) 一种增强现实车载平视显示器ar-hud
US8536995B2 (en) Information display apparatus and information display method
US8212662B2 (en) Automotive display system and display method
US20080151048A1 (en) Driving supporting apparatus
JP6342704B2 (ja) 表示装置
JP7221161B2 (ja) ヘッドアップディスプレイ及びそのキャリブレーション方法
EP3694740A1 (en) Display device, program, image processing method, display system, and moving body
CN109309828A (zh) 图像处理方法和图像处理装置
JP2013112269A (ja) 車載用表示装置
JP2010018201A (ja) 運転者支援装置、運転者支援方法および運転者支援処理プログラム
KR20200128786A (ko) 차량용 정보 표시 장치 및 그 제어 방법
JP7450230B2 (ja) 表示システム
JP2014211431A (ja) ナビゲーション装置、及び、表示制御方法
JP2019015936A (ja) ヘッドアップディスプレイ装置
WO2020195430A1 (ja) 画像表示システム、移動体、画像表示方法及びプログラム
JP4753735B2 (ja) 車載電子機器
JP2017081378A (ja) 車両用運転支援装置
JP6251531B2 (ja) 車両用表示装置
JP6432312B2 (ja) ナビゲーションシステム、ナビゲーション方法、及びナビゲーションプログラム
JP6282567B2 (ja) 車両用表示装置
JP2005201635A (ja) 車両用ナビゲーションシステム

Legal Events

Date Code Title Description
121 Ep: the epo has been informed by wipo that ep was designated in this application

Ref document number: 15779664

Country of ref document: EP

Kind code of ref document: A1

WWE Wipo information: entry into national phase

Ref document number: 15303307

Country of ref document: US

NENP Non-entry into the national phase

Ref country code: DE

122 Ep: pct application non-entry in european phase

Ref document number: 15779664

Country of ref document: EP

Kind code of ref document: A1