WO2014034491A1 - 電力伝送装置及び電力伝送方法 - Google Patents

電力伝送装置及び電力伝送方法 Download PDF

Info

Publication number
WO2014034491A1
WO2014034491A1 PCT/JP2013/072289 JP2013072289W WO2014034491A1 WO 2014034491 A1 WO2014034491 A1 WO 2014034491A1 JP 2013072289 W JP2013072289 W JP 2013072289W WO 2014034491 A1 WO2014034491 A1 WO 2014034491A1
Authority
WO
WIPO (PCT)
Prior art keywords
power transmission
power
unit
coil
dielectric
Prior art date
Legal status (The legal status is an assumption and is not a legal conclusion. Google has not performed a legal analysis and makes no representation as to the accuracy of the status listed.)
Ceased
Application number
PCT/JP2013/072289
Other languages
English (en)
French (fr)
Japanese (ja)
Inventor
田能村 昌宏
周平 吉田
薫 静野
小林 直樹
福田 浩司
芳典 浜
Current Assignee (The listed assignees may be inaccurate. Google has not performed a legal analysis and makes no representation or warranty as to the accuracy of the list.)
NEC Corp
Original Assignee
NEC Corp
Priority date (The priority date is an assumption and is not a legal conclusion. Google has not performed a legal analysis and makes no representation as to the accuracy of the date listed.)
Filing date
Publication date
Application filed by NEC Corp filed Critical NEC Corp
Priority to JP2014532950A priority Critical patent/JP6467919B2/ja
Priority to EP13834158.1A priority patent/EP2892127B1/en
Priority to IN2121DEN2015 priority patent/IN2015DN02121A/en
Priority to CN201380044578.0A priority patent/CN104584380A/zh
Priority to US14/423,999 priority patent/US10020682B2/en
Priority to RU2015109283/07A priority patent/RU2594006C1/ru
Publication of WO2014034491A1 publication Critical patent/WO2014034491A1/ja
Anticipated expiration legal-status Critical
Ceased legal-status Critical Current

Links

Images

Classifications

    • HELECTRICITY
    • H02GENERATION; CONVERSION OR DISTRIBUTION OF ELECTRIC POWER
    • H02JELECTRIC POWER NETWORKS; CIRCUIT ARRANGEMENTS OR SYSTEMS FOR SUPPLYING OR DISTRIBUTING ELECTRIC POWER; SYSTEMS FOR STORING ELECTRIC ENERGY
    • H02J50/00Circuit arrangements or systems for wireless supply or distribution of electric power
    • H02J50/005Mechanical details of housing or structure aiming to accommodate the power transfer means, e.g. mechanical integration of coils, antennas or transducers into emitting or receiving devices
    • HELECTRICITY
    • H01ELECTRIC ELEMENTS
    • H01FMAGNETS; INDUCTANCES; TRANSFORMERS; SELECTION OF MATERIALS FOR THEIR MAGNETIC PROPERTIES
    • H01F27/00Details of transformers or inductances, in general
    • H01F27/02Casings
    • HELECTRICITY
    • H01ELECTRIC ELEMENTS
    • H01FMAGNETS; INDUCTANCES; TRANSFORMERS; SELECTION OF MATERIALS FOR THEIR MAGNETIC PROPERTIES
    • H01F38/00Adaptations of transformers or inductances for specific applications or functions
    • H01F38/14Inductive couplings
    • HELECTRICITY
    • H02GENERATION; CONVERSION OR DISTRIBUTION OF ELECTRIC POWER
    • H02JELECTRIC POWER NETWORKS; CIRCUIT ARRANGEMENTS OR SYSTEMS FOR SUPPLYING OR DISTRIBUTING ELECTRIC POWER; SYSTEMS FOR STORING ELECTRIC ENERGY
    • H02J50/00Circuit arrangements or systems for wireless supply or distribution of electric power
    • H02J50/10Circuit arrangements or systems for wireless supply or distribution of electric power using inductive coupling
    • HELECTRICITY
    • H02GENERATION; CONVERSION OR DISTRIBUTION OF ELECTRIC POWER
    • H02JELECTRIC POWER NETWORKS; CIRCUIT ARRANGEMENTS OR SYSTEMS FOR SUPPLYING OR DISTRIBUTING ELECTRIC POWER; SYSTEMS FOR STORING ELECTRIC ENERGY
    • H02J50/00Circuit arrangements or systems for wireless supply or distribution of electric power
    • H02J50/10Circuit arrangements or systems for wireless supply or distribution of electric power using inductive coupling
    • H02J50/12Circuit arrangements or systems for wireless supply or distribution of electric power using inductive coupling of the resonant type
    • HELECTRICITY
    • H02GENERATION; CONVERSION OR DISTRIBUTION OF ELECTRIC POWER
    • H02JELECTRIC POWER NETWORKS; CIRCUIT ARRANGEMENTS OR SYSTEMS FOR SUPPLYING OR DISTRIBUTING ELECTRIC POWER; SYSTEMS FOR STORING ELECTRIC ENERGY
    • H02J50/00Circuit arrangements or systems for wireless supply or distribution of electric power
    • H02J50/70Circuit arrangements or systems for wireless supply or distribution of electric power involving the reduction of electric, magnetic or electromagnetic leakage fields
    • HELECTRICITY
    • H04ELECTRIC COMMUNICATION TECHNIQUE
    • H04BTRANSMISSION
    • H04B13/00Transmission systems characterised by the medium used for transmission, not provided for in groups H04B3/00 - H04B11/00
    • H04B13/02Transmission systems in which the medium consists of the earth or a large mass of water thereon, e.g. earth telegraphy

Definitions

  • the present invention relates to a power transmission device and a power transmission method.
  • a coil having a plurality of windings is used as a means for transmitting and receiving power wirelessly.
  • a magnetic flux that links the coil is generated.
  • the magnetic flux is linked to the coil of the power receiving unit, thereby generating an induced current in the coil of the power receiving unit, and power is transmitted.
  • Patent Document 1 discloses a technology for performing communication between a terminal device body and a removable electronic device such as a memory card using a wireless millimeter wave signal.
  • Patent Document 2 discloses a technology that uses a magnetic material to improve the inductance values of the power transmission unit and the power reception unit to increase the distance of power transmission.
  • Patent Document 3 discloses a technique for improving the mutual inductance between the power transmission unit and the power reception unit by using a coil having a high Q value to resonate at the same frequency (magnetic field resonance), thereby increasing the distance. Yes.
  • the above-described long-distance technology can obtain only a small power transmission efficiency even if the long-distance technology in the atmosphere is applied to seawater.
  • This is based on the fact that the electrical conductivity and the dielectric constant are significantly different between air and seawater, and the mechanism of power transmission in the medium is different between power transmission in the atmosphere and power transmission in seawater.
  • the electrical conductivity of air is 0 S / m and the relative dielectric constant is about 1
  • the electrical conductivity of seawater is about 4 S / m and the relative dielectric constant is about 81.
  • the cause of the decrease in power transmission efficiency mainly consists of a conductor loss in the coil, a matching loss between the power transmission unit and the power reception unit, a reflection loss such as a leakage magnetic flux, and a radiation loss.
  • this radiation loss is effectively suppressed by using a non-radiation phenomenon in which energy is accumulated in the vicinity of the power transmission / reception unit using a coil having a high Q value.
  • seawater since the seawater has a certain conductivity, a loss occurs when energy propagates through the medium.
  • the cause of this energy loss is based on the electrical conductivity in the seawater and the electric field generated in the seawater. That is, a loss occurs when a potential gradient proportional to the product of the conductivity and the electric field is generated in seawater.
  • seawater since seawater has high conductivity, when energy is sent non-directionally from the power transmission unit in the seawater, energy that disappears without reaching the opposite power reception unit increases. Therefore, in order to efficiently transmit power in seawater, it is necessary to provide directivity that connects the opposing coil surfaces to form a flow of energy substantially perpendicular to the coil surfaces.
  • the millimeter wave signal shown in Patent Document 1 is particularly difficult to transmit the millimeter wave signal shown in Patent Document 1 in a good conductor medium such as seawater.
  • a good conductor medium such as seawater.
  • the attenuation distance in seawater is 100 ⁇ m or less, so that it is impossible to propagate 10 cm or more in seawater.
  • various media as shown in the table of FIG. 27 also have relatively high electrical conductivity and relative dielectric constant. Therefore, the same problem may occur when trying to transmit power wirelessly in such a medium as well as in seawater.
  • the present invention provides a power transmission device and a power transmission method that solve the above-described problems.
  • the present invention has been made to solve the above-described problems, and is a power transmission device that wirelessly transmits power in a good conductor medium, and includes a power transmission unit that wirelessly transmits power, and a power transmission unit that is transmitted from the power transmission unit.
  • a power receiving unit that transmits wireless power, and the power transmitting unit and the power receiving unit include a power transmission coil and an inclusion unit that includes a dielectric covering the power transmission coil.
  • a power transmission device that performs power transmission by resonating at a frequency determined by an impedance, an impedance of the power receiving unit, and an impedance of the good conductor medium.
  • the present invention is also a power transmission method for wirelessly transmitting power in a good conductor medium, wherein the inclusion section covers the power transmission coil with a dielectric, the power transmission section transmits the power wirelessly, and the power reception section
  • An electric power transmission method that transmits the transmitted wireless power and resonates at a frequency determined by the impedance of the power transmission unit, the impedance of the power reception unit, and the impedance of the good conductor medium. is there.
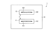
  • FIG. 1 is a diagram illustrating a configuration of a power transmission device according to the first embodiment.
  • the power transmission device 1 includes a power transmission unit 11 and a power reception unit 12.
  • the power transmission unit 11 and the power reception unit 12 are covered with a good conductor medium 13.
  • the power transmission unit 11 includes a power transmission coil 111 and a power transmission side inclusion unit 112 made of a dielectric covering the power transmission coil 111.
  • the power reception unit 12 includes a power reception coil 121 and a power reception side inclusion unit 122.
  • the power transmission coil 111 and the power reception coil 121 are formed by winding a conductor such as a copper wire a plurality of times. Generally, a helical coil, a spiral coil, or the like is used. However, in the present embodiment, the present invention is not limited thereto. None happen.
  • the power transmission unit and the power reception unit in the power transmission apparatus are collectively referred to as a power transmission unit.
  • the power transmission coil and the power reception coil are collectively referred to as a power transmission coil.
  • the power transmission unit may have a function as a power reception unit, and the power reception unit may have a function as a power transmission unit.
  • the power transmission unit and the power reception unit may have the same configuration.
  • the power transmission side inclusion unit 112 and the power reception side inclusion unit 122 are made of a dielectric material having a relative dielectric constant of about 2 to 10 and a dielectric loss tangent of 0.01 or less, such as polyethylene, polyimide, polyamide, fluororesin, and acrylic. To do.
  • each embodiment demonstrates on the assumption that a good conductor medium is seawater, this invention is not limited to this.
  • a material having a conductivity of 1 ⁇ 10 ⁇ 4 S / m or more and a relative dielectric constant greater than 1 may be used, such as rivers, fresh water, tap water, soil, and concrete shown in the table of FIG. .
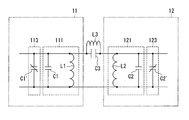
  • FIG. 2 shows an equivalent circuit when the wireless power transmitted from the power transmission unit 11 propagates to the power reception unit 12.
  • FIG. 2 is an equivalent circuit diagram for the wireless power when the wireless power propagates from the power transmitting unit 11 to the power receiving unit 12.
  • the power transmission unit 11 and the power reception unit 12 further include a power transmission side impedance adjustment unit 113 and a power reception side impedance adjustment unit 123 that adjust the impedance of the power transmission coil 111 or the power reception coil 121.
  • the impedance of the power transmission coil 111 in the power transmission unit 11 mainly includes an inductive component (inductance component) L1 and a capacitance component (capacitance component) C1, which are the shape of the coil, the number of turns, and the thickness of the copper wire.
  • the impedance of the power receiving coil 121 in the power receiving unit 12 also includes an inductive component L2 and a capacitive component C2.
  • the power transmission side impedance adjustment unit and the power reception side impedance adjustment unit are collectively referred to simply as an impedance adjustment unit.
  • L3 is a mutual inductance component in the power transmission coil 111 and the power reception coil 121
  • C3 is a capacitance component composed of the power transmission unit 11, the power reception unit 12, and the good conductor medium 13.
  • a variable capacitance component C1 ′ is added as the power transmission side impedance adjustment unit 113, and a variable capacitance capacitance component C2 ′ is added as the power reception side impedance adjustment unit 123. Adjustments can be made to achieve consistency. In this way, even if the positional relationship between the power transmitting unit 11 and the power receiving unit 12 changes during power transmission and the value of C3 fluctuates, if C1 ′ and C2 ′ are appropriately adjusted to compensate for the fluctuation, And stable power can be supplied.
  • a varactor diode (variable capacitance diode) can be used for the capacitance variable portion, and a plurality of capacitances can be combined with a switch transistor.
  • the combined capacitance component of the capacitance component of the power transmission coil 111 itself and the variable capacitance capacitance component is again referred to as C1, and this is the capacitance component C1 constituting the impedance of the power transmission unit 11. Will be described.
  • the combined capacity component of the power receiving coil 121 itself and the variable capacity capacity component is referred to as C2, and this will be described as the capacity component C2 constituting the impedance of the power receiving unit 12.
  • the capacitance component C1 that constitutes the impedance of the power transmission unit 11 the capacitance component C2 that constitutes the impedance of the power reception unit 12, the power transmission unit 11, and the power reception unit 12
  • the predetermined condition is satisfied with respect to the capacitance component C3 formed by the good conductor medium 13 existing therebetween and the distance d between the power transmission unit and the power reception unit, particularly high power transmission efficiency can be obtained.
  • FIG. 3 is a graph showing the influence of the capacitance components of the power transmission unit 11 and the power reception unit 12 and the capacitance component generated between the power transmission and reception units on the power transmission efficiency. According to the graph shown in FIG. 3, it can be seen that C1 [pF], C2 [pF], C3 [pF], and d [cm] can obtain particularly high power transmission efficiency when the following conditions are satisfied.
  • the power transmission coil 111 and the power reception coil 121 are about 10 cm 2 to 30 cm 2 , and the distance d between the power transmission unit 11 and the power reception unit 12 is about 5 cm to 30 cm.
  • Condition (1) can be satisfied under conditions.
  • the power ratio is particularly high when the dimensional ratio between the power transmission coil 111 and the power transmission side inclusion portion 112 and the dimensional ratio between the power reception coil 121 and the power reception side inclusion portion 122 satisfy predetermined conditions. Transmission efficiency can be obtained.
  • FIG. 4A is a graph showing the influence of the outer diameter of the power transmission coil 111 and the dimensional ratio of the power transmission side inclusion section 112 on the power transmission efficiency.
  • the relationship between the size d1 in the direction along the coil surface of the power transmission side inclusion portion 112 and the outer diameter d2 (FIG. 4B) of the power transmission coil 111 is such that the ratio d1 / d2 is 1.2 or more.
  • the ratio d1 / d2 is preferably 1.4 or more.
  • an AC power source (not shown) outputs AC power at a predetermined frequency.
  • the output AC power is supplied to the power transmission coil 111, and the power transmission coil 111 sends the AC power to the outside (the good conductor medium 13) as electromagnetic energy.
  • the power receiving unit 12 sends the transmitted electromagnetic energy in the power receiving coil 121.
  • the power transmission side impedance adjustment unit 113 and the power reception side impedance adjustment unit 123 are adjusted so that the combined impedance of the power transmission unit 11, the power reception unit 12, and the good conductor medium 13 resonates at the frequency of the transmission power.
  • the power sent by the power receiving coil 121 is supplied to a target load (for example, a battery), and power transmission is completed.
  • the power transmitted to the power receiving coil 121 is maximized by resonating with the combined impedance of the power transmission unit 11, the power reception unit 12, and the good conductor medium 13. it can. Further, the power transmission side inclusion unit 112 and the power reception side inclusion unit 122 suppress the spread of the electric field into the good conductor medium 13, thereby minimizing the electromagnetic energy that diffuses and disappears in the good conductor medium 13. .
  • FIG. 5 is a diagram showing an electric field vector and a magnetic field vector in the power transmission device 1 according to the first embodiment
  • FIG. 6 is a diagram showing a pointing vector (energy flow) generated based on the electric field vector and the magnetic field vector.
  • FIGS. 5 and 6 are schematic diagrams showing simulation results of the electric field and the magnetic field generated between the power transmission unit 11 and the power reception unit 12 during power transmission.
  • the electric field and the magnetic field can be made substantially parallel to the coil surface.
  • a pointing vector (electromagnetic energy flow) from the power transmission unit 11 to the power reception unit 12 can be generated substantially vertically.
  • the power transmission device 1 As described above, according to the power transmission device 1 according to the first embodiment, even when the power transmission unit 11 and the power reception unit 12 are in a relatively far field, electromagnetic energy that diffuses and disappears in a good conductor medium is minimized. As a result, it is possible to extend the distance by wireless power transmission in a good conductor medium such as seawater.
  • FIG. 7 is a diagram showing the configuration of the power transmission device according to the second embodiment of the present invention.
  • the power transmission device 2 includes a power transmission unit 21 and a power reception unit 22.
  • the power transmission unit 21 and the power reception unit 22 are covered with a good conductor medium 23.
  • the power transmission unit 21 includes a power transmission coil 211, a first power transmission side inclusion unit 212 made of a first dielectric covering the power transmission coil 211, and a second dielectric made of a second dielectric covering the first power transmission side inclusion unit 212.
  • a power transmission side inclusion unit 213 is provided.
  • the power reception unit 22 includes a power reception coil 221, a first power reception side inclusion unit 222, and a second power reception side inclusion unit 223.
  • the first power transmission side inclusion part and the first power reception side inclusion part are collectively referred to as a first inclusion part
  • the second power transmission side inclusion part and the second power reception side inclusion part are collectively referred to as a second inclusion part.
  • the first power transmission side inclusion section 212, the second power transmission side inclusion section 213, the first power reception side inclusion section 222, and the second power reception side inclusion section 223 are, for example, specific dielectrics such as polyethylene, polyimide, polyamide, fluororesin, and acrylic. It is made of a dielectric having a ratio of about 2 to 10 and a dielectric loss tangent of 0.01 or less.
  • the relative dielectric constant of the first dielectric constituting the first power transmission side inclusion unit 212 and the relative dielectric constant of the second dielectric constituting the second power transmission side inclusion unit 213 The rates may be different or the same. Also, the dielectric loss tangent of the first dielectric constituting the first power transmission side inclusion 212 and the dielectric loss tangent of the second dielectric constituting the second power transmission side inclusion 213 may be different or the same. Also good. The same applies to the first dielectric constituting the first power receiving side inclusion 222 and the second dielectric constituting the second power receiving side inclusion 223.
  • FIG. 7 which shows the structure of the electric power transmission apparatus 2
  • both the power transmission part 21 and the power receiving part 22 are described as a structure which has a 1st inclusion part and a 2nd inclusion part
  • 2nd Embodiment Only one of the power transmission unit 21 and the power reception unit 22 may have a structure including a first inclusion unit and a second inclusion unit.
  • the power transmission device 2 of the present embodiment may also include the impedance adjustment unit described in the first embodiment.
  • the dielectric loss tangent of each dielectric constituting the first power transmission side inclusion unit 212 and the second power transmission side inclusion unit 213 satisfies a predetermined condition, it is even higher. Power transmission efficiency can be obtained.
  • FIG. 8 is a graph showing the influence of the ratio of the dielectric tangent of the first dielectric and the dielectric tangent of the second dielectric on the power transmission efficiency.
  • FIG. 8 shows that a higher power transmission efficiency can be obtained by making the dielectric loss tangent of the second dielectric larger than that of the first dielectric. This has the effect of suppressing the expansion of the electric field to the good conductor medium 23 by the second dielectric constituting the second power transmission side inclusion 213 (second power reception side inclusion 223), and the first power transmission side inclusion Based on the effect that the dielectric loss in the vicinity of the power transmission coil 211 (power reception coil 221) can be reduced by reducing the dielectric loss tangent of the first dielectric constituting 212 (first power reception side inclusion portion 222). It is.
  • the dielectric constant of each dielectric that constitutes the first power transmission side inclusion unit 212 and the second power transmission side inclusion unit 213 satisfies a predetermined condition, it is even higher. Power transmission efficiency can be obtained.
  • FIG. 9 is a graph showing the influence of the relative permittivity of the first dielectric and the relative permittivity of the second dielectric on the power transmission efficiency.
  • FIG. 9 shows that higher power transmission efficiency can be obtained by making the relative dielectric constant of the second dielectric larger than that of the first dielectric.
  • an AC power source (not shown) outputs AC power at a predetermined frequency.
  • the output AC power is supplied to the power transmission coil 211, and the power transmission coil 211 sends the AC power to the outside (the good conductor medium 23) as electromagnetic energy.
  • the power receiving unit 12 sends the sent electromagnetic energy through the power receiving coil 221.
  • the combined impedances of the power transmission unit 21, the power reception unit 22, and the good conductor medium 23 are adjusted so as to resonate at the frequency of the transmission power.
  • the power sent by the power receiving coil 221 is supplied to a target load (for example, a battery), and the power transmission is completed.
  • the power transmitted to the power receiving coil 221 can be maximized by resonating with the combined impedance of the power transmitting unit 21, the power receiving unit 22, and the good conductor medium 23. it can.
  • the second power transmission side inclusion unit 213 and the second power reception side inclusion unit 223 suppress the expansion of the electric field into the good conductor medium 23, thereby minimizing the electromagnetic energy that diffuses and disappears in the good conductor medium 13. There is an effect to suppress.
  • the first power transmission side inclusion unit 212 and the first power reception side inclusion unit 222 have an effect of reducing dielectric loss in the vicinity of the power transmission coil 211 and the power reception coil 221.
  • the power transmission device 2 according to the second embodiment can obtain high power transmission efficiency similarly to the power transmission device 1 according to the first embodiment.
  • FIG. 10 is a diagram showing the configuration of the power transmission device according to the third embodiment of the present invention.
  • the power transmission device 3 includes a power transmission unit 31 and a power reception unit 32.
  • the power transmission unit 31 and the power reception unit 32 are covered with a good conductor medium 33.
  • the power transmission unit 31 includes a power transmission coil 311, a first power transmission side inclusion unit 312 made of a first dielectric covering the power transmission coil 311, and a second power transmission side inclusion made of a second dielectric covering the first power transmission side inclusion unit 312.
  • a third power transmission side inclusion portion 314 made of a third dielectric covering the portion 313 and the second power transmission side inclusion portion 313.
  • the power reception unit 32 includes a power reception coil 321, a first power reception side inclusion unit 322, a second power reception side inclusion unit 323, and a third power reception side inclusion unit 324.
  • the third power transmission side inclusion part and the third power reception side inclusion part are collectively referred to as a covering part.
  • the first power transmission side inclusion unit 312, the third power transmission side inclusion unit 314, the first power reception side inclusion unit 322, and the third power reception side inclusion unit 324 are, for example, specific dielectrics such as polyethylene, polyimide, polyamide, fluororesin, and acrylic. It is made of a dielectric having a ratio of about 2 to 10 and a dielectric loss tangent of 0.01 or less.
  • the 2nd power transmission side inclusion part 313 and the 2nd power reception side inclusion part 323 are equal to the specific gravity of the good conductor medium 33 (seawater), and consist of liquids (for example, pure water, distilled water) with low electrical conductivity.
  • the 2nd power transmission side inclusion part 313 and the 2nd power reception side inclusion part 323 can work as neutral buoyancy in the good conductor medium 33 (in seawater).
  • the second power transmission side inclusion unit 313 or the second power reception side inclusion unit 323 can be made to have a neutral buoyancy, for example, when the power transmission device 3 is floated and submerged in seawater, it is necessary to provide a mechanism for adjusting the specific gravity. Therefore, the cost can be reduced.
  • the 3rd power transmission side inclusion part 314 and the 3rd power reception side inclusion part 324 which consist of 3rd dielectrics physically confine the 2nd power transmission side inclusion part 313 and the 2nd power reception side inclusion part 323 which are liquids.
  • the relative dielectric constant of the third dielectric constituting the third power transmission side inclusion portion 314 may be different or the same.
  • the dielectric loss tangent of the first dielectric constituting the first power transmission side inclusion unit 312, the dielectric loss tangent of the second dielectric constituting the second power transmission side inclusion unit 313, and the third power transmission side inclusion unit 314 are configured.
  • the dielectric loss tangents of the third dielectric may be different or the same. The same applies to the first dielectric constituting the first power receiving side inclusion 322, the second dielectric constituting the second power receiving side inclusion 323, and the third dielectric constituting the third power receiving side inclusion 324. is there.
  • both the power transmission part 31 and the power receiving part 32 are described as a structure which has the 1st inclusion part, the 2nd inclusion part, and the 3rd inclusion part which were demonstrated above.
  • only one of the power transmission unit 31 and the power reception unit 32 may have a structure including the first inclusion unit, the second inclusion unit, and the third inclusion unit.
  • the power transmission device 3 according to the third embodiment may also include the impedance adjustment unit described in the first embodiment.
  • an AC power source (not shown) outputs AC power at a predetermined frequency.
  • the output AC power is supplied to the power transmission coil 311, and the power transmission coil 311 sends the AC power to the outside (good conductor medium 33) as electromagnetic energy.
  • the power receiving unit 32 sends the sent electromagnetic energy through the power receiving coil 321.
  • the combined impedances of the power transmission unit 31, the power reception unit 32, and the good conductor medium 33 are adjusted so as to resonate at the frequency of the transmission power.
  • the power sent by the power receiving coil 321 is supplied to a target load (for example, a battery), and power transmission is completed.
  • the power transmitted to the power receiving coil 321 can be maximized by resonating with the combined impedance of the power transmitting unit 31, the power receiving unit 32, and the good conductor medium 33. it can.
  • the second power transmission side inclusion unit 313 and the second power reception side inclusion unit 323 suppress the spread of the electric field into the good conductor medium 33, thereby minimizing the electromagnetic energy that diffuses and disappears in the good conductor medium 33. There is an effect to suppress.
  • the first power transmission side inclusion unit 312 and the first power reception side inclusion unit 322 have an effect of reducing dielectric loss in the vicinity of the power transmission coil 311 and the power reception coil 321.
  • the power transmission device 3 according to the third embodiment includes the third power transmission side inclusion unit 314 and the third power reception side inclusion unit 324, the second power transmission side inclusion unit 313 and the second power reception side inclusion are included.
  • a liquid for example, pure water or distilled water
  • the power transmission unit 31 and the power reception unit 32 can make the second power transmission side inclusion unit 313 and the second power reception side inclusion unit 323 work as neutral buoyancy.
  • the power transmission device 3 according to the third embodiment does not need a special specific gravity adjustment mechanism, and thus is equivalent to the power transmission device 1 according to the first embodiment and the power transmission device 2 according to the second embodiment.
  • the cost can be reduced.
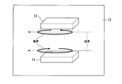
  • FIG. 11 shows a first example of the third embodiment.
  • the power transmission unit 11 of the power transmission device 1 is provided in the power supply source 14, and the power reception unit 12 is provided in the submarine 15.
  • the present invention it is possible to stably supply power even when a tidal current occurs and the positional relationship between the power supply source 14 and the submersible craft 15 changes.
  • FIG. 12 shows a second example of the third embodiment.
  • the power transmission unit 11 of the power transmission device 1 is provided in the submersible craft 16, and the power receiving unit 12 is provided in the submersible craft 17.
  • the present invention it is possible to stably supply power even when a tidal current occurs and the positional relationship between the submersible craft 16 and the submersible craft 17 changes.
  • the submersible craft 16 and the submersible craft 17 can supply power in both directions by using the power transmission unit 11 as a power reception unit and the power reception unit 12 as a power transmission unit.
  • the submersible craft 16 and the submersible craft 17 may include both the power transmission unit 11 and the power reception unit 12.
  • the submersible craft 17 provided with the power receiving unit 12 may be a ship or a sensor device laid on the seabed.
  • FIG. 13 shows a third example of the third embodiment.
  • the power transmission unit 11 is provided at the connection portion of the power cable 18, and the power reception unit 12 is provided at the connection portion of the power cable 19.
  • the power cable 18 and the power cable 19 can supply power bidirectionally by using the power transmission unit 11 as a power reception unit and the power reception unit 12 as a power transmission unit. Further, the power cable 18 and the power cable 19 may include both the power transmission unit 11 and the power reception unit 12.
  • a function of transmitting information wirelessly may be installed in the power transmission unit 11 and the power reception unit 12.
  • the power transmission unit 11 as a transmitter and the power reception unit 12 as a receiver, it is not necessary to separately provide a mechanism for wireless communication, so that a small and low-cost system can be obtained.
  • FIG. 14 is a model diagram for simulation for demonstrating the effect of the power transmission device 4 according to the third embodiment.
  • the power transmission device 4 includes a power transmission unit 41 and a power reception unit 42.
  • the power transmission unit 41 and the power reception unit 42 are covered with seawater 43 as a good conductor medium.
  • the power transmission unit 41 includes a helical coil (power transmission coil) 411, an internal dielectric (first power transmission side inclusion) 412, an external dielectric (second power transmission side inclusion) 413, and a covering dielectric (third power transmission side inclusion). Part) 414.
  • the power receiving unit 42 includes a helical coil (power receiving coil) 421, an internal dielectric (first power receiving side including portion) 422, an external dielectric (second power receiving side including portion) 423, and a covering dielectric (third power receiving side included). Part) 424.
  • FIG. 15 is a schematic top view of the power transmission unit 41 in the first example of the third embodiment.
  • the helical coil 411 shown in FIG. 15 has a structure in which two single-layer coils each having 29 windings of an outer diameter of 220 mm and an inner diameter of 100 mm are opposed to each other with a distance of 3 mm. AC power is applied from the feed port to the opposed helical coil.
  • the inner dielectric 412 is made of fluororesin
  • the covering dielectric 414 is made of acrylic.
  • the size of the covering dielectric 414 is 255 mm in length, 255 mm in width, and 19 mm in height.
  • the resonance frequency of the power transmission device 4 is about 1 MHz.
  • the ratio d1 / d2 of the outer coil size d2 and the coated dielectric size d1 is 1.16, which is larger than 1, sufficiently high power transmission efficiency can be obtained. ing. However, if the ratio of d1 / d2 is larger than 1.16, higher power transmission efficiency can be obtained.
  • the power reception unit 42 has the same configuration as the power transmission unit 41. However, the configuration shown here is an example, and the same effect can be obtained even if the power transmission unit 41 and the power reception unit 42 are not the same configuration.
  • FIG. 16 is a graph showing a simulation result of power transmission efficiency in the first example of the third embodiment.
  • the distance d between the power transmission unit 41 and the power reception unit 42 is 10 cm and the power transmission efficiency is simulated in seawater, the frequency f of the transmission power is 40% or more near 1 MHz as shown in FIG. High power transmission efficiency could be obtained.
  • FIGS. 17A and 17B and FIGS. 18A and 18B are diagrams respectively showing an electric field vector and a magnetic field vector in the vicinity of the power transmission unit 41 and the power reception unit 42 in the first example of the third embodiment.
  • FIGS. It is a figure which shows the pointing vector of the power transmission part 41 in this Example, and the power receiving part 42 vicinity. The result of performing a detailed three-dimensional electromagnetic field simulation on the electric field, magnetic field, and pointing vector in the power transmission device 4 according to the above-described embodiment will be described with reference to FIGS. 17A to 19B.
  • the flow of the electric field rotates along a plane parallel to the coil surface, and as shown in FIGS.
  • a flow is generated radially along a plane parallel to the coil surface. Based on the flow of the electric and magnetic fields, a pointing vector (energy flow) is generated in a direction substantially perpendicular to the coil surface (FIGS. 19A and 19B).
  • a pointing vector energy flow
  • FIGS. 20A and 20B are diagrams illustrating pointing vectors in the atmosphere of the power transmission device 4 according to the first example of the third embodiment.
  • the result of having simulated the power transmission part 41 and the power reception part 42 of the power transmission device 4 according to the present embodiment at a distance of 10 cm in the atmosphere will be described with reference to FIGS. 20A and 20B.
  • FIGS. 20A and 20B no energy flow perpendicular to the power transmission / reception unit surface occurs, and the energy flows in a spiral pattern. That is, the phenomenon in which the energy flow substantially perpendicular to the coil surface is a phenomenon peculiar to energy propagating in the good conductor medium, and is a phenomenon that does not occur when propagating in the atmosphere. That is, the present invention utilizes a unique phenomenon in which an energy flow substantially perpendicular to the coil surface occurs.
  • FIGS. 21A and 21B are diagrams showing pointing vectors in the atmosphere when a conventional magnetic field resonance technique is used.
  • FIGS. 21A and 21B energy flow perpendicular to the coil surface does not occur, and the energy flows in a spiral pattern.
  • the power transmission efficiency is 90%.
  • high power transmission efficiency cannot be obtained even if wireless power transmission is attempted in seawater using the power transmission device according to the conventional technology.
  • 10% at a distance of 10 cm It has been found that only a power transmission efficiency of a certain degree can be obtained.
  • FIGS. 18A and 18B show the state of the magnetic field under the phase condition in which the flux linkage passing through the helical coil 411 and the helical coil 421 of the power transmission unit 41 and the power reception unit 42 is maximum.
  • the physical difference between the conventional magnetic field resonance technique and the power transmission device 4 according to the first example of the third embodiment will be described with reference to FIGS. 18A and 18B.
  • the linkage magnetic flux passing through the helical coil 411 of the power transmission unit 41 and the linkage magnetic flux passing through the helical coil 421 of the power reception unit 42 are in opposite directions, thereby maximizing the magnetic field.
  • a magnetic field parallel to the coil surface is generated.
  • the resonance frequency is divided into two when tightly coupled, and the phase of the interlinkage magnetic flux passing through the coils of the power transmission unit and the power reception unit is higher at the higher resonance frequency. It is generally known to be in reverse phase. In the same technology, it is generally known that the phase of the interlinkage magnetic flux passing through the coils of the power transmission unit and the power reception unit is in phase in a loosely coupled state where the resonance frequency is not divided. According to the present invention, the phase of the interlinkage magnetic flux passing through the antenna coil of the power transmission unit and the power reception unit is reversed in a loose coupling state where the resonance frequency is not divided. This is an essential difference.
  • FIG. 22 is a model diagram for simulation for demonstrating the effect of the power transmission device 5 according to the third embodiment.
  • the power transmission device 5 includes a power transmission unit 51 and a power reception unit 52.
  • the power transmission unit 51 and the power reception unit 52 are covered with seawater 53 as a good conductor medium.
  • the power transmission unit 51 includes a spiral coil 5111, a loop coil 5112, an internal dielectric (first power transmission side inclusion) 512, an external dielectric (second power transmission side inclusion) 513, and a coated dielectric (third power transmission side inclusion). ) 514.
  • the power reception unit 52 includes a spiral coil 5211, a loop coil 5212, an internal dielectric (first power reception side inclusion) 522, an external dielectric (second power reception side inclusion) 523, and a covering dielectric (third power reception side inclusion). 524.
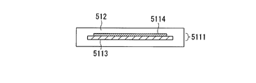
  • FIGS. 23 and 24 are model views of the spiral coil 5111 (spiral coil 5211) in the second example of the third embodiment as viewed from the top and side surfaces, respectively.
  • the spiral coil 5111 includes a dielectric substrate 5113 made of a fluororesin and a spiral wire 5114 made of a metal wire.
  • the dielectric substrate 5113 has a thickness of 1 mm, a length of 270 mm, and a width of 270 mm.
  • the spiral wiring 5114 has a length of 260 mm, a width of 260 mm, a wiring width of 6 mm, a thickness of 50 ⁇ m, and 10 turns.
  • the loop coil 5112 includes a dielectric substrate 5115 made of fluororesin and a loop wiring 5116 made of metal wiring.
  • the dielectric substrate 5115 has a thickness of 1 mm, a length of 270 mm, and a width of 270 mm.
  • the loop wiring 5116 has a length of 260 mm, a width of 260 mm, a wiring width of 6 mm, and a thickness of 50 ⁇ m.
  • Spiral coil 5111 and loop coil 5112 speak a distance of 3 mm in internal dielectric 512.
  • the resonance frequency is about 1 MHz.
  • the power reception unit 52 has the same configuration as the power transmission unit 51. However, the configuration shown here is an example, and the same effect can be obtained even if the power transmission unit 51 and the power reception unit 52 are not the same configuration.
  • the resonant frequency of a power transmission part and a power receiving part can be made the same, and it becomes possible to obtain higher electric power transmission efficiency.
  • FIG. 28 is a simulation model diagram for demonstrating the effect of the power transmission device 6 according to the third embodiment of the present invention.
  • the power transmission device 6 includes a power transmission unit 61 and a power reception unit 62.
  • the power transmission unit 61 and the power reception unit 62 are covered with seawater 63.
  • the power transmission unit 61 includes a power transmission coil including a spiral coil 6111 and a spiral coil 6112, a first power transmission side inclusion unit 612 made of a first dielectric covering the power transmission coil, and a second dielectric covering the first power transmission side inclusion unit 612.
  • the power reception unit 62 includes a power reception coil including a spiral coil 6211 and a spiral coil 6212, a first power reception side inclusion unit 622, a second power reception side inclusion unit 623, and a third power reception side inclusion unit 624. I have.
  • the simulation model in the third example of the third embodiment includes a second power transmission side inclusion unit 613 (second power reception side inclusion unit 623) and a first power transmission side inclusion unit 612 ( Only the upper surface and the lower surface (surface parallel to the coil surface) of the first power receiving side inclusion portion 622) are covered.
  • the first power transmission side inclusion unit 612 first power reception side inclusion unit 622 is sandwiched between the second power transmission side inclusion unit 613 (second power reception side inclusion unit 623).
  • the side surface (surface perpendicular to the coil surface) of the first power transmission side inclusion unit 612 (first power reception side inclusion unit 622) is directly covered by the third power transmission side inclusion unit 614 (third power reception side inclusion unit 624). It has a structure that is called.
  • FIG. 29 is a model diagram of the power transmission unit 61 in the third example of the third embodiment viewed from the side.
  • the 1st power transmission side inclusion part 612 is comprised with the fluororesin of length 250mm, width 250mm, and height 4.5mm.
  • the relative dielectric constant is 10.2 and the dielectric loss tangent is 0.0023.
  • the 2nd power transmission side inclusion part 613 is comprised with two fluororesins of length 250mm, width 250mm, and height 6mm.
  • the relative dielectric constant is 6.2 and the dielectric loss tangent is 0.0019.
  • the 3rd power transmission side inclusion part 614 is comprised with acrylic 260 mm long, 260 mm wide, 26.5 mm high, and 5 mm thick.
  • the relative permittivity of acrylic is 3.3, and the dielectric loss tangent is 0.04.
  • the power reception unit 62 performs the simulation with the same configuration as the power transmission unit 61 described above.
  • the spiral coil 6111 is composed of a wiring composed of 50 mm conductors with an outer periphery of 208 mm.
  • the wiring has a diameter of 1 mm, and the wiring has an interval of 1 mm.
  • the spiral coil 6112 has the same size as the spiral coil 6111.
  • the spiral coil 6111 and the spiral coil 6112 are arranged at a distance of 0.5 mm.
  • the outermost end of the spiral coil 6111 and the outermost end of the spiral coil 6112 serve as a high-frequency power feeding port.
  • the direction of the spiral of the spiral coil 6111 and the direction of the spiral of the spiral coil 6112 are configured such that a magnetic field is generated in the same direction via the power supply port.
  • FIGS. 32 and 33 are model diagrams of the spiral coils 6211 and 6212 of the power receiving unit 62 in the third example of the third embodiment as viewed from the power transmitting unit side.
  • the spiral coil 6211 is composed of a wiring composed of a conductor with 50 turns and an outer periphery of 208 mm.
  • the wiring has a diameter of 1 mm, and the wiring has an interval of 1 mm.
  • the spiral coil 6212 has the same size as the spiral coil 6211.
  • the spiral coil 6211 and the spiral coil 6212 are arranged with a distance of 0.5 mm.
  • An outermost end portion of the spiral coil 6211 and an outermost end portion of the spiral coil 6212 serve as a power reception port for high-frequency power.
  • the direction of the spiral of the spiral coil 6211 and the direction of the spiral of the spiral coil 6212 are configured such that a magnetic field is generated in the same direction via the power receiving port.
  • the power transmission unit 61 and the power reception unit 62 were simulated at a distance of 10 cm in seawater, a high power transmission efficiency of 72% or more was obtained as shown in FIG.
  • the resonance frequency is about 140 kHz.
  • the power reception unit 62 has the same configuration as the power transmission unit 61.
  • the configuration shown here is an example, and the same effect can be obtained even if the power transmission unit 61 and the power reception unit 62 are not the same configuration.

Landscapes

  • Engineering & Computer Science (AREA)
  • Power Engineering (AREA)
  • Computer Networks & Wireless Communication (AREA)
  • Signal Processing (AREA)
  • Physics & Mathematics (AREA)
  • Electromagnetism (AREA)
  • Charge And Discharge Circuits For Batteries Or The Like (AREA)
  • Near-Field Transmission Systems (AREA)
PCT/JP2013/072289 2012-08-31 2013-08-21 電力伝送装置及び電力伝送方法 Ceased WO2014034491A1 (ja)

Priority Applications (6)

Application Number Priority Date Filing Date Title
JP2014532950A JP6467919B2 (ja) 2012-08-31 2013-08-21 電力伝送装置及び電力伝送方法
EP13834158.1A EP2892127B1 (en) 2012-08-31 2013-08-21 Electric power transmission device and electric power transmission method
IN2121DEN2015 IN2015DN02121A (enExample) 2012-08-31 2013-08-21
CN201380044578.0A CN104584380A (zh) 2012-08-31 2013-08-21 电力传输设备和电力传输方法
US14/423,999 US10020682B2 (en) 2012-08-31 2013-08-21 Electric power transmission device and electric power transmission method
RU2015109283/07A RU2594006C1 (ru) 2012-08-31 2013-08-21 Устройство передачи электрической энергии и способ передачи электрической энергии

Applications Claiming Priority (2)

Application Number Priority Date Filing Date Title
JP2012191649 2012-08-31
JP2012-191649 2012-08-31

Publications (1)

Publication Number Publication Date
WO2014034491A1 true WO2014034491A1 (ja) 2014-03-06

Family

ID=50183306

Family Applications (1)

Application Number Title Priority Date Filing Date
PCT/JP2013/072289 Ceased WO2014034491A1 (ja) 2012-08-31 2013-08-21 電力伝送装置及び電力伝送方法

Country Status (7)

Country Link
US (1) US10020682B2 (enExample)
EP (1) EP2892127B1 (enExample)
JP (1) JP6467919B2 (enExample)
CN (1) CN104584380A (enExample)
IN (1) IN2015DN02121A (enExample)
RU (1) RU2594006C1 (enExample)
WO (1) WO2014034491A1 (enExample)

Cited By (8)

* Cited by examiner, † Cited by third party
Publication number Priority date Publication date Assignee Title
WO2014129531A1 (ja) * 2013-02-20 2014-08-28 日本電気株式会社 電力伝送システム、送電装置、受電装置、及び電力伝送方法
WO2015182069A1 (ja) * 2014-05-27 2015-12-03 日本電気株式会社 電力伝送用アンテナおよび電力伝送システム
JP2016010168A (ja) * 2014-06-20 2016-01-18 日本特殊陶業株式会社 共振器及び無線給電システム
JP2016127678A (ja) * 2014-12-26 2016-07-11 日本電気株式会社 給電システム、移動体および給電装置
WO2018003568A1 (ja) * 2016-06-30 2018-01-04 パナソニック株式会社 送電装置
JP2018007354A (ja) * 2016-06-29 2018-01-11 日立Geニュークリア・エナジー株式会社 無線給電装置及び無線給電方法
WO2018051936A1 (ja) * 2016-09-15 2018-03-22 日本電気株式会社 無線給電装置及び無線給電方法
JP2018046668A (ja) * 2016-09-14 2018-03-22 日本電気株式会社 無線給電装置

Families Citing this family (3)

* Cited by examiner, † Cited by third party
Publication number Priority date Publication date Assignee Title
CN105244157A (zh) * 2015-10-17 2016-01-13 李德生 电能导磁环
KR102445006B1 (ko) * 2017-05-29 2022-09-19 미쓰비시덴키 가부시키가이샤 무선 송전 장치 및 공중 이동체로의 송전 시스템
RU2740957C1 (ru) * 2020-09-19 2021-01-22 Общество с ограниченной ответственностью "Генезис-Таврида" Способ обеспечения максимального коэффициента передачи электрической энергии высокой частоты при изменении расстояния между микрополосковыми структурами в некоторых пределах

Citations (10)

* Cited by examiner, † Cited by third party
Publication number Priority date Publication date Assignee Title
JPH10108391A (ja) * 1996-09-26 1998-04-24 Nec Corp 体内埋め込み装置用電力供給装置
JP2004166384A (ja) * 2002-11-12 2004-06-10 Sharp Corp 非接触型給電システムにおける電磁結合特性調整方法、給電装置、および非接触型給電システム
JP2007324532A (ja) * 2006-06-05 2007-12-13 Meleagros Corp 電力伝送方法、電力伝送装置のコイルの選別方法および使用方法
JP2011022640A (ja) 2009-07-13 2011-02-03 Sony Corp 無線伝送システム、電子機器
WO2011030804A1 (ja) * 2009-09-08 2011-03-17 日本電気株式会社 無線電力変換器および無線通信装置
JP4772744B2 (ja) 2007-05-17 2011-09-14 昭和飛行機工業株式会社 非接触給電装置用の信号伝送コイル通信装置
JP2011244530A (ja) * 2010-05-14 2011-12-01 Toyota Industries Corp 共鳴型非接触給電システムの受電側設備
JP2012504387A (ja) 2008-09-27 2012-02-16 ウィトリシティ コーポレーション 無線エネルギー伝達システム
JP2012050321A (ja) * 2010-07-28 2012-03-08 Semiconductor Energy Lab Co Ltd 無線給電システム、及び無線給電方法
JP2012089618A (ja) * 2010-10-18 2012-05-10 Showa Aircraft Ind Co Ltd 非接触給電装置の1次コイル配設構造

Family Cites Families (17)

* Cited by examiner, † Cited by third party
Publication number Priority date Publication date Assignee Title
DE69627463T2 (de) * 1995-07-19 2004-03-11 Tdk Corp. Antennenschalter
DE19701357C2 (de) 1997-01-16 2003-02-27 Schleifring Und Appbau Gmbh Vorrichtung zur kontaktlosen Energieübertragung zwischen gegeneinander beweglichen Teilen
GB0210886D0 (en) 2002-05-13 2002-06-19 Zap Wireless Technologies Ltd Improvements relating to contact-less power transfer
WO2008117635A1 (ja) * 2007-03-28 2008-10-02 Radio Communication Systems Ltd. 磁力波通信装置
DE102007060811A1 (de) 2007-09-01 2009-03-05 Maquet Gmbh & Co. Kg Vorrichtung und Verfahren zur drahtlosen Energie- und/oder Datenübertragung zwischen einem Quellgerät und mindestens einem Zielgerät
JP5374850B2 (ja) * 2007-10-04 2013-12-25 沖電気工業株式会社 高効率非接触給電システム、高効率非接触給電方法、高効率非接触給電装置
JP4394716B2 (ja) * 2007-11-14 2010-01-06 株式会社日立製作所 Nmr計測用プローブ
US20110043049A1 (en) * 2008-09-27 2011-02-24 Aristeidis Karalis Wireless energy transfer with high-q resonators using field shaping to improve k
RU2408476C2 (ru) * 2009-01-20 2011-01-10 Государственное научное учреждение Всероссийский научно-исследовательский институт электрификации сельского хозяйства Российской академии сельскохозяйственных наук (ГНУ ВИЭСХ Россельхозакадемии) Способ беспроводной передачи электрической энергии и устройство для его осуществления (варианты)
KR101745411B1 (ko) * 2009-02-13 2017-06-09 위트리시티 코포레이션 손실성 환경에서의 무선 에너지 전달
US8525370B2 (en) * 2009-11-30 2013-09-03 Broadcom Corporation Wireless power circuit board and assembly
EP2415961A1 (en) * 2010-08-03 2012-02-08 Vetco Gray Controls Limited Supplying power to underwater devices
KR101441453B1 (ko) 2010-08-25 2014-09-18 한국전자통신연구원 무선 에너지 전송을 위한 자기 공진체에서 전기장 및 복사전력 감소 장치 및 그 방법
JP5126324B2 (ja) * 2010-09-10 2013-01-23 トヨタ自動車株式会社 給電装置、および給電システムの制御方法
US9077209B2 (en) * 2011-01-20 2015-07-07 Panasonic Intellectual Property Management Co., Ltd. Power generation system, power generating module, module fixing device and method for installing power generation system
GB2504018B (en) 2011-02-21 2014-12-31 Wisub As Underwater Connector Arrangement
WO2012157012A1 (en) * 2011-05-13 2012-11-22 Murata Manufacturing Co., Ltd. Power transmitting device, power receiving device, and power transmission system

Patent Citations (10)

* Cited by examiner, † Cited by third party
Publication number Priority date Publication date Assignee Title
JPH10108391A (ja) * 1996-09-26 1998-04-24 Nec Corp 体内埋め込み装置用電力供給装置
JP2004166384A (ja) * 2002-11-12 2004-06-10 Sharp Corp 非接触型給電システムにおける電磁結合特性調整方法、給電装置、および非接触型給電システム
JP2007324532A (ja) * 2006-06-05 2007-12-13 Meleagros Corp 電力伝送方法、電力伝送装置のコイルの選別方法および使用方法
JP4772744B2 (ja) 2007-05-17 2011-09-14 昭和飛行機工業株式会社 非接触給電装置用の信号伝送コイル通信装置
JP2012504387A (ja) 2008-09-27 2012-02-16 ウィトリシティ コーポレーション 無線エネルギー伝達システム
JP2011022640A (ja) 2009-07-13 2011-02-03 Sony Corp 無線伝送システム、電子機器
WO2011030804A1 (ja) * 2009-09-08 2011-03-17 日本電気株式会社 無線電力変換器および無線通信装置
JP2011244530A (ja) * 2010-05-14 2011-12-01 Toyota Industries Corp 共鳴型非接触給電システムの受電側設備
JP2012050321A (ja) * 2010-07-28 2012-03-08 Semiconductor Energy Lab Co Ltd 無線給電システム、及び無線給電方法
JP2012089618A (ja) * 2010-10-18 2012-05-10 Showa Aircraft Ind Co Ltd 非接触給電装置の1次コイル配設構造

Cited By (17)

* Cited by examiner, † Cited by third party
Publication number Priority date Publication date Assignee Title
US9887681B2 (en) 2013-02-20 2018-02-06 Nec Corporation Power transmission system, transmission apparatus, receiving apparatus, and power transmission method
WO2014129531A1 (ja) * 2013-02-20 2014-08-28 日本電気株式会社 電力伝送システム、送電装置、受電装置、及び電力伝送方法
WO2015182069A1 (ja) * 2014-05-27 2015-12-03 日本電気株式会社 電力伝送用アンテナおよび電力伝送システム
JP2016010168A (ja) * 2014-06-20 2016-01-18 日本特殊陶業株式会社 共振器及び無線給電システム
JP2016127678A (ja) * 2014-12-26 2016-07-11 日本電気株式会社 給電システム、移動体および給電装置
JP2018007354A (ja) * 2016-06-29 2018-01-11 日立Geニュークリア・エナジー株式会社 無線給電装置及び無線給電方法
US10790705B2 (en) 2016-06-30 2020-09-29 Panasonic Corporation Power transmission device
JP2018007400A (ja) * 2016-06-30 2018-01-11 パナソニック株式会社 送電装置
WO2018003568A1 (ja) * 2016-06-30 2018-01-04 パナソニック株式会社 送電装置
JP2020178531A (ja) * 2016-06-30 2020-10-29 パナソニック株式会社 送電装置
JP2018046668A (ja) * 2016-09-14 2018-03-22 日本電気株式会社 無線給電装置
US10944292B2 (en) 2016-09-14 2021-03-09 Nec Corporation Wireless power supply device
WO2018051936A1 (ja) * 2016-09-15 2018-03-22 日本電気株式会社 無線給電装置及び無線給電方法
GB2568200A (en) * 2016-09-15 2019-05-08 Nec Corp Wireless power supply device and wireless power supply method
JPWO2018051936A1 (ja) * 2016-09-15 2019-06-24 日本電気株式会社 無線給電装置及び無線給電方法
US10951066B2 (en) 2016-09-15 2021-03-16 Nec Corporation Wireless power supply device and wireless power supply method
GB2568200B (en) * 2016-09-15 2021-12-08 Nec Corp Wireless power supply device and wireless power supply method

Also Published As

Publication number Publication date
RU2594006C1 (ru) 2016-08-10
US20150303702A1 (en) 2015-10-22
EP2892127A4 (en) 2016-08-17
IN2015DN02121A (enExample) 2015-08-14
CN104584380A (zh) 2015-04-29
EP2892127B1 (en) 2020-06-24
EP2892127A1 (en) 2015-07-08
JP6467919B2 (ja) 2019-02-13
JPWO2014034491A1 (ja) 2016-08-08
US10020682B2 (en) 2018-07-10

Similar Documents

Publication Publication Date Title
JP6467919B2 (ja) 電力伝送装置及び電力伝送方法
JP6237640B2 (ja) 電力伝送装置及び電力伝送方法
US10038342B2 (en) Power transfer system with shielding body, power transmitting device with shielding body, and power transfer method for power transmitting system
JP6172259B2 (ja) 電力伝送システム、送電装置、受電装置、及び電力伝送方法
CN102484307B (zh) 无线电力传输系统及用于该系统的共振器
US11282639B2 (en) Antenna device and electronic apparatus
JP2011045045A (ja) 送受電用アンテナ及び送電器
WO2015087724A1 (ja) 磁力波アンテナおよびそれを用いる磁力波通信装置
JP2012222961A (ja) アンテナモジュールおよび非接触電力伝送システム
JP6098284B2 (ja) 電力伝送システム、送電装置、受電装置、及び電力伝送方法
JP6717381B2 (ja) 無線給電装置及び無線給電方法
JP6760806B2 (ja) 無線給電装置
JP7333938B2 (ja) 水中無線電力伝送システム
JP2016059146A (ja) 海水中給電システム
JPWO2013128518A1 (ja) 送電装置、受電装置、電力供給システム及び電子機器
WO2025204548A1 (ja) アンテナ
JP2017005952A (ja) 非接触電力送電装置、非接触電力受電装置、及び、非接触電力伝送システム
WO2015182069A1 (ja) 電力伝送用アンテナおよび電力伝送システム

Legal Events

Date Code Title Description
121 Ep: the epo has been informed by wipo that ep was designated in this application

Ref document number: 13834158

Country of ref document: EP

Kind code of ref document: A1

ENP Entry into the national phase

Ref document number: 2014532950

Country of ref document: JP

Kind code of ref document: A

WWE Wipo information: entry into national phase

Ref document number: 14423999

Country of ref document: US

NENP Non-entry into the national phase

Ref country code: DE

ENP Entry into the national phase

Ref document number: 2015109283

Country of ref document: RU

Kind code of ref document: A