WO2013161453A1 - 偏流板及び噴流装置 - Google Patents

偏流板及び噴流装置 Download PDF

Info

Publication number
WO2013161453A1
WO2013161453A1 PCT/JP2013/057832 JP2013057832W WO2013161453A1 WO 2013161453 A1 WO2013161453 A1 WO 2013161453A1 JP 2013057832 W JP2013057832 W JP 2013057832W WO 2013161453 A1 WO2013161453 A1 WO 2013161453A1
Authority
WO
WIPO (PCT)
Prior art keywords
plate
fluid
duct
inlet
flow
Prior art date
Legal status (The legal status is an assumption and is not a legal conclusion. Google has not performed a legal analysis and makes no representation as to the accuracy of the status listed.)
Ceased
Application number
PCT/JP2013/057832
Other languages
English (en)
French (fr)
Japanese (ja)
Inventor
信吾 西田
Current Assignee (The listed assignees may be inaccurate. Google has not performed a legal analysis and makes no representation or warranty as to the accuracy of the list.)
Senju Metal Industry Co Ltd
Original Assignee
Senju Metal Industry Co Ltd
Priority date (The priority date is an assumption and is not a legal conclusion. Google has not performed a legal analysis and makes no representation as to the accuracy of the date listed.)
Filing date
Publication date
Application filed by Senju Metal Industry Co Ltd filed Critical Senju Metal Industry Co Ltd
Priority to MYPI2014003017A priority Critical patent/MY182200A/en
Priority to US14/397,483 priority patent/US9622395B2/en
Priority to KR1020147032873A priority patent/KR101524993B1/ko
Priority to SG11201406926XA priority patent/SG11201406926XA/en
Priority to CN201380022382.1A priority patent/CN104254423B/zh
Priority to EP13781991.8A priority patent/EP2842683B1/en
Publication of WO2013161453A1 publication Critical patent/WO2013161453A1/ja
Priority to PH12014502409A priority patent/PH12014502409A1/en
Anticipated expiration legal-status Critical
Priority to IN9117DEN2014 priority patent/IN2014DN09117A/en
Ceased legal-status Critical Current

Links

Images

Classifications

    • BPERFORMING OPERATIONS; TRANSPORTING
    • B23MACHINE TOOLS; METAL-WORKING NOT OTHERWISE PROVIDED FOR
    • B23KSOLDERING OR UNSOLDERING; WELDING; CLADDING OR PLATING BY SOLDERING OR WELDING; CUTTING BY APPLYING HEAT LOCALLY, e.g. FLAME CUTTING; WORKING BY LASER BEAM
    • B23K3/00Tools, devices, or special appurtenances for soldering, e.g. brazing, or unsoldering, not specially adapted for particular methods
    • B23K3/06Solder feeding devices; Solder melting pans
    • B23K3/0646Solder baths
    • B23K3/0653Solder baths with wave generating means, e.g. nozzles, jets, fountains
    • HELECTRICITY
    • H05ELECTRIC TECHNIQUES NOT OTHERWISE PROVIDED FOR
    • H05KPRINTED CIRCUITS; CASINGS OR CONSTRUCTIONAL DETAILS OF ELECTRIC APPARATUS; MANUFACTURE OF ASSEMBLAGES OF ELECTRICAL COMPONENTS
    • H05K13/00Apparatus or processes specially adapted for manufacturing or adjusting assemblages of electric components
    • H05K13/04Mounting of components, e.g. of leadless components
    • H05K13/046Surface mounting
    • H05K13/0465Surface mounting by soldering
    • BPERFORMING OPERATIONS; TRANSPORTING
    • B23MACHINE TOOLS; METAL-WORKING NOT OTHERWISE PROVIDED FOR
    • B23KSOLDERING OR UNSOLDERING; WELDING; CLADDING OR PLATING BY SOLDERING OR WELDING; CUTTING BY APPLYING HEAT LOCALLY, e.g. FLAME CUTTING; WORKING BY LASER BEAM
    • B23K1/00Soldering, e.g. brazing, or unsoldering
    • B23K1/08Soldering by means of dipping in molten solder
    • B23K1/085Wave soldering
    • BPERFORMING OPERATIONS; TRANSPORTING
    • B23MACHINE TOOLS; METAL-WORKING NOT OTHERWISE PROVIDED FOR
    • B23KSOLDERING OR UNSOLDERING; WELDING; CLADDING OR PLATING BY SOLDERING OR WELDING; CUTTING BY APPLYING HEAT LOCALLY, e.g. FLAME CUTTING; WORKING BY LASER BEAM
    • B23K31/00Processes relevant to this subclass, specially adapted for particular articles or purposes, but not covered by only one of the preceding main groups
    • B23K31/02Processes relevant to this subclass, specially adapted for particular articles or purposes, but not covered by only one of the preceding main groups relating to soldering or welding
    • HELECTRICITY
    • H05ELECTRIC TECHNIQUES NOT OTHERWISE PROVIDED FOR
    • H05KPRINTED CIRCUITS; CASINGS OR CONSTRUCTIONAL DETAILS OF ELECTRIC APPARATUS; MANUFACTURE OF ASSEMBLAGES OF ELECTRICAL COMPONENTS
    • H05K3/00Apparatus or processes for manufacturing printed circuits
    • H05K3/30Assembling printed circuits with electric components, e.g. with resistor
    • H05K3/32Assembling printed circuits with electric components, e.g. with resistor electrically connecting electric components or wires to printed circuits
    • H05K3/34Assembling printed circuits with electric components, e.g. with resistor electrically connecting electric components or wires to printed circuits by soldering
    • H05K3/3457Solder materials or compositions; Methods of application thereof
    • H05K3/3468Applying molten solder

Definitions

  • the present invention relates to a drift plate and a jet device that can be applied to, for example, a jet soldering device or the like that jets the fluid toward an adherend by changing (biasing) the flow of the fluid from the horizontal direction to the vertical direction. is there.
  • a jet soldering apparatus is often used when an electronic component is soldered to a predetermined surface of a printed circuit board.
  • the jet soldering device is mounted with a jet device for jetting molten solder toward the printed circuit board.
  • the jet apparatus has a duct, a nozzle, and a pump. According to the jet device, molten solder is sent to the nozzle through the duct by the pump. The nozzle ejects molten solder with a high liquid level corresponding to the pump output. As a result, the electronic component can be soldered to the printed circuit board by the molten solder ejected from the nozzle.
  • a plurality of AC plates bent upward are provided inside the duct, and the direction of the molten solder flow in the horizontal direction is forced directly under the jet surface.
  • a jet soldering device (see Patent Document 4) that has been changed to a vertical direction, or a plurality of current equalizing plates are suspended from the upper part of the duct, and the horizontal direction of the molten solder flows vertically below the jet surface.
  • a modified jet solder device (see Patent Document 5) and a plurality of current plates bent upward are provided at the bottom of the duct to force the direction of horizontal molten solder flow directly below the jet surface.
  • a jet soldering device changed in the vertical direction is disclosed (see Patent Document 6).
  • drift plate current-balancing plate, current-transforming plate and the like
  • jet apparatus provided with the drift plate
  • problems i.
  • the drift plate as seen in Patent Documents 4 to 6 the flow of molten solder (hereinafter referred to as fluid) is changed upward by a plurality of drift plates bent upward, but the jet surface has a uniform height.
  • fluid molten solder
  • the jet surface has a uniform height.
  • the flow colliding with the drift plate is not completely upward due to the influence of the horizontal inertia of the fluid in the duct. For this reason, the actual situation is that the direction of the fluid flow cannot be changed upward at the intended position.
  • the present invention solves such a problem, and devise the structure of the drift member that changes the direction of the flow of the fluid so that the fluid can be ejected to the target position, and the height of the jet of the fluid
  • An object of the present invention is to provide a drift plate and a jet device that can make the distribution in the width direction uniform.
  • the drift plate according to claim 1 has a predetermined inner surface shape and has a predetermined height, and is erected on a predetermined substrate, so that the flow of fluid can be reduced.
  • a first member that changes direction, a predetermined inner surface shape, and a predetermined height, disposed on the substrate on which the first member is erected, and a fluid flow direction A second member for changing the first member and the second member, wherein the inner surface of the first member and the end of the second member face each other, and the second member The inner surface of the member and the end of the first member face each other so as to face each other.
  • the first and second members are erected on the substrate, and the first member has a predetermined inner surface shape and a predetermined height. Change the direction of fluid flow.
  • the second member also has a predetermined inner surface shape and has a predetermined height to change the direction of fluid flow. Assuming this, the first member and the inner surface of the first member and the end of the second member face each other, and the inner surface of the second member and the end of the first member face each other. The second member is disposed facing each other.
  • fluid flows into the first inlet having an opening width defined by one end of the first member and one end of the second member, and the other end of the first member.
  • the fluid flows into the second inlet having the opening width defined by the first portion and the other end of the second member, the fluids flowing in from the first inlet and the second inlet respectively It comes to stand up as a swirling flow along the inner surface.
  • the drift plate according to the first aspect in which the first member and the second member are connected to both ends of the first member and the second member from side to side when viewed from the main flow direction.
  • the pair of the first member and the second member are arranged so as to face each other with a distance shorter than the distance, and a plurality of pairs of the first member and the second member are arranged in the mainstream direction of the substrate. It is characterized by being erected in
  • the drift plate according to the second aspect wherein the first inflow port has an opening width defined by one end of the first member and one end of the second member. Fluid flows in, and fluid flows into a second inlet having an opening width defined by the other end of the first member and the other end of the second member. It is.
  • the drift plate according to any one of the first to third aspects, wherein the first member and the second member have a semi-cylindrical shape, a L-shaped section, and a U-shaped section, respectively.
  • a drift plate made of any one of the plates is used.
  • the jet device is a nozzle that has a predetermined opening and ejects a molten fluid, a pump that delivers the fluid into the duct, a pump that houses the pump, and is connected to the duct. 4.
  • the nozzle has a predetermined opening and ejects fluid.
  • the duct is connected to the nozzle.
  • a pump housing that houses the pump is connected to the duct, and the pump delivers fluid into the duct.
  • a drift plate is disposed in the duct to change the direction of the flow of fluid delivered by the pump. Based on this assumption, the drift plate according to the present invention changes the flow of fluid in the duct from the horizontal direction to the vertical direction.
  • a jet device is the jet device according to the fifth aspect, wherein an angle formed between a longitudinal direction of the duct connected to the pump housing and to which a fluid is delivered by the pump and a longitudinal direction of the drift plate is set.
  • the drift plate is attached to the duct at the angle set here.
  • the jet apparatus according to claim 7 is the jet device according to claim 6, wherein the duct through which the fluid is sent out by the pump has an elongated casing provided with an inlet portion, an outlet portion, and a terminal portion at predetermined positions, An inlet portion is provided on one side of the housing, and the pump housing is connected to the inlet portion. A fluid flows into a predetermined position of the inlet portion into an inlet having one opening width of the drift plate. An inflow restricting plate is provided to restrict the outlet, the outlet portion is located above the drift plate, is opened in the top plate surface of the housing, the nozzle is connected, and the flow direction is reversed at the end portion. Further, the fluid flows in from an inlet having the other opening width of the drift plate.
  • the jet apparatus according to an eighth aspect of the present invention is the jet apparatus according to the fifth aspect, wherein the pump housing and the duct have an inclined portion at the portion connecting the pump housing, and the pump sends the fluid into the duct through the inclined portion. It is characterized by doing.
  • the inner surface of the first member that changes the direction of fluid flow with a predetermined height and the second surface that changes the direction of fluid flow with a predetermined height.
  • the first member and the second member face each other so that one end of the member faces each other and the inner surface of the second member faces one end of the first member Stands on the board.
  • the fluid flows into the first inlet having an opening width defined by one end of the first member and one end of the second member, and the other end of the first member.
  • the fluid flows into the second inlet having the opening width defined by the first portion and the other end of the second member, the fluids flowing in from the first inlet and the second inlet respectively Stand up along the inner surface of.
  • the drift plate can be sufficiently applied to a jet soldering apparatus.
  • the jet device according to the present invention includes the drift plate according to the present invention, and changes the flow of fluid in the duct from the horizontal direction to the vertical direction. With this configuration, the distribution in the width direction of the jet height of the fluid ejected from the nozzle can be made uniform. In addition, it is possible to reduce the tendency change of the distribution in the width direction of the fluid due to the pump output.
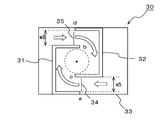
  • FIG. 3 is a perspective view showing an example of forming a drift plate 10.
  • FIG. FIG. 6 is a top view illustrating an operation example of the drift plate 10. It is a perspective view which shows the structural example of the drift plate 20 of the cross-section L-shape as a 2nd Example. It is a top view which shows the operation example of the drift plate 20 of the cross-section L-shape as a 2nd Example. It is a perspective view which shows the structural example of the drift plate 30 of a cross-sectional U shape as a 3rd Example.
  • FIG. 3 is a perspective view showing a configuration example of a jet device 40.
  • FIG. It is a top view which shows the assembly example of the drift plate 10 in the jet apparatus 40.
  • FIG. It is a front view which shows the assembly example of the drift plate 10 in the jet apparatus 40.
  • FIG. It is a perspective view which shows the assembly example of the duct 41 and the pump 50.
  • FIG. 3 is a perspective view showing an assembly example of the nozzle 42 and the platform 43.
  • FIG. 4 is a perspective view showing an assembly example of the duct 41, the drift plate 10 and the nozzle home 49.
  • FIG. It is sectional drawing which shows the operation example (the 1) of the jet apparatus. These are top views which show the operation example (the 1) of the jet apparatus 40.
  • FIG. It is sectional drawing which shows the operation example (the 2) of the jet apparatus. It is a trace figure at the time of the simulation analysis which shows the example of speed distribution of the jet apparatus. It is a trace figure at the time of the simulation analysis which shows the pressure distribution example of the jet apparatus 40.
  • the drift plate 10 as the first embodiment shown in FIG. 1 is the same as, for example, eight semi-cylindrical screen plates (hereinafter referred to as the semi-cylindrical plate 11) as an example of a plurality of first members. And eight semi-cylindrical plates 12 as an example of the second member.
  • the semi-cylindrical plate 11 has a semi-cylindrical inner surface on the inner side, and has a predetermined height h (see FIG. 2).
  • the semi-cylindrical plate 11 is erected on a predetermined substrate 13, changes the direction of fluid flow, and rotates the fluid in cooperation with the semi-cylindrical plate 12.
  • the semi-cylindrical plate 12 also has a semi-cylindrical inner surface and a predetermined height h.
  • the semi-cylindrical plate 12 is disposed on the substrate 13 on which the semi-cylindrical plate 11 is erected, changes the direction of fluid flow, and rotates the fluid in cooperation with the semi-cylindrical plate 11.
  • Stainless steel materials SUS304, SUS316, etc. having a predetermined thickness t are used for the semi-cylindrical plates 11 and 12 and the substrate 13.
  • the inner surface of the semi-cylindrical plate 11 and the end of the semi-cylindrical plate 12 face each other, and the inner surface of the semi-cylindrical plate 12 and the end of the semi-cylindrical plate 11 face each other. Are facing each other.
  • the length direction of the stainless pipe is cut to obtain a height h of about 85 mm.
  • the stainless steel tube is cut in the vertical direction to obtain the semicylindrical plates 11 and 12 as the semicylindrical partition plates.
  • Eight semi-cylindrical plates 11 and 12 are prepared.
  • the semi-cylindrical plate 11 and the semi-cylindrical plate 12 show examples having the same shape.
  • the length of the substrate 13 is L
  • the width is W
  • the thickness is t
  • a length L is about 420 mm
  • a width W is about 70 mm
  • a stainless steel substrate material having a thickness t of about 2 mm is prepared.
  • the pair of semi-cylindrical plates 12 was erected with respect to the main flow direction of the substrate 13.
  • W1 in the figure is an opening width defined by one end a of the semi-cylindrical plate 11 and one end c of the semi-cylindrical plate 12.
  • w2 is the opening width defined by the other end b of the semi-cylindrical plate 11 and the other end d of the semi-cylindrical plate 12.
  • w1 w2.
  • the semi-cylindrical plates 11 and 12 are welded to the substrate 13 using an electric welding apparatus, a gas welding machine, or the like.
  • the flux and welding rod for stainless steel are used, the welding rod is melted, and the semi-cylindrical plates 11 and 12 are electrically welded to the substrate 13.
  • the bottom of each of the semi-cylindrical plates 11 and 12 and the substrate 13 are firmly joined and fixed. Thereby, the drift plate 10 as shown in FIG. 1 is completed.
  • the fluid flows into the first inlet 14 having the opening width w ⁇ b> 1 defined by one end a of the semicylindrical plate 11 and one end c of the semicylindrical plate 12.
  • the fluid flows into the second inlet 15 having an opening width w2 defined by the other end b of the semicylindrical plate 11 and the other end d of the semicylindrical plate 12.
  • the semi-cylindrical plate 11 changes the flow of the horizontal fluid flowing in from the inflow port 14 into a flow turning rightward in the horizontal direction, forms a right-turning rising vortex, and cooperates with the semi-cylindrical plate 12 to transfer the fluid. Change upward.
  • the semi-cylindrical plate 12 also changes the flow of the horizontal fluid flowing in from the inflow port 15 into a flow turning rightward in the same direction, forms a right-turning rising vortex, and cooperates with the semi-cylindrical plate 11 to transfer the fluid. Change upward.
  • the inner surface of the semi-cylindrical plate 11 and the end portion c of the semi-cylindrical plate 12 face each other, and the inner surface of the semi-cylindrical plate 12 and the semi-cylindrical plate 11
  • the semi-cylindrical plate 11 and the semi-cylindrical plate 12 are arranged to face each other so that the end b faces each other.
  • the fluid flows into the inlet 14 having the opening width w1 defined by one end a of the semi-cylindrical plate 11 and one end c of the semi-cylindrical plate 12, and the other half of the semi-cylindrical plate 11
  • the inflow port 15 having the opening width w2 defined by the end b and the other end d of the semi-cylindrical plate 12
  • the fluid that has flowed in from the inflow port 14 and the inflow port 15 respectively flows into the respective semi-cylindrical plates.
  • 11 and 12 rise along the inner surfaces of the right and left sides.
  • the drift plate 10 can be sufficiently applied to a jet soldering apparatus or the like.
  • the present invention is not limited thereto.
  • at least one of a spiral groove and a protrusion may be provided on a semi-cylindrical inner surface such as the semi-cylindrical plates 11 and 12 of the drift plate 10.
  • the same effect may be obtained as long as the inner surface is curved even if the semi-cylindrical shape is not required.
  • the height direction is made substantially the same height.
  • the drift plate 20 shown in FIG. 4A is not a semi-cylindrical shape as shown in the first embodiment, but the first member and the second member have partitions L-shaped (may be V-shaped).
  • a pair of plates (hereinafter referred to as angle plates 21, 22) is used.
  • the angle plate 21 has a single rectangular inner surface on the inner side and has a predetermined height h.
  • the angle plate 21 is erected on a predetermined substrate 23, changes the direction of fluid flow, and rotates the fluid right in cooperation with the angle plate 22.
  • the angle plate 22 also has a single angled inner surface on the inner side and has a predetermined height h.
  • the angle plate 22 is disposed on the substrate 23 on which the angle plate 21 is erected, changes the direction of fluid flow, and rotates the fluid clockwise in cooperation with the angle plate 21.
  • Stainless steel materials SUS304, SUS316, etc. having a predetermined thickness t are used for the angle plates 21 and 22 and the substrate 23.
  • the angle plate 21 and the angle plate 22 face each other so that the inner surface of the angle plate 21 and the end of the angle plate 22 face each other, and the inner surface of the angle plate 22 and the end of the angle plate 21 face each other.
  • the angle plate 21 and the angle plate 22 are illustrated as having the same shape.
  • the fluid flows into the first inlet 24 having the opening width w3 defined by one end a of the angle plate 21 and one end c of the angle plate 22. Then, the fluid flows into the second inlet 25 having an opening width w4 defined by the other end b of the angle plate 21 and the other end d of the angle plate 22.
  • w3 w4.
  • the angle plate 21 changes the flow of the horizontal fluid flowing in from the inflow port 24 into a flow turning rightward in the horizontal direction, forms a rightward turning vortex, and cooperates with the angle plate 22 to make the fluid upward Change.
  • the angle plate 22 also changes the flow of the horizontal fluid flowing in from the inflow port 25 into a flow that turns rightward in the same direction, forms a rightward turning vortex, and cooperates with the angle plate 21 to make the fluid face upward Change.
  • the flow inside the pair of angle plates 21 and 22 turns right along the single square inner surface and collides with the opposite square inner surface, and the pressure at the collision site increases at that time.
  • This increase in pressure becomes a resistance against the flow that flows into the inside of the pair of angle plates 21 and 22, and the pressure increases as the turning speed increases. For this reason, there is an effect of making the flow rate flowing into the pair of the angle plates 21 and 22 uniform.
  • the inner surface of the angle plate 21 and the end portion c of the angle plate 22 face each other, and the inner surface of the angle plate 22 and the end portion b of the angle plate 21 are
  • the angle plate 21 and the angle plate 22 are arranged to face each other so as to face each other.
  • the fluid flows into the inlet 24 having an opening width w3 defined by one end a of the angle plate 21 and one end c of the angle plate 22, and the other end b of the angle plate 21.
  • the fluid flowing in from the inlet 24 and the inlet 25 respectively flows into the inner surfaces of the angle plates 21 and 22. Along the line, it will rise as a right-handed swirl.
  • the drift plate 20 can be sufficiently applied to a jet soldering apparatus or the like.
  • the present invention is not limited to this.
  • at least one of the spiral groove and the protrusion as described in the first embodiment may be provided on the square inner surface of the drift plate 20 such as the angle plates 21 and 22.
  • angle plate 21 and the angle plate 22 have been shown to have the same shape. However, the angle plate 21 and the angle plate 22 do not have to be the same shape, and the same effect can be obtained. preferable.
  • the drift plate 30 shown in FIG. 5A is not a single square shape as shown in the second embodiment, and the first member and the second member include a partition plate (hereinafter referred to as a channel plate 31, 32) is used.
  • the channel plate 31 has a plurality of rectangular inner surfaces on the inner side and a predetermined height h.
  • the channel plate 31 is erected on a predetermined substrate 33, changes the direction of fluid flow, and rotates the fluid right in cooperation with the channel plate 32.
  • the channel plate 32 also has a plurality of square inner surfaces on the inner side and a predetermined height h.
  • the channel plate 32 is disposed on the substrate 33 on which the channel plate 31 is erected, changes the direction of fluid flow, and rotates the fluid in the right direction in cooperation with the channel plate 31.
  • a stainless material SUS303 or the like having a predetermined thickness t is used for the channel plates 31 and 12 and the substrate 33.
  • the channel plate 31 and the channel plate 32 face each other so that the inner surface of the channel plate 31 and the end c of the channel plate 32 face each other, and the inner surface of the channel plate 32 and the end b of the channel plate 31 face each other. ing.
  • the fluid flows into the first inlet 34 having an opening width w5 defined by one end a of the channel plate 31 and one end c of the channel plate 32.
  • the fluid flows into the second inlet 35 having an opening width w6 defined by the other end b of the channel plate 31 and the other end d of the channel plate 32.
  • the channel plate 31 changes the flow of the horizontal fluid flowing in from the inlet 34 into a flow that swirls rightward in the horizontal direction, forms a right swirl rising vortex, and cooperates with the channel plate 32 to move the fluid upward. Change.
  • the channel plate 32 also changes the flow of the horizontal fluid flowing in from the inflow port 35 into a flow that swirls rightward in the same direction, forms a right swirl rising vortex, and cooperates with the channel plate 31 to make the fluid upward Change.
  • the flow inside the pair of channel plates 31 and 32 turns right along a plurality of square inner surfaces and collides with the opposite square inner surface, and the pressure at the collision site increases at that time.
  • This increase in pressure becomes a resistance to the flow flowing into the inside of the pair of channel plates 31 and 32, and the pressure increases as the turning speed increases. For this reason, there exists an effect which makes the flow volume which flows in into each pair of channel plates 31 and 32 uniform.
  • the case where the channel plate 31 and the channel plate 32 are the same shape is illustrated.
  • the inner surface of the channel plate 31 and the end portion c of the channel plate 32 face each other, and the inner surface of the channel plate 32 and the end portion b of the channel plate 31 are The channel plate 31 and the channel plate 32 are arranged so as to face each other.
  • the fluid flows into the inlet 34 having the opening width w5 defined by one end a of the channel plate 31 and one end c of the channel plate 32, and the other end b of the channel plate 31 is obtained.
  • the fluid flows into the inflow port 35 having the opening width w6 defined by the channel plate 32 and the other end d of the channel plate 32, the fluid that has flowed in from the inflow port 34 and the inflow port 35 respectively flows into the inner surfaces of the channel plates 31 and 32. Along the line, it will rise as a right-handed swirl.
  • w5 w6.
  • the drift plate 30 can be sufficiently applied to a jet soldering apparatus and a confectionery manufacturing apparatus.
  • the present invention is not limited to this.
  • at least one of the spiral groove and the protrusion as described in the first embodiment may be provided on the inner surfaces of the plurality of square shapes such as the channel plates 31 and 32 of the drift plate 30.
  • the channel plate 31 and the channel plate 32 showed the example which is the same shape, it does not need to be the same shape and can show the same effect, However, The height direction should be made into the substantially same height. preferable.
  • the first member and the second member to be the drift plates 10, 20, and 30 are selected from a pair of semi-cylindrical, L-shaped, and U-shaped screens.
  • the first member may be a combination of a semi-cylindrical partition plate and the second member may be a L-shaped partition plate. Even in the case of using a combination of partition plates having different shapes, it is preferable that the partition plates have substantially the same height.
  • a jet soldering apparatus 400 shown in FIG. 6 jets a molten fluid (hereinafter referred to as molten solder 7) to a predetermined surface of the printed circuit board 1 and solders electronic components onto the printed circuit board 1.
  • molten solder 7 a molten fluid
  • the solder tank 51 has a housing with an open top surface, and accommodates the molten solder 7.
  • the solder tank 51 is provided with a heater (not shown) to keep the molten solder 7 at a constant temperature.
  • the jet device 40 is mounted in the solder bath 51 in a form soaking in the molten solder 7. As shown in FIG. 7, the jet device 40 includes a duct 41, a nozzle 42, a platform 43, mounting brackets 44 and 45 (see FIG. 11), and an inflow restricting plate 46.
  • the duct 41 has a main body portion 401 having an elongated casing, and a pump housing 402, an inclined portion 403, an inlet portion 404, a terminal portion 405, and an outlet portion 406 are arranged at predetermined positions of the main body portion 401. Is provided.
  • the upper part of the main body 401 is covered, for example, in a form in which the lid is closed with a top plate 408.
  • a pump housing 402 is attached below one side of the duct 41, and a screw 50b is rotatably attached to the pump housing 402 via a rotating shaft 50a constituting the pump 50 (see FIG. 9). .
  • a pulley 52 is attached to one end of the rotary shaft 50a of the pump 50 (see FIG. 6).
  • the pump 50 may be an impeller pump in addition to a screw pump.
  • An inclined portion 403 is disposed at a portion connecting the main body portion 401 and the upper portion of the pump housing 402. One end of the inclined portion 403 is connected to the upper portion of the pump housing 402, and the other end is an inlet portion 404, which is a portion for taking the molten solder 7 pushed by the pump 50 into the duct 41.
  • An inflow restricting plate 46 is provided at a predetermined position of the inlet portion 404. For example, the inflow restricting plate 46 closes the right half of the opening area of the inlet portion 404 and restricts the molten solder 7 to flow into the inlet 14 having one opening width w1 of the drift plate 10.
  • a motor 60 is disposed at a predetermined position outside the solder tank 51, and a pulley 53 is attached to the shaft portion.
  • the belt 54 is wound between the pulley 52 of the pump 50 and the pulley 53 of the motor 60.
  • the motor 60 rotates in a predetermined direction
  • the belt 54 is wound and the pump 50 rotates.
  • the pump 50 sends the molten solder 7 into the main body 401 via the inclined portion 403 and the inlet portion 404. Thereby, the molten solder 7 sucked from the solder bath 51 can be sent into the duct 41.
  • a drift plate 10 as shown in FIGS. 8A and 8B is disposed in the duct 41.
  • the drift plate 10 is fixed to the bottom of the main body 401 by bolts, nuts, and the like, and acts to change the flow direction of the molten solder 7 pushed by the pump 50 from the horizontal direction to the vertical direction.
  • the drift plate 20 described in the second embodiment the drift plate 30 described in the third embodiment, or the like may be used.
  • a terminating portion 405 is provided on the other side of the main body 401.
  • the end portion 405 has a curved surface (R shape), and the molten solder 7 whose flow direction is reversed at the end portion 405 is the inlet of the other opening width w2 of the drift plate 10. 15 flows in.
  • terminus part 405 is a curved surface (R shape)
  • R shape a curved surface
  • a planar shape may be sufficient.
  • the inflow restricting plate 46 described above prevents the molten solder 7 whose flow direction has been reversed at the end portion 405 from flowing into the inclined portion 403.
  • the outlet portion 406 is opened (arranged) in the top plate portion 408 that is above the drift plate 10 and covers the upper portion of the main body portion 401.
  • a tapered nozzle 42 is connected to the outlet portion 406.
  • the nozzle 42 has an elongated rectangular opening 421 below to take in the molten solder 7, and has an elongated rectangular opening 422 above to eject the molten solder 7.
  • a rectifying grid 70 is provided between the drift plate 10 and the nozzle 42.
  • This rectifying grid 70 is one in which a wide metal plate is incorporated in a grid shape (see FIG. 10), and rectifies the molten solder 7 sent from the duct 41.
  • the rectifying grid 70 is not an essential component and may be installed as necessary.
  • a platform 43 is attached to the upper part of the nozzle 42. Molten solder 7 is jetted onto the printed circuit board 1 on the platform 43.
  • a component combining the nozzle 42 and the platform 43 is hereinafter referred to as a nozzle home 49. These constitute the jet soldering apparatus 400.
  • the substrate 13 has the eight semi-cylindrical plates 11 and the eight semi-cylindrical plates 12, and the two elongated holes 16, Prepare the one provided with 17.
  • the long hole portion 16 is provided, for example, between the fourth semi-cylindrical plate 11 from the right side and the fourth semi-cylindrical plate 12 from the right side.
  • the long hole portion 17 is provided between the third semi-cylindrical plate 11 from the left side and the third semi-cylindrical plate 12 from the left side.
  • the long hole portions 16 and 17 are used for adjusting the angle of the drift plate 10 and fixing holes thereof when the drift plate 10 is attached to the duct 41 (see FIG. 12A and the like).
  • the example of formation of the drift plate 10 has been described with reference to FIG.
  • the inflow restricting plate 46 and the screw type pump 50 are attached to the duct 41 shown in FIG.
  • the duct 41 is prepared to have a main body portion 401 and a top plate portion 408 of an elongated casing.
  • the duct 41 having the inclined portion 403 on the downstream side of the portion connecting the main body portion 401 and the pump housing 402 is used.
  • a terminal end 405 is provided on one side of the main body 401 and a pump housing 402 is provided on the other side.
  • an outlet portion 406 is opened on one side of the top plate portion 408, and a bearing portion 56 that rotatably supports the rotary shaft 50a of the pump 50 is provided on the other side.
  • a peripheral edge portion 407 having a predetermined height is provided on the outer peripheral portion of the outlet portion 406. The peripheral edge portion 407 is provided to prevent the molten solder 7 from leaking outside the duct 41 and the nozzle 42 at the contact portion between the duct 41 and the nozzle 42.
  • the inflow restricting plate 46 is attached to the lower end of the inclined portion 403 to define the inlet portion 404.
  • the inflow restricting plate 46 is a position that bisects the lower end of the inclined portion 403 and is welded in a form of standing on the bottom of the main body portion 401.
  • the side wall of the inflow restricting plate 46 may be welded to the side portion of the main body 401.
  • the inlet 404 is defined in such a manner that the right half of the opening area of the cross section of the main body 401 is closed by the inflow restricting plate 46.
  • the inflow restricting plate 46 provided in the inlet portion 404 can be regulated.
  • the pump 50 is installed inside the pump housing 402 disposed on one side of the duct 41.
  • the pump 50 has a rotating shaft 50a and a screw 50b.
  • FIG. 10 A nozzle 42 and a platform 43 shown in FIG. 10 are prepared.
  • a tapered one having an elongated rectangular opening 421 on the lower side and an elongated rectangular opening 422 on the upper side is used.
  • the opening 421 may be formed in a size that encloses the peripheral edge 407 of the outlet 406 of the duct 41 shown in FIG.
  • the nozzle 42 has an inclined top plate portion 423 existing above the drift plate 10 and an upright wall portion 424 extending from the inclined top plate portion 423.
  • the long side portion of the opening 422 is folded in a hook shape on both outer sides to reinforce the opening 422. Further, a reinforcing bar 427 is provided in the vicinity of the center of one upright wall portion 424 and the other upright wall portion 424 to reinforce the width direction of the opening 422.
  • the platform 43 is attached to the upper part of the nozzle 42. Since the nozzle 42 and the platform 43 are conventionally known, the description thereof is omitted. In this example, the platform 43 is incorporated above the nozzle 42, and then the platform 43 is fixed to the nozzle 42. Thereby, it becomes the nozzle home 49 which combined the nozzle 42 and the platform 43 (refer FIG. 11).
  • the drift plate 10 is attached to the region indicated by the oblique lines in the drawing in the duct 41.
  • the drift plate 10 the one assembled in FIG. 8A or the like is used.
  • the mounting angle ⁇ of the drift plate 10 can be adjusted.
  • the attachment angle ⁇ is, for example, an angle formed between the longitudinal direction of the peripheral edge portion 407 of the duct 41 shown in FIG. 12B and the longitudinal direction of the substrate 13 of the drift plate 10.
  • the attachment angle ⁇ can be adjusted by the elongated holes 16 and 17 and the male screws 18 and 19 shown in FIG.
  • the drift plate 10 can be attached to the duct 41 obliquely so that the flow path gradually narrows (taperes) from the inlet 404 to the terminal 405.
  • the male screws 18 and 19 are finally tightened to fix the drift plate 10 to the bottom of the duct 41 (see FIG. 12A).
  • the inlet 14 of the semi-cylindrical plate 11 with respect to the molten solder 7 changes relatively, so that the incorporation of the molten solder 7 can be adjusted.
  • the nozzle home 49 is attached to the duct 41 by the mounting brackets 44 and 45. Thereby, the jet apparatus 40 as shown in FIG. 7 is completed.
  • the jet soldering device 400 shown in FIG. 6 can be obtained.
  • FIGS. 12A, 12B, and 13 to 15 The velocity distribution chart and the pressure distribution chart of the jet device 40 are obtained by calculating the shape dimension of the drift plate 10, the shape dimension of the duct, the capacity of the pump 50, and the number of rotations with fluid analysis software.
  • FIG. 12A, FIG. 12B, and FIG. 13 the jet apparatus 40 has shown the state which removed the nozzle home 49.
  • FIG. 12A, FIG. 12B, and FIG. 13 the jet apparatus 40 has shown the state which removed the nozzle home 49.
  • the pump 50 is rotated to feed the molten solder 7 into the duct 41.
  • the pump 50 sends the molten solder 7 into the duct 41 through the inclined portion 403 as indicated by the white oblique downward arrow in the drawing.
  • the white inlets shown in FIG. 12B are provided at eight inlets 14 defined by one end a of the semicylindrical plate 11 and one end c of the semicylindrical plate 12 shown in FIG. As indicated by the upward arc arrow, the molten solder 7 flows (see FIG. 14).
  • the thick solid arrow indicates the part where the flow velocity of the molten solder 7 is the fastest.
  • the solid-line middle-thickness arrow indicates the part where the flow rate of the molten solder 7 is the next fastest.
  • An arrow of a two-dot chain line indicates a flow velocity of the molten solder 7 in a right-turn rising vortex portion formed by the semicylindrical plates 11 and 12.
  • the solid thin arrow indicates a portion where the flow rate of the molten solder 7 which does not contribute much to the rising vortex is low.
  • a wavy arrow indicates a portion where the flow rate of the molten solder 7 is the slowest.
  • the direction of the arrow indicates the direction of flow of the molten solder 7.
  • the flow rate is Y [m / s]. It can be seen that the flow velocity changes greatly on the front and back of the inflow restricting plate 46. On the surface side of the inflow restricting plate 46, the flow of the molten solder 7 is the fastest toward the inlet portion 404. The flow of the molten solder 7 sent out from the inlet 404 into the duct is gradually slowed down.
  • the molten solder 7 that has reached the end portion 405 of the duct 41 shown in FIG. 12A makes a U-turn due to the R shape of the end portion 405 and reverses to the inlet 15 side of the semi-cylindrical plate 12.
  • the white downward arc of FIG. 12B is formed at eight inlets 15 defined by the other end b of the semicylindrical plate 11 and the other end d of the semicylindrical plate 12 shown in FIG.
  • molten solder 7 flows.
  • a part of the molten solder 7 flowing from the inlet 14 intersects with the molten solder 7 flowing from the inlet 15. For this reason, the flow of the molten solder 7 is the slowest on the back side of the inflow restricting plate 46 shown in FIG.
  • the semi-cylindrical plate 11 changes the flow direction of the molten solder 7 flowing in from the inflow port 14 into the direction of the right-turning flow in the horizontal direction, and the right-turning rising vortex shown by the two-dot chain line arrow in FIG. And the molten solder 7 is turned upward in cooperation with the semi-cylindrical plate 12.
  • the semi-cylindrical plate 12 also changes the flow direction of the horizontal molten solder 7 flowing in from the inlet 15 to the direction of the right-turning flow in the same direction, forms a right-turn rising vortex, and cooperates with the semi-cylindrical plate 11 Then, the direction of the molten solder 7 is changed as indicated by the white upward arrow in FIG. 12A.
  • the flow of the molten solder 7 inside the pair of semi-cylindrical plates 11 and 12 turns right along the semi-cylindrical inner surface and collides with the opposite semi-cylindrical inner surface.
  • the pressure increases (see FIG. 15).
  • the hatching portion that is lower right indicates the portion where the pressure of the molten solder 7 is highest.
  • the hatched portion of the horizontal line indicates a portion where the pressure of the molten solder 7 is the next highest.
  • the cross-hatched portion indicates a portion where the pressure of the molten solder 7 is the next highest (this portion is, for example, the pressure of the intermediate portion).
  • the hatching portion that is lowered to the left indicates a portion where the pressure of the molten solder 7 is lower than that of the intermediate portion.
  • a thick dot portion indicates a portion where the pressure of the molten solder 7 is lower.
  • a thin dot portion indicates a portion where the pressure of the molten solder 7 is the lowest.
  • the direction of the arrow indicates the direction of the pressure (flow) of the molten solder 7.
  • the long, thick arrow indicates the maximum pressure part and its direction.
  • the long thin arrows indicate the majority of pressure and its direction.
  • the thin arrows indicate the middle part of the pressure and its direction.
  • the short arrow of the extra fine line indicates the small portion of the pressure and its direction.
  • the very short arrow of the thin line indicates the portion where the pressure is minimum and its direction.
  • the very short arrow of the fine wire indicates the portion where the pressure is extremely small and its direction. It can be seen that the pressure changes greatly on the front and back of the inflow restricting plate 46. On the surface side of the inflow restricting plate 46, the pressure of the molten solder 7 is highest from the pump 50 toward the inlet portion 404.
  • the wavy line in the figure shows an isobar.
  • the pressures in the two regions of the drift plate 10 are higher than the pressures on the left and right.
  • the molten solder 7 after the direction change indicated by the white upward arrow in FIG. 12A passes through the outlet portion 406 shown in FIG. 13 and hits the inclined top plate portion 423. Then, in the first half portion of the nozzle 42, the molten solder 7 rising in the vertical direction is guided obliquely upward by the inclined top plate portion 423 and guided to the upright wall portion 424. And the upright wall part 424 which is the second half part of the nozzle 42 comes to guide the molten solder 7 upward. Accordingly, the molten solder 7 having a uniform wave height can be jetted from the opening 422 of the nozzle 42.
  • the jet apparatus 40 according to the present invention is mounted, and the drift plate 10, 20 or 30 according to the present invention is mounted on the jet apparatus 40. ing.
  • the drift plate 10 according to the present invention changes from the horizontal direction to the vertical direction while turning the flow of the molten solder 7 in the duct 41 to the right.
  • This configuration makes it possible to make the distribution in the width direction of the jet height of the molten solder 7 ejected from the nozzle 42 uniform.
  • the change in the trend of the distribution in the width direction of the molten solder 7 due to the output of the pump 50 can be reduced.
  • the balance of the pair of semi-cylindrical plates 11 and 12 can be maintained by the effect of making the flow rate of the molten solder 7 flowing into the pair of semi-cylindrical plates 11 and 12 uniform. It is possible to form a jet of molten solder 7 having a uniform height in the width direction of the nozzle 42.
  • the attachment angle ⁇ of the drift plate 10 to the duct 41 can be adjusted so that the drift plate 10 is attached to the bottom of the duct 41 at the attachment angle ⁇ shown in FIG.
  • the attachment angle ⁇ By adjusting the attachment angle ⁇ , the inlet 14 of the semi-cylindrical plate 11 relative to the molten solder 7 changes relatively, so that the incorporation of the molten solder 7 can be adjusted.
  • the present invention is not limited to this, and the semi-cylindrical plates 11, 12 such as the drift plates 10, etc.
  • the molten solder 7 can be turned to the left.
  • the present invention is extremely suitable when applied to a jet soldering apparatus or the like that changes the flow of molten solder from a horizontal direction to a vertical direction and jets the molten solder toward a printed circuit board.

Landscapes

  • Engineering & Computer Science (AREA)
  • Mechanical Engineering (AREA)
  • Manufacturing & Machinery (AREA)
  • Microelectronics & Electronic Packaging (AREA)
  • Molten Solder (AREA)
  • Electric Connection Of Electric Components To Printed Circuits (AREA)
PCT/JP2013/057832 2012-04-27 2013-03-19 偏流板及び噴流装置 Ceased WO2013161453A1 (ja)

Priority Applications (8)

Application Number Priority Date Filing Date Title
MYPI2014003017A MY182200A (en) 2012-04-27 2013-03-19 Guide vane and jetting apparatus
US14/397,483 US9622395B2 (en) 2012-04-27 2013-03-19 Guide vane and jetting apparatus
KR1020147032873A KR101524993B1 (ko) 2012-04-27 2013-03-19 편류판 및 분류 장치
SG11201406926XA SG11201406926XA (en) 2012-04-27 2013-03-19 Guide vane and jetting apparatus
CN201380022382.1A CN104254423B (zh) 2012-04-27 2013-03-19 偏流板和喷流装置
EP13781991.8A EP2842683B1 (en) 2012-04-27 2013-03-19 Drift plate and jet device
PH12014502409A PH12014502409A1 (en) 2012-04-27 2014-10-27 Guide vane and jetting apparatus
IN9117DEN2014 IN2014DN09117A (enExample) 2012-04-27 2014-10-30

Applications Claiming Priority (2)

Application Number Priority Date Filing Date Title
JP2012-103249 2012-04-27
JP2012103249A JP5601342B2 (ja) 2012-04-27 2012-04-27 偏流板及び噴流装置

Publications (1)

Publication Number Publication Date
WO2013161453A1 true WO2013161453A1 (ja) 2013-10-31

Family

ID=49482790

Family Applications (1)

Application Number Title Priority Date Filing Date
PCT/JP2013/057832 Ceased WO2013161453A1 (ja) 2012-04-27 2013-03-19 偏流板及び噴流装置

Country Status (10)

Country Link
US (1) US9622395B2 (enExample)
EP (1) EP2842683B1 (enExample)
JP (1) JP5601342B2 (enExample)
KR (1) KR101524993B1 (enExample)
CN (1) CN104254423B (enExample)
IN (1) IN2014DN09117A (enExample)
MY (1) MY182200A (enExample)
PH (1) PH12014502409A1 (enExample)
SG (1) SG11201406926XA (enExample)
WO (1) WO2013161453A1 (enExample)

Families Citing this family (7)

* Cited by examiner, † Cited by third party
Publication number Priority date Publication date Assignee Title
CN105073322B (zh) * 2013-03-29 2016-07-13 千住金属工业株式会社 偏流板和喷流装置
DE102013110731B3 (de) * 2013-09-27 2014-11-06 Ersa Gmbh Trennstreifen-Anordnung für Lötdüse, sowie Lötdüseneinrichtung zum selektiven Wellenlöten
CN104594990B (zh) * 2015-02-27 2017-06-23 天纳克(苏州)排放系统有限公司 混合管及其排气处理装置
CN106975816A (zh) * 2017-03-28 2017-07-25 深圳市联合超越电子设备有限公司 喷口角度可调的喷流装置
CN113262392B (zh) * 2021-04-25 2022-08-09 泰尔茂医疗产品(杭州)有限公司 连接器
CN118699619B (zh) * 2024-06-27 2025-11-21 武汉船用机械有限责任公司 导管的制作方法
CN121038247A (zh) * 2025-10-29 2025-11-28 华能会理风力发电有限公司 一种变流器散热装置

Citations (12)

* Cited by examiner, † Cited by third party
Publication number Priority date Publication date Assignee Title
JPS63137570A (ja) * 1986-11-27 1988-06-09 Tamura Seisakusho Co Ltd 噴流式はんだ付け装置
JPH01143762A (ja) 1987-11-26 1989-06-06 Tamura Seisakusho Co Ltd 噴流式はんだ付け装置
JPH01114165U (enExample) 1988-01-29 1989-08-01
JPH0314059U (enExample) * 1989-06-20 1991-02-13
JPH10313171A (ja) * 1997-05-12 1998-11-24 Nihon Dennetsu Keiki Co Ltd はんだ付け装置
JPH1144409A (ja) * 1997-07-23 1999-02-16 Kozo Sekimoto 燃焼炉
WO2005035176A1 (ja) * 2003-10-10 2005-04-21 Senju Metal Industry Co., Ltd. 噴流半田槽
WO2006082960A1 (ja) 2005-02-07 2006-08-10 Senju Metal Industry Co., Ltd. 噴流はんだ槽
WO2007116853A1 (ja) 2006-04-05 2007-10-18 Senju Metal Industry Co., Ltd. 噴流はんだ槽
JP4136887B2 (ja) 2003-06-17 2008-08-20 千住システムテクノロジー株式会社 半田槽用ポンプ及びそれを使用する半田槽
JP2009019781A (ja) * 2007-07-10 2009-01-29 Showa Denko Kk 熱交換器
JP2010177287A (ja) 2009-01-27 2010-08-12 Senju Metal Ind Co Ltd 噴流はんだ槽

Family Cites Families (6)

* Cited by examiner, † Cited by third party
Publication number Priority date Publication date Assignee Title
JPS57154371A (en) * 1981-03-19 1982-09-24 Tdk Corp Method and device for soldering
GB2117690B (en) * 1982-04-02 1986-01-08 Zevatron Gmbh Apparatus for soldering workpieces
JPH01114165A (ja) 1987-10-27 1989-05-02 Mitsubishi Electric Corp 垂直偏向回路
JPH0314059A (ja) 1989-06-13 1991-01-22 Nec Corp バスシステム
CN201089051Y (zh) * 2007-08-03 2008-07-23 陈许松 无铅波峰焊锡机
CN101698259A (zh) * 2009-09-30 2010-04-28 苏州明富自动化设备有限公司 一种焊锡喷锡装置

Patent Citations (12)

* Cited by examiner, † Cited by third party
Publication number Priority date Publication date Assignee Title
JPS63137570A (ja) * 1986-11-27 1988-06-09 Tamura Seisakusho Co Ltd 噴流式はんだ付け装置
JPH01143762A (ja) 1987-11-26 1989-06-06 Tamura Seisakusho Co Ltd 噴流式はんだ付け装置
JPH01114165U (enExample) 1988-01-29 1989-08-01
JPH0314059U (enExample) * 1989-06-20 1991-02-13
JPH10313171A (ja) * 1997-05-12 1998-11-24 Nihon Dennetsu Keiki Co Ltd はんだ付け装置
JPH1144409A (ja) * 1997-07-23 1999-02-16 Kozo Sekimoto 燃焼炉
JP4136887B2 (ja) 2003-06-17 2008-08-20 千住システムテクノロジー株式会社 半田槽用ポンプ及びそれを使用する半田槽
WO2005035176A1 (ja) * 2003-10-10 2005-04-21 Senju Metal Industry Co., Ltd. 噴流半田槽
WO2006082960A1 (ja) 2005-02-07 2006-08-10 Senju Metal Industry Co., Ltd. 噴流はんだ槽
WO2007116853A1 (ja) 2006-04-05 2007-10-18 Senju Metal Industry Co., Ltd. 噴流はんだ槽
JP2009019781A (ja) * 2007-07-10 2009-01-29 Showa Denko Kk 熱交換器
JP2010177287A (ja) 2009-01-27 2010-08-12 Senju Metal Ind Co Ltd 噴流はんだ槽

Non-Patent Citations (1)

* Cited by examiner, † Cited by third party
Title
See also references of EP2842683A4

Also Published As

Publication number Publication date
PH12014502409B1 (en) 2015-01-12
PH12014502409A1 (en) 2015-01-12
IN2014DN09117A (enExample) 2015-05-22
EP2842683A4 (en) 2016-04-13
JP2013230481A (ja) 2013-11-14
JP5601342B2 (ja) 2014-10-08
CN104254423A (zh) 2014-12-31
KR101524993B1 (ko) 2015-06-01
SG11201406926XA (en) 2015-02-27
EP2842683A1 (en) 2015-03-04
KR20140146219A (ko) 2014-12-24
US9622395B2 (en) 2017-04-11
EP2842683B1 (en) 2017-10-18
US20150305216A1 (en) 2015-10-22
MY182200A (en) 2021-01-18
CN104254423B (zh) 2015-11-25

Similar Documents

Publication Publication Date Title
JP5601342B2 (ja) 偏流板及び噴流装置
JP4893738B2 (ja) 噴流はんだ槽
CN114320566B (zh) 贮液箱
JP4941289B2 (ja) 噴流はんだ槽
JP2013230481A5 (enExample)
CN100503118C (zh) 喷流焊锡槽
CN105904062B (zh) 喷口间距可调的喷流焊装置
JP5614518B1 (ja) 偏流板及び噴流装置
CN104684273A (zh) 喷流喷嘴以及喷流装置
US9527151B2 (en) Wave soldering apparatus and nozzle thereof
JP5660081B2 (ja) 噴流ノズル及び噴流装置
WO2010087341A1 (ja) 噴流はんだ槽
JP5484080B2 (ja) はんだ付け装置
JP2009036114A (ja) 立軸バルブ型水車発電設備
JP5058118B2 (ja) 立軸バルブ型水車発電設備
JP6179716B2 (ja) 燃焼装置
CN104339060B (zh) 一种喷流焊接方法
CN2231474Y (zh) 改进的自动焊锡炉之锡槽装置
KR20040014793A (ko) 자동납땜장치용 노즐구조
JP2002371986A (ja) 排水ポンプ装置
CN104339063A (zh) 一种喷流焊焊炉

Legal Events

Date Code Title Description
121 Ep: the epo has been informed by wipo that ep was designated in this application

Ref document number: 13781991

Country of ref document: EP

Kind code of ref document: A1

DPE1 Request for preliminary examination filed after expiration of 19th month from priority date (pct application filed from 20040101)
NENP Non-entry into the national phase

Ref country code: DE

WWE Wipo information: entry into national phase

Ref document number: 14397483

Country of ref document: US

WWE Wipo information: entry into national phase

Ref document number: IDP00201406666

Country of ref document: ID

REEP Request for entry into the european phase

Ref document number: 2013781991

Country of ref document: EP

WWE Wipo information: entry into national phase

Ref document number: 2013781991

Country of ref document: EP

ENP Entry into the national phase

Ref document number: 20147032873

Country of ref document: KR

Kind code of ref document: A