WO2013122075A1 - 超音波探触子及びそれを用いた超音波診断装置 - Google Patents

超音波探触子及びそれを用いた超音波診断装置 Download PDF

Info

Publication number
WO2013122075A1
WO2013122075A1 PCT/JP2013/053335 JP2013053335W WO2013122075A1 WO 2013122075 A1 WO2013122075 A1 WO 2013122075A1 JP 2013053335 W JP2013053335 W JP 2013053335W WO 2013122075 A1 WO2013122075 A1 WO 2013122075A1
Authority
WO
WIPO (PCT)
Prior art keywords
film
ultrasonic probe
ultrasonic
substrate
probe according
Prior art date
Legal status (The legal status is an assumption and is not a legal conclusion. Google has not performed a legal analysis and makes no representation as to the accuracy of the status listed.)
Ceased
Application number
PCT/JP2013/053335
Other languages
English (en)
French (fr)
Japanese (ja)
Inventor
吉村 保廣
永田 達也
暁史 佐光
Current Assignee (The listed assignees may be inaccurate. Google has not performed a legal analysis and makes no representation or warranty as to the accuracy of the list.)
Hitachi Ltd
Original Assignee
Hitachi Aloka Medical Ltd
Priority date (The priority date is an assumption and is not a legal conclusion. Google has not performed a legal analysis and makes no representation as to the accuracy of the date listed.)
Filing date
Publication date
Application filed by Hitachi Aloka Medical Ltd filed Critical Hitachi Aloka Medical Ltd
Priority to EP13748547.0A priority Critical patent/EP2815700A4/en
Priority to CN201380008619.0A priority patent/CN104114097B/zh
Priority to US14/377,265 priority patent/US9846145B2/en
Publication of WO2013122075A1 publication Critical patent/WO2013122075A1/ja
Anticipated expiration legal-status Critical
Ceased legal-status Critical Current

Links

Images

Classifications

    • GPHYSICS
    • G01MEASURING; TESTING
    • G01NINVESTIGATING OR ANALYSING MATERIALS BY DETERMINING THEIR CHEMICAL OR PHYSICAL PROPERTIES
    • G01N29/00Investigating or analysing materials by the use of ultrasonic, sonic or infrasonic waves; Visualisation of the interior of objects by transmitting ultrasonic or sonic waves through the object
    • G01N29/22Details, e.g. general constructional or apparatus details
    • G01N29/24Probes
    • G01N29/2406Electrostatic or capacitive probes, e.g. electret or cMUT-probes
    • AHUMAN NECESSITIES
    • A61MEDICAL OR VETERINARY SCIENCE; HYGIENE
    • A61BDIAGNOSIS; SURGERY; IDENTIFICATION
    • A61B8/00Diagnosis using ultrasonic, sonic or infrasonic waves
    • A61B8/13Tomography
    • A61B8/14Echo-tomography
    • AHUMAN NECESSITIES
    • A61MEDICAL OR VETERINARY SCIENCE; HYGIENE
    • A61BDIAGNOSIS; SURGERY; IDENTIFICATION
    • A61B8/00Diagnosis using ultrasonic, sonic or infrasonic waves
    • A61B8/44Constructional features of the ultrasonic, sonic or infrasonic diagnostic device
    • A61B8/4444Constructional features of the ultrasonic, sonic or infrasonic diagnostic device related to the probe
    • AHUMAN NECESSITIES
    • A61MEDICAL OR VETERINARY SCIENCE; HYGIENE
    • A61BDIAGNOSIS; SURGERY; IDENTIFICATION
    • A61B8/00Diagnosis using ultrasonic, sonic or infrasonic waves
    • A61B8/44Constructional features of the ultrasonic, sonic or infrasonic diagnostic device
    • A61B8/4483Constructional features of the ultrasonic, sonic or infrasonic diagnostic device characterised by features of the ultrasound transducer
    • A61B8/4494Constructional features of the ultrasonic, sonic or infrasonic diagnostic device characterised by features of the ultrasound transducer characterised by the arrangement of the transducer elements
    • AHUMAN NECESSITIES
    • A61MEDICAL OR VETERINARY SCIENCE; HYGIENE
    • A61BDIAGNOSIS; SURGERY; IDENTIFICATION
    • A61B8/00Diagnosis using ultrasonic, sonic or infrasonic waves
    • A61B8/46Ultrasonic, sonic or infrasonic diagnostic devices with special arrangements for interfacing with the operator or the patient
    • A61B8/461Displaying means of special interest
    • BPERFORMING OPERATIONS; TRANSPORTING
    • B06GENERATING OR TRANSMITTING MECHANICAL VIBRATIONS IN GENERAL
    • B06BMETHODS OR APPARATUS FOR GENERATING OR TRANSMITTING MECHANICAL VIBRATIONS OF INFRASONIC, SONIC, OR ULTRASONIC FREQUENCY, e.g. FOR PERFORMING MECHANICAL WORK IN GENERAL
    • B06B1/00Methods or apparatus for generating mechanical vibrations of infrasonic, sonic, or ultrasonic frequency
    • B06B1/02Methods or apparatus for generating mechanical vibrations of infrasonic, sonic, or ultrasonic frequency making use of electrical energy
    • B06B1/0292Electrostatic transducers, e.g. electret-type
    • GPHYSICS
    • G01MEASURING; TESTING
    • G01NINVESTIGATING OR ANALYSING MATERIALS BY DETERMINING THEIR CHEMICAL OR PHYSICAL PROPERTIES
    • G01N2291/00Indexing codes associated with group G01N29/00
    • G01N2291/02Indexing codes associated with the analysed material
    • G01N2291/028Material parameters
    • GPHYSICS
    • G01MEASURING; TESTING
    • G01NINVESTIGATING OR ANALYSING MATERIALS BY DETERMINING THEIR CHEMICAL OR PHYSICAL PROPERTIES
    • G01N2291/00Indexing codes associated with group G01N29/00
    • G01N2291/04Wave modes and trajectories
    • G01N2291/044Internal reflections (echoes), e.g. on walls or defects
    • GPHYSICS
    • G01MEASURING; TESTING
    • G01NINVESTIGATING OR ANALYSING MATERIALS BY DETERMINING THEIR CHEMICAL OR PHYSICAL PROPERTIES
    • G01N2291/00Indexing codes associated with group G01N29/00
    • G01N2291/10Number of transducers
    • G01N2291/101Number of transducers one transducer

Definitions

  • the present invention relates to an ultrasonic probe and an ultrasonic diagnostic apparatus using the same.
  • An ultrasonic probe is preferably used to inspect a subject such as a human being or an animal with an ultrasonic wave.
  • a technique related to such an ultrasonic probe there is a technique described in Patent Document 1, for example.
  • semiconductor manufacturing technology and MEMS (Micro Electro Mechanical System) technology are applied to produce an ultrasonic transmission / reception device by laminating thin films.
  • the first and second insulating films provided above the upper electrode, and the first and second insulating films are a combination of tensile stress and compressive stress, respectively.
  • the amount of warping of the gap between the upper electrode and the lower electrode is adjusted.
  • Patent Document 2 discloses an ultrasonic transducer in which a substrate having a first electrode inside or on a surface and a diaphragm having a second electrode inside or on the surface are arranged via a cavity. It is described that it comprises at least one beam.
  • the cMUT (Capacitive Micromachined Ultrasonic Transducer) element is a technology that applies semiconductor manufacturing technology and MEMS technology, as described in Patent Document 1. Specifically, since a cMUT element is manufactured by laminating films, a membrane (consisting of a plurality of laminated films) that is a driving electrode layer is unintentionally excessive due to the balance between stress and rigidity of each film. There is warping. Therefore, the gap interval between the drive electrode and the fixed electrode may change between manufacturing lots.
  • the stress of each film has a distribution unique to the manufacturing process within the silicon wafer surface, and further varies from batch to batch of the apparatus for forming the film and from manufacturing lot to manufacturing lot. For this reason, the amount of warping of the membrane varies depending on the stress variation, and the gap (width) may vary.
  • the magnitude of the DC voltage and AC voltage has an optimum setting depending on the gap interval. Therefore, when the gap varies depending on the element, the set applied voltage is deviated from the optimum applied voltage corresponding to the gap. When the applied voltage is deviated in this manner, the transmission sound pressure varies, and the acoustic performance of the generated ultrasonic waves also varies, which may cause problems in the characteristic stability as an ultrasonic probe using a cMUT element.
  • the gap change due to membrane vibration is converted into a current as a capacitance change while the gap is narrowed by applying a DC voltage. For this reason, accumulation of electric charges in the element due to application of a DC voltage may affect reception sensitivity. Therefore, when the gap interval varies, the received signal varies, and the definition of the ultrasonic image may also decrease. That is, a problem may arise in the characteristic stability as an ultrasonic probe.
  • an object of the present invention is to provide an ultrasonic probe excellent in characteristic stability and an ultrasonic diagnostic apparatus using the same.
  • the present inventors have found that the above-mentioned problems can be solved by providing a beam and laminating a film that gives different stress inside the beam, and completed the present invention. It was.
  • the ultrasonic probe 1 of the present embodiment includes a cMUT element 2, a backing 3, a flexible board 4, a connector 91, a wiring 92, a circuit board 97, and a connection terminal 98. Is provided.
  • the ultrasonic probe 1 is used, for example, for human body inspections in a medical institution (cardiovascular examinations such as heart and blood vessels, abdominal examinations, etc.).
  • the ultrasonic probe 1 includes a cMUT element 2 at the tip of the backing 3.
  • the cMUT element 2 irradiates the subject 95 with ultrasonic waves via an acoustic lens 94 described later, and receives the ultrasonic waves reflected from the subject 95. Details on this point will be described later.
  • the cMUT element 2 is connected to the flexible substrate 4 having the wiring 92 connected to the connector 91 by wire bonding.
  • the connector 91 is connected to a circuit board 97 (specific circuit is not shown).
  • the connection terminals 98 on the circuit board 97 are connected to the ultrasonic diagnostic apparatus 201 (see FIG. 7).
  • the ultrasonic diagnostic apparatus 201 (details will be described later) is to drive the cMUT element 2 by applying an electric signal and to image a signal generated by receiving a wave from the subject 95.
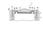
  • an acoustic lens 94 made of silicone resin for focusing the ultrasonic wave generated from the cMUT element 2 in the direction of the subject is provided.
  • the cMUT element 2 transmits and receives ultrasonic waves to the subject 95 such as a human body via the acoustic lens 94.
  • the cMUT element 2 is bonded and fixed on the backing 3 via a resin 45.
  • a flexible substrate 4 that transmits ultrasonic transmission / reception signals to a substrate (not shown) is also fixed to the backing 3 through a resin 46.
  • the cMUT element 2 and the flexible substrate 4 are connected by a wire 42 by a wire bonding method.
  • the periphery of the wire 42 and its connecting portion is sealed with a sealing resin 47.
  • An acoustic lens 94 is bonded and fixed on the structures with a resin 41. These structures are housed in the case 43.
  • a gap between the case 43 and the acoustic lens 2 is filled with a resin 44.
  • FIG. 3 is an enlarged view of the surface of the cMUT element 2 applied to the ultrasonic probe 1 (the surface corresponding to the acoustic lens 94).
  • the cMUT element 2 is usually composed of a plurality of cells. Therefore, FIG. 3 shows an enlarged view of one of the plurality of cells.
  • the cMUT element 2 includes a silicon substrate 5, a lower electrode 7, an upper electrode 11, insulating films 6, 8, 9, 10, 12, 13a, 13b, 14a, 14b, 15a, 15b, 16, 18a, and 18b. .
  • a cavity 17 is formed between the insulating film 8 and the insulating film 10.
  • An insulating film and electrodes are stacked on the surface of the silicon substrate 5. Specifically, on the silicon substrate 5, the insulating film 6, the lower electrode 7, the insulating film 8, the insulating film 9, the insulating film 10, the upper electrode 11, the insulating films 18a and 18b, and the insulating film 12 are arranged in this order. Are stacked.
  • the cavity 17 is provided between the insulating film 8 and the insulating film 10.
  • a beam portion 100 and two rim portions 101 are provided on the surface of the insulating film 12.
  • the membrane 102 is an aggregate of insulating films, electrodes, and cavities 17 provided on the silicon substrate. When the membrane 102 vibrates when an AC voltage is applied, ultrasonic waves are generated.
  • the membrane 102 includes a beam part 100 and a rim part 101.
  • the beam portion 100 is provided near the center of the upper electrode 11 and on the upper surface of the insulating film 18a.
  • insulating films 12, 13a, 14a, and 15a are laminated in this order from the silicon substrate 5 side. That is, as shown in FIG. 3, an insulating film 16 (film that gives tensile stress) is formed on the outer surface of the cMUT element (ultrasonic transmitting / receiving element) 2, and the beam portion 100 is close to the silicon substrate (substrate) 5.
  • the insulating film 12 (film that gives tensile stress), the insulating film 13a (film that gives compressive stress), the insulating film 14a (film that gives tensile stress), and the insulating film 15a (film that gives compressive stress) are in this order. Is laminated.
  • the upper surface and side surfaces of the beam portion 100 are covered with an insulating film 16.
  • the number of layers included in the beam portion 100 (the number of films to be stacked) is between the beam portion 100 and the rim portion 101 (that is, the bottom portion of the recess formed between the beam portion 100 and the rim portion 101). More than the number of layers of the membrane 102.
  • the rim portion 101 is provided on the upper surface of the insulating film 18b so as to partially overlap both ends of the upper electrode 11. That is, as shown in FIG. 3, a rim portion 101 is provided apart from the beam portion 100, and the rim portion 101 is formed by laminating insulating films 12, 13b, 14b, and 15b (films made of materials having different stresses). The rim portion 101 protrudes toward the cavity 17 from the cavity end 21 (end of the cavity 17). By providing the rim portion 101, the strength of the cMUT element 2 can be improved. Moreover, since the rim
  • the rim portions 101, 101 are provided below the rim portions 101, 101 shown in FIG. 3 so that both ends of the upper electrode 11 (end portions in the left-right direction on the paper surface) are formed.
  • the rim portion 101 includes the insulating films 12, 13b, 14b, and 15b as components, and these are laminated in this order from the silicon substrate 5 side.
  • the upper surface of the rim portion 101 and the surface facing the beam portion 100 are covered with an insulating film 16.
  • the number of layers included in the rim portion 101 is the same as that of the beam portion 100 in the membrane between the beam portion 100 and the rim portion 101 (that is, the bottom portion in the concave portion formed between the beam portion 100 and the rim portion 101). More than 102 layers.
  • the rim end 20 that is the end portion of the rim portion 101 protrudes beyond the cavity end 21 that is the end portion of the cavity 17. Thereby, the rigidity of the easily deformable portion in the vicinity of the cavity end 21 of the membrane 102 can be increased. For this reason, the curvature of the membrane 102 and the gap fluctuation of the cavity 17 due to the stress fluctuation of each film can be reduced.
  • each insulating film is configured to be laminated in a complicated manner. With such a stacked structure, dielectric breakdown due to leakage current can be prevented.
  • the lower electrode 7 and the upper electrode 11 are both parallel plate electrodes.
  • the membrane 102 is warped by connecting a power source (not shown) to these electrodes and applying a DC voltage or an AC voltage. That is, the upper electrode 11 is pulled closer to the lower electrode 7 side.
  • the membrane 102 is a portion where warpage occurs due to application of a DC voltage to the lower electrode 7 and the upper electrode 11. Further, the membrane 102 is a portion where vibration occurs when an alternating voltage is applied.
  • the insulating film provided in the cMUT element 2 is composed of silicon dioxide (silicon dioxide; SiO 2 ) and silicon nitride (silicon nitride; Si 3 N 4 ). That is, the insulating films 6, 8, 9, 10, 13a, 13b, 15a, 15b, 18a, 18b (first insulating film) are made of silicon dioxide. The insulating films 12, 14a, 14b, and 16 (second insulating film) are made of silicon nitride.
  • the insulating film applied to the cMUT element 2 is composed of two different insulating materials. These insulating films can be formed by, for example, chemical vapor deposition or sputtering.
  • the film made of silicon dioxide is a film that applies compressive stress (compressive stress film).
  • the film made of silicon nitride is a film that applies a tensile stress (a film having a tensile stress).
  • the film that applies tensile stress is silicon nitride
  • the film that applies compressive stress is silicon dioxide. That is, in the beam portion 100, the surface is covered with a film made of silicon nitride, and on the inside thereof, a film made of compressive stress silicon dioxide (insulating film 15a) and a film made of tensile stress silicon nitride are formed.
  • the insulating film 14a, the compressive stress silicon dioxide film (insulating film 13a), and the tensile stress silicon nitride film (insulating film 12) are laminated in this order.
  • the rim portion 101 is laminated in substantially the same manner.
  • the ultrasonic probe 1 includes a silicon substrate (substrate) 5, insulating films 6, 8, 9, 10, 12, 18 a and 18 b formed on the silicon substrate 5, the silicon substrate 5 and the insulating film 6. , 8, 9, 10, 12, 18a, 18b, and an upper electrode 11 and a lower electrode 7 (a pair of electrodes) provided parallel to the silicon substrate 5 with the cavity 17 interposed therebetween.
  • the ultrasonic transmitting / receiving element 2 is placed on the upper electrode 11 (electrode) that is separated from the silicon substrate 5 among the upper electrode 11 and the lower electrode 7, as shown in FIG. 3.
  • a multi-layered beam portion 100 formed by laminating films 12, 13a, 14a, and 15a made of materials having different stresses is provided.
  • the beam portion 100 includes an insulating film 12, 14a (a film that applies tensile stress) and an insulating film. 13a and 15a (films for applying compressive stress) are laminated.
  • the film of compressive stress and the film of tensile stress are not laminated and consist of only one kind of layer, warp variation is likely to occur.
  • the action of stress becomes complicated if a beam portion is provided. Therefore, it is difficult to suppress variations in membrane drive.
  • the number of layers to be stacked number of layers
  • a stress variation may be reflected in the amount of warp as in a bimetal, but the variation can be suppressed. Thereby, good characteristic stability can be obtained.
  • the number of layers is three or more, such variation can be more reliably suppressed.
  • the number of layers of the insulating films 12, 13 a, 14 a, and 15 a (films) included in the beam portion 100 is the insulation constituting the portion other than the beam portion 100. More than the number of layers of the films 12 and 16.
  • the beam portion 100 is composed of four layers, and the insulating film constituting the portion other than the beam portion 100 is two layers.
  • the number of layers of the beam portion 100 is larger than the number of layers of the insulating film constituting the portion other than the beam portion 100.
  • the film (insulating films 12 and 14 a) that applies tensile stress and the film (insulating films 13 a and 15 a) that apply compressive stress are insulating films.
  • the beam portion 100 a film that applies compressive stress and a film that applies tensile stress are laminated. Therefore, even if the stress of each insulating film fluctuates due to variation, the tensile stress film and the compressive stress film are balanced by the beam portion 100 having such a laminated structure. As a result, the fluctuation of the warp of the membrane 102 between production lots is small, and the variation in the gap interval of the cavity 17 can be reduced.
  • the sum of the stresses of the respective insulating films is a tensile stress. That is, the total stress of the insulating films (films) 6, 8, 9, 10, 12, 18a, and 18b formed on the silicon substrate (substrate) 5 is the tensile stress. Similarly, the average value of the stress of each insulating film is preferably a tensile stress. Therefore, in the cMUT element 2, the number of layers is determined so that the sum of the stresses of the respective insulating films becomes a tensile stress.
  • the insulating film 16 that covers the beam portion 100 and the rim portion 101 is a film that applies tensile stress as described above, but also has a function of protecting the surface of the cMUT element 2 (for example, mixing of foreign matter and moisture prevention).
  • the stress neutral surface 103 of the membrane 102 is positioned lower than the beam neutral surface 104 of the beam portion 100. That is, when the stress neutral surface 103 and the beam neutral surface 104 are compared, the stress neutral surface 103 is closer to the upper electrode 11. Accordingly, the heights of the membrane 102 and the beam portion 100 are set so that the stress neutral surface 103 and the beam neutral surface 104 satisfy such a relationship.
  • the insulating films 6, 8, 9, 10, 12, 18a, 18b formed on the silicon substrate (substrate) 5 are perpendicular to the silicon substrate 5.
  • the stress neutral surface 103 in one direction is present closer to the silicon substrate 5 than the beam neutral surface 104 in the direction perpendicular to the silicon substrate 5 of the beam portion 100.
  • the “neutral plane” is defined as follows. That is, when bending deformation (warping) occurs in the membrane 102 due to the stress of each film, the concave side is contracted and the convex side is extended, but there is no contraction or expansion of the boundary, that is, the strain is zero. This surface is called a “neutral surface”.
  • the fulcrum when the membrane 102 drives (warps and vibrates) is the upper surface end 105 of the cavity 17. Further, the vibration center when the membrane 102 is driven is near the upper surface 106 of the cavity 17. Therefore, the bending moment generated in the membrane 102 increases as the stress neutral surface 103 moves away from the upper surface 106. As a result, the warp of the membrane 102 increases, and the degree of influence of the stress variation of each insulating film also increases.
  • the stress neutral surface 103 is set as close to the upper surface 106 as possible. That is, in the cMUT element 2, when the distance between the upper surface 106 and the stress neutral surface 103 is compared with the distance between the upper surface 106 and the beam neutral surface 104, the former distance is set to be shorter.
  • FIG. 5 is a modification of the cMUT element 2 shown in FIG.
  • the same members as those in the cMUT element 2 shown in FIG. 3 are denoted by the same reference numerals, and detailed description thereof is omitted.
  • a high rigidity film 22 a is provided between the insulating film 15 a and the insulating film 16 in the beam portion 100.
  • a highly rigid film 22 b is provided between the insulating film 15 b and the insulating film 16.
  • Rigid film 22a specific material constituting the 22b is not particularly limited, tungsten (W), tungsten carbide (WC), tungsten boride (W 2 B 5), titanium nitride (TiN), titanium carbide (TiC) Molybdenum (Mo), molybdenum boride (Mo 2 B 5 ), molybdenum carbide (Mo 2 C), titanium boride (TiB 2 ) and silicon carbide (SiC) are preferred. Of these, tungsten is particularly preferable. These may be used alone or in combination of two or more.
  • an insulating film 16 (film for applying tensile stress) is formed on the outer surface of the cMUT element (ultrasonic transmitting / receiving element) 2 to form a highly rigid film 22a (the uppermost film of the beam portion 100).
  • One or more films selected from the group are formed.
  • Table 1 The Young's modulus for these materials is summarized in Table 1 below. Table 1 also shows the Young's modulus of silicon dioxide (first insulating film) and silicon nitride (second insulating film).
  • materials applicable to the high-rigidity films 22a and 22b are materials having Young's moduli larger than those of silicon dioxide and silicon nitride. That is, the Young's modulus of the material applicable to the high rigidity films 22a and 22b is preferably 300 GPa or more. And by providing such highly rigid films
  • the cMUT element 2 shown in FIG. 3 is a cMUT element including the beam portion 100 and the rim portion 101 from which the insulating films 12, 13a, and 13b are omitted.
  • interval variation will be described with reference to FIG. In FIG. 6, for simplification of illustration, only members near the cavity 17 are shown, and some of the members constituting the cMUT element 2 are omitted.
  • the initial warpage deformation amount is usually determined by the stress balance of each insulating film and upper electrode film constituting the membrane. Since the stress balance changes when the stress of each insulating film and the upper electrode fluctuates between manufacturing lots or due to variations in the wafer surface, the initial warpage deformation amount is also shown in (i) (ii) of FIG. (Iii) will change.
  • the width in the height direction of the cavity 17 in the case of the initial warp is L0
  • the width in the height direction of the cavity 17 is as shown in FIG. 6B due to manufacturing lot variations and wafer surface variations. May vary.
  • the membrane 102 is not warped so much that the width is as long as L2 (L1 ⁇ L2).
  • the membrane 102 is extremely warped, and the width is as short as L3 (L1> L3).
  • Such variations in warpage are caused, for example, by variations between manufacturing lots.
  • the amount of variation in membrane spacing (that is, the amount of variation in width between production lots) was evaluated for each of the cMUT element 2, the cMUT element 2a, and the conventional cMUT element.
  • the evaluation was performed by simulation using a finite element method. The result is shown in FIG.
  • the width variation in the cMUT element when a predetermined DC voltage is applied is evaluated a predetermined number of times, and the difference between the maximum width and the minimum width is standardized.
  • the interval variation of the cMUT element of the comparative example is 1, the interval variation of the cMUT element 2 of the present embodiment is 0.5.
  • the interval variation of the cMUT element 2a of the present embodiment was 0.3.
  • the interval variation can be reduced. That is, according to the cMUT elements 2 and 2a of the present embodiment, variations in driving of the membrane can be reduced. In other words, it is possible to reduce the variation in width between manufacturing lots. Thereby, the dispersion
  • FIG. 8 is a diagram showing an ultrasonic diagnostic apparatus 201 including the ultrasonic probe 1 described above.
  • the ultrasonic diagnostic apparatus 201 composes and displays a two-dimensional ultrasonic image, a three-dimensional ultrasonic image, or various Doppler images of a diagnostic region using echo signals obtained by transmitting and receiving ultrasonic waves into a subject. To do. Specifically, as shown in FIG. 8A, the ultrasonic diagnostic apparatus 201 includes an ultrasonic probe 1 and an ultrasonic transmission / reception unit 204 to which the ultrasonic probe 1 is electrically connected. And an ultrasonic image forming unit 205, a display unit 206, a control unit 207, and a control panel 208.
  • the ultrasonic probe 1 transmits ultrasonic waves to the subject 95 and receives echoes reflected.
  • the cMUT element mounted on the ultrasonic probe the cMUT element 2 shown in FIG. 3 or the cMUT element 2a shown in FIG. 5 is applied.
  • the specific configuration of the ultrasonic probe 1 has been described above with reference to FIG.
  • the ultrasonic transmission / reception unit 204 generates a pulsed electric signal for generating an ultrasonic signal to be transmitted to the subject 95.
  • the ultrasonic transmission / reception unit 204 includes a transmission pulse generation unit that transmits the generated electric signal to the ultrasonic probe 1 and a conversion unit that converts the echo signal received by the ultrasonic probe 1 into an electric signal.
  • the ultrasonic transmission / reception unit 204 is configured by, for example, an arbitrary ultrasonic transmission / reception device that is commercially available.
  • the ultrasonic image forming unit 205 forms a two-dimensional ultrasonic image, a three-dimensional ultrasonic image, or various Doppler images from the received signal.
  • the ultrasonic image forming unit 205 is configured by, for example, a CPU (Central Processing Unit).
  • the display unit 206 displays the ultrasonic image formed by the ultrasonic image forming unit 205.
  • the display unit 206 also displays information input by a control panel 208, which will be described later, and other information necessary for diagnosis.
  • the display unit 206 includes an LCD (Liquid Crystal Display), a monitor device, or the like.
  • the control unit 207 controls each unit based on control information input from a control panel 208 described later.
  • the control unit 207 is configured by a CPU or the like, for example.
  • control panel 208 arbitrary information is input by the operator so that the operator can make a desired diagnosis on the subject 95. Based on the input information, the control unit 207 controls each unit.
  • the control panel 208 includes, for example, a push button, a touch panel, and the like.
  • FIG. 8B shows a state in which the ultrasonic diagnostic apparatus 201 is specifically applied to the subject 95.
  • the ultrasonic diagnostic apparatus 201 using the ultrasonic probe 1 has a small variation in the warp of the membrane 102 in each element even if there is a variation in the stress of the insulating film constituting the cMUT elements 2 and 2a. Therefore, the variation in the width (gap interval) of the cavity 17 is reduced, and the variation in the DC voltage for driving the cMUT elements 2 and 2a (moving the membrane to the initial position) is small.
  • the magnitude of this DC voltage is a factor that determines the characteristics of transmission sound pressure and reception sensitivity. For this reason, when the DC voltage variation is reduced, the transmission / reception sensitivity variation and the signal variation are reduced. Therefore, there is no display unevenness of the ultrasonic image displayed by the ultrasonic diagnostic apparatus 201 or a portion that is rough like particles, and a high-definition image can be provided.
  • the number of insulating films included in the beam portion 100 is not limited to the number of layers shown (four layers of insulating films 12, 13a, 14a, and 15a), and may be any number of layers such as a single layer or a plurality of layers. You only have to set it.
  • the number of insulating films included in the rim 101 is not limited to the number of layers shown (four layers of insulating films 12, 13b, 14b, and 15b), and may be an arbitrary number of layers such as a single layer or a plurality of layers. You only have to set it. The number of layers may be different in the beam portion 100 and the rim portion 101.
  • the number of layers included in the beam portion 100 is larger than the number of layers of the membrane 102 between the beam portion 100 and the rim portion 101, but is limited to such a relationship of the number of layers. It is not something. Moreover, the height of the beam part 100 and the rim
  • the thickness of the electrode and the insulating film constituting the membrane 102 is not particularly limited, and may be set as appropriate. However, it is preferable to set the thickness of the electrode and the insulating film (that is, the height of the membrane 102 and the beam portion 100) so as to satisfy the relationship described with reference to FIG.
  • layers that apply tensile stress and layers that apply compressive stress are alternately laminated, but the form of lamination is not limited to this example.

Landscapes

  • Health & Medical Sciences (AREA)
  • Life Sciences & Earth Sciences (AREA)
  • Engineering & Computer Science (AREA)
  • General Health & Medical Sciences (AREA)
  • Physics & Mathematics (AREA)
  • Pathology (AREA)
  • Surgery (AREA)
  • Public Health (AREA)
  • Biomedical Technology (AREA)
  • Heart & Thoracic Surgery (AREA)
  • Medical Informatics (AREA)
  • Molecular Biology (AREA)
  • Nuclear Medicine, Radiotherapy & Molecular Imaging (AREA)
  • Animal Behavior & Ethology (AREA)
  • Biophysics (AREA)
  • Radiology & Medical Imaging (AREA)
  • Veterinary Medicine (AREA)
  • Gynecology & Obstetrics (AREA)
  • Mechanical Engineering (AREA)
  • Chemical & Material Sciences (AREA)
  • Analytical Chemistry (AREA)
  • Biochemistry (AREA)
  • General Physics & Mathematics (AREA)
  • Immunology (AREA)
  • Transducers For Ultrasonic Waves (AREA)
  • Ultra Sonic Daignosis Equipment (AREA)
PCT/JP2013/053335 2012-02-14 2013-02-13 超音波探触子及びそれを用いた超音波診断装置 Ceased WO2013122075A1 (ja)

Priority Applications (3)

Application Number Priority Date Filing Date Title
EP13748547.0A EP2815700A4 (en) 2012-02-14 2013-02-13 ULTRASONIC PROBE AND ULTRASONIC EQUIPMENT USING THE SAME
CN201380008619.0A CN104114097B (zh) 2012-02-14 2013-02-13 超声波探头以及使用了该超声波探头的超声波诊断装置
US14/377,265 US9846145B2 (en) 2012-02-14 2013-02-13 Ultrasound probe and ultrasound equipment using same

Applications Claiming Priority (2)

Application Number Priority Date Filing Date Title
JP2012029259A JP5852461B2 (ja) 2012-02-14 2012-02-14 超音波探触子及びそれを用いた超音波診断装置
JP2012-029259 2012-02-14

Publications (1)

Publication Number Publication Date
WO2013122075A1 true WO2013122075A1 (ja) 2013-08-22

Family

ID=48984185

Family Applications (1)

Application Number Title Priority Date Filing Date
PCT/JP2013/053335 Ceased WO2013122075A1 (ja) 2012-02-14 2013-02-13 超音波探触子及びそれを用いた超音波診断装置

Country Status (5)

Country Link
US (1) US9846145B2 (enExample)
EP (1) EP2815700A4 (enExample)
JP (1) JP5852461B2 (enExample)
CN (1) CN104114097B (enExample)
WO (1) WO2013122075A1 (enExample)

Cited By (1)

* Cited by examiner, † Cited by third party
Publication number Priority date Publication date Assignee Title
JP2020184694A (ja) * 2019-05-08 2020-11-12 株式会社日立製作所 超音波探触子及びそれを用いた超音波送受信装置

Families Citing this family (9)

* Cited by examiner, † Cited by third party
Publication number Priority date Publication date Assignee Title
JP6185988B2 (ja) * 2012-05-31 2017-08-23 コーニンクレッカ フィリップス エヌ ヴェKoninklijke Philips N.V. ウェハ及びその製造方法
US10130339B2 (en) * 2014-06-30 2018-11-20 Seiko Epson Corporation Ultrasound sensor and method of manufacturing thereof
DE202015007010U1 (de) * 2015-10-07 2015-10-22 Rosenberger Hochfrequenztechnik Gmbh & Co. Kg Verbinder
JP6724502B2 (ja) * 2016-04-06 2020-07-15 セイコーエプソン株式会社 超音波装置
JP6739556B2 (ja) * 2016-06-30 2020-08-12 コーニンクレッカ フィリップス エヌ ヴェKoninklijke Philips N.V. 医療用機器のための封止されたコントロールパネル
JP6606034B2 (ja) * 2016-08-24 2019-11-13 株式会社日立製作所 容量検出型超音波トランスデューサおよびそれを備えた超音波撮像装置
JP7141934B2 (ja) * 2018-12-03 2022-09-26 株式会社日立製作所 超音波トランスデューサ、その製造方法および超音波撮像装置
JP7224190B2 (ja) * 2019-01-15 2023-02-17 株式会社日立製作所 超音波トランスデューサ、その製造方法および超音波撮像装置
WO2022210851A1 (ja) * 2021-03-30 2022-10-06 国立大学法人山形大学 可撓性超音波プローブヘッド、超音波プローブ、及び超音波診断装置

Citations (6)

* Cited by examiner, † Cited by third party
Publication number Priority date Publication date Assignee Title
JP2005252056A (ja) * 2004-03-05 2005-09-15 Sony Corp 集積回路装置およびその製造方法
JP2007046180A (ja) 2005-08-08 2007-02-22 Kurita Water Ind Ltd 製紙方法
WO2007046180A1 (ja) * 2005-10-18 2007-04-26 Hitachi, Ltd. 超音波トランスデューサ、超音波探触子および超音波撮像装置
JP2007259165A (ja) 2006-03-24 2007-10-04 Hitachi Ltd 超音波送受信デバイス,超音波探触子およびその製造方法
JP2008283618A (ja) * 2007-05-14 2008-11-20 Hitachi Ltd 超音波送受信デバイス及びそれを用いた超音波探触子
JP2011259186A (ja) * 2010-06-09 2011-12-22 Canon Inc 静電容量型電気機械変換装置及びその製造方法

Family Cites Families (8)

* Cited by examiner, † Cited by third party
Publication number Priority date Publication date Assignee Title
JP2007531357A (ja) * 2004-02-27 2007-11-01 ジョージア テック リサーチ コーポレイション ハーモニックcmut素子及び製造方法
US7888709B2 (en) * 2004-09-15 2011-02-15 Sonetics Ultrasound, Inc. Capacitive micromachined ultrasonic transducer and manufacturing method
JP4434109B2 (ja) 2005-09-05 2010-03-17 株式会社日立製作所 電気・音響変換素子
CN101238754A (zh) 2005-10-18 2008-08-06 株式会社日立制作所 超声波换能器、超声波探头以及超声波摄像装置
US20070180916A1 (en) 2006-02-09 2007-08-09 General Electric Company Capacitive micromachined ultrasound transducer and methods of making the same
GB0605576D0 (en) * 2006-03-20 2006-04-26 Oligon Ltd MEMS device
JP2010004199A (ja) * 2008-06-19 2010-01-07 Hitachi Ltd 超音波トランスデューサおよびその製造方法
EP2145696A1 (en) * 2008-07-15 2010-01-20 UAB Minatech Capacitive micromachined ultrasonic transducer and its fabrication method

Patent Citations (6)

* Cited by examiner, † Cited by third party
Publication number Priority date Publication date Assignee Title
JP2005252056A (ja) * 2004-03-05 2005-09-15 Sony Corp 集積回路装置およびその製造方法
JP2007046180A (ja) 2005-08-08 2007-02-22 Kurita Water Ind Ltd 製紙方法
WO2007046180A1 (ja) * 2005-10-18 2007-04-26 Hitachi, Ltd. 超音波トランスデューサ、超音波探触子および超音波撮像装置
JP2007259165A (ja) 2006-03-24 2007-10-04 Hitachi Ltd 超音波送受信デバイス,超音波探触子およびその製造方法
JP2008283618A (ja) * 2007-05-14 2008-11-20 Hitachi Ltd 超音波送受信デバイス及びそれを用いた超音波探触子
JP2011259186A (ja) * 2010-06-09 2011-12-22 Canon Inc 静電容量型電気機械変換装置及びその製造方法

Non-Patent Citations (1)

* Cited by examiner, † Cited by third party
Title
See also references of EP2815700A4

Cited By (3)

* Cited by examiner, † Cited by third party
Publication number Priority date Publication date Assignee Title
JP2020184694A (ja) * 2019-05-08 2020-11-12 株式会社日立製作所 超音波探触子及びそれを用いた超音波送受信装置
US11452205B2 (en) * 2019-05-08 2022-09-20 Fujifilm Healthcare Corporation Ultrasonic probe, and ultrasonic transmitter-receiver system using the same
JP7236320B2 (ja) 2019-05-08 2023-03-09 富士フイルムヘルスケア株式会社 超音波探触子及びそれを用いた超音波送受信装置

Also Published As

Publication number Publication date
JP2013165753A (ja) 2013-08-29
EP2815700A1 (en) 2014-12-24
EP2815700A4 (en) 2015-11-04
US9846145B2 (en) 2017-12-19
JP5852461B2 (ja) 2016-02-03
CN104114097A (zh) 2014-10-22
CN104114097B (zh) 2016-04-13
US20150011890A1 (en) 2015-01-08

Similar Documents

Publication Publication Date Title
JP5852461B2 (ja) 超音波探触子及びそれを用いた超音波診断装置
CN103720486B (zh) 超声波转换器装置、探测头、超声波探测器及电子设备
JP5928151B2 (ja) 超音波トランスデューサー、超音波プローブ、診断装置および電子機器
EP2688686B1 (en) Ultrasonic cmut with suppressed acoustic coupling to the substrate
US10622541B2 (en) Ultrasonic device, ultrasonic module, and ultrasonic measurement apparatus
JP7218134B2 (ja) 静電容量型トランスデューサ、及びその製造方法
JP7224190B2 (ja) 超音波トランスデューサ、その製造方法および超音波撮像装置
JP2011217351A (ja) 超音波センサー
CN109196881B (zh) 超声波器件、超声波模块和超声波测量装置
KR20130129846A (ko) 초음파 트랜스듀서, 초음파 프로브 및 초음파 검사 장치
JP5834679B2 (ja) 超音波プローブおよび超音波画像診断装置
CN104013420B (zh) 超声波探测器器件、头单元、探测器及超声波图像装置
JP6860470B2 (ja) 超音波センサ
JP6601190B2 (ja) 圧電モジュール、超音波モジュール及び電子機器
CN104771190A (zh) 超声波装置、超声波换能器装置及超声波图像装置
CN102860045B (zh) 超声波探头及其制造方法以及超声波诊断装置
JP4755500B2 (ja) 超音波探触子
JP6135184B2 (ja) 超音波トランスデューサーデバイス、ヘッドユニット、プローブ及び超音波画像装置
JP2017183867A (ja) 超音波トランスデューサー、超音波アレイ、超音波モジュール、超音波測定装置、及び電子機器
JP2018029700A (ja) 超音波デバイス、超音波モジュール、及び超音波装置
JP7312274B2 (ja) 超音波デバイス及び超音波診断装置
JP5780347B2 (ja) 生体検査装置
JP2010213766A (ja) 超音波探触子、および超音波診断装置
WO2022210851A1 (ja) 可撓性超音波プローブヘッド、超音波プローブ、及び超音波診断装置
JP2017005636A (ja) トランスデューサ、及び被検体情報取得装置

Legal Events

Date Code Title Description
121 Ep: the epo has been informed by wipo that ep was designated in this application

Ref document number: 13748547

Country of ref document: EP

Kind code of ref document: A1

WWE Wipo information: entry into national phase

Ref document number: 14377265

Country of ref document: US

WWE Wipo information: entry into national phase

Ref document number: 2013748547

Country of ref document: EP

NENP Non-entry into the national phase

Ref country code: DE