WO2012105076A1 - ガスエンジンの燃料ガス供給方法および装置 - Google Patents

ガスエンジンの燃料ガス供給方法および装置 Download PDF

Info

Publication number
WO2012105076A1
WO2012105076A1 PCT/JP2011/068860 JP2011068860W WO2012105076A1 WO 2012105076 A1 WO2012105076 A1 WO 2012105076A1 JP 2011068860 W JP2011068860 W JP 2011068860W WO 2012105076 A1 WO2012105076 A1 WO 2012105076A1
Authority
WO
WIPO (PCT)
Prior art keywords
fuel gas
gas
adjustment valve
fuel
amount
Prior art date
Legal status (The legal status is an assumption and is not a legal conclusion. Google has not performed a legal analysis and makes no representation as to the accuracy of the status listed.)
Ceased
Application number
PCT/JP2011/068860
Other languages
English (en)
French (fr)
Japanese (ja)
Inventor
秀樹 西尾
鈴木 元
裕一 清水
Current Assignee (The listed assignees may be inaccurate. Google has not performed a legal analysis and makes no representation or warranty as to the accuracy of the list.)
Mitsubishi Heavy Industries Ltd
Original Assignee
Mitsubishi Heavy Industries Ltd
Priority date (The priority date is an assumption and is not a legal conclusion. Google has not performed a legal analysis and makes no representation as to the accuracy of the date listed.)
Filing date
Publication date
Application filed by Mitsubishi Heavy Industries Ltd filed Critical Mitsubishi Heavy Industries Ltd
Priority to EP11857666.9A priority Critical patent/EP2620629B1/en
Priority to CN201180050750.4A priority patent/CN103299060B/zh
Priority to KR1020137011044A priority patent/KR101418226B1/ko
Priority to US13/881,210 priority patent/US9828947B2/en
Publication of WO2012105076A1 publication Critical patent/WO2012105076A1/ja
Anticipated expiration legal-status Critical
Ceased legal-status Critical Current

Links

Images

Classifications

    • FMECHANICAL ENGINEERING; LIGHTING; HEATING; WEAPONS; BLASTING
    • F02COMBUSTION ENGINES; HOT-GAS OR COMBUSTION-PRODUCT ENGINE PLANTS
    • F02MSUPPLYING COMBUSTION ENGINES IN GENERAL WITH COMBUSTIBLE MIXTURES OR CONSTITUENTS THEREOF
    • F02M21/00Apparatus for supplying engines with non-liquid fuels, e.g. gaseous fuels stored in liquid form
    • F02M21/02Apparatus for supplying engines with non-liquid fuels, e.g. gaseous fuels stored in liquid form for gaseous fuels
    • F02M21/0218Details on the gaseous fuel supply system, e.g. tanks, valves, pipes, pumps, rails, injectors or mixers
    • F02M21/0284Arrangement of multiple injectors or fuel-air mixers per combustion chamber
    • FMECHANICAL ENGINEERING; LIGHTING; HEATING; WEAPONS; BLASTING
    • F02COMBUSTION ENGINES; HOT-GAS OR COMBUSTION-PRODUCT ENGINE PLANTS
    • F02MSUPPLYING COMBUSTION ENGINES IN GENERAL WITH COMBUSTIBLE MIXTURES OR CONSTITUENTS THEREOF
    • F02M21/00Apparatus for supplying engines with non-liquid fuels, e.g. gaseous fuels stored in liquid form
    • F02M21/02Apparatus for supplying engines with non-liquid fuels, e.g. gaseous fuels stored in liquid form for gaseous fuels
    • FMECHANICAL ENGINEERING; LIGHTING; HEATING; WEAPONS; BLASTING
    • F02COMBUSTION ENGINES; HOT-GAS OR COMBUSTION-PRODUCT ENGINE PLANTS
    • F02BINTERNAL-COMBUSTION PISTON ENGINES; COMBUSTION ENGINES IN GENERAL
    • F02B43/00Engines characterised by operating on gaseous fuels; Plants including such engines
    • FMECHANICAL ENGINEERING; LIGHTING; HEATING; WEAPONS; BLASTING
    • F02COMBUSTION ENGINES; HOT-GAS OR COMBUSTION-PRODUCT ENGINE PLANTS
    • F02BINTERNAL-COMBUSTION PISTON ENGINES; COMBUSTION ENGINES IN GENERAL
    • F02B43/00Engines characterised by operating on gaseous fuels; Plants including such engines
    • F02B43/02Engines characterised by means for increasing operating efficiency
    • F02B43/04Engines characterised by means for increasing operating efficiency for improving efficiency of combustion
    • FMECHANICAL ENGINEERING; LIGHTING; HEATING; WEAPONS; BLASTING
    • F02COMBUSTION ENGINES; HOT-GAS OR COMBUSTION-PRODUCT ENGINE PLANTS
    • F02DCONTROLLING COMBUSTION ENGINES
    • F02D19/00Controlling engines characterised by their use of non-liquid fuels, pluralities of fuels, or non-fuel substances added to the combustible mixtures
    • F02D19/02Controlling engines characterised by their use of non-liquid fuels, pluralities of fuels, or non-fuel substances added to the combustible mixtures peculiar to engines working with gaseous fuels
    • F02D19/021Control of components of the fuel supply system
    • F02D19/023Control of components of the fuel supply system to adjust the fuel mass or volume flow
    • FMECHANICAL ENGINEERING; LIGHTING; HEATING; WEAPONS; BLASTING
    • F02COMBUSTION ENGINES; HOT-GAS OR COMBUSTION-PRODUCT ENGINE PLANTS
    • F02DCONTROLLING COMBUSTION ENGINES
    • F02D19/00Controlling engines characterised by their use of non-liquid fuels, pluralities of fuels, or non-fuel substances added to the combustible mixtures
    • F02D19/06Controlling engines characterised by their use of non-liquid fuels, pluralities of fuels, or non-fuel substances added to the combustible mixtures peculiar to engines working with pluralities of fuels, e.g. alternatively with light and heavy fuel oil, other than engines indifferent to the fuel consumed
    • F02D19/0639Controlling engines characterised by their use of non-liquid fuels, pluralities of fuels, or non-fuel substances added to the combustible mixtures peculiar to engines working with pluralities of fuels, e.g. alternatively with light and heavy fuel oil, other than engines indifferent to the fuel consumed characterised by the type of fuels
    • F02D19/0642Controlling engines characterised by their use of non-liquid fuels, pluralities of fuels, or non-fuel substances added to the combustible mixtures peculiar to engines working with pluralities of fuels, e.g. alternatively with light and heavy fuel oil, other than engines indifferent to the fuel consumed characterised by the type of fuels at least one fuel being gaseous, the other fuels being gaseous or liquid at standard conditions
    • FMECHANICAL ENGINEERING; LIGHTING; HEATING; WEAPONS; BLASTING
    • F02COMBUSTION ENGINES; HOT-GAS OR COMBUSTION-PRODUCT ENGINE PLANTS
    • F02DCONTROLLING COMBUSTION ENGINES
    • F02D19/00Controlling engines characterised by their use of non-liquid fuels, pluralities of fuels, or non-fuel substances added to the combustible mixtures
    • F02D19/06Controlling engines characterised by their use of non-liquid fuels, pluralities of fuels, or non-fuel substances added to the combustible mixtures peculiar to engines working with pluralities of fuels, e.g. alternatively with light and heavy fuel oil, other than engines indifferent to the fuel consumed
    • F02D19/0639Controlling engines characterised by their use of non-liquid fuels, pluralities of fuels, or non-fuel substances added to the combustible mixtures peculiar to engines working with pluralities of fuels, e.g. alternatively with light and heavy fuel oil, other than engines indifferent to the fuel consumed characterised by the type of fuels
    • F02D19/0642Controlling engines characterised by their use of non-liquid fuels, pluralities of fuels, or non-fuel substances added to the combustible mixtures peculiar to engines working with pluralities of fuels, e.g. alternatively with light and heavy fuel oil, other than engines indifferent to the fuel consumed characterised by the type of fuels at least one fuel being gaseous, the other fuels being gaseous or liquid at standard conditions
    • F02D19/0647Controlling engines characterised by their use of non-liquid fuels, pluralities of fuels, or non-fuel substances added to the combustible mixtures peculiar to engines working with pluralities of fuels, e.g. alternatively with light and heavy fuel oil, other than engines indifferent to the fuel consumed characterised by the type of fuels at least one fuel being gaseous, the other fuels being gaseous or liquid at standard conditions the gaseous fuel being liquefied petroleum gas [LPG], liquefied natural gas [LNG], compressed natural gas [CNG] or dimethyl ether [DME]
    • FMECHANICAL ENGINEERING; LIGHTING; HEATING; WEAPONS; BLASTING
    • F02COMBUSTION ENGINES; HOT-GAS OR COMBUSTION-PRODUCT ENGINE PLANTS
    • F02DCONTROLLING COMBUSTION ENGINES
    • F02D41/00Electrical control of supply of combustible mixture or its constituents
    • F02D41/0025Controlling engines characterised by use of non-liquid fuels, pluralities of fuels, or non-fuel substances added to the combustible mixtures
    • F02D41/0027Controlling engines characterised by use of non-liquid fuels, pluralities of fuels, or non-fuel substances added to the combustible mixtures the fuel being gaseous
    • FMECHANICAL ENGINEERING; LIGHTING; HEATING; WEAPONS; BLASTING
    • F02COMBUSTION ENGINES; HOT-GAS OR COMBUSTION-PRODUCT ENGINE PLANTS
    • F02DCONTROLLING COMBUSTION ENGINES
    • F02D41/00Electrical control of supply of combustible mixture or its constituents
    • F02D41/30Controlling fuel injection
    • FMECHANICAL ENGINEERING; LIGHTING; HEATING; WEAPONS; BLASTING
    • F02COMBUSTION ENGINES; HOT-GAS OR COMBUSTION-PRODUCT ENGINE PLANTS
    • F02DCONTROLLING COMBUSTION ENGINES
    • F02D41/00Electrical control of supply of combustible mixture or its constituents
    • F02D41/30Controlling fuel injection
    • F02D41/3094Controlling fuel injection the fuel injection being effected by at least two different injectors, e.g. one in the intake manifold and one in the cylinder
    • FMECHANICAL ENGINEERING; LIGHTING; HEATING; WEAPONS; BLASTING
    • F02COMBUSTION ENGINES; HOT-GAS OR COMBUSTION-PRODUCT ENGINE PLANTS
    • F02DCONTROLLING COMBUSTION ENGINES
    • F02D41/00Electrical control of supply of combustible mixture or its constituents
    • F02D41/30Controlling fuel injection
    • F02D41/32Controlling fuel injection of the low pressure type
    • F02D41/34Controlling fuel injection of the low pressure type with means for controlling injection timing or duration
    • F02D41/345Controlling injection timing
    • FMECHANICAL ENGINEERING; LIGHTING; HEATING; WEAPONS; BLASTING
    • F02COMBUSTION ENGINES; HOT-GAS OR COMBUSTION-PRODUCT ENGINE PLANTS
    • F02MSUPPLYING COMBUSTION ENGINES IN GENERAL WITH COMBUSTIBLE MIXTURES OR CONSTITUENTS THEREOF
    • F02M21/00Apparatus for supplying engines with non-liquid fuels, e.g. gaseous fuels stored in liquid form
    • F02M21/02Apparatus for supplying engines with non-liquid fuels, e.g. gaseous fuels stored in liquid form for gaseous fuels
    • F02M21/0203Apparatus for supplying engines with non-liquid fuels, e.g. gaseous fuels stored in liquid form for gaseous fuels characterised by the type of gaseous fuel
    • F02M21/0215Mixtures of gaseous fuels; Natural gas; Biogas; Mine gas; Landfill gas
    • FMECHANICAL ENGINEERING; LIGHTING; HEATING; WEAPONS; BLASTING
    • F02COMBUSTION ENGINES; HOT-GAS OR COMBUSTION-PRODUCT ENGINE PLANTS
    • F02MSUPPLYING COMBUSTION ENGINES IN GENERAL WITH COMBUSTIBLE MIXTURES OR CONSTITUENTS THEREOF
    • F02M21/00Apparatus for supplying engines with non-liquid fuels, e.g. gaseous fuels stored in liquid form
    • F02M21/02Apparatus for supplying engines with non-liquid fuels, e.g. gaseous fuels stored in liquid form for gaseous fuels
    • F02M21/04Gas-air mixing apparatus
    • FMECHANICAL ENGINEERING; LIGHTING; HEATING; WEAPONS; BLASTING
    • F02COMBUSTION ENGINES; HOT-GAS OR COMBUSTION-PRODUCT ENGINE PLANTS
    • F02DCONTROLLING COMBUSTION ENGINES
    • F02D23/00Controlling engines characterised by their being supercharged
    • F02D23/02Controlling engines characterised by their being supercharged the engines being of fuel-injection type
    • FMECHANICAL ENGINEERING; LIGHTING; HEATING; WEAPONS; BLASTING
    • F02COMBUSTION ENGINES; HOT-GAS OR COMBUSTION-PRODUCT ENGINE PLANTS
    • F02DCONTROLLING COMBUSTION ENGINES
    • F02D41/00Electrical control of supply of combustible mixture or its constituents
    • F02D41/0002Controlling intake air
    • F02D41/0007Controlling intake air for control of turbo-charged or super-charged engines
    • FMECHANICAL ENGINEERING; LIGHTING; HEATING; WEAPONS; BLASTING
    • F02COMBUSTION ENGINES; HOT-GAS OR COMBUSTION-PRODUCT ENGINE PLANTS
    • F02MSUPPLYING COMBUSTION ENGINES IN GENERAL WITH COMBUSTIBLE MIXTURES OR CONSTITUENTS THEREOF
    • F02M21/00Apparatus for supplying engines with non-liquid fuels, e.g. gaseous fuels stored in liquid form
    • F02M21/02Apparatus for supplying engines with non-liquid fuels, e.g. gaseous fuels stored in liquid form for gaseous fuels
    • F02M21/0218Details on the gaseous fuel supply system, e.g. tanks, valves, pipes, pumps, rails, injectors or mixers
    • FMECHANICAL ENGINEERING; LIGHTING; HEATING; WEAPONS; BLASTING
    • F02COMBUSTION ENGINES; HOT-GAS OR COMBUSTION-PRODUCT ENGINE PLANTS
    • F02MSUPPLYING COMBUSTION ENGINES IN GENERAL WITH COMBUSTIBLE MIXTURES OR CONSTITUENTS THEREOF
    • F02M21/00Apparatus for supplying engines with non-liquid fuels, e.g. gaseous fuels stored in liquid form
    • F02M21/02Apparatus for supplying engines with non-liquid fuels, e.g. gaseous fuels stored in liquid form for gaseous fuels
    • F02M21/0218Details on the gaseous fuel supply system, e.g. tanks, valves, pipes, pumps, rails, injectors or mixers
    • F02M21/023Valves; Pressure or flow regulators in the fuel supply or return system
    • FMECHANICAL ENGINEERING; LIGHTING; HEATING; WEAPONS; BLASTING
    • F02COMBUSTION ENGINES; HOT-GAS OR COMBUSTION-PRODUCT ENGINE PLANTS
    • F02MSUPPLYING COMBUSTION ENGINES IN GENERAL WITH COMBUSTIBLE MIXTURES OR CONSTITUENTS THEREOF
    • F02M21/00Apparatus for supplying engines with non-liquid fuels, e.g. gaseous fuels stored in liquid form
    • F02M21/02Apparatus for supplying engines with non-liquid fuels, e.g. gaseous fuels stored in liquid form for gaseous fuels
    • F02M21/0218Details on the gaseous fuel supply system, e.g. tanks, valves, pipes, pumps, rails, injectors or mixers
    • F02M21/0245High pressure fuel supply systems; Rails; Pumps; Arrangement of valves
    • FMECHANICAL ENGINEERING; LIGHTING; HEATING; WEAPONS; BLASTING
    • F02COMBUSTION ENGINES; HOT-GAS OR COMBUSTION-PRODUCT ENGINE PLANTS
    • F02MSUPPLYING COMBUSTION ENGINES IN GENERAL WITH COMBUSTIBLE MIXTURES OR CONSTITUENTS THEREOF
    • F02M21/00Apparatus for supplying engines with non-liquid fuels, e.g. gaseous fuels stored in liquid form
    • F02M21/02Apparatus for supplying engines with non-liquid fuels, e.g. gaseous fuels stored in liquid form for gaseous fuels
    • F02M21/0218Details on the gaseous fuel supply system, e.g. tanks, valves, pipes, pumps, rails, injectors or mixers
    • F02M21/0248Injectors
    • YGENERAL TAGGING OF NEW TECHNOLOGICAL DEVELOPMENTS; GENERAL TAGGING OF CROSS-SECTIONAL TECHNOLOGIES SPANNING OVER SEVERAL SECTIONS OF THE IPC; TECHNICAL SUBJECTS COVERED BY FORMER USPC CROSS-REFERENCE ART COLLECTIONS [XRACs] AND DIGESTS
    • Y02TECHNOLOGIES OR APPLICATIONS FOR MITIGATION OR ADAPTATION AGAINST CLIMATE CHANGE
    • Y02TCLIMATE CHANGE MITIGATION TECHNOLOGIES RELATED TO TRANSPORTATION
    • Y02T10/00Road transport of goods or passengers
    • Y02T10/10Internal combustion engine [ICE] based vehicles
    • Y02T10/30Use of alternative fuels, e.g. biofuels
    • YGENERAL TAGGING OF NEW TECHNOLOGICAL DEVELOPMENTS; GENERAL TAGGING OF CROSS-SECTIONAL TECHNOLOGIES SPANNING OVER SEVERAL SECTIONS OF THE IPC; TECHNICAL SUBJECTS COVERED BY FORMER USPC CROSS-REFERENCE ART COLLECTIONS [XRACs] AND DIGESTS
    • Y02TECHNOLOGIES OR APPLICATIONS FOR MITIGATION OR ADAPTATION AGAINST CLIMATE CHANGE
    • Y02TCLIMATE CHANGE MITIGATION TECHNOLOGIES RELATED TO TRANSPORTATION
    • Y02T10/00Road transport of goods or passengers
    • Y02T10/10Internal combustion engine [ICE] based vehicles
    • Y02T10/40Engine management systems

Definitions

  • the present invention relates to a fuel gas supply method and apparatus for a gas engine in which a fuel gas supplied through a fuel gas passage and air are mixed and a mixed gas is supplied to a combustion chamber and burned.
  • small gas engines among gas engines generally employ a pre-supercharger suction system in which fuel gas and air are mixed and supplied to a combustion chamber upstream of a supercharger.
  • the gas concentration in the air supply chamber also fluctuates along with the calorie fluctuation of the fuel gas, and depending on the concentration of the gas in the air supply chamber, self-ignition etc. May cause abnormal combustion, and the safety level in the air supply chamber depends on the fuel gas calories.
  • Patent Document 1 Japanese Patent Laid-Open No. 2001-132550
  • a fuel gas before being pressurized by a gas compressor is supercharged.
  • Supply means for supplying is provided so as to be switchable between a supply operation state and a stop state.
  • Patent Document 2 Japanese Patent Application Laid-Open No. 2006-244954
  • one of the fuel gases is mixed with the supercharger inlet air and the mixture is supplied to the supercharger, and the other fuel gas is supplied to each cylinder. It is configured to mix with the supply air in the air passage and supply this air-fuel mixture to each cylinder of the engine.
  • a cylinder side gas amount adjustment valve that adjusts the gas flow rate in the gas supply passage is provided, and the degree of fuel gas to the turbocharger side gas supply passage is controlled by controlling the opening of the turbocharger side gas amount adjustment valve.
  • gaseous mixture supplied to a feeder may be kept below a combustible lower limit gas concentration is disclosed.
  • Patent Document 3 Japanese Patent Laid-Open No. 2009-144626 is also known as a fuel gas supply configuration similar to that of Patent Document 2.
  • a sufficient supply amount of fuel gas can be secured even with a low calorie gas, and the gas compressor for fuel gas compression can be downsized and reduced in capacity.
  • the fuel gas in the air supply passage is above the lower flammability limit. It becomes a concentration and prevents abnormal combustion such as self-ignition.
  • the control and configuration for preventing abnormal combustion such as self-ignition are not specifically disclosed.
  • the combustible fuel gas may cause abnormal combustion in the air supply passage with a simple configuration without using a concentration meter that directly measures the concentration of the fuel gas. No control method is desired.
  • the present invention is a fuel gas that is low in calories and whose calorific value is likely to fluctuate.
  • An object of the present invention is to provide a fuel gas supply method and apparatus for a gas engine that can prevent abnormal combustion such as self-ignition of gas and ensure safety.
  • the present invention provides a supercharger-side gas in which a fuel gas passage for supplying a low-calorie and fluctuating fuel gas is connected to a mixer installed on the air inlet side of the supercharger.
  • the flow is branched into a supply passage and a cylinder side gas supply passage that is connected to a supply passage to the cylinder and is provided with a gas compressor that compresses the fuel gas, and controls the flow rate of the supercharger side gas supply passage
  • a fuel gas supply method for a gas engine comprising: a first fuel gas adjustment valve that controls the flow rate of the cylinder side gas supply passage;
  • the flow rate ratio between the fuel gas amount Q1 of the supercharger side gas supply passage adjusted by the first fuel gas adjustment valve and the fuel gas amount Q2 of the cylinder side gas supply passage adjusted by the second fuel gas adjustment valve Q1 / Q2 is held at a constant value, and when the gas concentration of the fuel gas changes, the fuel gas amount Q2 is adjusted by adjusting the second fuel gas adjustment valve so as to
  • the fuel gas amount Q1 of the supercharger side gas supply passage adjusted by the first fuel gas adjustment valve and the fuel gas amount Q2 of the cylinder side gas supply passage adjusted by the second fuel gas adjustment valve are adjusted so that the engine output is maintained constant when the gas concentration of the fuel gas is changed by setting the flow rate ratio Q1 / Q2 to be maintained at a constant value.
  • the fuel gas amount Q2 is adjusted by adjusting the valve.
  • the fuel gas amount Q1 is calculated based on the flow rate ratio, and the opening degree of the first fuel gas adjustment valve is adjusted based on the fuel gas amount Q1.
  • the fuel gas amount Q1 in the supercharger side gas supply passage and the fuel gas amount Q2 in the cylinder side gas supply passage are controlled to keep the flow rate ratio Q1 / Q constant, and the engine output is kept constant.
  • the concentration of the fuel gas introduced from the supercharger side gas supply passage is supplied by controlling the second fuel gas regulating valve first and then controlling the fuel gas amount Q1 based on the flow rate ratio. It is possible to prevent the concentration from rising to such a level as to cause abnormal combustion such as self-ignition, ignition or explosion in the pipe. As a result, safety is improved.
  • the control device by controlling the fuel gas amounts Q1 and Q2 without installing a gas concentration meter, it is possible to prevent abnormal ignition such as self-ignition, ignition and explosion in the air supply pipe, thereby improving safety. Therefore, the control device is simplified and the entire system can be configured to be lightweight and compact.
  • Low-calorie and fluctuating fuel gas is established by mixing methane gas with air such as coal mine methane gas (Coal Mine Methane, CMM gas) or landfill gas (biogas).
  • air such as coal mine methane gas (Coal Mine Methane, CMM gas) or landfill gas (biogas).
  • the fuel gas amount Q1 in the supercharger side gas supply passage and the fuel gas amount Q2 in the cylinder side gas supply passage are controlled by setting the flow rate ratio Q1 / Q2 to a constant ratio. .
  • the engine output is controlled to be constant, and is first controlled from Q2 by the second fuel gas regulating valve. Therefore, when the methane gas concentration becomes high, the fuel gas amount Q2 in the cylinder side gas supply passage is reduced so that the output is constant, and the fuel gas amount Q1 in the supercharger side gas supply passage is also reduced by a constant ratio. Therefore, the risk that methane components introduced from the supercharger-side gas supply passage increase and abnormal combustion such as self-ignition, ignition, or explosion occurs in the supply pipe is avoided.
  • the fuel gas amount Q2 is decreased so as to maintain the engine output constant, and the fuel gas is based on the constant flow rate ratio. It is preferable that the amount Q1 is decreased to keep the gas concentration of the mixed fuel gas mixed by the mixer and introduced into the supercharger at a substantially constant value.
  • the gas concentration maintained at the substantially constant value may be a predetermined concentration lower than the flammable lower limit gas concentration with respect to the air of the fuel gas.
  • the fuel gas amount Q2 is increased so as to maintain the engine output constant, and the fuel gas amount Q1 is increased based on the constant flow rate ratio.
  • the gas concentration of the mixed fuel gas mixed by the mixer and introduced into the supercharger may be suppressed and kept at a substantially constant value.
  • the fuel gas amount Q2 is increased so as to maintain the engine output constant, and the fuel gas amount Q1 is increased based on the constant flow rate ratio. So you can quickly reach a certain output.
  • the gas engine may be a power generation engine and may be operated so that the power output by the gas engine is constant by maintaining the engine output constant. Furthermore, it is suitable when the fuel gas is a coal mine methane gas having a low calorific value and easily fluctuating.
  • the supply device for carrying out the fuel gas supply method of the gas engine according to the present invention has a fuel gas passage for supplying a fuel gas having a low calorie fluctuation and a mixer installed on the air inlet side of the supercharger.
  • a turbocharger-side gas supply passage connected to the cylinder; and a cylinder-side gas supply passage connected to a supply passage to the cylinder and provided with a gas compressor for compressing the fuel gas;
  • a fuel gas supply apparatus for a gas engine comprising: a first fuel gas adjustment valve that controls a flow rate of a side gas supply passage; and a second fuel gas adjustment valve that controls a flow rate of the cylinder side gas supply passage.
  • a gas supply controller for controlling an opening degree of the first fuel gas adjustment valve and the second fuel gas adjustment valve, the gas supply controller including a supercharger side adjusted by the first fuel gas adjustment valve;
  • a flow rate ratio holding means for holding a flow rate ratio Q1 / Q2 between the fuel gas amount Q1 of the gas supply passage and the fuel gas amount Q2 of the cylinder side gas supply passage adjusted by the second fuel gas regulating valve at a constant value;
  • Second fuel gas adjustment valve control means for adjusting the fuel gas amount Q2 by adjusting the second fuel gas adjustment valve so as to maintain the engine output constant when the gas concentration of the fuel gas changes, and After the fuel gas amount Q2 is adjusted by the second fuel gas adjustment valve control means, the fuel gas amount Q1 is calculated based on the flow rate ratio, and the opening degree of the first fuel gas adjustment valve is adjusted from the fuel gas amount Q1.
  • the fuel gas amount Q1 of the supercharger side gas supply passage adjusted by the first fuel gas adjustment valve and the second fuel gas adjustment valve are adjusted by the flow rate ratio holding means of the gas supply controller.
  • the relationship with the fuel gas amount Q2 in the cylinder side gas supply passage is maintained at a constant value of the flow rate ratio Q1 / Q2, and the gas concentration of the fuel gas is changed by the second fuel gas regulating valve control means, first the engine The second fuel gas regulating valve is adjusted so as to keep the output constant, and after the fuel gas amount Q2 is adjusted by the second fuel gas regulating valve control means, the fuel gas amount Q2 is adjusted by the first fuel gas regulating valve control means.
  • the fuel gas amount Q1 is calculated, and the opening degree of the first fuel gas adjustment valve is adjusted from the fuel gas amount Q1.
  • the fuel gas amount Q1 in the supercharger side gas supply passage and the fuel gas amount Q2 in the cylinder side gas supply passage are controlled to keep the flow rate ratio Q1 / Q constant, and the engine output is kept constant.
  • the concentration of the fuel gas introduced from the supercharger side gas supply passage is supplied by controlling the second fuel gas regulating valve first and then controlling the fuel gas amount Q1 based on the flow rate ratio.
  • the safety can be improved by preventing the concentration from increasing to a level that causes abnormal combustion such as self-ignition, ignition or explosion in the pipe.
  • the supply control of the fuel gas amount can surely and easily be performed in the air supply passage including the supercharger outlet.
  • Safety can be ensured by preventing abnormal combustion such as self-ignition of fuel gas. That is, the fuel gas amount Q1 in the supercharger side gas supply passage and the fuel gas amount Q2 in the cylinder side gas supply passage are controlled so that the flow rate ratio Q1 / Q is constant and the engine output is kept constant.
  • the second fuel gas regulating valve first and then controlling the fuel gas amount Q1 based on the flow rate ratio, the concentration of the fuel gas introduced from the supercharger side gas supply passage is adjusted in the supply pipe. It is possible to prevent the concentration from rising to a level that causes abnormal combustion such as self-ignition, ignition or explosion. As a result, safety is improved.
  • FIG. 1 is an overall configuration diagram of a fuel gas supply device for a gas engine according to an embodiment of the present invention. It is a characteristic which shows an example of the flow volume and opening degree in the flow valve adjustment means in a gas supply controller, (a) shows a 1st fuel gas adjustment valve, (b) shows a 2nd fuel gas adjustment valve. It is explanatory drawing which shows the inflow state of the fuel gas to a suction port. The control flowchart in a gas supply controller is shown. It is a schematic diagram explaining the relationship between the fuel gas amounts Q1, Q2, and Q3 and the supply gas concentration H in the supply pipe. It is a graph which shows contrast with a comparative example, (a) shows flow rate Q1, (b) shows flow rate Q2, (c) shows the ratio state of Q1 / Q2, and (d) is in a supply passage. The gas concentration at is shown.
  • an engine (gas engine) 1 includes a cylinder block 3 and a cylinder head 5, and a generator 9 that is directly connected and driven via a flywheel 7 is attached to the engine 1.
  • a supercharger 11 including an exhaust turbine 11a and a compressor 11b is provided, and an air supply branch pipe 13 is connected to an air supply inlet of each cylinder head 5, and an air supply outlet of the compressor 11b and each air supply branch are connected.
  • An air supply pipe 15 connected to the pipe 13 and a supply air cooler 17 for cooling the air supply flowing through the air supply pipe 15 are provided.
  • Each exhaust pipe 19 connected to the exhaust outlet of each cylinder head 5 is connected to an exhaust collecting pipe 21.
  • the exhaust collecting pipe 21 is connected to an exhaust turbine 11a, and exhaust gas from an exhaust gas outlet of the exhaust turbine 11a is removed.
  • An exhaust outlet pipe 23 for discharging is provided.
  • an exhaust bypass pipe 25 is provided which branches from the inlet side of the exhaust turbine 11a of the exhaust collecting pipe 21 to bypass the exhaust turbine 11a and is connected to the exhaust outlet pipe 23 on the outlet side of the exhaust turbine 11a.
  • the exhaust bypass pipe 25 is provided with an exhaust bypass valve 27 that changes the passage area.
  • a supercharger inlet air passage 29 is provided for introducing air from the outside to the compressor 11 b of the supercharger 11.
  • a mixer 31 is installed in the supercharger inlet air passage 29, and the mixer 31 is supercharged.
  • a machine side gas supply pipe (supercharger side gas supply passage) 33 is connected.
  • the machine-side gas supply pipe 33 and the cylinder-side gas supply pipe (cylinder-side gas supply passage) 37 are branched, and the cylinder-side gas supply pipe 37 is branched for each cylinder along the way to become gas supply branch pipes 39.
  • the supply branch pipe 13 is connected.
  • the cylinder side gas supply pipe 37 is provided with a gas compressor 41 for compressing the fuel gas flowing through the cylinder side gas supply pipe 37.
  • coal mine methane gas (CMM gas), landfill gas (biogas), and the like, and an example in which coal mine methane gas is used is shown in this embodiment.
  • This coal mine methane gas (Coal Mine Methane, CMM gas) is composed of a mixture of air and methane gas.
  • Coal mine methane gas refers to methane gas that is produced from the coal seam during its mining process, and is generated from the seabed and its surroundings during coal mining. % To 50%.
  • the supercharger-side gas supply pipe 33 is provided with a supercharger-side gas amount adjustment valve (first fuel gas adjustment valve) 43 for controlling the fuel gas flow rate Q1 to the supercharger inlet air passage 29.
  • Each gas supply branch pipe 39 is provided with a cylinder side gas amount adjustment valve (second fuel gas adjustment valve) 45 for controlling the fuel gas flow rate Q2 ′ flowing through each gas supply branch pipe 39. Then, the fuel gas flow rate Q2 supplied by the cylinder side gas supply pipe 37 is controlled as the sum of the fuel gas flow rate Q2 ′ flowing through each gas supply branch pipe 39 for all the cylinders.
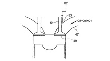
  • FIG. 3 shows the inflow state of the fuel gas in the portion A of the air supply branch pipe 13 in FIG.
  • the fuel gas pressurized by the supercharger 11 is supplied to the air supply port 47 of FIG. 3 through the air supply branch pipe 13.
  • This fuel gas is a mixture of the air Qai guided to the mixer 31 through the supercharger inlet air passage 29 and the fuel gas flow rate Q1 guided to the mixer 31 through the supercharger side gas supply pipe 33.
  • a total flow rate Q3 flows.
  • the fuel gas flow rate Q2 ′ flowing through each gas supply branch pipe 39 connected to each supply branch pipe 13 is at the sliding portion between the valve shaft 51 of the supply valve 49 and the cylinder head 5 or the sliding portion. It is guided to the air supply port 47 through the formed passage such as the groove 53.
  • a supply air temperature sensor 61 for detecting the above is provided. Further, signals from these sensors are input to the gas supply controller 63.
  • the gas supply controller 63 includes a fuel gas amount Q1 of the supercharger side gas supply pipe 33 adjusted by the supercharger side gas amount adjustment valve 43 and a cylinder side gas adjusted by the cylinder side gas amount adjustment valve 45.
  • the flow rate ratio holding means 65 for holding the flow rate ratio Q1 / Q2 with the fuel gas amount Q2 of the supply pipe 37 at a constant value, and the cylinder side so as to maintain the engine output constant when the gas concentration of the fuel gas changes.
  • the second fuel gas adjustment valve control means 67 for adjusting the gas amount adjustment valve 45 to adjust the fuel gas quantity Q2, and the flow rate set after the adjustment of the fuel gas quantity Q2 by the second fuel gas adjustment valve control means 67
  • Fuel gas amount Q1 is calculated based on the ratio
  • first fuel gas adjustment valve control means 69 is provided for adjusting the opening degree of the supercharger side gas amount adjustment valve 43 from the fuel gas amount Q1.
  • the fuel gas from the gas supply pipe 35 is branched in the middle of the gas supply pipe 35. Then, one of the branched fuel gases is introduced into the mixer 31 through the supercharger side gas supply pipe 33, and is mixed with the air from the supercharger inlet air passage 29 in the mixer 31. It is introduced into the compressor 11 b of the feeder 11.
  • the air-fuel mixture gas pressurized to a high temperature and a high pressure by the compressor 11b is cooled by the air supply cooler 17 and cooled down, and flows into the air supply branch pipe 13 of each cylinder through the air supply pipe 15.
  • the other of the branched fuel gas enters the cylinder side gas supply pipe 37, is compressed by the gas compressor 41, passes through each gas supply branch pipe 39 of each cylinder, enters each supply branch pipe 13, and FIG.
  • the air-fuel mixture gas flows into the air supply branch pipe 13 of each cylinder through the air supply pipe 15 and is fed into each cylinder.
  • the fuel gas burned in each cylinder of the engine 1 is merged in the exhaust collecting pipe 21 through the exhaust pipe 19 as exhaust gas after combustion, and is supplied to the exhaust turbine 11a of the supercharger 11 to be supplied to the exhaust turbine 11a. Is driven to the outside through the exhaust outlet pipe 23.
  • CCM gas coal mine methane gas
  • the fuel gas supply device of the gas engine having the above-described configuration a control method when the methane concentration of coal mine methane gas (CMM gas), which is the fuel gas, in the fuel gas supply device of the gas engine having the above-described configuration is described below with reference to FIG. .
  • CCM gas methane concentration of coal mine methane gas
  • the calorific value of the fuel gas changes in step S2
  • the output of the engine 1 changes.
  • the power generation output from the generator 9 fluctuates, and the fluctuation value is detected by the rotation speed sensor 55 or the load detector 57.
  • step S3 output adjustment is performed to return the generator output to the state before the change with respect to the change in the generator output.
  • This output adjustment is broadly adjusted by adjusting the fuel gas amount Q2 of the cylinder side gas supply pipe 37 adjusted by the cylinder side gas amount adjusting valve (second fuel gas adjusting valve) 45 in step S3, and the supercharging in step S7. This is performed by the fuel gas amount Q1 of the supercharger side gas supply pipe 33 adjusted by the machine side gas amount adjustment valve 43.
  • step S3 a normal electronic governor function is performed so that the target rotational speed is set based on the detected value of the engine speed from the rotational speed sensor 55, or based on the detected load value from the load detector 57.
  • the opening degree of each cylinder side gas amount adjusting valve 45 is controlled so as to obtain the set power generation output. That is, when the gas concentration of the fuel gas increases, the opening degree of each cylinder side gas amount adjustment valve 45 is controlled so as to decrease the fuel gas amount Q2 so as to maintain the engine output constant, and the fuel gas When the gas concentration decreases, the opening degree of each cylinder side gas amount adjusting valve 45 that increases the fuel gas amount Q2 is controlled so as to keep the engine output constant.
  • step S4 the fuel gas flow rate Q2 ′ flowing through each gas supply branch pipe 39 is calculated from the valve opening degree of each cylinder side gas amount adjusting valve 45 in step S3. This calculation is based on the characteristic relationship between the flow rate and the valve opening in the second fuel gas regulating valve control means 67 in the gas supply controller 63 as shown in FIG. Then, the fuel gas flow rate Q2 supplied by the cylinder side gas supply tube 37 is calculated as the sum of the fuel gas flow rate Q2 ′ flowing through each gas supply branch pipe 39 for all the cylinders.
  • step S5 according to a constant ratio value (for example, a value smaller than 1) set in the flow ratio holding means 65 that holds the flow ratio Q1 / Q2 at a constant value, A fuel gas amount Q1 is calculated.
  • a constant ratio value for example, a value smaller than 1
  • step S6 the opening degree of the supercharger side gas amount adjusting valve 43 is calculated from the fuel gas amount Q1 of the supercharger side gas supply pipe 33. And in step S7, the opening degree adjustment of the supercharger side gas amount adjustment valve 43 is performed based on the calculated opening degree.
  • step S8 whether or not the output of the generator 9 is kept is determined based on the detection value of the rotation speed sensor 55 or the load detector 57. If not, the process returns to step S3 and the steps from the opening degree control of each cylinder side gas amount adjusting valve 45 are repeated.
  • step S8 if the output of the generator 9 holds a constant state, the process ends. At the same time, the process proceeds to step S9, and when the power generation output is kept constant, it is determined that the supercharger outlet flow rate Q3 is kept constant, and the exhaust bypass valve 27 is not controlled.
  • the exhaust bypass valve 27 is controlled such that when the outside air temperature or pressure changes, the supercharger outlet flow rate Q3 is kept constant in order to avoid changes in the air-fuel ratio and maintain stable combustion.
  • the constant control of the supercharger outlet flow rate Q3 is performed based on signals from the supply air pressure sensor 59 and the supply air temperature sensor 61.
  • FIG. 6 shows the methane concentration of CMM gas supplied as fuel gas on the horizontal axis, (a) shows the flow rate Q1 on the vertical axis, (b) shows the flow rate Q2 on the vertical axis, and (c) shows the vertical axis.
  • the axis shows the ratio of Q1 / Q2, and (d) shows the gas concentration in the supply pipe on the vertical axis.
  • the comparative example shows a case where control is performed to keep the flow rate Q1 of the gas supply amount before the supercharger constant, and is shown by the dotted line in FIGS. 6 (a) to 6 (d).
  • the flow rate Q1 since the flow rate Q1 is constant, when the methane concentration in the fuel gas becomes high, the flow rate Q2 is decreased to control the engine output constant, but the flow rate Q1 is kept constant.
  • the ratio of Q1 / Q2 increases as shown in (c), and as the methane concentration in the flow rate Q1 increases, the methane concentration in the supply pipe increases, as shown in (d).
  • the flow rate Q2 when the methane concentration in the fuel gas amount becomes high, the flow rate Q2 is decreased so that the engine output becomes constant (FIG. 6B), and then a constant ratio (FIG. c)), the flow rate Q1 is decreased (FIG. 6A).
  • the supply gas concentration H on the downstream side of the compressor 11b is constant as shown in the equation (1) (FIG. 6 (d)).
  • the supercharger-side gas supply pipe can be obtained by simple control that only controls the flow rates of the fuel gas quantity Q1 of the supercharger-side gas supply pipe 33 and the fuel gas quantity Q2 of the cylinder-side gas supply pipe 37. It is possible to reliably prevent the concentration of the fuel gas introduced from 33 and introduced into the air supply pipe 15 from being ignited in the air supply pipe to a concentration that causes abnormal combustion such as an explosion. As a result, safety can be improved.
  • the fuel gas amount Q2 is increased so as to maintain the engine output constant, and the fuel gas amount Q1 is increased based on the constant flow rate ratio, so that the mixer 31 acts to suppress a decrease in the gas concentration of the mixed fuel gas introduced into the compressor 11b of the supercharger 11 and maintain it at a substantially constant value, and further to maintain the engine output constant. Since the fuel gas amount Q2 is increased and the fuel gas amount Q1 is increased based on the constant flow rate ratio, the fuel gas amount Q2 can be quickly reached.
  • the ignition or explosion of the fuel gas in the air supply passage including the supercharger outlet can be surely and easily performed by controlling the fuel gas amount. Therefore, it is suitable for use in a fuel gas supply method and apparatus for a gas engine.

Landscapes

  • Engineering & Computer Science (AREA)
  • Chemical & Material Sciences (AREA)
  • Combustion & Propulsion (AREA)
  • Mechanical Engineering (AREA)
  • General Engineering & Computer Science (AREA)
  • Oil, Petroleum & Natural Gas (AREA)
  • Chemical Kinetics & Catalysis (AREA)
  • General Chemical & Material Sciences (AREA)
  • Output Control And Ontrol Of Special Type Engine (AREA)
  • Electrical Control Of Air Or Fuel Supplied To Internal-Combustion Engine (AREA)
PCT/JP2011/068860 2011-01-31 2011-08-22 ガスエンジンの燃料ガス供給方法および装置 Ceased WO2012105076A1 (ja)

Priority Applications (4)

Application Number Priority Date Filing Date Title
EP11857666.9A EP2620629B1 (en) 2011-01-31 2011-08-22 Fuel gas supply method and device for gas engine
CN201180050750.4A CN103299060B (zh) 2011-01-31 2011-08-22 燃气发动机的燃料气体供给方法及装置
KR1020137011044A KR101418226B1 (ko) 2011-01-31 2011-08-22 가스 엔진의 연료 가스 공급 방법 및 장치
US13/881,210 US9828947B2 (en) 2011-01-31 2011-08-22 Fuel gas supply method and supply unit for gas engine

Applications Claiming Priority (2)

Application Number Priority Date Filing Date Title
JP2011018439A JP5308466B2 (ja) 2011-01-31 2011-01-31 ガスエンジンの燃料ガス供給方法および装置
JP2011-018439 2011-01-31

Publications (1)

Publication Number Publication Date
WO2012105076A1 true WO2012105076A1 (ja) 2012-08-09

Family

ID=46602313

Family Applications (1)

Application Number Title Priority Date Filing Date
PCT/JP2011/068860 Ceased WO2012105076A1 (ja) 2011-01-31 2011-08-22 ガスエンジンの燃料ガス供給方法および装置

Country Status (6)

Country Link
US (1) US9828947B2 (enExample)
EP (1) EP2620629B1 (enExample)
JP (1) JP5308466B2 (enExample)
KR (1) KR101418226B1 (enExample)
CN (1) CN103299060B (enExample)
WO (1) WO2012105076A1 (enExample)

Cited By (1)

* Cited by examiner, † Cited by third party
Publication number Priority date Publication date Assignee Title
RU2790746C2 (ru) * 2019-02-06 2023-02-28 Ман Энерджи Солюшнз Се Способ эксплуатации двигателя внутреннего сгорания, а также указанный двигатель

Families Citing this family (15)

* Cited by examiner, † Cited by third party
Publication number Priority date Publication date Assignee Title
JP4841690B2 (ja) * 2010-03-17 2011-12-21 川崎重工業株式会社 エンジン発電装置
JP5314637B2 (ja) * 2010-05-31 2013-10-16 三菱重工業株式会社 ガスエンジン
JP5308466B2 (ja) * 2011-01-31 2013-10-09 三菱重工業株式会社 ガスエンジンの燃料ガス供給方法および装置
JP5314719B2 (ja) * 2011-02-28 2013-10-16 三菱重工業株式会社 ガスエンジンの給気装置
JP6134587B2 (ja) * 2013-06-11 2017-05-24 ヤンマー株式会社 ガスエンジン
JP6128975B2 (ja) * 2013-06-11 2017-05-17 ヤンマー株式会社 ガスエンジン
CH708276A1 (de) * 2013-07-04 2015-01-15 Liebherr Machines Bulle Sa Gasmotor.
US10378549B2 (en) 2014-10-17 2019-08-13 Kohler Co. Dual compressor turbocharger
US9556792B2 (en) 2014-10-17 2017-01-31 Kohler, Co. Dual compressor turbocharger
JP6047217B1 (ja) * 2015-11-10 2016-12-21 川崎重工業株式会社 ガスエンジン駆動システム
CN108930597B (zh) * 2018-07-02 2021-03-19 武汉理工大学 基于快速控制原型的船用中速双燃料发动机控制方法和系统
CN109723537B (zh) * 2019-01-09 2022-05-06 陕西柴油机重工有限公司 低热值燃气高效增压喷射稀薄燃烧综合控制系统及方法
DE102019102887A1 (de) * 2019-02-06 2020-08-06 Man Energy Solutions Se Verfahren zum Betreiben eines Gasmotors oder eines in einem Gaskraftstoffbetriebsmodus betriebenen Dual-Fuel-Motors sowie entsprechender Motor
CN111425311B (zh) * 2020-04-03 2022-06-07 潍柴动力股份有限公司 发动机燃气进气量的调节方法及装置、发动机装置
CN112459929B (zh) * 2020-12-14 2022-03-18 湖南省力宇燃气动力有限公司 低浓瓦斯发动机供气系统

Citations (6)

* Cited by examiner, † Cited by third party
Publication number Priority date Publication date Assignee Title
JP2001132550A (ja) 1999-11-01 2001-05-15 Osaka Gas Co Ltd ガス燃料エンジン
JP2003278605A (ja) * 2002-03-25 2003-10-02 Shinko Electric Co Ltd ガスエンジンとその運転方法
JP2004211674A (ja) * 2003-01-09 2004-07-29 Sanyo Electric Co Ltd ガスエンジン駆動装置
JP2006009603A (ja) * 2004-06-23 2006-01-12 Aisin Seiki Co Ltd ガスエンジン装置
JP2006249954A (ja) 2005-03-08 2006-09-21 Mitsubishi Heavy Ind Ltd ガスエンジンのガス供給装置及び運転方法
JP2009144626A (ja) 2007-12-14 2009-07-02 Mitsubishi Heavy Ind Ltd ガスエンジンシステムの制御方法及び該システム

Family Cites Families (19)

* Cited by examiner, † Cited by third party
Publication number Priority date Publication date Assignee Title
JP2544817Y2 (ja) * 1991-08-02 1997-08-20 本田技研工業株式会社 内燃エンジンの蒸発燃料制御装置
US5622053A (en) * 1994-09-30 1997-04-22 Cooper Cameron Corporation Turbocharged natural gas engine control system
JP4392180B2 (ja) 2003-03-25 2009-12-24 大阪瓦斯株式会社 エンジン
JP4319481B2 (ja) 2003-08-07 2009-08-26 新潟原動機株式会社 希薄燃焼ガスエンジンの燃料ガス供給、給気装置
DE102004043934A1 (de) 2004-09-11 2006-03-30 Daimlerchrysler Ag Verfahren zum Betrieb einer Brennkraftmaschine
JP4499643B2 (ja) 2005-09-30 2010-07-07 日立オートモティブシステムズ株式会社 多段燃料噴射式内燃機関
US7412966B2 (en) 2005-11-30 2008-08-19 Ford Global Technologies, Llc Engine output control system and method
US7228849B1 (en) * 2006-09-29 2007-06-12 Delphi Technologies, Inc. Conical concave cap pressure relief valve
JP4739166B2 (ja) * 2006-10-24 2011-08-03 本田技研工業株式会社 ガスセンサ
JP4660500B2 (ja) 2007-03-30 2011-03-30 大阪瓦斯株式会社 内燃機関の燃料供給機構
JP2009062936A (ja) * 2007-09-07 2009-03-26 Toho Gas Co Ltd 発電システム
JP4616878B2 (ja) 2007-12-14 2011-01-19 三菱重工業株式会社 ガスエンジンシステムの制御方法及び該システム
AT506472B1 (de) * 2008-02-18 2011-01-15 Ge Jenbacher Gmbh & Co Ohg Brennkraftmaschine
CA2756827C (en) * 2009-04-21 2016-06-14 Gen-Tech Llc Power generator system
JP5314637B2 (ja) * 2010-05-31 2013-10-16 三菱重工業株式会社 ガスエンジン
JP5211115B2 (ja) * 2010-06-28 2013-06-12 三菱重工業株式会社 ガスエンジンの給気冷却器のドレン装置
JP5449062B2 (ja) * 2010-07-02 2014-03-19 三菱重工業株式会社 排ガスタービン過給機のシールエア供給装置
JP5308466B2 (ja) * 2011-01-31 2013-10-09 三菱重工業株式会社 ガスエンジンの燃料ガス供給方法および装置
JP5314719B2 (ja) * 2011-02-28 2013-10-16 三菱重工業株式会社 ガスエンジンの給気装置

Patent Citations (6)

* Cited by examiner, † Cited by third party
Publication number Priority date Publication date Assignee Title
JP2001132550A (ja) 1999-11-01 2001-05-15 Osaka Gas Co Ltd ガス燃料エンジン
JP2003278605A (ja) * 2002-03-25 2003-10-02 Shinko Electric Co Ltd ガスエンジンとその運転方法
JP2004211674A (ja) * 2003-01-09 2004-07-29 Sanyo Electric Co Ltd ガスエンジン駆動装置
JP2006009603A (ja) * 2004-06-23 2006-01-12 Aisin Seiki Co Ltd ガスエンジン装置
JP2006249954A (ja) 2005-03-08 2006-09-21 Mitsubishi Heavy Ind Ltd ガスエンジンのガス供給装置及び運転方法
JP2009144626A (ja) 2007-12-14 2009-07-02 Mitsubishi Heavy Ind Ltd ガスエンジンシステムの制御方法及び該システム

Cited By (1)

* Cited by examiner, † Cited by third party
Publication number Priority date Publication date Assignee Title
RU2790746C2 (ru) * 2019-02-06 2023-02-28 Ман Энерджи Солюшнз Се Способ эксплуатации двигателя внутреннего сгорания, а также указанный двигатель

Also Published As

Publication number Publication date
JP5308466B2 (ja) 2013-10-09
CN103299060A (zh) 2013-09-11
US9828947B2 (en) 2017-11-28
JP2012159017A (ja) 2012-08-23
EP2620629A4 (en) 2017-08-23
EP2620629A1 (en) 2013-07-31
US20130220278A1 (en) 2013-08-29
KR101418226B1 (ko) 2014-07-09
KR20130058760A (ko) 2013-06-04
CN103299060B (zh) 2015-10-07
EP2620629B1 (en) 2019-11-06

Similar Documents

Publication Publication Date Title
JP5308466B2 (ja) ガスエンジンの燃料ガス供給方法および装置
JP4563443B2 (ja) ガスエンジンシステムの制御方法及び該システム
KR101140003B1 (ko) 가스 엔진 시스템의 제어 방법 및 그 시스템
US9086022B2 (en) Gas engine
JP4247191B2 (ja) ガスエンジンのガス供給装置及び運転方法
JP5073039B2 (ja) ガスエンジンのガス供給装置及び該ガス供給装置をそなえたガスエンジン
JP4452092B2 (ja) ガスエンジンの燃焼制御方法及びその装置
JP4865241B2 (ja) ガスエンジンのガス供給装置及び該ガス供給装置をそなえたガスエンジン
EP3583307B1 (en) Fuel blending system and method

Legal Events

Date Code Title Description
121 Ep: the epo has been informed by wipo that ep was designated in this application

Ref document number: 11857666

Country of ref document: EP

Kind code of ref document: A1

WWE Wipo information: entry into national phase

Ref document number: 13881210

Country of ref document: US

ENP Entry into the national phase

Ref document number: 20137011044

Country of ref document: KR

Kind code of ref document: A

NENP Non-entry into the national phase

Ref country code: DE