WO2012056983A1 - インバータ一体型電動圧縮機 - Google Patents
インバータ一体型電動圧縮機 Download PDFInfo
- Publication number
- WO2012056983A1 WO2012056983A1 PCT/JP2011/074134 JP2011074134W WO2012056983A1 WO 2012056983 A1 WO2012056983 A1 WO 2012056983A1 JP 2011074134 W JP2011074134 W JP 2011074134W WO 2012056983 A1 WO2012056983 A1 WO 2012056983A1
- Authority
- WO
- WIPO (PCT)
- Prior art keywords
- inverter
- heat
- control circuit
- circuit board
- electric compressor
- Prior art date
- Legal status (The legal status is an assumption and is not a legal conclusion. Google has not performed a legal analysis and makes no representation as to the accuracy of the status listed.)
- Ceased
Links
Images
Classifications
-
- F—MECHANICAL ENGINEERING; LIGHTING; HEATING; WEAPONS; BLASTING
- F04—POSITIVE - DISPLACEMENT MACHINES FOR LIQUIDS; PUMPS FOR LIQUIDS OR ELASTIC FLUIDS
- F04B—POSITIVE-DISPLACEMENT MACHINES FOR LIQUIDS; PUMPS
- F04B53/00—Component parts, details or accessories not provided for in, or of interest apart from, groups F04B1/00 - F04B23/00 or F04B39/00 - F04B47/00
- F04B53/08—Cooling; Heating; Preventing freezing
-
- F—MECHANICAL ENGINEERING; LIGHTING; HEATING; WEAPONS; BLASTING
- F04—POSITIVE - DISPLACEMENT MACHINES FOR LIQUIDS; PUMPS FOR LIQUIDS OR ELASTIC FLUIDS
- F04B—POSITIVE-DISPLACEMENT MACHINES FOR LIQUIDS; PUMPS
- F04B39/00—Component parts, details, or accessories, of pumps or pumping systems specially adapted for elastic fluids, not otherwise provided for in, or of interest apart from, groups F04B25/00 - F04B37/00
- F04B39/12—Casings; Cylinders; Cylinder heads; Fluid connections
- F04B39/121—Casings
-
- F—MECHANICAL ENGINEERING; LIGHTING; HEATING; WEAPONS; BLASTING
- F04—POSITIVE - DISPLACEMENT MACHINES FOR LIQUIDS; PUMPS FOR LIQUIDS OR ELASTIC FLUIDS
- F04C—ROTARY-PISTON, OR OSCILLATING-PISTON, POSITIVE-DISPLACEMENT MACHINES FOR LIQUIDS; ROTARY-PISTON, OR OSCILLATING-PISTON, POSITIVE-DISPLACEMENT PUMPS
- F04C23/00—Combinations of two or more pumps, each being of rotary-piston or oscillating-piston type, specially adapted for elastic fluids; Pumping installations specially adapted for elastic fluids; Multi-stage pumps specially adapted for elastic fluids
- F04C23/008—Hermetic pumps
-
- F—MECHANICAL ENGINEERING; LIGHTING; HEATING; WEAPONS; BLASTING
- F04—POSITIVE - DISPLACEMENT MACHINES FOR LIQUIDS; PUMPS FOR LIQUIDS OR ELASTIC FLUIDS
- F04C—ROTARY-PISTON, OR OSCILLATING-PISTON, POSITIVE-DISPLACEMENT MACHINES FOR LIQUIDS; ROTARY-PISTON, OR OSCILLATING-PISTON, POSITIVE-DISPLACEMENT PUMPS
- F04C29/00—Component parts, details or accessories of pumps or pumping installations, not provided for in groups F04C18/00 - F04C28/00
- F04C29/04—Heating; Cooling; Heat insulation
- F04C29/047—Cooling of electronic devices installed inside the pump housing, e.g. inverters
-
- H—ELECTRICITY
- H02—GENERATION; CONVERSION OR DISTRIBUTION OF ELECTRIC POWER
- H02K—DYNAMO-ELECTRIC MACHINES
- H02K11/00—Structural association of dynamo-electric machines with electric components or with devices for shielding, monitoring or protection
- H02K11/04—Structural association of dynamo-electric machines with electric components or with devices for shielding, monitoring or protection for rectification
- H02K11/049—Rectifiers associated with stationary parts, e.g. stator cores
- H02K11/05—Rectifiers associated with casings, enclosures or brackets
-
- H—ELECTRICITY
- H02—GENERATION; CONVERSION OR DISTRIBUTION OF ELECTRIC POWER
- H02K—DYNAMO-ELECTRIC MACHINES
- H02K11/00—Structural association of dynamo-electric machines with electric components or with devices for shielding, monitoring or protection
- H02K11/30—Structural association with control circuits or drive circuits
- H02K11/33—Drive circuits, e.g. power electronics
-
- H—ELECTRICITY
- H02—GENERATION; CONVERSION OR DISTRIBUTION OF ELECTRIC POWER
- H02K—DYNAMO-ELECTRIC MACHINES
- H02K5/00—Casings; Enclosures; Supports
- H02K5/04—Casings or enclosures characterised by the shape, form or construction thereof
- H02K5/22—Auxiliary parts of casings not covered by groups H02K5/06-H02K5/20, e.g. shaped to form connection boxes or terminal boxes
-
- F—MECHANICAL ENGINEERING; LIGHTING; HEATING; WEAPONS; BLASTING
- F04—POSITIVE - DISPLACEMENT MACHINES FOR LIQUIDS; PUMPS FOR LIQUIDS OR ELASTIC FLUIDS
- F04C—ROTARY-PISTON, OR OSCILLATING-PISTON, POSITIVE-DISPLACEMENT MACHINES FOR LIQUIDS; ROTARY-PISTON, OR OSCILLATING-PISTON, POSITIVE-DISPLACEMENT PUMPS
- F04C18/00—Rotary-piston pumps specially adapted for elastic fluids
- F04C18/02—Rotary-piston pumps specially adapted for elastic fluids of arcuate-engagement type, i.e. with circular translatory movement of co-operating members, each member having the same number of teeth or tooth-equivalents
- F04C18/0207—Rotary-piston pumps specially adapted for elastic fluids of arcuate-engagement type, i.e. with circular translatory movement of co-operating members, each member having the same number of teeth or tooth-equivalents both members having co-operating elements in spiral form
- F04C18/0215—Rotary-piston pumps specially adapted for elastic fluids of arcuate-engagement type, i.e. with circular translatory movement of co-operating members, each member having the same number of teeth or tooth-equivalents both members having co-operating elements in spiral form where only one member is moving
-
- F—MECHANICAL ENGINEERING; LIGHTING; HEATING; WEAPONS; BLASTING
- F04—POSITIVE - DISPLACEMENT MACHINES FOR LIQUIDS; PUMPS FOR LIQUIDS OR ELASTIC FLUIDS
- F04C—ROTARY-PISTON, OR OSCILLATING-PISTON, POSITIVE-DISPLACEMENT MACHINES FOR LIQUIDS; ROTARY-PISTON, OR OSCILLATING-PISTON, POSITIVE-DISPLACEMENT PUMPS
- F04C2240/00—Components
- F04C2240/80—Other components
- F04C2240/808—Electronic circuits (e.g. inverters) installed inside the machine
-
- H—ELECTRICITY
- H02—GENERATION; CONVERSION OR DISTRIBUTION OF ELECTRIC POWER
- H02K—DYNAMO-ELECTRIC MACHINES
- H02K9/00—Arrangements for cooling or ventilating
- H02K9/22—Arrangements for cooling or ventilating by solid heat conducting material embedded in, or arranged in contact with, the stator or rotor, e.g. heat bridges
- H02K9/223—Heat bridges
Definitions
- the present invention relates to an inverter-integrated electric compressor that is configured by installing an inverter in an inverter box provided on the outer periphery of a housing, and that is particularly suitable for use in a vehicle air conditioner.
- the compressor in order to improve the drivability drop caused by the intermittent connection of the electromagnetic clutch, the compressor is driven by the traveling internal combustion engine via the electromagnetic clutch.
- Some electric compressors are used.
- a hermetic electric compressor in which a compression mechanism and an electric motor are integrally incorporated in a housing is adopted, and furthermore, electric power input from a power source is supplied to the electric motor via an inverter.
- Many compressors that can variably control the rotational speed of the compressor according to the air conditioning load are used.
- the control circuit board or the like constituting the inverter is housed and installed in an inverter box integrally formed on the outer periphery of the housing of the electric compressor so that the inverter is connected to the electric compressor.
- electric parts such as a smoothing capacitor and a coil that are integrated and further suppress electromagnetic noise are accommodated in the inverter box.
- a highly exothermic electrical component such as an inverter switching element (IGBT, Insulated Gate Bipolar Transistor).
- IGBT Insulated Gate Bipolar Transistor
- the inverter box has a completely sealed structure and cooling air cannot be introduced from the outside.
- a flat surface portion for heat dissipation constituting the outer wall of the housing is formed inside the inverter box, and an exothermic electrical component is brought into contact therewith, The heat of the electrical components is radiated and cooled by the cold heat of the refrigerant flowing inside the housing.
- a heat radiation flat portion is formed on the bottom surface of the inverter box, and an exothermic electrical component such as IGBT is installed on the top surface of the heat radiation flat portion.
- a control circuit board is installed in parallel above the space via a space, and pin terminals extending upward from the electrical components are soldered to the control circuit board.
- the electrical component is pressed against the heat radiation flat portion by the elasticity of an elastic member interposed between the control circuit board and the electric component.
- the electric component is fastened to the heat radiation flat portion with a screw. ing. As a result, the heat of the electrical component is dissipated to the heat radiating flat portion side.
- a metal substrate is fixed on a heat radiation flat portion formed on the bottom surface of the inverter box, and an exothermic electricity is formed on the metal substrate.
- a component is mounted, and a control circuit board is installed in parallel above the electrical component via a space, so that heat of the electrical component is radiated to the heat radiation flat portion side through the metal substrate.
- the glass epoxy board has a low thermal conductivity.
- the heat of the electrical component is insulated, and the heat of the electrical component is not transmitted well to the heat radiation flat portion.
- a structure in which electrical parts are unavoidably fastened to the heat-dissipating flat part with screws or pressed with an elastic member is employed, which increases the dimensions in the height direction and the surface direction of the control circuit board as described above. It was.
- an exothermic electrical component is mounted on a metal substrate fixed on a heat radiation flat portion, and the heat of the electrical component passes through the metal substrate for heat dissipation. Heat is dissipated to the flat surface side.
- the metal substrate is disadvantageous in that the manufacturing cost increases and the weight is large, and it is difficult to make the substrate pattern multilayer. For this reason, when a metal substrate is used, the size in the direction of the substrate surface inevitably increases, which hinders downsizing the inverter.
- a noise suppression member such as a capacitor and a coil is mounted on the control circuit board in order to suppress electromagnetic noise.
- a noise suppression member such as a capacitor and a coil is mounted on the control circuit board in order to suppress electromagnetic noise.
- the distance between the noise suppression member and the control circuit board increases, and pin terminals and bus bars for electrical connection, etc.
- the length of the wiring member becomes longer. For this reason, there is a concern that the noise suppression effect may be reduced due to an increase in the inductance component, and in order to compensate for this, the capacity of the noise suppression member must be increased, which also hinders downsizing of the inverter. It was.
- the present invention has been made in view of such circumstances, and with an inexpensive and simple structure, an electric component having high heat generation provided on a control circuit board is effectively cooled, and at the same time, an inverter and an inverter-integrated electric motor are provided.
- An object of the present invention is to provide an inverter-integrated electric compressor capable of reducing the size and weight of the compressor and improving the noise suppression effect.
- an inverter-integrated electric compressor includes a refrigerant compressor, an inverter box provided on an outer surface of a housing in which the electric motor that drives the compressor is built, and a control circuit board.
- the control circuit board is thermally conductive.
- the heat conductive substrate is installed so that one surface of the heat conductive substrate can transfer heat to the heat radiating flat portion, and the other surface of the heat conductive substrate is provided with the power supply. Providing a part to be heat transfer.
- a control circuit board which is a heat conductive substrate, is directly placed on a heat radiation flat portion formed inside the inverter box without a space, and further on the control circuit board.
- Highly exothermic electrical components are installed directly. For this reason, there is no useless space among the heat radiation flat portion, the control circuit board, and the electrical components. Thereby, the dimension in the height direction of the inverter can be remarkably reduced, and as a result, the inverter-integrated electric compressor as a whole can be greatly reduced in size.
- the heat of the highly exothermic electrical component is quickly radiated to the heat radiating flat portion side through the control circuit board which is a heat conductive substrate, the heat of the electrical component is efficiently cooled.
- the thermally conductive substrate includes a substrate body made of an insulator and a good heat conductor that is filled in the thickness direction of the substrate body.
- a heat conduction penetrating member wherein one end face of the heat conduction penetrating member is arranged to be able to transfer heat to the flat surface for heat dissipation, and the electric component is arranged to be able to transfer heat to the other end face. It is good also as a structure to be made.
- the substrate body of the thermally conductive substrate can be formed of a conventional inexpensive glass epoxy material or the like, and the thermally conductive penetrating member can be formed of a metal such as copper.
- a control circuit board can be made cheap and a simple structure.
- the substrate body is made of glass epoxy material, it becomes easy to make multiple layers, so the number of substrates can be reduced, and the structure of the inverter is simplified, the size is reduced, the assembly is facilitated, and the cost is greatly reduced. be able to.
- a good heat conductor such as copper is used as the heat conduction penetrating member, the heat of the highly exothermic electrical component is quickly dissipated to the heat radiation flat portion side, and the cooling effect of the electrical component can be enhanced.
- the thickness of the said heat conduction penetrating member is set a little larger than the thickness of the said board
- the end surface of the heat conduction penetrating member is surely in contact with the heat radiating flat portion, the heat of the electrical component that is in contact with the opposite end surface of the heat conduction penetrating member passes through the heat conduction penetrating member. It is transmitted efficiently to the part. Moreover, it becomes difficult to form an air layer between the electric component side end surface of the heat conduction penetrating member and the electric component, and heat of the electric component is easily transmitted to the heat conduction penetrating member. For this reason, the cooling effect of an electrical component can be improved further.
- the inverter-integrated electric compressor is a surface mount type in which the electric component is directly mounted on the surface of the control circuit board.
- the surface-mount type electric component does not need to be formed with a screw hole through which the screw penetrates unlike the screw-fixed type electric component, so the size is small and the area occupied on the control circuit board is also small. Therefore, it is possible to reduce the size of the control circuit board in the surface direction, and to make the inverter and thus the inverter-integrated electric compressor compact.
- the control circuit board is a multilayer board.
- the control circuit board is a multilayer board, a plurality of boards originally necessary can be combined into one board. For this reason, the dimensions of the inverter in the surface direction and the height direction can be made compact, and at the same time, the number of parts can be reduced to facilitate assembly, and the manufacturing cost can be reduced.
- the inverter box is provided on an end surface of the housing.
- the inverter-integrated electric compressor can be made compact and light in the length direction. That is, in the past, the control circuit board could not be installed directly on the heat radiating flat surface. Therefore, the control circuit board was installed on the end surface of the housing according to the tallest electrical component, and the control circuit board was placed on the lower surface side of the control circuit board. Other short electrical components were installed, and those having heat generation were cooled by raising the height of the heat-dissipating flat surface and bringing it into contact therewith.
- the flat surface portion for heat dissipation has become thick, and the thickness of the end face of the housing has increased more than necessary, leading to an increase in dimensions and an increase in weight.
- the control circuit board since the control circuit board can be directly installed on the heat radiation flat portion, it is not necessary to add a thin wall to the heat radiation flat portion, thereby contributing to compactness and weight reduction.
- the electrical component mounted on the control circuit board is a switching element.
- the switching element has the largest amount of heat generation among the electrical components constituting the inverter. For this reason, the entire inverter is efficiently cooled by quickly dissipating heat to the heat radiation flat portion through the heat conduction penetrating member that is filled in the control circuit board that is the heat conductive substrate.
- the electrical component mounted on the control circuit board is a noise suppression member.
- the noise suppression member is installed directly on the control circuit board, the length of the wiring members such as pin terminals and bus bars that electrically connect the noise suppression member and the control circuit board is minimized. The inductance component of the wiring member is reduced. For this reason, the noise suppression effect of the noise suppression member is improved.
- the inverter-integrated electric compressor of the present invention an inexpensive and simple structure effectively cools highly heat-generating electric components provided on the control circuit board, and at the same time, the inverter and the inverter-integrated electric compressor It is possible to reduce the size and weight of the compressor and improve the noise suppression effect.
- FIG. 1 is a longitudinal sectional view illustrating a schematic configuration of an inverter-integrated electric compressor according to the first embodiment of the present invention.
- the inverter-integrated electric compressor 1 is a compressor used in a vehicle air conditioner, and the drive rotation speed is controlled by the inverter.
- the inverter-integrated electric compressor 1 has an aluminum alloy housing 2 that forms an outer shell.
- the housing 2 includes a compressor side housing 3 and an electric motor side housing 4 with a bearing housing 5 interposed therebetween.
- the bolt 6 is fastened and fixed.
- a known scroll compression mechanism 8 is incorporated in the compressor-side housing 3. Further, a stator 11 and a rotor 12 constituting the electric motor 10 are incorporated in the electric motor side housing 4. The scroll compression mechanism 8 and the electric motor 10 are connected via a main shaft 14, and the scroll compression mechanism 8 is driven by rotating the electric motor 10.
- the main shaft 14 is rotatably supported by a main bearing 15 held by the bearing housing 5 and a sub-bearing 16 held by the end portion of the motor-side housing 4.
- a refrigerant suction port (not shown) is provided at the end of the motor-side housing 4, and a suction pipe for a refrigeration cycle is connected to the refrigerant suction port so that low-pressure refrigerant gas is sucked into the motor-side housing 4. It has come to be.
- the refrigerant gas flows through the motor side housing 4 and cools the motor 10, and then is sucked into the scroll compression mechanism 8, where it is compressed into a high-temperature and high-pressure refrigerant gas, and is provided at the end of the compressor side housing 3. It is constituted so that it may discharge from the discharge port which is not illustrated to the discharge piping of a refrigerating cycle.
- the electric motor 10 is driven via an inverter 21 and the rotation speed is variably controlled according to the air conditioning load.
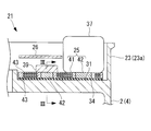
- the inverter 21 is provided in the rectangular inverter box 23 integrally formed on the outer periphery of the housing 2, for example, the upper surface of the housing 2.
- the substrate 26 is housed and installed so as to overlap vertically, and is integrated with the inverter-integrated electric compressor 1.
- the inverter 21 is electrically connected to the electric motor 10 through a bus bar 27, an inverter output terminal 28, a motor terminal 29, a lead wire 30, and the like.
- the lower substrate 25 is a power module substrate on which a large number of exothermic electrical components (heating elements) described later are mounted, and the upper substrate 26 operates at a low voltage such as a CPU (not shown).
- the CPU board on which the element to be mounted is mounted.
- the inverter box 23 has a structure in which, for example, a peripheral wall 23a is integrally formed on the upper part of the motor-side housing 4, and an upper opening thereof is liquid-tightly closed by a lid member 23b.
- the depth of the inverter box 23 is such that the lower substrate 25 and the upper substrate 26 can be accommodated and installed at a predetermined interval in the interior, and electrical components such as a tall smoothing capacitor 37 are installed on the upper surface of the lower substrate 25. It is possible depth.
- the bottom of the inverter box 23 forms the outer wall of the motor-side housing 4, which is for heat dissipation parallel to the lower substrate 25, the upper substrate 26, and the lid member 23 b.
- a flat portion 31 is formed.
- the lower substrate 25 is a heat conductive substrate, and is fixed to the upper surface of the heat radiation flat portion 31 via a thermally conductive insulating sheet 34 with a plurality of screws 35 and the like, and the lower surface (one surface) of the lower substrate 25 radiates heat. It is installed so as to be able to transfer heat to the plane portion 31 for use.
- heat-generating electrical components such as a smoothing capacitor 37, a coil 38, and six switching elements (IGBTs) 39 are transferred to the upper surface (the other surface) of the lower substrate 25. It is mounted as possible.
- Each of these electrical components 37, 38, 39 is of a surface mount type that is directly mounted on the surface of the lower substrate 25.
- a plurality of pin terminals 39 a are soldered to the lower substrate 25. If the lower surface is soldered to a planar terminal 40 (see FIG. 3) formed on the upper surface of the lower substrate 25, the installation is completed in a form of being in close contact with the lower substrate 25.
- the smoothing capacitor 37 and the coil 38 are noise suppression members that suppress electromagnetic noise.
- the upper substrate 26 is installed in parallel with a predetermined interval on the lower substrate 25 via a spacer member (not shown), for example, and is fixed to the lower substrate 25 with screws or the like.
- the size of the upper substrate 26 is smaller than that of the lower substrate 25, and covers the upper portions of the six short switching elements 39 while avoiding the tall smoothing capacitor 37 and the coil 38 mounted on the upper surface of the lower substrate 25. Is provided.
- the lower substrate 25 which is a heat conductive substrate, includes a substrate body 41 made of an insulator such as glass epoxy or phenol resin, and a good heat conductor such as copper, which is filled in the thickness direction of the substrate body 41, for example.
- a heat conduction penetrating member 42 made of The lower substrate 25 is a multilayer substrate in which a plurality of circuit patterns 43 are laminated and embedded in the substrate body 41.
- the heat conduction penetrating member 42 is positioned on the lower substrate 25 so as to be aligned with the mounting position of the smoothing capacitor 37, the coil 38, and the six switching elements 39, and one end surface (lower surface) thereof has thermal conductivity and elasticity.
- the heat-dissipating flat portion 31 is in contact with the heat radiating flat portion 31, and the electrical components 37, 38, 39 are in contact with the other end surface (upper surface) so as to be able to transfer heat.
- the thickness of the heat conduction penetrating member 42 is set to be slightly larger than the thickness of the substrate body 41, and at least the end surface (lower surface) of the heat conduction penetrating member 42 on the side of the heat radiation flat portion 31 (insulating sheet 34).
- the end surface is slightly protruded from the outer surface (lower surface) of the substrate body 41 so as to be surely in contact with the heat radiation flat portion 31 (insulating sheet 34).
- the heat conduction penetrating member 42 has, for example, a cylindrical shape, but may have a quadrangular prism shape or the like in accordance with the installation surface shape of the electrical components 37, 38, 39.
- the upper end surface of the heat conduction penetrating member 42 also protrudes from the upper surface of the substrate body 41, but actually, the protruding amount of the upper end surface of the heat conduction penetrating member 42 may not be as low as the lower end surface side
- the height of the upper end surface of the heat conduction penetrating member 42 is set to the upper surface of the planar terminal 40 provided on the upper surface of the lower substrate 25 in order to increase the reliability of soldering of electrical components such as the switching element 39.
- the height is set to be substantially the same as the height so that the upper end surface of the heat conduction penetrating member 42 and the lower surface of the electrical component are brought into close contact with each other so that no air layer is formed therebetween.
- the inverter-integrated electric compressor 1 configured as described above operates, the low-pressure refrigerant gas after circulating in the refrigeration cycle is sucked into the motor-side housing 4 from a refrigerant suction port (not shown), and the motor-side housing 4 The inside is circulated and sucked into the scroll compression mechanism 8.
- the refrigerant gas compressed by the scroll compression mechanism 8 to become high temperature and pressure is circulated from a discharge port (not shown) provided at the end of the compressor side housing 3 to a refrigeration cycle through a discharge pipe.
- the low-temperature low-pressure refrigerant gas that circulates in the motor-side housing 4 passes through the heat radiation flat portion 31 that is also the housing outer wall of the motor-side housing 4 against the operating heat generated from the inverter 21 in the inverter box 23. Performs endothermic action. Thereby, the lower board
- the smoothing capacitor 37, the coil 38, and the switching element 39, which are heating elements mounted on the lower substrate 25, each have a lower surface that is filled in the thickness direction of the lower substrate 25, which is a thermally conductive substrate.
- the heat conduction penetrating member 42 which is a heat conductor, is in close contact with the upper surface of the heat conduction penetrating member 42. Therefore, the heat of each electrical component 37, 38, 39 is quickly transmitted to the heat radiation planar portion 31 side through the heat conduction penetrating member 42, and is efficiently cooled.
- the six switching elements 39 generate a large amount of heat, the heat is quickly radiated to the side of the heat radiating flat portion 31 through the heat conduction penetrating member 42, so that the entire inverter 21 is efficiently cooled. An increase in the internal temperature of the box 23 is prevented.
- a heat conductive insulating paste may be applied instead of interposing the insulating sheet 34 between the lower substrate 25 and the heat radiation flat portion 31, a heat conductive insulating paste may be applied.
- the lower substrate 25 can be placed on the heat radiation flat portion 31 formed inside the inverter box 23 without a space, and the electric parts 37, 38 and 39 can be directly mounted, there is no useless space among the heat radiation flat portion 31, the lower substrate 25, and the electric parts 37, 38, and 39, thereby greatly increasing the height dimension of the inverter 21. Therefore, it is possible to greatly reduce the size of the inverter-integrated electric compressor 1 as a whole.
- the lower substrate 25 which is a heat conductive substrate, includes a substrate body 41 made of an insulator, and a heat conduction penetrating member 42 made of a good heat conductor that is through-filled in the thickness direction of the substrate body 41. Since it is comprised, the board
- the heat conduction penetrating member 42 if copper is used as the heat conduction penetrating member 42, the heat dissipation efficiency of the electrical components 37, 38, 39 can be increased due to the high thermal conductivity of copper, and at the same time, the thermal expansion coefficient of copper is much lower than that of aluminum or the like. Therefore, it is possible to eliminate the concern that when the heat conduction penetrating member 42 is heated, it thermally expands and compresses the electrical components 37, 38, 39.
- the thickness of the heat conduction penetrating member 42 is set to be slightly larger than the thickness of the substrate body 41, and at least the end surface of the heat conduction penetrating member 42 that is in contact with the heat radiation planar portion 31 is the end surface of the substrate body 41. Since the end face of the heat conduction penetrating member 42 is brought into contact with the heat radiation flat surface portion 31 (insulating sheet 34) with certainty so as to protrude slightly from the outer surface, the electrical component 37 contacting the opposite end face of the heat conduction penetrating member 42, The heat of 38 and 39 can be efficiently transmitted to the heat radiation flat portion 31 through the heat conduction penetrating member 42. For this reason, the cooling effect of the electrical components 37, 38, 39 can be further enhanced.
- the electrical components 37, 38, and 39 are surface-mounted types that are directly mounted on the surface of the lower substrate 25, and it is not necessary to form a screw hole that penetrates the screw as in the case of a screw-fixed type electrical component. Therefore, the size of each electrical component 37, 38, 39 is small, and the area occupied on the lower substrate 25 is also small. For this reason, size reduction of the surface direction of the lower board
- the lower substrate 25 is a multi-layer substrate
- the power module substrate originally composed of a plurality of substrates can be composed of a single lower substrate 25. Therefore, the dimensions of the inverter 21 in the surface direction and the height direction can be made compact, and at the same time, the number of parts can be reduced to facilitate assembly around the inverter 21, thereby reducing the manufacturing cost and weight of the inverter-integrated electric compressor 1. be able to.
- the smoothing capacitor 37 and the coil 38 are noise suppressing members for suppressing electromagnetic noise.
- the smoothing capacitor 37 and the coil 38 are directly installed on the lower substrate 25, the smoothing capacitor 37 and the coil 38 are connected to the lower part.
- the length of wiring members such as pin terminals and bus bars (not shown) that are electrically connected to the substrate 25 is minimized.
- the inductance component of the wiring member can be reduced, the noise suppression effect of the smoothing capacitor 37 and the coil 38 can be improved, or the smoothing capacitor 37 and the coil 38 can be downsized while obtaining an equivalent noise suppression effect, and the inverter 21
- the surroundings can be made compact.
- FIG. 5 is a longitudinal sectional view of an inverter-integrated electric compressor showing a second embodiment of the present invention.
- this inverter-integrated electric compressor 51 the configuration other than the periphery of the inverter 52 is the same as that of the inverter-integrated electric compressor 1 of the first embodiment shown in FIG. Omitted.
- This inverter-integrated electric compressor 51 is of a type in which an inverter box 53 in which an inverter 52 is accommodated is provided on the rear end surface of the housing 2 (motor-side housing 4).
- the main reason for providing the inverter box 53 on the rear end surface of the housing 2 is that when the inverter-integrated electric compressor 51 is installed in an engine room of a hybrid vehicle, an electric vehicle or the like, the housing 2 having a substantially cylindrical shape. This is because it is easier to mount in a layout if the inverter box 53 has a slim shape that does not protrude from the outer peripheral surface.
- a flat heat radiation flat part 54 is formed on the rear end surface constituting the outer wall of the motor-side housing 4, and a cover-like inverter box formed of metal or resin so as to cover the heat radiation flat part 54. 53 is hermetically covered, and the inverter 52 is accommodated in a space between the heat radiation flat portion 54 and the inverter box 53. Since the basic configuration of the inverter 52 is the same as that of the inverter 21 in the first embodiment, the same reference numerals are given to the respective parts to simplify the description.
- the surface directions of the lower substrate 25 and the upper substrate 26 constituting the inverter 52 are parallel to the surface direction of the heat radiation flat portion 54, and the substrate body 41 and the heat conduction penetrating member 42 are the same as the inverter 21 in the first embodiment.
- the lower substrate 25, which is a heat conductive substrate including the above, is fixed to the upper surface of the heat radiation flat portion 31 via the heat conductive insulating sheet 34, and the smoothing capacitor 37, which is an exothermic electrical component, and switching.
- the elements 39 and the like are mounted so as to be able to transfer heat to the lower substrate 25.
- the heat of these electrical components 37 and 39 is radiated to the heat radiation flat surface portion 31 side through the heat conduction penetrating member 42 of the lower substrate 25, and the electrical components 37 and 39 are cooled.
- the shape of the inverter box 53 is such that a step 53 a is provided in accordance with the height difference between the smoothing capacitor 37 and the upper substrate 26.
- the inverter-integrated electric compressor 51 when the inverter 52 is provided on the rear end surface of the inverter-integrated electric compressor 51, the inverter-integrated electric compressor 51 can be made compact and light in the length direction. That is, conventionally, the lower substrate 25 could not be directly installed on the heat radiation flat portion 54, and therefore the lower substrate 25 is installed on the rear end surface of the housing 2 so as to cover the top (rear) of the tallest sliding capacitor 37. Further, another short switching element 39 or the like is installed on the lower surface side (front side) of the lower substrate 25, and for the heat generating switching element 39, the height of the heat radiation flat portion 54 is set to the switching element 39 side. It was cooled by raising it to contact with here.
- the thickness of the end face of the housing 2 is increased more than necessary because the flat surface portion 54 for heat dissipation is unnecessarily increased, leading to an increase in size and weight.
- the lower substrate 25 is used for heat dissipation. Since it can be installed directly on the flat surface portion 54, it is not necessary to add a thin wall to the heat-dissipating flat surface portion 54, thereby contributing to a reduction in size and weight.
- the present invention is not limited to the aspects of the first and second embodiments.
- the heat of the structure in which the lower substrate 25 is a substrate body 41 formed of glass epoxy or the like and the heat conduction penetrating member 42 made of a good heat conductor such as copper is penetrated and filled.
- the heat conduction penetrating member 42 made of a good heat conductor such as copper
- it is a conductive substrate
- other types of thermally conductive substrates may be used.
- any heat may be used as long as the heat of the electrical components surface-mounted on the lower substrate 25 passes through the lower substrate 25 and is radiated to the heat radiation flat portion 31 side.
Landscapes
- Engineering & Computer Science (AREA)
- Mechanical Engineering (AREA)
- General Engineering & Computer Science (AREA)
- Power Engineering (AREA)
- Microelectronics & Electronic Packaging (AREA)
- Compressor (AREA)
- Applications Or Details Of Rotary Compressors (AREA)
- Motor Or Generator Cooling System (AREA)
Priority Applications (3)
| Application Number | Priority Date | Filing Date | Title |
|---|---|---|---|
| EP11836119.5A EP2634427B1 (en) | 2010-10-27 | 2011-10-20 | Inverter-integrated electric compressor |
| US13/699,905 US9318935B2 (en) | 2010-10-27 | 2011-10-20 | Inverter-integrated electric compressor |
| CN201180026487.5A CN103348138B (zh) | 2010-10-27 | 2011-10-20 | 逆变器一体型电动压缩机 |
Applications Claiming Priority (2)
| Application Number | Priority Date | Filing Date | Title |
|---|---|---|---|
| JP2010-240849 | 2010-10-27 | ||
| JP2010240849A JP5687027B2 (ja) | 2010-10-27 | 2010-10-27 | インバータ一体型電動圧縮機 |
Publications (1)
| Publication Number | Publication Date |
|---|---|
| WO2012056983A1 true WO2012056983A1 (ja) | 2012-05-03 |
Family
ID=45993695
Family Applications (1)
| Application Number | Title | Priority Date | Filing Date |
|---|---|---|---|
| PCT/JP2011/074134 Ceased WO2012056983A1 (ja) | 2010-10-27 | 2011-10-20 | インバータ一体型電動圧縮機 |
Country Status (5)
| Country | Link |
|---|---|
| US (1) | US9318935B2 (enExample) |
| EP (1) | EP2634427B1 (enExample) |
| JP (1) | JP5687027B2 (enExample) |
| CN (1) | CN103348138B (enExample) |
| WO (1) | WO2012056983A1 (enExample) |
Cited By (2)
| Publication number | Priority date | Publication date | Assignee | Title |
|---|---|---|---|---|
| US20130320792A1 (en) * | 2012-05-30 | 2013-12-05 | Kabushiki Kaisha Toyota Jidoshokki | Motor-driven compressor |
| CN110048548A (zh) * | 2012-09-21 | 2019-07-23 | 日产自动车株式会社 | 电动机的冷却构造 |
Families Citing this family (47)
| Publication number | Priority date | Publication date | Assignee | Title |
|---|---|---|---|---|
| JP6037809B2 (ja) * | 2012-12-07 | 2016-12-07 | 三菱重工業株式会社 | インバータ一体型電動圧縮機 |
| JP6161722B2 (ja) * | 2012-12-14 | 2017-07-19 | コンチネンタル オートモーティヴ ゲゼルシャフト ミット ベシュレンクテル ハフツングContinental Automotive GmbH | アクチュエータ |
| CN104838569A (zh) * | 2012-12-14 | 2015-08-12 | 大陆汽车有限责任公司 | 致动器 |
| JP5831484B2 (ja) * | 2013-03-26 | 2015-12-09 | 株式会社豊田自動織機 | 電動圧縮機 |
| JP5884795B2 (ja) * | 2013-09-03 | 2016-03-15 | 株式会社豊田自動織機 | 電動圧縮機 |
| JP6762683B2 (ja) | 2014-03-10 | 2020-09-30 | 三菱重工サーマルシステムズ株式会社 | 電動圧縮機 |
| CN105099084B (zh) * | 2014-05-15 | 2017-10-17 | 中山大洋电机股份有限公司 | 将牵引电机和逆变器集成的一体化动力系统 |
| JP6112080B2 (ja) | 2014-08-04 | 2017-04-12 | 株式会社豊田自動織機 | 電動圧縮機 |
| DE102014114837A1 (de) * | 2014-10-13 | 2016-04-14 | Bitzer Kühlmaschinenbau Gmbh | Kältemittelverdichter |
| CN107408870A (zh) * | 2015-01-14 | 2017-11-28 | 株式会社安川电机 | 电机 |
| WO2016113858A1 (ja) * | 2015-01-14 | 2016-07-21 | 株式会社安川電機 | モータ及びモータの製造方法 |
| CN108995505B (zh) * | 2015-03-20 | 2022-04-12 | 翰昂汽车零部件有限公司 | 电动压缩机变频器冷却装置及设有其的变频器组装体 |
| DE102015112031B4 (de) | 2015-07-23 | 2017-08-17 | Halla Visteon Climate Control Corporation | Anordnung zur Verbesserung einer Strombelastbarkeit von Leiterbahnen |
| WO2017026128A1 (ja) * | 2015-08-11 | 2017-02-16 | 三菱電機株式会社 | モータ装置 |
| JP6026063B1 (ja) * | 2015-08-11 | 2016-11-16 | 三菱電機株式会社 | モータ装置 |
| JP6504666B2 (ja) * | 2016-03-11 | 2019-04-24 | オムロンオートモーティブエレクトロニクス株式会社 | 電動モータ制御装置 |
| DE102016204811A1 (de) * | 2016-03-23 | 2017-09-28 | Robert Bosch Gmbh | Steuermodul zur Ansteuerung wenigstens eines elektrisch betätigbaren Aktuators |
| JP6443377B2 (ja) * | 2016-03-31 | 2018-12-26 | 株式会社豊田自動織機 | 流体機械 |
| DE102016206234A1 (de) * | 2016-04-14 | 2017-10-19 | Zf Friedrichshafen Ag | Stromschiene für einen Wechselrichter, Wechselrichter und Kraftfahrzeugantriebsystem |
| DE112017005709T5 (de) | 2016-11-14 | 2019-08-08 | Ihi Corporation | Elektrischer kompressor |
| JP2019002282A (ja) * | 2017-06-12 | 2019-01-10 | サンデン・オートモーティブコンポーネント株式会社 | インバータ一体型電動圧縮機 |
| JP7093347B2 (ja) * | 2017-06-20 | 2022-06-29 | 三菱電機株式会社 | 電動機、圧縮機、及び空気調和機、並びに電動機の製造方法 |
| US11251672B2 (en) * | 2017-07-28 | 2022-02-15 | Nidec Corporation | Motor |
| US11171546B2 (en) | 2017-09-29 | 2021-11-09 | Nidec Servo Corporation | Motor |
| JP7002904B2 (ja) * | 2017-09-29 | 2022-01-20 | 日本電産株式会社 | モータ |
| CN111543000B (zh) | 2017-11-14 | 2023-09-12 | 株式会社Ihi | 逆变器装置和电动压缩器 |
| USD920242S1 (en) * | 2018-04-13 | 2021-05-25 | Abb Power Grids Switzerland Ag | Transformer monitor |
| USD887355S1 (en) * | 2018-04-20 | 2020-06-16 | Delta Electronics, Inc. | Inverter |
| CN110425141A (zh) * | 2018-06-03 | 2019-11-08 | 江西悦轮科技有限公司 | 一种空调用直流变频压缩机的自冷却结构 |
| USD914594S1 (en) * | 2018-06-08 | 2021-03-30 | Siemens Ltd., China | Automation demo case |
| JP7066543B2 (ja) * | 2018-06-20 | 2022-05-13 | 株式会社マキタ | 動力工具 |
| DE102018211413A1 (de) * | 2018-07-10 | 2020-01-16 | Brose Fahrzeugteile Gmbh & Co. Kommanditgesellschaft, Bamberg | Nebenaggregat |
| JP7084810B2 (ja) * | 2018-07-13 | 2022-06-15 | 本田技研工業株式会社 | 駆動ユニット |
| EP3609066B1 (en) * | 2018-08-07 | 2021-02-24 | Mahle International GmbH | Electric power inverter |
| CN112823574B (zh) * | 2018-10-18 | 2023-09-15 | 三菱电机株式会社 | 基板收纳框体 |
| USD894833S1 (en) * | 2018-11-05 | 2020-09-01 | Fuji Electric Co., Ltd. | Inverter |
| USD889405S1 (en) * | 2018-11-15 | 2020-07-07 | Hevo, Inc. | Inverter component of a charging system |
| KR102710795B1 (ko) | 2018-12-26 | 2024-09-27 | 엘지이노텍 주식회사 | 전력 변환 장치 |
| USD896753S1 (en) * | 2018-12-31 | 2020-09-22 | Panoramic Power Ltd. | Modularly connecting bridge, meter and power supply unit assembly |
| JP7406931B2 (ja) | 2019-07-11 | 2023-12-28 | 株式会社マキタ | 電動作業機 |
| JP2021092168A (ja) * | 2019-12-09 | 2021-06-17 | 株式会社豊田自動織機 | 電動圧縮機、及び電動圧縮機の製造方法 |
| JP2020074675A (ja) * | 2020-01-09 | 2020-05-14 | 本田技研工業株式会社 | 一体型ユニット |
| WO2021152657A1 (ja) * | 2020-01-27 | 2021-08-05 | 三菱電機株式会社 | 電気車の駆動制御装置 |
| DE102021110983A1 (de) * | 2021-04-29 | 2022-11-03 | Schaeffler Technologies AG & Co. KG | EMV-Filtervorrichtung aufweisend eine laminierte Leiterstruktur; sowie Leistungselektronikmodul |
| DE102021110991A1 (de) * | 2021-04-29 | 2022-11-03 | Schaeffler Technologies AG & Co. KG | EMV-Filtervorrichtung mit einer gehäuseseitig festgelegten Leiterstruktur; sowie Leistungselektronikmodul |
| JP2023015907A (ja) | 2021-07-20 | 2023-02-01 | ヤマハ発動機株式会社 | 駆動ユニットおよび電動車両 |
| JP2023174374A (ja) * | 2022-05-27 | 2023-12-07 | トヨタ自動車株式会社 | 機電一体モータユニット |
Citations (7)
| Publication number | Priority date | Publication date | Assignee | Title |
|---|---|---|---|---|
| JP2007295639A (ja) | 2006-04-20 | 2007-11-08 | Denso Corp | 車両用モータ駆動装置 |
| JP2008021819A (ja) * | 2006-07-13 | 2008-01-31 | Matsushita Electric Ind Co Ltd | 熱伝導基板とその製造方法及び電源ユニット及び電子機器 |
| JP2008131792A (ja) | 2006-11-22 | 2008-06-05 | Mitsubishi Heavy Ind Ltd | インバータ一体型電動圧縮機 |
| JP2009017624A (ja) * | 2007-07-02 | 2009-01-22 | Yaskawa Electric Corp | モータ制御装置 |
| JP2009074517A (ja) * | 2007-09-25 | 2009-04-09 | Sanden Corp | 駆動回路一体型電動圧縮機 |
| JP2009207310A (ja) | 2008-02-28 | 2009-09-10 | Mitsubishi Heavy Ind Ltd | 一体型電動圧縮機 |
| WO2010119514A1 (ja) * | 2009-04-14 | 2010-10-21 | 三菱電機株式会社 | 電源装置 |
Family Cites Families (8)
| Publication number | Priority date | Publication date | Assignee | Title |
|---|---|---|---|---|
| US5388027A (en) * | 1993-07-29 | 1995-02-07 | Motorola, Inc. | Electronic circuit assembly with improved heatsinking |
| JP2944405B2 (ja) * | 1993-12-29 | 1999-09-06 | 日本電気株式会社 | 半導体素子の冷却構造および電磁遮蔽構造 |
| JPH10150283A (ja) | 1996-11-19 | 1998-06-02 | Nec Eng Ltd | 印刷配線基板の放熱構造 |
| JP3976512B2 (ja) | 2000-09-29 | 2007-09-19 | サンデン株式会社 | 冷媒圧縮用電動式圧縮機 |
| JP3951880B2 (ja) * | 2001-10-30 | 2007-08-01 | 株式会社デンソー | モータ装置 |
| DE10302791B4 (de) * | 2002-01-30 | 2016-03-17 | Denso Corporation | Elektrokompressor |
| JP2003347705A (ja) * | 2002-05-28 | 2003-12-05 | Matsushita Electric Ind Co Ltd | 回路部品モジュールおよびその製造方法 |
| CN101355846A (zh) * | 2007-07-24 | 2009-01-28 | 千如电机工业股份有限公司 | 基材传热与散热结构 |
-
2010
- 2010-10-27 JP JP2010240849A patent/JP5687027B2/ja not_active Expired - Fee Related
-
2011
- 2011-10-20 CN CN201180026487.5A patent/CN103348138B/zh active Active
- 2011-10-20 US US13/699,905 patent/US9318935B2/en active Active
- 2011-10-20 EP EP11836119.5A patent/EP2634427B1/en not_active Not-in-force
- 2011-10-20 WO PCT/JP2011/074134 patent/WO2012056983A1/ja not_active Ceased
Patent Citations (7)
| Publication number | Priority date | Publication date | Assignee | Title |
|---|---|---|---|---|
| JP2007295639A (ja) | 2006-04-20 | 2007-11-08 | Denso Corp | 車両用モータ駆動装置 |
| JP2008021819A (ja) * | 2006-07-13 | 2008-01-31 | Matsushita Electric Ind Co Ltd | 熱伝導基板とその製造方法及び電源ユニット及び電子機器 |
| JP2008131792A (ja) | 2006-11-22 | 2008-06-05 | Mitsubishi Heavy Ind Ltd | インバータ一体型電動圧縮機 |
| JP2009017624A (ja) * | 2007-07-02 | 2009-01-22 | Yaskawa Electric Corp | モータ制御装置 |
| JP2009074517A (ja) * | 2007-09-25 | 2009-04-09 | Sanden Corp | 駆動回路一体型電動圧縮機 |
| JP2009207310A (ja) | 2008-02-28 | 2009-09-10 | Mitsubishi Heavy Ind Ltd | 一体型電動圧縮機 |
| WO2010119514A1 (ja) * | 2009-04-14 | 2010-10-21 | 三菱電機株式会社 | 電源装置 |
Non-Patent Citations (1)
| Title |
|---|
| See also references of EP2634427A4 |
Cited By (3)
| Publication number | Priority date | Publication date | Assignee | Title |
|---|---|---|---|---|
| US20130320792A1 (en) * | 2012-05-30 | 2013-12-05 | Kabushiki Kaisha Toyota Jidoshokki | Motor-driven compressor |
| US9343940B2 (en) * | 2012-05-30 | 2016-05-17 | Kabushiki Kaisha Toyota Jidoshokki | Motor-driven compressor housing, cover, and seal |
| CN110048548A (zh) * | 2012-09-21 | 2019-07-23 | 日产自动车株式会社 | 电动机的冷却构造 |
Also Published As
| Publication number | Publication date |
|---|---|
| CN103348138A (zh) | 2013-10-09 |
| CN103348138B (zh) | 2016-01-06 |
| EP2634427B1 (en) | 2019-06-12 |
| JP2012092747A (ja) | 2012-05-17 |
| US9318935B2 (en) | 2016-04-19 |
| EP2634427A4 (en) | 2018-01-10 |
| US20130119834A1 (en) | 2013-05-16 |
| JP5687027B2 (ja) | 2015-03-18 |
| EP2634427A1 (en) | 2013-09-04 |
Similar Documents
| Publication | Publication Date | Title |
|---|---|---|
| JP5687027B2 (ja) | インバータ一体型電動圧縮機 | |
| JP5517650B2 (ja) | インバータ一体型電動圧縮機 | |
| JP5730176B2 (ja) | インバータ一体型電動圧縮機 | |
| JP5479139B2 (ja) | インバータ一体型電動圧縮機およびその組立方法 | |
| EP1926361B1 (en) | Inverter attached to an electric compressor | |
| JP5517652B2 (ja) | インバータ一体型電動圧縮機およびその組立方法 | |
| JP4718862B2 (ja) | 電動圧縮機 | |
| US10156239B2 (en) | Inverter-integrated electrical compressor | |
| JP2003153552A (ja) | インバータ回路の配設構造と配設方法及び圧縮機 | |
| JP5370272B2 (ja) | 電動圧縮機 | |
| JP2002188573A (ja) | 電動式冷凍サイクル装置 | |
| WO2016121382A1 (ja) | 電動圧縮機および電子部品 | |
| JP4699085B2 (ja) | 車両用電動圧縮機 | |
| JP2006316754A5 (enExample) | ||
| US20100028173A1 (en) | Inverter-integrated electric compressor | |
| JP2008175067A (ja) | 電動圧縮機 | |
| JP4033052B2 (ja) | 制御ユニット一体型圧縮機と空気調和機 | |
| JP2010270760A (ja) | 車両用電動圧縮機 | |
| JP5686992B2 (ja) | インバータ一体型電動圧縮機 | |
| JP4436192B2 (ja) | 電動圧縮機の制御装置 | |
| JP2008180120A (ja) | 電動圧縮機 | |
| JP4884841B2 (ja) | インバータ一体型電動圧縮機 | |
| JP2008175068A (ja) | 電動圧縮機 | |
| JP4830848B2 (ja) | 電動圧縮機 | |
| JP2008163767A (ja) | 電動圧縮機 |
Legal Events
| Date | Code | Title | Description |
|---|---|---|---|
| 121 | Ep: the epo has been informed by wipo that ep was designated in this application |
Ref document number: 11836119 Country of ref document: EP Kind code of ref document: A1 |
|
| WWE | Wipo information: entry into national phase |
Ref document number: 2011836119 Country of ref document: EP |
|
| WWE | Wipo information: entry into national phase |
Ref document number: 13699905 Country of ref document: US |
|
| NENP | Non-entry into the national phase |
Ref country code: DE |