WO2011122499A1 - 転写体の製造方法 - Google Patents

転写体の製造方法 Download PDF

Info

Publication number
WO2011122499A1
WO2011122499A1 PCT/JP2011/057464 JP2011057464W WO2011122499A1 WO 2011122499 A1 WO2011122499 A1 WO 2011122499A1 JP 2011057464 W JP2011057464 W JP 2011057464W WO 2011122499 A1 WO2011122499 A1 WO 2011122499A1
Authority
WO
WIPO (PCT)
Prior art keywords
roller
transfer
film
transfer film
release
Prior art date
Legal status (The legal status is an assumption and is not a legal conclusion. Google has not performed a legal analysis and makes no representation as to the accuracy of the status listed.)
Ceased
Application number
PCT/JP2011/057464
Other languages
English (en)
French (fr)
Japanese (ja)
Inventor
陽太 矢野
永史 小川
幸男 木本
宏幸 沖中
年克 末廣
充男 中村
勝 松田
喜三男 長谷
Current Assignee (The listed assignees may be inaccurate. Google has not performed a legal analysis and makes no representation or warranty as to the accuracy of the list.)
Nippon Sheet Glass Co Ltd
Toppan Infomedia Co Ltd
Original Assignee
Nippon Sheet Glass Co Ltd
Toppan TDK Label Co Ltd
Priority date (The priority date is an assumption and is not a legal conclusion. Google has not performed a legal analysis and makes no representation as to the accuracy of the date listed.)
Filing date
Publication date
Application filed by Nippon Sheet Glass Co Ltd, Toppan TDK Label Co Ltd filed Critical Nippon Sheet Glass Co Ltd
Priority to EP11762730A priority Critical patent/EP2554380A1/en
Priority to CN2011800156870A priority patent/CN102821958A/zh
Priority to US13/637,503 priority patent/US20130022819A1/en
Publication of WO2011122499A1 publication Critical patent/WO2011122499A1/ja
Anticipated expiration legal-status Critical
Ceased legal-status Critical Current

Links

Images

Classifications

    • BPERFORMING OPERATIONS; TRANSPORTING
    • B32LAYERED PRODUCTS
    • B32BLAYERED PRODUCTS, i.e. PRODUCTS BUILT-UP OF STRATA OF FLAT OR NON-FLAT, e.g. CELLULAR OR HONEYCOMB, FORM
    • B32B37/00Methods or apparatus for laminating, e.g. by curing or by ultrasonic bonding
    • B32B37/02Methods or apparatus for laminating, e.g. by curing or by ultrasonic bonding characterised by a sequence of laminating steps, e.g. by adding new layers at consecutive laminating stations
    • B32B37/025Transfer laminating
    • BPERFORMING OPERATIONS; TRANSPORTING
    • B29WORKING OF PLASTICS; WORKING OF SUBSTANCES IN A PLASTIC STATE IN GENERAL
    • B29CSHAPING OR JOINING OF PLASTICS; SHAPING OF MATERIAL IN A PLASTIC STATE, NOT OTHERWISE PROVIDED FOR; AFTER-TREATMENT OF THE SHAPED PRODUCTS, e.g. REPAIRING
    • B29C43/00Compression moulding, i.e. applying external pressure to flow the moulding material; Apparatus therefor
    • B29C43/02Compression moulding, i.e. applying external pressure to flow the moulding material; Apparatus therefor of articles of definite length, i.e. discrete articles
    • B29C43/18Compression moulding, i.e. applying external pressure to flow the moulding material; Apparatus therefor of articles of definite length, i.e. discrete articles incorporating preformed parts or layers, e.g. compression moulding around inserts or for coating articles
    • BPERFORMING OPERATIONS; TRANSPORTING
    • B29WORKING OF PLASTICS; WORKING OF SUBSTANCES IN A PLASTIC STATE IN GENERAL
    • B29CSHAPING OR JOINING OF PLASTICS; SHAPING OF MATERIAL IN A PLASTIC STATE, NOT OTHERWISE PROVIDED FOR; AFTER-TREATMENT OF THE SHAPED PRODUCTS, e.g. REPAIRING
    • B29C43/00Compression moulding, i.e. applying external pressure to flow the moulding material; Apparatus therefor
    • B29C43/22Compression moulding, i.e. applying external pressure to flow the moulding material; Apparatus therefor of articles of indefinite length
    • B29C43/30Making multilayered or multicoloured articles
    • BPERFORMING OPERATIONS; TRANSPORTING
    • B29WORKING OF PLASTICS; WORKING OF SUBSTANCES IN A PLASTIC STATE IN GENERAL
    • B29CSHAPING OR JOINING OF PLASTICS; SHAPING OF MATERIAL IN A PLASTIC STATE, NOT OTHERWISE PROVIDED FOR; AFTER-TREATMENT OF THE SHAPED PRODUCTS, e.g. REPAIRING
    • B29C43/00Compression moulding, i.e. applying external pressure to flow the moulding material; Apparatus therefor
    • B29C43/32Component parts, details or accessories; Auxiliary operations
    • B29C43/36Moulds for making articles of definite length, i.e. discrete articles
    • B29C43/3697Moulds for making articles of definite length, i.e. discrete articles comprising rollers or belts cooperating with non-rotating mould parts
    • BPERFORMING OPERATIONS; TRANSPORTING
    • B32LAYERED PRODUCTS
    • B32BLAYERED PRODUCTS, i.e. PRODUCTS BUILT-UP OF STRATA OF FLAT OR NON-FLAT, e.g. CELLULAR OR HONEYCOMB, FORM
    • B32B2309/00Parameters for the laminating or treatment process; Apparatus details
    • B32B2309/12Pressure

Definitions

  • the present invention relates to a method for producing a transfer body. Specifically, the present invention relates to a method for producing a transfer body in which a transfer film having a release film and a transfer film is attached to a substrate having a smooth surface such as glass and having no air permeability, and the release film is released.
  • a transfer film may be used to form a decorative pattern such as a conductive pattern or pattern such as a wiring circuit or an electrode on a substrate such as glass.
  • the method using such a transfer film can follow the conductive pattern, decorative pattern, etc., regardless of the size or shape of the substrate, and is excellent in patternability and productivity, at low cost, There is an advantage that it can be formed on any substrate.
  • Various transfer films suitable for such a transfer method have been proposed (for example, Patent Document 1).
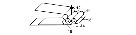
  • FIG. 1 Conventionally, a method as shown in FIG. 1 has been used as a method for efficiently attaching a transfer film on a substrate. That is, the process of lowering the head to which the sticking roller 11 and the peeling roller 12 are attached and pressing the transfer film 13 against the substrate 14 with the sticking roller and the peeling roller (FIG. 1A), The process of moving to the supply roller (not shown) side to supply and attaching the transfer film (FIG. 1B), the process of moving the peeling roller to the supply roller side and peeling the release film from the substrate (FIG. 1 ( C)), and then the head is raised to separate the sticking roller 11 and the peeling roller 12 from the substrate 14 (FIG. 1 (D)) and return to the original position. At the time of transfer, it is important to transfer the transfer material onto the stage without remaining on the transfer film side, and various transfer devices have been proposed (for example, see Patent Document 2).
  • the present invention provides a method for producing a transfer body that does not cause poor adhesion at the interface between the transfer film and the substrate and does not cause delamination of the transfer film, and further, when the release film is peeled from the transfer film, Provided is a method for producing a transfer body with high productivity, in which a functional pattern to be formed is not destroyed, and when a sticking roller and a peeling roller are separated from a substrate, the substrate is not damaged. With the goal.
  • the present inventors have found that the above problem can be solved by changing the contact method between the sticking roller and the peeling roller, the substrate and the transfer film. That is, the gist of the present invention is as follows.
  • the transfer film constituting the transfer film includes an adhesive layer and a functional pattern, and the functional pattern is composed of an inorganic powder and an organic material that can be removed by firing, and the adhesive layer can be removed by firing.
  • the transfer machine has a mechanism for peeling and winding the release film, and at the start of transfer film application, only the application roller presses the transfer film against the substrate, and the transfer roller is moved in the pressed state.
  • a transfer machine wherein the transfer roller is applied to a substrate, the release roller is brought into contact with the transfer film at an application start point of the application roller, and the release roller is moved to release the release film.
  • the transfer body can be produced with high productivity.
  • the present invention relates to a method for producing a transfer body in which a transfer film composed of a release film and a transfer film is attached to a substrate using an application roller, and the release film is released using a release roller.
  • a transfer film composed of a release film and a transfer film is attached to a substrate using an application roller, and the release film is released using a release roller.
  • FIG. 1A the process of lowering the head to which the sticking roller and the peeling roller are attached and pressing the transfer film against the substrate with both the sticking roller and the peeling roller
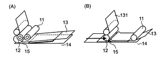
  • FIG. 2A the transfer film 13 is pressed against the substrate 14 only by the application roller 11. That is, at the point of time when the transfer film is stuck, only the sticking roller 11 is pressure-bonded to the substrate 14 at the sticking start point 16, and the peeling roller 12 is not pressure-bonded to the substrate 14. Then, the sticking roller 11 is moved in a state of being pressed against the transfer film 13, and the transfer film 13 is stuck to the substrate 14.
  • the peeling roller is brought into contact with the transfer film at the sticking start point 16 as shown in FIG. That is, after starting the application of the transfer film 13 by the application roller 11, the peeling roller 12 is moved to the upper part of the application start point 16 and then lowered and brought into contact with the transfer film 13 at the application start point 16. And the peeling operation which moves this peeling roller and peels a peeling film is performed.
  • the start of the peeling operation may be during the sticking of the transfer film 13 by the sticking roller 11 or after the sticking operation is completed. As will be described in detail later, it is preferable to perform the peeling operation after releasing the pressure on the transfer film 13 of the sticking roller 11, and it is more preferable to perform the peeling operation after the sticking operation is completed.
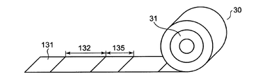
  • the transfer film is formed by laminating a transfer film 132 on at least a part of the release film 131, and such a film is wound around a core (winding core) 31 to supply rolls 30. Is composed.
  • the size of the transfer film 132 is determined according to the size of the substrate.
  • a portion where there is no transfer film between the transfer films is called a space portion 135.
  • the transfer film is supplied from a supply roll to a substrate transported by a belt conveyor, and a transfer body is manufactured by applying the transfer film by the method of the present invention.
  • the aspect with which a peeling film is wound up by the winding roller (not shown) via the guide roller 17 is preferable.
  • the peeling roller By moving the peeling roller while winding the peeling film with the winding roller, the peeling film can be efficiently peeled off, and high productivity can be obtained.
  • tension is applied to the transfer film, and the peeling angle becomes small as shown in FIG. 5 (portion 20 in FIG. 5).
  • the peel angle is small as described above, the peel strength tends to increase, and the print pattern provided on the transfer film constituting the transfer film may be destroyed. Therefore, in the present invention, as shown in FIG.
  • the release film is fed from the take-up roller, and the release film is slackened on the side closer to the substrate from the guide roller 17, that is, the portion in front of the release roller, thereby increasing the release angle. Then, it is preferable to move the peeling roller to peel the release film from the transfer film. In particular, a peel angle of 180 degrees is preferable because it has the least influence on the print pattern.
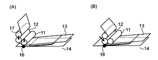
  • the sticking roller 11 is moved to stick the transfer film 13 to the substrate 14, and then the sticking roller 11 is raised to release the pressure on the transfer film 13 (FIG. 8). (A)) Then, the aspect which moves the peeling roller 12 and peels the peeling film 131 is preferable.
  • the peeling roller 12 since only the peeling roller 12 is in contact with the transfer film 13 at the end of the transfer, it becomes a line contact (portion 19 in FIG. 8), and the transfer film 13 is the substrate when the head is raised. 14 easily peels off.
  • the transfer film used in the present invention is not particularly limited as long as it has a release film and a transfer film.
  • a transfer film 132 is laminated on the release film 131, and the transfer film 132.
  • a preferable example is an embodiment provided with a functional pattern 133 containing an inorganic powder and an organic substance that can be removed by baking, and an adhesive layer 134 made of an organic substance that can be removed by baking.
  • an intermediate layer made of an organic material that can be removed by baking is provided between the functional pattern 133 and the adhesive layer 134 and an aspect in which a protective layer is provided between the functional pattern 133 and the release film 131.
  • the intermediate layer plays a role of a barrier property that prevents the solvent or organic substance contained in the pressure-sensitive adhesive used for forming the pressure-sensitive adhesive layer from entering the functional pattern.
  • the protective layer plays a role of protecting the functional pattern before firing transferred to the substrate from the adhesion and scratches of foreign matters.
  • any release film may be used as long as it has releasability from a transfer film containing a functional pattern, and the film base may be used as it is, but if necessary, a release layer made of a silicone or alkyd resin on the film base. Alternatively, a configuration in which a slightly adhesive layer for re-peeling is formed may be used.
  • a base material of the release film a flexible base material is preferable in consideration of workability at the time of transfer. For example, plastics such as polyethylene, polyimide, polyethylene terephthalate, and acrylic, paper, and the like can be used.
  • the thickness of the substrate is not particularly limited, but an optimal thickness may be selected from the viewpoint of the balance between pressure and heat transfer during transfer and the flexibility of the film, preferably 25 to 250 ⁇ m, preferably A thickness of 35 to 125 ⁇ m, more preferably 50 to 75 ⁇ m, is preferably used for manufacturing or construction.
  • a printing method such as screen printing or offset printing or a coating method such as gravure coating can be used.
  • the said printing method is used suitably, and when forming a layer uniformly in a wide area, the coating method is also suitable.
  • a coating liquid (paste) formed by dispersing or dissolving the inorganic powder or organic substance contained in the solvent is prepared and used. .
  • water-based, alcohol-based, ketone-based, ester-based, ether-based, and hydrocarbon-based solvents can be used alone or in combination. Can be used. These solvents are used by appropriately adjusting the printing suitability such as viscosity and thixotropy and solid content.
  • the functional pattern is mainly composed of inorganic powder that can be heat-sealed to a base material for expressing mechanical strength after firing, and inorganic powder as various functional materials according to desired functions after firing.
  • the organic matter that maintains the shape before firing and is removed by firing is contained.
  • various functional materials are supported on a substrate after firing, and materials such as glass frit can be used for the purpose of improving durability, and firing temperature and heat
  • a glass frit having a suitable composition may be selected in consideration of a balance such as a shrinkage rate.
  • a material corresponding to a desired function after firing is appropriately selected and used.
  • powders of Au, Ag, Cu, Ni, Co, Sn, Pb, Zn, Bi, In or alloys containing these can be used for wirings and electrodes.
  • materials used for dielectrics such as capacitor parts and high resistance parts include powders such as BaTiO, SiC, TiO 2 , SiO 2 , and RuO.
  • the organic substance is not particularly limited as long as it is a material that can be removed by firing.
  • materials that can be easily removed by thermal decomposition by firing include resins such as acrylic, methylcellulose, nitrocellulose, ethylcellulose, vinyl acetate, polyvinyl butyral, polyvinyl acetal, polyvinyl alcohol, polyethylene oxide, and polyester, either alone or in combination. Can be used.
  • the plasticizer can be appropriately selected from fatty acid esters, phosphate esters, and the like.
  • the functional pattern may be a single pattern or a plurality of patterns, and a plurality of patterns may be laminated or individually provided. The film thickness of the functional pattern is appropriately determined according to the intended function.
  • the adhesion layer is comprised by the organic substance which can be baked and removed
  • Adhesives such as an acrylic type and rubber type, which have adhesiveness at normal temperature can be used.
  • the adhesive layer may be formed so as to cover the entire surface of the support such as a release film, or a similar pattern may be formed on the functional pattern.
  • the thickness of the adhesive layer is preferably 1 to 20 ⁇ m, more preferably 2 to 10 ⁇ m. If it is 1 ⁇ m or more, sufficient adhesive strength can be obtained, and good transferability can be obtained. On the other hand, when it is 20 ⁇ m or less, the amount of pyrolysis gas generated does not become excessive, and defects in the functional pattern do not occur or firing defects do not occur. In addition, it is preferable to make the film thickness of the adhesive layer as thin as possible within the range where the adhesive force can be maintained.
  • Substrate In the production method of the present invention, various substrates can be used, and there is no particular limitation. Specifically, a glass substrate or the like can be used, but the production method of the present invention is particularly effective when the glass substrate is used as a substrate. This is because the glass substrate has a smooth surface and no air permeability, and thus the above-mentioned problems are likely to occur.
  • the transfer machine used in the production method of the present invention has the following configuration. That is, the transfer machine of the present invention includes a supply roller, a sticking roller, a peeling roller, a mechanism for moving the sticking roller and the peeling roller up and down, and a mechanism for moving the sticking roller and the peeling roller toward the supply roller while applying pressure to the transfer film. , And a mechanism for peeling and winding the release film constituting the transfer film.
  • the transfer machine of the present invention includes a supply roller, a sticking roller, a peeling roller, a mechanism for moving the sticking roller and the peeling roller up and down, and a mechanism for moving the sticking roller and the peeling roller toward the supply roller while applying pressure to the transfer film. , And a mechanism for peeling and winding the release film constituting the transfer film.
  • the sticking roller presses the transfer film against the substrate and moves the sticking roller in the pressed state for transfer.
  • the film is stuck to the substrate, the peeling roller is brought into contact with the transfer film at the sticking start point by the sticking
  • Example 1 Manufacture of transfer film A transfer film for baking was prepared by the following procedure. First, a PET film “A70” (manufactured by Teijin DuPont Films, film size: 3.5 cm ⁇ 30 cm, thickness: 50 ⁇ m) provided with a silicone release layer was prepared as a release film. Next, as a functional pattern coating liquid, a conductive paste was prepared using a three-roll mill based on the composition shown in Table 1.
  • the adhesive layer paste which substituted the solvent of acrylic adhesive "SK1451” (made by Soken Chemical Industry Co., Ltd.) with Solvesso 150 as a coating liquid of the adhesion layer was produced.
  • a functional pattern was formed on the release layer of the release film by printing the conductive paste to a size of 2 cm ⁇ 5 cm and a film thickness of 15 ⁇ m using a screen printer.
  • the adhesive layer paste was applied to the entire surface of the release film on the release layer side so as to cover the functional pattern using a Mayer bar so as to have a thickness of 10 ⁇ m, thereby forming an adhesive layer.
  • the solvent contained in the adhesion layer was volatilized sufficiently.
  • a part including the functional pattern was cut out into a film size of 6 cm ⁇ 35 cm from the release film on which the transfer film composed of the adhesive layer and the functional pattern was formed, and the transfer film of Example 1 was obtained.
  • the peeling roller is peeled off by moving at a speed of 300 mm / second while pressing the peeling roller against the glass plate at a pressure of 0.5 MPa, A transfer body was produced.
  • the transfer body was fired using a firing furnace. As firing conditions, the temperature was raised from room temperature to 650 ° C. at a rate of temperature rise of 20 ° C./min, maintained at that temperature for 30 minutes, and then cooled to 100 ° C. or less by standing in the furnace.
  • Example 1 Comparative Example 1
  • the transfer film was pressure-bonded to the glass plate at 0.5 MPa with both the application roller and the release roller, the application roller was moved to apply the transfer film, and then the release roller was not separated.
  • the transfer film was peeled off.
  • the transfer film was not partially or wholly adhered and remained on the release film.
  • the air does not bite between the transfer film and the substrate or between the transfer films, and the functional pattern constituting the transfer film is destroyed when the release film is peeled off from the transfer film.
  • the transfer body can be produced with high productivity without damaging the substrate.
  • the transfer body obtained by the production method of the present invention has no adhesion failure at the interface between the transfer film and the substrate, and there is no delamination of the transfer film.
  • the functional pattern is not destroyed and the substrate is not damaged or damaged.
  • the transfer machine of the present invention the transfer method of the present invention can be performed, and a transfer body can be produced with high productivity.

Landscapes

  • Decoration By Transfer Pictures (AREA)
  • Manufacturing Of Printed Wiring (AREA)
  • Laminated Bodies (AREA)
  • Adhesive Tape Dispensing Devices (AREA)
PCT/JP2011/057464 2010-03-30 2011-03-25 転写体の製造方法 Ceased WO2011122499A1 (ja)

Priority Applications (3)

Application Number Priority Date Filing Date Title
EP11762730A EP2554380A1 (en) 2010-03-30 2011-03-25 Method for producing transfer body
CN2011800156870A CN102821958A (zh) 2010-03-30 2011-03-25 转印体的制备方法
US13/637,503 US20130022819A1 (en) 2010-03-30 2011-03-25 Method for producing transfer body

Applications Claiming Priority (2)

Application Number Priority Date Filing Date Title
JP2010079859A JP5563349B2 (ja) 2010-03-30 2010-03-30 転写体の製造方法
JP2010-079859 2010-03-30

Publications (1)

Publication Number Publication Date
WO2011122499A1 true WO2011122499A1 (ja) 2011-10-06

Family

ID=44712205

Family Applications (1)

Application Number Title Priority Date Filing Date
PCT/JP2011/057464 Ceased WO2011122499A1 (ja) 2010-03-30 2011-03-25 転写体の製造方法

Country Status (5)

Country Link
US (1) US20130022819A1 (enExample)
EP (1) EP2554380A1 (enExample)
JP (1) JP5563349B2 (enExample)
CN (1) CN102821958A (enExample)
WO (1) WO2011122499A1 (enExample)

Cited By (1)

* Cited by examiner, † Cited by third party
Publication number Priority date Publication date Assignee Title
CN103666296A (zh) * 2012-09-14 2014-03-26 株式会社凸版Tdk标签 双面粘接膜及其制造方法

Families Citing this family (5)

* Cited by examiner, † Cited by third party
Publication number Priority date Publication date Assignee Title
US9993023B2 (en) * 2013-02-22 2018-06-12 Altria Client Services Llc Electronic smoking article
US10031183B2 (en) * 2013-03-07 2018-07-24 Rai Strategic Holdings, Inc. Spent cartridge detection method and system for an electronic smoking article
US9839238B2 (en) * 2014-02-28 2017-12-12 Rai Strategic Holdings, Inc. Control body for an electronic smoking article
CN107910290A (zh) * 2017-11-20 2018-04-13 浙江工业大学 一种微观物料的转印刷方法及装置
TWI758130B (zh) * 2021-03-15 2022-03-11 廣達電腦股份有限公司 複合模內沖壓及貼片之自動化生產設備

Citations (6)

* Cited by examiner, † Cited by third party
Publication number Priority date Publication date Assignee Title
JP2000246718A (ja) * 1999-03-02 2000-09-12 Murata Mfg Co Ltd セラミックグリーンシートの積層方法及び積層装置
JP2001138482A (ja) * 1999-11-17 2001-05-22 Fujitsu Ltd 立体構造物転写方法及びその装置
JP2004142436A (ja) * 2002-10-25 2004-05-20 Hewlett-Packard Development Co Lp 印刷媒体被覆装置および印刷媒体被覆方法
JP2007165379A (ja) 2005-12-09 2007-06-28 Matsushita Electric Ind Co Ltd 転写装置
JP2008307729A (ja) 2007-06-13 2008-12-25 Toppan Tdk Label Co Ltd 焼成用転写フィルム及び機能性パターン付き基体の形成方法
WO2009113453A1 (ja) * 2008-03-14 2009-09-17 東レ株式会社 表面に微細な凹凸パターンを有するフィルムの製造方法および製造装置

Family Cites Families (6)

* Cited by examiner, † Cited by third party
Publication number Priority date Publication date Assignee Title
US3655496A (en) * 1969-09-25 1972-04-11 Vitta Corp Tape transfer of sinterable conductive, semiconductive or insulating patterns to electronic component substrates
JP3773751B2 (ja) * 2000-04-11 2006-05-10 松下電器産業株式会社 粘着テープ貼付装置及び部品実装機とディスプレイパネル
EP1444055A4 (en) * 2001-10-19 2007-04-18 Superior Micropowders Llc BAND COMPOSITION FOR THE DEPOSITION OF ELECTRONIC CHARACTERISTICS
JP4494753B2 (ja) * 2003-10-27 2010-06-30 リンテック株式会社 シート剥離装置及び剥離方法
CN100553424C (zh) * 2004-12-03 2009-10-21 日本特殊陶业株式会社 包括薄膜剥离的生产接线板的方法和设备
CN1872563A (zh) * 2005-06-02 2006-12-06 优立企业有限公司 模内转印薄膜及其制造方法

Patent Citations (6)

* Cited by examiner, † Cited by third party
Publication number Priority date Publication date Assignee Title
JP2000246718A (ja) * 1999-03-02 2000-09-12 Murata Mfg Co Ltd セラミックグリーンシートの積層方法及び積層装置
JP2001138482A (ja) * 1999-11-17 2001-05-22 Fujitsu Ltd 立体構造物転写方法及びその装置
JP2004142436A (ja) * 2002-10-25 2004-05-20 Hewlett-Packard Development Co Lp 印刷媒体被覆装置および印刷媒体被覆方法
JP2007165379A (ja) 2005-12-09 2007-06-28 Matsushita Electric Ind Co Ltd 転写装置
JP2008307729A (ja) 2007-06-13 2008-12-25 Toppan Tdk Label Co Ltd 焼成用転写フィルム及び機能性パターン付き基体の形成方法
WO2009113453A1 (ja) * 2008-03-14 2009-09-17 東レ株式会社 表面に微細な凹凸パターンを有するフィルムの製造方法および製造装置

Cited By (1)

* Cited by examiner, † Cited by third party
Publication number Priority date Publication date Assignee Title
CN103666296A (zh) * 2012-09-14 2014-03-26 株式会社凸版Tdk标签 双面粘接膜及其制造方法

Also Published As

Publication number Publication date
EP2554380A1 (en) 2013-02-06
JP2011207618A (ja) 2011-10-20
JP5563349B2 (ja) 2014-07-30
CN102821958A (zh) 2012-12-12
US20130022819A1 (en) 2013-01-24

Similar Documents

Publication Publication Date Title
JP5563349B2 (ja) 転写体の製造方法
JP6012808B2 (ja) パターン付きガラス基板
JP5307360B2 (ja) 焼成用転写フィルム及び機能性パターン付き基体の形成方法
JP4084385B2 (ja) 積層電子部品用の積層体ユニットの製造方法
JP5293466B2 (ja) ロール状転写フィルムおよびその製造方法
JP5229529B2 (ja) 焼成用転写フィルムおよび機能性パターン付き基体の形成方法
JP5956220B2 (ja) ラベルシート及びその製造方法、並びに印刷模様付き物品の製造方法
JP5600458B2 (ja) 焼成用転写型フィルム及び焼成体を備えるガラス板の製造方法
JP5830033B2 (ja) パターン付きガラス基板及びその製造方法
US20100086752A1 (en) Transfer Films for Firing and Method of Forming Substrate with Functional Pattern
JP2016135562A (ja) 積層体、それを用いた導電性基材の製造方法、電子デバイスの製造方法、および転写具
JP6699784B2 (ja) 積層体、それを用いた導電性基材の製造方法、電子デバイスの製造方法、および転写具
JP5369329B2 (ja) 焼成用転写フィルム
JP5040031B2 (ja) 焼成用転写フィルム
JP6057622B2 (ja) 転写ラベルを有するラベルシート
JP2005159101A (ja) 積層電子部品用の積層体ユニットの製造方法および積層体ユニットを含む積層電子部品用の積層体ユニットセットの製造方法
JP3921454B2 (ja) 積層セラミック電子部品用の積層体ユニットの製造方法および積層セラミック電子部品用の積層体ユニット
JP2012214313A (ja) 導電層付き窓ガラスおよびガラス用転写フィルム
JP2005159100A (ja) 積層電子部品用の積層体ユニットの製造方法および積層体ユニットを含む積層電子部品用の積層体ユニットセットの製造方法
JP2005159098A (ja) 積層電子部品用の積層体ユニットの製造方法および積層体ユニットを含む積層電子部品用の積層体ユニットセットの製造方法
JP2005079229A (ja) 積層電子部品用の積層体ユニットの製造方法および少なくとも1つの積層体ユニットを含む積層電子部品用の積層体ユニットセットの製造方法
JP2005159099A (ja) 積層電子部品用の積層体ユニットの製造方法、積層体ユニットを含む積層電子部品用の積層体ユニットセットの製造方法および積層電子部品の製造装置
JP2019114674A (ja) 配線基板の製造方法
JP2005159096A (ja) 積層電子部品用の積層体ユニットの製造方法、積層体ユニットを含む積層電子部品用の積層体ユニットセットの製造方法および積層電子部品の製造装置
JP2005079227A (ja) 積層電子部品用の積層体ユニットの製造方法および少なくとも1つの積層体ユニットを含む積層電子部品用の積層体ユニットセットの製造方法

Legal Events

Date Code Title Description
WWE Wipo information: entry into national phase

Ref document number: 201180015687.0

Country of ref document: CN

121 Ep: the epo has been informed by wipo that ep was designated in this application

Ref document number: 11762730

Country of ref document: EP

Kind code of ref document: A1

WWE Wipo information: entry into national phase

Ref document number: 13637503

Country of ref document: US

Ref document number: 2011762730

Country of ref document: EP

NENP Non-entry into the national phase

Ref country code: DE