WO2010032475A1 - 薬剤払出装置 - Google Patents
薬剤払出装置 Download PDFInfo
- Publication number
- WO2010032475A1 WO2010032475A1 PCT/JP2009/004697 JP2009004697W WO2010032475A1 WO 2010032475 A1 WO2010032475 A1 WO 2010032475A1 JP 2009004697 W JP2009004697 W JP 2009004697W WO 2010032475 A1 WO2010032475 A1 WO 2010032475A1
- Authority
- WO
- WIPO (PCT)
- Prior art keywords
- medicine
- receiving
- unit
- container
- dispensing device
- Prior art date
- Legal status (The legal status is an assumption and is not a legal conclusion. Google has not performed a legal analysis and makes no representation as to the accuracy of the status listed.)
- Ceased
Links
Images
Classifications
-
- A—HUMAN NECESSITIES
- A61—MEDICAL OR VETERINARY SCIENCE; HYGIENE
- A61J—CONTAINERS SPECIALLY ADAPTED FOR MEDICAL OR PHARMACEUTICAL PURPOSES; DEVICES OR METHODS SPECIALLY ADAPTED FOR BRINGING PHARMACEUTICAL PRODUCTS INTO PARTICULAR PHYSICAL OR ADMINISTERING FORMS; DEVICES FOR ADMINISTERING FOOD OR MEDICINES ORALLY; BABY COMFORTERS; DEVICES FOR RECEIVING SPITTLE
- A61J3/00—Devices or methods specially adapted for bringing pharmaceutical products into particular physical or administering forms
-
- G—PHYSICS
- G07—CHECKING-DEVICES
- G07F—COIN-FREED OR LIKE APPARATUS
- G07F17/00—Coin-freed apparatus for hiring articles; Coin-freed facilities or services
- G07F17/0092—Coin-freed apparatus for hiring articles; Coin-freed facilities or services for assembling and dispensing of pharmaceutical articles
-
- A—HUMAN NECESSITIES
- A61—MEDICAL OR VETERINARY SCIENCE; HYGIENE
- A61J—CONTAINERS SPECIALLY ADAPTED FOR MEDICAL OR PHARMACEUTICAL PURPOSES; DEVICES OR METHODS SPECIALLY ADAPTED FOR BRINGING PHARMACEUTICAL PRODUCTS INTO PARTICULAR PHYSICAL OR ADMINISTERING FORMS; DEVICES FOR ADMINISTERING FOOD OR MEDICINES ORALLY; BABY COMFORTERS; DEVICES FOR RECEIVING SPITTLE
- A61J7/00—Devices for administering medicines orally, e.g. spoons; Pill counting devices; Arrangements for time indication or reminder for taking medicine
- A61J7/04—Arrangements for time indication or reminder for taking medicine, e.g. programmed dispensers
-
- B—PERFORMING OPERATIONS; TRANSPORTING
- B65—CONVEYING; PACKING; STORING; HANDLING THIN OR FILAMENTARY MATERIAL
- B65B—MACHINES, APPARATUS OR DEVICES FOR, OR METHODS OF, PACKAGING ARTICLES OR MATERIALS; UNPACKING
- B65B1/00—Packaging fluent solid material, e.g. powders, granular or loose fibrous material, loose masses of small articles, in individual containers or receptacles, e.g. bags, sacks, boxes, cartons, cans, or jars
- B65B1/04—Methods of, or means for, filling the material into the containers or receptacles
-
- B—PERFORMING OPERATIONS; TRANSPORTING
- B65—CONVEYING; PACKING; STORING; HANDLING THIN OR FILAMENTARY MATERIAL
- B65B—MACHINES, APPARATUS OR DEVICES FOR, OR METHODS OF, PACKAGING ARTICLES OR MATERIALS; UNPACKING
- B65B1/00—Packaging fluent solid material, e.g. powders, granular or loose fibrous material, loose masses of small articles, in individual containers or receptacles, e.g. bags, sacks, boxes, cartons, cans, or jars
- B65B1/30—Devices or methods for controlling or determining the quantity or quality or the material fed or filled
-
- G—PHYSICS
- G07—CHECKING-DEVICES
- G07F—COIN-FREED OR LIKE APPARATUS
- G07F11/00—Coin-freed apparatus for dispensing, or the like, discrete articles
- G07F11/02—Coin-freed apparatus for dispensing, or the like, discrete articles from non-movable magazines
- G07F11/04—Coin-freed apparatus for dispensing, or the like, discrete articles from non-movable magazines in which magazines the articles are stored one vertically above the other
- G07F11/16—Delivery means
-
- G—PHYSICS
- G07—CHECKING-DEVICES
- G07F—COIN-FREED OR LIKE APPARATUS
- G07F11/00—Coin-freed apparatus for dispensing, or the like, discrete articles
- G07F11/02—Coin-freed apparatus for dispensing, or the like, discrete articles from non-movable magazines
- G07F11/04—Coin-freed apparatus for dispensing, or the like, discrete articles from non-movable magazines in which magazines the articles are stored one vertically above the other
- G07F11/16—Delivery means
- G07F11/165—Delivery means using xyz-picker or multi-dimensional article picking arrangements
- G07F11/1653—Delivery means using xyz-picker or multi-dimensional article picking arrangements the picking arrangements being collecting buckets
-
- G—PHYSICS
- G07—CHECKING-DEVICES
- G07F—COIN-FREED OR LIKE APPARATUS
- G07F11/00—Coin-freed apparatus for dispensing, or the like, discrete articles
- G07F11/62—Coin-freed apparatus for dispensing, or the like, discrete articles in which the articles are stored in compartments in fixed receptacles
-
- G—PHYSICS
- G16—INFORMATION AND COMMUNICATION TECHNOLOGY [ICT] SPECIALLY ADAPTED FOR SPECIFIC APPLICATION FIELDS
- G16H—HEALTHCARE INFORMATICS, i.e. INFORMATION AND COMMUNICATION TECHNOLOGY [ICT] SPECIALLY ADAPTED FOR THE HANDLING OR PROCESSING OF MEDICAL OR HEALTHCARE DATA
- G16H20/00—ICT specially adapted for therapies or health-improving plans, e.g. for handling prescriptions, for steering therapy or for monitoring patient compliance
- G16H20/10—ICT specially adapted for therapies or health-improving plans, e.g. for handling prescriptions, for steering therapy or for monitoring patient compliance relating to drugs or medications, e.g. for ensuring correct administration to patients
- G16H20/13—ICT specially adapted for therapies or health-improving plans, e.g. for handling prescriptions, for steering therapy or for monitoring patient compliance relating to drugs or medications, e.g. for ensuring correct administration to patients delivered from dispensers
Definitions
- the present invention relates to a medicine dispensing device.
- a medicine dispensing device for example, a cassette containing a plurality of ampoules is arranged in a matrix on the device body, and four prescriptions are collected using four ampule storage chambers provided in the ampule recovery unit.
- recovering is well-known (for example, refer patent document 1).
- this invention makes it a subject to provide the chemical
- the present invention includes, as means for solving the above-described problems, a medicine dispensing device including a device main body and a plurality of medicine storage containers that are attached to the device main body and are capable of dispensing the stored medicine through a medicine discharge unit.
- the medicine storage unit and the medicine body provided movably in the apparatus main body, moved to each medicine storage container of the medicine storage unit, received the medicine dispensed from the medicine discharge section, moved to the discharge position, and received the medicine Prescription data, a medicine receiving unit having at least two medicine receiving sections, a plurality of medicine collecting sections each collecting medicines discharged from each medicine receiving section at the discharging position, and prescription data
- the medicine receiving unit is moved to receive the medicine dispensed from the medicine container that contains the medicine, and the medicine is collected by the medicine collecting unit.
- a control unit to discharge simultaneously yield portion is obtained by a configuration with a.
- the medicine storage unit is provided with a medicine discharge section along an arbitrary reference surface of the apparatus main body, and the medicine reception unit supports each medicine reception section so as to be movable up and down and left and right along the reference surface.
- a support member may be provided.
- the medicine receiving unit includes a medicine receiving container including two medicine receiving portions arranged in parallel in the horizontal direction, and the medicine receiving container is provided with each medicine receiving portion with respect to the medicine containing container from which the medicine is discharged from the medicine discharging portion. What is necessary is just to provide it so that a reciprocation is possible in a horizontal direction so that it can position.
- the medicine receiving unit includes four medicine receiving parts arranged in parallel in the horizontal direction, and the medicine receiving parts located at both ends are relatively upward or downward with respect to the medicine receiving parts located at two central positions. After moving, it can be aligned by approaching each other.
- the medicine receiving unit includes two medicine receiving containers including two medicine receiving portions arranged in parallel in the horizontal direction, and each medicine receiving portion of each medicine receiving container can change the relative positional relationship between the top, bottom, left, and right. do it.
- all prescriptions for one day can be received by each drug receiving unit, and can be dispensed to each drug collecting unit of the drug recovery unit at a time. . Thereby, a more efficient medicine dispensing operation can be realized.
- a medicine storage member having a plurality of medicine storage parts for temporarily storing the medicines received by each medicine receiving section of the medicine receiving unit before discharging them to each medicine collection section.
- the medicine receiving unit can dispense the corresponding medicine from the medicine container of the medicine containing unit based on the next prescription data, and at a higher speed.
- the payout process can be performed.
- the medicine is vertically long, and the medicine recovery unit is configured such that a vertically long medicine recovery portion is arranged in a direction orthogonal to the longitudinal direction, and a medicine receiving unit is provided between the medicine receiving unit and the medicine recovery unit. It is preferable to provide a direction changing portion that can be rotated between a receiving position for receiving the medicine from the medicine receiving portion of the unit and a delivery position for matching the longitudinal direction of the medicine with the longitudinal direction of the medicine collecting portion.
- the longitudinal direction of the medicine can be made to follow the longitudinal direction of the direction changing section of the medicine collection unit by the direction changing section, so that the medicine can be easily and reliably supplied to each medicine collecting section. Can be paid out.
- two adjacent direction changing units are configured such that at least one starts to rotate from the receiving position to the delivery position and then the other starts to rotate from the receiving position to the delivery position. Is preferred.
- the reason why the rotation start timing of the direction changing portion is shifted is to rotate the direction changing portions without interfering with each other even if they are arranged adjacent to each other. Therefore, when the direction change part is arrange
- a plurality of medicine storage portions of the medicine storage member can be driven up and down integrally, and each medicine storage portion is supported so as to be able to move up and down individually.
- the plurality of medicine storage units can be integrally moved up and down, and the medicine can be dispensed to each medicine collection unit of the medicine collection unit.
- each medicine storage section is individually raised, so that the medicine can be prevented from being damaged.
- the medicine storage unit includes ampules in which the medicine stored in the medicine container is an ampule, and includes a payout member that pays out the ampules one by one along the longitudinal direction thereof.
- a receiving rotating body that supports and rotates the ampoule supported by rotating downward, and a bottom that supports the ampoule that is transferred downward by the rotation of the receiving rotating body and discharges it downward by rotating. And a plate.
- the ampoule supported by the receiving rotator can be transferred to the lower side without an impact force by rotating the receiving rotator, and can be supported on the bottom plate. Therefore, the ampule can be supported in a dischargeable state without damaging it.
- the receiving rotator includes a receiving groove portion having a U-shaped cross section, and when the receiving rotator is located at a normal position, the receiving groove portion is gradually inclined downward in the discharge direction of the ampoule from the medicine container. It is preferable to provide an impact means for reducing the impact force applied to the ampoule that has been moved.
- the ampoule dispensed from the medicine container can be smoothly moved to the receiving groove portion of the receiving rotating body, and the impact force applied to the ampoule can be sufficiently suppressed to prevent damage. It becomes.
- the receiving rotating body is cantilevered so as to be rotatable on the side opposite to the medicine container side, so that the receiving groove portion is opened at the end surface on the medicine container side in the normal position.
- the medicine receiving unit includes a partition plate that is arranged along a rotation direction of the receiving rotating body and guides an ampoule supported by the receiving groove until the ampoule is discharged to the bottom plate.
- the ampoule supported by the receiving groove portion can be guided by the partition plate and smoothly transferred onto the bottom plate by rotating the receiving rotating body.
- the medicine receiving unit includes a plurality of receiving parts arranged in parallel in the horizontal direction, and is configured to be movable within a range that does not protrude in the left-right direction in the front range of the medicine container arranged in parallel in the vertical and horizontal directions. Is preferred.
- the entire apparatus can be configured compactly.
- FIG. 4 is a bottom view of FIG. 3. It is a perspective view which shows the state which looked at the chemical
- FIG. 1 It is a perspective view which shows the chemical
- FIG. 27 is an explanatory view showing a medicine dispensing operation to a medicine storage member by the medicine receiving unit of FIG.
- (A) is a plan view of the medicine receiving unit of FIG. 26,
- (b) is a bottom view, and
- (c) is a rear view.
- FIG. 1 shows a medicine dispensing apparatus according to this embodiment.
- the medicine dispensing apparatus includes a medicine container unit 4, a medicine receiving unit 5, a medicine collection unit 6, and a control unit 7 (see FIG. 7) in a substantially rectangular parallelepiped apparatus body 3 in which an exterior panel 2 is mounted on a frame body 1. ).
- the drug storage unit 4 includes a cassette storage unit 8 and a plurality of cassettes 9 (drug storage units) attached and detached thereto.
- the cassette housing portion 8 is formed by dividing the internal space of the apparatus main body 3 at a predetermined interval in the left-right direction by a plurality of partition walls 10 and further dividing it into two vertically by a horizontal shelf 11 to form a vertically long space.
- On the opposing surface of the partition wall 10 (not shown in detail) is formed, and a plurality of cassettes 9 are detachably arranged in parallel in the vertical direction.
- the cassette 9 stores a plurality of medicines by type, and the width dimension and the height dimension, and the length (depth) dimension differ depending on the size of the ampoule 12 to be accommodated.
- a substantially cylindrical ampoule 12 is accommodated as a medicine in a state of being aligned in the radial direction.
- the ampules 12 are juxtaposed without gaps by being urged toward the medicine dispensing side by a constant load spring 12a. And it pays out one by one by rotating the rotor 13 which comprises a medicine delivery part.
- the rotor 13 includes a recess (not shown) along the outer peripheral surface of the ampoule 12.
- the rotor 13 is rotated by pushing the rod 14 biased in the protruding direction and rotating a pinion provided on the rotating shaft of the rotor 13 via a rack formed on the rod 14.
- Each cassette 9 is arranged so that the discharge position by the rotor 13 is parallel to an arbitrary reference plane (a plane parallel to the front surface of the apparatus main body 1). Further, the cassette 9 is formed with notches (not shown) at the upper and lower edges on the rotor 13 side, and ampules are formed in the notched portions by the optical sensors 1a and reflectors 1b provided at the top and bottom for each row of the apparatus body 1. It is preferable to detect whether 12 is paid out or not.
- the irradiation light is blocked by the notch by the ampoule 12 and is not received by the sensor 1a, so that it is detected reliably. Can do. If the rotor 13 is rotated and the ampoule 12 is paid out and the light is still received by the sensor 1a, the protrusion 13 described later is repeated to rotate the rotor 13. If the light is still received by the sensor, an error may be notified. Since the presence or absence of the ampoule 12 is detected by the notch portion formed in the cassette 9, there is no fear of erroneous detection by the finger or the medicine receiving unit 5 or the like. The sensor 1a and the reflection plate 1b may also detect the insertion / removal state of the cassette 9.
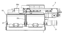
- the drug receiving unit 5 is attached to the frame 1 (a pair of left and right vertical rails 15) on the front side of the apparatus body 3 so as to be reciprocally movable in the vertical (vertical) direction.
- a rail 16 and a slide base 17 attached to the horizontal rail 16 so as to be capable of reciprocating in the left-right (horizontal) direction are provided.
- the slide base 17 is provided with a protruding unit 18 and a medicine receiving container 19.
- the protrusion unit 18 is a protrusion base 20 provided with a protrusion motor 21 and a protrusion pin 22.
- the protruding base 20 has an inverted U shape, and the protruding pin 22 is provided on one end side thereof.
- the projecting pins 22 are reciprocated by a projecting motor 21 via a pinion and a rack (not shown), and push the rods 14 provided in the medicine storage unit 4 to discharge the ampules 12 one by one.
- the medicine receiving container 19 is formed by integrating a side plate 24 and a center plate 25 at both ends and a center portion of the front plate 23, respectively, and surrounding two regions (first medicine receiving portion). 26a and the second medicine receiving portion 26b) are provided with bottom plates 27 on the bottom portions thereof. As shown in FIG. 3, an elastic sheet 31 is disposed on the upper surface of the bottom plate 27. The bottom plate 27 rotates about the support shaft 28a, and in a state where the bottom surface is closed, the bottom plate 27 is gradually inclined downward toward the front plate 23. Thereby, the ampoule 12 paid out from the cassette 9 is smoothly accommodated in each medicine receiving part 26a, 26b.
- each bottom plate 27 rotates synchronously by transmitting power from a motor 28d provided on the front surface of the front plate 23 via a belt 28c spanned on a pulley 28b fixed to the support shaft 28a.
- the bottom is opened and closed.
- the medicine receiving container 19 moves horizontally with respect to the slide base 17, and the medicine receiving portions 26 a and 26 b are respectively positioned with respect to the cassette 9, that is, the protruding base 20 of the protruding unit 18.
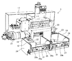
- the drug recovery unit 6 includes a drug storage member 32 and a drug recovery container 34 that is disposed below the drug storage member 32 and is transported by the transport member 33.
- the medicine storage member 32 includes a support part 35 fixed to the apparatus main body 3 and a main body part 36 supported by the support part 35 and capable of moving up and down.
- the main body portion 36 moves up and down by driving a motor (not shown) provided on the support portion 35.
- the main body part 36 is provided with four medicine storage parts 37.
- the bottom surface of each medicine storage unit 37 includes a first inclined plate 38 and a second inclined plate 39.
- the first inclined plate 38 is fixed to the main body 36 and is bent at an intermediate portion.
- a plurality of brushes 40 are integrated with the lower half of the first inclined plate 38 and protrude from the tip.
- the second inclined plate 39 is provided so as to be rotatable about a support shaft 39b by driving of a motor 39a.
- a pulley 39c is fixed to each of the support shafts 39b, and the second inclined plate 39 is rotated synchronously via a belt 39d spanned between the pulleys 39c.
- the second inclined plate 39 has the same configuration as that of the bottom plate 27 of the medicine receiving container 19 and includes a first inclined portion 41 and a second inclined portion 42 that are rotatably connected by a hinge 38a. Note that elastic sheets 43 are placed on the upper surfaces of the first inclined plate 38 and the second inclined plate 39, respectively. Further, if the second inclined plate 39 is arranged on the center side, it is possible to reliably discharge the ampules into the respective drug recovery portions 4 of the drug recovery container 34.
- the amount of the ampoule 12 received can be increased by inclining the first inclined plate 38 inward in accordance with the position of the medicine recovery unit 44.
- the medicine storage member 32 can be enlarged with respect to the medicine collection container 34, the storage amount of the ampule 12 can be increased.
- the conveyance member 33 includes a conveyance belt 33a that is driven by a motor (not shown).
- the conveyance member 33 carries the drug collection container 34 into the apparatus main body 3, temporarily stops at the collection position, and then carries it out.
- the drug recovery container 34 is divided into four parts by a partition plate 34a, whereby a drug recovery part 44 is formed. This is in accordance with the maximum number of prescriptions (morning, noon, evening, evening) per patient.
- the size of each drug collection unit 44 corresponds to each drug storage unit 37 of the drug storage member 32.
- control unit 7 moves the medicine receiving container 19 by driving and controlling various motors based on the prescription data input from the host computer or the like. Let Then, the corresponding medicine is dispensed and collected from the cassette 9 of the medicine storage unit 4, and the medicine is collected into the medicine collection container 34 via the medicine storage member 32. Thereafter, the medicine collection container 34 is moved to carry out the collected medicine.
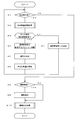
- step S1 based on the prescription data, it is determined whether there is a medicine dispensing instruction (step S1). If there is a dispensing instruction, the medicine dispensing quantity is calculated (step S2).
- step S21 it is determined to which medicine receiving portion 26 of the medicine receiving container 19 the medicine is to be dispensed.
- the first medicine receiving unit is determined first, and is changed to the second medicine receiving unit in step S27 described later.
- the paid-out quantity Y (i) is added, and even if the value exceeds the unpaid quantity X or the paid-out quantity Y (i) is less than the unpaid quantity X, the number 1 is satisfied. If it is determined that no more medicines can be stored in the first medicine receiving unit, the current delivery quantity (n) before adding the delivery quantity Y (i) is determined (step S26). Then, the medicine receiving unit 26 that dispenses the medicine is changed to the next second medicine receiving unit (step S27).
- step S28 the steps S21 to S27 are continued in the same manner until the amount of medicine dispensed to the second medicine receiving unit is calculated.
- step S3 it is determined whether or not there is a medicine receiving unit 26 that can dispense the medicine.
- step S4 To the cassette 9 to be performed (step S4).
- the medicine receiving container 19 is moved, and the first medicine receiving portion 26a is positioned at a position where it can be dispensed from the cassette 9 containing the corresponding medicine.
- medical agent accommodation unit 4 is pushed in by making the protrusion pin 22 of the protrusion unit 18 protrude, the rotor 13 is rotated, and the medicine is discharged one by one.
- step S5 the amount of medicine calculated in advance in step S2 is dispensed from the cassette 9 to the medicine receiver 26 (step S5).
- the unpaid quantity is updated based on the dispensed quantity (step S6).
- steps S4 to S6 is continued until there is no longer any medicine receiving unit 26 that can dispense the medicine in step S3.
- the medicines are continuously dispensed from the cassette 9 to the respective medicine receivers 26 until all of the calculated dispensed quantities are delivered to both the first medicine receiver 26a and the second medicine receiver 26b.
- the protruding unit 18 is provided on the first medicine receiving section 26a side, so that the medicine receiving container 19 is slid to move the second medicine receiving section 26b. Is positioned on the protruding unit 18.
- the payout order can be freely set. For example, when one A medicine is dispensed to the first medicine receiving section 26a, one A medicine and one B medicine are dispensed to the second medicine receiving section 26b, the A medicine is dispensed to the first medicine receiving section 26a. Thereafter, the second medicine receiving unit 26b may pay out one B medicine first instead of the A medicine. Further, when one A medicine and one B medicine are paid out to the first medicine receiving section 26a and one A medicine is paid out to the second medicine receiving section 26b, one A medicine is given to the first medicine receiving section 26a.
- one medicine B may be dispensed to the first medicine receiving section 26a first, or the first medicine receiving section 26a.
- one medicine A may be paid out by the second medicine receiver 26b.
- a medicine receiving operation is performed by one medicine receiving unit 26 will be described. For example, when the receiving limit amount of the medicine receiving unit 26 is 10, 6 A medicines of size 3 and 6 B medicines of size 2 are paid out, if 3 A medicines are delivered to the medicine receiving part 26, It is impossible to dispense more medicines to the medicine receiving unit 26. Therefore, the medicine A is once discharged from the medicine receiver 26 to the medicine storage member 32.
- the medicine receiving unit 26 is moved again, and a second dispensing operation for dispensing three A drugs is executed. Subsequently, five B medicines are dispensed to the medicine receiving unit 26 in the third dispensing operation, and one B medicine remaining in the medicine receiving unit 26 is dispensed in the fourth dispensing operation. According to this, the payout operation is four times. On the other hand, if 4 A medicines and 2 B medicines are set as 1 set and it pays out, it can be completed by 3 paying-out operations.
- Step S7 the medicine receiving container 19 is moved to the medicine storing member 32, and all the dispensed medicines are sent to the corresponding medicine storing units 37.
- the first medicine receiver 26a is positioned in the first medicine reservoir of the medicine reservoir 32
- the second medicine receiver 26b is positioned in the second medicine reservoir.
- the bottom plate 27 is rotated to open the bottom surface, and the medicine is discharged from each medicine receiving section 26 to each corresponding medicine storage section 37 at two locations simultaneously.
- step S31 it is determined whether or not the medicine is stored in all the medicine storage portions 37 of the medicine storage member 32. If the storage of the medicine is completed, it waits until the medicine collection container 34 is positioned at the lower discharge position (step S32). When the medicine collection container 34 is positioned at the discharge position, the medicine storage member 32 is lowered (step S33). Subsequently, when the lowering position detection sensor (not shown) detects that the medicine storage member 32 has been lowered to the discharge preparation position near the discharge position (step S34), the medicine storage member 32 is stopped and the second inclined plate 39 is moved. By rotating, the bottom surface is opened (step S35).
- the second inclined plate 39 is rotated until it is detected by an open position detection sensor (not shown) (step S36). As a result, the stored medicines are dispensed to the respective medicine collection portions 44 of the medicine collection container 34 all at once. Thereafter, if the second inclined plate 39 is rotated to a predetermined position, the tablet storage member 32 is raised to the discharge standby position (step S37), and the drug storage member 32 is detected by a standby position detection sensor (not shown) (Step S38), the rising of the medicine storage member 32 is stopped, and the second inclined plate 39 is rotated to close the bottom surface (Step S39). The medicine collection container 34 from which the medicine has been dispensed is carried out to the next step, and the next medicine collection container 34 is carried in.
- each of the medicine receiving portions 26 also serves as the protruding unit 18, so that the medicine can be paid out reliably at high speed. This is particularly effective when the medicines are continuously dispensed from the same cassette 9. Furthermore, since the medicine can be temporarily stored in the medicine storage member 32 disposed in the vicinity of the medicine collection container 34 and the stored medicine can be discharged to the medicine collection container 34 at the same time, a quick dispensing operation can be performed. At the same time, the ampoule 12 that is a medicine does not have any problems such as cracks.
- the medicine storage member 32 is temporarily stored before the medicine is discharged from the medicine receiving container 19 to the medicine collection container 34.
- the medicine storage member 32 is not necessarily required.
- the medicine may be dispensed directly from the receiving container 19 to each medicine collection unit 44 of the medicine collection container 34.
- the medicine receiving container 19 is configured to move the pair of medicine receiving portions 26 vertically and horizontally while being adjacent to each other. However, each medicine receiving portion 26 may be individually moved vertically and horizontally. . According to this, while one medicine receiving unit 26 is receiving a medicine from a certain cassette 9, the other medicine receiving part 26 is receiving another cassette 9 (regardless of whether or not the medicine is the same). The medicine can be received from the medicine, and the medicine can be dispensed at a higher speed.
- the medicine receiving unit 5 includes the medicine receiving container 19 including the two medicine receiving portions 26.
- the medicine receiving container 19 including the two medicine receiving portions 26 For example, as shown in FIG. A configuration in which two medicine receiving containers 19 including two medicine receiving portions 26 are provided is also possible.
- the medicine receiving unit 5 includes a pair of left and right vertical rails 15 on the front side of the apparatus main body 3, a horizontal rail 16 provided on the vertical rail 15 so as to be reciprocable in the vertical direction, and And a slide base 17 provided so as to be movable.
- the slide base 17 is provided with a horizontal drive mechanism for driving each medicine receiving container 19 in the left-right direction.
- the horizontal drive mechanism has a belt 101 spanned between a pair of pulleys 100 (one is not shown), and one pulley 100 is rotated forward and backward by driving of a motor 102.
- each medicine receiving container 19 is connected to the belt 101 via a connecting portion 103.
- the connecting position is the central portion of each linear portion of the belt 101 if each medicine receiving container 19 has a positional relationship in which the medicine receiving containers 19 overlap vertically. From this state, when the motor 102 is driven to rotate forward and backward, each medicine receiving container 19 reciprocates left and right.
- a projecting unit 45 is attached to the lower surface of the slide base 17.
- the protruding unit 45 includes a ceiling plate 46, both side plates 47 extending downward from both ends thereof, and a partition plate 48 extending downward from the lower surface of the central portion of the ceiling plate 46 and partitioning both side surfaces.
- Motors 50a are respectively provided on the ceiling plates 46 in the two regions partitioned by the partition plate 48. Each motor 50a can advance and retract the protruding pins 50 by a rack and a pinion (not shown).
- the vertical drive mechanism includes a pair of first sliders 52 extending downward from both side plates 47 of the projecting unit 50, and a substantially U-shaped second slider 53 provided on each first slider 52 so as to be slidable in the vertical direction.
- Pulleys 110 are provided on both upper ends of the ceiling plate 46 of the protruding unit 50 and on both side plates 47, respectively.
- Belts 111 are stretched between a pulley 110 positioned above and below one end and a pulley 110 positioned above and below the other end.
- the pulleys 110 positioned on the upper side are connected to each other by a support shaft 112, and the pulley 110 positioned on the lower side of one end is rotated by driving of the motor 113.
- Each drug receiving container 54 is connected to each belt 111 via a connecting portion 114.
- a connection position is each linear part of the belt 111 located back and forth. Therefore, when the motor 113 is driven to rotate forward and backward, the second slider 53 moves up and down via the pulley 110 and the belt 111, and each medicine receiving container 19 moves in the opposite vertical direction.
- Each medicine receiving portion 55 constituting the medicine receiving container 19 includes a substantially U-shaped frame 56 and a bottom plate 57 that covers the bottom surface and one side surface of the frame 56.
- Each bottom plate 57 is provided so as to be rotatable about the same support shaft 57a, and power is transmitted through the pulley 121 and the belt 122 by forward and reverse rotation driving of a motor 120 (for example, a stepping motor). ing. Thereby, the bottom face of each medicine receiving part 26 closes or opens the bottom face and the side face in synchronization.
- the medicine receiving unit 5 includes two medicine receiving containers 19 each including two medicine receiving portions, and is moved up, down, left, and right as shown in FIGS. 14A to 14I in units of medicine receiving containers.
- each set is moved left and right from the position where the third and fourth medicine receiving portions 26c and 26d and the first and second medicine receiving portions 26a and 26b overlap each other. Move. Then, as shown in FIG. 14 (b), when it reaches a position that does not overlap with each other in the vertical direction, as shown in FIG. 14 (c), the first and second medicine receivers 26a and 26b are moved up, The medicine receiving portions 26a to 26d are arranged in a line in this order. In addition, when the left and right positions of the first and second medicine receivers 26a and 26b and the third and fourth medicine receivers 26c and 26d are changed, the operations shown in FIGS. 14D and 14E are performed.
- the movement of the medicine receiving unit 5 may be configured as follows.
- the four medicine receiving parts are first to fourth medicine receiving parts 55a to 55d (indicated by numerals 1 to 4 circled in the figure) in order from the end,
- the first medicine receiving section 55a and the fourth medicine receiving section 55d can be moved vertically and horizontally with respect to the second medicine receiving section 55b and the third medicine receiving section 55c that are positioned.
- the position of the protruding pin 50 is indicated by a triangle.
- the first medicine receiving portion 55a and the fourth medicine receiving portion 55d are moved downward and moved toward each other.
- the second medicine receiver 55b and the third medicine receiver 55c are positioned below. Thereafter, all of these medicine receiving portions 55a to 55d are moved upward so that the first medicine receiving portion 55a and the fourth medicine receiving portion 55d can receive the medicine dispensed from the cassette 9 by using the protruding pin 50. .
- the medicine receiving unit 5 may be configured such that four medicine receiving portions 55a to 55d (indicated by numerals 1 to 4 circled in the figure) are movable.
- the first medicine receiving portion 55a and the second medicine receiving portion 55b are rotatably connected by a link.
- medical agent receiving part 55d are connected so that rotation is possible by a link.
- both links are connected so that rotation is possible by a link.
- the medicine receiving portions 55a to 55d can be arranged in various arrangement patterns shown in FIG.
- Each of the medicine receiving portions 55a to 55d is arranged so that the medicines can be dispensed to any of the medicine receiving portions 55a to 55d even if the cassette 9 is mounted on both sides and vertically aligned, particularly the cassette 9 at the four corners.
- the arrangement pattern can be changed.
- the number of the medicine receiving units 26 is not limited to 2 or 4, and may be 3 or 5 or more.
- a direction changing container 61 for changing the direction of the medicine is separately provided between the medicine receiving unit 5 and the medicine storage member 32 so that the medicine can be smoothly delivered to the medicine storage member 32. Is preferred.
- the direction changing container 61 has a horizontal plane in the transport direction (right direction in the figure) around the support shaft 62 provided at one end of one side edge. It rotates in the range of about 90 degrees between the horizontal position along and the vertical position orthogonal to this.
- the bottom plate 61a of the direction changing container 61 is provided so as to be rotatable about a rotation shaft (not shown) at one side edge.
- the bottom plate 61a is supported by the upper surface of the support plate 63 and maintains a closed state.
- the bottom plate 61a loses support of the upper surface and is released by its own weight. Further, the bottom plate 61 a reaches the upper surface of the support plate 63 from the medicine storage member 32, and the bottom plate 61 a is automatically returned to the closed state by pressing the bottom surface.
- a first cam 64 is integrated with the support shaft 62, and power from a motor 68 is transmitted through a second cam 65, a driven gear 66 and a drive gear 67.
- the first cam 64 includes a first arm portion 69 that extends from the support shaft 62 on both sides, and a second arm portion 70 that extends in a direction orthogonal to the first arm portion 69.
- a notch groove 71 is formed in the center of the second arm portion 70 from the tip.
- first arc surfaces 72 are formed on both sides of the second arm portion 70 toward the first arm portion 69.
- the second cam 65 is provided in the vicinity of the first cam 64 so as to be rotatable about the support shaft 73.
- the 2nd cam 65 is comprised by the large diameter part 74 and the small diameter part 75 integrated in the center part.
- the outer peripheral surface of the small diameter portion 75 is in sliding contact with the first arc surface 72 of the first cam 62, and restricts the rotational position of the first cam 64.
- the small-diameter portion 75 has second arcuate surfaces 76 formed at two symmetrical positions.
- the large diameter portion 74 has a protrusion 77 at a position on the outer peripheral side that bisects one second arc surface 76 of the small diameter portion 75.
- the protrusion 77 engages / disengages with the cutout groove 71 of the first cam 64 and enables the first cam 64 to rotate in conjunction with the second cam 65 in the engaged state.
- a gear (not shown) is formed on the outer peripheral portion of the large diameter portion 74.
- the driven gear 66 includes a large diameter gear 78 and a small diameter gear (not shown).
- the small diameter gear meshes with a gear (not shown) formed on the large diameter portion 74 of the second cam 65.
- the drive gear 67 is integrated with the rotating shaft of the motor 68 and meshed with the driven gear 66.
- the driven gears 66 are engaged with the driven gears 66 of the two direction change containers 61 arranged adjacent to each other, and the two direction change containers 61 can be synchronously rotated via the drive gear 67. ing.
- the rotation start timing is shifted at two adjacent positions (hereinafter, the subscript A is attached to the left member of the two right positions in FIG.
- the subscript B is given to the member of (2). That is, as shown in FIG. 21A, the second cams 65A and 65B are assumed to have the positional relationship between one small diameter portion 75A and the other small diameter portion 75B shifted by 90 degrees in the rotational direction. Accordingly, when the motor 68 is driven and the driven gears 66A and 66B are rotated counterclockwise via the drive gear 67, the respective parts operate as follows.
- the protrusion 77A of the second cam 65A enters the cutout groove 71A of the first cam 64A, and as shown in FIG. 21B, the first cam 64A is moved counterclockwise about the support shaft 62A. Rotate. Thereby, as shown in FIG.20 (b), direction change container 61A starts rotation. Then, when the first cam portion 64A rotates 90 degrees, the projection 77A drops off from the notch groove 71A, the first cam portion 64A stops, and the direction changing container 61A is in the vertical direction as shown in FIG. It becomes the orientation position. At this time, the bottom plate 61a of the direction changing container 61A loses the support by the support plate 63 and is opened, and the stored medicine is discharged to the medicine storage member 32.
- the direction changing container 61B can be started to turn and be turned from the horizontal position to the vertical position. Therefore, the direction change containers 61A and 61B can be smoothly and smoothly rotated without interfering with each other within a limited area.
- the motor 66 When rotating the direction change containers 61A and 61B from the vertical position to the horizontal position, the motor 66 may be driven in reverse to perform the reverse operation. Further, the two left side direction change containers 61 are only line-symmetrical with the above two right side containers, and the basic movement is the same.
- the two direction change containers 61 can be driven by one motor.
- each direction change container 61 can be rotated forward and backward by a motor provided individually. Is possible.
- medical agent storage member 32 was set as the structure which only raises / lowers and opens / closes the 2nd inclination board 39 with respect to the 1st inclination board 38, it is preferable to comprise as follows.
- the medicine storage member 32 can be moved up and down integrally at two places on the right side and two places on the left side, and the two places on the right side and the two places on the left side can be raised and lowered independently. It has become.
- Each medicine storage member 32 includes a back surface portion 81 extending upward on the back surface side.
- Guide pieces 82 having a substantially U-shaped cross section are fixed to the back surface of the back surface portion.
- Two guide shafts 83 extending in the up-down direction are integrally arranged on the upper and lower surfaces of the guide piece 82.
- the two guide shafts 83 provided on the back surface portion 81 of the two drug storage members 32 on the right side penetrate the two support portions 84 a provided on the front surface of the first support block 84.
- the two guide shafts 83 provided on the back surface of the two drug storage members 32 on the left side penetrate the two support portions 85 a provided on the front surface of the second support block 85.
- the back surface portion 81 that is, each drug storage member 32 is supported via the guide shaft 83 so as to be able to move up and down independently of the support blocks 84 and 85.
- the support blocks 84 and 85 are supported by a slide shaft 86 provided in the apparatus main body 3 so as to be movable up and down.
- a coil spring 87 is externally mounted on each slide shaft 86.
- the coil spring 87 is elastically supported when the support blocks 84 and 85 are lowered, thereby preventing the medicine storage member 32 from colliding with the medicine collection container 34.
- the coil spring 87 may be directly attached to each of the support blocks 84 and 85 (it is not necessarily required to be mounted on the slide shaft 86).
- the support blocks 84 and 85 and the medicine storage member 32 are moved up and down through the drive gear 89, the driven gear 90, the pulley 91, and the belt 92 by driving the motor 88 forward and backward. That is, the drive gear 89 is integrated with the rotating shaft 88 a of the motor 88, and the driven gear 90 is engaged with the drive gear 89.
- a pulley 91 is integrated with the driven gear 90.
- one end of a belt 92 is fixed to the pulley 91.
- the belt 91 can be wound and rewound by rotating the pulley 91 forward and backward.
- the other end of the belt 92 is connected to support blocks 84 and 85 that support the two drug storage members 32. Accordingly, when the motor 88 is driven to rotate forward and backward, the support blocks 84 and 85 and the medicine storage member 32 are moved up and down via the gears 89 and 90, the pulley 91 and the belt 92.
- a belt 95 is built in the back surface portion 81 of each medicine storage member 32 so as to span the pulleys 93, 94 arranged vertically.
- a gear 96a is integrated with the rotary shaft 94a of the pulley 94 on the lower side.
- three gears 96b, 96c, and 96d are arranged in parallel on one end side of the medicine storage member 32. Adjacent ones of these gears 96a to 96d mesh with each other.
- the rotation axes of the gears 96 a and 6 d located on both sides are the rotation centers of the first bottom plate 97 and the second bottom plate 98.
- the medicine is supplied from the medicine receiving container 19 and the direction changing container 61 as in the above embodiment.
- the support blocks 84 and 85 are raised along the slide shaft 86, and the medicine storage member 32 is positioned at the upper receiving position.
- the medicine collection container 34 is positioned at an appropriate position below the medicine storage member 32, and this time, the motor 88 is driven in reverse, so that the medicine storage member 32 is moved. Located at the lower delivery position. At this time, when the medicine storage member 32 is lowered to a predetermined position, the support blocks 84 and 85 are brought into contact with the coil spring 87 to receive an upward biasing force, and the lowering speed is reduced. For this reason, it is possible to prevent such a problem that one or both of the medicine storage members 32 collide with the medicine collection container 34 and are damaged.
- the bottom plates 97 and 98 are opened, and the medicine is dispensed to each medicine collection section 44 of the medicine collection container 34.
- the coil spring 87 is elastically supported, and each medicine reservoir 37 is supported so that the guide shaft 83 is slidable. As a result, the drug does not move upward and an excessive load is not applied to the medicine.
- the ampule 12 is discharged from the cassette 9 in the horizontal direction, but the ampule 12 may be discharged in the vertical direction.
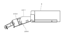
- the ampules 12 accommodated randomly in the cassette 9 are discharged in the vertical direction (along the longitudinal direction) by the payout member 200 as shown in FIG.
- the payout member 200 is configured such that a rotor 202 having a plurality of holding recesses (not shown) along the axial direction on an outer peripheral portion is rotatably disposed in a guide passage 201.
- the ampules 12 held in the vertical direction by the holding recesses are discharged from the guide passage 201 one by one as the rotor 202 rotates.
- the ampoule 12 discharged from the cassette 9 is received by the medicine receiving unit 203 shown in FIG.
- This medicine receiving unit 203 is formed by dividing the inside of the frame 204 into two by a pair of partition plates 25 to form two receiving portions 206 arranged side by side.
- the movement range is set only so that it does not protrude from the side area of the cassette 9 in which the receiving unit 206 is arranged and arranged in front of the space occupied by the cassette 9 (the side from which the medicine is discharged). ing. Therefore, the entire apparatus can be formed compactly.
- the left and right end (vertical direction) columns limit the movement range of the medicine receiving unit 203 as described above, so that only one of the receiving units 206 is used. Unable to receive dispensed medication.
- the first to seventh cassettes 9 are mounted at the top, and each receiving unit 206 of the medicine receiving unit 203 receives the medicine from the first cassette 9.
- FIG. 29B it can be received only by the receiving unit 206 at the X position.
- the low usage frequency may be determined by, for example, the prescription frequency (for example, the number of prescription drugs) included in the past prescription data.
- Each receiving portion 206 includes a receiving rotating body 207 and a bottom plate 208, which are rotatably attached to the frame body 204.
- Each partition plate 205 is formed with a curved surface 205a that gradually protrudes inward in the vertical direction.
- the receiving rotating body 207 is formed by molding a synthetic resin material, includes a receiving groove portion 209 having a substantially U-shaped cross section, and is cantilevered so as to be rotatable about the support shaft 207a on the front plate 204a of the frame body 204. .
- the receiving groove 209 is formed so as to open upward and to the cassette 9 side, and gradually incline (become deeper) downward from the cassette 9 side toward the front. Yes.
- the (semi-circular) opening on the cassette 9 side of the receiving groove 209 is positioned at the payout opening of the payout member 200.
- the inclination angle of the receiving groove 209 is set to such a value that the ampoule 12 delivered from the cassette 9 can move smoothly and the moving speed does not become too fast. Here, it is about 20 degrees. However, this angle is changed due to the difference in slipperiness of the ampoule 12 due to the influence of the material of the receiving rotating body 207, the surface roughness of the receiving groove 209, and the like.
- the driven gear 210 is integrated with the support shaft 207 a of the receiving rotating body 207.
- the driving force from the motor 211 is transmitted to the driven gear 210 via the driving gear 212 and the intermediate gear 213, and the receiving rotating body 207 rotates.
- the rotation direction of the receiving rotating body 207 is a direction in which the receiving groove portion 209 is directed from the partition plate 205 side to the bottom plate 208.
- the receiving rotating body 207 has an inclined surface in which a part of the bottom surface gradually inclines forward along with the inclination of the receiving groove portion 209. Further, the receiving rotating body 207 is formed with tapered surfaces at both side edges of the receiving groove 209 so as to avoid interference with the partition plate 205 during rotation. Although not shown, the receiving rotating body 207 is formed with a through hole that opens above the receiving groove 209, and the ampoule 12 that passes through the through hole by an optical sensor (consisting of a light emitting element and a light receiving element). Can be detected.
- an elastic member such as urethane rubber is attached to the receiving rotating body 207 as a buffering means on the inner end surface of the receiving groove 209.
- a deceleration region for example, a horizontal surface or a curved surface
- the deceleration area becomes a buffer means.
- an impact absorbing material such as urethane
- the bottom plate 208 is provided on the frame body 204 so as to be rotatable between a closed position and an open position about a support shaft 208a.
- the driven gear 215 is integrated with the support shaft 208 a so that the driving force from the motor 216 is transmitted via the driving gear 217 and the driven gear 218. It has become. Further, by stopping energization of the motor 216, the bottom plate 208 can be rotated.
- the bottom plate 208 is formed with guide walls 214 extending upward from both side portions and the edge portion on the support shaft side. Further, the tip side of the bottom plate 208 (the side opposite to the support shaft 208a) is formed so as to be gradually inclined upward toward the tip.
- the bottom plate 208 When the bottom plate 208 is located at the closed position, the bottom plate 208 abuts on (or is located near) the lower surface of the lower end portion (a portion protruding horizontally) of the partition plate 205, and the partition plate 205, the guide wall, and a part of the bottom surface As a result, a holding region capable of holding the ampoule 12 is formed.
- the ampule 12 is dispensed as follows.
- the medicine receiving unit 203 is moved to the front of the cassette 9. And the opening part of the receiving rotation body 207 of the chemical
- FIG. 28 (1) by rotating the rotor 202 of the dispensing member 200, the ampules 12 are dispensed one by one from the cassette 9 (FIG. 28 (1)).
- the discharged ampule 12 enters the receiving groove 209 of the receiving rotating body 207 of the medicine receiving unit 203 in the vertical direction (FIG. 28 (2)).
- the receiving groove portion 209 is formed so as to be gradually inclined downward toward the payout direction of the ampoule 12.
- the inclination angle is set to an appropriate value. Therefore, the ampoule 12 paid out from the cassette 9 in the vertical direction moves smoothly in the receiving groove portion 209 without receiving much impact force, and the tip portion abuts on the inner surface and stops.
- the motor 211 is driven to rotate the receiving rotator 207 (FIG. 28 (3)). Due to the rotation of the receiving rotating body 207, the ampoule 12 held in the receiving groove 209 rolls from the deepest position to one side edge along the inner surface (FIG. 28 (4)). Then, when the side edge portion moves away from the curved surface 205a on the lower end side of the partition plate 205 (FIG. 28 (5)), this time, the curved surface 205a rolls to the bottom plate 208 (FIG. 28 (6)). Thereafter, when the receiving rotating body 207 returns to the normal position, the next ampule 12 is paid out (FIG. 28 (7)).
- the medicine receiving unit 203 is moved to the medicine storage member 32 of the medicine collection unit (FIG. 28 (8)). Then, by driving the motor to rotate the bottom plate 208 and opening the bottom surface (FIG. 29 (9)), the ampoule 12 held on the bottom plate 108 is transferred to each drug storage portion 37 of the drug storage member 32. Discharge. Further, as the bottom plate 208 rotates, the medicine receiving unit 203 is gradually moved upward (FIG. 28 (10)). At this time, the energization to the motor 216 is stopped to bring the bottom plate 208 into a rotatable state.
- the medicine receiving unit 203 having the above-described configuration, even if the ampoule 12 is paid out from the cassette 9 in the vertical direction, it can be smoothly transported to the medicine collecting unit without being damaged.
- the ampoule 12 can be transferred onto the bottom plate 208 one by one by the receiving rotating body 207, the ampoule does not interfere with each other, and the occurrence of a problem that the head is easily damaged is prevented. be able to.
- the ampules are aligned side by side, and the ampule 12 that has been rolled by the rotation of the receiving rotating body 207 and the ampule 12 that is already positioned on the bottom plate 208 are damaged even if they collide with each other. There is no.
- the receiving rotating body 207 is not only configured to have a receiving groove portion 209 having a substantially U-shaped cross section, but, for example, has a substantially cylindrical shape so that an opening through which the ampoule 12 can pass is formed in a part of the outer peripheral surface thereof. You may comprise. Then, the receiving rotating body 207 is rotated while the ampule 12 is held, and when the opening moves downward, the ampule 12 can be moved to the curved surface 205a on the lower end side of the partition plate 205. That's fine.
- Drug storage member 33 Transport member 34 ... Drug collection container 35 ... Supporting part 36 ... Body part 37 ... Drug storage part 38 ... First inclined plate 39 ... 2nd inclined plate 40 ... Brush 41 ... 1st inclined part 42 ... 2nd inclined Part 43 ... Elastic sheet 44 ... Drug recovery part 45 ... Protruding unit 46 ... Ceiling board 47 ... Side plate 48 ... Partition plate 49 ... Front plate 50 ... Protruding pin 51 ... Vertical drive mechanism 52 ... First slider 53 ... Second slider 54 ... Drug receiving container 55 ... Drug receiving part 56 ... Frame 57 ... Bottom plate 58 ... Drug receiving part 61 ... Direction changing container 62 ... Support shaft 63 ... Support plate 64 ... First cam 65 ... Second cam 66 ...
- Pulley 101 ... Belt 102 ... motor 103 ... connecting part 110 ... pulley 111 ... belt 112 ... spindle 113 ... motor 114 ... connecting part 120 ... motor 121 ... pulley 122 ... belt 200 ... dispensing member 201 ... guide passage 202 ... rotor 203 ... drug receiving unit 204 ... Frame 204a ... Front plate 205 ... Partition plate 205a ... Curved surface 206 ... Receiving part 207 ... Receiving rotating body 207a ... Spindle 208 ... Bottom plate 209 ... Receiving groove part 210 ... Drive gear 211 ... Motor 212 ... Drive gear 213 ... Intermediate gear 214 ... Guide wall
Landscapes
- General Physics & Mathematics (AREA)
- Physics & Mathematics (AREA)
- Health & Medical Sciences (AREA)
- Engineering & Computer Science (AREA)
- Veterinary Medicine (AREA)
- Mechanical Engineering (AREA)
- Life Sciences & Earth Sciences (AREA)
- Animal Behavior & Ethology (AREA)
- General Health & Medical Sciences (AREA)
- Public Health (AREA)
- Medicinal Chemistry (AREA)
- Pharmacology & Pharmacy (AREA)
- Medical Informatics (AREA)
- Quality & Reliability (AREA)
- Chemical & Material Sciences (AREA)
- Medical Preparation Storing Or Oral Administration Devices (AREA)
Priority Applications (4)
| Application Number | Priority Date | Filing Date | Title |
|---|---|---|---|
| KR1020167022313A KR101743412B1 (ko) | 2008-09-19 | 2009-09-17 | 약제 불출 장치 |
| CN200980137002.2A CN102159171B (zh) | 2008-09-19 | 2009-09-17 | 药剂配发装置 |
| US13/119,933 US8991138B2 (en) | 2008-09-19 | 2009-09-17 | Medicine dispensing device |
| EP09814320.9A EP2338459A4 (en) | 2008-09-19 | 2009-09-17 | DEVICE FOR DISPENSING MEDICAMENTS |
Applications Claiming Priority (6)
| Application Number | Priority Date | Filing Date | Title |
|---|---|---|---|
| JP2008241657 | 2008-09-19 | ||
| JP2008-241657 | 2008-09-19 | ||
| JP2009-025113 | 2009-02-05 | ||
| JP2009025113 | 2009-02-05 | ||
| JP2009-214708 | 2009-09-16 | ||
| JP2009214708A JP5564868B2 (ja) | 2008-09-19 | 2009-09-16 | 薬剤払出装置 |
Publications (1)
| Publication Number | Publication Date |
|---|---|
| WO2010032475A1 true WO2010032475A1 (ja) | 2010-03-25 |
Family
ID=42039322
Family Applications (1)
| Application Number | Title | Priority Date | Filing Date |
|---|---|---|---|
| PCT/JP2009/004697 Ceased WO2010032475A1 (ja) | 2008-09-19 | 2009-09-17 | 薬剤払出装置 |
Country Status (6)
| Country | Link |
|---|---|
| US (1) | US8991138B2 (enExample) |
| EP (1) | EP2338459A4 (enExample) |
| JP (1) | JP5564868B2 (enExample) |
| KR (2) | KR101743412B1 (enExample) |
| CN (1) | CN102159171B (enExample) |
| WO (1) | WO2010032475A1 (enExample) |
Cited By (1)
| Publication number | Priority date | Publication date | Assignee | Title |
|---|---|---|---|---|
| CN103158993A (zh) * | 2013-04-09 | 2013-06-19 | 苏州艾隆科技股份有限公司 | 发筐机 |
Families Citing this family (45)
| Publication number | Priority date | Publication date | Assignee | Title |
|---|---|---|---|---|
| JP5888369B2 (ja) * | 2008-09-19 | 2016-03-22 | 株式会社湯山製作所 | 薬剤払出装置 |
| KR101254658B1 (ko) * | 2011-03-15 | 2013-04-15 | (주)제이브이엠 | 약품공급장치 |
| KR101254659B1 (ko) * | 2011-03-15 | 2013-04-15 | (주)제이브이엠 | 약품공급장치 |
| KR101254651B1 (ko) * | 2011-03-15 | 2013-04-15 | (주)제이브이엠 | 약품공급장치 |
| KR101293099B1 (ko) | 2011-03-15 | 2013-08-12 | (주)제이브이엠 | 약품공급장치 |
| CN102491041B (zh) * | 2011-12-07 | 2014-12-10 | 深圳市瑞驰智能系统有限公司 | 一种发药系统、控制端及发药方法 |
| EP2840547A4 (en) * | 2012-04-18 | 2016-08-03 | Jvm Co Ltd | DRUG DELIVERY SYSTEM AND CONTROL METHOD THEREFOR |
| JP6015125B2 (ja) * | 2012-05-18 | 2016-10-26 | 株式会社湯山製作所 | 薬剤払出装置 |
| US9098983B2 (en) * | 2012-05-29 | 2015-08-04 | Carefusion 303, Inc. | Single-item-access drawer |
| USD702273S1 (en) * | 2012-09-27 | 2014-04-08 | Jvm Co., Ltd. | Tablet distributing apparatus |
| US20140102859A1 (en) | 2012-10-12 | 2014-04-17 | Mckesson Automation Inc. | Apparatuses, systems, and methods for dispensing medications from a central pharmacy to a patient in a healthcare facility |
| US9150119B2 (en) | 2013-03-15 | 2015-10-06 | Aesynt Incorporated | Apparatuses, systems, and methods for anticipating and delivering medications from a central pharmacy to a patient using a track based transport system |
| WO2014068942A1 (ja) * | 2012-11-01 | 2014-05-08 | パナソニックヘルスケア株式会社 | 薬剤収納カセットと、それを装着する薬剤払出装置 |
| JP6341197B2 (ja) * | 2013-04-02 | 2018-06-13 | 株式会社湯山製作所 | 薬剤調剤システム |
| WO2015033517A1 (ja) * | 2013-09-05 | 2015-03-12 | パナソニックヘルスケア株式会社 | 薬品払出ユニット、それを備えた薬品払出装置、及び薬品払出装置の制御方法 |
| KR102114901B1 (ko) * | 2013-10-02 | 2020-05-25 | (주)제이브이엠 | 약제 불출 장치 |
| JP6235320B2 (ja) * | 2013-11-28 | 2017-11-22 | 株式会社イシダ | 薬剤自動払出装置 |
| CN103803104B (zh) * | 2014-03-14 | 2016-02-03 | 四川新绿色药业科技发展股份有限公司 | 中药饮片发药机及其发药方法 |
| CN106163485B (zh) * | 2014-05-09 | 2022-09-09 | 株式会社汤山制作所 | 药剂分类装置及药剂分类方法 |
| CA2898372C (en) | 2014-07-23 | 2021-05-18 | Express Scripts, Inc. | Systems and methods for a unit-of-use wrap seal packing station |
| US9944419B2 (en) * | 2014-07-23 | 2018-04-17 | Express Scripts Strategic Development, Inc. | Systems and methods for a unit-of-use wrap seal packing station |
| CN104692012A (zh) * | 2015-01-12 | 2015-06-10 | 深圳市创自技术有限公司 | 用于自助发放机的传输机构、传送装置及自助发放机 |
| EP3315111B1 (en) * | 2015-06-29 | 2023-02-22 | Yuyama Mfg. Co., Ltd. | Medicine dispensing device |
| CA3006492C (en) * | 2015-11-30 | 2023-06-27 | Yuyama Mfg. Co., Ltd. | Medicine cassette, medicine dispensing apparatus and medicine packaging apparatus |
| US10521562B2 (en) * | 2016-06-02 | 2019-12-31 | Becton Dickinson Rowa Germany Gmbh | Automatic picking machine for filling a transport container |
| US10336541B2 (en) * | 2016-09-28 | 2019-07-02 | Hall Labs Llc | Automated storage and retrieval system with retractable mountings |
| WO2018157231A1 (en) * | 2017-03-01 | 2018-09-07 | Synergie Medicale Brg Inc. | System for automatic filling of medication organizers |
| EP3690834A4 (en) * | 2017-09-29 | 2021-06-02 | Japan Tobacco Inc. | DISPENSER DEVICE |
| CN108078780A (zh) * | 2017-10-23 | 2018-05-29 | 苏州安充医疗科技有限公司 | 一种针筒自动取液装置 |
| WO2019163683A1 (ja) * | 2018-02-20 | 2019-08-29 | 株式会社トーショー | 薬品類払出装置 |
| CN108765732A (zh) * | 2018-08-22 | 2018-11-06 | 大连理工大学 | 一种升降传送式无人售货机 |
| US10978193B2 (en) | 2018-12-09 | 2021-04-13 | Tech Pharmacy Services, Llc | System and method of pharmaceutical operations for post-acute care facilities long-term care facilities |
| TWI866948B (zh) | 2019-01-31 | 2024-12-21 | 日商湯山製作所股份有限公司 | 盒子處理裝置和藥劑處理裝置 |
| US11120905B2 (en) | 2019-04-10 | 2021-09-14 | Tech Pharmacy Services, Llc | Means and methods for providing a continuous pharmaceutical operation service |
| US10959917B2 (en) * | 2019-04-10 | 2021-03-30 | Tech Pharmacy Services, Llc | Medication containers in medication dispensing system |
| US10964154B2 (en) | 2019-06-04 | 2021-03-30 | Tech Pharmacy Services, Llc | Handling medication receptacles by pharmaceutical dispensing system and method |
| CN110013409B (zh) * | 2019-04-28 | 2020-08-28 | 漯河医学高等专科学校 | 一种用于妇产科护理的药物供给装置 |
| USD918892S1 (en) * | 2019-05-21 | 2021-05-11 | Walmart Apollo, Llc | Pickup kiosk |
| US11238970B2 (en) | 2019-06-04 | 2022-02-01 | Tech Pharmacy Services, Llc | Apparatuses and methods for handling pills within pharmaceutical dispensing devices |
| CN110539930B (zh) * | 2019-09-05 | 2021-06-04 | 冯威华 | 分药设备 |
| CN111508159A (zh) * | 2020-03-31 | 2020-08-07 | 沈阳职业技术学院 | 自动售药机 |
| CN111968307A (zh) * | 2020-08-31 | 2020-11-20 | 北京飞凡巧匠智能科技有限公司 | 一种智能售药设备的取药方法 |
| CL2021000523A1 (es) * | 2021-03-02 | 2021-07-09 | Sistema y procedimiento para el automatizado de almacenaje y dispensación de gestión global de medicamentos e insumos médicos, capaz de trabajar con cualquier presentación, formato y dimensión de los medicamentos o insumos. | |
| CN113071722B (zh) * | 2021-05-19 | 2022-09-09 | 江西润井康生物科技有限公司 | 一种药粉定量分装设备 |
| US12036185B2 (en) | 2021-07-19 | 2024-07-16 | Optum, Inc. | System and method to count pills |
Citations (4)
| Publication number | Priority date | Publication date | Assignee | Title |
|---|---|---|---|---|
| WO2001068484A1 (fr) * | 2000-03-16 | 2001-09-20 | Yuyama Mfg. Co., Ltd. | Distributeur automatique d'elements contenant des substances a injecter |
| JP2003230619A (ja) * | 2001-11-09 | 2003-08-19 | Yuyama Manufacturing Co Ltd | アンプル収納容器 |
| WO2004012647A1 (ja) * | 2002-08-05 | 2004-02-12 | Yuyama Mfg. Co., Ltd. | 薬剤払出装置 |
| JP2007117708A (ja) | 2005-09-30 | 2007-05-17 | Yuyama Manufacturing Co Ltd | 薬剤払出装置 |
Family Cites Families (22)
| Publication number | Priority date | Publication date | Assignee | Title |
|---|---|---|---|---|
| US5797515A (en) * | 1995-10-18 | 1998-08-25 | Adds, Inc. | Method for controlling a drug dispensing system |
| JP3222374B2 (ja) * | 1996-01-26 | 2001-10-29 | 株式会社湯山製作所 | 薬剤収納取り出し装置 |
| JPH09215728A (ja) | 1996-02-07 | 1997-08-19 | Yuyama Seisakusho:Kk | 錠剤払出し方法 |
| US6213166B1 (en) * | 2000-01-12 | 2001-04-10 | Patrick Thibiant | Apparatus and process for forming novel spiral compositions |
| US20020092275A1 (en) * | 2001-01-16 | 2002-07-18 | Jv Medi Co., Ltd. | Tablet supplying and packaging apparatus |
| JP4467850B2 (ja) * | 2001-09-14 | 2010-05-26 | パナソニック株式会社 | 注射薬自動払出装置 |
| KR100972347B1 (ko) * | 2001-11-09 | 2010-07-26 | 가부시키가이샤 유야마 세이사쿠쇼 | 앰풀수납용기 |
| US7228198B2 (en) * | 2002-08-09 | 2007-06-05 | Mckesson Automation Systems, Inc. | Prescription filling apparatus implementing a pick and place method |
| US7123989B2 (en) * | 2003-07-01 | 2006-10-17 | Asteres, Inc. | System and method for providing a random access and random load dispensing unit |
| US20050192705A1 (en) * | 2003-07-01 | 2005-09-01 | Asteres Inc. | Random access and random load dispensing unit |
| US7228200B2 (en) * | 2004-04-22 | 2007-06-05 | Parata Systems, Llc | Apparatus, system and methods for dispensing products |
| JP4935353B2 (ja) * | 2004-05-19 | 2012-05-23 | 株式会社湯山製作所 | 薬品払出装置 |
| JP4551396B2 (ja) * | 2004-05-19 | 2010-09-29 | 株式会社湯山製作所 | 薬品払出装置 |
| JP4520814B2 (ja) * | 2004-10-15 | 2010-08-11 | 株式会社湯山製作所 | 薬品払出装置 |
| JP2006232357A (ja) * | 2005-02-25 | 2006-09-07 | Yuyama Manufacturing Co Ltd | 錠剤充填装置 |
| JP4877586B2 (ja) * | 2006-07-06 | 2012-02-15 | 株式会社湯山製作所 | 薬剤収納取出装置 |
| CA2662873C (en) * | 2006-09-11 | 2013-11-19 | Synergie Medicale Brg Inc. | Medication dispenser system and method |
| KR100787808B1 (ko) * | 2006-12-22 | 2007-12-21 | (주)제이브이엠 | 도어락킹부를 갖는 약제 자동 포장기 |
| US8251629B2 (en) * | 2007-02-09 | 2012-08-28 | Cerner Innovation, Inc. | Medication dispensing apparatus |
| BRPI0810825A2 (pt) * | 2007-04-25 | 2014-10-29 | Planning Technologies Internat Inc | Sistema e método de distribuição |
| DK3133564T3 (en) * | 2007-10-23 | 2019-04-15 | Yuyama Mfg Co Ltd | Drug delivery system and drug delivery device |
| US8281553B2 (en) * | 2009-05-29 | 2012-10-09 | Jvm Co., Ltd. | Automated medicine storage and medicine introduction/discharge management system |
-
2009
- 2009-09-16 JP JP2009214708A patent/JP5564868B2/ja active Active
- 2009-09-17 KR KR1020167022313A patent/KR101743412B1/ko active Active
- 2009-09-17 KR KR1020117006283A patent/KR101650090B1/ko active Active
- 2009-09-17 CN CN200980137002.2A patent/CN102159171B/zh not_active Expired - Fee Related
- 2009-09-17 EP EP09814320.9A patent/EP2338459A4/en not_active Withdrawn
- 2009-09-17 US US13/119,933 patent/US8991138B2/en not_active Expired - Fee Related
- 2009-09-17 WO PCT/JP2009/004697 patent/WO2010032475A1/ja not_active Ceased
Patent Citations (4)
| Publication number | Priority date | Publication date | Assignee | Title |
|---|---|---|---|---|
| WO2001068484A1 (fr) * | 2000-03-16 | 2001-09-20 | Yuyama Mfg. Co., Ltd. | Distributeur automatique d'elements contenant des substances a injecter |
| JP2003230619A (ja) * | 2001-11-09 | 2003-08-19 | Yuyama Manufacturing Co Ltd | アンプル収納容器 |
| WO2004012647A1 (ja) * | 2002-08-05 | 2004-02-12 | Yuyama Mfg. Co., Ltd. | 薬剤払出装置 |
| JP2007117708A (ja) | 2005-09-30 | 2007-05-17 | Yuyama Manufacturing Co Ltd | 薬剤払出装置 |
Non-Patent Citations (1)
| Title |
|---|
| See also references of EP2338459A4 * |
Cited By (2)
| Publication number | Priority date | Publication date | Assignee | Title |
|---|---|---|---|---|
| CN103158993A (zh) * | 2013-04-09 | 2013-06-19 | 苏州艾隆科技股份有限公司 | 发筐机 |
| CN103158993B (zh) * | 2013-04-09 | 2016-03-16 | 苏州艾隆科技股份有限公司 | 发筐机 |
Also Published As
| Publication number | Publication date |
|---|---|
| US20110173926A1 (en) | 2011-07-21 |
| CN102159171B (zh) | 2015-02-18 |
| CN102159171A (zh) | 2011-08-17 |
| KR101743412B1 (ko) | 2017-06-02 |
| JP2010201152A (ja) | 2010-09-16 |
| KR20110063465A (ko) | 2011-06-10 |
| EP2338459A1 (en) | 2011-06-29 |
| JP5564868B2 (ja) | 2014-08-06 |
| US8991138B2 (en) | 2015-03-31 |
| KR101650090B1 (ko) | 2016-08-22 |
| KR20160101210A (ko) | 2016-08-24 |
| EP2338459A4 (en) | 2013-09-11 |
Similar Documents
| Publication | Publication Date | Title |
|---|---|---|
| JP5564868B2 (ja) | 薬剤払出装置 | |
| US7316328B2 (en) | Device for dispensing medicine | |
| US10210695B2 (en) | Article dispensing apparatus | |
| CN104144857B (zh) | 药剂盒 | |
| US20090014461A1 (en) | Pharmaceutical Product Cassette, Pharmaceutical Product Dispensing Apparatus And Pharmaceutical Product Dispensing System | |
| JP6965916B2 (ja) | 薬剤払出装置 | |
| JP2008119069A (ja) | 薬品類カセット及び払出装置ならびに払出システム | |
| JP2007302300A5 (enExample) | ||
| JP5937818B2 (ja) | 景品カセットおよび景品払出機 | |
| JP2007020897A (ja) | 薬品類カセット及び払出装置ならびに払出システム | |
| JP2005196576A (ja) | 自動販売機 | |
| JP6310001B2 (ja) | 景品払出機 | |
| JP5648793B6 (ja) | 薬剤払出装置 | |
| JP5648793B2 (ja) | 薬剤払出装置 | |
| JP5648794B2 (ja) | 薬剤払出装置 | |
| JP5648794B6 (ja) | 薬剤払出装置 | |
| CA2530512A1 (en) | Device for moving objects contained inside an automatic vending machine |
Legal Events
| Date | Code | Title | Description |
|---|---|---|---|
| WWE | Wipo information: entry into national phase |
Ref document number: 200980137002.2 Country of ref document: CN |
|
| 121 | Ep: the epo has been informed by wipo that ep was designated in this application |
Ref document number: 09814320 Country of ref document: EP Kind code of ref document: A1 |
|
| ENP | Entry into the national phase |
Ref document number: 20117006283 Country of ref document: KR Kind code of ref document: A |
|
| WWE | Wipo information: entry into national phase |
Ref document number: 13119933 Country of ref document: US |
|
| NENP | Non-entry into the national phase |
Ref country code: DE |
|
| WWE | Wipo information: entry into national phase |
Ref document number: 2009814320 Country of ref document: EP |