RU2334506C2 - Активная доставка лекарственного средства в желудочно-кишечном тракте - Google Patents

Активная доставка лекарственного средства в желудочно-кишечном тракте Download PDF

Info

Publication number
RU2334506C2
RU2334506C2 RU2005127045/14A RU2005127045A RU2334506C2 RU 2334506 C2 RU2334506 C2 RU 2334506C2 RU 2005127045/14 A RU2005127045/14 A RU 2005127045/14A RU 2005127045 A RU2005127045 A RU 2005127045A RU 2334506 C2 RU2334506 C2 RU 2334506C2
Authority
RU
Russia
Prior art keywords
gastrointestinal tract
electrode
control element
response
capsule
Prior art date
Application number
RU2005127045/14A
Other languages
English (en)
Russian (ru)
Other versions
RU2005127045A (ru
Inventor
Есси ГРОСС (IL)
Есси ГРОСС
Ерам СЕЛА (IL)
Ерам СЕЛА
Original Assignee
И-Пилл Фарма Лтд.
Priority date (The priority date is an assumption and is not a legal conclusion. Google has not performed a legal analysis and makes no representation as to the accuracy of the date listed.)
Filing date
Publication date
Application filed by И-Пилл Фарма Лтд. filed Critical И-Пилл Фарма Лтд.
Publication of RU2005127045A publication Critical patent/RU2005127045A/ru
Application granted granted Critical
Publication of RU2334506C2 publication Critical patent/RU2334506C2/ru

Links

Images

Classifications

    • AHUMAN NECESSITIES
    • A61MEDICAL OR VETERINARY SCIENCE; HYGIENE
    • A61BDIAGNOSIS; SURGERY; IDENTIFICATION
    • A61B1/00Instruments for performing medical examinations of the interior of cavities or tubes of the body by visual or photographical inspection, e.g. endoscopes; Illuminating arrangements therefor
    • A61B1/04Instruments for performing medical examinations of the interior of cavities or tubes of the body by visual or photographical inspection, e.g. endoscopes; Illuminating arrangements therefor combined with photographic or television appliances
    • A61B1/041Capsule endoscopes for imaging
    • AHUMAN NECESSITIES
    • A61MEDICAL OR VETERINARY SCIENCE; HYGIENE
    • A61BDIAGNOSIS; SURGERY; IDENTIFICATION
    • A61B5/00Measuring for diagnostic purposes; Identification of persons
    • A61B5/07Endoradiosondes
    • A61B5/073Intestinal transmitters
    • AHUMAN NECESSITIES
    • A61MEDICAL OR VETERINARY SCIENCE; HYGIENE
    • A61BDIAGNOSIS; SURGERY; IDENTIFICATION
    • A61B5/00Measuring for diagnostic purposes; Identification of persons
    • A61B5/145Measuring characteristics of blood in vivo, e.g. gas concentration or pH-value ; Measuring characteristics of body fluids or tissues, e.g. interstitial fluid or cerebral tissue
    • A61B5/14539Measuring characteristics of blood in vivo, e.g. gas concentration or pH-value ; Measuring characteristics of body fluids or tissues, e.g. interstitial fluid or cerebral tissue for measuring pH
    • AHUMAN NECESSITIES
    • A61MEDICAL OR VETERINARY SCIENCE; HYGIENE
    • A61BDIAGNOSIS; SURGERY; IDENTIFICATION
    • A61B5/00Measuring for diagnostic purposes; Identification of persons
    • A61B5/145Measuring characteristics of blood in vivo, e.g. gas concentration or pH-value ; Measuring characteristics of body fluids or tissues, e.g. interstitial fluid or cerebral tissue
    • A61B5/14546Measuring characteristics of blood in vivo, e.g. gas concentration or pH-value ; Measuring characteristics of body fluids or tissues, e.g. interstitial fluid or cerebral tissue for measuring analytes not otherwise provided for, e.g. ions, cytochromes
    • AHUMAN NECESSITIES
    • A61MEDICAL OR VETERINARY SCIENCE; HYGIENE
    • A61BDIAGNOSIS; SURGERY; IDENTIFICATION
    • A61B5/00Measuring for diagnostic purposes; Identification of persons
    • A61B5/48Other medical applications
    • A61B5/4836Diagnosis combined with treatment in closed-loop systems or methods
    • A61B5/4839Diagnosis combined with treatment in closed-loop systems or methods combined with drug delivery
    • AHUMAN NECESSITIES
    • A61MEDICAL OR VETERINARY SCIENCE; HYGIENE
    • A61KPREPARATIONS FOR MEDICAL, DENTAL OR TOILETRY PURPOSES
    • A61K9/00Medicinal preparations characterised by special physical form
    • A61K9/0002Galenical forms characterised by the drug release technique; Application systems commanded by energy
    • A61K9/0004Osmotic delivery systems; Sustained release driven by osmosis, thermal energy or gas
    • AHUMAN NECESSITIES
    • A61MEDICAL OR VETERINARY SCIENCE; HYGIENE
    • A61KPREPARATIONS FOR MEDICAL, DENTAL OR TOILETRY PURPOSES
    • A61K9/00Medicinal preparations characterised by special physical form
    • A61K9/0002Galenical forms characterised by the drug release technique; Application systems commanded by energy
    • A61K9/0009Galenical forms characterised by the drug release technique; Application systems commanded by energy involving or responsive to electricity, magnetism or acoustic waves; Galenical aspects of sonophoresis, iontophoresis, electroporation or electroosmosis
    • AHUMAN NECESSITIES
    • A61MEDICAL OR VETERINARY SCIENCE; HYGIENE
    • A61KPREPARATIONS FOR MEDICAL, DENTAL OR TOILETRY PURPOSES
    • A61K9/00Medicinal preparations characterised by special physical form
    • A61K9/0087Galenical forms not covered by A61K9/02 - A61K9/7023
    • A61K9/0097Micromachined devices; Microelectromechanical systems [MEMS]; Devices obtained by lithographic treatment of silicon; Devices comprising chips
    • AHUMAN NECESSITIES
    • A61MEDICAL OR VETERINARY SCIENCE; HYGIENE
    • A61KPREPARATIONS FOR MEDICAL, DENTAL OR TOILETRY PURPOSES
    • A61K9/00Medicinal preparations characterised by special physical form
    • A61K9/20Pills, tablets, discs, rods
    • AHUMAN NECESSITIES
    • A61MEDICAL OR VETERINARY SCIENCE; HYGIENE
    • A61KPREPARATIONS FOR MEDICAL, DENTAL OR TOILETRY PURPOSES
    • A61K9/00Medicinal preparations characterised by special physical form
    • A61K9/48Preparations in capsules, e.g. of gelatin, of chocolate
    • AHUMAN NECESSITIES
    • A61MEDICAL OR VETERINARY SCIENCE; HYGIENE
    • A61NELECTROTHERAPY; MAGNETOTHERAPY; RADIATION THERAPY; ULTRASOUND THERAPY
    • A61N1/00Electrotherapy; Circuits therefor
    • A61N1/18Applying electric currents by contact electrodes
    • A61N1/20Applying electric currents by contact electrodes continuous direct currents
    • A61N1/30Apparatus for iontophoresis, i.e. transfer of media in ionic state by an electromotoric force into the body, or cataphoresis
    • A61N1/303Constructional details
    • A61N1/306Arrangements where at least part of the apparatus is introduced into the body
    • AHUMAN NECESSITIES
    • A61MEDICAL OR VETERINARY SCIENCE; HYGIENE
    • A61BDIAGNOSIS; SURGERY; IDENTIFICATION
    • A61B5/00Measuring for diagnostic purposes; Identification of persons
    • A61B5/0002Remote monitoring of patients using telemetry, e.g. transmission of vital signals via a communication network
    • A61B5/0004Remote monitoring of patients using telemetry, e.g. transmission of vital signals via a communication network characterised by the type of physiological signal transmitted
    • A61B5/0008Temperature signals
    • AHUMAN NECESSITIES
    • A61MEDICAL OR VETERINARY SCIENCE; HYGIENE
    • A61BDIAGNOSIS; SURGERY; IDENTIFICATION
    • A61B5/00Measuring for diagnostic purposes; Identification of persons
    • A61B5/01Measuring temperature of body parts ; Diagnostic temperature sensing, e.g. for malignant or inflamed tissue
    • AHUMAN NECESSITIES
    • A61MEDICAL OR VETERINARY SCIENCE; HYGIENE
    • A61BDIAGNOSIS; SURGERY; IDENTIFICATION
    • A61B5/00Measuring for diagnostic purposes; Identification of persons
    • A61B5/145Measuring characteristics of blood in vivo, e.g. gas concentration or pH-value ; Measuring characteristics of body fluids or tissues, e.g. interstitial fluid or cerebral tissue
    • A61B5/14532Measuring characteristics of blood in vivo, e.g. gas concentration or pH-value ; Measuring characteristics of body fluids or tissues, e.g. interstitial fluid or cerebral tissue for measuring glucose, e.g. by tissue impedance measurement
    • AHUMAN NECESSITIES
    • A61MEDICAL OR VETERINARY SCIENCE; HYGIENE
    • A61BDIAGNOSIS; SURGERY; IDENTIFICATION
    • A61B5/00Measuring for diagnostic purposes; Identification of persons
    • A61B5/42Detecting, measuring or recording for evaluating the gastrointestinal, the endocrine or the exocrine systems
    • AHUMAN NECESSITIES
    • A61MEDICAL OR VETERINARY SCIENCE; HYGIENE
    • A61JCONTAINERS SPECIALLY ADAPTED FOR MEDICAL OR PHARMACEUTICAL PURPOSES; DEVICES OR METHODS SPECIALLY ADAPTED FOR BRINGING PHARMACEUTICAL PRODUCTS INTO PARTICULAR PHYSICAL OR ADMINISTERING FORMS; DEVICES FOR ADMINISTERING FOOD OR MEDICINES ORALLY; BABY COMFORTERS; DEVICES FOR RECEIVING SPITTLE
    • A61J3/00Devices or methods specially adapted for bringing pharmaceutical products into particular physical or administering forms
    • A61J3/07Devices or methods specially adapted for bringing pharmaceutical products into particular physical or administering forms into the form of capsules or similar small containers for oral use
    • AHUMAN NECESSITIES
    • A61MEDICAL OR VETERINARY SCIENCE; HYGIENE
    • A61MDEVICES FOR INTRODUCING MEDIA INTO, OR ONTO, THE BODY; DEVICES FOR TRANSDUCING BODY MEDIA OR FOR TAKING MEDIA FROM THE BODY; DEVICES FOR PRODUCING OR ENDING SLEEP OR STUPOR
    • A61M31/00Devices for introducing or retaining media, e.g. remedies, in cavities of the body
    • A61M31/002Devices for releasing a drug at a continuous and controlled rate for a prolonged period of time
    • AHUMAN NECESSITIES
    • A61MEDICAL OR VETERINARY SCIENCE; HYGIENE
    • A61NELECTROTHERAPY; MAGNETOTHERAPY; RADIATION THERAPY; ULTRASOUND THERAPY
    • A61N1/00Electrotherapy; Circuits therefor
    • A61N1/18Applying electric currents by contact electrodes
    • A61N1/20Applying electric currents by contact electrodes continuous direct currents
    • A61N1/30Apparatus for iontophoresis, i.e. transfer of media in ionic state by an electromotoric force into the body, or cataphoresis
    • AHUMAN NECESSITIES
    • A61MEDICAL OR VETERINARY SCIENCE; HYGIENE
    • A61NELECTROTHERAPY; MAGNETOTHERAPY; RADIATION THERAPY; ULTRASOUND THERAPY
    • A61N1/00Electrotherapy; Circuits therefor
    • A61N1/18Applying electric currents by contact electrodes
    • A61N1/32Applying electric currents by contact electrodes alternating or intermittent currents
    • A61N1/325Applying electric currents by contact electrodes alternating or intermittent currents for iontophoresis, i.e. transfer of media in ionic state by an electromotoric force into the body

Landscapes

  • Health & Medical Sciences (AREA)
  • Life Sciences & Earth Sciences (AREA)
  • Animal Behavior & Ethology (AREA)
  • Veterinary Medicine (AREA)
  • Public Health (AREA)
  • General Health & Medical Sciences (AREA)
  • Engineering & Computer Science (AREA)
  • Physics & Mathematics (AREA)
  • Biomedical Technology (AREA)
  • Surgery (AREA)
  • Chemical & Material Sciences (AREA)
  • Pharmacology & Pharmacy (AREA)
  • Medicinal Chemistry (AREA)
  • Biophysics (AREA)
  • Medical Informatics (AREA)
  • Pathology (AREA)
  • Heart & Thoracic Surgery (AREA)
  • Molecular Biology (AREA)
  • Epidemiology (AREA)
  • Optics & Photonics (AREA)
  • Bioinformatics & Cheminformatics (AREA)
  • Radiology & Medical Imaging (AREA)
  • Nuclear Medicine, Radiotherapy & Molecular Imaging (AREA)
  • Dermatology (AREA)
  • Medicinal Preparation (AREA)
  • Medical Preparation Storing Or Oral Administration Devices (AREA)
  • Measurement Of The Respiration, Hearing Ability, Form, And Blood Characteristics Of Living Organisms (AREA)
  • Electrotherapy Devices (AREA)
  • Radiation-Therapy Devices (AREA)
  • Endoscopes (AREA)
  • Infusion, Injection, And Reservoir Apparatuses (AREA)
RU2005127045/14A 2003-01-29 2004-01-29 Активная доставка лекарственного средства в желудочно-кишечном тракте RU2334506C2 (ru)

Applications Claiming Priority (2)

Application Number Priority Date Filing Date Title
US44317303P 2003-01-29 2003-01-29
US60/443,173 2003-01-29

Publications (2)

Publication Number Publication Date
RU2005127045A RU2005127045A (ru) 2006-02-27
RU2334506C2 true RU2334506C2 (ru) 2008-09-27

Family

ID=32825300

Family Applications (1)

Application Number Title Priority Date Filing Date
RU2005127045/14A RU2334506C2 (ru) 2003-01-29 2004-01-29 Активная доставка лекарственного средства в желудочно-кишечном тракте

Country Status (9)

Country Link
US (1) US20040253304A1 (enExample)
EP (1) EP1594477A4 (enExample)
JP (1) JP2006517827A (enExample)
KR (1) KR20050098277A (enExample)
CN (1) CN1774239A (enExample)
AU (1) AU2004208580A1 (enExample)
CA (1) CA2514392A1 (enExample)
RU (1) RU2334506C2 (enExample)
WO (1) WO2004066903A2 (enExample)

Families Citing this family (327)

* Cited by examiner, † Cited by third party
Publication number Priority date Publication date Assignee Title
US6302875B1 (en) 1996-10-11 2001-10-16 Transvascular, Inc. Catheters and related devices for forming passageways between blood vessels or other anatomical structures
US9101765B2 (en) 1999-03-05 2015-08-11 Metacure Limited Non-immediate effects of therapy
US6600953B2 (en) 2000-12-11 2003-07-29 Impulse Dynamics N.V. Acute and chronic electrical signal therapy for obesity
WO2002053093A2 (en) 2001-01-05 2002-07-11 Impulse Dynamics Nv Regulation of eating habits
US8150519B2 (en) 2002-04-08 2012-04-03 Ardian, Inc. Methods and apparatus for bilateral renal neuromodulation
US7756583B2 (en) 2002-04-08 2010-07-13 Ardian, Inc. Methods and apparatus for intravascularly-induced neuromodulation
US9636174B2 (en) 2002-04-08 2017-05-02 Medtronic Ardian Luxembourg S.A.R.L. Methods for therapeutic renal neuromodulation
US20070135875A1 (en) 2002-04-08 2007-06-14 Ardian, Inc. Methods and apparatus for thermally-induced renal neuromodulation
US8347891B2 (en) 2002-04-08 2013-01-08 Medtronic Ardian Luxembourg S.A.R.L. Methods and apparatus for performing a non-continuous circumferential treatment of a body lumen
US20080213331A1 (en) 2002-04-08 2008-09-04 Ardian, Inc. Methods and devices for renal nerve blocking
US7617005B2 (en) 2002-04-08 2009-11-10 Ardian, Inc. Methods and apparatus for thermally-induced renal neuromodulation
US20070129761A1 (en) 2002-04-08 2007-06-07 Ardian, Inc. Methods for treating heart arrhythmia
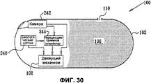
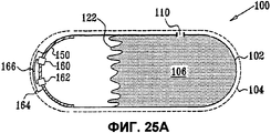
US20050058701A1 (en) * 2003-01-29 2005-03-17 Yossi Gross Active drug delivery in the gastrointestinal tract
EP1641522B1 (en) 2003-06-20 2012-12-19 Metacure Limited Gastrointestinal apparatus for detecting a change in posture
JP3993546B2 (ja) * 2003-09-08 2007-10-17 オリンパス株式会社 被検体内導入装置および無線型被検体内情報取得システム
EP1667595B1 (en) 2003-09-12 2014-01-01 Vessix Vascular, Inc. System for selectable eccentric remodeling and/or ablation of atherosclerotic material
JP2008501466A (ja) * 2004-06-07 2008-01-24 ギブン イメージング リミテッド 吸引生体検査法、システムおよび装置
US8518022B2 (en) 2004-08-27 2013-08-27 Medimetrics Personalized Drug Delivery, Inc. Electronically and remotely controlled pill and system for delivering at least one medicament
KR101048916B1 (ko) 2004-09-08 2011-07-12 올림푸스 가부시키가이샤 캡슐형 의료 장치
JP4593211B2 (ja) * 2004-09-08 2010-12-08 オリンパス株式会社 カプセル型医療装置
US9713730B2 (en) 2004-09-10 2017-07-25 Boston Scientific Scimed, Inc. Apparatus and method for treatment of in-stent restenosis
US8396548B2 (en) 2008-11-14 2013-03-12 Vessix Vascular, Inc. Selective drug delivery in a lumen
GB2418144A (en) * 2004-09-17 2006-03-22 Psimedica Ltd Medical device for delivery of beneficial substance
JP2008521794A (ja) * 2004-11-29 2008-06-26 コーニンクレッカ フィリップス エレクトロニクス エヌ ヴィ 少なくとも一の薬剤を輸送するための、少なくとも一のセンサを有する電子制御式の錠剤およびシステム
CN101076290B (zh) 2004-12-09 2011-11-23 铸造品股份有限公司 主动脉瓣修复
WO2006063063A2 (en) * 2004-12-09 2006-06-15 Flexible Medical Systems, Llc Apparatus and method for continuous real-time trace biomolecular sampling, analysis and delivery
JP2008522778A (ja) * 2004-12-14 2008-07-03 イー−ピル ファーマ リミティド 電気透過性増加を用いた薬物又は物質の局所輸送
US8852083B2 (en) * 2005-02-04 2014-10-07 Uti Limited Partnership Self-stabilized encapsulated imaging system
US9821158B2 (en) 2005-02-17 2017-11-21 Metacure Limited Non-immediate effects of therapy
US20060240096A1 (en) * 2005-04-22 2006-10-26 Kugler Chad J Devices and methods for treating the gastrointestinal system
US8847766B2 (en) 2005-04-28 2014-09-30 Proteus Digital Health, Inc. Pharma-informatics system
US8730031B2 (en) 2005-04-28 2014-05-20 Proteus Digital Health, Inc. Communication system using an implantable device
US9198608B2 (en) 2005-04-28 2015-12-01 Proteus Digital Health, Inc. Communication system incorporated in a container
US8912908B2 (en) 2005-04-28 2014-12-16 Proteus Digital Health, Inc. Communication system with remote activation
US8836513B2 (en) 2006-04-28 2014-09-16 Proteus Digital Health, Inc. Communication system incorporated in an ingestible product
US8802183B2 (en) 2005-04-28 2014-08-12 Proteus Digital Health, Inc. Communication system with enhanced partial power source and method of manufacturing same
US8021357B2 (en) 2005-05-27 2011-09-20 Olympus Corporation Body-insertable apparatus
US20070003612A1 (en) * 2005-06-30 2007-01-04 Microsoft Corporation Capsule
US9047746B1 (en) * 2005-07-20 2015-06-02 Neil Euliano Electronic medication compliance monitoring system and associated methods
US8547248B2 (en) 2005-09-01 2013-10-01 Proteus Digital Health, Inc. Implantable zero-wire communications system
US8442841B2 (en) 2005-10-20 2013-05-14 Matacure N.V. Patient selection method for assisting weight loss
US8333874B2 (en) * 2005-12-09 2012-12-18 Flexible Medical Systems, Llc Flexible apparatus and method for monitoring and delivery
JP4402648B2 (ja) * 2005-12-16 2010-01-20 オリンパス株式会社 被検体内導入装置
US8062287B2 (en) * 2005-12-22 2011-11-22 Koninklijke Philips Electronics N V Device for controlled release of chemical molecules
US10369359B2 (en) 2006-02-11 2019-08-06 Genetronics, Inc. Device and method for single-needle in vivo electroporation
US20070282252A1 (en) * 2006-02-24 2007-12-06 Stukanov Igor I Method for oral delivery of a healing substance to a target place in gastrointestinal tract of human or animals
EP3367386A1 (en) 2006-05-02 2018-08-29 Proteus Digital Health, Inc. Patient customized therapeutic regimens
US8019435B2 (en) 2006-05-02 2011-09-13 Boston Scientific Scimed, Inc. Control of arterial smooth muscle tone
JP2010501237A (ja) * 2006-08-21 2010-01-21 コーニンクレッカ フィリップス エレクトロニクス エヌ ヴィ 圧電アクチュエータを備える薬品供給装置
WO2008038246A2 (en) * 2006-09-29 2008-04-03 Koninklijke Philips Electronics, N.V. Miniaturized threshold sensor
ATE535057T1 (de) 2006-10-17 2011-12-15 Proteus Biomedical Inc Niederspannungsoszillator für medizinische einrichtungen
CA2666660C (en) 2006-10-18 2015-06-02 Minnow Medical, Inc. Inducing desirable temperature effects on body tissue
WO2008049084A2 (en) 2006-10-18 2008-04-24 Minnow Medical, Inc. Tuned rf energy and electrical tissue characterization for selective treatment of target tissues
ES2407329T3 (es) 2006-10-18 2013-06-12 Vessix Vascular, Inc. Sistema para inducir efectos de temperatura deseables sobre un tejido corporal
MY158019A (en) 2006-10-25 2016-08-30 Proteus Digital Health Inc Controlled activation ingestible identifier
CN101534711B (zh) * 2006-10-31 2012-11-14 皇家飞利浦电子股份有限公司 用于在胃肠道中释放药物的可吞吃的多喷嘴给药设备的设计
WO2008063626A2 (en) 2006-11-20 2008-05-29 Proteus Biomedical, Inc. Active signal processing personal health signal receivers
JP5697871B2 (ja) * 2006-11-21 2015-04-08 メディメトリクス ペルソナリズド ドルグ デリヴェリー ベー ヴェ 薬物送達カプセル、及び生体内での薬剤送達又は診断システム
RU2009123434A (ru) * 2006-11-21 2010-12-27 Конинклейке Филипс Электроникс Н.В. (Nl) Желудочная электронная капсула и система диагностики или доставки лекарственного средства внутрь живого организма
EP2121107B1 (en) 2006-12-18 2012-10-31 Eatlittle Inc. Device for delivery of a substance
EP2107883A4 (en) 2007-02-01 2013-07-03 Proteus Digital Health Inc SYSTEMS WITH EFFECTIVE EVENT MARKERS
JP5614991B2 (ja) 2007-02-14 2014-10-29 プロテウス デジタル ヘルス, インコーポレイテッド 大表面積電極を有する体内型電源
EP2063771A1 (en) 2007-03-09 2009-06-03 Proteus Biomedical, Inc. In-body device having a deployable antenna
US8932221B2 (en) 2007-03-09 2015-01-13 Proteus Digital Health, Inc. In-body device having a multi-directional transmitter
US20080268037A1 (en) * 2007-04-24 2008-10-30 Igor Igorevich Stukanov Autonomous method for oral delivery of a healing substance to a target place in gastrointestinal tract of humans or animals
US8115618B2 (en) * 2007-05-24 2012-02-14 Proteus Biomedical, Inc. RFID antenna for in-body device
PT2192946T (pt) 2007-09-25 2022-11-17 Otsuka Pharma Co Ltd Dispositivo no corpo com amplificação de sinal dipolo virtual
CA2717809A1 (en) 2007-11-27 2009-06-04 Proteus Biomedical, Inc. Transbody communication systems employing communication channels
EP2254464B1 (en) * 2008-02-18 2017-01-04 Medimetrics Personalized Drug Delivery B.V. Administration of drugs to a patient
ES2636844T3 (es) 2008-03-05 2017-10-09 Proteus Biomedical, Inc. Sistemas y marcadores de eventos ingeribles de comunicación multimodo, y métodos para usarlos
EP2262413B1 (en) 2008-03-31 2014-02-26 Medimetrics Personalized Drug Delivery B.V. Swallowable capsule comprising a sensor and method of its preparation
US9067011B2 (en) 2008-06-19 2015-06-30 MEDIMETRICS Personalized Drug Delivery B.V. Device for delivery of powder like medication in a humid environment
US8961498B2 (en) * 2008-06-25 2015-02-24 Medimetrics Personalized Drug Delivery Electronic pill comprising a plurality of medicine reservoirs
JP5599393B2 (ja) * 2008-07-07 2014-10-01 コーニンクレッカ フィリップス エヌ ヴェ 薬物リザーバを有する電子ピル
DK2313002T3 (en) 2008-07-08 2018-12-03 Proteus Digital Health Inc Data basis for edible event fields
US8287902B2 (en) 2008-07-23 2012-10-16 Rainbow Medical Ltd. Enhanced-diffusion capsule
KR101214453B1 (ko) 2008-08-13 2012-12-24 프로테우스 디지털 헬스, 인코포레이티드 복용 가능한 회로
RU2393886C2 (ru) * 2008-09-30 2010-07-10 Георгий Цыренович Дамбаев Устройство для лечения соматических заболеваний
CN101721194B (zh) * 2008-10-14 2011-11-09 鸿富锦精密工业(深圳)有限公司 胶囊内视镜及其镜片的制造方法
US8036748B2 (en) 2008-11-13 2011-10-11 Proteus Biomedical, Inc. Ingestible therapy activator system and method
JP5307900B2 (ja) 2008-11-17 2013-10-02 べシックス・バスキュラー・インコーポレイテッド 組織トポグラフィの知識によらないエネルギーの選択的な蓄積
WO2010068818A2 (en) 2008-12-11 2010-06-17 Proteus Biomedical, Inc. Evaluation of gastrointestinal function using portable electroviscerography systems and methods of using the same
US9439566B2 (en) 2008-12-15 2016-09-13 Proteus Digital Health, Inc. Re-wearable wireless device
TWI424832B (zh) 2008-12-15 2014-02-01 Proteus Digital Health Inc 與身體有關的接收器及其方法
US9659423B2 (en) 2008-12-15 2017-05-23 Proteus Digital Health, Inc. Personal authentication apparatus system and method
TWI602561B (zh) 2009-01-06 2017-10-21 波提亞斯數位康健公司 醫藥劑量傳送系統
US9883819B2 (en) 2009-01-06 2018-02-06 Proteus Digital Health, Inc. Ingestion-related biofeedback and personalized medical therapy method and system
WO2010111403A2 (en) 2009-03-25 2010-09-30 Proteus Biomedical, Inc. Probablistic pharmacokinetic and pharmacodynamic modeling
EA201190281A1 (ru) 2009-04-28 2012-04-30 Протиус Байомедикал, Инк. Высоконадежные проглатываемые отметчики режима и способы их применения
US8414559B2 (en) 2009-05-07 2013-04-09 Rainbow Medical Ltd. Gastroretentive duodenal pill
US9149423B2 (en) 2009-05-12 2015-10-06 Proteus Digital Health, Inc. Ingestible event markers comprising an ingestible component
US20100298697A1 (en) * 2009-05-19 2010-11-25 Medtronic, Inc. Method and devices for improved efficiency of rna delivery to cells
US8207138B2 (en) * 2009-05-19 2012-06-26 Medtronic, Inc. Methods and devices for improved efficiency of RNA delivery to cells
WO2011008534A1 (en) * 2009-06-30 2011-01-20 Boston Scientific Scimed, Inc. Implantable self-powered biodegradable medical device to treat or prevent reperfusion injury
US20100331760A1 (en) * 2009-06-30 2010-12-30 Boston Scientific Scimed, Inc. Biodegradable implant for treating or preventing reperfusion injury
CN109157742B (zh) 2009-08-03 2022-04-05 因卡伯实验室有限责任公司 用于刺激肠道内肠促胰岛素产生的吞咽式囊和方法
JP2013501568A (ja) * 2009-08-12 2013-01-17 コーニンクレッカ フィリップス エレクトロニクス エヌ ヴィ 薬品送出装置のための医薬貯槽
WO2011022732A2 (en) 2009-08-21 2011-02-24 Proteus Biomedical, Inc. Apparatus and method for measuring biochemical parameters
EP2470131B1 (en) 2009-08-24 2014-11-12 New Phase Ltd Phase-change materials
US9014799B2 (en) * 2009-10-08 2015-04-21 Palo Alto Research Center Incorporated Transmucosal drug delivery device and method including electrically-actuated permeation enhancement
TWI517050B (zh) 2009-11-04 2016-01-11 普羅托斯數位健康公司 供應鏈管理之系統
UA109424C2 (uk) 2009-12-02 2015-08-25 Фармацевтичний продукт, фармацевтична таблетка з електронним маркером і спосіб виготовлення фармацевтичної таблетки
CN102088281B (zh) * 2009-12-04 2013-05-29 北京华清益康科技有限责任公司 一种基于消化道内体液酸碱度的电开关装置
WO2011112229A2 (en) * 2010-03-10 2011-09-15 Incube Labs, Llc Therapeutic agent preparations for delivery into a lumen of the intestinal tract using a swallowable drug delivery device
US8721620B2 (en) 2009-12-24 2014-05-13 Rani Therapeutics, Llc Swallowable drug delivery device and methods of drug delivery
EP3461478B1 (en) * 2009-12-24 2020-04-22 Rani Therapeutics, LLC Swallowable drug delivery device
JP5276184B2 (ja) * 2010-01-27 2013-08-28 オリンパス株式会社 電源システム及び、その電源システムを搭載する医療用カプセル装置
RU2587795C2 (ru) 2010-02-01 2016-06-20 Проутьюс Диджитал Хэлс, Инк. Система сбора данных
US8934975B2 (en) 2010-02-01 2015-01-13 Metacure Limited Gastrointestinal electrical therapy
US9597487B2 (en) 2010-04-07 2017-03-21 Proteus Digital Health, Inc. Miniature ingestible device
KR20130108067A (ko) 2010-04-09 2013-10-02 베식스 바스큘라 인코포레이티드 조직 치료를 위한 발전 및 제어 장치
US9192790B2 (en) 2010-04-14 2015-11-24 Boston Scientific Scimed, Inc. Focused ultrasonic renal denervation
TWI557672B (zh) 2010-05-19 2016-11-11 波提亞斯數位康健公司 用於從製造商跟蹤藥物直到患者之電腦系統及電腦實施之方法、用於確認將藥物給予患者的設備及方法、患者介面裝置
US8473067B2 (en) 2010-06-11 2013-06-25 Boston Scientific Scimed, Inc. Renal denervation and stimulation employing wireless vascular energy transfer arrangement
US9155589B2 (en) 2010-07-30 2015-10-13 Boston Scientific Scimed, Inc. Sequential activation RF electrode set for renal nerve ablation
US9408661B2 (en) 2010-07-30 2016-08-09 Patrick A. Haverkost RF electrodes on multiple flexible wires for renal nerve ablation
US9084609B2 (en) 2010-07-30 2015-07-21 Boston Scientific Scime, Inc. Spiral balloon catheter for renal nerve ablation
US9358365B2 (en) 2010-07-30 2016-06-07 Boston Scientific Scimed, Inc. Precision electrode movement control for renal nerve ablation
US9463062B2 (en) 2010-07-30 2016-10-11 Boston Scientific Scimed, Inc. Cooled conductive balloon RF catheter for renal nerve ablation
EP2624907B1 (en) * 2010-10-06 2014-11-12 Medimetrics Personalized Drug Delivery B.V. Electronic pill for delivery of powder medication
JP2012081016A (ja) * 2010-10-08 2012-04-26 Olympus Corp 生体情報取得装置
JP5734614B2 (ja) * 2010-10-08 2015-06-17 オリンパス株式会社 生体情報取得装置
US8974451B2 (en) 2010-10-25 2015-03-10 Boston Scientific Scimed, Inc. Renal nerve ablation using conductive fluid jet and RF energy
US9220558B2 (en) 2010-10-27 2015-12-29 Boston Scientific Scimed, Inc. RF renal denervation catheter with multiple independent electrodes
US9028485B2 (en) 2010-11-15 2015-05-12 Boston Scientific Scimed, Inc. Self-expanding cooling electrode for renal nerve ablation
US9089350B2 (en) 2010-11-16 2015-07-28 Boston Scientific Scimed, Inc. Renal denervation catheter with RF electrode and integral contrast dye injection arrangement
US9668811B2 (en) 2010-11-16 2017-06-06 Boston Scientific Scimed, Inc. Minimally invasive access for renal nerve ablation
US9326751B2 (en) 2010-11-17 2016-05-03 Boston Scientific Scimed, Inc. Catheter guidance of external energy for renal denervation
US9060761B2 (en) 2010-11-18 2015-06-23 Boston Scientific Scime, Inc. Catheter-focused magnetic field induced renal nerve ablation
US9023034B2 (en) 2010-11-22 2015-05-05 Boston Scientific Scimed, Inc. Renal ablation electrode with force-activatable conduction apparatus
US9192435B2 (en) 2010-11-22 2015-11-24 Boston Scientific Scimed, Inc. Renal denervation catheter with cooled RF electrode
WO2012071280A2 (en) 2010-11-22 2012-05-31 Proteus Biomedical, Inc. Ingestible device with pharmaceutical product
US9877673B2 (en) 2010-12-10 2018-01-30 Clinitech, Llc Transdermal sampling and analysis device
US9451913B2 (en) 2010-12-10 2016-09-27 Touchtek Labs, Llc Transdermal sampling and analysis device
US20120157993A1 (en) 2010-12-15 2012-06-21 Jenson Mark L Bipolar Off-Wall Electrode Device for Renal Nerve Ablation
US8764733B2 (en) 2010-12-23 2014-07-01 Rani Therapeutics, Llc Therapeutic agent preparations for delivery into a lumen of the intestinal tract using a swallowable drug delivery device
US8980822B2 (en) 2010-12-23 2015-03-17 Rani Therapeutics, Llc Therapeutic agent preparations comprising pramlintide for delivery into a lumen of the intestinal tract using a swallowable drug delivery device
US9259386B2 (en) 2010-12-23 2016-02-16 Rani Therapeutics, Llc Therapeutic preparation comprising somatostatin or somatostatin analogoue for delivery into a lumen of the intestinal tract using a swallowable drug delivery device
US9861683B2 (en) * 2010-12-23 2018-01-09 Rani Therapeutics, Llc Therapeutic agent preparations for delivery into a lumen of the intestinal tract using a swallowable drug delivery device
US9415004B2 (en) 2010-12-23 2016-08-16 Rani Therapeutics, Llc Therapeutic agent preparations for delivery into a lumen of the intestinal tract using a swallowable drug delivery device
US9284367B2 (en) 2010-12-23 2016-03-15 Rani Therapeutics, Llc Therapeutic agent preparations for delivery into a lumen of the intestinal tract using a swallowable drug delivery device
US8969293B2 (en) 2010-12-23 2015-03-03 Rani Therapeutics, Llc Therapeutic agent preparations comprising exenatide for delivery into a lumen of the intestinal tract using a swallowable drug delivery device
US8809271B2 (en) 2010-12-23 2014-08-19 Rani Therapeutics, Llc Therapeutic agent preparations comprising liraglutide for delivery into a lumen of the intestinal tract using a swallowable drug delivery device
US8846040B2 (en) 2010-12-23 2014-09-30 Rani Therapeutics, Llc Therapeutic agent preparations comprising etanercept for delivery into a lumen of the intestinal tract using a swallowable drug delivery device
US9149617B2 (en) 2010-12-23 2015-10-06 Rani Therapeutics, Llc Device, system and methods for the oral delivery of therapeutic compounds
US8734429B2 (en) 2010-12-23 2014-05-27 Rani Therapeutics, Llc Device, system and methods for the oral delivery of therapeutic compounds
US9629799B2 (en) 2010-12-23 2017-04-25 Rani Therapeutics, Llc Therapeutic agent preparations for delivery into a lumen of the intestinal tract using a swallowable drug delivery device
US9402806B2 (en) 2010-12-23 2016-08-02 Rani Therapeutics, Llc Therapeutic agent preparations for delivery into a lumen of the intestinal tract using a swallowable drug delivery device
US10639272B2 (en) 2010-12-23 2020-05-05 Rani Therapeutics, Llc Methods for delivering etanercept preparations into a lumen of the intestinal tract using a swallowable drug delivery device
US9283179B2 (en) 2010-12-23 2016-03-15 Rani Therapeutics, Llc GnRH preparations for delivery into a lumen of the intestinal tract using a swallowable drug delivery device
US8809269B2 (en) 2010-12-23 2014-08-19 Rani Therapeutics, Llc Therapeutic agent preparations comprising insulin for delivery into a lumen of the intestinal tract using a swallowable drug delivery device
US9402807B2 (en) * 2010-12-23 2016-08-02 Rani Therapeutics, Llc Therapeutic agent preparations for delivery into a lumen of the intestinal tract using a swallowable drug delivery device
US9220561B2 (en) 2011-01-19 2015-12-29 Boston Scientific Scimed, Inc. Guide-compatible large-electrode catheter for renal nerve ablation with reduced arterial injury
WO2012125425A2 (en) 2011-03-11 2012-09-20 Proteus Biomedical, Inc. Wearable personal body associated device with various physical configurations
WO2012161875A1 (en) 2011-04-08 2012-11-29 Tyco Healthcare Group Lp Iontophoresis drug delivery system and method for denervation of the renal sympathetic nerve and iontophoretic drug delivery
EP2701623B1 (en) 2011-04-25 2016-08-17 Medtronic Ardian Luxembourg S.à.r.l. Apparatus related to constrained deployment of cryogenic balloons for limited cryogenic ablation of vessel walls
US20140228715A1 (en) * 2011-05-13 2014-08-14 The General Hospital Corporation Method and Apparatus for Delivering a Substance
CN104023740B (zh) * 2011-06-29 2018-10-02 拉尼医疗有限公司 用于使用可吞服药物递送装置递送到肠道内腔中的治疗药剂制剂
EP2726141B1 (en) 2011-06-29 2019-12-25 Rani Therapeutics, LLC Device for the oral delivery of therapeutic compounds
WO2015112603A1 (en) * 2014-01-21 2015-07-30 Proteus Digital Health, Inc. Masticable ingestible product and communication system therefor
US9756874B2 (en) 2011-07-11 2017-09-12 Proteus Digital Health, Inc. Masticable ingestible product and communication system therefor
AU2012283908B2 (en) 2011-07-20 2017-02-16 Boston Scientific Scimed, Inc. Percutaneous devices and methods to visualize, target and ablate nerves
AU2012284125A1 (en) 2011-07-21 2014-02-06 Proteus Digital Health, Inc. Mobile communication device, system, and method
CN103813829B (zh) 2011-07-22 2016-05-18 波士顿科学西美德公司 具有可定位于螺旋引导件中的神经调制元件的神经调制系统
US8998985B2 (en) 2011-07-25 2015-04-07 Rainbow Medical Ltd. Sinus stent
EP2765942B1 (en) 2011-10-10 2016-02-24 Boston Scientific Scimed, Inc. Medical devices including ablation electrodes
US9420955B2 (en) 2011-10-11 2016-08-23 Boston Scientific Scimed, Inc. Intravascular temperature monitoring system and method
US10085799B2 (en) 2011-10-11 2018-10-02 Boston Scientific Scimed, Inc. Off-wall electrode device and methods for nerve modulation
US9364284B2 (en) 2011-10-12 2016-06-14 Boston Scientific Scimed, Inc. Method of making an off-wall spacer cage
WO2013059202A1 (en) 2011-10-18 2013-04-25 Boston Scientific Scimed, Inc. Integrated crossing balloon catheter
US9162046B2 (en) 2011-10-18 2015-10-20 Boston Scientific Scimed, Inc. Deflectable medical devices
CN104023662B (zh) 2011-11-08 2018-02-09 波士顿科学西美德公司 孔部肾神经消融
US9235683B2 (en) 2011-11-09 2016-01-12 Proteus Digital Health, Inc. Apparatus, system, and method for managing adherence to a regimen
WO2013074813A1 (en) 2011-11-15 2013-05-23 Boston Scientific Scimed, Inc. Device and methods for renal nerve modulation monitoring
US9119632B2 (en) 2011-11-21 2015-09-01 Boston Scientific Scimed, Inc. Deflectable renal nerve ablation catheter
US9968284B2 (en) 2011-12-02 2018-05-15 Clinitech, Llc Anti-interferent barrier layers for non-invasive transdermal sampling and analysis device
JP2015509744A (ja) * 2011-12-15 2015-04-02 ギブン イメージング リミテッドGiven Imaging Ltd. 消化管内における出血のインビボ検出のための装置、システムおよび方法
US9265969B2 (en) 2011-12-21 2016-02-23 Cardiac Pacemakers, Inc. Methods for modulating cell function
CA2859989C (en) 2011-12-23 2020-03-24 Vessix Vascular, Inc. Methods and apparatuses for remodeling tissue of or adjacent to a body passage
WO2013101452A1 (en) 2011-12-28 2013-07-04 Boston Scientific Scimed, Inc. Device and methods for nerve modulation using a novel ablation catheter with polymeric ablative elements
US9050106B2 (en) 2011-12-29 2015-06-09 Boston Scientific Scimed, Inc. Off-wall electrode device and methods for nerve modulation
US10660703B2 (en) 2012-05-08 2020-05-26 Boston Scientific Scimed, Inc. Renal nerve modulation devices
ES2967970T3 (es) 2012-07-23 2024-05-06 Otsuka Pharma Co Ltd Técnicas para fabricar marcadores de eventos ingeribles que comprenden un componente ingerible
CN104540465A (zh) 2012-08-24 2015-04-22 波士顿科学西美德公司 带有含单独微孔隙区域的球囊的血管内导管
EP2895095A2 (en) 2012-09-17 2015-07-22 Boston Scientific Scimed, Inc. Self-positioning electrode system and method for renal nerve modulation
US10549127B2 (en) 2012-09-21 2020-02-04 Boston Scientific Scimed, Inc. Self-cooling ultrasound ablation catheter
WO2014047411A1 (en) 2012-09-21 2014-03-27 Boston Scientific Scimed, Inc. System for nerve modulation and innocuous thermal gradient nerve block
US10835305B2 (en) 2012-10-10 2020-11-17 Boston Scientific Scimed, Inc. Renal nerve modulation devices and methods
EP2910013B1 (en) 2012-10-18 2018-05-16 Proteus Digital Health, Inc. Apparatus, system, and method to adaptively optimize power dissipation and broadcast power in a power source for a communication device
CN102920418B (zh) * 2012-10-24 2014-07-30 刘思德 一种消化道自稳探路胶囊
TWI659994B (zh) 2013-01-29 2019-05-21 美商普羅托斯數位健康公司 高度可膨脹之聚合型薄膜及包含彼之組成物
US9693821B2 (en) 2013-03-11 2017-07-04 Boston Scientific Scimed, Inc. Medical devices for modulating nerves
WO2014163987A1 (en) 2013-03-11 2014-10-09 Boston Scientific Scimed, Inc. Medical devices for modulating nerves
US9808311B2 (en) 2013-03-13 2017-11-07 Boston Scientific Scimed, Inc. Deflectable medical devices
CN105228546B (zh) 2013-03-15 2017-11-14 波士顿科学国际有限公司 利用阻抗补偿的用于治疗高血压的医疗器械和方法
US10898116B2 (en) 2013-03-15 2021-01-26 Cambridge Medical Technologies LLC Methods of manufacture to optimize performance of transdermal sampling and analysis device
WO2014150553A1 (en) 2013-03-15 2014-09-25 Boston Scientific Scimed, Inc. Methods and apparatuses for remodeling tissue of or adjacent to a body passage
WO2014151929A1 (en) 2013-03-15 2014-09-25 Proteus Digital Health, Inc. Personal authentication apparatus system and method
US10265122B2 (en) 2013-03-15 2019-04-23 Boston Scientific Scimed, Inc. Nerve ablation devices and related methods of use
PL2968071T3 (pl) * 2013-03-15 2021-12-20 Rani Therapeutics, Llc Urządzenie do doustnego dostarczania związków leczniczych
JP5941240B2 (ja) 2013-03-15 2016-06-29 プロテウス デジタル ヘルス, インコーポレイテッド 金属検出器装置、システム、および方法
JP6511439B2 (ja) 2013-06-04 2019-05-15 プロテウス デジタル ヘルス, インコーポレイテッド データ収集および転帰の査定のためのシステム、装置、および方法
US9943365B2 (en) 2013-06-21 2018-04-17 Boston Scientific Scimed, Inc. Renal denervation balloon catheter with ride along electrode support
WO2014205399A1 (en) 2013-06-21 2014-12-24 Boston Scientific Scimed, Inc. Medical devices for renal nerve ablation having rotatable shafts
US9707036B2 (en) 2013-06-25 2017-07-18 Boston Scientific Scimed, Inc. Devices and methods for nerve modulation using localized indifferent electrodes
US9833283B2 (en) 2013-07-01 2017-12-05 Boston Scientific Scimed, Inc. Medical devices for renal nerve ablation
EP3019105B1 (en) 2013-07-11 2017-09-13 Boston Scientific Scimed, Inc. Devices for nerve modulation
WO2015006573A1 (en) 2013-07-11 2015-01-15 Boston Scientific Scimed, Inc. Medical device with stretchable electrode assemblies
US9925001B2 (en) 2013-07-19 2018-03-27 Boston Scientific Scimed, Inc. Spiral bipolar electrode renal denervation balloon
EP3024405A1 (en) 2013-07-22 2016-06-01 Boston Scientific Scimed, Inc. Renal nerve ablation catheter having twist balloon
US10342609B2 (en) 2013-07-22 2019-07-09 Boston Scientific Scimed, Inc. Medical devices for renal nerve ablation
WO2015027096A1 (en) 2013-08-22 2015-02-26 Boston Scientific Scimed, Inc. Flexible circuit having improved adhesion to a renal nerve modulation balloon
US9796576B2 (en) 2013-08-30 2017-10-24 Proteus Digital Health, Inc. Container with electronically controlled interlock
EP3041425B1 (en) 2013-09-04 2022-04-13 Boston Scientific Scimed, Inc. Radio frequency (rf) balloon catheter having flushing and cooling capability
CN105530885B (zh) 2013-09-13 2020-09-22 波士顿科学国际有限公司 具有气相沉积覆盖层的消融球囊
AU2014321320B2 (en) 2013-09-20 2019-03-14 Otsuka Pharmaceutical Co., Ltd. Methods, devices and systems for receiving and decoding a signal in the presence of noise using slices and warping
US9577864B2 (en) 2013-09-24 2017-02-21 Proteus Digital Health, Inc. Method and apparatus for use with received electromagnetic signal at a frequency not known exactly in advance
EP3750590B8 (en) * 2013-09-26 2025-08-13 BT Bidco, Inc. Delivery capsule with threshold release
US11246654B2 (en) 2013-10-14 2022-02-15 Boston Scientific Scimed, Inc. Flexible renal nerve ablation devices and related methods of use and manufacture
WO2015057521A1 (en) 2013-10-14 2015-04-23 Boston Scientific Scimed, Inc. High resolution cardiac mapping electrode array catheter
US9770606B2 (en) 2013-10-15 2017-09-26 Boston Scientific Scimed, Inc. Ultrasound ablation catheter with cooling infusion and centering basket
AU2014334574B2 (en) 2013-10-15 2017-07-06 Boston Scientific Scimed, Inc. Medical device balloon
WO2015057961A1 (en) 2013-10-18 2015-04-23 Boston Scientific Scimed, Inc. Balloon catheters with flexible conducting wires and related methods of use and manufacture
US10271898B2 (en) 2013-10-25 2019-04-30 Boston Scientific Scimed, Inc. Embedded thermocouple in denervation flex circuit
US10084880B2 (en) 2013-11-04 2018-09-25 Proteus Digital Health, Inc. Social media networking based on physiologic information
US10521561B1 (en) 2013-12-17 2019-12-31 Etectrx, Inc. Electronic compliance system and associated methods
CN105899157B (zh) 2014-01-06 2019-08-09 波士顿科学国际有限公司 抗撕裂柔性电路组件
EP3102136B1 (en) 2014-02-04 2018-06-27 Boston Scientific Scimed, Inc. Alternative placement of thermal sensors on bipolar electrode
US11000679B2 (en) 2014-02-04 2021-05-11 Boston Scientific Scimed, Inc. Balloon protection and rewrapping devices and related methods of use
US10709490B2 (en) 2014-05-07 2020-07-14 Medtronic Ardian Luxembourg S.A.R.L. Catheter assemblies comprising a direct heating element for renal neuromodulation and associated systems and methods
US11548940B2 (en) 2014-05-15 2023-01-10 Rani Therapeutics, Llc Anti-interleukin antibody preparations for delivery into a lumen of the intestinal tract using a swallowable drug delivery device
GB201410507D0 (en) * 2014-06-12 2014-07-30 Univ Bath Drug delivery enhancement agents
US9492396B2 (en) 2014-07-15 2016-11-15 Yossi Gross Enhanced drug delivery pill
EP3193728B1 (en) * 2014-09-17 2020-07-01 Mars, Incorporated Sampling device
CA2964900C (en) 2014-09-25 2023-02-21 Progenity, Inc. Electromechanical pill device with localization capabilities
CN104287685B (zh) * 2014-10-08 2016-03-02 南京航空航天大学 弹性杆导向式胶囊内镜机器人驻停及位姿调整装置与方法
ES2706317T3 (es) 2014-11-25 2019-03-28 New Phase Ltd Nanopartícula de cambio de fase
US20170245742A1 (en) * 2014-12-04 2017-08-31 Mikael Trollsas Capsule Coating for Image Capture Control
CN107847446A (zh) 2015-05-01 2018-03-27 因库博实验室有限责任公司 药物组合物和用于制备包含多肽和/或蛋白质的固体块的方法
EP3302265B1 (en) * 2015-05-31 2023-08-02 Check-Cap Ltd. Drug delivery capsule
EP3108810A1 (en) * 2015-06-23 2016-12-28 Valtronic Technologies (Holding) SA Ingestible device for measuring glucose concentration
US11051543B2 (en) 2015-07-21 2021-07-06 Otsuka Pharmaceutical Co. Ltd. Alginate on adhesive bilayer laminate film
US11660436B1 (en) 2015-08-04 2023-05-30 Verily Life Sciences Llc Device, system, and formulation for oral delivery of functionalized particles
FR3043333B1 (fr) * 2015-11-06 2017-12-22 Seb Sa Dispositif d'application d'un produit a distribuer sur la peau d'un utilisateur par iontophorese comprenant des moyens de mesure d'absence de produit et procede correspondant
CN105361849B (zh) * 2015-11-24 2018-08-21 嵊州亿源投资管理有限公司 具有控制端的胃镜
CN105361848B (zh) * 2015-11-24 2017-11-24 陈玉玲 施药胃镜
US10518085B2 (en) 2015-12-29 2019-12-31 Rainbow Medical Ltd. Disc therapy
US9770591B2 (en) 2015-12-29 2017-09-26 Rainbow Medical Ltd. Disc therapy
US9950156B2 (en) 2016-09-13 2018-04-24 Rainbow Medical Ltd. Disc therapy
US10220003B2 (en) 2016-03-09 2019-03-05 Incube Labs, Llc Methods and articles for delivering viable cells into solid tissue
US10314514B2 (en) * 2016-05-29 2019-06-11 Ankon Medical Technologies (Shanghai) Co., Ltd. System and method for using a capsule device
RU2711058C1 (ru) 2016-07-22 2020-01-14 Протеус Диджитал Хелс, Инк. Электромагнитное зондирование и обнаружение проглатываемых маркеров событий
CN109862821A (zh) * 2016-09-09 2019-06-07 普罗根尼蒂公司 用于递送可配发物质的机电可摄入装置
US11504024B2 (en) 2018-03-30 2022-11-22 Vibrant Ltd. Gastrointestinal treatment system including a vibrating capsule, and method of use thereof
GB2554354B (en) 2016-09-21 2021-06-02 Vibrant Ltd Systems for adaptive treatment of disorders in the gastrointestinal tract
EP3531901A4 (en) 2016-10-26 2021-01-27 Proteus Digital Health, Inc. METHOD OF MANUFACTURING CAPSULES WITH TAKE-UP EVENT MARKERS
EP3551034A1 (en) 2016-12-07 2019-10-16 Progenity, Inc. Gastrointestinal tract detection methods, devices and systems
KR20190095931A (ko) 2016-12-14 2019-08-16 프로제너티, 인크. 섭취가능한 디바이스를 사용하여 방출된 il-12/il-23 저해제로의 위장관 질환의 치료
US20200315540A1 (en) * 2016-12-14 2020-10-08 Progenity, Inc. Treatment of a disease of the gastrointestinal tract with an il-1 inhibitor
CA3045310A1 (en) * 2016-12-14 2018-06-21 Progenity, Inc. Treatment of a disease of the gastrointestinal tract with a chemokine/chemokine receptor inhibitor
CN110072519A (zh) * 2016-12-14 2019-07-30 普罗根尼蒂公司 使用jak抑制剂治疗胃肠道疾病及装置
CA3046019A1 (en) * 2016-12-14 2018-06-21 Progenity Inc. Treatment of a disease of the gastrointestinal tract with a tlr modulator
EP4233902A3 (en) * 2016-12-14 2024-02-28 Biora Therapeutics, Inc. Treatment of a disease of the gastrointestinal tract with an integrin inhibitor
US10905378B1 (en) 2017-01-30 2021-02-02 Vibrant Ltd Method for treating gastroparesis using a vibrating ingestible capsule
US10888277B1 (en) 2017-01-30 2021-01-12 Vibrant Ltd Method for treating diarrhea and reducing Bristol stool scores using a vibrating ingestible capsule
CA3054159A1 (en) * 2017-03-30 2018-10-04 Progenity, Inc. Treatment of a disease of the gastrointestinal tract with a chst15 inhibitor
CA3054156A1 (en) 2017-03-30 2018-10-04 Progenity Inc. Treatment of a disease of the gastrointestinal tract with il-10 or an il-10 agonist
CA3055762A1 (en) 2017-03-31 2018-10-04 Progenity, Inc. Localization systems and methods for an ingestible device
JP7045397B2 (ja) 2017-05-17 2022-03-31 マサチューセッツ インスティテュート オブ テクノロジー 自己復元システムおよび関連構成要素
US11541015B2 (en) 2017-05-17 2023-01-03 Massachusetts Institute Of Technology Self-righting systems, methods, and related components
CN107041727A (zh) * 2017-05-26 2017-08-15 杭州师范大学 一种智能无线胶囊及其控制方法
CA3067021A1 (en) * 2017-06-12 2018-12-20 Incube Labs, Llc Swallowable capsule, system and method for measuring gastric emptying parameters
EP3668544A1 (en) * 2017-08-15 2020-06-24 Progenity, Inc. Treatment of inflammatory disease using ingestible device to release immune modulator
KR20190052241A (ko) * 2017-11-08 2019-05-16 서울바이오시스 주식회사 의료용 캡슐 장치
EP3720425B1 (en) 2017-12-06 2024-04-17 James Phillip Jones Sampling capsule system
CA3085330A1 (en) * 2017-12-14 2019-06-20 Progenity, Inc. Treatment of a disease of the gastrointestinal tract with a s1p modulator
US11116561B2 (en) 2018-01-24 2021-09-14 Medtronic Ardian Luxembourg S.A.R.L. Devices, agents, and associated methods for selective modulation of renal nerves
CA3093815A1 (en) 2018-03-13 2019-09-19 Progenity, Inc. Ingestible device with relatively large payload volume
US12083303B2 (en) 2019-01-21 2024-09-10 Vibrant Ltd. Device and method for delivering a flowable ingestible medicament into the gastrointestinal tract of a user
US10537720B2 (en) * 2018-04-09 2020-01-21 Vibrant Ltd. Method of enhancing absorption of ingested medicaments for treatment of parkinsonism
US11638678B1 (en) 2018-04-09 2023-05-02 Vibrant Ltd. Vibrating capsule system and treatment method
US11510590B1 (en) 2018-05-07 2022-11-29 Vibrant Ltd. Methods and systems for treating gastrointestinal disorders
AU2019269636A1 (en) 2018-05-17 2020-11-19 Massachusetts Institute Of Technology Systems for electrical stimulation
EP3793505A4 (en) * 2018-05-17 2022-03-16 Massachusetts Institute of Technology Quick release capsules
US12171764B2 (en) * 2018-06-20 2024-12-24 Biora Therapeutics, Inc. Treatment of a disease of the gastrointestinal tract with a JAK or other kinase inhibitor
US12227565B2 (en) * 2018-06-20 2025-02-18 Biora Therapeutics, Inc. Method of formulating a pharmaceutical composition comprising administering an immune modulator to the small intestine
EP3810095A1 (en) * 2018-06-20 2021-04-28 Progenity, Inc. Treatment of a disease of the gastrointestinal tract with a tnf inhibitor
WO2019246312A1 (en) * 2018-06-20 2019-12-26 Progenity, Inc. Treatment of a disease of the gastrointestinal tract with an immunomodulator
US10675248B2 (en) 2018-08-14 2020-06-09 Alma Therapeutics Ltd. Expandable pill
US12128201B2 (en) 2018-08-23 2024-10-29 Baywind Bioventures Capsule device for delivery of active agent to gastrointestinal tract
US12128133B2 (en) * 2018-09-25 2024-10-29 Rani Therapeutics, Llc Ingestible device with expandable enclosure
CA3117947A1 (en) * 2018-11-15 2020-05-22 Massachusetts Institute Of Technology Actuating components and related methods
WO2020106704A2 (en) * 2018-11-19 2020-05-28 Progenity, Inc. Ingestible device for delivery of therapeutic agent to the gastrointestinal tract
CN109464742B (zh) * 2018-12-29 2024-08-09 上海安翰医疗技术有限公司 胃肠道定位开关及其制作方法及消化道定点药物释放胶囊
US12115330B2 (en) 2019-01-03 2024-10-15 Vibrant Ltd. Device and method for delivering an ingestible medicament into the gastrointestinal tract of a user
GB201900780D0 (en) 2019-01-21 2019-03-06 Vibrant Ltd Device and method for delivering a flowable ingestible medicament into the gastrointestinal tract of a user
WO2020160399A1 (en) 2019-02-01 2020-08-06 Massachusetts Institute Of Technology Systems and methods for liquid injection
GB201901470D0 (en) 2019-02-04 2019-03-27 Vibrant Ltd Vibrating capsule for gastrointestinal treatment, and method of use thereof
CA3131781A1 (en) 2019-03-01 2020-09-10 Rani Therapeutics, Llc Propulsive drug delivery from a swallowable device into a patient's intestinal tract
US11633129B2 (en) 2019-04-05 2023-04-25 Cambridge Medical Technologies LLC Non-invasive transdermal sampling and analysis device incorporating redox cofactors
WO2020214689A1 (en) * 2019-04-15 2020-10-22 Verily Life Sciences Llc Ingestible capsules for sampling intestinal contents
US11375931B2 (en) 2019-08-08 2022-07-05 Cambridge Medical Technologies LLC Non-invasive transdermal sampling and analysis device incorporating an electrochemical bioassay
US11123197B2 (en) 2019-09-03 2021-09-21 Rainbow Medical Ltd. Hydropneumatic artificial intervertebral disc
US11541216B2 (en) 2019-11-21 2023-01-03 Massachusetts Institute Of Technology Methods for manufacturing tissue interfacing components
CN121197633A (zh) * 2019-12-13 2025-12-26 比特比德科有限责任公司 用于将治疗剂递送至胃肠道的可摄取装置
WO2021140504A1 (en) * 2020-01-06 2021-07-15 Check-Cap Ltd. Radiation capsule for bowel disease imaging and localize drug delivery
KR20220145851A (ko) * 2020-02-18 2022-10-31 라니 테라퓨틱스, 엘엘씨 치료 제형의 위장관 벽 내로의 주사
KR102535610B1 (ko) * 2020-03-05 2023-05-26 서울대학교산학협력단 생분해성 전삽입식 이온도입 약물 방출 시스템
CN111493946A (zh) * 2020-04-27 2020-08-07 上海长海医院 一种用于治疗主动脉夹层的生物纳米机器人
US20230240665A1 (en) * 2020-06-29 2023-08-03 The Governing Council Of The University Of Toronto Magnetically actuated capsule
CN116096452A (zh) * 2020-08-10 2023-05-09 麻省理工学院 药物递送装置
JP2023542836A (ja) * 2020-09-30 2023-10-12 ノボ・ノルデイスク・エー/エス 嚥下可能なカプセル装置
AU2021354905A1 (en) * 2020-09-30 2023-03-16 Novo Nordisk A/S Lumen insertable capsule
MA59413B1 (fr) 2020-12-08 2024-07-31 Ruminant Biotech Corp Limited Améliorations apportées à des dispositifs et des méthodes d'administration de substances aux animaux
CN112315565B (zh) * 2020-12-08 2024-11-08 帝斯博(常州)医疗用品股份有限公司 血管介入给药系统
EP4302816A4 (en) * 2021-03-05 2024-05-01 Bitherapeutics Inc. ORAL MEDICINE DELIVERY DEVICE
WO2023280416A1 (en) 2021-07-09 2023-01-12 Novo Nordisk A/S Capsule administering assembly
US20250064318A1 (en) * 2021-12-30 2025-02-27 Massachusetts Institute Of Technology Ingestible chemical energy harvesting system with extended lifetime
IL315097A (en) * 2022-02-21 2024-10-01 Rani Therapeutics Llc Ingestible devices for delivering a fluid preparation into a gastrointestinal tract
IT202200008993A1 (it) * 2022-05-03 2023-11-03 Fondazione St Italiano Tecnologia Dispositivo degradabile per il rilascio passivo e tracciabile di una sostanza
US20240180408A1 (en) * 2022-12-04 2024-06-06 David Craig-Lloyd White Ingestible Camera System and Related Methods
CN120569239A (zh) * 2022-12-20 2025-08-29 塞勒罗系统公司 可摄入的电子触发的药物递送系统
WO2025042706A1 (en) * 2023-08-18 2025-02-27 Rani Therapeutics, Llc Ingestible devices and assemblies for delivering a therapeutic agent
CN117137609B (zh) * 2023-08-25 2024-04-05 上海交通大学医学院附属瑞金医院 一种具有消融记录和球囊定位功能的冷冻消融装置
US12343526B1 (en) 2024-04-19 2025-07-01 Brainflow Medical, Inc. Blood flow enhancement therapy systems
US12208267B1 (en) 2024-04-19 2025-01-28 Yossi Gross Blood flow enhancement therapy system
CN120267955B (zh) * 2025-06-06 2025-09-19 浙江大学 一种自发电胃驻留电子胶囊及其应用

Citations (4)

* Cited by examiner, † Cited by third party
Publication number Priority date Publication date Assignee Title
US4239040A (en) * 1976-10-19 1980-12-16 Kabushiki Kaisha Daini Seikosha Capsule for medical use
US5279607A (en) * 1991-05-30 1994-01-18 The State University Of New York Telemetry capsule and process
RU2097073C1 (ru) * 1995-02-14 1997-11-27 Сергей Федорович Глущук Электростимулятор желудочно-кишечного тракта
RU2153367C2 (ru) * 1998-02-12 2000-07-27 Томский государственный университет систем управления и радиоэлектроники Электростимулятор желудочно-кишечного тракта с эндогенным ионофорезом микроэлементов

Family Cites Families (77)

* Cited by examiner, † Cited by third party
Publication number Priority date Publication date Assignee Title
CH337989A (fr) * 1957-04-09 1959-04-30 Perrenoud Jean Pierre Dr Capsule
US3057344A (en) * 1957-05-21 1962-10-09 Abella Carlos Alberto Capsule for the study of the digestive tract and method of using the same
US3315660A (en) * 1963-08-08 1967-04-25 Carlos A Abella Capsule for insertion in the digestive track
US3485235A (en) * 1967-12-04 1969-12-23 Ronald Felson Capsule for the study and treatment of the digestive tract
US3528429A (en) * 1968-10-21 1970-09-15 Charles B Beal Method and device for orally admitting an elongated flexible element in the alimentary canal
US3659600A (en) * 1970-02-24 1972-05-02 Estin Hans H Magnetically operated capsule for administering drugs
DE2928477C3 (de) * 1979-07-14 1982-04-15 Battelle-Institut E.V., 6000 Frankfurt Vorrichtung zur Freisetzung von Substanzen an definierten Orten des Verdauungstraktes
JPS57163309A (en) * 1981-04-01 1982-10-07 Olympus Optical Co Ltd Capsule apparatus for medical use
US5961482A (en) * 1986-07-25 1999-10-05 Rutgers, The State University Of New Jersey Iontotherapeutic device and process and iontotherapeutic unit dose
US4869248A (en) * 1987-04-17 1989-09-26 Narula Onkar S Method and apparatus for localized thermal ablation
DE68925030T2 (de) * 1988-01-21 1996-07-25 Massachusetts Inst Technology Molekültransport durch gewebe mit der verwendung von elektroporation.
US4844076A (en) * 1988-08-26 1989-07-04 The Johns Hopkins University Ingestible size continuously transmitting temperature monitoring pill
US5474785A (en) * 1990-01-24 1995-12-12 Alza Corporation Delivery system comprising means for controlling internal pressure
US5170801A (en) * 1990-10-02 1992-12-15 Glaxo Inc. Medical capsule device actuated by radio-frequency (rf) signal
US5167626A (en) * 1990-10-02 1992-12-01 Glaxo Inc. Medical capsule device actuated by radio-frequency (RF) signal
US5158537A (en) * 1990-10-29 1992-10-27 Alza Corporation Iontophoretic delivery device and method of hydrating same
US5217449A (en) * 1990-12-11 1993-06-08 Miyarisan Kabushiki Kaisha Medical capsule and apparatus for activating the same
US5395366A (en) * 1991-05-30 1995-03-07 The State University Of New York Sampling capsule and process
US5318557A (en) * 1992-07-13 1994-06-07 Elan Medical Technologies Limited Medication administering device
US6315772B1 (en) * 1993-09-24 2001-11-13 Transmedica International, Inc. Laser assisted pharmaceutical delivery and fluid removal
US5993434A (en) * 1993-04-01 1999-11-30 Genetronics, Inc. Method of treatment using electroporation mediated delivery of drugs and genes
US5814599A (en) * 1995-08-04 1998-09-29 Massachusetts Insitiute Of Technology Transdermal delivery of encapsulated drugs
IL108352A (en) * 1994-01-17 2000-02-29 Given Imaging Ltd In vivo video camera system
IL108775A (en) * 1994-02-25 2003-09-17 Univ Ramot Method for efficient incorporation of molecules into cells
US5464395A (en) * 1994-04-05 1995-11-07 Faxon; David P. Catheter for delivering therapeutic and/or diagnostic agents to the tissue surrounding a bodily passageway
IE70735B1 (en) * 1994-08-15 1996-12-11 Elan Med Tech Orally administrable delivery device
US5551953A (en) * 1994-10-31 1996-09-03 Alza Corporation Electrotransport system with remote telemetry link
US5697896A (en) * 1994-12-08 1997-12-16 Alza Corporation Electrotransport delivery device
US5778882A (en) * 1995-02-24 1998-07-14 Brigham And Women's Hospital Health monitoring system
US5983134A (en) * 1995-04-23 1999-11-09 Electromagnetic Bracing Systems Inc. Electrophoretic cuff apparatus drug delivery system
US5735817A (en) * 1995-05-19 1998-04-07 Shantha; T. R. Apparatus for transsphenoidal stimulation of the pituitary gland and adjoining brain structures
US6041253A (en) * 1995-12-18 2000-03-21 Massachusetts Institute Of Technology Effect of electric field and ultrasound for transdermal drug delivery
US5947921A (en) * 1995-12-18 1999-09-07 Massachusetts Institute Of Technology Chemical and physical enhancers and ultrasound for transdermal drug delivery
US6002961A (en) * 1995-07-25 1999-12-14 Massachusetts Institute Of Technology Transdermal protein delivery using low-frequency sonophoresis
US5983131A (en) * 1995-08-11 1999-11-09 Massachusetts Institute Of Technology Apparatus and method for electroporation of tissue
DE19532676C1 (de) * 1995-09-05 1997-05-07 Inst Physikalische Hochtech Ev Anordnung zur Bestimmung der Position eines Markers in einem Hohlraum innerhalb des Organismus eines Lebewesens
US5674196A (en) * 1996-01-05 1997-10-07 Donaldson; John Device for introducing medical fluid into the human ear
RU2075980C1 (ru) * 1996-01-18 1997-03-27 Акционерное общество открытого типа "Завод "Компонент" Электростимулятор желудочно-кишечного тракта
US5957538A (en) * 1996-03-27 1999-09-28 Sullivan; John L. Combination belly and rear dump trailer
US6175763B1 (en) * 1996-03-29 2001-01-16 Alza Corporation Electrotransport drug delivery device having tactile signaling means
US6453199B1 (en) * 1996-04-01 2002-09-17 Valery Ivanovich Kobozev Electrical gastro-intestinal tract stimulator
US6718201B1 (en) * 1996-06-07 2004-04-06 Alza Corporation Electrotransport agent delivery method and apparatus
JP2002515786A (ja) * 1996-06-28 2002-05-28 ソントラ メディカル,エル.ピー. 経皮輸送の超音波増強
US6024717A (en) * 1996-10-24 2000-02-15 Vibrx, Inc. Apparatus and method for sonically enhanced drug delivery
US6091872A (en) * 1996-10-29 2000-07-18 Katoot; Mohammad W. Optical fiber imaging system
US6246904B1 (en) * 1996-12-17 2001-06-12 Alza Corporation Electrotransport drug delivery reservoirs containing inert fillers
DE19717023C2 (de) * 1997-04-23 2003-02-06 Micronas Gmbh Vorrichtung zum Behandeln von malignen, tumorösen Gewebebereichen
US6775569B2 (en) * 1997-11-05 2004-08-10 Hisamitsu Pharmaceutical Co., Inc. Electroporation device for in vivo delivery of therapeutic agents
IL122602A0 (en) * 1997-12-15 1998-08-16 Tally Eitan Zeev Pearl And Co Energy management of a video capsule
DE69837163T2 (de) * 1997-12-17 2007-11-22 Alza Corp., Mountain View Iontophoretische vorrichtung mit programmierbarer elektrischer stromeinstellung
CA2317777C (en) * 1998-01-08 2005-05-03 Sontra Medical, Inc. Sonophoretic enhanced transdermal transport
JPH11239621A (ja) * 1998-02-25 1999-09-07 Hisamitsu Pharmaceut Co Inc イオントフォレーシス装置
US5984860A (en) * 1998-03-25 1999-11-16 Shan; Yansong Pass-through duodenal enteroscopic device
US6350470B1 (en) * 1998-04-29 2002-02-26 Cima Labs Inc. Effervescent drug delivery system for oral administration
US6322532B1 (en) * 1998-06-24 2001-11-27 3M Innovative Properties Company Sonophoresis method and apparatus
US6369039B1 (en) * 1998-06-30 2002-04-09 Scimed Life Sytems, Inc. High efficiency local drug delivery
JP2002520101A (ja) * 1998-07-13 2002-07-09 ジェネトロニクス、インコーポレーテッド 電気的に補助される化粧用薬剤の局部送達法および装置
US6148232A (en) * 1998-11-09 2000-11-14 Elecsys Ltd. Transdermal drug delivery and analyte extraction
US5983135A (en) * 1998-12-24 1999-11-09 Avrahami; Zohar Transdermal delivery of fine powders
US6464687B1 (en) * 1999-03-09 2002-10-15 Ball Semiconductor, Inc. Implantable drug delivery system
US6477410B1 (en) * 2000-05-31 2002-11-05 Biophoretic Therapeutic Systems, Llc Electrokinetic delivery of medicaments
DE60018726T2 (de) * 1999-04-16 2006-04-13 Johnson & Johnson Consumer Companies, Inc. Vorrichtung zur iontophoretischen verabreichung von medikamenten mit internen sensoren
US7171263B2 (en) * 1999-06-04 2007-01-30 Impulse Dynamics Nv Drug delivery device
EP1645305A1 (en) * 1999-06-08 2006-04-12 Altea Therapeutics Corporation Apparatus for microporation of biological membranes using thin film tissue interface devices, and method for manufacturing
US6344027B1 (en) * 1999-12-08 2002-02-05 Scimed Life Systems, Inc. Needle-less injection apparatus and method
GB9930000D0 (en) * 1999-12-21 2000-02-09 Phaeton Research Ltd An ingestible device
DE20122488U1 (de) * 2000-03-08 2005-12-15 Given Imaging Ltd. Vorrichtung und System für In-Vivo-Bildgebung
US6471696B1 (en) * 2000-04-12 2002-10-29 Afx, Inc. Microwave ablation instrument with a directional radiation pattern
US6572740B2 (en) * 2000-04-13 2003-06-03 Elan Pharma International Limited Electrolytic cell
US6853858B2 (en) * 2000-05-08 2005-02-08 Brainsgate, Ltd. Administration of anti-inflammatory drugs into the central nervous system
US6327426B1 (en) * 2000-10-26 2001-12-04 Ceramatec, Inc. Apparatus and method for delivering a beneficial agent
US6929636B1 (en) * 2000-11-08 2005-08-16 Hewlett-Packard Development Company, L.P. Internal drug dispenser capsule medical device
US6409698B1 (en) * 2000-11-27 2002-06-25 John N. Robinson Perforate electrodiffusion pump
US7160258B2 (en) * 2001-06-26 2007-01-09 Entrack, Inc. Capsule and method for treating or diagnosing the intestinal tract
RU2203697C2 (ru) * 2001-08-14 2003-05-10 Государственное учреждение системы высшего и послевузовского профессионального образования "Сибирский государственный медицинский университет" Электростимулятор органов и тканей
US20030125788A1 (en) * 2001-11-09 2003-07-03 Long Gary L. Self-propelled, intraluminal device with electrode configuration and method of use
US20030093031A1 (en) * 2001-11-09 2003-05-15 Long Gary L. Self-propelled, intraluminal device with medical agent applicator and method of use

Patent Citations (4)

* Cited by examiner, † Cited by third party
Publication number Priority date Publication date Assignee Title
US4239040A (en) * 1976-10-19 1980-12-16 Kabushiki Kaisha Daini Seikosha Capsule for medical use
US5279607A (en) * 1991-05-30 1994-01-18 The State University Of New York Telemetry capsule and process
RU2097073C1 (ru) * 1995-02-14 1997-11-27 Сергей Федорович Глущук Электростимулятор желудочно-кишечного тракта
RU2153367C2 (ru) * 1998-02-12 2000-07-27 Томский государственный университет систем управления и радиоэлектроники Электростимулятор желудочно-кишечного тракта с эндогенным ионофорезом микроэлементов

Also Published As

Publication number Publication date
CA2514392A1 (en) 2004-08-12
AU2004208580A1 (en) 2004-08-12
WO2004066903A3 (en) 2005-05-12
EP1594477A4 (en) 2009-07-15
RU2005127045A (ru) 2006-02-27
EP1594477A2 (en) 2005-11-16
CN1774239A (zh) 2006-05-17
WO2004066903B1 (en) 2005-07-21
KR20050098277A (ko) 2005-10-11
US20040253304A1 (en) 2004-12-16
WO2004066903A2 (en) 2004-08-12
JP2006517827A (ja) 2006-08-03

Similar Documents

Publication Publication Date Title
RU2334506C2 (ru) Активная доставка лекарственного средства в желудочно-кишечном тракте
JP2006517827A5 (enExample)
CN102395403B (zh) 用于为治疗和用药目的进行活性剂穿皮输送的离子透入系统
JP6423905B2 (ja) 薬剤送達システム
US11241562B2 (en) Ingestible device with relatively large payload volume
KR20240115384A (ko) 분배가능한 물질의 전달을 위한 전자기계식 섭취가능한 디바이스
US20180318496A1 (en) Drug delivery device with compressible drug reservoir
JP2001509424A (ja) ペットケア物質を投与するための装置および方法
KR20070005724A (ko) 위장관에서의 능동적 약물 송달
US11351111B2 (en) Controlled release capsule
WO2006077529A2 (en) System for controlling traversal of an ingested capsule
JP2007307376A (ja) 薬剤注入器
WO2006077530A2 (en) Electronically controlled ingestible capsule for sampling fluids in alimentary tract
JPH10503949A (ja) 経口投与可能な放出装置
WO2003009884A3 (en) Elongated syringe
WO2007137802A3 (en) Device and method for controlled delivery of chemical substances
EP0460327A1 (en) Medical capsule and apparatus for activating the same
Cui et al. The study of a remote-controlled gastrointestinal drug delivery and sampling system
US6884239B2 (en) Ingestible device for the release of substances at distinct locations in alimentary canal
WO2009063376A1 (en) Ingestible electronic capsule
JPH0236848A (ja) 医療用カプセル
AU2025200809A1 (en) Devices and methods for administering a therapeutic preparation
Woods et al. Towards a micropositioning system for targeted drug delivery in wireless capsule endoscopy
Arrick Delivery of macromolecule therapeutics via jetting in the gastrointestinal tract
EP2962713B1 (en) Fluid delivery device

Legal Events

Date Code Title Description
MM4A The patent is invalid due to non-payment of fees

Effective date: 20090130