KR20180098552A - 토출면에 내용물을 토출하는 토출 용기 - Google Patents

토출면에 내용물을 토출하는 토출 용기 Download PDF

Info

Publication number
KR20180098552A
KR20180098552A KR1020187017341A KR20187017341A KR20180098552A KR 20180098552 A KR20180098552 A KR 20180098552A KR 1020187017341 A KR1020187017341 A KR 1020187017341A KR 20187017341 A KR20187017341 A KR 20187017341A KR 20180098552 A KR20180098552 A KR 20180098552A
Authority
KR
South Korea
Prior art keywords
inner plate
discharge
plate
container
contents
Prior art date
Legal status (The legal status is an assumption and is not a legal conclusion. Google has not performed a legal analysis and makes no representation as to the accuracy of the status listed.)
Granted
Application number
KR1020187017341A
Other languages
English (en)
Other versions
KR102606815B1 (ko
Inventor
마이 카세
Original Assignee
가부시키가이샤 요시노 고교쇼
Priority date (The priority date is an assumption and is not a legal conclusion. Google has not performed a legal analysis and makes no representation as to the accuracy of the date listed.)
Filing date
Publication date
Application filed by 가부시키가이샤 요시노 고교쇼 filed Critical 가부시키가이샤 요시노 고교쇼
Publication of KR20180098552A publication Critical patent/KR20180098552A/ko
Application granted granted Critical
Publication of KR102606815B1 publication Critical patent/KR102606815B1/ko
Active legal-status Critical Current
Anticipated expiration legal-status Critical

Links

Images

Classifications

    • BPERFORMING OPERATIONS; TRANSPORTING
    • B65CONVEYING; PACKING; STORING; HANDLING THIN OR FILAMENTARY MATERIAL
    • B65DCONTAINERS FOR STORAGE OR TRANSPORT OF ARTICLES OR MATERIALS, e.g. BAGS, BARRELS, BOTTLES, BOXES, CANS, CARTONS, CRATES, DRUMS, JARS, TANKS, HOPPERS, FORWARDING CONTAINERS; ACCESSORIES, CLOSURES, OR FITTINGS THEREFOR; PACKAGING ELEMENTS; PACKAGES
    • B65D83/00Containers or packages with special means for dispensing contents
    • B65D83/14Containers for dispensing liquid or semi-liquid contents by internal gaseous pressure, i.e. aerosol containers comprising propellant
    • B65D83/16Actuating means
    • B65D83/20Actuator caps
    • BPERFORMING OPERATIONS; TRANSPORTING
    • B29WORKING OF PLASTICS; WORKING OF SUBSTANCES IN A PLASTIC STATE IN GENERAL
    • B29CSHAPING OR JOINING OF PLASTICS; SHAPING OF MATERIAL IN A PLASTIC STATE, NOT OTHERWISE PROVIDED FOR; AFTER-TREATMENT OF THE SHAPED PRODUCTS, e.g. REPAIRING
    • B29C48/00Extrusion moulding, i.e. expressing the moulding material through a die or nozzle which imparts the desired form; Apparatus therefor
    • B29C48/25Component parts, details or accessories; Auxiliary operations
    • B29C48/285Feeding the extrusion material to the extruder
    • BPERFORMING OPERATIONS; TRANSPORTING
    • B05SPRAYING OR ATOMISING IN GENERAL; APPLYING FLUENT MATERIALS TO SURFACES, IN GENERAL
    • B05BSPRAYING APPARATUS; ATOMISING APPARATUS; NOZZLES
    • B05B1/00Nozzles, spray heads or other outlets, with or without auxiliary devices such as valves, heating means
    • B05B1/14Nozzles, spray heads or other outlets, with or without auxiliary devices such as valves, heating means with multiple outlet openings; with strainers in or outside the outlet opening
    • BPERFORMING OPERATIONS; TRANSPORTING
    • B05SPRAYING OR ATOMISING IN GENERAL; APPLYING FLUENT MATERIALS TO SURFACES, IN GENERAL
    • B05BSPRAYING APPARATUS; ATOMISING APPARATUS; NOZZLES
    • B05B9/00Spraying apparatus for discharge of liquids or other fluent material, without essentially mixing with gas or vapour
    • B05B9/03Spraying apparatus for discharge of liquids or other fluent material, without essentially mixing with gas or vapour characterised by means for supplying liquid or other fluent material
    • B05B9/04Spraying apparatus for discharge of liquids or other fluent material, without essentially mixing with gas or vapour characterised by means for supplying liquid or other fluent material with pressurised or compressible container; with pump
    • BPERFORMING OPERATIONS; TRANSPORTING
    • B29WORKING OF PLASTICS; WORKING OF SUBSTANCES IN A PLASTIC STATE IN GENERAL
    • B29CSHAPING OR JOINING OF PLASTICS; SHAPING OF MATERIAL IN A PLASTIC STATE, NOT OTHERWISE PROVIDED FOR; AFTER-TREATMENT OF THE SHAPED PRODUCTS, e.g. REPAIRING
    • B29C48/00Extrusion moulding, i.e. expressing the moulding material through a die or nozzle which imparts the desired form; Apparatus therefor
    • B29C48/03Extrusion moulding, i.e. expressing the moulding material through a die or nozzle which imparts the desired form; Apparatus therefor characterised by the shape of the extruded material at extrusion
    • B29C48/12Articles with an irregular circumference when viewed in cross-section, e.g. window profiles
    • BPERFORMING OPERATIONS; TRANSPORTING
    • B29WORKING OF PLASTICS; WORKING OF SUBSTANCES IN A PLASTIC STATE IN GENERAL
    • B29CSHAPING OR JOINING OF PLASTICS; SHAPING OF MATERIAL IN A PLASTIC STATE, NOT OTHERWISE PROVIDED FOR; AFTER-TREATMENT OF THE SHAPED PRODUCTS, e.g. REPAIRING
    • B29C48/00Extrusion moulding, i.e. expressing the moulding material through a die or nozzle which imparts the desired form; Apparatus therefor
    • B29C48/16Articles comprising two or more components, e.g. co-extruded layers
    • B29C48/18Articles comprising two or more components, e.g. co-extruded layers the components being layers
    • B29C48/21Articles comprising two or more components, e.g. co-extruded layers the components being layers the layers being joined at their surfaces
    • BPERFORMING OPERATIONS; TRANSPORTING
    • B29WORKING OF PLASTICS; WORKING OF SUBSTANCES IN A PLASTIC STATE IN GENERAL
    • B29CSHAPING OR JOINING OF PLASTICS; SHAPING OF MATERIAL IN A PLASTIC STATE, NOT OTHERWISE PROVIDED FOR; AFTER-TREATMENT OF THE SHAPED PRODUCTS, e.g. REPAIRING
    • B29C48/00Extrusion moulding, i.e. expressing the moulding material through a die or nozzle which imparts the desired form; Apparatus therefor
    • B29C48/25Component parts, details or accessories; Auxiliary operations
    • B29C48/255Flow control means, e.g. valves
    • B29C48/2552Flow control means, e.g. valves provided in the feeding, melting, plasticising or pumping zone, e.g. screw, barrel, gear-pump or ram
    • BPERFORMING OPERATIONS; TRANSPORTING
    • B65CONVEYING; PACKING; STORING; HANDLING THIN OR FILAMENTARY MATERIAL
    • B65DCONTAINERS FOR STORAGE OR TRANSPORT OF ARTICLES OR MATERIALS, e.g. BAGS, BARRELS, BOTTLES, BOXES, CANS, CARTONS, CRATES, DRUMS, JARS, TANKS, HOPPERS, FORWARDING CONTAINERS; ACCESSORIES, CLOSURES, OR FITTINGS THEREFOR; PACKAGING ELEMENTS; PACKAGES
    • B65D83/00Containers or packages with special means for dispensing contents
    • B65D83/14Containers for dispensing liquid or semi-liquid contents by internal gaseous pressure, i.e. aerosol containers comprising propellant
    • B65D83/75Aerosol containers not provided for in groups B65D83/16 - B65D83/74
    • B65D83/753Aerosol containers not provided for in groups B65D83/16 - B65D83/74 characterised by details or accessories associated with outlets
    • BPERFORMING OPERATIONS; TRANSPORTING
    • B05SPRAYING OR ATOMISING IN GENERAL; APPLYING FLUENT MATERIALS TO SURFACES, IN GENERAL
    • B05BSPRAYING APPARATUS; ATOMISING APPARATUS; NOZZLES
    • B05B11/00Single-unit hand-held apparatus in which flow of contents is produced by the muscular force of the operator at the moment of use
    • B05B11/01Single-unit hand-held apparatus in which flow of contents is produced by the muscular force of the operator at the moment of use characterised by the means producing the flow
    • B05B11/10Pump arrangements for transferring the contents from the container to a pump chamber by a sucking effect and forcing the contents out through the dispensing nozzle
    • B05B11/1042Components or details
    • B05B11/1052Actuation means
    • B05B11/1053Actuation means combined with means, other than pressure, for automatically opening a valve during actuation; combined with means for automatically removing closures or covers from the discharge nozzle during actuation
    • BPERFORMING OPERATIONS; TRANSPORTING
    • B29WORKING OF PLASTICS; WORKING OF SUBSTANCES IN A PLASTIC STATE IN GENERAL
    • B29CSHAPING OR JOINING OF PLASTICS; SHAPING OF MATERIAL IN A PLASTIC STATE, NOT OTHERWISE PROVIDED FOR; AFTER-TREATMENT OF THE SHAPED PRODUCTS, e.g. REPAIRING
    • B29C48/00Extrusion moulding, i.e. expressing the moulding material through a die or nozzle which imparts the desired form; Apparatus therefor
    • B29C48/025General arrangement or layout of plant
    • BPERFORMING OPERATIONS; TRANSPORTING
    • B29WORKING OF PLASTICS; WORKING OF SUBSTANCES IN A PLASTIC STATE IN GENERAL
    • B29CSHAPING OR JOINING OF PLASTICS; SHAPING OF MATERIAL IN A PLASTIC STATE, NOT OTHERWISE PROVIDED FOR; AFTER-TREATMENT OF THE SHAPED PRODUCTS, e.g. REPAIRING
    • B29C48/00Extrusion moulding, i.e. expressing the moulding material through a die or nozzle which imparts the desired form; Apparatus therefor
    • B29C48/25Component parts, details or accessories; Auxiliary operations
    • B29C48/266Means for allowing relative movements between the apparatus parts, e.g. for twisting the extruded article or for moving the die along a surface to be coated
    • BPERFORMING OPERATIONS; TRANSPORTING
    • B29WORKING OF PLASTICS; WORKING OF SUBSTANCES IN A PLASTIC STATE IN GENERAL
    • B29CSHAPING OR JOINING OF PLASTICS; SHAPING OF MATERIAL IN A PLASTIC STATE, NOT OTHERWISE PROVIDED FOR; AFTER-TREATMENT OF THE SHAPED PRODUCTS, e.g. REPAIRING
    • B29C48/00Extrusion moulding, i.e. expressing the moulding material through a die or nozzle which imparts the desired form; Apparatus therefor
    • B29C48/25Component parts, details or accessories; Auxiliary operations
    • B29C48/269Extrusion in non-steady condition, e.g. start-up or shut-down
    • B29C48/2694Intermittent extrusion
    • BPERFORMING OPERATIONS; TRANSPORTING
    • B29WORKING OF PLASTICS; WORKING OF SUBSTANCES IN A PLASTIC STATE IN GENERAL
    • B29CSHAPING OR JOINING OF PLASTICS; SHAPING OF MATERIAL IN A PLASTIC STATE, NOT OTHERWISE PROVIDED FOR; AFTER-TREATMENT OF THE SHAPED PRODUCTS, e.g. REPAIRING
    • B29C48/00Extrusion moulding, i.e. expressing the moulding material through a die or nozzle which imparts the desired form; Apparatus therefor
    • B29C48/25Component parts, details or accessories; Auxiliary operations
    • B29C48/30Extrusion nozzles or dies
    • B29C48/345Extrusion nozzles comprising two or more adjacently arranged ports, for simultaneously extruding multiple strands, e.g. for pelletising
    • BPERFORMING OPERATIONS; TRANSPORTING
    • B29WORKING OF PLASTICS; WORKING OF SUBSTANCES IN A PLASTIC STATE IN GENERAL
    • B29LINDEXING SCHEME ASSOCIATED WITH SUBCLASS B29C, RELATING TO PARTICULAR ARTICLES
    • B29L2031/00Other particular articles
    • B29L2031/702Imitation articles, e.g. statues, mannequins
    • B29L2031/7022Flowers
    • BPERFORMING OPERATIONS; TRANSPORTING
    • B65CONVEYING; PACKING; STORING; HANDLING THIN OR FILAMENTARY MATERIAL
    • B65DCONTAINERS FOR STORAGE OR TRANSPORT OF ARTICLES OR MATERIALS, e.g. BAGS, BARRELS, BOTTLES, BOXES, CANS, CARTONS, CRATES, DRUMS, JARS, TANKS, HOPPERS, FORWARDING CONTAINERS; ACCESSORIES, CLOSURES, OR FITTINGS THEREFOR; PACKAGING ELEMENTS; PACKAGES
    • B65D83/00Containers or packages with special means for dispensing contents
    • B65D83/14Containers for dispensing liquid or semi-liquid contents by internal gaseous pressure, i.e. aerosol containers comprising propellant
    • B65D83/40Closure caps

Landscapes

  • Engineering & Computer Science (AREA)
  • Mechanical Engineering (AREA)
  • Chemical & Material Sciences (AREA)
  • Dispersion Chemistry (AREA)
  • Containers And Packaging Bodies Having A Special Means To Remove Contents (AREA)
  • Nozzles (AREA)
  • Closures For Containers (AREA)

Abstract

본 발명은 용기체(11)와, 토출기(14)와, 외장부(15)와, 내부판(61,67)를 구비하고, 외장부(15)는 용기체(11)에 장착되고, 내부판(61,67)에는 걸림부(36)가 설치되고, 또한 누름부(71,72,73,74,75,76,77)가 구비되고, 누름부는 외장부(15)의 주벽부(15a)에 형성된 삽입 관통 구멍(29)을 통과하여 외장부(15)의 외측에 배치되어 있는 토출 용기(1,2,3,4,5,6,10)이다.

Description

토출면에 내용물을 토출하는 토출 용기
본 발명은 토출면에 내용물을 토출하는 토출 용기에 관한 것이다. 본 출원은 2015년 12월 25일자로 일본에 출원된 일본 특허 출원 제2015-254855호에 기초하여 우선권을 주장하고, 그 내용을 여기에 원용한다.
종래부터, 예를 들어, 하기 특허문헌 1에 나타나는 바와 같은 토출 용기가 알려져 있다. 이 토출 용기는 내부 피스톤의 상방에 빨아올려진 액체(내용물)를 담아두는 받침 접시를 갖는다. 받침 접시에는 내부 피스톤에 연통하는 연통 구멍과, 연통 구멍 상측에 위치하는 받침판이 설치되어 있다. 받침판은 연통 구멍의 둘레 방향으로 간격을 두고 설치된 복수의 고정다리를 통해서, 연통 구멍 주변에 접속되어 있다. 둘레 방향으로 인접하는 고정다리끼리 사이에는 내부 피스톤의 상방에 빨아올려진 액체를 받침 접시의 상면(토출면)에 토출하는 액출 구멍이 형성되어 있다.
일본 실용신안 공개 평1-103554호 공보
그러나 상기 종래의 토출 용기에서는 내용물을 토출할 때에, 내용물이 토출되는 받침 접시를 아래를 향해 압박한다. 그 때문에, 내용물이 손에 부착되거나, 받침 접시가 내부 피스톤에 대해서 흔들리거나, 받침 접시에 토출된 내용물이 흐르거나 할 가능성이 있다.
본 발명은 상기 문제를 감안하여 이루어진 것으로, 내용물을 토출할 때에, 내용물이 손에 부착하거나, 흐르거나 하는 것을 억제할 수 있는 토출 용기를 제공하는 것을 목적으로 한다.
상기한 과제를 해결하기 위해, 본 발명의 제1 측면은 내용물이 수용되는 용기체와, 용기체의 입구부에 상방 가압 상태에서 하향 이동 가능하게 세워져 설치된 스템을 갖는 토출기와, 스템의 상측에 배치됨과 더불어, 토출 구멍이 상하 방향으로 관통하는 정상벽부(top wall section)를 가지며, 정상벽부에서의 상측을 향하는 토출면에 토출 구멍에서 내용물을 토출하는 외장부와, 외장부 내에 이동이 자유롭게 설치된 내부판(inner plate)을 구비하고, 외장부는 용기체에 장착되고, 내부판에는 스템에 걸려, 내부판의 하강에 따라 스템을 하강시키는 걸림부가 설치됨은 물론, 지름 방향으로 외측을 향해 돌출하는 누름부가 구비되고, 누름부는 외장부의 주벽부에 형성된 삽입 관통 구멍을 통과하여 외장부의 외측에 배치되어 있는 토출 용기이다.
이 제1 측면에 따르면, 내용물을 토출시킬 때에 누르는 누름부가, 내용물이 토출되는 토출면을 갖는 외장부와는 별도의 내부판에 구비되어 있다. 이 때문에, 외장부의 토출면에 접촉하지 않고, 내용물을 토출시키는 것이 가능해져, 내용물이 손에 부착하는 것을 방지할 수 있음은 물론, 외장부가 흔들거리는 것이 억제되어, 토출면에서 내용물이 흐르는 것을 방지할 수 있다.
본 발명의 제2 측면은, 내부판이 외장부 내에 배치된 내부판 본체를 구비하고, 누름부는 표면 및 이면이 외장부의 외주면을 따라 연장되는 측판과, 측판에서 지름 방향으로 외측을 향해 돌출하고 또한 표면 및 이면이 상하 방향을 향하는 누름판과, 측판과 내부판 본체를 연결하여 삽입 관통 구멍에 삽입 관통된 연결판을 구비한 제1 측면의 토출 용기이다.
이 제2 측면에 따르면, 누름부가 외장부의 외주면을 따라 연장하는 측판을 구비하고 있고, 지름 방향으로 외측을 향해 돌출하는 누름판이 측판을 통해서 연결판에 연결되어 있다. 그 때문에, 누름부 전체의 상하 방향의 굴곡 강성을 확보하기 쉬워져, 내구성을 향상시킬 수 있다.
본 발명의 제3 측면은, 누름판이 외장부의 주벽부에서의 전체 둘레에 걸쳐 배치되어 있는, 제1 또는 제2 측면의 토출 용기이다. 이 제3 측면에 따르면, 누름판이 외장부의 주벽부 전체 둘레에 걸쳐 배치되어 있다. 이 때문에, 내용물을 토출할 때에, 예를 들어, 토출 용기의 둘레 방향의 방향을 바꿀 필요가 없어져, 뛰어난 조작성을 갖추도록 할 수 있다.
본 발명의 제4 측면은 내부판이 정상벽부에서의 하측을 향하는 공급면과의 사이에, 스템으로부터의 내용물을 지름 방향으로 확산하여 토출 구멍에 공급하는 확산실을 형성하고 있는, 제1 내지 제3 측면 중 어느 하나의 토출 용기이다. 이 제4 측면에 따르면, 용기체 내의 내용물이 확산실 내에서 지름 방향으로 확산된 후에 토출 구멍에 공급되므로, 토출면에 있어서 특정 일부에 배치된 토출 구멍에 내용물이 집중하는 것을 억제하여, 토출 구멍에 불균일이 적게 내용물을 공급할 수 있다. 이로 인해, 토출면에 토출되는 내용물의 토출량이 위치마다 불균일하게 분포되는 것을 억제할 수 있다.
본 발명의 제5 측면은, 내부판이 상기 정상벽부에서의 하측을 향하는 공급면과의 사이에, 스템으로부터의 내용물을 지름 방향으로 확산하여 토출 구멍에 공급하는 확산실을 형성하고, 누름부는, 걸림 돌기부와, 상하 방향으로 연재하고, 또한 하단부가 힌지부를 통해 걸림 돌기부에 연결되어, 표면 및 이면이 지름 방향을 향하는 누름판을 구비하고, 누름판은 삽입 관통 구멍을 통과하여 외장부 외측에 배치되어, 표면 및 이면이 상하 방향을 향하는 사용 자세를 향해 힌지부 주위에 이동이 자유롭게 배치되고, 누름판의 하단부에는 사용 자세일 때, 걸림 돌기부의 하면에 걸리는 피걸림 돌기부가 형성되고, 용기체에는 외장부의 주벽부와의 사이에 간극이 형성된 상태로 배치된 규제벽이 구비되고, 내부판은 상기 누름판이 간극에 대해 진퇴하도록, 용기체에 대해 둘레 방향으로 회전이 자유롭게 배치되어 있는, 제1 측면의 토출 용기이다.
이 제5 측면에 따르면, 외장부의 토출면에 내용물을 토출시킬 때, 내부판을 둘레 방향으로 회전시켜 누름판을 규제벽과 외장부의 주벽부 사이에 있는 간극에서 벗어나는 위치로 이동시키고, 누름판을 표면 및 이면이 상하 방향을 향하도록 힌지부 주위에 이동시켜, 사용 자세로 한다. 이 사용 자세에 있는 누름판을 누름으로써, 외장부의 정상벽부와 내부판 사이에 위치하는 확산실의 내용적을 증대시키는 동시에, 내부판의 걸림부를 스템에 걸림 고정한다. 또한, 내부판의 하강에 따라, 걸림부에 걸려진 스템이 상방 가압력에 저항하여 하강함으로써, 용기체 내의 내용물이 스템을 통하여 확산실에 유입한다. 확산실에 유입한 내용물은 확산실 내에서 지름 방향으로 확산된 후에 토출 구멍에 공급되어, 토출 구멍으로부터 토출면에 토출된다.
또한, 이 제5 측면에 따르면, 용기체 내의 내용물이 확산실 내에서 지름 방향으로 확산된 후에 토출 구멍에 공급되므로, 토출면에 있어서 특정 일부에 배치된 토출 구멍에 내용물이 집중하는 것을 억제하여, 토출 구멍에 불균일이 적게 내용물을 공급할 수 있다. 이에 의해, 토출면에 토출되는 내용물의 토출량이 위치마다 불균일하게 분포되는 것을 억제할 수 있다.
또한, 이 제5 측면에 따르면, 내용물을 토출시킬 때에만 누름판을 사용 자세로 하기 때문에, 토출 용기를 예를 들어, 유통 단계 등과 같이 사용하지 않을 때에, 누름판을 표면 및 이면이 지름 방향을 향하는 자세로 규제벽과 외장부의 주벽부 간의 간극에 진입시켜 수용해 둘 수 있다. 그 때문에, 토출 용기를 사용하지 않을 때의 지름 방향의 치수를 작게 억제할 수 있다. 한편으로, 사용 시의 누름판의 지름 방향으로 외측으로의 돌출 길이를 크게 하는 것이 가능해지므로, 누름판의 하향 누름을 용이하게 할 수 있다. 또한, 누름판을 사용 자세로 하면, 걸림 돌기부의 하면에 누름판의 피걸림 돌기부가 걸려, 누름판의 힌지부 주위의 아래로 향한 회전이 규제된다. 그 때문에, 누름판의 누름에 의해서 내부판을 확실하게 하강시킬 수 있다.
본 발명의 제6 측면은, 내부판이 공급면에 맞닿거나 또는 근접하는 상측의 대기 위치와, 걸림부가 스템에 걸리는 동시에, 스템을 하강시켜 스템으로부터의 내용물을 확산실 내에 공급하는 하측의 토출 위치와의 사이를 이동이 자유롭게 배치되고, 용기체와 내부판 사이에는 토출 위치에 위치하는 내부판을 상방 가압하여 대기 위치까지 상승시키는 가압 부재가 설치되어 있는, 제4 또는 제5 측면의 토출 용기이다.
이 제6 측면에 따르면, 내부판이 대기 위치에 위치하는 상태로부터, 누름판을 아래로 누름 조작하면, 내부판은 가압 부재에 의한 상방 가압력에 저항하여 하강하게 되어, 외장부의 공급면과 내부판 사이에 형성되는 확산실의 내용적이 증대됨은 물론, 내부판의 걸림부가 스템에 걸린다. 더 누름 조작하여 내부판을 하강시키면, 내부판의 하강에 따라, 걸림부가 스템을 상방 가압력에 저항하여 하강시키고, 내부판은 토출 위치에 배치되는 동시에, 용기체 내의 내용물이 스템을 통하여 확산실에 유입한다.
그 후, 누름판의 누름 조작을 해제하면, 가압 부재에 의한 내부판의 상방 가압력 및 스템의 상방 가압력에 의해, 내부판 및 스템이 상방 이동하여 복원 변위하게 되는 동시에, 내부판이 대기 위치로 복귀한다. 이 때, 내부판이 외장부의 정상벽부에 맞닿거나 또는 근접하는 것으로, 내부판을 상승시키기 전에 확산실 내에 내용물이 잔류해 있어도, 이 내용물이 확산실에서 토출면으로 압출된다. 즉, 누름판의 누름 조작을 해제함으로써, 내부판이 상방의 초기 위치로 복원 변위하고, 이에 의해 확산실 내에 잔류해 있던 내용물을, 확산실로부터 압출할 수 있다. 이 때문에, 외장부 내에서의 내용물의 잔량을 저감할 수 있다. 이와 같이, 외장부 내에서의 내용물의 잔량을 저감하는 것으로, 예를 들어, 외장부 내를 청정하게 유지하기 쉬울 수 있다.
본 발명에 따르면, 내용물을 토출할 때에, 내용물이 손에 부착하거나, 흐르거나 하는 것을 억제할 수 있다.
도 1은 본 발명의 제1 실시형태에 관한 토출 용기의 주요부에 대한 반쪽 종단면도로서, 내부판이 대기 위치에 위치하는 상태를 나타내는 도면이다.
도 2는 도 1에 도시한 토출 용기의 상면도이다.
도 3은 도 2에 도시한 토출 용기의 내부판을 나타내는 상면도이다.
도 4는 도 1에 도시한 토출 용기의 주요부에 대한 반쪽 종단면도로서, 내부판을 토출 위치로 하강시킨 상태를 나타내는 도면이다.
도 5는 본 발명의 제2 실시형태에 관한 토출 용기의 주요부에 대한 반쪽 종단면도로서, 내부판이 대기 위치에 위치하는 상태를 나타내는 도면이다.
도 6은 도 5에 도시한 토출 용기의 상면도이다.
도 7은 도 6에 도시한 토출 용기의 내부판을 나타내는 상면도이다.
도 8은 본 발명의 제3 실시형태에 관한 토출 용기의 주요부에 대한 반쪽 종단면도로서, 내부판이 대기 위치에 위치하는 상태를 나타내는 도면이다.
도 9는 본 발명의 제4 실시형태에 관한 토출 용기의 주요부에 대한 반쪽 종단면도로서, 내부판이 대기 위치에 위치하는 상태를 나타내는 도면이다.
도 10은 도 9에 도시한 토출 용기의 상면도이다.
도 11은 도 10에 도시한 토출 용기의 내부판을 나타내는 상면도이다.
도 12는 본 발명의 제5 실시형태에 관한 토출 용기의 주요부에 대한 반쪽 종단면도로서, 내부판이 대기 위치에 위치하는 상태를 나타내는 도면이다.
도 13은 도 12에 도시한 토출 용기의 상면도이다.
도 14는 도 13에 도시한 토출 용기의 내부판을 나타내는 상면도이다.
도 15는 본 발명의 제6 실시형태에 관한 토출 용기의 주요부에 대한 반쪽 종단면도로서, 내부판이 대기 위치에 위치하는 상태를 나타내는 도면이다.
도 16은 도 15에 도시한 토출 용기의 상면도이다.
도 17은 도 16에 도시한 토출 용기의 내부판을 나타내는 상면도이다.
도 18은 본 발명의 실시형태에 관한 토출 용기의 주요부에 대한 반쪽 종단면도로서, 내부판이 대기 위치에 위치하는 상태를 나타내는 도면이다.
도 19는 도 18에 도시한 토출 용기의 상면도로서, 외장부를 위에서 본 도면이다.
도 20은 도 18에 도시한 토출 용기의 내부판의 주요부를 나타내는 종단면도이다.
도 21은 도 18에 도시한 토출 용기의 주요부에 대한 반쪽 종단면도로서, 누름판을 사용 자세로 한 상태를 나타내는 도면이다.
도 22는 도 21에 도시한 토출 용기의 상면도로서, 외장부를 위에서 본 도면이다.
도 23은 도 21에 도시한 토출 용기의 주요부에 대한 반쪽 종단면도로서, 내부판을 토출 위치에 하강시킨 상태를 나타내는 도면이다.
(제1 실시형태)
이하에서는 도면을 참조하여, 본 발명의 제1 실시형태에 관한 토출 용기를 설명한다.
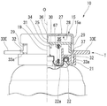
도 1 내지 도 4에 도시한 바와 같이, 토출 용기(1)는 용기체(11)와, 토출기(14)와, 외장부(15)와, 내부판(61)을 구비한다. 토출 용기(10)는 예를 들어, 거품체나 고점성 재료 등, 토출 후에 적어도 일정 시간에 걸체 형상을 유지 가능한 내용물을 토출한다. 용기체(11)는 내용물이 수용되는 용기 본체(12)와, 용기 본체(12)의 입구부(12a)에 장착된 고정부재(13)를 구비한다.
여기서, 본 실시형태에서는 용기 본체(12)는 바닥이 있는 통 형태로 형성되고, 외장부(15)는 천정이 있는 통 형태로 형성되어 있어, 이들의 각 중심축은 공통 축 상에 배치되어 있다. 이하, 이 공통 축을 용기 축(O)이라 하고, 용기 축(O)을 따른 방향 중, 용기 본체(12)의 바닥측을 하측이라 하고, 용기 본체(12)의 입구부(12a)측을 상측이라 하고, 용기 축(O)을 따른 방향을 상하 방향이라 한다. 토출 용기(10)를 상면에서 봤을 때, 용기 축(O)과 직교하는 방향을 지름 방향이라 하고, 용기 축(O) 주위를 주회하는 방향을 둘레 방향이라 한다.
용기 본체(12)는 이 용기 본체(12)의 입구부(12a)가 정벽(17)으로 덮여짐으써 밀폐되어 있다. 정벽(17)에는 둘레 방향으로 연장하는 환상 오목부(18)가 형성되어 있다. 환상 오목부(18)는 하측을 향해 오목하게 들어가 있다.
토출기(14)는 용기 본체(12)의 입구부(12a)에 상방 가압 상태에서 하향 이동 가능하게 세워 설치된 스템(19)을 갖추고 있다. 스템(19)은 용기 축(O)과 동축에 배치되어, 환상 오목부(18)보다도 작은 직경으로 형성되어 있다. 스템(19)은 정벽(17)을 상하 방향으로 관통한다. 토출기(14) 내부에 있어서, 용기 본체(12) 내에 위치하는 부분에는 도시하지 않은 토출 밸브가 설치되어 있다.
용기 본체(12)에 대해서 스템(19)이 눌려지면, 토출 밸브가 열리고, 용기 본체(12) 내의 내용물이 스템(19) 내를 통하여 스템(19)의 상단부에서 토출된다. 이 때, 본 실시형태에서는 스템(19)의 상단부로부터, 예를 들어, 거품 형태가 된 용기 본체(12) 내의 내용물이 토출된다. 스템(19)의 누름을 해제하면, 스템(19)에 작용하는 상방 가압력에 의해 스템(19)이 상승하는 동시에 토출 밸브가 닫혀져, 내용물의 토출이 정지된다. 또한, 상술한 용기 본체(12) 및 토출기(14)는 용기 본체(12) 내에 수용된 내용물을 스템(19)에서 토출하는 토출 용기 본체(20)를 구성한다. 도시한 예에서는 토출 용기 본체(20)로서, 내부에 액상 내용물이 수용된 에어졸 캔을 채용하고 있다.
고정부재(13)는 스템(19)을 지름 방향으로 외측에서 둘러싸도록 용기 본체(12)의 입구부(12a)에 고정된다. 고정부재(13)는 용기 축(O)과 동축의 다중 통 형태로 형성되어 있다. 고정부재(13)는 용기 본체(12)의 입구부(12a)에, 용기 축(O) 주위를 회전 불가능하게, 또한 상승 불가능하게 고정되어 있다. 고정부재(13)는 외통부(21)와, 내통부(22)와, 돌출부(23A)를 구비한다.
외통부(21)는 본 실시형태에서는 상측을 향해 개구하는 환상 홈을 갖는 2중 통 형태로 형성되어 있어, 외장부(15)의 주벽부(15a) 하단부는 환상 홈 내에 끼워맞춰져 있다. 외통부(21)를 상면에서 본 형태는 용기 축(O)과 동축의 원형으로 되어 있다.
내통부(22)는 정벽(17)의 환상 오목부(18) 내에 끼워맞춰져 있다. 내통부(22)는 환상 오목부(18)에 있어서, 지름 방향으로 내측을 향하는 외주면에, 지름 방향으로 내측에서 끼워맞춰져 있다. 돌출부(23A)는 외통부(21)와 내통부(22)를 연결하여, 상측을 향해 돌출해 있고, 후술하는 토출 상태에 있어서, 돌출부(23A)의 외주면과 내부판 본체(30)의 내주면이 지름 방향으로 근접하는 위치에 배치되어 있다.
외장부(15)는 스템(19)의 상측에 배치된 정상벽부(24)를 갖는다. 정상벽부(24)는 용기 축(O)과 직교하는 판상으로 형성되어 있다. 외장부(15)의 내주면을 상면에서 본 형상은 용기 축(O)과 동축의 원형으로 되어 있다. 외장부(15)는 용기 축(O)과 동축에 배치된 천정이 있는 원통형으로 형성되어 있다. 외장부(15)에는 심체(25)와, 성형 구멍(토출 구멍)(26A)과, 삽입 관통 구멍(29)이 형성되어 있다. 심체(25)는 정상벽부(24)에서 하측을 향해 연장해 있다. 심체(25)는 용기 축(O)과 동축에 배치되어 있다. 심체(25)는 스템(19)의 상단 가장자리보다도 상측에 위치해 있다. 심체(25)의 외부 직경은 스템(19)의 내부 직경보다도 작고, 심체(25)는 스템(19)의 상단부와 상하 방향으로 대향해 있다. 심체(25)는 단단한 봉 형태 또는 기둥 형태로 형성되어 있다. 심체(25)의 하단부에 지름 축소부가 형성되어 있다.
복수의 성형 구멍(26A)은 외장부(15)의 정상벽부(24)에 상하 방향으로 관통하여 형성되어 있다. 복수의 성형 구멍(26A)은 정상벽부(24)에 있어서 상측을 향하는 토출면(27) 및 정상벽부(24)에 있어서 하측을 향하는 공급면(28)에 각각 개구해 있다. 또한, 토출면(27) 및 공급면(28)은 용기 축(O)과 직교하는 방향으로 연장해 있다.
성형 구멍(26A)은 둘레 방향으로 연장하는 긴 구멍 형태로 형성되어 있다. 복수의 성형 구멍(26A)은 둘레 방향 및 지름 방향으로 간격을 두고 배치되어 있다. 본 실시형태에서는 둘레 방향으로 간격을 두고 배치된 복수의 성형 구멍(26A)이 구멍열 L1을 형성하고 있고, 이 구멍열 L1이 용기 축(O)을 중심으로 하여 다중으로 배치되어 있다. 구멍열 L1은 상면에서 봤을 때, 심체(25)를 지름 방향으로 외측에서 둘러싸도록 배치되어 있다.
삽입 관통 구멍(29)은 외장부(15)의 주벽부(15a)를, 주벽부(15a)의 하단측이 개구하도록 절결함으로써 형성되어, 외장부(15)를 지름 방향으로 관통하고 있다. 삽입 관통 구멍(29)은 내부판(61)의 후술하는 누름부(71)가 외장부(15)의 외측을 향해 돌출하도록 삽입 관통 가능한 위치 및 치수로 형성되어 있다.
내부판(61)은 외장부(15) 내에 상하 이동이 자유롭게 설치되고, 또한 외장부(15)에 대해서 회전 이동이 규제되어 있다. 내부판(61)은 외장부(15) 내에 배치된 내부판 본체(30)와, 그 내측에 스템(19)이 진퇴하는 가이드통(31)과, 스템(19)에 걸려, 내부판(61)의 하강에 따라 스템(19)을 하강시키는 걸림부(36)와, 지름 방향으로 외측을 향해 돌출하는 누름부(71)를 구비한다. 내부판 본체(30)는 천정이 있는 통 형태로 형성되고, 외장부(15) 내에 상하 이동이 자유롭게 끼워맞춰져, 외주면이 외장부(15)의 내주면 위를 상하 방향으로 슬라이딩한다. 내부판 본체(30)의 상면에서 본 형상은 외장부(15)의 내주면에서의 상면에서 본 형상과 동등한 형상 또한 동등한 크기로 형성되어 있다.
내부판 본체(30)에는 연통 구멍(34)이 형성되어 있다. 연통 구멍(34)은 내부판 본체(30)를 상하 방향으로 관통해 있다. 연통 구멍(34)은 용기 축(O)과 동축에 배치되어 있다. 연통 구멍(34)은 심체(25)보다도 큰 직경이 되고, 연통 구멍(34) 내에는 심체(25)가 삽입 관통된다. 연통 구멍(34)은 스템(19)의 외부 직경보다도 작은 직경이 된다.
가이드통(31)은 내부판 본체(30)에서 하측을 향해 연장되고, 가이드통(31)은 용기 축(O)과 동축에 배치되어 있다.
내부판(61)은 도 1에 도시한 바와 같은 공급면(28)에 맞닿거나 또는 근접하는 상방의 대기 위치와, 도 4에 도시한 바와 같은 스템(19)을 하강시켜, 스템(19)으로부터의 내용물을 확산실(35) 내로 공급하는 하방의 토출 위치와의 사이를 상하 이동한다. 도 1에 도시한 바와 같이, 내부판(61)이 대기 위치에 위치할 때에는 심체(25)가 연통 구멍(34)에 삽입 관통되어 있다.
도 4에 도시한 바와 같이, 내부판(61)은 토출 위치에 있어서, 공급면(28)에서 아래로 이격되어, 공급면(28)과의 사이에 확산실(35)을 형성한다. 확산실(35)은 스템(19)으로부터의 내용물을 정상벽부(24)에서의 하측을 향하는 공급면(28)과의 사이에, 지름 방향(토출면(27) 및 공급면(28)을 따르는 방향)으로 확산하여 복수의 성형 구멍(26A) 각각에 공급한다. 확산실(35)은 용기 축(O)과 동축에 배치되어 있다. 확산실(35)은 상하 방향보다도 지름 방향으로 큰 편평 형상으로 형성되어 있다. 확산실(35)의 벽면 일부는 공급면(28)에 의해 형성되어 있다.
내부판(61)에는 토출 위치에 위치할 때에, 스템(19)에 걸려, 스템(19)을 하강시키는 걸림부(36)가 설치되어 있다. 걸림부(36)는 내부판 본체(30)에서의 연통 구멍(34)의 개구 주연부에 위치하고, 스템(19)의 상단 가장자리에서 맞닿아, 스템(19)을 하강시킨다. 이 때, 연통 구멍(34)은 스템(19) 내와 확산실(35)을 연통해 있다. 또한, 이 때, 내부판(61)의 내부판 본체(30)가 심체(25)보다도 하측에 위치해 있어, 심체(25)는 확산실(35) 내에 배치되어 있다.
도 1및 도 3에 도시한 바와 같이, 내부판(61)에는 지름 방향으로 외측을 향해 돌출하는 누름부(71)가 구비되어 있다. 누름부(71)는 표면 및 이면이 외장부(15)의 외주면을 따라 연장하는 측판(39A)과, 측판(39A)에서 지름 방향으로 외측을 향해 돌출하고, 또한 표면 및 이면이 상하 방향을 향하는 누름판(33A)과, 측판(39A)과 내부판 본체(30)를 연결하여 삽입 관통 구멍(29)에 삽입 관통된 연결판(38)을 구비하고 있다. 또한, 누름부(71)는 외장부(15)의 주벽부(15a)에 형성된 삽입 관통 구멍(29)을 통하여 외장부(15)의 지름 방향으로 외측에 배치되어 있다.
누름부(71)는 2개 구비되고, 내부판 본체(30)의 외주면에 있어서 용기 축(O)을 지름 방향으로 사이에 끼우는 위치에 각각 별도로 배치되어 있다. 연결판(38)은 내부판 본체(30)의 외주면 하단부에서 지름 방향으로 외측을 향해 돌출해 있다. 복수의(도시한 예에서는 2개) 연결판(38)은 둘레 방향으로 간격을 두고 배치되어 있다. 연결판(38)은 삽입 관통 구멍(29)에 삽입 관통된 상태로, 내부판 본체(30)와 측판(39A)을 연결하고 있다. 측판(39A)은 상하 방향으로 연장하여 배치되어 있다. 측판(39A)의 표면 및 이면은 외장부(15)의 외주면을 따라서 연장해 있다. 측판(39A)은 연결판(38)과 누름판(33A)을 연결하고 있다.
누름판(33A)은 측판(39A)의 상단부에서 지름 방향으로 외측을 향해 돌출해 있다. 누름판(33A)의 표면 및 이면은 상하 방향을 향해 있다. 누름판(33A)의 표면은 외장부(15)의 토출면(27)과 동일 평면으로 되어 있다. 또한, 누름판(33A)의 표면은 토출면(27)과 동일 평면으로 되어도 좋다.
용기체(11)의 고정부재(13)와 내부판(61) 사이에는 스프링 부재로 이루어지는 가압 부재(50)가 설치되어 있다. 가압 부재(50)는 토출 위치에 위치하는 내부판(61)을 상방 가압하여 대기 위치까지 상승시킨다. 가압 부재(50)의 상단부는 내부판 본체(30)의 하면에 맞닿고, 가압 부재(50)의 하단부는 고정부재(13)의 내통부(22)에서 지름 방향으로 내측을 향해 돌출하는 플랜지부(22a)의 상면에 맞닿아 있다.
다음에, 본 실시형태에 관한 토출 용기(1)의 작용에 대해서 설명한다.
토출 용기(1)의 사용 전의 초기 상태에서는 내부판(61)이 도 1에 도시한 바와 같은 대기 위치에 배치되어 있다. 그리고 도 4에 도시한 바와 같이, 외장부(15)의 토출면(27)에 내용물을 토출시킬 때에, 누름판(33A)을 가압 부재(50)의 가압력에 저항하여 누름으로써, 외장부(15)의 정상벽부(24)와 내부판(61) 사이에 위치하는 확산실(35)의 내용적을 증대시키는 동시에, 내부판(61)의 걸림부(36)를 스템(19)의 상단부에 걸림 고정시킨다.
또한, 내부판(61)의 하강에 따라, 걸림부(36)에 걸림 고정된 스템(19)이 상방 가압력에 저항하여 하강함으로써, 용기 본체(12) 내의 내용물이 스템(19)을 통하여 확산실(35)에 유입한다. 확산실(35)에 유입한 내용물은 정상벽부(24)에서의 아래를 향하는 공급면(28)과의 사이에, 확산실(35) 내에서 지름 방향으로 확산된 후에 복수의 성형 구멍(26A)에 공급되고, 이들 성형 구멍(26A)에서 토출면(27)에 토출된다.
여기서, 내용물이 복수의 성형 구멍(26A)을 각각 별도로 통과하여 성형되면, 복수의 조형편이 형성되고, 이들 조형편이 토출면(27) 상에서 조합됨으로써, 조형물이 형성된다. 또한, 성형 구멍(26A)에 의해 조형된 조형편은 성형 구멍(26A)이 연장하는 방향으로 길게 형성된다.
그 후, 누름판(33A)의 누름 조작을 해제하면, 내부판(61)이 스템(19)의 상방을 향한 복원 변위에 따라, 외장부(15)에 대해서 상방으로 이동한다. 이 때, 확산실(35)의 내용적이 감소하여, 확산실(35)에 유입해 있던 내용물이 확산실(35)로부터 성형 구멍(26A)을 통하여 외부로 압출된다.
이상에 설명한 바와 같이, 본 실시형태의 토출 용기(1)에 의하면, 내용물을 토출시킬 때에 누르는 누름부(71)가 내용물이 토출되는 토출면(27)을 갖는 외장부(15)와는 별도의 내부판(61)에 구비되어 있다. 이 때문에, 외장부(15)의 토출면(27)에 접촉하지 않고, 내용물을 토출시키는 것이 가능해져, 내용물이 손에 부착하는 것을 방지할 수 있다. 이에 더하여, 외장부(15)가 흔들리는 것이 억제되어, 토출면(27)으로부터 내용물이 흐르는 것을 방지할 수 있다.
또한, 본 실시형태의 토출 용기(1)에서는 누름부(71)가 외장부의 외주면을 따라 연장하는 측판(39A)을 갖추고 있고, 지름 방향으로 외측을 향해 돌출하는 누름판(33A)이 측판(39A)을 통해 연결판(38)에 연결되어 있다. 그 때문에, 누름부(71)의 상하 방향의 굴곡 강성을 확보하기 쉬워져, 내구성을 향상시킬 수 있다.
또한, 용기체(11) 내의 내용물이 확산실(35) 내에서 지름 방향으로 확산된 후에 토출 구멍(26A)에 공급된다. 그 때문에, 토출면(27)에 있어서 특정 일부에 배치된 토출 구멍(26A)에 내용물이 집중하는 것을 억제하여, 토출 구멍(26A)에 불균일이 적게 내용물을 공급할 수 있다. 이에 의해, 토출면(27)에 토출되는 내용물의 토출량이 위치마다 불균일하게 분포되는 것을 억제할 수 있다.
또한, 본 실시형태에서는 내부판(61)이 대기 위치에 위치하는 상태로부터, 누름판(33A)을 아래로 누름 조작하면, 내부판(61)은 가압 부재(50)에 의한 상방 가압력에 저항하여 하강하게 되어, 외장부(15)의 공급면(28)과 내부판(61) 사이에 형성되는 확산실(35)의 내용적이 증대되는 동시에, 내부판(61)의 걸림부(36)가 스템(19)에 걸린다. 더 누름 조작하여 내부판(61)을 하강시키면, 내부판(61)의 하강에 따라, 걸림부(36)가 스템(19)을 상방 가압력에 저항하여 하강시키고, 내부판(61)은 토출 위치에 배치되는 동시에, 용기 본체(12) 내의 내용물이 스템(19)을 통하여 확산실(35)에 유입한다.
그 후, 누름판(33A)의 누름 조작을 해제하면, 가압 부재(50)에 의한 내부판(61)의 상방 가압력 및 스템(19)의 상방 가압력에 의해, 내부판(61) 및 스템(19)이 상방 이동하여 복원 위치하게 되는 동시에, 내부판(61)이 대기 위치로 복귀된다. 이 때, 내부판(61)이 외장부(15)의 정상벽부(24)에 맞닿거나 또는 근접하는 것으로, 내부판(61)을 상승시키기 전에 확산실(35) 내에 내용물이 잔류해 있어도, 이 내용물이 확산실(35)로부터 토출면(27)에 압출된다. 즉, 누름판(33A)의 누름 조작을 해제함으로써, 내부판(61)이 상방의 초기 위치로 복원 변위한다. 이에 의해, 확산실(35) 내에 잔류해 있던 내용물을, 확산실(35)로부터 압출할 수 있으므로, 외장부(15) 내에서의 내용물의 잔량을 저감할 수 있다. 이와 같이, 외장부(15) 내에서의 내용물의 잔량을 저감하는 것으로, 예를 들어, 외장부(15) 내를 청정하게 유지하기 쉽게 하거나 할 수도 있다.
또한, 본 발명의 기술적 범위는 상기 실시형태에 한정되지 않고, 본 발명의 취지를 벗어나지 않는 범위에서 여러 가지 변경을 가하는 것이 가능하다.
예를 들어, 상기 실시형태에 있어서는 누름부(71)가 내부판 본체(30)에 2개 배치되고, 연결판(38)이 하나의 누름판(33A)에 2개 배치되어 있는 구성을 나타내었지만, 이러한 구성에 한정되지 않는다. 예를 들어, 내부판 본체에 1 또는 3개 이상의 누름부를 배치하여도 좋고, 하나의 누름판에 1개 또는 3개 이상의 연결판을 배치하여도 좋다. 또한, 상기 실시형태에 있어서는 내부판(61)이 토출 위치에 위치해 있을 때에 확산실(35)이 형성되는 구성을 나타내었지만, 이러한 구성에 한정되지 않는다. 예를 들어, 내부판(61)이 대기 위치에 위치해 있거나, 토출 위치에 위치해 있거나 상관없이, 확산실이 항상 형성되어 있어도 좋고, 확산실이 없어도 좋다. 또한, 토출기(14)의 토출 밸브로서, 스템(19)의 한 번의 누름 조작에 의해 일정량의 내용물이 토출되는 정량 밸브를 채용해도 좋다. 이러한 경우에는, 내용물이 토출면(27)에 토출되었을 때에, 복수의 성형 구멍(26A)을 통해서 토출면(27) 상에서 토출물이 조합되어 형성되는 조형물을 정밀도 좋게 형성할 수 있다.
(제2 실시형태)
다음에, 본 발명의 제2 실시형태에 관한 토출 용기를, 도 5 내지 도 7을 참조하여 설명한다. 또한, 이 제2 실시형태에 있어서는 제1 실시형태에서의 구성 요소와 동일한 부분에 대해서는 동일한 부호를 달아, 그 설명을 생략하고, 다른 점에 대해서만 설명한다.
도 5 내지 도 7에 도시한 바와 같이, 본 실시형태에 관한 토출 용기(2)에서는 누름부(72)에서의 측판(39) 및 누름판(33B)이 외장부(15)의 주벽부(15a)에서의 전체 둘레에 걸쳐 배치되어 있다. 본 실시형태의 토출 용기(2)에 의하면, 내용물을 토출할 때에, 토출 용기(2)의 둘레 방향의 방향을 바꿀 필요가 없어져, 우수한 조작성을 구비하도록 할 수 있다.
(제3 실시형태)
다음에 본 발명의 제3 실시형태에 관한 토출 용기를, 도 8을 참조하여 설명한다. 또한, 이 제3 실시형태에 있어서는 제2 실시형태에서의 구성 요소와 동일한 부분에 대해서는 동일한 부호를 달아 그 설명을 생략하고, 다른 점에 대해서만 설명한다.
도 8에 도시한 바와 같이, 본 실시형태에 관한 토출 용기(3)에서는 누름부(73)가 측판을 갖지 않고, 누름판(33C)이 연결판(38)의 지름 방향으로 외측 단에 직결되어 있다. 본 실시형태의 토출 용기(3)에 의하면, 누름부(73)가 측판을 갖고 있지 않기 때문에, 누름판(33C)을 누른 힘을, 직접 연결판(38)에 전달할 수 있음은 물론, 내부판(61)을 형성하는 수지의 양을 삭감할 수 있다.
(제4 실시형태)
다음에 본 발명의 제4 실시형태에 관한 토출 용기를, 도 9 내지 도 11을 참조하여 설명한다. 또한, 이 제4 실시형태에 있어서는 제2 실시형태에서의 구성 요소와 동일한 부분에 대해서는 동일한 부호를 달아 그 설명을 생략하고, 다른 점에 대해서만 설명한다.
도 9 내지 도 11에 도시한 바와 같이, 본 실시형태에 관한 토출 용기(4)의 누름부(74)는 연결판(38)의 지름 방향으로 외측 단에 연결된 파지통부(44)를 구비한다. 파지통부(44)는 용기 축(O)과 동축에 배치되어 있다. 파지통부(44)는 연결판(38)의 지름 방향으로 외측 단에서 지름 방향으로 외측을 향해 돌출하는 환상의 상부 플랜지부(44a)와, 상부 플랜지부(44a)의 외측 단에서 아래를 향해 연장되는 본체통(44b)과, 본체통(44b)의 하단에서 지름 방향으로 외측을 향해 돌출하는 환상의 하부 플랜지부(44c)를 구비한다. 본체통(44b)은 용기체 중, 용기 본체(12)의 하부를 제외한 전역을 지름 방향으로 외측에서 덮고 있다. 본 실시형태의 토출 용기(4)에 의하면, 내용물을 토출할 때에, 예를 들어, 상부 플랜지부(44a) 또는 하부 플랜지부(44c)를 누르는 조작 외에, 토출 용기(4)를 자립시킨 상태로, 본체통(44b)을 파지하여 하강시키는 조작에 의해서 내용물을 토출시킬 수 있다.
(제5 실시형태)
다음에 본 발명의 제5 실시형태에 관한 토출 용기를, 도 12 내지 도 14를 참조하여 설명한다. 또한, 이 제5 실시형태에 있어서는 제1 실시형태에서의 구성 요소와 동일한 부분에 대해서는 동일한 부호를 달아 그 설명을 생략하고, 다른 점에 대해서만 설명한다.
도 12 내지 도 14에 도시한 바와 같이, 본 실시형태에 관한 토출 용기(5)의 누름부(75)는 연결판(38)의 지름 방향으로 외측 단에 연결된 경사판(45)을 구비한다. 경사판(45)은 아래를 향함에 따라, 점차 지름 방향으로 외측을 향해 연장해 있다. 경사판(45)은 지름 방향으로 외측에서 보아 사각형의 형상을 나타내고, 그 중 2변이 둘레 방향으로 연장하고, 나머지 2변이 상하 방향으로 연장해 있다. 경사판(45)의 하단에는 지름 방향으로 외측을 향해 돌출하는 돌기부(45a)가 형성되어 있다. 본 실시형태의 토출 용기(5)에 의하면, 내용물을 토출할 때에, 용기 축(O)을 지름 방향으로 사이에 끼운 위치에 각각 별도로 배치된 한 쌍의 경사판(45)을, 지름 방향으로 사이에 끼우면서 누름부(75) 전체를 누를 수 있다. 따라서, 내용물의 토출 시에, 토출 용기(5)의 자세를 안정하게 할 수 있다.
(제6 실시형태)
다음에 본 발명의 제6 실시형태에 관한 토출 용기를, 도 15 내지 도 17을 참조하여 설명한다. 또한, 이 제6 실시형태에 있어서는 제5 실시형태에서의 구성 요소와 동일한 부분에 대해서는 동일한 부호를 달아 그 설명을 생략하고, 다른 점에 대해서만 설명한다.
도 15 내지 도 17에 도시한 바와 같이, 본 실시형태에 관한 토출 용기(6)의 누름부(76)는 연결판(38)의 지름 방향으로 외측 단에 연결된 경사판(46)을 구비한다. 경사판(46)은 상측을 향함에 따라, 점차 지름 방향으로 외측을 향해 연장해 있다. 경사판(46)은 지름 방향으로 외측에서 보아 사각형의 형상을 나타내고, 이 중 2변이 둘레 방향으로 연장하고, 나머지 2변이 상하 방향으로 연장해 있다. 경사판(46)의 상단에는 지름 방향으로 외측을 향해 돌출하는 돌기부(46a)가 형성되어 있다.
(제7 실시형태)
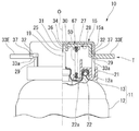
다음에 본 발명에 관한 제7 실시형태에 관한 토출 용기를, 도 18 내지 도 23을 참조하여 설명한다. 도 18 내지 도 23에 도시한 바와 같이, 토출 용기(10)는 용기체(11)와, 토출기(14)와, 외장부(15)와, 내부판(67)을 구비한다. 토출 용기(10)는 예를 들어, 거품체나 고점성 재료 등, 토출 후에 적어도 일정 시간에 걸쳐 형상을 유지 가능한 내용물을 토출한다. 용기체(11)는 내용물이 수용되는 용기 본체(12)와, 용기 본체(12)의 입구부(12a)에 장착된 고정부재(13)를 구비한다. 용기 본체(12)에는 외장부(15)를 외측에서 덮는 동시에, 용기 본체(12)에 이탈이 자유롭게 장착된 천정이 있는 통 형태의 캡(C)이 설치되어 있다.
여기서, 본 실시형태에서는 용기 본체(12)는 천정이 있는 통 형태로 형성되고, 외장부(15)는 천정이 있는 통 형태로 형성되어 있어, 이들 각 중심 축은 공통 축 상에 배치되어 있다. 이하, 이 공통 축을 용기 축(O)이라 하고, 용기 축(O)을 따르는 방향 중, 용기 본체(12)의 바닥부측을 하측이라 하고, 용기 본체(12)의 입구부(12a)측을 상측이라 하고, 용기 축(O)을 따르는 방향을 상하 방향이라 한다. 토출 용기(10)를 상면에서 봤을 때, 용기 축(O)과 직교하는 방향을 지름 방향이라 하고, 용기 축(O) 주위를 주회하는 방향을 둘레 방향이라 한다.
용기 본체(12)는 이 용기 본체(12)의 입구부(12a)가 정벽(17)으로 덮여짐으로써 밀폐되어 있다. 정벽(17)에는 둘레 방향으로 연장하는 환상 오목부(18)가 형성되어 있다. 환상 오목부(18)는 하측을 향해 오목하게 들어가 있다.
토출기(14)는 용기 본체(12)의 입구부(12a)에 상방 가압 상태에서 하향 이동 가능하게 세워 설치된 스템(19)을 구비한다. 스템(19)은 용기 축(O)과 동축으로 배치되고, 환상 오목부(18)보다도 작은 직경으로 형성되어 있다. 스템(19)은 정벽(17)을 상하 방향으로 관통해 있다. 토출기(14)의 내부에 있어서, 용기 본체(12) 내에 위치하는 부분에는 도시하지 않은 토출 밸브가 설치되어 있다.
용기 본체(12)에 대해서 스템(19)이 눌러지면, 토출 밸브가 열리고, 용기 본체(12) 내의 내용물이 스템(19) 내를 통과하여 스템(19)의 상단부에서 토출된다. 이 때, 본 실시형태에서는 스템(19)의 상단부로부터, 예를 들어, 거품 형태가 된 용기 본체(12) 내의 내용물이 토출된다. 스템(19)의 누름을 해제하면, 스템(19)에 작용하는 상방 가압력에 의해 스템(19)이 상승하는 동시에, 토출 밸브가 닫혀, 내용물의 토출이 정지된다. 또한, 상술한 용기 본체(12) 및 토출기(14)는 용기 본체(12) 내에 수용된 내용물을 스템(19)으로부터 토출하는 토출 용기 본체(20)를 구성한다. 도시한 예에서는 토출 용기 본체(20)로서, 내부에 액상 내용물이 수용된 에어졸 캔을 채용하고 있다.
고정부재(13)는 스템(19)을 지름 방향으로 외측에서 둘러싸도록 용기 본체(12)의 입구부(12a)에 고정된다. 고정부재(13)는 용기 축(O)과 동축으로 다중 통 형태로 형성되어 있다. 고정부재(13)는 용기 본체(12)의 입구부(12a)에 용기 축(O) 주위를 회전 불가능하게, 또한 상승 불가능하게 고정되어 있다. 고정부재(13)는 외통부(21)와, 내통부(22)와, 연결부(23B)를 구비한다.
외통부(21)는 본 실시형태에서는 상측을 향해 개구하는 환상 홈을 갖는 2중 통 형태로 형성되어 있어, 외장부(15)의 주벽부(15a) 하단부는 상기 환상 홈 내에 끼워맞춰져 있다. 도시한 예에서는 외장부(15)는 외통부(21) 내측에 외장부(15)의 주벽부(15a)가 끼워 맞춰짐으로써, 고정부재(13)에 대해 용기 축(O) 주위를 회전 이동 가능하게 배치되고, 또한 고정부재(13)에 대한 상승 이동이 규제되어 있다. 외통부(21)를 상하 방향에서 본 상면도 형상은 용기 축(O)과 동축의 원형으로 되어 있다.
내통부(22)는 정벽(17)의 환상 오목부(18) 내에 끼워맞춰져 있다. 내통부(22)는 환상 오목부(18)에 있어서, 지름 방향으로 내측을 향하는 외주면에, 지름 방향으로 내측에서 끼워맞춰져 있다. 내통부(22)의 상단부는 외통부(21)의 상단부보다도 상측에 위치해 있다. 연결부(23B)는 용기 본체(12)의 입구부(12a) 상측에 배치되어 있다. 연결부(23B)는 내통부(22)에서의 상하 방향의 중간부와, 외통부(21)의 상단부를 연결하고 있다.
외장부(15)는 스템(19)의 상방에 배치된 정상벽부(24)를 갖는다. 정상벽부(24)는 용기 축(O)과 직교하는 판상으로 형성되어 있다. 외장부(15)의 내주면을 상면에서 본 형상은 용기 축(O)과 동축의 원형으로 되어 있다.
외장부(15)에는 심체(25)와, 토출 구멍(26B)과, 삽입 관통 구멍(29)이 형성되어 있다. 심체(25)는 정상벽부(24)에서 하측을 향해 연장해 있다. 심체(25)는 상하 방향으로 연장하여, 용기 축(O)과 동축에 배치되어 있다. 심체(25)는 스템(19)의 상단 가장자리보다도 상측에 위치해 있다. 심체(25)의 외부 직경은 스템(19)의 내부 직경보다도 작고, 심체(25)는 스템(19)의 상단부와 상하 방향으로 대향해 있다. 심체(25)는 단단한 봉 형태, 기둥 형태로 형성되어 있다. 심체(25)는 상하 방향의 전체 길이에 걸쳐 동일 직경으로 형성되어 있다.
토출 구멍(26B)은 외장부(15)의 정상벽부(24)에 상하 방향으로 관통하여 복수 형성되어 있다. 복수의 토출 구멍(26B)은 정상벽부(24)에 있어서 상측을 향하는 토출면(27), 및 정상벽부(24)에 있어서 하측을 향하는 공급면(28)에 각각 별도로 개구해 있다. 또한, 토출면(27) 및 공급면(28)은 용기 축(O)과 직교하는 방향으로 연장해 있다.
토출 구멍(26B)은 상면에서 보아 원형으로 형성되어 있다. 복수의 토출 구멍(26B)은 정상벽부(24)에 용기 축(O)을 중심으로 하여 방사상을 이루도록, 간격을 두고 배치되어 있다. 본 실시형태에서는 정상벽부(24)에 둘레 방향으로 간격을 두고 배치된 복수의 토출 구멍(26B)이 구멍열 L2(도 19를 참조)를 형성하고 있고, 이 구멍열 L2가 용기 축(O)을 중심으로 하여 다중으로 배치되어 있다. 구멍열 L2는 정상벽부(24)를 상하 방향에서 본 상면도에 있어서, 심체(25)를 지름 방향으로 외측에서 둘러싸도록 배치되어 있다.
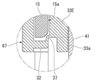
여기서, 용기체(11)의 고정부재(13)에는 도 18 및 도 19에 도시한 바와 같이, 외장부(15)의 주벽부(15a)와의 사이에 간극(43)이 형성된 상태로, 규제벽(41)이 배치되어 있다. 규제벽(41)에서의 둘레 방향의 한쪽 단부에는 지름 방향으로 내측을 향해 돌출하여, 고정부재(13)에 연결하는 위치 결정벽(42)이 형성되어 있다. 도시한 예에서는 규제벽(41) 및 위치 결정벽(42)은 고정부재(13)의 하단에서 삽입 관통 구멍(29)보다도 상측의 위치까지 상하 방향으로 연재한다. 규제벽(41)의 하단은 2중 통 형태로 형성된 외통부(21) 중 외통 부분의 하단부에 연결되어 있다. 위치 결정벽(42)의 하단은 외통부(21)에 연결되어 있다. 간극(43)은 후술하는 내부판(67)의 누름판(33E) 중 적어도 일부가 진입 가능한 크기로 형성되어 있다.
삽입 관통 구멍(29)은 외장부(15)의 주벽부(15a)를, 주벽부(15a)의 하단측이 개구하도록 절결함으로써 형성되어, 외장부(15)를 지름 방향으로 관통한다. 삽입 관통 구멍(29)은 내부판(67)의 일부(후술하는 걸림 돌기부(32) 및 누름판(33E))가 외장부(15)의 외측을 향해 돌출하도록 삽입 관통 가능한 위치 및 치수로 형성되어 있다. 삽입 관통 구멍(29)의 상하 방향을 따르는 절입 치수는 누름판(33E)이 간극(43)에서 벗어나 위치에 있어서, 적어도 내부판(67)이 후술하는 대기 위치와 토출 위치 사이를 상하 이동 가능한 치수로 설정되어 있다.
내부판(67)은 외장부(15) 내에 상하 이동이 자유롭게 설치됨과 더불어, 외장부(15)에 대해서 회전 이동이 규제되어 있다. 내부판(67)은 내부판 본체(30)와, 가이드통(31)과, 걸림부(36)와, 누름부(77)를 구비한다. 내부판 본체(30)는 천정이 있는 통 형태로 형성되고, 외장부(15) 내에 끼워맞춰져, 외주연이 외장부(15)의 내주면 위를 상하 방향으로 슬라이딩한다. 내부판 본체(30)는 외장부(15)의 내주면에서의 상부에 끼워맞춰져 있다. 내부판 본체(30)의 상면에서 본 형상은 외장부(15)의 내주면 상부에서의 상면에서 본 형상과, 동등한 형상으로 또한 동등한 크기로 형성되어 있다.
내부판 본체(30)에는 연통 구멍(34)이 형성되어 있다. 연통 구멍(34)은 내부판 본체(30)를 상하 방향으로 관통해 있다. 연통 구멍(34)은 용기 축(O)과 동축에 배치되어 있다. 연통 구멍(34)은 심체(25)보다도 큰 직경이 되고, 연통 구멍(34) 내에는 심체(25)가 관통된다. 연통 구멍(34)은 스템(19)의 외부 직경보다도 작은 직경으로 되어 있다.
가이드통(31)은 내부판 본체(30)에서 하측을 향해 연장하여, 그 내측에 스템(19)이 진퇴한다. 가이드통(31)은 용기 축(O)과 동축에 배치되어 있다. 가이드통(31)은 스템(19)에 용기 축(O) 주위를 상대적으로 회전 가능하게 외부에서 삽입된다.
내부판(67)은 도 21 및 도 22에 도시한 바와 같은 공급면(28)에 맞닿거나 또는 근접하는 상방의 대기 위치와, 도 23에 도시한 바와 같은 스템(19)을 하강시켜 스템(19)으로부터의 내용물을 확산실(35) 내에 공급하는 하방의 토출 위치와의 사이를 상하 이동한다. 도 21 및 도 22에 도시한 바와 같이, 내부판(67)이 대기 위치에 위치할 때에는 심체(25)가 연통 구멍(34)에 삽입 관통되어 있다.
도 23에 도시한 바와 같이, 내부판(67)은 토출 위치에 있어서, 공급면(28)에서 아래로 이격하여, 공급면(28)과의 사이에 확산실(35)을 형성한다. 확산실(35)은 스템(19)으로부터의 내용물을 내부판(67)과, 정상벽부(24)에서의 하측을 향하는 공급면(28)과의 사이에 지름 방향(토출면(27) 및 공급면(28)을 따르는 방향)으로 확산하여 복수의 토출 구멍(26B) 각각에 공급한다. 확산실(35)은 용기 축(O)과 동축에 배치되어 있다. 확산실(35)은 상하 방향보다도 지름 방향으로 큰 편평 형상으로 형성되어 있다. 확산실(35) 벽면의 일부는 공급면(28)에 의해 형성되어 있다.
내부판(67)에는 상기 토출 위치에 위치할 때에, 스템(19)에 걸려, 스템(19)을 하강시키는 걸림부(36)가 설치되어 있다. 걸림부(36)는 내부판 본체(30)에서의 연통 구멍(34)의 개구 주연부에 위치하고, 내부판(67)의 하강에 따라서 스템(19)의 상단 가장자리에 상측에서 맞닿아, 스템(19)을 하강시킨다. 이 때, 연통 구멍(34)은 스템(19) 내와 확산실(35)을 연통하고 있다. 또한, 이 때에, 내부판(67)의 내부판 본체(30)가 심체(25)보다도 하측에 위치해 있고, 심체(25)는 확산실(35) 내에 배치되어 있다.
도 18 및 도 20에 도시한 바와 같이, 내부판(67)에는 지름 방향으로 외측을 향해 돌출하는 누름부(77)가 구비되어 있다. 누름부(77)는 외장부(15)의 주벽부(15a)에 형성된 삽입 관통 구멍(29)을 통과하여 외장부(15)의 지름 방향으로 외측에 배치되어 있고, 걸림 돌기부(32)와, 힌지부(37)와, 누름판(33E)을 구비한다.
한 쌍의 걸림 돌기부(32)가 내부판 본체(30)에서 지름 방향으로 외측을 향해 돌출해 있다. 한 쌍의 걸림 돌기부(32)는 용기 축(O)을 사이에 끼워 서로 마주보는 위치에 설치되어 있다. 걸림 돌기부(32)는 외장부(15)의 삽입 관통 구멍(29)을 통과하여, 외장부(15)의 외측을 향해서 돌출해 있다.
누름판(33E)은 상하 방향으로 연장하고, 또한 하단부가 힌지부(37)를 통해서 걸림 돌기부(32)에 연결되어, 표면 및 이면이 지름 방향을 향하도록 배치되어 있다. 누름판(33E)은 외장부(15)의 주벽부(15a)에 형성된 삽입 관통 구멍(29)을 통과하여 외장부(15)의 외측에 배치되고, 표면 및 이면이 상하 방향을 향하는 사용 자세 T(도 21~23을 참조)가 되도록 힌지부(37) 주위에 이동이 자유롭게 배치되어 있다. 즉, 누름판(33E)은 사용 자세 T에 있어서, 외부에서 누르기 가능하게 설치되고, 걸림 돌기부(32)에서 지름 방향으로 외측을 향해 돌출해 있다. 또한, 누름판(33E)의 하단부에는 사용 자세 T일 때, 걸림 돌기부(32)의 하면에 걸리는 피걸림 돌기부(33a)가 형성되어 있다.
내부판(67)은 누름판(33E)이 규제벽(41) 내측에 형성되는 간극(43)에 대해서 진퇴하도록, 용기체(11)에 대해서 둘레 방향으로 회전이 자유롭게 배치되고, 또한 외장부(15)에 대한 내부판(67)의 둘레 방향으로 회전 이동이 규제되어 있다. 즉, 내부판(67)과 외장부(15)는 둘레 방향으로 함께 회전한다.
용기체(11)의 고정부재(13)와 내부판(67) 사이에는 스프링 부재로 이루어진 가압 부재(50)가 설치되어 있다. 가압 부재(50)는 토출 위치에 위치하는 내부판(67)을 상방 가압하여 대기 위치까지 상승시킨다. 가압 부재(50)의 상단부는 내부판 본체(30)의 하면에 맞닿고, 가압 부재(50)의 하단부는 고정부재(13)의 내통부(22)에서 지름 방향으로 내측을 향해 돌출하는 플랜지부(22a)의 상면에 맞닿아 있다.
다음에 본 실시형태에 관한 토출 용기(10)의 작용에 대해서 설명한다.
토출 용기(10)의 사용 전 초기 상태에서는 내부판(67)이 도 18에 도시한 바와 같은 대기 위치에 배치되고, 누름판(33E)이 표면 및 이면이 지름 방향을 향하는 자세로, 외장부(15)의 주벽부(15a)와 규제벽(41) 사이의 간극(43)에 진입한 상태로 배치되어 있다. 이 때, 주벽부(15a)와 규제벽(41)에 의해서, 누름판(33E)의 지름 방향에의 이동이 규제되고, 또한 위치 결정벽(42)에 의해 누름판(33E)의 둘레 방향으로 한쪽(누름판(33E)이 간극(43)에 진입하는 방향)으로의 이동이 규제되어 있다.
도 21에 도시한 바와 같이, 외장부(15)의 토출면(27)에 내용물을 토출시킬 때에, 내부판(67)을 외장부(15)와 함께 용기체(11)에 대해서 둘레 방향으로 다른 쪽으로 회전시켜 누름판(33E)을 규제벽(41)과 외장부(15)의 주벽부(15a) 사이의 간극(43)에서 벗어나는 위치로 이동시키고, 누름판(33E)을 표면 및 이면이 상하 방향을 향하도록 힌지부(37) 주위로 이동시켜서 사용 자세 T로 한다. 그리고 도 23에 도시한 바와 같이, 이 사용 자세 T에 있는 누름판(33E)을 누름으로써, 외장부(15)의 정상벽부(24)와 내부판(67) 사이에 위치하는 확산실(35)의 내용적을 증대시키는 동시에, 내부판(67)의 걸림부(36)를 스템(19)의 상단부에 걸리게 한다.
또한, 내부판(67)의 하강에 따라, 걸림부(36)에 걸려진 스템(19)이 상방 가압력에 저항하여 하강함으로써, 용기 본체(12) 내의 내용물이 스템(19)을 통과하여 확산실(35)에 유입한다. 확산실(35)에 유입한 내용물은 내부판(67)과, 정상벽부(24)에서의 하측을 향하는 공급면(28)과의 사이에, 확산실(35) 내에서 지름 방향으로 확산된 후에 복수의 토출 구멍(26B)에 공급되고, 이들 토출 구멍(26B)에서 토출면(27)에 토출된다. 그 후, 누름판(33E)의 누름 조작을 해제하면, 내부판(67)이 스템(19)의 상방을 향한 복원 변위에 따라, 외장부(15)에 대해서 상방 이동한다. 이 때, 확산실(35)의 내용적이 감소하고, 확산실(35)에 유입해 있던 내용물이 확산실(35)에서 토출 구멍(26B)을 통하여 외부로 압출된다.
이상에 설명한 바와 같이, 본 실시형태의 토출 용기(10)에 의하면, 용기 본체(12) 내의 내용물이 확산실(35) 내에서 지름 방향으로 확산된 후에 복수의 토출 구멍(26B)에 공급된다. 그 때문에, 토출면(27)에 있어서, 특정한 일부에 배치된 토출 구멍(26B)에 내용물이 집중하는 것을 억제하여, 토출 구멍(26B)에 불균일 적게 내용물을 공급할 수 있다. 이에 의해, 토출면(27)에 토출되는 내용물의 토출량이 위치마다 불균일하게 분포되는 것을 억제할 수 있다.
또한, 본 실시형태의 토출 용기(10)에서는 내용물을 토출시킬 때에만, 누름판(33E)을 사용 자세로 한다. 그 때문에, 토출 용기(10)를, 예를 들어, 유통 단계 등과 같이 사용하지 않을 때에, 누름판(33E)을, 표면 및 이면이 지름 방향을 향하는 자세로 규제벽(41)과 외장부(15)의 주벽부(15a) 사이의 간극(43)에 진입시켜 수용해 둘 수 있다. 그 때문에, 토출 용기(10)를 사용하지 않을 때의 지름 방향 치수를 작게 억제할 수 있다.
한편으로, 사용 시의 누름판(33E)의 지름 방향으로 외측에의 돌출 길이를 크게 하는 것이 가능하다. 그 때문에, 누름판(33E)의 아래로의 누름을 용이하게 할 수 있다. 또한, 누름판(33E)을 사용 자세 T로 하면, 걸림 돌기부(32)의 하면에 누름판(33E)의 피걸림 돌기부(33a)가 걸려, 누름판(33E)의 힌지부(37) 주위의 아래를 향한 회전이 규제된다. 그 때문에, 누름판(33E)의 누름에 의해 내부판(67)을 확실하게 하강시킬 수 있다.
또한, 본 실시형태에서는 내부판(67)이 대기 위치에 위치하는 상태에서, 누름판(33E)을 아래로 누름 조작하면, 내부판(67)은 가압 부재(50)에 의한 상방 가압력에 저항하여 하강시키고, 외장부(15)의 공급면(28)과 내부판(67) 사이에 형성되는 확산실(35)의 내용적이 증대됨은 물론, 내부판(67)의 걸림부(36)가 스템(19)에 걸림 고정된다. 더 누름 조작하여 내부판(67)을 하강시키면, 내부판(67)의 하강에 따라, 걸림부(36)가 스템(19)을 상방 가압력에 저항하여 하강시켜, 내부판(67)은 토출 위치에 배치되는 동시에, 용기 본체(12) 내의 내용물이 스템(19)을 통과하여 확산실(35)에 유입한다.
그 후, 누름판(33E)의 누름 조작을 해제하면, 가압 부재(50)에 의한 내부판(67)의 상방 가압력 및 스템(19)의 상방 가압력에 의해, 내부판(67) 및 스템(19)이 상방 이동하여 복원 변위하게 되는 동시에, 내부판(67)이 대기 위치로 되돌아간다. 이 때, 내부판(67)이 외장부(15)의 정상벽부(24)에 맞닿거나 또는 근접하는 것으로, 내부판(67)을 상승시키기 전에 확산실(35) 내에 내용물이 잔류해 있어도, 이 내용물이 확산실(35)로부터 토출면(27)에 압출된다. 즉, 누름판(33E)의 누름 조작을 해제함으로써, 내부판(67)이 상방의 초기 위치로 복원 변위된다. 이로 인해, 확산실(35) 내에 잔류해 있던 내용물을 확산실(35)로부터 압출할 수 있으므로, 외장부(15) 내에서의 내용물의 잔량을 저감할 수 있다. 이와 같이, 외장부(15) 내에서의 내용물의 잔량을 저감하는 것으로, 예컨대, 외장부(15) 내를 청정하게 유지하기 쉽게 하거나 할 수 있다.
또한, 본 발명의 기술적 범위는 상기 실시형태에 한정되지 않고, 본 발명의 취지를 벗어나지 않는 범위에 있어서 여러 가지 변경을 가할 수 있는 것이 가능하다.
예를 들어, 상기 실시형태에서는 규제벽(41)의 둘레 방향으로 한쪽 단부에 위치 결정벽(42)을 설치한 구성으로 했지만, 이러한 구성에 한정되지 않는다. 예를 들어, 이 위치 결정벽(42)을 생략하는 것도 가능하다. 또한, 상기 실시형태에서는 내부판(67)이 외장부(15)에 대한 둘레 방향의 회전이 규제되고, 내부판(67)과 외장부(15)가 일체로 둘레 방향으로 함께 회전하는 구성으로 되어 있지만, 이와 같은 구성에 한정되지 않는다. 예를 들어, 내부판(67)이 용기체(11) 및 외장부(15)에 대해 둘레 방향으로 회전이 자유롭게 배치되어 있어도 좋다.
또한, 토출 용기는 단순히 내용물을 토출면(27) 상에 토출할뿐만 아니라, 토출면(27) 상에 조형물을 형성하는 것도 좋다. 예를 들어, 토출 용기에 의해 조형되는 조형물의 형상, 토출하는 내용물의 용도 등에 의해, 토출 구멍의 수나 형상을 적절히 변경하는 것이 가능하다. 예를 들어, 토출 구멍이 하나여도 좋다.
상기 실시형태에서는 토출 용기 본체(20)로서 에어졸 캔을 채용하는 구성으로 했지만, 이와 같은 구성에 한정되지 않는다. 예를 들어, 토출 용기 본체(20)로서, 펌프 기구를 갖는 토출기(14)를 구비하는 구성을 채용하는 것도 가능하다.
또한, 용기체(11)는 용기 본체(12)와 고정부재(13)가 별개로 설치되어 있지만, 용기 본체(12)와 고정부재(13)가 일체로 설치되어 있어도 좋다. 상기 실시형태에서는 규제벽(41) 및 위치 결정벽(42)이 고정부재(13)에 연결되어 있지만, 용기 본체(12)에 연결되어 있어도 좋다.
그 외에, 본 발명의 취지를 벗어나지 않는 범위에서, 상기 실시형태에서의 구성 요소를 주지의 구성 요소로 치환하는 것은 적절히 가능하며, 또한 상기한 변형예를 적절히 조합해도 좋다.
본 발명에 의하면, 내용물을 토출할 때에, 내용물이 손에 부착하거나, 흐르거나 하는 것을 억제할 수 있다.
1, 2, 3, 4, 5, 6, 10 토출 용기
11 용기체
12a 입구부
14 토출기
15 외장부
15a 주벽부
19 스템
24 정상벽부
26A, 26B 토출 구멍
27 토출면
28 공급면
29 삽입 관통 구멍
30 내부판 본체
32 걸림 돌기부
33A, 33B, 33C, 33D, 33E 누름판
35 확산실
36 걸림부
37 힌지부
38 연결판
39A, 39B 측판
41 규제벽
43 간극
50 가압 부재
61, 67 내부판
71, 72, 73, 74, 75, 76, 77 누름부
T 사용 자세

Claims (6)

  1. 내용물이 수용되는 용기체와,
    상기 용기체의 입구부에 상방 가압 상태에서 하향 이동 가능하게 세워 설치된 스템을 갖는 토출기와,
    상기 스템의 상방에 배치됨과 더불어, 토출 구멍이 상하 방향으로 관통하는 정상벽부를 가지고, 상기 정상벽부에서의 상방을 향하는 토출면에 상기 토출 구멍으로부터 내용물을 토출하는 외장부와,
    상기 외장부 내로 이동이 자유롭게 설치된 내부판을 구비하고,
    상기 외장부는 상기 용기체에 장착되고,
    상기 내부판에는 상기 스템에 걸려, 상기 내부판의 하강에 따라 상기 스템을 하강시키는 걸림부가 설치됨은 물론, 지름 방향으로 외측을 향해 돌출하는 누름부가 구비되고,
    상기 누름부는 상기 외장부의 주벽부에 형성된 삽입 관통 구멍을 통과하여 상기 외장부의 외측에 배치되어 있는 토출 용기.
  2. 제1항에 있어서, 상기 내부판은, 상기 외장부 내에 배치된 내부판 본체를 구비하고, 상기 누름부는, 표면 및 이면이 상기 외장부의 외주면을 따라 연장하는 측판과, 상기 측판에서 지름 방향으로 외측을 향해 돌출하고 또한 표면 및 이면이 상하 방향을 향하는 누름판과, 상기 측판과 상기 내부판 본체를 연결하여 상기 삽입 관통 구멍에 삽입 관통된 연결판을 구비하는 토출 용기.
  3. 제1항 또는 제2항에 있어서, 상기 누름판은, 상기 외장부의 주벽부에서의 전체 둘레에 걸쳐 배치되어 있는 토출 용기.
  4. 제1항 내지 제3항 중 어느 한 항에 있어서, 상기 내부판은, 상기 정상벽부에서의 하방을 향하는 공급면과의 사이에, 상기 스템으로부터의 내용물을 지름 방향으로 확산하여 상기 토출 구멍에 공급하는 확산실을 형성하는 토출 용기.
  5. 제1항에 있어서, 상기 내부판은, 상기 정상벽부에서의 하측을 향하는 공급면과의 사이에, 상기 스템으로부터의 내용물을 지름 방향으로 확산하여 상기 토출 구멍에 공급하는 확산실을 형성하고, 상기 누름부는, 걸림 돌기부와, 상하 방향으로 연재하고, 또한 하단부가 힌지부를 통해 상기 걸림 돌기부에 연결되어, 표면 및 이면이 지름 방향을 향하는 누름판을 구비하고, 상기 누름판은, 상기 삽입 관통 구멍을 통과하여 상기 외장부의 외측에 배치되고, 표면 및 이면이 상하 방향을 향하는 사용 자세를 향해 힌지부 주위에 이동이 자유롭게 배치되고, 상기 누름판의 하단부에는 사용 자세일 때에, 상기 걸림 돌기부의 하면에 걸리는 피걸림 돌기부가 형성되고, 상기 용기체에는 상기 외장부의 주벽부와의 사이에 간극이 형성된 상태로 배치된 규제벽이 구비되고, 상기 내부판은, 상기 누름판이 상기 간극에 대해서 진퇴하도록, 상기 용기체에 대해서 둘레 방향으로 회전이 자유롭게 배치되어 있는 토출 용기.
  6. 제4항 또는 제5항에 있어서, 상기 내부판은, 상기 공급면에 맞닿거나 또는 근접하는 상방의 대기 위치와, 상기 걸림부가 상기 스템에 걸리는 동시에, 상기 스템을 하강시켜 상기 스템으로부터의 내용물을 상기 확산실 내에 공급하는 하방의 토출 위치와의 사이를 이동이 자유롭게 배치되고, 상기 용기체와 상기 내부판 사이에는 상기 토출 위치에 위치하는 상기 내부판을 상방 가압하여 상기 대기 위치까지 상승시키는 가압 부재가 설치되어 있는 토출 용기.
KR1020187017341A 2015-06-30 2016-12-22 토출면에 내용물을 토출하는 토출 용기 Active KR102606815B1 (ko)

Applications Claiming Priority (4)

Application Number Priority Date Filing Date Title
JP2015132115 2015-06-30
JPJP-P-2015-254855 2015-12-25
JP2015254855A JP6598677B2 (ja) 2015-06-30 2015-12-25 吐出面に内容物を吐出する吐出容器
PCT/JP2016/088423 WO2017111050A1 (ja) 2015-06-30 2016-12-22 吐出面に内容物を吐出する吐出容器

Publications (2)

Publication Number Publication Date
KR20180098552A true KR20180098552A (ko) 2018-09-04
KR102606815B1 KR102606815B1 (ko) 2023-11-27

Family

ID=57829744

Family Applications (1)

Application Number Title Priority Date Filing Date
KR1020187017341A Active KR102606815B1 (ko) 2015-06-30 2016-12-22 토출면에 내용물을 토출하는 토출 용기

Country Status (6)

Country Link
US (2) US10569460B2 (ko)
EP (1) EP3395717B1 (ko)
JP (1) JP6598677B2 (ko)
KR (1) KR102606815B1 (ko)
CA (1) CA2952448C (ko)
WO (1) WO2017111050A1 (ko)

Families Citing this family (11)

* Cited by examiner, † Cited by third party
Publication number Priority date Publication date Assignee Title
JP6721478B2 (ja) * 2016-09-30 2020-07-15 株式会社吉野工業所 造形面に内容物を吐出する吐出容器
US10421089B2 (en) 2015-12-25 2019-09-24 Yoshino Kogyosho Co., Ltd. Discharge container for discharging contents onto discharge surface
CN108883029B (zh) * 2015-12-28 2021-08-13 花王株式会社 气溶胶化妆品
KR101823606B1 (ko) * 2017-01-23 2018-01-31 (주)디에스아이앤씨 젤 성형용 노즐 어셈블리
JP7122807B2 (ja) * 2017-02-28 2022-08-22 株式会社吉野工業所 造形ヘッド
JP6902968B2 (ja) * 2017-08-31 2021-07-14 株式会社吉野工業所 造形ヘッド
EP3489171A1 (en) 2017-11-23 2019-05-29 The Procter & Gamble Company Piston with flexible closure for aerosol container
EP3513880B1 (en) * 2018-01-23 2021-08-25 The Procter & Gamble Company Dispensing device suitable for a foamable product
JP7170504B2 (ja) * 2018-10-31 2022-11-14 株式会社吉野工業所 吐出容器
US10850914B2 (en) 2018-11-08 2020-12-01 The Procter And Gamble Company Dip tube aerosol dispenser with upright actuator
US11267644B2 (en) 2018-11-08 2022-03-08 The Procter And Gamble Company Aerosol foam dispenser and methods for delivering a textured foam product

Citations (6)

* Cited by examiner, † Cited by third party
Publication number Priority date Publication date Assignee Title
US3361301A (en) * 1966-05-17 1968-01-02 Meshberg Philip Actuator for material dispensing package
US3726444A (en) * 1971-06-23 1973-04-10 Federal Tool & Plastics Actuator means for use with aerosol dispensers
JPH01103554A (ja) 1987-09-30 1989-04-20 Trw Repa Gmbh 安全ベルトの取付高さ調節装置
US5203478A (en) * 1990-10-15 1993-04-20 L'oreal Dispenser assembly for a fluid product comprising a device having a twin lever arm in order to actuate a dispensing means
JP2002320885A (ja) * 2001-04-27 2002-11-05 Daizo:Kk エアゾール製品の噴射方法および該噴射方法に用いる噴射構造体
US20070090133A1 (en) * 2003-03-31 2007-04-26 Glaxo Group Limited Actuator cap for aerosol

Family Cites Families (20)

* Cited by examiner, † Cited by third party
Publication number Priority date Publication date Assignee Title
GB1170341A (en) * 1967-07-07 1969-11-12 Gilbert Schwartzman Applicator having Diaphragm Mounted Valve Structure
US3790331A (en) * 1971-06-14 1974-02-05 M Backer Extruding flower designs
US4341348A (en) 1980-11-10 1982-07-27 Dearling Neal S Direct and indirect fragrance dispensing device
JPS6014392Y2 (ja) 1982-07-22 1985-05-08 田中 裕 装飾用花形の自動絞り機
JPS60116433A (ja) 1983-11-30 1985-06-22 Meiji Seika Kaisha Ltd 花状成形物の成形方法
JPH0328954Y2 (ko) * 1984-09-13 1991-06-20
FR2592004B1 (fr) 1985-12-24 1988-09-02 Oreal Recipient pressurise destine a distribuer, de facon controlee, une mousse de qualite amelioree
JPH0618933Y2 (ja) 1987-12-28 1994-05-18 東京硝子器械株式会社 プラスチック製の容器の液体小出し装置
GB8815858D0 (en) 1988-07-04 1988-08-10 Chen Teng Mo Shaving cream dispenser
FR2744104B1 (fr) * 1996-01-29 1998-03-20 Oreal Dispositif de conditionnement, de distribution et d'application d'un gel ou mousse
US6283337B1 (en) * 1998-12-21 2001-09-04 Kao Corporation Aerosol container
JP3445529B2 (ja) * 1999-05-20 2003-09-08 花王株式会社 エアゾール容器
JP2002080080A (ja) 2000-09-11 2002-03-19 Yoshino Kogyosho Co Ltd 連続自動噴射が可能なエアゾール容器
JP2006290408A (ja) 2005-04-11 2006-10-26 Tokyo Koyama Plastic Kk エアゾール容器用のスパウト
JP2010269233A (ja) 2009-05-20 2010-12-02 Lion Corp 泡吐出用アダプタ及び泡吐出装置
JP2013241203A (ja) 2012-05-21 2013-12-05 Daizo:Kk 発泡性エアゾール製品
JP5918036B2 (ja) * 2012-06-12 2016-05-18 株式会社 資生堂 中皿を備えるポンプ式噴出容器
JP5866262B2 (ja) * 2012-06-29 2016-02-17 株式会社吉野工業所 吐出器
PL3139979T3 (pl) 2014-05-07 2023-12-27 Boehringer Ingelheim International Gmbh Jednostka, nebulizator i sposób
JP6277094B2 (ja) 2014-08-29 2018-02-07 株式会社吉野工業所 吐出面に内容物を吐出する吐出容器

Patent Citations (6)

* Cited by examiner, † Cited by third party
Publication number Priority date Publication date Assignee Title
US3361301A (en) * 1966-05-17 1968-01-02 Meshberg Philip Actuator for material dispensing package
US3726444A (en) * 1971-06-23 1973-04-10 Federal Tool & Plastics Actuator means for use with aerosol dispensers
JPH01103554A (ja) 1987-09-30 1989-04-20 Trw Repa Gmbh 安全ベルトの取付高さ調節装置
US5203478A (en) * 1990-10-15 1993-04-20 L'oreal Dispenser assembly for a fluid product comprising a device having a twin lever arm in order to actuate a dispensing means
JP2002320885A (ja) * 2001-04-27 2002-11-05 Daizo:Kk エアゾール製品の噴射方法および該噴射方法に用いる噴射構造体
US20070090133A1 (en) * 2003-03-31 2007-04-26 Glaxo Group Limited Actuator cap for aerosol

Also Published As

Publication number Publication date
US20190001545A1 (en) 2019-01-03
US10569460B2 (en) 2020-02-25
CA2952448A1 (en) 2017-06-25
EP3395717B1 (en) 2021-02-17
US10946574B2 (en) 2021-03-16
JP2017013895A (ja) 2017-01-19
US20170182699A1 (en) 2017-06-29
EP3395717A1 (en) 2018-10-31
EP3395717A4 (en) 2019-08-21
CA2952448C (en) 2023-08-15
JP6598677B2 (ja) 2019-10-30
KR102606815B1 (ko) 2023-11-27
WO2017111050A1 (ja) 2017-06-29

Similar Documents

Publication Publication Date Title
KR20180098552A (ko) 토출면에 내용물을 토출하는 토출 용기
JP5873247B2 (ja) ポンプ式泡吐出容器
JP6014425B2 (ja) 吐出容器
JP2015085289A (ja) トリガー式液体噴出器
JP6277094B2 (ja) 吐出面に内容物を吐出する吐出容器
EP3564154B1 (en) Discharge container for discharging contents onto modeling surface
JP6407049B2 (ja) 計量塗布容器
JP2017128372A (ja) 吐出面に内容物を吐出する吐出容器
JP5866262B2 (ja) 吐出器
JP6480137B2 (ja) 吐出面に内容物を吐出する吐出容器
KR102184400B1 (ko) 이종 화장품이 수납되는 듀얼 화장품용기
KR20180098551A (ko) 토출면에 내용물을 토출하는 토출 용기
KR20180062197A (ko) 스프레이 분사밸브 장치
JP6774886B2 (ja) 吐出器
JP6490518B2 (ja) 吐出面に内容物を吐出する吐出容器
KR200444062Y1 (ko) 염색제 용기
JP6598674B2 (ja) 吐出面に内容物を吐出する吐出容器
JP5374646B2 (ja) 噴霧装置
JP6431318B2 (ja) エアゾール容器用吐出ヘッド
JP2017128373A (ja) 造形面を有する吐出容器
JP2018197131A (ja) エアゾール容器用吐出ヘッド
JP7086549B2 (ja) ポンプ容器
JP2024128613A (ja) 連続噴出型ポンプ、および、連続噴出型容器
JP6598675B2 (ja) 吐出面に内容物を吐出する吐出容器
JP2020104940A (ja) 吐出器

Legal Events

Date Code Title Description
PA0105 International application

Patent event date: 20180619

Patent event code: PA01051R01D

Comment text: International Patent Application

PG1501 Laying open of application
A201 Request for examination
PA0201 Request for examination

Patent event code: PA02012R01D

Patent event date: 20210615

Comment text: Request for Examination of Application

E902 Notification of reason for refusal
PE0902 Notice of grounds for rejection

Comment text: Notification of reason for refusal

Patent event date: 20230608

Patent event code: PE09021S01D

E701 Decision to grant or registration of patent right
PE0701 Decision of registration

Patent event code: PE07011S01D

Comment text: Decision to Grant Registration

Patent event date: 20231030

GRNT Written decision to grant
PR0701 Registration of establishment

Comment text: Registration of Establishment

Patent event date: 20231122

Patent event code: PR07011E01D

PR1002 Payment of registration fee

Payment date: 20231123

End annual number: 3

Start annual number: 1

PG1601 Publication of registration