KR20180098551A - 토출면에 내용물을 토출하는 토출 용기 - Google Patents

토출면에 내용물을 토출하는 토출 용기 Download PDF

Info

Publication number
KR20180098551A
KR20180098551A KR1020187017337A KR20187017337A KR20180098551A KR 20180098551 A KR20180098551 A KR 20180098551A KR 1020187017337 A KR1020187017337 A KR 1020187017337A KR 20187017337 A KR20187017337 A KR 20187017337A KR 20180098551 A KR20180098551 A KR 20180098551A
Authority
KR
South Korea
Prior art keywords
container
stem
inner plate
discharge
contents
Prior art date
Legal status (The legal status is an assumption and is not a legal conclusion. Google has not performed a legal analysis and makes no representation as to the accuracy of the status listed.)
Granted
Application number
KR1020187017337A
Other languages
English (en)
Other versions
KR102606672B1 (ko
Inventor
마이 카세
Original Assignee
가부시키가이샤 요시노 고교쇼
Priority date (The priority date is an assumption and is not a legal conclusion. Google has not performed a legal analysis and makes no representation as to the accuracy of the date listed.)
Filing date
Publication date
Priority claimed from JP2015253536A external-priority patent/JP6598674B2/ja
Priority claimed from JP2015254159A external-priority patent/JP6598675B2/ja
Priority claimed from JP2016192553A external-priority patent/JP6721478B2/ja
Application filed by 가부시키가이샤 요시노 고교쇼 filed Critical 가부시키가이샤 요시노 고교쇼
Publication of KR20180098551A publication Critical patent/KR20180098551A/ko
Application granted granted Critical
Publication of KR102606672B1 publication Critical patent/KR102606672B1/ko
Active legal-status Critical Current
Anticipated expiration legal-status Critical

Links

Images

Classifications

    • BPERFORMING OPERATIONS; TRANSPORTING
    • B65CONVEYING; PACKING; STORING; HANDLING THIN OR FILAMENTARY MATERIAL
    • B65DCONTAINERS FOR STORAGE OR TRANSPORT OF ARTICLES OR MATERIALS, e.g. BAGS, BARRELS, BOTTLES, BOXES, CANS, CARTONS, CRATES, DRUMS, JARS, TANKS, HOPPERS, FORWARDING CONTAINERS; ACCESSORIES, CLOSURES, OR FITTINGS THEREFOR; PACKAGING ELEMENTS; PACKAGES
    • B65D83/00Containers or packages with special means for dispensing contents
    • B65D83/14Containers for dispensing liquid or semi-liquid contents by internal gaseous pressure, i.e. aerosol containers comprising propellant
    • B65D83/16Actuating means
    • B65D83/20Actuator caps
    • BPERFORMING OPERATIONS; TRANSPORTING
    • B05SPRAYING OR ATOMISING IN GENERAL; APPLYING FLUENT MATERIALS TO SURFACES, IN GENERAL
    • B05BSPRAYING APPARATUS; ATOMISING APPARATUS; NOZZLES
    • B05B9/00Spraying apparatus for discharge of liquids or other fluent material, without essentially mixing with gas or vapour
    • B05B9/03Spraying apparatus for discharge of liquids or other fluent material, without essentially mixing with gas or vapour characterised by means for supplying liquid or other fluent material
    • B05B9/04Spraying apparatus for discharge of liquids or other fluent material, without essentially mixing with gas or vapour characterised by means for supplying liquid or other fluent material with pressurised or compressible container; with pump
    • BPERFORMING OPERATIONS; TRANSPORTING
    • B05SPRAYING OR ATOMISING IN GENERAL; APPLYING FLUENT MATERIALS TO SURFACES, IN GENERAL
    • B05BSPRAYING APPARATUS; ATOMISING APPARATUS; NOZZLES
    • B05B1/00Nozzles, spray heads or other outlets, with or without auxiliary devices such as valves, heating means
    • B05B1/14Nozzles, spray heads or other outlets, with or without auxiliary devices such as valves, heating means with multiple outlet openings; with strainers in or outside the outlet opening
    • BPERFORMING OPERATIONS; TRANSPORTING
    • B65CONVEYING; PACKING; STORING; HANDLING THIN OR FILAMENTARY MATERIAL
    • B65DCONTAINERS FOR STORAGE OR TRANSPORT OF ARTICLES OR MATERIALS, e.g. BAGS, BARRELS, BOTTLES, BOXES, CANS, CARTONS, CRATES, DRUMS, JARS, TANKS, HOPPERS, FORWARDING CONTAINERS; ACCESSORIES, CLOSURES, OR FITTINGS THEREFOR; PACKAGING ELEMENTS; PACKAGES
    • B65D83/00Containers or packages with special means for dispensing contents
    • B65D83/14Containers for dispensing liquid or semi-liquid contents by internal gaseous pressure, i.e. aerosol containers comprising propellant
    • BPERFORMING OPERATIONS; TRANSPORTING
    • B65CONVEYING; PACKING; STORING; HANDLING THIN OR FILAMENTARY MATERIAL
    • B65DCONTAINERS FOR STORAGE OR TRANSPORT OF ARTICLES OR MATERIALS, e.g. BAGS, BARRELS, BOTTLES, BOXES, CANS, CARTONS, CRATES, DRUMS, JARS, TANKS, HOPPERS, FORWARDING CONTAINERS; ACCESSORIES, CLOSURES, OR FITTINGS THEREFOR; PACKAGING ELEMENTS; PACKAGES
    • B65D83/00Containers or packages with special means for dispensing contents
    • B65D83/14Containers for dispensing liquid or semi-liquid contents by internal gaseous pressure, i.e. aerosol containers comprising propellant
    • B65D83/75Aerosol containers not provided for in groups B65D83/16 - B65D83/74
    • B65D83/753Aerosol containers not provided for in groups B65D83/16 - B65D83/74 characterised by details or accessories associated with outlets
    • BPERFORMING OPERATIONS; TRANSPORTING
    • B05SPRAYING OR ATOMISING IN GENERAL; APPLYING FLUENT MATERIALS TO SURFACES, IN GENERAL
    • B05BSPRAYING APPARATUS; ATOMISING APPARATUS; NOZZLES
    • B05B11/00Single-unit hand-held apparatus in which flow of contents is produced by the muscular force of the operator at the moment of use
    • B05B11/01Single-unit hand-held apparatus in which flow of contents is produced by the muscular force of the operator at the moment of use characterised by the means producing the flow
    • B05B11/10Pump arrangements for transferring the contents from the container to a pump chamber by a sucking effect and forcing the contents out through the dispensing nozzle
    • B05B11/1042Components or details
    • B05B11/1052Actuation means
    • B05B11/1053Actuation means combined with means, other than pressure, for automatically opening a valve during actuation; combined with means for automatically removing closures or covers from the discharge nozzle during actuation
    • BPERFORMING OPERATIONS; TRANSPORTING
    • B65CONVEYING; PACKING; STORING; HANDLING THIN OR FILAMENTARY MATERIAL
    • B65DCONTAINERS FOR STORAGE OR TRANSPORT OF ARTICLES OR MATERIALS, e.g. BAGS, BARRELS, BOTTLES, BOXES, CANS, CARTONS, CRATES, DRUMS, JARS, TANKS, HOPPERS, FORWARDING CONTAINERS; ACCESSORIES, CLOSURES, OR FITTINGS THEREFOR; PACKAGING ELEMENTS; PACKAGES
    • B65D83/00Containers or packages with special means for dispensing contents
    • B65D83/14Containers for dispensing liquid or semi-liquid contents by internal gaseous pressure, i.e. aerosol containers comprising propellant
    • B65D83/40Closure caps

Landscapes

  • Chemical & Material Sciences (AREA)
  • Dispersion Chemistry (AREA)
  • Engineering & Computer Science (AREA)
  • Mechanical Engineering (AREA)
  • Containers And Packaging Bodies Having A Special Means To Remove Contents (AREA)

Abstract

본 발명은 내용물이 수용되는 용기 본체(12)와, 고정 부재(13)와, 스템(19)을 갖는 토출기(14)와, 성형 구멍(26)이 관통하는 정상벽부(24)를 갖고, 정상벽부(24)에서의 토출면(14)에 성형 구멍(26)에서 내용물을 토출하는 외장부(15)와, 외장부(15) 내에 이동이 자유롭게 설치되고, 정상벽부(24)에서의 공급면(28)과의 사이에 확산실(35)을 형성하는 내부판(16)을 구비하는 토출 용기(1,2)이다.

Description

토출면에 내용물을 토출하는 토출 용기
본 발명은 토출면에 내용물을 토출하는 토출 용기에 관한 것이다. 본 출원은 2015년 12월 25일자로 일본에 출원된 일본 특허 출원 제2015-253536호와, 2015년 12월 25일자로 일본에 출원된 일본 특허 출원 제2015-254159호와, 2016년 9월 30일자로 일본에 출원된 일본 특허 출원 제2016-192553호에 기초하여 우선권을 주장하고, 그 내용을 여기에 원용한다.
종래부터, 예를 들어, 하기 특허문헌 1에 나타낸 바와 같은 토출 용기가 알려져 있다. 이 토출 용기는 내용물이 수용되는 용기 본체와, 용기 본체에 대해 하강 이동함으로써 내용물을 토출 가능한 스템을 갖는 토출기와, 용기 본체의 입구부에 장착되는 고정 부재와, 고정 부재에 하방 이동이 자유롭게 설치됨은 물론, 스템이 토출한 내용물을 토출하는 토출 구멍이 형성된 가동 부재를 구비한다. 가동 부재는 그 하강 이동에 수반하여, 스템에 걸려 스템을 하강시키는 걸림부를 구비한다. 이 토출 용기에서는 고정 부재에 대해 가동 부재를 눌렀을 때에, 걸림부가 스템을 하강시킨 상태로, 가동 부재가 고정 부재에 대해 걸린다. 이로 인해, 계속해서 내용물을 토출 구멍에서 토출할 수 있다.
종래부터, 예를 들어, 하기 특허문헌 2에 나타낸 바와 같은 토출 용기가 알려져 있다. 이 토출 용기는 내부 피스톤의 상방에 빨아올려진 액체(내용물)를 담아두는 받침 접시를 갖는다. 받침 접시에는 내부 피스톤에 연통하는 연통 구멍과, 연통 구멍 상측에 위치하는 받침판이 설치되어 있다. 받침판은 연통 구멍의 둘레 방향으로 간격을 두고 설치된 복수의 고정다리를 통해서, 연통 구멍 주변에 접속되어 있다. 둘레 방향으로 인접하는 고정다리끼리 사이에는 내부 피스톤의 상방에 빨아올려진 액체를 받침 접시의 상면(토출면)에 배출하는 액출 구멍이 형성된다. 복수의 액출 구멍은 복수의 고정다리에 의해 둘레 방향으로 분할되도록 형성되어 있다.
종래부터, 예를 들어, 하기 특허문헌 3에 나타낸 바와 같은 토출 용기가 알려져 있다. 이 토출 용기는 내용물이 수용되는 용기체와, 상방 가압 상태에서 하강 가능하게 세워 설치된 스템을 갖는 토출기와, 조형면 및 복수의 성형 구멍을 갖는 외장부와, 외장부 내에 상하 이동이 자유롭게 설치된 내부판을 구비하고, 내부판이 외장부에 대해 하강하면, 내부판과 외장부 사이에 확산실이 형성된다. 그리고 스템으로부터의 내용물을 확산실 내에서 확산시키고 나서 복수의 성형 구멍을 통하여 조형면에 토출시켜 복수의 조형편을 형성하고, 각 조형편을 조합함으로써 조형물을 형성할 수 있다.
일본 특허 공개 제2002-80080호 공보 일본 실용신안 공개 평1-103554호 공보 일본 특허 공개 제2016-50002호 공보
그러나 상기 종래의 토출 용기에서는 고정 부재를 용기 본체에서 떼어내기 어렵다고 하는 문제가 있다.
또한, 상기 종래의 토출 용기에서는 복수의 액출 구멍이 고정다리에 의해 둘레 방향으로 분할되어 있는 점에서, 연통 구멍에서 토출되어 복수의 액출 구멍을 각각 별도로 통과한 후, 받침 접시의 상면에 토출된 내용물의 토출량에, 둘레 방향을 따른 위치마다 불균일이 생기기 쉽다. 또한, 받침 접시의 상면에 토출되는 내용물의 토출량이 둘레 방향을 따른 위치마다 불균일하면, 예컨대, 내용물의 토출 속도가 둘레 방향을 따른 일부분에서 국소적으로 높아져, 내용물이 받침 접시에서 의도치 않게 넘쳐 흐를 가능성이 있다.
또한, 본 출원의 발명자는 예의 검토를 한 결과, 이하의 2가지 과제가 있는 것을 알아내었다. 첫째, 상기 특허문헌 3에는 외장부 및 내부판(inner plate)이 용기 축 주위에 일체로 회전이 자유롭게 설치되어, 이들을 회전시킴으로써 일체로 하강시키는 구성이 개시되어 있다. 이 구성에 따르면, 조작성을 향상시킬 수 있는 한편, 스템으로부터의 내용물의 토출이 정지한 후에 시간차를 두고 내부판이 상승하여, 확산실 내의 내용물이 추가로 조형면에 토출된다. 이로 인해, 성형 구멍에서 토출되는 내용물의 흐름이 불연속이 됨으로써, 조형물 형태의 정밀도가 저하되는 경우가 있다. 둘째, 상기 특허문헌 3에는 내부판이 상방 가압 상태로 하방 이동 가능하게 배치되어, 내부판을 직접 누르는 구성도 개시되어 있다. 이 구성에 따르면, 내부판을 누르는 것을 멈춤으로써, 스템으로부터의 내용물의 토출이 정지하는 동시에, 상방 가압력에 의해 내부판이 저절로 상승하여, 확산실 내의 내용물이 조형면에 토출된다. 이 때문에, 성형 구멍에서 토출되는 내용물의 흐름을 연속적으로 할 수 있는 반면, 조형면에 토출되는 내용물의 양이 내부판을 누르는 조작 시간의 장단에 따라서 크게 좌우된다. 그 때문에, 조형물의 조형 정밀도에 개선의 여지가 있다.
본 발명은 상기 문제를 감안하여 이루어진 것으로, 고정 부재를 용기 본체에서 쉽게 분리할 수 있고, 토출면에 토출되는 내용물의 토출량이 위치마다 불균일하게 분포하는 것을 억제할 수 있어, 조작성을 향상시키면서 조형물을 고정밀도로 토출면(조형면)에 형성할 수 있는 토출 용기를 제공하는 것을 목적으로 한다.
상기 과제를 해결하기 위해서, 본 발명은 이하의 수단을 제안한다. 본 발명의 제1 측면은 내용물이 수용되는 용기 본체와, 용기 본체의 입구부에 장착되는 고정 부재와, 용기 본체의 입구부에 상방 가압 상태로 하방 이동 가능하게 세워 설치된 스템을 갖는 토출기와, 스템의 상방에 배치되는 동시에, 성형 구멍이 상하 방향으로 관통하는 정상벽부를 가지며, 정상벽부에서의 상방을 향하는 조형면에 성형 구멍에서 내용물을 토출하는 외장부와, 외장부 내에 이동이 자유롭게 설치되어, 정상벽부에서의 하방을 향하는 공급면과의 사이에, 스템으로부터의 내용물을 직경 방향으로 확산하여 성형 구멍에 공급하는 확산실을 형성하는 내부판을 구비하고, 고정 부재는 용기 본체의 입구부에 외부에서 삽입되는 외삽통과, 외삽통을 직경 방향으로 외측에서 둘러싸는 위요통과, 외삽통과 위요통을 접속하고, 또한, 둘레 방향으로 간극을 두고 배치된 복수의 접속부를 구비함은 물론, 상기 간극은 상하 방향으로 관통하고, 상기 외장부는 상기 정상벽부에서 하방을 향해서 연장되고, 또한 고정 부재에서의 상기 외삽통과 상기 위요통 사이에 끼워지는 주벽부를 구비하고, 주벽부의 외주면에는 위요통의 내주면에 형성된 상측 걸어맞춤부에 대해서, 상측 걸어맞춤부의 하방에서 걸어맞추는 하측 걸어맞춤부가 형성되고, 내부 판에는 스템에 걸려, 내부판의 하강에 따라 스템을 하강시키는 걸림부와, 직경 방향으로 외측을 향해서 돌출하여, 외장부의 주벽부에 형성된 삽입 관통 구멍을 통과하여 외장부의 외측에 배치된 누름부가 구비되고, 하측 걸어맞춤부는 외장부의 주벽부 외주면 중, 누름부가 배치되어 있는 둘레 방향을 따르는 위치를 회피한 위치에 배치되는 동시에, 직경 방향으로 외측을 향해서 돌출해 있는, 토출 용기이다.
이 제1 측면에 따르면, 누름부를 들어올리면, 외장부도 들어올려져, 외장부의 하측 걸어맞춤부가 고정 부재의 상측 걸어맞춤부에 상측 걸어맞춤부의 하측에서 걸림으로써, 누름부에 가해진 인상력이, 고정 부재에서의 접속부를 통해서 외삽통에 전파되고, 외삽통 중, 이 접속부와의 접속부분에 직경 방향으로 외측을 향해서 국소적인 큰 힘이 가해진다. 이로 인해, 이 접속부분을 기점으로 해서 외삽통을 전체 둘레에 걸쳐 변형시키는 것이 가능해 지고, 고정 부재를 용기 본체의 입구부에서 떼어낼 수 있다. 이에 의해, 예컨대, 용기 본체 내의 내용물을 다 사용한 후에, 필요에 따라서 용기 본체를 교환하거나 할 수 있다. 또한, 하측 걸어맞춤부가 외장부의 주벽부 외주면 중, 누름부가 배치되어 있는 둘레 방향을 따르는 위치를 회피한 위치에 배치되어 있다. 이 때문에, 외장부에 내부판을 외장부의 하방에서 조립할 때에, 외장부의 하측 걸어맞춤부가 누름부에 간섭하는 것을 방지할 수 있다. 또한, 내용물을 토출시킬 때에 누르는 누름부가 내용물이 토출되는 토출면(조형면)을 갖는 외장부와는 별도의 내부판에 구비되어 있다. 이 때문에, 외장부의 토출면에 접촉하지 않고, 내용물을 토출시키는 것이 가능해져, 내용물이 손에 부착하는 것을 방지할 수 있음은 물론, 외장부가 흔들리는 것이 억제되는 것이 가능해져, 토출면에서 내용물이 흐르는 것을 방지할 수 있다. 또한, 용기체 내의 내용물이 확산실 내에서 직경 방향으로 확산된 후에 성형 구멍에 공급되므로, 토출면에 있어서 특정한 일부에 배치된 성형 구멍에 내용물이 집중하는 것을 억제하여, 성형 구멍에 불균일이 적게 내용물을 공급할 수 있다. 이로 인해, 토출면에 토출되는 내용물의 토출량이 위치마다 불균일하게 분포되는 것을 억제할 수 있다.
본 발명의 제2 측면은, 하측 걸어맞춤부는 둘레 방향으로 연재하여, 삽입 관통 구멍에 의해 둘레 방향으로 분단되어 있고, 누름부의 둘레 방향의 양단부, 및 하측 걸어맞춤부와 상측 걸어맞춤부가 서로 걸어 맞추고 있는 부분, 각각의 둘레 방향을 따르는 위치가 서로 인접해 있는, 제1 측면의 토출 용기이다. 이 제2 측면에 따르면, 누름부의 둘레 방향의 양단부 및 하측 걸어맞춤부와 상측 걸어맞춤부가 서로 걸어맞추고 있는 부분, 각각의 둘레 방향을 따르는 위치가 서로 인접해 있다. 이로 인해, 누름부에 가해진 인상력을, 외장부의 주벽부 상에서 분산시키지 않고, 직접 하측 걸어맞춤부와 상측 걸어맞춤부가 서로 걸어맞추고 있는 부분에 전달시키는 것이 가능해져, 외삽통의 접속부분에 직경 방향으로 외측을 향해서 국소적인 큰 힘을 효과적으로 가할 수 있다.
본 발명의 제3 측면은 복수의 접속부 중 하나는 적어도 일부가 누름부와 상하 방향에서 중복하는 위치에 배치되어 있는, 제1 또는 제2 측면의 토출 용기이다. 이 제3 측면에 따르면, 복수의 접속부 중 하나의 적어도 일부가, 누름부와 상하 방향에서 중복해 있다. 이에 의해, 누름부에 가해진 인상력을, 복수의 접속부 중 하나에 우선하여 전달시키기 쉬워져, 외삽통의 접속부분에 직경 방향으로 외측을 향해서 국소적인 큰 힘을 용이하게 가할 수 있다.
본 발명의 제4 측면은 상측 걸어맞춤부가 상하 방향에서 본 평면 모습으로, 둘레 방향으로 서로 인접하는 접속부간의 간극 내측에 위치해 있는, 제1 내지 제3 측면 중 어느 하나의 토출 용기이다. 이 제4 측면에 따르면, 상측 걸어맞춤부와 접속부가 상하 방향에서 본 평면 모습에서 중복해 있지 않기 때문에, 접속부 및 상측 걸어맞춤부를 갖는 고정 부재의 성형 시에 있어서, 상하 방향만을 금형 빼기 방향으로 할 수 있다. 이에 의해, 금형 구조를 복잡하게 하지 않고, 고정 부재를 용이하게 형성할 수 있다.
본 발명의 제5 측면은 토출 용기의 입구부에 상방 가압 상태로 하방 이동 가능하게 세워 설치된 스템의 상단부에 접착되는 내부판과, 상단부에서 토출된 내용물이 각각 별도로 통과하는 복수의 성형 구멍 및 복수의 성형 구멍이 개구하는 토출면을 갖고, 복수의 성형 구멍을 각각 별도로 통과하여 성형된 토출물 각각에 의해 형성되는 복수의 조형편을, 토출면 상에서 조합하여 조형물을 형성하는 외장부를 구비하고, 상단부에서 토출된 내용물을, 토출면을 따르는 직경 방향으로 확산하여 복수의 성형 구멍 각각에 공급하는 확산실이 내부판과 외장부 사이에 설치되도록 구성되어 있고, 외장부는 스템의 상방에 배치되는 동시에 복수의 성형 구멍이 상하 방향으로 관통하는 정상벽부를 갖고, 내부판은 외장부 내에 정상벽부에 있어서 하측을 향하는 공급면에 맞닿거나 근접하는 상측의 대기 위치와, 공급면에서 아래로 이격하여, 조형부와의 사이에, 확산실을 형성하는 하측의 토출 위치와의 사이를 상하 이동이 자유롭게 설치되고, 내부판에는 토출 위치에 위치할 때에 스템에 걸려, 내부판의 하강에 따라 스템을 하강시키는 걸림부가 설치되어 있는, 토출 용기이다.
이 제5 측면에 따르면, 내부판을 대기 위치에 위치하는 상태로부터 토출 위치까지 하강시켜, 외장부와 내부판 사이에 확산실을 형성하는 동시에, 내부판의 걸림부를 스템에 걸리게 한다. 내부판을 더 하강시키면, 내부판의 하강에 따라 걸림부가 스템을 상방 가압력에 저항하여 하강시켜, 용기 본체 내의 내용물이 스템을 통과하여 확산실에 공급된다. 그러면, 내용물이 확산실 내에서 직경 방향으로 확산된 후에 성형 구멍에 공급되고, 성형 구멍에서 조형면에 토출된다. 그 후, 장착부를 상승시켜, 스템을 상방에 복원 변위시키는 동시에, 내부판을 대기 위치에 복원 변위시킨다. 이 때, 내부판이 공급면에 맞닿거나 근접하는 점에서, 가령 내부판을 상승시키기 전에 확산실 내에 내용물이 잔류해 있었다고 해도, 이 내용물이 확산실로부터 외부로 압출된다. 이 토출 용기에 따르면, 토출 용기 내의 내용물이 확산실 내에서 직경 방향으로 확산된 후에 성형 구멍에 공급되므로, 토출면에 있어서 특정 일부에 배치된 성형 구멍에 내용물이 집중하는 것을 억제하여, 각 성형 구멍에 대한 내용물의 공급량의 불균일이 적어지도록 성형 구멍에 내용물을 공급할 수 있다. 이에 의해, 토출면에 토출되는 내용물의 토출량이 위치마다 불균일하게 분포하는 것을 억제할 수 있다. 또한, 확산실 내에 잔류해 있던 내용물을 내부판이 대기 위치에 복원 변위함으로써 확산실로부터 압출할 수 있으므로, 외장부 내에서의 내용물의 잔량을 저감할 수 있다. 또한, 이와 같이 외장부 내에서의 내용물의 잔량을 저감함으로써, 예를 들어, 외장부 내를 청정하게 유지하기 쉽게 하거나 할 수 있다.
본 발명의 제6 측면은 내용물이 수용되는 용기 본체와, 용기 본체의 입구부에 장착된 고정 부재와, 입구부에 상방 가압 상태로 하방 이동 가능하게 세워 설치된 스템을 갖는 토출기와, 스템의 상방에 배치되는 동시에 성형 구멍이 용기 축 방향으로 관통하는 정상벽부를 갖고, 고정 부재에 대해 둘레 방향으로 회전 가능하게 장착되고, 성형 구멍에서, 정상벽부에 있어서 상방을 향하는 토출면에 내용물을 토출하는 외장부를 구비하고, 고정 부재는 입구부에 외부에서 삽입되는 외삽통과, 외삽통을 직경 방향으로 외측에서 둘러싸는 위요통을 구비하고, 외장부는 정상벽부에서 하방을 향해 연장하고, 또한, 상기 외삽통과 상기 위요통 사이에 끼워지는 주벽부를 구비하고, 주벽부의 외주면에는 위요통의 내주면에 형성된 상측 걸어맞춤부에 대해, 상측 걸어맞춤부의 하방에서 걸어 맞추는 하측 걸어맞춤부가 형성되고, 고정 부재 및 상기 주벽부에는 외장부 및 고정 부재의 상대적인 회전 이동에 수반하여 둘레 방향에서 부딪혀 미끄럼 이동함으로써, 외장부를 상기 고정 부재에 대해 상승시키는 안내면이 각각 별도로 형성되고, 외장부에는 스템에 걸려 스템을 하강시키는 걸림부와, 주벽부의 내측에 배치되는 동시에 정상벽부에 있어서 하측을 향하는 공급면이 벽면 일부를 형성하고, 스템으로부터의 내용물을 직경 방향으로 확산하여 성형 구멍에 공급하는 확산실이 설치되는 토출 용기이다.
이 제6 측면에 따르면, 내용물을 토출할 때에는 걸림부가 스템에 걸려 스템을 상방 가압력에 저항하여 하강시킴으로써, 용기 본체 내의 내용물이 스템을 통과하여 확산실에 유입한다. 확산실에 유입한 내용물은 확산실 내에서 직경 방향으로 확산된 후에 성형 구멍에 공급되고, 성형 구멍에서 토출면(조형면)에 토출된다. 고정 부재로부터 외장부를 분리할 때에는 외장부와 고정 부재를 둘레 방향으로 상대적으로 회전시킨다. 이 때, 고정 부재 및 주벽부 각각의 안내면이 서로 부딪혀 미끄럼 이동함으로써, 외장부를 고정 부재에 대해 상승시킨다. 그러면, 하측 걸어맞춤부가 상측 걸어맞춤부를 상방으로 넘어서, 상측 걸어맞춤부와 하측 걸어맞춤부의 걸어맞춤이 해제된다. 또한, 고정 부재로부터 외장부를 분리한 후에는 외장부를 세정할 수 있다. 이에 의해, 성형 구멍을 청정하게 유지하고, 성형 구멍에서 내용물을 고정밀도로 또한 원활하게 토출하거나 할 수 있다. 또한, 용기 본체 내의 내용물이 없어졌을 경우에는 고정 부재로부터 외장부를 분리한 후에, 이 외장부를 다른 용기 본체(고정 부재)에 조립함으로써 외장부를 재이용하거나, 외장부를 분리한 용기 본체 내에 내용물을 재충전한 후, 외장부를 다시 장착함으로써 토출 용기 전체를 재이용하거나 할 수 있다.
또한, 이 제6 측면에 따르면, 내용물을 토출할 때에는 용기 본체 내의 내용물이 확산실 내에서 직경 방향으로 확산된 후에 성형 구멍에 공급된다. 따라서, 토출면에 있어서 특정 일부에 배치된 성형 구멍에 내용물이 집중하는 것을 억제하여, 성형 구멍에 불균일이 적게 내용물을 공급할 수 있다. 이에 의해, 토출면에 토출되는 내용물의 토출량이 위치마다 불균일하게 분포하는 것을 억제할 수 있다. 또한, 외장부와 고정 부재를 둘레 방향으로 상대적으로 회전시킴으로써, 상측 걸어맞춤부와 하측 걸어맞춤부와의 걸어맞춤을 해제할 수 있다. 이에 의해, 고정 부재로부터 외장부를 분리하는 조작성을 높일 수 있다. 이 조작성을 향상시킴으로써, 외장부를 세정하기 쉽게 하거나 재이용하기 쉽게 할 수 있다.
본 발명의 제7 측면은, 안내면이 상측 걸어맞춤부 및 하측 걸어맞춤부 각각과 일체로 형성되어 있는, 제6 측면의 토출 용기이다.
이 제7 측면에 따르면, 안내면이 상측 걸어맞춤부 및 하측 걸어맞춤부 각각과 일체로 형성되어 있으므로, 예를 들어, 구조의 간소화를 도모하거나 할 수 있다.
이 제8 측면은 상측 걸어맞춤부 및 하측 걸어맞춤부 중 한쪽에서의 주단부에는 안내면으로서의 제1 안내면을 갖고 주단부에서 용기 축 방향으로 돌출하는 안내 돌기가 형성되고, 다른 쪽에서의 주단부는 안내면으로서의 제2 안내면인, 제7 측면의 토출 용기이다.
이 제8 측면에 따르면, 상측 걸어맞춤부 및 하측 걸어맞춤부 중 한쪽에서의 주단부에, 제1 안내면을 갖는 안내 돌기가 형성되고, 다른 쪽에서의 주단부가 제2 안내면이다. 따라서, 고정 부재 및 주벽부 각각의 안내면이 서로 미끄럼 이동할 때에, 제1 안내면이 제2 안내면에서 받는 둘레 방향의 힘을 안내 돌기가 받아들일 수 있다. 또한, 제2 안내면이 제1 안내면에서 받는 둘레 방향의 힘을, 상측 걸어맞춤부 또는 하측 걸어맞춤부(제2 안내면이 설치된 걸어맞춤부)에 의해 받아들일 수도 있다. 이에 의해, 외장부를 고정 부재에 대해 안정하게 상승시킬 수 있다.
본 발명의 제9 측면은, 안내면으로서의 한 쌍의 안내면은 고정 부재 및 주벽부 각각에 있어서, 용기 축을 사이에 끼워 직경 방향으로 반대측에 위치하도록 설치되어 있는, 제6 내지 제8 측면 중 어느 하나의 토출 용기이다.
이 제9 측면에 따르면, 안내면으로서의 한 쌍의 안내면이 고정 부재 및 주벽부 각각에 있어서, 용기 축을 사이에 끼워 직경 방향으로 반대측에 위치하도록 설치되어 있다. 따라서, 외장부와 고정 부재를 둘레 방향으로 상대적으로 회전시켰을 때에, 고정 부재 및 주벽부 각각의 안내면끼리를, 용기 축을 사이에 끼운 직경 방향으로 반대측의 각 위치에 있어서 서로 부딪히게 할 수 있다. 이에 의해, 외장부를 고정 부재에 대해 안정하게 상승시킬 수 있다.
본 발명의 제10 측면은, 고정 부재 및 주벽부에는 외장부 및 고정 부재의 상대적인 회전 이동에 따라 둘레 방향에서 부딪혀 걸림으로써, 한층 더 회전 이동을 규제하는 규제면이 각각 별도로 형성되고, 외장부가 고정 부재에 대해 둘레 방향을 따라서 한쪽측으로 회전할 때에, 안내면끼리가 부딪혀, 외장부가 고정 부재에 대해 둘레 방향을 따라서 다른측으로 회전할 때에, 규제면끼리가 부딪히는, 제6 내지 제9 측면 중 어느 하나의 토출 용기이다.
이 제10 측면에 따르면, 외장부가 고정 부재에 대해 둘레 방향을 따라서 다른 쪽측으로 회전할 때에, 규제면끼리가 부딪힌다. 따라서, 예를 들어, 사용자가 고정 부재로부터 외장부를 분리할 때에, 사용자가 외장부와 고정 부재를 반대 방향으로 회전시킨 경우라도, 그 회전에 규제된다. 이에 의해, 사용자가 외장부와 고정 부재를 잘못된 방향으로 회전시킨 것을 용이하게 인식하는 것이 가능해져, 조작성을 향상시키기 쉽게 할 수 있다.
본 발명의 제11 측면은 내용물이 수용되는 용기 본체를 구비하는 용기체와, 용기 본체의 입구부에 상방 가압 상태로 하방 이동 가능하게 세워 설치된 스템을 갖는 토출기와, 스템의 상방에 배치되는 동시에 성형 구멍이 용기 축 방향으로 관통하는 정상벽부를 갖고, 성형 구멍에서, 정상벽부에 있어서 상측을 향하는 조형면에 내용물을 토출하는 외장부와, 외장부 내에 상방 가압 상태로 하방 이동 가능하게 배치되어, 정상벽부에 있어서 하측을 향하는 공급면에 맞닿거나 근접하는 상방의 대기 위치와, 공급면으로부터 아래로 이격하여, 외장부와의 사이에, 스템으로부터의 내용물을 직경 방향으로 확산하여 성형 구멍에 공급하는 확산실을 형성하는 하방의 토출 위치와의 사이를 상하 이동하는 내부판을 구비하고, 내부판에는 내부판이 토출 위치에 위치할 때에 스템에 걸려, 내부판의 하강에 따라 스템을 하강시키는 걸림부가 형성되고, 용기체와 내부판 사이에는 토출 위치에 위치하는 내부판을 상방 가압하는 가압 부재가 배치되고, 외장부 및 내부판은 용기체에 대해 용기 축 주위에 일체로 회전이 자유롭게 설치되고, 내부판 및 용기체 중 한쪽에는 다른 쪽에 설치된 미끄럼 이동 돌기부가 용기 축 주위를 따르는 둘레 방향으로 미끄럼 이동하여 내부판을 가압 부재에 의한 상방 가압력에 저항하여 하강시키는 안내 돌기부와, 안내 돌기부에 둘레 방향으로 인접하여, 안내 돌기부를 둘레 방향으로 넘은 미끄럼 이동 돌기부의 상방을 향한 이동을 허용하는 여유부가 설치되어 있는 토출 용기이다.
이 제11 측면에 따르면, 외장부 및 내부판이 용기체에 대해 용기 축 주위에 일체로 회전이 자유롭고, 내부판과 용기체에 설치된 미끄럼 이동 돌기부와 안내 돌기부가 둘레 방향으로 미끄럼 이동함으로써 내부판이 하강한다. 이에 의해, 외장부를 용기체에 대해 용기 축 주위를 회전시킴으로써 내부판이 하강하고, 내부판에 형성된 걸림부가 스템을 하강시켜, 내용물을 확산실에서 직경 방향으로 확산시키고 나서, 성형 구멍을 통과하여 조형면에 토출시킬 수 있다. 또한, 안내 돌기부에 둘레 방향으로 인접하는 여유부가, 안내 돌기부를 둘레 방향으로 넘은 미끄럼 이동 돌기부의 상방을 향한 이동을 허용한다. 이 때문에, 외장부를 소정량 회전시킴으로써 내부판이 상방 가압력에 의해 대기 위치까지 상승하여, 스템으로부터의 내용물의 토출을 정지시키는 동시에, 확산실 내의 내용물을 조형면에 압출할 수 있다. 이와 같이, 외장부를 용기체에 대해 용기 축 주위를 회전시키는 조작에 의해, 내용물을 스템으로부터 토출시키는 동시에, 스템으로부터의 토출을 정지시켜서 내부판을 대기 위치까지 복원 변위시킬 수 있다. 이에 의해, 예를 들어, 내부판을 손으로 누름으로써, 내용물을 스템으로부터 토출시키는 경우와 비교해서, 조작력을 저감하는 것에 더하여, 내용물의 토출량을 안정시키면서, 내용물이 스템으로부터 토출되고 있는 동안에 조형면에 토출되는 내용물의 흐름과, 스템으로부터의 내용물의 토출을 정지하여 확산실 내의 내용물을 조형면에 압출하는 동안에 조형면에 토출되는 내용물의 흐름을 연속적으로 한다. 이에 의해, 조형물을 고정밀도로 조형시킬 수 있다.
본 발명의 제12 측면은, 용기체는 용기 본체의 입구부에 고정된 내통부와, 내통부에서 직경 방향 내측을 향해 연장하는 수용부와, 수용부의 내주연에서 상방을 향해 연장하는 외변환통부를 갖는 고정 부재를 구비하고, 내부판에는 외변환통부의 직경 방향 내측에 있어서 하향 연장하는 내변환통부가 형성되고, 안내 돌기부는 외변환통부 및 내변환통부 중 한쪽에 설치되고, 미끄럼 이동 돌기부는 다른 쪽에 설치되어 있는, 제11 측면의 토출 용기이다.
이 제12 측면에 따르면, 가압 수단의 탄성력을 받아 들이는 수용부가 용기 본체의 입구부에 고정된 내통부에서 직경 방향 내측을 향해 연장하고, 이 수용부의 내주연에서 상측을 향해 외변환통부가 연장해 있다. 이 구성에 의해 수용부 및 외변환통부의 강성이 높아져, 가압 수단의 탄성력에 의해 외변환통부가 변형 또는 변위하는 것이 억제되기 때문에, 미끄럼 이동 돌기부와 안내 돌기부의 위치 관계를 안정시킬 수 있다. 이에 의해, 상술한 바와 같은 미끄럼 이동 돌기부 및 안내 돌기부에 의한 우수한 작용 효과를 확실하게 발휘시킬 수 있음은 물론, 가압 수단 및 외변환통부를 용기 본체의 입구부 내측에 콤팩트하게 배치할 수 있다.
본 발명의 제13 측면은, 안내 돌기부는 용기 축 방향으로 연장하는 제1 수직면과, 제1 수직면에서 상방을 향함에 따라 점차 상기 제1 수직면에서 둘레 방향으로 한쪽측에 이간하는 제1 경사면을 갖고, 미끄럼 이동 돌기부는 용기 축 방향으로 연장하는 제2 수직면과, 하방을 향함에 따라 점차 제2 수직면에서 둘레 방향으로 다른 쪽측에 이간하는 제2 경사면을 갖고, 제1 수직면 및 제1 경사면이 이루는 각도와, 상기 제2 수직면 및 상기 제2 경사면이 이루는 각도가 서로 동등한, 제11 또는 제12 측면의 토출 용기이다.
이 제13 측면에 따르면, 안내 돌기부의 제1 수직면 및 제1 경사면이 이루는 각도와, 미끄럼 이동 돌기부의 제2 수직면 및 제2 경사면이 이루는 각도가 서로 동등하다. 그 때문에, 미끄럼 이동 돌기부가 안내 돌기부를 둘레 방향으로 미끄럼 이동할 때에, 제1 경사면과 제2 경사면과의 접촉 면적을 크게 할 수 있다. 이에 의해, 예를 들어, 미끄럼 이동 돌기부와 안내 돌기부가 미끄럼 이동할 때에 양자가 마모하는 것을 억제하여, 동작을 안정시킬 수 있다. 또한, 안내 돌기부 및 미끄럼 이동 돌기부 양쪽이 용기 축 방향으로 연장하는 수직면을 갖고 있다. 그 때문에, 외장부 및 내부판의 용기체에 대한 용기 축 주위의 회전을 일방향으로만 허용하는 동시에, 여유부에 도달한 미끄럼 이동 돌기부를 가압 수단의 상방 가압력에 의해 상방을 향해서 빠르게 이동시킬 수 있다. 이에 의해, 외장부를 용기체에 대해 회전시킬 때의 조작성을 향상시키고, 또한, 조형면에 토출되는 내용물의 속도 및 양을 안정시켜, 조형물의 조형 정밀도를 보다 확실하게 향상시킬 수 있다.
본 발명에 따르면, 고정 부재를 용기 본체에서 용이하게 분리할 수 있고, 토출면에 토출되는 내용물의 토출량이 위치마다 불균일하게 분포하는 것을 억제할 수 있어, 조작성을 향상시키면서 조형물을 고정밀도로 토출면(조형면)에 형성할 수 있는 토출 용기를 제공할 수 있다.
도 1은 본 발명의 제1 실시형태에 관한 토출 용기의 주요부의 반쪽 종단면도로서, 내부판이 대기 위치에 위치하는 상태를 나타내는 도면이다.
도 2는 도 1에 도시한 토출 용기의 주요부의 반쪽 종단면도로서, 내부판을 토출 위치에 하강시킨 상태를 나타내는 도면이다.
도 3은 도 1에 도시한 토출 용기의 상면도이다.
도 4는 도 1에 도시한 토출 용기에서 용기 본체를 떼어낸 상태에서의 하면도이다.
도 5는 도 1에 도시한 토출 용기의 고정 부재의 상면도이다.
도 6A는 도 1에 도시한 토출 용기의 외장부에서의 상면도이다.
도 6B는 도 1에 도시한 토출 용기의 외장부에서의 측면도이다.
도 7은 본 발명의 제2 실시형태에 관한 토출 용기에서 용기 본체를 떼어낸 상태에서의 하면도이다.
도 8은 본 발명의 제1 및 제2 실시형태에 관한 토출 용기의 변형예의 주요부에 대한 반쪽 종단면도로서, 내부판이 대기 위치에 위치하는 상태를 나타내는 도면이다.
도 9는 도 8에 도시한 토출 용기를 구성하는 외장부의 평면도이다.
도 10은 도 9에 도시한 토출 용기의 반쪽 종단면도로서, 내부판이 토출 위치에 위치하는 상태를 나타내는 도면이다.
도 11은 도 10에 도시한 토출 용기의 반쪽 종단면도로서, 내부판이 하강단에 위치하는 상태를 나타내는 도면이다.
도 12는 본 발명의 제3 실시형태에 관한 토출 용기의 평면도이다.
도 13은 도 12에 도시한 토출 용기에 있어서, 내부판이 대기 위치에 위치하는 상태를 나타내는 반쪽 단면도이다.
도 14는 도 12에 도시한 토출 용기를 구성하는 고정 부재의 평면도이다.
도 15는 도 14에 도시한 고정 부재의 측면도이다.
도 16은 도 12에 도시한 토출 용기를 구성하는 외장부 본체의 평면도이다.
도 17은 도 16에 도시한 외장부 본체의 측면도이다.
도 18은 도 12에 도시한 토출 용기를 구성하는 상측 걸어맞춤부 및 하측 걸어맞춤부를 나타내는 모식도로서, 양 걸어맞춤부가 조합된 상태를 직경 방향으로 외측에서 위요통을 투과하여 본 정면도이다.
도 19는 도 12에 도시한 토출 용기에 있어서, 내부판이 토출 위치에 위치하는 상태를 나타내는 반쪽 단면도이다.
도 20은 도 12에 도시한 토출 용기에 있어서, 외장부와 고정 부재가 상대적으로 회전 이동하여 안내면이 부딪힌 상태를 나타내는 부분적인 측면도이다.
도 21은 도 12에 도시한 토출 용기를 구성하는 상측 걸어맞춤부 및 하측 걸어맞춤부를 나타내는 모식도로서, 도 20에 도시한 안내면이 부딪힌 상태를, 직경 방향으로 외측에서 위요통을 투과하여 본 정면도이다.
도 22는 도 21에 도시한 상태로부터 외장부와 고정 부재가 상대적으로 더 회전 이동하여, 외장부가 고정 부재에 대해 상승한 상태를 나타내는 정면도이다.
도 23은 도 12에 도시한 토출 용기에 있어서, 도 22에 도시한 상태로부터, 외장부와 고정 부재가 상대적으로 더 회전 이동한 상태를 나타내는 부분적인 측면도이다.
도 24는 제4 실시형태에 관한 토출 용기의 종단면도이며, 내부판이 대기 위치에 위치한 상태를 나타낸다.
도 25는 도 24의 외장부의 평면도이다.
도 26은 도 24의 고정 부재의 평면도이다.
도 27은 도 24의 변환기구의 전개도이다.
도 28은 도 24의 토출 용기의 종단면도이며, 내부판이 토출 위치에 위치한 상태를 나타낸다.
(제1 실시형태)
이하, 도면을 참조하여 본 발명의 제1 실시형태에 관한 토출 용기를 설명한다.
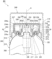
도 1 및 도 2에 도시한 바와 같이. 토출 용기(1)는 용기체(11)와, 토출기(14)와, 외장부(15)와, 내부판(16)을 구비한다. 토출 용기(1)는 예를 들어, 거품체나 고점성 재료 등, 토출 후에 적어도 일정 시간에 걸쳐 형상을 유지 가능한 내용물을 토출한다. 용기체(11)는 내용물이 수용되는 용기 본체(12)와, 용기 본체(12)의 입구부(12a)에 장착된 고정 부재(13)를 구비한다.
여기서, 본 실시형태에서는 용기 본체(12)는 바닥이 있는 통 형태로 형성되고, 외장부(15)는 천정이 있는 통 형태로 형성되어 있어, 이들의 각 중심축은 공통 축 상에 배치되어 있다. 이하, 이 공통 축을 용기 축(O)이라 하고, 용기 축(O)을 따르는 방향 중 용기 본체(12)의 바닥부측을 하측이라 하고, 용기 본체(12)의 입구부(12a)측을 상측이라고 하고, 용기 축(O)을 따르는 방향을 상하 방향이라 한다. 토출 용기(1)를 상면에서 보아, 용기 축(O)과 직교하는 방향을 직경 방향이라 하고, 용기 축(O) 주위를 주회하는 방향을 둘레 방향이라 한다. 
용기 본체(12)의 내부는 입구부(12a)가 정벽(17)으로 덮임으로써, 밀폐되어 있다. 정벽(17)에는 둘레 방향으로 연장하는 환상 오목부(18)가 설치되어 있다. 환상 오목부(18)는 하측을 향해 오목하게 들어가 있다. 
토출기(14)는 용기 본체(12)의 입구부(12a)에 상방 가압 상태로 하방 이동 가능하게 세워진 스템(19)을 구비한다. 스템(19)은 용기 축(O)과 동축으로 배치되고, 환상 오목부(18)보다도 작은 직경으로 형성되어 있다. 스템(19)은 정벽(17)을 상하 방향으로 관통하고 있다. 토출기(14)의 내부에 있어서, 용기 본체(12) 내에 위치하는 부분에는 도시하지 않은 토출 밸브가 설치되어 있다.
용기 본체(12)에 대해 스템(19)이 눌러지면, 토출 밸브가 열려, 용기 본체(12) 내의 내용물이 스템(19) 내를 통과하여 스템(19)의 상단부에서 토출된다. 이 때, 본 실시형태에서는 스템(19)의 상단부에서, 예를 들어, 거품 형태로 된 용기 본체(12) 내의 내용물이 토출된다. 스템(19)의 누름을 해제하면, 스템(19)에 작용하는 상방 가압력에 의해 스템(19)이 상승하는 동시에 토출 밸브가 닫혀져, 내용물의 토출이 정지된다. 또한, 상술한 용기 본체(12) 및 토출기(14)는 용기 본체(12) 내에 수용된 내용물을 스템(19)으로부터 토출하는 토출 용기 본체(20)를 구성하고 있다. 도시한 예에서는 토출 용기 본체(20)로서, 내부에 액상 내용물이 수용된 에어졸 캔을 채용하고 있다.
고정 부재(13)는 용기 본체(12)의 입구부(12a)에 외부에서 삽입된 외삽통(63)과, 외삽통(63)을 직경 방향으로 외측에서 둘러싸는 위요통(61)과, 외삽통(63)과 위요통(61)을 접속하고, 또한, 둘레 방향으로 간극을 두고 배치된 복수의 접속부(62)를 구비한다.
도 5에 도시한 바와 같이, 위요통(61) 및 외삽통(63)의 상면에서 본 형상은 용기 축(O)과 동축의 원형으로 되어 있다. 위요통(61)의 내주면에는 둘레 방향으로 연장하는 복수의 상측 걸어맞춤부(61a)가 둘레 방향으로 간격을 두고 형성되어 있다. 복수의 상측 걸어맞춤부(61a)는 위요통(61)의 내주면에서 직경 방향으로 내측을 향해 돌출해 있다. 복수의 상측 걸어맞춤부(61a)는 둘레 방향으로 연장하는 돌기 형태로 형성되어 있다. 접속부(62)는 위요통(61)과 외삽통(63)을 직경 방향으로 접속한다. 접속부(62)의 상면에서 본 형상은 둘레 방향으로 긴 직사각형으로 되어 있다. 접속부(62)는 둘레 방향으로 등간격을 두고 배치되어 있다. 접속부(62)의 둘레 방향 길이는 둘레 방향에서 서로 인접하는 접속부(62)끼리 간의 간극의 둘레 방향 길이보다 짧다. 또한, 접속부(62)끼리 간의 간극은 상하 방향으로 관통하고 있다. 또한, 상측 걸어맞춤부(61a)의, 위요통(61) 내주면에서 직경 방향으로 내측을 향한 돌출량은 위요통(61) 내주면과, 외삽통(63) 외주면 사이의 직경 방향의 간극보다 작다. 상측 걸어맞춤부(61a)의 둘레 방향 길이는 둘레 방향에서 서로 인접하는 접속부(62)끼리 간의 간극의 둘레 방향 길이 이하이다. 그리고 상측 걸어맞춤부(61a)는 상하 방향에서 본 평면 모습으로, 둘레 방향으로 서로 인접하는 접속부(62)끼리 간의 간극 내측에 위치해 있다.
도시한 예에서는 고정 부재(13)는 정벽(17)의 환상 오목부(18) 내에 끼워 맞춰진 내통부(65)를 구비한다. 내통부(65)는 환상 오목부(18)에 있어서 직경 방향으로 내측을 향하는 외주면에, 직경 방향으로 내측에서 끼워 맞춰져 있다. 내통부(65)에는 직경 방향으로 내측을 향해 연재하는 플랜지부(65a)가 형성되어 있다. 고정 부재(13)는 외삽통(63)과 내통부(65)를 직경 방향으로 연결하고, 또한, 상측을 향해 돌출하는 바닥이 있는 통 형태의 돌출부(64)를 구비한다. 돌출부(64)는 후술하는 토출 상태에 있어서, 돌출부(64)의 외주면과 내부판 본체(30)의 내주면이 직경 방향으로 근접하는 위치에 배치되어 있다.
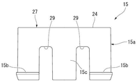
외장부(15)는 도 6에 도시한 바와 같이, 스템(19)의 상방에 배치된 정상벽부(24)와, 정상벽부(24)의 외주 가장자리에서 하향 연장하는 주벽부(15a)를 구비한다. 정상벽부(24)는 용기 축(O)과 직교하는 판상으로 형성되어 있다. 주벽부(15a)는 고정 부재(13)에서의 외삽통(63)과 위요통(61) 사이에 끼워진다. 주벽부(15a)의 외주면에는 직경 방향으로 외측을 향해서 돌출하고, 또한, 위요통(61)의 상측 걸어맞춤부(61a)에, 상측 걸어맞춤부(61a)의 하방에서 걸어맞추는 하측 걸어맞춤부(15b)가 형성되어 있다. 하측 걸어맞춤부(15b)의 둘레 방향 길이는 상측 걸어맞춤부(61a)의 둘레 방향 길이보다 길고, 하측 걸어맞춤부(15b)의 수량은 상측 걸어맞춤부(61a)의 수량보다도 적다. 외장부(15)는 용기 축(O)과 동축에 배치된 천정이 있는 원통 형태로 형성되어 있다. 외장부(15)에는 도 1 및 도 6에 도시한 바와 같이, 심체(25)와, 성형 구멍(26)과, 삽입 관통 구멍(29)이 형성되어 있다.
심체(25)는 정상벽부(24)에서 하측을 향해 연장해 있다. 심체(25)는 용기 축(O)과 동축에 배치되어 있다. 심체(25)는 스템(19)의 상단 가장자리보다도 상측에 위치해 있다. 심체(25)의 외부 직경은 스템(19)의 내부 직경보다고 작고, 심체(25)는 스템(19)의 상단부와 상하 방향으로 대향해 있다. 심체(25)는 단단한 봉 형태, 기둥 형태로 형성되어 있다. 심체(25)의 하단부에 직경축소부가 형성되어 있다.
복수의 성형 구멍(26)은 외장부(15)의 정상벽부(24)에 상하 방향으로 관통하여 형성되어 있다. 복수의 성형 구멍(26)은 정상벽부(24)에 있어서 상측을 향하는 토출면(27) 및 하측을 향하는 공급면(28)에 각각 별도로 개구해 있다. 또한, 토출면(27) 및 공급면(28)은 용기 축(O)과 직교해 있다.
복수의 성형 구멍(26)은 둘레 방향으로 연장하는 긴 구멍 형태로 형성되어 있다. 복수의 성형 구멍(26)은 둘레 방향 및 직경 방향으로 간격을 두고 배치되어 있다. 본 실시형태에서는 둘레 방향으로 간격을 두고 배치된 복수의 성형 구멍(26)이 구멍열 L1을 형성하고 있어, 이 구멍열 L1이 용기 축(O)을 중심으로 하여 다중으로 배치되어 있다. 구멍열 L1은 상면에서 봤을 때, 심체(25)를 직경 방향으로 외측에서 둘러싸도록 배치되어 있다.
삽입 관통 구멍(29)은 도 1, 도 6A, 및 도 6B에 도시한 바와 같이, 외장부(15)의 주벽부(15a)를, 주벽부(15a)의 하단측이 개구하도록 절결함으로써 형성되고, 주벽부(15a)를 직경 방향으로 관통하고 있다. 삽입 관통 구멍(29)은 내부판(16)의 후술하는 누름부(71)가 외장부(15)의 외측을 향해 돌출하도록 삽입 관통 가능한 위치 및 치수로 형성되어 있다. 삽입 관통 구멍(29)은 도 6B에 도시한 바와 같이, 직경 방향으로 외측에서 보아 상하 방향으로 긴 직사각형으로 형성되어 있다. 도시한 예에서는 4개의 삽입 관통 구멍(29)이 주벽부(15a)에 둘레 방향으로 간격을 두고 형성되어 있다. 이 4개의 삽입 관통 구멍(29)은 2개 1조로, 2조를 구성한다. 이 중, 1조의 삽입 관통 구멍(29)은 둘레 방향으로 서로 인접하여 형성되어 있고, 2조의 삽입 관통 구멍(29)은 주벽부(15a)에 있어서 직경 방향으로 서로 대향하는 위치 각각에 1조씩 형성되어 있다.
또한, 삽입 관통 구멍(29)에 의해, 주벽부(15a)에 형성된 하측 걸어맞춤부(15b)가 둘레 방향으로 분단되어 있다. 하측 걸어맞춤부(15b)는 주벽부(15a)의 외주면 중, 둘레 방향에서 서로 인접하는 2개의 삽입 관통 구멍(29)끼리의 사이에 위치하는 삽입벽부(15c) 및 삽입 관통 구멍(29)이 배치된 둘레 방향을 따르는 위치를 회피한 위치에 형성되어 있다. 하측 걸어맞춤부(15b)의 둘레 방향의 단부는 주벽부(15a)에서의 삽입 관통 구멍(29)의 개구 주연부에 위치해 있다.
내부판(16)은 외장부(15) 내에 상하 이동이 자유롭게 설치됨은 물론, 외장부(15)에 대해 회전 이동이 규제되어 있다. 내부판(16)은 외장부(15) 내에 배치된 내부판 본체(30)와, 이 내측에 스템(19)이 진퇴되는 가이드통(31)과, 스템(19)에 걸려, 내부판(16)의 하강에 따라 스템(19)을 하강시키는 걸림부(36)와, 직경 방향으로 외측을 향해서 돌출하는 누름부(71)를 구비한다. 내부판 본체(30)는 천정이 있는 통 형태로 형성되고, 외장부(15) 내에 상하 이동이 자유롭게 끼워맞춰져 있다. 내부판 본체(30)의 외주면이 외장부(15) 내주면 위를 상하 방향으로 미끄럼 이동한다. 내부판 본체(30)의 상면에서 본 형상은 외장부(15)의 내주면에서의 상면에서 본 형상과 동등한 형상 또한 동등한 크기로 형성되어 있다.
내부판 본체(30)에는 연통 구멍(34)이 형성되어 있다. 연통 구멍(34)은 내부판 본체(30)를 상하 방향으로 관통하고 있다. 연통 구멍(34)은 용기 축(O)과 동축에 배치되어 있다. 연통 구멍(34)은 심체(25)보다고 큰 직경이 되고, 연통 구멍(34) 내에는 심체(25)가 삽입 관통된다. 연통 구멍(34)은 스템(19)의 외부 직경보다도 작은 직경이 되어 있다. 가이드통(31)은 내부판 본체(30)에서 아래를 향해 연장하고, 그 내측에 스템(19)이 진퇴된다. 가이드통(31)은 용기 축(O)과 동축에 배치되어 있다.
내부판(16)은 도 1에 도시한 바와 같은 공급면(28)에 맞닿거나 근접하는 상방의 대기 위치와, 도 2에 도시한 바와 같은 스템(19)을 하강시켜서, 스템(19)으로부터의 내용물을 확산실(35) 내에 공급하는 하방의 토출 위치와의 사이를 상하 이동한다. 도 1에 도시한 바와 같이, 내부판(16)이 대기 위치에 위치할 때에는 심체(25)가 연통 구멍(34)에 삽입 관통되어 있다.
도 2에 도시한 바와 같이, 내부판(16)은 토출 위치에 있어서, 공급면(28)에서 하측으로 이격되어, 공급면(28)과의 사이에 확산실(35)을 형성한다. 확산실(35)은 스템(19)으로부터의 내용물을 공급면(28)과 내부판(16) 사이에, 직경 방향(토출면(27) 및 공급면(28)을 따르는 방향)으로 확산하여 복수의 성형 구멍(26) 각각에 공급한다. 확산실(35)은 용기 축(O)과 동축에 배치되어 있다. 확산실(35)은 상하 방향보다도 직경 방향으로 큰 편평 형상으로 형성되어 있다. 확산실(35)의 벽면 일부는 공급면(28)에 의해 형성되어 있다.
내부판(16)에는 토출 위치에 위치할 때에, 스템(19)에 걸려, 스템(19)을 하강시키는 걸림부(36)가 설치되어 있다. 걸림부(36)는 내부판 본체(30)에서의 연통 구멍(34)의 개구 주연부에 위치하여, 스템(19)의 상단 가장자리에 상측에서 맞닿아, 스템(19)을 하강시킨다. 이 때, 연통 구멍(34)은 스템(19) 내와 확산실(35)을 연통해 있다. 또한, 이 때, 내부판(16)의 내부판 본체(30)가 심체(25)보다도 하측에 위치해 있어, 심체(25)는 확산실(35) 내에 배치되어 있다.  
도 1에 도시한 바와 같이, 내부판(16)에는 직경 방향으로 외측을 향해서 돌출하는 누름부(71)가 구비되어 있다. 누름부(71)는 표면 및 이면이 외장부(15)의 외주면을 따라 연장하는 측판(39)과, 측판(39)에서 직경 방향으로 외측을 향해서 돌출하고, 또한, 표면 및 이면이 상하 방향을 향하는 누름판(33)과, 측판(39)과 내부판 본체(30)를 연결하여 삽입 관통 구멍(29)에 삽입 관통된 연결편(38)을 구비한다.
2개의 누름부(71)는 내부판 본체(30)의 외주면에 있어서 용기 축(O)을 직경 방향으로 사이에 끼우는 위치에 각각 별도로 배치되어 있다. 연결편(38)은 내부판 본체(30)의 외주면 하단부에서, 직경 방향으로 외측을 향해서 돌출해 있다. 복수(도시한 예에서는 2개)의 연결편(38)은 1개의 측판(39)에 대해 둘레 방향으로 간격을 두고 배치되어 있다. 연결편(38)은 삽입 관통 구멍(29)에 삽입 관통된 상태로, 내부판 본체(30)와 측판(39)을 연결하고 있다.
도 1에 도시한 바와 같이, 연결편(38)은 삽입 관통 구멍(29)의 개구 주연부 중 상단에 위치하여 아래를 향하는 위 가장자리에 맞닿거나 또는 근접해 있다. 또한, 연결편(38)은 삽입 관통 구멍(29)의 개구 주연부 중, 둘레 방향의 양단에 위치하여 둘레 방향을 향하는 측 가장자리에 맞닿거나 또는 근접해 있다. 이 때문에, 내부판(16)은 외장부(15)에 대해 회전 이동이 규제되어 있다. 측판(39)은 상하 방향으로 연장해 배치되어 있다. 측판(39)의 표면 또는 이면은 외장부(15)의 외주면을 따라 연장해 있다. 측판(39)은 연결편(38)과 누름판(33)을 연결하고 있다. 또한, 측판(39)과 내부판 본체(30)의 외주면 사이에는 직경 방향으로 간극이 형성되어 있다. 누름판(33)은 측판(39)의 상단부에서 직경 방향으로 외측을 향해서 돌출해 있다. 누름판(33)의 표면 및 이면은 상하 방향을 향하고 있다. 누름판(33)의 표면은 외장부(15)의 토출면(27)과 동일 평면으로 되어 있다. 또한, 누름판(33)의 표면은 토출면(27)과 동일 평면이 아니어도 좋다.
여기서, 둘레 방향으로 서로 인접하는 연결편(38)끼리 사이의 간극에는 측판(39)과 내부판 본체(30) 사이의 직경 방향의 간극을 통과하여, 외장부(15)의 삽입벽부(15c)가 내부판(16)의 상방에서 삽입되어 있다. 이 때문에, 외장부(15)의 주벽부(15a)에 형성된 하측 걸어맞춤부(15b)는 주벽부(15a)의 외주면 중, 누름부(71)가 배치되어 있는 둘레 방향을 따르는 위치를 회피한 위치에 배치되어 있다.
여기서, 본 실시형태에서는 도 4에 도시한 바와 같이. 복수의 접속부(62) 중 하나는 적어도 일부가 누름부(71)와 상하 방향에서 중복하는 위치에 배치되어 있다. 도시한 예에서는 누름부(71)의 둘레 방향으로 중앙부와, 복수의 접속부(62) 중 하나의 둘레 방향으로 중앙부가, 상하 방향에서 서로 중복해 있다. 또한, 누름부(71)의 둘레 방향으로 중앙부와, 복수의 접속부(62) 중 하나의 둘레 방향으로 중앙부가 상하 방향에서 중복해 있지 않아도 좋고, 누름부(71)와, 복수의 접속부(62) 중 하나의 적어도 일부가 상하 방향에서 중복해 있으면 좋다. 또한, 누름부(71)의 둘레 방향 길이는 접속부(62)의 둘레 방향 길이보다도 길다. 또한, 도 4 내지 도 6B에 도시한 바와 같이, 상하 방향에서 본 평면 모습에 있어서, 하나의 하측 걸어맞춤부(15b)에 대해, 둘레 방향에서 서로 인접하는 2개의 상측 걸어맞춤부(61a)가 걸어 맞춰져 있다. 또한, 복수의 상측 걸어맞춤부(61a) 모두가 하측 걸어맞춤부(15b)에 걸어맞춰져 있다. 그리고 누름부(71)의 둘레 방향으로 양단부 및 하측 걸어맞춤부(15b)와 상측 걸어맞춤부(61a)가 서로 걸어 맞춰져 있는 부분 각각의 둘레 방향을 따르는 위치가 서로 인접해 있다.
도 1 및 도 2에 도시한 바와 같이, 고정 부재(13)와 내부판(16) 사이에는 스프링 부재로 이루어지는 가압 부재(50)가 설치되어 있다. 가압 부재(50)는 토출 위치에 위치하는 내부판(16)을 상방 가압하여 대기 위치까지 상승시킨다. 가압 부재(50)의 상단부는 내부판 본체(30)의 하면에 맞닿고, 가압 부재(50)의 하단부는 고정 부재(13)의 플랜지부(65a) 상면에 맞닿아 있다.  
다음에, 본 실시형태에 관한 토출 용기(1)의 작용에 대해 설명한다.
토출 용기(1)의 사용 전의 초기 상태에서는 내부판(16)이 도 1에 도시한 바와 같은 대기 위치에 배치되어 있다. 그리고 도 2에 도시한 바와 같이, 외장부(15)의 토출면(27)에 내용물을 토출시킬 때, 누름판(33)을 가압 부재(50)의 가압력에 저항하여 누름으로써, 외장부(15)의 정상벽부(24)와 내부판(16) 사이에 위치하는 확산실(35)의 내용적을 증대시키는 동시에, 내부판(16)의 걸림부(36)를 스템(19)의 상단부에 걸리게 한다.
또한, 내부판(16)의 하강에 따라, 걸림부(36)에 걸려진 스템(19)이 상방 가압력에 저항하여 하강함으로써, 용기 본체(12) 내의 내용물이 스템(19)을 통과하여 확산실(35)에 유입한다. 확산실(35)에 유입한 내용물은 정상벽부(24)에서의 하측을 향하는 공급면(28)과의 사이에, 확산실(35) 내에서 직경 방향으로 확산된 후에 복수의 성형 구멍(26)에 공급되고, 이들 성형 구멍(26)에서 토출면(27)에 토출된다.
여기서, 내용물이 복수의 성형 구멍(26)을 각각 별도로 통과하여 성형되면, 복수의 조형편이 형성되고, 이들 조형편이 토출면(27) 상에서 조합됨으로써, 조형물이 형성된다. 또한, 성형 구멍(26)에 의해서 조형된 조형편은 성형 구멍(26)이 연장하는 방향으로 길게 성형되어 있다.
그 후, 누름판(33)의 누름 조작을 해제하면, 내부판(16)이 스템(19)의 상방을 향한 복원 변위에 따라, 외장부(15)에 대해 상방 이동한다. 이 때, 확산실(35)의 내용적이 감소하여, 확산실(35)에 유입해 있던 내용물이 확산실(35)에서 성형 구멍(26)을 통해 외부로 압출된다.
이상에 설명한 바와 같이, 본 실시형태의 토출 용기(1)에 따르면, 누름부(71)의 연결편(38)이 삽입 관통 구멍(29)의 개구 주연부의 위 가장자리에 맞닿거나 또는 근접해 있다. 이 때문에, 누름부(71)를 인상하면, 외장부(15)도 인상되어, 외장부(15)의 하측 걸어맞춤부(15b)가 고정 부재(13)의 상측 걸어맞춤부(61a)에 상측 걸어맞춤부(61a)의 하측에서 걸림으로써, 누름부(71)에 가해진 인상력이, 고정 부재(13)에서의 접속부(62)를 통해서 외삽통(63)에 전파된다. 이에 의해, 외삽통(63) 중, 접속부(62)와의 접속부분에 직경 방향으로 외측을 향해서 국소적인 큰 힘이 가해지게 되어, 이 접속부분을 기점으로 해서 외삽통(63)을 전체 둘레에 걸쳐 변형시키는 것이 가능해지고, 고정 부재(13)를 용기 본체(12)의 입구부에서 떼어 낼 수 있다. 이에 의해, 예를 들어, 용기 본체(12) 내의 내용물을 다 사용한 후에, 필요에 따라서, 외장부(15)와 내부판(16)을, 고정 부재(13)와 함께 용기 본체(12)에서 떼어내어, 용기 본체(12)를 교환하거나 할 수 있다.
또한, 하측 걸어맞춤부(15b)는 외장부(15)의 주벽부(15a) 외주면 중, 누름부(71)가 배치되어 있는 둘레 방향을 따르는 위치를 회피한 위치에 배치되어 있다. 이에 의해, 외장부(15)에 내부판(16)을 조립할 때에, 외장부(15)의 하측 걸어맞춤부(15b)가 누름부(71)에 간섭하는 것을 방지할 수 있다.
또한, 내용물을 토출시킬 때에 누르는 누름부(71)가 내용물이 토출되는 토출면(27)을 갖는 외장부(15)와는 별도의 내부판(16)에 구비되어 있다. 이 때문에, 외장부(15)의 토출면(27)에 접촉하지 않고, 내용물을 토출시키는 것이 가능하게 되어, 내용물이 손에 부착하는 것을 방지할 수 있음은 물론, 외장부(15)가 흔들리는 것이 억제되어서, 토출면(27)에서 내용물이 흐르는 것을 막을 수 있다.
또한, 용기체(11) 내의 내용물이 확산실(35) 내에서 직경 방향으로 확산된 후에 성형 구멍(26)에 공급되므로, 토출면(27)에 있어서 특정 일부에 배치된 성형 구멍(26)에 내용물이 집중하는 것을 억제하여, 성형 구멍(26)에 불균일이 적게 내용물을 공급할 수 있다. 이에 의해, 토출면(27)에 토출되는 내용물의 토출량이 위치마다 불균일하게 분포하는 것을 억제할 수 있다.
또한, 내부판(16)의 누름부(71)가 통과되는 삽입 관통 구멍(29)에 의해, 둘레 방향으로 연재하는 하측 걸어맞춤부(15b)가 분단되어 있고, 누름부(71)의 둘레 방향으로 양단부, 및 하측 걸어맞춤부(15b)와 상측 걸어맞춤부(61a)가 서로 걸어 맞추고 있는 부분 각각의 둘레 방향을 따르는 위치가 서로 인접해 있다. 이에 의해, 누름부(71)에 가해진 인상력을, 외장부(15)의 주벽부 상에서 분산시키지 않고, 직접 하측 걸어맞춤부(15b)와 상측 걸어맞춤부(61a)가 서로 걸어 맞추고 있는 부분에 전달시키는 것이 가능해져, 외삽통(63)과 접속부(62)의 접속부분에, 직경 방향으로 외측을 향해서 국소적인 큰 힘을 효과적으로 가할 수 있다.
또한, 복수의 접속부(62) 중 하나의 적어도 일부가, 누름부(71)와 상하 방향에서 중복해 있다. 이에 의해, 누름부(71)에 가해진 인상력을, 복수의 접속부(62) 중 하나에 우선하여 전달시키기 쉬워져, 외삽통(63)과 접속부(62)의 접속 부분에, 직경 방향으로 외측을 향해서 국소적인 큰 힘을 용이하게 가할 수 있다.
또한, 상측 걸어맞춤부(61a)가 상하 방향에서 본 평면 모습으로, 둘레 방향으로 서로 인접하는 접속부(62)끼리의 사이에 있는 간극 내측에 위치해 있고, 상측 걸어맞춤부(61a)와 접속부(62)가 상하 방향에서 본 평면 모습으로 중복하지 않는다. 이 때문에, 접속부(62) 및 상측 걸어맞춤부(61a)를 갖는 고정 부재의 성형 시에 있어서, 상하 방향만을 금형의 빼기 방향으로 할 수 있다. 이에 의해, 금형 구조를 복잡하게 하지 않고, 고정 부재(13)를 용이하게 형성할 수 있다.
또한, 외장부(15)의 주벽부(15a) 중, 둘레 방향으로 서로 인접하는 삽입 관통 구멍(29)끼리 사이에 위치하는 삽입벽부(15c)에, 하측 걸어맞춤부(15b)가 형성되어 있지 않다. 이 때문에, 삽입벽부(15c)를 둘레 방향에서 서로 인접하는 연결편(38)끼리의 사이에 삽입할 때에, 내부판 본체(30)의 외주면과 측판(39) 간의 직경 방향의 간극을 넓히지 않아도 삽입벽부(15c)를 원활하게 삽입할 수 있다.
(제2 실시형태)
  다음에, 본 발명의 제2 실시형태에 대해 설명한다. 또한, 이 제2 실시형태에 있어서는 제1 실시형태에서의 구성 요소와 동일한 부분에 대해서는 동일한 부호를 달아, 그 설명을 생략하고, 다른 점에 대해서만 설명한다.
본 실시형태에 관한 토출 용기(2)에서는 도 7에 도시한 바와 같이, 토출 용기(1)에서의 고정 부재(13)에 대해, 외장부(15) 및 내부판(16)의 둘레 방향으로 상대 위치가 45도 어긋나 있다. 이에 의해, 누름부(71)의 둘레 방향으로 중앙부와, 둘레 방향에서 서로 인접하는 접속부(62)끼리 사이의 간극, 및 상측 걸어맞춤부(61a) 각각의 둘레 방향으로 중앙부가 상하 방향에서 서로 중복해 있다. 또한, 하측 걸어맞춤부(15b)는 그의 둘레 방향으로 중앙부에 위치하는 상측 걸어맞춤부(61a)와, 상측 걸어맞춤부(61a)의 둘레 방향으로 전체 둘레에 걸쳐 걸어맞추고 있다. 또한, 복수의 상측 걸어맞춤부(61a) 중 반수가 하측 걸어맞춤부(15b)와 걸어맞추고 있지 않다. 그리고 하측 걸어맞춤부(15b)와 상측 걸어맞춤부(61a)가 서로 걸어맞추고 있는 부분이, 제1 실시형태의 토출 용기(1)와 비교해서, 누름부(71)의 둘레 방향으로 양단부에서 둘레 방향으로 크게 이격되어 있다.
다음에, 이상에서 설명한 작용 효과의 검증 시험에 대해 설명한다.
이 검증 시험에서는 비교예의 토출 용기, 제1 실시형태에 관한 토출 용기(1), 및 제2 실시형태에 관한 토출 용기(2)에 대해서, 용기 본체를 고정한 상태로, 하나의 누름부에서의 누름판의 둘레 방향으로 중앙부를 인상했다. 그리고 용기 본체의 입구부에서 고정 부재의 외삽통이 분리되었을 때의 인상력을 측정했다. 또한, 비교예의 토출 용기로서, 토출 용기(1)에 있어서 접속부가 전체 둘레에 걸쳐 형성된 구성을 채용했다.
그 결과, 비교예의 토출 용기에서는 110N 이상의 인상력이 필요하며, 입구부에서 외삽통을 떼어내는 것이 곤란한 한편, 토출 용기(1,2)에서는 입구부에서 외삽통을 용이하게 떼어 낼 수 있었다. 구체적으로는 토출 용기(1)에서는 인상력이 56N 내지 59N이고, 토출 용기(2)에서는 인상력이 63N 내지 66N인 것이 확인되었다. 이에 의해, 토출 용기(1,2)에서는 접속부(62)끼리 사이에 간극이 형성되어 있음으로써, 누름판(33)에 가해진 인상력이 외삽통(63)과 접속부(62)의 접속부분에 국소적으로 전달되기 때문에, 비교예의 토출 용기와 비교해서, 적은 인상력으로 입구부(12a)에서 외삽통(63)이 분리되는 것이 확인되었다. 또한, 인상력을 가하는 누름부(71)에서 상측 걸어맞춤부(61a)와 하측 걸어맞춤부(15b)의 걸어맞춤 부분까지의 둘레 방향의 거리를 짧게 하면, 누름판(33)에 가해진 인상력이 확실히 걸어맞춤 부분에 전달된다. 이 때문에, 토출 용기(1)에서는 토출 용기(2)와 비교해서, 적은 인상력으로 입구부(12a)에서 외삽통(63)이 분리되는 것이 확인되었다.
또한, 본 발명의 기술적 범위는 상기 제1 및 제2 실시형태에 한정되는 것이 아니고, 본 발명의 취지를 벗어나지 않는 범위에 있어서 여러 가지 변경을 가할 수 있다.
예를 들어, 토출기(14)의 토출 밸브로서, 스템(19)의 한번 압입 조작에 의해 일정량의 내용물이 토출되는 정량 밸브를 채용해도 좋다. 이와 같은 경우에는 내용물이 토출면(27)에 토출되었을 때에 복수의 성형 구멍(26A)을 통해 토출면(27) 상에서 내용물이 조합되어 형성되는 조형물을 정밀도 높게 형성할 수 있다.
또한, 본 발명의 기술적 범위는 상기 제1 및 제2 실시형태에 한정되는 것이 아니고, 본 발명의 취지를 벗어나지 않는 범위에 있어서 여러 가지 변경을 가할 수 있다.
예를 들어, 토출기(14)의 토출 밸브로서, 스템(19)의 한번 압입 조작에 의해 일정량의 내용물이 토출되는 정량 밸브를 채용해도 좋다. 이와 같은 경우에는 내용물이 토출면(27)에 토출되었을 때에 복수의 성형 구멍(26A)을 통해 토출면(27) 상에서 내용물이 조합되어 형성되는 조형물을 정밀도 높게 형성할 수 있다.
(변형예)
다음에, 도 8 내지 도 11을 참조하여, 본 발명의 제1 실시형태의 변형예에 대해서 설명한다. 또한, 이 변형예에서는 제1 및 제2 실시형태에서의 구성 요소와 동일한 부분에 대해서는 동일한 부호를 달아, 그 설명을 생략하고, 다른 점에 대해서만 설명한다.
도 8은 본 발명의 제1 실시형태에 관한 토출 용기의 변형예의 주요부에 대한 반쪽 종단면도로서, 내부판이 대기 위치에 위치하는 상태를 도시하는 도면이다. 도 9는 도 8에 도시한 토출 용기를 구성하는 외장부의 평면도이다. 도 10은 도 9에 도시한 토출 용기의 반쪽 종단면도로서, 내부판이 토출 위치에 위치하는 상태를 나타내는 도면이다. 도 11은 도 10에 도시한 토출 용기의 반쪽 종단면도로서, 내부판이 하강단에 위치하는 상태를 도시한 도면이다.
도 8 내지 도 11에 있어서, 고정 부재(13)는 용기 본체(12)의 입구부(12a)에, 용기 축(O) 주위를 회전 불가능하게, 또한, 상승 불가능하게 고정되어 있다. 외삽통(63)은 2중 통 형태로 형성되고, 용기 본체(12)의 입구부(12a)에 직경 방향으로 외측에서 끼워맞춰져 있다. 도시한 예에서는 외삽통(63)이 입구부(12a)에 직경 방향으로 외측에서 단단히 조여짐으로써, 고정 부재(13)의 용기 축(O) 주위의 회전 이동 및 고정 부재(13)의 상승 이동이 규제되어 있다. 또한, 외장부(15)는 하측 걸어맞춤부(15b)를 구비하고 있지 않아도 되고, 고정 부재(13)는 상측 걸어맞춤부(61a)를 구비하고 있지 않아도 된다.
그 외에, 본 발명의 취지를 벗어나지 않는 범위에서, 상기 제1 및 제2 실시형태에서의 구성 요소를 주지의 구성 요소로 치환하는 것은 적절히 가능하고, 또한, 상기한 변형예를 적절히 조합하여도 좋다.
(제3 실시형태)
이하, 도면을 참조하여 본 발명에 관한 실시형태의 토출면에 내용물을 토출하는 토출 용기를, 도 12 내지 도 23을 참조하여 설명한다. 도 12 내지 도 19에 도시한 바와 같이. 토출 용기(110)는 용기 본체(111)와, 토출기(112)와, 고정 부재(113)와, 외장부(114)를 구비한다. 토출 용기(110)는 예를 들어, 거품체나 고점성 재료 등, 토출 후에 적어도 일정 시간에 걸쳐 형상 유지 가능한 내용물을 토출한다. 내용물은 용기 본체(111)에 수용된다.
여기서, 본 실시형태에서는 용기 본체(111)는 바닥이 있는 통 형태로 형성되고, 외장부(114)는 천정이 있는 통 형태로 형성되어 있어, 이들의 각 중심축은 공통 축 상에 배치되어 있다. 이하, 이 공통 축을 용기 축(O)이라 하고, 용기 축(O)방향을 따르는 용기 본체(111)의 바닥부측을 하측이라 하고, 용기 본체(111)의 입구부(115)측을 상측이라 한다. 토출 용기(110)를 용기 축(O)방향에서 본 평면 모습에 있어서, 용기 축(O)과 직교하는 방향을 직경 방향이라 하고, 용기 축(O) 주위를 주회하는 방향을 둘레 방향이라 한다.
도 13에 도시한 바와 같이, 용기 본체(111)는 이 용기 본체(111)의 입구부(115)가 정벽(116)으로 덮임으로써 밀폐되어 있다. 정벽(116)에는 둘레 방향으로 연장하는 환상 오목부(117)가 형성되어 있다. 환상 오목부(117)는 하측을 향해 오목하게 들어가 있다.
토출기(112)는 용기 본체(111)의 입구부(115)에 상방 가압 상태로 하방 이동 가능하게 세워 설치된 스템(118)을 구비한다. 스템(118)은 용기 축(O)과 동축으로 배치되고, 상기 환상 오목부(117)보다도 작은 직경으로 형성되어 있다. 스템(118)은 상기 정벽(116)을 관통하고 있다. 스템(118)에 있어서 용기 본체(111) 내에 위치하는 부분에는 도시하지 않은 토출 밸브가 설치되어 있다.
용기 본체(111)에 대해 스템(118)이 눌러지면, 토출 밸브가 열려, 용기 본체(111) 내의 내용물이 스템(118) 내를 통과하여 스템(118)의 상단부에서 토출된다. 이 때, 본 실시형태에서는 스템(118)의 상단부에서, 예를 들어, 거품 형태가 된 용기 본체(111) 내의 내용물이 토출된다. 스템(118)의 누름을 해제하면, 스템(118)에 작용하는 상방 가압력에 의해 스템(118)이 상승하는 동시에 상기 토출 밸브가 닫혀져, 내용물의 토출이 정지된다. 또한, 상술한 용기 본체(111) 및 토출기(112)는 용기 본체(111) 내에 수용된 내용물을 스템(118)에서 토출하는 토출 용기 본체(119)를 구성하고 있다. 도시한 예에서는 토출 용기 본체(119)로서, 내부에 액상 내용물이 수용된 에어졸 캔을 채용하고 있다.
도 13 내지 도 14에 도시한 바와 같이. 고정 부재(113)는 용기 본체(111)의 입구부(115)에 장착되어 있다. 고정 부재(113)는 스템(118)을 직경 방향으로 외측에서 둘러싸도록 용기 본체(111)의 입구부(115)에 고정된다. 고정 부재(113)는 용기 축(O)과 동축의 다중 통 형태로 형성되어 있다. 고정 부재(113)는 용기 본체(111)의 입구부(115)에, 용기 축(O) 주위를 회전 불가능하게, 또한, 상승 불가능하게 고정되어 있다. 고정 부재(113)는 외통부(120)와, 내통부(121)와, 플랜지부(122)와, 연결부(123)와, 내장통부(124)를 구비한다.
외통부(120)는 상측을 향해 개구하는 환상 홈을 갖는 2중 통 형태로 형성되어 있다. 외통부(120)는 외삽통(125)과, 위요통(126)과, 접속부(127)를 구비한다. 외삽통(125)은 용기 본체(111)의 입구부(115)에 외부에서 삽입되어 있다. 위요통(126)은 외삽통(125)을 직경 방향으로 외측에서 둘러싸고 있다. 접속부(127)는 외삽통(125)과 위요통(126)을 연결하고 있다. 본 실시형태에서는 복수(도시한 예에서는 4개)의 접속부(127)가 둘레 방향으로 간격을 두고 배치되어 있다. 둘레 방향으로 인접하는 접속부(127)끼리 사이는 중간 입구(128)로 되어 있다. 본 실시형태에서는 복수(도시한 예에서는 4개)의 중간 입구(128)가 둘레 방향으로 간격을 두고 배치되어 있다.
위요통(126)의 내주면에는 상측 걸어맞춤부(129)가 형성되어 있다. 상측 걸어맞춤부(129)는 위요통(126)의 내주면에서 직경 방향으로 내측을 향해 돌출해 있다. 상측 걸어맞춤부(129)는 직경 방향으로 내측에서 본 정면 모습에 있어서, 둘레 방향을 따라 직선상으로 연장해 있다. 본 실시형태에서는 복수(도시한 예에서는 4개)의 상측 걸어맞춤부(129)가 둘레 방향으로 간격을 두고 설치되어 있다. 복수의 상측 걸어맞춤부(129)는 복수의 중간 입구(128)와 대응하여 설치되어 있다. 상측 걸어맞춤부(129)는 둘레 방향을 따라 중간 입구(128)와 동등한 위치에 배치되어 있다.
내통부(121)는 환상 오목부(117) 내에 끼워맞춰져 있다. 내통부(121)는 환상 오목부(117)의 외주면에, 직경 방향으로 내측에서 끼워맞춰져 있다. 환상 오목부(117)의 외주면은 직경 방향으로 내측을 향해 있다. 플랜지부(122)는 내통부(121)에서 직경 방향으로 내측을 향해 돌출하는 환상으로 형성되어 있다. 연결부(123)는 용기 본체(111)의 입구부(115) 상측에 배치되어 있다. 연결부(123)는 외삽통(125) 및 내통부(121)의 상단부끼리를 연결하고 있다. 내장통부(124)는 용기 축(O)과 동축에 배치되어 있다. 내장통부(124)는 연결부(123)에서 상방을 향해 돌출해 있다.
외장부(114)는 고정 부재(113)에 대해 둘레 방향으로 회전 가능하게 장착되어 있다. 외장부(114)는 외장부 본체(130)와, 내부판(131)과, 가압 부재(132)를 구비한다. 도 12, 도 13, 도 16, 및 도 17에 도시한 바와 같이, 외장부 본체(130)는 용기 축(O)과 동축의 천정이 있는 통 형태로 형성되어 있다. 외장부 본체(130)는 정상벽부(133)와, 주벽부(134)를 구비한다. 정상벽부(133)는 스템(118)의 상방에 배치되어 있다. 정상벽부(133)는 용기 축(O)과 직교하는 판상으로 형성되어 있다. 주벽부(134)는 정상벽부(133)에서 하측을 향해 연장해 있다. 주벽부(134)는 외삽통(125)과 위요통(126) 사이(환상 오목부(117))에 끼워져 있다. 주벽부(134)의 하단부는 내장통부(124)의 상단부를 직경 방향으로 외측에서 둘러싸고 있다.
외장부 본체(130)에는 심체(135)와, 성형 구멍(136)과, 삽입 관통 구멍(137)이 형성되어 있다. 심체(135)는 정상벽부(133)에서 하측을 향해 연장해 있다. 심체(135)는 용기 축(O)방향으로 연장하여, 용기 축(O)과 동축에 배치되어 있다. 심체(135)는 스템(118)의 상단 가장자리보다도 상측에 위치해 있다. 심체(135)의 외부 직경은 스템(118)의 내부 직경보다도 작고, 심체(135)는 스템(118)의 상단부와 용기 축(O)방향으로 대향해 있다. 심체(135)는 단단한 봉 형태, 기둥 형태로 형성되어 있다. 심체(135)는 용기 축(O)방향으로 전체 길이에 걸쳐 동일한 직경으로 형성되어 있다.
복수의 성형 구멍(136)이 외장부 본체(130)에 형성되어 있다. 복수의 성형 구멍(136)은 정상벽부(133)를 용기 축(O)방향으로 관통하고 있다. 복수의 성형 구멍(136)은 정상벽부(133)에 있어서 상측을 향하는 토출면(138), 및 정상벽부(133)에 있어서 하측을 향하는 공급면(139)에 각각 별도로 개구해 있다. 또한, 토출면(138) 및 공급면(139)은 용기 축(O)과 직교하는 방향으로 연장해 있다.
복수의 성형 구멍(136)은 둘레 방향으로 연장하는 긴 구멍 형태로 형성되어 있다. 복수의 성형 구멍(136)은 둘레 방향 및 직경 방향으로 간격을 두고 배치되어 있다. 본 실시형태에서는 둘레 방향으로 간격을 두고 배치된 복수의 성형 구멍(136)이 구멍열(140)을 형성하고 있다. 구멍열(140)은 용기 축(O)을 중심으로 하여 다중으로 배치되어 있다. 구멍열(140)은 평면에 봤을 때, 심체(135)를 직경 방향으로 외측에서 둘러싸도록 배치되어 있다.
삽입 관통 구멍(137)은 주벽부(134)를 직경 방향으로 관통하고 있다. 삽입 관통 구멍(137)은 주벽부(134)에서의 용기 축(O)방향으로 중앙부에서 하측을 향해 연장하여, 하측을 향해 개구해 있다. 본 실시형태에서는 복수의 삽입 관통 구멍(137)이 둘레 방향으로 간격을 두고 형성되어 있다. 도시한 예에서는 4개의 삽입 관통 구멍(137)이 형성되어 있다. 4개의 삽입 관통 구멍(137)은 주벽부(134)에 있어서 용기 축(O)을 직경 방향으로 사이에 끼워 대향하는 위치 각각에 2개씩 배치되어 있다.
도 13에 도시한 바와 같이. 내부판(131)은 외장부 본체(130) 내에 상하 이동이 자유롭게 설치되어 있다. 내부판(131)의 외장부 본체(130)에 대한 회전 이동은 규제되어 있다. 내부판(131)은 내부판 본체(141)와, 누름부(142)와, 가이드통(143)과, 지지통(144)과, 걸림부(145)를 구비한다.
내부판 본체(141)는 외장부 본체(130) 내에 끼워맞춰져 있다. 내부판 본체(141)의 외주연은 외장부 본체(130)의 내주면 위를 용기 축(O)방향으로 미끄럼 이동이 자유롭게 되어 있다. 내부판 본체(141)에는 연통 구멍(146)이 형성되어 있다. 연통 구멍(146)은 내부판 본체(141)를 용기 축(O)방향으로 관통하고 있다. 연통 구멍(146)은 용기 축(O)과 동축에 배치되어 있다. 연통 구멍(146)은 심체(135)보다도 큰 직경으로 되어 있다. 연통 구멍(146) 내에는 심체(135)가 삽입 관통되어 있다. 연통 구멍(146)은 스템(118)의 외부 직경보다도 작은 직경으로 되어 있다.
누름부(142)는 내부판 본체(141)에서 직경 방향으로 외측을 향해서 돌출하여, 삽입 관통 구멍(137)을 통과하여 외장부 본체(130)의 외측에 배치되어 있다. 도시한 예에서는 2개의 누름부(142)가 용기 축(O)을 직경 방향으로 사이에 끼워 대향하는 위치 각각에 하나씩 설치되어 있다. 2개의 누름부(142)는 주벽부(134)에서의 둘레 방향을 따르는 각 위치 중, 2개의 삽입 관통 구멍(137)이 배치된 위치 각각에 하나씩 배치되어 있다. 도 16 및 도 17에 도시한 바와 같이, 주벽부(134)의 외주면에는 누름부(142)가 배치되는 부분(이하, 「배치 부분(134a)」라 함)과, 배치 부분(134a)을 회피한 부분(이하, 「회피 부분(134b)」라 함)이 설치되어 있다. 배치 부분(134a) 및 회피 부분(134b)은 둘레 방향으로 교대로 배치되어 있다. 배치 부분(134a)은 회피 부분(134b)보다도 둘레 방향으로 작다.
도 13에 도시한 바와 같이, 각 누름부(142)는 측판(147)과, 누름판(148)과, 연결판(149)을 구비한다. 측판(147)의 표면 및 이면은 외장부 본체(130)의 외주면을 따라 연장해 있다. 누름판(148)은 측판(147)에서 직경 방향으로 외측을 향해서 돌출해 있다. 누름판(148)은 측판(147)의 상단부에 배치되어 있다. 누름판(148)의 표면 및 이면은 용기 축(O)방향을 향해 있다. 연결판(149)은 측판(147)과 내부판 본체(141)를 연결하고 있다. 연결판(149)은 삽입 관통 구멍(137)에 삽입 관통되어 있다. 본 실시형태에서는 복수의 연결판(149)이 복수의 누름부(142) 각각에 둘레 방향으로 간격을 두고 설치되어 있다. 도시한 예에서는 4개의 연결판(149)이 2개의 누름부(142) 각각에 2개씩 설치되어 있다. 또한, 2개의 누름부(142) 각각에 설치된 2개(복수)의 연결판(149)은 2개(복수)의 삽입 관통 구멍(137)에 각각 별도로 삽입 관통되어 있다. 각 연결판(149)은 주벽부(134)에서의 삽입 관통 구멍(137)의 개구 주연 중, 상단에 위치하여 하측을 향하는 위 가장자리에 맞닿거나 또는 근접해 있다.
가이드통(143) 및 지지통(144)은 내부판 본체(141)에서 하측을 향해 연장해 있다. 가이드통(143) 및 지지통(144)은 용기 축(O)과 동축에 배치되어 있다. 가이드통(143)은 연통 구멍(146)보다도 큰 직경으로 되어 있다. 지지통(144)은 가이드통(143)보다도 큰 직경으로 되어 있다. 가이드통(143)은 스템(118)에 용기 축(O) 주위를 상대적으로 회전 가능하게, 또한, 용기 축(O)방향으로 진퇴 가능하게 외부에서 삽입된다.
걸림부(145)는 스템(118)에 걸려 스템(118)을 하강시킨다. 걸림부(145)는 가이드통(143) 내에 배치되어 있다. 걸림부(145)는 가이드통(143)의 내주면에 설치된 복수의 세로 리브(150)에 의해 형성되어 있다. 세로 리브(150)는 가이드통(143)에서 직경 방향으로 내측에 돌출해 있다. 복수의 세로 리브(150)는 둘레 방향으로 간격을 두고 설치되어 있다. 걸림부(145)는 스템(118)의 상단 가장자리에 상측에서 대향해 있다. 걸림부(145)는 내부판(131)의 하강에 따라 스템(118)을 하강시킨다. 본 실시형태에서는 내부판(131)이 하강할 때에, 세로 리브(150)의 하단 가장자리가 스템(118)의 상단 가장자리에 맞닿아 누름으로써, 스템(118)이 하강한다.
내부판(131)은 도 13에 도시한 바와 같은 공급면(139)에 맞닿거나 근접하는 상방의 대기 위치와, 도 19에 도시한 바와 같은 스템(118)을 하강시켜 스템(118)으로부터의 내용물을 확산실(151) 내에 공급하는 하방의 토출 위치와의 사이를 상하 이동한다. 도 13에 도시한 바와 같이, 내부판(131)이 대기 위치에 위치할 때에는 심체(135)가 연통 구멍(146)에 삽입 관통되어 있다.
도 19에 도시한 바와 같이, 내부판(131)은 토출 위치에 있어서, 공급면(139)에서 하측으로 이격되어, 공급면(139)과의 사이에 확산실(151)을 형성한다. 확산실(151)은 주벽부(134)의 내측에 배치되어 있다. 확산실(151)의 벽면은 공급면(139)과, 주벽부(134)의 내주면과, 내부판 본체(141)의 상면에 의해 형성된다. 확산실(151)은 스템(118)으로부터의 내용물을 직경 방향(토출면(138) 및 공급면(139)을 따르는 방향)으로 확산하여 복수의 성형 구멍(136) 각각에 공급한다. 확산실(151)은 용기 축(O)과 동축에 배치되어 있다. 확산실(151)은 용기 축(O)방향보다도 직경 방향으로 큰 편평 형상으로 형성되어 있다. 확산실(151)은 연통 구멍(146)을 통과하여 스템(118) 내와 연통한다.
가압 부재(132)는 고정 부재(113)와 내부판(131) 사이에 배치되어 있다. 가압 부재(132)는 스프링 부재(코일 스프링)로 이루어진다. 가압 부재(132)는 토출 위치에 위치하는 내부판(131)을 상방 가압하여 대기 위치까지 상승시킨다. 가압 부재(132)의 상단부는 지지통(144)에 외부 삽입되어 내부판 본체(141)의 하면에 맞닿아 있다. 가압 부재(132)의 하단부는 플랜지부(122)의 상면에 맞닿아 있다.
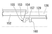
도 13, 도 14, 도 16, 및 도 17에 도시한 바와 같이, 주벽부(134)의 외주면에는 하측 걸어맞춤부(152)가 형성되어 있다. 하측 걸어맞춤부(152)는 상측 걸어맞춤부(129)에 대해, 이 상측 걸어맞춤부(129)의 하방에서 걸어맞춘다. 하측 걸어맞춤부(152)는 주벽부(134)의 외주면에서 직경 방향으로 외측을 향해서 돌출해 있다. 하측 걸어맞춤부(152)는 직경 방향으로 외측에서 본 평면 모습에 있어서, 둘레 방향을 따라 직선상으로 연장해 있다. 본 실시형태에서는 복수(도시한 예에서는 2개)의 하측 걸어맞춤부(152)가 둘레 방향으로 간격을 두고 설치되어 있다. 하측 걸어맞춤부(152)는 회피 부분(134b)에 배치되어 있다. 한쌍의 하측 걸어맞춤부(152)는 2개의 회피 부분(134b)에 대응하여 설치되어 있다. 하측 걸어맞춤부(152)는 회피 부분(134b)에서의 둘레 방향으로 전체 길이에 걸쳐 연장해 있다. 하측 걸어맞춤부(152)의 주단부에는 주벽부(134)에서의 삽입 관통 구멍(137)의 개구 주연에 위치해 있다.
도 14 및 도 18에 도시한 바와 같이, 고정 부재(113) 및 주벽부(134)에는 안내면(153, 154)이 각각 별도로 형성되어 있다. 안내면(153, 154)은 외장부(114) 및 고정 부재(113)의 상대적인 회전 이동에 따라 둘레 방향에서 부딪혀 미끄럼 이동함으로써, 외장부(114)를 고정 부재(113)에 대해 상승시킨다. 외장부(114)가 고정 부재(113)에 대해 둘레 방향을 따라 한쪽으로 회전할 때에, 안내면(153, 154)끼리가 부딪힌다.
본 실시형태에서는 한쌍의 안내면(153,154)이 고정 부재(113) 및 주벽부(134) 각각에 있어서, 용기 축(O)을 사이에 끼워 직경 방향으로 반대측(서로 대향하는 위치)에 위치하도록 설치되어 있다. 한쌍의 안내면(153, 154)은 상측 걸어맞춤부(129) 및 하측 걸어맞춤부(152) 각각과 일체로 형성되어 있다. 상측 걸어맞춤부(129)에서의 주단부에는 안내면(153,154)으로서의 제1 안내면(153)을 갖는 안내 돌기(155)가 설치되고, 하측 걸어맞춤부(152)에서의 주단부는 안내면(153,154)으로서의 제2 안내면(154)이다.
안내 돌기(155)는 상측 걸어맞춤부(129)에 설치되어 있다. 본 실시형태에서는 한쌍의 안내 돌기(155)가 용기 축(O)을 사이에 끼워 직경 방향으로 반대측(서로 대향하는 위치)에 위치하도록 설치되어 있다. 한쌍의 안내 돌기(155)는 4개의 상측 걸어맞춤부(129) 중 2개의 상측 걸어맞춤부(129)에 설치되어 있다. 한쌍의 안내 돌기(155)는 2개의 상측 걸어맞춤부(129) 각각에서의 둘레 방향으로 다른 쪽 주단부에 설치되어 있다.
안내 돌기(155)는 상측 걸어맞춤부(129)에서 용기 축(O)방향으로 돌출한다. 안내 돌기(155)는 상측 걸어맞춤부(129)에서 하측을 향해 돌출해 있다. 안내 돌기(155)는 위요통(126)과 일체로 형성되어 있다. 안내 돌기(155)는 전체 길이에 걸쳐 위요통(126)의 내주면에 접속되어 있다.
제1 안내면(153)은 안내 돌기(155)에 있어서 둘레 방향으로 다른 쪽을 향하는 주단면에 의해 형성되어 있다. 제1 안내면(153)은 하측에서 상측을 향함에 따라 점차, 둘레 방향으로 한쪽을 향해 연장하는 경사면이다. 상측 걸어맞춤부(129)에 있어서 둘레 방향으로 다른 쪽을 향하는 단면은 제1 안내면(153)과 단차 없이 매끄럽게 연결되는 경사면이다.
제2 안내면(154)은 하측 걸어맞춤부(152)에 있어서 둘레 방향으로 한쪽을 향하는 주단면에 의해 형성되어 있다. 제2 안내면(154)은 하측에서 상측을 향함에 따라 점차 둘레 방향으로 한쪽을 향해 연장하는 경사면이다. 또한, 도시한 예에서는 주벽부(134)에서의 삽입 관통 구멍(137)의 개구주연에는 제2 안내면(154)에 대응하는 모따기부(156)가 형성되어 있다. 모따기부(156)는 개구 주연 중, 제2 안내면(154)(하측 걸어맞춤부(152)의 주단면)이 위치하는 부분에 배치되어 있다. 모따기부(156)는 제2 안내면(154)을 따라 형성되어 있다.
고정 부재(113) 및 주벽부(134)에는 규제면(157,158)이 각각 별도로 형성되어 있다. 규제면(157,158)은 외장부(114) 및 고정 부재(113)의 상대적인 회전 이동에 따라 둘레 방향에서 부딪혀 걸림으로써, 한층 더 회전 이동을 규제한다. 외장부(114)가 고정 부재(113)에 대해 둘레 방향을 따라 다른 쪽으로 회전할 때에, 규제면(157,158)끼리 부딪힌다.
규제면(157,158)은 상측 걸어맞춤부(129) 및 하측 걸어맞춤부(152) 각각과 일체로 형성되어 있다. 규제면(157,158)은 제1 규제면(157)과, 제2 규제면(158)을 구비한다. 제1 규제면(157)은 상측 걸어맞춤부(129)에 설치되고, 제1 규제면(157)은 하측 걸어맞춤부(152)에 설치되어 있다.
제1 규제면(157)은 상측 걸어맞춤부(129)에서의 둘레 방향으로 한쪽 주단부에 설치되어 있다. 제1 규제면(157)은 안내 돌기(155)에 있어서 둘레 방향으로 한쪽을 향하는 주단면에 의해 형성되어 있다. 제1 규제면(157)은 용기 축(O) 방향을 따라 곧장 연장하는 면이다. 제2 규제면(158)은 하측 걸어맞춤부(152)에 있어서 둘레 방향으로 다른 쪽을 향하는 주단면에 의해 형성되어 있다. 제2 규제면(158)은 용기 축(O) 방향을 따라 곧장 연장하는 면이다.
고정 부재(113) 및 주벽부(134)에는 회전 멈춤부(159)가 설치되어 있다. 회전 멈춤부(159)는 외장부(114) 및 고정 부재(113)의 상대 회전을 규제한다. 회전 멈춤부(159)는 제1 회전 멈춤부(160)와, 제2 회전 멈춤부(161)를 구비한다. 제1 회전 멈춤부(160)는 고정 부재(113)에 설치되고, 제2 회전 멈춤부(161)는 주벽부(134)에 설치되어 있다. 제1 회전 멈춤부(160)는 고정 부재(113)의 상측 걸어맞춤부(129)와 일체로 형성되어 있고, 제2 회전 멈춤부(161)는 외장부(114)의 하측 걸어맞춤부(152)와 일체로 형성되어 있다.
제1 회전 멈춤부(160)는 주벽부(134)의 내주면에서 돌출하는 돌기에 의해 형성되어 있다. 제1 회전 멈춤부(160)는 상측 걸어맞춤부(129)에서 하측을 향해 직선상으로 연장해 있다. 제1 회전 멈춤부(160)는 안내 돌기(155)와 동등한 길이를 갖는다. 제2 회전 멈춤부(161)는 하측 걸어맞춤부(152)에 배치된 세로 홈에 의해 형성되어 있다. 제2 회전 멈춤부(161)는 하측 걸어맞춤부(152)를 용기 축(O) 방향으로 전체 길이에 걸쳐 종단한다.
제1 회전 멈춤부(160)가 제2 회전 멈춤부(161) 내에 끼워맞춤으로써, 외장부(114) 및 고정 부재(113)의 둘레 방향으로의 준비되지 않은 외력에 기초하는 상대 회전을 회전 멈춤부(159)가 규제한다. 이 때, 규제면(157,158)끼리가 맞닿거나 또는 근접해 있다. 또한, 중간 입구(128) 및 누름부(142) 각각에서의 둘레 방향으로 중앙부가 둘레 방향에서의 동일한 위치에 배치되어 있다. 제1 회전 멈춤부(160)는 제2 회전 멈춤부(161) 내에 둘레 방향으로 이탈 가능하게 끼워맞춘다. 외장부(114) 및 고정 부재(113)에 사용자기 의도적으로 회전력을 가했을 때에는 제1 회전 멈춤부(160)가 제2 회전 멈춤부(161)에서 둘레 방향으로 이탈되어 상기 규제가 해제된다.
다음에, 본 실시형태에 관한 토출 용기(110)의 작용에 대해 설명한다.
토출 용기(110)의 사용 전 초기 상태에서는 내부판(131)이 도 13에 도시한 바와 같은 대기 위치에 배치되어 있다. 내용물을 토출할 때에는 도 19에 도시한 바와 같이, 누름부(142)를 눌러 내부판(131)을 토출 위치를 향해서 하강시킨다. 이에 의해, 외장부 본체(130)의 정상벽부(133)와 내부판(131) 사이에 위치하는 확산실(151)의 내용적이 증대하는 동시에, 걸림부(145)가 스템(118)의 상단부에 걸린다. 더 한층 내부판(131)의 하강에 따라, 걸림부(145)에 걸린 스템(118)이 상방 가압력에 저항하여 하강함으로써, 용기 본체(111) 내의 내용물이 스템(118)을 통과하여 확산실(151)에 유입한다.
스템(118)에서 토출된 내용물은 연통 구멍(146)을 통과하여 확산실(151)에 공급된다. 이 내용물은 연통 구멍(146)에서 상측을 향해 토출되어 심체(135)에 공급되고, 심체(135)의 외주면 위를 용기 축(O)방향으로 유동하여 심체(135)에 유지된다. 이 때, 내용물은 예를 들어, 평면에서 보아 심체(135)를 중심으로 한 원 형상을 이루도록 심체(135)에 유지된다. 내용물의 스템(118)으로부터의 토출량 증가에 따라, 심체(135)에의 내용물 공급량이 증가하면, 내용물이 심체(135) 상에서 성장하여, 직경 방향으로 외측을 향해서 점차 팽창한다. 이에 의해, 상술한 바와 같이 확산실(151)이 편평 형상으로 형성되어 있는 것과 더불어, 확산실(151) 내에 공급된 내용물은 직경 방향으로 확산하여, 공급면(139)에서 복수의 성형 구멍(136)에 공급된다. 내용물이 복수의 성형 구멍(136)을 각각 별도로 통과하여 성형되면, 복수의 조형편이 형성된다. 이들 조형편이 토출면(138) 상에서 조합됨으로써, 조형물이 형성된다. 또한, 성형 구멍(136)에 의해 조형된 조형편은 성형 구멍(136)이 연장하는 방향으로 길게 성형된다.
그 후, 누름부(142)의 누름 조작을 해제하면, 내부판(131)이 스템(118) 및 가압 부재(32) 각각에서 상방을 향한 가압력을 받는다. 따라서, 내부판(131)은 스템(118)의 상승에 따라서 외장부 본체(130)에 대해 상방으로 이동하여 대기 위치에 복원 변위한다. 그러면, 도 13에 도시한 바와 같이, 내부판(131)이 공급면(139)에 맞닿거나 근접함으로써 확산실(151)의 용적이 감소하여, 확산실(151)이 실질적으로 또는 완전히 소멸한다. 따라서, 가령 내부판(131)을 상승시키기 전에 확산실(151) 내에 내용물이 잔류해 있었다고 해도, 이 내용물은 확산실(151)에서 외부로 압출되어, 성형 구멍(136)을 통과하여 토출면(138)에 토출된다.
고정 부재(113)에서 외장부(114)를 분리할 때에는 외장부(114)와 고정 부재(113)를 둘레 방향으로 상대적으로 회전시킨다. 이 때, 예를 들어, 외장부(114)에, 둘레 방향으로 한쪽을 향한 회전력을 가하면, 제1 회전 멈춤부(160)가 제2 회전 멈춤부(161)에서 이탈하여, 회전 멈춤부(159)에 의한 회전의 규제가 해제된다. 외장부(114)가 둘레 방향으로 한쪽을 향해 회전하면, 제1 규제면(157)과 제2 규제면(158)이 둘레 방향으로 이간하는 동시에, 제1 안내면(153)과 제2 안내면(154)이 둘레 방향으로 접근한다.
도 20 및 도 21에 도시한 바와 같이, 고정 부재(113) 및 주벽부(134) 각각의 안내면(153,154)이 서로 부딪힐 때까지, 외장부(114)와 고정 부재(113)를 둘레 방향으로 상대적으로 회전시킨다. 그러면, 안내면(153,154)끼리가 미끄럼 이동함으로써, 도 22 및 도 23에 도시한 바와 같이, 외장부(114)가 고정 부재(113)에 대해 상승한다. 이 때, 하측 걸어맞춤부(152)가 상측 걸어맞춤부(129)를 상방으로 넘어서, 상측 걸어맞춤부(129)와 하측 걸어맞춤부(152)의 걸어 맞춤이 해제된다.
또한, 고정 부재(113)에서 외장부(114)를 분리한 후에는 외장부(114)를 세정할 수 있다. 이에 의해, 성형 구멍(136)을 청정하게 유지하고, 성형 구멍(136)에서 내용물을 고정밀도로 또한 원활하게 토출하거나 할 수 있다. 또한, 용기 본체(111) 내의 내용물이 없어진 경우에, 고정 부재(113)에서 외장부(114)를 분리한 후에, 이 외장부(114)를 다른 용기 본체(111)(고정 부재(113))에 조립함으로써 외장부(114)를 재이용할 수 있다.
이상에 설명한 바와 같이, 본 실시형태에 관한 토출 용기(110)에 따르면, 내용물을 토출할 때에는 용기 본체(111) 내의 내용물이 확산실(151) 내에서 직경 방향으로 확산된 후에 성형 구멍(136)에 공급된다. 따라서, 토출면(138)에 있어서 특정 일부에 배치된 성형 구멍(136)에 내용물이 집중하는 것을 억제하여, 성형 구멍(136)에 불균일이 적게 내용물을 공급할 수 있다. 이에 의해, 토출면(138)에 토출되는 내용물의 토출량이 위치마다 불균일하게 분포하는 것을 억제할 수 있다.
외장부(114)와 고정 부재(113)를 둘레 방향으로 상대적으로 회전시킴으로써, 상측 걸어맞춤부(129)와 하측 걸어맞춤부(152)의 걸어 맞춤을 해제할 수 있다. 이에 의해, 고정 부재(113)에서 외장부(114)를 분리하는 조작성을 높일 수 있다. 이 조작성을 향상시킴으로써, 외장부(114)를 세정하기 쉽게 하거나 재이용하기 쉽게 하거나 할 수 있다. 안내면(153,154)이 상측 걸어맞춤부(129) 및 하측 걸어맞춤부(152) 각각과 일체로 형성되어 있으므로, 예를 들어, 구조의 간소화를 도모하거나 할 수 있다.
상측 걸어맞춤부(129) 및 하측 걸어맞춤부(152) 중 한쪽에서의 주단부에, 제1 안내면(153)을 갖는 안내 돌기(155)가 설치되고, 다른 쪽에서의 주단부가 제2 안내면(154)이다. 따라서, 고정 부재(113) 및 주벽부(134) 각각의 안내면(153,154)이 서로 미끄럼 접촉할 때에, 제1 안내면(153)이 제2 안내면(154)에서 수용되는 둘레 방향의 힘을 안내 돌기(155)가 받아 들일 수 있다. 또한, 제2 안내면(154)이 제1 안내면(153)에서 수용하는 둘레 방향 힘을 하측 걸어맞춤부(152)에 의해 받아 들일 수 있다. 이에 의해, 외장부(114)를 고정 부재(113)에 대해 안정하게 상승시킬 수 있다.
한쌍의 안내면(153,154)이 고정 부재(113) 및 주벽부(134) 각각에 있어서, 용기 축(O)을 사이에 끼워 직경 방향으로 반대측(서로 대향하는 위치)에 위치하도록 설치되어 있다. 따라서, 외장부(114)와 고정 부재(113)를 둘레 방향으로 상대적으로 회전시켰을 때에, 고정 부재(113) 및 주벽부(134) 각각의 한쌍의 안내면(153,154)을, 용기 축(O)을 사이에 끼운 직경 방향으로 반대측(서로 대향하는 위치)의 각 위치에 있어서 서로 부딪히게 할 수 있다. 이에 의해, 외장부(114)를 고정 부재(113)에 대해 한층 안정하게 상승시킬 수 있다.
외장부(114)가 고정 부재(113)에 대해 둘레 방향을 따라 다른 쪽으로 회전할 때에, 규제면(157,158)끼리가 부딪힌다. 따라서, 예를 들어, 사용자가 고정 부재(113)에서 외장부(114)를 분리할 때에, 사용자가 외장부(114)와 고정 부재(113)를 반대 방향으로 회전시킨 경우라도, 그 회전이 규제된다. 이에 의해, 사용자가 외장부(114)와 고정 부재(113)를 잘못된 방향으로 회전시킨 것을 용이하게 인식하는 것이 가능하게 되어, 조작성을 향상시키기 쉽게 할 수 있다.
또한, 본 발명의 기술적 범위는 상기 제3 실시형태에 한정되지 않고, 본 발명의 취지를 벗어나지 않는 범위에 있어서 여러 가지 변경을 가하는 것이 가능하다.
예를 들어, 규제면(157,158)이 없어도 좋다. 고정 부재(113) 및 주벽부(134) 각각에 있어서, 하나만의 안내면(153,154)이 설치되어 있거나, 3개 이상의 안내면(153,154)이 설치되어 있거나 해도 좋다. 안내면(153,154)이 상측 걸어맞춤부(129) 및 하측 걸어맞춤부(152) 각각과 독립하여 형성되어 있어도 좋다. 심체(135)가 없어도 좋다. 안내 돌기(155)가 하측 걸어맞춤부(152)에 설치되어 있어도 좋다. 이 경우, 안내 돌기(155)로서, 하측 걸어맞춤부(152)에서 상방을 향해 돌출하는 구성을 채용하는 것도 가능하다.
상기 제3 실시형태에서는 내부판(131)이 상하 이동하지만, 본 발명은 이에 한정되지 않는다. 예를 들어, 내부판(131)이 상하 방향으로 고정되어 있어, 확산실(151)의 용적이 변동하지 않는 구성을 채용하는 것도 가능하다.
조형물로서, 문자나 로고 타입 등을 조형하는 것도 가능하다. 상기 제3 실시형태에서는 토출면(138) 상에 조형물을 형성하지만, 본 발명은 이에 한정되지 않는다. 예를 들어, 토출면(138) 상에 조형물을 형성하지 않고, 단순히 내용물을 토출해도 좋다. 예를 들어, 토출 용기(110)에 의해 조형하는 조형물의 형상, 토출하는 내용물의 용도 등에 따라, 성형 구멍(136)(토출 구멍)의 수나 형상을 적절히 변경하는 것이 가능하다. 예를 들어, 성형 구멍(136)의 수가 1개여도 좋다.
상기 제3 실시형태에서는 토출 용기 본체(119)로서 에어졸 캔을 채용했지만, 본 발명은 이에 한정되지 않는다. 예를 들어, 토출 용기 본체(119)로서, 펌프 기구를 갖는 토출기(112)를 구비하는 구성을 채용하는 것도 가능하다.
그 밖에, 본 발명의 취지에 벗어나지 않는 범위에서, 상기 제3 실시형태에서의 구성요소를 주지의 구성요소로 치환하는 것은 적절히 가능하고, 또한, 상기한 변형예를 적절히 조합하여도 좋다.
(제4 실시형태)
이하, 제4 실시형태에 관한 토출 용기의 구성을 도 24~도 28을 참조하면서 설명한다. 도 24 내지 도 28에 도시한 바와 같이, 토출 용기(201)는 내용물이 수용되는 용기 본체(210)를 구비하는 용기체(202)와, 토출기(203)와, 외장부(214)(조형부)와, 내부판(215)을 구비한다. 토출 용기(201)는 예를 들어, 거품체나 고점성 재료 등, 토출 후에 적어도 일정 시간에 걸쳐 형상 유지 가능한 내용물을 토출한다. 토출 용기(201)에는 천정이 있는 통 형태의 캡(240)이 장착되어 있다.
여기서, 본 실시형태에서는 용기 본체(210)는 바닥이 있는 통 형태로 형성되고, 외장부(214)는 천정이 있는 통 형태로 형성되어 있어, 용기 본체(210) 및 외장부(214)의 각 중심축은 공통 축 상에 배치되어 있다. 이하, 이 공통 축을 용기 축(O)이라 하고, 용기 축(O) 방향을 따르는 용기 본체(210)의 바닥부측을 하측이라 하고, 용기 본체(210)의 입구부(210a)측을 상측이라 한다. 토출 용기(201)를 용기 축(O)방향에서 본 평면 모습에 있어서, 용기 축(O)과 직교하는 방향을 직경 방향이라 하고, 용기 축(O) 주위를 주회하는 방향을 둘레 방향이라 한다.
(용기체)
용기체(202)는 용기 본체(210)와, 용기 본체(210)의 입구부(210a)에 장착된 고정 부재(213)를 구비한다. 용기 본체(210)는 입구부(210a)가 정벽판(217)으로 덮임으로써 내부가 밀폐되어 있다. 정벽판(217)에는 둘레 방향으로 연장함은 물론, 하측을 향해 오목하게 들어간 환상 오목부(218)가 형성되어 있다. 고정 부재(213)는 용기 축(O)과 동축의 다중 형상으로 형성되고, 용기 본체(210)의 입구부(210a)에 대해 고정된다.
토출기(203)는 용기 본체(210)의 입구부(210a)에 상방 가압 상태로 하방 이동 가능하게 세워 설치된 스템(203a)을 갖고, 정벽판(217)에 의해 지지되어 있다. 스템(203a)은 용기 축(O)과 동축에 배치되고, 환상 오목부(218)보다도 작은 직경으로 형성되어 있다. 스템(203a)은 정벽판(217)을 관통하고 있다. 스템(203a)에 있어서 용기체(202) 내에 위치하는 부분에는 도시하지 않은 토출 밸브가 설치되어 있다. 용기 본체(210) 및 토출기(203)는 용기 본체(210) 내에 수용된 내용물을 스템(203a)에서 토출하는 토출 용기 본체를 구성하고 있다. 도시한 예에서는 토출 용기 본체로서, 내부에 액상 내용물이 수용된 에어졸 캔을 채용하고 있다.
용기체(202)에 대해 스템(203a)이 눌리면, 토출 밸브가 열려, 용기체(202) 내의 내용물이 스템(203a) 내를 통과하여 스템(203a)의 상단부에서 토출된다. 이 때, 스템(203a)의 상단부에서, 용기체(202) 내의 액상 내용물이 본 실시형태에서는 거품 형태로 되어 토출된다. 스템(203a)의 누름을 해제하면, 스템(203a)에 작용하는 상방 가압력에 의해 스템(203a)이 상승하는 동시에 토출 밸브가 닫혀져, 내용물의 토출이 정지된다. 또한, 스템(203a)에서 토출되는 내용물은 거품 형태가 아니어도 좋다.
고정 부재(213)는 스템(203a)을 직경 방향 외측에서 둘러싸도록 용기 본체(210)의 입구부(210a)에 고정된다. 고정 부재(213)는 용기 본체(210)의 입구부(210a)에 용기 축(O) 주위를 회전 불가능하게, 또한, 상승 불가능하게 고정되어 있다. 고정 부재(213)는 정벽판(217)을 통해 용기 본체(210)의 입구부(210a)에 직경 방향 외측에서 끼워맞춰진 외통부(221)와, 외통부(221)의 상단부에서 직경 방향 내측을 향해 연장하는 환상의 연결부(223)와, 연결부(223)의 내주연에서 하향 연장하는 내통부(222)와, 내통부(222)의 하단부에서 직경 방향 내측을 향해 연장하는 환상의 수용부(254)와, 수용부(254)의 내주연에서 상측을 항해 연장하는 외변환통부(255)를 구비한다.
외통부(221)의 하단부에는 직경 방향 내측을 향해 돌출하는 걸어맞춤 돌기부(221c)가 형성되어 있다. 본 실시형태에서는 복수의 걸어맞춤 돌기부(221c)가 둘레 방향으로 간격을 두고 형성되어 있다(도 26을 참조). 걸어맞춤 돌기부(221c)가 정벽판(217)의 외주연부에 언더컷 끼워맞춤하는 동시에, 외통부(221)가 입구부(210a)에 직경 방향 외측에서 단단히 조여짐으로써, 고정 부재(213)의 용기 축(O) 주위의 회전 이동 및 고정 부재(213)의 상승 이동이 규제되어 있다. 평면에서 보아, 외통부(221)는 용기 축(O)과 동축의 진원형으로 되어 있다. 외통부(221)의 용기 축(O) 방향으로 중앙부에는 직경 방향 외측을 향해 돌출하는 플랜지부(221a)가 형성되어 있다. 플랜지부(221a)의 외주연에는 하향 연장하는 위요통부(221b)가 형성되어 있다.
외변환통부(255)와 내통부(222) 사이에는 예를 들어, 금속제의 코일 스프링 등의 스프링(253)(가압 부재)이 배치되어 있다. 스프링(253)은 용기 축(O) 방향에 있어서, 용기체(202)와 내부판(215) 사이에 배치되어 있다. 내부판(215)이 후술하는 토출 위치에 있을 경우, 스프링(253)은 압축된 상태로, 하단부가 수용부(254)에 맞닿고, 상단부가 내부판(215)의 접시 본체(230)에 맞닿는다. 이에 의해, 스프링(253)은 토출 위치에 위치하는 내부판(215)을 상방 가압한다. 또한, 가압 부재로서 금속제의 코일 스프링을 사용한 경우에는 내부판(215)에 충분한 상방 가압력을 부여하는 것이 가능해져, 후술하는 확산실(234) 내의 내용물을 확실하게 조형면(토출면)(227)에 압출할 수 있다.
연결부(223)는 내통부(222) 및 외통부(221)의 상단부끼리를 연결하고 있다. 연결부(223)는 용기 본체(210)의 입구부(210a) 상방에 배치되어 있다. 연결부(223)에는 이를 용기 축(O) 방향으로 관통하는 관통 구멍(223a)이 형성되어 있다. 본 실시형태에서는 복수의 관통 구멍(223a)이 둘레 방향으로 등간격을 두고 형성되어 있다(도 26을 참조). 연결부(223)의 외주연에는 상측을 향하여 연장하는 끼워맞춤 통부(223b)가 형성되어 있다. 끼워맞춤 통부(223b)는 외통부(221)보다도 직경 방향 외측에 위치하고, 위요통부(221b)보다도 직경 방향 내측에 위치한다. 끼워맞춤 통부(223b)의 외주면에는 직경 방향 외측을 향해 돌출하는 피끼워맞춤부(223c)가 전체 둘레에 걸쳐 형성되어 있다. 내통부(222)는 정벽판(217)의 환상 오목부(218) 내에 위치해 있고, 환상 오목부(218)의 직경 방향 내측을 향하는 외주면에 직경 방향 내측에서 고정되어 있다.
(내부판)
내부판(215)은 용기 축(O)과 직교하는 평면 내에 연재하는 판상의 접시 본체(230)와, 접시 본체(230)에서 하향 연장하는 용기 축(O)과 동축의 가이드통(231) 및 내변환통부(232)를 구비한다. 내변환통부(232)는 가이드통(231)의 직경 방향 외측에 배치되어 있다. 내변환통부(232)의 하단부는 가이드통(231)의 하단부보다도 하측에 위치해 있다.
접시 본체(230)는 외장부(214) 내에 끼워맞춰져, 외주연이 외장부(214)의 내주면 위를 용기 축(O) 방향으로 미끄럼 이동한다. 접시 본체(230)는 스프링(253)의 상방 가압력에 의해, 외장부(214)의 정상벽부(224)에 있어서 하측을 향하는 공급면(228)에 맞닿거나 또는 근접해 있다. 평면에서 보아, 접시 본체(230) 및 공급면(228)은 서로 동등한 형상 또한 동등한 크기로 형성되어 있다. 접시 본체(230)에는 이를 용기 축(O) 방향으로 관통하는 연통 구멍(233)이 형성되어 있다. 연통 구멍(233)은 용기 축(O)과 동축에 배치되어 있다. 연통 구멍(233)의 내부 직경은 스템(203a)의 외부 직경보다 작다.
가이드통(231)의 내부 직경은 스템(203a)의 외부 직경보다 크다. 가이드통(231)의 내주면에서의 하단부는 하측을 향함에 따라 점차 직경이 확장되어 있다. 이에 의해, 내부판(215)이 하강하면, 스템(203a)이 원활하게 가이드통(231) 내에 진입한다. 내변환통부(232)의 외부 직경은 외변환통부(255)의 내부 직경보다 작다. 내변환통부(232)는 외변환통부(255)의 내측에 배치되어 있다. 내변환통부(232)의 하단부는 외변환통부(255)의 용기 축(O) 방향에서의 중앙부에 위치해 있다. 
내부판(215)은 외장부(214) 내에 상방 가압 상태로 하방 이동 가능하게 배치되어 있다. 내부판(215)은 공급면(228)에 맞닿거나 근접하는 상방의 대기 위치(도 24를 참조)와, 공급면(228)에서 하측에 이격되어, 외장부(214)와의 사이에 확산실(234)을 형성하는 하방의 토출 위치(도 28을 참조)와의 사이를 상하 이동한다. 도 24에 도시한 바와 같이, 내부판(215)이 대기 위치에 위치할 때에는 심체(225)가 연통 구멍(233)에 삽입 관통되고, 가이드통(231)의 하단부가 스템(203a)의 상단부에 삽입 관통된다.
도 28에 도시한 바와 같이, 내부판(215)이 토출 위치에 위치할 때에는 접시 본체(230)에서의 연통 구멍(233)의 개구 주연부(이하, 걸림부(235)라고 함)가 스템(203a)에 걸린다. 걸림부(235)는 스템(203a)의 상단 가장자리에 상방에서 맞닿아, 내부판(215)의 하강에 따라 스템(203a)을 하강시킨다. 이 때, 연통 구멍(233)은 스템(203a) 내와 확산실(234)을 연통해 있다. 또한, 이 때, 내부판(215)의 접시 본체(230)가 심체(225)보다고 하측에 위치하고, 심체(225)는 확산실(234) 내에 위치한다.
확산실(234)은 용기 축(O)과 동축에 배치되어 있다. 확산실(234)은 용기 축(O)방향보다도 직경 방향으로 큰 편평 형상으로 형성되어 있다. 확산실(234)은 외장부(214)의 정상벽부(224) 및 주벽부와, 내부판(215)의 접시 본체(230)에 의해 규정된다. 이에 의해, 확산실(234)의 벽면 일부는 공급면(228)에 의해 형성되어 있다. 확산실(234)이 설치됨으로써, 외장부(214)의 후술하는 복수의 성형 구멍(226) 중, 특정 부분에서 내용물이 편중되어 토출되는 것이 억제되어, 각 성형 구멍(226)에 의해 형성되는 조형편을 정밀도 좋게 형성하는 것이 가능해진다. 이에 의해, 조형물을 고정밀도로 형성할 수 있다.
(외장부)
외장부(214)의 정상벽부(224)는 스템(203a)의 상방에 배치되어 있다. 정상벽부(224)는 용기 축(O)과 직교하는 판상으로 형성되어 있다. 외장부(214)의 주벽부에서의 내주면에는 직경 방향 내측을 향해 돌출하는 볼록부(214b)가 형성되어 있다. 본 실시형태에서는 복수의 볼록부(214b)가 용기 축(O) 방향으로 연장해 있고, 둘레 방향으로 간격을 두고 형성되어 있다. 볼록부(214b)에 내부판(215)의 접시 본체(230)에서의 외주연에 형성된 오록부(230a)가 걸어맞춤으로써, 외장부(214)에 대한 접시 본체(230)의 용기 축(O) 주위의 회전이 규제된다. 이에 의해, 외장부(214)와 내부판(215)은 용기 축(O) 주위에 일체로 회전이 자유롭게 되어 있다. 도시한 예에서는 한쌍의 볼록부(214b)는 용기 축(O)을 사이에 끼워 서로 대향하는 위치에 설치되고, 한쌍의 오록부(230a)도, 용기 축(O)을 사이에 끼워 서로 대향하는 위치에 설치되어 있다. 이에 의해, 외장부(214)와 내부판(215)을 확실하게 일체로 하여 회전시킬 수 있다. 또한, 외장부(214) 및 내부판(215)을 일체로 회전시키기 위한 구성은 볼록부(214b) 및 오록부(230a)에 한정되지 않는다. 예를 들어, 볼록부(214b) 및 오록부(230a)의 수를 적절히 변경해도 좋다. 또는 외장부(214)에 오목부가 형성되고, 이 오목부에 걸어맞추는 볼록부가 내부판(215)에 형성되어 있어도 좋다.
외장부(214)의 주벽부에서의 하단부에는 직경 방향 내측을 향해 돌출하는 끼워맞춤부(214a)가 형성되어 있다. 끼워맞춤부(214a)는 고정 부재(213)의 피끼워맞춤부(223c)에 언더컷 끼워맞추고 있다. 이에 의해, 외장부(214)의 고정 부재(213)에 대한 상방에의 이동이 규제되어 있다. 또한, 외장부(214)의 하단 개구연은 고정 부재(213)의 플랜지부(221a)에 상측에서 맞닿거나 또는 근접해 있다. 이에 의해, 외장부(214)의 고정 부재(213)에 대한 하측에의 이동이 규제되어 있다.
외장부(214)에는 정상벽부(224)에서 하향 연장하는 심체(225)와, 정상벽부(224)를 용기 축(O) 방향으로 관통하는 성형 구멍(226)이 형성되어 있다. 심체(225)는 단단한 봉 형태, 또는 기둥 형태로 형성되고, 용기 축(O)과 동축에 배치되어 있다. 심체(225)는 스템(203a)보다도 상방에 위치해 있고, 스템(203a)의 상단부 내와 용기 축(O) 방향에서 대향해 있다. 심체(225)는 하측을 향함에 따라 점차 직경이 축소되어 있다. 심체(225)의 상단부에서의 외부 직경은 스템(203a)의 내부 직경 및 연통 구멍(233)의 내부 직경보다도 작다. 심체(225)는 연통 구멍(233) 내에 삽입 관통되어 있다.
복수의 성형 구멍(226)은 외장부(214)에 형성되어 있다. 복수의 성형 구멍(226)은 정상벽부(224)에 있어서 위를 향하는 조형면(227) 및 하측을 향하는 공급면(228)에 각각 별도로 개구해 있다. 복수의 성형 구멍(226)을 통과하여, 내용물이 조형면(227) 에 토출된다. 또한, 조형면(227) 및 공급면(228)은 용기 축(O)과 직교하는 방향으로 연장해 있다. 도 25에 도시한 바와 같이, 성형 구멍(226)은 둘레 방향으로 연장하는 긴 구멍 형태로 형성되어 있다. 복수의 성형 구멍(226)은 둘레 방향 및 직경 방향으로 간격을 두고 배치되어 있다. 본 실시형태에서는 둘레 방향으로 간격을 두고 배치된 복수의 성형 구멍(226)이 구멍열(229)을 형성하고 있어, 이 구멍열(229)이 용기 축(O)을 중심으로 하여 다중으로 배치되어 있다. 구멍열(229)은 평면에서 보아, 심체(225)를 직경 방향 외측에서 둘러싸도록 배치되어 있다.
내용물이 구멍열(229)을 각각 별도로 통과하면, 복수의 조형편이 조형면(227) 상에 형성된다. 그래서, 이들 조형편이 조형면(227) 상에서 조합됨으로써, 조형물이 형성된다. 조형물로서는 예를 들어, 장미나 해바라기 등의 꽃, 문자 및 로고 타입 등의 형상을 조형할 수 있다. 또한, 성형 구멍(226)의 수나 형상을 적절히 변경함으로써, 조형하는 조형물의 형상을 변경할 수 있다. 또한, 토출하는 내용물의 용도 등에 따라, 성형 구멍(226)의 수나 형상을 적절히 변경해도 좋다.
(변환기구)
도 24에 도시한 바와 같이. 본 실시형태의 토출 용기(201)는 외장부(214) 및 내부판(215)의 용기체(202)에 대한 용기 축(O) 주위의 회전 동작을 내부판(215)의 용기 축(O) 방향의 동작으로 변환하는 변환기구(236)를 구비한다. 변환기구(236)는 내부판(215) 및 용기체(202) 중 한쪽에 설치된 미끄럼 이동 돌기부(232a)와, 다른 쪽에 설치된 안내 돌기부(255a)에 의해 구성되어 있다.
도시한 예에서는 미끄럼 이동 돌기부(232a)는 내변환통부(232)의 외주면에서 직경 방향 외측을 향해 돌출해 있고, 안내 돌기부(255a)는 용기체(202)의 외변환통부(255)에서의 내주면에서 직경 방향 내측을 향해 돌출해 있다. 안내 돌기부(255a)는 외변환통부(255)의 상단부에서 용기 축(O)방향으로 중앙부에 걸쳐 형성되어 있다. 미끄럼 이동 돌기부(232a)의 상단부는 안내 돌기부(255a)의 상단부보다도 하측에 위치해 있다.
도 27은 변환 기구(236)를 둘레 방향으로 전개한 상태를 도시한다. 도 27에 도시한 바와 같이, 안내 돌기부(255a)는 용기 축(O) 방향으로 연장하는 제1 수직면(255b)과, 제1 수직면(255b)의 하단부에서 상측을 향함에 따라 점차 제1 수직면(255b)에서 둘레 방향으로 한쪽에 이간하는 제1 경사면(255c)을 갖고, 하측을 향해 돌출한 대략 삼각형의 형상으로 형성되어 있다. 제1 수직면(255b)의 하단과 제1 경사면(255c)의 하단은 하측을 향해 돌출한 곡면(255d)에 의해 접속되어 있다.
도 27에 도시한 바와 같이, 미끄럼 이동 돌기부(232a)는 용기 축(O) 방향으로 연장하는 제2 수직면(232b)과, 제2 수직면(232b)의 상단부에서 하측을 향함에 따라 점차 제2 수직면(232b)에서 둘레 방향으로 다른 쪽에 이간하는 제2 경사각(232c)을 갖고, 상측을 향해 돌출한 대략 삼각형의 형상으로 형성되어 있다. 제2 경사각(232c)의 상단부는 상방을 향해 돌출한 곡면(232d)이 되어 있다. 미끄럼 이동 돌기부(232a)는 전체로서 안내 돌기부(255a)보다고 작고, 안내 돌기부(255a)와 대략 닮은 형상으로 형성되어 있다. 제1 수직면(255b) 및 제1 경사면(255c)이 이루는 각도와, 제2 수직면(232b) 및 제2 경사각(232c)이 이루는 각도는 서로 동등하게 되어 있다.
제1 경사면(255c) 및 제2 경사각(232c)에 의해 내부판(215)의 용기체(202)에 대한 평면에서 봤을 때의 시계 방향(둘레 방향에서의 다른 쪽) 회전이 허용된다. 또한, 제1 수직면(255b) 및 제2 수직면(232b)과, 스프링(253)에 의한 내부판(215)에의 상방 가압력에 의해, 내부판(215)의 용기체(2)에 대한 평면에서 봤을 때의 반시계 방향(둘레 방향에서의 한쪽) 회전이 규제된다. 이와 같이, 미끄럼 이동 돌기부(232a), 안내 돌기부(255a), 및 스프링(253)은 내부판(215)의 용기체(202)에 대한 용기 축(O) 주위의 회전을 한 방향으로만 허용하는 멈춤기구를 구성하고 있다. 또한, 이 멈춤기구는 평면에서 봤을 때 내부판(215)의 용기체(202)에 대한 시계 방향의 회전을 허용하고, 반시계 방향의 회전을 규제하도록 구성되어 있어도 좋다.
도 26은 고정 부재(213)의 평면도이며, 도 24에 도시한 A-A 절단선에서 하측을 향해 본 내부판(215)의 형상을 2점쇄선에 의해 표시한다. 본 실시형태에서는 도 3에 도시한 바와 같이, 복수의 안내 돌기부(255a)가 외변환통부(255)의 내주면에, 둘레 방향으로 등간격을 두고 형성되어 있다. 이에 의해, 외변환통부(255)의 내주면에는 안내 돌기부(255a)를 회피한 여유부(255e)가 설치되어 있다. 여유부(255e)는 안내 돌기부(255a)에 둘레 방향으로 인접하여 배치되어 있다. 여유부(255e)의 둘레 방향에서의 폭은 미끄럼 이동 돌기부(232a)의 둘레 방향에서의 폭보다도 크다. 이 때문에, 여유부(255e)에 미끄럼 이동 돌기부(232a)가 위치해 있는 상태에서는 미끄럼 이동 돌기부(232a)와 안내 돌기부(255a) 사이에, 둘레 방향으로 여유가 생긴다. 이에 의해, 내부판(215)에 과잉으로 큰 회전력이 가해졌을 때, 예를 들어, 미끄럼 이동 돌기부(232a)가 복수의 안내 돌기부(255a)를 연속하여 둘레 방향으로 넘음으로써, 내용물이 연속하여 토출되는 것을 억지할 수 있다. 본 실시형태에서는 복수의 미끄럼 이동 돌기부(232a)가 내변환통부(232)의 외주면에 둘레 방향으로 등간격을 두고 형성되어 있다. 미끄럼 이동 돌기부(232a)는 안내 돌기부(255a)와 동 수(도시한 예에서는 4개) 설치되어 있다. 또한, 미끄럼 이동 돌기부(232a)는 안내 돌기부(255a)와 동 수로 설치되어 있지 않아도 좋고, 예를 들어, 안내 돌기부(255a)보다 적어도 좋다.
도 26에 도시한 바와 같이, 평면에서 보아, 미끄럼 이동 돌기부(232a)의 둘레 방향에서의 한쪽 단부와, 안내 돌기부(255a)의 둘레 방향에서의 다른 쪽 단부가 근접한 상태에 있어서, 이들 단부끼리의 기울기는 대략 일치한다. 이와 마찬가지로, 미끄럼 이동 돌기부(232a)의 둘레 방향에서의 다른 쪽 단부와, 안내 돌기부(255a)의 둘레 방향에서의 한쪽 단부를 근접시키면, 이들 양 단부끼리의 기울기는 대략 일치한다. 이에 의해, 제1 수직면(255b)과 제2 수직면(232b)의 접촉 면적 및 제1 경사면(255c)과 제2 경사각(232c)의 접촉 적을 크게 할 수 있다.
다음에, 상기와 같이 구성된 토출 용기201)의 작용에 대해 설명한다.
조작 전의 초기 상태에서는 내부판(215)이 도 24에 도시한 대기 위치에 위치한다. 내용물을 토출시키는 경우에는 이 초기 상태로부터, 외장부(214)를 용기체(202)에 대해 용기 축(O) 주위로 둘레 방향으로 다른 쪽을 향해 회전시킨다. 이 때, 내부판(215)이 외장부(214)와 일체로 고정 부재(213)에 대해 용기 축(O) 주위를 회전하고, 제1 경사면(255c)과 제2 경사각(232c)이 둘레 방향에서 맞닿는다. 외장부(214)를 더 회전시키면, 도 27의 화살표 M1에 나타낸 바와 같이, 제1 경사면(255c)을 따라서 미끄럼 이동 돌기부(232a)가 하강한다. 이에 의해, 스프링(253)의 상방 가압력에 저항하여 내부판(215)이 하강하고, 내부판(215)에 형성된 걸림부(235)가 스템(203a)을 하강시키는 동시에, 내부판(215)과 외장부(214) 사이에 확산실(234)이 형성된다.
도 28에 도시한 바와 같이, 스템(203a)이 하강함으로써, 스템(203a)의 상단부에서 토출된 내용물은 연통 구멍(233)을 통과하여 확산실(234)에 공급된다. 이 내용물은 연통 구멍(233)에서 상방을 향해 토출되어 심체(225)에 공급되고, 심체(225)의 외주면 위를 용기 축(O) 방향으로 유동하여 심체(225)에 유지된다. 이 때, 내용물은 예를 들어, 평면에서 보아 심체(225)를 중심으로 한 원형을 이루도록 심체(225)에 유지된다. 내용물의 스템(203a)으로부터의 토출량 증가에 따라, 심체(225)에의 내용물 공급량이 증가하면, 내용물이 심체(225) 상에서 성장하여, 직경 방향 외측을 향해 점차 팽창한다. 이에 의해, 상술한 바와 같이 확산실(234)이 편평 형상으로 형성되어 있는 것과 더불어, 확산실(234) 내에 공급된 내용물은 직경 방향으로 확산하여, 공급면(228)에서 복수의 성형 구멍(226)에 공급된다. 복수의 성형 구멍(226)을 통과한 내용물은 조형면(227)에 토출되어 복수의 조형편을 형성하고, 각 조형편이 조합되어 조형물이 조형된다.
외장부(214)를 더 회전시키면, 도 27의 화살표 M2에 도시한 바와 같이, 미끄럼 이동 돌기부(232a)가 안내 돌기부(255a)의 제1 경사면(255c)에서의 하단부에 이르러, 이를 둘레 방향으로 타고 넘어서 여유부(255e)에 도달한다. 여유부(255e)에서는 미끄럼 이동 돌기부(232a)의 상방을 향한 이동이 허용되기 때문에, 스프링(253)의 상방 가압력에 의해, 내부판(215)이 대기 위치까지 상승한다. 이에 의해, 걸림부(235)에 의한 스템(203a)의 걸림이 해제되어 스템(203a)이 상방 이동하여, 스템(203a)으로부터의 내용물의 토출이 정지하는 동시에, 확산실(234) 내의 내용물이 조형면(227)에 압출된다. 또한, 내용물을 다시 토출시킬 경우에는 외장부(214)를 회전시키는 조작을 다시 행함으로써, 상술한 작용이 반복되어, 내용물을 반복 토출시킬 수 있다.
이상에 설명한 바와 같이, 본 실시형태의 토출 용기(201)에 따르면, 외장부(214)를 용기체(202)에 대해 용기 축(O) 주위를 회전시키는 조작에 의해, 내용물을 스템(203a)에서 토출시키는 동시에, 이 토출을 정지시켜서 내부판(215)을 대기 위치까지 복원 변위시킬 수 있다. 이에 의해, 예를 들어, 내부판(215)을 손으로 누름으로써, 스템(203a)에서 내용물을 토출시키는 경우와 비교해서, 조작력을 저감시키고, 내용물의 토출량을 안정시키면서, 내용물이 스템(203a)에서 토출되고 있는 동안에 조형면(227)에 토출되는 내용물의 흐름과, 스템(203a)으로부터의 토출을 정지하여 확산실(234) 내의 내용물을 조형면(227)에 압출하는 동안에 조형면(227)에 토출되는 내용물의 흐름을 연속적으로 한다. 이에 의해, 조형물을 고정밀도로 조형시킬 수 있다.
또한, 스프링(253)의 탄성력을 받아 들이는 수용부(254)가 정벽판(217)의 환상 오목부(218) 내에 고정되는 내통부(222)에서 직경 방향 내측을 향해 연장하여, 안내 돌기부(255a)가 형성된 외변환통부(255)가 이 수용부(254)의 내주연에서 상측을 향해 연장되어 있다. 이 구성에 의해 수용부(254) 및 외변환통부(255)의 강성이 높아져, 스프링(253)의 탄성력에 의해 외변환통부(255)가 변형 또는 변위하는 것이 억제되기 때문에, 안내 돌기부(255a)와 미끄럼 이동 돌기부(232a)의 위치 관계를 안정하게 할 수 있다. 이에 의해, 상술한 바와 같은 안내 돌기부(255a) 및 미끄럼 이동 돌기부(232a)에 의한 우수한 작용 효과를 확실하게 발휘하게 할 수 있음은 물론, 스프링(253) 및 외변환통부(255)를 용기 본체(210)의 입구부(210a) 내측에 콤팩트하게 배치할 수 있다.
또한, 안내 돌기부(255a)의 제1 수직면(255b) 및 제1 경사면(255c)이 이루는 각도와, 미끄럼 이동 돌기부(232a)의 제2 수직면(232b) 및 제2 경사각(232c)이 이루는 각도가 서로 동등하다. 이 때문에, 미끄럼 이동 돌기부(232a)가 안내 돌기부(255a)를 둘레 방향으로 미끄럼 이동할 때, 제1 경사면(255c)과 제2 경사각(232c)의 접촉 면적을 크게 할 수 있다. 이에 의해, 예를 들어, 미끄럼 이동 돌기부(232a)와 안내 돌기부(255a)가 미끄럼 이동할 때에, 양자가 마모하는 것을 억제하여, 양자의 미끄럼 이동을 안정시킬 수 있다. 또한, 제1 경사면(255c) 및 제2 경사각(232c)의 각도가 서로 동등한 것과, 복수의 안내 돌기부(255a) 및 복수의 미끄럼 이동 돌기부(232a)가 둘레 방향으로 간격을 두고 설치되어 있는 것이 함께, 조작 시에 내부판(215)의 중심 축이 용기 축(O)에 대해 기울도록 회전하는 것이 억제되어, 내부판(215)를 용기체(202)에 대해 걸리지 않고, 원활하게 회전시킬 수 있다.
또한, 안내 돌기부(255a)는 용기 축(O) 방향으로 연장하는 수직면(255b)을 갖고, 미끄럼 이동 돌기부(232a)는 용기 축(O) 방향으로 연장하는 수직면(232b)을 갖는다. 그 때문에, 외장부(214) 및 내부판(215)의 용기체(202)에 대한 용기 축(O) 주위의 회전을 한 방향으로만 허용하는 동시에, 여유부(255e)에 도달한 미끄럼 이동 돌기부(232a)를 스프링(253)의 상방 가압력에 의해 상방을 향해 신속하게 이동시킬 수 있다. 이에 의해, 외장부(214)를 용기체(202)에 대해 회전시킬 때의 조작성을 향상시키고, 또한, 조형면(227)에 토출되는 내용물의 속도 및 양을 안정시켜서, 조형물의 조형의 정밀도를 보다 확실하게 형상시킬 수 있다. 또한, 안내 돌기부(255a)가 하측을 향해 돌출 곡면(255d)을 갖고, 미끄럼 이동 돌기부(232a)가 상방을 향해 돌출 곡면(232d)을 갖는다. 이에 의해, 미끄럼 이동 돌기부(232a)가 안내 돌기부(255a)를 둘레 방향으로 원활하게 타고 넘을 수 있다.
또한, 본 발명의 기술적 범위는 상기 제4 실시형태에 한정되지 않고, 본 발명의 취지를 벗어나지 않는 범위에 있어서 여러 가지 변경을 가하는 것이 가능하다.
예를 들어, 상기 제4 실시형태에서는 미끄럼 이동 돌기부(232a)가 내부판(215)에 설치되고, 안내 돌기부(255a)가 고정 부재(213)에 설치되어 있지만, 본 발명은 이에 한정되지 않는다. 예를 들어, 미끄럼 이동 돌기부(232a)가 고정 부재(213)에 설치되고, 안내 돌기부(255a)가 내부판(215)에 설치되어 있어도 좋다. 또한, 상기 제4 실시형태에서는 안내 돌기부(255a)가 용기체(202)에 고정된 고정 부재(213)에 설치되고, 용기체(202)에 간접적으로 설치되어 있지만, 본 발명은 이에 한정되지 않는다. 예컨대, 안내 돌기부(255a)가 용기 본체(210)의 입구부(210a)에 일체로 형성되고, 용기체(202)에 직접 설치되어 있어도 좋다.
또한, 미끄럼 이동 돌기부(232a) 및 안내 돌기부(255a)는 상기 제4 실시형태의 예에 한정되지 않고, 여러 가지 형태를 채용할 수 있다. 예를 들어, 상기 제4 실시형태에서는 4개의 미끄럼 이동 돌기부(232a) 및 4개의 안내 돌기부(255a)가 설치되어 있지만, 이에 한정되지 않는다. 예를 들어, 1개만의 미끄럼 이동 돌기부(232a) 및 1개만의 안내 돌기부(255a)가 설치되어 있어도 좋다. 이 경우, 1개의 여유부(255e)가 평면에서 보아, C자형으로 설치되고, 이 여유부(255e)의 양 단부가 안내 돌기부(255a)를 둘레 방향에서 사이에 끼우고 있어도 좋다. 또한, 제1 경사면(255c)과 제1 수직면(255b)이 이루는 각도와, 제2 경사각(232c)과 제2 수직면(232b)이 이루는 각도는 서로 동등하지 않아도 좋다. 또한, 미끄럼 이동 돌기부(232a)는 내변환통부(232)에서 직경 방향 내측을 향해 연장하는 원기둥 형태로 형성되어 있어도 좋다.
또한, 상기 제4 실시형태에서는 외장부(214) 및 내부판(215)의 용기체(202)에 대한 용기 축(O) 주위의 회전을 한 방향으로만 허용하는 멈춤기구를 채용하고 있지만, 본 발명은 이에 한정되지 않는다. 예를 들어, 외장부(214) 및 내부판(215)이 용기체(202)에 대해 용기 축(O) 주위의 양 방향으로 일체로 하여 회전 가능하게 설치되어 있어도 좋다.
그 밖에, 본 발명의 취지를 벗어나지 않는 범위에서, 상기한 실시형태에서의 구성 요소를 주지의 구성 요소로 치환하는 것은 적절히 가능하고, 또한, 상기한 실시형태나 변형에를 적절히 조합하여도 좋다.
본 발명에 따르면, 고정 부재를 용기 본체에서 용이하게 분리할 수 있고, 토출면에 토출되는 내용물의 토출량이 위치마다 불균일하게 분포하는 것을 억제할 수 있어, 조작성을 향상시키면서, 조형물을 고정밀도로 토출면(조형면)에 형성할 수 있는 토출 용기를 제공할 수 있다.
1,2 토출 용기
12 용기 본체
12a 입구부
13 고정 부재
14 토출기
15 외장부
15a 주벽부
15b 하측 걸어맞춤부
16 내부판
19 스템
24 정상벽부
26 성형 구멍
27 토출면
28 공급면
29 삽입 관통 구멍
30 내부판 본체
35 확산실
36 걸림부
61 위요통
61a 상측 걸어맞춤부
62 접속부
63 외삽통
71 누름부
80 토출 구멍
110 토출 용기
111 용기 본체
112 토출기
113 고정 부재
114 외장부
115 입구부
118 스템
125 외삽통
126 위요통
129 상측 걸어맞춤부
133 정상벽부
134 주벽부
136 성형 구멍
138 토출면
139 공급면
145 걸림부
151 확산실
152 하측 걸어맞춤부
153 제1 안내면
154 제2 안내면
155 안내 돌기
157,158 규제면
180 토출 구멍
201 토출 용기 
202 용기체 
203 토출기 
210 용기 본체 
210a 입구부 
213 고정 부재 
214 외장부 
215 내부판 
217 정상벽판 
218 환상 오목부 
203a 스템 
222 내통부 
224 정상벽부 
226 성형 구멍 
227 조형면 
228 공급면 
230 접시 본체 
232 내변환통부 
232a 미끄럼 이동 돌기부 
232b 제2 수직면 
232c 제2 경사면 
233 연통 구멍 
234 확산실 
235 걸림부 
253 스프링(가압 부재) 
254 수용부
255 외변환통부 
255a 안내 돌기부 
255b 제1 수직면 
255c 제1 경사면 
255e 여유부
280 토출 구멍 
O 용기 축

Claims (13)

  1. 내용물이 수용되는 용기 본체와,
    상기 용기 본체의 입구부에 장착된 고정 부재와,
    상기 용기 본체의 상기 입구부에 상방 가압 상태로 하방 이동 가능하게 세워 설치된 스템을 갖는 토출기와,
    상기 스템의 상방에 배치되는 동시에 성형 구멍이 상하 방향으로 관통하는 정상벽부를 갖고, 상기 정상벽부에서의 상측을 향하는 토출면에 상기 성형 구멍에서 내용물을 토출하는 외장부와,
    상기 외장부 내에 이동이 자유롭게 설치되고, 상기 정상벽부에서의 하측을 향하는 공급면과의 사이에, 상기 스템으로부터의 내용물을 직경 방향으로 확산하여 상기 성형 구멍에 공급하는 확산실을 형성하는 내부판을 구비하고,
    상기 고정 부재는 상기 용기 본체의 상기 입구부에 외부에서 삽입되는 외삽통과, 상기 외삽통을 직경 방향으로 외측에서 둘러싸는 위요통과, 상기 외삽통과 상기 위요통을 접속하고, 또한, 둘레 방향으로 간극을 두고 배치된 복수의 접속부를 구비하는 동시에, 상기 간극은 상하 방향으로 관통하고,
    상기 외장부는 상기 정상벽부에서 아래를 향해 연장하고, 또한, 상기 고정 부재에서의 상기 외삽통과 상기 위요통 사이에 끼워지는 주벽부를 구비하고,
    상기 주벽부의 외주면에는 상기 위요통의 내주면에 형성된 상측 걸어맞춤부에 대해, 상기 상측 걸어맞춤부의 하방에서 걸어맞추는 하측 걸어맞춤부가 형성되고,
    상기 내부판에는 상기 스템에 걸려, 상기 내부판의 하강에 따라 상기 스템을 하강시키는 걸림부와, 직경 방향으로 외측을 향해서 돌출하여, 상기 외장부의 주벽부에 형성된 삽입 관통 구멍을 통과하여 상기 외장부의 외측에 배치된 누름부가 구비되고,
    상기 하측 걸어맞춤부는 상기 외장부의 주벽부 외주면 중, 상기 누름부가 배치되어 있는 둘레 방향을 따르는 위치를 회피한 위치에 배치되는 동시에, 직경 방향으로 외측을 향해서 돌출해 있는 토출 용기.
  2. 제1항에 있어서, 상기 하측 걸어맞춤부는 둘레 방향으로 연재하여, 상기 삽입 관통 구멍에 의해 둘레 방향으로 분단되어 있고, 상기 누름부의 둘레 방향의 양단부, 및 상기 하측 걸어맞춤부와 상기 상측 걸어맞춤부가 서로 걸어맞추고 있는 부분 각각의 둘레 방향을 따르는 위치가 서로 인접해 있는 토출 용기.
  3. 제1항 또는 제2항에 있어서, 복수의 상기 접속부 중 하나는, 적어도 일부가 상기 누름부와 상하 방향에서 중복하는 위치에 배치되어 있는 토출 용기.
  4. 제1항 내지 제3항 중 어느 한 항에 있어서, 상기 상측 걸어맞춤부는, 상하 방향에서 본 평면 모습에서, 둘레 방향으로 서로 인접하는 상기 접속부끼리 사이의 간극 내측에 위치해 있는 토출 용기.
  5. 용기 본체의 입구부에 상방 가압 상태로 하방 이동 가능하게 세워 설치된 스템의 상단부에 접착되는 내부판과,
    상기 상단부에서 토출된 내용물이 각각 별도로 통과하는 복수의 성형 구멍 및 상기 복수의 성형 구멍이 개구하는 토출면을 갖고, 상기 복수의 성형 구멍을 각각 별도로 통과하여 성형된 상기 내용물 각각에 의해 형성되는 복수의 조형편을, 상기 토출면 상에서 조합하여 조형물을 형성하는 외장부를 구비하고,
    상기 상단부에서 토출된 상기 내용물을, 상기 토출면을 따르는 직경 방향으로 확산하여 상기 복수의 성형 구멍 각각에 공급하는 확산실이, 상기 내부판과 상기 외장부 사이에 설치되도록 구성되어 있고,
    상기 외장부는 상기 스템의 상방에 배치되는 동시에 상기 복수의 성형 구멍이 상하 방향으로 관통하는 정상벽부를 갖고,
    상기 내부판은 상기 외장부 내에 상기 정상벽부에 있어서 하측을 향하는 공급면에 맞닿거나 근접하는 상측의 대기 위치와, 상기 공급면에서 아래로 이격되어, 상기 외장부와의 사이에, 상기 확산실을 형성하는 하측의 토출 위치와의 사이를 상하 이동이 자유롭게 설치되고,
    상기 내부판에는 상기 토출 위치에 위치할 때에 상기 스템에 걸려, 상기 내부판의 하강에 따라 상기 스템을 하강시키는 걸림부가 설치되어 있는 토출 용기.
  6. 내용물이 수용되는 용기 본체와,
    상기 용기 본체의 입구부에 장착된 고정 부재와,
    상기 입구부에 상방 가압 상태로 하방 이동 가능하게 세워 설치된 스템을 갖는 토출기와,
    상기 스템의 상방에 배치되는 동시에 토출 구멍이 용기 축 방향으로 관통하는 정상벽부를 갖고, 상기 고정 부재에 대해 둘레 방향으로 회전 가능하게 장착되고, 상기 토출 구멍에서, 상기 정상벽부에 있어서 상측을 향하는 토출면에 내용물을 토출하는 외장부를 구비하고,
    상기 고정 부재는, 상기 입구부에 외삽되는 외삽통과, 상기 외삽통을 직경 방향으로 외측에서 둘러싸는 위요통을 구비하고,
    상기 외장부는 상기 정상벽부에서 아래를 향해 연장하고, 또한, 상기 외삽통과 상기 위요통 사이에 끼워지는 주벽부를 구비하고,
    상기 주벽부의 외주면에는 상기 위요통의 내주면에 형성된 상측 걸어맞춤부에 대해, 상기 상측 걸어맞춤부의 하측에서 걸어맞추는 하측 걸어맞춤부가 형성되고,
    상기 고정 부재 및 상기 주벽부에는, 상기 외장부 및 상기 고정 부재의 상대적인 회전 이동에 따라 둘레 방향에서 부딪혀 미끄럼 이동함으로써, 상기 외장부를 상기 고정 부재에 대해 상승시키는 안내면이 각각 별도로 형성되고,
    상기 외장부에는
    상기 스템에 걸려 상기 스템을 하강시키는 걸림부와,
    상기 주벽부의 내측에 배치되는 동시에 상기 정상벽부에 있어서 하측을 향하는 공급면이 벽면 일부를 형성하고, 상기 스템으로부터의 내용물을 직경 방향으로 확산하여 상기 토출 구멍에 공급하는 확산실이 설치되는 토출 용기.
  7. 제6항에 있어서, 상기 안내면은, 상기 상측 걸어맞춤부 및 상기 하측 걸어맞춤부 각각과 일체로 형성되어 있는 토출 용기.
  8. 제7항에 있어서, 상기 상측 걸어맞춤부 및 상기 하측 걸어맞춤부 중 한쪽에서의 주단부에는, 상기 안내면으로서의 제1 안내면을 가져 상기 주단부로부터 용기 축 방향으로 돌출하는 안내 돌기가 형성되고, 다른 쪽에서의 주단면은, 상기 안내면으로서의 제2 안내면인 토출 용기.
  9. 제6항 내지 제8항 중 어느 한 항에 있어서, 상기 안내면으로서의 한쌍의 안내면은, 상기 고정 부재 및 상기 주벽부 각각에 있어서, 용기 축을 사이에 끼워 직경 방향으로 반대측에 위치하도록 설치되어 있는 토출 용기.
  10. 제6항 내지 제9항 중 어느 한 항에 있어서, 상기 고정 부재 및 상기 주벽부에는, 상기 외장부 및 상기 고정 부재의 상대적인 회전 이동에 따라 둘레 방향에서 부딪혀 걸림으로써, 더 한층 회전 이동을 규제하는 규제면이, 각각 별도로 형성되고, 상기 외장부가 상기 고정 부재에 대해 둘레 방향을 따라서 한쪽으로 회전할 때에, 상기 안내면끼리가 부딪히고, 상기 외장부가 상기 고정 부재에 대해 둘레 방향을 따라서 다른 쪽으로 회전할 때, 상기 규제면끼리가 부딪히는 토출 용기.
  11. 내용물이 수용되는 용기 본체를 구비하는 용기체와,
    상기 용기 본체의 입구부에 상방 가압 상태로 하방 이동 가능하게 세워 설치된 스템을 갖는 토출기와,
    상기 스템의 상방에 배치되는 동시에, 성형 구멍이 용기 축 방향으로 관통하는 정상벽부를 갖고, 상기 성형 구멍에서, 상기 정상벽부에 있어서 상측을 향하는 조형면에 내용물을 토출하는 외장부와,
    상기 외장부 내에 상방 가압 상태로 하방 이동 가능하게 배치되어, 상기 정상벽부에 있어서 하측을 향하는 공급면에 맞닿거나 근접하는 상방의 대기 위치와, 상기 공급면에서 아래로 이격하여, 상기 외장부와의 사이에, 상기 스템으로부터의 내용물을 직경 방향으로 확산하여 상기 성형 구멍에 공급하는 확산실을 형성하는 하방의 토출 위치와의 사이를 상하 이동하는 내부판을 구비하고,
    상기 내부판에는 상기 내부판이 상기 토출 위치에 위치할 때에 상기 스템에 걸려, 상기 내부판의 하강에 따라 상기 스템을 하강시키는 걸림부가 형성되고,
    상기 용기체와 상기 내부판 사이에는, 상기 토출 위치에 위치하는 상기 내부판을 상방 가압하는 가압 부재가 배치되고,
    상기 외장부 및 상기 내부판은 상기 용기체에 대해 용기 축 주위에 일체로 회전이 자유롭게 설치되고,
    상기 내부판 및 상기 용기체 중 한쪽에는, 다른 쪽에 설치된 미끄럼 이동 돌기부가, 용기 축 주위를 따르는 둘레 방향으로 미끄럼 이동하여 상기 내부판을 상기 가압 부재에 의한 상방 가압력에 저항하여 하강시키는 안내 돌기부와, 상기 안내 돌기부에 둘레 방향으로 인접하여, 상기 안내 돌기부를 둘레 방향으로 타넘은 상기 미끄럼 이동 돌기부의 상방을 향한 이동을 허용하는 여유부가 설치되어 있는 토출 용기.
  12. 제11항에 있어서, 상기 용기체는, 상기 용기 본체의 입구부에 고정된 내통부와, 상기 내통부에서 직경 방향 내측을 향해서 연장하는 수용부와, 상기 수용부의 내주연에서 상방을 향해 연장하는 외변환통부를 갖는 고정 부재를 구비하고, 상기 내부판에는 상기 외변환통부의 직경 방향 내측에 있어서 하향 연장하는 내변환통부가 형성되고, 상기 안내 돌기부는, 상기 외변환통부 및 상기 내변환통부 중 한쪽에 설치되고, 상기 미끄럼 이동 돌기부는, 다른 쪽에 설치되어 있는 토출 용기.
  13. 제11항 또는 제12항에 있어서, 상기 안내 돌기부는, 용기 축 방향으로 연장하는 제1 수직면과, 상기 제1 수직면에서 상방을 향함에 따라 점차 상기 제1 수직면에서 둘레 방향으로 한쪽에 이간하는 제1 경사면을 갖고, 상기 미끄럼 이동 돌기부는, 용기 축 방향으로 연장하는 제2 수직면과, 하방을 향함에 따라 점차 상기 제2 수직면에서 둘레 방향으로 다른 쪽에 이간하는 제2 경사면을 갖고, 상기 제1 수직면 및 상기 제1 경사면이 이루는 각도와 상기 제2 수직면 및 상기 제2 경사면이 이루는 각도가 서로 동등한 토출 용기.
KR1020187017337A 2015-12-25 2016-12-22 토출면에 내용물을 토출하는 토출 용기 Active KR102606672B1 (ko)

Applications Claiming Priority (7)

Application Number Priority Date Filing Date Title
JP2015253536A JP6598674B2 (ja) 2015-12-25 2015-12-25 吐出面に内容物を吐出する吐出容器
JPJP-P-2015-254159 2015-12-25
JPJP-P-2015-253536 2015-12-25
JP2015254159A JP6598675B2 (ja) 2015-12-25 2015-12-25 吐出面に内容物を吐出する吐出容器
JPJP-P-2016-192553 2016-09-30
JP2016192553A JP6721478B2 (ja) 2016-09-30 2016-09-30 造形面に内容物を吐出する吐出容器
PCT/JP2016/088571 WO2017111130A1 (ja) 2015-12-25 2016-12-22 吐出面に内容物を吐出する吐出容器

Publications (2)

Publication Number Publication Date
KR20180098551A true KR20180098551A (ko) 2018-09-04
KR102606672B1 KR102606672B1 (ko) 2023-11-28

Family

ID=59090479

Family Applications (1)

Application Number Title Priority Date Filing Date
KR1020187017337A Active KR102606672B1 (ko) 2015-12-25 2016-12-22 토출면에 내용물을 토출하는 토출 용기

Country Status (4)

Country Link
US (1) US10421089B2 (ko)
EP (1) EP3395718B1 (ko)
KR (1) KR102606672B1 (ko)
WO (1) WO2017111130A1 (ko)

Families Citing this family (2)

* Cited by examiner, † Cited by third party
Publication number Priority date Publication date Assignee Title
JP7122807B2 (ja) * 2017-02-28 2022-08-22 株式会社吉野工業所 造形ヘッド
CN112457943A (zh) * 2020-10-20 2021-03-09 山东景芝酒业股份有限公司 原酒生产老熟贮存罐

Citations (7)

* Cited by examiner, † Cited by third party
Publication number Priority date Publication date Assignee Title
JPH01103554A (ja) 1987-09-30 1989-04-20 Trw Repa Gmbh 安全ベルトの取付高さ調節装置
US5813785A (en) * 1996-01-29 1998-09-29 L'oreal Device for the packaging, dispensing and application of a gel or foam
JP2000327055A (ja) * 1999-05-20 2000-11-28 Kao Corp エアゾール容器
US6283337B1 (en) * 1998-12-21 2001-09-04 Kao Corporation Aerosol container
JP2002080080A (ja) 2000-09-11 2002-03-19 Yoshino Kogyosho Co Ltd 連続自動噴射が可能なエアゾール容器
JP2013256316A (ja) * 2012-06-12 2013-12-26 Shiseido Co Ltd 中皿を備えるポンプ式噴出容器
JP2016050002A (ja) 2014-08-29 2016-04-11 株式会社吉野工業所 吐出面に内容物を吐出する吐出容器

Family Cites Families (10)

* Cited by examiner, † Cited by third party
Publication number Priority date Publication date Assignee Title
GB1170341A (en) * 1967-07-07 1969-11-12 Gilbert Schwartzman Applicator having Diaphragm Mounted Valve Structure
US4341348A (en) * 1980-11-10 1982-07-27 Dearling Neal S Direct and indirect fragrance dispensing device
JPH0328954Y2 (ko) * 1984-09-13 1991-06-20
JPH0618933Y2 (ja) 1987-12-28 1994-05-18 東京硝子器械株式会社 プラスチック製の容器の液体小出し装置
GB8815858D0 (en) 1988-07-04 1988-08-10 Chen Teng Mo Shaving cream dispenser
US5385303A (en) * 1993-10-12 1995-01-31 The Procter & Gamble Company Adjustable aerosol spray package
ES1028682Y (es) * 1994-07-28 1995-07-01 Schattaver Schwarzberg Renate Dispositivo dosificador de liquido para limpieza de gafas y similares perfeccionado.
US7905673B2 (en) * 2003-11-17 2011-03-15 The Procter & Gamble Company Antiperspirant composition and applicator therefor
WO2016054104A1 (en) * 2014-09-29 2016-04-07 Dermira, Inc. Device and method for dispensing a drug
JP6598677B2 (ja) 2015-06-30 2019-10-30 株式会社吉野工業所 吐出面に内容物を吐出する吐出容器

Patent Citations (7)

* Cited by examiner, † Cited by third party
Publication number Priority date Publication date Assignee Title
JPH01103554A (ja) 1987-09-30 1989-04-20 Trw Repa Gmbh 安全ベルトの取付高さ調節装置
US5813785A (en) * 1996-01-29 1998-09-29 L'oreal Device for the packaging, dispensing and application of a gel or foam
US6283337B1 (en) * 1998-12-21 2001-09-04 Kao Corporation Aerosol container
JP2000327055A (ja) * 1999-05-20 2000-11-28 Kao Corp エアゾール容器
JP2002080080A (ja) 2000-09-11 2002-03-19 Yoshino Kogyosho Co Ltd 連続自動噴射が可能なエアゾール容器
JP2013256316A (ja) * 2012-06-12 2013-12-26 Shiseido Co Ltd 中皿を備えるポンプ式噴出容器
JP2016050002A (ja) 2014-08-29 2016-04-11 株式会社吉野工業所 吐出面に内容物を吐出する吐出容器

Also Published As

Publication number Publication date
EP3395718B1 (en) 2021-04-07
WO2017111130A1 (ja) 2017-06-29
US20190001355A1 (en) 2019-01-03
EP3395718A4 (en) 2019-08-21
EP3395718A1 (en) 2018-10-31
US10421089B2 (en) 2019-09-24
KR102606672B1 (ko) 2023-11-28

Similar Documents

Publication Publication Date Title
KR20180098552A (ko) 토출면에 내용물을 토출하는 토출 용기
KR101590865B1 (ko) 디스펜서 용기
JP6274989B2 (ja) 吐出容器に装着される造形ヘッド
KR101355654B1 (ko) 공기분출형 화장품 용기
JP6769694B2 (ja) 吐出容器に装着される造形ヘッド
JP6014425B2 (ja) 吐出容器
KR20180098551A (ko) 토출면에 내용물을 토출하는 토출 용기
JP6277094B2 (ja) 吐出面に内容物を吐出する吐出容器
JP6745142B2 (ja) 内容物を計量して塗布する塗布容器
JP6568806B2 (ja) 吐出面に内容物を吐出する吐出容器
JP2016069007A (ja) 吐出面に内容物を吐出する吐出容器
JP2011212572A (ja) トリガー式液体噴出器
JP6721478B2 (ja) 造形面に内容物を吐出する吐出容器
JP5961536B2 (ja) 泡出し容器
JP2018122897A (ja) 吐出器
JP6431318B2 (ja) エアゾール容器用吐出ヘッド
JP6626716B2 (ja) 造形面を有する吐出容器
JP6598674B2 (ja) 吐出面に内容物を吐出する吐出容器
JP2018197131A (ja) エアゾール容器用吐出ヘッド
KR102470854B1 (ko) 조형 헤드
JP7170504B2 (ja) 吐出容器
JP7086549B2 (ja) ポンプ容器
JP6249745B2 (ja) 定量吐出器
JP6598675B2 (ja) 吐出面に内容物を吐出する吐出容器
JP2020007011A (ja) 塗布型容器

Legal Events

Date Code Title Description
PA0105 International application

St.27 status event code: A-0-1-A10-A15-nap-PA0105

PG1501 Laying open of application

St.27 status event code: A-1-1-Q10-Q12-nap-PG1501

A201 Request for examination
PA0201 Request for examination

St.27 status event code: A-1-2-D10-D11-exm-PA0201

D13-X000 Search requested

St.27 status event code: A-1-2-D10-D13-srh-X000

D14-X000 Search report completed

St.27 status event code: A-1-2-D10-D14-srh-X000

E902 Notification of reason for refusal
PE0902 Notice of grounds for rejection

St.27 status event code: A-1-2-D10-D21-exm-PE0902

P11-X000 Amendment of application requested

St.27 status event code: A-2-2-P10-P11-nap-X000

P13-X000 Application amended

St.27 status event code: A-2-2-P10-P13-nap-X000

E701 Decision to grant or registration of patent right
PE0701 Decision of registration

St.27 status event code: A-1-2-D10-D22-exm-PE0701

PR0701 Registration of establishment

St.27 status event code: A-2-4-F10-F11-exm-PR0701

PR1002 Payment of registration fee

St.27 status event code: A-2-2-U10-U12-oth-PR1002

Fee payment year number: 1

PG1601 Publication of registration

St.27 status event code: A-4-4-Q10-Q13-nap-PG1601