JP7253232B2 - 注文飲食物搬送装置 - Google Patents

注文飲食物搬送装置 Download PDF

Info

Publication number
JP7253232B2
JP7253232B2 JP2019020036A JP2019020036A JP7253232B2 JP 7253232 B2 JP7253232 B2 JP 7253232B2 JP 2019020036 A JP2019020036 A JP 2019020036A JP 2019020036 A JP2019020036 A JP 2019020036A JP 7253232 B2 JP7253232 B2 JP 7253232B2
Authority
JP
Japan
Prior art keywords
food
drink
belt conveyor
lifting device
sub
Prior art date
Legal status (The legal status is an assumption and is not a legal conclusion. Google has not performed a legal analysis and makes no representation as to the accuracy of the status listed.)
Active
Application number
JP2019020036A
Other languages
English (en)
Other versions
JP2020124440A (ja
Inventor
晴紀 石野
賢二 渡部
鉄治 北村
Current Assignee (The listed assignees may be inaccurate. Google has not performed a legal analysis and makes no representation or warranty as to the accuracy of the list.)
Ishino Seisakusho Co Ltd
Original Assignee
Ishino Seisakusho Co Ltd
Priority date (The priority date is an assumption and is not a legal conclusion. Google has not performed a legal analysis and makes no representation as to the accuracy of the date listed.)
Filing date
Publication date
Priority to JP2019020036A priority Critical patent/JP7253232B2/ja
Application filed by Ishino Seisakusho Co Ltd filed Critical Ishino Seisakusho Co Ltd
Priority to PCT/JP2019/024780 priority patent/WO2020161933A1/ja
Priority to CN201980001907.0A priority patent/CN111801032B/zh
Priority to SG11201909628YA priority patent/SG11201909628YA/en
Priority to US16/499,896 priority patent/US11134803B2/en
Priority to PH1/2021/551852A priority patent/PH12021551852A1/en
Priority to TW108136688A priority patent/TWI735970B/zh
Publication of JP2020124440A publication Critical patent/JP2020124440A/ja
Application granted granted Critical
Publication of JP7253232B2 publication Critical patent/JP7253232B2/ja
Active legal-status Critical Current
Anticipated expiration legal-status Critical

Links

Images

Classifications

    • AHUMAN NECESSITIES
    • A47FURNITURE; DOMESTIC ARTICLES OR APPLIANCES; COFFEE MILLS; SPICE MILLS; SUCTION CLEANERS IN GENERAL
    • A47GHOUSEHOLD OR TABLE EQUIPMENT
    • A47G23/00Other table equipment
    • A47G23/08Food-conveying devices for tables; Movable or rotary food-serving devices
    • BPERFORMING OPERATIONS; TRANSPORTING
    • B65CONVEYING; PACKING; STORING; HANDLING THIN OR FILAMENTARY MATERIAL
    • B65GTRANSPORT OR STORAGE DEVICES, e.g. CONVEYORS FOR LOADING OR TIPPING, SHOP CONVEYOR SYSTEMS OR PNEUMATIC TUBE CONVEYORS
    • B65G17/00Conveyors having an endless traction element, e.g. a chain, transmitting movement to a continuous or substantially-continuous load-carrying surface or to a series of individual load-carriers; Endless-chain conveyors in which the chains form the load-carrying surface
    • B65G17/002Conveyors having an endless traction element, e.g. a chain, transmitting movement to a continuous or substantially-continuous load-carrying surface or to a series of individual load-carriers; Endless-chain conveyors in which the chains form the load-carrying surface comprising load carriers resting on the traction element
    • AHUMAN NECESSITIES
    • A47FURNITURE; DOMESTIC ARTICLES OR APPLIANCES; COFFEE MILLS; SPICE MILLS; SUCTION CLEANERS IN GENERAL
    • A47FSPECIAL FURNITURE, FITTINGS, OR ACCESSORIES FOR SHOPS, STOREHOUSES, BARS, RESTAURANTS OR THE LIKE; PAYING COUNTERS
    • A47F10/00Furniture or installations specially adapted to particular types of service systems, not otherwise provided for
    • A47F10/06Furniture or installations specially adapted to particular types of service systems, not otherwise provided for for restaurant service systems
    • BPERFORMING OPERATIONS; TRANSPORTING
    • B65CONVEYING; PACKING; STORING; HANDLING THIN OR FILAMENTARY MATERIAL
    • B65GTRANSPORT OR STORAGE DEVICES, e.g. CONVEYORS FOR LOADING OR TIPPING, SHOP CONVEYOR SYSTEMS OR PNEUMATIC TUBE CONVEYORS
    • B65G15/00Conveyors having endless load-conveying surfaces, i.e. belts and like continuous members, to which tractive effort is transmitted by means other than endless driving elements of similar configuration
    • B65G15/10Conveyors having endless load-conveying surfaces, i.e. belts and like continuous members, to which tractive effort is transmitted by means other than endless driving elements of similar configuration comprising two or more co-operating endless surfaces with parallel longitudinal axes, or a multiplicity of parallel elements, e.g. ropes defining an endless surface
    • B65G15/12Conveyors having endless load-conveying surfaces, i.e. belts and like continuous members, to which tractive effort is transmitted by means other than endless driving elements of similar configuration comprising two or more co-operating endless surfaces with parallel longitudinal axes, or a multiplicity of parallel elements, e.g. ropes defining an endless surface with two or more endless belts
    • BPERFORMING OPERATIONS; TRANSPORTING
    • B65CONVEYING; PACKING; STORING; HANDLING THIN OR FILAMENTARY MATERIAL
    • B65GTRANSPORT OR STORAGE DEVICES, e.g. CONVEYORS FOR LOADING OR TIPPING, SHOP CONVEYOR SYSTEMS OR PNEUMATIC TUBE CONVEYORS
    • B65G43/00Control devices, e.g. for safety, warning or fault-correcting
    • B65G43/08Control devices operated by article or material being fed, conveyed or discharged
    • BPERFORMING OPERATIONS; TRANSPORTING
    • B65CONVEYING; PACKING; STORING; HANDLING THIN OR FILAMENTARY MATERIAL
    • B65GTRANSPORT OR STORAGE DEVICES, e.g. CONVEYORS FOR LOADING OR TIPPING, SHOP CONVEYOR SYSTEMS OR PNEUMATIC TUBE CONVEYORS
    • B65G43/00Control devices, e.g. for safety, warning or fault-correcting
    • B65G43/10Sequence control of conveyors operating in combination
    • BPERFORMING OPERATIONS; TRANSPORTING
    • B65CONVEYING; PACKING; STORING; HANDLING THIN OR FILAMENTARY MATERIAL
    • B65GTRANSPORT OR STORAGE DEVICES, e.g. CONVEYORS FOR LOADING OR TIPPING, SHOP CONVEYOR SYSTEMS OR PNEUMATIC TUBE CONVEYORS
    • B65G47/00Article or material-handling devices associated with conveyors; Methods employing such devices
    • B65G47/34Devices for discharging articles or materials from conveyor 
    • B65G47/46Devices for discharging articles or materials from conveyor  and distributing, e.g. automatically, to desired points
    • B65G47/50Devices for discharging articles or materials from conveyor  and distributing, e.g. automatically, to desired points according to destination signals stored in separate systems
    • B65G47/503Devices for discharging articles or materials from conveyor  and distributing, e.g. automatically, to desired points according to destination signals stored in separate systems the system comprising endless moving means
    • BPERFORMING OPERATIONS; TRANSPORTING
    • B65CONVEYING; PACKING; STORING; HANDLING THIN OR FILAMENTARY MATERIAL
    • B65GTRANSPORT OR STORAGE DEVICES, e.g. CONVEYORS FOR LOADING OR TIPPING, SHOP CONVEYOR SYSTEMS OR PNEUMATIC TUBE CONVEYORS
    • B65G2201/00Indexing codes relating to handling devices, e.g. conveyors, characterised by the type of product or load being conveyed or handled
    • B65G2201/02Articles
    • B65G2201/0202Agricultural and processed food products

Landscapes

  • Engineering & Computer Science (AREA)
  • Mechanical Engineering (AREA)
  • Table Equipment (AREA)
  • Intermediate Stations On Conveyors (AREA)

Description

本発明は、注文飲食物搬送装置に関する。
近年、飲食店においては、搬送装置を使った飲食物の提供が行なわれている(例えば、特許文献1-2を参照)。
特開2005-185326号公報 特開2017-140297号公報
注文された飲食物を搬送する場合、例えば、厨房から客席へ至るベルトコンベアに飲食物を載せて搬送することが考えられる。この場合、客席に座っている客は、ベルトコンベアの搬送経路沿いに設けられたテーブルやカウンターで飲食を行う。しかし、飲食店では、店内で飲食を行う客に飲食物を提供するサービスの他に、飲食物の持ち帰りを希望する客に持ち帰り用の飲食物を提供するサービスが行われることがある。この場合、飲食店では、厨房で用意された持ち帰り用の飲食物が客へ渡されることになる。
ところで、飲食店の厨房は、通常、飲食客が出入りする出入口付近から離れた位置に設置される。特に、搬送装置を使った飲食物の提供が行われるような飲食店は、店舗の床面積が比較的大きいことが多いため、飲食客が出入りする出入口付近から遠く離れた位置に厨房が設置される可能性が高い。よって、飲食物の持ち帰りを希望する客に持ち帰り用の飲食物を店の出入口付近で渡す場合、厨房で用意された持ち帰り用の飲食物を店の出入口付近へ運搬するための工数が少なからず必要であり、店舗の大型化に比例して飲食物の運搬に要する工数が増加することになる。しかし、昨今の人材不足に鑑みると、工数の増加に対応できる人材の確保は難しい。
そこで、本願は、店舗内における飲食物の運搬に要する工数を可及的に抑制可能な注文飲食物搬送装置を開示する。
上記課題を解決するため、本発明は、飲食店の厨房側から客席フロア側へ至る搬送路の終端または途中に、ベルトコンベアに載っている飲食物を上げてベルトコンベアから離す昇降装置を設けることにした。
詳細には、本発明は、注文飲食物搬送装置であって、飲食店の厨房側から客席フロア側へ至る搬送路を形成し、搬送路沿いに複数の客席が配置されるベルトコンベアと、搬送路の終端または途中の所定箇所に設置されており、ベルトコンベアに載っている飲食物を上げてベルトコンベアから離す昇降装置と、ベルトコンベアと昇降装置を制御する制御手段と、を備え、制御手段は、ベルトコンベアに載置された飲食物の搬送先として、複数の客席のうちの何れかが指定されている場合には、搬送先として指定された客席に飲食物が到着したタイミングでベルトコンベアを停止し、ベルトコンベアに載置された飲食物の搬送先として、所定箇所が指定されている場合には、搬送先として指定された所定箇所に飲食物が到着したタイミングでベルトコンベアを停止すると共に昇降装置で飲食物を上げる。
上記の注文飲食物搬送装置であれば、飲食店の厨房側から客席フロア側へ至る搬送路の終端または途中に昇降装置が設けられているため、当該昇降装置へ飲食物を搬送した場合には、搬送した飲食物が昇降装置で上げられてベルトコンベアから離れる。よって、昇降装置に飲食物がある状態であっても、注文飲食物搬送装置は次の飲食物を搬送することができる。また、例えば、昇降装置が飲食店の出入り口付近にあれば、飲食物の持ち帰りを希望する客に持ち帰り用の飲食物を提供する場合に、持ち帰り用の飲食物を注文飲食物搬送装置で飲食店の出入り口付近に搬送することができる。よって、持ち帰り用の飲食物を用意する厨房が飲食店の出入口から離れているような場合であっても、上記の注文飲食物搬送装置であれば、厨房用意した持ち帰り用の飲食物を店の出入口付近へ運搬するための工数を抑制できる。
なお、ベルトコンベアには、ベルトコンベアに載っている飲食物の有無を、搬送路の長手方向に向けて発光するセンサ光で検知する光学センサが併設されており、昇降装置は、ベルトコンベアに載っている飲食物を、センサ光の光軸よりも上へ上げるものであってもよい。このような注文飲食物搬送装置であれば、昇降装置に飲食物がある状態であっても、ベルトコンベアに飲食物があるか否かを判別することができる。
また、制御手段は、所定箇所に搬送した第1の飲食物が昇降装置に上げられてベルトコンベアから離れている状態で、第1の飲食物とは異なる第2の飲食物を搬送させる搬送開始操作が行われるとベルトコンベアを作動させ、第2の飲食物の搬送を開始するものであってもよい。このような注文飲食物搬送装置であれば、飲食物を効率的に搬送することが可能である。
また、客席フロア内に設置されており、昇降装置に飲食物が到着したことを報知する報知手段を更に備えるものであってもよい。このような報知手段が、客が出入する出入口付近等の客席フロア内に設置されていれば、昇降装置に飲食物が到着したことを容易に把握可能となる。
また、ベルトコンベアは、並列に複数設けられており、昇降装置は、複数のベルトコンベアに跨って載る飲食物を下から突き上げて複数のベルトコンベアから離し、制御手段は、複数のベルトコンベアに跨って載る飲食物がある場合には所定箇所を搬送先として指定する操作を受け付けると共に複数のベルトコンベアの動きを同期させ、複数のベルトコンベアに跨って載る飲食物がない場合には所定箇所を搬送先として指定する操作を拒否すると共に複数のベルトコンベアの動きを非同期にするものであってもよい。このような注文飲食物搬送装置であれば、比較的大きいトレイ等に飲食物を載せて昇降装置へ搬送することが可能となる。
上記注文飲食物搬送装置であれば、店舗内における飲食物の運搬に要する工数を可及的に抑制可能である。
図1は、実施形態に係る注文飲食物搬送装置の全体構成図である。 図2は、昇降装置の一例を示した図である。 図3は、注文飲食物搬送装置に設けられている光センサの取付箇所の一例を示した図である。 図4は、注文飲食物搬送装置の制御装置が実現するピッチ送り動作の処理フローの一例を示した図である。 図5は、ピッチ送りの様子を示した図である。 図6は、操作パネルの画面の一例を示した図である。 図7は、搬送開始操作が行われた場合に実行される制御フロー図を示している。 図8は、搬送時の状態を示した第1の図である。 図9は、搬送時の状態を示した第2の図である。 図10は、搬送時の状態を示した第3の図である。 図11は、搬送時の状態を示した第4の図である。 図12は、搬送時の状態を示した第5の図である。 図13は、昇降装置の昇降動作を示した図である。
以下、本願発明の実施形態について説明する。以下に示す実施形態は、本願発明の一態様であり、本願発明の技術的範囲を限定するものではない。以下に示す各実施形態や変形例は、例えば、寿司や飲料物、そばやうどんといった丼物、から揚げや天ぷらといった各種の飲食物を、店内で飲食する客の他、飲食物を持ち帰る客へも提供する飲食店に好適である。
図1は、実施形態に係る注文飲食物搬送装置10の全体構成図である。注文飲食物搬送装置10は、客の注文を受けて用意された飲食物を飲食店の厨房2から客席3L1~3L3,3R1~3R3(以下、不特定の客席を指す場合は「客席3」という)等へ搬送する装置であり、図1に示すように、客が飲食する各客席3の脇を通る搬送路を形成する。注文飲食物搬送装置10は、飲食店の厨房2側から客席エリアへ至る搬送路を形成する主ベルトコンベア20L,20R(以下、不特定の主ベルトコンベアを指す場合は「主ベルトコンベア20」という)と、主ベルトコンベア20L,20Rの厨房2側に延設され、搬送路を延伸する副ベルトコンベア30L,30R(以下、不特定の副ベルトコンベアを指す場合は「副ベルトコンベア30」という)とを備えている。注文飲食物搬送装置10は、飲食物を皿等の各種食器に載せて搬送したり、食器を使わずにベルトコンベアに直置きされたフィルム包装等の飲食物を搬送したり、或いは、トレイに載せられた状態の飲食物を搬送したりする。
副ベルトコンベア30は、飲食物の皿を長手方向沿いに4枚並べて置くことが可能な長さを有している。そして、副ベルトコンベア30の脇には、皿を載せるべき位置(載置エリア)を示すマークが付されている。副ベルトコンベア30の搬送面のうち、副ベルトコンベア30の手前側(厨房2側)の端部付近が飲食物をスタッフが置くための載置エリアとなり、載置エリアよりも奥側(客席3側)が飲食物を待機させる待機エリアとなる。また、副ベルトコンベア30の付近には、各種の操作を受け付けるための操作パネルが設けられている。
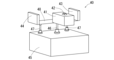
また、注文飲食物搬送装置10には、主ベルトコンベア20の客席フロア側の端部に設けられており、主ベルトコンベア20によって搬送された飲食物を上げて主ベルトコンベア20から離す昇降装置40が設けられている。図2は、昇降装置40の一例を示した図である。昇降装置40は、飲食物のトレイの下側から部材を突き上げて該トレイを昇降する装置であり、主ベルトコンベア20Lと主ベルトコンベア20Rとの間で昇降されて該トレイを突き上げる突き上げ部材41を有する。突き上げ部材41の上面には、トレイの接触を検知する接触センサ42が設けられている。また、突き上げ部材41に突き上げられるトレイの姿勢を安定させるため、主ベルトコンベア20L,20Rの両側で昇降されて該トレイを支持する支持部材43,44が設けられている。突き上げ部材41と支持部材43,44は、昇降プレート48に固定されており、一体的に昇降する。昇降プレート48は、昇降用のモータやクランク機構を内蔵する昇降駆動部45から上側に突き出る昇降棒46の上端に固定されており、昇降棒46の上下動に従って動く。また、昇降プレー
ト48の姿勢を安定させるため、昇降棒46の両側には2つの支持棒47が設けられている。昇降棒46と支持棒47は、何れもリニアガイドにより上下方向に直動する。
図3は、注文飲食物搬送装置10に設けられている光センサの取付箇所の一例を示した図である。注文飲食物搬送装置10には、図3に示されるように、光学式のセンサが各部に設けられている。例えば、センサS1Lは、センサS1ALが、副ベルトコンベア30Lが形成する搬送路の長手方向に向かってセンサ光を放ち、センサS1BLがセンサ光を受光することにより、副ベルトコンベア30L(載置エリア及び待機エリア)における飲食物の有無を検知する。また、センサS2Lは、センサS2ALとセンサS2BLの何れか一方が、載置エリアにおいて副ベルトコンベア30Lの搬送路を横切る方向に向かってセンサ光を放ち、何れか他方がセンサ光を受光することにより、副ベルトコンベア30Lの載置エリアにおける飲食物の有無を検知する。また、センサS3Lは、センサS3BLが、主ベルトコンベア20Lが形成する搬送路の長手方向に向かってセンサ光を放ち、センサS3ALがセンサ光を受光することにより、主ベルトコンベア20L上の飲食物の有無を検知する。また、センサS4Lは、センサS4ALとセンサS4BLの何れか一方が、主ベルトコンベア20Lの搬送路を横切る方向に向かってセンサ光を放ち、何れか他方がセンサ光を受光することにより、センサS4ALとセンサS4BLの間を通過する飲食物の有無を検知する。センサS5LとセンサS6LもセンサS4Lと同様である。また、主ベルトコンベア20R及び副ベルトコンベア30Rにも、主ベルトコンベア20L及び副ベルトコンベア30Lに設けられているのと同様のセンサが設けられている。
なお、センサS2ALについては、トレイ等の接触物が触れると下に下がる可動式の部材P1Lに設けられている。また、センサS2BRについては、トレイ等の接触物が触れると下に下がる可動式の部材P1Rに設けられている。同様に、センサS4BLは可動式の部材P2L、センサS4BRは可動式の部材P2R、センサS5BLは可動式の部材P3L、センサS5BRは可動式の部材P3R、センサS6BLは可動式の部材P4L、センサS6BRは可動式の部材P4Rに設けられている。
また、センサS1BLとセンサS3ALは、モータによって自動開閉するゲートG1Lに設けられている。また、センサS1BRとセンサS3ARは、モータによって自動開閉するゲートG1Rに設けられている。
したがって、注文飲食物搬送装置10に設けられている各センサが、注文飲食物搬送装置10に搬送される飲食物の皿やトレイの進路の妨げとなることはない。なお、主ベルトコンベア20Lにはモータによって自動開閉するゲートG2Lが昇降装置40付近に設けられ、主ベルトコンベア20Rにはモータによって自動開閉するゲートG2Rが昇降装置40付近に設けられているが、センサS3Lのセンサ光はゲートG2Lの下側を通過し、センサS3Rのセンサ光はゲートG2Rの下側を通過するため、ゲートG2L,G2Rがセンサ光に干渉することも無い。
なお、注文飲食物搬送装置10の下側には、飲食物が循環搬送される飲食物循環搬送装置やその他の注文飲食物搬送装置が設けられていてもよい。また、注文飲食物搬送装置10の上側には、湯呑みや調味料、お品書き等を載せる棚板が支柱等によって支持されていてもよい。
主ベルトコンベア20、副ベルトコンベア30および昇降装置40は、制御装置によって制御される。制御装置は、副ベルトコンベア30付近に設置されている操作パネルに入力された操作内容や各センサからの信号に基づいて制御信号を出力する。以下、制御装置によって実現される注文飲食物搬送装置10の動作を説明する。
<ピッチ送り動作>
注文飲食物搬送装置10では、飲食物が副ベルトコンベア30の載置エリアに置かれると、副ベルトコンベア30がピッチ送り動作を行い、載置エリアに置かれた飲食物を待機エリアへ移動する。図4は、注文飲食物搬送装置10の制御装置が実現するピッチ送り動作の処理フローの一例を示した図である。
注文飲食物搬送装置10の制御装置は、センサS2Lが飲食物を検知したか否かの判定を行う(S101)。副ベルトコンベア30Lの載置エリアに飲食物が載置されると、注文飲食物搬送装置10の制御装置は、ステップS101で肯定判定を行う。注文飲食物搬送装置10の制御装置は、ステップS101で肯定判定を行うと、次に、制御装置内のメモリを参照し、ピッチ送りを禁止するピッチ送り禁止モードであるか否かの判定を行う(S102)。注文飲食物搬送装置10の制御装置は、ステップS102で否定判定を行うと、次に、制御装置内のメモリを参照し、待機エリアにある飲食物の数をカウントするカウンタが上限値であるか否かの判定を行う(S103)。本実施形態では、待機エリアに置くことができる飲食物の皿は3枚であるため、カウンタの上限値は「3」に設定されている。注文飲食物搬送装置10の制御装置は、ステップS103で否定判定を行った場合、副ベルトコンベア30Lを所定量(飲食物の皿1つ分)だけ作動させる(S104)。そして、注文飲食物搬送装置10の制御装置は、制御装置内のメモリにアクセスし、カウンタ値を1つ加算する(S105)。
また、注文飲食物搬送装置10の制御装置は、ステップS101で否定判定を行った場合、センサS1Lが飲食物を検知したか否かの判定を行う(S106)。そして、注文飲食物搬送装置10の制御装置は、ステップS106で肯定判定を行うと、制御装置内のメモリにアクセスしてピッチ送り禁止モードのフラグをメモリ内に設定する。例えば、飲食物が副ベルトコンベア30Lの載置エリアではなく待機エリアへ誤って直接載置されると、ステップS101で否定判定が行われ、ステップS106で肯定判定が行われるため、副ベルトコンベア30Lについてはピッチ送り禁止モードになる。これにより、ステップS102で否定判定が行われないようになるため、誤って待機エリアに載置され、待機エリアでどのような状態で置かれたか不明な飲食物を載せたまま副ベルトコンベア30Lがピッチ送り動作することが無くなる。
なお、注文飲食物搬送装置10の制御装置は、ステップS106で否定判定を行うと、制御装置内のメモリにアクセスしてピッチ送り禁止モードのフラグやカウンタ値をリセットする(S108)。よって、例えば、飲食物が副ベルトコンベア30Lの載置エリアではなく待機エリアへ誤って直接載置された場合であっても、その後に副ベルトコンベア30L上から飲食物が全て取り除かれれば、ピッチ送り禁止モードのフラグやカウンタ値がリセットされ、ステップ104のピッチ送り動作等が再び実行され得る状態になる。また、ピッチ送り禁止モードのフラグやカウンタ値は、後述する搬送開始操作が行われて副ベルトコンベア30L上の飲食物が客席3へ搬送されてもリセットされる。
なお、上述したステップS101からステップS108までの一連の処理は、副ベルトコンベア30Lの場合について例示したが、副ベルトコンベア30Rの場合についても同様である。
図5は、ピッチ送りの様子を示した図である。例えば、副ベルトコンベア30に飲食物の皿が1枚も載っていない状態で、載置エリアに飲食物の皿4を載せると、注文飲食物搬送装置10の制御装置はステップS101で肯定判定を行い、ステップS102及びステップS103で否定判定を行うことにより、ステップS104を実行する。すると、載置エリアに載せられた皿4は、図5(A)に示すように、待機エリアへ移動する。そして、
載置エリアに2枚目の皿4が載せられると、ステップS101からステップS104までの一連の処理が実行されることにより、載置エリアに載せられた2枚目の皿4は、図5(B)に示すように、待機エリアへ移動する。
このような処理の繰り返しにより、待機エリアの皿4が3枚となると、注文飲食物搬送装置10の制御装置のメモリのカウンタは上限値となる。よって、この状態で載置エリアに4枚目の皿4が載せられると、ステップS103の処理で肯定判定が行われ、ステップS104の処理は実行されない。したがって、載置エリアに載せられた4枚目の皿4は、図5(C)に示すように、載置エリアに載った状態を維持する。
副ベルトコンベア30において実現されるピッチ送り動作の説明については以上である。本実施形態の注文飲食物搬送装置10であれば、副ベルトコンベア30Lに載置されている皿4の状態をセンサS1LとセンサS2Lの2本のセンサ光で把握し、上述のピッチ送り動作を実現できるため、エリアセンサ等の高級なセンサを副ベルトコンベア30Lに載置されている皿4の状態の把握のために用いる必要が無い。よって、副ベルトコンベア30Lにおけるピッチ送りを、センサS1LとセンサS2Lという比較的簡単なセンサ構成で実現することができる。副ベルトコンベア30R側についても副ベルトコンベア30Lと同様である。
次に、搬送開始操作が行われた場合の処理について説明する。
<搬送動作>
注文飲食物搬送装置10の制御装置は、副ベルトコンベア30付近に設けられた操作パネルにおいて搬送開始操作が行われると、副ベルトコンベア30や主ベルトコンベア20を作動させ、飲食物を厨房2から客席3或いは昇降装置40へ搬送する。図6は、操作パネルの画面の一例を示した図である。
注文飲食物搬送装置10の制御装置は、操作パネルの画面D101において、搬送先を示すボタンBL1~BL3,BR1~BR3,BEが押されると、制御信号を出力して副ベルトコンベア30と主ベルトコンベア20を作動させ、副ベルトコンベア30に載っている飲食物の皿4を、ボタンBL1~BL3,BR1~BR3,BEに対応する位置、すなわち、客席3或いは昇降装置40へ搬送する。ボタンBL1が客席3L1に対応し、ボタンBL2が客席3L2に対応し、ボタンBL3が客席3L3に対応し、ボタンBR1が客席3R1に対応し、ボタンBR2が客席3R2に対応し、ボタンBR3が客席3R3に対応し、ボタンBEが昇降装置40に対応する。
図7は、搬送開始操作が行われた場合に実行される制御フロー図を示している。注文飲食物搬送装置10の制御装置は、操作パネルにおいてボタンBL1~BL3,BR1~BR3,BEが押されたか否かを判定する(S201)。そして、制御装置は、ステップS201の処理において客席の選択操作が行われたことを検知すると、主ベルトコンベア20に飲食物が載っているか否かを判定する(S202)。ボタンBL1~BL3が押された場合、制御装置は、ステップS202において、主ベルトコンベア20Lに飲食物が載っているか否かをセンサS3Lで判定する。また、ボタンBR1~BR3が押された場合、制御装置は、ステップS202において、主ベルトコンベア20Rに飲食物が載っているか否かをセンサS3Rで判定する。また、ボタンBEが押された場合、制御装置は、ステップS202において、主ベルトコンベア20Lと主ベルトコンベア20Rの両方について、飲食物が載っているか否かをセンサS3LとセンサS3Rで判定する。
そして、制御装置は、ステップS202の処理で否定判定を行うと、主ベルトコンベア20と副ベルトコンベア30を起動する(S203)。例えば、ボタンBL1~BL3が
押されている場合には副ベルトコンベア30Lと主ベルトコンベア20Lが起動し、ボタンBR1~BR3が押されている場合には副ベルトコンベア30Rと主ベルトコンベア20Rが起動し、ボタンBEが押されている場合には副ベルトコンベア30L,30Rと主ベルトコンベア20L,20Rが起動する。
制御装置は、ステップS203の処理を実行した後、副ベルトコンベア30に載っていた飲食物が全て主ベルトコンベア20に載ったか否かを判定する(S204)。例えば、主ベルトコンベア20Lと副ベルトコンベア30Lが作動している状態であれば、副ベルトコンベア30Lに載っていた飲食物が全て主ベルトコンベア20Lに載ったか否かをセンサS4Lで判定する。また、例えば、主ベルトコンベア20Rと副ベルトコンベア30Rが作動している状態であれば、副ベルトコンベア30Rに載っていた飲食物が全て主ベルトコンベア20Rに載ったか否かをセンサS4Rで判定する。なお、制御装置は、副ベルトコンベア30に載っていた飲食物が全て主ベルトコンベア20に載ったか否かの判定を、センサの代わりに副ベルトコンベア30を起動してからの動作量に基づいて判定してもよい。制御装置は、ステップS204の処理において肯定判定を下した場合、副ベルトコンベア30を停止する(S205)。
制御装置は、ステップS205の処理を実行した後、選択された搬送先に飲食物が到着したか否かを判定する(S206)。制御装置は、搬送先に飲食物が到着したか否かの判定を、例えば、搬送先付近に設置したセンサの検知結果に基づいて判定してもよいし、搬送先毎に予め設定された搬送開始からの経過時間、ベルトコンベアのモータのステップ数等に基づいて判定してもよい。制御装置は、ステップS206の処理で肯定判定を下した場合、主ベルトコンベア20を停止する(S207)。例えば、主ベルトコンベア20Lが作動している状態であれば、主ベルトコンベア20Lを停止する。また、例えば、主ベルトコンベア20Rが作動している状態であれば、主ベルトコンベア20Rを停止する。また、例えば、主ベルトコンベア20L,20Rが作動している状態であれば、主ベルトコンベア20L,20Rを停止する。
図8は、搬送時の状態を示した第1の図である。また、図9は、搬送時の状態を示した第2の図である。例えば、図8に示すように、副ベルトコンベア30Rに皿4が2枚置かれた状態でボタンBR1~BR3の何れかが押されると、図9に示すように、ゲートG1Rが開いて副ベルトコンベア30Rと主ベルトコンベア20Rが起動し、指定された搬送先へ向かって皿4が移動する。副ベルトコンベア30Rに載っていた全ての皿4が主ベルトコンベア20Rに載れば、副ベルトコンベア30Rは停止状態になるため、厨房2のスタッフは、次に搬送したい飲食物を副ベルトコンベア30Rへ載せることができる。また、皿4が指定の搬送先へ到着すると、主ベルトコンベア20Rが停止する。
図10は、搬送時の状態を示した第3の図である。また、図11は、搬送時の状態を示した第4の図である。また、図12は、搬送時の状態を示した第5の図である。例えば、図10に示すように、持ち帰り用の飲食物を載せたトレイ5が副ベルトコンベア30Lと副ベルトコンベア30Rの両方に跨って置かれた状態でボタンBEが押されると、図11に示すように、ゲートG1L,G1Rが開いて副ベルトコンベア30L,30Rと主ベルトコンベア20L,20Rが起動し、指定された搬送先である昇降装置40へ向かってトレイ5が移動する。そして、トレイ5が部材P3L,P3Rに接触すると、ゲートG2L,G2Rが開く。副ベルトコンベア30L,30Rに載っていたトレイ5が主ベルトコンベア20L,20Rに載れば、副ベルトコンベア30L,30Rは停止状態になるため、厨房2のスタッフは、次に搬送したい飲食物を副ベルトコンベア30L,30Rへ載せることができる。また、図12に示すように、トレイ5が昇降装置40へ到着すると、主ベルトコンベア20L,20Rが停止する。
図13は、昇降装置40の昇降動作を示した図である。図13(A)に示すように、持ち帰り用の飲食物を載せたトレイ5が副ベルトコンベア30Lと副ベルトコンベア30Rの両方に跨って置かれた状態でボタンBEが押されると、副ベルトコンベア30L,30Rと主ベルトコンベア20L,20Rが起動し、図13(B)に示すように、トレイ5が昇降装置40へ向かって移動する。そして、図13(C)に示すように、トレイ5が昇降装置40へ到着すると、昇降装置40が上昇動作を開始する。そして、図13(D)に示すように、トレイ5が昇降装置40の上限位置に達すると、昇降装置40は停止する。そして、図13(E)に示すように、トレイ5が昇降装置40から取り除かれたことが接触センサ42によって検知されると、昇降装置40は下降動作を開始し、下限位置で停止する。
注文飲食物搬送装置10の制御装置によって実現される主要な動作内容は、以上に説明した通りである。上記注文飲食物搬送装置10であれば、主ベルトコンベア20沿いに設けられた客席3のみならず、主ベルトコンベア20の終端(本願でいう「所定箇所」の一例である)にある昇降装置40を飲食物の搬送先として指定することができる。よって、例えば、昇降装置40が飲食店の出入り口付近にあれば、飲食物の持ち帰りを希望する客に持ち帰り用の飲食物を提供する場合に、持ち帰り用の飲食物を注文飲食物搬送装置10で飲食店の出入り口付近に搬送することができる。よって、持ち帰り用の飲食物を用意する厨房2が飲食店の出入口から離れているような場合であっても、上記実施形態の注文飲食物搬送装置10であれば、厨房2で用意した持ち帰り用の飲食物を店の出入口付近へ運搬するための工数を抑制できる。このような効果は、店舗の大型化に比例して著しくなる。
また、上記実施形態の注文飲食物搬送装置10では、トレイ5が昇降装置40へ搬送されると、昇降装置40が上昇動作を行う。昇降装置40が上昇動作を行うと、突き上げ部材41や接触センサ42,43がトレイ5の下面に接触してトレイ5が突き上げられ、トレイ5が主ベルトコンベア20L,20Rから離れる。よって、トレイ5が昇降装置40にある状態であっても、主ベルトコンベア20L,20Rは、他の飲食物を搬送するために再び作動することができる。また、トレイ5が主ベルトコンベア20L,20Rから離されるため、センサS3L,S3Rのセンサ光は、昇降装置40にあるトレイ5に遮られない。よって、トレイ5が昇降装置40にある状態であっても、注文飲食物搬送装置10の制御装置は、主ベルトコンベア20L,20R上にある飲食物の有無をセンサS3L,S3Rで検知可能である。したがって、注文飲食物搬送装置10では、トレイ5が昇降装置40にある状態であっても、飲食物を何れかの客席3へ搬送可能である。
なお、注文飲食物搬送装置10の制御装置は、飲食物の皿1が搬送先に到着すると、搬送先付近にある端末に飲食物の到着を周囲へ報知させてもよい。この場合、搬送先が客席3であれば当該客席3の注文端末が飲食物の到着を報知し、搬送先が昇降装置40であれば飲食客が出入する出入口付近に設けられた精算機付近の注文端末または当該精算機が飲食物の到着を報知することになる。
また、注文飲食物搬送装置10は、主ベルトコンベア20と副ベルトコンベア30の2種類のベルトコンベアを有しておらず、厨房2から客席3へ至る1本のベルトコンベアが平行に2つ設けられるものであってもよい。
また、注文飲食物搬送装置10は、厨房2から客席3へ搬送路が2つ平行に設けられることで、皿4とトレイ5の両方を搬送可能にする形態に限定されるものでなく、例えば、トレイ5を載せることが可能な程度の横幅を有する幅広のベルトで1つの搬送路を形成するものであってもよい。また、昇降装置40へ搬送する飲食物が皿4と同程度の大きさである場合には、注文飲食物搬送装置10は、例えば、皿4を載せることが可能な程度の横
幅を有するベルトで1つの搬送路を形成するものであってもよい。
また、注文飲食物搬送装置10は、昇降装置40を主ベルトコンベア20の終端ではなく途中に備えるものであってもよい。例えば、飲食店の出入口が主ベルトコンベア20の搬送路の中間地点付近にあるような場合には、昇降装置40が当該中間地点にあると、持ち帰り用の飲食物のトレイ5の搬送に便利である。
2・・厨房
3・・客席
4・・皿
5・・トレイ
10・・注文飲食物搬送装置
20・・主ベルトコンベア
30・・副ベルトコンベア
40・・昇降装置

Claims (4)

  1. 飲食店の厨房側から客席フロア側へ至る搬送路を形成し、前記搬送路沿いに複数の客席が配置されるベルトコンベアと、
    前記搬送路の終端または途中の所定箇所に設置されており、前記ベルトコンベアに載っている飲食物を上げて前記ベルトコンベアから離す昇降装置と、
    前記ベルトコンベアと前記昇降装置を制御する制御手段と、を備え、
    前記制御手段は、
    前記ベルトコンベアに載置された飲食物の搬送先として、前記複数の客席のうちの何れかが指定されている場合には、搬送先として指定された客席に飲食物が到着したタイミングで前記ベルトコンベアを停止し、
    前記ベルトコンベアに載置された飲食物の搬送先として、前記所定箇所が指定されている場合には、搬送先として指定された前記所定箇所に飲食物が到着したタイミングで前記ベルトコンベアを停止すると共に前記昇降装置で飲食物を上げ
    前記ベルトコンベアには、前記ベルトコンベアに載っている飲食物の有無を、前記搬送路の長手方向に向けて発光するセンサ光で検知する光学センサが併設されており、
    前記昇降装置は、前記ベルトコンベアに載っている飲食物を、前記センサ光の光軸よりも上へ上げる、
    注文飲食物搬送装置。
  2. 前記制御手段は、前記所定箇所に搬送した第1の飲食物が前記昇降装置に上げられて前記ベルトコンベアから離れている状態で、前記第1の飲食物とは異なる第2の飲食物を搬送させる搬送開始操作が行われると前記ベルトコンベアを作動させ、前記第2の飲食物の搬送を開始する、
    請求項1に記載の注文飲食物搬送装置。
  3. 前記客席フロア内に設置されており、前記昇降装置に飲食物が到着したことを報知する報知手段を更に備える、
    請求項1又は2に記載の注文飲食物搬送装置。
  4. 前記ベルトコンベアは、並列に複数設けられており、
    前記昇降装置は、前記複数のベルトコンベアに跨って載る飲食物を下から突き上げて前
    記複数のベルトコンベアから離し、
    前記制御手段は、前記複数のベルトコンベアに跨って載る飲食物がある場合には前記所定箇所を搬送先として指定する操作を受け付けると共に前記複数のベルトコンベアの動きを同期させ、前記複数のベルトコンベアに跨って載る飲食物がない場合には前記所定箇所を搬送先として指定する操作を拒否すると共に前記複数のベルトコンベアの動きを非同期にする、
    請求項1からの何れか一項に記載の注文飲食物搬送装置。
JP2019020036A 2019-02-06 2019-02-06 注文飲食物搬送装置 Active JP7253232B2 (ja)

Priority Applications (7)

Application Number Priority Date Filing Date Title
JP2019020036A JP7253232B2 (ja) 2019-02-06 2019-02-06 注文飲食物搬送装置
CN201980001907.0A CN111801032B (zh) 2019-02-06 2019-06-21 定制饮食输送装置
SG11201909628YA SG11201909628YA (en) 2019-02-06 2019-06-21 Ordered food and drink conveying apparatus
US16/499,896 US11134803B2 (en) 2019-02-06 2019-06-21 Ordered food and drink conveying apparatus
PCT/JP2019/024780 WO2020161933A1 (ja) 2019-02-06 2019-06-21 注文飲食物搬送装置
PH1/2021/551852A PH12021551852A1 (en) 2019-02-06 2019-06-21 Ordered food and drink conveying apparatus
TW108136688A TWI735970B (zh) 2019-02-06 2019-10-09 定制飲食輸送裝置

Applications Claiming Priority (1)

Application Number Priority Date Filing Date Title
JP2019020036A JP7253232B2 (ja) 2019-02-06 2019-02-06 注文飲食物搬送装置

Publications (2)

Publication Number Publication Date
JP2020124440A JP2020124440A (ja) 2020-08-20
JP7253232B2 true JP7253232B2 (ja) 2023-04-06

Family

ID=71947416

Family Applications (1)

Application Number Title Priority Date Filing Date
JP2019020036A Active JP7253232B2 (ja) 2019-02-06 2019-02-06 注文飲食物搬送装置

Country Status (7)

Country Link
US (1) US11134803B2 (ja)
JP (1) JP7253232B2 (ja)
CN (1) CN111801032B (ja)
PH (1) PH12021551852A1 (ja)
SG (1) SG11201909628YA (ja)
TW (1) TWI735970B (ja)
WO (1) WO2020161933A1 (ja)

Families Citing this family (1)

* Cited by examiner, † Cited by third party
Publication number Priority date Publication date Assignee Title
JP7801849B2 (ja) * 2021-04-16 2026-01-19 株式会社 ゼンショーホールディングス 寿司提供装置、寿司提供システム、寿司提供方法及び寿司提供プログラム

Citations (4)

* Cited by examiner, † Cited by third party
Publication number Priority date Publication date Assignee Title
JP2007167475A (ja) 2005-12-26 2007-07-05 Twins Computer Co Ltd 飲食物提供システム
JP2010012153A (ja) 2008-07-07 2010-01-21 Yamamoto Kogyo Kk 飲食店システム
JP2016152904A (ja) 2015-02-13 2016-08-25 株式会社石野製作所 注文飲食物搬送装置
WO2018037692A1 (ja) 2016-08-25 2018-03-01 株式会社石野製作所 注文飲食物搬送装置

Family Cites Families (13)

* Cited by examiner, † Cited by third party
Publication number Priority date Publication date Assignee Title
US3578148A (en) * 1969-01-27 1971-05-11 Charles P Pinckard Tray and conveyor assembly
US4609092A (en) * 1984-02-29 1986-09-02 Ishino Seisakujo Co., Ltd. Circulative catering table
JP3066894B2 (ja) * 1998-02-13 2000-07-17 株式会社くらコーポレーション 飲食店用飲食物搬送装置
JP2004313501A (ja) * 2003-04-17 2004-11-11 System Create:Kk 飲食物の循環搬送装置
JP4052586B2 (ja) 2003-12-24 2008-02-27 株式会社石野製作所 注文飲食物を搬送する注文搬送装置
DE102006022144A1 (de) * 2006-05-11 2007-11-15 Airbus Deutschland Gmbh Sortiervorrichtung und Verfahren zum Sortieren von Transportgütern für ein Flugzeug
JP4099210B1 (ja) * 2007-09-10 2008-06-11 株式会社石野製作所 搬送装置
JP5070257B2 (ja) * 2009-07-31 2012-11-07 株式会社石野製作所 飲食物搬送装置
JP5694099B2 (ja) 2011-09-12 2015-04-01 株式会社石野製作所 遠隔皿取り出し装置
EP3081512A1 (en) * 2013-12-13 2016-10-19 Ping Li Dish conveying device used in catering store
CA3026930C (en) * 2015-02-13 2021-07-20 Ishino Seisakusho Co., Ltd. Ordered food and drink conveying apparatus and food and drink conveying apparatus
JP6669353B2 (ja) 2016-02-12 2020-03-18 株式会社石野製作所 注文飲食物搬送装置
CN207258731U (zh) 2017-09-11 2018-04-20 李簦芸 一种餐馆系统

Patent Citations (4)

* Cited by examiner, † Cited by third party
Publication number Priority date Publication date Assignee Title
JP2007167475A (ja) 2005-12-26 2007-07-05 Twins Computer Co Ltd 飲食物提供システム
JP2010012153A (ja) 2008-07-07 2010-01-21 Yamamoto Kogyo Kk 飲食店システム
JP2016152904A (ja) 2015-02-13 2016-08-25 株式会社石野製作所 注文飲食物搬送装置
WO2018037692A1 (ja) 2016-08-25 2018-03-01 株式会社石野製作所 注文飲食物搬送装置

Also Published As

Publication number Publication date
CN111801032A (zh) 2020-10-20
CN111801032B (zh) 2022-04-15
US11134803B2 (en) 2021-10-05
TWI735970B (zh) 2021-08-11
SG11201909628YA (en) 2020-09-29
US20210177179A1 (en) 2021-06-17
TW202029916A (zh) 2020-08-16
PH12021551852A1 (en) 2022-05-23
JP2020124440A (ja) 2020-08-20
WO2020161933A1 (ja) 2020-08-13

Similar Documents

Publication Publication Date Title
CN106061334B (zh) 定制饮食输送装置
CN108601470B (zh) 定制饮食输送装置
JP6669353B2 (ja) 注文飲食物搬送装置
JP7253232B2 (ja) 注文飲食物搬送装置
JP7357917B2 (ja) 飲食物搬送装置
JP7201996B2 (ja) 注文飲食物搬送装置
JP7312426B2 (ja) 注文飲食物搬送装置
HK40035016A (en) Ordered food/drink conveyor
HK40035016B (zh) 定制饮食输送装置
JP6752487B2 (ja) 注文飲食物搬送装置
JP7103596B2 (ja) 飲食物搬送装置
JP2024142190A (ja) 注文飲食物搬送装置
JP2021137186A (ja) 注文飲食物搬送装置
JP2020110482A (ja) 注文飲食物搬送装置
JP7756426B2 (ja) 飲食物搬送装置
JP2024027245A (ja) 注文飲食物搬送装置
JP2023146241A (ja) 飲食物取扱い装置
HK40075033B (zh) 定制饮食输送装置
HK1260154B (en) Ordered food and beverage delivery device
HK1227653B (en) Ordered drink/food transport device
HK1227653A1 (en) Ordered drink/food transport device

Legal Events

Date Code Title Description
A621 Written request for application examination

Free format text: JAPANESE INTERMEDIATE CODE: A621

Effective date: 20220111

A131 Notification of reasons for refusal

Free format text: JAPANESE INTERMEDIATE CODE: A131

Effective date: 20221213

A521 Request for written amendment filed

Free format text: JAPANESE INTERMEDIATE CODE: A523

Effective date: 20230207

TRDD Decision of grant or rejection written
A01 Written decision to grant a patent or to grant a registration (utility model)

Free format text: JAPANESE INTERMEDIATE CODE: A01

Effective date: 20230221

A61 First payment of annual fees (during grant procedure)

Free format text: JAPANESE INTERMEDIATE CODE: A61

Effective date: 20230317

R150 Certificate of patent or registration of utility model

Ref document number: 7253232

Country of ref document: JP

Free format text: JAPANESE INTERMEDIATE CODE: R150