JP6996487B2 - コネクタ - Google Patents

コネクタ Download PDF

Info

Publication number
JP6996487B2
JP6996487B2 JP2018240689A JP2018240689A JP6996487B2 JP 6996487 B2 JP6996487 B2 JP 6996487B2 JP 2018240689 A JP2018240689 A JP 2018240689A JP 2018240689 A JP2018240689 A JP 2018240689A JP 6996487 B2 JP6996487 B2 JP 6996487B2
Authority
JP
Japan
Prior art keywords
housing
fitting
protective
female
retainer
Prior art date
Legal status (The legal status is an assumption and is not a legal conclusion. Google has not performed a legal analysis and makes no representation as to the accuracy of the status listed.)
Active
Application number
JP2018240689A
Other languages
English (en)
Other versions
JP2020102390A (ja
Inventor
哲矢 宮村
Current Assignee (The listed assignees may be inaccurate. Google has not performed a legal analysis and makes no representation or warranty as to the accuracy of the list.)
Sumitomo Wiring Systems Ltd
AutoNetworks Technologies Ltd
Sumitomo Electric Industries Ltd
Original Assignee
Sumitomo Wiring Systems Ltd
AutoNetworks Technologies Ltd
Sumitomo Electric Industries Ltd
Priority date (The priority date is an assumption and is not a legal conclusion. Google has not performed a legal analysis and makes no representation as to the accuracy of the date listed.)
Filing date
Publication date
Application filed by Sumitomo Wiring Systems Ltd, AutoNetworks Technologies Ltd, Sumitomo Electric Industries Ltd filed Critical Sumitomo Wiring Systems Ltd
Priority to JP2018240689A priority Critical patent/JP6996487B2/ja
Priority to US17/413,430 priority patent/US20220059962A1/en
Priority to PCT/JP2019/047871 priority patent/WO2020137453A1/ja
Priority to CN201980085419.2A priority patent/CN113228426B/zh
Publication of JP2020102390A publication Critical patent/JP2020102390A/ja
Application granted granted Critical
Publication of JP6996487B2 publication Critical patent/JP6996487B2/ja
Active legal-status Critical Current
Anticipated expiration legal-status Critical

Links

Images

Classifications

    • HELECTRICITY
    • H01ELECTRIC ELEMENTS
    • H01RELECTRICALLY-CONDUCTIVE CONNECTIONS; STRUCTURAL ASSOCIATIONS OF A PLURALITY OF MUTUALLY-INSULATED ELECTRICAL CONNECTING ELEMENTS; COUPLING DEVICES; CURRENT COLLECTORS
    • H01R13/00Details of coupling devices of the kinds covered by groups H01R12/70 or H01R24/00 - H01R33/00
    • H01R13/40Securing contact members in or to a base or case; Insulating of contact members
    • H01R13/42Securing in a demountable manner
    • H01R13/436Securing a plurality of contact members by one locking piece or operation
    • H01R13/4367Insertion of locking piece from the rear
    • HELECTRICITY
    • H01ELECTRIC ELEMENTS
    • H01RELECTRICALLY-CONDUCTIVE CONNECTIONS; STRUCTURAL ASSOCIATIONS OF A PLURALITY OF MUTUALLY-INSULATED ELECTRICAL CONNECTING ELEMENTS; COUPLING DEVICES; CURRENT COLLECTORS
    • H01R13/00Details of coupling devices of the kinds covered by groups H01R12/70 or H01R24/00 - H01R33/00
    • H01R13/62Means for facilitating engagement or disengagement of coupling parts or for holding them in engagement
    • H01R13/627Snap or like fastening
    • H01R13/6271Latching means integral with the housing
    • H01R13/6272Latching means integral with the housing comprising a single latching arm
    • HELECTRICITY
    • H01ELECTRIC ELEMENTS
    • H01RELECTRICALLY-CONDUCTIVE CONNECTIONS; STRUCTURAL ASSOCIATIONS OF A PLURALITY OF MUTUALLY-INSULATED ELECTRICAL CONNECTING ELEMENTS; COUPLING DEVICES; CURRENT COLLECTORS
    • H01R12/00Structural associations of a plurality of mutually-insulated electrical connecting elements, specially adapted for printed circuits, e.g. printed circuit boards [PCB], flat or ribbon cables, or like generally planar structures, e.g. terminal strips, terminal blocks; Coupling devices specially adapted for printed circuits, flat or ribbon cables, or like generally planar structures; Terminals specially adapted for contact with, or insertion into, printed circuits, flat or ribbon cables, or like generally planar structures
    • H01R12/70Coupling devices
    • H01R12/71Coupling devices for rigid printing circuits or like structures
    • H01R12/712Coupling devices for rigid printing circuits or like structures co-operating with the surface of the printed circuit or with a coupling device exclusively provided on the surface of the printed circuit
    • H01R12/716Coupling device provided on the PCB

Landscapes

  • Connector Housings Or Holding Contact Members (AREA)
  • Details Of Connecting Devices For Male And Female Coupling (AREA)

Description

本発明は、コネクタに関するものである。
特許文献1には、ハウジングと端子金具とリテーナとを備えたコネクタが開示されている。端子金具は、ハウジングの後方からハウジング内に挿入される。リテーナは、端子金具を挿入した後にハウジングの後端部に組み付けられる。リテーナを組み付けた状態では、リテーナの抜止め部が端子金具に対して後方から当たることにより、端子金具が抜止め状態に保持される。
特開平11-67318号公報
近年、コネクタの小型化が進んでいるが、端子金具とリテーナの抜止め部が小型化されると、端子金具に対する抜止め部の位置が僅かにずれただけで、リテーナによる抜止め機能が低下する虞がある。かかる問題は、端子金具を抜止めするためのリテーナに限らず、ハウジングに各種機能部材を取り付けるものにおいても、同様に生じる課題である。
本発明は上記のような事情に基づいて完成されたものであって、ハウジングに対して機能部材を適正な形態で取り付けることができるようにすることを目的とする。
本発明は、
端子金具が取り付けられるハウジングと、
前記ハウジングに形成され、後端部がロック解除用の操作部となっているロックアームと、
前記ハウジングに形成され、前記操作部を覆う保護部と、
前記ハウジングの後端部に取り付けられる機能部材と、
前記保護部に形成された受け部と、
前記機能部材に形成され、前記機能部材が前記ハウジングに対して適正な形態で取り付けられたときに前記受け部に嵌合可能な嵌込部とを備えていることを特徴とする。
この構成によれば、機能部材がハウジングに対して適正に取り付けられると、嵌込部と受け部が嵌合することにより、機能部材がハウジングに対して位置決めされる。これにより、機能部材をハウジングに対して適正な取付け状態に保持することができる。
実施例1の雌側コネクタを雄側コネクタに嵌合した状態をあらわす背面図 雌側コネクタを雄側コネクタに嵌合した状態をあらわす平面図 図1のA-A線断面図 雌側ハウジングの正面図 雌側ハウジングの平面図 リテーナの正面図 リテーナの平面図 図6のB-B線断面図 実施例2の雌側コネクタを雄側コネクタに嵌合した状態をあらわす平面図 図9のC-C線相当断面図 雌側ハウジングの背面図 雌側ハウジングの平面図 リテーナの平面図 実施例3の雌側コネクタを雄側コネクタに嵌合した状態をあらわす背面図 雌側コネクタを雄側コネクタに嵌合した状態をあらわす平面図 図14のD-D線相当断面図 雌側ハウジングの平面図 雌側ハウジングの側面図 リテーナの平面図 図19のE-E線断面図
本発明は、前記機能部材に形成され、前記操作部のうち前記保護部で覆われない領域を覆う覆い部を備えていてもよい。この構成によれば、操作部は、保護部だけでなく覆い部によっても覆われるので、操作部を異物の干渉から保護することができる。
本発明は、前記嵌込部が前記覆い部に一体に形成されていてもよい。この構成によれば、受け部と嵌込部との嵌合により、保護部に対する覆い部の位置ずれを防止することができる。
本発明は、前記保護部が、前記ハウジングの外面から枠状に延出して前記操作部を囲む形態であり、前記受け部が、前記保護部のうち前記操作部との対向面を凹ませた形態であり、前記嵌込部が、前記機能部材から突出して前記保護部の内側に潜り込んだ状態で前記受け部に嵌合するようになっていてもよい。この構成によれば、受け部と嵌込部の嵌合部分が保護部の内側に位置しているので、受け部と嵌込部との嵌合部分に異物が干渉する虞がない。
本発明は、一対の前記保護部が、前記ハウジングの外面から片持ち状に延出して前記操作部を側方から挟むように配され、前記一対の保護部の延出端部が、前記受け部として機能するようになっており、前記嵌込部が、前記一対の受け部の間に嵌入されるようになっていてもよい。この構成によれば、受け部と嵌込部の嵌合状態を目視によって確認することができる。
本発明は、前記機能部材が前後方向に貫通した形態の開口部を有し、前記開口部の開口縁部が前記嵌込部となっており、前記保護部が、前記ハウジングの外面から枠状に延出して前記操作部を囲む形態であり、前記受け部が、前記保護部から片持ち状に突出して前記開口部内に収容された状態で前記嵌込部と嵌合するようになっていてもよい。この構成によれば、受け部と嵌込部の嵌合部分が開口部の内側に位置しているので、受け部と嵌込部との嵌合部分に異物が干渉する虞がない。
本発明は、前記端子金具が前記ハウジングに対して後方から挿入されるようになっており、前記機能部材が、前記ハウジングの後端部に取り付けられることで、前記端子金具を抜止め状態に保持するリテーナであってもよい。
<実施例1>
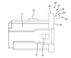
以下、本発明を具体化した実施例1を図1~図8を参照して説明する。尚、以下の説明において、前後の方向については、図2,3,5,7,8における左方を前方と定義する。上下の方向については、図1,3,4,6,8にあらわれる向きを、そのまま上方、下方と定義する。
本実施例1の雌側コネクタFa(請求項に記載のコネクタ)は、合成樹脂製の雌側ハウジング10(請求項に記載のハウジング)と、一対の雌端子金具24(請求項に記載の端子金具)と、合成樹脂製のリテーナ30(請求項に記載の機能部材)とを備えて構成されている。
図3~5に示すように、雌側ハウジング10は、端子収容部11と、ロックアーム15と、保護部20とを一体に形成した単一部材である。端子収容部11は全体としてブロック状をなし、端子収容部11内には左右一対の端子収容室12が左右に並んで形成されている。端子収容室12の下面には、上下方向へ弾性変形可能なランス(図示省略)が形成されている。端子収容室12の後端は、端子収容部11(雌側ハウジング10)の後端面において端子挿入口として開口されている。図4に示すように、端子収容部11の左右両外側面には、端子収容部11の後端面に開放された左右一対のガイド凹部13が形成されている。一対のガイド凹部13には、左右一対の係止突起14が形成されている。
図3に示すように、ロックアーム15は、端子収容部11の上面(外面)に沿うように配されている。ロックアーム15は、端子収容部11の上面に沿って前後方向に細長く延びたアーム本体部16と、アーム本体部16の前端部から下方へ延出して端子収容部11の上面に連なる支持部17と、アーム本体部16の後端部に形成したロック解除用の操作部18とを備えて構成されている。
ロックアーム15は支持部17を支点として上下方向へ弾性変形し得るようになっている。アーム本体部16の上面のうち操作部18よりも前方の位置には、ロック突起19が形成されている。操作部18は、アーム本体部16の後端を後方へ延長した形態である。操作部18に対し下向きの外力が作用すると、ロックアーム15がロック解除方向へ変位するようになっている。
保護部20は、操作部18を異物の干渉から保護するための部位である。図3,4に示すように、保護部20は、左右一対の側面側保護部21と上面側保護部22とにより枠状に構成されている。左右一対の側面側保護部21は、端子収容部11の上面における後端部から上方(ロックアーム15側)へ立ち上がり、操作部18の左右両側面を覆うように配されている。上面側保護部22は、左右一対の側面側保護部21の上端部同士を連結した形態であり、操作部18の上面を覆うように配されている。保護部20は、操作部18に対する上方からの異物の干渉と、操作部18に対する左右両側方からの異物の干渉のみを防止する。保護部20及び雌側ハウジング10には、操作部18を後方から覆う部位は形成されていない。
図3,4に示すように、保護部20には、受け部23が一体に形成されている。受け部23は、上面側保護部22の左右方向における中央部、即ち左右方向において操作部18と対応する領域に配されている。受け部23は、上面側保護部22のうち操作部18の上面と対向する領域の一部を凹ませた形態である。詳細には、受け部23は、上面側保護部22の下面における前縁部と、上面側保護部22の前面における下端縁部とを溝状に凹ませた形態である。換言すると、受け部23は、上面側保護部22の下方及び上面側保護部22の前方に開放された形態である。受け部23は、操作部18の上面に対して上下方向に対向する位置関係となっている。
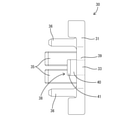
図3に示すように、雌端子金具24は、前端部に角筒部25を有し、後端部にはオープンバレル状の圧着部26を有している。角筒部25内には弾性接触片(図示省略)が収容されている。角筒部25の下面には突起状の一次係止部(図示省略)が形成されている。角筒部25の後部は、二次係止部27として機能する。圧着部26には、被覆電線28が導通可能に圧着されている。
雌端子金具24は、雌側ハウジング10の後方から端子収容室12内に挿入される。正規挿入された雌端子金具24は、図示は省略するが、一次係止部をランスに引っ掛ける一次係止構造により抜止め状態に保持される。雌端子金具24に固着された被覆電線28は、雌側ハウジング10の後方へ導出されている。
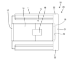
図6~8に示すように、リテーナ30は、壁部31と、左右一対の抜止め突起35と、左右一対の弾性係止片36とを有する単一部品である。壁部31は、壁厚方向を前後方向(雌側ハウジング10に対する雌端子金具24の着脱方向と平行な方向)に向けた略平板状をなす。雌側ハウジング10にリテーナ30を取り付けた状態で、雌側ハウジング10に対する雌端子金具24の取付け方向と同じ方向に見ることを、背面視と定義する。
背面視において、壁部31は、雌側ハウジング10の後面のうち少なくとも保護部20の全体と操作部18の一部を覆う形状及び大きさを有している。壁部31には、背面視において複数の端子収容室12と対応する領域を切り欠いた形態の逃がし凹部32が形成されている。逃がし凹部32は、壁部31の下端縁に開口されている。
壁部31の一部は、覆い部33としての機能を有している。即ち、壁部31のうち左右方向における中央部であり、上下方向においては中央高さより上方の部位が、覆い部33を構成している。換言すると、壁部31のうち背面視において保護部20の全体と対応する領域と、壁部31のうち背面視において操作部18の左右両端部と対応する領域が、覆い部33となっている。
図1,3,6,8に示すように、壁部31には、前後方向(壁部31の厚さ方向)に貫通した形態の操作孔34(開口部)が形成されている。操作孔34は、背面視において操作部18の左右方向中央部のみと対応する領域に亘って方形に開口している。操作孔34の開口領域における上端縁は、ロックアーム15が弾性撓みしていない自由状態であるときに、操作部18の上面よりも上方の位置であり、且つ上面側保護部22の下面よりも下方の位置に設定されている。操作孔34の開口領域における下端縁は、端子収容部11の上面とほぼ同じ高さに位置する。
左右一対の抜止め突起35は、壁部31の前面(雌側ハウジング10の後面と対向する面)から前方へ片持ち状に突出した形態である。一対の抜止め突起35は、上下方向及び左右方向(背面視)において、雌端子金具24の二次係止部27と対応する位置に配されている。左右一対の弾性係止片36は、壁部31の左右両側縁から前方へ片持ち状に延出した形態である。弾性係止片36には、左右方向に貫通した形態の係止孔37が形成されている。弾性係止片36は、左右方向へ弾性変形し得るようになっている。
図3,6~8に示すように、リテーナ30には嵌込部38が一体に形成されている。嵌込部38は、壁部31の前面から前方へ片持ち状に延出した形態である。嵌込部38の左右方向における形成範囲は、受け部23と対応する領域であり、リテーナ30(壁部31)の左右方向中央部である。嵌込部38の上下方向における形成範囲は、受け部23と概ね対応する領域である。
嵌込部38は、壁部31の前面のうち操作孔34の開口縁の上縁部39から前方へ片持ち状に突出した平板状の基部40と、基部40の突出端縁から上方へ突出した突起部41とから構成されている。ロックアーム15の弾性変位方向、及び雌側ハウジング10に対するリテーナ30の取付け方向の両方向に対して直交する方向から見た形状を、側面視形状と定義する。嵌込部38の側面視形状は、略L字形に屈曲した形状である。リテーナ30を雌側ハウジング10に適正に取り付けた状態では、嵌込部38の突起部41が雌側ハウジング10の受け部23に嵌合される。
リテーナ30は、雌側ハウジング10に雌端子金具24を挿入した後、雌側ハウジング10(端子収容部11)の後端部に組み付けられる。組み付ける際には、被覆電線28のうち雌側ハウジング10の後方へ導出されている領域に対し上から逃がし凹部32を嵌め込み、弾性係止片36をガイド凹部13に嵌合させながら、リテーナ30の壁部31を後方から雌側ハウジング10に接近させる。壁部31が端子収容部11の後端に接近するのに伴い、抜止め突起35が端子収容室12内に挿入される。
リテーナ30が正規の組付け状態に至ると、左右両弾性係止片36の係止孔37が一対の係止突起14に係止することにより、リテーナ30が雌側ハウジング10に対して組付け状態にロックされる。また、抜止め突起35が雌端子金具24の二次係止部27に対して後方から当接する状態、又は後方から接近して対向する状態となるので、雌端子金具24は、ランスによる一次係止作用とリテーナ30による二次係止作用とによって確実に抜止め状態に保持される。
図3に示すように、リテーナ30が雌側ハウジング10に対して適正に取り付けられると、嵌込部38の突起部41が雌側ハウジング10の受け部23に嵌合される。受け部23に対する嵌込部38の嵌合により、雌側ハウジング10に対するリテーナ30の後方への相対変位と、雌側ハウジング10に対するリテーナ30の左右方向への相対変位とが規制される。これにより、リテーナ30の壁部31が端子収容部11に対して適正な位置関係に保持されるので、壁部31に形成されている抜止め突起35と端子収容部11に収容されている雌端子金具24の二次係止部27も、適正な位置関係に保たれる。したがって、リテーナ30によって雌端子金具24を抜止めする機能の信頼性に優れている。
雌側ハウジング10に対するリテーナ30の取付け方向、及び左右一対の弾性係止片36の対向方向の両方向に対して直交する方向から見た状態を、平面視と定義する。平面視において、リテーナ30が雌側ハウジング10に対して斜め姿勢(即ち、不正な形態)で取り付けられた場合には、左右一対の弾性係止片36のうち一方の弾性係止片36の係止孔37が雌側ハウジング10の係止突起14に係止し、他方の弾性係止片36の係止孔37は係止突起14に係止しない状態となる。この場合、嵌込部38の突起部41が受け部23よりも後方の位置に留まり、嵌込部38が受け部23内に嵌合できない。そのため、リテーナ30が雌側ハウジング10に対して相対変位し得る状態となり、雌側ハウジング10に対するリテーナ30の位置が安定しない。
また、リテーナ30を適正に雌側ハウジング10に組み付けた状態では、覆い部33がロックアーム15の操作部18を後方から覆う状態となる。したがって、後方から異物が操作部18に接近しても、その異物が操作部18に接触する虞はない。また、覆い部33は、保護部20と前後に接近して並ぶように配置されている。したがって、覆い部33の前面と保護部20の後面との隙間から異物が侵入する虞はない。
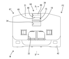
図3に示すように、雌側コネクタFaは雄側コネクタMと嵌合可能である。雄側コネクタMは、回路基板(図示省略)に取り付けられる基板用コネクタとしての機能を有する。雄側コネクタMは、雄側ハウジング42と、雄側ハウジング42に取り付けた一対の雄端子金具43とを備えて構成されている。雄側ハウジング42は、壁状の端子貫通部44と、端子貫通部44の外周縁から正面側(雌側コネクタFa側)へ角筒状に突出したフード部45とを有する。フード部45を構成する上面部にはロック孔46が形成されている。雄端子金具43は端子貫通部44に貫通され、雄端子金具43の先端のタブ(図示省略)はフード部45内に収容され、雄端子金具43の基板接続部47は回路基板(図示省略)に半田付けにより固着されている。
雌側コネクタFaを雄側コネクタMに嵌合する過程では、ロック突起19がフード部45の上面部と干渉することにより、ロックアーム15が下方へ弾性撓みする。そして、両コネクタFa,Mが正規の嵌合状態に至ると、ロックアーム15が弾性復帰してロック突起19をロック孔46に係止させる。このロック突起19とロック孔46との係止により、両コネクタFa,Mが嵌合状態にロックされる。
もし、作業者が指で操作部18を摘んだ状態で両コネクタFa,Mの嵌合作業を行い、作業後に操作部18から指を離した場合、ロックアーム15が勢い良く弾性復帰することがないので、アーム本体部16はフード部45の上面部に衝突しない。したがって、衝撃音が発生せず、衝突に起因する衝撃(クリック感)が雌側コネクタFaを摘んでいる作業者に伝わることもない。そのため、作業者は、両コネクタFa,Mが正規嵌合されたか否かを判断することができない。
この対策として、本実施例1では、リテーナ30に操作部18を後方から覆う覆い部33を形成した。これにより、雌側コネクタFaを雄側コネクタMのフード部45に押し込む際に、リテーナ30の壁部31を後方から指で押しても、その指が操作部18に接触する虞はない。したがって、両コネクタFa,Mが正規嵌合に至ったときには、ロックアーム15が、必ず、ロックアーム15の弾性復元力により上方へ弾性復帰し、アーム本体部16の上面がフード部45の上面部に確実に衝突する。この衝突により、衝突音が発生するとともに、衝突に起因する衝撃(クリック感)が雌側コネクタFaを摘んでいる作業者に伝わる。この衝突音とクリック感により、作業者は両コネクタFa,Mが正規嵌合されたと判断できる。
嵌合状態の両コネクタFa,Mを離脱する際には、リテーナ30の後方から治具(図示省略)を操作孔34に挿通し、治具の先端を操作部18の上面に当てる。そして、治具の先端部を下方へ変位させると、ロックアーム15がロック解除方向へ弾性撓みさせられるので、ロック突起19がロック孔46から解離され、両コネクタFa,Mのロック状態が解除される。この後は、ロック解除状態を保持したまま、雌側コネクタFaをフード部45から引き抜けばよい。
本実施例1の雌側コネクタFaは、雌端子金具24が取り付けられる雌側ハウジング10と、雌側ハウジング10(端子収容部11)の後端部に取り付けられるリテーナ30とを備えて構成されている。雌側ハウジング10には、後端部がロック解除用の操作部18となっているロックアーム15が形成されている。雌側ハウジング10には、操作部18を覆う保護部20が形成されている。保護部20には受け部23が形成されている。リテーナ30には、リテーナ30が雌側ハウジング10に対して適正な形態で取り付けられたときにのみ、受け部23に嵌合される嵌込部38が形成されている。
この構成によれば、リテーナ30が雌側ハウジング10に対して適正に取り付けられると、嵌込部38が受け部23に嵌合し、受け部23と嵌込部38との嵌合により、リテーナ30が雌側ハウジング10に対して位置決めされる。これにより、リテーナ30を雌側ハウジング10に対して適正な取付け状態に保持することができる。これにより、リテーナ30は所期の機能(雌端子金具24を抜止めする機能)を適正に発揮することができる。
また、リテーナ30には、操作部18のうち保護部20で覆われない領域(操作部18の後面)を覆う覆い部33が形成されている。これにより、操作部18は、保護部20だけでなく覆い部33によっても覆われるので、操作部18を異物の干渉から保護することができる。また、嵌込部38は覆い部33に一体に形成されているので、受け部23と嵌込部38との嵌合により、保護部20に対する覆い部33の位置ずれを防止することができる。
また、保護部20は、雌側ハウジング10の外面(端子収容部11の上面)から枠状に延出して操作部18を囲む形態であり、受け部23は、保護部20のうち操作部18との対向面を凹ませた形態である。嵌込部38は、リテーナ30から前方(雌側ハウジング10に対するリテーナ30の組付け方向と同じ方向)へ突出した形態であり、保護部20の内側に潜り込んだ状態で受け部23に嵌合する。この構成によれば、受け部23と嵌込部38の嵌合部分が保護部20の内側に位置しているので、受け部23と嵌込部38との嵌合部分に異物が干渉する虞がない。
<実施例2>
次に、本発明を具体化した実施例2を図9~図13を参照して説明する。尚、以下の説明において、前後の方向については、図9,10,12,13における左方を前方と定義する。上下の方向については、図10,11にあらわれる向きを、そのまま上方、下方と定義する。
本実施例2の雌側コネクタFb(請求項に記載のコネクタ)は、雌側ハウジング50の保護部51及び受け部55と、リテーナ56(請求項に記載の機能部材)の嵌込部57を上記実施例1とは異なる構成としたものである。その他の構成については上記実施例1と同じであるため、同じ構成については、同一符号を付し、構造、作用及び効果の説明は省略する。
図11に示すように、本実施例2の保護部51は、ロックアーム15の操作部18を左右両側から挟むように一対、設けられている。各保護部51は、側面側保護部52と突起状保護部53とから構成されている。側面側保護部52は、端子収容部11の上面における後端部から上方(ロックアーム15側)へ立ち上がった形態である。突起状保護部53は、側面側保護部52の上端部から左右いずれかへ突出した形態である。左側の側面側保護部52の突起状保護部53は右方へ突出し、右側の側面側保護部52の突起状保護部53は左方へ突出している。即ち、一対の突起状保護部53は、互いに相手側の突起状保護部53に向かって突出した形態である。
左右両突起状保護部53の対向面(即ち、保護部51の延出端部)同士の間には、嵌合空間54が確保されている。嵌合空間54は、上方、下方(操作部18側)、前方及び後方へ開放されている。互いに対向する左右一対の突起状保護部53の対向面が、受け部55としての機能を発揮する。左右両受け部55は、対向方向に対して斜め方向を向いた平面である。平面視における嵌合空間54(受け部55)の形状は、左右両受け部55の対向間隔が前方に向かって次第に狭まるような等脚台形をなしている。
図9,10,13に示すように、リテーナ56には嵌込部57が一体に形成されている。嵌込部57は、壁部31の前面から前方へ片持ち状に延出した形態である。嵌込部57の左右方向における形成範囲は、受け部55(嵌合空間54)と対応する領域であり、リテーナ56(壁部31)の左右方向中央部である。嵌込部57の上下方向における形成範囲は、受け部55と概ね対応する領域である。嵌込部57は、壁部31の前面のうち操作孔34の開口縁の上縁部39から前方へ片持ち状に突出した形態である。嵌込部57の平面視形状は、一対の受け部55の間に確保された嵌合空間54と同じく等脚台形をなしている。
リテーナ56が雌側ハウジング50に対して適正に組み付けられると、図9に示すように、リテーナ56の嵌込部57が雌側ハウジング50の受け部55(嵌合空間54)に嵌合される。一対の受け部55の対向間隔は、前方(雌側ハウジング50に対するリテーナ56の組付け方向と同じ方向)に向かって次第に狭まるように変化するので、受け部55はガイド機能を発揮する。受け部55のガイド機能により、リテーナ56が、組付け過程において雌側ハウジング50に対して左右方向へ位置ずれしていても、嵌込部57の左右いずれかの側面が受け部55に摺接することにより、組付けが進むのに伴って位置ずれが矯正される。
受け部55に嵌込部57が嵌合されると、雌側ハウジング50に対するリテーナ56の左右方向への相対変位が規制される。これにより、リテーナ56の壁部31が端子収容部11に対して適正な位置関係に保持されるので、壁部31に形成されている抜止め突起35と端子収容部11に収容されている雌端子金具24の二次係止部27も、適正な位置関係に保たれる。したがって、リテーナ56によって雌端子金具24を抜止めする機能の信頼性に優れている。
平面視において、リテーナ56が雌側ハウジング50に対して斜め姿勢(即ち、不正な形態)で取り付けられた場合には、左右一対の弾性係止片36のうち一方の弾性係止片36の係止孔37が雌側ハウジング50の係止突起14に係止し、他方の弾性係止片36の係止孔37は係止突起14に係止しない状態となる。この場合、嵌込部57が受け部55に対して斜め姿勢で嵌入される。嵌合空間54は上方(雌側ハウジング50の外面側)へ開放されているので、受け部55と嵌込部57の嵌合状態は、雌側ハウジング50の外部上方から目視により確認することができる。
本実施例2の雌側コネクタFbは、雌端子金具24が取り付けられる雌側ハウジング50と、雌側ハウジング50(端子収容部11)の後端部に取り付けられるリテーナ56とを備えて構成されている。雌側ハウジング50には、後端部がロック解除用の操作部18となっているロックアーム15が形成されている。雌側ハウジング50には、操作部18を覆う保護部51が形成されている。保護部51には受け部55が形成されている。リテーナ56には、リテーナ56が雌側ハウジング50に対して適正な形態で取り付けられたときにのみ、受け部55に嵌合される嵌込部57が形成されている。
この構成によれば、リテーナ56が雌側ハウジング50に対して適正に取り付けられると、嵌込部57が受け部55に嵌合し、受け部55と嵌込部57との嵌合により、リテーナ56が雌側ハウジング50に対して位置決めされる。これにより、リテーナ56を雌側ハウジング50に対して適正な取付け状態に保持することができる。これにより、リテーナ56は所期の機能(雌端子金具24を抜止めする機能)を適正に発揮することができる。
本実施例2の雌側コネクタFbは、一対の保護部51が、雌側ハウジング50の外面(端子収容部11の上面)から片持ち状に延出して操作部18を側方から挟むように配されている。そして、一対の保護部51の延出端部が、操作部18の上方において受け部55として機能する。嵌込部57は、一対の受け部55の間に嵌入されるようになっている。この構成によれば、受け部55と嵌込部57の嵌合状態を目視によって確認することができる。
<実施例3>
次に、本発明を具体化した実施例3を図14~図20を参照して説明する。尚、以下の説明において、前後の方向については、図15~20における左方を前方と定義する。上下の方向については、図14,16,18,20にあらわれる向きを、そのまま上方、下方と定義する。
本実施例3の雌側コネクタFc(請求項に記載のコネクタ)は、雌側ハウジング60の保護部61及び受け部64と、リテーナ67(請求項に記載の機能部品)の嵌込部68を上記実施例1とは異なる構成としたものである。その他の構成については上記実施例1及び実施例2と同じであるため、同じ構成については、同一符号を付し、構造、作用及び効果の説明は省略する。
図16~18に示すように、本実施例3の保護部61は、実施例1と同様、左右一対の側面側保護部62と上面側保護部63とにより枠状に構成されている。左右一対の側面側保護部62は、端子収容部11の上面における後端部から上方(ロックアーム15側)へ立ち上がり、操作部18の左右両側面を覆うように配されている。上面側保護部63は、左右一対の側面側保護部62の上端部同士を連結した形態であり、操作部18の上面を覆うように配されている。保護部61は、操作部18に対する上方からの異物の干渉と、操作部18に対する左右両側方からの異物の干渉のみを防止する。保護部61及び雌側ハウジング60には、操作部18を後方から覆う部位は形成されていない。
保護部61には、受け部64が一体に形成されている。受け部64は、上面側保護部63の左右方向における中央部、即ち左右方向において操作部18と対応する領域に配されている。受け部64は、上面側保護部63から前方へ片持ち状に延出した形態である。詳細には、受け部64は、上面側保護部63の後面から後方へ片持ち状に突出した平板状の基部65と、基部65の突出端縁から上方へ突出した突起部66とから構成されている。ロックアーム15の弾性変位方向、及び雌側ハウジング60に対するリテーナ67の取付け方向の両方向に対して直交する方向から見た形状を、側面視形状と定義する。受け部64の側面視形状は、略L字形に屈曲した形状である。
図19,20に示すように、リテーナ67には嵌込部68が一体に形成されている。嵌込部68は、壁部31のうち操作孔34の開口縁を構成する上縁部39の一部を凹ませた形態である。詳細には、嵌込部68は、操作孔34の上縁部39の下面における後縁部と、操作孔34の上縁部39の後面における下端縁部とを溝状に凹ませた形態である。換言すると、嵌込部68は、操作孔34の上縁部39の下方及び後方に開放された形態である。嵌込部68の左右方向における形成範囲は、受け部64と対応する領域であり、リテーナ67(壁部31)の左右方向中央部である。嵌込部68の上下方向における形成範囲は、受け部64の突起部66と概ね対応する領域である。リテーナ67を雌側ハウジング60に適正に取り付けた状態では、嵌込部68が受け部64の突起部66に嵌合される。
図16に示すように、リテーナ67が雌側ハウジング60に対して適正に取り付けられると、嵌込部68が受け部64の突起部66に嵌合される。受け部64に対する嵌込部68の嵌合により、雌側ハウジング60に対するリテーナ67の後方への相対変位と、雌側ハウジング60に対するリテーナ67の左右方向への相対変位とが規制される。これにより、リテーナ67の壁部31が端子収容部11に対して適正な位置関係に保持されるので、壁部31に形成されている抜止め突起と端子収容部11に収容されている雌端子金具の二次係止部も、適正な位置関係に保たれる。したがって、リテーナ67によって雌端子金具を抜止めする機能の信頼性に優れている。
平面視において、リテーナ67が雌側ハウジング60に対して斜め姿勢(即ち、不正な形態)で取り付けられた場合には、左右一対の弾性係止片のうち一方の弾性係止片の係止孔が雌側ハウジング60の係止突起に係止し、他方の弾性係止片の係止孔は係止突起に係止しない状態となる。この場合、嵌込部68が受け部64の突起部66よりも後方の位置に留まり、嵌込部68が受け部64の突起部66と嵌合できない。そのため、リテーナ67が雌側ハウジング60に対して相対変位し得る状態となり、雌側ハウジング60に対するリテーナ67の位置が安定しない。
本実施例3の雌側コネクタFcは、雌端子金具が取り付けられる雌側ハウジング60と、雌側ハウジング60(端子収容部11)の後端部に取り付けられるリテーナ67とを備えて構成されている。雌側ハウジング60には、後端部がロック解除用の操作部18となっているロックアーム15が形成されている。雌側ハウジング60には、操作部18を覆う保護部61が形成されている。保護部61には受け部64が形成されている。リテーナ67には、リテーナ67が雌側ハウジング60に対して適正な形態で取り付けられたときにのみ、受け部64に嵌合される嵌込部68が形成されている。
この構成によれば、リテーナ67が雌側ハウジング60に対して適正に取り付けられると、嵌込部68が受け部64に嵌合し、受け部64と嵌込部68との嵌合により、リテーナ67が雌側ハウジング60に対して位置決めされる。これにより、リテーナ67を雌側ハウジング60に対して適正な取付け状態に保持することができる。これにより、リテーナ67は所期の機能(雌端子金具を抜止めする機能)を適正に発揮することができる。
また、リテーナ67が前後方向に貫通した形態の操作孔34(請求項に記載の開口部)を有し、操作孔34の開口縁部(上縁部)が嵌込部68となっている。保護部61は、雌側ハウジング60の外面(端子収容部11の上面)から枠状に延出して操作部18を囲む形態である。受け部64は、保護部61(上面側保護部63)から片持ち状に突出して操作孔34内に収容された状態で嵌込部68と嵌合する。この構成によれば、受け部64と嵌込部68の嵌合部分が操作孔34の内側に位置しているので、受け部64と嵌込部68との嵌合部分に異物が干渉する虞がない。
<他の実施例>
本発明は上記記述及び図面によって説明した実施例に限定されるものではなく、例えば次のような実施例も本発明の技術的範囲に含まれる。
(1)上記実施例1~3では、リテーナ(機能部材)に覆い部を形成したが、リテーナ(機能部材)は覆い部を有しない形態であってもよい。
(2)上記実施例1~3では、嵌込部が覆い部に一体に形成されているが、嵌込部は覆い部とは別の部位に形成されていてもよい。
(3)上記実施例1~3では、機能部材が、端子金具を抜止めする機能を発揮するリテーナであるが、機能部材は、端子金具の抜止め機能とは異なる機能(例えば、ハウジングから導出した電線を屈曲させる電線カバーとしての機能)を発揮するものであってもよい。
Fa,Fb,Fc…雌側コネクタ(コネクタ)
10,50,60…雌側ハウジング(ハウジング)
15…ロックアーム
18…操作部
20,51…保護部
23,55,64…受け部
24…雌端子金具(端子金具)
30,56,67…リテーナ(機能部材)
33…覆い部
34…操作孔(開口部)
38,57,68…嵌込部

Claims (7)

  1. 端子金具が取り付けられるハウジングと、
    前記ハウジングに形成され、後端部がロック解除用の操作部となっているロックアームと、
    前記ハウジングに形成され、前記操作部を覆う保護部と、
    前記ハウジングの後端部に取り付けられる機能部材と、
    前記保護部に形成された受け部と、
    前記機能部材に形成され、前記機能部材が前記ハウジングに対して適正な形態で取り付けられたときに前記受け部に嵌合可能な嵌込部とを備えていることを特徴とするコネクタ。
  2. 前記機能部材に形成され、前記操作部のうち前記保護部で覆われない領域を覆う覆い部を備えていることを特徴とする請求項1記載のコネクタ。
  3. 前記嵌込部が前記覆い部に一体に形成されていることを特徴とする請求項2記載のコネクタ。
  4. 前記保護部が、前記ハウジングの外面から枠状に延出して前記操作部を囲む形態であり、
    前記受け部が、前記保護部のうち前記操作部との対向面を凹ませた形態であり、
    前記嵌込部が、前記機能部材から突出して前記保護部の内側に潜り込んた状態で前記受け部に嵌合するようになっていることを特徴とする請求項1ないし請求項3のいずれか1項に記載のコネクタ。
  5. 一対の前記保護部が、前記ハウジングの外面から片持ち状に延出して前記操作部を側方から挟むように配され、
    前記一対の保護部の延出端部が、前記受け部として機能するようになっており、
    前記嵌込部が、前記一対の受け部の間に嵌入されるようになっていることを特徴とする請求項1ないし請求項3のいずれか1項に記載のコネクタ。
  6. 前記機能部材が前後方向に貫通した形態の開口部を有し、
    前記開口部の開口縁部が前記嵌込部となっており、
    前記保護部が、前記ハウジングの外面から枠状に延出して前記操作部を囲む形態であり、
    前記受け部が、前記保護部から片持ち状に突出して前記開口部内に収容された状態で前記嵌込部と嵌合するようになっていることを特徴とする請求項1ないし請求項3のいずれか1項に記載のコネクタ。
  7. 前記端子金具が前記ハウジングに対して後方から挿入されるようになっており、前記機能部材が、前記ハウジングの後端部に取り付けられることで、前記端子金具を抜止め状態に保持するリテーナであることを特徴とする請求項1ないし請求項6のいずれか1項に記載のコネクタ。
JP2018240689A 2018-12-25 2018-12-25 コネクタ Active JP6996487B2 (ja)

Priority Applications (4)

Application Number Priority Date Filing Date Title
JP2018240689A JP6996487B2 (ja) 2018-12-25 2018-12-25 コネクタ
US17/413,430 US20220059962A1 (en) 2018-12-25 2019-12-06 Connector
PCT/JP2019/047871 WO2020137453A1 (ja) 2018-12-25 2019-12-06 コネクタ
CN201980085419.2A CN113228426B (zh) 2018-12-25 2019-12-06 连接器

Applications Claiming Priority (1)

Application Number Priority Date Filing Date Title
JP2018240689A JP6996487B2 (ja) 2018-12-25 2018-12-25 コネクタ

Publications (2)

Publication Number Publication Date
JP2020102390A JP2020102390A (ja) 2020-07-02
JP6996487B2 true JP6996487B2 (ja) 2022-01-17

Family

ID=71127948

Family Applications (1)

Application Number Title Priority Date Filing Date
JP2018240689A Active JP6996487B2 (ja) 2018-12-25 2018-12-25 コネクタ

Country Status (4)

Country Link
US (1) US20220059962A1 (ja)
JP (1) JP6996487B2 (ja)
CN (1) CN113228426B (ja)
WO (1) WO2020137453A1 (ja)

Citations (1)

* Cited by examiner, † Cited by third party
Publication number Priority date Publication date Assignee Title
JP2009272104A (ja) 2008-05-02 2009-11-19 Jst Mfg Co Ltd リテーナ付き電気コネクタ

Family Cites Families (39)

* Cited by examiner, † Cited by third party
Publication number Priority date Publication date Assignee Title
JPH0235183Y2 (ja) * 1985-05-01 1990-09-21
JP2563323Y2 (ja) * 1990-10-22 1998-02-18 矢崎総業株式会社 コネクタ
JP2585191Y2 (ja) * 1991-03-26 1998-11-11 矢崎総業株式会社 端子係止具付コネクタ
JP2622221B2 (ja) * 1992-03-10 1997-06-18 矢崎総業株式会社 端子係止具付コネクタ
US5507666A (en) * 1993-12-28 1996-04-16 Yazaki Corporation Lock securing mechanism for connectors
US5628648A (en) * 1995-03-17 1997-05-13 Molex Incorporated Electrical connector position assurance system
US5643003A (en) * 1995-06-02 1997-07-01 The Whitaker Corporation Housing latch with connector position assurance device
JP3301329B2 (ja) * 1996-12-27 2002-07-15 住友電装株式会社 コネクタ
JP3100927B2 (ja) * 1997-08-25 2000-10-23 日本端子株式会社 多極コネクタ用リテイナ
US5947763A (en) * 1997-11-17 1999-09-07 General Motors Corporation Bi-directional staged CPA
JP3427782B2 (ja) * 1999-05-28 2003-07-22 住友電装株式会社 コネクタ
US6261116B1 (en) * 1999-11-22 2001-07-17 Yazaki North America, Inc. Connector position assurance element with lock protection feature
JP2001185290A (ja) * 1999-12-27 2001-07-06 Sumitomo Wiring Syst Ltd コネクタ
JP2001291557A (ja) * 2000-04-06 2001-10-19 Sumitomo Wiring Syst Ltd コネクタ
JP2002164125A (ja) * 2000-11-27 2002-06-07 Sumitomo Wiring Syst Ltd コネクタ
US6435895B1 (en) * 2001-04-27 2002-08-20 Delphi Technologies, Inc. Connector position assurance device
JP3804554B2 (ja) * 2002-03-13 2006-08-02 住友電装株式会社 コネクタ
JP3991911B2 (ja) * 2002-07-17 2007-10-17 住友電装株式会社 コネクタ
JP3997858B2 (ja) * 2002-07-24 2007-10-24 住友電装株式会社 嵌合検知コネクタ
TWI255592B (en) * 2002-08-23 2006-05-21 Hon Hai Prec Ind Co Ltd Electrical connector and method of making same
JP4168906B2 (ja) * 2003-10-29 2008-10-22 住友電装株式会社 分割コネクタ
JP4175254B2 (ja) * 2003-12-25 2008-11-05 住友電装株式会社 コネクタ
JP2005190807A (ja) * 2003-12-25 2005-07-14 Sumitomo Wiring Syst Ltd コネクタ
US7238041B2 (en) * 2004-04-28 2007-07-03 Sumitomo Wiring Systems, Ltd. Connector
JP4385984B2 (ja) * 2005-02-04 2009-12-16 住友電装株式会社 コネクタ
JP4752606B2 (ja) * 2006-05-15 2011-08-17 住友電装株式会社 コネクタ
JP2008140571A (ja) * 2006-11-30 2008-06-19 Sumitomo Wiring Syst Ltd コネクタ
JP5204469B2 (ja) * 2007-11-30 2013-06-05 矢崎総業株式会社 コネクタハウジング
US8747146B2 (en) * 2011-05-04 2014-06-10 Tyco Electronics Corporation Electrical connector having connector position assurance
JP2013101856A (ja) * 2011-11-09 2013-05-23 Yazaki Corp ジョイントコネクタ
JP5751196B2 (ja) * 2012-03-09 2015-07-22 住友電装株式会社 コネクタ
JP2014093222A (ja) * 2012-11-05 2014-05-19 Sumitomo Wiring Syst Ltd コネクタ
US9281619B2 (en) * 2014-04-11 2016-03-08 Delphi Technologies, Inc. Vibration resistant connector system with connector position assurance device
JP6597287B2 (ja) * 2015-12-24 2019-10-30 株式会社オートネットワーク技術研究所 車両のワイヤリングシステム
JP6213590B2 (ja) * 2016-02-25 2017-10-18 第一精工株式会社 コネクタ
JP6402145B2 (ja) * 2016-07-13 2018-10-10 矢崎総業株式会社 コネクタ
JP6417369B2 (ja) * 2016-07-29 2018-11-07 矢崎総業株式会社 コネクタ
US10404012B1 (en) * 2018-04-20 2019-09-03 Te Connectivity Corporation Electrical connector with connector position assurance element
JP6865725B2 (ja) * 2018-10-31 2021-04-28 矢崎総業株式会社 コネクタ

Patent Citations (1)

* Cited by examiner, † Cited by third party
Publication number Priority date Publication date Assignee Title
JP2009272104A (ja) 2008-05-02 2009-11-19 Jst Mfg Co Ltd リテーナ付き電気コネクタ

Also Published As

Publication number Publication date
JP2020102390A (ja) 2020-07-02
US20220059962A1 (en) 2022-02-24
WO2020137453A1 (ja) 2020-07-02
CN113228426B (zh) 2024-02-27
CN113228426A (zh) 2021-08-06

Similar Documents

Publication Publication Date Title
JP7348090B2 (ja) コネクタ組立体
JP5637023B2 (ja) ダミー栓
CN110383591A (zh) 屏蔽端子及屏蔽连接器
JPH1041018A (ja) 短絡用端子金具
CN113228427B (zh) 连接器
JP5482220B2 (ja) 電気接続箱における嵌合部材のロック構造
JP6996487B2 (ja) コネクタ
JP2022107105A (ja) コネクタおよびコネクタ装置
JP2012054206A (ja) コネクタ
JP2008218198A (ja) コネクタ
JP7435373B2 (ja) コネクタ
CN112740487B (zh) 连接器
JP7389407B2 (ja) カードエッジコネクタ
JP4475122B2 (ja) コネクタ
JP7087986B2 (ja) 分割コネクタ
WO2020071077A1 (ja) コネクタ
CN112688105B (zh) 连接器
CN112563834B (zh) 连接器
CN112563833B (zh) 连接器
JP7288586B2 (ja) コネクタ
JP2020155360A (ja) コネクタ
JP7380496B2 (ja) コネクタ
JP4029775B2 (ja) コネクタ
JP2025031898A (ja) コネクタ
KR20240148203A (ko) 무빙 플레이트를 구비한 커넥터 어셈블리

Legal Events

Date Code Title Description
A621 Written request for application examination

Free format text: JAPANESE INTERMEDIATE CODE: A621

Effective date: 20210330

TRDD Decision of grant or rejection written
A01 Written decision to grant a patent or to grant a registration (utility model)

Free format text: JAPANESE INTERMEDIATE CODE: A01

Effective date: 20211116

A61 First payment of annual fees (during grant procedure)

Free format text: JAPANESE INTERMEDIATE CODE: A61

Effective date: 20211129

R150 Certificate of patent or registration of utility model

Ref document number: 6996487

Country of ref document: JP

Free format text: JAPANESE INTERMEDIATE CODE: R150

R250 Receipt of annual fees

Free format text: JAPANESE INTERMEDIATE CODE: R250

R250 Receipt of annual fees

Free format text: JAPANESE INTERMEDIATE CODE: R250