JP6948908B2 - セグメント、埋設構造物及び埋設構造物の構築方法 - Google Patents

セグメント、埋設構造物及び埋設構造物の構築方法 Download PDF

Info

Publication number
JP6948908B2
JP6948908B2 JP2017197159A JP2017197159A JP6948908B2 JP 6948908 B2 JP6948908 B2 JP 6948908B2 JP 2017197159 A JP2017197159 A JP 2017197159A JP 2017197159 A JP2017197159 A JP 2017197159A JP 6948908 B2 JP6948908 B2 JP 6948908B2
Authority
JP
Japan
Prior art keywords
surface portion
segment
bent
portions
buried
Prior art date
Legal status (The legal status is an assumption and is not a legal conclusion. Google has not performed a legal analysis and makes no representation as to the accuracy of the status listed.)
Active
Application number
JP2017197159A
Other languages
English (en)
Other versions
JP2019070283A (ja
Inventor
松岡 馨
馨 松岡
良幸 濱田
良幸 濱田
Current Assignee (The listed assignees may be inaccurate. Google has not performed a legal analysis and makes no representation or warranty as to the accuracy of the list.)
JFE Metal Products and Engineering Inc
Kato Construction Co Ltd
Original Assignee
JFE Metal Products and Engineering Inc
Kato Construction Co Ltd
Priority date (The priority date is an assumption and is not a legal conclusion. Google has not performed a legal analysis and makes no representation as to the accuracy of the date listed.)
Filing date
Publication date
Application filed by JFE Metal Products and Engineering Inc, Kato Construction Co Ltd filed Critical JFE Metal Products and Engineering Inc
Priority to JP2017197159A priority Critical patent/JP6948908B2/ja
Publication of JP2019070283A publication Critical patent/JP2019070283A/ja
Application granted granted Critical
Publication of JP6948908B2 publication Critical patent/JP6948908B2/ja
Active legal-status Critical Current
Anticipated expiration legal-status Critical

Links

Images

Landscapes

  • Foundations (AREA)

Description

本発明は、地中に埋設される埋設構造物を構成するセグメント、セグメントを複数連結して地中に埋設された埋設構造物、及びセグメントを組み立てて地中に埋設される埋設構造物を構築する構築方法に関する。
従来、地中に立坑等を構築する場合に、複数のセグメントを連結してリング状部材として構成した躯体を積み重ねて構築したケーソンが知られている。
セグメントは、隣り合ったセグメントとボルト等によって連結される。複数のセグメントを連結することにより円筒形状の躯体が構築され、当該躯体は、その軸線方向に複数重ねられて筒状の埋設体となり地中に埋設される。
積み重ねられた複数の躯体は、互いに各躯体を構成するセグメント同士の連結箇所が周方向にずれるようになっており、躯体の軸線方向においてセグメント同士の連結箇所が千鳥状に配置されるように連結されている(例えば、特許文献1参照。)。
特開2013−249594号公報
ところで、図12に示すように、軸線方向に重ねられる躯体200において、セグメント210同士の継手(連結)箇所を周方向にずらして千鳥状に配置した場合、周方向に連結したセグメント210同士の継手箇所は軸線方向に沿って連続しないようになっている。
しかしながら、セグメント210は、正面視において略矩形であるため、軸線方向に重なる躯体200同士の継手箇所は、周方向に連続している。そのため、軸線方向に重ねた躯体200同士の連結強度は、継手箇所において低いという問題があった。
また、セグメント210の外面は、躯体200が軸線方向に重ねられて円筒状を形成するようになっているため円弧状に湾曲して形成されている。そのため、躯体200を複数段に軸線方向に重ねた場合であっても、躯体200と地盤との接触面は、軸線方向に沿って一直線上に連続する面である。そのため、躯体200を重ねて形成されたケーソン300自体の浮き上がり抑制効果は期待できなかった。
そこで、本発明は、上記課題に鑑みてなされたものであり、継手箇所における強度低下を克服し、かつ地盤に対する浮き上がり抑制効果を高めることができるセグメント、当該セグメントを備えた埋設構造物及び当該セグメントによる埋設構造物の構築方法を提供することを目的とする。
上記課題を解決するために、本発明は、地中に埋設される埋設構造物を構成するセグメントであって、前記埋設構造物の外壁を構成し、壁面が六角形状に形成された外面部と、前記埋設構造物の内壁を構成し、壁面が六角形状に形成された内面部と、前記外面部及び前記内面部の対向する各縁部同士を繋ぐ複数の側面部と、を備え、前記外面部は、六角形の一の対角線に沿って曲げられた外側屈曲面を有し、前記複数の側面部のうち、前記対角線に交差する側面部は、前記外側屈曲面に対して鋭角をなしていることを特徴とする。
また、前記内面部は、前記外面部における前記対角線と対向する六角形の対角線に沿って曲げられた内側屈曲面を有し、前記複数の側面部のうち、前記対角線に交差する側面部は、前記内側屈曲面に対して鈍角をなしていることが好ましい。
また、前記対角線は、前記外面部及び前記内面部の前記六角形において対称軸となることが好ましい。
また、前記外側屈曲面及び前記内側屈曲面は、複数の平面により形成されていることを特徴とすることが好ましい。
また、前記外側屈曲面及び前記内側屈曲面は、互いに平行であることが好ましい。
また、前記対角線に対して平行な縁部は、前記対角線に交差する縁部よりも長いことが好ましい。
また、前記外面部及び前記内面部の前記対角線に対して平行でかつ対向する縁部を繋ぐ側面部は、互いに平行であることが好ましい。
上記課題を解決するために、さらに、本発明は、地中に埋設される埋設構造物を構成するセグメントであって、前記埋設構造物の外壁を構成し、壁面が六角形状に形成された外面部と、前記外面部の各縁部に立設された複数の側面部と、を備え、前記外面部は、六角形の一の対角線に沿って曲げられた外側屈曲面を有し、前記複数の側面部のうち、前記対角線に交差する側面部は、前記外側屈曲面に対して鋭角をなしていることを特徴とする。
また、前記対角線に沿って補剛材を備えることが好ましい。
また、前記対角線に対して交差して前記側面部間に設けられた第2の補剛材を備えることが好ましい。
また、前記対角線は、前記埋設構造物の軸線方向に沿った長さ寸法を等分していることが好ましい。
上記課題を解決するために、さらに、本発明は、セグメントを複数連結して地中に埋設される埋設構造物であって、前記セグメントは、前記埋設構造物の外壁を構成し、壁面が六角形状に形成された外面部と、前記埋設構造物の内壁を構成し、壁面が六角形状に形成された内面部と、前記外面部及び前記内面部の対向する各縁部同士を繋ぐ複数の側面部と、を備え、前記外面部は、六角形の一の対角線に沿って曲げられた外側屈曲面を有し、前記複数の側面部のうち、前記対角線に交差する側面部は、前記外側屈曲面に対して鋭角をなし、前記セグメントは、前記対角線が前記埋設構造物の周方向に延在しており、前記周方向に隣り合うセグメントは、それぞれの対角線が互いに千鳥状に配置されていることを特徴とする。
また、前記対角線は、前記地中への埋設方向に沿った前記セグメントの長さ寸法を等分していることが好ましい。
上記課題を解決するために、さらに、本発明は、セグメントを組み立てて地中に埋設される埋設構造物を構築する構築方法であって、前記セグメントは、前記埋設構造物の外壁を構成し、壁面が六角形状に形成された外面部と、前記埋設構造物の内壁を構成し、壁面が六角形状に形成された内面部と、前記外面部及び前記内面部の対向する各縁部同士を繋ぐ複数の側面部と、を備え、前記外面部は、六角形の一の対角線に沿って曲げられた外側屈曲面を有し、前記複数の側面部のうち、前記対角線に交差する側面部は、前記外側屈曲面に対して鋭角をなし、前記対角線が前記埋設構造物の周方向に延在するとともに互いに千鳥状になるように、前記側面部のうち前記対角線を境にした一方側の側面部において前記周方向に隣り合うセグメント同士を互いに連結し、次工程において他方側の側面部に他のセグメントをその一方側の側面部において連結する、ことを特徴とする。
また、前記対角線が前記埋設構造物の軸線方向に沿った前記セグメントの長さ寸法を等分しており、既設のセグメントの前記軸線方向における上半分における側面部に、新たなセグメントの前記軸線方向における下半分における側面部を連結することが好ましい。
本発明によれば、継手箇所における強度低下を克服し、かつ地盤に対する浮き上がり抑制効果を高めることができる。
地中に埋設されたハニカム状の埋設構造物の一部を断面視した概略正面図である。 ハニカム状の埋設体を斜視した部分透視図である。 埋設体におけるハニカムリングの平面図である。 セグメントの構成を説明するための図である。 セグメントの構成を説明するための図である。 セグメントの構成を説明するための図である。 埋設構造物を構築する方法を示す図である。 埋設構造物を構築する方法を示す図である。 埋設構造物を構築する方法を示す図である。 セグメントの変形例を説明するための図である。 図10に示すセグメントの断面図である。 従来の埋設構造物を示す概略図である。
本発明の好ましい実施の形態について、図面を参照しながら説明する。なお、以下に示す実施の形態は一つの例示であり、本発明の範囲において種々の形態をとり得る。
図1は、地中に埋設されたハニカム状の埋設構造物の一部を断面視した概略正面図である。図2は、ハニカム状の埋設体を斜視した部分透視図である。図3は、ハニカムリングの平面図である。図4は、セグメントの構成を説明するための図であり、(a)はセグメントの外面部の正面図であり、(b)はセグメントの側面図である。図5は、セグメントの構成を説明するための図であり、(a)はセグメントの内面部の正面図であり、(b)はセグメントの側面図である。図6は、セグメントの構成を説明するための図であり、セグメントを上から見た上面図である。
<埋設構造物の構成>
図1及び図2に示すように、埋設構造物100は、例えば、シールド工法等によって地中に構築されるトンネルT等の地下構造物の掘削開始地点や中間地点等に設けられ、埋設構造物100の内側の空間Sがシールドマシンの搬送路や換気口となる。
埋設構造物100は、ハニカム構造を有しており、地中に埋設された埋設体1と、埋設体1の内側の底部に設けられた基底部2と、埋設体1を地中に沈設する際に用いる沈設アンカー3と、を備えている。
なお、沈設アンカー3は、埋設構造物100の構築時に埋設体1を沈設していく際に使用されるものであり、埋設構造物100に必須の構成要素とみなされなくてもよい。
[埋設体]
図1に示すように、埋設体1は、円筒状に構築されており、その軸線xが鉛直方向に沿うように地中に沈設されて埋設されている。埋設体1は、平面視円環状のリング複合体4を軸線x方向に複数連結して組み立てたものである。
埋設体1を構成するリング複合体4は、刃口リング41と、ガイドリング42と、作業台リング43と、ハニカム構造を形成するハニカムリング44とが上下方向に積み上げられて構成されている。
刃口リング41は、埋設体1の最下端に設けられるリング体であり、その下端に刃口を有している。刃口リング41は、その歯先(先端)を外側に有している。
ガイドリング42は、刃口リング41の上端に複数連結されて、埋設体1の沈設をガイドする。
作業台リング43は、ガイドリング42の上端に連結されている。作業台リング43は、上端面が下端面よりも大きくなるように形成されており、上端面が作業台リング43の内側に張り出すように形成されている。
作業台リング43の上端面は、少なくともハニカムリング44が載置できる程度の大きさに形成されている。
ハニカムリング44は、作業台リング43の上端に連結されている。作業台リング43の上方には、ハニカムリング44が複数段にわたって設けられている。
なお、刃口リング41と作業台リング43との間に設けられているガイドリング42は、刃口リング41から作業台リング43に向かうにつれて徐々に軸線x方向の端面の幅が広がるように形成されているとより好ましい。すなわち、上方のガイドリング42になるほどその上端面の幅が作業台リング43の幅に近づくように形成されていることが好ましい。
上下に隣接する刃口リング41及びガイドリング42において、上方のガイドリング42の各セグメントと下方の刃口リング41の各セグメントとは、互いに刃口リング41及びガイドリング42の周方向にずれて千鳥状に配置されている。なお、この配置は、ガイドリング42と作業台リング43、作業台リング43とハニカムリング44においても同様である。
[ハニカムリング]
図2及び図3に示すように、リング複合体4のうちハニカムリング44は複数のセグメント5が周方向Rに連結されて環状に形成されている。ハニカムリング44は、例えば、16個のセグメント5が連結されることにより形成されている。埋設構造物100は、複数のハニカムリング44を軸線x方向に積み重ねてハニカム状に組み合わせることにより形成されている。
図3に示すハニカムリング44において、白抜きで示すセグメント5及びグレーにして示すセグメント5が周方向Rにおいて交互に連結されていることがわかる。白抜き及びグレーのセグメント5がそれぞれ軸線x方向において互い違い(千鳥状)に配置されている。
埋設体1を地中に沈設する際には、例えば、軸線x方向において上側にある白抜きのセグメント5が押圧されることになる。
なお、連結するセグメント5の数は、図示の実施の形態に限定されず、構築する埋設構造物100の大きさに応じて増減することができる。
(セグメント)
図4乃至図6に示すように、セグメント5は、コンクリートにより形成された六角形のセグメントである。セグメント5は、埋設構造物100の外壁を構成し、壁面が六角形状の外面部51と、埋設構造物100の内壁を構成し、壁面が六角形状の内面部53と、外面部51及び内面部53を繋ぐ複数の側面部55a〜55fと、を備えている。外面部51及び内面部53は、後述する2つの面52a,52b,54a,54bをそれぞれ有する。
したがって、セグメント5は、全てが平面により形成された10面体である。セグメント5は、従来のセグメント(例えば、図12参照。)のように外面部及び内面部は円弧状に丸味を帯びていない(湾曲していない)。
説明の便宜上、図において、埋設構造物100の内部からセグメント5を見て周方向Rの左方を「l」、右方を「r」とし、軸線xにおいて上方を「x1」、下方を「x2」とする。
図4(a)に示すように、外面部51は、六角形状を有する。外面部51は、当該外面部51が有する複数の対角線のうち、周方向R(左右方向l,r)に延在する対角線51aに沿って屈曲部52を有する。
外面部51の屈曲部52を形成する対角線51aとしては、外面部51が当該対角線51aにより線対称又は鏡面対称となる一の対角線が選択される。つまり、対角線51aは、外面部51を等分する対称軸であるとともに、セグメント5の上下方向x1,x2方向における長さ寸法を等分している。
外面部51は、六角形の一の対角線に沿って曲げられた外側屈曲面を有する。つまり、外面部51は、対角線51a又は屈曲部52を中心にして2つの屈曲面(外側屈曲面)52a,52bを有し、具体的には、対角線51a又は屈曲部52に対して上方x1に配置された上方屈曲面52a、及び対角線51a又は屈曲部52に対して下方x2に配置された下方屈曲面52bを有する。
上方屈曲面52a及び下方屈曲面52bは、それぞれ平坦な面により形成されている。 図4(b)に示すように、上方屈曲面52a及び下方屈曲面52bは、上方x1及び下方x2から屈曲部52に接近するにつれて内面部53に向かって延在し、屈曲部52において互いに接続している。
図5(a)に示すように、内面部53は、六角形状を有する。内面部53は、当該内面部53が有する複数の対角線のうち、周方向R(左右方向l,r)に延在する対角線53aに沿って屈曲部54を有する。
内面部53の屈曲部54を形成する対角線53aとしては、内面部53が当該対角線53aにより線対称又は鏡面対称となる一の対角線が選択される。つまり、対角線53aは、内面部53を等分する対称軸であるとともに、セグメント5の上下方向x1,x2方向における長さ寸法を等分している。
内面部53は、六角形の一の対角線に沿って曲げられた内側屈曲面を有する。つまり、内面部53は、対角線53a又は屈曲部54を中心にして2つの屈曲面(内側屈曲面)54a,54bを有し、具体的には、対角線53a又は屈曲部54に対して上方x1に配置された上方屈曲面54a、及び対角線53a又は屈曲部54に対して下方x2に配置された下方屈曲面54bを有する。上方屈曲面54a及び下方屈曲面54bは、平面により形成されている。内側屈曲面54a,54bは、外面部における前記対角線と対向する六角形の対角線に沿って曲げられている。
図5(b)に示すように、上方屈曲面54a及び下方屈曲面54bは、上方x1及び下方x2から屈曲部54に接近するにつれて外面部51とは反対側に向かって、つまり、埋設構造物100の内部に向かって延出し、屈曲部54において互いに接続している。
外面部51及び内面部53は、互いに平行に延在している。具体的には、外面部51の上方屈曲面52a及び内面部53の上方屈曲面54aは互いに平行であり、外面部51の下方屈曲面52b及び内面部53の下方屈曲面54bは互いに平行である。
図4乃至図6に示すように、側面部55a〜55fは、外面部51の対角線51aに対して平行な2つの縁部(辺)51bと、対角線51aに交差する4つの縁部(辺)51c・・・と、内面部53の対角線53aに対して平行な2つの縁部(辺)53bと、対角線53aに交差する4つの縁部(辺)53c・・・とが互いに対向する位置において外面部51及び内面部53をそれぞれ繋いでいる。つまり、側面部55a〜55fは、6つ形成されており、セグメント5において6面を形成している。
6つの側面部55a〜55fは、軸線xにおいて上方x1を臨む上側面部55aと、軸線xにおいて下方x2を臨む下側面部55bと、周方向Rにおいて左方lを臨む2つの左上側面部55c及び左下側面部55dと、右方rを臨む2つの右上側面部55e及び右下側面部55fと、を有する。
上側面部55aと下側面部55bとは、互いに平行をなしている。また、上側面部55a及び下側面部55bは、軸線xに対して直交するように形成されている。つまり、上側面部55a及び下側面部55bは、水平方向に延在している。
図6に示すように、上側面部55a及び下側面部55bは、平面視において略台形状に形成されている(図6では上側面部55aだけを示す。)。具体的には、外面部51と内面部53との間を延在し、上側面部55aを縁部51b,53bとともに画成する縁部55gが外面部51から内面部53に向かって互いに接近して延在している。
換言すると、上側面部55aを縁部51b,53bとともに画成する2つの縁部55gは、外面部51から内面部53に向かって「ハ」の字状に延在している。
外面部51において上側面部55aを画成する縁部51bは、左上側面部55c、左下側面部55d、右上側面部55e及び右下側面部55fを画成する縁部51cよりも長い寸法を有する。また、内面部53においても、上側面部55a及び下側面部55bを画成する縁部53bは、左上側面部55c、左下側面部55d、右上側面部55e及び右下側面部55fを画成する縁部53cよりも長い寸法を有する。
ただし、外面部51及び内面部53が正六角形を有している場合、全ての縁部は、同じ寸法になっている。
外面部51において最も長い寸法を有する縁部51bは、対角線51a又は屈曲部52に対して平行に延在している。内面部53において最も長い寸法を有する縁部53bは、対角線53a又は屈曲部54に対して平行に延在している。
さらに、外面部51において最も長い寸法を有する縁部51bは、内面部53において最も長い寸法を有する縁部53bよりも長い寸法を有している。
なお、下側面部55bの構成は、上側面部55aの構成と同じであるので説明は省く。
左上側面部55cは、左方lにおいて屈曲部52,54に対して上方x1に設けられている。左下側面部55dは、左方lにおいて屈曲部52,54に対して下方x2に設けられている。
左上側面部55c及び左下側面部55dは、対角線51a,53aに交差しており、外面部51又は内面部53からセグメント5を眺めた場合、図4及び図5に示すように、屈曲部52,54に連続する縁部55hを間に挟んでいる。
右上側面部55eは、右方rにおいて屈曲部52,54に対して上方x1に設けられている。右下側面部55fは、右方rにおいて屈曲部52,54に対して下方x2に設けられている。
右上側面部55e及び右下側面部55fは、対角線51a,53aに交差しており、外面部51又は内面部53からセグメント5を眺めた場合、図4及び図5に示すように、屈曲部52,54に連続する縁部55hを間に挟んでいる。
図6に示すように、左上側面部55c及び右上側面部55eは、互いに平行ではなく、本実施の形態においては、外面部51の上方屈曲面52aから内面部53の上方屈曲面54aに向かって互いに接近する方向に延在している。
換言すれば、左上側面部55c及び右上側面部55eは、外面部51の上方屈曲面52aに対して鋭角θ1をなし、内面部53の上方屈曲面54aに対して鈍角θ2をなしている。つまり、左上側面部55c及び右上側面部55eは、上方屈曲面52a,54aに対して直交していない。
図示しないが、左下側面部55d及び右下側面部55fは、互いに平行ではなく、本実施の形態においては、外面部51の下方屈曲面52bから内面部53の下方屈曲面54bに向かって互いに接近する方向に延在している。
換言すれば、左下側面部55d及び右下側面部55fは、外面部51の下方屈曲面52bに対して鋭角をなし、内面部53の下方屈曲面54bに対して鈍角をなしている。つまり、左下側面部55d及び右下側面部55fは、下方屈曲面52b,54bに対して直交していない。
左上、左下、右上、右下の各側面部55c〜55fが、屈曲面52a,52b,54a,54bに対してなす角度は、埋設構造物100の口径に応じて決定され、例えば、埋設構造物100の周方向Rにおいて必要とされるセグメント5の個数に応じて決定される。
埋設体1を構築した場合、最下段及び最上段のハニカムリング44においては、一部、隙間が空くことになる。図1及び図2に示すように、この隙間には、例えば、セグメント5を屈曲部52,54において半分にした形状の半セグメント6が配置されている。
半セグメント6は、屈曲部52,54に対してセグメント5の上方x1又は下方x2側と同じ構成を有している。
[沈設アンカー]
沈設アンカー3は、埋設体1を地中に沈設する工程において、最上端のリング複合体4の上方からそのリング複合体4に力を加えて地中に押し込む際に、地盤に反力をとるものである。
図1に示すように、沈設アンカー3は、埋設体1の沈設位置の外側かつ下方に掘削された地盤に埋設、固定される定着部31と、定着部31に連結され、埋設体1の外壁面に沿って地表まで延び、リング複合体4を押し込む圧入装置9(図8等参照。)の不動部分(基礎部等)に連結される連結部32とを有している。
定着部31は、例えば、掘削された地盤に流し込まれたグラウトによって形成されている。定着部31は、埋設体1の最下端の刃口リング41よりも外側において、刃口リング41よりも深い位置に構築されている。
連結部32は、例えば、鋼線(ワイヤロープ)によって形成されている。連結部32の下端部は、グラウトの固化により定着部31に埋設、固定されており、上端部は、圧入装置9の不動部分に連結、固定されている。
定着部31及び連結部32は、地表面に対して垂直な方向に沿って同一軸線上に延びるように形成されている。
<埋設構造物の構築方法>
次に、上記の埋設体1を地中に沈設して埋設構造物100を構築する方法について、図7乃至図9を用いて説明する。
図7及び図8は、埋設構造物を構築する方法を示す図である。図9は、埋設構造物を構築する方法を示す図であり、(a)はハニカムリング44を沈設する前の状態を示す図であり、(b)はハニカムリング44を沈設した後の状態を示す図である。
最初に、埋設体1を構築する施工箇所の外側に、ロータリーパーカッション(図示せず。)を用いて複数の掘削孔を形成する。掘削孔は、沈設される埋設体1の外壁に沿って、所定の間隔をあけて環状に形成される。掘削孔は、地表面に対して垂直となる方向に沿って、埋設体1の下端部よりも深い位置まで形成される。
形成された各掘削孔のそれぞれにグラウトを注入するとともに、連結部(ワイヤロープ)32を掘削孔に挿入する。このとき、連結部32の下端部をグラウト内に浸しておく。グラウトの固化により、定着部31、及び定着部31に固定された連結部32が構築され、沈設アンカー3の設置が完了する。
次に、埋設体1を構築する施工箇所に、圧入装置9を据え付け、圧入装置9の不動部分(脚部等)に連結部32の上端を連結する。圧入装置9は、例えば、油圧ジャッキ等によって構成されており、最上端のリング複合体4を地中に向けて押圧することにより、リング複合体4を地中に沈設することができる。
圧入装置9の下方には、埋設体1の最下端部に配置される刃口リング41を据え付ける。据え付けた刃口リング41の内側の地盤を、クローラクレーン(図示せず。)により掘削する。刃口リング41の地中への沈設に必要な深さの掘削が終わると掘削を止め、圧入装置9によって刃口リング41の上面を地中に向けて押圧し、刃口リング41を地中に沈設する。
刃口リング41の沈設後、刃口リング41の軸線方向上側にガイドリング42を重ねて連結する。ガイドリング42の連結後、ガイドリング42の内側の地盤をクローラクレーンにより再び掘削する。ガイドリング42の地中への沈設に必要な深さの掘削が終わると掘削を止め、圧入装置9によってガイドリング42の上面を地中に向けて押圧し、ガイドリング42を地中に沈設する。
ガイドリング42の連結及び沈設を所定の回数繰り返した後、ガイドリング42の軸線方向上側に、作業台リング43を重ねて連結する。
作業台リング43の連結後、ガイドリング42の内側の地盤をクローラクレーンにより掘削する。作業台リング43の地中への沈設に必要な深さの掘削が終わると掘削を止め、圧入装置9によって作業台リング43の上面を地中に向けて押圧し、作業台リング43を地中に沈設する。以上を、説明の便宜上、前工程とする。
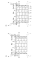
次に、図7に示す第1工程において、セグメント5を連結して環状のハニカムリング44を組み立てる。なお、説明の便宜上、説明するセグメント5を、セグメント5A,5B,5Cに区別することがある。
まず、作業台リング43の内側に張り出している上端面においてセグメント5及び半セグメント6を交互に環状に連結していく。具体的には、セグメント5の左下側面部55d及び右下側面部55fを、半セグメント6の右上側面部及び左上側面部に面接触させて連結していく。
次いで、周方向Rに隣り合うセグメント5A,5Bのうち、セグメント5Aの右上側面部55eにセグメント5Cの左下側面部55dを、セグメント5Bの左上側面部55cにセグメント5Cの右下側面部55fをそれぞれ連結していく。
つまり、一工程におけるハニカムリング44の構築に際しては、六角形状のセグメント5A,5B,5Cの対角線51a,53aを境にして上方x1又は下方x2側にある側面部55c〜55fだけを面接触させて連結する。
例えば、図7において示すように、セグメント5Cの左上側面部55c及び右上側面部55eは、次工程において他のセグメント5,5の右下側面部55f及び左下側面部55dに連結される。
ハニカムリング44においては、周方向Rに連続して隣り合うセグメント5A,5B,5C・・・は、その対角線51a,54a又は屈曲部52,54が軸線xにおいて上下にずらされて千鳥状に配置されている。これにより、周方向Rに連続して隣り合うセグメント5A,5B,5C・・・同士の対角線51a,54aは、互いに連続することはなく、上側面部55a又は下側面部55bに連続している(例えば、図7参照。)。
この作業を、周方向Rにおいて繰り返し、環状のハニカムリング44が形成されるまで続ける。なお、セグメント5A,5B,5Cは、それぞれの側面部55c〜55fにおいて公知の連結器具により互いに連結することができる。
作業台リング(図示せず。)43の上端面に構築されるハニカムリング44においては、周方向Rにおいて作業台リング43の上端面との間に一部、隙間が空くことになる。この隙間には、例えば、セグメント5を屈曲部52,54において半分にした形状の半セグメント6を配置すればよい。
この第1工程を繰り返し、図8に示すように、ハニカムリング44を所定の高さまで積み上げる。ハニカムリング44の積み上げは、少なくともハニカムリング44の一部のセグメント5の上方x1側が、圧入装置9が設置されている位置に達するまで行われる。
第2工程において、ハニカムリング44のセグメント5の上側面部55aに圧入装置9を当接させて、ハニカムリング44を地中に向けて押圧し地中に沈設させる。
図9(a)に示すように、圧入装置9が押圧するセグメント5の上側面部55aは、周方向Rにおいて1つおきのセグメント5の上側面部55aである。つまり、ハニカムリング44において隣り合うセグメント5に対して上方x1に位置するセグメント5の上側面部55aを圧入装置9が押圧する。
図9(b)に示すように、圧入装置9によるハニカムリング44の沈設深さは、例えば、セグメント5の高さの半分、具体的には、上側面部55aと屈曲部52,54との間の間隔である。つまり、ハニカムリング44は、セグメント5の高さ(上側面部55aから下側面部55bまでの距離)全体において沈設されない。
第2工程の終了後、ハニカムリング44から圧入装置9を解放し、第1工程におけるハニカムリング44の構築を再び行い、その後、再度、第2工程を行う。第1工程及び第2工程を所定の深さまで繰り返す。これにより、埋設体1の沈設が完了する。
なお、リング複合体4の沈設時に、地盤からの反力を受けて圧入装置9が浮き上がろうとする力が作用するが、圧入装置9には沈設アンカー3が連結されているので、浮き上がることはない。また、埋設体1の沈設後、圧入装置9を撤去する際には、連結部32の上端部は、地表付近の構造物又は地盤に連結、固定する。
埋設体1の沈設が完了した後、埋設体1の底部に水中コンクリートを打設し、基底部2を構築する。埋設体1の下側部分(刃口リング41、ガイドリング42、作業台リング43)における補強の観点から、基底部2はその上面が、少なくとも作業台リング43よりも上側にあることが好ましい。
埋設体1の沈設直後は、地下水が埋設体1の内側に満たされた状態となっていることがあるため、埋設体1の内側の地下水内に水中ポンプ(図示せず。)を設置し、地下水を埋設体1の外部に排出する。
以上をもって、埋設構造物100が構築される。
以上のような六角形のセグメント5によれば、外面部51及び内面部53がそれぞれ上方屈曲面52a,54a及び下方屈曲面52b,54bを有し、かつ左上側面部55c及び右上側面部55eが、外面部51の上方屈曲面52aに対して鋭角θ1をなし、内面部53の上方屈曲面54aに対して鈍角θ2をなし、左下側面部55d及び右下側面部55fが、外面部51の下方屈曲面52bに対して鋭角をなし、内面部53の下方屈曲面54bに対して鈍角をなしている。
このようなセグメント5により、隣り合うセグメント5同士は互いに千鳥状に配置されているので、ハニカムリング44においてセグメント5,5…同士の継手箇所は周方向Rに連続していない。
換言すると、セグメント5,5・・・同士の上側面部55aは、軸線x方向にずれているので、軸線x方向に重なるセグメント5,5・・・の下側面部55bとの接触面は、周方向Rにおける同一平面上において連続することはない。かくして、各ハニカムリング44における各セグメント5,5・・・同士の継手箇所における強度は高められており、埋設構造物100としての構造的強度は高められている。
さらに、埋設体1を外壁側から見た場合、セグメント5又はハニカムリング44は、軸線xに沿って凹凸状に起伏をなして連結されている(図1及び図2参照。)。これにより、埋設体1の外壁と地盤との接触面を上方屈曲面52a及び下方屈曲面52bにおいて確保するので、屈曲面がないセグメントと比べて大きな摩擦を得ることができる。したがって、埋設体1の浮き上がりを抑制することができる。
つまり、埋設体1の外壁には軸線xに沿って凹凸が形成されているので、地盤との摩擦面を大きく確保して、埋設体1と地盤との高い周面摩擦力により、埋設体1と地盤との一体化の効果を得ることができる。これにより、埋設体1の浮き上がりを防止する、例えば、浮止めアンカー等を別途用意する必要がなくなる。
ハニカムリング44に新たなセグメント5を上方から重ねて連結する場合、新たなセグメント5の下側面部55b、左下側面部55d及び右下側面部55fをそれぞれ、ハニカムリング44における所定のセグメント5の上側面部55a、右上側面部55e及び左上側面部55cと連結させるだけでよい。
例えば、従来のセグメントの場合、図12に示すように、軸線x方向におけるセグメント210同士の継手箇所は、セグメント210の高さ位置にあった。
これに対して、セグメント5は、その対角線51a,53aを中心として上半分又は下半分だけを隣り合うセグメント5に連結するだけでよい。例えば、セグメント5の高さが、従来のセグメント210の2倍であっても、セグメント5,5・・・の連結位置は、対角線51a,53aの位置よりも下側の位置、つまり、従来の矩形のセグメント210の高さ位置に相当する位置である。
従来のセグメント210に比べて高さ寸法よりも大きなセグメント5(例えば、従来の2倍)であっても、連結作業を実施する高さは従来のセグメントと同じ高さ位置であり、連結における作業性は変わらず、施工速度を上げることができる。
図8に示すように、既設のセグメント5の上半分の左上側面部55c及び右上側面部55eに、新たなセグメント5の下半分の右下側面部55f及び他の新たなセグメント5の下半分の左下側面部55dを連結させるので、例えば、軸線xに沿ったセグメント5の高さ(長さ)寸法Lが2mである場合であっても、作業員が組立用足場FW上で手が届く範囲において連結(組立て)作業を行うことができる。
既設のセグメント5への新たなセグメント5の連結作業は、セグメント5の高さ寸法Lの半分の高さ寸法HL(1/2×L)である1mの範囲で実施することができる。かくして、組立用足場FW上に2mの高さにおいて連結作業を行うための作業台を別途用意する必要はない。
2mの高さのセグメント5を組み立てる場合であっても、セグメント5と同じ高さ寸法だけの作業(組立て)スペースWSは必要にならず、限られた作業環境において作業スペースWSの省スペース化を達成することができる。
また、セグメント5を千鳥状に連結して組み立てることにより、作業スペースWSの省スペース化とともに、作業時間を短縮することもできる。
さらに、ハニカムリング44における周方向Rでのセグメント5,5・・・同士の間の空間は、上方x1から下方x2に向かって狭まるようになっているので、新たなセグメント5の連結作業が容易になる。
セグメント5の左上側面部55c,右上側面部55e、左下側面部55d,右下側面部55fは平行でなく、外面部51から内面部53に向かって接近するように形成されているので、セグメント5の全ての面は、平面により形成されているにもかかわらず、環状のハニカムリング44を構築することができる。
外面部51及び内面部53が平面により形成されていることにより、セグメント5を製造するための型枠を全て直線部材により作製することができる。かくして、製造コストを抑えることができるとともに材料効率が向上する。
<その他>
なお、本発明は、上記の実施の形態に限られるものではなく、本発明の範囲を超えない範囲で適宜変更が可能である。例えば、上記実施の形態におけるセグメント5は、外面部51及び内面部53のいずれにおいても屈曲部52,54及び屈曲面52a,52b,54a,54bを備えていたが、外面部51にのみ屈曲面52a,52bを設けて、内面部53には屈曲面を設けなくてもよい。つまり、内面部53は、1つの平面により形成されていてもよい。この場合、側面部55c〜55fの構成は、相応に変更すればよい。
また、セグメント5により形成される埋設体1の内壁の凹凸については、別途、化粧パネル等を貼り付けて滑らかな壁面を形成するようにしてもよい。
セグメント5内に、例えば、鉄筋等の補剛材を埋設してもよい。補剛材は、例えば、屈曲部52,54に沿って設けてもよく、また、上側面部55aと下側面部55bとの間に延在するように設けてもよい。
また、埋設体1の浮き上がりを防止するために浮止めアンカーを備えていてもよい。浮止めアンカーの存在により、埋設構造物100の浮き上がりをより確実に抑制することができる。埋設構造物100の外壁と地盤との間に、例えば、セメントベントナイト溶液等の鉱物を注入してもよい。
<変形例>
次に、図10及び図11を用いて変形例に係るセグメント7について説明する。なお、変形例に係るセグメント7については、セグメント5の構成に対応させながら説明する。セグメント7がセグメント5と異なる点は、セグメント5がコンクリートにより形成されているのに対して、セグメント7は、例えば、鋼板により形成されている点である。
図10は、変形例に係るセグメントの構成を説明するための図であり、(a)はセグメントの外面部の正面図であり、(b)はセグメントの側面図である。図11は、図10に示すセグメントの断面図であり、(a)は図10(b)のA−A線に沿った断面図であり、(b)は図10(a)のB−B線に沿った断面図である。
図10及び図11に示すように、セグメント7は、外面部71のみを有する。また、セグメント5の上方屈曲面52a、下方屈曲面52b、上側面部55a、下側面部55b、左上側面部55c、右上側面部55e、左下側面部55d、右下側面部55fに対応する部分に、セグメント7は、それぞれ鋼製の上方屈曲面板72a、下方屈曲面板72b、上側面板75a、下側面板75b、左上側面板75c、左下側面板75d、右上側面板75e及び右下側面板75fが設けられている。
セグメント7の上側面板75a、下側面板75b、左上側面板75c、左下側面板75d、右上側面板75e及び右下側面板75fは、上方屈曲面板72a及び下方屈曲面板72bの各縁部に立設されている。
セグメント7は、8枚の鋼板により鋼製セグメントとして形成されており、その内部空間には、補剛材76が設けられている。具体的には、上方屈曲面板72a及び下方屈曲面板72bにおける屈曲部72に沿って、つまり、セグメント7の対角線71aに沿ってセグメント7の内部空間に補剛材76が設けられている。補剛材76は、セグメント7の内部空間を等分するようになっている。
なお、セグメント7においては、セグメント5の内面部53に相当する部分に鋼板による上方屈曲面及び下方屈曲面が設けられていないが、外面部71における上方屈曲面板72a及び下方屈曲面板72bにそれぞれ平行になるように上方屈曲面及び下方屈曲面が設けられていてもよい。この場合、セグメント7は、10枚の鋼板により形成されている。
対角線71aに対して直交するようにさらに別の補剛材(第2の補剛材)77を設けてもよい。補剛材77は、セグメント7の上側面板75aと下側面板75bとの間に設けられている。セグメント7において、2つの補剛材77を平行に又は交差させて設けるようにしてもよい。
なお、セグメント7においては、補剛材76,77の少なくとも一方が設けられているようになっている。
セグメント7は、セグメント5と同様の効果を奏する。また、補剛材76,77を設けることにより、セグメント7自体の強度を高めることができる。
1 埋設体
4 リング複合体
44 ハニカムリング
5 セグメント
51 外面部
51a 対角線
52 屈曲部
52a 上方屈曲面(外側屈曲面)
52b 下方屈曲面(外側屈曲面)
53 内面部
53a 対角線
54 屈曲部
54a 上方屈曲面(内側屈曲面)
54b 下方屈曲面(内側屈曲面)
55a〜55f 側面部
7 セグメント
71 外面部
71a 対角線
72 屈曲部
72a 上方屈曲面板(外側屈曲面)
72b 下方屈曲面板(外側屈曲面)
75a〜75f 側面板(側面部)
76 補剛材
77 補剛材(第2の補剛材)
100 埋設構造物

Claims (15)

  1. 地中に埋設される埋設構造物を構成するセグメントであって、
    前記埋設構造物の外壁を構成し、壁面が六角形状に形成された外面部と、
    前記埋設構造物の内壁を構成し、壁面が六角形状に形成された内面部と、
    前記外面部及び前記内面部の対向する各縁部同士を繋ぐ複数の側面部と、
    を備え、
    前記外面部は、六角形の一の対角線に沿って曲げられた外側屈曲面を有し、
    前記複数の側面部のうち、前記対角線に交差する側面部は、前記外側屈曲面に対して鋭角をなしている
    ことを特徴とするセグメント。
  2. 前記内面部は、前記外面部における前記対角線と対向する六角形の対角線に沿って曲げられた内側屈曲面を有し、
    前記複数の側面部のうち、前記対角線に交差する側面部は、前記内側屈曲面に対して鈍角をなしていることを特徴とする請求項1に記載のセグメント。
  3. 前記対角線は、前記外面部及び前記内面部の前記六角形において対称軸となることを特徴とする請求項1又は2に記載のセグメント。
  4. 前記外側屈曲面及び前記内側屈曲面は、複数の平面により形成されていることを特徴とする請求項2に記載のセグメント。
  5. 前記外側屈曲面及び前記内側屈曲面は、互いに平行であることを特徴とする請求項4に記載のセグメント。
  6. 前記対角線に対して平行な縁部は、前記対角線に交差する縁部よりも長いことを特徴とする請求項1から5までのいずれか一項に記載のセグメント。
  7. 前記外面部及び前記内面部の前記対角線に対して平行でかつ対向する縁部を繋ぐ側面部は、互いに平行であることを特徴とする請求項1から6までのいずれか一項に記載のセグメント。
  8. 前記対角線は、前記埋設構造物の軸線方向に沿った長さ寸法を等分していることを特徴とする請求項1から7までのいずれか一項に記載のセグメント。
  9. 地中に埋設される埋設構造物を構成するセグメントであって、
    前記埋設構造物の外壁を構成し、壁面が六角形状に形成された外面部と、
    前記外面部の各縁部に立設された複数の側面部と、
    を備え、
    前記外面部は、六角形の一の対角線に沿って曲げられた外側屈曲面を有し、
    前記複数の側面部のうち、前記対角線に交差する側面部は、前記外側屈曲面に対して鋭角をなしている
    ことを特徴とするセグメント。
  10. 前記対角線に沿って補剛材を備えることを特徴とする請求項1から9までのいずれか一項に記載のセグメント。
  11. 前記対角線に対して交差して前記側面部間に設けられた第2の補剛材を備えることを特徴とする請求項1から10までのいずれか一項に記載のセグメント。
  12. セグメントを複数連結して地中に埋設される埋設構造物であって、
    前記セグメントは、前記埋設構造物の外壁を構成し、壁面が六角形状に形成された外面部と、前記埋設構造物の内壁を構成し、壁面が六角形状に形成された内面部と、前記外面部及び前記内面部の対向する各縁部同士を繋ぐ複数の側面部と、を備え、
    前記外面部は、六角形の一の対角線に沿って曲げられた外側屈曲面を有し、
    前記複数の側面部のうち、前記対角線に交差する側面部は、前記外側屈曲面に対して鋭角をなし、
    前記セグメントは、前記対角線が前記埋設構造物の周方向に延在しており、
    前記周方向に隣り合うセグメントは、それぞれの対角線が互いに千鳥状に配置されている
    ことを特徴とする埋設構造物。
  13. 前記対角線は、前記地中への埋設方向に沿った前記セグメントの長さ寸法を等分していることを特徴とする請求項12に記載の埋設構造物。
  14. セグメントを組み立てて地中に埋設される埋設構造物を構築する構築方法であって、
    前記セグメントは、前記埋設構造物の外壁を構成し、壁面が六角形状に形成された外面部と、前記埋設構造物の内壁を構成し、壁面が六角形状に形成された内面部と、前記外面部及び前記内面部の対向する各縁部同士を繋ぐ複数の側面部と、を備え、
    前記外面部は、六角形の一の対角線に沿って曲げられた外側屈曲面を有し、
    前記複数の側面部のうち、前記対角線に交差する側面部は、前記外側屈曲面に対して鋭角をなし、
    前記対角線が前記埋設構造物の周方向に延在するとともに互いに千鳥状になるように、前記側面部のうち前記対角線を境にした一方側の側面部において前記周方向に隣り合うセグメント同士を互いに連結し、次工程において他方側の側面部に他のセグメントをその一方側の側面部において連結する、
    ことを特徴とする埋設構造物を構築する構築方法。
  15. 前記対角線が前記埋設構造物の軸線方向に沿った前記セグメントの長さ寸法を等分しており、前記軸線方向で既設のセグメントの上半分における側面部に、前記軸線方向で新たなセグメントの下半分における側面部を連結することを特徴とする請求項14に記載の構築方法。
JP2017197159A 2017-10-10 2017-10-10 セグメント、埋設構造物及び埋設構造物の構築方法 Active JP6948908B2 (ja)

Priority Applications (1)

Application Number Priority Date Filing Date Title
JP2017197159A JP6948908B2 (ja) 2017-10-10 2017-10-10 セグメント、埋設構造物及び埋設構造物の構築方法

Applications Claiming Priority (1)

Application Number Priority Date Filing Date Title
JP2017197159A JP6948908B2 (ja) 2017-10-10 2017-10-10 セグメント、埋設構造物及び埋設構造物の構築方法

Publications (2)

Publication Number Publication Date
JP2019070283A JP2019070283A (ja) 2019-05-09
JP6948908B2 true JP6948908B2 (ja) 2021-10-13

Family

ID=66441401

Family Applications (1)

Application Number Title Priority Date Filing Date
JP2017197159A Active JP6948908B2 (ja) 2017-10-10 2017-10-10 セグメント、埋設構造物及び埋設構造物の構築方法

Country Status (1)

Country Link
JP (1) JP6948908B2 (ja)

Families Citing this family (1)

* Cited by examiner, † Cited by third party
Publication number Priority date Publication date Assignee Title
JP7482819B2 (ja) 2021-03-31 2024-05-14 株式会社Ihi建材工業 セグメント

Family Cites Families (10)

* Cited by examiner, † Cited by third party
Publication number Priority date Publication date Assignee Title
US4104885A (en) * 1976-06-21 1978-08-08 Fairclough Construction Group Limited Tunnel lining
JP2544040B2 (ja) * 1991-10-08 1996-10-16 石川島建材工業株式会社 トンネル曲線部の六角形コンクリ―トセグメント
JP2572496B2 (ja) * 1991-10-29 1997-01-16 株式会社奥村組 型枠によるトンネル曲線部の六角形コンクリートセグメントの製造方法
JP2717477B2 (ja) * 1992-04-08 1998-02-18 昭和コンクリート工業株式会社 坑のライニング及びコンクリートセグメント
JP3471517B2 (ja) * 1996-04-03 2003-12-02 株式会社奥村組 六角形セグメント製造用型枠
JP3488363B2 (ja) * 1997-06-09 2004-01-19 株式会社奥村組 六角形セグメント及びその接合構造
JP3942919B2 (ja) * 2002-03-05 2007-07-11 石川島建材工業株式会社 セグメント接合構造体およびそのセグメント
JP2007277891A (ja) * 2006-04-05 2007-10-25 Nippon Steel Corp 立坑躯体および立坑ならびにセグメントおよび立坑の施工方法
JP5327111B2 (ja) * 2010-03-18 2013-10-30 新日鐵住金株式会社 セグメントおよびトンネル施工方法
JP5986429B2 (ja) * 2012-05-30 2016-09-06 株式会社錢高組 ケーソン及びその製造方法

Also Published As

Publication number Publication date
JP2019070283A (ja) 2019-05-09

Similar Documents

Publication Publication Date Title
JP5811389B2 (ja) 地下構造物の施工方法
JP5136270B2 (ja) 合成摩擦杭の造成方法
JP2010248781A (ja) 地盤改良体
JP6656901B2 (ja) セグメント及び沈設構造物の構築方法
JP5465086B2 (ja) 地下構造物の構築方法
KR101296857B1 (ko) 토압 지지력이 강화된 바닥보를 구비하는 지하 구조물 및 그 시공방법
JP6948908B2 (ja) セグメント、埋設構造物及び埋設構造物の構築方法
JP2018100508A (ja) 建物の構築方法
JP6452299B2 (ja) 仮締切兼用鋼管矢板基礎の施工方法
JP6445892B2 (ja) 沈設構造物の構築方法及び沈設構造物
JP6220659B2 (ja) 反力受部材及び構真柱の天端の位置調整工法
JP2013177741A (ja) 複合地盤杭基礎技術による既設構造物基礎の耐震補強構造
KR101256311B1 (ko) 지하 심화공법
JP5512600B2 (ja) 土留壁の増築方法および土留壁構造
JP6715663B2 (ja) 鋼管杭の施工方法
KR100967496B1 (ko) 지하 구조물 구축장치
KR101047257B1 (ko) 복합시트파일을 이용한 흙막이 벽체 조성공법
JP6710999B2 (ja) 既設構造物の仮受け工法
JP7149868B2 (ja) 合成セグメント、環状体、構造物及びスキンプレート
JP4313871B2 (ja) 沈設体の沈設方法及びその沈設体
JP2011179305A (ja) 大断面トンネル、及び、大断面トンネルの構築方法
JP7230313B2 (ja) 地下階構造及び地下階の構築方法
JP6832761B2 (ja) 建物建替え方法
JP6827294B2 (ja) セグメント壁体及びトンネル覆工体
JP2007107233A (ja) 土留構造物の構築方法

Legal Events

Date Code Title Description
A621 Written request for application examination

Free format text: JAPANESE INTERMEDIATE CODE: A621

Effective date: 20200803

A977 Report on retrieval

Free format text: JAPANESE INTERMEDIATE CODE: A971007

Effective date: 20210804

TRDD Decision of grant or rejection written
A01 Written decision to grant a patent or to grant a registration (utility model)

Free format text: JAPANESE INTERMEDIATE CODE: A01

Effective date: 20210906

A61 First payment of annual fees (during grant procedure)

Free format text: JAPANESE INTERMEDIATE CODE: A61

Effective date: 20210921

R150 Certificate of patent or registration of utility model

Ref document number: 6948908

Country of ref document: JP

Free format text: JAPANESE INTERMEDIATE CODE: R150

R250 Receipt of annual fees

Free format text: JAPANESE INTERMEDIATE CODE: R250

R250 Receipt of annual fees

Free format text: JAPANESE INTERMEDIATE CODE: R250