JP6839552B2 - パネル体、間仕切り装置、天板付什器及びパネル体の製造方法 - Google Patents

パネル体、間仕切り装置、天板付什器及びパネル体の製造方法 Download PDF

Info

Publication number
JP6839552B2
JP6839552B2 JP2017017855A JP2017017855A JP6839552B2 JP 6839552 B2 JP6839552 B2 JP 6839552B2 JP 2017017855 A JP2017017855 A JP 2017017855A JP 2017017855 A JP2017017855 A JP 2017017855A JP 6839552 B2 JP6839552 B2 JP 6839552B2
Authority
JP
Japan
Prior art keywords
layer
bonding
panel body
heat
functional
Prior art date
Legal status (The legal status is an assumption and is not a legal conclusion. Google has not performed a legal analysis and makes no representation as to the accuracy of the status listed.)
Active
Application number
JP2017017855A
Other languages
English (en)
Other versions
JP2018123624A (ja
Inventor
崇之 山本
崇之 山本
信彦 馬場
信彦 馬場
英治 岡村
英治 岡村
隆宏 塚本
隆宏 塚本
隆之 崎本
隆之 崎本
Current Assignee (The listed assignees may be inaccurate. Google has not performed a legal analysis and makes no representation or warranty as to the accuracy of the list.)
Parker Corp
Okamura Corp
Tsubakimoto Kogyo Co Ltd
Original Assignee
Parker Corp
Okamura Corp
Tsubakimoto Kogyo Co Ltd
Priority date (The priority date is an assumption and is not a legal conclusion. Google has not performed a legal analysis and makes no representation as to the accuracy of the date listed.)
Filing date
Publication date
Application filed by Parker Corp, Okamura Corp, Tsubakimoto Kogyo Co Ltd filed Critical Parker Corp
Priority to JP2017017855A priority Critical patent/JP6839552B2/ja
Priority to EP17867827.2A priority patent/EP3536869A4/en
Priority to US16/345,120 priority patent/US20190283380A1/en
Priority to PCT/JP2017/040137 priority patent/WO2018084315A1/ja
Priority to CN201780068292.4A priority patent/CN109923271A/zh
Publication of JP2018123624A publication Critical patent/JP2018123624A/ja
Application granted granted Critical
Publication of JP6839552B2 publication Critical patent/JP6839552B2/ja
Active legal-status Critical Current
Anticipated expiration legal-status Critical

Links

Images

Landscapes

  • Building Environments (AREA)
  • Panels For Use In Building Construction (AREA)
  • Laminated Bodies (AREA)

Description

本発明は、パネル体、間仕切り装置、天板付什器及びパネル体の製造方法に関する。
一般に、オフィスや公共施設等の執務空間においては、執務者に作業を行うためのスペースを提供するために天板付什器が配設されている。このような執務空間では、天板上の作業スペースと外部空間とを区画し、執務者の視線を遮り、執務者が集中できる環境を提供するため、天板付什器の周縁部付近にパネル体や該パネル体を備えた間仕切り装置が配置される場合がある(例えば、特許文献1,2参照)。
上述のように天板付什器の周縁部付近に配置されるパネル体としては、例えば剛性を有する平板状の基材の外周面をクロス等の表面材で覆うことによって体裁良く収められたものが多く用いられている。但し、基材が剛性を有する材料から構成されているため、執務者に視覚的、触感的に無機質な印象を与えてしまうという問題があった。
上述の問題を鑑み、有機的で温かみがある印象のパネル体を構成するために、例えば、基材の周縁部に枠体を設け、この枠体にもクロス等の表面材を張設することによってパネル体を構成する方法が提案されている(例えば、特許文献3−5参照)。
特許第4060976号公報 特許第4216389号公報 特許第4133368号公報 特許第4077327号公報 特許第4167141号公報
上述の特許文献1−5に開示されているパネル体をはじめ、執務空間等の空間を区画するために使用されるパネル体には、例えば、区画された空間間での遮音、防水等のさらなる機能(以下、所定の機能とする)が求められる。
しかしながら、上述のようにクロス等の表面材を用いた場合では、有機的で温かみのある印象を保ちつつ、パネル体に所定の機能を発揮させることは難しいという問題があった。
本発明は、上述した事情に鑑みてなされたものであって、執務者に有機的で温かみのある印象を与えつつ、所定の機能を発揮するパネル体、該パネル体を用いた間仕切り装置、天板付什器及びパネル体の製造方法を提供することを目的とする。
本発明に係るパネル体は、空間を区画するために使用されるパネル体であって、繊維状の基材を含む第一のクッション層及び第二のクッション層と、前記第一のクッション層と前記第二のクッション層との間に配置され、所定の機能を有する機能シートと、前記パネル体の周縁部に、該周縁部以外の部分に比べて厚さ寸法の小さい補強部と、を有することを特徴とする。
このように構成されたパネル体では、機能シートの表面及び裏面の各々に、第一のクッション層及び第二のクッション層の各々が設けられることで、パネル体の最も外側にクッション層が配置されているので、基材に起因する有機的で温かみのある印象が保たれる。また、上述のように構成されたパネル体では、機能シートを備えることによって、所定の機能が発揮される。
本発明に係るパネル体では、前記機能シートは遮音機能を有していてもよい。
このように構成されたパネル体では、機能シートをとおしてパネル体全体から遮音機能が発揮される。
上述のパネル体では、前記第一のクッション層及び前記第二のクッション層はそれぞれ、前記基材と該基材より融点の低い接合材料とを含む熱結合層と、前記熱結合層の一方の面に接着され、前記基材からなる表面層と、を有していてもよい。
ここで、接合材料は、融点以上の温度で加熱された際に、軟化し、繊維状の基材における繊維同士の隙間に移動可能であって、融点未満の温度に冷却された際に、硬化することができる材料であれば、全て含まれる。接合材料の詳細については、後述する。
このように構成されたパネル体では、熱結合層が接合材料の融点以上かつ基材の融点未満の温度(以下、「所定の加熱温度」とする)で加熱された際に、熱結合層からの熱が隣接する表面層に伝わり、熱結合層に含まれている接合材料が溶けると共に表面層の基材の繊維同士の隙間に移動する。そのため、表面層における熱結合層との接着面に接合材料が含浸すると共に基材と熱融着する。また、所定の加熱温度未満に冷却された際に接合材料が固まることにより、表面層と熱結合層との接着強度およびパネル体全体の強度が高まる。これにより、表面層の有機的で温かみのある印象が保たれつつ、表面層と熱結合層が良好に接着されている。
上述のパネル体では、前記機能シートは、前記所定の機能を有する機能層と、前記機能層と前記第一のクッション層との間に配置され、前記機能層と前記第一のクッション層とを接着する第一の接着層と、前記機能層と前記第二のクッション層との間に配置され、前記機能層と前記第二のクッション層とを接着する第二の接着層と、を有していてもよい。
このように構成されたパネル体では、第一及び第二の接着層によって、第一のクッション層と機能層、第二のクッション層と機能層がそれぞれ良好に接着している。
上述のパネル体では、前記機能シートは、前記機能層と前記第一の接着層との間に配置され、前記機能層が有する前記所定の機能を補強する第一の機能補強層と、前記機能層と前記第二の接着層との間に配置され、前記機能層が有する前記所定の機能を補強する第二の機能補強層と、を有していてもよい。
このように構成されたパネル体では、第一及び第二の機能補強層によって、機能層から発揮される所定の機能が補強され、機能シート全体の所定の機能が高められる。
上述のパネル体では、前記第一の接着層及び前記第二の接着層は前記基材より融点の低い材料から構成されていてもよい。
上述のパネル体では、前記基材はポリエステル系繊維で構成され、前記機能層はポリアミドで構成され、前記第一の接着層及び前記第二の接着層はポリエチレンで構成されていてもよい。
このように構成されたパネル体では、機能シートが所定の加熱温度で加熱された際に溶融可能な第一及び第二の接着層により、第一のクッション層と機能層と第二のクッション層が良好に接着している。
また、加工し易く、比較的安価なポリエステル系繊維、ポリアミド、ポリエステル系繊維より融点の低い低融点のポリエチレンを用いることで、第一及び第二のクッション層と遮音機能を有する機能シートを容易に実現し、パネル体の低コスト化を図ることができる。
本発明に係る間仕切り装置及び天板付什器は、上述のパネル体を備えることを特徴とする。
上述の間仕切り装置や天板付什器は、上述のように基材に起因する有機的で温かみのある印象と硬化した接合材料に起因する充分な強度を有するパネル体を備えているので、執務空間において、執務者に威圧感や不快感を与えずに、天板上の作業スペースと外部空間とを区画し、執務者の視線を遮ることができる。
本発明に係るパネル体の製造方法は、繊維状の基材と該基材より融点の低い接合材料とを含む第一の熱結合層の一方の面に前記基材からなる第一の表面層を積層する第一積層工程と、前記第一積層工程後に、前記第一の熱結合層の他方の面から前記第一の熱結合層を前記接合材料の融点以上かつ前記基材の融点未満の温度で加熱する第一加熱工程と、前記基材と前記接合材料とを含む第二の熱結合層の一方の面に前記基材からなる第二の表面層を積層する第二積層工程と、前記第二積層工程後に、前記第二の熱結合層の他方の面から前記第二の熱結合層を前記温度で加熱する第二加熱工程と、前記第一加熱工程及び前記第二加熱工程の後に、前記第一の熱結合層の他方の面と前記第二の熱結合層の他方の面とが対向するように所定の機能を有する機能シートを介して前記第一の熱結合層と前記第二の熱結合層を配置し、前記第一の熱結合層及び前記第二の熱結合層の各々の一方の面から他方の面に向かう方向に前記第一の熱結合層と前記第二の熱結合層とを押し当てて接着する接着工程と、上記接着工程により得たパネル体の周縁部の厚み寸法が前記周縁部以外の部分より厚み寸法より小さくなるように、前記第一の熱結合層と前記第二の熱結合層を互いに近づける方向に、前記パネル体の前記周縁部を押して補強部を形成する補強部形成工程と、を有することを特徴とする。
上述のパネル体の製造方法では、第一加熱工程及び第二加熱工程において所定の加熱温度で第一及び第二の熱結合層を他方の面から加熱し、第一及び第二の熱結合層の接合材料を溶かし、第一及び第二の表面層における基材の繊維同士の隙間に含浸させると共に熱融着させる。また、接着工程において所定の加熱温度未満に冷却された接合材料が固めると共に、熱結合層の各々の一方の面から他方の面に向かう方向に機能シートを介して第一及び第二の熱結合層とを押し当てることで、隣接する第一の表面層、第一の熱結合層、機能シート、第二の熱結合層、第二の表面層を接合材料によって互いに良好に接着する。これにより、パネル体に繊維状の基材に起因する有機的で温かみのある印象を持たせ、かつ機能シートから所定の機能を発揮させることができる。
本発明によれば、執務者に有機的で温かみのある印象を与えつつ、所定の機能を発揮するパネル体、該パネル体を用いた間仕切り装置、天板付什器及びパネル体の製造方法を提供することができる。
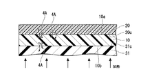
本発明に係るパネル体の一態様を示す斜視断面図である。 本発明に係るパネル体の一態様の変形例を示す斜視断面図である。 図1に示すパネル体の機能シートの構成を示す断面図である。 本発明に係るパネル体の製造方法における第一加熱工程を説明するための断面図である。 本発明に係るパネル体の製造方法における接着工程を説明するための断面図である。 本発明に係る間仕切り装置の一例を示す正面図である。 本発明に係る天板付什器の一例を示す側面図である。
以下、本発明を適用したパネル体、該パネル体を用いた間仕切り装置、天板付什器及びパネル体の製造方法について説明する。
<パネル体>
図1に示すように、本発明の一実施形態のパネル体1は、不図示の執務空間等の空間を区画するために使用されるパネル体であって、繊維状の基材2Aを含むクッション層(第一のクッション層)51と、クッション層(第二のクッション層)52と、これらのクッション層51,52の間に配置され、所定の機能を有する機能シート41と、を備えている。
クッション層51は、繊維状の基材2Aと基材2Aより融点の低い接合材料4Aとを含む熱結合層10と、熱結合層10の表面(一方の面)10aに接着され、基材2Aからなる表面層20と、熱結合層10の裏面10bに接着されている中間層31と、を備えている。表面層20における熱結合層10との接着面20cには接合材料4Aが含浸すると共に熱融着している。また、中間層31における熱結合層10との接着面31cにも接合材料4Aが含浸すると共に熱融着している。
クッション層52は、クッション層51と略同様の構成として、繊維状の基材2Bと基材2Bより融点の低い接合材料4Bとを含む熱結合層(第二の熱結合層)12と、熱結合層12の表面(一方の面)12aに接着され、基材2Bからなる表面層22と、熱結合層12の裏面(他方の面)12bに接着されている中間層32と、を備えている。表面層22における熱結合層12との接着面22cには接合材料4Bが含浸すると共に熱融着している。中間層32における熱結合層12との接着面32cにも接合材料4Aが含浸すると共に熱融着している。
表面層20,22は、パネル体1の最も外側に配置され、繊維状の基材2A,2Bから構成されていることで、クッション層51,52に対して基材2A,2Bに起因する有機的で温かみのある印象を付与する層である。
なお、表面層20,22には、基材2A,2Bの持つ繊維特有の質感に影響しない範囲で添加剤や着色剤、発色剤、その他のものが含まれていてもよい。
基材2A,2Bを構成する繊維としては、接合材料4A,4Bを含浸させることができるものであれば特に限定されないが、例えばポリエステル、ポリプロピレン、ポリエチレン等からなる繊維、ガラス繊維、ナイロン繊維、炭素繊維、アラミド繊維等が挙げられる。加飾、成形性、風合い、入手性に優れている点から、基材2A,2Bを構成する繊維としては、ポリエステル繊維、ナイロン繊維またはポリプロピレン繊維が好ましい。基材2A,2Bとしては、前述の繊維を互いに隙間を持たせて織ったものや、前述の繊維を織らずに絡みあわせたもの(いわゆる、不織布)等が挙げられる。なお、基材2Aを構成する繊維の種類は、基材2Bを構成する繊維の種類と同一であってもよく、基材2Bを構成する繊維の種類とは異なっていてもよい。
表面層20,22の厚みは、特に限定されず、適切な範囲内で設定されている。表面層20の厚みは、表面層22の厚みと同一であってもよく、表面層22の厚みとは異なっていてもよい。
表面層20,22の加熱時の温度は、例えば180℃以上280℃以下であることが好ましく、220℃以上260℃以下であることがより好ましい。
熱結合層10,12は、表面層20,22よりもパネル体1の内側に配置され、基材2A,2Bに加えて接合材料4A,4Bを含んでいることで、硬化した接合材料4A,4Bに起因する強度を有する層であり、パネル体1の芯としての役割を担っている。
なお、熱結合層10,12には、熱結合層10,12の加熱時や冷却時の接合材料4A,4Bの挙動に影響しない範囲で添加剤や発色剤、その他のものが含まれていてもよい。
接合材料4A,4Bは、少なくとも基材2A,2Bの融点よりも低い融点を有し、基材2Aまたは基材2Bに含浸可能なものであれば特に限定されないが、自身の融点以上の温度で加熱された際に、軟化し、基材2A,2Bにおける繊維同士の隙間に移動可能であって、融点未満の温度に冷却された際に、硬化する材料であれば、繊維質のものや粒状のもの等を全て含む。このような材料としては、例えば、熱可塑性樹脂や熱可塑性繊維、熱硬化性樹脂や熱硬化性繊維等が挙げられる。接合材料4A,4Bとしては、低融点ポリエステルまたは低融点ポリエチレンが好ましい。「低融点ポリエステル」とは、基材2A,2Bを構成するポリエステルの融点よりも低い融点のポリエステルまたは該ポリエステルを主体とするポリエステル化合物等を表す。具体的には、基材2A,2Bが高純度のポリエステルで構成されている場合、接合材料4A,4Bとして、再利用等によって不純物が混入され、かつ高純度のポリエステルよりも低融点を有する再生ポリエステルを適用可能である。同様に、「低融点ポリエチレン」とは、基材2A,2Bを構成可能なポリエチレンの融点よりも低い融点のポリエチレンまたは該ポリエチレンを主体とするポリエチレン化合物等を表す。このように基材2A,2Bと接合材料4A,4Bが同種類の材料で構成されることで、熱結合層10と表面層20との接合度、親和性及び熱結合層12と表面層22との接合度、親和性が高まる。
基材2Aの融点と接合材料4Aの融点との差、基材2Bの融点と接合材料4Bの融点との差は、特に限定されず、適切な範囲内で設定されている。例えば、接合材料4A,4Bとして低融点ポリエステルが用いられる場合は、低融点ポリエステルの融点が100℃以上140℃以下であることが好ましい。
熱結合層10における接合材料4Aの含有量、熱結合層12における接合材料4Bの含有量は、30質量%以上50質量%以下であることが好ましく、35質量%以上45質量%以下であることがより好ましい。
熱結合層10,12の厚みは、特に限定されず、適切な範囲内で設定されている。熱結合層10の厚みは、熱結合層12の厚みと同一であってもよく、熱結合層12の厚みとは異なっていてもよい。
上述の構成では、表面層20の接着面20cに熱結合層10からの接合材料4Aが含浸すると共に熱融着し、表面層22の接着面22cに熱結合層12からの接合材料4Bが含浸すると共に熱融着している。
表面層20は基材2Aに加えて接合材料4Aを含み、表面層22は基材2Bに加えて接合材料4Bを含んでいる。ただし、表面層20における接合材料4Aの含有量は熱結合層10における接合材料4Aの含有量より少なく、形成後のパネル体1の表面に繊維特有の質感を維持することができる程度の含有量とされている。また、表面層22における接合材料4Bの含有量は熱結合層12における接合材料4Bの含有量より少なく、形成後のパネル体1の表面に繊維特有の質感を維持することができる程度の含有量とされている。このような構成では、熱結合層10の表面10aにも表面層20からの接合材料4Aが含浸すると共に熱融着し、熱結合層12の表面12cにも表面層22からの接合材料4Bが含浸すると共に熱融着している。
表面層20における接合材料4Aの含有量、表面層22における接合材料4Bの含有量は、5質量%以上20質量%以下であることが好ましく、7質量%以上15質量%以下であることがより好ましい。
中間層31,32は、パネル体1の厚み方向における中心付近に配置され、厚みによってパネル体1に膨らみと耐衝撃性を持たせる層である。
中間層31は接合材料4Aより融点の高い繊維材料6Aからなり、中間層32は接合材料4Bより融点の高い繊維材料6Bからなる。
繊維材料6A,6Bは、前述のように接合材料4A,4Bよりも高い融点を有し、接合材料4A,4Bを含浸させることができるものであれば、特に限定されない。繊維材料6A,6Bとしては、例えば基材2A,2Bと同様のもの、ガラス繊維、雑繊維、その他の化学繊維全般、ゴム、樹脂発泡体、ハニカム構造体等が挙げられる。なお、繊維材料6Aは、基材2A,2Bを構成する繊維または繊維材料6Bと同一であってもよく、これらの繊維とは異なっていてもよい。繊維材料6Bは、基材2A,2Bを構成する繊維または繊維材料6Aと同一であってもよく、これらの繊維とは異なっていてもよい。
中間層31,32の厚みは、特に限定されず、適切な範囲内で設定されている。中間層31の厚みは、中間層32の厚みと同一であってもよく、表面層22の厚みとは異なっていてもよい。
図3に示すように、機能シート41は、所定の機能を有する機能層42と、機能層42とクッション層51との間に配置されている接着層(第一の接着層)43と、機能層42とクッション層52との間に配置されている接着層(第二の接着層)44と、を備えている。さらに、機能シート41は、機能層42と接着層43との間に配置されている機能補強層(第一の機能補強層)45と、機能層42と接着層44との間に配置されている機能補強層(第二の機能補強層)46と、を有している。
機能層42が有する所定の機能は、執務空間等の空間を区画するために使用されるパネル体1に求められる機能であれば特に限定されないが、一例としては、遮音機能や防水機能、吸湿機能、帯磁性機能、抗菌機能、消臭機能、防炎機能、難燃機能、帯電防止機能、衝撃吸収機能等が挙げられる。
所定の機能が遮音機能であれば、機能層42はポリアミドやナイロン、ゴム、ウレタン、ポリエチレン、ポリプロピレン、ポリエステル等から構成されていることが好ましい。特に、機能層42がポリアミドから構成されれば、遮音機能を有する機能シート41が容易に実現され、機能シート41及びパネル体1の低コスト化が図られる。
機能層42の厚みは、所定の機能が良好に得られるように、機能層42の材料の種類等を勘案して適切に設定されている。
接着層43は機能層42とクッション層51とを接着するための層であり、接着層44は機能層42とクッション層52とを接着するための層である。
接着層43,44は、基材2A,2Bより融点の低い材料から構成されていることが好ましい。これにより、機能シート41が所定の加熱温度で加熱された際に、接着層43,44が容易に溶融し、隣接するクッション層51やクッション層52と接着する。接着層43,44を構成する前述の材料としては、例えばホットメルトを含むポリエチレン、ウレタン、エチレン−酢酸ビニル共重合樹脂(Ethylene-Vinyl Acetate:EVA)、ナイロン、オレフィン系樹脂等が挙げられる。
接着層43,44の厚みは、特に限定されず、適切な範囲内で設定されている。
機能補強層45,46は、機能層42が有する所定の機能を補強し得る層であり、機能層42と接着層43,44との緩衝材としても機能する。
機能補強層45,46を構成する材料は、上述の役割を担えれば特に限定されないが、例えばバインダーとして適用可能な樹脂や繊維、ウレタン、オレフィン系樹脂等が挙げられる。
機能補強層45,46の厚みは、特に限定されず、適切な範囲内で設定されている。
パネル体1の周縁部には、該周縁部以外の部分に比べて厚さ寸法の小さい補強部50が設けられている。なお、補強部50は、パネル体1の周縁部とは異なる位置に設けられていてもよく、例えばパネル体1の中心部に設けられていてもよい。
なお、図2に示すように、機能シート40は補強部50には設けられておらず、補強部50以外の部分のみに設けられていてもよい。補強部50は、その厚み寸法を小さくするために後述の製造方法において強く圧縮されることによって形成されている。そのため、機能シート40が省略されても、補強部50における中間層31,32同士は接着されている。また、補強部50以外のパネル体1の主要な部分には機能シート40が設けられていることにより、パネル体1の有する所定の機能は発揮される。
<パネル体の製造方法>
本発明の一実施形態のパネル体の製造方法は、図1に示すパネル体1を製造するための方法であって、少なくとも第一積層工程と、第二積層工程と、第一加熱工程と、第二加熱工程と、接着工程と、を有している。
[第一積層工程]
本工程では、先ず、繊維材料6Aからなる中間層31の接着面31cに、繊維状の基材2Aと基材2Aより融点の低い接合材料4Aとを含む熱結合層10の裏面10bを当接させ、中間層31に熱結合層10を積層する。
次に、熱結合層10の表面10aに、基材2Aと、熱結合層10よりも少ない含有率で接合材料4Aとを含む表面層20を積層する。
[第二積層工程]
本工程では、先ず、繊維材料6Bからなる中間層32の接着面31cに、繊維状の基材2Bと基材2Bより融点の低い接合材料4Bとを含む熱結合層12の裏面12bを当接させ、中間層32に熱結合層12を積層する。
次に、熱結合層12の表面12aに、基材2Bと、熱結合層12よりも少ない含有率で接合材料4Bとを含む表面層22を積層する。
本工程は、第一積層工程の後に行ってもよく、第一積層工程と並行してもよい。
[第一加熱工程]
本工程は、第一積層工程の後に行う。
本工程では、図4に示すように、中間層31の接着面31cとは反対側の面31d(図4では省略)から矢印のように中間層31を加熱する。この際、所定の加熱温度(すなわち、接合材料4Aの融点以上かつ基材2A及び繊維材料6Aの融点未満の温度)で加熱する。この工程によって、熱結合層10の裏面10bから熱結合層10及び表面層20を所定の加熱温度で間接的に加熱する。
本工程により、中間層31と熱結合層10と表面層20がこの順に積層されたクッション層51を得る。
すなわち、本工程により、熱結合層10に含まれている接合材料4Aを表面層20の接着面20cに含浸させるとともに、中間層31の接着面31cにも含浸させる。また、表面層20に含まれている接合材料4Aを熱結合層10の表面10aに含浸させる。
[第二加熱工程]
本工程は、第二積層工程の後に行う。
本工程では、中間層32の接着面32cとは反対側の面32dから中間層32を所定の加熱温度で加熱する。この工程によって、熱結合層12の裏面12bから熱結合層12及び表面層22を所定の加熱温度で間接的に加熱する。
本工程により、中間層32と熱結合層12と表面層22がこの順に積層されたクッション層52を得る。
すなわち、本工程により、第一加熱工程と同様に、熱結合層12に含まれている接合材料4Bを表面層22の接着面22cに含浸させるとともに、中間層32の接着面32cにも含浸させる。また、表面層22に含まれている接合材料4Bを熱結合層12の表面12aに含浸させる。
[接着工程]
本工程は、少なくとも第一加熱工程及び前記第二加熱工程の後に行い、第一加熱工程及び前記第二加熱工程で得られたクッション層51,52が接合材料4Aの融点未満の温度に冷却される前に、予熱(例えば、120℃〜130℃程度)された状態で行うことが好ましい。
本工程では、先ず、図5に示すように、機能シート41を挟んで、クッション層51の中間層31の接着面31cとは反対側の面31dとクッション層52の中間層32の接着面32cとは反対側の面32dが対向するようにクッション層51,52を配置する。このような配置から、クッション層51の表面層20の接着面20cとは反対側の面20d側にプレス板71のプレス面71pを当て、積層体62の表面層22の接着面22cとは反対側の面22d側にプレス板72のプレス面72pを当てる。プレス板71,72を互いに近づくように矢印の方向に移動させることによって、クッション層52と機能シート41とクッション層51とがこの順に積層されたパネル体1を得る(プレス工程)。
すなわち、本工程では、上述したプレス工程により、熱結合層10の裏面10bと熱結合層12の裏面12bが対向するように熱結合層10と熱結合層12を配置し、熱結合層10及び熱結合層12の各々の表面10a,12aから裏面10b,12bに向かう方向に熱結合層10と熱結合層12とを押し当てて接着する。
また、本工程では、クッション層51,52の予熱により、接着層43,44を溶融させ、機能層42とクッション層51とを接着させると共に機能層42とクッション層52とを接着させる。
[補強部形成工程]
本発明の一実施形態のパネル体の製造方法は、上述の工程に加えて補強部形成工程を備えている。
本工程では、パネル体1の周縁部の厚み寸法が周縁部以外の部分より厚み寸法より小さくなるように、パネル体1の周縁部にあたる位置において、クッション層51,52を互いに近づける方向に強く押し当てる。これにより、図1に示すパネル体1に補強部50を形成する。
なお、本工程は、接着工程と同時に行ってもよい。その場合、例えば補強部50の形成位置に合わせて湾曲あるいは屈曲した形状を有するプレス板を用いてもよく、補強部50の形成方法は特に制限されない。
<間仕切り装置>
本発明の一実施形態の間仕切り装置81は、図6に示すように、上述のパネル体1Aと、パネル体1Aを床面に対して鉛直方向に向けて配置するとともに接地可能とするための脚部82と、を備えている。
パネル体1Aは、鉛直方向に立てられた状態で配置され、正面から見て矩形に形成されている。パネル体1Aの周縁部には、前述したように周縁部以外の部分よりも硬く形成された補強部50Aが設けられている。さらに、パネル体1Aの下部には、脚部82をパネル体1Aに取り付けるための補強部50Bが二箇所設けられている。
脚部82は、床面に設置され、水平方向(図6の紙面における左右方向)沿って延在する土台部84と、土台部84から鉛直方向上方に延び、先端86tがパネル体1Aの補強部50Bに取り付けられている支持部86と、を備えている。支持部86の先端86tは、ボルトや公知の取付具等によって補強部50Bに取り付けられている。
<天板付什器>
本発明の一実施形態の天板付什器の一例であるデスク装置(天板付什器)101は、図7に示すように、床面に接地する支持部102と、支持部102の上端に配された天板110と、天板110の奥側(図7の紙面における左側)に配置されたパネル体1Bと、パネル体1Bを天板110に連結するための連結具120と、を備えている。
支持部102は、床面に設置され、水平方向(図7の紙面における左右方向)に沿って延在する土台部104と、土台部104から鉛直方向上方に延びる支持柱106と、を備えている。
天板110は、支持柱106の先端106tに取り付けられ、上面110aが水平方向に沿うように配置されている。
パネル体1Bは、連結具120によって、天板110の上面110aに対して垂直となるように天板110に連結されている。また、パネル体1Bは、少なくとも天板110の上面110aよりも上方に延びるように、高さ方向の中央よりやや下方で天板110に連結されている。
本実施形態のパネル体1、間仕切り装置81、デスク装置101及びパネル体の製造方法の作用及び効果について説明する。
本実施形態のパネル体1によれば、機能シート41の表面41a及び裏面41bの各々に、クッション層51またはクッション層52を設けることで、パネル体1の最も外側に表面層20,22(すなわち、表面層20を備えたクッション層51、表面層22を備えたクッション層52)が配置されているので、パネル体1に対して基材2A,2Bに起因する有機的で温かみのある印象を付与し、該印象を保つことができる。また、上述のように構成されたパネル体では、機能シート41を備えることによって、従来クロス等の表面層を用いたパネル体では実現が難しかった所定の機能を発揮させることができる。
所定の機能は、遮音機能を始め、機能シート41としてシート状の材料で発現可能な機能であれば、幅広く選択することができる。これにより、パネル体1の有する機能を幅広く設定し、パネル体1の活用の幅を拡げることができる。
また、本実施形態のパネル体1によれば、熱結合層10,12が所定の加熱温度で加熱された際に、熱結合層10,12からの熱を表面層20,22に伝え、表面層20,22に含まれている接合材料4A,4Bを溶かし、表面層20,22の接着面20c,22cに含浸させると共に熱融着させることができる。また、所定の加熱温度未満に冷却された際に接合材料4A,4Bが固めることにより、表面層20,22と熱結合層10,12との接着強度およびパネル体1全体の強度を高めることができる。これにより、表面層20,22の有機的で温かみのある印象を保ちつつ、パネル体1に強度を付与することができる。
また、本実施形態のパネル体1によれば、機能シート41が機能層42と、接着層43,44とを有することによって、クッション層51,52と所定の機能を主に発揮する機能層42をそれぞれ容易にかつ良好に接着することができる。
また、本実施形態のパネル体1によれば、機能シート41が機能補強層45,46をさらに有することによって、機能層42から発揮される所定の機能を補強し、機能シート41全体から発揮される所定の機能を高めることができる。
前述のように、基材をポリエステル系繊維で構成し、機能層42をポリアミドで構成するとともに、接着層43,44をポリエチレンで構成すれば、容易に、かつ低コストで遮音機能を有するパネル体1を実現することができる。
また、本実施形態の間仕切り装置81、デスク装置101によれば、上述のように基材2A,2Bに起因する有機的で温かみのある印象と、所定の機能を発揮する機能シート41を備えているので、執務空間において、執務者に威圧感や不快感を与えずに、天板上の作業スペースと外部空間とを区画し、区画したスペース内に所定の機能を提供することができる。
また、本実施形態のパネル体1の製造方法によれば、第一加熱工程及び第二加熱工程において熱結合層10,12に含まれる接合材料4A,4Bを溶かし、表面層20,22の接着面20c,22cにおける基材2A,2Bの繊維同士の隙間や中間層31,32に含浸させると共に熱融着させることができる。また、接着工程において前述のように隣接する層構造に含浸及び熱融着させた接合材料4A,4Bを固め、熱結合層10,12の表面10a,12aから裏面10b,12bに向かう方向に熱結合層10を含むクッション層51と熱結合層12を含むクッション層52とを機能シート41を挟んで互いに押し当てることで、予熱により接着層43,44を溶融させ、クッション層52、機能シート41、クッション層51をこの順で良好に接着することができる。
また、繊維状の基材2A,2Bに起因する有機的で温かみのある印象と、所定の機能を発揮するパネル体1を安価で簡易に構成することができる。
以上、本発明の実施形態について図面等を参照して詳述したが、具体的な構成はこの実施形態に限られるものではなく、本発明の要旨を逸脱しない範囲の設計変更等も含まれる。
例えば、上述のパネル体1を構成し、隣接する各層間(例えば、表面層20と熱結合層10との間、接着層43と機能補強層45との間、等)には適当な接着剤が設けられていてもよい。
1,1A,1B パネル体
10 熱結合層
12 熱結合層
20,22 表面層
31 中間層(第一の中間層)
32 中間層(第二の中間層)
41 機能シート
42 機能層
43 接着層(第一の接着層)
44 接着層(第二の接着層)
45 機能補強層(第一の機能補強層)
46 機能補強層(第二の機能補強層)
51 クッション層(第一のクッション層)
52 クッション層(第二のクッション層)
81 間仕切り装置
101 デスク装置(天板付什器)

Claims (10)

  1. 空間を区画するために使用されるパネル体であって、
    繊維状の基材を含む第一のクッション層及び第二のクッション層と、
    前記第一のクッション層と前記第二のクッション層との間に配置され、所定の機能を有する機能シートと、
    前記パネル体の周縁部に、該周縁部以外の部分に比べて厚さ寸法の小さい補強部と、
    を有することを特徴とするパネル体。
  2. 前記機能シートは遮音機能を有することを特徴とする請求項1に記載のパネル体。
  3. 前記第一のクッション層及び前記第二のクッション層はそれぞれ、
    前記基材と該基材より融点の低い接合材料とを含む熱結合層と、
    前記熱結合層の一方の面に接着され、前記基材からなる表面層と、
    を有することを特徴とする請求項1または請求項2に記載のパネル体。
  4. 前記機能シートは、
    前記所定の機能を有する機能層と、
    前記機能層と前記第一のクッション層との間に配置され、前記機能層と前記第一のクッション層とを接着する第一の接着層と、
    前記機能層と前記第二のクッション層との間に配置され、前記機能層と前記第二のクッション層とを接着する第二の接着層と、
    を有することを特徴とする請求項1から請求項3の何れか一項に記載のパネル体。
  5. 前記機能シートは、
    前記機能層と前記第一の接着層との間に配置され、前記機能層が有する前記所定の機能を補強する第一の機能補強層と、
    前記機能層と前記第二の接着層との間に配置され、前記機能層が有する前記所定の機能を補強する第二の機能補強層と、
    を有することを特徴とする請求項4に記載のパネル体。
  6. 前記第一の接着層及び前記第二の接着層は前記基材より融点の低い材料から構成されていることを特徴とする請求項4または請求項5に記載のパネル体。
  7. 前記基材はポリエステル系繊維で構成され、
    前記機能層はポリアミドで構成され、
    前記第一の接着層及び前記第二の接着層はポリエチレンで構成されていることを特徴とする請求項6に記載のパネル体。
  8. 請求項1から請求項7の何れか一項に記載のパネル体を備えることを特徴とする間仕切り装置。
  9. 請求項1から請求項7の何れか一項に記載のパネル体を備えることを特徴とする天板付什器。
  10. 繊維状の基材と該基材より融点の低い接合材料とを含む第一の熱結合層の一方の面に前記基材からなる第一の表面層を積層する第一積層工程と、
    前記第一積層工程後に、前記第一の熱結合層の他方の面から前記第一の熱結合層を前記接合材料の融点以上かつ前記基材の融点未満の温度で加熱する第一加熱工程と、
    前記基材と前記接合材料とを含む第二の熱結合層の一方の面に前記基材からなる第二の表面層を積層する第二積層工程と、
    前記第二積層工程後に、前記第二の熱結合層の他方の面から前記第二の熱結合層を前記温度で加熱する第二加熱工程と、
    前記第一加熱工程及び前記第二加熱工程の後に、前記第一の熱結合層の他方の面と前記第二の熱結合層の他方の面とが対向するように所定の機能を有する機能シートを介して前記第一の熱結合層と前記第二の熱結合層を配置し、前記第一の熱結合層及び前記第二の熱結合層の各々の一方の面から他方の面に向かう方向に前記第一の熱結合層と前記第二の熱結合層とを押し当てて接着する接着工程と、
    上記接着工程により得たパネル体の周縁部の厚み寸法が前記周縁部以外の部分より厚み寸法より小さくなるように、前記第一の熱結合層と前記第二の熱結合層を互いに近づける方向に、前記パネル体の前記周縁部を押して補強部を形成する補強部形成工程と、
    を有することを特徴とするパネル体の製造方法。
JP2017017855A 2016-11-07 2017-02-02 パネル体、間仕切り装置、天板付什器及びパネル体の製造方法 Active JP6839552B2 (ja)

Priority Applications (5)

Application Number Priority Date Filing Date Title
JP2017017855A JP6839552B2 (ja) 2017-02-02 2017-02-02 パネル体、間仕切り装置、天板付什器及びパネル体の製造方法
EP17867827.2A EP3536869A4 (en) 2016-11-07 2017-11-07 PANEL BODY, ROOM SEPARATOR, FURNITURE WITH COVERING PANEL AND METHOD FOR PRODUCING A PANEL BODY
US16/345,120 US20190283380A1 (en) 2016-11-07 2017-11-07 Panel body, partition device, piece of furniture with top board, and method for manufacturing panel body
PCT/JP2017/040137 WO2018084315A1 (ja) 2016-11-07 2017-11-07 パネル体、間仕切り装置、天板付什器及びパネル体の製造方法
CN201780068292.4A CN109923271A (zh) 2016-11-07 2017-11-07 面板体、隔断装置、带顶板的日常用品、以及面板体的制造方法

Applications Claiming Priority (1)

Application Number Priority Date Filing Date Title
JP2017017855A JP6839552B2 (ja) 2017-02-02 2017-02-02 パネル体、間仕切り装置、天板付什器及びパネル体の製造方法

Publications (2)

Publication Number Publication Date
JP2018123624A JP2018123624A (ja) 2018-08-09
JP6839552B2 true JP6839552B2 (ja) 2021-03-10

Family

ID=63109557

Family Applications (1)

Application Number Title Priority Date Filing Date
JP2017017855A Active JP6839552B2 (ja) 2016-11-07 2017-02-02 パネル体、間仕切り装置、天板付什器及びパネル体の製造方法

Country Status (1)

Country Link
JP (1) JP6839552B2 (ja)

Family Cites Families (4)

* Cited by examiner, † Cited by third party
Publication number Priority date Publication date Assignee Title
JPH0350105U (ja) * 1989-09-22 1991-05-16
JP2003291235A (ja) * 2002-01-31 2003-10-14 Unitica Fibers Ltd 建材パネルおよびその製造方法
JP4919852B2 (ja) * 2007-03-26 2012-04-18 日本バイリーン株式会社 接着繊維シート及びその製造方法
JP5075753B2 (ja) * 2008-06-17 2012-11-21 トーア紡マテリアル株式会社 吸音板

Also Published As

Publication number Publication date
JP2018123624A (ja) 2018-08-09

Similar Documents

Publication Publication Date Title
JP2006513070A (ja) 成形容易な車両用内装材及び建築用シートの製造方法とそれにより製造された車両用内装材及び建築用シート
WO2018084315A1 (ja) パネル体、間仕切り装置、天板付什器及びパネル体の製造方法
KR19990046686A (ko) 흡,차음용적층체
JP6839552B2 (ja) パネル体、間仕切り装置、天板付什器及びパネル体の製造方法
JP6924583B2 (ja) パネル体、間仕切り装置、天板付什器及びパネル体の製造方法
JP5650711B2 (ja) タイル及びその製造方法
JP2733333B2 (ja) 防音床材の製造方法
CN201685455U (zh) 向空心塑料层压板固定零件的零件固定结构
WO2019087973A1 (ja) パネル体及びパネル体の製造方法
JP2001121630A (ja) 軽量板材
JP2603728B2 (ja) 防音床材の製造方法
JPH11131778A (ja) 防音床材用緩衝材及びその製造方法
JPH1058572A (ja) 積層成形体
JPH0842109A (ja) 金属下地パネル
JPS623216Y2 (ja)
JP2018164983A (ja) 表面化粧パネル及びこれを備えた化粧パネル
JPH0536678Y2 (ja)
JP2025057934A (ja) 積層体の製造方法
JP6745705B2 (ja) 間仕切り用パネル体、間仕切り装置、及び天板付什器
US20050224164A1 (en) Method for making a composite board and the composite board made thereby
JPS6329555Y2 (ja)
JPH0156905B2 (ja)
JP2006224681A (ja) 多層パネル
JPH09314713A (ja) 複合成形品
JP3057668U (ja) 装飾合板

Legal Events

Date Code Title Description
A521 Request for written amendment filed

Free format text: JAPANESE INTERMEDIATE CODE: A523

Effective date: 20170309

A521 Request for written amendment filed

Free format text: JAPANESE INTERMEDIATE CODE: A523

Effective date: 20170427

A621 Written request for application examination

Free format text: JAPANESE INTERMEDIATE CODE: A621

Effective date: 20200110

A131 Notification of reasons for refusal

Free format text: JAPANESE INTERMEDIATE CODE: A131

Effective date: 20200630

A521 Request for written amendment filed

Free format text: JAPANESE INTERMEDIATE CODE: A523

Effective date: 20200831

TRDD Decision of grant or rejection written
A01 Written decision to grant a patent or to grant a registration (utility model)

Free format text: JAPANESE INTERMEDIATE CODE: A01

Effective date: 20210119

A61 First payment of annual fees (during grant procedure)

Free format text: JAPANESE INTERMEDIATE CODE: A61

Effective date: 20210215

R150 Certificate of patent or registration of utility model

Ref document number: 6839552

Country of ref document: JP

Free format text: JAPANESE INTERMEDIATE CODE: R150

R250 Receipt of annual fees

Free format text: JAPANESE INTERMEDIATE CODE: R250

R250 Receipt of annual fees

Free format text: JAPANESE INTERMEDIATE CODE: R250