JP6834092B2 - 誘電体組成物及びこれを含む積層セラミックキャパシタ - Google Patents
誘電体組成物及びこれを含む積層セラミックキャパシタ Download PDFInfo
- Publication number
- JP6834092B2 JP6834092B2 JP2016152257A JP2016152257A JP6834092B2 JP 6834092 B2 JP6834092 B2 JP 6834092B2 JP 2016152257 A JP2016152257 A JP 2016152257A JP 2016152257 A JP2016152257 A JP 2016152257A JP 6834092 B2 JP6834092 B2 JP 6834092B2
- Authority
- JP
- Japan
- Prior art keywords
- mol
- dielectric
- subcomponent
- multilayer ceramic
- dielectric composition
- Prior art date
- Legal status (The legal status is an assumption and is not a legal conclusion. Google has not performed a legal analysis and makes no representation as to the accuracy of the status listed.)
- Active
Links
Images
Landscapes
- Engineering & Computer Science (AREA)
- Power Engineering (AREA)
- Chemical & Material Sciences (AREA)
- Ceramic Engineering (AREA)
- Manufacturing & Machinery (AREA)
- Microelectronics & Electronic Packaging (AREA)
- Inorganic Chemistry (AREA)
- Compositions Of Oxide Ceramics (AREA)
- Ceramic Capacitors (AREA)
- Fixed Capacitors And Capacitor Manufacturing Machines (AREA)
- Inorganic Insulating Materials (AREA)
Description
本発明の一実施形態による誘電体組成物は、(Ba,Ti)O3系列の強誘電体物質を第1主成分、(Ca,Sr)(Zr,Ti)O3系列の常誘電体物質を第2主成分とし、上記第1主成分のモル分率をa、上記第2主成分のモル分率をbとすると、0.33≦a/b≦3の条件を満たし、上記第2主成分は組成式(Ca,Sr)(Zr1−xTix)O3で表され、ここで、xは、0.2≦x≦0.8の条件を満たす。
本発明の一実施形態による誘電体組成物の場合、(Ba,Ti)O3系列の強誘電体物質を第1主成分、(Ca,Sr)(Zr,Ti)O3系列の常誘電体物質を第2主成分とし、上記第1主成分のモル分率をa、上記第2主成分のモル分率をbとすると、0.33≦a/b≦3の条件を満たし、上記第2主成分は組成式(Ca,Sr)(Zr1−xTix)O3で表され、ここで、xは、0.2≦x≦0.8の条件を満たす。
本発明の一実施形態によると、上記誘電体組成物は、第1副成分として、Mn、V、Cr、Fe、Ni、Co、Cu及びZnの少なくともいずれか一つ以上を含む酸化物あるいは炭酸塩をさらに含むことができる。第1副成分は、原子が可変アクセプタ(variable valence acceptor)であり、誘電体組成物が適用された積層セラミックキャパシタの焼成温度の低下及び高温耐電圧特性を向上させる役割をすることができる。この場合、必ずしもこれに制限されるものではないが、第1副成分は、上記第1及び第2主成分100モル%に対して0.1〜1.0モル%含まれることができる。第1副成分の含量及び後述する他の副成分の含量は、上記第1及び第2主成分100モル%に対する量であり、各副成分が含む金属イオンのモル%として定義することができる。第1副成分が上記第1及び第2主成分に対して0.1モル%未満の場合、耐還元性及び信頼性が低下し得て、1.0モル%以上の場合、焼成温度の増加及び容量の低下等が発生し得る。
本発明の一実施形態によると、上記誘電体組成物は、第2副成分として、Mg及びAlの少なくともいずれか一つの酸化物または炭酸塩をさらに含むことができる。上記第2副成分は、原子が固定アクセプタ(fixed valence acceptor)であり、誘電体組成物が適用された積層セラミックキャパシタの焼成温度の低下及び高温耐電圧特性を向上させる役割をすることができる。この場合、必ずしもこれに制限されるものではないが、第2副成分は、上記第1及び第2主成分100モル%に対して0.1〜1.0モル%含まれることができる。第2副成分が上記第1及び第2主成分に対して0.1モル%未満の場合、耐還元性及び信頼性が低下し得て、1.0モル%以上の場合、焼成温度の増加及び容量の低下などが発生し得る。
本発明の一実施形態によると、上記誘電体組成物は、第3副成分として、Ce、Nb、La及びSbの少なくともいずれか一つの酸化物または炭酸塩をさらに含むことができる。この場合、必ずしもこれに制限されるものではないが、第3副成分は、上記第1及び第2主成分100モル%に対して0.1〜1.0モル%含まれることができる。
本発明の一実施形態によると、上記誘電体組成物は、第4副成分として、Si、Ba、Ca及びAlの少なくともいずれか一つの酸化物または炭酸塩をさらに含むことができる。この場合、必ずしもこれに制限されるものではないが、第4副成分は、上記第1及び第2主成分100モル%に対して0.1〜1.0モル%含まれることができる。
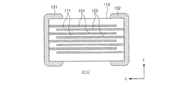
図3は、本発明の一実施形態による積層セラミックキャパシタを示す概略的な斜視図であり、図4は、図2のI−I'に沿って見た積層セラミックキャパシタを示す概略的な断面図である。
以下、本発明の発明者が行った実験例を通じて、本発明をさらに詳しく説明するが、これは、発明の具体的な理解を助けるためのもので、本発明の範囲が実験例のみによって限定されるものではない。
111 誘電体層
121、122 第1及び第2内部電極
131、132 第1及び第2外部電極
Claims (14)
- (Ba,Ti)O3系列の強誘電体物質を第1主成分、
(Ca,Sr)(Zr,Ti)O3系列の常誘電体物質を第2主成分とし、
前記第1主成分のモル分率をa、前記第2主成分のモル分率をbとすると、0.33≦a/b≦1の条件を満たし、
前記第2主成分は、組成式(Ca,Sr)(Zr1−xTix)O3で表され、
ここで、xは、0.4≦x≦0.8の条件を満たす誘電体組成物。 - 前記第1主成分は、BaTiO3、(Ba,Ca)(Ti,Ca)O3、(Ba,Ca)(Ti,Zr)O3、Ba(Ti,Zr)O3及び(Ba,Ca)(Ti,Sn)O3の少なくともいずれか一つの組成式で表される、請求項1に記載の誘電体組成物。
- Mn、V、Cr、Fe、Ni、Co、Cu及びZnの少なくともいずれか一つの酸化物または炭酸塩である第1副成分を第1及び第2主成分100モル%に対して0.1〜1.0モル%さらに含む、請求項1または2に記載の誘電体組成物。
- Mg及びAlの少なくともいずれか一つの酸化物または炭酸塩である第2副成分を前記第1及び第2主成分100モル%に対して0.1〜1.0モル%さらに含む、請求項3に記載の誘電体組成物。
- Ce、Nb、La及びSbの少なくともいずれか一つの酸化物または炭酸塩である第3副成分を前記第1及び第2主成分100モル%に対して0.1〜1.0モル%さらに含む、請求項4に記載の誘電体組成物。
- Si、Ba、Ca及びAlの少なくともいずれか一つの酸化物または炭酸塩である第4副成分を前記第1及び第2主成分100モル%に対して0.1〜1.0モル%さらに含む、請求項5に記載の誘電体組成物。
- Siを含むガラス化合物である第4副成分を前記第1及び第2主成分100モル%に対して0.1〜1.0モル%さらに含む、請求項5または6に記載の誘電体組成物。
- 誘電体層と内部電極が交互に積層されたセラミック本体を含み、
前記誘電体層は、
(Ba,Ti)O3系列の強誘電体物質を第1主成分、
(Ca,Sr)(Zr,Ti)O3系列の常誘電体物質を第2主成分とし、
前記第1主成分のモル分率をa、前記第2主成分のモル分率をbとすると、0.33≦a/b≦1の条件を満たし、
前記第2主成分は、組成式(Ca,Sr)(Zr1−xTix)O3で表され、
ここで、xは、0.4≦x≦0.8の条件を満たす誘電体組成物を含む積層セラミックキャパシタ。 - 前記内部電極は、Ni成分を含む、請求項8に記載の積層セラミックキャパシタ。
- Mn、V、Cr、Fe、Ni、Co、Cu及びZnの少なくともいずれか一つの酸化物または炭酸塩である第1副成分を第1及び第2主成分100モル%に対して0.1〜1.0モル%さらに含む、請求項8または9に記載の積層セラミックキャパシタ。
- Mg及びAlの少なくともいずれか一つの酸化物または炭酸塩である第2副成分を前記第1及び第2主成分100モル%に対して0.1〜1.0モル%さらに含む、請求項10に記載の積層セラミックキャパシタ。
- Ce、Nb、La及びSbの少なくともいずれか一つの酸化物または炭酸塩である第3副成分を前記第1及び第2主成分100モル%に対して0.1〜1.0モル%さらに含む、請求項11に記載の積層セラミックキャパシタ。
- Si、Ba、Ca及びAlの少なくともいずれか一つの酸化物または炭酸塩である第4副成分を前記第1及び第2主成分100モル%に対して0.1〜1.0モル%さらに含む、請求項12に記載の積層セラミックキャパシタ。
- Siを含むガラス化合物である第4副成分を前記第1及び第2主成分100モル%に対して0.1〜1.0モル%さらに含む、請求項12または13に記載の積層セラミックキャパシタ。
Applications Claiming Priority (2)
| Application Number | Priority Date | Filing Date | Title |
|---|---|---|---|
| KR1020160001076A KR102516760B1 (ko) | 2016-01-05 | 2016-01-05 | 유전체 조성물 및 이를 포함하는 적층 세라믹 커패시터 |
| KR10-2016-0001076 | 2016-01-05 |
Publications (2)
| Publication Number | Publication Date |
|---|---|
| JP2017122037A JP2017122037A (ja) | 2017-07-13 |
| JP6834092B2 true JP6834092B2 (ja) | 2021-02-24 |
Family
ID=59305389
Family Applications (1)
| Application Number | Title | Priority Date | Filing Date |
|---|---|---|---|
| JP2016152257A Active JP6834092B2 (ja) | 2016-01-05 | 2016-08-02 | 誘電体組成物及びこれを含む積層セラミックキャパシタ |
Country Status (2)
| Country | Link |
|---|---|
| JP (1) | JP6834092B2 (ja) |
| KR (1) | KR102516760B1 (ja) |
Families Citing this family (7)
| Publication number | Priority date | Publication date | Assignee | Title |
|---|---|---|---|---|
| KR102737558B1 (ko) * | 2018-10-05 | 2024-12-03 | 삼성전기주식회사 | 적층 세라믹 전자부품의 제조방법 및 적층 세라믹 전자부품 |
| CN109516781A (zh) * | 2018-11-29 | 2019-03-26 | 江苏大学 | 一种四元系负温度系数热敏电阻材料及其制备方法 |
| CN109516780A (zh) * | 2018-11-29 | 2019-03-26 | 镇江爱豪科思电子科技有限公司 | 一种高稳定性负温度系数热敏电阻材料及其制备方法 |
| KR20210138997A (ko) | 2020-05-13 | 2021-11-22 | 삼성전자주식회사 | 커패시터, 커패시터 제어 방법, 및 이를 포함하는 트랜지스터 |
| CN115985685B (zh) * | 2022-12-06 | 2025-02-07 | 上海火炬电子科技集团有限公司 | 一种多层瓷介电容器用介质材料、电容器及其制备方法 |
| KR102812773B1 (ko) * | 2022-12-19 | 2025-05-27 | 주식회사 아모텍 | 고온 안정성을 갖는 유전체 조성물 및 이를 포함하는 적층 세라믹 커패시터 |
| CN117153564B (zh) * | 2023-09-06 | 2024-10-15 | 潮州三环(集团)股份有限公司 | 一种复合电子元件及其制备方法与应用 |
Family Cites Families (7)
| Publication number | Priority date | Publication date | Assignee | Title |
|---|---|---|---|---|
| JPS60131708A (ja) * | 1983-12-19 | 1985-07-13 | 株式会社村田製作所 | 非還元性温度補償用誘電体磁器組成物 |
| JP3346293B2 (ja) * | 1998-08-07 | 2002-11-18 | 株式会社村田製作所 | 非還元性誘電体磁器組成物およびそれを用いた積層セラミックコンデンサ |
| JP2000281435A (ja) * | 1999-03-31 | 2000-10-10 | Tdk Corp | 誘電体組成物及びこれを用いたセラミックコンデンサ |
| JP4487371B2 (ja) * | 1999-08-05 | 2010-06-23 | Tdk株式会社 | 誘電体組成物およびこれを用いたセラミックコンデンサ |
| KR100444229B1 (ko) * | 2001-12-27 | 2004-08-16 | 삼성전기주식회사 | 내환원성 유전체 자기 조성물 |
| JP5158113B2 (ja) * | 2010-03-17 | 2013-03-06 | 株式会社村田製作所 | 誘電体磁器組成物及び温度補償用積層コンデンサ |
| KR101994709B1 (ko) * | 2013-04-17 | 2019-07-01 | 삼성전기주식회사 | 유전체 자기 조성물, 이를 이용한 적층 세라믹 캐패시터, 및 적층 세라믹 캐패시터의 제조방법 |
-
2016
- 2016-01-05 KR KR1020160001076A patent/KR102516760B1/ko active Active
- 2016-08-02 JP JP2016152257A patent/JP6834092B2/ja active Active
Also Published As
| Publication number | Publication date |
|---|---|
| JP2017122037A (ja) | 2017-07-13 |
| KR102516760B1 (ko) | 2023-03-31 |
| KR20170081986A (ko) | 2017-07-13 |
Similar Documents
| Publication | Publication Date | Title |
|---|---|---|
| JP6834092B2 (ja) | 誘電体組成物及びこれを含む積層セラミックキャパシタ | |
| JP6656882B2 (ja) | 誘電体磁器組成物及びこれを含む積層セラミックキャパシタ | |
| JP6834090B2 (ja) | 誘電体組成物及びこれを含む積層セラミックキャパシタ | |
| JP5211262B1 (ja) | 積層セラミックコンデンサ | |
| KR101883027B1 (ko) | 유전체 자기 조성물, 유전체 재료 및 이를 포함하는 적층 세라믹 커패시터 | |
| JP6332648B2 (ja) | 誘電体磁器組成物及びこれを含む積層セラミックキャパシタ | |
| JP6988039B2 (ja) | 誘電体磁器組成物、誘電体材料及びそれを含む積層セラミックキャパシタ | |
| US20130162100A1 (en) | Dielectric composition and ceramic electronic component including the same | |
| JP2017114759A (ja) | 誘電体磁器組成物、誘電体材料及びこれを含む積層セラミックキャパシター | |
| CN110828167B (zh) | 多层陶瓷电容器 | |
| KR102097326B1 (ko) | 유전체 자기 조성물 및 이를 포함하는 적층 세라믹 커패시터 | |
| CN105916829B (zh) | 介电组合物、介电元件、电子部件和层叠电子部件 | |
| US9255035B2 (en) | Dielectric ceramic composition and multilayer ceramic capacitor containing the same | |
| JP2016108231A (ja) | 誘電体磁器組成物及びこれを含む積層セラミックキャパシタ | |
| JP6841479B2 (ja) | 誘電体組成物及びこれを含む積層セラミックキャパシター | |
| JP6870803B2 (ja) | 誘電体磁器組成物及びこれを含む積層セラミックキャパシタ | |
| JPWO2006006333A1 (ja) | 誘電体セラミック組成物および積層セラミックコンデンサ | |
| JP6760689B2 (ja) | 誘電体磁器組成物、誘電体材料、及びこれを含む積層セラミックキャパシタ | |
| CN105622091B (zh) | 介电陶瓷组合物和使用介电陶瓷组合物的电子装置 | |
| JP7311256B2 (ja) | 誘電体組成物及びそれを用いた電子部品 | |
| JP2007234677A (ja) | 誘電体セラミック組成物、およびそれを用いた積層セラミックコンデンサ | |
| JP2014198660A (ja) | 誘電体磁器組成物及びこれを含む積層セラミックキャパシター | |
| JP7262640B2 (ja) | セラミックコンデンサ | |
| JP4506233B2 (ja) | 誘電体セラミックおよび積層セラミックコンデンサ | |
| WO2023080069A1 (ja) | 誘電体磁器組成物およびセラミックコンデンサ |
Legal Events
| Date | Code | Title | Description |
|---|---|---|---|
| A621 | Written request for application examination |
Free format text: JAPANESE INTERMEDIATE CODE: A621 Effective date: 20190705 |
|
| A977 | Report on retrieval |
Free format text: JAPANESE INTERMEDIATE CODE: A971007 Effective date: 20200717 |
|
| A131 | Notification of reasons for refusal |
Free format text: JAPANESE INTERMEDIATE CODE: A131 Effective date: 20200721 |
|
| A521 | Request for written amendment filed |
Free format text: JAPANESE INTERMEDIATE CODE: A523 Effective date: 20200929 |
|
| TRDD | Decision of grant or rejection written | ||
| A01 | Written decision to grant a patent or to grant a registration (utility model) |
Free format text: JAPANESE INTERMEDIATE CODE: A01 Effective date: 20210105 |
|
| A61 | First payment of annual fees (during grant procedure) |
Free format text: JAPANESE INTERMEDIATE CODE: A61 Effective date: 20210108 |
|
| R150 | Certificate of patent or registration of utility model |
Ref document number: 6834092 Country of ref document: JP Free format text: JAPANESE INTERMEDIATE CODE: R150 |
|
| R250 | Receipt of annual fees |
Free format text: JAPANESE INTERMEDIATE CODE: R250 |
|
| R250 | Receipt of annual fees |
Free format text: JAPANESE INTERMEDIATE CODE: R250 |
|
| R250 | Receipt of annual fees |
Free format text: JAPANESE INTERMEDIATE CODE: R250 |
