JP6541597B2 - エレベーター装置 - Google Patents

エレベーター装置 Download PDF

Info

Publication number
JP6541597B2
JP6541597B2 JP2016060128A JP2016060128A JP6541597B2 JP 6541597 B2 JP6541597 B2 JP 6541597B2 JP 2016060128 A JP2016060128 A JP 2016060128A JP 2016060128 A JP2016060128 A JP 2016060128A JP 6541597 B2 JP6541597 B2 JP 6541597B2
Authority
JP
Japan
Prior art keywords
counterweight
frame
piece
elevator apparatus
vertical frame
Prior art date
Legal status (The legal status is an assumption and is not a legal conclusion. Google has not performed a legal analysis and makes no representation as to the accuracy of the status listed.)
Active
Application number
JP2016060128A
Other languages
English (en)
Other versions
JP2017171458A (ja
Inventor
重幸 大菅
重幸 大菅
克典 西野
克典 西野
Current Assignee (The listed assignees may be inaccurate. Google has not performed a legal analysis and makes no representation or warranty as to the accuracy of the list.)
Hitachi Ltd
Original Assignee
Hitachi Ltd
Priority date (The priority date is an assumption and is not a legal conclusion. Google has not performed a legal analysis and makes no representation as to the accuracy of the date listed.)
Filing date
Publication date
Application filed by Hitachi Ltd filed Critical Hitachi Ltd
Priority to JP2016060128A priority Critical patent/JP6541597B2/ja
Publication of JP2017171458A publication Critical patent/JP2017171458A/ja
Application granted granted Critical
Publication of JP6541597B2 publication Critical patent/JP6541597B2/ja
Active legal-status Critical Current
Anticipated expiration legal-status Critical

Links

Images

Landscapes

  • Cage And Drive Apparatuses For Elevators (AREA)

Description

本発明はエレベーター装置に関し、特に、釣合おもり枠内に保持された釣合おもりが、地震などによる振動によって釣合おもり枠が変形して釣合おもり枠から脱落することを防止することが可能な構成を有するエレベーター装置に関する。
エレベーター装置の釣合おもりは、一般に、一対の縦枠と、それぞれの縦枠の上端部に渡って設けられる上枠と、それぞれの縦枠の下端部に渡って設けられる下枠とを有する釣合おもり枠の内側に積層されて保持される。このような構成において、水平地震等による水平方向の揺れ(水平振動)によって一対の縦枠が互いに広がる方向にたわみ変形し、釣合おもりが脱落してしまう可能性がある。この対策として、縦枠のたわみ量が最大となる高さ方向中間部付近に一対の縦枠を固定する釣合おもり枠固定部材(連結部材)を耐震装置として設置することが有効である。
例えば、特許文献1には、一対の縦枠におけるそれぞれの高さ方向中間部に渡って設けられ、釣合おもりを囲むように前側連結体および後側連結体を有する連結体と、連結体をそれぞれの縦枠に固定するためのボルトとを備えた釣合重りの耐震装置が開示されている。
また、特許文献2には、高さ方向に並べられた複数の釣合おもりの中の隣り合う一対の上記釣合おもりの間に設けられる取付台と、一対の縦枠に渡って設けられ、上記取付台が設けられた一対の上記釣合おもりの間を通る縦枠用連結部材とを備えた構成が開示されている。
特開2008‐143655号公報 特開2015‐54769号公報
しかしながら、特許文献1の構成では、連結部材が釣合おもりを囲繞するように配置されるので、釣合おもりと乗りかごとの隙間および釣合おもりと昇降路壁との隙間に十分な設置スペースがない場合には、耐震装置を取り付けることができないという可能性があった。
また、特許文献2の構成では、上述した特許文献1の問題は生じないが、取付台や縦枠用連結用部材などの構造が特殊で複雑である。また、取付台と縦枠用連結用部材の設置により、釣合おもり枠内に空きスペースが生じるために、釣合おもりを釣合おもり枠の積載上限まで積み込んでも、釣合おもりとして機能させるための十分な質量を確保することができない可能性があった。
本発明は、上記事情に鑑み、簡単で余分な設置スペースを必要としない構造を有し、釣合おもりの十分な質量を確保し、かつ釣合おもりの脱落を防止することが可能なエレベーター装置を提供する。
本発明は、上記目的を達成するため、昇降路を昇降する乗りかごと、乗りかごとともに昇降する釣合おもりと、一端が乗かごに接続され、他端が釣合おもりに接続された主ロープと、主ロープが巻きかけられた綱車を有する巻き上げ機と、を備えたエレベーター装置において、上記釣合おもりは、複数の釣合おもり片が積層された積層体が釣合おもり枠に保持されている構成を有し、上記複数の釣合おもり片のうちの少なくとも1つが上記釣合おもり枠に固定されており、上記釣合おもり枠は、一対の縦枠と、上記一対の縦枠のそれぞれの上端部に渡って設けられた上枠と、上記縦枠のそれぞれの下端部に渡って設けられた下枠と、を有し、上記釣合おもり片のうちの少なくとも1つが、上記縦枠に固定されており、上記縦枠に固定する上記釣合おもり片が、上記積層体の中間に位置する釣合おもり片と、上記積層体の両端に位置する釣合おもり片であるか、または、上記縦枠に固定する上記釣合おもり片が、上記積層体を3等分する位置の釣合おもり片であることを特徴とするエレベーター装置を提供する。
本発明によれば、簡単で余分な設置スペースを必要としない構造を有し、釣合おもりの十分な質量を確保し、かつ釣合おもりの脱落を防止することが可能なエレベーター装置を提供することができる。
上記した以外の課題、構成および効果は、以下の実施形態の説明により明らかにされる。
本発明に係るエレベーター装置の一例を模式的に示す正面図である。 図1のX部分の拡大図である。 図2のY部分の拡大図である。 図3のA‐A線に沿った断面図である。 図4の釣合おもり片の形状の一例を示す模式図である。 図4の釣合おもり片の形状の他の例を示す模式図ある。 実施例2に係るエレベーター装置の釣合おもりの一部分(図2のY部分に相当する部分)を示す図である。 図7のB‐B線に沿った断面図である。 実施例3に係る釣合おもりの一例を示す模式図である。 実施例3に係る釣合おもりの他の例を示す模式図である。
以下、本発明にエレベーター装置について図面を用いて詳細に説明する。
図1は、本発明に係るエレベーター装置の一例を模式的に示す正面図である。図1に示すように、本発明に係るエレベーター装置10は、昇降路15を昇降する乗りかご11と、乗りかご11とともに昇降する釣合おもり3と、一端が乗りかご11に接続され、他端が釣合おもり3に接続された主ロープ12と、主ロープ12が巻きかけられた綱車を有する巻上機13を有する。乗りかご11および釣合おもり3は、それぞれガイド装置(後述する図2に示す。)を介してガイドレール14,1に沿って昇降する。
図2は図1のX部分の拡大図である。図2に示すように、釣合おもり3は、複数の釣合おもり片30が積層された積層体が釣合おもり枠2に保持されている構成を有する。釣合おもり枠2は、高さ方向(釣合おもり3の昇降方向)に延びた一対の縦枠21と、一対の縦枠21のそれぞれの上端部を連結する上枠22と、一対の縦枠21のそれぞれの下端部を連結する下枠23を有している。縦枠21の上下両端部には、それぞれガイド装置4が設けられ、ガイドレール1と係合されている。釣合おもり枠2はガイド装置4を介してガイドレール1に沿って昇降する。複数の釣合おもり片30は、下枠23の上に高さ方向に積層され、配置されている。
図3は図2のY部分の拡大図であり、図4は図3のA‐A線に沿った断面図である。図3および図4に示すように、本実施例では、積層された複数の釣合おもり片30のうちの1つ、すなわち、積層体の中間に位置する釣合おもり片31が貫通孔(以下、「釣合おもり片貫通孔」と称する。)32を有している。また、縦枠21の釣合おもり片貫通孔32に対応する位置にも長穴(以下、「縦枠貫通孔」と称する。)33が設けられている。上述した貫通孔32および33にボルト34を貫通し、ボルト34の一端がナット35で固定されている。本実施例に係るエレベーター装置では、貫通孔32を有する釣合おもり31、貫通孔33を有する縦枠21、ボルト34およびナット35が、釣合おもり枠2を固定してたわみ変形を防止する釣合おもり枠固定部材40を構成している。釣合おもり枠固定部材40が一対の縦枠21を固定(連結)することで、地震などによって釣合おもり枠2が振動した場合であっても、釣合おもり枠2を構成する一対の縦枠21が互いに広がる方向にたわみ変形することを防止し、この結果、釣合おもり片30が釣合おもり枠2から脱落することを防止することができる。
また、釣合おもり片のうちの1つを釣合おもり枠固定部材40の構成部材の1つとして兼用するため、上述した特許文献のように、釣合おもり枠固定部材40を設置するための釣合おもり周囲の配置スペースや質量確保の問題を生じることが無い。この釣合おもり枠固定部材40を構成する釣合おもり31を、「釣合おもり兼用釣合おもり枠固定部材の構成部材31」とも称する。このように、釣合おもり片を釣合おもり枠固定部材40の構成部材とすることは従来にはなく、このようにすることで釣合おもり枠固定部材40が上述した特許文献1および2よりも簡単で余分な設置スペースを必要としない構造とすることができる。
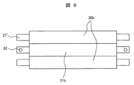
図5は図4の釣合おもり片30の形状の一例を示す模式図であり、図6は図4の釣合おもり片の形状の他の例を示す模式図ある。図5および図6に示すように、一般的に、釣合おもり片30は端部に突起37,37´を有する形状であり、この突起37,37´が縦枠21に嵌合され、釣合おもり片30がおもり枠2に保持される構成を有する。本実施例では、この突起37,37´に釣合おもり片貫通孔32を設けている。釣合おもり片30が有する突起の形状としては、特に限定は無く、図5に示すように、釣合おもり片30を正面から見たときに台形であるものであってもよいし、図6に示すように長方形であるものであってもよい。また、釣合おもり片30の形状についても、特に限定は無い。釣合おもり片貫通孔32の形成方法としては、釣合おもり片30が鋳物ならば、鋳造時に釣合おもり片貫通孔32に当たる部位に中子を設置することで形成することができる。また、釣合おもり片30が鉄板ならば、機械加工によって形成することができる。
釣合おもり兼用釣合おもり枠固定部材の構成部材31は、他の釣合おもり片30と同一の断面形状を有するか、または他の釣合おもり片30の断面形状内に収まる断面形状を有していることが好ましい。すなわち、釣合おもり兼用釣合おもり枠固定部材の構成部材31は、釣合おもり片貫通孔32を有すること以外は、他の釣合おもり片30と同じ形状を有し、他の釣合おもり片30と同じ大きさか、他の釣合おもり片30より小さいことが好ましい。釣合おもり兼用釣合おもり枠固定部材の構成部材31を、他の釣合おもり片30に貫通孔を設けただけの構成とすることで、釣合おもり枠固定部材40の製作を容易にすることができ、配置スペースや質量確保の問題も生じることがない。一方、高さに関しては、他の釣合おもり片30と同じでも、異なっていてもいずれでもよく、貫通穴を設ける製作上の都合を考慮して決めればよい。
図7は実施例2に係るエレベーター装置の釣合おもりの一部分(図2のY部分に相当する部分)を示す図であり、図8は図7のB‐B線に沿った断面図である。本実施例では、釣合おもり枠固定部材の構成が実施例1と異なる。本実施例では、バンド36によって釣合おもり片31が縦枠21に固定されている。言い換えると、バンド36が釣合おもり片31を介して一対の縦枠21を固定している。このような構成によっても、実施例1と同様の効果を得ることができる。バンドとしては、強固に結束できるものであればどのようなものであってもよい。
図9は実施例3に係る釣合おもりの一例を示す模式図であり、図10は実施例3に係る釣合おもりの他の例を示す模式図である。図9および10において、釣合おもり兼用釣合おもり枠固定部材の構成部材31を斜線で示している。本実施例では、釣合おもり兼用釣合おもり枠固定部材の構成部材31となる釣合おもり片の位置を変えた点が実施例1と異なる。実施例1では、釣合おもり兼用釣合おもり枠固定部材の構成部材31の位置を釣合おもり3の積層体の中間となる位置に設けたが、これに限られず、縦枠21が長い場合などは、釣合おもり片31の位置や数を調整してもよい。
例えば、図9に示すように、釣合おもり3の積層体の中間位置と、積層体の両端(上端および下端)に設けてもよい。また、図10に示すように、積層体を3等分する位置に設けてもよい。本発明では、釣合おもり3の積層体に少なくとも1つの釣合おもり兼用釣合おもり枠固定部材の構成部材片31が設けられていればよい。実施例1のように、積層体の中間となる位置に釣合おもり31を設けることで縦枠21のたわみ変形を十分に抑制することができるが、図9および図10のように複数設けることで、より一層本発明の効果を得ることができる。
以上、説明したように、本発明によれば、簡単で余分な設置スペースを必要としない構造を有し、釣合おもりの十分な質量を確保し、かつ釣合おもりの脱落を防止することが可能なエレベーター装置を提供することができる。
なお、本発明は上記した実施例に限定されるものではなく、様々な変形例が含まれる。例えば、上記した実施例は本発明を分かり易く説明するために詳細に説明したものであり、必ずしも説明した全ての構成を備えるものに限定されるものではない。また、ある実施例の構成の一部を他の実施例の構成に置き換えることが可能であり、また、ある実施例の構成に他の実施例の構成を加えることも可能である。また、各実施例の構成の一部について、他の構成の追加・削除・置換をすることが可能である。
1…釣合おもり用ガイドレール、2…釣合おもり枠、21…縦枠、22…上枠、23…下枠、3…釣合おもり、30,30a,30b…釣合おもり片、31…縦枠に固定される釣合おもり片(釣合おもり兼用釣合おもり枠固定部材の構成部材)、32…釣合おもり片貫通孔、33…縦枠貫通孔、34…ボルト、35…ナット、36…バンド、37,37´…突起、40…釣合おもり枠固定部材、4…ガイド装置、10…エレベーター装置、11…乗りかご、12…主ロープ、13…巻上機、14…乗りかご用ガイドレール、15…昇降路。

Claims (4)

  1. 昇降路を昇降する乗りかごと、前記乗りかごとともに昇降する釣合おもりと、一端が前記乗かごに接続され、他端が前記釣合おもりに接続された主ロープと、前記主ロープが巻きかけられた綱車を有する巻き上げ機と、を備えたエレベーター装置において、
    前記釣合おもりは、複数の釣合おもり片が積層された積層体が釣合おもり枠に保持されている構成を有し、
    前記釣合おもり枠は、一対の縦枠と、前記一対の縦枠のそれぞれの上端部に渡って設けられた上枠と、前記縦枠のそれぞれの下端部に渡って設けられた下枠と、を有し、
    前記釣合おもり片のうちの少なくとも1つが、前記縦枠に固定されており、
    前記縦枠に固定する前記釣合おもり片が、前記積層体の中間に位置する釣合おもり片と、前記積層体の両端に位置する釣合おもり片であるか、または、前記縦枠に固定する前記釣合おもり片が、前記積層体を3等分する位置の釣合おもり片であることを特徴とするエレベーター装置
  2. 請求項記載のエレベーター装置において、前記釣合おもり片のうちの少なくとも1つの端部に設けられた釣合おもり片貫通孔と、前記縦枠の前記釣合おもり片貫通孔に対応する位置に設けられた縦枠貫通孔と、前記釣合おもり片貫通孔および前記縦枠貫通孔に挿入されたボルトと、前記ボルトの一端に締結されたナットと、を有することを特徴とするエレベーター装置。
  3. 請求項記載のエレベーター装置において、前記釣合おもり片のうちの少なくとも1つと前記縦枠とを固定するバンドを有することを特徴とするエレベーター装置。
  4. 請求項1記載のエレベーター装置において、前記縦枠に固定される前記釣合おもり片は、前記釣合おもりのうちの他の釣合おもり片と同一の断面形状を有するか、または前記他の釣合おもり片の断面形状内に収まる断面形状を有することを特徴とするエレベーター装置。
JP2016060128A 2016-03-24 2016-03-24 エレベーター装置 Active JP6541597B2 (ja)

Priority Applications (1)

Application Number Priority Date Filing Date Title
JP2016060128A JP6541597B2 (ja) 2016-03-24 2016-03-24 エレベーター装置

Applications Claiming Priority (1)

Application Number Priority Date Filing Date Title
JP2016060128A JP6541597B2 (ja) 2016-03-24 2016-03-24 エレベーター装置

Publications (2)

Publication Number Publication Date
JP2017171458A JP2017171458A (ja) 2017-09-28
JP6541597B2 true JP6541597B2 (ja) 2019-07-10

Family

ID=59970270

Family Applications (1)

Application Number Title Priority Date Filing Date
JP2016060128A Active JP6541597B2 (ja) 2016-03-24 2016-03-24 エレベーター装置

Country Status (1)

Country Link
JP (1) JP6541597B2 (ja)

Families Citing this family (2)

* Cited by examiner, † Cited by third party
Publication number Priority date Publication date Assignee Title
CN112533857B (zh) * 2018-08-08 2022-06-17 三菱电机大楼技术服务株式会社 电梯的对重块及其移动方法
CN115321323A (zh) * 2022-08-03 2022-11-11 上海三菱电梯有限公司 电梯对重装置

Family Cites Families (4)

* Cited by examiner, † Cited by third party
Publication number Priority date Publication date Assignee Title
JP2001253667A (ja) * 2000-03-10 2001-09-18 Mitsubishi Electric Corp エレベータの釣合重り
JP2013147336A (ja) * 2012-01-20 2013-08-01 Toshiba Elevator Co Ltd エレベータの釣り合い錘装置
JP2014125311A (ja) * 2012-12-26 2014-07-07 Hitachi Ltd エレベータのつり合いおもり
JP6037981B2 (ja) * 2013-09-09 2016-12-07 株式会社日立製作所 エレベーターのつり合いおもり及びそれを用いたエレベーター装置

Also Published As

Publication number Publication date
JP2017171458A (ja) 2017-09-28

Similar Documents

Publication Publication Date Title
JP4351471B2 (ja) せり上げ式エレベータ
JP2010047410A (ja) エレベータ
JP6541597B2 (ja) エレベーター装置
CN104229581B (zh) 电梯尾缆的减振装置
JP5235577B2 (ja) エレベータ装置
JP4861661B2 (ja) エレベータの釣合錘
JPH1081468A (ja) エレベータ
JP6797100B2 (ja) 巻上機及びエレベーター
JP6016741B2 (ja) エレベータ釣合おもり枠用連結部材およびその取付方法
JP2016204087A (ja) エレベータ装置
JP4270018B2 (ja) エレベーター装置
CN204624892U (zh) 电梯装置
JP2018145003A (ja) エレベーター
JP6783705B2 (ja) エレベーター装置
JP7141368B2 (ja) エレベーター
JP5253285B2 (ja) エレベータ装置
CN103991772B (zh) 电梯
JP6084936B2 (ja) エレベータの据付装置、及びこの据付装置の組立方法
JP6755977B2 (ja) 脱落防止用おもり片、つり合いおもり及びつり合いおもりの補強方法
JP5387004B2 (ja) エレベータの長尺物引っ掛かり防止装置
CN104030125B (zh) 电梯设备
JP6104410B2 (ja) エレベータ装置
JP5948404B1 (ja) エレベータの釣り合いおもりおよび補強方法
KR20150000510U (ko) 엘리베이터용 이동케이블 보호장치
JP6243245B2 (ja) エレベーター装置

Legal Events

Date Code Title Description
A621 Written request for application examination

Free format text: JAPANESE INTERMEDIATE CODE: A621

Effective date: 20180124

A131 Notification of reasons for refusal

Free format text: JAPANESE INTERMEDIATE CODE: A131

Effective date: 20181106

A521 Written amendment

Free format text: JAPANESE INTERMEDIATE CODE: A523

Effective date: 20181225

TRDD Decision of grant or rejection written
A01 Written decision to grant a patent or to grant a registration (utility model)

Free format text: JAPANESE INTERMEDIATE CODE: A01

Effective date: 20190604

A61 First payment of annual fees (during grant procedure)

Free format text: JAPANESE INTERMEDIATE CODE: A61

Effective date: 20190611

R150 Certificate of patent or registration of utility model

Ref document number: 6541597

Country of ref document: JP

Free format text: JAPANESE INTERMEDIATE CODE: R150