JP6533368B2 - 情報処理装置、情報処理システム、情報処理プログラム及び情報処理方法 - Google Patents

情報処理装置、情報処理システム、情報処理プログラム及び情報処理方法 Download PDF

Info

Publication number
JP6533368B2
JP6533368B2 JP2014089407A JP2014089407A JP6533368B2 JP 6533368 B2 JP6533368 B2 JP 6533368B2 JP 2014089407 A JP2014089407 A JP 2014089407A JP 2014089407 A JP2014089407 A JP 2014089407A JP 6533368 B2 JP6533368 B2 JP 6533368B2
Authority
JP
Japan
Prior art keywords
reproduction data
game
editing
unit
condition
Prior art date
Legal status (The legal status is an assumption and is not a legal conclusion. Google has not performed a legal analysis and makes no representation as to the accuracy of the status listed.)
Active
Application number
JP2014089407A
Other languages
English (en)
Other versions
JP2015013103A (ja
Inventor
賢太 佐藤
賢太 佐藤
慎太郎 軸丸
慎太郎 軸丸
一慶 泉水
一慶 泉水
Current Assignee (The listed assignees may be inaccurate. Google has not performed a legal analysis and makes no representation or warranty as to the accuracy of the list.)
Nintendo Co Ltd
Original Assignee
Nintendo Co Ltd
Priority date (The priority date is an assumption and is not a legal conclusion. Google has not performed a legal analysis and makes no representation as to the accuracy of the date listed.)
Filing date
Publication date
Application filed by Nintendo Co Ltd filed Critical Nintendo Co Ltd
Priority to JP2014089407A priority Critical patent/JP6533368B2/ja
Publication of JP2015013103A publication Critical patent/JP2015013103A/ja
Application granted granted Critical
Publication of JP6533368B2 publication Critical patent/JP6533368B2/ja
Active legal-status Critical Current
Anticipated expiration legal-status Critical

Links

Images

Classifications

    • AHUMAN NECESSITIES
    • A63SPORTS; GAMES; AMUSEMENTS
    • A63FCARD, BOARD, OR ROULETTE GAMES; INDOOR GAMES USING SMALL MOVING PLAYING BODIES; VIDEO GAMES; GAMES NOT OTHERWISE PROVIDED FOR
    • A63F13/00Video games, i.e. games using an electronically generated display having two or more dimensions
    • A63F13/30Interconnection arrangements between game servers and game devices; Interconnection arrangements between game devices; Interconnection arrangements between game servers
    • A63F13/35Details of game servers
    • A63F13/352Details of game servers involving special game server arrangements, e.g. regional servers connected to a national server or a plurality of servers managing partitions of the game world
    • AHUMAN NECESSITIES
    • A63SPORTS; GAMES; AMUSEMENTS
    • A63FCARD, BOARD, OR ROULETTE GAMES; INDOOR GAMES USING SMALL MOVING PLAYING BODIES; VIDEO GAMES; GAMES NOT OTHERWISE PROVIDED FOR
    • A63F13/00Video games, i.e. games using an electronically generated display having two or more dimensions
    • A63F13/30Interconnection arrangements between game servers and game devices; Interconnection arrangements between game devices; Interconnection arrangements between game servers
    • A63F13/35Details of game servers
    • A63F13/355Performing operations on behalf of clients with restricted processing capabilities, e.g. servers transform changing game scene into an encoded video stream for transmitting to a mobile phone or a thin client
    • AHUMAN NECESSITIES
    • A63SPORTS; GAMES; AMUSEMENTS
    • A63FCARD, BOARD, OR ROULETTE GAMES; INDOOR GAMES USING SMALL MOVING PLAYING BODIES; VIDEO GAMES; GAMES NOT OTHERWISE PROVIDED FOR
    • A63F13/00Video games, i.e. games using an electronically generated display having two or more dimensions
    • A63F13/45Controlling the progress of the video game
    • A63F13/49Saving the game status; Pausing or ending the game
    • A63F13/497Partially or entirely replaying previous game actions
    • AHUMAN NECESSITIES
    • A63SPORTS; GAMES; AMUSEMENTS
    • A63FCARD, BOARD, OR ROULETTE GAMES; INDOOR GAMES USING SMALL MOVING PLAYING BODIES; VIDEO GAMES; GAMES NOT OTHERWISE PROVIDED FOR
    • A63F13/00Video games, i.e. games using an electronically generated display having two or more dimensions
    • A63F13/85Providing additional services to players
    • A63F13/87Communicating with other players during game play, e.g. by e-mail or chat

Landscapes

  • Engineering & Computer Science (AREA)
  • Multimedia (AREA)
  • Information Transfer Between Computers (AREA)
  • Management, Administration, Business Operations System, And Electronic Commerce (AREA)
  • Physics & Mathematics (AREA)
  • General Physics & Mathematics (AREA)

Description

本発明は、ゲームに関するデータをユーザがサーバ装置へ投稿し、サーバ装置が投稿されたデータの記憶及び配信等を行う情報処理装置、情報処理システム、情報処理プログラム及び情報処理方法に関する。
従来、ゲーム機には通信機能が搭載され、インターネットなどを介してゲームの対戦又は協力等を楽しむことができる。携帯電話機、タブレット型端末装置及びPC(Personal Computer)等でもゲームプログラムをインストールすることによって、ゲーム機と同様
に通信機能を利用したゲームの対戦又は協力等を楽しむことができる。また近年では、ゲーム機などの通信機能を利用して、サーバ装置がゲームに係る種々のデータを配信するシステムが実用化されている。例えば特許文献1には、レーシングゲームのゴーストデータをサーバ装置が配信するシステムが提案されている。
特開2009−089737号公報
ゲームに係るデータとして、例えばユーザによるゲームのプレイを再現するためのデータ、いわゆるリプレイデータ又はリプレイ動画等をユーザがサーバ装置へ投稿し、投稿されたデータをサーバ装置が他のユーザへ配信するシステムが考えられる。このようなシステムでは、多くのユーザが参加することが望まれる。このため、例えばデータの投稿又は取得等に必要な操作の容易化若しくは明確化、又は、システム利用の利便性の向上等が望まれる。また例えば、これらの操作を楽しめるような付加価値の付与、又は、再現されたゲームプレイの観賞をより楽しめるような付加価値の付与等が望まれる。
本発明の目的とするところは、より多くのユーザの利用が期待できる情報処理装置、情報処理システム、情報処理プログラム及び情報処理方法を提供することにある。
本発明に係る情報処理装置は、ゲームに係る処理を行うゲーム処理部と、前記ゲーム処理部にて処理されたゲームのプレイを再現するための再現用データを生成する再現用データ生成部と、前記再現用データ生成部が生成した再現用データに対する編集処理の条件の入力を受け付ける編集条件受付部と、前記編集条件受付部が受け付けた条件に基づいて、前記再現用データ生成部が生成した再現用データに対する編集処理を行う編集処理部と、前記編集処理部が編集した再現用データに基づいて、ゲームのプレイを再現して表示部に表示する処理を行う再現処理部とを備え、前記ゲームは、複数のキャラクタが動作するゲームであり、前記再現用データ生成部が生成する再現用データには、前記ゲーム内にて発生したイベントに関する情報を含み、前記編集条件受付部は、前記再現用データから優先して抽出されるイベント種別に関する条件を受け付け、且つ、再現対象のキャラクタを条件として受け付け、複数のキャラクタを受け付け可能であり、前記編集処理部は、前記編集条件受付部が受け付けた条件及び前記再現用データに含まれるイベントに関する情報に応じて、優先して抽出されるイベント種別の割合が優先されないイベント種別の割合よりも高くなるように、且つ、前記編集条件受付部が受け付けたキャラクタに係るイベントが発生した部分を、各キャラクタに関して抽出量が同程度となるように、前記再現用データ生成部が生成した前記再現用データから、所定のイベントが発生した部分を抽出する処理を行う。
また、本発明に係る情報処理装置は、前記再現用データ生成部が生成した再現用データに基づき、前記ゲーム内にて発生したイベントに関する情報を生成するイベント情報生成部を備え、前記編集処理部は、前記編集条件受付部が受け付けた条件及び前記イベント情報生成部が生成した情報に基づいて、再現用データに対する編集処理を行う。
また、本発明に係る情報処理装置は、前記イベントに関する情報は、イベントに関与したキャラクタに係る情報、イベントの種別又はイベントの発生タイミングに係る情報を含む。
また、本発明に係る情報処理装置は、前記編集条件受付部が受け付ける条件は、再現対象のキャラクタ、再現するイベントの種別又は再現時間の少なくとも1つを含む。
また、本発明に係る情報処理装置は、ゲームに係る処理を行うゲーム処理部と、前記ゲーム処理部にて処理されたゲームのプレイを再現するための再現用データを生成する再現用データ生成部と、前記再現用データ生成部が生成した再現用データに対する編集処理の条件の入力を受け付ける編集条件受付部と、前記編集条件受付部が受け付けた条件に基づいて、前記再現用データ生成部が生成した再現用データに対する編集処理を行う編集処理部と、前記編集処理部が編集した再現用データに基づいて、ゲームのプレイを再現して表示部に表示する処理を行う再現処理部と、前記編集条件受付部が受け付ける条件と抽出するイベント種別の割合との対応情報を記憶する記憶部を備え、前記再現用データ生成部が生成する再現用データには、前記ゲーム内にて発生したイベントに関する情報を含み、前記編集条件受付部は、前記再現用データから優先して抽出されるイベント種別に関する条件を受け付け、前記編集処理部は、前記編集条件受付部が受け付けた条件に応じて前記記憶部から取得した対応情報に基づき、前記編集条件受付部が受け付けた条件及び前記再現用データに含まれるイベントに関する情報に応じて、優先して抽出されるイベント種別の割合が優先されないイベント種別の割合よりも高くなるように、前記再現用データ生成部が生成した前記再現用データから、所定のイベントが発生した部分を抽出する処理を行う。
また、本発明に係る情報処理装置は、ゲームに係る処理を行うゲーム処理部と、前記ゲーム処理部にて処理されたゲームのプレイを再現するための再現用データを生成する再現用データ生成部と、前記再現用データ生成部が生成した再現用データに対する編集処理の条件の入力を受け付ける編集条件受付部と、前記編集条件受付部が受け付けた条件に基づいて、前記再現用データ生成部が生成した再現用データに対する編集処理を行う編集処理部と、前記編集処理部が編集した再現用データに基づいて、ゲームのプレイを再現して表示部に表示する処理を行う再現処理部とを備え、前記再現用データ生成部が生成する再現用データには、前記ゲーム内にて発生したイベントに関する情報を含み、前記編集条件受付部は、前記再現用データから優先して抽出されるイベント種別に関する条件を受け付け、且つ、前記編集処理部が編集した再現用データによるゲームの再現時間の条件を受け付け、前記編集処理部は、前記編集条件受付部が受け付けた条件及び前記再現用データに含まれるイベントに関する情報に応じて、優先して抽出されるイベント種別の割合が優先されないイベント種別の割合よりも高くなるように、且つ、編集後の再現用データによるゲームの再現時間が前記編集条件受付部にて受け付けた再現時間となるように、前記再現用データ生成部が生成した前記再現用データから、所定のイベントが発生した部分を抽出する処理を行う
また、本発明に係る情報処理装置は、前記編集処理部が、前記再現用データ生成部が生成した再現用データから複数の部分を抽出し、該複数の部分による再現時間の合計が前記編集条件受付部にて受け付けた再現時間を超えた場合、各部分の冒頭又は末尾を削除して再現時間を調整する。
また、本発明に係る情報処理装置は、前記編集処理部が、前記再現用データから抽出した部分が時系列的に再現されるよう、該再現用データを編集する。
また、本発明に係る情報処理装置は、前記ゲーム処理部が、3次元仮想空間内でキャラクタが動作するゲームにおいて、前記3次元仮想空間内に配置された仮想カメラに基づいて生成した2次元画像を表示部に表示する処理を行い、前記編集処理部は、イベントの種別に応じてゲームのプレイを再現する際の仮想カメラの挙動を変化させる。
また、本発明に係る情報処理装置は、前記編集処理部が、前記ゲーム処理部によるゲームの結果に応じて、前記再現用データ生成部が生成した再現用データを編集する。
また、本発明に係る情報処理装置は、前記編集条件受付部は、再現対象のキャラクタを条件として受け付け、前記編集処理部は、前記編集条件受付部が受け付けたキャラクタに関するゲームの結果に応じて、前記再現用データ生成部が生成した再現用データを編集する。
また、本発明に係る情報処理装置は、前記再現処理部による再現用データに基づくゲームのプレイの再現中に、該再現用データに係るイベントに関する情報に基づいてゲームのプレイの再現を演出する。
また、本発明に係る情報処理装置は、前記再現処理部によるゲームのプレイの再現中に、一又は複数のキャラクタを前記表示部に表示するキャラクタ表示処理部と、前記再現処理部によるゲームのプレイの再現に伴って、前記キャラクタ表示処理部が表示するキャラクタに、前記イベントに関する情報に応じた動作を行わせるキャラクタ動作処理部とを備える。
また、本発明に係る情報処理装置は、ゲームに係る処理を行うゲーム処理部と、前記ゲーム処理部にて処理されたゲームのプレイを再現するための再現用データを生成する再現用データ生成部と、前記再現用データ生成部が生成した再現用データに基づいて、ゲームのプレイを再現して表示部に表示する処理を行う再現処理部とを備え、前記再現処理部による再現用データに基づくゲームのプレイの再現中に、前記ゲーム内にて発生したイベントに基づいてゲームのプレイの再現を演出する。
また、本発明に係る情報処理装置は、前記再現処理部によるゲームのプレイの再現中に、一又は複数のキャラクタを前記表示部に表示するキャラクタ表示処理部と、前記再現処理部によるゲームのプレイの再現に伴って、前記キャラクタ表示処理部が表示するキャラクタに、前記イベントに応じた動作を行わせるキャラクタ動作処理部とを備える。
また、本発明に係る情報処理システムは、ゲームに係る処理を行うゲーム処理部と、前記ゲーム処理部にて処理されたゲームのプレイを再現するための再現用データを生成する再現用データ生成部と、前記再現用データ生成部が生成した再現用データに対する編集処理の条件の入力を受け付ける編集条件受付部と、前記編集条件受付部が受け付けた条件に基づいて、前記再現用データ生成部が生成した再現用データに対する編集処理を行う編集処理部と、前記編集処理部が編集した再現用データに基づいて、ゲームのプレイを再現して表示部に表示する処理を行う再現処理部とを備え、前記ゲームは、複数のキャラクタが動作するゲームであり、前記再現用データ生成部が生成する再現用データには、前記ゲーム内にて発生したイベントに関する情報を含み、前記編集条件受付部は、前記再現用データから優先して抽出されるイベント種別に関する条件を受け付け、且つ、再現対象のキャラクタを条件として受け付け、複数のキャラクタを受け付け可能であり、前記編集処理部は、前記編集条件受付部が受け付けた条件及び前記再現用データに含まれるイベントに関する情報に応じて、優先して抽出されるイベント種別の割合が優先されないイベント種別の割合よりも高くなるように、且つ、前記編集条件受付部が受け付けたキャラクタに係るイベントが発生した部分を、各キャラクタに関して抽出量が同程度となるように、前記再現用データ生成部が生成した前記再現用データから、所定のイベントが発生した部分を抽出する処理を行う。
また、本発明に係る情報処理システムは、ゲームに係る処理を行うゲーム処理部と、前記ゲーム処理部にて処理されたゲームのプレイを再現するための再現用データを生成する再現用データ生成部と、前記再現用データ生成部が生成した再現用データに対する編集処理の条件の入力を受け付ける編集条件受付部と、前記編集条件受付部が受け付けた条件に基づいて、前記再現用データ生成部が生成した再現用データに対する編集処理を行う編集処理部と、前記編集処理部が編集した再現用データに基づいて、ゲームのプレイを再現して表示部に表示する処理を行う再現処理部と、前記編集条件受付部が受け付ける条件と抽出するイベント種別の割合との対応情報を記憶する記憶部とを備え、前記再現用データ生成部が生成する再現用データには、前記ゲーム内にて発生したイベントに関する情報を含み、前記編集条件受付部は、前記再現用データから優先して抽出されるイベント種別に関する条件を受け付け、前記編集処理部は、前記編集条件受付部が受け付けた条件に応じて前記記憶部から取得した対応情報に基づき、前記編集条件受付部が受け付けた条件及び前記再現用データに含まれるイベントに関する情報に応じて、優先して抽出されるイベント種別の割合が優先されないイベント種別の割合よりも高くなるように、前記再現用データ生成部が生成した前記再現用データから、所定のイベントが発生した部分を抽出する処理を行う。
また、本発明に係る情報処理システムは、ゲームに係る処理を行うゲーム処理部と、前記ゲーム処理部にて処理されたゲームのプレイを再現するための再現用データを生成する再現用データ生成部と、前記再現用データ生成部が生成した再現用データに対する編集処理の条件の入力を受け付ける編集条件受付部と、前記編集条件受付部が受け付けた条件に基づいて、前記再現用データ生成部が生成した再現用データに対する編集処理を行う編集処理部と、前記編集処理部が編集した再現用データに基づいて、ゲームのプレイを再現して表示部に表示する処理を行う再現処理部とを備え、前記再現用データ生成部が生成する再現用データには、前記ゲーム内にて発生したイベントに関する情報を含み、前記編集条件受付部は、前記再現用データから優先して抽出されるイベント種別に関する条件を受け付け、且つ、前記編集処理部が編集した再現用データによるゲームの再現時間の条件を受け付け、前記編集処理部は、前記編集条件受付部が受け付けた条件及び前記再現用データに含まれるイベントに関する情報に応じて、優先して抽出されるイベント種別の割合が優先されないイベント種別の割合よりも高くなるように、且つ、編集後の再現用データによるゲームの再現時間が前記編集条件受付部にて受け付けた再現時間となるように、前記再現用データ生成部が生成した前記再現用データから、所定のイベントが発生した部分を抽出する処理を行う。
また、本発明に係る情報処理システムは、ゲームに係る処理を行うゲーム処理部と、前記ゲーム処理部にて処理されたゲームのプレイを再現するための再現用データを生成する再現用データ生成部と、前記再現用データ生成部が生成した再現用データに基づいて、ゲームのプレイを再現して表示部に表示する処理を行う再現処理部とを備え、前記再現処理部による再現用データに基づくゲームのプレイの再現中に、前記ゲーム内にて発生したイベントに基づいてゲームのプレイの再現を演出する。
また、本発明に係る情報処理プログラムは、コンピュータを、ゲームに係る処理を行うゲーム処理手段と、前記ゲーム処理手段にて処理されたゲームのプレイを再現するための再現用データを生成する再現用データ生成手段と、前記再現用データ生成手段が生成した再現用データに対する編集処理の条件の入力を受け付ける編集条件受付手段と、前記編集条件受付手段が受け付けた条件に基づいて、前記再現用データ生成手段が生成した再現用データに対する編集処理を行う編集処理手段と、前記編集処理手段が編集した再現用データに基づいて、ゲームのプレイを再現して表示部に表示する処理を行う再現処理手段として動作させ、前記ゲームは、複数のキャラクタが動作するゲームであり、前記再現用データ生成手段が生成する再現用データには、前記ゲーム内にて発生したイベントに関する情報を含み、前記編集条件受付手段は、前記再現用データから優先して抽出されるイベント種別に関する条件を受け付け、且つ、再現対象のキャラクタを条件として受け付け、複数のキャラクタを受け付け可能であり、前記編集処理手段は、前記編集条件受付手段が受け付けた条件及び前記再現用データに含まれるイベントに関する情報に応じて、優先して抽出されるイベント種別の割合が優先されないイベント種別の割合よりも高くなるように、且つ、前記編集条件受付手段が受け付けたキャラクタに係るイベントが発生した部分を、各キャラクタに関して抽出量が同程度となるように、前記再現用データ生成手段が生成した前記再現用データから、所定のイベントが発生した部分を抽出する処理を行う。
また、本発明に係る情報処理プログラムは、コンピュータを、ゲームに係る処理を行うゲーム処理手段と、前記ゲーム処理手段にて処理されたゲームのプレイを再現するための再現用データを生成する再現用データ生成手段と、前記再現用データ生成手段が生成した再現用データに対する編集処理の条件の入力を受け付ける編集条件受付手段と、前記編集条件受付手段が受け付けた条件に基づいて、前記再現用データ生成手段が生成した再現用データに対する編集処理を行う編集処理手段と、前記編集処理手段が編集した再現用データに基づいて、ゲームのプレイを再現して表示部に表示する処理を行う再現処理手段と、前記編集条件受付手段が受け付ける条件と抽出するイベント種別の割合との対応情報を記憶部に記憶する処理を行う記憶処理手段として動作させ、前記再現用データ生成手段が生成する再現用データには、前記ゲーム内にて発生したイベントに関する情報を含み、前記編集条件受付手段は、前記再現用データから優先して抽出されるイベント種別に関する条件を受け付け、前記編集処理手段は、前記編集条件受付手段が受け付けた条件に応じて前記記憶部から取得した対応情報に基づき、前記編集条件受付手段が受け付けた条件及び前記再現用データに含まれるイベントに関する情報に応じて、優先して抽出されるイベント種別の割合が優先されないイベント種別の割合よりも高くなるように、前記再現用データ生成手段が生成した前記再現用データから、所定のイベントが発生した部分を抽出する処理を行う。
また、本発明に係る情報処理プログラムは、コンピュータを、ゲームに係る処理を行うゲーム処理手段と、前記ゲーム処理手段にて処理されたゲームのプレイを再現するための再現用データを生成する再現用データ生成手段と、前記再現用データ生成手段が生成した再現用データに対する編集処理の条件の入力を受け付ける編集条件受付手段と、前記編集条件受付手段が受け付けた条件に基づいて、前記再現用データ生成手段が生成した再現用データに対する編集処理を行う編集処理手段と、前記編集処理手段が編集した再現用データに基づいて、ゲームのプレイを再現して表示部に表示する処理を行う再現処理手段として動作させ、前記再現用データ生成手段が生成する再現用データには、前記ゲーム内にて発生したイベントに関する情報を含み、前記編集条件受付手段は、前記再現用データから優先して抽出されるイベント種別に関する条件を受け付け、且つ、前記編集処理手段が編集した再現用データによるゲームの再現時間の条件を受け付け、前記編集処理手段は、前記編集条件受付手段が受け付けた条件及び前記再現用データに含まれるイベントに関する情報に応じて、優先して抽出されるイベント種別の割合が優先されないイベント種別の割合よりも高くなるように、且つ、編集後の再現用データによるゲームの再現時間が前記編集条件受付手段にて受け付けた再現時間となるように、前記再現用データ生成手段が生成した前記再現用データから、所定のイベントが発生した部分を抽出する処理を行う。
また、本発明に係る情報処理プログラムは、コンピュータを、ゲームに係る処理を行うゲーム処理手段と、前記ゲーム処理手段にて処理されたゲームのプレイを再現するための再現用データを生成する再現用データ生成部と、前記再現用データ生成部が生成した再現用データに基づいて、ゲームのプレイを再現して表示部に表示する処理を行う再現処理部と、前記再現処理手段による再現用データに基づくゲームのプレイの再現中に、前記ゲーム内にて発生したイベントに基づいてゲームのプレイの再現を演出する手段として動作させる。
また、本発明に係る情報処理方法は、ゲームに係る処理を行うゲーム処理ステップと、前記ゲーム処理ステップにて処理されたゲームのプレイを再現するための再現用データを生成する再現用データ生成ステップと、前記再現用データ生成ステップにて生成した再現用データに対する編集処理の条件の入力を受け付ける編集条件受付ステップと、前記編集条件受付ステップにて受け付けた条件に基づいて、前記再現用データ生成ステップにて生成した再現用データに対する編集処理を行う編集処理ステップと、前記編集処理ステップにて編集した再現用データに基づいて、ゲームのプレイを再現して表示部に表示する処理を行う再現処理ステップとを含み、前記ゲームは、複数のキャラクタが動作するゲームであり、前記再現用データ生成ステップにて生成する再現用データには、前記ゲーム内にて発生したイベントに関する情報を含み、前記編集条件受付ステップでは、前記再現用データから優先して抽出されるイベント種別に関する条件を受け付け、且つ、再現対象のキャラクタを条件として受け付け、複数のキャラクタを受け付け可能であり、前記編集処理ステップでは、前記編集条件受付ステップにて受け付けた条件及び前記再現用データに含まれるイベントに関する情報に応じて、優先して抽出されるイベント種別の割合が優先されないイベント種別の割合よりも高くなるように、且つ、前記編集条件受付ステップにて受け付けたキャラクタに係るイベントが発生した部分を、各キャラクタに関して抽出量が同程度となるように、前記再現用データ生成ステップにて生成した前記再現用データから、所定のイベントが発生した部分を抽出する処理を行う。
また、本発明に係る情報処理方法は、ゲームに係る処理を行うゲーム処理ステップと、前記ゲーム処理ステップにて処理されたゲームのプレイを再現するための再現用データを生成する再現用データ生成ステップと、前記再現用データ生成ステップにて生成した再現用データに対する編集処理の条件の入力を受け付ける編集条件受付ステップと、前記編集条件受付ステップにて受け付けた条件に基づいて、前記再現用データ生成ステップにて生成した再現用データに対する編集処理を行う編集処理ステップと、前記編集処理ステップにて編集した再現用データに基づいて、ゲームのプレイを再現して表示部に表示する処理を行う再現処理ステップと、前記編集条件受付ステップにて受け付ける条件と抽出するイベント種別の割合との対応情報を記憶部に記憶する処理を行う記憶処理ステップとを含み、前記再現用データ生成ステップにて生成する再現用データには、前記ゲーム内にて発生したイベントに関する情報を含み、前記編集条件受付ステップでは、前記再現用データから優先して抽出されるイベント種別に関する条件を受け付け、前記編集処理ステップでは、前記編集条件受付ステップにて受け付けた条件に応じて前記記憶部から取得した対応情報に基づき、前記編集条件受付ステップにて受け付けた条件及び前記再現用データに含まれるイベントに関する情報に応じて、優先して抽出されるイベント種別の割合が優先されないイベント種別の割合よりも高くなるように、前記再現用データ生成ステップにて生成した前記再現用データから、所定のイベントが発生した部分を抽出する処理を行う。
また、本発明に係る情報処理方法は、ゲームに係る処理を行うゲーム処理ステップと、前記ゲーム処理ステップにて処理されたゲームのプレイを再現するための再現用データを生成する再現用データ生成ステップと、前記再現用データ生成ステップにて生成した再現用データに対する編集処理の条件の入力を受け付ける編集条件受付ステップと、前記編集条件受付ステップにて受け付けた条件に基づいて、前記再現用データ生成ステップにて生成した再現用データに対する編集処理を行う編集処理ステップと、前記編集処理ステップにて編集した再現用データに基づいて、ゲームのプレイを再現して表示部に表示する処理を行う再現処理ステップとを含み、前記再現用データ生成ステップにて生成する再現用データには、前記ゲーム内にて発生したイベントに関する情報を含み、前記編集条件受付ステップでは、前記再現用データから優先して抽出されるイベント種別に関する条件を受け付け、且つ、前記編集処理ステップにて編集した再現用データによるゲームの再現時間の条件を受け付け、前記編集処理ステップでは、前記編集条件受付ステップにて受け付けた条件及び前記再現用データに含まれるイベントに関する情報に応じて、優先して抽出されるイベント種別の割合が優先されないイベント種別の割合よりも高くなるように、且つ、編集後の再現用データによるゲームの再現時間が前記編集条件受付ステップにて受け付けた再現時間となるように、前記再現用データ生成ステップにて生成した前記再現用データから、所定のイベントが発生した部分を抽出する処理を行う。
また、本発明に係る情報処理方法は、ゲームに係る処理を行うゲーム処理ステップと、前記ゲーム処理ステップにて処理されたゲームのプレイを再現するための再現用データを生成する再現用データ生成ステップと、前記再現用データ生成ステップにて生成した再現用データに基づいて、ゲームのプレイを再現して表示部に表示する処理を行う再現処理ステップと、前記再現処理ステップによる再現用データに基づくゲームのプレイの再現中に、前記ゲーム内にて発生したイベントに基づいてゲームのプレイの再現を演出するステップとを含む。
本発明は、ゲームの再現用データの編集を容易化し、ユーザによるシステム利用の利便性を向上することが期待できる。
本実施の形態に係る情報処理システムの概略を説明するための模式図である。 本実施の形態に係るゲーム機の構成を示すブロック図である。 本実施の形態に係る投稿サーバの構成を示すブロック図である。 本実施の形態に係る動画サーバの構成を示すブロック図である。 リプレイデータ生成部によるハイライトデータの生成方法を説明するための模式図である。 ゲーム機によるリプレイデータ生成処理の手順を示すフローチャートである。 ゲーム機によるリプレイデータ投稿処理の手順を示すフローチャートである。 リプレイデータ管理テーブルの一例を示す模式図である。 コメント管理テーブルの一例を示す模式図である。 投稿サーバが行うリプレイデータ及びコメントの投稿受付処理の手順を示すフローチャートである。 掲示板の表示例を示す模式図である。 投稿サーバによる掲示板表示処理の手順を示すフローチャートである。 ゲーム機による掲示板表示処理の手順を示すフローチャートである。 投稿サーバによるリプレイデータの送信及び掲示板コメントの投稿受付の処理手順を示すフローチャートである。 リプレイリストの表示例を示す模式図である。 投稿サーバによるリプレイリスト送信処理の手順を示すフローチャートである。 ゲーム機によるリプレイリストでのデータ取得処理の手順を示すフローチャートである。 ゲーム機によるゲーム再現画面の表示例を示す模式図である。 閲覧コメントの入力画面の表示例を示す模式図である。 ゲーム機が行うゲーム再現処理の手順を示すフローチャートである。 ゲーム機が行うゲーム再現処理の手順を示すフローチャートである。 実施の形態2に係る情報処理システムの投稿処理の概要を説明するための模式図である。 実施の形態2に係るゲーム機が行う投稿処理の手順を示すフローチャートである。 実施の形態2に係るゲーム機が行う投稿処理の手順を示すフローチャートである。 実施の形態3に係るゲーム機が表示する編集条件設定画面の一例を示す模式図である。 実施の形態3に係るゲーム機が行うハイライトデータ生成処理の手順を示すフローチャートである。 実施の形態3に係るゲーム機が行うハイライトデータ生成処理の手順を示すフローチャートである。
<システム概要>
図1は、本実施の形態に係る情報処理システムの概略を説明するための模式図である。本実施の形態に係る情報処理システムは、複数のゲーム機1が投稿サーバ3及び動画サーバ5との通信を行うことによって、ゲームのリプレイに係るデータの共有を実現する。ゲーム機1は、ユーザがゲームをプレイした際に、そのプレイ状況を再現するためのリプレイデータを生成する。本実施の形態においてリプレイデータは、ゲームにおけるプレイヤキャラクタ、敵キャラクタ、背景及び障害物等のオブジェクトの位置、位置変化、移動軌跡、行った動作、形状、色及びテクスチャ等の情報、並びに、ユーザによるゲーム操作情報等を含み得るものであり、ゲーム機1又は同様のゲームを実現するゲームプログラム等が読み込むことによってゲームのプレイ状況を再現することができるに足るデータである。ユーザは、ゲーム機1を利用して、リプレイデータに対するコメントを作成し、リプレイデータ及びコメントを投稿サーバ3へ投稿する。
またゲーム機1は、生成したリプレイデータを、動画データに変換することができる。本実施の形態において動画データは、例えばMPEG(Moving Picture Expert Group)
又はH.264等の形式のデータであり、同様のゲームを実現できない装置、例えばPC、スマートフォン又はタブレット型端末装置等であっても再生することができるデータである。ユーザは、ゲーム機1を利用して、リプレイデータを動画データに変換し、変換した動画データを動画サーバ5に投稿することができる。
投稿サーバ3は、複数のゲーム機1から投稿されたリプレイデータ及びコメントを対応付けて記憶している。また投稿サーバ3は、ゲーム機1にてリプレイデータ及び動画データの両方が投稿された場合、動画データの記憶場所などに関する情報を記憶しておくことによって、リプレイデータ及び動画データの対応付けを行う。投稿サーバ3は、記憶したリプレイデータ及びコメントを、複数のゲーム機1に対して送信する。同様に動画サーバ5は、複数のゲーム機1から投稿された動画データを記憶しており、記憶した動画データを複数のゲーム機1に対して送信する。
ゲーム機1は、投稿サーバ3に記憶されたリプレイデータ及びコメントから、ユーザの好みなどに応じたものをダウンロードして取得することができる。ゲーム機1は、取得したリプレイデータに基づいて、ゲームのプレイ状況を再現して表示する。ユーザは、ゲーム機1にて再現されたゲームプレイを閲覧し、これに対するコメントを作成して投稿サーバ3へ投稿することができる。ゲーム機1からのコメントの投稿を受け付けた投稿サーバ3は、このコメントをリプレイデータに対応付けて記憶する。なお投稿サーバ3がリプレイデータと共に送信するコメントには、リプレイデータを投稿した投稿者のコメントのみでなく、閲覧者によるコメントを含んでよい。
同様に、ゲーム機1は、動画サーバ5から動画データを取得して閲覧することができる。なお動画サーバ5による動画データの送信は、ゲーム機1が動画データをダウンロードする方法で行ってもよく、又は、いわゆるストリーミング配信で行ってもよい。また動画サーバ5による動画データの送信は、ゲーム機1のみでなく、動画データの再生機能及び動画サーバ5との通信機能を備える装置であれば利用可能である。
<装置構成>
図2は、本実施の形態に係るゲーム機1の構成を示すブロック図である。ゲーム機1は、処理部10、記憶部11、記録媒体装着部12、表示部13、操作部14及び通信部15等を備えて構成されている。処理部10は、CPU(Central Processing Unit)など
の演算処理装置を用いて構成されている。処理部10は、記憶部11に記憶されたゲームプログラム92又は記録媒体装着部12に装着された記録媒体91に記録されたゲームプログラム92を読み出して実行することにより、ゲームに係る各種の情報処理を行う。例えば処理部10は、操作部14に対してなされた操作を受け付ける処理、受け付けた操作に応じてゲームの判定などを行う処理、受け付けた操作又はゲーム内のイベント等に応じて表示部13に表示するゲーム画像を生成する処理等を行う。
記憶部11は、不揮発性の記憶装置を用いて構成されている。記憶部11は、ゲームプログラム92などのプログラム及びプログラムの実行に必要な各種のデータを記憶することができる。また記憶部11には、リプレイデータを記憶するリプレイデータ記憶部11aが設けられている。記録媒体装着部12は、メモリカードなどの記録媒体91を着脱できるように構成されている。処理部10は、記録媒体装着部12に装着された記録媒体91からゲームプログラム92及びその他の種々のデータを読み出すことができる。表示部13は、液晶パネルなどを用いて構成され、処理部10から与えられた画像を表示する。操作部14は、例えば押下式のボタン又は表示部13に設けられたタッチパネル等であり、ユーザによりなされた操作の内容(例えばボタンの押し下げ又はタッチパネルへの接触等)を処理部10へ通知する。
通信部15は、無線LAN(Local Area Network)などを利用してインターネットなどのネットワーク99に接続し、このネットワーク99を介して投稿サーバ3又は動画サーバ5等との間でデータの送受信を行う。例えばゲーム機1は、通信部15にて投稿サーバ3との通信を行うことで、ゲームのリプレイデータの投稿及び取得を行うことができる。また例えばゲーム機1は、通信部15にて動画サーバ5との通信を行うことで、動画データの投稿及び取得を行うことができる。
また本実施の形態に係るゲーム機1は、処理部10がゲームプログラム92を実行することにより、ゲーム処理部21、リプレイデータ生成部22、コメント処理部23、投稿処理部24、リプレイデータ要求部25、表示処理部26、編集処理部27及びキャラクタ処理部28等がソフトウェア的な機能ブロックとして実現される。
ゲーム処理部21は、操作部14にて受け付けたユーザの操作などに応じて、ゲームに関する種々の判定処理又はイベント処理等を行う。またゲーム処理部21は、記憶部11のリプレイデータ記憶部11aに記憶されたリプレイデータに基づいて、ゲームのプレイを再現する処理を行う。リプレイデータ生成部22は、ゲーム処理部21にて行われたゲームを再現するためのリプレイデータを生成して記憶部11に記憶する処理を行う。またリプレイデータ生成部22は、リプレイデータをMPEG形式などの動画データに変換する処理を行う。
コメント処理部23は、投稿サーバ3に投稿するリプレイデータに対するユーザからのコメントの入力を受け付ける処理を行う。本実施の形態においてコメント処理部23が入力を受け付けるコメントは、文字列(テキスト)情報のみでなく、ユーザの手描きによる画像情報であってもよい。なお本実施の形態においては、コメント処理部23により入力を受け付けられ、リプレイデータに関連付けられる情報をコメントと呼ぶが、これにはリプレイデータに付されたタイトルなどの情報を含み得る。またゲーム機1は、投稿サーバ3から取得して記憶部11に記憶したリプレイデータに基づいて、ゲーム処理部21がゲームのプレイを再現することができる。コメント処理部23は、再現されたゲームのプレイに対するユーザからのコメントの入力を受け付ける処理を行う。
投稿処理部24は、リプレイデータ生成部22が生成したリプレイデータと、コメント処理部23が受け付けたリプレイデータに対するコメントとを、通信部15にて投稿サーバ3へ送信することにより、リプレイデータ及びコメントを投稿する処理を行う。また投稿処理部24は、リプレイデータ生成部22がリプレイデータを基に変換した動画データを、通信部15にて動画サーバ5へ送信することにより、動画データを投稿する処理を行う。また投稿処理部24は、投稿サーバ3から取得したリプレイデータに対して、コメント処理部23が受け付けた閲覧者としてのコメントを、通信部15にて投稿サーバ3へ送信することにより、コメントを投稿する処理を行う。
リプレイデータ要求部25は、ゲーム機1のユーザからの要求に応じて、投稿サーバ3に対するリプレイデータの送信要求、又は、動画サーバ5に対する動画データの送信要求を行う。
表示処理部26は、ゲーム処理部21の処理結果に応じたゲーム画面を生成して表示部13へ与えることにより、表示部13にゲーム画面を表示する処理を行う。また表示処理部26は、記憶部11に記憶されたリプレイデータに基づいてゲーム処理部21によるゲームプレイの再現を表示部13に表示する処理を行う。また表示処理部26は、記憶部11に記憶されているリプレイデータのリスト表示、及び、投稿サーバ3が送信するリプレイデータ又は動画サーバ5が送信する動画データのリスト表示等を行う。
編集処理部27は、ユーザの操作に応じて、記憶部に記憶されたリプレイデータに対する編集処理を行う。編集処理部27は、例えばリプレイデータにより再現されるゲームのプレイの視点変更又は再現時間の短縮等の編集処理を行う。編集処理部27は、編集処理により生成した新たなリプレイデータを記憶部11に記憶する。なお編集処理部27による編集処理の対象は、自機のリプレイデータ生成部22が生成したリプレイデータ、及び、投稿サーバ3から取得したリプレイデータの両方である。
キャラクタ処理部28は、リプレイデータに基づいてゲーム処理部21が再現したゲームのプレイを表示処理部26が表示部13に表示する際に、このリプレイデータに関連付けられたコメントの表示に用いられるキャラクタオブジェクトに係る処理を行う。本実施の形態においては、ゲームのプレイの再現と共に一又は複数のキャラクタオブジェクトを表示し、更に各キャラクタオブジェクトの近傍にコメントを記載した吹き出しを表示することによって、コメントの表示を行う。またキャラクタ処理部28は、ゲームのプレイの再現における所定時点にて、キャラクタオブジェクトに所定の動作を行わせるなどの処理を行う。
図3は、本実施の形態に係る投稿サーバ3の構成を示すブロック図である。投稿サーバ3は、処理部30、記憶部31、記録媒体装着部32及び通信部33等を備えて構成されている。処理部30は、演算処理装置を用いて構成され、記憶部31に記憶されたサーバプログラム94を読み出して実行することにより、リプレイデータの投稿受付及び送信等の処理を行う。記憶部31は、不揮発性の記憶装置を用いて構成され、サーバプログラム94などのプログラム及び種々のデータを記憶することができる。本実施の形態において記憶部31は、ゲーム機1から投稿されたリプレイデータを記憶するリプレイデータ記憶部31a、及び、コメントデータを記憶するコメントデータ記憶部31bを有している。
記録媒体装着部32は、ディスク形などの記録媒体93を着脱できるよう構成されている。処理部30は、記録媒体装着部32に装着された記録媒体93からサーバプログラム94及びその他の種々のデータを読み出して記憶部31にインストールすることができる。通信部33は、インターネットなどのネットワーク99を介してゲーム機1又は動画サーバ5との間でデータの送受信を行う。例えば投稿サーバ3は、通信部33にてゲーム機1から投稿されたリプレイデータ及びコメントを受信して記憶部31に記憶する。また例えば投稿サーバ3は、ゲーム機1からの要求に応じて、記憶部31に記憶されたリプレイデータ及びコメントを、通信部33からゲーム機1へ送信する。
また本実施の形態に係る投稿サーバ3は、処理部30がサーバプログラム94を実行することにより、投稿受付部41、掲示板データ生成部42、リプレイリストデータ生成部43及びデータ送信部44等がソフトウェア的な機能ブロックとして実現される。
投稿受付部41は、ゲーム機1からのリプレイデータ及びコメントの投稿を受け付ける処理を行う。また投稿受付部41は、送信したリプレイデータに対する閲覧者としてのコメントの投稿を受け付ける処理を行う。投稿受付部41は、投稿を受け付けたリプレイデータを記憶部31のリプレイデータ記憶部31aに記憶すると共に、コメントをコメントデータ記憶部31bに記憶する。
掲示板データ生成部42は、投稿サーバ3にアクセスしたゲーム機1に対して、ゲームのリプレイデータの投稿に関する掲示板を表示するためのデータを生成する処理を行う。本実施の形態において掲示板には、リプレイデータと共に投稿された投稿者のコメント、及び、このリプレイデータを閲覧した閲覧者によるコメント等が関連付けて表示される。またユーザは、表示された掲示板のコメントなどに対して新たなコメントを投稿することができる。
リプレイリストデータ生成部43は、投稿サーバ3にアクセスしたゲーム機1に対して、記憶しているリプレイデータのリストを表示するためのデータを生成する処理を行う。リプレイリストデータ生成部43は、例えば新着のリプレイデータ又は人気の高いリプレイデータ等のように、所定の条件で記憶部31に記憶されたリプレイデータからいくつかのリプレイデータを選択し、選択したリプレイデータのサムネイル画像などを含むリプレイリストデータを作成してゲーム機1へ送信する。ゲーム機1は、投稿サーバ3からのリプレイリストデータを受信して、記憶されているリプレイデータの一覧表示などを行うことができる。なおリプレイリストデータ生成部43が生成するリプレイリストデータには、投稿サーバ3が記憶しているリプレイデータのみでなく、動画サーバ5が記憶している動画データに関する情報が含まれていてもよい。
データ送信部44は、記憶部31に記憶されたリプレイデータ及びコメントデータ等を、ゲーム機1からの要求に応じて送信する処理を行う。またデータ送信部44は、上記の掲示板データ生成部42が生成した掲示板表示用データ、及び、リプレイリストデータ生成部43が生成したリプレイリストデータを、ゲーム機1へ送信する処理を行う。
図4は、本実施の形態に係る動画サーバ5の構成を示すブロック図である。動画サーバ5は、処理部50、記憶部51、記録媒体装着部52及び通信部53等を備えて構成されている。処理部50は、演算処理装置を用いて構成され、記憶部51に記憶されたサーバプログラム96を読み出して実行することにより、動画データの投稿受付及び送信等の処理を行う。記憶部51は、不揮発性の記憶装置を用いて構成され、サーバプログラム96などのプログラム及び種々のデータを記憶することができる。本実施の形態において記憶部51は、ゲーム機1から投稿された動画データを記憶する動画データ記憶部51aを有している。
記録媒体装着部52は、ディスク形などの記録媒体95を着脱できるよう構成されている。処理部50は、記録媒体装着部52に装着された記録媒体95からサーバプログラム96及びその他の種々のデータを読み出して記憶部51にインストールすることができる。通信部53は、インターネットなどのネットワーク99を介してゲーム機1又は投稿サーバ3との間でデータの送受信を行う。例えば動画サーバ5は、通信部53にてゲーム機1から投稿された動画データを受信して記憶部51に記憶する。また例えば動画サーバ5は、ゲーム機1からの要求に応じて、記憶部51に記憶された動画データを、通信部53からゲーム機1へ送信する。
また本実施の形態に係る動画サーバ5は、処理部50がサーバプログラム96を実行することにより、投稿受付部61及びデータ送信部62等がソフトウェア的な機能ブロックとして実現される。投稿受付部61は、ゲーム機1からの動画データの投稿を受け付ける処理を行う。投稿受付部61は、投稿を受け付けた動画データを記憶部51の動画データ記憶部51aに記憶する。データ送信部62は、記憶部51に記憶された動画データなどを、ゲーム機1からの要求に応じて送信する処理を行う。
<リプレイデータ生成>
本実施の形態に係る情報処理システムにおいては、ゲーム機1にてゲームプログラム92が実行され、ゲーム処理部21により実現されるゲームをユーザがプレイした際に、リプレイデータ生成部22によるリプレイデータの生成が行われる。なお以下の説明においては、ゲーム機1にて実現されるゲームとして、3次元の仮想空間内において一又は複数の車輌が所定のコースを走行し、その順位又は走行時間等を競うレーシングゲームを例に挙げるが、これは一例であって、本技術はその他のゲームにも適用可能である。
ゲーム機1のゲーム処理部21は、走行する車輌の形状、色及びテクスチャ等の情報、車輌が走行するコースの形状及びテクスチャ等の情報、並びに、コース上に配置される障害物などのその他のオブジェクトの形状、色及びテクスチャ等の情報を取得する。これらの情報は、ゲームプログラム92と共に記憶部11に記憶されている。ゲーム処理部21は、取得した情報に基づいて、ゲームの実現に必要な3次元の仮想空間を構築する。表示処理部26は、3次元の仮想空間内に配置された仮想カメラからの視点に基づく2次元画像を生成して表示部13に表示することで、ゲーム画面の表示を行う。ゲーム処理部21は、操作部14に対してなされたユーザの操舵及び加減速等の操作に応じて、車輌の位置を変化させる。またユーザの操作対象でない車輌について、ゲーム処理部21は、所定の思考ルーチンなどに従って車輌の位置を変化させる。ゲーム処理部21は、コース上のスタート位置からゴール位置まで車輌が走行する間を1回のゲームとして処理を行い、ゲーム結果として走行順位及び走行時間等を表示する。
リプレイデータ生成部22は、ゲーム処理部21のゲーム処理の過程にて生成される車輌の位置、向き及び速度等の情報、又は、ユーザによる操作内容などの情報等を、1回のゲームについて収集したものをリプレイデータとして生成する。リプレイデータ生成部22が生成するリプレイデータは、ゲーム処理部21が読み込むことによって、既に行われたゲームのプレイ状況を再現して表示部13に表示するのに足るデータが含まれている。リプレイデータは、一般的に、オブジェクトの位置、向き及び速度等の情報に基づくものと、ユーザの操作内容などの情報に基づくものとの2種がある。本実施の形態においては、リプレイデータにオブジェクトの位置、向き及び速度等の情報を含むものとして以降の説明を行う。ただしリプレイデータは、ユーザの操作内容などの情報を含むものであってもよい。リプレイデータ生成部22は、生成したリプレイデータを記憶部11のリプレイデータ記憶部11aに記憶する。
またリプレイデータ生成部22は、生成した1回分のゲームのリプレイデータを基に、再現時間を短縮したリプレイデータを生成することができる。本実施の形態においては、再現時間を短縮されたリプレイデータをハイライトデータといい、再生時間を短縮されていない元のリプレイデータを全リプレイデータという。またリプレイデータは、全リプレイデータ及びハイライトデータを含むものとする。
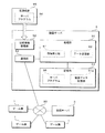
図5は、リプレイデータ生成部22によるハイライトデータの生成方法を説明するための模式図である。リプレイデータ生成部22は、1回のゲームに関して、評価値及びその変化を算出する。評価値は、ゲームの盛り上がり度合いなどを数値化したものである。例えば評価値は、ゲームにおいて一の車輌が他の車輌を追い越した場合、複数の車輌が衝突した場合、又は、一の車輌がコースから外れた場合等のように、特定の条件が満たされた場合に加算される。また例えば評価値は、コースのスタート、ゴール又は難所等の所定位置に特定の値を設定しておき、車輌がコースの所定位置を通過する際に設定された値が加算される。
リプレイデータ生成部22は、1回のゲームにおいて所定の周期で評価値の算出を繰り返し行う。算出された評価値の一例が図5の上段に示されている。リプレイデータ生成部22は、算出した評価値が閾値を超える区間について、全リプレイデータからデータを抽出し、抽出したデータを結合してハイライトデータを生成する。なお閾値は、特定の値でなくてよく、例えば生成されるハイライトデータによるリプレイの再現時間などに応じて値を増減させてもよい。また例えば、閾値として算出した評価値の平均値などを用いてもよい。
このようにリプレイデータ生成部22が全リプレイデータから一部を抽出してハイライトデータを生成することにより、リプレイデータのデータ量を低減することができ、リプレイデータを投稿サーバ3へ投稿する際の通信量を低減することができる。リプレイデータ生成部22は、生成したハイライトデータのみを記憶部11に記憶してもよく、全リプレイデータ及びハイライトデータを共に記憶部11に記憶してもよい。
またリプレイデータ生成部22は、行われたゲームが複数の車輌が参加したものである場合に、ハイライトデータの作成を行う。行われたゲームが1台又は所定数以下の車輌のみが走行するもの、いわゆるタイムトライアルなどのモードでのゲームである場合、ハイライトデータの作成を行わずに全リプレイデータを記憶部11に記憶する。これにより、車輌数が少なくデータ量が少ない場合には全リプレイデータを記憶し、車輌数が多くデータ量が多い場合にはハイライトデータを記憶してデータ量を低減することができる。
またハイライトデータは、リプレイデータ生成部22が評価値に基づいて自動的に行うのみでなく、ユーザが全リプレイデータから好みの箇所を抽出して作成してもよい。この場合のハイライトデータの生成は、ゲーム機1の編集処理部27によって行われる。編集処理部27は、操作部14にて受け付けたユーザによる編集操作、例えば抽出するデータの時間指定などの操作に応じて、全リプレイデータからハイライトデータを生成し、記憶部11に記憶する。なお編集処理部27は、例えばリプレイ表示を行う際の視点(仮想のカメラ位置)の変更など、その他の編集処理をユーザの操作に応じて行うことができる。
図6は、ゲーム機1によるリプレイデータ生成処理の手順を示すフローチャートである。ゲーム開始後、ゲーム機1の処理部10は、ゲーム処理部21によるゲーム処理を行う(ステップS1)。処理部10のリプレイデータ生成部22は、ゲーム処理部21のゲーム処理に伴って生成される車輌の位置、向き及び速度等の情報を取得してリプレイデータを生成する(ステップS2)。処理部10は、ゲームが終了したか否かを判定し(ステップS3)、ゲームが終了していない場合には(S3:NO)、ステップS1へ処理を戻してゲーム処理を継続する。
ゲームが終了した場合(S3:YES)、処理部10のリプレイデータ生成部22は、行われたゲームがタイムトライアルであるか否かを判定する(ステップS4)。行われたゲームがタイムトライアルである場合(S4:YES)、リプレイデータ生成部22は、全リプレイデータを記憶部11に記憶して(ステップS5)、処理を終了する。行われたゲームがタイムトライアルでない場合(S4:NO)、リプレイデータ生成部22は、ゲーム内時間の所定周期にて評価値を算出する(ステップS6)。リプレイデータ生成部22は、算出した評価値と閾値との比較結果に基づいて全リプレイデータから一部のデータを抽出し、ハイライトデータを生成する(ステップS7)。リプレイデータ生成部22は、生成したハイライトデータをリプレイデータとして記憶部11に記憶し(ステップS8)、処理を終了する。
<リプレイデータ投稿>
ゲーム機1のユーザは、記憶部11に記憶したリプレイデータに基づいて、ゲームプレイの再現を表示部13に表示させることができる。またゲーム機1のユーザは、自らのリプレイデータを投稿サーバ3に投稿することによって、他のユーザにリプレイデータを公開することができる。ユーザは、例えばゲームプログラム92の実行により表示部13に表示されたメニュー(図示は省略する)からリプレイデータ投稿の項目を選択する操作を操作部14にて行うことにより、投稿処理を開始することができる。
リプレイデータの投稿処理は、処理部10の投稿処理部24により行われる。投稿処理部24は、記憶部11に記憶されたリプレイデータの一覧をサムネイル表示などによりユーザに提示し、投稿対象のリプレイデータの選択を受け付ける。また本実施の形態においては、ゲーム機1から投稿サーバ3へリプレイデータを投稿するのみでなく、リプレイデータに対応する動画データを動画サーバ5へ投稿することができる。そこで投稿処理部24は、選択された投稿対象のリプレイデータについて、動画データを生成して動画サーバ5へ投稿するか否かを問い合わせる。動画データを投稿する選択がユーザによりなされた場合、投稿処理部24は、投稿対象のリプレイデータをMPEG又はH.264等の形式の動画データに変換する処理を行う。
投稿処理部24は、投稿対象のリプレイデータを記憶部11から読み出し、通信部15から投稿サーバ3へ送信する。動画データへの変換を行っている場合、投稿処理部24は、動画データの変換処理の完了後にリプレイデータの送信を行ってもよく、動画データの変換処理と並行してリプレイデータの送信を行ってもよい。また動画データの変換処理の完了後、投稿処理部24は、通信部15から動画データを動画サーバ5へ送信する。
また本実施の形態においては、投稿するリプレイデータに対して、ユーザがコメントを付与することができる。コメントの受付は、処理部10のコメント処理部23により行われる。コメント処理部23は、コメント入力画面を表示部13に表示し、操作部14に対するユーザの操作に応じてコメントの入力を受け付ける。本実施の形態においては、コメント処理部23は、テキスト入力によるコメントの他に、手描き入力による画像をコメントとして受け付けることができる。コメント処理部23は、入力を受け付けたテキストデータ又は画像データのコメントを投稿処理部24へ与える。なおコメント処理部23によるコメントの入力受付処理は、投稿処理部24によるリプレイデータの送信処理、動画データへの変換処理、及び、動画データの送信処理等と並行して行ってよい。
投稿処理部24は、リプレイデータを投稿サーバ3へ送信した後、コメント処理部23が入力を受け付けたコメントを投稿サーバ3へ送信する。
図7は、ゲーム機1によるリプレイデータ投稿処理の手順を示すフローチャートである。ゲーム機1の処理部10の投稿処理部24は、記憶部11に記憶されたリプレイデータのサムネイル表示を行って(ステップS11)、投稿するリプレイデータの選択を受け付ける(ステップS12)。選択受付後、投稿処理部24は、選択されたリプレイデータを動画データとして動画サーバ5に投稿するか否かの問い合わせを行い(ステップS13)、動画データを投稿する選択がなされたか否かを判定する(ステップS14)。動画データを投稿する選択がなされた場合(S14:YES)、投稿処理部24は、リプレイデータから動画データへの変換、及び、変換した動画データの動画サーバ5への送信を開始する(ステップS15)。動画データを投稿しない選択がなされた場合(S14:NO)、又は、ステップS15にて動画データへの変換及び送信を開始した後、投稿処理部24は、リプレイデータの投稿サーバ3への送信を開始する(ステップS16)。
投稿処理部24によるリプレイデータの送信を開始した後、処理部10のコメント処理部23は、このリプレイデータに付与するコメントの入力受付を行う(ステップS17)。コメント処理部23は受け付けたコメントを投稿処理部24に与え、投稿処理部24は与えられたコメントを投稿サーバ3へ送信して(ステップS18)、処理を終了する。なおステップS18においてリプレイデータの送信が完了していない場合には、投稿処理部24は、リプレイデータの送信完了後にコメントを送信すればよい。
<リプレイデータ投稿受付>
ゲーム機1から投稿されたリプレイデータ及びコメントは、投稿サーバ3にて受け付けられる。投稿の受付処理は、処理部30の投稿受付部41にて行われる。投稿受付部41は、通信部33にて受信したゲーム機1からのリプレイデータを記憶部31のリプレイデータ記憶部31aに記憶すると共に、受信したコメントをコメントデータ記憶部31bに記憶する。リプレイデータ記憶部31aには、投稿された複数のリプレイデータを管理するためのリプレイデータ管理テーブルが記憶されている。またコメントデータ記憶部31bには、投稿された複数のコメントを管理するためのコメント管理テーブルが記憶されている。投稿受付部41は、投稿されたリプレイデータ及びコメントを記憶する際に、リプレイデータ管理テーブル及びコメント管理テーブルを更新する。
図8は、リプレイデータ管理テーブルの一例を示す模式図である。リプレイデータ管理テーブルには、リプレイデータ記憶場所、コメント記憶場所、投稿者情報、動画データ記憶場所及びその他情報等が対応付けて記憶されている。リプレイデータ記憶場所は、記憶部31のリプレイデータ記憶部31aにて、リプレイデータが記憶されているアドレスの情報である。更にリプレイデータのサイズなどの情報を記憶してもよい。コメント記憶場所は、リプレイデータに対して投稿者が付与したコメントが記憶されているコメントデータ記憶部31bのアドレスの情報である。
投稿者情報は、リプレイデータを投稿したユーザに関する情報であり、例えばユーザID(IDentifier)、ユーザの似顔絵として表示する画像、又は、ユーザの分身として表示するキャラクタに関する情報等が含まれ得る。動画データ記憶場所は、リプレイデータと共に動画データが作成されて動画サーバ5へ投稿された場合に設定される情報であり、対応する動画データが記憶されている動画サーバ5のアドレス情報である。動画データ記憶場所として設定されるアドレス情報は、動画サーバ5のURL(Uniform Resource Locator)又はIP(Internet Protocol)アドレス等の情報を含むものであってよく、投稿サ
ーバ3が動画データにアクセスすることができる情報であればよい。その他情報は、例えばリプレイデータが投稿された日時情報、又は、プレイされたゲームの名称等の情報を含むことができる。
図9は、コメント管理テーブルの一例を示す模式図である。コメント管理テーブルには、コメント記憶場所、コメント種別、元コメント、派生コメント、表示タイミング、投稿者情報及びその他情報等が対応付けて記憶されている。コメント記憶場所は、記憶部31のコメントデータ記憶部31bにて、コメントが記憶されているアドレスの情報である。
コメント種別は、本実施の形態においては、投稿、掲示板又は閲覧の3種のうちのいずれか1つが設定される。投稿コメントは、上述のようにリプレイデータを投稿する際にユーザが付与したコメントである。本実施の形態において、投稿サーバ3は、記憶部31に記憶された投稿コメントから、新着順又は人気順等の条件でいくつかの投稿コメントを選択し、選択した投稿コメントを一覧としてゲーム機1の表示部13に表示することができる。これにより投稿サーバ3は、リプレイデータと共に投稿されたコメントをゲーム機1のユーザに紹介することができ、本実施の形態において投稿コメントを一覧表示したものを掲示板と呼ぶ。ゲーム機1のユーザは、掲示板に表示された投稿コメントに対してコメントを付すことができ、掲示板にて投稿されたコメントが掲示板コメントである。また本実施の形態において、ゲーム機1のユーザは、投稿サーバ3が送信するリプレイデータをダウンロードしてゲームの再現を閲覧することができる。ゲーム機1のユーザは、ゲームの再現の閲覧中又は閲覧の前後にコメントを投稿することができ、このコメントが閲覧コメントである。
元コメントは、掲示板コメント及び閲覧コメントに対して設定される情報であり、これらのコメントを付した元となる投稿コメントの記憶場所のアドレス情報である。派生コメントは、投稿コメントに対して設定される情報であり、投稿コメントに対して付された掲示板コメント及び閲覧コメントの記憶場所のアドレス情報である。なお、元コメントは1つであるが、派生コメントは複数であってよい。
本実施の形態においては、リプレイデータに基づいてゲームの再現を表示する際に、ゲーム機1は、このリプレイデータに対して付された閲覧コメントを表示する。閲覧コメントの表示タイミングは、この閲覧コメントの投稿者が指定可能である。コメント管理テーブルの表示タイミングは、閲覧コメントに対して設定される情報であり、閲覧コメントの投稿者が指定した表示時刻(ゲームの再現時間に対する時刻)の情報である。
投稿者情報は、コメントを投稿したユーザに関する情報であり、例えばユーザID、ユーザの似顔絵として表示する画像、又は、ユーザの分身として表示するキャラクタに関する情報等が含まれ得る。その他情報は、例えばコメントが投稿された日時情報などを含むことができる。
図10は、投稿サーバ3が行うリプレイデータ及びコメントの投稿受付処理の手順を示すフローチャートである。投稿サーバ3の処理部30の投稿受付部41は、ゲーム機1から送信されたリプレイデータを通信部33にて受信したか否かを判定する(ステップS21)。リプレイデータを受信していない場合(S21:NO)、リプレイデータを受信するまで待機する。リプレイデータを受信した場合(S21:YES)、投稿受付部41は、受信したリプレイデータを記憶部31のリプレイデータ記憶部31aに記憶し(ステップS22)、リプレイデータ管理テーブルを更新する(ステップS23)。
次いで投稿受付部41は、ゲーム機1から送信されたコメントを通信部33にて受信したか否かを判定する(ステップS24)。コメントを受信していない場合(S24:NO)、投稿受付部41は、コメントを受信するまで待機する。コメントを受信した場合(S24:YES)、投稿受付部41は、受信したコメントを記憶部31のコメントデータ記憶部31bに記憶し(ステップS25)、コメント管理テーブルを更新して(ステップS26)、処理を終了する。
<動画データの投稿受付及び送信>
ゲーム機1から動画データが投稿された場合、この動画データは動画サーバ5にて受け付けられる。動画データの投稿の受付処理は、動画サーバ5の処理部50の投稿受付部61にて行われる。投稿受付部61は、通信部53にて受信したゲーム機1からの動画データを記憶部51の動画データ記憶部51aに記憶する。動画データ記憶部51aには、投稿された複数の動画データを管理するための動画データ管理テーブルが記憶されている。投稿受付部61は、投稿された動画データを記憶する際に、動画データ管理テーブルを更新する。図示は省略するが、動画データ管理テーブルには、動画データの記憶場所のアドレス情報及び動画データを投稿した投稿者に関する情報等が記憶されている。
また動画サーバ5は、記憶部51に記憶した動画データを送信する処理を、処理部50のデータ送信部62にて行う。本実施の形態において、動画サーバ5が送信する動画データは、ゲーム機1以外であっても、動画再生機能を有する装置であれば再生可能なデータである。このため動画サーバ5は、ゲーム機1以外の装置にも動画データを送信する。
動画データの視聴を望むユーザは、通信機能及び動画再生機能を有する情報処理装置(ゲーム機1を含む)を用い、インターネットなどのネットワーク99を介して動画サーバ5にアクセスする。動画サーバ5のデータ送信部62は、アクセスした情報処理装置に対して、動画送信のホームページを表示するためのデータを送信する。このデータを受信した情報処理装置は、ブラウザなどの機能により動画送信のホームページを表示すると共に、再生する動画の選択をユーザから受け付ける。動画が選択された場合、情報処理装置は動画サーバ5に対して動画データの視聴要求を与える。視聴要求を与えられた動画サーバ5のデータ送信部62は、視聴要求に係る動画データを動画データ記憶部51aから読み出し、視聴要求を発した情報処理装置へ送信する。情報処理装置は、動画サーバ5からの動画データを受信して再生することにより、ゲームのプレイの再現を表示することができる。
なお動画サーバ5による動画データの送信については、既存の技術であるため、詳細な説明を省略する。動画サーバ5による動画データの送信は、情報処理装置が動画データをダウンロードして再生する方法で行ってもよく、いわゆるストリーミング配信で行ってもよく、その他の方法で行ってもよい。
<掲示板表示>
投稿サーバ3は、記憶部31のリプレイデータ記憶部31aに記憶したリプレイデータを送信するが、本実施の形態においては2つの方法で送信を行う。1つ目の送信方法は、掲示板を介するものである。投稿サーバ3は、アクセスしたゲーム機1に対して、掲示板を表示するためのデータを送信する。本実施の形態において、投稿サーバ3による掲示板は、ゲーム機1のブラウザなどの機能により表示されるものである。このためゲーム機1以外の情報処理装置であっても、投稿サーバ3にアクセスすることによって掲示板の表示を行うことが可能である。掲示板を表示するためのデータは、投稿サーバ3の処理部30の掲示板データ生成部42により生成される。
ゲーム機1のユーザは、例えば表示部13に表示されたメニューから掲示板表示の項目を選択することにより、表示部13に掲示板を表示することができる。ゲーム機1の処理部10は、掲示板表示の項目が選択された場合、リプレイデータ要求部25が投稿サーバ3に対して掲示板の表示要求を与える。この表示要求を受信した投稿サーバ3の処理部30は、掲示板データ生成部42が記憶部31のコメントデータ記憶部31bに記憶された投稿コメントから新着順又は人気順等の条件でいくつかのコメントを選択する。掲示板データ生成部42は、選択した投稿コメント及びこれに関連する掲示板コメントを掲示板として表示するためのデータを生成し、表示要求を与えたゲーム機1に対して送信する。掲示板データ生成部42は、上述のリプレイデータ管理テーブル及びコメント管理テーブルを参照して、掲示板表示のためのデータを生成する。投稿サーバ3からのデータを受信したゲーム機1は、ブラウザなどの機能により掲示板の表示処理を行う。なおゲーム機1以外の情報処理装置が掲示板の表示を行う場合も同様の手順である。
図11は、掲示板の表示例を示す模式図である。例示する掲示板の表示画面では、画面上部に掲示板のタイトルとして”レーシングゲームの掲示板”の文字列が表示され、表示されるコメントが新着順である旨の表示がなされている。複数の投稿コメントは上側から下側へ時系列で並べて表示され、ユーザはスクロールバーにより表示を上下方向へスクロールさせることが可能である。コメントは、略長方形のコメント領域内にそれぞれ表示される。各コメント領域内には、このコメントを投稿したユーザの似顔絵画像101及びユーザ名102と、投稿されたコメントであるテキストコメント103又は手描画像コメント104とが表示される。
図示の例では、1番目の投稿コメントとして、ユーザAによる”ステージ10のタイムトライアルで新記録達成!!”というテキストコメント103が表示されている。投稿コメントのコメント領域内には、このコメントに対する掲示板コメントを投稿するためのコメント投稿ボタン105が設けられている。またこの投稿コメントには1つの掲示板コメントが付されている。掲示板コメントは、投稿コメントより若干小さい略長方形のコメント領域内に表示され、対応する投稿コメントに対して引き出し線にて接続される。図示の例では、掲示板コメントとして、ユーザCによる”おめでとう”の手描画像コメント104が表示されている。
また図示の例では、2番目の投稿コメントとして、ユーザBによる”やっとステージ3をクリアしました。”というテキストコメント103が表示されている。投稿コメントには、リプレイデータを投稿する際に動画データの投稿が行われている場合、コメント領域内に動画アイコン107が表示される。また2番目の投稿コメントには1つの掲示板コメントが付されている。この掲示板コメントとして、ユーザDによる”頑張ってね。”のテキストコメント103が表示されている。
本実施の形態において、掲示板の投稿コメントに表示されたテキストコメント103又は手描コメント104には、ユーザのリプレイ要求の操作を受け付ける機能が備えられている。例えばゲーム機1の操作部14がタッチパネルを用いるものである場合、ユーザは投稿コメントのテキストコメント103又は手描コメント104に対する接触操作を行うことにより、この投稿コメントに関連するリプレイデータのダウンロードを開始することができる。即ちゲーム機1のリプレイデータ要求部25は、表示された掲示板の投稿コメントに対する操作を受け付け、この投稿コメントに対応するリプレイデータの送信要求を通信部15から投稿サーバ3へ送信する。ゲーム機1からの要求を受信した投稿サーバ3のデータ送信部44は、要求に係るリプレイデータを記憶部31のリプレイデータ記憶部31aから読み出してゲーム機1へ送信する。なおゲーム機1以外の情報処理装置にて掲示板を表示した場合には、リプレイデータの送信は行われない。
また掲示板の投稿コメントには、テキストコメント103又は手描コメント104の後に、リプレイアイコン106が表示される。リプレイアイコン106には、ユーザのリプレイ要求の操作を受け付ける機能が備えられている。ゲーム機1のリプレイデータ要求部25は、テキストコメント103又は手描コメント104に対する操作がなされた場合と同様に、リプレイアイコン106に対する操作に応じて、投稿サーバ3にリプレイデータの送信要求を与える。なおゲーム機1以外の情報処理装置の場合、リプレイアイコン106は表示されなくてもよい。
また掲示板の投稿コメントに表示された動画アイコン107には、ユーザの操作を受け付ける機能が備えられている。ゲーム機1のリプレイデータ要求部25は、掲示板の投稿コメントの動画アイコン107に対する操作を受け付けた場合、この投稿コメントに対応する動画データの送信要求を通信部15から動画サーバ5へ送信する。ゲーム機1からの要求を受信した動画サーバ5のデータ送信部62は、要求に係る動画データを記憶部51の動画データ記憶部51aから読み出してゲーム機1へ送信する。なおゲーム機1以外の情報処理装置にて掲示板を表示した場合であっても、動画データの送信は行われる。
また掲示板の投稿コメントに表示されたコメント投稿ボタン105には、ユーザの操作を受け付ける機能が備えられている。ゲーム機1のコメント処理部23は、掲示板のコメント投稿ボタン105に対する操作を受け付けた場合、この投稿コメントに対する掲示板コメントの入力画面を表示部13に表示する。コメント入力画面にてユーザは、テキスト又は手描きによるコメントの入力を行うことができる。コメント処理部23は、掲示板コメントの入力を受け付け、受け付けたコメントを投稿サーバ3へ送信する。ゲーム機1からの掲示板コメントを受信した投稿サーバ3は、投稿受付部41が受信した掲示板コメントを記憶部31のコメントデータ記憶部31bに記憶すると共に、コメント管理テーブルを更新する。なおゲーム機1以外の情報処理装置であっても、掲示板コメントの投稿を行うことが可能である。
図12は、投稿サーバ3による掲示板表示処理の手順を示すフローチャートである。投稿サーバ3の処理部30は、通信部33にてゲーム機1又は他の情報処理装置から掲示板の表示要求を受信したか否かを判定する(ステップS31)。表示要求を受信していない場合(S31:NO)、処理部30は、表示要求を受信するまで待機する。掲示板の表示要求を受信した場合(S31:YES)、処理部30の掲示板データ生成部42は、記憶部31に記憶されたリプレイデータ管理テーブル及びコメント管理テーブルを参照し(ステップS32)、新着順又は人気順等の条件に基づいて、投稿コメントを選択する(ステップS33)。掲示板データ生成部42は、選択した投稿コメントに関連する掲示板コメントを読み出し(ステップS34)、投稿コメント及び掲示板コメントを適宜に配置した掲示板表示用データを生成する(ステップS35)。処理部30は、掲示板データ生成部42が生成した掲示板表示用データを、表示要求に係るゲーム機1又は他の情報処理装置へ送信し(ステップS36)、処理を終了する。
図13は、ゲーム機1による掲示板表示処理の手順を示すフローチャートである。ゲーム機1の処理部10は、通信部15にて投稿サーバ3からの掲示板表示用データを受信したか否かを判定する(ステップS41)。掲示板表示用データを受信していない場合(S41:NO)、処理部10は、データを受信するまで待機する。掲示板表示用データを受信した場合(S41:YES)、処理部10は、表示処理部26にて掲示板表示用データに基づく表示部13への掲示板の表示処理を行う(ステップS42)。次いで処理部10は、掲示板の表示を終了する操作がなされたか否かを判定し(ステップS43)、終了操作がなされた場合(S43:YES)、掲示板の表示処理を終了する。
掲示板の表示を終了する操作がなされていない場合(S43:NO)、処理部10は、掲示板に表示された投稿コメントのテキストコメント103若しくは手描画像コメント104、又は、リプレイアイコン106に対するリプレイ要求の操作がなされたか否かを判定する(ステップS44)。これらコメント又はリプレイアイコン106に対するリプレイ要求の操作がなされた場合(S44:YES)、処理部10のリプレイデータ要求部25は、操作対象の投稿コメントに対応するリプレイデータの送信要求を投稿サーバ3に対して行う(ステップS45)。処理部10は、送信要求に対して投稿サーバ3からリプレイデータを受信したか否かを判定し(ステップS46)、リプレイデータを受信していない場合には(S46:NO)、リプレイデータを受信するまで待機する。リプレイデータを受信した場合(S46:YES)、処理部10は、ゲーム処理部21にて受信したリプレイデータに基づくゲームのプレイの再現を開始し(ステップS47)、処理を終了する。なおゲーム機1以外の情報処理装置では、ステップS44〜S47の処理は行わず、ステップS43にて表示終了の操作がなされていないと判定した場合、ステップS48へ処理を進める構成としてもよい。
掲示板にてリプレイ要求の操作がなされていない場合(S44:NO)、処理部10は、掲示板にて動画アイコン107に対する操作がなされたか否かを判定する(ステップS48)。動画アイコン107に対する操作がなされた場合(S48:YES)、処理部10のリプレイデータ要求部25は、操作対象の動画アイコン107が設けられた投稿コメントに対応する動画データの送信要求を動画サーバ5に対して行う(ステップS49)。処理部10は、送信要求に対して動画サーバ5から動画データを受信したか否かを判定し(ステップS50)、動画データを受信していない場合には(S50:NO)、動画データを受信するまで待機する。動画データを受信した場合(S50:YES)、処理部10は、受信した動画データに基づく動画像の表示処理、即ち動画の再生処理を開始し(ステップS51)、処理を終了する。
掲示板にて動画アイコン107に対する操作がなされていない場合(S48:NO)、処理部10は、掲示板にてコメント投稿ボタン105に対する操作がなされたか否かを判定する(ステップS52)。コメント投稿ボタン105に対する操作がなされた場合(S52:YES)、処理部10は、表示部13にコメント入力画面を表示して、掲示板コメントの入力を受け付ける(ステップS53)。処理部10は、受け付けた掲示板コメントを投稿サーバ3へ送信し(ステップS54)、ステップS42へ処理を戻して、掲示板の表示を継続して行う。またコメント投稿ボタン105に対する操作がなされていない場合(S52:NO)、処理部10は、ステップS42へ処理を戻して、掲示板の表示を継続して行う。
図14は、投稿サーバ3によるリプレイデータの送信及び掲示板コメントの投稿受付の処理手順を示すフローチャートである。投稿サーバ3の処理部30は、通信部33にてゲーム機1からのリプレイデータの送信要求を受信したか否かを判定する(ステップS61)。送信要求を受信した場合(S61:YES)、処理部30のデータ送信部44は、記憶部31のリプレイデータ記憶部31aから送信要求に係るリプレイデータを読み出し(ステップS62)、読み出したリプレイデータをゲーム機1へ送信して(ステップS63)、ステップS61へ処理を戻す。
リプレイデータの送信要求を受信していない場合(S61:NO)、処理部30は、通信部33にてゲーム機1又はその他の情報処理装置から掲示板コメントを受信したか否かを判定する(ステップS64)。掲示板コメントを受信した場合(S64:YES)、処理部30の投稿受付部41は、受信した掲示板コメントを記憶部31のコメントデータ記憶部31bに記憶し(ステップS65)、コメント管理テーブルを更新して(ステップS66)、ステップS61へ処理を戻す。また掲示板コメントを受信していない場合(S64:NO)、処理部30は、ステップS61へ処理を戻す。
<リプレイリスト表示>
投稿サーバ3によるリプレイデータの2つ目の送信方法は、リプレイデータのリスト表示によるものである。ゲーム機1のユーザは、例えば表示部13に表示されたメニューからリプレイデータのリスト表示の項目を選択することにより、表示部13にリプレイデータのリスト表示を行うことができる。ゲーム機1の処理部10は、リスト表示の項目が選択された場合、リプレイデータ要求部25が投稿サーバ3に対してリスト表示の要求を与える。リスト表示の要求を受信した投稿サーバ3の処理部30は、リプレイリストデータ生成部43が記憶部31のリプレイデータ記憶部31aに記憶されたリプレイデータから、新着順又は人気順等の条件でいくつかのリプレイデータを選択する。リプレイリストデータ生成部43は、選択したリプレイデータに関する情報をまとめたリプレイリスト表示用データを生成し、表示要求を与えたゲーム機1へ送信する。リプレイリストデータ生成部43が生成するリプレイリスト表示用データには、リプレイデータのサムネイル画像及びリプレイデータの記憶場所等の情報が含まれる。リプレイリストデータ生成部43は、リプレイデータ管理テーブルを参照して、リプレイリスト表示用データを生成する。
図15は、リプレイリストの表示例を示す模式図である。例示するリプレイリストの表示画面では、画面上部に”リプレイリスト”のタイトルが表示されている。リプレイリストは例えば”新着情報”、”自分のリプレイ”、”友達のリプレイ”及び”大会のリプレイ”等の複数の項目に分類されている。これら各項目について、関連するリプレイデータのサムネイル画像がマトリクス状に並べて表示され、スクロールバーによって上下方向へスクロール表示することが可能である。
リプレイリストの”新着情報”の項目は、投稿サーバ3が記憶部31に記憶したリプレイデータから新着順に選択したリプレイデータのリストである。また本実施の形態において、投稿サーバ3は、新着情報にリプレイデータ以外の動画データ、例えば新製品の予告動画などに関するサムネイル画像を表示することができる。このような動画データは、投稿サーバ3が記憶部31に記憶していてもよく、動画サーバ5が記憶部51に記憶していてもよく、更に他のサーバ装置が記憶していてもよい。リプレイリストの”自分のリプレイ”の項目は、ゲーム機1の記憶部11に記憶されたリプレイデータのリストである。このためゲーム機1は、この項目に関しては投稿サーバ3からのデータではなく、自らの記憶部11を参照してリスト表示を行う。
リプレイリストの”友達のリプレイ”の項目は、投稿サーバ3が友達として登録済みの他ユーザが投稿したリプレイデータを記憶部31から選択したリストである。この項目のリスト表示を行うため、例えば各ユーザは友達のユーザIDなどを投稿サーバ3又はその他のサーバ装置に登録しておく必要がある。また例えばゲーム機1に友達のユーザIDなどを記憶しておき、リプレイリストを表示する際にゲーム機1から投稿サーバ3へ友達のユーザIDなどを送信する構成とすることもできる。リプレイリストの”大会のリプレイ”の項目は、例えば本実施の形態に係るレーシングゲームの大会が行われた際の上位入賞者などのリプレイデータを選択したリストである。投稿サーバ3は、このような大会に関するリプレイデータを、大会運営者により投稿されたデータとして記憶部31に記憶している。また大会に関するゲームのリプレイは、必ずしもリプレイデータによるものではなく、動画データとして提供されるものであってもよい。この場合、大会に関する動画データは、投稿サーバ3が記憶していてもよく、動画サーバ5が記憶していてもよく、更に他のサーバ装置が記憶していてもよい。
このように、ゲーム機1の表示部13に表示されるリプレイリストには、リプレイデータに基づくもののみでなく、動画データとして提供されるものを含むことができる。動画データは、投稿サーバ3、動画サーバ5又はその他のサーバ装置のいずれが記憶しているものであってもよい。ただし本実施の形態においては、動画サーバ5が動画データを記憶しているものとする。
リプレイリストを表示部13に表示した後、ゲーム機1のユーザは、表示された複数のサムネイル画像からいずれか1つを選択する操作を行うことによって、ゲームの再現の表示を開始することができる。ゲーム機1の処理部10は、リプレイリストにおいてサムネイル画像の選択操作がなされた場合、このサムネイル画像がリプレイデータ又は動画データのいずれのものであるかを判定する。リプレイデータのサムネイル画像である場合、処理部10のリプレイデータ要求部25は、投稿サーバ3へ選択されたサムネイル画像に係るリプレイデータの送信を要求する。なお選択されたサムネイル画像に係るリプレイデータが、既にダウンロード済みで記憶部11に記憶されている場合、処理部10は、投稿サーバ3への要求を行わず、記憶部11から対応するリプレイデータを読み出せばよい。要求に応じて投稿サーバ3から送信されたリプレイデータを通信部15にて受信した場合、処理部10は、ゲーム処理部21にてリプレイデータに基づくゲームの再現を行う。なおこのときに投稿サーバ3はリプレイデータに関連付けられたコメントをゲーム機1へ送信し、ゲーム機1は再現されたゲームと共にコメントを表示する処理を行う。
サムネイル画像が動画データのものである場合、処理部10のリプレイデータ要求部25は、動画サーバ5へ選択されたサムネイル画像に係る動画データの送信を要求する。要求に応じて動画サーバ5から送信された動画データを通信部15にて受信した場合、処理部10は、表示処理部26にて動画データの再生を行い、表示部13に動画像を表示する。
図16は、投稿サーバ3によるリプレイリスト送信処理の手順を示すフローチャートである。投稿サーバ3の処理部30は、通信部33にてゲーム機1からのリプレイリストの表示要求を受信したか否かを判定し(ステップS71)、表示要求を受信していない場合には(S71:NO)、表示要求を受信するまで待機する。リプレイリストの表示要求を受信した場合(S71:YES)、処理部30のリプレイリストデータ生成部43は、リプレイデータ管理テーブルを参照して(ステップS72)、リプレイリストに表示すべきリプレイデータを選択する(ステップS73)。またリプレイリストデータ生成部43は、動画サーバ5に記憶された動画データから、リプレイリストに表示すべき動画データを選択する(ステップS74)。なおこのときにリプレイリストデータ生成部43は、動画データ5から動画データのリストなどを取得する処理を行ってよい。
リプレイリストデータ生成部43は、ステップS73にて選択したリプレイデータ及びステップS74にて選択した動画データのサムネイル画像などを含むリプレイリストデータを生成する(ステップS75)。リプレイリストデータ生成部43は、生成したリプレイリストデータを、表示要求に係るゲーム機1へ送信し(ステップS76)、処理を終了する。
図17は、ゲーム機1によるリプレイリストでのデータ取得処理の手順を示すフローチャートである。ゲーム機1の処理部10は、通信部15にて投稿サーバ3からのリプレイリストデータを受信したか否かを判定し(ステップS81)、受信していない場合には(S81:NO)、受信するまで待機する。リプレイリストデータを受信した場合(S81:YES)、処理部10の表示処理部26は、受信したリプレイリストデータに基づいて、表示部13にリプレイリストを表示する(ステップS82)。処理部10は、表示したリプレイリストにおいて、何れかのサムネイル画像を選択する操作が行われたか否かを判定する(ステップS83)。選択操作が行われていない場合(S83:NO)、処理部10は、ステップS82へ処理を戻し、リプレイリストの表示を継続して行う。
選択操作が行われた場合(S83:YES)、処理部10のリプレイデータ要求部25は、選択されたサムネイル画像がリプレイデータに関するものであるか否かを判定する(ステップS84)。選択されたサムネイル画像がリプレイデータに関するものである場合(S84:YES)、リプレイデータ要求部25は、投稿サーバ3に対して、選択されたサムネイル画像に係るリプレイデータの送信を要求する(ステップS85)。処理部10は、この要求に応じて投稿サーバ3から送信されるリプレイデータを通信部15にて受信したか否かを判定し(ステップS86)、リプレイデータを受信していない場合には(S86:NO)、リプレイデータを受信するまで待機する。リプレイデータを受信した場合(S86:YES)、処理部10のゲーム処理部21は、受信したリプレイデータに基づくゲームのプレイの再現を開始し(ステップS87)、処理を終了する。
選択されたサムネイル画像が動画データに関するものである場合(S84:NO)、リプレイデータ要求部25は、動画サーバ5に対して、選択されたサムネイル画像に係る動画データの送信を要求する(ステップS88)。処理部10は、この要求に応じて動画サーバ5から送信される動画データを通信部15にて受信したか否かを判定し(ステップS89)、動画データを受信していない場合には(S89:NO)、動画データを受信するまで待機する。動画データを受信した場合(S89:YES)、処理部10の表示処理部26は、受信した動画データの再生を開始し(ステップS90)、処理を終了する。
<リプレイ表示>
上述のようにゲーム機1は、表示部13に表示した掲示板又はリプレイリストを介して、投稿サーバ3から所望のリプレイデータをダウンロードして記憶部11に記憶すると共に、リプレイデータに基づくゲームのプレイの再現を表示部13に表示することができる。また投稿サーバ3は、リプレイデータと共に、このリプレイデータに関連付けられた投稿コメント、掲示板コメント及び閲覧コメントをゲーム機1へ送信する。ゲーム機1は、ゲームのプレイの再現と共に、これらのコメントを表示する。
図18は、ゲーム機1によるゲーム再現画面の表示例を示す模式図である。本実施の形態において、ゲーム機1の表示処理部26は、3次元の仮想空間内に配置した仮想テレビジョン装置110に、ゲームのプレイを再現する。また表示処理部26は、3次元の仮想空間内において、仮想テレビジョン装置110の手前側に一又は複数のキャラクタオブジェクト111を配置する。表示処理部26が表示するキャラクタオブジェクト111は、処理部10のキャラクタ処理部28が生成したものである。各キャラクタオブジェクト111は、仮想テレビジョン装置110に表示されたゲームのプレイの再現を観賞している姿を表現すべく、仮想テレビジョン装置110を向いて配置される。
各キャラクタオブジェクト111は、リプレイデータに対してコメントを付したユーザの分身として表示されるものである。各ユーザは、自らの分身として表示するキャラクタオブジェクト111を作成して投稿サーバ3又はその他のサーバ装置に登録しておく。投稿サーバ3は、ゲーム機1へ送信するコメントについて、このコメントを投稿したユーザの分身として表示するキャラクタオブジェクト111の種別、形状、色及びテクスチャ等の情報、即ちキャラクタオブジェクト111の表示に必要な情報を付して送信する。
ゲーム機1の表示処理部26は、ゲーム再現の動画表示中に、所定のタイミングでキャラクタオブジェクト111の近傍に吹き出し112を表示する。吹き出し112内には、このキャラクタオブジェクト111に係るユーザが投稿したコメントが表示される。これによりキャラクタオブジェクト111がコメントを発したことが表現される。吹き出し112内のコメントは、投稿コメント、掲示板コメント又は閲覧コメントのいずれであってもよく、テキストコメント又は手描コメントのいずれであってもよい。例えば表示処理部26は、投稿コメントの吹き出し112を、ゲーム再現の動画表示の開始直後など、最も早いタイミングで表示する。閲覧コメントは、図9のコメント管理テーブルに示したように、表示タイミングが設定されているため、表示処理部26は、閲覧コメントの吹き出し112を設定されたタイミングで表示する。また表示処理部26は、掲示板コメントの吹き出し112を、ゲーム再現の終了時点又はその前後に表示する。なお各コメントの表示タイミングは一例であって、これに限るものではない。
ゲーム機1のキャラクタ処理部28は、ゲーム再現の動画表示中に、所定のタイミングでキャラクタオブジェクト111に所定の動作を行わせる。例えばキャラクタ処理部28は、再現されたゲームにおいて先頭の車輌がゴールしたタイミング又はゲームの再現を終えたタイミング等で、全てのキャラクタオブジェクト111に両手を上げる動作、いわゆるバンザイの動作を行わせる。
また例えばキャラクタ処理部28は、キャラクタオブジェクト111が吹き出し112にて閲覧コメントを発する際に、正面を向く、手を挙げる、ジャンプする又は1回転する等の動作を行わせてもよい。この場合、閲覧コメントを投稿するユーザが、コメントを発する際のキャラクタオブジェクト111の動作を、コメント投稿時に設定する。投稿サーバ3は、投稿されたコメントについて、キャラクタオブジェクト111の動作設定をコメント管理テーブルに記憶しておき、リプレイデータと共にコメントをゲーム機1へ送信する際に、キャラクタオブジェクト111の動作設定を送信する。
またゲーム機1のユーザは、ゲーム再現の動画表示中に、閲覧コメントを入力することができる。ゲーム機1の処理部は、例えば操作部14にて所定の操作が行われた場合、ゲーム再現の動画を一時停止し、閲覧コメントの入力画面を表示部13に表示する。図19は、閲覧コメントの入力画面の表示例を示す模式図である。例示の画面には、”コメント入力画面”のタイトルの下側に、コメント表示時刻が表示されている。コメント表示時刻は、ゲームの再現時間においてキャラクタオブジェクト111の吹き出し112によりコメントを表示する時刻である。コメント表示時刻は、初期値として上記の所定操作によってゲーム再現を一時停止した時刻が設定される。ただしユーザは、変更ボタン121を操作することでコメント表示時刻の設定画面(図示は省略する)を表示させ、コメント表示時刻を変更することが可能である。
コメント表示時刻の下側には、コメントを記入するボックス122が設けられる。ゲーム機1のユーザは、操作部14を用いて、ボックス122内にテキスト又は手描きのコメントを入力することができる。ボックス122の下側には、コメントを表示する際にキャラクタオブジェクト111に行わせる動作を設定するための動作設定部123が設けられている。ユーザは、”ジャンプ”、”手を挙げる”、”1回転”又は”なし”のいずれか1つを選択することができる。
コメント入力画面の最下部には、投稿ボタン124及びやめるボタン125が並べて配されている。投稿ボタン124に対する操作がなされた場合、ゲーム機1の投稿処理部24は、入力されたコメント、コメント表示時刻及びキャラクタオブジェクト111の動作設定等の情報を、投稿サーバ3へ送信する。投稿サーバ3の投稿受付部41は、ゲーム機1から投稿されたコメント及びその他の情報をコメントデータ記憶部31bに記憶し、コメント管理テーブルを更新する。やめるボタン125に対する操作がなされた場合、ゲーム機1は入力されたコメントを投稿することなく、コメント入力の受け付けを終了する。投稿ボタン124又はやめるボタン125のいずれが操作された場合であっても、ゲーム機1は、コメント入力画面を消去し、一時停止したゲーム再現の動画表示を再開させる。
なお投稿コメントと共に表示するキャラクタオブジェクト111が登録されていないユーザの場合、コメント入力画面にてキャラクタオブジェクト111の種別、形状及び色等を設定する項目を設けてもよい。この場合には、入力されたキャラクタオブジェクト111の種別などの情報が投稿サーバ3へ送信され、投稿コメントと共に記憶部31に記憶される。
図20及び図21は、ゲーム機1が行うゲーム再現処理の手順を示すフローチャートである。なお本フローチャートは、ゲーム機1が投稿サーバ3に対してリプレイデータの送信を要求し、投稿サーバ3からゲーム機1へのリプレイデータの送信が開始されたあとからの手順を示してある。ゲーム機1の処理部10は、投稿サーバ3からのリプレイデータのダウンロードを完了したか否かを判定し(ステップS101)、ダウンロードを完了していない場合には(S101:NO)、ダウンロードを完了するまで待機する。
リプレイデータのダウンロードを完了した場合(S101:YES)、処理部10は、ダウンロードされたリプレイデータを記憶部11から読み出す(ステップS102)。処理部10のキャラクタ処理部28は、リプレイデータと共に投稿サーバ3から受信したコメントに含まれるユーザのキャラクタ情報を基に、表示する一又は複数のキャラクタオブジェクト111を生成する(ステップS103)。キャラクタ処理部28は、3次元仮想空間内に仮想テレビジョン装置110と共にキャラクタオブジェクト111を配置する(ステップS104)。処理部10の表示処理部26は、仮想テレビジョン装置110及びキャラクタオブジェクト111が配置された3次元仮想空間に基づき、図18に示したリプレイ画面を表示部13に表示する(ステップS105)。
表示処理部26は、リプレイデータと共に受信したコメントから投稿コメントを取得し、投稿者に対応するキャラクタオブジェクト111の近傍に吹き出し112を表示して、投稿コメントを表示する(ステップS106)。その後、処理部10は、ゲーム処理部21にてリプレイデータに基づくゲームの再現を開始し(ステップS107)、仮想テレビジョン装置110にゲームの再現の表示を開始する。
処理部10は、ゲームの再現時間において、閲覧コメントを表示する時刻に達したか否かを判定する(ステップS108)。閲覧コメントを表示する時刻に達した場合(S108:YES)、処理部10のキャラクタ処理部28は、表示する閲覧コメントを投稿したユーザのキャラクタオブジェクト111に設定された動作を行わせる(ステップS109)。また表示処理部26は、このキャラクタオブジェクト111の近傍に吹き出し112を表示して、閲覧コメントを表示し(ステップS110)、ステップS108へ処理を戻す。
閲覧コメントを表示する時刻に達していない場合(S108:NO)、処理部10は、コメント入力の操作がなされたか否かを判定する(ステップS111)。コメント入力の操作がなされた場合(S111:YES)、処理部10は、ゲームの再現を一時停止する(ステップS112)。表示処理部26は、表示部13にコメント入力画面を表示する(ステップS113)。処理部10は、コメント入力画面にて投稿ボタン124に対する操作がなされたか否かを判定する(ステップS114)。投稿ボタン124に対する操作がなされていない場合(S114:NO)、処理部10は、ステップS113へ処理を戻し、コメント入力画面の表示を継続する。投稿ボタン124に対する操作がなされた場合(S114:YES)、処理部10の投稿処理部24は、入力されたコメント及びその他の情報を通信部15から投稿サーバ3へ送信する(ステップS115)。処理部10は、ゲームの再現を再開して(ステップS116)、ステップS108へ処理を戻す。なお本フローチャートにおいては、コメント入力画面にてやめるボタン125に対する操作がなされた場合の処理を省略してある。
コメント入力の操作がなされていない場合(S111:NO)、処理部10は、再現されたレーシングゲームにおいて、所定タイミングに達したか否かを判定する(ステップS117)。所定タイミングは、例えば車輌がゴールに達したタイミング又はリプレイデータによるゲームの再現を終えたタイミング等である。所定タイミングに達していない場合(S117:NO)、処理部10は、ステップS108へ処理を戻す。所定タイミングに達した場合(S117:YES)、処理部10のキャラクタ処理部28は、表示しているキャラクタオブジェクト111の両手を挙げるバンザイの動作を行わせる(ステップS118)。その後、処理部10の表示処理部26は、掲示板コメントを投稿したユーザのキャラクタオブジェクト111の近傍に吹き出し112を表示して、掲示板コメントを表示し(ステップS119)、ゲーム再現処理を終了する。
<リプレイ編集&投稿>
本実施の形態において、ゲーム機1のユーザは、投稿サーバ3からダウンロードしたリプレイデータに対して、編集を行うことができる。ユーザによる編集操作の受け付け、及び、受け付けた操作に応じたリプレイデータの編集処理等は、ゲーム機1の処理部10の編集処理部27が行う。編集処理部27は、例えばリプレイデータの視点変更及びハイライトデータの生成等の処理を行うことができる。また例えば、複数のリプレイデータのゴールシーンなどを抽出して1つのリプレイデータにまとめるなどの編集を行うことができる構成としてもよい。また例えば編集処理部27は、1つのリプレイデータから視点がそれぞれ異なる複数のリプレイデータを生成する処理を行ってもよい。またユーザは、編集したリプレイデータを投稿サーバ3へ投稿することができる。なお編集したリプレイデータの投稿は、通常のリプレイデータの投稿と同じ手順で行うことができるため、詳細な説明は省略する。
<まとめ>
以上の構成の実施の形態に係る情報処理システムは、複数のゲーム機1、投稿サーバ3及び動画サーバ5を備える。ゲーム機1は、ゲーム処理部21にて処理されたゲームのプレイを再現するためのリプレイデータをリプレイデータ生成部22が生成する。またゲーム機1は、コメント処理部23にてリプレイデータに関するコメントの入力を受け付け、投稿処理部24にてリプレイデータ及びコメントを投稿サーバ3へ投稿する。投稿サーバ3は、ゲーム機1から投稿されたリプレイデータ及びコメントを投稿受付部41が受け付けて記憶部31に対応付けて記憶する。投稿サーバ3は、記憶部31に記憶したコメントを表示するための掲示板データを掲示板データ生成部42が生成し、生成した掲示板データをデータ送信部44が送信する。
ゲーム機1は、投稿サーバ3が送信した掲示板データに基づいて、表示処理部26が表示部13に掲示板を表示する。ゲーム機1は、掲示板に表示された投稿コメントに対する操作を受け付けた場合に、リプレイデータ要求部25がこの投稿コメントに対応するリプレイデータの取得要求を投稿サーバ3へ送信する。投稿サーバ3は、ゲーム機1からの要求に応じて、データ送信部44がリプレイデータを記憶部31から読み出してゲーム機1へ送信する。
これらにより、ゲーム機1によるリプレイデータの投稿及び取得をユーザは容易に行うことができ、ユーザによる情報処理システム利用の利便性を向上することが期待できる。
またゲーム機1は、リプレイデータ生成部22にて全リプレイデータから再現時間を短縮したハイライトデータを生成する。ゲーム機1は、ゲームのプレイ人数が所定人数を超える場合にハイライトデータを生成して投稿サーバ3へ投稿し、所定人数を超えない場合に全ハイライトデータを投稿サーバ3へ投稿する。これにより、リプレイデータのデータサイズを低減することができる。
またゲーム機1は、リプレイデータ生成部22にてリプレイデータから動画データを生成し、投稿処理部24が動画データを動画サーバ5へ投稿することができる。投稿サーバ3は、動画サーバ5に記憶された動画データを再生するための動画データ記憶場所のアドレスをリプレイデータ管理テーブルに記憶している。投稿サーバ3の掲示板データ生成部42が生成する掲示板データに基づく掲示板の表示には、リプレイデータに対応する動画データが存在する場合、動画アイコン107が表示される。掲示板データには動画データ記憶場所のアドレスなど、この動画データを再生するための情報が含まれており、ゲーム機1は、動画アイコン107に対する操作を受け付けた場合、この情報に基づいて動画サーバ5へ動画データの送信を要求する。動画サーバ5は、ゲーム機1からの要求に応じて動画データを送信する。これにより情報処理システムは、異なる形式のデータを送信することができる。
また投稿サーバ3のリプレイリストデータ生成部43は、投稿されたリプレイデータ又は動画データからいくつかを選択し、選択したデータをリスト表示するためのリプレイリストデータを生成する。生成したリプレイリストデータをデータ送信部44がゲーム機1へ送信する。ゲーム機1は、リプレイリストデータに基づいて、表示処理部26が表示部13にリプレイリストを表示する。リプレイリストには、リプレイデータ及び動画データが混在してリスト表示される。これによりゲーム機1によるリプレイデータ及び動画データの取得をユーザは容易に行うことができ、ユーザによる情報処理システム利用の利便性を向上することが期待できる。
またゲーム機1は、ゲーム処理部21にてリプレイデータに基づいてゲームのプレイを再現し、その再現中にコメント処理部23が閲覧コメントの入力を受け付けて、投稿処理部24が投稿サーバ3へ投稿することができる。投稿サーバ3の投稿受付部41は、閲覧コメントの投稿を受け付け、元のリプレイデータ及び投稿コメントに対応付けて記憶する。これによりユーザは、再現されたゲームのプレイを閲覧しながら容易にコメントを投稿することができる。
またゲーム機1は、コメント処理部23が掲示板に表示された投稿コメントに対する掲示板コメントの入力を受け付けて、投稿処理部24が掲示板コメントを投稿サーバ3へ投稿する。投稿サーバ3の投稿受付部41は、ゲーム機1からの掲示板コメントの投稿を受け付け、元のリプレイデータ及び投稿コメントに対応付けて記憶する。これによりユーザは、リプレイデータを投稿した投稿者のコメントに対して、容易にコメントを投稿することができる。
また、本実施の形態に係る情報処理システムは、投稿サーバ3のデータ送信部44が、ゲーム機1からの要求に応じてリプレイデータ及びこれに対応付けられたコメントを送信する。リプレイデータ及びコメントを受信したゲーム機1は、リプレイデータに基づくゲームのプレイの再現を行うと共に、このゲームの再現中にコメントを表示する。またゲーム機1は、テキスト又は手描画像のいずれのコメントを受け付けることも可能な構成である。これらによりユーザは、再現されたゲームのプレイの観賞をより楽しむことができる。
またゲーム機1の投稿処理部24は、ゲームの再現時間における閲覧コメントの入力時刻を、このコメントの表示タイミングとして投稿サーバ3へ投稿する。投稿サーバ3は、コメント管理テーブルにて、閲覧コメントに対応付けて表示タイミングの情報を記憶し、閲覧コメントをゲーム機1へ送信する際には表示タイミングの情報を共に送信する。ゲーム機1の表示処理部26は、ゲームのプレイの再現を行う際に、投稿サーバ3から受信した表示タイミングにて閲覧コメントを表示する。これにより、再現されたゲームの適した箇所で閲覧コメントを表示することができる。
またゲーム機1は、投稿サーバ3からダウンロードしたリプレイデータの編集操作を受け付けて、編集処理部27がリプレイデータの編集処理を行う。編集済みのリプレイデータは、自らが作成したリプレイデータと同様に、ゲーム機1から投稿サーバ3へ投稿することができる。投稿サーバ3の投稿受付部41は、ゲーム機1から投稿された編集済みのリプレイデータを、他のリプレイデータと同様に記憶部31のリプレイデータ記憶部31aに記憶し、リプレイデータ管理テーブルを更新する。リプレイデータの編集は、例えばゲームのプレイを再現する際の視点位置の変更などを行うことができる。これによりユーザは、他のユーザによるリプレイデータを編集して投稿サーバ3へ投稿することができる。
またゲーム機1のキャラクタ処理部28は、ゲームのプレイを再現した動画を表示する際に、一又は複数のキャラクタオブジェクト111を表示させ、ゲームのプレイの再現に伴ってキャラクタオブジェクト111に所定の動作を行わせる。例えばゲーム機1は、キャラクタオブジェクト111の近傍にコメントが記載された吹き出し112を表示し、キャラクタオブジェクト111がコメントを発する動作を行わせる。これらによりユーザは、再現されたゲームのプレイの観賞をより楽しむことができる。
またゲーム機1は、投稿コメントの入力受付の際に、キャラクタオブジェクト111に行わせる動作設定を受け付ける。またキャラクタオブジェクト111がコメントを発する動作及び設定された動作を行う表示時刻設定を受け付ける。投稿サーバ3は、投稿コメントに関してこれらの設定情報を対応付けて記憶しておき、投稿コメントをゲーム機1へ送信する際にこれらの設定情報を共に送信する。ゲーム機1は、投稿コメントを表示する際、キャラクタオブジェクト111に対して設定された表示時刻に設定された動作を行わせる。またゲーム機1は、投稿コメントの入力受付の際に、コメント表示に用いるキャラクタオブジェクト111の種別又は形状等の設定を受け付けてもよい。これらによりユーザは、投稿コメントの表示の仕方を指定することが可能となる。
またゲーム機1は、表示時刻などの情報を含まない投稿コメント及び掲示板コメントについては、ゲームのプレイの再現時間における所定時点、例えば再現開始時又はゲームの勝敗確定時等にて、キャラクタオブジェクト111に吹き出し112によるコメント表示を行わせる。またゲーム機1は、例えばレーシングゲームにおいてゴールに達した場合などの所定時点にて、キャラクタオブジェクト111に例えばバンザイなどの所定動作を行わせる。これらによりユーザは、再現されたゲームのプレイの観賞をより楽しむことができる。
なお本実施の形態においては、ゲーム機1がリプレイデータと共に動画データを投稿することが可能な構成としたが、これに限るものではなく、ゲーム機1から動画サーバ5への動画データの投稿を行わない構成としてもよい。また投稿サーバ3は、リプレイデータ及びコメントを共に記憶部31に記憶する構成としたが、これに限るものではなく、例えばリプレイデータとコメントとをそれぞれ異なるサーバ装置が記憶してもよい。またゲーム機1が動画サーバ5へ投稿する動画データについて、リプレイデータと同様に、投稿コメント、掲示板コメント又は閲覧コメント等のコメントを付与可能な構成としてもよい。また投稿サーバ3は、掲示板及びリプレイリストを介してゲーム機1からリプレイデータの要求を受け付ける構成としたが、これに限るものではない。投稿サーバ3は、掲示板又はリプレイリストのいずれか一方を利用してリプレイデータの要求を受け付ける構成としてもよく、掲示板及びリプレイリスト以外の方法で要求を受け付ける構成としてもよい。
また本実施の形態において示したゲーム機1、投稿サーバ3及び動画サーバ5の処理の手順などは一例であって、これに限るものではない。また図8に示したリプレイデータ管理テーブル及び図9に示したコメント管理テーブルの構成は、一例であって、これに限るものではない。また図11に示した掲示板、図15に示したリプレイリスト、図18に示したリプレイ画面、及び、図19に示したコメント入力画面の構成は一例であって、これに限るものではない。
また本実施の形態においては、情報処理装置としてゲーム機1を例に説明を行ったが、これに限るものではない。例えば汎用のコンピュータ、タブレット型端末装置又は携帯電話機等の種々の情報処理装置に同様の技術を適用可能である。また情報処理システムの装置構成及び各装置における機能の分担は、本実施の形態にて説明したものに限らない。例えば本実施の形態においてゲーム機1の機能として説明したものの少なくとも一部を、投稿サーバ3又は動画サーバ5が有していてもよい。また逆に、投稿サーバ3又は動画サーバ5の機能として説明したものの少なくとも一部を、ゲーム機1が有していてもよい。また投稿サーバ3又は動画サーバ5の機能は、1つのサーバ装置にて実現されるのではなく、複数のサーバ装置にて実現されるものであってよい。
(実施の形態2)
実施の形態2においては、ゲーム機1から投稿サーバ3へのリプレイデータの投稿及びゲーム機1から動画サーバ5への動画データの投稿に関する処理手順の一例を詳細に説明する。実施の形態2に係る情報処理システムにおいては、ユーザがゲーム機1にてゲームをプレイすることにより、このゲームのプレイと並行してリプレイデータ生成部22がリプレイデータを生成する。その後、ユーザはゲーム機1にてリプレイデータに基づくリプレイの閲覧及びリプレイデータの編集等を行うことができる。ユーザは、ゲームのプレイと並行して作成されたリプレイデータ又はこれを編集したリプレイデータを、投稿サーバ3へ投稿することができる。またユーザは、投稿サーバ3へ投稿したリプレイデータと同内容の動画データを、動画サーバ5へ投稿することができる。
実施の形態2に係るゲーム機1においては、リプレイデータの閲覧又は編集等を行う画面において、このリプレイデータに対して行う処理のメニューを表示することができる。ユーザが表示部13に表示されたメニューからリプレイデータ投稿の項目を選択した場合、ゲーム機1の投稿処理部24による投稿処理が開始される。図22は、実施の形態2に係る情報処理システムの投稿処理の概要を説明するための模式図である。
メニュー画面にてリプレイデータ投稿が選択された場合、ゲーム機1の投稿処理部24は、このリプレイデータによりゲームを再現した動画データを動画サーバ5へ投稿するか否かの確認メッセージを表示部13に表示する。このときの確認メッセージは、例えば「このリプレイを動画サーバへ投稿しますか?」などとすることができる。投稿処理部24は、確認メッセージの表示と共に、動画データを投稿するか否かの選択を受け付ける。
動画データを投稿しない選択を受け付けた場合、投稿処理部24はリプレイデータの投稿サーバ3への送信を開始する。また投稿処理部24によるリプレイデータの送信と並列的に、ゲーム機1のコメント処理部23はリプレイデータに対するコメントの入力を受け付ける。リプレイデータの送信が完了し、且つ、コメントの入力が完了した場合、投稿処理部24は、コメント処理部23が受け付けたコメントを投稿サーバ3へ送信する。なおリプレイデータの送信が完了する前にコメントの入力が完了した場合、投稿処理部24は、入力完了の時点でコメントを送信せず、リプレイデータの送信完了後にコメントを送信する。コメントの送信完了により、投稿処理部24は、投稿処理を終了する。
また動画データを投稿する選択を受け付けた場合、投稿処理部24は、リプレイデータの投稿サーバ3への送信と、リプレイデータの動画データへの変換とを並列的に行う。またこのときにゲーム機1の表示部13には、動画データへの変換処理と同期して(必ずしも同期していなくてよい)、リプレイデータによるゲームのリプレイが表示される。
リプレイデータからの変換による動画データの生成が完了した後、投稿処理部24は、生成した動画データを動画サーバ5へ送信する旨の確認メッセージを表示部13に表示する。このときの確認メッセージは、例えば「動画像データを動画サーバへ投稿してよろしいですか?」などとすることができる。投稿処理部24は、確認メッセージの表示と共に、動画データを投稿するか否かの最終的な選択を受け付ける。ここで動画データの投稿が中止された場合、投稿処理部24は、作成した動画データを破棄し、動画データの動画サーバ5への投稿及びリプレイデータの投稿サーバ3への投稿を行うことなく、投稿処理を終了する。ただし投稿処理部24は、動画データの投稿が中止された場合であっても、リプレイデータの投稿サーバ3への投稿に関する処理を継続して行ってもよい。
動画データの投稿が了承された場合、投稿処理部24は、動画サーバ5への動画データの送信を開始する。また投稿処理部24による動画データの送信と並列的に、ゲーム機1のコメント処理部23は、リプレイデータに対するコメントの入力を受け付ける。またこのときにゲーム機1は、動画サーバ5へ送信する動画データを再生して、ゲームのリプレイを表示部13に表示する。動画データの送信が完了し、且つ、コメントの入力が完了した場合、投稿処理部24は、コメント処理部23が受け付けたコメントを投稿サーバ3へ送信する。なお動画データの送信が完了する前にコメントの入力が完了した場合、投稿処理部24は、入力完了の時点でコメントを送信せず、動画データの送信完了後にコメントを送信する。
コメント送信の完了後、ユーザはゲーム機1にて、動画サーバ5へ投稿した動画データが配信されているか否かの確認を行うことができる。このため投稿処理部24は、コメント送信の完了後、動画サーバ5へアクセスするか否かを問い合わせる。このときに投稿処理部24は、例えば「動画サーバへアクセスしますか?」などのメッセージを表示部13に表示し、動画サーバ5へアクセスするか否かの選択を受け付ける。動画サーバ5へアクセスする選択を受け付けた場合、投稿処理部24は、ブラウザなどの機能により動画サーバ5へのアクセスを行い、投稿した動画データが配信されているページなどを表示する。
動画サーバ5へのアクセスを行わない選択を受け付けた場合、投稿処理部24は、投稿処理を終了する。投稿処理の終了によりゲーム機1の表示部13には、例えばメニュー画面などが表示される。又は、投稿処理後にゲーム機1は、投稿サーバ3にアクセスし、投稿したリプレイデータに関する掲示板の表示などを行ってもよい。
図23及び図24は、実施の形態2に係るゲーム機1が行う投稿処理の手順を示すフローチャートである。実施の形態2に係るゲーム機1の投稿処理部24は、リプレイデータの閲覧又は編集等の画面において、リプレイデータを投稿する選択がなされたか否かを判定する(ステップS121)。リプレイデータを投稿する選択がなされていない場合(S121:NO)、投稿処理部24は、リプレイデータを投稿する選択がなされるまで待機する。
リプレイデータを投稿する選択がなされた場合(S121:YES)、投稿処理部24は、このリプレイデータと同内容の動画データの投稿を行うか否かの確認メッセージを表示部13に表示し(ステップS122)、動画データの投稿を行うか否かの選択を受け付ける(ステップS123)。動画データを投稿しない選択がなされた場合(S123:NO)、投稿処理部24は、投稿サーバ3へのリプレイデータの送信と、このリプレイデータに関するコメント入力の受付と、投稿するリプレイデータによるゲームのリプレイを表示部13に表示する処理とを並列的に行う(ステップS124)。
その後、投稿処理部24は、コメントの入力が完了したか否かを判定する(ステップS125)。コメントの入力が完了していない場合(S125:NO)、投稿処理部24は、ステップS124へ処理を戻す。コメントの入力が完了した場合(S125:YES)、投稿処理部24は、リプレイデータの送信が完了したか否かを判定する(ステップS126)。リプレイデータの送信が完了していない場合(S126:NO)、投稿処理部24は、ステップS124へ処理を戻す。リプレイデータの送信が完了した場合(S126:YES)、投稿処理部24は、入力を受け付けたコメントを投稿サーバ3へ送信し(ステップS127)、投稿処理を終了する。
またステップS123にて動画データを投稿する選択がなされた場合(S123:YES)、投稿処理部24は、投稿サーバ3へのリプレイデータの送信と、このリプレイデータに基づく動画データの生成と、動画データの生成と同期したリプレイの表示とを並列的に行う(ステップS128)。その後、投稿処理部24は、動画データの生成が完了したか否かを判定する(ステップS129)。動画データの生成が完了していない場合(S129:NO)、投稿処理部24は、ステップS128へ処理を戻す。
動画データの生成が完了した場合(S129:YES)、投稿処理部24は、動画サーバ5への動画データの送信と、投稿サーバ3へ投稿したリプレイデータに関するコメントの入力受付と、投稿する動画データによるゲームのリプレイの表示とを並列的に行う(ステップS130)。
その後、投稿処理部24は、コメントの入力が完了したか否かを判定する(ステップS131)。コメントの入力が完了していない場合(S131:NO)、投稿処理部24は、ステップS130へ処理を戻す。コメントの入力が完了した場合(S131:YES)、投稿処理部24は、動画データの送信が完了したか否かを判定する(ステップS132)。動画データの送信が完了していない場合(S132:NO)、投稿処理部24は、ステップS130へ処理を戻す。
動画データの送信が完了した場合(S132:YES)、投稿処理部24は、入力を受け付けたコメントを投稿サーバ3へ送信する(ステップS133)。次いで投稿処理部24は、動画データを送信した動画サーバ5へのアクセスを行うか否かを問い合わせる確認メッセージを表示部13に表示し(ステップS134)、動画サーバ5へのアクセスを行うか否かの選択を受け付ける(ステップS135)。動画サーバ5へアクセスする選択を受け付けた場合(S135:YES)、投稿処理部24は、ブラウザ機能などにより動画サーバ5へのアクセスを行い(ステップS136)、投稿処理を終了する。動画サーバ5へのアクセスを行わない選択を受け付けた場合(S135:NO)、投稿処理部24は、投稿処理を終了する。
以上の構成の実施の形態2に係るゲーム機1は、ゲームのプレイを再現するためのリプレイデータを生成して投稿サーバ3へ投稿すると共に、リプレイデータを動画データに変換して動画サーバ5へ投稿することができる。これにより情報処理システムでは、同じ内容のゲームのリプレイを、異なるファイル形式のデータにて配信又は公開等することができる。これによりゲーム機1以外の種々の情報処理装置にてゲームのリプレイを閲覧することができる。
また、実施の形態2に係るゲーム機1が投稿するリプレイデータは、ゲームの全プレイを含む全リプレイデータであってもよく、再現時間を短縮したハイライトデータであってもよい。ハイライトデータの生成方法は、前述の実施の形態1に示した方法を採用してもよく、後述の実施の形態3に示す方法を採用してもよい。実施の形態2に係る情報処理システムでは、全リプレイデータ又はハイライトデータのいずれを投稿する場合であっても、ゲーム機1が動画サーバ5へ投稿する動画データは、投稿サーバ3へ投稿するリプレイデータと同内容のものとする。ただしゲーム機1は、投稿サーバ3へ全リプレイデータを投稿し、動画サーバ5へハイライトデータを動画データに変換したものを投稿する構成としてもよい。
またゲーム機1は、動画サーバ5へ動画データを投稿する選択を受け付けた場合にのみ、リプレイデータから動画データへの変換を行う。これにより処理に時間を要する動画データへの変換処理を必要な場合にのみ行い、ゲーム機1の投稿処理の処理時間を短縮することができると共に、ゲーム機1のメモリ容量などハードウェア資源を有効利用することができる。
またゲーム機1は、動画サーバ5への動画データの送信と並列してリプレイデータに関する関連情報の入力を受け付ける。更にゲーム機1は、動画データの送信と並列して、動画データを再生してリプレイを表示部13に表示する。これらにより、比較的に処理時間を要する動画データの送信の待ち時間をユーザに有効活用させることができる。
なおゲームのリプレイ表示とコメントの入力受付とを並列的に行う場合、ゲーム機1は、例えば表示部13の表示領域を上下に2分割し、上側領域にゲームのリプレイを表示すると共に、下側領域にコメント入力画面を表示する。
またゲーム機1は、動画データの送信完了後に、受け付けたコメントを投稿サーバ3へ送信する。これにより、動画データの送信完了前にコメントが投稿されて投稿サーバ3により公開されることを防止できる。またゲーム機1は、動画データの送信完了後に、動画サーバ5へのアクセスを行う選択を受け付けた場合、ブラウザ機能などにより動画サーバ5にアクセスして投稿した動画データの配信ページを表示する。これによりユーザは、投稿した動画データの配信状況を確認することができる。
またゲーム機1は、動画像データの生成と並列的に、リプレイデータの投稿サーバ3への送信を行う。動画データを生成しない場合、ゲーム機1は、コメントの入力受付と並列的に、リプレイデータの投稿サーバ3への送信を行う。これにより、処理時間を要するリプレイデータの送信の待ち時間をユーザに有効活用させることができる。なおゲーム機1は、動画像データの送信と並列的に、リプレイデータの投稿サーバ3への送信を行う構成としてよい。
なお実施の形態2に係る情報処理システムにおいては、リプレイデータのみを投稿するか、又は、リプレイデータ及び動画データの両方を投稿するかのいずれかをユーザが選択可能な構成とした。しかしながら情報処理システムは、動画データのみを投稿することが可能な構成であってもよい。
また実施の形態2に係る情報処理システムのその他の構成は、実施の形態1に係る情報処理システムの構成と同様であるため、同様の箇所には同じ符号を付して詳細な説明を省略する。
(実施の形態3)
実施の形態3においては、ゲームのプレイにより生成される全リプレイデータからハイライトデータを生成する別の方法について説明する。なお実施の形態3においては、実施の形態1と同様に、3次元仮想空間として表現されたコースを複数の車輌が走行し、その順位又は走行時間等を競うレーシングゲームを例に説明を行う。ただし本技術はレーシングゲームに限らず、アクションゲーム、シューティングゲーム、ロールプレイングゲーム又はパズルゲーム等の種々のゲームに適用可能である。
ゲーム機1のリプレイデータ生成部22は、ゲーム処理部21のゲーム処理の過程にて生成される車輌の位置、向き及び速度等の情報、又は、ユーザによる操作内容などの情報等を、1回のゲームにおいて全車輌について収集したものを全リプレイデータとして生成する。実施の形態3に係るリプレイデータ生成部22は、ゲーム中に所定のイベントが発生した場合、このイベントに関する情報をイベントデータとしてリプレイデータに付加する。
実施の形態3においては、ゲームの再現に必要な車輌の位置などの情報に加えて、上記のイベントデータを含むものをリプレイデータ(全リプレイデータ、ハイライトデータ)という。このため実施の形態3に係る情報処理システムにてゲーム機1から投稿サーバ3へ投稿されるリプレイデータ、及び、投稿サーバ3からゲーム機1へ配信されるリプレイデータには、イベントデータが含まれている。
イベントデータとして情報が付加されるイベントは、例えばレーシングゲームにおいてある車輌が他の車輌を追い抜いたイベント、複数台の車輌が衝突したイベント、車輌がドリフト走行したイベント、車輌がコースアウトしたイベント、車輌がジャンプしたイベント、レースのスタート又はゴール等のイベントなどを採用し得る。また例えばアクションゲームにおいて、キャラクタがジャンプなどの特定の動作を行ったイベント、あるキャラクタが別のキャラクタを攻撃したイベント、キャラクタが特定のアイテムを使用したイベントなどを採用し得る。イベントデータとして情報を付加するイベントは、上記のものに限らず、ゲームの種別及び内容等に適したものを採用することができる。
1つのイベントにつきイベントデータとして記録される情報には、イベント番号、車輌番号、発生タイミング、イベント種別番号、イベント詳細情報、イベント間情報等が含まれる。イベントデータのイベント番号は、各イベントに対して一意に付される番号であり、例えばイベントの発生順に付される通し番号とすることができる。
イベントデータに含まれる車輌番号は、このイベントに関わった車輌を特定するための番号である。例えば10台の車輌がレースに参加している場合、各車輌に1〜10の番号を付し、イベントデータにはイベントにかかわった車輌の番号を記録しておく。なお1つのイベントに複数の車輌が関わっている場合、車輌番号として複数の番号が記録される。
イベントデータに含まれる発生タイミングは、レースにおいてイベントが発生したタイミングを特定するための情報である。発生タイミングは、例えばレース開始からの経過時間としてもよく、また例えばゲーム画面の更新数(いわゆるフレーム数)としてもよく、これら以外のものとしてもよい。また発生タイミングは、例えばレース開始から30.25秒のように1時点を記録してもよく、また例えばレース開始から10.10秒〜14.75秒のようにイベントの開始から終了までの区間として記録してもよい。
イベントデータに含まれるイベント種別番号は、例えば追い抜きは1番、衝突は2番、…、などのようにイベント毎に定められた番号を記録する。
イベントデータに含まれるイベント詳細情報は、イベント毎に定められた情報が記録される。例えば車輌の追い抜きのイベントでは、追い抜いた車輌の番号、追い抜かれた車両の番号、追い抜きが発生した際の2つの車輌間の距離等の情報をイベント詳細情報として記録しておくことができる。また例えば車輌のドリフトのイベントでは、ドリフトしている際の車輌の速度、ドリフトによる車輌の走行距離等の情報を記録しておくことができる。
イベントデータに含まれるイベント間情報は、複数のイベントが関連している場合に、関連する他のイベントのイベント番号が記録される。例えば車輌1及び車輌3が衝突し、これにより車両1が車輌3を追い抜いた場合、衝突のイベントと追い抜きのイベントとについてイベントデータが生成される。この場合、衝突のイベントデータにはイベント間情報として追い抜きのイベントの番号が記録され、追い抜きのイベントデータにはイベント間情報として衝突のイベントの番号が記録される。
ゲーム機1のリプレイデータ生成部22は、ゲームのプレイに伴ってリプレイデータを生成する際、ゲーム中にイベントが発生したか否かを判定する。リプレイデータ生成部22は、イベントが発生したと判定した場合、上記のようなイベントデータを生成してリプレイデータに付加する。実施の形態3に係るゲーム機1では、ユーザが好みの条件を設定し、リプレイデータ生成部22が生成した全リプレイデータを編集してハイライトデータを生成することができる。ゲーム機1の編集処理部27は設定された編集条件に従って全リプレイデータからイベント箇所を抽出し、抽出した複数のイベントを時系列的に再現するハイライトデータを生成する。
図25は、実施の形態3に係るゲーム機1が表示する編集条件設定画面の一例を示す模式図である。図示の編集条件設定画面では、注目車輌、優先イベント、再現時間及びサウンドの4つの条件を設定することができる。編集条件設定画面には、設定可能な複数の条件が上下に並べて表示されている。各条件は、左側に条件名が表示され、右側に現時点で設定されている条件が表示されている。現時点の設定は、その左右に付された矢印アイコンに対する操作を行うことで変更することができる。
編集条件の注目車輌は、ハイライトデータをいずれの車輌に注目して生成するかを設定するための条件である。ゲーム機1は、全リプレイデータから注目車輌として設定された車輌のプレイを優先して抽出してハイライトデータを生成する。本例において編集条件設定画面には4つの注目車輌の設定箇所が設けられており、ユーザは注目車輌として1〜4台の車輌を設定することができる。ただし必ず1台の車輌を設定する必要がある。
編集条件の優先イベントは、全リプレイデータから優先して抽出されるイベントに関する条件であり、例えば追い抜き優先、ドリフト優先、アクシデント優先及び優先なし等の定められた項目から1つを選択することができる。ゲーム機1は、編集条件の優先イベントとして設定される項目毎に、いずれのイベントをどの程度の割合で抽出するかを定めたテーブルを記憶している。
例えばイベント種別が追い抜き、衝突、ドリフト、コースアウト及びジャンプの5種が存在しているものとする。この場合、優先なしの項目に対してイベント抽出の割合を以下のように設定し得る。
追い抜き:20%
衝突:20%
ドリフト:20%
コースアウト:20%
ジャンプ:20%
また例えば追い抜き優先の項目に対してイベント抽出の割合を以下のように設定し得る。
追い抜き:60%
衝突:10%
ドリフト:10%
コースアウト:10%
ジャンプ:10%
また例えばアクシデント優先の項目に対してイベント抽出の割合を以下のように設定し得る。
追い抜き:20%
衝突:30%
ドリフト:10%
コースアウト:30%
ジャンプ:10%
ゲーム機1は優先イベントの設定項目に対するイベント抽出の割合を定めたテーブルを記憶しており、編集処理部27は、設定された項目に対するテーブルを読み出して、ハイライトデータにおけるイベント種別の含有率がテーブルの割合となるように、全リプレイデータからイベントを抽出する。なお本実施の形態においては、レースのスタート及びゴールのイベントは必ず抽出されるものとする。
編集条件設定画面にて設定される編集条件の再現時間は、ハイライトデータにより再現されるゲームの時間(再生時間)である。再現時間は、例えば30秒、45秒、60秒又は全てのいずれかが選択可能である。編集処理部27は、ハイライトデータの再現時間が設定された時間となるように、イベントの抽出を行う。なお再現時間として“全て“が設定された場合、レースの全時間について、注目車輌の1台目に設定された車輌にのみ注目したリプレイデータが生成される。
編集条件のサウンドは、ハイライトデータに効果音及びBGMを付すか否かを設定するものである。本実施の形態においてサウンドの設定は、サウンドなし、効果音のみ、BGMのみ、両方のいずれか1つが設定される。
ゲーム機1は、ゲーム処理部21によるゲーム処理により1つのレースが終了した後、リプレイデータ生成部22が生成したリプレイデータに基づくリプレイの表示を行う。このときにゲーム機1は、リプレイデータの編集を行うか否かの選択を受け付ける。リプレイデータの編集を行う選択がなされた場合、実施の形態3に係るゲーム機1は、図25に示した編集条件設定画面を表示し、編集条件の入力を受け付ける。編集条件が確定した場合、ゲーム機1の編集処理部27は、全リプレイデータから設定された条件に適したイベントを抽出してハイライトデータを生成する。
まず編集処理部27は、注目車輌として設定された車輌からいずれか1つを選択する。編集処理部27は、全リプレイデータに含まれるイベントデータから、選択した車輌が関わるイベントを1つ抽出する。なおこのときに編集処理部27は、優先イベントとして設定された条件に対応するテーブルを読み出し、このテーブルに設定された割合に応じてイベントの抽出を行う。
次いで編集処理部27は、抽出したイベントについてイベントデータのイベント間情報を参照し、関連する他のイベントが存在する場合には、これら他のイベントを抽出して結合し、1つのイベントとする。
次いで編集処理部27は、この時点で抽出している全てのイベントの合計再現時間が、設定された再現時間に達しているか否かを判定する。合計再現時間が設定された再現時間に達していない場合、編集処理部27は、別の車輌を選択してイベントの抽出を継続する。このときに編集処理部27は、この時点で抽出されているイベントの数が最も少ない車輌を、次のイベント抽出の対象として選択する。又は、編集処理部27は、この時点で抽出されているイベントの再現時間が最も短い車輌を、次のイベント抽出の対象として選択してもよい。編集処理部27は、注目車輌として複数の車輌が設定されている場合、各車輌についてイベントの抽出量が同程度となるように、イベントの抽出を繰り返し行う。
抽出した全イベントの合計再現時間が設定された再現時間に達した場合、編集処理部27は、イベントの抽出を終了する。なお合計再現時間が設定された再現時間を超えた場合、編集処理部27は、抽出した各イベントの冒頭部分及び/又は末尾部分を所定時間分削除することによって再現時間を短縮し、合計再現時間が設定された再現時間となるように調整する。
次いで編集処理部27は、抽出した各イベントについてリプレイを表示する際の仮想カメラの挙動を決定する処理を行う。ゲーム機1は、イベントの種別毎に、仮想カメラの挙動を決定するためのテーブルを記憶している。例えばゲーム機1は、追い抜きのイベントについて、以下のような仮想カメラの挙動決定テーブルを記憶することができる。
前方の仮想カメラで固定視点撮影:10%
前方から側方へ移動して撮影:20%
遠方から車輌前部へ接近して撮影:15%
後方の仮想カメラで固定視点撮影:5%

編集処理部27は、抽出したイベント毎に対応するテーブルを読み出し、所定のアルゴリズムに基づいて乱数を発生させて仮想カメラの挙動を決定する。なお本実施の形態においては、図25の編集条件設定画面に示した7つの設定項目の設定内容が同一であれば、生成されるハイライトデータの内容が同一となるよう、イベントの抽出及び仮想カメラの挙動の決定等が行われる。このためイベントの抽出及び仮想カメラの挙動決定等に乱数を用いる場合には、設定内容が同一であれば発生する乱数が同一となるよう、例えば乱数発生の種データを編集条件の設定内容に応じて決定するなどの方法が用いられる。
編集処理部27は、抽出したイベント及び決定した仮想カメラの挙動等に基づいて、全リプレイデータからハイライトを表示するためのハイライト表示用情報を生成する。例えばハイライト表示用情報は、全リプレイデータのうちリプレイを表示すべき部分を時間又はフレーム等で指定する情報と、各部分の仮想カメラの挙動を指定する情報とを含む構成とすることができる。編集処理部27は、全リプレイデータに対してハイライト表示用情報を付加したものをハイライトデータとする。
即ち、実施の形態3においてハイライトデータは、全リプレイデータに対して更に情報を付加したものである。ゲーム機1から投稿サーバ3へハイライトデータを投稿する場合、全リプレイデータにハイライト表示用情報を付加したハイライトデータが送信される。投稿サーバ3からゲーム機1へ配信されるハイライトデータも同様に、全リプレイデータにハイライト表示用情報を付加したものとなる。これにより投稿サーバ3からハイライトデータをゲーム機1にて受信したユーザは、自らが生成したリプレイデータと同様の方法で、他のユーザが生成したリプレイデータを編集することができる。
図26及び図27は、実施の形態3に係るゲーム機1が行うハイライトデータ生成処理の手順を示すフローチャートである。実施の形態3に係るゲーム機1は、例えばゲームのリプレイ表示画面などにおいてリプレイの編集のメニュー項目が選択された場合などに、編集処理部27が図25に示した編集条件設定画面を表示部13に表示して(ステップS141)、編集条件の入力を受け付ける。
編集処理部27は、編集条件設定画面における編集条件の設定が確定したか否かを判定する(ステップS142)。編集条件が確定していない場合(S142:NO)、編集処理部27は、ステップS141へ処理を戻し、編集条件設定画面の表示を継続する。編集条件が確定した場合(S142:YES)、編集処理部27は、ステップS143へ処理を進める。
編集処理部27は、編集条件の注目車輌として設定された一又は複数の車輌の中から、一つの車輌をイベント抽出対象として選択する(ステップS143)。なおこのときに編集処理部27は、各車輌について抽出したイベントの数を調べ、その数が最も少ない車輌を選択する。
また編集処理部27は、編集条件の優先イベントとして設定された条件に対応するイベント抽出用テーブルを読み出す(ステップS144)。編集処理部27は、全リプレイデータに含まれるイベントデータを調べ、ステップS144にて読み出したテーブルの割合に応じて、ステップS143にて選択した車輌が関わるイベントを1つ抽出する(ステップS145)。
編集処理部27は、抽出したイベントのイベントデータに含まれるイベント間情報を調べ、このイベントに関連する他のイベントが存在するか否かを判定する(ステップS146)。関連するイベントが存在する場合(S146:YES)、編集処理部27は、関連する複数のイベントを結合して1つのイベントとし(ステップS147)、ステップS148へ処理を進める。関連するイベントが存在しない場合(S146:NO)、編集処理部27は、ステップS148へ処理を進める。
編集処理部27は、これまでに抽出したイベントと、レースのスタート及びゴールのイベントとの合計時間を算出し、この合計時間が編集条件として設定された再現時間に達したか否かを判定する(ステップS148)。合計時間が設定時間に達していない場合(S148:NO)、編集処理部27は、ステップS143へ処理を戻し、イベントの抽出を繰り返し行う。
合計時間が設定時間に達した場合(S148:YES)、編集処理部27は、合計時間が設定時間を超えたか否かをさらに判定する(ステップS149)。合計時間が設定時間を超えた場合(S149:YES)、編集処理部27は、抽出した各イベントの冒頭部分及び/又は末尾部分を所定時間分削除して、再現時間が設定時間となるよう調整し(ステップS150)、ステップS151へ処理を進める。合計時間が設定時間を超えていない場合(S149:NO)、編集処理部27は、ステップS151へ処理を進める。
編集処理部27は、抽出した各イベントについて、イベント種別に応じたテーブルを参照することによって、仮想カメラの挙動を決定する(ステップS151)。編集処理部27は、抽出したイベント及び決定した仮想カメラの挙動等の情報を含むハイライト表示用情報を生成する(ステップS152)。編集処理部27は、生成したハイライト表示用情報を全リプレイデータに付してハイライトデータを生成し(ステップS153)、処理を終了する。
以上の構成の実施の形態3に係るゲーム機1は、リプレイデータの編集条件の入力を受け付け、受け付けた編集条件に応じて全リプレイデータを編集してハイライトデータを生成する。これによりユーザは、自らの好みを反映したハイライトデータを生成することができる。
またゲーム機1は、ゲームのプレイに伴って全リプレイデータを生成する際に、ゲーム内にて発生したイベントに関する情報をイベントデータとして生成して全リプレイデータに付す。ゲーム機1は、全リプレイデータから編集条件に応じたイベントを抽出してハイライトデータを生成する。このようなイベント単位での編集を行う構成とすることにより、編集条件の入力を容易化することができ、編集条件に応じた編集処理を容易化することができる。
また複数の車輌のキャラクタが動作するゲームである場合、ゲーム機1は、編集条件として再現対象のキャラクタの条件、注目車輌の条件を受け付ける。ゲーム機1は、注目車輌として設定された車輌が関わったイベントを抽出してハイライトデータを生成する。また注目車輌が複数設定された場合、各車輌に関して抽出量が同程度となるように、イベントの抽出を行う。
またゲーム機1は、編集条件として優先イベントの条件を受け付け、受け付けた条件に応じてハイライトデータ全体に対して抽出するイベントの含有率を変化させる。ゲーム機1は、優先イベントの条件に対して抽出すべき各イベントの割合をテーブルとしてゲームプログラム92と共に記憶部11又は記録媒体91等に記憶している。ゲーム機1は、設定された優先イベントの条件に対応するテーブルを読み出して、テーブルに設定された含有率となるようにイベントの抽出を行う。
またゲーム機1は、編集条件としてハイライトデータの再現時間の条件を受け付ける。ゲーム機1は、抽出したイベントの合計再現時間が設定された再現時間となるようにイベントを抽出する。合計再現時間が設定された再現時間を超えた場合、ゲーム機1は、抽出した各イベントの冒頭部分及び/又は末尾部分を適宜に削除して、再現時間を調整する。
またゲーム機1は、抽出した各イベントについて、イベントの種別に応じて仮想カメラの挙動を決定する。ゲーム機1は、イベントの種別毎に仮想カメラの挙動を決定するためのテーブルを、ゲームプログラム92と共に記憶部11又は記録媒体91等に記憶している。ゲーム機1は、イベントの種別に応じてテーブルを読み出して、テーブルに設定された割合及び乱数等に基づいて仮想カメラの挙動を決定する。
ゲーム機1は、抽出した複数のイベントが時系列的に再現されるよう、ハイライト再現用情報を作成する。ゲーム機1は、全リプレイデータにハイライト再現用情報を付したものをハイライトデータとする。これらによりゲーム機1は、ユーザが設定した編集条件に適したハイライトデータを作成することができる。
なお実施の形態3においては、ゲーム機1はゲーム処理に伴って全リプレイデータを作成する際に、イベントデータの作成を行う構成としたが、これに限るものではない。ゲーム機1は、例えばハイライトデータを作成する際に、必要に応じてイベントデータを作成する構成としてもよい。
またゲーム機1から投稿サーバ3へ送信するリプレイデータにはイベントデータが含まれるものとしたが、これに限るものではなく、イベントデータを削除したリプレイデータを送信してもよい。また全リプレイデータにハイライト表示用情報を付したものをハイライトデータとしたが、これに限るものではない。全リプレイデータから必要なイベントに関するデータのみを抽出して結合したものをハイライトデータとしてもよい。
またゲーム機1は、編集条件の注目車輌を少なくとも1台設定する必要がある構成としたが、これに限るものではない。注目車輌を1台も設定しないことが可能な構成としてもよく、この場合には例えば注目車輌を全車輌として各車輌のイベントを均等に抽出する構成とすることができる。また例えば注目車輌を乱数などに基づいて決定してもよい。
またゲーム機1は、設定された編集条件が同じであれば生成されるハイライトデータの内容が同じとなるよう乱数を発生させる構成としたが、これに限るものではない。編集条件が同じであっても、ハイライトデータを生成する都度、その内容が変化する構成であってもよい。
(変形例)
実施の形態3の変形例に係るゲーム機1は、ハイライトデータを作成するために全リプレイデータからイベントを抽出する際、ゲームの結果を考慮してイベントを抽出する。上述のように実施の形態3に係るゲーム機1は、編集条件の優先イベントに対して、抽出するイベントの割合を定めたテーブルを記憶している。変形例に係るゲーム機1は、優先イベントとして優先なしが設定された場合に使用するテーブルを複数記憶しており、ゲームの結果に応じていずれか1つのテーブルを選択する。
例えばレースゲームにおいて、ゲームの結果には車輌の順位を採用することができる。本例では車輌がゴールした順位が1位〜3位の場合を良い結果とし、順位が7位以下の場合を悪い結果とする。
変形例に係るゲーム機1は、ゲームが良い結果である場合に使用するテーブルとして、以下のものを採用し得る。
追い抜き:35%
衝突:5%
ドリフト:35%
コースアウト:5%
ジャンプ:20%
またゲーム機1は、ゲーム結果が悪い結果である場合に使用するテーブルとして、以下のものを採用し得る。
追い抜き:10%
衝突:35%
ドリフト:10%
コースアウト:35%
ジャンプ:10%
変形例に係るゲーム機1の編集処理部27は、編集条件の注目車輌に設定された車輌について、その順位を調べる。編集条件の優先イベントとして優先なしが設定されている場合、編集処理部27は、全リプレイデータからイベントを抽出する際に、各車輌の順位に応じたテーブルを用いる。ゲーム結果が良い結果である場合、良い(成功した又は格好良い)プレイが行われたイベントが優先して抽出される。ゲーム結果が悪い結果である場合、悪い(失敗した又は格好悪い)プレイが行われたイベントが優先して抽出される。
また編集処理部27により生成されたハイライトデータによるリプレイは、レースのスタートイベント、抽出された複数のイベント、ゴールイベントの順でゲームの再現が行われる。変形例に係るゲーム機1の編集処理部27は、ゴールイベントの1つ前に配置するイベントをいずれにするかを、ゲームの結果に応じて判断する。即ち変形例のハイライトデータにおいてゴールイベントの1つ前に配置されるイベントは、ゲームの結果に応じて定められている。
ゲームが良い結果である場合、編集処理部27は、例えば追い抜きのイベントをゴールイベントの1つ前に配置する。ゲームが悪い結果である場合、編集処理部27は、衝突又はコースアウトのイベントをゴールイベントの1つ前に配置する。なお注目車輌が複数設定されている場合には、もっとも順位が高い車輌のものを採用すればよい。また車輌の順位が4位〜6位である場合には、ゴールイベントの1つ前のイベントは定められていない。
このように、実施の形態3の変形例に係るゲーム機1は、全リプレイデータからハイライトデータを作成するために抽出するイベントを、ゲームの結果に応じたものとする。これにより、例えばレースの結果が1位であるにもかかわらずハイライトデータとして衝突又はコースアウト等のイベントばかりが抽出されるなどレース結果に不適なハイライトデータが作成されることを防止できる。
なお本例では、編集条件の優先イベントとして優先なしが設定されている場合にゲームの結果に応じたイベント抽出を行う構成としたが、優先イベントとして他の条件が設定されている場合にもゲームの結果に応じたイベント抽出を行う構成としてよい。
また実施の形態3に係る情報処理システムのその他の構成は、実施の形態1に係る情報処理システムの構成と同様であるため、同様の箇所には同じ符号を付して詳細な説明を省略する。
(実施の形態4)
実施の形態4においては、ゲーム機1にてゲームのリプレイを表示する際の表示方法の別の例を説明する。実施の形態1においては、図18に示したように、3次元の仮想空間内に仮想テレビジョン装置110を配置してゲームのリプレイを表示し、仮想テレビジョン110の手前側にキャラクタオブジェクト111を配置した。この構成は、実施の形態4に係るゲーム機1の場合も同様である。ただし実施の形態4に係るゲーム機1では、リプレイ表示に伴って行うキャラクタオブジェクト111の動作が、実施の形態1のものとは異なる。
上述の実施の形態1に係るゲーム機1は、吹き出し112によりキャラクタオブジェクト111にコメントを発する動作を行わせた。またコメントを投稿したユーザの設定に基づいて、キャラクタオブジェクト111に手を挙げる又はジャンプする等の動作を行わせた。各キャラクタオブジェクト111は、コメントを投稿したユーザの分身として表示されるものであり、その形状及び色等はコメントを投稿したユーザにより選択される。このため実施の形態1のリプレイ表示は、投稿サーバ3との通信によりゲーム機1がリプレイデータを取得してゲームを再現する場合に適したものである。
これに対して実施の形態4に係るゲーム機1によるリプレイ表示は、投稿サーバ3から取得したリプレイデータによるリプレイ表示を行う場合のみではなく、自らが作成したリプレイデータによるリプレイ表示を行う場合にも適用できる方法で行われる。即ち実施の形態4に係るゲーム機1によるリプレイ表示は、通信環境の有無に影響されない方法で行われる。
実施の形態4に係るゲーム機1の表示処理部26は、3次元の仮想空間内に仮想テレビジョン装置110を配置し、その手前側に一又は複数のキャラクタオブジェクト111を配置したゲーム再現画面を生成し、表示部13に表示する。表示処理部26は、リプレイデータ生成部22が生成した全リプレイデータ、編集処理部27が生成したハイライトデータ、又は、投稿サーバ3から取得したリプレイデータに基づくゲームの再現を仮想テレビジョン装置110に表示する。
実施の形態4に係るゲーム機1が表示するキャラクタオブジェクト111は、特定のユーザに関連付けられたものでなくてよい。ゲーム機1は、例えば予め用意されたキャラクタオブジェクト111を表示してもよく、また例えばキャラクタオブジェクト111の形状及び色等をその都度決定してもよい。ゲーム機1のキャラクタ処理部28は、ゲームのプレイの再現中に、キャラクタオブジェクト111に所定の動作を行わせる。
実施の形態4に係るゲーム機1のキャラクタ処理部28は、リプレイデータ(全リプレイデータ又はハイライトデータ)に付されたイベントデータに基づいて、表示中のリプレイのイベントに応じた動作をキャラクタオブジェクト111に行わせる。このため実施の形態4に係るゲーム機1によるリプレイ表示は、イベントデータが付与される実施の形態3のリプレイデータを用いる必要がある。又は、ゲーム機1がリプレイデータからイベントの判定を行ってイベントデータを生成する構成とする必要がある。
実施の形態4に係るゲーム機1は、イベント種別とキャラクタオブジェクト111の動作とを対応付けたテーブルを、ゲームプログラム92と共に記憶部11又は記録媒体91等に記憶している。実施の形態4に係るゲーム機1が記憶するテーブルは、例えば以下のようなものを採用し得る。
イベント種別: キャラクタ動作
追い抜き: バンザイ
衝突: 頭を抱える
ドリフト: 手を振る
コースアウト: 座り込む
ジャンプ: ジャンプ
キャラクタ処理部28は、リプレイデータに基づくリプレイの表示が所定のイベントに至った場合、このイベントの種別に応じた動作を上記のテーブルに基づいて決定する。キャラクタ処理部28は、仮想テレビジョン装置110の手前に表示した各キャラクタオブジェクト111に、テーブルに基づいて決定した動作を行わせる。
以上の構成の実施の形態4に係るゲーム機1は、リプレイデータに基づくゲームのリプレイ表示を行う際に、ゲーム中にて発生したイベントに応じた演出表示を行う。即ちゲーム機1は、リプレイデータに付されたイベントデータに基づいてイベントの種別を調べ、イベントの種別に応じた動作をキャラクタオブジェクト111に行わせる。これにより、ユーザは、ゲームのリプレイの鑑賞をより楽しむことができる。
なお実施の形態4においては、ゲーム機1はイベントの種別に応じてキャラクタオブジェクト111に所定の動作を行わせる構成としたが、これに限るものではない。例えばゲーム機1は、イベントの種別に応じてスピーカなどから所定音声(歓声、効果音又はBGM等)を出力する構成としてもよい。また例えばゲーム機1は、3次元仮想空間の仮想テレビジョン装置110の周囲にスポットライトのオブジェクトなどを配置し、イベントの種別に応じてスポットライトの点灯/消灯を制御する構成としてもよい。また例えばゲーム機1は、3次元仮想空間における仮想テレビジョン装置110の背景などをイベントの種別に応じて変化させる構成としてもよい。ゲーム機1は、これら以外の種々の演出を、仮想テレビジョン装置110にて表示されているリプレイのイベント種別に応じて行うことができる。
またゲーム機1は、実施の形態1にて説明したキャラクタオブジェクト111によるコメント表示と、実施の形態4にて説明したキャラクタオブジェクト111のイベント種別に応じた動作とを併用してもよい。また実施の形態4にて説明したリプレイ表示方法の適用は、ゲーム機1がリプレイデータ生成部22にて自ら作成したリプレイデータに基づくリプレイ表示を行う場合のみに限らない。実施の形態4のリプレイ表示方法は、投稿サーバ3から取得したリプレイデータに基づくリプレイ表示を行う場合にも適用することができる。
また実施の形態4に係る情報処理システムのその他の構成は、実施の形態1に係る情報処理システムの構成と同様であるため、同様の箇所には同じ符号を付して詳細な説明を省略する。
1 ゲーム機
10 処理部
11 記憶部
11a リプレイデータ記憶部
12 記録媒体装着部
13 表示部
14 操作部
15 通信部
21 ゲーム処理部
22 リプレイデータ生成部
23 コメント処理部
24 投稿処理部
25 リプレイデータ要求部
26 表示処理部
27 編集処理部
28 キャラクタ処理部
3 投稿サーバ
30 処理部
31 記憶部
31a リプレイデータ記憶部
31b コメントデータ記憶部
32 記録媒体装着部
33 通信部
41 投稿受付部
42 掲示板データ生成部
43 リプレイリストデータ生成部
44 データ送信部
5 動画サーバ
50 処理部
51 記憶部
51a 動画データ記憶部
52 記録媒体装着部
53 通信部
91 記録媒体
92 ゲームプログラム
93 記録媒体
94 サーバプログラム
95 記録媒体
96 サーバプログラム
99 ネットワーク
101 似顔絵画像
102 ユーザ名
103 テキストコメント
104 手描コメント
105 コメント投稿ボタン
106 リプレイアイコン
107 動画アイコン
110 仮想テレビジョン装置
111 キャラクタオブジェクト
112 吹き出し
121 変更ボタン
122 ボックス
123 動作設定部
124 投稿ボタン
125 やめるボタン

Claims (22)

  1. ゲームに係る処理を行うゲーム処理部と、
    前記ゲーム処理部にて処理されたゲームのプレイを再現するための再現用データを生成する再現用データ生成部と、
    前記再現用データ生成部が生成した再現用データに対する編集処理の条件の入力を受け付ける編集条件受付部と、
    前記編集条件受付部が受け付けた条件に基づいて、前記再現用データ生成部が生成した再現用データに対する編集処理を行う編集処理部と、
    前記編集処理部が編集した再現用データに基づいて、ゲームのプレイを再現して表示部に表示する処理を行う再現処理部と
    を備え、
    前記ゲームは、複数のキャラクタが動作するゲームであり、
    前記再現用データ生成部が生成する再現用データには、前記ゲーム内にて発生したイベントに関する情報を含み、
    前記編集条件受付部は、前記再現用データから優先して抽出されるイベント種別に関する条件を受け付け、且つ、再現対象のキャラクタを条件として受け付け、複数のキャラクタを受け付け可能であり、
    前記編集処理部は、前記編集条件受付部が受け付けた条件及び前記再現用データに含まれるイベントに関する情報に応じて、優先して抽出されるイベント種別の割合が優先されないイベント種別の割合よりも高くなるように、且つ、前記編集条件受付部が受け付けたキャラクタに係るイベントが発生した部分を、各キャラクタに関して抽出量が同程度となるように、前記再現用データ生成部が生成した前記再現用データから、所定のイベントが発生した部分を抽出する処理を行う、情報処理装置。
  2. 前記再現用データ生成部が生成した再現用データに基づき、前記ゲーム内にて発生したイベントに関する情報を生成するイベント情報生成部を備え、
    前記編集処理部は、前記編集条件受付部が受け付けた条件及び前記イベント情報生成部が生成した情報に基づいて、再現用データに対する編集処理を行う、請求項1に記載の情報処理装置。
  3. 記イベントに関する情報は、イベントに関与したキャラクタに係る情報、イベントの種別又はイベントの発生タイミングに係る情報を含む、請求項1又は請求項2に記載の情報処理装置。
  4. 記編集条件受付部が受け付ける条件は、再現対象のキャラクタ、再現するイベントの種別又は再現時間の少なくとも1つを含む、請求項1乃至請求項3のいずれか1つに記載の情報処理装置。
  5. ゲームに係る処理を行うゲーム処理部と、
    前記ゲーム処理部にて処理されたゲームのプレイを再現するための再現用データを生成する再現用データ生成部と、
    前記再現用データ生成部が生成した再現用データに対する編集処理の条件の入力を受け付ける編集条件受付部と、
    前記編集条件受付部が受け付けた条件に基づいて、前記再現用データ生成部が生成した再現用データに対する編集処理を行う編集処理部と、
    前記編集処理部が編集した再現用データに基づいて、ゲームのプレイを再現して表示部に表示する処理を行う再現処理部と、
    前記編集条件受付部が受け付ける条件と抽出するイベント種別の割合との対応情報を記憶する記憶部
    を備え、
    前記再現用データ生成部が生成する再現用データには、前記ゲーム内にて発生したイベントに関する情報を含み、
    前記編集条件受付部は、前記再現用データから優先して抽出されるイベント種別に関する条件を受け付け、
    前記編集処理部は、前記編集条件受付部が受け付けた条件に応じて前記記憶部から取得した対応情報に基づき、前記編集条件受付部が受け付けた条件及び前記再現用データに含まれるイベントに関する情報に応じて、優先して抽出されるイベント種別の割合が優先されないイベント種別の割合よりも高くなるように、前記再現用データ生成部が生成した前記再現用データから、所定のイベントが発生した部分を抽出する処理を行う、情報処理装置。
  6. ゲームに係る処理を行うゲーム処理部と、
    前記ゲーム処理部にて処理されたゲームのプレイを再現するための再現用データを生成する再現用データ生成部と、
    前記再現用データ生成部が生成した再現用データに対する編集処理の条件の入力を受け付ける編集条件受付部と、
    前記編集条件受付部が受け付けた条件に基づいて、前記再現用データ生成部が生成した再現用データに対する編集処理を行う編集処理部と、
    前記編集処理部が編集した再現用データに基づいて、ゲームのプレイを再現して表示部に表示する処理を行う再現処理部と
    を備え、
    前記再現用データ生成部が生成する再現用データには、前記ゲーム内にて発生したイベントに関する情報を含み、
    前記編集条件受付部は、前記再現用データから優先して抽出されるイベント種別に関する条件を受け付け、且つ、前記編集処理部が編集した再現用データによるゲームの再現時間の条件を受け付け、
    前記編集処理部は、前記編集条件受付部が受け付けた条件及び前記再現用データに含まれるイベントに関する情報に応じて、優先して抽出されるイベント種別の割合が優先されないイベント種別の割合よりも高くなるように、且つ、編集後の再現用データによるゲームの再現時間が前記編集条件受付部にて受け付けた再現時間となるように、前記再現用データ生成部が生成した前記再現用データから、所定のイベントが発生した部分を抽出する処理を行う、情報処理装置。
  7. 前記編集処理部は、前記再現用データ生成部が生成した再現用データから複数の部分を抽出し、該複数の部分による再現時間の合計が前記編集条件受付部にて受け付けた再現時間を超えた場合、各部分の冒頭又は末尾を削除して再現時間を調整する、請求項に記載の情報処理装置。
  8. 前記編集処理部は、前記再現用データから抽出した部分が時系列的に再現されるよう、該再現用データを編集する、請求項1乃至請求項のいずれか1つに記載の情報処理装置。
  9. 前記ゲーム処理部は、3次元仮想空間内でキャラクタが動作するゲームにおいて、前記3次元仮想空間内に配置された仮想カメラに基づいて生成した2次元画像を表示部に表示する処理を行い、
    前記編集処理部は、イベントの種別に応じてゲームのプレイを再現する際の仮想カメラの挙動を変化させる、請求項1乃至請求項のいずれか1つに記載の情報処理装置。
  10. 前記編集処理部は、前記ゲーム処理部によるゲームの結果に応じて、前記再現用データ生成部が生成した再現用データを編集する、請求項1乃至請求項のいずれか1つに記載の情報処理装置。
  11. 記編集条件受付部は、再現対象のキャラクタを条件として受け付け、
    前記編集処理部は、前記編集条件受付部が受け付けたキャラクタに関するゲームの結果に応じて、前記再現用データ生成部が生成した再現用データを編集する、請求項10に記載の情報処理装置。
  12. 前記再現処理部による再現用データに基づくゲームのプレイの再現中に、該再現用データに係るイベントに関する情報に基づいてゲームのプレイの再現を演出する、請求項1乃至請求項11のいずれか1つに記載の情報処理装置。
  13. 前記再現処理部によるゲームのプレイの再現中に、一又は複数のキャラクタを前記表示部に表示するキャラクタ表示処理部と、
    前記再現処理部によるゲームのプレイの再現に伴って、前記キャラクタ表示処理部が表示するキャラクタに、前記イベントに関する情報に応じた動作を行わせるキャラクタ動作処理部と
    を備える、請求項12に記載の情報処理装置。
  14. ゲームに係る処理を行うゲーム処理部と、
    前記ゲーム処理部にて処理されたゲームのプレイを再現するための再現用データを生成する再現用データ生成部と、
    前記再現用データ生成部が生成した再現用データに対する編集処理の条件の入力を受け付ける編集条件受付部と、
    前記編集条件受付部が受け付けた条件に基づいて、前記再現用データ生成部が生成した再現用データに対する編集処理を行う編集処理部と、
    前記編集処理部が編集した再現用データに基づいて、ゲームのプレイを再現して表示部に表示する処理を行う再現処理部と
    を備え、
    前記ゲームは、複数のキャラクタが動作するゲームであり、
    前記再現用データ生成部が生成する再現用データには、前記ゲーム内にて発生したイベントに関する情報を含み、
    前記編集条件受付部は、前記再現用データから優先して抽出されるイベント種別に関する条件を受け付け、且つ、再現対象のキャラクタを条件として受け付け、複数のキャラクタを受け付け可能であり、
    前記編集処理部は、前記編集条件受付部が受け付けた条件及び前記再現用データに含まれるイベントに関する情報に応じて、優先して抽出されるイベント種別の割合が優先されないイベント種別の割合よりも高くなるように、且つ、前記編集条件受付部が受け付けたキャラクタに係るイベントが発生した部分を、各キャラクタに関して抽出量が同程度となるように、前記再現用データ生成部が生成した前記再現用データから、所定のイベントが発生した部分を抽出する処理を行う、情報処理システム。
  15. ゲームに係る処理を行うゲーム処理部と、
    前記ゲーム処理部にて処理されたゲームのプレイを再現するための再現用データを生成する再現用データ生成部と、
    前記再現用データ生成部が生成した再現用データに対する編集処理の条件の入力を受け付ける編集条件受付部と、
    前記編集条件受付部が受け付けた条件に基づいて、前記再現用データ生成部が生成した再現用データに対する編集処理を行う編集処理部と、
    前記編集処理部が編集した再現用データに基づいて、ゲームのプレイを再現して表示部に表示する処理を行う再現処理部と、
    前記編集条件受付部が受け付ける条件と抽出するイベント種別の割合との対応情報を記憶する記憶部と
    を備え、
    前記再現用データ生成部が生成する再現用データには、前記ゲーム内にて発生したイベントに関する情報を含み、
    前記編集条件受付部は、前記再現用データから優先して抽出されるイベント種別に関する条件を受け付け、
    前記編集処理部は、前記編集条件受付部が受け付けた条件に応じて前記記憶部から取得した対応情報に基づき、前記編集条件受付部が受け付けた条件及び前記再現用データに含まれるイベントに関する情報に応じて、優先して抽出されるイベント種別の割合が優先されないイベント種別の割合よりも高くなるように、前記再現用データ生成部が生成した前記再現用データから、所定のイベントが発生した部分を抽出する処理を行う、情報処理システム。
  16. ゲームに係る処理を行うゲーム処理部と、
    前記ゲーム処理部にて処理されたゲームのプレイを再現するための再現用データを生成する再現用データ生成部と、
    前記再現用データ生成部が生成した再現用データに対する編集処理の条件の入力を受け付ける編集条件受付部と、
    前記編集条件受付部が受け付けた条件に基づいて、前記再現用データ生成部が生成した再現用データに対する編集処理を行う編集処理部と、
    前記編集処理部が編集した再現用データに基づいて、ゲームのプレイを再現して表示部に表示する処理を行う再現処理部と
    を備え、
    前記再現用データ生成部が生成する再現用データには、前記ゲーム内にて発生したイベントに関する情報を含み、
    前記編集条件受付部は、前記再現用データから優先して抽出されるイベント種別に関する条件を受け付け、且つ、前記編集処理部が編集した再現用データによるゲームの再現時間の条件を受け付け、
    前記編集処理部は、前記編集条件受付部が受け付けた条件及び前記再現用データに含まれるイベントに関する情報に応じて、優先して抽出されるイベント種別の割合が優先されないイベント種別の割合よりも高くなるように、且つ、編集後の再現用データによるゲームの再現時間が前記編集条件受付部にて受け付けた再現時間となるように、前記再現用データ生成部が生成した前記再現用データから、所定のイベントが発生した部分を抽出する処理を行う、情報処理システム。
  17. コンピュータを、
    ゲームに係る処理を行うゲーム処理手段と、
    前記ゲーム処理手段にて処理されたゲームのプレイを再現するための再現用データを生成する再現用データ生成手段と、
    前記再現用データ生成手段が生成した再現用データに対する編集処理の条件の入力を受け付ける編集条件受付手段と、
    前記編集条件受付手段が受け付けた条件に基づいて、前記再現用データ生成手段が生成した再現用データに対する編集処理を行う編集処理手段と、
    前記編集処理手段が編集した再現用データに基づいて、ゲームのプレイを再現して表示部に表示する処理を行う再現処理手段
    として動作させ、
    前記ゲームは、複数のキャラクタが動作するゲームであり、
    前記再現用データ生成手段が生成する再現用データには、前記ゲーム内にて発生したイベントに関する情報を含み、
    前記編集条件受付手段は、前記再現用データから優先して抽出されるイベント種別に関する条件を受け付け、且つ、再現対象のキャラクタを条件として受け付け、複数のキャラクタを受け付け可能であり、
    前記編集処理手段は、前記編集条件受付手段が受け付けた条件及び前記再現用データに含まれるイベントに関する情報に応じて、優先して抽出されるイベント種別の割合が優先されないイベント種別の割合よりも高くなるように、且つ、前記編集条件受付手段が受け付けたキャラクタに係るイベントが発生した部分を、各キャラクタに関して抽出量が同程度となるように、前記再現用データ生成手段が生成した前記再現用データから、所定のイベントが発生した部分を抽出する処理を行う、情報処理プログラム。
  18. コンピュータを、
    ゲームに係る処理を行うゲーム処理手段と、
    前記ゲーム処理手段にて処理されたゲームのプレイを再現するための再現用データを生成する再現用データ生成手段と、
    前記再現用データ生成手段が生成した再現用データに対する編集処理の条件の入力を受け付ける編集条件受付手段と、
    前記編集条件受付手段が受け付けた条件に基づいて、前記再現用データ生成手段が生成した再現用データに対する編集処理を行う編集処理手段と、
    前記編集処理手段が編集した再現用データに基づいて、ゲームのプレイを再現して表示部に表示する処理を行う再現処理手段と、
    前記編集条件受付手段が受け付ける条件と抽出するイベント種別の割合との対応情報を記憶部に記憶する処理を行う記憶処理手段
    として動作させ、
    前記再現用データ生成手段が生成する再現用データには、前記ゲーム内にて発生したイベントに関する情報を含み、
    前記編集条件受付手段は、前記再現用データから優先して抽出されるイベント種別に関する条件を受け付け、
    前記編集処理手段は、前記編集条件受付手段が受け付けた条件に応じて前記記憶部から取得した対応情報に基づき、前記編集条件受付手段が受け付けた条件及び前記再現用データに含まれるイベントに関する情報に応じて、優先して抽出されるイベント種別の割合が優先されないイベント種別の割合よりも高くなるように、前記再現用データ生成手段が生成した前記再現用データから、所定のイベントが発生した部分を抽出する処理を行う、情報処理プログラム。
  19. コンピュータを、
    ゲームに係る処理を行うゲーム処理手段と、
    前記ゲーム処理手段にて処理されたゲームのプレイを再現するための再現用データを生成する再現用データ生成手段と、
    前記再現用データ生成手段が生成した再現用データに対する編集処理の条件の入力を受け付ける編集条件受付手段と、
    前記編集条件受付手段が受け付けた条件に基づいて、前記再現用データ生成手段が生成した再現用データに対する編集処理を行う編集処理手段と、
    前記編集処理手段が編集した再現用データに基づいて、ゲームのプレイを再現して表示部に表示する処理を行う再現処理手段
    として動作させ、
    前記再現用データ生成手段が生成する再現用データには、前記ゲーム内にて発生したイベントに関する情報を含み、
    前記編集条件受付手段は、前記再現用データから優先して抽出されるイベント種別に関する条件を受け付け、且つ、前記編集処理手段が編集した再現用データによるゲームの再現時間の条件を受け付け、
    前記編集処理手段は、前記編集条件受付手段が受け付けた条件及び前記再現用データに含まれるイベントに関する情報に応じて、優先して抽出されるイベント種別の割合が優先されないイベント種別の割合よりも高くなるように、且つ、編集後の再現用データによるゲームの再現時間が前記編集条件受付手段にて受け付けた再現時間となるように、前記再現用データ生成手段が生成した前記再現用データから、所定のイベントが発生した部分を抽出する処理を行う、情報処理プログラム。
  20. ゲームに係る処理を行うゲーム処理ステップと、
    前記ゲーム処理ステップにて処理されたゲームのプレイを再現するための再現用データを生成する再現用データ生成ステップと、
    前記再現用データ生成ステップにて生成した再現用データに対する編集処理の条件の入力を受け付ける編集条件受付ステップと、
    前記編集条件受付ステップにて受け付けた条件に基づいて、前記再現用データ生成ステップにて生成した再現用データに対する編集処理を行う編集処理ステップと、
    前記編集処理ステップにて編集した再現用データに基づいて、ゲームのプレイを再現して表示部に表示する処理を行う再現処理ステップと
    を含み、
    前記ゲームは、複数のキャラクタが動作するゲームであり、
    前記再現用データ生成ステップにて生成する再現用データには、前記ゲーム内にて発生したイベントに関する情報を含み、
    前記編集条件受付ステップでは、前記再現用データから優先して抽出されるイベント種別に関する条件を受け付け、且つ、再現対象のキャラクタを条件として受け付け、複数のキャラクタを受け付け可能であり、
    前記編集処理ステップでは、前記編集条件受付ステップにて受け付けた条件及び前記再現用データに含まれるイベントに関する情報に応じて、優先して抽出されるイベント種別の割合が優先されないイベント種別の割合よりも高くなるように、且つ、前記編集条件受付ステップにて受け付けたキャラクタに係るイベントが発生した部分を、各キャラクタに関して抽出量が同程度となるように、前記再現用データ生成ステップにて生成した前記再現用データから、所定のイベントが発生した部分を抽出する処理を行う、情報処理方法。
  21. ゲームに係る処理を行うゲーム処理ステップと、
    前記ゲーム処理ステップにて処理されたゲームのプレイを再現するための再現用データを生成する再現用データ生成ステップと、
    前記再現用データ生成ステップにて生成した再現用データに対する編集処理の条件の入力を受け付ける編集条件受付ステップと、
    前記編集条件受付ステップにて受け付けた条件に基づいて、前記再現用データ生成ステップにて生成した再現用データに対する編集処理を行う編集処理ステップと、
    前記編集処理ステップにて編集した再現用データに基づいて、ゲームのプレイを再現して表示部に表示する処理を行う再現処理ステップと、
    前記編集条件受付ステップにて受け付ける条件と抽出するイベント種別の割合との対応情報を記憶部に記憶する処理を行う記憶処理ステップと
    を含み、
    前記再現用データ生成ステップにて生成する再現用データには、前記ゲーム内にて発生したイベントに関する情報を含み、
    前記編集条件受付ステップでは、前記再現用データから優先して抽出されるイベント種別に関する条件を受け付け、
    前記編集処理ステップでは、前記編集条件受付ステップにて受け付けた条件に応じて前記記憶部から取得した対応情報に基づき、前記編集条件受付ステップにて受け付けた条件及び前記再現用データに含まれるイベントに関する情報に応じて、優先して抽出されるイベント種別の割合が優先されないイベント種別の割合よりも高くなるように、前記再現用データ生成ステップにて生成した前記再現用データから、所定のイベントが発生した部分を抽出する処理を行う、情報処理方法。
  22. ゲームに係る処理を行うゲーム処理ステップと、
    前記ゲーム処理ステップにて処理されたゲームのプレイを再現するための再現用データを生成する再現用データ生成ステップと、
    前記再現用データ生成ステップにて生成した再現用データに対する編集処理の条件の入力を受け付ける編集条件受付ステップと、
    前記編集条件受付ステップにて受け付けた条件に基づいて、前記再現用データ生成ステップにて生成した再現用データに対する編集処理を行う編集処理ステップと、
    前記編集処理ステップにて編集した再現用データに基づいて、ゲームのプレイを再現して表示部に表示する処理を行う再現処理ステップと
    を含み、
    前記再現用データ生成ステップにて生成する再現用データには、前記ゲーム内にて発生したイベントに関する情報を含み、
    前記編集条件受付ステップでは、前記再現用データから優先して抽出されるイベント種別に関する条件を受け付け、且つ、前記編集処理ステップにて編集した再現用データによるゲームの再現時間の条件を受け付け、
    前記編集処理ステップでは、前記編集条件受付ステップにて受け付けた条件及び前記再現用データに含まれるイベントに関する情報に応じて、優先して抽出されるイベント種別の割合が優先されないイベント種別の割合よりも高くなるように、且つ、編集後の再現用データによるゲームの再現時間が前記編集条件受付ステップにて受け付けた再現時間となるように、前記再現用データ生成ステップにて生成した前記再現用データから、所定のイベントが発生した部分を抽出する処理を行う、情報処理方法。
JP2014089407A 2013-06-07 2014-04-23 情報処理装置、情報処理システム、情報処理プログラム及び情報処理方法 Active JP6533368B2 (ja)

Priority Applications (1)

Application Number Priority Date Filing Date Title
JP2014089407A JP6533368B2 (ja) 2013-06-07 2014-04-23 情報処理装置、情報処理システム、情報処理プログラム及び情報処理方法

Applications Claiming Priority (3)

Application Number Priority Date Filing Date Title
JP2013121265 2013-06-07
JP2013121265 2013-06-07
JP2014089407A JP6533368B2 (ja) 2013-06-07 2014-04-23 情報処理装置、情報処理システム、情報処理プログラム及び情報処理方法

Publications (2)

Publication Number Publication Date
JP2015013103A JP2015013103A (ja) 2015-01-22
JP6533368B2 true JP6533368B2 (ja) 2019-06-19

Family

ID=52005900

Family Applications (3)

Application Number Title Priority Date Filing Date
JP2014089405A Active JP6442155B2 (ja) 2013-06-07 2014-04-23 情報処理システム、情報処理装置、情報処理プログラム及び情報処理方法
JP2014089407A Active JP6533368B2 (ja) 2013-06-07 2014-04-23 情報処理装置、情報処理システム、情報処理プログラム及び情報処理方法
JP2014089406A Pending JP2015013102A (ja) 2013-06-07 2014-04-23 情報処理装置、情報処理システム、情報処理プログラム及び情報処理方法

Family Applications Before (1)

Application Number Title Priority Date Filing Date
JP2014089405A Active JP6442155B2 (ja) 2013-06-07 2014-04-23 情報処理システム、情報処理装置、情報処理プログラム及び情報処理方法

Family Applications After (1)

Application Number Title Priority Date Filing Date
JP2014089406A Pending JP2015013102A (ja) 2013-06-07 2014-04-23 情報処理装置、情報処理システム、情報処理プログラム及び情報処理方法

Country Status (2)

Country Link
US (1) US9776085B2 (ja)
JP (3) JP6442155B2 (ja)

Families Citing this family (41)

* Cited by examiner, † Cited by third party
Publication number Priority date Publication date Assignee Title
JP6348726B2 (ja) * 2014-02-13 2018-06-27 任天堂株式会社 情報共有システム、情報処理装置、プログラム及び情報共有方法
JP2015150172A (ja) 2014-02-13 2015-08-24 任天堂株式会社 情報共有システム、情報処理装置、プログラム及び情報共有方法
JP6043819B2 (ja) 2015-01-28 2016-12-14 グリー株式会社 構築方法、プログラム、情報処理システム及び情報処理装置
JP6693704B2 (ja) 2015-03-30 2020-05-13 株式会社バンダイナムコエンターテインメント サーバシステム
JP6605827B2 (ja) * 2015-03-30 2019-11-13 株式会社バンダイナムコエンターテインメント サーバシステム
JP6721295B2 (ja) * 2015-04-24 2020-07-15 株式会社コロプラ ゲーム体験共有システム、方法、プログラム及び記録媒体
JP6396870B2 (ja) * 2015-09-10 2018-09-26 日本電信電話株式会社 オンラインゲームシステム
JP5992085B2 (ja) * 2015-11-30 2016-09-14 グリー株式会社 構築方法、プログラム、情報処理システム及び情報処理装置
JP5951150B1 (ja) * 2016-01-29 2016-07-13 株式会社Cygames 情報処理システム、情報処理方法、及びプログラム、サーバ、並びに情報処理端末
CN114681914B (zh) 2016-03-16 2024-12-10 思奇里兹平台股份有限公司 用于管理流式传输视频数据的方法和系统
JP6392818B2 (ja) * 2016-08-16 2018-09-19 グリー株式会社 構築方法、プログラム、情報処理システム及び情報処理装置
JP6277503B1 (ja) * 2017-03-15 2018-02-14 株式会社コナミデジタルエンタテインメント サーバ装置、及びそれに用いられるコンピュータプログラム
JP2018164227A (ja) * 2017-03-27 2018-10-18 株式会社Nttぷらら 映像配信システム及び映像配信方法
JP6687572B2 (ja) * 2017-08-31 2020-04-22 グリー株式会社 構築方法、プログラム、情報処理システム及び情報処理装置
JP7074449B2 (ja) * 2017-10-12 2022-05-24 株式会社バンダイナムコエンターテインメント コンテンツ配信システム、コンピュータシステム、サーバシステム、及びコンテンツ配信方法
JP2018156632A (ja) * 2017-12-25 2018-10-04 株式会社コナミデジタルエンタテインメント サーバ装置、及びそれに用いられるコンピュータプログラム
JP6630376B2 (ja) 2018-01-19 2020-01-15 株式会社スクウェア・エニックス ビデオゲームプログラム及びゲームシステム
US10765957B2 (en) * 2018-02-28 2020-09-08 Sony Interactive Entertainment LLC Integrating commentary content and gameplay content over a multi-user platform
KR102074504B1 (ko) 2018-02-28 2020-02-06 엔에이치엔 주식회사 게임 플레이 영상 리플레이 방법
US11496788B2 (en) 2018-10-09 2022-11-08 Sony Interactive Entertainment Inc. Information processing system, information processing apparatus, and content file generation method
KR102096935B1 (ko) * 2018-10-19 2020-04-03 주식회사 카카오게임즈 리플레이 영상을 제공하는 컴퓨팅 장치
JP7336684B2 (ja) * 2019-03-22 2023-09-01 株式会社Mixi ゲームシステム及び装置
JP7325209B2 (ja) * 2019-03-29 2023-08-14 株式会社バンダイナムコエンターテインメント サーバシステム、プレイデータコミュニティシステムおよび制御方法
CN110538455B (zh) * 2019-09-05 2021-03-19 腾讯科技(深圳)有限公司 虚拟对象的移动控制方法、装置、终端及存储介质
JP7605587B2 (ja) * 2020-03-06 2024-12-24 株式会社バンダイナムコエンターテインメント コンピュータシステム、ゲームシステム及びリプレイ動画提供方法
JP6997247B2 (ja) * 2020-04-02 2022-01-17 グリー株式会社 構築方法、プログラム、情報処理システム及び情報処理装置
JP7328640B2 (ja) * 2020-04-02 2023-08-17 グリー株式会社 構築方法、プログラム、情報処理システム及び情報処理装置
US11213759B1 (en) 2020-07-22 2022-01-04 Rovi Guides, Inc. Gaming content storage based on gaming performance
JP7012791B1 (ja) 2020-07-22 2022-01-28 株式会社ソニー・インタラクティブエンタテインメント 情報処理装置、表示要素の表示方法および管理サーバ
JP7062725B2 (ja) * 2020-07-22 2022-05-06 株式会社ソニー・インタラクティブエンタテインメント 情報処理装置およびゲーム動画記録方法
JP6923726B1 (ja) 2020-08-13 2021-08-25 株式会社コロプラ 方法、コンピュータ可読媒体、および情報処理装置
US11935181B2 (en) * 2020-11-30 2024-03-19 Sony Interactive Entertainment LLC In-game dynamic camera angle adjustment
JP7592292B2 (ja) * 2020-12-25 2024-12-02 株式会社コナミデジタルエンタテインメント 配信システム、配信システムのコンピュータプログラム及び制御方法
JP7010444B1 (ja) 2021-03-05 2022-01-26 正啓 榊原 プレイ記録動画作成システム
JP7230991B2 (ja) * 2021-05-17 2023-03-01 株式会社セガ プログラム及び情報処理装置
JP7137669B2 (ja) * 2021-06-25 2022-09-14 株式会社あかつき ゲームシステム、ゲームプログラム、及び情報処理方法
CN113209640B (zh) * 2021-07-09 2021-09-24 腾讯科技(深圳)有限公司 解说的生成方法、装置、设备及计算机可读存储介质
JP2023149360A (ja) * 2022-03-31 2023-10-13 日本電気株式会社 レビュー提供システム、レビュー提供方法及びプログラム
JP2024060158A (ja) * 2022-10-19 2024-05-02 株式会社カプコン コンピュータプログラム、コンピュータシステムおよびサーバ
JP7464774B1 (ja) 2023-03-31 2024-04-09 株式会社Cygames 情報処理システム、情報処理方法、ゲーム装置および情報処理プログラム
WO2026013855A1 (ja) * 2024-07-11 2026-01-15 株式会社ソニー・インタラクティブエンタテインメント 情報処理装置およびハイライト動画生成方法

Family Cites Families (19)

* Cited by examiner, † Cited by third party
Publication number Priority date Publication date Assignee Title
US5850352A (en) 1995-03-31 1998-12-15 The Regents Of The University Of California Immersive video, including video hypermosaicing to generate from multiple video views of a scene a three-dimensional video mosaic from which diverse virtual video scene images are synthesized, including panoramic, scene interactive and stereoscopic images
US20060148571A1 (en) * 2005-01-04 2006-07-06 Electronic Arts Inc. Computer game with game saving including history data to allow for play reacquaintance upon restart of game
JP4263218B2 (ja) 2006-12-11 2009-05-13 株式会社ドワンゴ コメント配信システム、コメント配信サーバ、端末装置、コメント配信方法、及びプログラム
US20080268961A1 (en) 2007-04-30 2008-10-30 Michael Brook Method of creating video in a virtual world and method of distributing and using same
JP5221904B2 (ja) 2007-06-27 2013-06-26 株式会社スプラシア 動画像配信システム及び動画像配信方法
JP5178126B2 (ja) 2007-10-03 2013-04-10 任天堂株式会社 データ管理装置、データ配信システム、データ管理プログラム、データ管理システムおよびデータ管理方法
US9573058B2 (en) * 2008-01-29 2017-02-21 Disney Enterprises, Inc. Interactive computer game
US8515253B2 (en) * 2008-02-15 2013-08-20 Sony Computer Entertainment America Llc System and method for automated creation of video game highlights
WO2009146130A2 (en) * 2008-04-05 2009-12-03 Social Communications Company Shared virtual area communication environment based apparatus and methods
JP5349860B2 (ja) * 2008-08-07 2013-11-20 株式会社バンダイナムコゲームス プログラム、情報記憶媒体及びゲーム装置
JP5199053B2 (ja) 2008-12-16 2013-05-15 株式会社スクウェア・エニックス ゲーム装置、ゲームのリプレイ表示方法、ゲームプログラム及び記録媒体
JP5441103B2 (ja) * 2009-03-31 2014-03-12 株式会社カプコン ゲームシステム、ゲーム装置、ゲームサーバ、および、ゲームプログラム
JP5178607B2 (ja) * 2009-03-31 2013-04-10 株式会社バンダイナムコゲームス プログラム、情報記憶媒体、口形状制御方法及び口形状制御装置
JP4495246B2 (ja) * 2009-08-03 2010-06-30 株式会社バンダイナムコゲームス プログラム、ゲーム端末、ゲーム装置及び情報記憶媒体
JP5417111B2 (ja) 2009-10-01 2014-02-12 株式会社コナミデジタルエンタテインメント ゲームシステム、ゲームシステムの制御方法、及びプログラム
JP5749895B2 (ja) * 2010-04-05 2015-07-15 株式会社ソニー・コンピュータエンタテインメント ゲーム装置
GB2484594A (en) * 2010-10-13 2012-04-18 Wms Gaming Inc Integrating video feeds and wagering-game web content
JP2012118919A (ja) 2010-12-03 2012-06-21 Linkt Co Ltd 情報提供システム
JP5183823B1 (ja) 2012-11-09 2013-04-17 株式会社 ディー・エヌ・エー サーバー装置、及び、プログラム

Also Published As

Publication number Publication date
US9776085B2 (en) 2017-10-03
JP2015013102A (ja) 2015-01-22
US20140364206A1 (en) 2014-12-11
JP2015013103A (ja) 2015-01-22
JP6442155B2 (ja) 2018-12-19
JP2015013101A (ja) 2015-01-22

Similar Documents

Publication Publication Date Title
JP6533368B2 (ja) 情報処理装置、情報処理システム、情報処理プログラム及び情報処理方法
JP6434583B2 (ja) 第2のユーザによる第1のユーザのゲームプレーの遠隔制御
JP6180802B2 (ja) 情報処理システム、情報処理装置、情報処理プログラム及び情報表示方法
JP6336497B2 (ja) 情報処理装置および画像表示方法
JP6043819B2 (ja) 構築方法、プログラム、情報処理システム及び情報処理装置
US9682312B2 (en) Information processing system, server machine, information processing device, recording medium and information processing method
US20220174361A1 (en) Spectator filter video compositing
JP2012245225A (ja) 評価情報収集システム
JP6032704B2 (ja) ゲームシステム、特典提供システム、及びプログラム
JP2023501653A (ja) ビデオゲームにおけるサーバベースのビデオヘルプ
JP6032705B2 (ja) ゲームシステム、表示制御システム、及びプログラム
WO2022006111A1 (en) Selection of video widgets based on computer simulation metadata
CN115777100A (zh) 基于计算机模拟元数据对视频模板的选择
US20250041738A1 (en) Distribution system, and control program and control method for distribution system
JP2018171531A (ja) 評価情報閲覧システム
JP6392818B2 (ja) 構築方法、プログラム、情報処理システム及び情報処理装置
JP2017205632A (ja) 構築方法、プログラム、情報処理システム及び情報処理装置

Legal Events

Date Code Title Description
A621 Written request for application examination

Free format text: JAPANESE INTERMEDIATE CODE: A621

Effective date: 20170315

A977 Report on retrieval

Free format text: JAPANESE INTERMEDIATE CODE: A971007

Effective date: 20180228

A131 Notification of reasons for refusal

Free format text: JAPANESE INTERMEDIATE CODE: A131

Effective date: 20180403

A521 Request for written amendment filed

Free format text: JAPANESE INTERMEDIATE CODE: A523

Effective date: 20180530

A131 Notification of reasons for refusal

Free format text: JAPANESE INTERMEDIATE CODE: A131

Effective date: 20181030

A521 Request for written amendment filed

Free format text: JAPANESE INTERMEDIATE CODE: A523

Effective date: 20181212

TRDD Decision of grant or rejection written
A01 Written decision to grant a patent or to grant a registration (utility model)

Free format text: JAPANESE INTERMEDIATE CODE: A01

Effective date: 20190521

A61 First payment of annual fees (during grant procedure)

Free format text: JAPANESE INTERMEDIATE CODE: A61

Effective date: 20190524

R150 Certificate of patent or registration of utility model

Ref document number: 6533368

Country of ref document: JP

Free format text: JAPANESE INTERMEDIATE CODE: R150

R250 Receipt of annual fees

Free format text: JAPANESE INTERMEDIATE CODE: R250

R250 Receipt of annual fees

Free format text: JAPANESE INTERMEDIATE CODE: R250

R250 Receipt of annual fees

Free format text: JAPANESE INTERMEDIATE CODE: R250

R250 Receipt of annual fees

Free format text: JAPANESE INTERMEDIATE CODE: R250