JP6352425B2 - 接合端部材によるソケット締結型鉄筋継手 - Google Patents

接合端部材によるソケット締結型鉄筋継手 Download PDF

Info

Publication number
JP6352425B2
JP6352425B2 JP2016540799A JP2016540799A JP6352425B2 JP 6352425 B2 JP6352425 B2 JP 6352425B2 JP 2016540799 A JP2016540799 A JP 2016540799A JP 2016540799 A JP2016540799 A JP 2016540799A JP 6352425 B2 JP6352425 B2 JP 6352425B2
Authority
JP
Japan
Prior art keywords
end member
shape
joint
joining
fastening
Prior art date
Legal status (The legal status is an assumption and is not a legal conclusion. Google has not performed a legal analysis and makes no representation as to the accuracy of the status listed.)
Active
Application number
JP2016540799A
Other languages
English (en)
Other versions
JP2016534261A (ja
Inventor
ヨングン キム
ヨングン キム
Current Assignee (The listed assignees may be inaccurate. Google has not performed a legal analysis and makes no representation or warranty as to the accuracy of the list.)
Individual
Original Assignee
Individual
Priority date (The priority date is an assumption and is not a legal conclusion. Google has not performed a legal analysis and makes no representation as to the accuracy of the date listed.)
Filing date
Publication date
Application filed by Individual filed Critical Individual
Publication of JP2016534261A publication Critical patent/JP2016534261A/ja
Application granted granted Critical
Publication of JP6352425B2 publication Critical patent/JP6352425B2/ja
Active legal-status Critical Current
Anticipated expiration legal-status Critical

Links

Images

Classifications

    • EFIXED CONSTRUCTIONS
    • E04BUILDING
    • E04CSTRUCTURAL ELEMENTS; BUILDING MATERIALS
    • E04C5/00Reinforcing elements, e.g. for concrete; Auxiliary elements therefor
    • E04C5/16Auxiliary parts for reinforcements, e.g. connectors, spacers, stirrups
    • E04C5/162Connectors or means for connecting parts for reinforcements
    • E04C5/163Connectors or means for connecting parts for reinforcements the reinforcements running in one single direction
    • E04C5/165Coaxial connection by means of sleeves
    • EFIXED CONSTRUCTIONS
    • E04BUILDING
    • E04GSCAFFOLDING; FORMS; SHUTTERING; BUILDING IMPLEMENTS OR AIDS, OR THEIR USE; HANDLING BUILDING MATERIALS ON THE SITE; REPAIRING, BREAKING-UP OR OTHER WORK ON EXISTING BUILDINGS
    • E04G21/00Preparing, conveying, or working-up building materials or building elements in situ; Other devices or measures for constructional work
    • E04G21/12Mounting of reinforcing inserts; Prestressing
    • FMECHANICAL ENGINEERING; LIGHTING; HEATING; WEAPONS; BLASTING
    • F16ENGINEERING ELEMENTS AND UNITS; GENERAL MEASURES FOR PRODUCING AND MAINTAINING EFFECTIVE FUNCTIONING OF MACHINES OR INSTALLATIONS; THERMAL INSULATION IN GENERAL
    • F16BDEVICES FOR FASTENING OR SECURING CONSTRUCTIONAL ELEMENTS OR MACHINE PARTS TOGETHER, e.g. NAILS, BOLTS, CIRCLIPS, CLAMPS, CLIPS OR WEDGES; JOINTS OR JOINTING
    • F16B7/00Connections of rods or tubes, e.g. of non-circular section, mutually, including resilient connections
    • F16B7/18Connections of rods or tubes, e.g. of non-circular section, mutually, including resilient connections using screw-thread elements
    • F16B7/182Connections of rods or tubes, e.g. of non-circular section, mutually, including resilient connections using screw-thread elements for coaxial connections of two rods or tubes

Landscapes

  • Engineering & Computer Science (AREA)
  • Architecture (AREA)
  • Civil Engineering (AREA)
  • Structural Engineering (AREA)
  • Mechanical Engineering (AREA)
  • General Engineering & Computer Science (AREA)
  • Reinforcement Elements For Buildings (AREA)
  • Mutual Connection Of Rods And Tubes (AREA)

Description

本発明は、接合端部材によるソケット締結型鉄筋継手に係り、より詳しくは、鉄筋コンクリートの基礎を成す鉄筋の継手施工及び鉄筋ケージ間の継手施工が容易になるように接合端部材が鉄筋に接合されることで、端部が隣り合う鉄筋を簡単にソケット締結によって機械式で精密に連結することが可能な鉄筋継手に関する。
一般に、多数の鉄筋配筋による鉄筋コンクリート工事において、鉄筋の継ぎ合わせのために鉄筋の端部に接合鉄筋を付着するとか、ネジ加工で容易に継ぎ合わせる技術的な構成によって鉄筋及び鉄筋ケージ間の継ぎ合わせを基礎とする鉄筋コンクリートの基礎配筋作業が行われている。
従来、特許文献1には機械式鉄筋継手及び鉄筋の張力導入方法が開示されている。すなわち、隣り合う鉄筋の向かい合う端部のそれぞれに、固定手段で固定される順ネジと逆ネジをなす頭部と前記頭部にそれぞれ結合されるカプラと前記カプラに当接してカプラを締結するナットとからなり、前記カプラの内周面には、一端部に順ネジ、他端部に逆ネジが形成され、前記頭部のネジに対応するネジ面が形成されていることを特徴とする機械式鉄筋継手が開示されている。
しかし、前記鉄筋継手は、頭部が鉄筋の両端部に接合された後、前記両端部に接合された頭部に締結されるカプラがターンバックルによる結合方法と類似して、継ぎ合わせられる鉄筋の両端部に共に螺合される方法であるため、上下側の鉄筋ケージの一連の主筋の連結作業の際、揚重装備によって地面から離隔して鉄筋ケージがぶら下げられたままで上げられた後に下方に下ろされれば、上側鉄筋ケージの主筋が全体として下側鉄筋ケージの主筋に近付き、カプラによる螺合法でそれぞれ締結されるが、それぞれの主筋の端部のネジ部のそれぞれの始点と終点を精密に合わせにくいため、上部の鉄筋を繰り返し上げ下ろしながら強制的な締結作業を難しく実施するしかなくて問題点が発生する。すなわち、それぞれのカプラに対する個別的な締結作業は可能であるが、既組立の鉄筋網である鉄筋ケージの締結施工においてはネジ部の整合作業がなされにくいので、螺合施工性を向上させるために、締結されるカプラの雌ネジ部を雄ネジ部より広く形成することになり、よってカプラの締結されたネジ部間の空隙がひどく発生して、カプラによる連結が堅くなくなる。このような問題を解決するために、カプラの中央部の所定箇所に注入口を形成し、前記注入口から金属材の5分の1〜10分の1の強度を持つモルタルなどのグラウト充填材をネジ部間の空隙に注入して連結強度を増大させるように施工している。
また、従来の特許文献2にはネジ型スリーブによる鉄筋継手が開示されている。すなわち、内面に雌ネジ部が形成され、外面に雄ネジ部が形成された一スリーブ、内面に雌ネジ部が形成され、軸方向の一端部が中心軸線に対して垂直な平面からなる第1係止段部が形成された他のスリーブ、内面に前記一スリーブの雄ネジ部とネジ締結される雌ネジ部が形成され、前記他のスリーブの第1係止段部と突き合わせられて係止作用するように一端部の内面に円周方向に突出した係止段部が形成された締結ソケット、及び前記両スリーブの雌ネジ部にネジ締結されるように端部に雄ネジ部が形成される鉄筋を含むことを特徴とする、ネジ型スリーブによる鉄筋継手が開示されている。
しかし、前記ネジ型スリーブによる鉄筋継手は、鉄筋の端部に雄ネジ加工を必ず実施した後、カプラで継ぎ合わせる方法であるが、鉄筋の端部に雄ネジ部を加工する施工方法の問題点が現れているため、一部の先進国では既に鉄筋端部にネジを形成して継ぎ合わせる工法が規制され、禁止されている実情である。
すなわち、建築物の高層化及び耐震設計による高強度鉄筋に対する必然的な要請によって、従来の鉄筋がSD400規格から徐々に強度が増大して、SD600及び強度が一層増大したSD800規格までも製造されて使われており、国内においてもSD600級が既に商用化した実情である。
しかし、高強度鉄筋の端部にスエージングネジ加工及び膨張ネジ加工を行う過程において、熱間加工時には端部の鉄筋組織が熱によって変化するとともに焼鈍処理される隣接端部の組職強度が低下する問題が発生し、冷間切削加工時には組職のじん性が低下し、ネジ加工の際、切削による鉄筋の纎維組職の切断問題のため、鉄筋に比べて相対的に組職の強度が低下したネジ部に加工されるので、不良な継ぎ合わせが発生する原因となる。
また、冷間鍛造加工の際には、鉄筋の組職断面において表面部の剛性が高い反面、中心部では剛性が低下するため、冷間加工処理時には外部の剛性組職が内部に押し込まれて微細な結晶破壊が発生するおそれが高い。また、ネジ部の転造加工の際、高強度鉄筋によって転造ローラの摩耗が増大することによって消耗工具の寿命が縮まる損失費用が発生する。
したがって、現実的に高強度鉄筋に対して端部を溶融させて融着する特殊溶接方法を用いている実情である。このような方法は、高強度鉄筋と同一であるかあるいはこれより高い高強度の素材から部材を作り、高強度鉄筋の端部に瞬間接合することで、母材素材の変形を引き起こさない方法である。
また、両端部に同一方向にネジ加工された鉄筋の継ぎ合わせにおいて鉄筋の端部に結合される内周面にネジ部が形成されたスリーブ形状のカプラに同一方向のネジ部を形成して両端部の鉄筋を継ぎ合わせる方法においても、両端部の鉄筋継ぎ合わせのために突き合わせられた状態で鉄筋の回転によって施工作業を行わなければならない不合理な点があった。
日本国特許第4029342号 大韓民国特許第10−1014543号
まず、本発明の主目的は、鉄筋の端部に接合可能な独立的な継手で、簡易な構成要素のみで一体化結合による鉄筋の継ぎ合わせができるようにすることにある。
また、継ぎ合わせられる鉄筋の端部が固定された場合にも、鉄筋の中心を合わせる作業または鉄筋を回してネジ部を合わせる作業が不要で、堅固な鉄筋継ぎ合わせを成すようにすることにある。
また、鉄筋ケージ間の組立において、各鉄筋ケージの継ぎ合わせられる主筋の端部が不均一な場合、自然に案内されることにより、上側及び下側鉄筋ケージ間の主筋の端部がぴったり噛み合って突き合わせられるようにすることにある。
また、第1接合端部材及び第2接合端部材の端部が突き合わせられて結合された後、軸方向圧縮力に対する応力を分散させることにある。
また、継ぎ合わせられる鉄筋が既に配筋された場合または鉄筋ケージの結合においてあまり遠く離隔するとか不均一な鉄筋間の離隔距離によって第1接合端部材及び第2接合端部材の端部形状が突き合わせられることができない場合、または配筋された鉄筋の施工誤差が発生した場合にも鉄筋継ぎ合わせができるようにすることにある。
また、締結ソケットによる締結だけで前記第1鉄筋及び第2鉄筋が継ぎ合わせられた状態から初期スリップが根本的に除去されるようにすることにある。
また、鉄筋継ぎ合わせの長さ調整が中間接合部材及び接合端部材間の結合構成によってより確定された範囲で端部が互いに離隔した鉄筋の継ぎ合わせを可能にするとか施工誤差を吸収するようにすることにある。
また、スタッド溶接によって第1接合端部材及び第2接合端部材と第1鉄筋及び第2鉄筋が接合されることにおいて、アークの発生が容易になるようにすることにある。
また、鉄筋の規格が互いに異なる場合及び異種鉄筋間の鉄筋継ぎ合わせができるようにすることにある。
また、鉄筋継ぎ合わせだけでなく接合部の継ぎ合わせが可能な丸棒などの棒材の継ぎ合わせができるようにすることにある。
前述した目的を達成するための本発明による接合端部材によるソケット締結型鉄筋継手は、端部が向かい合って隣り合う第1鉄筋及び第2鉄筋;前記第1鉄筋の端部に接合され、締結ソケット結合用雄ネジ部が外面に長手方向に形成される第1接合端部材;一端部は前記第1接合端部材の端部形状に対応する形状に形成され、他端部は第2鉄筋の端部に接合され、前記端部から離隔した軸方向の一端部に長手方向に対して鋭角、直角及び鈍角の中で選択されたいずれか一角度を成す一つまたは複数の段部が設けられる第2接合端部材;及び長手方向に開口して前記第2接合端部材の外面と第1接合端部材の外面を取り囲んで収容するように長手方向に延設され、内面には前記第1接合端部材の締結ソケット結合用雄ネジ部に螺合される締結ソケット結合用雌ネジ部が長手方向に形成され、前記第2接合端部材の段部に係止されるように長手方向に対して鋭角、直角及び鈍角の中で選択されたいずれか一角度を成す一つまたは複数の係止段部が設けられた中空形の締結ソケット;を含み、前記締結ソケットの係止段部が前記第2接合端部材の段部に密着支持されるように前記第1接合端部材の方向に向けて前記締結ソケットを前進させながらネジ締結方向に回転させることで、前記第1接合端部材と第2接合端部材が前記締結ソケットによって一体化締結されることによって前記第1鉄筋と第2鉄筋が機械的に継ぎ合わせられ、前記第1鉄筋の端部に接合される第1接合端部材の形状は、一端部が前記第1鉄筋に継ぎ合わせられる構造を持つように第1鉄筋の幅と同一ないし類似し、横断面が円形の棒状であり、他端部は前記一端部の棒状より幅が拡張した外面に前記締結ソケット結合用雄ネジ部が形成され、第2接合端部材の拡張した棒状の幅にネジ部の高さを加えた形状の幅を成し、長手方向に端部付近で幅が段差をなして拡張した棒状であり、前記第2鉄筋の端部に接合される第2接合端部材の形状は、一端部が前記第2鉄筋に継ぎ合わせられる構造を持つように第2鉄筋の幅と同一ないし類似し、横断面が円形の棒状であり、他端部は前記一端部の棒状より幅が拡張するが、前記締結ソケットが外面で遊動できるように前記締結ソケットの内面よりは小さな幅に形成され、外面を取り囲んで突出帯状の段部が形成され、段部付近で幅が段差をなして拡張した棒状であり、前記突出帯状の段部は第2接合端部材の幅が拡張した棒状付近から第2接合端部材の端面まで取り囲む突出帯状をなすか、或いは前記第2接合端部材の幅が拡張した棒状付近に幅が減少して取り囲む突出帯状をなし、前記締結ソケットの内面は円筒状のもので、長手方向を軸としてネジ締結方向に回転可能に内面が円周面を成して前記第2接合端部材の外面で第2接合端部材の幅が拡張した棒状を取り囲むとともに遊動できるように結合され、前記第2接合端部材の段部に係止できるように前記締結ソケットの内面の前記締結ソケット結合用雌ネジ部の反対側端部に突出帯状に中心方向に向かって突出した係止段部が設けられ、前記締結ソケットの内面には第1接合端部材方向の端部付近に締結ソケット結合用雌ネジ部が形成され、第2接合端部材の幅が拡張した棒状及び第1接合端部材の幅が拡張した棒状を取り囲むように形成された前記締結ソケットが第1接合端部材の幅が拡張した棒状の前記締結ソケット結合用雄ネジ部にネジ締結されると同時に前記突出帯状の係止段部及び段部が互いに密着支持されることで、前記第1接合端部材の前記締結ソケット結合用雄ネジ部が形成された拡張した棒状の端部と前記第2接合端部材の拡張した棒状の端部が向かい合って支持された状態で一体化結合を成しており、第1鉄筋と第1接合端部材の接合、第2鉄筋と第2接合端部材の接合は、溶接によることを特徴とする
また、前記第1接合端部材及び第2接合端部材の端部形状は、前記第1接合端部材の端部形状が長手方向に形成された突出部であり、第2接合端部材の端部形状が前記突出部と対応する形状になって噛み合う収容部である場合、または前記第2接合端部材の端部形状が長手方向に形成された突出部であり、第1接合端部材の端部形状が前記突出部と対応する形状になって噛み合う収容部である場合の中で選択されたいずれか一つであり、前記第1接合端部材及び第2接合端部材の端部形状が互いに取り替えられて実施できることを特徴とする。
また、前記第1接合端部材及び第2接合端部材の端部形状は、前記第1接合端部材の端部の形状が長手方向中心から突出した円錐、円錐台、丸頭円錐、円柱、多角錐、多角錐台、丸頭多角錐、多角柱、切断球形、切断楕円球形、長手方向に垂直な平面及び凹凸面の中で選択されたいずれか一つであり、第2接合端部材の端部形状が前記第1接合端部材の端部形状と対応する形状を成す前記第1接合端部材の端部形状の収容部である場合、または前記第2接合端部材の端部形状が長手方向中心から突出した円錐、円錐台、丸頭円錐、円柱、多角錐、多角錐台、丸頭多角錐、多角柱、切断球形、切断楕円球形、長手方向に垂直な平面及び凹凸面の中で選択されたいずれか一つであり、第1接合端部材の端部形状が前記第2接合端部材の端部形状と対応する形状を成す前記第2接合端部材の端部形状の収容部である場合の中で選択されたいずれか一つであり、前記第1接合端部材及び第2接合端部材の端部形状が互いに取り替えられて実施できることを特徴とする。
また、前記第1接合端部材及び第2接合端部材の端部形状は、前記第1接合端部材の端部形状が長手方向に表面積が減少する区間と一定した区間がそれぞれ一つまたは複数に形成される多段傾斜型突出部であり、第2接合端部材の端部形状が前記突出部に対応する形状になる収容部である場合、または前記第2接合端部材の端部形状が長手方向に表面積が減少する区間と一定した区間がそれぞれ一つまたは複数に形成される多段傾斜型突出部であり、第1接合端部材の端部形状が前記突出部に対応する形状になる収容部の場合の中で選択されたいずれか一つであり、前記第1接合端部材及び第2接合端部材の端部形状が互いに取り替えられて実施できることを特徴とする。
また、前記凹凸面は、端面の中心から等距離に至り、長手方向断面形状が三角形、先端が丸くなった三角形、四角形、角が丸くなった四角形、切断球形、切断楕円球形、端面に形成された十字形、十文字と円形が組み合わせられた形状及び波形に屈曲した波形の中で選択されたいずれか一つが一つまたは複数設けられた凸部と、前記凸部を収容する形状の凹部とからなることを特徴とする。
また、第1接合端部材及び第2接合端部材の円錐、円錐台、丸頭円錐、円柱、多角錐、多角錐台、丸頭多角錐、多角柱、切断球形、切断楕円球形を成す端部形状の中で選択されたいずれか一つの縦断面が複数の段を成すように形成されることを特徴とし、かつ複数の段が成す角度は鋭角、直角及び鈍角の中で選択されたいずれか一角度であることを特徴とする。
また、前記係止段部及び段部は複数設けられて多段に形成されることにより、前記締結ソケットに集中する引張力による応力が分散されることを特徴とし、前記係止段部及び段部が成す角度は鋭角、直角及び鈍角の中で選択されたいずれか一角度を成すことを特徴とする。
また、前記第1鉄筋と第2鉄筋の規格が互いに異なることを特徴とする。
また、前記締結ソケットは、外面がスプライン加工される場合、外面がローレット切り加工される場合、横断面が円形を成す場合、横断面が多角形を成す場合及び一対以上の互いに対向する位置に把持面が設けられる場合の中で選択されたいずれか一つに形成されることを特徴とする。
また、前記第1接合端部材及び第2接合端部材がそれぞれ棒材の端部に接合され端部を向かい合って隣り合う棒材の継ぎ合わせができることを特徴とする。
また、前記締結ソケット結合用雄ネジ部及び前記締結ソケット結合用雌ネジ部中で選択された少なくともいずれか一つは一条ネジ以上のネジから形成され、ネジ部の形態は、三角ネジ、四角ネジ、楕円ネジ、及び丸ネジの中で選択されたいずれか一つの形態に形成され、ネジの等級は1級、2級、及び3級ネジの中で選択されたいずれか一つであることを特徴とする。
また、第1鉄筋と第1接合端部材の接合、第2鉄筋と第2接合端部材の接合は、摩擦溶接、線形摩擦溶接、アークスタッド溶接、突き合わせ溶接、超音波振動溶接、抵抗溶接、プラズマ溶接、電子ビーム溶接、レーザー溶接、高周波溶接、及びアルゴン溶接の中で選択されたいずれか一つによってなされることを特徴とする。
また、アークスタッド溶接による場合、第1接合端部材または第2接合端部材の溶接される端面中央に発火チップが挿設されることを特徴とする。
また、前記締結ソケット結合用雄ネジ部及び前記締結ソケット結合用雌ネジ部中で選択された少なくとも一つにはネジ部を保存する保護キャップが被せられることを特徴とする。
本発明の接合端部材によるソケット締結型鉄筋継手は、一体化締結を成す第1接合端部材、第2接合端部材及び締結ソケットからなり、鉄筋の端部に接合が可能な独立的な継手で、簡易な構成要素だけでも一体化結合による鉄筋の継ぎ合わせができるようにする。
また、継ぎ合わせられる鉄筋の端部が固定された場合にも、他の鉄筋継ぎ合わせ方式のように鉄筋の中心を合わせる作業または鉄筋を回してネジ部を合わせる作業が要求されなく、施工者は簡単に締結ソケットを締結方向に移動させながら回転させることだけで堅固な鉄筋継ぎ合わせを完成させることができ、施工性に優れる。
また、円錐、円錐台、丸頭円錐、円柱、多角錐、多角錐台、丸頭多角錐、多角柱、切断球形、切断楕円球形を成す端部形状及び前記形状の収容部によって鉄筋ケージの既組立の鉄筋網の継ぎ合わせられる端部が不均一な場合、一遍に接触した多数の主筋に接合された接合端部材の端部形状の先端が下部の多数の主筋端部に接合された接合端部材の端部の形状と対応する形状の収容部の所定箇所に接触して自然に案内されることによりぴったり噛み合うように突き合わせられる。
また、円錐、円錐台、丸頭円錐、円柱、多角錐、多角錐台、丸頭多角錐、多角柱、切断球形、切断楕円球形を成す端部形状の中で選択されたいずれか一つの縦断面が複数の段を成すようにそれぞれ形成されれば、第1接合端部材及び第2接合端部材の端部が突き合わせられて結合された後、接触面積が増大して軸方向圧縮力に対する応力分散の効果が発生する
また、第1接合端部材と第2接合端部材に連結部及び雄ネジ部が形成される構成を成すことにより、連結部による拡張範囲の継合長調整が可能になり、より遠く離隔した第1接合端部材及び第2接合端部材の端部形状が突き合わせられるように調整可能な効果があり、連結部によってより拡張した範囲の鉄筋長調整及び施工誤差の吸収が可能になる効果がある。
また、アークの発生を容易にするために接合端部材の溶接される端面中心に凹部を形成し、発火作用によってアークが着火するようにする発火チップを接合端部材の端面中央に挿設することで、接合端部材の幅が広い場合にもアークが端面の中心から着火することによって中心部から溶融し始めて高品質の融着面を得ることができる効果がある。
また、第1鉄筋及び第2鉄筋の規格が互いに異なるとか、異種鉄筋間の鉄筋継ぎ合わせ方法においても、端部に対する第1接合端部材及び第2接合端部材の簡単な接合によって継ぎ合わせが可能になる効果がある。
また、鉄筋の継ぎ合わせだけでなく接合部の継ぎ合わせが可能な丸棒などの棒材に対して第1接合端部材及び第2接合端部材実施例によって棒材の端部にも接合可能なので、端部が向かい合って隣り合う棒材の継ぎ合わせが可能になる効果がある。
本発明による組立形態を示す斜視図である。 本発明の第1実施例による鉄筋継ぎ合わせの詳細を示す断面図である。 本発明の第2実施例による鉄筋継ぎ合わせの詳細を示す断面図である。 本発明の第7実施例による鉄筋継ぎ合わせの詳細を示す断面図である。 本発明の加工凹部の詳細を示す断面図である。 本発明の複数の段部及び係止部を示す断面図である。 本発明の第2接合端部材に突出部が形成され、第1接合端部材に収容部が形成された場合の詳細を示す断面図である。 本発明の第1接合端部材及び第2接合端部材の端部形状の詳細を示す断面図である。 本発明の第1接合端部材及び第2接合端部材の端部形状の詳細を示す断面図である。 本発明の第1接合端部材及び第2接合端部材の端部形状の詳細を示す断面図である。 本発明の第1接合端部材及び第2接合端部材の凹凸面の詳細を示す断面図である。 本発明の第1接合端部材及び第2接合端部材の凹凸面の詳細を示す断面図である。 本発明の第1接合端部材及び第2接合端部材の断面形状が多段に形成された詳細を示す断面図である。 本発明の第1接合端部材の端面に発火チップが挿設された状態の詳細を示す断面図である。 本発明の第1実施例による上側及び下側鉄筋ケージ間の鉄筋継ぎ合わせの詳細を示す部分切開図である。 本発明の第2実施例による上側及び下側鉄筋ケージ間の鉄筋継ぎ合わせの詳細を示す部分切開図である。
以下、本発明による接合端部材によるソケット締結型鉄筋継手を添付図面に基づいて詳細に説明する。
また、この明細書において、縦方向断面は鉄筋の長手方向に切開したときに現れる断面形状を意味し、横方向断面は鉄筋の長手方向に直交して切開したときに現れる断面形状を意味する。
本明細書において、図面符号はできるだけどの図においても同一参照符号を使用し、他の実施例においては便宜のために同一構成要素を他の参照符号で示すことができる。また、この明細書で使用した用語は本発明を限定しようとする意図ではなく、本発明の説明上便宜のために使われるものに解釈されなければならない。
まず、図2は本発明の第1実施例による鉄筋継ぎ合わせの詳細を示す断面図である。
本発明による第1実施例は、第1鉄筋100、第2鉄筋110、第1接合端部材120、第2接合端部材130及び締結ソケット140を含む。
まず、端部が向かい合って隣り合う鉄筋が設けられ、向かい合う2本の鉄筋はそれぞれ第1鉄筋100及び第2鉄筋110であり、前記それぞれの鉄筋は異形鉄筋及びネジ端鉄筋の中で各実施例によって選択される鉄筋である。
まず、前記第1鉄筋100の端部には第1接合端部材120が接合され、前記第1接合端部材120は鉄筋の長手方向に形成される長さ調整部材であり、第1鉄筋100と結合される端部は断面積の幅が第1鉄筋100の外面に繋がるように類似した幅の規格に形成されることができ、鉄筋の継ぎ合わせ連結のために、第2接合端部材130と突き合わせられる端部の形状は、断面積の幅が引張力を支持するように、必要によって断面積の幅を調整して実施することができる。
前記第1接合端部材120の鉄筋側接合面は端面が鉄筋の長手方向に直交するように精密せん断加工して接合面の品質を高めることが好ましい。
前記第1接合端部材120の外面には長手方向に形成される締結ソケット140結合用雄ネジ部121が設けられる。前記雄ネジ部121は後述する締結ソケット140と結合して一体を成す締結ソケット140結合用雄ネジ部121であって、雄ネジ部が形成される区間の範囲は前記締結ソケット140による継ぎ合わせができるようにする結合長及び寸法をなす。前記ネジ区間の範囲は締結されるべき鉄筋の横断面直径の幅と類似した幅を成すようにすることが好ましい。前記ネジ部は、第1接合端部材120の精密な継ぎ合わせのために、ネジ部の多様な形状及び等級の実施例が可能である。
前記第1接合端部材120と突き合わせられる第2接合端部材130は、第1接合端部材120と同様に、長手方向に伸びた部材であり、他端部は第2鉄筋110の端部に接合され、前記第1接合端部材120に突き合わせられる一端部の形状は前記第1接合端部材120に対応する多様な実施例が可能である。前記第2接合端部材130の突き合わせられる側の横断面の幅と前記第1接合端部材120の突き合わせられる側の横断面の幅は外面が繋がる構造を成すようにし、前記締結ソケット140結合用雄ネジ部121が形成された接合端部材の幅がネジ部の高さだけ増加するように広く実施することが好ましい。
また、前記第2接合端部材130の一端部から離隔するとともに長手方向の軸方向への一端部が長手方向に対して垂直な段部131を成す形状となる。前記段部131は一つまたは複数設けられることができ、継ぎ合わせられる鉄筋の規格が大きな場合には、段部131が複数設けられることが好ましい。
したがって、前記第2接合端部材130の幅は、前記第2接合端部材130が接合される前記第2鉄筋110の幅に前記段部131の幅が加わった形状を成し、段部131が複数の場合には、複数の段部131の幅が全て合わせられた形状となり、前記第2接合端部材130は前記第2鉄筋110に連結される構造を成すように類似した幅を持つが、段部131の形状によって中間部で段差が形成された形状を成す。
前記第1接合端部材120と第2接合端部材130の端部が付き合わせられた後、前記第1接合端部材120と第2接合端部材130の締結のために、締結ソケット140の内面に前記突き合わせられた端部が充分に収容され、収容された後には突き合わせられた端部の継ぎ合わせが堅くなるように、前記第1接合端部材120と第2接合端部材130の突き合わせられた端部の形状外面が前記締結ソケット140の内面に密着するようにする。
したがって、長手方向に一側と他側が開口した中空形であり、内面の幅は前記第1接合端部材120及び第2接合端部材130の外面を収容する幅に形成され、長手方向に延設されて第2接合端部材130の前記段部131に係止された後にも、前記締結ソケット140によって第1接合端部材120及び第2接合端部材130の突き合わせられた端部が収容できるように形成される。したがって、締結ソケット140は長手方向に伸びて第1接合端部材120及び第2接合端部材130の外面を全て取り囲んで収容するように長手方向に延設され、前記締結ソケットの内面には、前記第1接合端部材120の外面の締結ソケット140結合用雄ネジ部121と螺合される雌ネジ部141が形成される。
また、前記第2接合端部材130の段部131に係止可能な形状である係止段部142が内面に一つまたは複数形成され、前記第2接合端部材130の段部131に係止された後、前記第1接合端部材120の締結ソケット140結合用雄ネジ部121に前記雌ネジ部が締結されることにより、一側は前記段部131と係止段部142の支持によって固定され、他側は前記ネジ部の結合によって固定される。
前記段部131及び係止段部142の形状が締結過程で容易に精巧な係止を成すようにするために、前記段部131及び係止段部142を成す面は前記締結ソケット140の長手方向に対して鋭角、直角及び鈍角の中で所望の角度を成すように形成できる。すなわち、前記段部131の縦方向断面形状が長手方向中心への端面の軸方向に対して鋭角を成すように形成し、これに係止される前記係止段部142の形状も同一形状を成すようにすれば、締結過程で前記締結ソケット140が締結方向に進行するにつれて、前記締結ソケット140の係止段部142の鋭角面による係止が前記段部131及び係止段部142の面が直角のみに形成された場合より容易になされることができ、係止された後にも密着支持面の領域が増大するので、より堅く一体化結合を成すことができる。
このために、前記締結ソケット140は、前記第2接合端部材130が前記第2鉄筋110に接合されるに先立ち、前記第2接合端部材130に先に結合されることで、前記第2接合端部材130が前記第2鉄筋110に接合された後、前記締結ソケット140が前記第1接合端部材120の方向に移動することができるようにする。
前述した構成によって締結される過程は、前記第2接合端部材130が第2鉄筋110に接合された後、前記第1接合端部材120が前記第2接合端部材130の端部に突き合わせられれば、前記締結ソケット140の係止段部142が前記第2接合端部材130の段部131に密着支持されるように、前記第1接合端部材120の方向に前記締結ソケット140を前進させながら締結ネジ方向に回転させて前記雌ネジ部と雄ネジ部が結合するようにして、前記第1接合端部材120と第2接合端部材130が前記締結ソケット140によって一体化するようにする。
一体化締結を成す前記第1接合端部材120、第2接合端部材130及び締結ソケット140は鉄筋の端部に接合可能な独立的な継手であって、簡易な構成要素のみでも一体化結合ができるようにする。
すなわち、前記締結ソケット140を結合方向に回転させることにより、前記締結ソケット140の係止段部142が前記段部131に完全に密着して前記第2接合端部材130を牽引して移動させ、前記係止段部142及び段部131によって前記第1接合端部材120と第2接合端部材130が互いに強く牽引されることにより、前記第1接合端部材120と第2接合端部材130の端部の間に完全に密着され、前記締結ソケット140をさらに結合方向に回転させることによって前記第1接合端部材120と第2接合端部材130の圧迫締結ができあがる。
すなわち、継ぎ合わせられる鉄筋の端部が固定された場合にも、他の鉄筋継ぎ合わせのように鉄筋の中心を合わせる作業または鉄筋を回してネジ部を合わせる作業が要求されなく、施工者は簡単に前記締結ソケット140を締結方向に移動させながら回転させることだけで堅固な鉄筋継ぎ合わせを完成させることができ、施工性に優れる。
本実施例の構成要素である前記第1接合端部材120、第2接合端部材130及び締結ソケット140をより詳細に説明すれば、接合端部材が前記締結ソケット140と螺合して一体化され、前記接合端部材が二つに分離されて第1接合端部材120と第2接合端部材130になり、前記第1接合端部材120と第2接合端部材130を2本の鉄筋にそれぞれ接合させて一体化した後、前記締結ソケット140で前記二つの接合端部材をネジ締結して両鉄筋を継ぎ合わせる構成である。
まず、第1接合端部材120は、第1鉄筋100の形状及び幅が同一ないし類似して継ぎ合わせられる構造を持つように、一側の端部側形状が横断面円形の棒状であり、他側の端部側形状は端部側形状の幅が拡張して第2接合端部材130の端部側幅と類似するように形成されて少し幅が大きな棒状であり、拡張した部分に締結ソケット結合用雄ネジ部121が形成される。これにより、第2接合端部材130の端部側形状の幅にネジ部の高さを加えた幅を持つことになり、長手方向において端部付近で幅が拡張して段差をなす棒状になる。
すなわち、第1接合端部材120の端部の幅は第2接合端部材130の端部側幅よりは前記締結ソケット140に結合されるネジ部の高さだけ大きく形成される。したがって、第1接合端部材120は第2鉄筋110方向の端部付近で段差構造を成す棒状になる。したがって、前記段差構造によって第1鉄筋100の形状同一ないし類似した幅の棒状で、長手方向の外面に第2鉄筋110方向の端部付近で幅が階段状に段差をなして拡張する形状の棒状になる。階段状に拡張する形状は鋭角、直角、鈍角及びテーパー状の中で選択されたいずれか一つの拡張形状を含み、どんな形態であっても幅が拡張する構造はいずれも含まれる。
前記第2接合端部材130も第2鉄筋110の形状及び幅が同一ないし類似して継ぎ合わせられる構造を持つように、横断面が円形を成して一側の端部側形状が棒状で、他側の端部側形状は少し幅が拡張した棒状であり、前記締結ソケット140が外面で遊動することができるように前記締結ソケット140の内面よりちょっと小さな幅に形成され、遊動する前記締結ソケット140の係止段部142が係止される突出帯状の段部131が形成されて段差構造の棒状になる。したがって、前記段差構造によって第1接合端部材120の端部形状と同一ないし類似した幅を成すように第1鉄筋100方向の端部付近で幅が階段状に段差をなして拡張する形状になる。階段状に拡張する形状は、幅が拡張する構造であればどんな形状でも含まれる。
前記突出帯状の段部131は第2接合端部材130の幅が拡張した棒状付近から第2接合端部材130の端面まで取り囲む突出帯状になるとか、前記第2接合端部材130の幅が拡張した棒状付近で幅が減少して取り囲む突出帯状を成すことができる。前記段部131が幅が減少して取り囲む突出帯状を成す場合、前記第2接合端部材130の長手方向に段部131が終わる地点以後の形状は棒状であり、その幅が段部131が始まる前の棒状の幅と同一であるとかそれから少し調整できる。
前記締結ソケット140の内面は円筒状になり、長手方向を軸にしてネジ締結方向に回転可能になるように内面が円周面を成し、前記第2接合端部材130の外面で遊動するとかネジ締結のために回転方向に遊動することができ、全体として棒状の接合端部材の幅を取り囲んで遊動することが可能な構造を持つ。また、前記第2接合端部材130の段部131に係止できるように、前記締結ソケット140の内面の前記締結ソケット結合用雌ネジ部141の反対側端部に突出帯状に中心方向に突出した係止段部142が設けられる。前記段部131は前記第2接合端部材130の外面に突出帯状を成し、前記係止段部142は前記締結ソケット140の内面に突出帯状を成す。
前記締結ソケット140の内面は長手方向を軸にしてネジ締結方向に回転可能に円周を成し、また締結ソケット結合用雌ネジ部141が形成されるので、締結ソケット140の内部に第2接合端部材130の幅が拡張した棒状が取り囲まれ、第1接合端部材120の方向にもっと突出する端部の内面に締結ソケット結合用雌ネジ部141が形成されることにより、第2接合端部材130の幅が拡張した棒状及び第1接合端部材120の幅が拡張した棒状が互いに突き合わせられる構造を成すとともに、締結ソケット140が第1接合端部材120の幅が拡張した棒状の前記締結ソケット結合用雄ネジ部121にネジ締結できるようにし、ネジ締結と同時に前記突出帯状の係止段部142及び段部131が互いに強く密着支持されることにより、前記第1接合端部材120の前記締結ソケット結合用雄ネジ部121が形成された拡張した棒状の端部と前記第2接合端部材130の拡張した棒状の端部が互いに支持された状態で一体に結合される。
一方、図6を参照すれば、継ぎ合わせられる鉄筋の規格によって端部で発生する引張力は前記締結ソケットと第1接合端部材の螺合構造及び前記締結ソケットの係止段部と前記第2接合端部材の段部の密着支持構造によって支えられるので、前記係止段部170と段部171を複数の段に形成すれば互いに順次密着支持された複数の段部171によってそれぞれ引張力が分散されるので、安定した支え構造を成すことができる。
前記段部131及び係止段部142が締結される鉄筋の引張に耐えるように、前記段部131及び係止段部142の断面積は接合される鉄筋の断面積と同一であるかあるいは接合される鉄筋の断面積に対して鉄筋の強度によって微量加減される面積に形成される。
また、前記第1接合端部材120及び第2接合端部材130が突き合わせられる端部の形状は非常に多様な実施例が可能である。
まず、前記第1接合端部材120の端部形状が長手方向に形成された突出部で、第2接合端部材130の端部形状が前記突出部と対応する形状になって噛み合う収容部の場合が可能である。すなわち、第1接合端部材120から端部が突出し、前記突出する端部は突出形状の特徴によって第1接合端部材120及び第2接合端部材130の突き合わせられる作用が技術的に簡易な構成を成すことができる。前記第1接合端部材120及び第2接合端部材130の突き合わせられる作用は単一鉄筋と鉄筋の結合においてだけでなく、鉄筋ケージの結合作業において鉄筋ケージを成す一連の主筋が下側に配置された鉄筋ケージの主筋と円滑に結合するようにする技術的特徴を提供する。前記第2接合端部材130の端部形状を第1接合端部材120と対応する形状に形成し、第1接合端部材120の方向に突設されるものではなくて凹設されて収容部を成すように第2鉄筋110方向に形成すれば、前記突出部とぴったり噛み合う収容部を成すことができる。
一方、図7を参照すれば、前記突出部は必ずしも第1接合端部材120に設けられなければならないものではなく、第2接合端部材130に突出部132が設けられ、反対に第1接合端部材120に前記突出部の収容部122が設けられることができる。すなわち、突出方向と収容方向の形成は鉄筋継ぎ合わせの位置及び条件によって互いに取り替えて選択的に実施可能である。
図8及び図10を参照すれば、前記第1接合端部材120の端部形状は、例えば長手方向中心から突出した円錐810、円錐台820、丸頭円錐830、円柱、多角錐、多角錐台840、丸頭多角錐、多角柱、切断球、切断楕円球850、長手方向に垂直な平面860及び凹凸面の中で選択されたいずれか一つであることができる。
まず、長手方向中心から突出した円錐810の形状は端部形状の縦断面が円錐810の先端が第2鉄筋110方向に向かう形状を成し、前記円錐810の下部円周は前記第1鉄筋100の断面積に対して多様な比例を成すように形成できる。下部円周が前記第1鉄筋100の断面積に対応するように形成されれば、前記円錐810形状の下部円周に至るまで横断面積が増加し、前記第1鉄筋100の断面積より減少するように形成されれば、前記円錐810の形状の下部円周に至るまで横断面積が減少する。
図15を参照すれば、前記円錐810形状の一第1接合端部材120の端部は、鉄筋ケージの組立において、鉄筋ケージの既組立鉄筋網の継ぎ合わせられる端部が不均一な場合、一遍に接触した多数の主筋端部に接合された第1接合端部材120の端部形状である前記円錐810形状の先端が下部の多数の主筋端部に接合された第2接合端部材130の前記円錐810の形状と同一形状の収容部の所定箇所に接触して自然に案内されることによってぴったり噛み合うように突き合わせられる。
すなわち、上側の鉄筋ケージを揚重装備で揚重して、下側の鉄筋ケージに連結される鉄筋ケージ端部の中心軸を一致させ、それぞれの鉄筋も中心線が一致するように調節しながら上側の鉄筋ケージを徐々に下降させれば、上側鉄筋網の鉄筋端部に接合された第1接合端部材120の円錐810形状の突出部が前記第2接合端部材130の円錐810形状の収容部によって案内され、中心軸が自然に合わせられて突き合わせられ、突き合わせられた状態で各鉄筋網の鉄筋に既に結合された前記締結ソケット140を第1鉄筋100の方向に持ち上げて締結することによって上側と下側の鉄筋ケージが締結される。
また、前記円錐810の形状の所定箇所で横方向に平面状に切断された形状の円錐台820の形状を成すことができる。または、前記円錐の先端が丸く加工されて、先端が丸い形状を成す円錐810の形状を成すことができる。また、円周は中心から前記第1接合端部材120の外径範囲内で所定距離で離隔して形成されることで、突き合わせを可能にする円柱形のボスに実施できる。また、円柱形の端面が平面の場合、前記平面端部に円錐、円錐台、丸頭円錐、円柱、多角錐、多角錐台、丸頭多角錐、多角柱、切断球形、切断楕円球形及び凹凸面がさらに設けられた形状に実施できるので、このような変形実施例も本発明の範疇に含まれる。
また、長手方向中心から突出した前記第1接合端部材120の端部形状は、第1鉄筋100方向の下部が多角形を成して上部に行くほど断面積が減少して先端を成す多角形から形成された多角錐、前記多角錐が所定箇所で横方向に平面状に切断された形状である多角錐台840の形状成すことができる。または、前記多角錐の先端が丸く加工されて先端が丸い形状を成す丸頭多角錐形を成すことができる。また、多角形を成す角が中心から前記第1接合端部材120の外径範囲内で所望距離に形成されて、突き合わせができるようにする多角柱形のボスに実施できる。また、多角柱形の端面が平面の場合、前記平面端部に円錐、円錐台、丸頭円錐、円柱、多角錐、多角錐台、丸頭多角錐、多角柱、切断球形、切断楕円球形及び凹凸面がさらに設けられた形状に実施できるので、このような変形実施例も本発明の範疇に含まれる。
また、前記端部形状が、端部間の突き合わせが円滑になるように曲面を成すように、切断球形を成すとか、あるいは一側の内径が拡張して楕円を成し、表面曲率が箇所によって異なる切断楕円球形850を成すことができる。
すなわち、前記切断球形及び切断楕円球形850は、完全な球形または回転楕円体が所定箇所で切断された形状が前記第1接合端部材120の端部形状を成す場合を含むもので、前記接合端部材の端面に平行であるとか平行でない面によって切断された形状のもので、明確な辺または頂点を持つ場合あるいは明確な辺または頂点を持っていなくて丸い形状の場合のいずれも含む。
また、前記第1接合端部材120の端部形状は、長手方向に垂直な平面860を成して突き合わせられる端面が平面860を成すように形成されることができ、または凹凸面を成すようにすることもできる。このような形状においても、前記第2接合端部材130の端部形状を第1接合端部材120と同一形状にして、第1接合端部材120の方向に突設されるものではなく凹設されて収容部を成すように第2鉄筋110の方向に形成されれば、前記突出部にぴったり噛み合う収容部を成すことができる。
前記端部形状は必ずしも第1接合端部材120に設けられなければならないものではなく、第2接合端部材130に前記突出部132の形状が設けられ、反対に第1接合端部材120に前記形状の収容部122が設けられることができる。すなわち、突設方向と収容部の凹設方向の形成は鉄筋継ぎ合わせの位置及び条件によって取り替えて選択的に実施可能である。
一方、図9を参照すれば、前記第1接合端部材120または第2接合端部材130の端部形状は、例えば長手方向中心から突出した多段傾斜型突出部835を成すことができる。
すなわち、長手方向に末端に多段を成す傾斜型突出部であって、多段傾斜型突出部835は、長手方向に中心軸線に垂直な端面の表面積が減少する区間(D1)と表面積が一定した区間(D2)からなる。
垂直鉄筋の連結作業の際、前記表面積が減少する区間(D1)からは既接合された接合端部材の接触面から前記多段傾斜型突出部835が収容部に案内されて挿入される。
これにより、先組立鉄筋網の束結合の際、それぞれの主筋が前記多段傾斜型突出部835によって軸心合わせができるので、先組立工法が適用された鉄筋網の現場施工時に連結継合部の構成が容易になる効果がある。
また、前記表面積が一定した区間(D2)からは、水平鉄筋の連結作業において、連結のために前記収容部内に挿入されることにより、断面積が一定した区間による支持点(P)から継ぎ合わせられる鉄筋が収容部の外部に滑って下るとかあるいは継ぎ合わせられる鉄筋が中心軸線から離脱する危険が除去されるので、梁構造などのための水平鉄筋の連結作業の効率性が向上することができる。
前記多段傾斜型突出部835の収容部は前記多段傾斜型突出部835と対応する形状に形成される。前記収容部が多段傾斜型突出部835の形状と対応する内面形状を成す場合には挿入凹部になり、収容部に前記多段傾斜型突出部835が挿入されて整合を成すことになる。
前記第1接合端部材120及び第2接合端部材130の前記多段傾斜型突出部835と収容部は互いに取り替えて実施することができる。
図11及び図12を参照すれば、前記第1接合端部材120の端部形状を成す前記凹凸面は前記端面から突出する三角形910、四角形920、先端が丸くなった三角形、角部が丸くなった四角形930、切断球形、切断楕円球形、端面に形成された十字形940、及び十字形と円形が組み合わせられた形状、波形950の中で選択されたいずれか一つが一つまたは複数設けられた凸部と前記凸部を収容する形状の凹部からなることができる。
まず、端面の中心から等距離で伸び、長手方向断面形状が三角形910を成す一つまたは複数の凸部が形成され、これに対応して第2接合端部材130には前記凸部を収容する凹部が形成された形状を成すことができる。
すなわち、前記三角形910の凹凸面は、前記第1接合端部材120の縦断面を見れば、三角形910の突出部が多数形成された形状であり、端面を見れば、上端に角が形成された円形の凸部となり、第2接合端部材130の縦断面を見れば、対応形状が凹設された形状であり、端面を見れば、前記円形の凸部を収容する凹部となる。また、先端がラウンド処理されれば、丸い形状の三角形凹凸面を成す。
前記凹凸面は、三角形910だけでなく四角形920に形成された凹凸面を成すことができる。すなわち、前記四角形920の凹凸面は、前記第1接合端部材120の縦断面を見れば、四角形920の突出部が多数形成された形状であり、端面を見れば、上端に二つの角が形成された円形の凸部となり、第2接合端部材130の縦断面を見れば、対応形状が凹設された形状であり、端面を見れば、前記円形の凸部を収容する凹部となる。また、先端がラウンド処理されれば、丸い形状の四角形930の凹凸面を成す。
また、前記第1接合端部材120の端面を見たとき、端部形状が多数の切断球または切断楕円球が突出した形状の凹凸面を成すことができる。
また、前記第1接合端部材120の端面を見たとき、十字形940を成す突出部が設けられた形状になることができる。前記十字形を成す交差した直線状の突出部は多数が中心を基準に放射状に配列されてもっと細密な交差形状を成すとかあるいは前記十字形940が円形の突出部と組み合わせられることができる。
また、前記第1接合端部材120の端面に波形950の突出部が形成され、第2接合端部材130の端面には前記波形950の収容部が形成されることによって凹凸結合できる。
前記凹凸面においても、第1接合端部材120に凸部が形成されるものではなく、第2接合端部材130に凸部が形成され、第1接合端部材120に収容部が形成されるように、互いに取り替えて実施することができる。
前記凹凸面の突出形状が前記第1接合端部材120の直径に比べてあまり小さければ、端部形状どうし突き合わせられる過程で噛みあい難く、あまり大きければ、実施例によって第1接合端部材120及び第2接合端部材130の継手施工時に干渉や変形が発生することができるので、選択的に最適の形状を成すように実施することが好ましい。
前述した第1接合端部材120及び第2接合端部材130の端部形状においては、前記いずれか一つに実施例が限定されるものではなく、精密噛み合いが可能な前記形状が任意に組み合わせられた形状までも容易に導出可能である。
前記第1接合端部材120、第2接合端部材130及び締結ソケットはそれぞれ個別構成要素で、特に第1接合端部材120及び2接合端部材はそれぞれ1片からなる独立部材であり、本発明の第1実施例はそれぞれ1片からなる三つの部品が1組を成して鉄筋継ぎ合わせを可能にする。
次に、図3は本発明の第2実施例による鉄筋継ぎ合わせの詳細を示す断面図である。
本発明の第2実施例は、第1鉄筋200、第2鉄筋210、第1接合端部材220、第2接合端部材230、締結ソケット240、中間接合部材250及びロックナット体260を含む。
前記第1実施例の場合、既に配筋されてもう遊動することができない鉄筋の継ぎ合わせは両端部に調整可能な余裕が存在しなくなって第1接合端部材220及び第2接合端部材230の端部が互いに突き合わせられることができないときには締結が容易でなくなる。したがって、第2実施例においては、前記第1接合端部材220と鉄筋の間、あるいは第2接合端部材230と鉄筋の間に中間接合部材250を介装させるとか前記第1接合端部材220と第2接合端部材230の間に中間接合部材250を介装させることで、第1鉄筋200と第1鉄筋210との継合長の調整が必要な場合に実施することができる。
まず、例えば前記中間接合部材250が第1鉄筋200と第1接合端部材220の間に介装される場合を説明すれば、前記中間接合部材250は長さ調整部材で、一端部は第1鉄筋200の端部に接合され、一端部から他端部に至る所定区間には中間接合部材250結合用雄ネジ部251が形成され、前記第1接合端部材220には前記中間接合部材250を収容する収容孔221が形成され、前記収容孔221の内面には中間接合部材250結合用雌ネジ部222が形成されることにより、前記第1接合部材が前記中間接合部材250に螺合された後、結合位置の精密な微細調整が可能になる。すなわち、継ぎ合わせられる鉄筋が既に配筋された場合、または鉄筋ケージの結合においてあまり遠く離隔するとか不均一な鉄筋間の離隔距離のため、前記第1接合端部材220及び第2接合端部材230の端部形状が突き合わせられることができない場合、または配筋された鉄筋の施工誤差が発生し、これを吸収するために、前記中間接合部材250に螺合された第1接合端部材220を前後進するように回転させることで、第2接合端部材230の端部にぴったり噛み合うように位置を調整することが可能になる。位置調整が完了した後、締結ソケット240の結合まで完了されれば、ロックナット体260を締め付けて前記第1接合端部材220の位置を固定する。したがって、前記ロックナット体260は、締め付けによる位置固定のために、中間接合部材250に先に螺合された後に第1接合端部材220が螺合されることが好ましい。
また、図16を参照すれば、例えば先組立鉄筋網である上側鉄筋ケージが下側鉄筋ケージに締結される場合、揚重装備によって第1接合端部材220が端部に接合された主筋から構成された上側鉄筋ケージが下側鉄筋ケージと端部合わせされて下ろされ、先に両端部が突き合わせられた鉄筋に対して前記締結ソケット240を持ち上げて締結した後、第1接合端部材220及び第2接合端部材230の端部間の離隔が発生した鉄筋に対して前記中間接合部材250を前後進させて前記第1接合端部材220及び第2接合端部材230の端部形状が突き合わせられるように調整した後、前記締結ソケット240を持ち上げて残りの鉄筋を一体化締結し、前記ロックナット体260にロックすることで、上側及び下側鉄筋ケージ間の締結が完了される。
前記ロックナット体260は横断面が円形または多角形を成して、商用のナットのように六角形を成すとか六角以上の多角形を成すことができる。前記中間接合部材250に対応する前記第1接合端部材220の端部は、端面から所定距離まで、断面形状が円形または多角形または向かい合う一対または複数対の平面である把持面が設けられる形状の中で選択して実施できる。これにより、前記ロックナットの締め付けの際、第1接合端部材220をより堅く工具で把持することができるので、前記ロックナットの締め付けが円滑になり、前記ロックナット体260が前記第1接合端部材220に密着するように締結することにより、引張時に鉄筋の初期スリップが防止される効果がある。好ましくは、横断面が六角以上の多角形を成して工具把持が容易になるようにし、六角形より横断面積が増大するように実施することができる。
前記中間接合部材250は第2接合端部材230と第1鉄筋200の間に介装されるとか前記第1接合端部材220及び第2接合端部材230の両側のいずれにも設けられることで、鉄筋の離隔距離に適当な継合長の調整を行うことができる。すなわち、前記中間接合部材250が両側に設けられた場合には、もっと拡張した継合長範囲の調整が可能である。前記締結ソケット240は第1実施例と同様な構成を持つ。
次に、図4は本発明の第7実施例による鉄筋継ぎ合わせの詳細を示す断面図である。
本発明による第7実施例は、第1鉄筋710、第2鉄筋720、第1接合端部材730、第2接合端部材740、中間接合部材760、締結ソケット750及び連結ソケット770を含むが、第1接合端部材730及び第2接合端部材740の詳細構成が第2実施例と違う構成を持つ。
前記中間接合部材760は、前記第1鉄筋710と第1接合端部材730の間または前記第2鉄筋720と第2接合端部材740の間の中でいずれか一方にだけ介装されるとか両方に介装されることができる。
まず、例えば第2鉄筋720と第2接合端部材740の間に前記中間接合部材760が介装される構成を説明すれば、前記第2鉄筋720の端部には前記中間接合部材760が接合され、接合される前記中間接合部材760の一端部から他端部に至る所定区間に中間接合部材760と連結ソケット770の螺合のための中間接合部材760結合用雄ネジ部761が形成され、前記中間接合部材760に対応し、かつ連結ソケット770の螺合のために、前記第2接合端部材740の他端部には他端部から所定区間連結部741が形成され、前記連結部741の区間には前記連結ソケット770との螺合のための連結ソケット770結合用雄ネジ部742が形成され、前記雄ネジ部761、742がそれぞれ形成された第2接合端部材740と前記中間接合部材760の連結のために前記連結部741と前記中間接合部材760を連結する連結ソケット770が設けられ、前記連結ソケット770は長さ調整部材で、一側と他側が開口した中空体であり、前記連結ソケット770の内面には前記連結ソケット770結合用雄ネジ部742及び中間接合部材760結合用雄ネジ部761と螺合される雌ネジ部771が形成され、前記連結ソケット770を締結方向に回転させることで、中間接合部材760との結合を可能にする。
第7実施例は前記第2実施例と同様に中間接合部材760が介装される構成であるが、前記第2実施例は中間接合部材760を収容するように前記第1接合端部材730と第2接合端部材740に収容孔及び雌ネジ部が形成される構成であり、第7実施例はこれとは異なり、第1接合端部材730と第2接合端部材740に連結部741及び雄ネジ部が形成される構成を持つ。
本実施例によれば、第1接合端部材730と第2接合端部材740に対して前記連結部741が形成され、前記連結部741に連結ソケット770結合用雄ネジ部が形成される構成を成すことにより、第2実施例による継合長調節の場合より遠く離隔した範囲で前記第1接合端部材730及び第2接合端部材740の端部形状が突き合わせられるように調整可能な効果があり、前記連結部741によってより拡張した範囲の鉄筋長の調整及び施工誤差の吸収が可能になる効果がある。
前記密着支持される第1接合端部材730及び第2接合端部材740の端部形状は多様な形状の実施例が可能であり、第1実施例の第1接合端部材730及び第2接合端部材740の端部形状と同一構成を持つ。前記締結ソケット750は第1実施例と同様な構成を持つ。
本発明による前記第1実施形態、第2実施形態、第7実施例において、各実施例の第1鉄筋100、200、710と第1接合端部材120、220、730の接合、第2鉄筋110、210、720と第2接合端部材130、230、740の接合、第1鉄筋200、710と中間接合部材250、760の接合、及び第2鉄筋210、720と中間接合部材250、760の接合は多様な実施例があり得るが、溶接による実施例について説明する。
例えば、摩擦溶接、線形摩擦溶接、アークスタッド溶接方式、突き合わせ溶接、超音波振動溶接、抵抗溶接、プラズマ溶接、電子ビーム溶接、レーザー溶接、高周波溶接及びアルゴン溶接の中で選択されたいずれか一つによって接合される構成が考えられる。
以下、前記第1鉄筋と第1接合端部材の接合を例として説明すれば、まず摩擦溶接は二つの金属材料を摩擦溶接機でクランピングし、一方は固定させて他方を2,000rpm内外の高速で摩擦回転させれば、その摩擦面で発生する600℃〜1,200℃内外の高熱によって端部の接合が可能になる。この際、瞬間的に回転を急停止しながら高圧力で加圧して二つの材料を接合する方法で第1鉄筋をクランピングした状態で第1接合端部材を高速回転させ、接合される端部を第1鉄筋の端部と摩擦(friction)するように密着させて回転させ、高熱によって端部が接合可能になれば、前記第1接合端部材を第1鉄筋方向に加圧して接合させることになる。実際の接合においては、前記接合される端部を予め加熱して高温状態に到達し易くし、高温状態の誘導過程でも第1接合端部材の加圧によって自然な接合を誘導する。
線形摩擦溶接は接合しようとする二つの素材を直線方向に往復運動させて接合する方法である。これは摩擦溶接において接触断面のいずれか一方は必ず円形でなければならないという点を克服した方法である。本発明においては、第1接合端部材の横断面の形状が円形でない多角形の場合、第1鉄筋との接合が容易な摩擦接合方法である。
前記摩擦溶接及び線形摩擦溶接は固相接合であり、接合に必要なエネルギーを機械的方式で得ることになる。
次に、アークスタッド溶接方式は部材であるスタッドボルトまたは丸棒などの先端と母材の間にアークを発生させることによって溶着部位が溶融すれば加圧して接合する方式で、アークタイプとコンデンサータイプ(C.D Type)が使われる。アークタイプは主に6相制御の電源供給源によってボルトまたはピン溶接に容易であり、コンデンサータイプは主にシリコン制御整流器(SCR)による単相電源供給装置を使ってピン溶接を行う。実際の接合においては、陰極に母材を接地させ、陽極にワイヤ(wire)を連結して電源を供給して溶接を行う。すなわち、スタッド部材を取り替えて第1接合端部材にスタッドと一緒に陰極を接地させ、第1鉄筋に陽極を接地して、スタッド溶接機の溶接に必要な電流を受け、第1接合端部材の端部を第1鉄筋の端部に接触させた後、溶接機からの溶接電流が通電された状態で第1接合端部材を少し離隔させてアークを発生させ、高熱のアークによって溶融すれば、さらに第1接合端部材を加圧して溶融部位を融着させる。
図14を参照すれば、前記アークの発生を容易にするために、前記第1接合端部材の溶接される端面には中心に凹部を形成し、発火作用によってアークが着火するようにする発火チップ970が挿設できる。前記発火チップ970は前記第1接合端部材の端面中央に挿設されることにより、前記接合端部材の幅が広い場合にもアークの発生を円滑にして高品質の融着面を得ることができるようにする。すなわち、接合端部材の溶接される端面の中心に凹部を形成して発火作用させてアークが着火するようにする発火チップ970を接合端部材の端面中央に挿設すれば、接合端部材の幅が広い場合にもアークが端面の中心から発生して中心部から溶融して接合されることによって高品質の融着面を得ることができる効果がある。また、前記溶着される端面を取り囲むようにセラミック材のフェルールを設置して溶接品質を向上させることができる。
突き合わせ溶接、超音波振動溶接、抵抗溶接、プラズマ溶接、電子ビーム溶接、レーザー溶接、高周波溶接及びアルゴン溶接による第1接合端部材及び第1鉄筋の接合は両母材に対する溶接継ぎ合わせ分野の通常の技術者に自明な技術的構成であるので省略する。
ただ前記溶接方法のいずれの溶接方法を選択する場合であっても、溶接される第1接合端部材の端面及び第1鉄筋の端面をもちろんのこと、接合される端面は鋸工具及びせん断加工の容易な加工工具を用いて精密切断加工するとか切断された端面を切削加工するとかすることにより、溶接による接合の際、接合面の溶接品質を向上させるようにすることが好ましい。
また、本発明によれば、継ぎ合わせられる鉄筋の規格が互いに異なる場合、つまり第1鉄筋100、200、710及び第2鉄筋110、210、720の規格が互いに異なる場合及び異種の鉄筋間結合の方法においても端部に対する第1接合端部材120、220、730及び第2接合端部材130、230、740が前記実施例によって接合され、締結ソケット141、751によって締結されることにより、多種の鉄筋の継ぎ合わせが可能になる効果がある。
また、前記鉄筋の継ぎ合わせだけでなく接合部の継ぎ合わせが可能な丸棒などの棒材に対し、第1接合端部材120、220、730、第2接合端部材130、230、740、中間接合部材250、760が実施例によって丸棒などの棒材の端部にも接合できるので、端部を向かい合わせて隣り合う棒材の継ぎ合わせが可能になる効果がある。
例えば、第1実施例は前記第1接合端部材120及び第2接合端部材130が棒材の端部にそれぞれ接合される場合であり、第2実施例は一側の前記第2接合端部材230及び他側の前記中間接合部材250が棒材の端部にそれぞれ接合される場合であり、第7実施例は一側の前記第1接合端部材730及び他側の前記中間接合部材760が棒材の端部にそれぞれ接合される場合であれば、端部が向かい合って隣り合う棒材の継ぎ合わせが可能になる。
また、本発明による前記第1実施形態、第2実施形態、第7実施例において締結ソケット140、240、750、及び第7実施例において連結ソケット770は、外面がスプライン加工面、ローレット切り加工面、円形または多角形横断面形状を成す場合、及び一対または複数対の対向する把持面が設けられる場合の中で選択されたいずれか一つに形成されることにより、工具把持または締結時の回転が容易になることができる。一対または複数対の対向する把持面は締め付け時の工具の容易な使用のための平行面で、前記締結ソケット140、240、750または連結ソケット770の外面の所望位置に形成できる。
例えば、前記締結ソケット140、240、750の場合、スプライン加工及びローレット切り加工は前記締結ソケット140、240、750の外面全部または第1鉄筋の方向に向かう前記締結ソケット140、240、750の端面から所定距離、例えば約10mm〜15mm程度に限定して形成できる。また、前記多角形横断面形状及び一対以上の把持面が設けられる場合にも、前記締結ソケット140、240、750の外面全部または前記係止段部が形成される区間の外面に対応する第2鉄筋方向に向かう前記締結ソケット140、240、750の端面から所定距離、例えば約10mm〜15mm程度に限定して形成できる。
また、本発明の各実施例において、前記締結ソケット結合用雄ネジ部121、731及び雌ネジ部141、751、前記中間接合部材結合用雄ネジ部251、761及び雌ネジ部222、前記ロックナット体260のネジ、前記第1接合端部材及び第2接合端部材の連結ソケット結合用雄ネジ部742及び前記連結ソケットの内面の雌ネジ部771などのように、本発明の構成要素に含まれるネジ部の形成は解け防止及び迅速な締結のために一条ネジ以上のネジで形成することができる。ただ三条ネジは引張時に解けるおそれがあるので、必要によって二条ネジまで使うことが好ましい。
ネジの形態は、断面形状が締結に最も容易な三角ネジ、四角ネジ、楕円ネジ、及び丸いネジの中で選択されたいずれか一つの形態に形成され、ネジの等級は精密級である1級から、中級である2級及び下級である3級まで選択して実施する。従来には、1級ネジでカプラを形成する場合、締め付け作業が容易でなくて2級及び3級ネジを用いて実施されたが、本発明のソケット締結方式はネジ部のネジ締結に容易になるように形成された技術的構成によって1級ネジの使用が可能である。また、ネジの方向は左ネジまたは右ネジの中で締結方法によって選択して形成することができる。
前記第1接合端部材120、220、730、前記第2接合端部材130、230、740及び中間接合部材250、760は、鋳造、鍛造、切削加工、及び3次元プリンティング造形方法の中で選択されたいずれか一方法によって製造できる。
鋳造及び鍛造の方法は、金属素材からの形成方法において通常の技術者に自明な技術的構成を内容とするものなので省略する。
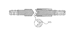
一方、図5を参照すれば、前記切削加工は、例えば旋盤加工においてバイトで前記第1接合端部材及び第2接合端部材の収容部を切削加工して製造するが、工具であるバイトの干渉によって円錐形などのように先端に行くほど次第に断面積が減少する収容部形状の場合は加工が困るので、これを解決するために中央部に凹部を設けることで、加工凹部975によって工具の干渉を回避して切削加工することができる。
また、3次元プリンティング造形法は立体造形物の3次元断面形状データを用いて素材を断面積層しながら立体造形物の造形を完成する方法で、3DP(Three Dimensional Printing)システム、SLS(Selective LaserSintering)システム及びSLA(Stereo Lithography Apparatus)システムによる造形方法を含んで20余種の造形方法が知られている。
特に、SLSシステムにおいては、ポリマーバインダーが表面に薄くコートされている特殊な金属粉末を使う。現在400系ステンレス及び300系ステンレス粉末があり、塗布された金属粉末にレーザービームを選択的に照射して、コートされたポリマーバインダーを溶かして粉末を固着させ、焼結熱処理後にブロンズ金属を溶融させて製品の内部に浸透させる過程によって形成される。本発明の第1接合端部材、第2接合端部材及び中間接合部材も金属材料を用いた3Dプリンティング造形方法によって製造可能である。
前記第1接合端部材120、220、730、第2接合端部材130、230、740、締結ソケット140、240、750及び中間接合部材250、760は金属材から形成でき、前記第1接合端部材120、220、730、第2接合端部材130、230、740、締結ソケット140、240、750及び中間接合部材250、760の強度を高めるために、前記製造方法によって形成された後、熱処理過程によって強度を高めることができる。
一方、図13を参照すれば、前記第1及び第2実施例及び第7実施例において、前記円錐810、円錐台820、丸頭円錐830、円柱、多角錐、多角錐台840、丸頭多角錐、多角柱、切断球形、切断楕円球形850を成す端部形状の中で選択されたいずれか一縦断面形状が複数の段を成すようにそれぞれ形成されれば、前記第1接合端部材120、220、730及び第2接合端部材130、230、740の端部が突き合わせられて結合された後、接触面積が増大するので、軸方向圧縮力に対する応力分散の効果が発生する。
前記複数の段を成すそれぞれの段は、鋭角、直角及び鈍角の中で選択されたいずれか一角度を成して第1接合端部材と第2接合端部材の端部形状に対する縦断面が選択された実施例の形状によってそれぞれの段が階段状に連続して全体として所定角度で傾いた形状を成すとか、例えばそれぞれの段が直角及び鈍角で形成された多段に順次連続した階段状を成すこともできる。
また、示されてはいないが、前記第1実施形態、第2実施形態、第7実施例において、工事現場に資材が移動されるとか工事現場からの資材需給及び管理の過程で外部に保護手段なしに露出されたネジ部は外部の影響によって腐食され、衝撃が加わることによってネジ部が陷沒及び毀損される。したがって、施工作業の際、不均一なネジ部によって締結そのものがなされ難い場合が発生し、施工現場によっては資材が野積みされることによってネジ部が外部に直接露出されてさびが発生するなどの問題点が発生している。これを解決するために、前記第1実施形態、第2実施形態、第7実施例の前記締結ソケット結合用雄ネジ部、前記締結ソケット結合用雌ネジ部、前記第2及び第7実施例の前記中間接合部材結合用雄ネジ部、前記中間接合部材結合用雌ネジ部、第7実施例の前記連結ソケット結合用雄ネジ部及び前記連結ソケットの内面の雌ネジ部の中で選択された少なくともいずれか一つにはそれぞれのネジ部を保存する保護キャップが被せられることが好ましい。
前記保護キャップは多様な実施例があり得るが、例えば雄ネジ部に対しては熱によって収縮作用する収縮部材を前記各実施例の雄ネジ部の周りに沿って提供した後、加熱して収縮させることで、前記雄ネジ部に収縮部材が密着した状態によって外部からの影響による腐食と衝撃によるネジ部の毀損から保護するとか、一側が開口した中空体部材を前記雄ネジ部に締まりばめするとか、前記一側が開口した中空体部材の内面に雌ネジ部を形成し、前記各実施例の雄ネジ部に螺合するようにする合成樹脂材またはゴム材から形成されたキャップ部材を被せるとか、絶縁テープが周りにかけられて接着されることによって保護キャップを成すことができる。雌ネジ部に対しては雌ネジ部に結合されるボスが形成されたキャップ部材を提供し、前記雌ネジ部に前記ボスが締まりばめされるようにするとか、前記ボスの外面に前記雌ネジ部に螺合される雄ネジ部を形成して螺合するようにする合成樹脂材またはゴム材から形成されたキャップ部材を被せることで、雌ネジ部の外部接触を最小化してほこりの浸透を防ぎ、防錆効果を持つように実施できる。
本発明は前記実施例に限定されなく、本発明の技術的思想から通常の技術者が容易に導出することができる技術的構成は本発明の均等物の範疇に属するものに解釈されなければならない。

Claims (14)

  1. 端部が向かい合って隣り合う第1鉄筋及び第2鉄筋;
    前記第1鉄筋の端部に接合され、締結ソケット結合用雄ネジ部が外面に長手方向に形成される第1接合端部材;
    一端部は前記第1接合端部材の端部形状に対応する形状に形成され、他端部は第2鉄筋の端部に接合され、前記端部から離隔した軸方向の一端部に長手方向に対して鋭角、直角及び鈍角の中で選択されたいずれか一角度を成す一つまたは複数の段部が設けられる第2接合端部材;及び
    長手方向に開口して前記第2接合端部材の外面と第1接合端部材の外面を取り囲んで収容するように長手方向に延設され、内面には前記第1接合端部材の締結ソケット結合用雄ネジ部に螺合される締結ソケット結合用雌ネジ部が長手方向に形成され、前記第2接合端部材の段部に係止されるように長手方向に対して鋭角、直角及び鈍角の中で選択されたいずれか一角度を成す一つまたは複数の係止段部が設けられた中空形の締結ソケット;
    を含み、
    前記締結ソケットの係止段部が前記第2接合端部材の段部に密着支持されるように前記第1接合端部材の方向に向けて前記締結ソケットを前進させながらネジ締結方向に回転させることで、前記第1接合端部材と第2接合端部材が前記締結ソケットによって一体化締結されることによって前記第1鉄筋と第2鉄筋が機械的に継ぎ合わせられ、
    前記第1鉄筋の端部に接合される第1接合端部材の形状は、一端部が前記第1鉄筋に継ぎ合わせられる構造を持つように第1鉄筋の幅と同一ないし類似し、横断面が円形の棒状であり、他端部は前記一端部の棒状より幅が拡張した外面に前記締結ソケット結合用雄ネジ部が形成され、第2接合端部材の拡張した棒状の幅にネジ部の高さを加えた形状の幅を成し、長手方向に端部付近で幅が段差をなして拡張した棒状であり、
    前記第2鉄筋の端部に接合される第2接合端部材の形状は、一端部が前記第2鉄筋に継ぎ合わせられる構造を持つように第2鉄筋の幅と同一ないし類似し、横断面が円形の棒状であり、他端部は前記一端部の棒状より幅が拡張するが、前記締結ソケットが外面で遊動できるように前記締結ソケットの内面よりは小さな幅に形成され、外面を取り囲んで突出帯状の段部が形成され、段部付近で幅が段差をなして拡張した棒状であり、
    前記突出帯状の段部は第2接合端部材の幅が拡張した棒状付近から第2接合端部材の端面まで取り囲む突出帯状をなすか、或いは前記第2接合端部材の幅が拡張した棒状付近に幅が減少して取り囲む突出帯状をなし、前記締結ソケットの内面は円筒状のもので、長手方向を軸としてネジ締結方向に回転可能に内面が円周面を成して前記第2接合端部材の外面で第2接合端部材の幅が拡張した棒状を取り囲むとともに遊動できるように結合され、
    前記第2接合端部材の段部に係止できるように前記締結ソケットの内面の前記締結ソケット結合用雌ネジ部の反対側端部に突出帯状に中心方向に向かって突出した係止段部が設けられ、前記締結ソケットの内面には第1接合端部材方向の端部付近に締結ソケット結合用雌ネジ部が形成され、
    第2接合端部材の幅が拡張した棒状及び第1接合端部材の幅が拡張した棒状を取り囲むように形成された前記締結ソケットが第1接合端部材の幅が拡張した棒状の前記締結ソケット結合用雄ネジ部にネジ締結されると同時に前記突出帯状の係止段部及び段部が互いに密着支持されることで、前記第1接合端部材の前記締結ソケット結合用雄ネジ部が形成された拡張した棒状の端部と前記第2接合端部材の拡張した棒状の端部が向かい合って支持された状態で一体化結合を成しており、
    前記第1鉄筋と前記第1接合端部材の接合、前記第2鉄筋と前記第2接合端部材の接合は、溶接による
    ことを特徴とする、接合端部材によるソケット締結型鉄筋継手。
  2. 前記第1接合端部材及び第2接合端部材の端部形状は、
    前記第1接合端部材の端部形状が長手方向に形成された突出部であり、第2接合端部材の端部形状が前記突出部と対応する形状になって噛み合う収容部である場合、または
    前記第2接合端部材の端部形状が長手方向に形成された突出部であり、第1接合端部材の端部形状が前記突出部と対応する形状になって噛み合う収容部である場合の中で選択されたいずれか一つであり、前記第1接合端部材及び第2接合端部材の端部形状が互いに取り替えられて実施できることを特徴とする、請求項1に記載の接合端部材によるソケット締結型鉄筋継手。
  3. 前記第1接合端部材及び第2接合端部材の端部形状は、
    前記第1接合端部材の端部の形状が長手方向中心から突出した円錐、円錐台、丸頭円錐、円柱、多角錐、多角錐台、丸頭多角錐、多角柱、切断球形、切断楕円球形、長手方向に垂直な平面及び凹凸面の中で選択されたいずれか一つであり、第2接合端部材の端部形状が前記第1接合端部材の端部形状と対応する形状を成す前記第1接合端部材の端部形状の収容部である場合、または
    前記第2接合端部材の端部形状が長手方向中心から突出した円錐、円錐台、丸頭円錐、円柱、多角錐、多角錐台、丸頭多角錐、多角柱、切断球形、切断楕円球形、長手方向に垂直な平面及び凹凸面の中で選択されたいずれか一つであり、第1接合端部材の端部形状が前記第2接合端部材の端部形状と対応する形状を成す前記第2接合端部材の端部形状の収容部である場合の中で選択されたいずれか一つであり、
    前記第1接合端部材及び第2接合端部材の端部形状が互いに取り替えられて実施できることを特徴とする、請求項1に記載の接合端部材によるソケット締結型鉄筋継手。
  4. 前記第1接合端部材及び第2接合端部材の端部形状は、
    前記第1接合端部材の端部形状が長手方向に表面積が減少する区間と一定した区間がそれぞれ一つまたは複数に形成される多段傾斜型突出部であり、第2接合端部材の端部形状が前記突出部に対応する形状になる収容部である場合、または
    前記第2接合端部材の端部形状が長手方向に表面積が減少する区間と一定した区間がそれぞれ一つまたは複数に形成される多段傾斜型突出部であり、第1接合端部材の端部形状が前記突出部に対応する形状になる収容部の場合の中で選択されたいずれか一つであり、
    前記第1接合端部材及び第2接合端部材の端部形状が互いに取り替えられて実施できることを特徴とする、請求項1に記載の接合端部材によるソケット締結型鉄筋継手。
  5. 前記凹凸面は、
    端面の中心から等距離に至り、長手方向断面形状が三角形、先端が丸くなった三角形、四角形、角が丸くなった四角形、切断球形、切断楕円球形、端面に形成された十字形、十文字と円形が組み合わせられた形状及び波形に屈曲した波形の中で選択されたいずれか一つが一つまたは複数設けられた凸部と、
    前記凸部を収容する形状の凹部とからなることを特徴とする、請求項に記載の接合端部材によるソケット締結型鉄筋継手。
  6. 第1接合端部材及び第2接合端部材の円錐、円錐台、丸頭円錐、円柱、多角錐、多角錐台、丸頭多角錐、多角柱、切断球形、切断楕円球形を成す端部形状の中で選択されたいずれか一つの縦断面が複数の段を成すように形成されることを特徴とし、かつ前記複数の段が成す角度は鋭角、直角及び鈍角の中で選択されたいずれか一角度であることを特徴とする、請求項に記載の接合端部材によるソケット締結型鉄筋継手。
  7. 前記係止段部及び段部は複数設けられて多段に形成されることにより、前記締結ソケットに集中する引張力による応力が分散されることを特徴とし、
    前記係止段部及び段部が成す角度は鋭角、直角及び鈍角の中で選択されたいずれか一角度を成すことを特徴とする、請求項1に記載の接合端部材によるソケット締結型鉄筋継手。
  8. 前記第1鉄筋と第2鉄筋の規格が互いに異なることを特徴とする、請求項1に記載の接合端部材によるソケット締結型鉄筋継手。
  9. 前記締結ソケットは、
    外面がスプライン加工される場合、外面がローレット切り加工される場合、横断面が円形を成す場合、横断面が多角形を成す場合及び一対以上の互いに対向する位置に把持面が設けられる場合の中で選択されたいずれか一つに形成されることを特徴とする、請求項1に記載の接合端部材によるソケット締結型鉄筋継手。
  10. 前記第1接合端部材及び第2接合端部材がそれぞれ棒材の端部に接合され端部を向かい合って隣り合う棒材の継ぎ合わせができることを特徴とする、請求項1に記載の接合端部材によるソケット締結型鉄筋継手。
  11. 前記締結ソケット結合用雄ネジ部及び前記締結ソケット結合用雌ネジ部中で選択された少なくともいずれか一つは一条ネジ以上のネジから形成され、
    ネジ部の形態は、三角ネジ、四角ネジ、楕円ネジ、及び丸ネジの中で選択されたいずれか一つの形態に形成され、
    ネジの等級は1級、2級、及び3級ネジの中で選択されたいずれか一つであることを特徴とする、請求項1に記載の接合端部材によるソケット締結型鉄筋継手。
  12. 第1鉄筋と第1接合端部材の接合、第2鉄筋と第2接合端部材の接合は、摩擦溶接、線形摩擦溶接、アークスタッド溶接、突き合わせ溶接、超音波振動溶接、抵抗溶接、プラズマ溶接、電子ビーム溶接、レーザー溶接、高周波溶接、及びアルゴン溶接の中で選択されたいずれか一つによってなされることを特徴とする、請求項1に記載の接合端部材によるソケット締結型鉄筋継手。
  13. アークスタッド溶接による場合、第1接合端部材または第2接合端部材の溶接される端面中央に発火チップが挿設されることを特徴とする、請求項12に記載の接合端部材によるソケット締結型鉄筋継手。
  14. 前記締結ソケット結合用雄ネジ部及び前記締結ソケット結合用雌ネジ部中で選択された少なくとも一つにはネジ部を保存する保護キャップが被せられることを特徴とする、請求項1に記載の接合端部材によるソケット締結型鉄筋継手。
JP2016540799A 2013-09-09 2014-09-01 接合端部材によるソケット締結型鉄筋継手 Active JP6352425B2 (ja)

Applications Claiming Priority (3)

Application Number Priority Date Filing Date Title
KR20130108033A KR101378723B1 (ko) 2013-09-09 2013-09-09 접합단부재에 의한 소켓체결형 철근연결구
KR10-2013-0108033 2013-09-09
PCT/KR2014/008118 WO2015034224A1 (ko) 2013-09-09 2014-09-01 접합단부재에 의한 소켓체결형 철근연결구

Publications (2)

Publication Number Publication Date
JP2016534261A JP2016534261A (ja) 2016-11-04
JP6352425B2 true JP6352425B2 (ja) 2018-07-04

Family

ID=50649665

Family Applications (1)

Application Number Title Priority Date Filing Date
JP2016540799A Active JP6352425B2 (ja) 2013-09-09 2014-09-01 接合端部材によるソケット締結型鉄筋継手

Country Status (8)

Country Link
US (1) US20160208492A1 (ja)
EP (1) EP3045606B1 (ja)
JP (1) JP6352425B2 (ja)
KR (1) KR101378723B1 (ja)
CN (1) CN105518235B (ja)
AU (1) AU2014315931B2 (ja)
CA (1) CA2923590C (ja)
WO (1) WO2015034224A1 (ja)

Families Citing this family (33)

* Cited by examiner, † Cited by third party
Publication number Priority date Publication date Assignee Title
KR101464121B1 (ko) * 2014-05-07 2014-11-20 김용근 중공형재 쌍이 구비된 철근연결구
KR101456825B1 (ko) * 2014-05-21 2014-10-31 김용근 로킹편 쌍이 구비된 철근연결구 및 이를 이용한 선조립 철근망의 연결이음 공법
JP2016084620A (ja) * 2014-10-27 2016-05-19 大谷製鉄株式会社 機械式継手、及び鉄筋継手工法
KR101574515B1 (ko) * 2015-03-20 2015-12-04 오환상 직선 또는 각도가 주어진 철근용 유니버셜 토크쉐어 커플러
KR101741478B1 (ko) * 2015-10-30 2017-05-30 삼성중공업 주식회사 발판 고정 장치
FI3445925T3 (fi) * 2016-04-22 2023-04-18 M3S Ip Pty Ltd Säädettävä kompakti nostoliitin ja käyttömenetelmä
CN106284853A (zh) * 2016-09-18 2017-01-04 宁波博睿思特种材料科技有限公司 建筑用螺纹钢插入式连接套筒及其使用方法
CN106835990B (zh) * 2017-02-23 2018-09-14 中铁七局集团第三工程有限公司 一种高架桥施工用钢筋结构及其紧固方法
CN106677436A (zh) * 2017-02-28 2017-05-17 中国建筑第八工程局有限公司 膨胀式钢筋连接自锁装置
CN106677435A (zh) * 2017-02-28 2017-05-17 中国建筑第八工程局有限公司 自锁卡管式钢筋直插接头
CN108562534B (zh) * 2017-12-29 2023-09-05 浙江大学 一种钢筋非均匀锈蚀辅助电极定位装置
CN108979011A (zh) * 2018-09-11 2018-12-11 中铁建设集团有限公司 一种装配式混凝土构件的钢筋连接装置
CN110541523B (zh) * 2019-09-11 2024-06-04 上海中锦建设集团股份有限公司 灌浆套筒中竖向构件定位检测装置及其使用方法
KR102197568B1 (ko) * 2019-12-04 2021-01-04 김용근 평행-테이퍼 일체형 나사결합구조
CN111255162A (zh) * 2020-03-11 2020-06-09 梁雪芽 一种装配式建筑用半灌浆套筒组件及其施工方法
CN111254963B (zh) * 2020-03-23 2021-11-30 中铁建设集团西安工程有限公司 一种建筑地基用预制组装式钢筋笼结构
KR102320366B1 (ko) * 2020-04-13 2021-11-01 기언관 철근연결구
CN111576708A (zh) * 2020-04-23 2020-08-25 北京天源建筑工程有限责任公司 装配箱楼盖结构及其施工工艺
KR102252363B1 (ko) * 2020-09-10 2021-05-13 최진관 나사부재가 결합된 철근
GB202019051D0 (en) * 2020-12-03 2021-01-20 Tranz4Ma 22 Ltd Apparatus and method
KR102254575B1 (ko) * 2021-03-11 2021-05-21 김용근 맞대기 이음장치가 일체화된 정척 규격화 철근 및 이를 이용한 철근구조물의 시공방법
CN113152794A (zh) * 2021-03-26 2021-07-23 青岛理工大学 一种金属筋材与非金属筋材连接装置及方法
KR102459913B1 (ko) * 2021-04-09 2022-10-27 주식회사 이앤브이테크 철근콘크리트 기둥의 내진 보강 구조 및 이의 시공 방법
JP7223064B2 (ja) * 2021-06-11 2023-02-15 株式会社三條機械製作所 シャフトの製造方法
US11578493B2 (en) 2021-06-29 2023-02-14 Saudi Arabian Oil Company Mechanical couplings for reinforcing bars
USD1074387S1 (en) * 2021-09-15 2025-05-13 Barsplice Products, Inc. Termination device for a concrete reinforcement bar
EP4431207A4 (en) * 2021-11-11 2025-11-26 Kyowa Precise Mfg Co Ltd METHOD FOR GENERATION OF THREE-DIMENSIONAL DATA FOR SCREWS FOR SHAPING THREE-DIMENSIONAL LAMINATE
CN113914553A (zh) * 2021-11-29 2022-01-11 中国二十冶集团有限公司 一种连接装置及施工方法
CN114856206A (zh) * 2022-03-07 2022-08-05 湖北工业大学 钢筋绑扎装置
US12358839B2 (en) 2022-04-14 2025-07-15 Saudi Arabian Oil Company Composition and method for manufacturing a high ductility fiber reinforced polymer rebar
WO2024007059A1 (en) * 2022-07-07 2024-01-11 WM Developments Pty Ltd Connector assembly
CN115354889B (zh) * 2022-07-20 2023-11-03 广州城建职业学院 一种兼具海绵功能的装配式建筑结构空中足球场
KR102518359B1 (ko) 2022-08-12 2023-04-06 (주)시그날테크놀로지 철근 연결용 원터치 커플러

Family Cites Families (21)

* Cited by examiner, † Cited by third party
Publication number Priority date Publication date Assignee Title
NO774364L (no) * 1977-12-19 1978-06-21 British Steel Corp Skjoeteanordning for armeringsstaal.
DE3003025C2 (de) * 1980-01-29 1984-07-05 Hochtief Ag Vorm. Gebr. Helfmann, 4300 Essen Verfahren zum Herstellen eines mit einem Gewindeabschnitt ausgerüsteten Bewehrungselementes
JPS6049789A (ja) 1983-08-31 1985-03-19 Shimadzu Corp 光検出式化学センサ−
US5305573A (en) * 1992-06-03 1994-04-26 Baumann Hanns U Energy dissipating connector
US5407292A (en) * 1993-06-08 1995-04-18 Halliburton Company Connector assembly for connecting two cylindrical members
JP2732354B2 (ja) * 1994-02-14 1998-03-30 合同製鐵株式会社 摩擦圧接を用いた異形鉄筋のねじ式機械継手
CN2216108Y (zh) * 1994-11-14 1995-12-27 罗君东 套箍式钢筋接头装置
JPH1018510A (ja) * 1996-07-05 1998-01-20 Hitachi Metals Ltd ネジ鉄筋継手
CN2473252Y (zh) * 2001-04-04 2002-01-23 佟春双 等强钢筋机械连接用活接头
US20030231925A1 (en) * 2002-06-13 2003-12-18 Ching-Cheng Chen Visual inspection coupler
KR20040083355A (ko) * 2003-03-20 2004-10-01 박경순 철근 연결부 구조
JP2005188177A (ja) * 2003-12-26 2005-07-14 Shigeyuki Hayashi 鉄筋への定着板の取付け方法と装置
JP4519608B2 (ja) * 2004-11-11 2010-08-04 鹿島建設株式会社 Pc鋼材の接続方法およびpc鋼材
KR101014543B1 (ko) * 2005-09-05 2011-02-14 김용근 나사형 슬리브에 의한 철근 연결구
KR200404177Y1 (ko) * 2005-09-05 2005-12-19 김용근 나사형 슬리브에 의한 철근 연결구
KR20070054417A (ko) * 2005-11-23 2007-05-29 김용근 나사 마디 철근의 이음을 위한 나사형 슬리브
JP2009041287A (ja) * 2007-08-09 2009-02-26 Fuji Bolt Seisakusho:Kk 鉄筋の連結構造
KR20090131476A (ko) * 2008-06-18 2009-12-29 김상도 인장 부재 연결용 커플러 및 이를 이용한 인장부재 연결
KR100914049B1 (ko) 2009-05-07 2009-08-26 최정환 철근 연결용 굴절식 커플러
KR20110096273A (ko) * 2010-02-22 2011-08-30 아이에스동서 주식회사 콘크리트 철근용 연결기
CN102261167A (zh) * 2011-05-05 2011-11-30 建研科技股份有限公司 可调型钢筋螺纹连接装置

Also Published As

Publication number Publication date
EP3045606A4 (en) 2017-02-15
CN105518235A (zh) 2016-04-20
CN105518235B (zh) 2018-11-16
EP3045606A1 (en) 2016-07-20
EP3045606B1 (en) 2018-06-06
CA2923590C (en) 2021-10-05
AU2014315931B2 (en) 2016-11-24
KR101378723B1 (ko) 2014-03-27
US20160208492A1 (en) 2016-07-21
JP2016534261A (ja) 2016-11-04
AU2014315931A1 (en) 2016-04-07
WO2015034224A1 (ko) 2015-03-12
CA2923590A1 (en) 2015-03-12

Similar Documents

Publication Publication Date Title
JP6352425B2 (ja) 接合端部材によるソケット締結型鉄筋継手
KR101014543B1 (ko) 나사형 슬리브에 의한 철근 연결구
US3415552A (en) Splicing metallic reinforcing rods with a threaded coupling sleeve
KR101456825B1 (ko) 로킹편 쌍이 구비된 철근연결구 및 이를 이용한 선조립 철근망의 연결이음 공법
EP3141672B1 (en) Reinforcing bar coupler for spiral reinforcing bar
JP2016532029A (ja) 螺旋鉄筋用鉄筋連結具
KR101541243B1 (ko) 철근연결구
JP2016176229A (ja) 鉄筋継手ならびに鉄筋およびスリーブ
JP7719510B2 (ja) 鉄筋のつなぎのための平行‐テーパー一体型ねじ結合構造
KR200404177Y1 (ko) 나사형 슬리브에 의한 철근 연결구
KR20180130540A (ko) 풍력 터빈용의 지지 구조체
KR20150029505A (ko) 접합단부재에 의한 소켓체결형 철근연결구
JP3160121U (ja) 鉄筋及び鉄筋継手
KR100610498B1 (ko) 철근 이음장치
KR20140042068A (ko) 분리부 응력 분산을 위한 테이퍼형 절편을 구비한 커플러
CN110863614B (zh) 套索连接器及使用套索连接器连接钢筋的方法
KR20160052456A (ko) 철근연결구
KR102326335B1 (ko) 이음길이 조절형 철근 커플러 및 이를 이용한 철근이음 시공방법
JP2013112994A (ja) 鉄筋接合構造及び鉄筋接合方法
KR101566610B1 (ko) 나선철근용 철근연결구
KR101587733B1 (ko) 나선철근용 철근연결구
KR20140054691A (ko) 나사철근 연결장치
CN220016521U (zh) 一种具有立体自熔接头的塑料管
KR101340624B1 (ko) 파이프 연결구를 이용한 파이프 구조물의 연결구조
JP2015132151A (ja) 機械式継手

Legal Events

Date Code Title Description
A521 Request for written amendment filed

Free format text: JAPANESE INTERMEDIATE CODE: A821

Effective date: 20160413

A621 Written request for application examination

Free format text: JAPANESE INTERMEDIATE CODE: A621

Effective date: 20160307

RD01 Notification of change of attorney

Free format text: JAPANESE INTERMEDIATE CODE: A7426

Effective date: 20160413

A977 Report on retrieval

Free format text: JAPANESE INTERMEDIATE CODE: A971007

Effective date: 20170208

A131 Notification of reasons for refusal

Free format text: JAPANESE INTERMEDIATE CODE: A131

Effective date: 20170221

A521 Request for written amendment filed

Free format text: JAPANESE INTERMEDIATE CODE: A523

Effective date: 20170420

A131 Notification of reasons for refusal

Free format text: JAPANESE INTERMEDIATE CODE: A131

Effective date: 20171003

A521 Request for written amendment filed

Free format text: JAPANESE INTERMEDIATE CODE: A523

Effective date: 20171214

TRDD Decision of grant or rejection written
A01 Written decision to grant a patent or to grant a registration (utility model)

Free format text: JAPANESE INTERMEDIATE CODE: A01

Effective date: 20180508

A61 First payment of annual fees (during grant procedure)

Free format text: JAPANESE INTERMEDIATE CODE: A61

Effective date: 20180606

R150 Certificate of patent or registration of utility model

Ref document number: 6352425

Country of ref document: JP

Free format text: JAPANESE INTERMEDIATE CODE: R150

R250 Receipt of annual fees

Free format text: JAPANESE INTERMEDIATE CODE: R250

R250 Receipt of annual fees

Free format text: JAPANESE INTERMEDIATE CODE: R250

R250 Receipt of annual fees

Free format text: JAPANESE INTERMEDIATE CODE: R250

R250 Receipt of annual fees

Free format text: JAPANESE INTERMEDIATE CODE: R250

R250 Receipt of annual fees

Free format text: JAPANESE INTERMEDIATE CODE: R250