JP5576868B2 - 歯切り研削盤及び研削工具をドレッシングするための方法 - Google Patents

歯切り研削盤及び研削工具をドレッシングするための方法 Download PDF

Info

Publication number
JP5576868B2
JP5576868B2 JP2011525471A JP2011525471A JP5576868B2 JP 5576868 B2 JP5576868 B2 JP 5576868B2 JP 2011525471 A JP2011525471 A JP 2011525471A JP 2011525471 A JP2011525471 A JP 2011525471A JP 5576868 B2 JP5576868 B2 JP 5576868B2
Authority
JP
Japan
Prior art keywords
axis
linear motion
dressing
tool
spindle
Prior art date
Legal status (The legal status is an assumption and is not a legal conclusion. Google has not performed a legal analysis and makes no representation as to the accuracy of the status listed.)
Expired - Fee Related
Application number
JP2011525471A
Other languages
English (en)
Other versions
JP2012501859A (ja
Inventor
コビアルカ、クラウス
Original Assignee
グリーソン − プァウター マシネンファブリク ゲーエムベーハー
Priority date (The priority date is an assumption and is not a legal conclusion. Google has not performed a legal analysis and makes no representation as to the accuracy of the date listed.)
Filing date
Publication date
Application filed by グリーソン − プァウター マシネンファブリク ゲーエムベーハー filed Critical グリーソン − プァウター マシネンファブリク ゲーエムベーハー
Publication of JP2012501859A publication Critical patent/JP2012501859A/ja
Application granted granted Critical
Publication of JP5576868B2 publication Critical patent/JP5576868B2/ja
Expired - Fee Related legal-status Critical Current
Anticipated expiration legal-status Critical

Links

Images

Classifications

    • BPERFORMING OPERATIONS; TRANSPORTING
    • B23MACHINE TOOLS; METAL-WORKING NOT OTHERWISE PROVIDED FOR
    • B23FMAKING GEARS OR TOOTHED RACKS
    • B23F23/00Accessories or equipment combined with or arranged in, or specially designed to form part of, gear-cutting machines
    • B23F23/12Other devices, e.g. tool holders; Checking devices for controlling workpieces in machines for manufacturing gear teeth
    • B23F23/1225Arrangements of abrasive wheel dressing devices on gear-cutting machines
    • BPERFORMING OPERATIONS; TRANSPORTING
    • B24GRINDING; POLISHING
    • B24BMACHINES, DEVICES, OR PROCESSES FOR GRINDING OR POLISHING; DRESSING OR CONDITIONING OF ABRADING SURFACES; FEEDING OF GRINDING, POLISHING, OR LAPPING AGENTS
    • B24B53/00Devices or means for dressing or conditioning abrasive surfaces
    • B24B53/06Devices or means for dressing or conditioning abrasive surfaces of profiled abrasive wheels

Landscapes

  • Engineering & Computer Science (AREA)
  • Mechanical Engineering (AREA)
  • Grinding-Machine Dressing And Accessory Apparatuses (AREA)
  • Finish Polishing, Edge Sharpening, And Grinding By Specific Grinding Devices (AREA)
  • Automatic Tool Replacement In Machine Tools (AREA)
  • Gear Processing (AREA)

Description

本発明は、第1の線形運動ユニットが、第1の線形運動軸に沿ってベッドに対して移動可能であり、第1の旋回運動ユニットを担持し、この第1の旋回運動ユニットが、前記第1の線形運動軸に対して直交である第1の旋回軸を中心として旋回し得るように第1の線形運動ユニットの上に設置され、さらに工具スピンドルが、前記第1の旋回軸に対して直交である工具スピンドル軸を中心とした回転運動として駆動され得るように第1の旋回運動ユニットの上に設置される、固定式のベッドを備える歯車研削盤に関し、さらに、本発明は、前記歯車研削盤の研削工具をドレッシングする方法に関する。
このタイプの歯車研削盤は、例えば砥石車又は研削ウォームなどの研削工具により工作物の歯車をハード仕上げする役割を果たす。この研削工具は、工作物と研磨係合するため、摩損を受ける。したがって、一定の回数の工作サイクルにわたって使用された後に、この研削工具は、ドレッシングされる必要がある。このドレッシング・プロセスにより、研削工具の所要の形状が回復し、それと同時に研削工具の表面が鋭利になる。
最新技術は、ドレッシング・プロセスについて、総形ドレッシング及びプロファイル・ドレッシングとして知られている2つの主要な方法を提案する。総形ドレッシングの方法においては、ドレッシング工具は、ドレッシングされることとなる研削工具の表面において制御された移動経路を辿り、それにより所望の輪郭形状の研削工具を生成する。プロファイル・ドレッシングについては、ドレッシング工具は、研削工具の所望の形成に応じて形成される。
最新技術の歯車ホブ盤(EP0614406B1)は、ベッド上に、ベッドの長手方向に水平方向に移動可能なスタンドを備え、摺動キャリッジが、このスタンド上において垂直移動に案内される。スタンドから離れる方向に向いた摺動キャリッジの自由側には、ホブ・ウォーム歯車の支持部が、水平方向旋回軸を中心として旋回し得るように設置される。ホブ・ウォーム歯車の回転軸は、サポートの旋回軸に対して直交方向に延在する。研削工具のドレッシングの問題は、この歯車ホブ盤においては生じない。
EP0614406B1
本発明の目的は、現行において使用されている研削工具を、工具スピンドル上の定位置にロックした状態のままでドレッシングすることが可能な、本明細書の冒頭で述べた種類の歯車研削盤を提案することである。
本発明によれば、解決策としての装置は、第1の線形運動ユニットの上に、第2の線形運動軸に沿って移動可能な第2の線形運動ユニットが設置され、前記第2の線形運動ユニットの上に、前記第2の線形運動軸に対して直交であるドレッシング・スピンドル軸を中心とした回転運動として駆動され得るドレッシング・スピンドルが設置されるというコンセプトにより、構成される。
解決策としての方法は、本発明による歯車研削盤により具現化される。この歯車研削盤のドレッシング・スピンドルは、第2の旋回運動ユニットの上に設置され、第2の旋回運動ユニットは、第2の線形運動軸に対して平行である第2の旋回運動軸を中心として旋回し得るように、第2の線形運動ユニットの上に設置され、ドレッシング工具を担持するドレッシング・スピンドルの旋回角度位置は、第2の旋回運動軸に対して固定値に設定され、前記固定値は、工具スピンドルの上に設置された研削工具に合わされ、ドレッシング工具は、所望のドレッシング方法にしたがって研削工具と係合される。
したがって、本発明の歯車研削盤により、及び該歯車研削盤において前述のドレッシング方法を実施することにより、例えばプロファイル・ドレッシング又は総形ドレッシングなどの各場合において望ましい特定のドレッシング方法にしたがって、例えば研削ウォーム又は砥石車などの種々のタイプの研削工具をドレッシングすることが可能となる。
さらに、本発明による歯車研削盤の各軸の構成により、工作物に対するクランプ高さが特に低くなり、したがってシステムの剛性が高められる。
好ましくは、第1の旋回運動軸は、工具スピンドル軸と交差すべきである。この要件が厳密には満たされない場合には、制御システムにおけるソフトウェア・ベース補正により修正することが可能である。しかし、いずれの場合においても、偏差は小さくあるべきである。好ましくは、これらの2つの軸の交差は、0.1mm未満の区域内に限定されるべきである。
第2の線形運動軸及び第2の旋回運動軸は、互いに対して可能な限り正確に位置合わせされるべきであり、工具スピンドル軸に交差すべきである。この条件が厳密には満たされない場合には、これらの軸の交差に関する許容範囲は、好ましくは5μm未満であるべきである。
好ましくは、種々の軸の間において、直交関係が必要な場合には、これは、可能な限り正確に満たされるべきである。しかし、起こり得る偏差は、それが許容範囲内にある限り、制御システムにおいてソフトウェア・ルーチンにより調整することが可能である。
本発明の目的を達成するのに適したドレッシング工具であって、ディスク形状本体を備え、このディスク形状本体が、回転軸に対して回転対称であり、2つの離間され軸方向に向く面の間に画成され、このディスク形状本体のラジアル方向において外側の周囲区域には、歯車研削盤の研削工具に作動係合する役割を果たすドレッシング領域が形成される、ドレッシング工具は、一方の軸方向に向く面のドレッシング領域が、総形ドレッシングのプロセス用に構成され、このドレッシング領域が、所望の輪郭形状の研削工具を生成するように制御された経路に沿って研削工具上を移動し、対向側の軸方向に向く面のドレッシング領域が、プロファイル・ドレッシングのプロセス用に構成され、このプロファイル・ドレッシングのプロセスについては、このドレッシング領域は、研削工具の所望の輪郭形状に応じてプロファイリングされるという特徴によって特徴付けられる。
「総形ドレッシング」という用語は、具体的には、プロファイル研削用の砥石車のドレッシングに該当し、「プロファイル・ドレッシング」という用語は、研削ウォームのドレッシングに該当する。
本発明によるドレッシング工具においては、総形ドレッシング用に構成された前記ドレッシング領域は、その作動係合が、ドレッシングされることとなる研削工具の一点に基本的に集中し、前記ドレッシング領域が、研削工具の表面上の適切に予め定められた作動経路に沿って被制御移動を行なうことによって所望の研削工具の輪郭形状をもたらすように、輪郭形状設定される。これとは対照的に、プロファイル・ドレッシング用に構成された前記ドレッシング領域は、基本的に係合線に沿って、ドレッシングされることとなる研削工具に接触し、この場合には、研削工具の所望の輪郭形状に関する情報は、ドレッシング領域自体に包含される。この軸方向に非対称な構成により、本発明によるドレッシング工具は、ドレッシングされることとなる研削工具をこれらのドレッシング領域の一方又は他方と選択的に作動係合させることによって、総形ドレッシング及びプロファイル・ドレッシングのために使用することが可能となる。したがって、総形ドレッシングからプロファイル・ドレッシングに、又はその逆方向に切替えるために、ドレッシング工具のクランプ・デバイス内のドレッシング工具を交換する必要はない。
総形ドレッシングがドレッシング工具のドレッシング領域とドレッシングされることとなる研削工具との間における1点接触を要するということを鑑みると、実用的な一実施例においては、ドレッシング工具の軸方向断面において見た場合に、総形ドレッシング用に構成されたドレッシング領域に対して曲線形状を与えることが予期される。
他方において、プロファイル・ドレッシング用に構成されたドレッシング領域は、実用的な一実施例においては、その形状が、ドレッシング工具の軸方向断面において見た場合に、ドレッシングをドレッシングされることとなる研削工具の部分に対して与えることが意図されるプロファイル形状と形状合致するように、具現化される。ドレッシングされることとなる研削工具、具体的には研削ウォームの領域のプロファイルに対して適した断面平面を選択する際には、例えば、その軸方向断面、その法線断面、又はさらには軸方向断面及び法線断面に近い若しくはそれらの間の任意の断面平面などを考慮することが可能である。無修正インボリュートねじ面(unmodified involute screw surface)を研削するためには、ドレッシング工具の軸方向断面は、直線状に延在する。この場合には、例えば研削ウォームのプロファイル・ドレッシングにおいては、軸方向断面において見た場合の直線状ドレッシング部分は、ディスク形状本体のラジアル方向平面に対して、研削ウォームのフランク角度に対応する角度にて構成される。修正インボリュート・プロファイル(modified involute profile)に対しては、軸方向断面の形状は、それに応じて修正される。
ドレッシング工具のドレッシング領域は、特に、ドレッシング工具の本体に接合される研磨剤の層により、最新技術を用いて被覆される。この研磨層は、ポジティブ・処理又はネガティブ・処理により施すことが可能である。一般的な研磨剤には、例えば、種々の形態のコランダム、窒化ホウ素(CBN)、又はダイヤモンドが含まれる。
以下、図面を参照として、実用的な実施例の一例を介して本発明をさらに詳細に説明する。
ハウジングを取り除いた歯車研削盤の斜視図である。 研削工具及びドレッシング工具のためのスピンドル(図1にも図示される)の構成のさらに詳細な図である。 工具交換装置が設置された、歯車研削盤(ここではそのハウジングと共に図示される)の背面側の図である。 研削ウォームのプロファイル・ドレッシングを示す概略図である。 プロファイル砥石車の総形ドレッシングを示す概略図である。
図1に図示される歯車研削盤は、歯車研削盤が設置される床平面に対して平行方向に延在する長手方向軸を有する基本的に長尺の直角平行六面体(以降においては直方体と称する。)の形状のベッド1を有し、この直方体の2つの最大表面の一方が、床平面に向く下面を形成し、対向側の表面2が、上面を形成する。上面2の上には、この直方体の長手方向軸に対して平行に延在する線形ガイド・トラック3及び4が設置され、これらの線形ガイド・トラック3及び4の上には、スタンド5が、この直方体の長手方向軸に対して平行に延在する第4の線形運動軸X1に沿って移動するように支持及び案内される。この第4の線形運動軸X1に沿ったスタンド5の移動は、制御装置から命令を受ける線形運動駆動部6によって引き起こされる。
線形ガイド・トラック3、4は、図1において、ベッド1の約左半分にわたって延在する。図1の線形ガイド・トラック3及び4の右端部付近のベッドの上面2上には、上面2に対して直交方向に延在する工作物回転軸C1を中心とした回転移動として駆動されるように設計された回転運動ユニット7が設置される。研削されることとなる歯車の形態の工作物は、回転運動ユニット7の上にクランプ固定され、研削プロセスの要件にしたがって工作物回転軸C1を中心として制御されつつ回転される。
上面2に対して直交し、上面2に対して平行な断面形状がほぼ正四方形のコラム8が、図1においてはベッド1の右端部部分の上方に立設されている。コラム8は、回転運動ユニット7の方向を向く面に、上面2に対して直交方向に延在する線形ガイド・トラック9を担持する。コラム8から回転運動ユニット7の方向に突出する心押し台10は、ガイド・トラック7によって、工作物の回転軸C1に対して平行な線形摺動移動に制約される。心押し台10は、心合わせ心棒11を担持し、この心合わせ心棒11は、工作物の回転軸C1に位置合わせされ、回転運動ユニット7上にクランプ固定された工作物と心合わせされて係合する。
スタンド5は、ベッド1の上面2に対して直交する4つの側壁部によって画成され、それらの側壁部の中の2つが、直方体形状のベッド1の長手方向軸に対して平行であり、他の2つが、直方体形状のベッド1の長手方向軸に対して直交する。回転運動ユニット7の方向に向く側壁部12は、上面2に対して直交方向に、及び工作物の回転軸C1に対して平行方向に延在する線形ガイド・トラック13、14を担持し、これらの線形ガイド・トラック13、14は、工作物の回転軸C1に対して平行方向に延在する第1の線形運動軸Z1に沿って、第1の線形運動ユニット15の線形移動を案内する。第1の線形運動軸Z1に沿った第1の線形運動ユニット1の移動は、制御装置から命令を受ける線形運動駆動部16によって引き起こされる。
第1の線形運動ユニット15の下方部分、すなわちベッド1に最も近い部分の、回転運動ユニット7の方向に向いた面には、第1の線形運動軸Z1に対して直交方向に及び直方体形状のベッド1の長手方向に対して平行方向に延在する第1の旋回運動軸A1を中心として旋回することが可能な、第1の旋回運動ユニット17が設置される。この第1の旋回運動ユニット17には、第1の旋回運動軸A1に対して直交である工具スピンドル軸B1を有する工具スピンドル18が設置される。工具スピンドル18は、制御される駆動源の動力下において、その工具スピンドル軸B1を中心として回転するように設計される。さらに、工具スピンドル18は、工具スピンドル軸B1に整列される第3の線形運動軸Y1に沿って、制御されつつ移動することが可能である。
第1の線形運動ユニット15の上方部分、すなわちベッド1から最も遠い部分の、回転運動ユニット7の方向に向いた前面で、第2の線形運動ユニット19が、第2の線形運動軸Z2に沿った移動を制御されて案内される。第2の線形運動軸Z2は、第1の線形運動軸Z1及び第1の旋回運動軸A1に対して平行である平面内に位置する。この平面内において、第2の線形運動軸Z2は、ベッド1から離れる方向において、第1の線形運動軸Z1に対して鋭角で延在するように、第1の線形運動軸Z1に対して傾斜している。
第2の旋回運動ユニット20が、第2の線形運動ユニット19の下方端部、すなわち工具スピンドル18の方向に向いた端部に設置される。この第2の旋回運動ユニット20は、第2の線形運動軸Z2に対して平行である第2の旋回運動軸C2を中心として旋回され得る。この第2の旋回運動ユニット20には、ドレッシング・スピンドル軸S2を中心とした回転移動にて駆動されるように設計されたドレッシング・スピンドル21が設置される。ドレッシング・スピンドル軸S2は、第2の旋回運動軸C2及び第2の線形運動軸Z2に対して直交方向に配向される。
工具スピンドル18は、回転運度ユニット7上にクランプ固定された工作物の歯車歯の仕上げ動作を行なうために、歯車研削工具を保持し、その歯車研削工具に対して回転運動を与える役割を果たす。とりわけ、この仕上げ動作は、ホブ研削動作又はプロファイル研削動作からなるものであることが可能である。歯車研削工具は、例えば砥石車又は研削ウォームであることが可能である。
ドレッシング・スピンドル21は、総形ドレッシング及びプロファイル・ドレッシングのためのドレッシング工具を保持し、そのドレッシング工具に対して回転運動を与える役割を果たす。総形ドレッシング作動においては、ディスク形状ドレッシング工具が、ドレッシングされることとなる研削工具の表面において制御された移動経路を辿り、それにより所望の輪郭形状の研削工具を生成する。プロファイル・ドレッシングについては、ディスク形状ドレッシング工具は、研削工具の所望の輪郭形状に応じて構成される。
それぞれ異なるドレッシング・プロセス及び工具ジオメトリに対して必要とされる、ドレッシング工具及び研削工具の互いに対する種々の配置は、各運動軸のコンピュータ制御を介して行なわれる。一実例としては、プロファイル・ドレッシングの方法のために、ドレッシング工具23を担持するドレッシング・スピンドル21の旋回角度が、第2の旋回運動軸C2に対して固定位置にクランプ固定される。さらに、ドレッシング・スピンドル軸S2を中心として回転するドレッシング・スピンドル21の1分間当たりの回転数と、工具スピンドル軸B1を中心として回転する工具スピンドル18の1分間当たりの回転数の比が、固定値に設定される。第2の線形運動軸Z2に沿った移動及び第3の線形運動軸Y1に沿った移動は、プロファイル・ドレッシング方法にしたがって制御される。総形ドレッシング方法のためには、第2の旋回運動軸C2に対するドレッシング・スピンドル21の旋回角度が、研削工具22の基準直径に応じて要求される位置に設定される。ドレッシング・スピンドル軸S2に対するドレッシング・スピンドル21の回転角度位置、及び第3の線形運動軸Y1に沿った移動は、工具スピンドル軸B1に対する工具スピンドル18の回転角度位置に応じて、総形ドレッシング方法にしたがって制御される。さらに、非旋回研削工具については、第2の線形運動軸Z2に沿った移動が制御される。
図2は、研削スピンドル18により駆動される研削工具22が研削ウォームである場合を示す。さらに、図2は、第2の旋回運動ユニット20に設置されたドレッシング・スピンドル21の上のディスク形状ドレッシング工具23を示す。
図1の場合と同様に、図2の参照符号15は、第1の線形運動ユニットを示し、参照符号17は、第1の旋回運動ユニットを示す。
図3においては、ハウジングが定位置におかれた歯車研削盤が、図1の背面及び右手側面を見せた斜視図において示される。ハウジングの外部にその背面に隣接して配置された保持ラック24が、研削工具22、22’を、工具交換装置によるピックアップが可能な状態に保つ。これらの工具の中の1つが必要とされる場合には、その工具は、工具交換装置により、第1の線形移動軸Z1及び工作物の回転軸C1に対して直交である平面内を延在する経路に沿って、ハウジングの背面中の開口25を通り移動して、最終的には工具スピンドル18の作動スペース内に達する。工具スピンドル18は、その運動軸に対する適切に指示された運動により、工具交換装置から工具を受け、図1及び図2に示される位置において、工具スピンドル18に対してその工具をクランプ固定する。当然ながら、移動シーケンスが逆転する場合には、工具スピンドル18上にクランプ固定された、交換される必要のある工具が、工具交換機により受け取られ、外部に搬送され、保持フレーム24内に配置される。工具の交換が行なわれていないときには、ハウジング中の開口25は、摺動ドア26により閉じられる。
背面とは逆方向に向いており、したがってこの図においては見ることのできないハウジングの正面は、水平方向摺動ドアを備え、このドアは、開位置においては、歯車研削盤の作業スペース、すなわちスタンド5とコラム8との間のスペースへのアクセスを可能にし、閉位置においては、外部に対して歯研削盤を完全に遮蔽する。
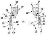
図4(a)及び図4(b)はそれぞれ、工具スピンドル軸B1及びドレッシング・スピンドル軸S2を含む断面平面において描いた、進行中のドレッシング動作を示す。歯車研削工具22は、図4(a)においてはホブ研削ウォーム22’であり、図4(b)においては砥石車22’’である。ドレッシング工具23は、両方の場合において同一である。
詳細な特徴に関して述べると、このドレッシング工具23は、ドレッシング・スピンドル軸S2に対して回転対称であるディスク形状本体27を有し、図4(a)及び図4(b)においては、ドレッシング・スピンドル軸S2の上方に延在する本体27の半分のみが示される。このディスク形状本体は、互いからある軸方向距離で離間された2つの軸方向に向く面28、28’の間に画成される。これらの軸方向に向く面28、28’のラジアル方向における外側の周囲区域が、それぞれドレッシング領域29及び29’として構成される。これらのドレッシング領域29及び29’のそれぞれにおいて、ドレッシング工具の本体27は、本体27に接合された研削剤で被覆される。本体27のラジアル方向において中央の区域には、ハブ30が形成される。このハブ30は、ドレッシング・スピンドル軸S2と同軸であり、本体27をドレッシング・スピンドル21に対してクランプ固定するのを可能にする。
図4(a)及び図4(b)に図示される軸方向断面においては、プロファイル・ドレッシングのために構成されたドレッシング領域29が、本体27のラジアル方向鞍部31から始まり、対向側の軸方向に向く面28’に対してある角度にてラジアル方向に外方に延在し、本体27のラジアル方向外方端部32にて終端する。ドレッシングされることとなる研削工具が、無修正インボリュートねじ面を研削するように設計される場合には、この輪郭形状は、直線を辿り、修正ねじ面(modified screw surface)の場合には、それに応じて適切に構成される。これとは対照的に、総形ドレッシング用に構成されたドレッシング領域29’の軸方向断面輪郭形状は、初めに軸方向に向く面28’から外方に曲線弧状に突出し、次に外方端部32の方向に弧状曲線にて曲がって戻る。
図4(a)は、プロファイル・ドレッシング・プロセスの際の、ドレッシング工具23とホブ研削ウォーム22’との間の作動係合を示す。図4(a)の左側の図においては、ドレッシング領域29は、線形接触区域に沿ってホブ研削ウォーム22’の左フランクと作動係合状態にある。送り運動は、矢印によって示されるように、左フランクに対して軸方向に行なわれる。図4(a)の右側の図においては、ホブ研削ウォーム22’の右フランクに対するプロファイル・ドレッシング・プロセスが図示される。この場合には、ドレッシング工具23の配向及び送り運動は、図4(a)の左側の図のものと鏡像対称になる。これらの両方の場合において、総形ドレッシング用に構成されたドレッシング領域29’は、ホブ研削ウォーム22’のフランクから離れた位置に留まり、したがってドレッシング・プロセス全体にわたって非作動状態にある。
それとは対照的に、図4(b)は、砥石車22’’の総形ドレッシングを図示し、この場合には、プロファイル・ドレッシングのために設計されたドレッシング領域29は、非係合状態に、したがって非作動状態にあり、総形ドレッシング領域29’は、基本的に一点に集中される作動係合により、砥石車22’の左側(図4(b)の左側図において)と、及び右側(図4(b)の右側図において)と接触状態になり、総形ドレッシング領域29’は、所望の輪郭形状を生成する経路に沿って、砥石車22’の側部上を案内される。図面の平面内に位置するこの移動経路の成分は、図4(b)の左側図及び右側図の双方の中の矢印によって示される。
1 ベッド
2 上面
3、4 線形ガイド・トラック
5 スタンド
6 線形運動駆動部
7 回転運動ユニット
8 コラム
9 線形ガイド・トラック
10 心押し台
C1 工作物の回転軸
11 心合わせ心棒
12 側壁部
13、14 線形ガイド・トラック
15 第1の線形運動ユニット
16 線形運動駆動部
17 第1の旋回運動ユニット
A1 第1の旋回運動軸
18 工具スピンドル
B1 工具スピンドル軸
Y1 第3の線形運動軸
19 第2の線形運動ユニット
Z2 第2の線形運動軸
20 第2の旋回運動ユニット
C2 第2の旋回運動軸
21 ドレッシング・スピンドル
S2 ドレッシング・スピンドル軸
22 研削工具
22’ ホブ研削ウォーム
22’’ 砥石車
23 ドレッシング工具
24 保持フレーム
25 ハウジングの開口
26 摺動ドア
27 ディスク形状本体
28、28’ 軸方向に向く面
29、29’ ドレッシング領域
30 ハブ
31 ラジアル方向鞍部
32 外方端部

Claims (15)

  1. 固定式のベッド(1)を備える歯車研削盤であって、第1の線形運動ユニット(15)が、第1の線形運動軸(Z1)に沿って前記ベッド(1)に対して移動可能であり、第1の旋回運動ユニット(17)を担持し、前記第1の旋回運動ユニット(17)は、前記第1の線形運動軸(Z1)に対して直交である第1の旋回運動軸(A1)を中心として旋回し得るように前記第1の線形運動ユニット(15)の上に設置され、さらに、工具スピンドル(18)が、前記第1の旋回運動軸(A1)に対して直交である工具スピンドル軸(B1)を中心とした回転運動として駆動され得るように前記第1の旋回運動ユニット(17)の上に設置される、歯車研削盤において、前記第1の線形運動ユニット(15)の上に、第2の線形運動軸(Z2)に沿って移動可能な第2の線形運動ユニット(19)が設置され、前記第2の線形運動ユニット(19)の上に、前記第2の線形運動軸(Z2)に対して直交であるドレッシング・スピンドル軸(S2)を中心とした回転運動として駆動され得るドレッシング・スピンドル(21)が設置されることを特徴とする、歯車研削盤。
  2. 前記ドレッシング・スピンドル(21)は、第2の旋回運動ユニット(20)の上に設置され、前記第2の旋回運動ユニット(20)は、前記第2の線形運動軸(Z2)に対して平行である第2の旋回運動軸(C2)を中心として旋回し得るように前記第2の線形運動ユニット(19)の上に設置されることを特徴とする、請求項1に記載の歯車研削盤。
  3. 前記第2の旋回運動軸(C2)及び前記工具スピンドル軸(B1)は、互いに交差することを特徴とする、請求項2に記載の歯車研削盤。
  4. 前記第1の旋回運動軸(A1)及び前記工具スピンドル軸(B1)は、互いに交差することを特徴とする、請求項1から3までのいずれか一項に記載の歯車研削盤。
  5. 前記工具スピンドル(18)は、前記工具スピンドル軸(B1)に対して平行方向に延在する第3の線形運動軸(Y1)に沿って移動可能であることを特徴とする、請求項1から4までのいずれか一項に記載の歯車研削盤。
  6. 前記第2の線形運動軸(Z2)は、前記第1の線形運動軸(Z1)及び前記第1の旋回運動軸(A1)に対して平行な平面内に延在することを特徴とする、請求項1から5までのいずれか一項に記載の歯車研削盤。
  7. 前記平面内において、前記第2の線形運動軸(Z2)は、前記第1の線形運動軸(Z1)に対して傾斜していることを特徴とする、請求項6に記載の歯車研削盤。
  8. 前記ベッド(1)の上に、工作物回転軸(C1)を中心とした回転移動として駆動され得る回転運動ユニット(7)が設置され、前記第1の線形運動軸(Z1)は、前記工作物回転軸(C1)に対して平行方向に延在することを特徴とする、請求項1から7までのいずれか一項に記載の歯車研削盤。
  9. 前記第1の線形運動ユニット(15)の移動は、スタンド(5)上において、前記第1の線形運動軸(Z1)の方向に制約され、さらに、前記スタンド(5)の移動は、前記ベッド(1)上において、前記第1の線形運動軸(Z1)及び前記工作物回転軸(C1)に対して平行である平面内で前記第1の線形運動軸(Z1)に対して直角に延在する第4の線形運動軸(X1)の方向に制約されることを特徴とする、請求項8に記載の歯車研削盤。
  10. 前記工作物回転軸(C1)は、垂直方向に延在することを特徴とする、請求項8又は9に記載の歯車研削盤。
  11. 前記歯車研削盤は、前記第1の線形運動軸(Z1)及び前記工作物回転軸(C1)に対して直交である平面内に位置する経路に沿って移動可能な工具交換装置を含み、前記工具交換装置は、保持ラックと前記工具スピンドル(18)との間において工具(22)を移送する役割を果たすことを特徴とする、請求項8から10までのいずれか一項に記載の歯車研削盤。
  12. 固定式のベッド(1)を備える歯車研削盤において研削工具をドレッシングする方法であって、第1の線形運動ユニット(15)が、第1の線形運動軸(Z1)に沿って前記ベッド(1)に対して移動可能であり、且つ、第1の旋回運動ユニット(17)を担持し、前記第1の旋回運動ユニット(17)は、前記第1の線形運動軸(Z1)に対して直交である第1の旋回運動軸(A1)を中心として旋回し得るように前記第1の線形運動ユニット(15)の上に設置され、さらに、工具スピンドル(18)が、前記第1の旋回運動軸(A1)に対して直交である工具スピンドル軸(B1)を中心とした回転運動として駆動され得るように前記第1の旋回運動ユニット(17)の上に設置され、前記第1の線形運動ユニット(15)の上に、第2の線形運動軸(Z2)に沿って移動可能な第2の線形運動ユニット(19)が設置され、さらに、前記第2の線形運動軸(Z2)に対して直交であるドレッシング・スピンドル軸(S2)を中心とした回転運動として駆動され得るドレッシング・スピンドル(21)が、前記第2の線形運動ユニット(19)の上に設置され、前記ドレッシング・スピンドル(21)は、第2の旋回運動ユニット(20)の上に支持され、前記第2の旋回運動ユニット(20)は、前記第2の線形運動軸(Z2)に対して平行方向に延在する第2の旋回運動軸(C2)を中心として旋回可能な状態で前記第2の線形運動ユニット(19)の上に設置される、方法において、ドレッシング工具(23)を担持する前記ドレッシング・スピンドル(21)の旋回角度位置が、前記第2の旋回運動軸(C2)に対して固定値に設定され、前記固定値は、前記工具スピンドル(18)の上に設置された研削工具(22)に合わせられ、前記ドレッシング工具(23)は、所望のドレッシング方法にしたがって前記研削工具(22)と係合されることを特徴とする、方法。
  13. 前記ドレッシング・スピンドル軸(S2)を中心として回転する前記ドレッシング・スピンドル(21)の1分間当たりの回転数と、前記工具スピンドル軸(B1)を中心として回転する前記工具スピンドル(18)の1分間当たりの回転数との比が、固定値に設定され、前記第2の線形運動軸(Z2)に沿った移動及び第3の線形運動軸(Y1)に沿った移動が、プロファイル・ドレッシング方法にしたがって制御されることを特徴とする、請求項12に記載の方法。
  14. 前記第2の旋回運動軸(C2)に対する前記ドレッシング・スピンドル(21)の旋回角度が、前記研削工具の基準直径に応じて要求される位置に設定され、前記ドレッシング・スピンドル軸(S2)に対する前記ドレッシング・スピンドル(21)の回転角度位置及び前記第3の線形運動軸(Y1)に沿った移動が、前記工具スピンドル軸(B1)に対する前記工具スピンドル(18)の回転角度位置に応じて、総形ドレッシング方法にしたがって制御されることを特徴とする、請求項12に記載の方法。
  15. 非旋回研削工具については、前記第2の線形運動軸(Z2)に沿った移動が制御されることを特徴とする、請求項14に記載の方法。
JP2011525471A 2008-09-04 2009-09-04 歯切り研削盤及び研削工具をドレッシングするための方法 Expired - Fee Related JP5576868B2 (ja)

Applications Claiming Priority (3)

Application Number Priority Date Filing Date Title
EP08015643A EP2161092B1 (de) 2008-09-04 2008-09-04 Verzahnungsschleifmaschine und Verfahren zum Abrichten eines Schleifwerkzeuges
EP08015643.3 2008-09-04
PCT/EP2009/006453 WO2010025942A2 (de) 2008-09-04 2009-09-04 Verzahnungsschleifmaschine und verfahren zum abrichten eines schleifwerkzeugs

Publications (2)

Publication Number Publication Date
JP2012501859A JP2012501859A (ja) 2012-01-26
JP5576868B2 true JP5576868B2 (ja) 2014-08-20

Family

ID=40561823

Family Applications (1)

Application Number Title Priority Date Filing Date
JP2011525471A Expired - Fee Related JP5576868B2 (ja) 2008-09-04 2009-09-04 歯切り研削盤及び研削工具をドレッシングするための方法

Country Status (8)

Country Link
US (1) US8882564B2 (ja)
EP (2) EP2161092B1 (ja)
JP (1) JP5576868B2 (ja)
CN (2) CN102143820B (ja)
AT (1) ATE553871T1 (ja)
ES (1) ES2404828T3 (ja)
PL (1) PL2326449T3 (ja)
WO (1) WO2010025942A2 (ja)

Families Citing this family (32)

* Cited by examiner, † Cited by third party
Publication number Priority date Publication date Assignee Title
CN101961801B (zh) * 2010-09-02 2013-07-24 王延忠 一种面齿轮滚齿加工设备
DE102010049319A1 (de) * 2010-10-22 2012-04-26 Gleason-Pfauter Maschinenfabrik Gmbh Führunsanordnung und Werkzeugmaschine mit einer solchen Führungsanordnung
DE102011103216A1 (de) * 2011-06-01 2012-12-06 Liebherr-Verzahntechnik Gmbh Verfahren zum Abrichten eines Werkzeugs
TWI480113B (zh) * 2011-10-07 2015-04-11 Nat Univ Chung Cheng 變齒厚蝸桿型刀具及其加工方法
DE102011120449A1 (de) 2011-12-07 2013-06-13 Gleason-Pfauter Maschinenfabrik Gmbh Verfahren zum Schleifen von verzahnten Werkstücken und dazu ausgelegte Vorrichtung
DE102012017840B3 (de) * 2012-09-08 2013-12-12 Klingelnberg Gmbh Verzahnungsschleifmaschine mit einer Schleifeinheit und mit einer Abrichteinheit
DE102013001797A1 (de) * 2013-02-01 2014-08-07 Liebherr-Verzahntechnik Gmbh Verzahnungsschleifmaschine mit Abrichtvorrichtung und Verfahren zum Abrichten eines Schleifwerkzeugs mittels der Abrichtvorrichtung
JP5536250B1 (ja) * 2013-03-22 2014-07-02 三菱重工業株式会社 歯車加工装置
CN103317443A (zh) * 2013-06-14 2013-09-25 西安共达精密机器有限公司 一种砂轮离线修整机及修形方法
ITBO20130381A1 (it) 2013-07-19 2015-01-20 Samp Spa Con Unico Socio Metodo, utensile e dispositivo per la profilatura di un utensile di finitura
DE102013013276A1 (de) * 2013-08-08 2015-02-12 Liebherr-Verzahntechnik Gmbh Werkzeugmaschine und Verfahren zur spanenden Bearbeitung von Werkstücken mit mindestens zwei separaten Bearbeitungseinheiten
CN104801783A (zh) * 2014-01-24 2015-07-29 陆联精密股份有限公司 齿轮研磨设备
JP5774740B2 (ja) * 2014-02-28 2015-09-09 陸聯精密股▲ふん▼有限公司 ツール修整機能を含んだ歯車研削装置
US20150266121A1 (en) * 2014-03-19 2015-09-24 Luren Precision Co., Ltd. Gear grinding apparatus providing tool modification function
CH709478A1 (de) * 2014-04-08 2015-10-15 Reishauer Ag Verfahren und Vorrichtungen zum schnellen und flexiblen Abrichten von Schleifschnecken.
CN104475874B (zh) * 2014-12-16 2016-08-10 中北大学 一种齿轮超声精密滚齿装置及应用
DE102015100374A1 (de) * 2015-01-13 2016-07-14 Klingelnberg Ag Verfahren zum Kompensieren von temperaturbedingten Abweichungen in einer Schleifmaschine und entsprechend ausgestattete Schleifmaschine
DE102015000908A1 (de) * 2015-01-23 2016-07-28 Liebherr-Verzahntechnik Gmbh Verfahren und Vorrichtung zur Verzahnbearbeitung eines Werkstückes durch ein Diagonalwälzverfahren
DE102015009287A1 (de) * 2015-07-10 2017-01-12 Liebherr-Verzahntechnik Gmbh Verfahren zur Herstellung eines Werkstückes mit gewünschter Verzahnungsgeometrie
DE102015008972A1 (de) * 2015-07-10 2017-01-12 Liebherr-Verzahntechnik Gmbh Verfahren zur Herstellung eines oder mehrerer Werkstücke
CN105478922B (zh) * 2016-01-28 2017-08-29 中北大学 一种超声剃齿装置及其应用
DE102016004112A1 (de) * 2016-04-05 2017-10-05 Gleason-Pfauter Maschinenfabrik Gmbh Verfahren zur erzeugung einer abtragung an einer zahnstirnkante und dazu ausgelegte vorrichtung
CN107414205A (zh) * 2016-12-09 2017-12-01 盐城秦川华兴机床有限公司 内斜齿磨齿机
EP3348354B1 (de) * 2017-01-16 2020-01-08 Klingelnberg AG Verfahren zum bearbeiten von kegelrädern unter einsatz einer exzentrisch bewegten, abrichtbaren topfschleifscheibe
DE102017011978A1 (de) * 2017-12-22 2019-06-27 Gleason-Pfauter Maschinenfabrik Gmbh Verfahren zur Bearbeituung von Verzahnungen und Verzahnungsmaschine
JP6653338B2 (ja) * 2018-01-31 2020-02-26 三菱重工工作機械株式会社 歯車研削装置
EP3698919B1 (de) * 2019-02-20 2024-05-08 Klingelnberg AG Verfahren zum abrichten eines schleifwerkzeugs
CN113996872B (zh) * 2020-07-28 2024-03-15 湖南飞阳齿轮制造有限责任公司 一种齿轮加工用磨齿机及其磨齿方法
CN113123627B (zh) * 2021-03-05 2023-04-28 东莞生态园混凝土有限公司 一种使用碳纤维布加固横梁的辅助施工装置
CN113070779A (zh) * 2021-04-15 2021-07-06 潍坊利金机械设备有限公司 一种用于单向阀阀芯打磨加工的设备
CN113210551B (zh) * 2021-05-26 2024-08-23 洛阳科大越格数控机床有限公司 一种面齿轮滚轧加工方法
CN119609941A (zh) * 2024-12-09 2025-03-14 西安奕斯伟材料科技股份有限公司 一种抛光垫修整设备、方法及控制装置

Family Cites Families (28)

* Cited by examiner, † Cited by third party
Publication number Priority date Publication date Assignee Title
US440916A (en) 1890-11-18 Bottle-filling machine
SU880244A3 (ru) * 1978-08-18 1981-11-07 Мааг-Цанрэдер Унд-Машинен Аг (Фирма) Способ шлифовани зубчатых колес и станок дл его осуществлени
CH639305A5 (de) * 1979-06-20 1983-11-15 Maag Zahnraeder & Maschinen Ag Teilwaelzverfahren und vorrichtung zum schleifen von verzahnungen mit evolventenfoermigem zahnflankenprofil.
DE3320042A1 (de) * 1983-06-03 1984-12-13 Dieter Dr.-Ing. 7505 Ettlingen Wiener Verfahren zum schleifen vorverzahnter und schleifmaschine zum durchfuehren dieses verfahrens
JPH0639859Y2 (ja) * 1986-07-02 1994-10-19 株式会社カシフジ ホブ盤のホブ交換装置
DE3941439A1 (de) 1989-12-15 1991-06-20 Buderus Schleiftechnik Verfahren und vorrichtung zum schleifen eines innengewindes
US5228814A (en) 1991-11-25 1993-07-20 The Gleason Works Gear hobbing machine
DE4210710C2 (de) * 1992-03-27 2003-03-20 Niles Werkzeugmaschinen Gmbh Verfahren und Einrichtung zum Schleifen rillenförmiger Außenprofile eines Werkstückes
DE19619401C1 (de) 1996-05-14 1997-11-27 Reishauer Ag Verfahren, Werkzeug und Vorrichtung zum Profilieren von Schleifschnecken für das kontinuierliche Wälzschleifen
DE19624842C2 (de) * 1996-06-21 2000-08-10 Reishauer Ag Verfahren zum flexiblen Profilieren von Schleifschnecken, ein Profilierwerkzeug und eine Vorrichtung zur Durchführung des Verfahrens
DE19625370C1 (de) * 1996-06-25 1997-04-30 Reishauer Ag Schleifmaschine zum Schleifen von Stirnzahnrädern
DE29717193U1 (de) 1997-09-25 1997-11-20 Oerlikon Geartec AG, Zürich Innenschleifkopf mit abrichtbarer Schleifscheibe
DE19827897A1 (de) * 1998-06-23 1999-12-30 Oerlikon Geartec Ag Zuerich Verfahren zum Schleifen von wenigstens einer Fläche an einem in der Zerspantechnik eingesetzten Schneidmesser, Verwendung des Verfahrens und Schleifscheibe zur Durchführung des Verfahrens
DE19910747B9 (de) * 1999-03-11 2012-03-08 Reishauer Ag Verfahren und Vorrichtung zum Einmitten eines Abrichtwerkzeuges in die Ganglücke einer Schleifschnecke
DE10344945B4 (de) * 2003-09-27 2006-02-16 The Gleason Works Verfahren zum Teil-Wälzschleifen der Zahnflanken und zusätzlich Schleifen der Zahnköpfe von verzahnten Werkstücken, insbesondere Schabrädern in einer Aufspannung mit einer scheibenförmigen Schleifscheibe
JP4220944B2 (ja) * 2004-07-15 2009-02-04 三菱重工業株式会社 歯車研削盤
JP2006035340A (ja) * 2004-07-23 2006-02-09 Mitsubishi Heavy Ind Ltd 歯車研削装置及び歯車研削方法
JP4202306B2 (ja) * 2004-07-29 2008-12-24 三菱重工業株式会社 歯車研削盤
CA2581724C (en) * 2005-02-03 2010-11-30 David J. Fisher Method and apparatus for manufacturing a face gear
CN2788947Y (zh) * 2005-06-03 2006-06-21 河南科技大学 一种内齿轮成型磨齿机床
US8267624B2 (en) * 2005-06-27 2012-09-18 The Gleason Works Full point width cutting blades
CN100507316C (zh) * 2005-12-30 2009-07-01 武汉理工大学 一种点线啮合齿轮及其磨齿加工方法
JP4648219B2 (ja) * 2006-02-28 2011-03-09 三菱重工業株式会社 歯車研削盤
DE102007020479B4 (de) * 2007-04-27 2010-10-21 Kapp Gmbh Verfahren und Schleifmaschine zum Profilieren eines Schleifwerkzeugs
DE102008010302A1 (de) * 2008-02-21 2009-08-27 Liebherr-Verzahntechnik Gmbh Vorrichtung und Verfahren zur Prototypen- und Kleinserienfertigung von Zahnrädern
DE102008010301A1 (de) * 2008-02-21 2009-09-03 Liebherr-Verzahntechnik Gmbh Verfahren zum Betrieb einer Verzahnungsschleifmaschine
DE102009023275A1 (de) * 2009-05-29 2010-12-02 Liebherr-Verzahntechnik Gmbh Verzahnmaschine
WO2011043225A1 (ja) * 2009-10-05 2011-04-14 本田技研工業株式会社 歯面振れ測定装置及び歯面振れ測定方法、研削工具成形装置及び研削工具成形方法、並びに、歯車研削装置の歯合わせ方法

Also Published As

Publication number Publication date
ATE553871T1 (de) 2012-05-15
EP2326449A2 (de) 2011-06-01
ES2404828T3 (es) 2013-05-29
WO2010025942A3 (de) 2010-11-25
CN103144042B (zh) 2016-02-10
US8882564B2 (en) 2014-11-11
EP2326449B9 (de) 2013-12-25
CN102143820B (zh) 2013-11-06
JP2012501859A (ja) 2012-01-26
EP2161092B1 (de) 2012-04-18
CN102143820A (zh) 2011-08-03
WO2010025942A2 (de) 2010-03-11
CN103144042A (zh) 2013-06-12
US20110159787A1 (en) 2011-06-30
ES2404828T9 (es) 2014-02-03
PL2326449T3 (pl) 2013-08-30
EP2326449B1 (de) 2013-03-13
EP2161092A1 (de) 2010-03-10

Similar Documents

Publication Publication Date Title
JP5576868B2 (ja) 歯切り研削盤及び研削工具をドレッシングするための方法
JP4648219B2 (ja) 歯車研削盤
CN102264510B (zh) 内齿轮磨削机和用于桶状螺纹刀具的修整方法
JP4220944B2 (ja) 歯車研削盤
JP5857660B2 (ja) 研削盤のツルーイング装置
JP4202306B2 (ja) 歯車研削盤
CN102806523B (zh) 修整工具的方法和齿轮研磨机
JP5244577B2 (ja) 内歯車研削盤
JP2008279594A (ja) ワークの精密仕上げのための精密加工装置
JP2009255186A (ja) 研削盤及び研削方法
RU2009120199A (ru) Способ и шлифовальный станок для полного шлифования коротких и/или стержневидных обрабатываемых деталей (варианты)
JPH1058230A (ja) 平歯車の精密機械加工方法および装置
TWI381905B (zh) 三軌式的磨床設備
US9011208B2 (en) Dual-spindle grinder
JP5703761B2 (ja) 研削盤および砥石車のツルーイング方法
JP5475343B2 (ja) 回転鋸の研削装置
JP5125391B2 (ja) 旋回装置およびそれを備えた円筒研削盤
JP2016083707A (ja) ドレッシング砥石を搭載するnc研削盤加工装置
JP6197567B2 (ja) ツルーイング方法及びツルーイング装置
JPS61146471A (ja) ドレツシング装置
JP5549391B2 (ja) 研削盤
JP2012091284A (ja) 研削方法および複合研削盤
JP2010179444A (ja) 研削盤および研削方法
CN101249621A (zh) 一种轴类工件的数控磨削方法
JP2003103462A (ja) 2個の砥石台を有する研削盤におけるツルーイング装置

Legal Events

Date Code Title Description
A621 Written request for application examination

Free format text: JAPANESE INTERMEDIATE CODE: A621

Effective date: 20120619

A977 Report on retrieval

Free format text: JAPANESE INTERMEDIATE CODE: A971007

Effective date: 20130912

A131 Notification of reasons for refusal

Free format text: JAPANESE INTERMEDIATE CODE: A131

Effective date: 20130920

A601 Written request for extension of time

Free format text: JAPANESE INTERMEDIATE CODE: A601

Effective date: 20131220

A602 Written permission of extension of time

Free format text: JAPANESE INTERMEDIATE CODE: A602

Effective date: 20140106

A521 Request for written amendment filed

Free format text: JAPANESE INTERMEDIATE CODE: A523

Effective date: 20140120

TRDD Decision of grant or rejection written
A01 Written decision to grant a patent or to grant a registration (utility model)

Free format text: JAPANESE INTERMEDIATE CODE: A01

Effective date: 20140624

A61 First payment of annual fees (during grant procedure)

Free format text: JAPANESE INTERMEDIATE CODE: A61

Effective date: 20140704

R150 Certificate of patent or registration of utility model

Ref document number: 5576868

Country of ref document: JP

Free format text: JAPANESE INTERMEDIATE CODE: R150

R250 Receipt of annual fees

Free format text: JAPANESE INTERMEDIATE CODE: R250

R250 Receipt of annual fees

Free format text: JAPANESE INTERMEDIATE CODE: R250

R250 Receipt of annual fees

Free format text: JAPANESE INTERMEDIATE CODE: R250

R250 Receipt of annual fees

Free format text: JAPANESE INTERMEDIATE CODE: R250

R250 Receipt of annual fees

Free format text: JAPANESE INTERMEDIATE CODE: R250

LAPS Cancellation because of no payment of annual fees