JP5451069B2 - 流体輸送を生成するための方法及び手段 - Google Patents
流体輸送を生成するための方法及び手段 Download PDFInfo
- Publication number
- JP5451069B2 JP5451069B2 JP2008518078A JP2008518078A JP5451069B2 JP 5451069 B2 JP5451069 B2 JP 5451069B2 JP 2008518078 A JP2008518078 A JP 2008518078A JP 2008518078 A JP2008518078 A JP 2008518078A JP 5451069 B2 JP5451069 B2 JP 5451069B2
- Authority
- JP
- Japan
- Prior art keywords
- flow path
- fluid
- absorption
- fluid flow
- area
- Prior art date
- Legal status (The legal status is an assumption and is not a legal conclusion. Google has not performed a legal analysis and makes no representation as to the accuracy of the status listed.)
- Expired - Fee Related
Links
Images
Classifications
-
- G—PHYSICS
- G01—MEASURING; TESTING
- G01N—INVESTIGATING OR ANALYSING MATERIALS BY DETERMINING THEIR CHEMICAL OR PHYSICAL PROPERTIES
- G01N33/00—Investigating or analysing materials by specific methods not covered by groups G01N1/00 - G01N31/00
- G01N33/48—Biological material, e.g. blood, urine; Haemocytometers
- G01N33/50—Chemical analysis of biological material, e.g. blood, urine; Testing involving biospecific ligand binding methods; Immunological testing
- G01N33/53—Immunoassay; Biospecific binding assay; Materials therefor
- G01N33/558—Immunoassay; Biospecific binding assay; Materials therefor using diffusion or migration of antigen or antibody
-
- B—PERFORMING OPERATIONS; TRANSPORTING
- B01—PHYSICAL OR CHEMICAL PROCESSES OR APPARATUS IN GENERAL
- B01L—CHEMICAL OR PHYSICAL LABORATORY APPARATUS FOR GENERAL USE
- B01L3/00—Containers or dishes for laboratory use, e.g. laboratory glassware; Droppers
- B01L3/50—Containers for the purpose of retaining a material to be analysed, e.g. test tubes
- B01L3/502—Containers for the purpose of retaining a material to be analysed, e.g. test tubes with fluid transport, e.g. in multi-compartment structures
- B01L3/5025—Containers for the purpose of retaining a material to be analysed, e.g. test tubes with fluid transport, e.g. in multi-compartment structures for parallel transport of multiple samples
-
- B—PERFORMING OPERATIONS; TRANSPORTING
- B01—PHYSICAL OR CHEMICAL PROCESSES OR APPARATUS IN GENERAL
- B01L—CHEMICAL OR PHYSICAL LABORATORY APPARATUS FOR GENERAL USE
- B01L3/00—Containers or dishes for laboratory use, e.g. laboratory glassware; Droppers
- B01L3/50—Containers for the purpose of retaining a material to be analysed, e.g. test tubes
- B01L3/502—Containers for the purpose of retaining a material to be analysed, e.g. test tubes with fluid transport, e.g. in multi-compartment structures
- B01L3/5023—Containers for the purpose of retaining a material to be analysed, e.g. test tubes with fluid transport, e.g. in multi-compartment structures with a sample being transported to, and subsequently stored in an absorbent for analysis
-
- B—PERFORMING OPERATIONS; TRANSPORTING
- B01—PHYSICAL OR CHEMICAL PROCESSES OR APPARATUS IN GENERAL
- B01L—CHEMICAL OR PHYSICAL LABORATORY APPARATUS FOR GENERAL USE
- B01L3/00—Containers or dishes for laboratory use, e.g. laboratory glassware; Droppers
- B01L3/50—Containers for the purpose of retaining a material to be analysed, e.g. test tubes
- B01L3/502—Containers for the purpose of retaining a material to be analysed, e.g. test tubes with fluid transport, e.g. in multi-compartment structures
- B01L3/5027—Containers for the purpose of retaining a material to be analysed, e.g. test tubes with fluid transport, e.g. in multi-compartment structures by integrated microfluidic structures, i.e. dimensions of channels and chambers are such that surface tension forces are important, e.g. lab-on-a-chip
- B01L3/502746—Containers for the purpose of retaining a material to be analysed, e.g. test tubes with fluid transport, e.g. in multi-compartment structures by integrated microfluidic structures, i.e. dimensions of channels and chambers are such that surface tension forces are important, e.g. lab-on-a-chip characterised by the means for controlling flow resistance, e.g. flow controllers, baffles
-
- B—PERFORMING OPERATIONS; TRANSPORTING
- B01—PHYSICAL OR CHEMICAL PROCESSES OR APPARATUS IN GENERAL
- B01L—CHEMICAL OR PHYSICAL LABORATORY APPARATUS FOR GENERAL USE
- B01L2300/00—Additional constructional details
- B01L2300/08—Geometry, shape and general structure
- B01L2300/0809—Geometry, shape and general structure rectangular shaped
- B01L2300/0816—Cards, e.g. flat sample carriers usually with flow in two horizontal directions
-
- B—PERFORMING OPERATIONS; TRANSPORTING
- B01—PHYSICAL OR CHEMICAL PROCESSES OR APPARATUS IN GENERAL
- B01L—CHEMICAL OR PHYSICAL LABORATORY APPARATUS FOR GENERAL USE
- B01L2300/00—Additional constructional details
- B01L2300/08—Geometry, shape and general structure
- B01L2300/0887—Laminated structure
-
- B—PERFORMING OPERATIONS; TRANSPORTING
- B01—PHYSICAL OR CHEMICAL PROCESSES OR APPARATUS IN GENERAL
- B01L—CHEMICAL OR PHYSICAL LABORATORY APPARATUS FOR GENERAL USE
- B01L2300/00—Additional constructional details
- B01L2300/08—Geometry, shape and general structure
- B01L2300/089—Virtual walls for guiding liquids
-
- B—PERFORMING OPERATIONS; TRANSPORTING
- B01—PHYSICAL OR CHEMICAL PROCESSES OR APPARATUS IN GENERAL
- B01L—CHEMICAL OR PHYSICAL LABORATORY APPARATUS FOR GENERAL USE
- B01L2300/00—Additional constructional details
- B01L2300/16—Surface properties and coatings
- B01L2300/161—Control and use of surface tension forces, e.g. hydrophobic, hydrophilic
-
- B—PERFORMING OPERATIONS; TRANSPORTING
- B01—PHYSICAL OR CHEMICAL PROCESSES OR APPARATUS IN GENERAL
- B01L—CHEMICAL OR PHYSICAL LABORATORY APPARATUS FOR GENERAL USE
- B01L2400/00—Moving or stopping fluids
- B01L2400/04—Moving fluids with specific forces or mechanical means
- B01L2400/0403—Moving fluids with specific forces or mechanical means specific forces
- B01L2400/0406—Moving fluids with specific forces or mechanical means specific forces capillary forces
-
- B—PERFORMING OPERATIONS; TRANSPORTING
- B01—PHYSICAL OR CHEMICAL PROCESSES OR APPARATUS IN GENERAL
- B01L—CHEMICAL OR PHYSICAL LABORATORY APPARATUS FOR GENERAL USE
- B01L2400/00—Moving or stopping fluids
- B01L2400/08—Regulating or influencing the flow resistance
- B01L2400/084—Passive control of flow resistance
- B01L2400/086—Passive control of flow resistance using baffles or other fixed flow obstructions
-
- Y—GENERAL TAGGING OF NEW TECHNOLOGICAL DEVELOPMENTS; GENERAL TAGGING OF CROSS-SECTIONAL TECHNOLOGIES SPANNING OVER SEVERAL SECTIONS OF THE IPC; TECHNICAL SUBJECTS COVERED BY FORMER USPC CROSS-REFERENCE ART COLLECTIONS [XRACs] AND DIGESTS
- Y10—TECHNICAL SUBJECTS COVERED BY FORMER USPC
- Y10T—TECHNICAL SUBJECTS COVERED BY FORMER US CLASSIFICATION
- Y10T436/00—Chemistry: analytical and immunological testing
- Y10T436/25—Chemistry: analytical and immunological testing including sample preparation
- Y10T436/2575—Volumetric liquid transfer
Landscapes
- Health & Medical Sciences (AREA)
- Chemical & Material Sciences (AREA)
- Hematology (AREA)
- Analytical Chemistry (AREA)
- General Health & Medical Sciences (AREA)
- Chemical Kinetics & Catalysis (AREA)
- Clinical Laboratory Science (AREA)
- Immunology (AREA)
- Life Sciences & Earth Sciences (AREA)
- Engineering & Computer Science (AREA)
- Molecular Biology (AREA)
- Biomedical Technology (AREA)
- Urology & Nephrology (AREA)
- Dispersion Chemistry (AREA)
- Cell Biology (AREA)
- Microbiology (AREA)
- Food Science & Technology (AREA)
- Medicinal Chemistry (AREA)
- Physics & Mathematics (AREA)
- Biochemistry (AREA)
- General Physics & Mathematics (AREA)
- Pathology (AREA)
- Biotechnology (AREA)
- Investigating Or Analysing Biological Materials (AREA)
- Automatic Analysis And Handling Materials Therefor (AREA)
- Absorbent Articles And Supports Therefor (AREA)
Description
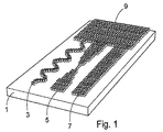
本発明者は、分析される流体、特に、生体サンプルで実施される診断及び分析測定のケースでよくある少量サンプル、を取り扱うための改良された装置及び方法を、利用可能にした。本発明の実施形態は、第1端部と第2端部とを有する流体輸送のための少なくとも1つの流体流路と、少なくとも1つの流体流路を通して、或いはこれに沿って、流体輸送を確立、維持、及び/又は計測するように特に構成される吸収区域と、を含む装置に、係るものであり、この吸収区域は、基板表面を有する非多孔性基板を備え、この区域は、この表面に対して実質的に垂直な突起を有し、この突起は、区域内で流体の側方毛管流が得られるような、高さH、直径D、及び突起間距離t1,t2を有する。
本装置及び方法を記述する前に、ここで開示された構成、方法ステップ、及び材料は、幾分変わる場合もあるため、本発明がこういった特定の構成、方法ステップ、及び材料に限定されないことを、理解するべきである。更に、本発明の適用範囲は、添付の請求項及びそれと等価なものによってのみ、限定されることから、ここで用いられる用語は、特定の実施形態を記述するためだけに用いられるものであり、限定することを意図するものではないことを、理解するべきである。
本発明の実施形態により、従来型の吸収パッドを更に小型の構造で置き換えることができるようになるが、ここで、基本となる垂直突起によって、吸収区域の均一性と信頼性が確保される。垂直突起により、流体流路から吸収区域までの滑らかな移行と、この吸収区域内でのサンプル流体の安定した分布と、が保証される。
WO03/103835号に記載のマイクロピラー構造は、Amic AB社、ウプサラ、スウェーデンにより製造され、毛管流路と、吸収区域に対する移行及び支持と、の両方を構成するように、用いられた。試験される構造を含むポジ原型は、ケイ酸製構造体をエッチングすることで作製され、ニッケル製で作製されたネガ型は、このケイ酸製原型を用いて作製された。複数の試験構成は、ネガ型に対する熱可塑性プラスチック押し出しにより作製され、1ミリメートルの厚さのポリプロピレン製ディスク上に構造体を生成したものであるが、これは、垂直突起又はマイクロピラーで構成される流体流路又は開いた流路を各々がもつストリップに切断されたものである。このストリップは、実用上の理由から、典型的な顕微鏡送り台と同じ寸法、すなわち20×76ミリメートルであった。
乾燥したセファデックスG25(媒体、アマシャム・バイオサイエンス社、ウプサラ、スウェーデン)25ミリグラムが、垂直突起間で分散するように、流路の末端に置かれた。流量は、上述の緩衝液の付加により測定された。結果は表1で示される。
長さ25ミリメートル、幅5ミリメートルのCF6(ワットマン社、メイドストーン、英国)吸収フィルタが、垂直突起上に静置されるように、流路の末端に置かれた。流量は、上述の緩衝液の付加により測定された。結果は表2で示される。
ポリウレタンフォームは、垂直突起を構成する領域内で、流路の端末において装置内の現位置で硬化された。発泡体は、突起間のスペースを満たし、残りの流路との良好な流体連通をもたらした。発泡体により100マイクロリットルが吸収される時間が、異なるサンプルについて3回測定された。結果(表3)によれば、発泡体が吸収区域の働きをして、関連流れが得られることが示された。ポロシティ、硬化、及び他の特性、に関する発泡体の最適化により、良好な流量をもたらすこともできることが予想される。
試験ストリップは、高さ69マイクロメートル、直径46マイクロメートルの寸法を持つマイクロピラーの領域で構成されるか、或いはこれに繋がる流体流路を持つように作製され、互いにおよそ29マイクロメートルの距離に置かれた。流路は、約25ミリメートルの長さと4ミリメートルの幅を持っていた。接着箔で覆われたサンプル付加に対する遠位端。親水性及び疎水性の接着剤を持つ異なる箔が、試験された(アドヒーシブ・リサーチ社、米国によって提供されたサンプル)。
なお、本発明の好ましい実施態様は以下の通りである。
(1) 分析される流体を取り扱うための装置であって、
前記装置が、
基板表面を有する非多孔性基板と、
第1端部と、前記第1端部の反対側の第2端部と、を有する少なくとも1つの流体流路と、
前記少なくとも1つの第1流路の前記第2端部と流体接触する少なくとも1つの吸収区域と、を備えており、
前記少なくとも1つの吸収区域が、前記基板表面に対して実質的に垂直な突起を、備えており、
前記突起が、前記少なくとも1つの流体流路の前記第2端部から、前記吸収区域と接触するように置かれた流体の、前記基板表面に対して側方の毛管流を生成することのできる、高さ、直径、及び突起間距離を有している、ことを特徴とする装置。
(2) 前記装置が、使い捨て可能な分析装置又はその装置の一部である、実施態様1に記載の装置。
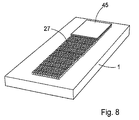
(3) 箔が、前記吸収区域の前記垂直突起上に設けられている、実施態様1に記載の装置。
(4) 前記箔が、前記少なくとも1つの流体流路内の流速に影響を及ぼす親水特性を、有している、実施態様3に記載の装置。
(5) 吸収材料が、前記吸収区域の上又は中に設けられている、実施態様1に記載の装置。
(6) 前記吸収材料が、セルロース含有材料、吸湿性塩、親水性重合体構造、親水性固体粒子、屈曲性高分子鎖の架橋ネットワークの多孔性粒子、高吸水性材料、及び熱可塑性プラスチック発泡体材料、の中から選択される、実施態様5に記載の装置。
(7) 前記吸収材料が、架橋デキストラン又はアガローズの粒子を含んでいる、実施態様5に記載の装置。
(8) 前記吸収材料が、ポリウレタンフォームである、実施態様5に記載の装置。
(9) 前記吸収材料が、高吸収性である、実施態様5に記載の装置。
(10) 前記少なくとも1つの流体流路が、毛管流を支持する流路である、実施態様1に記載の装置。
(11) 前記少なくとも1つの流体流路が、それ自体は毛管流を支持しない流路である、実施態様1に記載の装置。
(12) 前記装置が、同一の吸収区域又は同一区域のセクションまで繋がる並列流路を、備えている、実施態様1に記載の装置。
(13) 前記装置が、同一又は異なる吸収容量を示す2つ以上の吸収区域まで繋がる並列流路を、備えている、実施態様1に記載の装置。
(14) 1つ或いは両方の吸収区域が、箔で覆われており、該区域が、同一又は異なる流体容量を示している、実施態様13に記載の装置。
(15) 前記吸収区域の前記流体容量が、輸送される流体の体積と、少なくとも等しいか、好ましくは少なくとも2倍である、実施態様1乃至14の内のいずれか1つの項に記載の装置。
(16) 前記流体流路に沿って供給されるサンプルの体積が、前記吸収区域の前記吸収容量によって決められ、前記装置に対して加えられるサンプルの量によって決められない、実施態様1乃至14の内のいずれか1つの項に記載の装置。
(17) 基板表面を有する非多孔性基板上の少なくとも1つの流体流路内で流体輸送を取り扱う方法であって、
少なくとも1つの流体流路が、第1端部と、前記第1端部の反対側の第2端部と、を有し、
少なくとも1つの吸収区域が、前記少なくとも1つの第1流路の前記第2端部と流体接触し、
前記流路の流体輸送が、1つの吸収区域によって確立及び/又は維持され、
前記少なくとも1つの吸収区域が、前記基板表面に対して実質的に垂直な突起を備え、
前記突起が、前記少なくとも1つの流体流路の前記第2端部から、前記吸収区域と接触するように置かれた流体の、前記基板表面に対して側方の毛管流を生成することのできる、高さ、直径、及び突起間距離を、有することを特徴とする方法。
(18) 前記基板が、使い捨て可能な分析装置の一部である、実施態様17に記載の方法。
(19) 箔が、前記吸収区域の前記垂直突起上に設けられる、実施態様17に記載の方法。
(20) 前記装置の流速が、前記箔の親水特性の選択による影響を受ける、実施態様19に記載の方法。
(21) 吸収材料が、前記吸収区域の上又は中に設けられる、実施態様17に記載の方法。
(22) 前記吸収材料が、セルロース含有材料、吸湿性塩、親水性重合体構造、屈曲性高分子鎖の架橋ネットワークの多孔性粒子、固体吸湿性粒子、高吸水性材料、及び熱可塑性プラスチック発泡体物質、の中から選択される、実施態様21に記載の方法。
(23) 前記少なくとも1つの流体流路が、毛管流を支持する流路である、実施態様17に記載の方法。
(24) 前記少なくとも1つの流体流路が、それ自体は毛管流を支持しない流路である、実施態様17に記載の方法。
(25) 前記装置が、同一の吸収区域又は同一区域のセクションまで繋がる並列流路を備え、同一又は異なる吸収容量を示す、実施態様17に記載の方法。
(26) 1つ或いは両方の吸収区域が、箔で覆われ、該区域が、同一又は異なる吸収容量を示す、実施態様17に記載の方法。
(27) 前記吸収区域の前記容量が、輸送される流体の体積と少なくとも等しい、実施態様17乃至26の内のいずれか1つの項に記載の方法。
(28) 前記流体流路に沿って供給されるサンプルの体積が、前記吸収区域の前記吸収容量によって決められ、前記装置に対して加えられるサンプルの量によって決められない、実施態様17乃至26の内のいずれか1つの項に記載の方法。
(29) 実施態様1乃至16の内のいずれか1つの項に記載の装置を備えたことを特徴とする分析又は診断試験装置。
(30) 実施態様17乃至28の内のいずれか1つの項に記載のステップを備えたことを特徴とする方法。
Claims (25)
- 分析される流体を取り扱うための装置において、
前記装置が、
基板表面を有する非多孔性基板と、
第1端部と、前記第1端部の反対側の第2端部と、を有する少なくとも1つの流体流路と、
前記少なくとも1つの流体流路の前記第2端部と流体接触する少なくとも1つの吸収区域と、を備えており、
前記少なくとも1つの吸収区域が、前記基板表面に対して実質的に垂直な突起を収納する、ある流体容量を持ち、
前記突起が、前記少なくとも1つの流体流路の前記第2端部から、前記吸収区域と接触するように置かれた流体の、前記基板表面に対して側方の、前記吸収区域の吸収容量を決める毛管流を生成することのできる、高さ、直径、及び突起間距離を有しており、
前記吸収区域の前記垂直突起上に箔が設けられており、当該箔が、前記少なくとも1つの流体流路内の流速に影響を及ぼす親水特性を有しており、
前記流体流路に沿って供給されるサンプルの体積が、前記吸収区域の前記吸収容量によって決められ、前記装置に対して加えられるサンプルの量によって決められない、
ことを特徴とする装置。 - 請求項1に記載の装置において、前記装置が、使い捨て可能な分析装置又はその装置の一部である、装置。
- 請求項1に記載の装置において、吸収材料が、前記吸収区域の上又は中に設けられている、装置。
- 請求項3に記載の装置において、前記吸収材料が、セルロース含有材料、吸湿性塩、親水性重合体構造、親水性固体粒子、屈曲性高分子鎖の架橋ネットワークの多孔性粒子、高吸水性材料、及び熱可塑性プラスチック発泡体材料、の中から選択される、装置。
- 請求項3に記載の装置において、前記吸収材料が、架橋デキストラン又はアガローズの粒子を含んでいる、装置。
- 請求項3に記載の装置において、前記吸収材料が、ポリウレタンフォームである、装置。
- 請求項3に記載の装置において、前記吸収材料が、高吸収性である、装置。
- 請求項1に記載の装置において、前記少なくとも1つの流体流路が、毛管流を支持する流路である、装置。
- 請求項1に記載の装置において、前記少なくとも1つの流体流路が、それ自体は毛管流を支持しない流路である、装置。
- 請求項1に記載の装置において、前記装置が、同一の吸収区域又は同一区域のセクションまで繋がる並列流路を、備えている、装置。
- 請求項1に記載の装置において、前記装置が、同一又は異なる吸収容量を示す2つ以上の吸収区域まで繋がる並列流路を、備えている、装置。
- 請求項11に記載の装置において、1つ或いは両方の吸収区域が、箔で覆われており、該区域が、同一又は異なる流体容量を示している、装置。
- 請求項1〜12のいずれか1項に記載の装置において、前記吸収区域の流体容量が、輸送される流体の体積と、少なくとも等しいか、好ましくは少なくとも2倍である、装置。
- 基板表面を有する非多孔性基板上の少なくとも1つの流体流路内で流体輸送を取り扱う方法において、
少なくとも1つの流体流路が、第1端部と、前記第1端部の反対側の第2端部と、を有し、
少なくとも1つの吸収区域が、前記少なくとも1つの流体流路の前記第2端部と流体接触し、
前記流路の流体輸送が、1つの吸収区域によって確立及び/又は維持され、
前記少なくとも1つの吸収区域が、前記基板表面に対して実質的に垂直な突起を収納する、ある流体容量を持ち、
前記突起が、前記少なくとも1つの流体流路の前記第2端部から、前記吸収区域と接触するように置かれた流体の、前記基板表面に対して側方の、前記吸収区域の吸収容量を決める毛管流を生成することのできる、高さ、直径、及び突起間距離を、有し、
前記吸収区域の前記垂直突起上に箔が設けられており、当該箔が、前記少なくとも1つの流体流路内の流速に影響を及ぼす親水特性を有しており、
前記流体流路に沿って供給されるサンプルの体積が、前記吸収区域の前記吸収容量によって決められ、前記装置に対して加えられるサンプルの量によって決められない、
ことを特徴とする方法。 - 請求項14に記載の方法において、前記基板が、使い捨て可能な分析装置の一部である、方法。
- 請求項14に記載の方法において、前記装置の流速が、前記箔の親水特性の選択による影響を受ける、方法。
- 請求項14に記載の方法において、吸収材料が、前記吸収区域の上又は中に設けられる、方法。
- 請求項17に記載の方法において、前記吸収材料が、セルロース含有材料、吸湿性塩、親水性重合体構造、屈曲性高分子鎖の架橋ネットワークの多孔性粒子、固体吸湿性粒子、高吸水性材料、及び熱可塑性プラスチック発泡体物質、の中から選択される、方法。
- 請求項14に記載の方法において、前記少なくとも1つの流体流路が、毛管流を支持する流路である、方法。
- 請求項14に記載の方法において、前記少なくとも1つの流体流路が、それ自体は毛管流を支持しない流路である、方法。
- 請求項14に記載の方法において、前記装置が、同一の吸収区域又は同一区域のセクションまで繋がる並列流路を備え、同一又は異なる吸収容量を示す、方法。
- 請求項14に記載の方法において、1つ或いは両方の吸収区域が、箔で覆われ、該区域が、同一又は異なる吸収容量を示す、方法。
- 請求項14〜22のいずれか1項に記載の方法において、前記吸収区域の前記流体容量が、輸送される流体の体積と少なくとも等しい、方法。
- 請求項1〜13のいずれか1項に記載の装置を備えたことを特徴とする分析又は診断試験装置。
- 請求項14〜23のいずれか1項に記載の方法によって得られた流体を分析する、方法。
Applications Claiming Priority (3)
| Application Number | Priority Date | Filing Date | Title |
|---|---|---|---|
| SE0501418A SE0501418L (sv) | 2005-06-20 | 2005-06-20 | Metod och medel för att åstadkomma vätsketransport |
| SE0501418-8 | 2005-06-20 | ||
| PCT/SE2006/000745 WO2006137785A1 (en) | 2005-06-20 | 2006-06-20 | Method and means for creating fluid transport |
Publications (2)
| Publication Number | Publication Date |
|---|---|
| JP2008547017A JP2008547017A (ja) | 2008-12-25 |
| JP5451069B2 true JP5451069B2 (ja) | 2014-03-26 |
Family
ID=37054375
Family Applications (1)
| Application Number | Title | Priority Date | Filing Date |
|---|---|---|---|
| JP2008518078A Expired - Fee Related JP5451069B2 (ja) | 2005-06-20 | 2006-06-20 | 流体輸送を生成するための方法及び手段 |
Country Status (8)
| Country | Link |
|---|---|
| US (1) | US8821812B2 (ja) |
| EP (1) | EP1893337B1 (ja) |
| JP (1) | JP5451069B2 (ja) |
| CN (1) | CN101203311B (ja) |
| AU (1) | AU2006259886B2 (ja) |
| BR (1) | BRPI0612248A2 (ja) |
| SE (1) | SE0501418L (ja) |
| WO (1) | WO2006137785A1 (ja) |
Families Citing this family (87)
| Publication number | Priority date | Publication date | Assignee | Title |
|---|---|---|---|---|
| ES2375724T3 (es) | 2002-09-27 | 2012-03-05 | The General Hospital Corporation | Dispositivo microflu�?dico para seperación de células y sus usos. |
| SE0400662D0 (sv) * | 2004-03-24 | 2004-03-24 | Aamic Ab | Assay device and method |
| US8921102B2 (en) | 2005-07-29 | 2014-12-30 | Gpb Scientific, Llc | Devices and methods for enrichment and alteration of circulating tumor cells and other particles |
| JP4934360B2 (ja) * | 2006-07-05 | 2012-05-16 | 学校法人東京女子医科大学 | 細胞培養支持体 |
| DK2150809T3 (da) * | 2007-05-23 | 2019-08-05 | Pharmafluidics Nv | Indretning til fordeling af prøve og bærervæske over en mikrofremstillet separationskanal |
| WO2009075894A1 (en) * | 2007-12-13 | 2009-06-18 | Beckman Coulter, Inc | Device and methods for detecting a target cell |
| US8008032B2 (en) * | 2008-02-25 | 2011-08-30 | Cellective Dx Corporation | Tagged ligands for enrichment of rare analytes from a mixed sample |
| SE533515C2 (sv) | 2008-04-16 | 2010-10-12 | Aamic Ab | Analysförfarande för samtidig analys av flera analyter |
| US8974749B2 (en) * | 2008-06-16 | 2015-03-10 | Johnson & Johnson Ab | Assay device and method |
| US9285361B2 (en) * | 2008-07-03 | 2016-03-15 | Johnson & Johnson Ab | Method for the analysis of circulating antibodies |
| KR101102532B1 (ko) | 2008-07-10 | 2012-01-03 | 삼성전자주식회사 | 시약 카트리지, 시약 카트리지를 구비하는 미세유동장치, 그 제조방법, 및 이를 이용한 시료분석방법 |
| US20110243811A1 (en) * | 2008-08-26 | 2011-10-06 | Wen-Pin Hsieh | Substrate of analytical strip |
| CN102099682B (zh) * | 2008-08-29 | 2013-12-18 | 红电医学科技股份有限公司 | 流体检测试片 |
| CA2755347A1 (en) * | 2009-03-23 | 2010-09-30 | Actherm Inc. | Analytical strip and the manufacturing method thereof |
| EP2421649B1 (en) | 2009-04-23 | 2018-01-24 | Dublin City University | A lateral flow assay device for coagulation monitoring and method thereof |
| EP2270506A3 (en) | 2009-07-02 | 2011-03-09 | Amic AB | Amplified labeled conjugate for use in immunoassays |
| EP2281632B1 (en) | 2009-07-02 | 2013-11-13 | Amic AB | Capillary driven assay device and its manufacture |
| CA2777807A1 (en) * | 2009-10-16 | 2011-04-21 | Amic Ab | An assay method and devices involving the use of magnetic particles |
| JP5490492B2 (ja) * | 2009-10-30 | 2014-05-14 | 学校法人立命館 | 血漿分離器及び血液分析装置 |
| GB201014316D0 (en) | 2010-08-27 | 2010-10-13 | Univ Dublin City | A agglutination assay method and device |
| US9451913B2 (en) * | 2010-12-10 | 2016-09-27 | Touchtek Labs, Llc | Transdermal sampling and analysis device |
| EP2694967A4 (en) | 2011-04-06 | 2014-10-29 | Ortho Clinical Diagnostics Inc | ANALYSIS DEVICE HAVING LOSS-SHAPED PROJECTIONS |
| CN103998932B (zh) | 2011-06-29 | 2017-06-06 | 中央研究院 | 使用表面涂层对生物物质的捕获、纯化和释放 |
| KR20130085991A (ko) | 2012-01-20 | 2013-07-30 | 오르토-클리니칼 다이아그노스틱스, 인코포레이티드 | 코너 주위의 균일한 유동을 갖는 분석 장치 |
| WO2013109821A1 (en) | 2012-01-20 | 2013-07-25 | Ortho-Clinical Diagnostics, Inc. | Assay device having multiplexing |
| JP2013148585A (ja) * | 2012-01-20 | 2013-08-01 | Ortho-Clinical Diagnostics Inc | 増加した感度を有する低体積のアッセイ装置 |
| US20130189672A1 (en) * | 2012-01-20 | 2013-07-25 | Ortho-Clinical Diagnostics, Inc. | Assay Device Having Multiple Reagent Cells |
| BR102013001324A2 (pt) * | 2012-01-20 | 2015-07-28 | Ortho Clinical Diagnostics Inc | Dispositivo de ensaio tendo tamanho de amostra controlável e método para controlar o tamanho da amostra em um dispositivo de ensaio |
| US20130210036A1 (en) | 2012-01-20 | 2013-08-15 | Ortho-Clinical Diagnostics, Inc. | Controlling Fluid Flow Through An Assay Device |
| CA2818332C (en) | 2012-06-12 | 2021-07-20 | Ortho-Clinical Diagnostics, Inc. | Lateral flow assay devices for use in clinical diagnostic apparatus and configuration of clinical diagnostic apparatus for same |
| ES2807902T3 (es) | 2012-08-21 | 2021-02-24 | Janssen Pharmaceutica Nv | Anticuerpos para olanzapina y uso de los mismos |
| US9410972B2 (en) | 2012-08-21 | 2016-08-09 | Janssen Pharmaceutica Nv | Antibodies to quetiapine and use thereof |
| CN110054693A (zh) | 2012-08-21 | 2019-07-26 | 詹森药业有限公司 | 喹硫平半抗原的抗体及其用途 |
| AU2013305970B2 (en) | 2012-08-21 | 2017-08-17 | Saladax Biomedical Inc. | Antibodies to aripiprazole haptens and use thereof |
| CA2882562C (en) | 2012-08-21 | 2019-08-27 | Eric Hryhorenko | Antibodies to aripiprazole and use thereof |
| JP2015529199A (ja) | 2012-08-21 | 2015-10-05 | オルソ−クリニカル ダイアグノスティクス,インコーポレイティド | パリペリドンハプテンに対する抗体及びその使用 |
| US9465041B2 (en) | 2012-08-21 | 2016-10-11 | Janssen Pharmaceutica Nv | Antibodies to paliperidone and use thereof |
| US9504682B2 (en) | 2012-08-21 | 2016-11-29 | Janssen Pharmaceutica Nv | Haptens of aripiprazole |
| CN109400708A (zh) | 2012-08-21 | 2019-03-01 | 詹森药业有限公司 | 奥氮平半抗原的抗体及其用途 |
| ES2926662T3 (es) | 2012-08-21 | 2022-10-27 | Janssen Pharmaceutica Nv | Anticuerpos contra haptenos de risperidona y uso de los mismos |
| US9664700B2 (en) | 2012-08-21 | 2017-05-30 | Janssen Pharmaceutica Nv | Antibodies to risperidone and use thereof |
| IN2015DN04062A (ja) | 2012-11-15 | 2015-10-09 | Ortho Clinical Diagnostics Inc | |
| CA2833532C (en) * | 2012-11-15 | 2021-10-26 | Ortho-Clinical Diagnostics, Inc. | Quality/process control of a lateral flow assay device based on flow monitoring |
| WO2014118764A2 (en) | 2013-02-04 | 2014-08-07 | Epona Biotech Ltd | Device and methods |
| KR20140100843A (ko) * | 2013-02-07 | 2014-08-18 | 삼성전자주식회사 | 시료 중의 당화 단백질을 포획하는 지지체 및 이를 이용한 상기 당화 단백질을 측정하는 장치 및 방법 |
| CA2841692C (en) | 2013-02-12 | 2023-08-22 | Zhong Ding | Reagent zone deposition pattern |
| JP2014173934A (ja) * | 2013-03-07 | 2014-09-22 | Toshiba Corp | 半導体マイクロ分析チップ及びその製造方法 |
| JP5951527B2 (ja) | 2013-03-07 | 2016-07-13 | 株式会社東芝 | 検体検出装置及び検出方法 |
| JP5904958B2 (ja) | 2013-03-07 | 2016-04-20 | 株式会社東芝 | 半導体マイクロ分析チップ及びその製造方法 |
| JP2014173937A (ja) * | 2013-03-07 | 2014-09-22 | Toshiba Corp | 半導体マイクロ分析チップ及び検体流動方法 |
| EP2777499B1 (en) | 2013-03-15 | 2015-09-16 | Ortho-Clinical Diagnostics Inc | Rotatable fluid sample collection device |
| US10898116B2 (en) | 2013-03-15 | 2021-01-26 | Cambridge Medical Technologies LLC | Methods of manufacture to optimize performance of transdermal sampling and analysis device |
| EP2778679B1 (en) | 2013-03-15 | 2017-09-27 | Ortho-Clinical Diagnostics, Inc. | Rotable disk-shaped fluid sample collection device |
| JP6151128B2 (ja) | 2013-08-12 | 2017-06-21 | 株式会社東芝 | 半導体マイクロ分析チップ及びその製造方法 |
| DE102013111759A1 (de) * | 2013-10-25 | 2015-04-30 | Bürkert Werke GmbH | Vorrichtung und Verfahren zur Untersuchung von Probenflüssigkeit |
| WO2015085181A1 (en) | 2013-12-06 | 2015-06-11 | Ortho Clinical Diagnostics, Inc. | Assay device having a wash port |
| JP6278772B2 (ja) * | 2014-03-19 | 2018-02-14 | テルモ株式会社 | 血糖値測定用チップ |
| TW201623605A (zh) | 2014-04-01 | 2016-07-01 | 中央研究院 | 用於癌症診斷及預後之方法及系統 |
| US9903858B2 (en) * | 2014-07-23 | 2018-02-27 | Ortho-Clinical Diagnostics, Inc. | Multiplexing with single sample metering event to increase throughput |
| US10031085B2 (en) | 2014-07-24 | 2018-07-24 | Ortho-Clinical Diagnostics, Inc. | Point of care analytical processing system |
| US10073091B2 (en) | 2014-08-08 | 2018-09-11 | Ortho-Clinical Diagnostics, Inc. | Lateral flow assay device |
| US11033896B2 (en) | 2014-08-08 | 2021-06-15 | Ortho-Clinical Diagnostics, Inc. | Lateral-flow assay device with filtration flow control |
| US10071373B2 (en) | 2014-08-08 | 2018-09-11 | Ortho-Clinical Diagnostics, Inc. | Lateral-flow assay device having flow constrictions |
| US10112198B2 (en) | 2014-08-26 | 2018-10-30 | Academia Sinica | Collector architecture layout design |
| GB2535998A (en) | 2015-02-27 | 2016-09-07 | Intelligent Fingerprinting Ltd | A device for receiving and analysing a sample |
| CN104880562A (zh) * | 2015-04-08 | 2015-09-02 | 上海盛复源生物医药有限公司 | 一种l-fabp快速检测试剂及其制备方法 |
| CN104880563A (zh) * | 2015-04-08 | 2015-09-02 | 上海盛复源生物医药有限公司 | 一种ngal快速检测试剂及其制备方法 |
| AU2016264112A1 (en) | 2015-05-19 | 2017-11-16 | Ortho-Clinical Diagnostics, Inc. | Method of improving liquid sample flow in assay device |
| CA3008809A1 (en) | 2015-12-17 | 2017-06-22 | Janssen Pharmaceutica Nv | Antibodies to risperidone and use thereof |
| JP6994461B2 (ja) | 2015-12-17 | 2022-02-04 | ヤンセン ファーマシューティカ エヌ.ベー. | クエチアピンに対する抗体及びその使用 |
| US10656151B2 (en) | 2016-01-29 | 2020-05-19 | Ortho-Clinical Diagnostics, Inc. | Air capillary vent for a lateral flow assay device |
| US10107726B2 (en) | 2016-03-16 | 2018-10-23 | Cellmax, Ltd. | Collection of suspended cells using a transferable membrane |
| CN107469478B (zh) * | 2016-06-07 | 2023-06-06 | 苏州苏瑞膜纳米科技有限公司 | 流体处理装置及其制备方法 |
| CN107469476A (zh) * | 2016-06-07 | 2017-12-15 | 杨国勇 | 流体处理装置 |
| WO2018152496A1 (en) | 2017-02-17 | 2018-08-23 | The Usa, As Represented By The Secretary, Dept. Of Health And Human Services | Compositions and methods for the diagnosis and treatment of zika virus infection |
| US11236151B2 (en) | 2017-04-25 | 2022-02-01 | The United States Of America, As Represented By The Secretary, Department Of Health And Human Services | Antibodies and methods for the diagnosis and treatment of Epstein Barr virus infection |
| EP3655430A1 (en) | 2017-07-19 | 2020-05-27 | The U.S.A. as represented by the Secretary, Department of Health and Human Services | Antibodies and methods for the diagnosis and treatment of hepatitis b virus infection |
| CN108393105B (zh) * | 2018-04-20 | 2023-08-25 | 华南师范大学 | 一种微流控芯片及其控制系统、控制方法 |
| WO2019213416A1 (en) | 2018-05-02 | 2019-11-07 | The Usa, As Represented By The Secretary, Dept. Of Health And Human Services | Antibodies and methods for the diagnosis, prevention, and treatment of epstein barr virus infection |
| EP3845909A4 (en) * | 2018-08-31 | 2022-05-18 | National Institute Of Advanced Industrial Science And Technology | Assay device |
| GB201902769D0 (en) | 2019-03-01 | 2019-04-17 | Univ Court Of The Univ Of Aberdeen | Antibody molcules and uses thereof |
| US11633129B2 (en) | 2019-04-05 | 2023-04-25 | Cambridge Medical Technologies LLC | Non-invasive transdermal sampling and analysis device incorporating redox cofactors |
| WO2021011944A2 (en) * | 2019-07-18 | 2021-01-21 | Essenlix Corporation | Imaging based homogeneous assay |
| US11375931B2 (en) | 2019-08-08 | 2022-07-05 | Cambridge Medical Technologies LLC | Non-invasive transdermal sampling and analysis device incorporating an electrochemical bioassay |
| CA3209078A1 (en) * | 2021-01-29 | 2022-08-04 | Ortho-Clinical Diagnostics, Inc. | Diagnostic photonic biosensor methods, apparatus, and system |
| US20250314591A1 (en) | 2022-05-13 | 2025-10-09 | University Of Rochester | Multiplex photonic biosensor apparatus, system, and methods |
| CN116105967B (zh) * | 2023-04-17 | 2023-06-20 | 四川省农业机械研究设计院 | 一种用于作物抗倒伏测试实验的风场实验平台 |
Family Cites Families (23)
| Publication number | Priority date | Publication date | Assignee | Title |
|---|---|---|---|---|
| US5051237A (en) | 1988-06-23 | 1991-09-24 | P B Diagnostic Systems, Inc. | Liquid transport system |
| US6767510B1 (en) | 1992-05-21 | 2004-07-27 | Biosite, Inc. | Diagnostic devices and apparatus for the controlled movement of reagents without membranes |
| US6156270A (en) | 1992-05-21 | 2000-12-05 | Biosite Diagnostics, Inc. | Diagnostic devices and apparatus for the controlled movement of reagents without membranes |
| US6143576A (en) | 1992-05-21 | 2000-11-07 | Biosite Diagnostics, Inc. | Non-porous diagnostic devices for the controlled movement of reagents |
| US6905882B2 (en) | 1992-05-21 | 2005-06-14 | Biosite, Inc. | Diagnostic devices and apparatus for the controlled movement of reagents without membranes |
| US6391265B1 (en) | 1996-08-26 | 2002-05-21 | Biosite Diagnostics, Inc. | Devices incorporating filters for filtering fluid samples |
| US6416642B1 (en) * | 1999-01-21 | 2002-07-09 | Caliper Technologies Corp. | Method and apparatus for continuous liquid flow in microscale channels using pressure injection, wicking, and electrokinetic injection |
| US6150178A (en) * | 1999-03-24 | 2000-11-21 | Avitar, Inc. | Diagnostic testing device |
| GB9924222D0 (en) | 1999-10-14 | 1999-12-15 | Imp College Innovations Ltd | Assay device |
| US6451264B1 (en) * | 2000-01-28 | 2002-09-17 | Roche Diagnostics Corporation | Fluid flow control in curved capillary channels |
| US20020004246A1 (en) * | 2000-02-07 | 2002-01-10 | Daniels Robert H. | Immunochromatographic methods for detecting an analyte in a sample which employ semiconductor nanocrystals as detectable labels |
| CA2301451A1 (en) * | 2000-03-20 | 2001-09-21 | Thang T. Pham | Method for analysis of analytes by mass spectrometry |
| US6436722B1 (en) | 2000-04-18 | 2002-08-20 | Idexx Laboratories, Inc. | Device and method for integrated diagnostics with multiple independent flow paths |
| JP3584863B2 (ja) * | 2000-08-25 | 2004-11-04 | 株式会社島津製作所 | 連続ガス分析計 |
| JP2002196001A (ja) * | 2000-09-22 | 2002-07-10 | Shino Test Corp | 被検物質の測定器具及び測定方法 |
| US20040126767A1 (en) | 2002-12-27 | 2004-07-01 | Biosite Incorporated | Method and system for disease detection using marker combinations |
| US7476533B2 (en) * | 2002-04-19 | 2009-01-13 | Adhesives Research, Inc. | Diagnostic devices for use in the assaying of biological fluids |
| JP3757133B2 (ja) * | 2001-06-06 | 2006-03-22 | アドバンテック東洋株式会社 | 水中試料採取装置 |
| SE0201738D0 (sv) | 2002-06-07 | 2002-06-07 | Aamic Ab | Micro-fluid structures |
| JP4199609B2 (ja) * | 2002-07-12 | 2008-12-17 | 三菱化学株式会社 | 分析用チップ、分析用チップユニット及び分析装置ならびに分析用チップの作製方法 |
| WO2004059281A2 (en) * | 2002-12-16 | 2004-07-15 | Avery Dennison Corporation | Analyte detecting article and method |
| US20040191127A1 (en) * | 2003-03-31 | 2004-09-30 | Avinoam Kornblit | Method and apparatus for controlling the movement of a liquid on a nanostructured or microstructured surface |
| JP2004325153A (ja) * | 2003-04-23 | 2004-11-18 | Aida Eng Ltd | マイクロチップ及びその製造方法 |
-
2005
- 2005-06-20 SE SE0501418A patent/SE0501418L/xx not_active IP Right Cessation
-
2006
- 2006-06-19 US US11/471,061 patent/US8821812B2/en active Active
- 2006-06-20 EP EP06747937.8A patent/EP1893337B1/en active Active
- 2006-06-20 WO PCT/SE2006/000745 patent/WO2006137785A1/en not_active Ceased
- 2006-06-20 BR BRPI0612248-5A patent/BRPI0612248A2/pt not_active Application Discontinuation
- 2006-06-20 JP JP2008518078A patent/JP5451069B2/ja not_active Expired - Fee Related
- 2006-06-20 AU AU2006259886A patent/AU2006259886B2/en not_active Ceased
- 2006-06-20 CN CN2006800222142A patent/CN101203311B/zh not_active Expired - Fee Related
Also Published As
| Publication number | Publication date |
|---|---|
| SE528233C2 (sv) | 2006-09-26 |
| EP1893337B1 (en) | 2018-11-14 |
| EP1893337A1 (en) | 2008-03-05 |
| AU2006259886B2 (en) | 2012-12-06 |
| SE0501418L (sv) | 2006-09-26 |
| EP1893337A4 (en) | 2012-06-06 |
| US20060285996A1 (en) | 2006-12-21 |
| AU2006259886A1 (en) | 2006-12-28 |
| US8821812B2 (en) | 2014-09-02 |
| WO2006137785A1 (en) | 2006-12-28 |
| JP2008547017A (ja) | 2008-12-25 |
| CN101203311B (zh) | 2012-10-03 |
| BRPI0612248A2 (pt) | 2010-10-26 |
| CN101203311A (zh) | 2008-06-18 |
Similar Documents
| Publication | Publication Date | Title |
|---|---|---|
| JP5451069B2 (ja) | 流体輸送を生成するための方法及び手段 | |
| JP5143832B2 (ja) | アッセイ装置と方法 | |
| JP5479417B2 (ja) | 制御流れアッセイ装置及び方法 | |
| CN101506657B (zh) | 实验设备 | |
| CA2802645C (en) | Assay device having controllable sample size | |
| KR20130085991A (ko) | 코너 주위의 균일한 유동을 갖는 분석 장치 | |
| KR20130085994A (ko) | 다수의 시약 셀을 갖는 분석 장치 | |
| AU2012251951A1 (en) | Method and means for creating fluid transport |
Legal Events
| Date | Code | Title | Description |
|---|---|---|---|
| A621 | Written request for application examination |
Free format text: JAPANESE INTERMEDIATE CODE: A621 Effective date: 20090416 |
|
| A521 | Request for written amendment filed |
Free format text: JAPANESE INTERMEDIATE CODE: A821 Effective date: 20091111 |
|
| RD02 | Notification of acceptance of power of attorney |
Free format text: JAPANESE INTERMEDIATE CODE: A7422 Effective date: 20091111 |
|
| A521 | Request for written amendment filed |
Free format text: JAPANESE INTERMEDIATE CODE: A821 Effective date: 20091216 |
|
| RD04 | Notification of resignation of power of attorney |
Free format text: JAPANESE INTERMEDIATE CODE: A7424 Effective date: 20091216 |
|
| RD04 | Notification of resignation of power of attorney |
Free format text: JAPANESE INTERMEDIATE CODE: A7424 Effective date: 20100805 |
|
| A977 | Report on retrieval |
Free format text: JAPANESE INTERMEDIATE CODE: A971007 Effective date: 20110728 |
|
| A131 | Notification of reasons for refusal |
Free format text: JAPANESE INTERMEDIATE CODE: A131 Effective date: 20110809 |
|
| A601 | Written request for extension of time |
Free format text: JAPANESE INTERMEDIATE CODE: A601 Effective date: 20111109 |
|
| A602 | Written permission of extension of time |
Free format text: JAPANESE INTERMEDIATE CODE: A602 Effective date: 20111116 |
|
| A601 | Written request for extension of time |
Free format text: JAPANESE INTERMEDIATE CODE: A601 Effective date: 20111209 |
|
| RD04 | Notification of resignation of power of attorney |
Free format text: JAPANESE INTERMEDIATE CODE: A7424 Effective date: 20111214 |
|
| A602 | Written permission of extension of time |
Free format text: JAPANESE INTERMEDIATE CODE: A602 Effective date: 20111216 |
|
| A601 | Written request for extension of time |
Free format text: JAPANESE INTERMEDIATE CODE: A601 Effective date: 20120106 |
|
| A602 | Written permission of extension of time |
Free format text: JAPANESE INTERMEDIATE CODE: A602 Effective date: 20120116 |
|
| A521 | Request for written amendment filed |
Free format text: JAPANESE INTERMEDIATE CODE: A523 Effective date: 20120208 |
|
| A131 | Notification of reasons for refusal |
Free format text: JAPANESE INTERMEDIATE CODE: A131 Effective date: 20120529 |
|
| A601 | Written request for extension of time |
Free format text: JAPANESE INTERMEDIATE CODE: A601 Effective date: 20120829 |
|
| A602 | Written permission of extension of time |
Free format text: JAPANESE INTERMEDIATE CODE: A602 Effective date: 20120905 |
|
| A601 | Written request for extension of time |
Free format text: JAPANESE INTERMEDIATE CODE: A601 Effective date: 20120928 |
|
| A602 | Written permission of extension of time |
Free format text: JAPANESE INTERMEDIATE CODE: A602 Effective date: 20121005 |
|
| A601 | Written request for extension of time |
Free format text: JAPANESE INTERMEDIATE CODE: A601 Effective date: 20121029 |
|
| A602 | Written permission of extension of time |
Free format text: JAPANESE INTERMEDIATE CODE: A602 Effective date: 20121105 |
|
| A131 | Notification of reasons for refusal |
Free format text: JAPANESE INTERMEDIATE CODE: A131 Effective date: 20121204 |
|
| A601 | Written request for extension of time |
Free format text: JAPANESE INTERMEDIATE CODE: A601 Effective date: 20130304 |
|
| A602 | Written permission of extension of time |
Free format text: JAPANESE INTERMEDIATE CODE: A602 Effective date: 20130311 |
|
| A601 | Written request for extension of time |
Free format text: JAPANESE INTERMEDIATE CODE: A601 Effective date: 20130404 |
|
| A602 | Written permission of extension of time |
Free format text: JAPANESE INTERMEDIATE CODE: A602 Effective date: 20130411 |
|
| A601 | Written request for extension of time |
Free format text: JAPANESE INTERMEDIATE CODE: A601 Effective date: 20130502 |
|
| A602 | Written permission of extension of time |
Free format text: JAPANESE INTERMEDIATE CODE: A602 Effective date: 20130513 |
|
| A521 | Request for written amendment filed |
Free format text: JAPANESE INTERMEDIATE CODE: A523 Effective date: 20130528 |
|
| TRDD | Decision of grant or rejection written | ||
| A01 | Written decision to grant a patent or to grant a registration (utility model) |
Free format text: JAPANESE INTERMEDIATE CODE: A01 Effective date: 20131203 |
|
| A61 | First payment of annual fees (during grant procedure) |
Free format text: JAPANESE INTERMEDIATE CODE: A61 Effective date: 20131226 |
|
| R150 | Certificate of patent or registration of utility model |
Ref document number: 5451069 Country of ref document: JP Free format text: JAPANESE INTERMEDIATE CODE: R150 Free format text: JAPANESE INTERMEDIATE CODE: R150 |
|
| R250 | Receipt of annual fees |
Free format text: JAPANESE INTERMEDIATE CODE: R250 |
|
| R250 | Receipt of annual fees |
Free format text: JAPANESE INTERMEDIATE CODE: R250 |
|
| R250 | Receipt of annual fees |
Free format text: JAPANESE INTERMEDIATE CODE: R250 |
|
| S111 | Request for change of ownership or part of ownership |
Free format text: JAPANESE INTERMEDIATE CODE: R313111 |
|
| R250 | Receipt of annual fees |
Free format text: JAPANESE INTERMEDIATE CODE: R250 |
|
| R371 | Transfer withdrawn |
Free format text: JAPANESE INTERMEDIATE CODE: R371 |
|
| R250 | Receipt of annual fees |
Free format text: JAPANESE INTERMEDIATE CODE: R250 |
|
| R250 | Receipt of annual fees |
Free format text: JAPANESE INTERMEDIATE CODE: R250 |
|
| R250 | Receipt of annual fees |
Free format text: JAPANESE INTERMEDIATE CODE: R250 |
|
| R250 | Receipt of annual fees |
Free format text: JAPANESE INTERMEDIATE CODE: R250 |
|
| LAPS | Cancellation because of no payment of annual fees |
