JP5374528B2 - 摩擦攪拌接合装置及び摩擦攪拌接合方法 - Google Patents

摩擦攪拌接合装置及び摩擦攪拌接合方法 Download PDF

Info

Publication number
JP5374528B2
JP5374528B2 JP2011033503A JP2011033503A JP5374528B2 JP 5374528 B2 JP5374528 B2 JP 5374528B2 JP 2011033503 A JP2011033503 A JP 2011033503A JP 2011033503 A JP2011033503 A JP 2011033503A JP 5374528 B2 JP5374528 B2 JP 5374528B2
Authority
JP
Japan
Prior art keywords
workpiece
tool
friction stir
stir welding
shoulder
Prior art date
Legal status (The legal status is an assumption and is not a legal conclusion. Google has not performed a legal analysis and makes no representation as to the accuracy of the status listed.)
Active
Application number
JP2011033503A
Other languages
English (en)
Other versions
JP2012170966A (ja
Inventor
慶訓 加藤
哲 古立
俊之 木下
Current Assignee (The listed assignees may be inaccurate. Google has not performed a legal analysis and makes no representation or warranty as to the accuracy of the list.)
Mitsubishi Heavy Industries Ltd
Original Assignee
Mitsubishi Heavy Industries Ltd
Priority date (The priority date is an assumption and is not a legal conclusion. Google has not performed a legal analysis and makes no representation as to the accuracy of the date listed.)
Filing date
Publication date
Application filed by Mitsubishi Heavy Industries Ltd filed Critical Mitsubishi Heavy Industries Ltd
Priority to JP2011033503A priority Critical patent/JP5374528B2/ja
Priority to EP11858672.6A priority patent/EP2676762B1/en
Priority to PCT/JP2011/062213 priority patent/WO2012111181A1/ja
Priority to US13/812,642 priority patent/US9776276B2/en
Priority to CN201180037181.XA priority patent/CN103068514B/zh
Publication of JP2012170966A publication Critical patent/JP2012170966A/ja
Application granted granted Critical
Publication of JP5374528B2 publication Critical patent/JP5374528B2/ja
Active legal-status Critical Current
Anticipated expiration legal-status Critical

Links

Images

Classifications

    • BPERFORMING OPERATIONS; TRANSPORTING
    • B23MACHINE TOOLS; METAL-WORKING NOT OTHERWISE PROVIDED FOR
    • B23KSOLDERING OR UNSOLDERING; WELDING; CLADDING OR PLATING BY SOLDERING OR WELDING; CUTTING BY APPLYING HEAT LOCALLY, e.g. FLAME CUTTING; WORKING BY LASER BEAM
    • B23K20/00Non-electric welding by applying impact or other pressure, with or without the application of heat, e.g. cladding or plating
    • B23K20/12Non-electric welding by applying impact or other pressure, with or without the application of heat, e.g. cladding or plating the heat being generated by friction; Friction welding
    • B23K20/122Non-electric welding by applying impact or other pressure, with or without the application of heat, e.g. cladding or plating the heat being generated by friction; Friction welding using a non-consumable tool, e.g. friction stir welding
    • B23K20/1245Non-electric welding by applying impact or other pressure, with or without the application of heat, e.g. cladding or plating the heat being generated by friction; Friction welding using a non-consumable tool, e.g. friction stir welding characterised by the apparatus
    • B23K20/1255Tools therefor, e.g. characterised by the shape of the probe
    • BPERFORMING OPERATIONS; TRANSPORTING
    • B23MACHINE TOOLS; METAL-WORKING NOT OTHERWISE PROVIDED FOR
    • B23KSOLDERING OR UNSOLDERING; WELDING; CLADDING OR PLATING BY SOLDERING OR WELDING; CUTTING BY APPLYING HEAT LOCALLY, e.g. FLAME CUTTING; WORKING BY LASER BEAM
    • B23K20/00Non-electric welding by applying impact or other pressure, with or without the application of heat, e.g. cladding or plating
    • B23K20/12Non-electric welding by applying impact or other pressure, with or without the application of heat, e.g. cladding or plating the heat being generated by friction; Friction welding
    • B23K20/122Non-electric welding by applying impact or other pressure, with or without the application of heat, e.g. cladding or plating the heat being generated by friction; Friction welding using a non-consumable tool, e.g. friction stir welding
    • B23K20/1245Non-electric welding by applying impact or other pressure, with or without the application of heat, e.g. cladding or plating the heat being generated by friction; Friction welding using a non-consumable tool, e.g. friction stir welding characterised by the apparatus
    • B23K20/126Workpiece support, i.e. backing or clamping

Landscapes

  • Engineering & Computer Science (AREA)
  • Mechanical Engineering (AREA)
  • Pressure Welding/Diffusion-Bonding (AREA)

Description

本発明は、ワークに対して摩擦攪拌接合を行う摩擦攪拌接合装置及び摩擦攪拌接合方法に関する。
2つの部材からなるワークを接合する方法の一つとして摩擦攪拌接合という方法がある。摩擦攪拌接合とは、ワークの接合箇所に、工具のショルダ面と呼ばれる面で所定の加圧力で加圧した状態で当該工具を回転させることにより、ワーク表面に摩擦熱を生じさせ、当該摩擦熱によりワークを軟化させて接合させるものである。このような摩擦攪拌接合には、ボビンツール型と呼ばれる工具を用いる方式がある。
ボビンツール型工具は、一のショルダ面を有する表面側ショルダと、一のショルダ面と対向する他のショルダ面を有する裏面側ショルダとを有している。裏面側ショルダは、表面側ショルダを貫通する軸部に取り付けられている。そして、摩擦攪拌接合を行う際には、軸部をワークに貫通させて、ワークの表面側に表面側ショルダを配置し、裏面側に裏面側ショルダを配置する。そして、表面側ショルダ及び裏面側ショルダのそれぞれのショルダ面によってワークの表面及び裏面を挟み込むように加圧して摩擦熱を生じさせることでワークを軟化させつつ、軟化部分に挿入された軸部によって攪拌して摩擦攪拌接合が行われる。
ここで、ワークの歪や製作誤差による板圧変動や、定盤へのセッティング誤差によって、工具に対するワーク表面の相対位置には誤差が生じ得る。そして、このようなワークの表面の誤差が生じると、工具のショルダ面からワークに作用する加圧力が変動してしまい、結果接合不良が生じるおそれがある。このため、工具によってワークに作用させる加圧力を発生させる油圧付勢経路において、一定圧に制御するフィードバック回路を設けた技術が提案されている(例えば、特許文献1、2参照)。
特開2004−130236号公報 特開2010−214401号公報
しかしながら、特許文献1、2の摩擦攪拌接合装置では、加圧力を発生させる油圧の大きさをセンシングし、フィードバックして、工具によって作用する加圧力を制御するものであり、複雑な制御を必要とする問題があった。特に、上記誤差は微小なものであり、このような微小な誤差を正確に検知して遅れなく制御量に反映することは困難であった。
本発明は、上記課題を解決するためになされたものであって、簡易な構成で、ワークの表面に生じる誤差の影響を受けることなく、工具によって正確に加圧して摩擦攪拌接合を行うことが可能な摩擦攪拌接合装置及び摩擦攪拌接合方法を提供するものである。
上記課題を解決するために、本発明は以下の手段を提案している。
本発明は、ワークの表面に当接する第一ショルダ面、及び前記ワークの裏面に当接する第二ショルダ面を有する工具を用いて、前記ワークに対して摩擦攪拌接合を行う摩擦攪拌接合装置であって、前記ワークが配置されるワーク配置部と、該ワーク配置部に配置される前記ワークの前記表面側に設けられた本体部と、該本体部に、前記ワーク配置部に配置される前記ワークに対して近接離間する方向であるワーク対向方向に進退可能に設けられ、前記工具を保持する工具保持部と、該工具保持部に取り付けられた前記工具の前記第一ショルダ面と前記ワーク対向方向に所定の相対位置関係となるようにして設けられ、前記ワーク配置部に配置された前記ワークの前記表面上で、前記工具保持部を支持する支持体とを備えることを特徴としている。
この構成によれば、ワーク配置部に配置されたワークの表面に対して、工具を保持する工具保持部は、本体部によってワーク対向方向に進退可能とされつつ、支持体によって支持された状態にある。また、工具の第一ショルダ面は、支持体とワーク対向方向に所定の相対位置関係となっている。このため、工具保持部に保持された工具の第一ショルダ面は、工具保持部とともに、ワークの表面に沿うようにしてワーク対向方向に変位し、ワークの表面との相対位置関係を一定に保つことができる。従って、工具の第一ショルダ面からワークの表面に作用する加圧力を所望の力で正確に維持することができる。
上記の摩擦攪拌接合装置において、前記支持体に、前記ワーク配置部に配置される前記ワークに向かって、予め設定された荷重を与える荷重付与手段を備えることを特徴としている。
この構成によれば、荷重付与手段によって支持体からワーク配置部に配置されるワークに向かって予め設定された荷重を与えることにより、ワークから支持体へは常に当該荷重と対応した反力が作用することとなる。このため、ワークの表面に誤差が生じても、常に支持体をワークの表面に密着した状態とすることができ、これにより支持体、支持体に支持された工具保持部、及び工具保持部に保持された工具をワークの表面に沿うように走査することができる。
上記の摩擦攪拌接合装置において、前記本体部が、前記ワーク配置部に配置される前記ワークの上方に配置され、前記ワーク対向方向として上下方向に前記工具保持部を進退可能に支持しており、前記荷重付与手段は、前記本体部に取り付けられ、前記工具保持部に対して、該工具保持部と該工具保持部に取り付けられた前記工具の重量よりも小さい所定の大きさの上向きの補助力を与える補助力付与部を有し、前記荷重として、該工具保持部と該工具保持部に取り付けられた前記工具の重量から前記補助力を減じた荷重を与えることを特徴としている。
この構成によれば、荷重として、該工具保持部と該工具保持部に取り付けられた工具の重量から、補助力付与部による補助力を減じた荷重を与え、支持体が当該荷重に応じた反力を受けることとなる。ここで、上記のとおり、工具保持部及び工具の重量から補助力を減じた荷重を与えることで、ワークに余計な負荷を与えず、かつ、支持体がワークの表面を沿うような適切な反力を発生させることができる。
上記の摩擦攪拌接合装置において、前記支持体は、前記工具保持部に保持された前記工具に対して、該工具の走査方向に直交する方向に配置されていることを特徴としている。
この構成によれば、支持体が、工具保持部に保持された工具に対して工具の走査方向に直交する方向に配置されていることで、工具によるワークの摩擦攪拌に支障がないようにして、ワークの表面上で支持体によって工具保持部を支持することができる。
上記の摩擦攪拌接合装置において、前記支持体は、前記ワークの前記表面に当接する当接部が、前記工具保持部に保持された前記工具の前記第一ショルダ面と、前記ワークの前記表面に沿う同一面内となるように設けられていることを特徴とする。
この構成によれば、支持体の当接部が工具の第一ショルダ面とワークの表面に沿う同一面内となるように設けられていることで、ワークの表面に支持体の当接部が当接した状態で、工具の第一ショルダ面を、摩擦攪拌接合を行う位置で、ワークの表面に正確に一致させることができる。
上記の摩擦攪拌接合装置において、前記工具が、前記第一ショルダ面を具備する第一ショルダ部と、前記第一ショルダ面から進退可能に突出する軸部と、該軸部の先端に取り付けられ前記第二ショルダ面を具備する第二ショルダ部とを有し、前記工具保持部は、前記軸部に前記ワーク対向方向に力を与えて、前記第二ショルダ面によって前記ワークの前記裏面を加圧させる加圧手段を有することを特徴とする。
この構成によれば、上記のとおり第一ショルダ面をワークの表面に正確に沿うように配置しつつ、加圧手段によって第二ショルダ面に軸部を介してワーク対向方向に力を与えてワークの裏面を加圧させることで、ワークの表面に生じる誤差の影響を受けることなく加圧手段による加圧力で第一ショルダ面及び第二ショルダ面でワークを挟み込んで加圧することができる。
また、本発明は、ワークの表面に当接する第一ショルダ面、及び前記ワークの裏面に当接する第二ショルダ面を有する工具を用いて、前記ワークに対して摩擦攪拌接合を行う摩擦攪拌接合方法であって、ワーク配置部に配置された前記ワークの表面に対して、工具を保持する工具保持部を、前記ワークに対して近接離間する方向であるワーク対向方向に進退可能としつつ、前記ワーク対向方向に前記工具の前記第一ショルダ面と所定の相対位置関係となるようにした支持体によって前記ワークの前記表面上で支持された状態として、前記工具によって摩擦攪拌接合を行うことを特徴としている。
また、上記の摩擦攪拌接合方法において、前記支持体から前記ワークに向かって、予め設定された荷重を与えた状態で前記工具によって摩擦攪拌接合を行うことを特徴としている。
また、上記の摩擦攪拌接合方法において、前記ワークの上方に前記工具保持部を配置して前記ワーク対向方向として上下方向に前記工具を進退可能に支持した状態で、前記工具保持部と該工具保持部に取り付けられた前記工具の重量よりも小さい所定の大きさの上向きの補助力を与えることで、荷重として、該工具保持部と該工具保持部に取り付けられた前記工具の重量から、前記補助力を減じた荷重を前記支持体から前記ワークに向かって与えることを特徴としている。
また、上記の摩擦攪拌接合方法において、前記支持体を、前記工具保持部に保持された前記工具に対して、該工具の走査方向に直交する方向に配置することを特徴としている。
また、上記の摩擦攪拌接合方法において、前記支持体を、前記ワークの前記表面に当接する当接部が、前記工具保持部に保持された前記工具の前記第一ショルダ面と、前記ワークの前記表面に沿う同一面内となるようにして前記ワークの表面上に支持された状態とすることを特徴としている。
本発明の摩擦攪拌接合装置及び摩擦攪拌接合方法によれば、上記のとおり工具保持部及び支持体により、簡易な構成でワーク表面に生じる誤差の影響を受けることなく、工具によって正確に加圧して摩擦攪拌接合を行うことができる。
本発明の実施形態に係る摩擦攪拌接合装置の側断面図である。 ボビンツールの詳細を示す側断面図である。 本発明の実施形態に係る摩擦攪拌接合装置において、ボビンツールと支持体との位置関係の詳細を示す説明図である。 本発明の実施形態に係る摩擦攪拌接合装置で摩擦攪拌接合を実施した時の説明図である。 本発明の実施形態に係る摩擦攪拌接合装置で摩擦攪拌接合を実施した時の断面図である。 本発明の実施形態の第一の変形例に係る摩擦攪拌接合装置において、ボビンツールと支持体との位置関係の詳細を示す説明図である。 本発明の実施形態の第二の変形例に係る摩擦攪拌接合装置において、ボビンツールと支持体との位置関係の詳細を示す説明図である。 本発明の実施形態の第三の変形例に係る摩擦攪拌接合装置において、ボビンツールと支持体との位置関係の詳細を示す説明図である。 本発明の実施形態に係る摩擦攪拌接合装置において、支持体の変形例を示す平断面図で、(a)支持体を4つ備える変形例、(b)支持体を3つ備える変形例である。
以下、本発明に係る実施の形態について図面を参照して説明する。
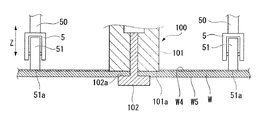
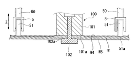
図1に示すように、本実施形態の摩擦攪拌接合装置1は、第一部材W1及び第二部材W2からなるワークWにおいて、第一部材W1と第二部材W2との接合箇所W3を摩擦攪拌接合により接合する装置である。摩擦攪拌接合装置1は、ワークWが配置されるワーク配置部2と、ワーク配置部2に配置されるワークWの表面W4側となる上方に設けられた本体部3と、該本体部3に設けられて、工具であるボビンツール100を保持する工具保持部4と、ワークWの表面W4上で工具保持部4を支持する支持体5と、支持体5に、ワーク配置部2に配置されるワークWに向かって、予め設定された荷重を与える荷重付与手段6とを備える。
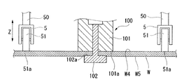
ここで、図2に示すように、ボビンツール100は、ワークWの表面W4側に配置され、該表面W4を押圧する第一ショルダ面101aを具備する第一ショルダ部101と、ワークWの裏面W5側に配置され、該裏面W5を押圧する第二ショルダ面102aを具備する第二ショルダ部102と、第一ショルダ部101の第一ショルダ面101aから突出して第二ショルダ部102が連結された軸部103とを有する。第一ショルダ部101には、第一ショルダ面101aに開口する貫通孔が形成されており、該貫通孔に軸部103が挿通されている。このため、軸部103を貫通孔に沿って進退させることによって第一ショルダ面101aに対して第二ショルダ面102aを近接離間させることが可能となっている。
図1に示すように、工具保持部4は、第一ショルダ部101が端面に取り付けられる略筒状の第一ショルダ取付体40と、先端に軸部103が取り付けられる第二ショルダ取付軸41と、略筒状で、第一ショルダ取付体40及び第二ショルダ取付軸41を支持する支持筒42とを有する。ここで、第一ショルダ取付体40、第二ショルダ取付軸41及び支持筒42は、同軸上に、中心軸Cをワーク対向方向となる上下方向Zに沿うように設けられている。
第一ショルダ取付体40は、略筒状に形成されている。そして、第二ショルダ取付軸41は、第一ショルダ取付体40に挿通され、基端は第一ショルダ取付体40から突出している。第二ショルダ取付軸41には、第一ショルダ取付体40に挿通された部分において、軸方向に沿うようにしてキー41aが形成されているとともに、第一ショルダ取付体40から突出した部分には平板状のピストン41bが径方向に張り出している。一方、第一ショルダ取付体40には、第二ショルダ取付軸41のキー41aが噛合する中心軸Cに沿うキー溝40aが形成されていて、これにより第二ショルダ取付軸41は、第一ショルダ取付体40に対して中心軸C回りに回転不能であるとともに、中心軸Cに沿って進退可能となっている。また、第一ショルダ取付体40は、基端に径方向に張り出すフランジ40bを有する。
支持筒42は、下方に開口して第一ショルダ取付体40を中心軸C回りに回転可能に収容する取付体収容部42aと、第二ショルダ取付軸41を中心軸Cに沿って進退させるシリンダ部42bと、本体部3に支持される被支持部42cとを有する。取付体収容部42aには、第一ショルダ取付体40のフランジ40bを収容するとともに、中心軸C回りに回転可能に支持する軸受部42dを有する。また、取付体収容部42aの内周面には、第一ショルダ取付体40を中心軸C回りに回転駆動するモータ43が内蔵されている。このため、キー41a及びキー溝40aが噛合ことによって一体となっている第一ショルダ取付体40と第二ショルダ取付軸41とは、モータ43の駆動により中心軸C回りに回転可能となっている。
シリンダ部42bは、ピストン41bを支持する略筒状のピストン支持部42eと、ピストン支持部42eの先端側及び基端側の開口に設けられ、第二ショルダ取付軸41を支持する先端側支持部42f及び基端側支持部42gとを有する。ピストン41bの外周面には軸受42hが設けられており、当該軸受42hにより、ピストン41bは、ピストン支持部42eに対して、中心軸Cに沿って進退可能かつ中心軸C回りに回転可能に支持されている。また、先端側支持部42f及び基端側支持部42gにも軸受42i、42jが設けられており、当該軸受42i、42jにより、第二ショルダ取付軸41は、ピストン支持部42eに対して、中心軸Cに沿って進退可能かつ中心軸C回りに回転可能に支持されている。
そして、ピストン41bと、先端側支持部42f及び基端側支持部42gとの間には、作動油が供給される第一油圧室42m及び第二油圧室42nが形成されている。また、シリンダ部42bには、本体部3にも貫通して外部まで接続されるとともに、それぞれ第一油圧室42mまたは第二油圧室42nまで連通する作動油供給管路42p、42qが形成されている。このため、外部に設けられた図示しない油圧制御装置から、作動油供給管路42p、42qを経由して第一油圧室42mまたは第二油圧室42nに選択的に油圧を入力することにより、第二ショルダ取付軸41を先端側または基端側へと中心軸Cに沿ってスライドさせることができる。これによりワーク配置部2に配置されたワークWの裏面W5に対して、中心軸Cに沿うワーク対向方向に力を与えて第二ショルダ部102の第二ショルダ面102aによって加圧を行うことが可能であり、すなわち図示しない油圧制御装置、シリンダ部42b及びピストン41bにより加圧手段44が構成されている。また、被支持部42cは、中心軸C上でシリンダ部42bから突出する軸状に形成されている。
本体部3は、加工機主軸1aに取り付けられている。本体部3は、略筒状に形成され、ワーク配置部2に配置されるワークWの表面W4側となる下方に向けて開口し工具保持部4が収容された収容部30と、収容部30に収容された工具保持部4をワークWに対して近接離間するワーク対向方向となる上下方向Zに進退可能に支持する本体支持部31とを有する。本体支持部31は、軸受31a、31bを有し、被支持部42cは当該軸受31a、31bにより中心軸Cに沿って進退可能に支持されている。
図1及び図3に示すように、支持体5は、工具保持部4の取付体収容部42aの下端面から突出する支持部材50と、支持部材50に回転可能に支持されてワークWの表面W4に当接するローラ51と、支持部材50から径方向に張り出すように設けられた張出部材52とを有する。支持体5は、工具保持部4に保持されたボビンツール100を走査する走査方向(図1において紙面奥行方向)に直交する方向Yに当該ボビンツール100を挟むようにして両側に対をなして配置されている。そして、ローラ51は、走査方向に直交する方向Yに沿うように配された回転軸回りに回転可能であり、すなわち走査方向へのボビンツール100の走査に伴ってワークWの表面W4上を走査方向に転動可能である。
ここで、図3に示すように、支持体5においてワーク配置部2に配置されたワークWの表面W4に当接する当接部、すなわちローラ51の下端51aの上下方向Zの位置は、工具保持部4に保持されたボビンツール100の第一ショルダ部101の第一ショルダ面101aと略等しい位置に設定されている。このため、平面状に形成されたワークWの表面W4上においては、ローラ51の下端51aが表面W4に当接した状態で、第一ショルダ部101の第一ショルダ面101aも表面W4に当接した状態となっている。
また、図1に示すように、荷重付与手段6は、支持体5が接続されて下向きとなる自重及び保持するボビンツール100の重量分の力P1を作用させる工具保持部4と、張出部材52と本体部3の下端面との間に設けられ、中心軸Cに沿う方向に補助力P2を作用させる補助力付与部60とを有する。補助力付与部60は、工具保持部4によって作用される力P1よりも小さい所定の大きさの上向きの補助力P2を与えるものである。例えば、工具保持部4及びボビンツール100を合わせた重量による力P1が下向きに5.0kNであるのに対して、補助力P2としては上向きに4.5kNの大きさで作用させて、結果として荷重付与手段6としては、下向きの荷重Pで0.5kN作用させる。補助力付与部60は、具体的にはエアシリンダであり、上記の例では、予め4.5kN相当の空気圧の入力を行い、加工中においてワークWの表面W4の変位等にともなって反力を受けるなどしても特に入力された空気圧の制御は行わない。
次に、この実施形態の作用について説明する。
図1に示すように、摩擦攪拌接合を行う場合には、第一ショルダ部101の第一ショルダ面101aと、第二ショルダ部102の第二ショルダ面102aとの間にワークWを配置する。また、ワークWの表面W4上に支持体5のローラ51を配置させる。この状態で、補助力付与部60で所定の大きさで上向きの補助力P2が作用していることにより、支持体5には荷重Pが作用し、当該荷重Pが支持体5からワークWに作用することによって、支持体5にはワークWから荷重P相当の反力が作用している。そして、モータ43を駆動させて工具保持部4全体を回転させるとともに、加圧手段44によって第二ショルダ部102に上向きの加圧力を作用させる。これにより、ワークWは、第二ショルダ面102aから裏面W5に加圧力を受けるとともに、第一ショルダ面101aから表面W4にも上記加圧力相当の加圧力を同様に受けることになる。このため、第一ショルダ面101a及び第二ショルダ面102aと、ワークWの表面W4及び裏面W5との間には摩擦熱が生じて軟化し、軟化部を軸部103で攪拌することで、摩擦攪拌接合が行われる。
ここで、支持体5が、工具保持部4に保持されたボビンツール100に対してボビンツール100の走査方向に直交する方向Yに配置されていることで、ボビンツール100によるワークWの摩擦攪拌に支障がないようにして、ワークWの表面W4上で支持体5によって工具保持部4を支持することができる。そして、支持体5には、上記のとおり、荷重付与手段6によって荷重Pが作用することにより、ワークWの表面W4からも荷重P相当の反力を受けることとなる。このため、図4に示すように、ワークWの表面W4が、ワークW自体の変形、厚みの変化、ワーク配置部2におけるワークWの配置誤差等により、走査方向Xに沿って変位していたとしても、支持体5はワークWの表面W4に沿うように追従することとなる。
また、ボビンツール100の第一ショルダ面101aは、支持体5のローラ51の下端51aとワーク対向方向となる上下方向Zの位置が等しくなるようにして一定の相対位置関係に設定されている。このため、工具保持部4に保持されたボビンツール100の第一ショルダ面101aは、工具保持部4とともに、ワークWの表面W4に沿うようにしてワーク対向方向に変位し、ワークWの表面W4との相対位置関係を一定に保つことができる。従って、ボビンツール100の第一ショルダ面101aからワークWの表面W4に作用する加圧力を所望の力で正確に維持することがきる。
ここで、本実施形態の摩擦攪拌接合装置1では、少なくとも上記のように工具保持部4がワーク対向方向である上下方向Zに向かって進退可能であり、当該工具保持部4をワークWの表面W4上で支持体5によって支持することによって加圧力を正確に維持することを可能とするものであり、簡易な構成で、ワークWの表面W4に生じる誤差の影響を受けることなく、ボビンツール100によって正確に加圧して摩擦攪拌接合を行うことができる。この際、走査方向に対して支持体5とボビンツール100が同じ位置にあることで、ボビンツール100の位置におけるワークWの上下方向の微小な誤差をより正確に検知することができる。
また、上記のとおり、支持体5においてワークWの表面W4と当接する当接部となるローラ51の下端51aに対して、工具保持部4に保持されたボビンツール100の第一ショルダ部101の第一ショルダ面101aが上下方向Zに略等しい位置に設定されている。このため、図5に示すように、ワークWの表面W4において、第一ショルダ面101aで加圧される部位が他の部位に比較して、凹凸してしまうことがない。このため、摩擦攪拌接合後の仕上がりを良好なものとすることができる。また、上記のとおり、荷重付与手段6では、工具保持部4及びボビンツール100の重量による力P1から補助力P2を減じた荷重Pを与えることで、ワークWに余計な負荷を与えず、かつ、支持体5がワークWの表面W4を沿うような適切な反力を発生させることができる。
なお、上記においては、支持体5においてワークWの表面W4と当接する当接部となるローラ51の下端51aに対して、工具保持部4に保持されたボビンツール100の第一ショルダ部101の第一ショルダ面101aが上下方向Zに略等しい位置に設定されているものとしたが、これに限るものではない。例えば、図6に示すように、曲面状のワークWについて摩擦攪拌接合する場合には、曲面状の表面W4に沿う面において、同一面内となるように設けられていることで、表面W4における凹凸を防止して、同様に摩擦攪拌接合後の仕上がりを良好なものとすることができる。
また、当接部となるローラ51の下端51aに対して、工具保持部4に保持されたボビンツール100の第一ショルダ部101の第一ショルダ面101aは、上下方向Zに異なる位置としても相対位置が所定の関係となるようにして設けられていれば良い。
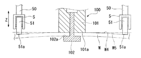
例えば、図7に示すように、ローラ51の下端51aに対して、第一ショルダ面101aがワークWに近い位置に位置していたとしても良い。この場合には、第一ショルダ面101aがローラ51の下端51aよりもワークWに近接した距離分だけ、接合部に凹部が形成されることとなる。例えば、接合部において所定の深さで凹部を形成する必要がある場合などには、このような位置関係としても良い。また、図8に示すように、ローラ51の下端51aに対して、第一ショルダ面101aがワークWに遠い位置に位置していたとしても良い。この場合には、第一ショルダ面101aがローラ51の下端51aよりもワークWに離間した距離分だけ、接合部に凸部が形成されることとなる。例えば、接合部において所定の高さで凸部を形成する必要がある場合などには、このような位置関係としても良い。
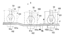
また、上記においては、支持体5は、工具保持部4に保持されたボビンツール100を走査する走査方向に直交する方向に当該ボビンツール100を挟むようにして両側に対をなして配置されているものとしたが、これに限るものではない。例えば、図9(a)に示すように平面視して4つの支持体5を備えるものとしたり、あるいは、図9(b)に示すように平面視して3つの支持体5を備えるものとしても良い。
図9(a)に示す4つの支持体5を配置する場合、工具保持部4に保持されたボビンツール100の走査方向Xに直交する方向Y両側に、走査方向Xに沿うようにそれぞれ2つずつ配列することで、ボビンツール100によるワークWの摩擦攪拌に支障がないようにして、ワークWの表面W4上で支持体5によって工具保持部4を支持することができる。また、この場合には、ボビンツール100の走査方向Xを90度変更しても同様にボビンツール100による摩擦攪拌に支障がない。
また、図9(b)に示す3つの支持体5を配置する場合、工具保持部4に保持されたボビンツール100の走査方向Xに直交する方向Y両側に2つを配置し、残りの1つを走査方向X前方側に配置するようにしても、走査方向X前方側の支持体5は摩擦攪拌による接合前のワークWの表面W4上を走行することになるため、同様にボビンツール100による摩擦攪拌に支障がない。
また、上記実施形態では、工具保持部4をワーク配置部2に配置されたワークWの上方に配置し、工具保持部4をワーク対向方向である上下方向Zに進退可能としたが、これに限るものではない。例えば、ワークWを、表面W4が鉛直面をなすように配置して、工具保持部4をワーク対向方向となる水平方向に進退可能としても良い。この場合には、支持体5には、工具保持部4及び工具保持部4で保持されたボビンツール100の重量が力として作用しない。このため、図1に示す構造で、支持体5に荷重を付与するためには、荷重付与手段6で発生する荷重として補助力付与部60で発生させる力そのものを利用し、ワークWに向かって対応する荷重、例えば上記実施形態における例では0.5kNの力を発生させるように空気圧を入力すればよい。また、上記実施形態では、加圧手段44を備え、第一ショルダ部101に対して第二ショルダ部102が近接離間可能なものとしたが、これに限るものでなく、第一ショルダ部101に対して第二ショルダ部102が相対位置不変に固定されていて、加圧手段44を備えない構成としても良い。
以上、本発明の実施形態について図面を参照して詳述したが、具体的な構成はこの実施形態に限られるものではなく、本発明の要旨を逸脱しない範囲の設計変更等も含まれる。
1 摩擦攪拌接合装置
2 ワーク配置部
3 本体部
4 工具保持部
5 支持体
51a 下端(当接部)
6 荷重付与手段
44 加圧手段
60 補助力付与部
100 ボビンツール(工具)
101 第一ショルダ部
101a 第一ショルダ面
102 第二ショルダ部
102a 第二ショルダ面
103 軸部
W ワーク
W4 表面
W5 裏面
X 走査方向
Y 走査方向に直交する方向
Z 上下方向(ワーク対向方向)

Claims (11)

  1. ワークの表面に当接する第一ショルダ面、及び前記ワークの裏面に当接する第二ショルダ面を有する工具を用いて、前記ワークに対して摩擦攪拌接合を行う摩擦攪拌接合装置であって、
    前記ワークが配置されるワーク配置部と、
    該ワーク配置部に配置される前記ワークの前記表面側に設けられた本体部と、
    該本体部に、前記ワーク配置部に配置される前記ワークに対して近接離間する方向であるワーク対向方向に進退可能に設けられ、前記工具を保持する工具保持部と、
    該工具保持部に取り付けられた前記工具の前記第一ショルダ面と前記ワーク対向方向に所定の相対位置関係となるようにして設けられ、前記ワーク配置部に配置された前記ワークの前記表面上で、前記工具保持部を支持する支持体とを備えることを特徴とする摩擦攪拌接合装置。
  2. 請求項1に記載の摩擦攪拌接合装置において、
    前記支持体に、前記ワーク配置部に配置される前記ワークに向かって、予め設定された荷重を与える荷重付与手段を備えることを特徴とする摩擦攪拌接合装置。
  3. 請求項2に記載の摩擦攪拌接合装置において、
    前記本体部が、前記ワーク配置部に配置される前記ワークの上方に配置され、前記ワーク対向方向として上下方向に前記工具保持部を進退可能に支持しており、
    前記荷重付与手段は、前記本体部に取り付けられ、前記工具保持部に対して、該工具保持部と該工具保持部に取り付けられた前記工具の重量よりも小さい所定の大きさの上向きの補助力を与える補助力付与部を有し、前記荷重として、該工具保持部と該工具保持部に取り付けられた前記工具の重量から前記補助力を減じた荷重を与えることを特徴とする摩擦攪拌接合装置。
  4. 請求項1から請求項3のいずれか一項に記載の摩擦攪拌接合装置において、
    前記支持体は、前記工具保持部に保持された前記工具に対して、該工具の走査方向に直交する方向に配置されていることを特徴とする摩擦攪拌接合装置。
  5. 請求項1から請求項4のいずれか一項に記載の摩擦攪拌接合装置において、
    前記支持体は、前記ワークの前記表面に当接する当接部が、前記工具保持部に保持された前記工具の前記第一ショルダ面と、前記ワークの前記表面に沿う同一面内となるように設けられていることを特徴とする摩擦攪拌接合装置。
  6. 請求項1から請求項5のいずれか一項に記載の摩擦攪拌接合装置において、
    前記工具が、前記第一ショルダ面を具備する第一ショルダ部と、前記第一ショルダ面から進退可能に突出する軸部と、該軸部の先端に取り付けられ前記第二ショルダ面を具備する第二ショルダ部とを有し、
    前記工具保持部は、前記軸部に前記ワーク対向方向に力を与えて、前記第二ショルダ面によって前記ワークの前記裏面を加圧させる加圧手段を有することを特徴とする摩擦攪拌接合装置。
  7. ワークの表面に当接する第一ショルダ面、及び前記ワークの裏面に当接する第二ショルダ面を有する工具を用いて、前記ワークに対して摩擦攪拌接合を行う摩擦攪拌接合方法であって、
    ワーク配置部に配置された前記ワークの表面に対して、工具を保持する工具保持部を、前記ワークに対して近接離間する方向であるワーク対向方向に進退可能としつつ、前記ワーク対向方向に前記工具の前記第一ショルダ面と所定の相対位置関係となるようにした支持体によって前記ワークの前記表面上で支持された状態として、前記工具によって摩擦攪拌接合を行うことを特徴とする摩擦攪拌接合方法。
  8. 請求項7に記載の摩擦攪拌接合方法において、
    前記支持体から前記ワークに向かって、予め設定された荷重を与えた状態で前記工具によって摩擦攪拌接合を行うことを特徴とする摩擦攪拌接合方法。
  9. 請求項8に記載の摩擦攪拌接合方法において、
    前記ワークの上方に前記工具保持部を配置して前記ワーク対向方向として上下方向に前記工具を進退可能に支持した状態で、前記工具保持部と該工具保持部に取り付けられた前記工具の重量よりも小さい所定の大きさの上向きの補助力を与えることで、荷重として、該工具保持部と該工具保持部に取り付けられた前記工具の重量から、前記補助力を減じた荷重を前記支持体から前記ワークに向かって与えることを特徴とする摩擦攪拌接合方法。
  10. 請求項7から請求項9のいずれか一項に記載の摩擦攪拌接合方法において、
    前記支持体を、前記工具保持部に保持された前記工具に対して、該工具の走査方向に直交する方向に配置することを特徴とする摩擦攪拌接合方法。
  11. 請求項7から請求項10のいずれか一項に記載の摩擦攪拌接合方法において、
    前記支持体を、前記ワークの前記表面に当接する当接部が、前記工具保持部に保持された前記工具の前記第一ショルダ面と、前記ワークの前記表面に沿う同一面内となるようにして前記ワークの表面上に支持された状態とすることを特徴とする摩擦攪拌接合方法。
JP2011033503A 2011-02-18 2011-02-18 摩擦攪拌接合装置及び摩擦攪拌接合方法 Active JP5374528B2 (ja)

Priority Applications (5)

Application Number Priority Date Filing Date Title
JP2011033503A JP5374528B2 (ja) 2011-02-18 2011-02-18 摩擦攪拌接合装置及び摩擦攪拌接合方法
EP11858672.6A EP2676762B1 (en) 2011-02-18 2011-05-27 Friction stir welding device
PCT/JP2011/062213 WO2012111181A1 (ja) 2011-02-18 2011-05-27 摩擦攪拌接合装置
US13/812,642 US9776276B2 (en) 2011-02-18 2011-05-27 Friction stir welding device
CN201180037181.XA CN103068514B (zh) 2011-02-18 2011-05-27 摩擦搅拌接合装置

Applications Claiming Priority (1)

Application Number Priority Date Filing Date Title
JP2011033503A JP5374528B2 (ja) 2011-02-18 2011-02-18 摩擦攪拌接合装置及び摩擦攪拌接合方法

Publications (2)

Publication Number Publication Date
JP2012170966A JP2012170966A (ja) 2012-09-10
JP5374528B2 true JP5374528B2 (ja) 2013-12-25

Family

ID=46672137

Family Applications (1)

Application Number Title Priority Date Filing Date
JP2011033503A Active JP5374528B2 (ja) 2011-02-18 2011-02-18 摩擦攪拌接合装置及び摩擦攪拌接合方法

Country Status (5)

Country Link
US (1) US9776276B2 (ja)
EP (1) EP2676762B1 (ja)
JP (1) JP5374528B2 (ja)
CN (1) CN103068514B (ja)
WO (1) WO2012111181A1 (ja)

Families Citing this family (14)

* Cited by examiner, † Cited by third party
Publication number Priority date Publication date Assignee Title
AT509066B1 (de) * 2010-08-11 2011-06-15 Stirzone Og Vorrichtung zum reibrührschweissen
JP5536007B2 (ja) * 2011-10-19 2014-07-02 三菱重工業株式会社 摩擦撹拌接合装置及び摩擦撹拌接合方法
EP2937169B8 (en) * 2012-12-19 2018-10-17 Mitsubishi Heavy Industries Engineering, Ltd. Welded material manufacturing method and welding jig
JP6084887B2 (ja) * 2013-04-16 2017-02-22 川崎重工業株式会社 摩擦撹拌接合装置および摩擦撹拌接合方法
JP6226184B2 (ja) * 2013-11-07 2017-11-08 三菱重工業株式会社 摩擦撹拌接合方法
DE102014101627A1 (de) * 2014-02-10 2015-08-13 Ms Spaichingen Gmbh Gestell für eine Maschine
WO2015159814A1 (ja) * 2014-04-16 2015-10-22 本田技研工業株式会社 摩擦撹拌接合装置
EP3069812B1 (en) * 2015-03-18 2017-11-29 Helmholtz-Zentrum Geesthacht Zentrum für Material- und Küstenforschung GmbH Apparatus for friction stir welding with a shoulder comprising first and second through holes
JP6480595B2 (ja) * 2015-09-29 2019-03-13 東芝三菱電機産業システム株式会社 超音波振動接合装置
KR101833294B1 (ko) * 2016-09-19 2018-03-02 주식회사 현성오토텍 마찰교반접합용 회전접합부재
CN114589393A (zh) * 2020-12-07 2022-06-07 财团法人金属工业研究发展中心 摩擦搅拌焊接压持治具系统
DE102021126767A1 (de) 2021-10-15 2023-04-20 Universität Kassel, Körperschaft des öffentlichen Rechts Rührreibschweißvorrichtung
FR3132450A1 (fr) * 2022-02-10 2023-08-11 Stirweld Accessoire d’interface de travail, kit de travail et procédé de soudage par friction-malaxage
CN117359082B (zh) * 2023-09-14 2024-07-12 北京赛福斯特技术有限公司 一种填充式搅拌摩擦增材制造装置及增材制造方法

Family Cites Families (18)

* Cited by examiner, † Cited by third party
Publication number Priority date Publication date Assignee Title
JPS594230B2 (ja) 1974-10-03 1984-01-28 三菱重工業株式会社 クミタテヨウセツソウチ
JPH10305372A (ja) * 1997-05-07 1998-11-17 Amada Co Ltd 溶接装置
DK1105246T3 (da) * 1998-07-09 2011-08-01 Mts System Corp Svejsehoved
JP2001287054A (ja) * 2000-04-07 2001-10-16 Hitachi Ltd 摩擦撹拌接合方法
US6302315B1 (en) * 2000-05-01 2001-10-16 General Tool Company Friction stir welding machine and method
JP2003062679A (ja) * 2001-08-29 2003-03-05 Nippon Light Metal Co Ltd 摩擦攪拌接合ツール
JP4335513B2 (ja) * 2002-10-08 2009-09-30 三菱重工業株式会社 摩擦攪拌接合装置と摩擦攪拌接合方法
JP3735342B2 (ja) * 2002-12-13 2006-01-18 三菱重工業株式会社 摩擦攪拌による接合構体の製造装置
JP3740125B2 (ja) * 2003-01-16 2006-02-01 三菱重工業株式会社 摩擦攪拌接合装置とその接合方法
JP3836090B2 (ja) * 2003-06-20 2006-10-18 三菱重工業株式会社 ロケットタンクシリンダの製造方法及びその製造装置
JP4468125B2 (ja) * 2004-09-27 2010-05-26 三菱重工業株式会社 摩擦撹拌接合方法及び装置
JP4790584B2 (ja) 2006-12-14 2011-10-12 日本車輌製造株式会社 摩擦攪拌接合装置及び摩擦攪拌接合方法
US7896216B2 (en) * 2007-03-30 2011-03-01 Kawasaki Jukogyo Kabushiki Kaisha Sticking pad, friction stir welding machine and friction stir welding system
US8079276B2 (en) * 2008-04-15 2011-12-20 Spirit Aerosystems, Inc. Dynamic calibration assembly for a friction stir welding machine
US8052028B2 (en) * 2008-06-16 2011-11-08 GM Global Technology Operations LLC Device for use with a friction stir spot welding (FSSW) apparatus
JP5535502B2 (ja) * 2009-03-16 2014-07-02 川崎重工業株式会社 摩擦撹拌接合装置及び方法
CN101947691B (zh) * 2010-09-29 2012-05-30 哈尔滨工业大学 上、下轴肩直径不等的自持式搅拌摩擦焊方法及其搅拌头
WO2013002869A2 (en) * 2011-04-07 2013-01-03 Schultz-Creehan Holdings, Inc. System for continuous feeding of filler material for friction stir fabrication and self-reacting friction stir welding tool

Also Published As

Publication number Publication date
US20130119115A1 (en) 2013-05-16
CN103068514B (zh) 2016-02-17
WO2012111181A1 (ja) 2012-08-23
EP2676762A1 (en) 2013-12-25
JP2012170966A (ja) 2012-09-10
EP2676762A4 (en) 2016-12-28
US9776276B2 (en) 2017-10-03
EP2676762B1 (en) 2019-03-13
CN103068514A (zh) 2013-04-24

Similar Documents

Publication Publication Date Title
JP5374528B2 (ja) 摩擦攪拌接合装置及び摩擦攪拌接合方法
JP4751477B1 (ja) 工作機械におけるワーククランプ装置
JP5854892B2 (ja) ワーク加工用治具、ワーク自動加工装置、ワーク加工方法、ワーク加工プログラム及び記録媒体
KR101799218B1 (ko) 마찰 교반 접합 방법
US20150027999A1 (en) Combined machining method and combined machining device
JP5022502B2 (ja) 摩擦撹拌接合装置
TWI505886B (zh) 金屬件加工方法
JP2007203326A (ja) 摩擦攪拌接合装置
KR20100070438A (ko) 푸싱지그 및 이를 구비한 피가공물 고정장치
CN105026096A (zh) 摩擦搅拌接合用工具、摩擦搅拌接合装置及接合材料的制造方法
JP2010142936A (ja) シリンダヘッド固定装置
JP4740289B2 (ja) 摩擦撹拌接合装置
CN108290260B (zh) 工件把持装置
JP2009128196A (ja) 被加工物の加工基準位置測定装置および加工・測定システム
JP5312126B2 (ja) 摩擦攪拌接合用アタッチメント
JP2012213827A (ja) 穴明け加工機
JP2019042899A (ja) 加工装置及びそれを用いた加工方法
JP2008302440A (ja) ワーク取付具及び工作機械
CN113710388A (zh) 复合加工机
JP4542882B2 (ja) 回転子の製造方法、ポリゴンミラー、ポリゴンスキャナユニット、レーザスキャンユニットおよび画像形成措置
JP5931459B2 (ja) 摩擦撹拌接合装置
JP4313020B2 (ja) 摩擦撹拌接合装置および摩擦撹拌接合方法
CN214815988U (zh) 一种焊接件拼装定位的结构
JP2014046346A (ja) ローラヘム加工装置
JP2012115842A (ja) 超音波シーム溶接装置および超音波シーム溶接方法

Legal Events

Date Code Title Description
A521 Request for written amendment filed

Free format text: JAPANESE INTERMEDIATE CODE: A523

Effective date: 20120611

A621 Written request for application examination

Free format text: JAPANESE INTERMEDIATE CODE: A621

Effective date: 20120611

A521 Request for written amendment filed

Free format text: JAPANESE INTERMEDIATE CODE: A821

Effective date: 20120612

TRDD Decision of grant or rejection written
A01 Written decision to grant a patent or to grant a registration (utility model)

Free format text: JAPANESE INTERMEDIATE CODE: A01

Effective date: 20130827

A61 First payment of annual fees (during grant procedure)

Free format text: JAPANESE INTERMEDIATE CODE: A61

Effective date: 20130920

R151 Written notification of patent or utility model registration

Ref document number: 5374528

Country of ref document: JP

Free format text: JAPANESE INTERMEDIATE CODE: R151

R250 Receipt of annual fees

Free format text: JAPANESE INTERMEDIATE CODE: R250

S111 Request for change of ownership or part of ownership

Free format text: JAPANESE INTERMEDIATE CODE: R313111

R350 Written notification of registration of transfer

Free format text: JAPANESE INTERMEDIATE CODE: R350

S533 Written request for registration of change of name

Free format text: JAPANESE INTERMEDIATE CODE: R313533

R350 Written notification of registration of transfer

Free format text: JAPANESE INTERMEDIATE CODE: R350

S111 Request for change of ownership or part of ownership

Free format text: JAPANESE INTERMEDIATE CODE: R313111

R350 Written notification of registration of transfer

Free format text: JAPANESE INTERMEDIATE CODE: R350