JP5326558B2 - 半導体装置の製造方法 - Google Patents

半導体装置の製造方法 Download PDF

Info

Publication number
JP5326558B2
JP5326558B2 JP2008332602A JP2008332602A JP5326558B2 JP 5326558 B2 JP5326558 B2 JP 5326558B2 JP 2008332602 A JP2008332602 A JP 2008332602A JP 2008332602 A JP2008332602 A JP 2008332602A JP 5326558 B2 JP5326558 B2 JP 5326558B2
Authority
JP
Japan
Prior art keywords
insulating film
polishing
film
dielectric constant
organic insulating
Prior art date
Legal status (The legal status is an assumption and is not a legal conclusion. Google has not performed a legal analysis and makes no representation as to the accuracy of the status listed.)
Expired - Fee Related
Application number
JP2008332602A
Other languages
English (en)
Other versions
JP2010153723A (ja
Inventor
敏 竹迫
深一 秋山
保 大和田
Current Assignee (The listed assignees may be inaccurate. Google has not performed a legal analysis and makes no representation or warranty as to the accuracy of the list.)
Fujitsu Semiconductor Ltd
Original Assignee
Fujitsu Semiconductor Ltd
Priority date (The priority date is an assumption and is not a legal conclusion. Google has not performed a legal analysis and makes no representation as to the accuracy of the date listed.)
Filing date
Publication date
Application filed by Fujitsu Semiconductor Ltd filed Critical Fujitsu Semiconductor Ltd
Priority to JP2008332602A priority Critical patent/JP5326558B2/ja
Priority to US12/603,207 priority patent/US8026164B2/en
Publication of JP2010153723A publication Critical patent/JP2010153723A/ja
Application granted granted Critical
Publication of JP5326558B2 publication Critical patent/JP5326558B2/ja
Expired - Fee Related legal-status Critical Current
Anticipated expiration legal-status Critical

Links

Images

Classifications

    • HELECTRICITY
    • H01ELECTRIC ELEMENTS
    • H01LSEMICONDUCTOR DEVICES NOT COVERED BY CLASS H10
    • H01L21/00Processes or apparatus adapted for the manufacture or treatment of semiconductor or solid state devices or of parts thereof
    • H01L21/70Manufacture or treatment of devices consisting of a plurality of solid state components formed in or on a common substrate or of parts thereof; Manufacture of integrated circuit devices or of parts thereof
    • H01L21/71Manufacture of specific parts of devices defined in group H01L21/70
    • H01L21/768Applying interconnections to be used for carrying current between separate components within a device comprising conductors and dielectrics
    • H01L21/76801Applying interconnections to be used for carrying current between separate components within a device comprising conductors and dielectrics characterised by the formation and the after-treatment of the dielectrics, e.g. smoothing
    • H01L21/76822Modification of the material of dielectric layers, e.g. grading, after-treatment to improve the stability of the layers, to increase their density etc.
    • H01L21/76825Modification of the material of dielectric layers, e.g. grading, after-treatment to improve the stability of the layers, to increase their density etc. by exposing the layer to particle radiation, e.g. ion implantation, irradiation with UV light or electrons etc.
    • HELECTRICITY
    • H01ELECTRIC ELEMENTS
    • H01LSEMICONDUCTOR DEVICES NOT COVERED BY CLASS H10
    • H01L21/00Processes or apparatus adapted for the manufacture or treatment of semiconductor or solid state devices or of parts thereof
    • H01L21/02Manufacture or treatment of semiconductor devices or of parts thereof
    • H01L21/02104Forming layers
    • H01L21/02107Forming insulating materials on a substrate
    • H01L21/02109Forming insulating materials on a substrate characterised by the type of layer, e.g. type of material, porous/non-porous, pre-cursors, mixtures or laminates
    • H01L21/02112Forming insulating materials on a substrate characterised by the type of layer, e.g. type of material, porous/non-porous, pre-cursors, mixtures or laminates characterised by the material of the layer
    • H01L21/02123Forming insulating materials on a substrate characterised by the type of layer, e.g. type of material, porous/non-porous, pre-cursors, mixtures or laminates characterised by the material of the layer the material containing silicon
    • HELECTRICITY
    • H01ELECTRIC ELEMENTS
    • H01LSEMICONDUCTOR DEVICES NOT COVERED BY CLASS H10
    • H01L21/00Processes or apparatus adapted for the manufacture or treatment of semiconductor or solid state devices or of parts thereof
    • H01L21/02Manufacture or treatment of semiconductor devices or of parts thereof
    • H01L21/02104Forming layers
    • H01L21/02107Forming insulating materials on a substrate
    • H01L21/02109Forming insulating materials on a substrate characterised by the type of layer, e.g. type of material, porous/non-porous, pre-cursors, mixtures or laminates
    • H01L21/02205Forming insulating materials on a substrate characterised by the type of layer, e.g. type of material, porous/non-porous, pre-cursors, mixtures or laminates the layer being characterised by the precursor material for deposition
    • H01L21/02208Forming insulating materials on a substrate characterised by the type of layer, e.g. type of material, porous/non-porous, pre-cursors, mixtures or laminates the layer being characterised by the precursor material for deposition the precursor containing a compound comprising Si
    • H01L21/02211Forming insulating materials on a substrate characterised by the type of layer, e.g. type of material, porous/non-porous, pre-cursors, mixtures or laminates the layer being characterised by the precursor material for deposition the precursor containing a compound comprising Si the compound being a silane, e.g. disilane, methylsilane or chlorosilane
    • HELECTRICITY
    • H01ELECTRIC ELEMENTS
    • H01LSEMICONDUCTOR DEVICES NOT COVERED BY CLASS H10
    • H01L21/00Processes or apparatus adapted for the manufacture or treatment of semiconductor or solid state devices or of parts thereof
    • H01L21/02Manufacture or treatment of semiconductor devices or of parts thereof
    • H01L21/02104Forming layers
    • H01L21/02107Forming insulating materials on a substrate
    • H01L21/02109Forming insulating materials on a substrate characterised by the type of layer, e.g. type of material, porous/non-porous, pre-cursors, mixtures or laminates
    • H01L21/02205Forming insulating materials on a substrate characterised by the type of layer, e.g. type of material, porous/non-porous, pre-cursors, mixtures or laminates the layer being characterised by the precursor material for deposition
    • H01L21/02208Forming insulating materials on a substrate characterised by the type of layer, e.g. type of material, porous/non-porous, pre-cursors, mixtures or laminates the layer being characterised by the precursor material for deposition the precursor containing a compound comprising Si
    • H01L21/02214Forming insulating materials on a substrate characterised by the type of layer, e.g. type of material, porous/non-porous, pre-cursors, mixtures or laminates the layer being characterised by the precursor material for deposition the precursor containing a compound comprising Si the compound comprising silicon and oxygen
    • H01L21/02216Forming insulating materials on a substrate characterised by the type of layer, e.g. type of material, porous/non-porous, pre-cursors, mixtures or laminates the layer being characterised by the precursor material for deposition the precursor containing a compound comprising Si the compound comprising silicon and oxygen the compound being a molecule comprising at least one silicon-oxygen bond and the compound having hydrogen or an organic group attached to the silicon or oxygen, e.g. a siloxane
    • HELECTRICITY
    • H01ELECTRIC ELEMENTS
    • H01LSEMICONDUCTOR DEVICES NOT COVERED BY CLASS H10
    • H01L21/00Processes or apparatus adapted for the manufacture or treatment of semiconductor or solid state devices or of parts thereof
    • H01L21/02Manufacture or treatment of semiconductor devices or of parts thereof
    • H01L21/02104Forming layers
    • H01L21/02107Forming insulating materials on a substrate
    • H01L21/02225Forming insulating materials on a substrate characterised by the process for the formation of the insulating layer
    • H01L21/0226Forming insulating materials on a substrate characterised by the process for the formation of the insulating layer formation by a deposition process
    • H01L21/02282Forming insulating materials on a substrate characterised by the process for the formation of the insulating layer formation by a deposition process liquid deposition, e.g. spin-coating, sol-gel techniques, spray coating
    • HELECTRICITY
    • H01ELECTRIC ELEMENTS
    • H01LSEMICONDUCTOR DEVICES NOT COVERED BY CLASS H10
    • H01L21/00Processes or apparatus adapted for the manufacture or treatment of semiconductor or solid state devices or of parts thereof
    • H01L21/02Manufacture or treatment of semiconductor devices or of parts thereof
    • H01L21/02104Forming layers
    • H01L21/02107Forming insulating materials on a substrate
    • H01L21/02296Forming insulating materials on a substrate characterised by the treatment performed before or after the formation of the layer
    • H01L21/02318Forming insulating materials on a substrate characterised by the treatment performed before or after the formation of the layer post-treatment
    • H01L21/02345Forming insulating materials on a substrate characterised by the treatment performed before or after the formation of the layer post-treatment treatment by exposure to radiation, e.g. visible light
    • H01L21/02351Forming insulating materials on a substrate characterised by the treatment performed before or after the formation of the layer post-treatment treatment by exposure to radiation, e.g. visible light treatment by exposure to corpuscular radiation, e.g. exposure to electrons, alpha-particles, protons or ions
    • HELECTRICITY
    • H01ELECTRIC ELEMENTS
    • H01LSEMICONDUCTOR DEVICES NOT COVERED BY CLASS H10
    • H01L21/00Processes or apparatus adapted for the manufacture or treatment of semiconductor or solid state devices or of parts thereof
    • H01L21/02Manufacture or treatment of semiconductor devices or of parts thereof
    • H01L21/04Manufacture or treatment of semiconductor devices or of parts thereof the devices having potential barriers, e.g. a PN junction, depletion layer or carrier concentration layer
    • H01L21/18Manufacture or treatment of semiconductor devices or of parts thereof the devices having potential barriers, e.g. a PN junction, depletion layer or carrier concentration layer the devices having semiconductor bodies comprising elements of Group IV of the Periodic Table or AIIIBV compounds with or without impurities, e.g. doping materials
    • H01L21/30Treatment of semiconductor bodies using processes or apparatus not provided for in groups H01L21/20 - H01L21/26
    • H01L21/31Treatment of semiconductor bodies using processes or apparatus not provided for in groups H01L21/20 - H01L21/26 to form insulating layers thereon, e.g. for masking or by using photolithographic techniques; After treatment of these layers; Selection of materials for these layers
    • H01L21/3105After-treatment
    • HELECTRICITY
    • H01ELECTRIC ELEMENTS
    • H01LSEMICONDUCTOR DEVICES NOT COVERED BY CLASS H10
    • H01L21/00Processes or apparatus adapted for the manufacture or treatment of semiconductor or solid state devices or of parts thereof
    • H01L21/02Manufacture or treatment of semiconductor devices or of parts thereof
    • H01L21/04Manufacture or treatment of semiconductor devices or of parts thereof the devices having potential barriers, e.g. a PN junction, depletion layer or carrier concentration layer
    • H01L21/18Manufacture or treatment of semiconductor devices or of parts thereof the devices having potential barriers, e.g. a PN junction, depletion layer or carrier concentration layer the devices having semiconductor bodies comprising elements of Group IV of the Periodic Table or AIIIBV compounds with or without impurities, e.g. doping materials
    • H01L21/30Treatment of semiconductor bodies using processes or apparatus not provided for in groups H01L21/20 - H01L21/26
    • H01L21/31Treatment of semiconductor bodies using processes or apparatus not provided for in groups H01L21/20 - H01L21/26 to form insulating layers thereon, e.g. for masking or by using photolithographic techniques; After treatment of these layers; Selection of materials for these layers
    • H01L21/3105After-treatment
    • H01L21/31051Planarisation of the insulating layers
    • H01L21/31053Planarisation of the insulating layers involving a dielectric removal step
    • HELECTRICITY
    • H01ELECTRIC ELEMENTS
    • H01LSEMICONDUCTOR DEVICES NOT COVERED BY CLASS H10
    • H01L21/00Processes or apparatus adapted for the manufacture or treatment of semiconductor or solid state devices or of parts thereof
    • H01L21/02Manufacture or treatment of semiconductor devices or of parts thereof
    • H01L21/04Manufacture or treatment of semiconductor devices or of parts thereof the devices having potential barriers, e.g. a PN junction, depletion layer or carrier concentration layer
    • H01L21/18Manufacture or treatment of semiconductor devices or of parts thereof the devices having potential barriers, e.g. a PN junction, depletion layer or carrier concentration layer the devices having semiconductor bodies comprising elements of Group IV of the Periodic Table or AIIIBV compounds with or without impurities, e.g. doping materials
    • H01L21/30Treatment of semiconductor bodies using processes or apparatus not provided for in groups H01L21/20 - H01L21/26
    • H01L21/31Treatment of semiconductor bodies using processes or apparatus not provided for in groups H01L21/20 - H01L21/26 to form insulating layers thereon, e.g. for masking or by using photolithographic techniques; After treatment of these layers; Selection of materials for these layers
    • H01L21/3205Deposition of non-insulating-, e.g. conductive- or resistive-, layers on insulating layers; After-treatment of these layers
    • H01L21/321After treatment
    • H01L21/32115Planarisation
    • H01L21/3212Planarisation by chemical mechanical polishing [CMP]
    • HELECTRICITY
    • H01ELECTRIC ELEMENTS
    • H01LSEMICONDUCTOR DEVICES NOT COVERED BY CLASS H10
    • H01L21/00Processes or apparatus adapted for the manufacture or treatment of semiconductor or solid state devices or of parts thereof
    • H01L21/70Manufacture or treatment of devices consisting of a plurality of solid state components formed in or on a common substrate or of parts thereof; Manufacture of integrated circuit devices or of parts thereof
    • H01L21/71Manufacture of specific parts of devices defined in group H01L21/70
    • H01L21/768Applying interconnections to be used for carrying current between separate components within a device comprising conductors and dielectrics
    • H01L21/76801Applying interconnections to be used for carrying current between separate components within a device comprising conductors and dielectrics characterised by the formation and the after-treatment of the dielectrics, e.g. smoothing
    • H01L21/76819Smoothing of the dielectric
    • HELECTRICITY
    • H01ELECTRIC ELEMENTS
    • H01LSEMICONDUCTOR DEVICES NOT COVERED BY CLASS H10
    • H01L21/00Processes or apparatus adapted for the manufacture or treatment of semiconductor or solid state devices or of parts thereof
    • H01L21/70Manufacture or treatment of devices consisting of a plurality of solid state components formed in or on a common substrate or of parts thereof; Manufacture of integrated circuit devices or of parts thereof
    • H01L21/71Manufacture of specific parts of devices defined in group H01L21/70
    • H01L21/768Applying interconnections to be used for carrying current between separate components within a device comprising conductors and dielectrics
    • H01L21/76801Applying interconnections to be used for carrying current between separate components within a device comprising conductors and dielectrics characterised by the formation and the after-treatment of the dielectrics, e.g. smoothing
    • H01L21/76835Combinations of two or more different dielectric layers having a low dielectric constant
    • HELECTRICITY
    • H01ELECTRIC ELEMENTS
    • H01LSEMICONDUCTOR DEVICES NOT COVERED BY CLASS H10
    • H01L21/00Processes or apparatus adapted for the manufacture or treatment of semiconductor or solid state devices or of parts thereof
    • H01L21/70Manufacture or treatment of devices consisting of a plurality of solid state components formed in or on a common substrate or of parts thereof; Manufacture of integrated circuit devices or of parts thereof
    • H01L21/71Manufacture of specific parts of devices defined in group H01L21/70
    • H01L21/768Applying interconnections to be used for carrying current between separate components within a device comprising conductors and dielectrics
    • H01L21/76838Applying interconnections to be used for carrying current between separate components within a device comprising conductors and dielectrics characterised by the formation and the after-treatment of the conductors
    • H01L21/7684Smoothing; Planarisation
    • HELECTRICITY
    • H01ELECTRIC ELEMENTS
    • H01LSEMICONDUCTOR DEVICES NOT COVERED BY CLASS H10
    • H01L23/00Details of semiconductor or other solid state devices
    • H01L23/52Arrangements for conducting electric current within the device in operation from one component to another, i.e. interconnections, e.g. wires, lead frames
    • H01L23/522Arrangements for conducting electric current within the device in operation from one component to another, i.e. interconnections, e.g. wires, lead frames including external interconnections consisting of a multilayer structure of conductive and insulating layers inseparably formed on the semiconductor body
    • H01L23/532Arrangements for conducting electric current within the device in operation from one component to another, i.e. interconnections, e.g. wires, lead frames including external interconnections consisting of a multilayer structure of conductive and insulating layers inseparably formed on the semiconductor body characterised by the materials
    • H01L23/5329Insulating materials
    • H01L23/53295Stacked insulating layers
    • HELECTRICITY
    • H01ELECTRIC ELEMENTS
    • H01LSEMICONDUCTOR DEVICES NOT COVERED BY CLASS H10
    • H01L2924/00Indexing scheme for arrangements or methods for connecting or disconnecting semiconductor or solid-state bodies as covered by H01L24/00
    • H01L2924/0001Technical content checked by a classifier
    • H01L2924/0002Not covered by any one of groups H01L24/00, H01L24/00 and H01L2224/00
    • HELECTRICITY
    • H01ELECTRIC ELEMENTS
    • H01LSEMICONDUCTOR DEVICES NOT COVERED BY CLASS H10
    • H01L2924/00Indexing scheme for arrangements or methods for connecting or disconnecting semiconductor or solid-state bodies as covered by H01L24/00
    • H01L2924/10Details of semiconductor or other solid state devices to be connected
    • H01L2924/11Device type
    • H01L2924/12Passive devices, e.g. 2 terminal devices
    • H01L2924/1204Optical Diode
    • H01L2924/12044OLED

Landscapes

  • Engineering & Computer Science (AREA)
  • Physics & Mathematics (AREA)
  • Condensed Matter Physics & Semiconductors (AREA)
  • General Physics & Mathematics (AREA)
  • Computer Hardware Design (AREA)
  • Microelectronics & Electronic Packaging (AREA)
  • Power Engineering (AREA)
  • Manufacturing & Machinery (AREA)
  • Spectroscopy & Molecular Physics (AREA)
  • Plasma & Fusion (AREA)
  • Internal Circuitry In Semiconductor Integrated Circuit Devices (AREA)
  • Formation Of Insulating Films (AREA)

Description

本発明は、半導体装置の製造方法に関し、特に絶縁膜に形成された溝に導電膜を埋め込む半導体装置の製造方法に関する。
従来から、LSIの多層配線には、アルミニウム(Al)またはアルミニウム合金が用いられている。その形成方法の1つとしては、マスクとドライエッチング法を用いて配線を形成した後、配線上に絶縁膜を堆積させる方法が知られている。
ここで、近年では、多層配線の微細化が進むにつれて、配線材料の抵抗により生じる動作遅延が問題となってきた。このような動作遅延への対策としては、配線材料として抵抗値がアルミニウムよりも低い銅や、銅合金を用いることがあげられる。一方、マスクとドライエッチング法を用いる製造方法では配線をより微細化することが難しくなっているため、化学機械研磨(CMP)法を用いたダマシン法を採用して配線を微細化することが行われている。
一般的なダマシン法による配線形成では、最初にドライエッチング用のストッパーとなる第1の絶縁膜を半導体基板上に堆積させ、第1の絶縁膜上に第2の絶縁膜を堆積させる。次に、第2の絶縁膜上にレジストパターンを形成し、ついでレジストパターンをマスクに使用してドライエッチング法を用いて第2の絶縁膜をエッチングして配線溝を形成する。配線溝には、物理気相成長(PVD)法を用いてバリアメタル膜とCuシード膜を順番に堆積させ、さらにその中にメッキ法によりCu膜を析出させる。最後に、配線溝以外の余分なCu膜とバリアメタル膜をCMP法により除去する。
CMP法で第2の絶縁膜の表面のバリアメタル膜を除去する場合、研磨時間を一定時間長く設定するような、いわゆるオーバー研磨が実施される。この際、絶縁膜の研磨レートが遅く、且つCu膜の研磨レートが速いバリアメタル研磨用スラリを用いると、絶縁膜に対してCu膜の研磨が相対的に進んで、第2の絶縁膜の表面高さから配線溝内のCu膜が沈み込む、いわゆるディッシングという現象が発生する。そのため、近年では、絶縁膜も同時に研磨でき、且つCu配線の沈み込みを抑制するバリアメタル研磨用スラリが開発されている。
ここで、第2の絶縁膜としては、誘電率が4.2のシリコン酸化膜(SiO2)が用いられていた。ところが、配線が微細化して配線間距離が短くなると、絶縁膜の寄生容量による電気のリークパスが発生し易くなる。そこで、近年では、絶縁膜に誘電率が3.0以下の低誘電率膜を用いることが検討されている。
ところが、誘電率3.0以下の低誘電率膜は、一般的に表面がメチル基(CHx)に覆われており、疎水性を有する。このため、研磨スラリが低誘電率膜の表面に馴染まず、研磨が進行し難かった。さらに、低誘電率膜の膜強度が弱く、下地絶縁膜との密着性が低いため、CMP法で研磨するときに膜剥がれが生じ易かった。
そこで、従来では、低誘電率膜上にキャップ膜として例えば誘電率4.2の酸化膜(SiO2)を形成した後に配線形成と研磨を行っていた。このようなキャップ膜は、低誘電率膜よりも研磨スラリに対する濡れ性が良好なので、絶縁膜の研磨が進行し、ディッシングを抑制できる。さらに膜強度が高く、密着性も高いので、研磨時の膜剥がれを防止できる。なお、膜剥がれの防止などの観点から、研磨工程ではキャップ層を一定の膜厚で残していた。
特開2006−156519号公報
しかしながら、配線の微細化がさらに進むと、絶縁膜中の寄生容量をさらに低減させる必要が生じる。この場合は、研磨後に残された誘電率の高いキャップ膜も寄生容量増加の要因になってしまう。
これに対する対応策としては、キャップ膜を設けずに、低圧力研磨により低誘電率膜を直接研磨する方法が考えられるが、低圧力研磨では研磨レートが低く、生産時のタクトの悪化や、研磨剤の使用量増加によるコストの増大の原因となる。さらに、低圧力研磨を用いた場合でも、低誘電率膜の疎水性によるスラリの濡れ性の悪化は解消できなかった。
本発明は、このような事情を鑑みてなされたものであり、絶縁膜の寄生容量を低減させる構成において、配線の微細化させた半導体装置を効率よく製造できるようにすることを主な目的とする。
本発明の一観点によれば、半導体基板の上方にメチル基を含む誘電率が3.0以下の有機絶縁膜を形成する工程と、前記有機絶縁膜の表面に、加速電圧が2keV〜4keV、照射量が50μC/cm〜400μC/cm、処理温度が200℃〜500℃の条件
で電子ビームを照射し、前記有機絶縁膜の前記メチル基の少なくとも一部をヒドロキシ基に置換する工程と、前記電子ビームを照射した後、前記有機絶縁膜に溝を形成する工程と、前記有機絶縁膜上及び前記溝内にバリアメタル膜を形成する工程と、前記バリアメタル膜の上方にめっき層を形成する工程と、前記有機絶縁膜上の前記めっき層を第1の研磨砥液を用いた研磨により除去し、更に前記有機絶縁膜上の前記バリアメタル膜及び前記有機絶縁膜の表面を第2の研磨砥液を用いて研磨する工程と、を有し、前記電子ビームを照射した前記有機絶縁膜の表面の第2の研磨砥液を用いた研磨レートは、前記電子ビーム照射前の前記有機絶縁膜の前記第2の研磨砥液を用いた研磨レートより速いことを特徴とする半導体装置の製造方法が提供される。
本発明によれば、電子ビームにより有機絶縁膜の表面が改質されてスラリに対する濡れ性が向上するので、高誘電率のキャップ層を使用せずに研磨量の制御と、研磨面内の均一性の制御を精度良く行える。また、有機絶縁膜に改質層を設けることで膜剥がれが防止される。これにより、絶縁膜の寄生容量を低減させた半導体装置が得られる。
本発明の実施形態について図面を参照して詳細に説明する。
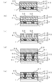
まず、図1(a)に示すように、半導体基板1上に、化学気相成長(CVD)法により第1の絶縁膜2を例えば、10nm〜200nmの膜厚に堆積させる。半導体基板1としては、例えばシリコン基板を使用する。また、図示を省略するが、第1の絶縁膜2の下層には、トランジスタや金属配線やコンタクトプラグが形成される。この工程で第1の絶縁膜2は、後述するエッチング工程でストッパー膜として機能するもので、例えば、炭化シリコン素膜(SiC)や、炭窒化シリコン膜(SiCN)、窒化シリコン膜(SiN)が採用される。第1の絶縁膜2は、薄膜を2層以上積層させた構造でも良い。さらに、これらの膜に、酸化膜(SiO)や、炭化シリコン酸化膜(SiOC)等と組み合わせても良い。
次に、図1(b)に示すように、低誘電率絶縁膜3を第1の絶縁膜2の上にCVD法、PE−CVD法、回転塗布法のいずれか、又はこれらの方法を組み合わせることで形成する。その膜厚は、例えば100nm〜1000nmとする。この工程で形成する低誘電率膜3の膜厚は、層間絶縁膜として必要な膜厚に、後述の研磨工程で研磨により除去される膜厚を足した値である。
低誘電率絶縁膜3は、有機物を含み、例えば誘電率が3.0以下の絶縁膜で、メチル基を有する有機シラン、有機シロキサンからなる群から選択された材料を用いて堆積される。より具体的には、低誘電率絶縁膜3は、メチルシラン、ジメチルシラン、トリメチルシラン、テトラメチルシラン、フェニルシラン、メチルフェニルシラン、シクロヘキシルシラン、エチルシラン、ジエチルシラン、テトラエトキシシラン、ジメチルジエトキシシラン、ジメチルジメトキシシラン、ジメチルエトキシシラン、メチルジエトキシシラン、トリエトキシシラン、トリメチルフェノキシシラン、フェノキシシラン、ジエトキシシラン、ジアセトキシメチルシラン、メチルトリエトキシシラン、ジ−tert−ブチルシラン、tert−ブチルシラン、ジ−tert−ブチルシラン、1,3,5,7−テトラメチルシクロテトラシロキサン、オクタメチルシクロテトラシロキサン、ヘキサメチルシクロトリシロキサン、ヘキサメチルジシロキサン、1,1,2,2−テトラメチルジシロキサン、オクタメチルトリシロキサンのいずれか1つまたはその組み合わせからなる材料用いて形成される。また、誘電率を下げるために、低誘電率絶縁膜3にポロジェンを含有させても良い。
ここで、低誘電率絶縁膜3の形成方法について、回転塗布法を例にして説明する。
最初に、第1の絶縁膜2の表面にスピンコート法を用いて塗布用薬液を塗布する。塗布用薬液としては、例えば、触媒化成社製のNCS(Nano Crystaline Silica)があげられる。半導体基板1の回転数は、1000rpm〜5000rpmとする。この後、半導体基板1を例えば150℃〜300℃の温度雰囲気で、3分〜10分ベーキングして溶媒を蒸発させる。さらに、半導体基板1を拡散炉に搬入し、400℃の温度雰囲気中で30分間加熱し、架橋反応のためのキュア処理を行う。
回転塗布法に好適な低誘電率絶縁膜としては、この他にJSR社製のLKD(商品名)や、ダウケミカル社製のポーラスSilK(商品名)、ULVAC社製又は三井化学社製のスケーラブルポーラスシリカなどがあげられる。
また、CVD法に好適な低誘電率絶縁膜としては、AMAT社製のBlack Diamond(商品名)、ASM社製のAurora(商品名)、ノベラス社製のCORAL(商品名)などがあげられる。
次に、図1(c)に矢印で示すように、電子ビーム照射工程として、低誘電率絶縁膜3に表面側から電子ビームを照射する。電子ビームを照射する前、低誘電率絶縁膜3は、図4(a)に模式的に示すような化学構造を有し、低誘電率絶縁膜3は、メチル基(CH)を有することから疎水性を有する。このため、このままでは研磨剤などとの濡れ性が良くない。
このため、図4(b)に示すように、低誘電率絶縁膜3の表面に電子ビームを照射することで表面改質を行う。電子ビームの照射条件は、例えば、加速電圧を2keV〜4keV、照射量50μC/cm〜400μC/cm、処理温度を200℃〜500℃とする。電子ビームの照射条件が、この範囲から外れると、研磨に十分な改質層が得られなくなり易い。
電子ビームの照射により、低誘電率絶縁膜3のシリコン(Si)とメチル基(CH)の結合が分断させられると、電子ビームが照射された部分の低誘電率絶縁膜3は、他の元素等と結合し易くなる。このため、図4(c)に示すように、ヒドロキシ基(OH)や酸素(O)をSiに結合させることが可能になる。これにより、メチル基がヒドロキシ基化され、低誘電率絶縁膜3の一部が親水性になる。ヒドロキシ基や酸素は、後の工程でレジストを塗布したときなどにSiと結合させることができる。
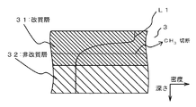
このような電子ビーム照射を実施すると、図5に示すように、低誘電率絶縁膜3の表面に、メチル基の濃度が相対的に低く、親水性を有する改質層(第二の層)31が所定の厚さで形成される。改質層31の厚さは、電子ビームの照射時の加速電圧や、照射量、処理温度、圧力雰囲気、低誘電率絶縁膜の成膜条件によって制御できる。
図5のラインL1に、改質層31におけるSiとメチル基の結合の分断の密度分布、即ちヒドロキシ基化の密度分布の変化の一例を示す。Siとメチル基の結合が分断される割合は、厚さ方向で深いほど低くなる。言い換えると、改質層31の最表面のヒドロキシ基の密度が最も高く、改質されていない非改質層32(第一の層)に向ってヒドロキシ基化の密度分布が徐々に低くなっている。
図6に低誘電率絶縁膜3に触媒化成社製のNCS(Nano Crystaline Silica)を用いた場合の改質層31の深さのシミュレーション結果を示す。図6は、電子ビームの加速電圧を1.5keVから5keVまで変化させたときの改質層31の深さと、電子ビームの照射量との関係を示している。電子ビームの照射時の加速電圧が高いほど、改質層31が深く、即ち改質層31を厚くすることができる。これは、加速電圧が高いほど電子が低誘電率絶縁膜3の深い領域まで打ち込まれるためであると考えられる。
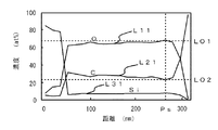
さらに、図7及び図8に、損失電子エネルギ分光(EELS)法により改質前と改質後の低誘電率絶縁膜のそれぞれに対して実際の酸素と炭素の含有濃度を測定した結果を示す。
図7は、改質前、即ち電子ビーム照射を行う前の測定結果を示す。横軸は低誘電率絶縁膜3の膜厚方向の距離を示し、縦軸は膜中の酸素と炭素とSiの濃度を示す。ラインL11は酸素濃度を示し、ラインL21は炭素濃度を、ラインL31はSi濃度をそれぞれ示している。また、横軸のPsは、低誘電率絶縁膜3の表面付近を示している。電子ビーム照射を行う前は、ラインL11に示す酸素濃度、及びラインL21に示す炭素濃度は、深さによらず略一定(ラインLO1,LO2参照)であった。
図8は、改質後、即ち、電子ビーム照射後の測定結果を示す。電子ビーム照射時の加速電圧は、2kevに設定した。改質後では、ラインL12に示す酸素濃度が表面付近Psから深さ約170nmの領域、即ち低誘電率絶縁膜3の表面から深さ約170nmまでの領域で増加した。同様に、ラインL22に示す炭素濃度は、表面付近Psから深さ約170nmまで減少した。このことから、この電子ビーム照射により形成される改質層31の深さ(厚さ)は、約170nmであることがわかる。また、改質層31に相当する領域では、酸素濃度が深さ方向で徐々に増加し、炭素濃度が深さ方向に徐々に減少することから、改質層31内では膜厚方向に炭素と酸素の濃度勾配が形成されていることがかわる。
図8の実験結果を図6のシミュレーション結果と比較すると、図6では電子ビームの加速電圧を2keVにしたときの改質層の深さは約160nmであった。このことからも、加速電圧の大きさによって改質層31の深さを制御できることがわかる。このようにして、EBキュアの条件と改質層31の深さの相関を予め調べておけば、改質層31の深さを制御することが可能になる。
なお、改質層31の深さ(Dh)は、例えばDh=0.046×Vcc1.75/ρで示されるように、0.046(定数)と電子ビーム加速電圧(Vcc〔keV〕)の1.75乗倍の積を、低誘電率絶縁膜3の膜密度(ρ〔g/cm3〕)で除算することで計算できる。
以上のように低誘電率絶縁膜3の一部を改質した後に、図1(d)に示すようにハードマスク絶縁膜堆積工程を行う。
まず、表面改質後の低誘電率絶縁膜3上に、エッチングのハードマスクとなる第2の絶縁膜4をCVD法やPE−CVD法やPVD法により厚さ10nm〜150nmに堆積させる。第2の絶縁膜4としては、例えば、二酸化シリコン膜(SiO)や、炭化シリコン膜(SiC)、炭酸化シリコン膜(SiOC)、炭窒化シリコン膜(SiCN)、窒化シリコン膜(SiN)のような絶縁膜又は、金属膜などが挙げられる。また、これらの膜を単層、或いは2層以上積層して用いても良い。なお、エッチングやCMP法による加工性を考慮すると、第2の絶縁膜4は二酸化シリコン膜(SiO)であることが望ましい。
さらに、図1(e)に示すように、パターニング工程を行う。
即ち、第2の絶縁膜4上にフォトレジストを塗布し、露光及び現像を行って配線溝の配置に合わせた開口を有するレジストパターン5を形成する。さらに、レジストパターン5をマスクにして、第2の絶縁膜4をRIE(Reactive Ion Etching)によりエッチングし、第2の絶縁膜4に配線溝の形状を転写する。これにより、第2の絶縁膜4からなるハードマスク4aが形成される。
次に、図1(f)に示すように、エッチング工程を行う。
第2の絶縁膜4を用いて形成されたハードマスク4aを用いて、低誘電率絶縁膜3をエッチングし、低誘電率絶縁膜3に配線溝となる溝パターン6を形成する。エッチングは、各絶縁膜2〜4に対して個別にエッチングガスを切り替えることにより行われる。
絶縁膜3,4に対しては、CFガスが使用される。ここで、CFガスに対する低誘電率絶縁膜3と第1の絶縁膜2との選択比は比較的に大きい。このため、低誘電率絶縁膜3のエッチングは、第1の絶縁膜2でストップする。なお、第1の絶縁膜2をエッチングする場合、CFガスとOガスとの混合ガスが使用される。
エッチングが終了したら、アッシングによりレジストパターン5を除去する。なお、レジストパターン5及びハードマスク4aは低誘電率絶縁膜3のエッチング時に全て除去しても良い。また、この工程ではハードマスク4aを残しておいて後工程のCMP法による研磨で除去しても良い。
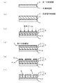
次に、図2(a)に示すように、バリアメタル堆積工程を行う。
低誘電率絶縁膜3の最表面及び溝パターン6の内面を覆うように、バリアメタル膜となる導電膜8をPVD法、例えばスパッタ法で1nm〜30nmの厚さに堆積させる。この導電膜8は、配線材料に用いるCuが低誘電率絶縁膜3中に拡散することを防止するために堆積され、例えば窒化タンタル(TaN)が用いられる。堆積条件は、例えば、N2ガスとArガスをN2 :Ar=20:80の流量比で流し、Taターゲットに例えば1kW〜40kWの電力を投入する。これにより、TaとN2ガスとを反応させる。
バリアメタルとなる導電膜8は、チタニウム(Ti)、ニッケル(Ni)、コバルト(Co)、ジルコニウム(Zr)、クロム(Cr)、パラジウム(Pd)、マンガン(Mn)、銀(Ag)、アルミニウム(Al)、スズ(Sn)、タンタル(Ta)、レニウム(Re)、タングステン(W)、白金(Pt)、バナジウム(V)、ルテニウム(Ru)、金(Au)のいずれか1種または複数の金属かその窒化物であっても良い。バリアメタルの堆積方法は、PVD法の他に、CVD法、PE−CVD法、ALD法、PE−ALD法のうちいずれか1つ、またはその組み合わせを採用しても良い。また、導電膜8を形成する工程は、高密度プラズマCVD法のように、導電膜8の少なくとも一部をエッチングすると同時に、導電膜8を成長させる条件で実施しても良い。これにより、側壁の付着が良くなる。
次に、図2(b)を参照してシードCu膜堆積工程について説明する。
導電膜8上に、Cuからなるシード膜9をPVD法、例えばスパッタ法により膜厚1nm〜100nmに堆積させる。この場合、Arガス雰囲気中でCuターゲットに例えば1kW〜40kWの電力を投入する。成膜方法は、PVD法の他に、CVD法、ALD法、PE−CVD法、ALD法、PE−ALD法であっても良い。
シード膜9は、Ti、Ni、Co、Zr、Cr、Pd、Mn、Ag、Al、Sn、Ta、Re、W、Pt、V、Ru、Au、Si、Ge、C、S、O、Cl、P、B、H、Hf、F、Nのうち、いずれか1種類または2種類以上の元素を混入させたものでも良い。
さらに、図2(c)に示すように、溝パターン6内にめっき層10を形成する工程について説明する。
ここでは、シード膜9を給電部として使用し、シード膜9上に配線材料となるCuを析出させ、配線材料で溝パターン6を埋める。めっき層10の厚さは、低誘電率絶縁膜3の膜厚以上、例えば1.2μmとする。これにより、溝パターン6にCuが埋め込まれると共に、低誘電率絶縁膜3の表面上にもCuが所定の厚さで析出する。
なお、配線材料のCuには、Ti、Ni、Co、Zr、Cr、Pd、Mn、Ag、Al、Sn、Ta、Re、W、Pt、V、Ru、Au、Si、Ge、C、S、O、Cl、P、B、H、Hf、F、Nのうち、いずれか1種類または2種類以上の元素を混入させたものでも良い。また、成膜法には、めっき法の他に、CVD法、PE−CVD法、ALD法、PE−ALD法を採用しても良い。
次に、めっき層10、シード層9等の研磨工程について説明する。
ここでの研磨工程には、例えばロータリ式研磨法を用いることができる。図9及び図10は研磨装置の一例を示す。なお、図中の矢印は回転の向き,或いは機構の動作範囲を示す。
図9に示すように、研磨装置20は、回転可能なワークテーブル21を有し、ワークテーブル21の上面には、研磨砥液を保持する研磨パッド22が貼り付けられている。研磨パッド22には、例えば発砲ポロウレタンと不織布の2層品(ロームアンドハース社のIC1000/Suba400)が用いられている。
研磨パッド22上には、半導体基板1を保持する研磨ヘッド23が配置されている。研磨ヘッド23は、半導体基板1を被研磨面、即ちめっき層10が下向きになるように保持する。さらに、研磨ヘッド23には、図示を省略する押圧機構が設けられており、半導体基板1を研磨パッド22に押し付けることができる。
また、研磨パッド22上には、研磨パッド22のコンディショナーとして用いられているドレッサー24が配置されている。ドレッサー24は、研磨パッド22に接する下面にダイヤモンド砥粒25が複数取り付けられており、これにより研磨パッド22の表面状態を調整する。
この研磨装置20では、研磨パッド22と、研磨ヘッド23と、ドレッサー24とが、それぞれ回転軸C1と、回転軸C2と、回転軸C3とを中心に回転可能に構成されている。さらに、ドレッサー24は、矢印で示す円弧に沿って研磨パッド22上を移動可能に構成されている。
なお、ここでの研磨条件は、例えば、ワークテーブル21の回転数を70rpmとし、研磨ヘッド23の回転数を71rpmとした。研磨圧力は、例えば1.4000×10Pa(2.0psi)とする。
研磨は、研磨砥液を研磨パッド22上に供給しながら実施する。研磨砥液は、研磨パッド22上に延びる研磨砥液供給アーム26に下向きに複数穿設されたノズル27から供給される。研磨砥液には、コロイダルシリカ砥粒に分散剤,酸化剤,防食剤,キレート剤等のケミカル物質を含むものを用いられる。砥粒は、例えばコロイダルシリカ、フュームドシリカ、セリウム、アルミナ、炭化珪素のいずれか1つを含むものが使用できる。分散剤には、例えば水酸化カリウムやアンモニウムを含むものが用いられる。酸化剤には、例えば過硫酸アンモニウムや過酸化水素水を使用できる。防食剤には例えばベンゾトリアゾール(BTA)が用いられ、キレート剤には例えばクエン酸やリンゴ酸が用いられる。
ここで、本実施形態で使用する研磨砥液は、メチル基(CH)で構成された疎水性の膜に対しては極度に研磨レートが低くなるような酸系の研磨砥液が用いられ、親水化を促すための改質剤は含まない。
なお、アルカリ系の研磨砥液を使用することも可能である。ただし、アルカリ系の研磨砥液は、スラリは馴染み易くなるが、脆弱な低誘電率絶縁膜3に対する研磨レートが過度に高くなるのでコントロールが困難になる。このため、低誘電率絶縁膜3上に保護膜を形成することを目的とした、アニオン系、カチオン系、ノニオン系、非イオン系の中の1種又はそれ以上の界面活性剤や改質剤を含有させた研磨砥液を用いることが好ましい。
次に、CMP法による研磨の過程を図2(d)から図2(f)を参照して説明する。
図2(d)に示すように、最初に、配線材料からなるめっき層10とシード膜9とが第1の研磨により除去される。次に、図2(e)に示すように、導電膜8が第2の研磨により除去される。これにより、低誘電率絶縁膜3の最表面、即ち改質層31が露出する。さらに、図2(f)に示すように、第3の研磨を行い、低誘電率絶縁膜3の改質層31の少なくとも一部を配線材料と共に除去する。これにより、低誘電率絶縁膜3に配線となる導電性パターン11が形成される。なお、低誘電率絶縁膜3は、改質層31を全て除去し、非改質部32のみを残しても良い。
第1の研磨に使用する研磨砥液は、めっき層10とシード膜9を高い研磨レートで研磨でき、バリアメタル層8や低誘電率絶縁膜3の研磨レートが極度に低くなるものを採用する。このような研磨に好適な研磨砥液としては、例えば、日立化成社製のHS−H635(商品名)やHS−C930(商品名)等がある。
第2の研磨及び第3の研磨に使用する研磨砥液は、導電膜8と溝パターン6内の導電性パターン11と低誘電率絶縁膜3の改質層31とを同程度の研磨速度で研磨し、低誘電率絶縁膜3の非改質層32では研磨レートが極度に低くなるものを採用する。このような研磨に好適な研磨砥液としては、例えば、酸系では、日立化成社製のT605−8(商品名)があげられる。また、アルカリ系では、JSR社製のCMS8201/8252(商品名)、CMS8501/8552(商品名)などがある。
ここで、図11と図12に、電子ビーム照射を行った低誘電率絶縁膜3と、電子ビーム照射を行っていない低誘電率絶縁膜3の研磨レート及び研磨の面内バラツキの比較結果を示す。なお、図11は、界面活性剤を添加しない研磨剤を使用した場合の比較結果を示す。図12は、界面活性剤を添加した研磨剤を使用した場合の比較結果を示す。いずれにおいても、低誘電率絶縁膜3には、触媒化成社製のNCS(Nano Crystaline Silica)を用い、電子ビームの加速電圧は2keVとした。また、研磨は、前記と同じ条件で実施した。
この結果から、界面活性剤の有無に関わらず、電子ビーム照射を行うことで、同じ低誘電率絶縁膜3でも研磨レートに差を設けられることが分かった。このことから、電子ビーム照射を行うことで、本来は疎水性を有する絶縁膜であっても、容易に研磨できるようになる。従来のようにギャップ層を設けなくても低誘電率絶縁膜3を直接に研磨することが可能になるので、low−kの絶縁膜を用いて多層配線を行うことが可能になる。
ここで、強固な保護膜を形成する界面活性剤を研磨砥液中に添加した場合(図12参照)、電子ビーム照射による研磨レートの差をより大きくできた。このことから、界面活性剤などの改質剤を研磨砥液に添加することで、研磨レート比をコントロールすることが可能であることが分かる。
これらの研磨レートの差は、電子ビーム照射によって形成された改質層31と、電子ビーム照射をしていない非改質層32との研磨レートの差、特にSi−CH結合切断の密度が低いとも考えられる。特に、Si−CH結合の切断が、図5に示すように膜厚方向に深くなるにつれて少なくなっているので、改質層31内でも研磨レートの差が生じている。即ち、研磨工程で最初に改質層31が研磨されるときは、高い研磨レートで研磨が進むが、改質層31が深くなるにつれて、さらに非改質層32に達すると研磨レートが落ちる。このため、改質層31が薄くなったところで、つまり非改質層32は殆ど研磨されることなく研磨工程を終了させることができる。つまり、導電性パターン11を構成するCu膜との間に急激な研磨レートの差が生じる前に研磨を終了させることが可能になり、ディッシングを防止できる。
特に、低誘電率絶縁膜3のメチル基をヒドロキシ基化する割合が膜厚方向に徐々に変化し、且つ最表面のヒドロキシ基の濃度が最も高く、非改質層32側のヒドロキシ基の濃度が最も低くなる分布を有するので、研磨レートを徐々に低下させることができる。このため、ディッシングを防止しつつ、低誘電率絶縁膜3を所望する膜厚に調整することが容易である。
さらに、改質層31と非改質層32の研磨レートの差や、改質層31におけるヒドロキシ基の濃度の変化による研磨レートの差を利用すれば、研磨ヘッド23にかかる負荷を電流値でモニタしたり、摩擦抵抗をトルクモニタで測定したりすることで研磨量を制御できる。これにより、より正確な膜厚制御が可能になる。
また、電子ビーム照射による研磨レートに差によって、研磨前や研磨の初期段階で膜厚にばらつきがあった場合でも、改質層31の膜厚が薄くなるにつれて研磨レートが徐々に低下することによって、残膜の面内のばらつきを徐々に小さくすることができる。また、改質層31が容易に研磨できるようになったことから、低誘電率絶縁膜3の膜剥がれも防止される。
ここで、以上のように配線となる導電性パターン11(第1の導電性パターン)を形成した後に、低誘電率絶縁膜3上に2層目となる第2のパターンを形成し、且つ導電性パターン11を介して1層目の導電性パターン11と導通させると、多層配線構造を形成できる。
まず、図3(a)に示すように、低誘電率絶縁膜3上に、誘電率が3.0以下の層間絶縁膜41と、エッチングのストッパー膜として機能する第3の絶縁膜42と、誘電率が3.0以下の低誘電率絶縁膜43とを順番に形成する。層間絶縁膜41と低誘電率絶縁膜43の材料及び形成方法は、前記の低誘電率絶縁膜3と同様である。また、第3の絶縁膜42の材料及び形成方法は、第1の絶縁膜2と同様である。
さらに、低誘電率絶縁膜43の表面に電子ビームを照射して改質層51(第二の層)を形成する。改質層51は、低誘電率絶縁膜43のメチル基がヒドロキシ基に置換されることで形成され、最表面のヒドロキシ基の密度が最も高く、改質されていない非改質層52(第一の層)に向ってヒドロキシ基化の密度分布が徐々に低くなる。
次に、図3(b)に示すように、ハードマスクを使用したドライエッチングを行い、配線となる導電性パターン11を露出させるコンタクトホール55を形成する。
さらに、図3(c)に示すように、ハードマスクを使用したドライエッチングを行い、低誘電率絶縁膜53に配線用の溝パターン56を形成する。このときのエッチングでは、第3の絶縁膜42がストッパーとして働くので、溝パターン56が層間絶縁膜41にまで形成されることはない。
この後、図3(d)に示すように、前記と同様にしてバリアメタル膜となる導電膜57と、シード膜58とを例えばスパッタ法により順番に形成する。さらに、シード膜58を給電部として使用して配線材料であるCuからなるめっき層59をめっき法により析出させ、コンタクトホール55及び溝パターン56を埋める。これにより、コンタクトホール55に導電性のプラグ60が形成され、溝パターン56に配線となる導電性パターン61が形成される。
そして、図9及び図10に示すような研磨装置を用いて研磨工程を前記と同様に行う。即ち、第1の研磨でめっき層59とシード層58を低誘電率絶縁膜43の上面から除去し、第2の研磨で導電膜57を除去する。さらに、第3の研磨で低誘電率絶縁膜43の改質層51の少なくとも一部を配線材料と共に除去する。これにより、低誘電率絶縁膜43の溝パターン56内に所望の膜厚の上側の導電性パターン61(第2の導電性パターン)が形成される。導電性パターン61は、導電性のプラグ60を介して下層の導電性パターン11と電気的に接続される。
なお、3層目以降にも同様の工程を繰り返すことで、ディッシングを抑制しながらより多層の配線構造を実現できる。
以上、説明したように、本実施形態では、電子ビームの照射によって低誘電率絶縁膜3の表面に親水性を持たせるようにしたので、配線材料と絶縁膜の間の研磨レートの差を小さくできる。これにより、配線材料と絶縁膜の研磨レートの差に起因して発生するディッシングを防止できる。なお、改質層31をほぼ全て研磨すると誘電率を低くできるが、僅かに改質層31を残しても良い。
また、改質層31内のヒドロキシ基の濃度に勾配を持たせ、徐々に研磨レートが低下するようにしたので、低誘電率絶縁膜3の厚さ、即ち導電性パターン11の高さを精度良く制御できる。低誘電率絶縁膜3の改質に電子ビームを採用したので、絶縁膜の改質にプラズマや紫外光を採用した場合に比べて、改質層31内のヒドロキシ基の濃度勾配を容易に形成できると共に、改質層31の厚さをコントロールできる。
さらに、研磨が容易な改質層31を設けて、最初は研磨レートが高く、後に研磨レートが徐々に低下するようにしたので、研磨時の面内ばらつきが改善され、膜剥がれも防止できる。
また、このようにして製造された半導体装置は、絶縁膜の寄生容量を低減でき、配線の微細化を実現することができる。
以下、実施形態の特徴を付記する。
(付記1)半導体基板の上方に有機絶縁膜を形成する工程と、前記有機絶縁膜の表面に電子ビームを照射する工程と、前記有機絶縁膜に溝を形成する工程と、前記有機絶縁膜上及び前記溝内に導電材を形成する工程と、前記有機絶縁膜上の前記導電材を研磨により除去し、前記有機絶縁膜の表面を露出させる工程と、を有することを特徴とする半導体装置の製造方法。
(付記2)前記有機絶縁膜の誘電率が3.0以下であることを特徴とする付記1に記載の半導体装置の製造方法。
(付記3)前記有機絶縁膜は、メチル基を含む材料から形成されていることを特徴とする請求項1に記載の半導体装置の製造方法。
(付記4)前記有機絶縁膜は、メチル基を含む材料から形成されていることを特徴とする付記1乃至付記3のいずれか一項に記載の半導体装置の製造方法。
(付記5)電子ビームの照射により、前記有機絶縁膜の前記メチル基の少なくとも一部をヒドロキシ基に置換することを特徴とする付記1又は付記2に記載の半導体装置の製造方法。
(付記6)前記有機絶縁膜は、メチルシラン、ジメチルシラン、トリメチルシラン、テトラメチルシラン、フェニルシラン、メチルフェニルシラン、シクロヘキシルシラン、エチルシラン、ジエチルシラン、テトラエトキシシラン、ジメチルジエトキシシラン、ジメチルジメトキシシラン、ジメチルエトキシシラン、メチルジエトキシシラン、トリエトキシシラン、トリメチルフェノキシシラン、フェノキシシラン、ジエトキシシラン、ジアセトキシメチルシラン、メチルトリエトキシシラン、ジ−tert−ブチルシラン、tert−ブチルシラン、ジ−tert−ブチルシラン、1,3,5,7−テトラメチルシクロテトラシロキサン、オクタメチルシクロテトラシロキサン、ヘキサメチルシクロトリシロキサン、ヘキサメチルジシロキサン、1,1,2,2−テトラメチルジシロキサン、オクタメチルトリシロキサンのいずれか1つまたはその組み合わせからなる材料を用いて形成されていることを特徴とする請求項3又は請求項4に記載の半導体装置の製造方法。
(付記7)研磨で使用するスラリは、フュームドシリカ、セリウム、アルミナ、炭化珪素の少なくとも1つを含む砥粒と、水酸化カリウム又はアンモニウムからなる分散剤と、過硫酸アンモニウム又は過酸化水素水酸化剤からなる酸化剤と、ベンゾトリアゾール(BTA)からなる防食剤、クエン酸又はリンゴ酸からなるキレート剤と、を含むことを特徴とする付記1乃至付記6のいずれか一項に記載の半導体装置の製造方法。
(付記8)電子ビームの照射条件は、加速電圧が2keV〜4keV、照射量が50μC/cm〜400μC/cm、処理温度が200℃〜500℃であることを特徴とする付記1乃至付記6のいずれか一項に記載の半導体装置の製造方法。
(付記9)電子ビームを照射した前記有機絶縁膜上にマスク用の絶縁膜を形成し、前記マスク用の絶縁膜をパターニングしてから前記有機絶縁膜をエッチングして前記溝を形成した後、前記マスク用の絶縁膜を研磨により除去することを特徴とする付記1乃至付記8のいずれか一項に記載の半導体装置の製造方法。
(付記10)半導体基板と、前記半導体基板の上方に形成され、第一の層と、前記第一の層上に設けられ、前記第一の層のメチル基の少なくとも一部をヒドロキシ基に置換して形成された第二の層とからなる有機絶縁膜と、前記有機絶縁膜の溝内に埋め込まれた導電材と、を有することを特徴とする半導体装置。
(付記11)前記有機絶縁膜の誘電率が3.0以下であることを特徴とする付記10に記載の半導体装置。
(付記12)前記有機絶縁膜の前記第二の層は、膜厚方向に前記メチル基の濃度勾配を有し、最表面の前記メチル基の濃度が最も低いことを特徴とする付記10又は付記11に記載の半導体装置。
図1は、半導体装置の製造工程を説明する図である(その1)。 図2は、半導体装置の製造工程を説明する図である(その2)。 図3は、半導体装置の製造工程を説明する図である(その3)。 図4は、電子ビーム照射工程を説明する概念図である。 図5は、電子ビーム照射により形成された改質層の概念図である。 図6は、電子ビームの照射量と埋め込み深さの関係のシミュレーション結果を示す図である。 図7は、電子ビーム照射前の低誘電率絶縁膜の膜厚方向の濃度を測定した図である。 図8は、電子ビーム照射後の低誘電率絶縁膜の膜厚方向の濃度を測定した図である。 図9は、研磨装置の平面図である。 図10は、図9のI−I線に沿った断面図である。 図11は、電子ビームを照射しない場合の低誘電率絶縁膜の研磨レート及び研磨の面内ばらつきの比較結果を示す図である。 図12は、電子ビームを照射した後の低誘電率絶縁膜の研磨レート及び研磨の面内ばらつきの比較結果を示す図である。
符号の説明
1 半導体基板
2 第1の絶縁膜
3 低誘電率絶縁膜(有機絶縁膜)
4 第2の絶縁膜
5 レジストパターン
6 パターン
8 バリアメタル膜
9 シード層
10 めっき層
11 導電性パターン
31 改質層(第二の層)
32 非改質層(第一の層)

Claims (2)

  1. 半導体基板の上方にメチル基を含む誘電率が3.0以下の有機絶縁膜を形成する工程と、
    前記有機絶縁膜の表面に、加速電圧が2keV〜4keV、照射量が50μC/cm〜400μC/cm、処理温度が200℃〜500℃の条件で電子ビームを照射し、前記有機絶縁膜の前記メチル基の少なくとも一部をヒドロキシ基に置換する工程と、
    前記電子ビームを照射した後、前記有機絶縁膜に溝を形成する工程と、
    前記有機絶縁膜上及び前記溝内にバリアメタル膜を形成する工程と、
    前記バリアメタル膜の上方にめっき層を形成する工程と、
    前記有機絶縁膜上の前記めっき層を第1の研磨砥液を用いた研磨により除去し、更に前記有機絶縁膜上の前記バリアメタル膜及び前記有機絶縁膜の表面を第2の研磨砥液を用いて研磨する工程と、
    を有し、
    前記電子ビームを照射した前記有機絶縁膜の表面の第2の研磨砥液を用いた研磨レートは、前記電子ビーム照射前の前記有機絶縁膜の前記第2の研磨砥液を用いた研磨レートより速いことを特徴とする半導体装置の製造方法。
  2. 前記第2の研磨砥液は、前記第1の研磨砥液と異なることを特徴とする請求項1に記載の半導体装置の製造方法。
JP2008332602A 2008-12-26 2008-12-26 半導体装置の製造方法 Expired - Fee Related JP5326558B2 (ja)

Priority Applications (2)

Application Number Priority Date Filing Date Title
JP2008332602A JP5326558B2 (ja) 2008-12-26 2008-12-26 半導体装置の製造方法
US12/603,207 US8026164B2 (en) 2008-12-26 2009-10-21 Semiconductor device and method of manufacturing the same

Applications Claiming Priority (1)

Application Number Priority Date Filing Date Title
JP2008332602A JP5326558B2 (ja) 2008-12-26 2008-12-26 半導体装置の製造方法

Publications (2)

Publication Number Publication Date
JP2010153723A JP2010153723A (ja) 2010-07-08
JP5326558B2 true JP5326558B2 (ja) 2013-10-30

Family

ID=42283906

Family Applications (1)

Application Number Title Priority Date Filing Date
JP2008332602A Expired - Fee Related JP5326558B2 (ja) 2008-12-26 2008-12-26 半導体装置の製造方法

Country Status (2)

Country Link
US (1) US8026164B2 (ja)
JP (1) JP5326558B2 (ja)

Families Citing this family (12)

* Cited by examiner, † Cited by third party
Publication number Priority date Publication date Assignee Title
TWI480977B (zh) * 2007-04-09 2015-04-11 哈佛大學校長及評議會 銅內連線用的氮化鈷層及其製造方法
JP5343417B2 (ja) * 2008-06-25 2013-11-13 富士通セミコンダクター株式会社 半導体装置およびその製造方法
JP5487748B2 (ja) * 2009-06-16 2014-05-07 東京エレクトロン株式会社 バリヤ層、成膜方法及び処理システム
CN102543845B (zh) * 2010-12-29 2014-10-22 中芯国际集成电路制造(北京)有限公司 半导体器件及其制作方法
US8461683B2 (en) * 2011-04-01 2013-06-11 Intel Corporation Self-forming, self-aligned barriers for back-end interconnects and methods of making same
US9376594B2 (en) * 2012-03-16 2016-06-28 Fujimi Incorporated Polishing composition
US9492910B2 (en) * 2012-07-25 2016-11-15 Ebara Corporation Polishing method
JP6049340B2 (ja) 2012-07-25 2016-12-21 株式会社荏原製作所 研磨フィルムの製造方法、研磨フィルム
US9514983B2 (en) * 2012-12-28 2016-12-06 Intel Corporation Cobalt based interconnects and methods of fabrication thereof
US9997457B2 (en) * 2013-12-20 2018-06-12 Intel Corporation Cobalt based interconnects and methods of fabrication thereof
US11233008B2 (en) * 2019-06-19 2022-01-25 Samsung Electronics Co., Ltd. Method of manufacturing an integrated circuit with buried power rail
CN112436027B (zh) * 2020-11-23 2024-07-23 长江先进存储产业创新中心有限责任公司 半导体结构及其制造方法

Family Cites Families (6)

* Cited by examiner, † Cited by third party
Publication number Priority date Publication date Assignee Title
JPH0429149A (ja) * 1990-05-24 1992-01-31 Matsushita Electric Ind Co Ltd パターン形成材料およびパターン形成方法
US6761975B1 (en) * 1999-12-23 2004-07-13 Honeywell International Inc. Polycarbosilane adhesion promoters for low dielectric constant polymeric materials
US7384693B2 (en) * 2004-04-28 2008-06-10 Intel Corporation Diamond-like carbon films with low dielectric constant and high mechanical strength
JP2006156519A (ja) 2004-11-26 2006-06-15 Renesas Technology Corp 半導体装置の製造方法
JP2008053402A (ja) * 2006-08-24 2008-03-06 Sony Corp 半導体装置の製造方法
JP2009117743A (ja) * 2007-11-09 2009-05-28 Panasonic Corp 半導体装置及びその製造方法

Also Published As

Publication number Publication date
JP2010153723A (ja) 2010-07-08
US20100164119A1 (en) 2010-07-01
US8026164B2 (en) 2011-09-27

Similar Documents

Publication Publication Date Title
JP5326558B2 (ja) 半導体装置の製造方法
US6713873B1 (en) Adhesion between dielectric materials
CN101431046B (zh) 在用于减少rc延迟的介电层中产生气隙的方法和装置
KR100359552B1 (ko) 반도체 기판의 표면 평탄화 처리 방법 및 절연층에서의 전도성 플러그 생성 방법
KR100810788B1 (ko) 듀얼 다마신 구조의 에칭 방법
US7795142B2 (en) Method for fabricating a semiconductor device
TWI528454B (zh) 半導體裝置及半導體裝置之製造方法
US8614146B2 (en) Semiconductor device manufacture method and semiconductor device
US6841466B1 (en) Method of selectively making copper using plating technology
JP2008117903A (ja) 半導体装置の製造方法
KR20010098409A (ko) 저 비유전율층 보호 방법과 상호 접속 구조체 형성 방법및 벌크 유전체 물질이 보호되는 중간 반도체 디바이스와상호 접속 구조를 갖는 반도체 기판 구조체
JP4160569B2 (ja) 半導体装置の製造方法
US6717265B1 (en) Treatment of low-k dielectric material for CMP
WO2007091574A1 (ja) 多層配線構造および多層配線の製造方法
WO2010084535A1 (ja) 半導体装置およびその製造方法
JP5823359B2 (ja) 半導体装置の製造方法
JP2006294815A (ja) 半導体装置及びその製造方法
US20090191706A1 (en) Method for fabricating a semiconductor device
JP5861346B2 (ja) 半導体装置の製造方法
JP2001284355A (ja) 半導体装置およびその製造方法
JP2006156519A (ja) 半導体装置の製造方法
JP2005340604A (ja) 半導体装置の製造方法
JP4499487B2 (ja) 半導体装置の製造方法
JP2011155074A (ja) 半導体装置の製造方法
JP2006525651A (ja) low−k誘電体の最上部に反射防止特性を持つキャップ層の形成法

Legal Events

Date Code Title Description
A621 Written request for application examination

Free format text: JAPANESE INTERMEDIATE CODE: A621

Effective date: 20110822

A977 Report on retrieval

Free format text: JAPANESE INTERMEDIATE CODE: A971007

Effective date: 20120308

A131 Notification of reasons for refusal

Free format text: JAPANESE INTERMEDIATE CODE: A131

Effective date: 20120313

A521 Request for written amendment filed

Free format text: JAPANESE INTERMEDIATE CODE: A523

Effective date: 20120514

A02 Decision of refusal

Free format text: JAPANESE INTERMEDIATE CODE: A02

Effective date: 20120724

A521 Request for written amendment filed

Free format text: JAPANESE INTERMEDIATE CODE: A523

Effective date: 20121024

A911 Transfer to examiner for re-examination before appeal (zenchi)

Free format text: JAPANESE INTERMEDIATE CODE: A911

Effective date: 20121109

A131 Notification of reasons for refusal

Free format text: JAPANESE INTERMEDIATE CODE: A131

Effective date: 20130115

A521 Request for written amendment filed

Free format text: JAPANESE INTERMEDIATE CODE: A523

Effective date: 20130318

TRDD Decision of grant or rejection written
A01 Written decision to grant a patent or to grant a registration (utility model)

Free format text: JAPANESE INTERMEDIATE CODE: A01

Effective date: 20130625

A61 First payment of annual fees (during grant procedure)

Free format text: JAPANESE INTERMEDIATE CODE: A61

Effective date: 20130708

R150 Certificate of patent or registration of utility model

Ref document number: 5326558

Country of ref document: JP

Free format text: JAPANESE INTERMEDIATE CODE: R150

Free format text: JAPANESE INTERMEDIATE CODE: R150

S531 Written request for registration of change of domicile

Free format text: JAPANESE INTERMEDIATE CODE: R313531

R350 Written notification of registration of transfer

Free format text: JAPANESE INTERMEDIATE CODE: R350

S111 Request for change of ownership or part of ownership

Free format text: JAPANESE INTERMEDIATE CODE: R313111

R350 Written notification of registration of transfer

Free format text: JAPANESE INTERMEDIATE CODE: R350

LAPS Cancellation because of no payment of annual fees