JP5264307B2 - 熱電変換装置 - Google Patents

熱電変換装置 Download PDF

Info

Publication number
JP5264307B2
JP5264307B2 JP2008152489A JP2008152489A JP5264307B2 JP 5264307 B2 JP5264307 B2 JP 5264307B2 JP 2008152489 A JP2008152489 A JP 2008152489A JP 2008152489 A JP2008152489 A JP 2008152489A JP 5264307 B2 JP5264307 B2 JP 5264307B2
Authority
JP
Japan
Prior art keywords
thermoelectric conversion
group
silicone
conversion device
sich
Prior art date
Legal status (The legal status is an assumption and is not a legal conclusion. Google has not performed a legal analysis and makes no representation as to the accuracy of the status listed.)
Active
Application number
JP2008152489A
Other languages
English (en)
Other versions
JP2009302168A (ja
Inventor
和久 高木
諭 安藤
Current Assignee (The listed assignees may be inaccurate. Google has not performed a legal analysis and makes no representation or warranty as to the accuracy of the list.)
Asahi FR R&D Co Ltd
Original Assignee
Asahi FR R&D Co Ltd
Priority date (The priority date is an assumption and is not a legal conclusion. Google has not performed a legal analysis and makes no representation as to the accuracy of the date listed.)
Filing date
Publication date
Application filed by Asahi FR R&D Co Ltd filed Critical Asahi FR R&D Co Ltd
Priority to JP2008152489A priority Critical patent/JP5264307B2/ja
Publication of JP2009302168A publication Critical patent/JP2009302168A/ja
Application granted granted Critical
Publication of JP5264307B2 publication Critical patent/JP5264307B2/ja
Active legal-status Critical Current
Anticipated expiration legal-status Critical

Links

Images

Landscapes

  • Compositions Of Macromolecular Compounds (AREA)

Description

本発明は、熱電変換素子を用いて、温度差により発電したり、電圧の印加により一端側を発熱させ他端側を吸熱させて温度差を生じさせたりする可撓性の熱伝変換装置に関するものである。
熱電変換装置は、n型熱電半導体エレメントとp型熱電半導体エレメントとの対を有する熱電変換素子が用いられている一種のヒートポンプである。熱電変換素子は、両エレメントの一端同士を接続した片側と他端同士の片側との間の温度差を電気エネルギーに変換するペルチェ効果を利用して、発電することができるものである。このような熱電変換素子は、可逆的であるから、両エレメントの一端同士の片側と他端同士の片側との間で電圧を印加すると、一端同士側で発熱し他端同士側で吸熱するゼーベック効果を利用して、電気エネルギーにより熱交換させることもできるものである。
熱電変換装置は、発電効率又は熱交換効率を向上させるために、図6のようにセラミックス基板26やアルミナ基板上に、交互に配置されたn型及びp型熱電半導体エレメント21・22が電極23・24で接続されている熱電変換素子20が、多数並べられて接着剤25による接着や半田付けがなされたものである。このような熱電変換素子20もセラミック基板26やアルミナ基板も可撓性がないせいで、一定形状にしかならず用途が限定される。さらに、冷却すべき発熱体や発電のための低温体・高温体の熱に応じて基板26が反ったり、膨張率の相違する熱電変換素子20や基板26が熱膨張や、加熱・冷却の熱サイクルや、加熱・冷却部位とその周辺部との極端な温度差のせいで変形し応力に耐えられなくなって剥離したり破断したりするので、熱電変換装置の汎用性・耐久性・信頼性に欠ける。
そこで可撓性が改善された熱電変換装置として、特許文献1に、p型とn型の熱電素子の対が、その高温端及び低温端に形成された電極により直列に接続され、複数の熱電素子対の高温端又は低温端側を接着剤で電気絶縁性フィルムに接着しつつ、隣接する熱伝素子対の側面間が接着されていない熱電変換モジュールが、開示されている。
また、特許文献2に、可撓性の高分子体フィルムと、それに接着剤を介して支持された熱電変換素子とによって構成され、高分子体フィルムの側に発熱体が配置された熱電変換装置が、開示されている。
これらの熱電変換装置は、セラミックス基板よりも可撓性に優れたフィルムにより、曲げ易くなっている。しかし、フィルムと熱電変換素子とが、接着剤によって物理的に接着して固定されたものであるから、高熱や低熱に長期間曝されて繰返し使用している間に、接着剤の劣化を生じてしまい、次第に、剥離したり脱落したりし易い。
特開2003−174203号公報 特開2000−286463号公報
本発明は前記の課題を解決するためになされたもので、取り付けるべき対象表面の曲面形状や所望の形状に応じて熱電変換装置を曲げたり捻ったりできる優れた可撓性を有し、熱電変換装置に多数取り付けられた熱電変換素子が、高熱や低熱に長期間曝されたり、繰返して高熱や低熱の温度変化に曝されたりしても、劣化も剥離も脱落も生じず、また必要に応じて着脱でき、耐熱性・耐寒性・耐衝撃性・耐振動性・堅牢性に優れ、高い熱電変換効率を有し、簡易な構造で生産効率に優れた汎用性の熱電変換装置を提供することを目的とする。
前記の目的を達成するためになされた特許請求の範囲の請求項1に記載の熱電変換装置は、ヒドロシリル基含有シリル基、ビニルシリル基含有シリル基、アルコキシシリル含有シリル基、及び加水分解性基含有シリル基から選ばれる少なくとも1種類の反応性シリル基からなる反応性基を有している、シリコーンゴム成分、シリコーンレジン成分、及び/又はシリコーンゲル成分を含有しているシリコーン組成物で、形成されていることによって、シリコーンゴム、シリコーンレジン、及び/又はシリコーンゲルとなっているシリコーン部材の表面から露出している前記反応性基と、
熱電変換素子の表面部位にコロナ放電、大気圧プラズマ放電又は紫外線照射処理によって導入された水酸基の脱水素残基へ結合しているシラン化合物が有しているもので、前記熱電変換素子の表面部位から露出している、ヒドロシリル含有シリル基、ビニル含有シリル基、アルコキシシリル含有シリル基、及び加水分解性基含有シリル基から選ばれる少なくとも1種類の活性シリル基であって、前記反応性基に反応をする活性基とが、
前記反応により、化学的に架橋して化学結合を形成していることによって、
前記シリコーン部材に、前記熱電変換素子の少なくとも一部の表面部位が、前記化学結合を介して付されて支持されていることを特徴とする。
請求項2に記載の熱電変換装置は、請求項1に記載されたもので、前記シラン化合物が、前記脱水素残基へ、シリルエーテル結合していることを特徴とする。
請求項3に記載の熱電変換装置は、請求項1〜2の何れかに記載されたもので、前記シラン化合物が、シロキサンホモポリマーであることを特徴とする。
電変換装置は、前記反応性基が、前記シリコーンゴム成分又は前記シリコーンレジン成分中のヒドロシリル基含有シリル基、ビニルシリル基含有シリル基、アルコキシシリル含有シリル基、及び加水分解性基含有シリル基から選ばれる少なくとも1種類の反応性シリル基であり前記反応性基に反応する前記活性基が、前記熱電変換素子の表面部位の水酸基の脱水素残基にシリルエーテル結合しており、ヒドロシリル含有シリル基、ビニル含有シリル基、アルコキシシリル含有シリル基、及び加水分解性基含有シリル基から選ばれる少なくとも1種類の活性シリル基である。
請求項に記載の熱電変換装置は、請求項に記載されたもので、前記活性基が、脱水素残基にシリルエーテル結合しつつ白金触媒又はロジウム触媒を保持している前記ビニルシリル基含有シリル基であることを特徴とする。
請求項に記載の熱電変換装置は、請求項1に記載されたもので、前記シリコーンゲルとなっている前記シリコーン部材、そのゲルによ粘着性を有することを特徴とする。
請求項に記載の熱電変換装置は、請求項1に記載されたもので、n型熱電半導体エレメントとp型熱電半導体エレメントとの対を有する前記熱電変換素子の複数が直列又は並列に接続されており、その対の両エレメント同士が下端で下部側電極により接続され、前記両エレメントと、夫々隣り合う別な対の各エレメントとが上端で上部側電極により接続されており、前記熱電変換素子の表面部位が、前記シリコーン部材へ当接されていることにより前記支持されていることを特徴とする。
請求項7に記載の熱電変換装置は、請求項6に記載されたもので、前記n型熱電半導体エレメントと前記p型熱電半導体エレメントとの間に、前記シリコーン部材と別なゴムが充填されていることを特徴とする。
請求項8に記載の熱電変換装置は、請求項に記載されたもので、前記下部側電極及び/又は前記上部側電極で、前記シリコーン部材により前記支持されていることを特徴とする。
請求項9に記載の熱電変換装置は、請求項1に記載されたもので、前記シリコーン部材が、熱伝導性フィラー、又は樹脂製若しくはガラス製中空球を含有していることを特徴とする。
請求項10に記載の熱電変換装置は、請求項9に記載されたもので、前記熱伝導性フィラーが、金属酸化物、及び/又は金属窒化物であることを特徴とする。
請求項11に記載の熱電変換装置は、請求項10に記載されたもので、前記金属酸化物がアルミナ、前記金属窒化物が窒化アルミニウムであることを特徴とする。
請求項12に記載の熱電変換装置は、請求項1に記載されたもので、発熱体に付されていることを特徴とする。
本発明の熱電変換装置は、シリコーン部材が優れた柔軟性を有することに起因して、取り付けるべき対象表面の曲面形状や所望の形状に合わせて、自在に曲げたり捻ったりできる優れた可撓性を有している。
この熱電変換装置に取り付けられている熱電変換素子は、付加型又は縮合型の化学結合を介してシリコーンゴム製やシリコーンレジン製のシリコーン部材に付されていると、高熱や低熱に長期間曝されたり、繰返して高熱や低熱の温度変化に曝されたりしても、劣化も剥離も脱落も生じない。そのため熱電変換装置は、耐熱性・耐寒性・耐衝撃性・堅牢性に優れたものとなっており、信頼性が高いものである。
この熱電変換装置に取り付けられた熱電変換素子は、粘着性を有するシリコーンゲル製のシリコーン部材に付されていると、優れた緩衝性を示し、耐衝撃性に優れており、必要に応じて着脱することができる。
この熱電変換装置は、高い熱電変換効率を有し、簡易な構造で生産効率に優れているから、汎用することができる。
このような熱電変換装置を、光源、例えば発光ダイオード、特に発熱が大きい高輝度発光ダイオードと共に基板に付した発光器具は、放熱性に優れているから、耐久性が良い。
発明を実施するための好ましい形態
以下、本発明の実施の好ましい形態について詳細に説明するが、本発明の範囲はこれらの形態に限定されるものではない。
本発明を適用する熱電変換装置の好ましい一形態は、図1に示すように、シリコーン部材16に、熱電変換素子10の一部位が、化学的結合を介して付されて支持されたものである。
熱電変換素子10は、n型熱電半導体エレメント11とp型熱電半導体エレメント12との対を有するものである。その対の両エレメント11・12同士が上端で半田付けされた上部側金属電極13により接続され、対の両エレメント11・12のうちn型熱電半導体エレメント11と隣り合う別な対のp型熱電半導体エレメント12とが下端で半田付けされた下部側金属電極14により接続され、それが繰返されて、複数の熱電変換素子10が、直列にパターン化されて並べられている。
熱電変換素子10の両エレメント11・12や下部側電極14の表面から露出した水酸基の脱水素残基に、活性基であるビニル基を含有するシロキサンホモポリマーが、シリルエーテル結合している。可撓性のシリコーンゴム製のシリコーン部材16の表面から露出したその原料成分由来の反応性基であるヒドロシリル基が、シロキサンホモポリマーのビニル基に付加反応していることにより、C-Siの化学結合を形成しており、その化学結合を介して、熱電変換素子10とシリコーン部材16とが、強固に付されて支持されている。
シリコーン部材16に、熱伝導性フィラー15が含まれていると、一層好ましい。
熱電変換装置は、具体的には以下のようにして製造される。
熱電変換素子の熱電半導体エレメントの下端近傍や下部側金属電極の表面を、脱脂してから、コロナ放電処理し、その熱電半導体エレメント表面の合金や電極表面の金属の酸化物分子に由来してその表面から露出している水酸基を生成させる。その熱電半導体エレメント表面や電極表面をビニルメトキシシロキサンホモポリマー例えばCH2=CH-Si(OCH3)2-O-[(CH2=CH-)Si(-OCH3)-O-]j-Si(OCH3)2-CH=CH2(jは3〜4)の溶液に浸漬させてから、熱処理し、それら表面上に生成させた水酸基とビニルメトキシシロキサンホモポリマーとを反応させ、シリルエーテルを形成させて、ビニルシリル基含有シリル基である活性シリル基を生成させる。反応性を向上させるために、それを白金触媒懸濁液に浸し、活性シリル基中のビニル基に白金触媒を保持させる。
次いで、ヒドロシリル基含有シリル基を有するシリコーンゴム成分が含まれているシリコーン組成物で、変形が容易な電気絶縁性の支持体となるシリコーン部材を形成する。そのシリコーン部材に、熱処理した金属電極を下側に向けて、熱電変換素子ごと載せ、加熱して加硫すると、ビニルシリル基含有シリル基のビニルと、ヒドロシリル基含有シリル基のヒドロシリルとが付加型反応をする結果、熱電変換素子とシリコーン部材とが強固な化学結合を介して付され確りと支持されて、熱電変換装置が得られる。
活性基がビニル基であるビニルメトキシシロキサンホモポリマーを用い熱電変換素子に結合させ、反応性基がヒドロシリル基であるヒドロシリル基含有シリル基含有シリコーンゴム成分が含まれているシリコーン組成物を用いた例を示したが、活性基が、ヒドロシリル含有シリル基、ビニル含有シリル基、アルコキシシリル含有シリル基、加水分解性基含有シリル基の何れかの活性シリル基であり、反応性基が、前記シリコーンゴム成分又は前記シリコーンレジン成分中のヒドロシリル基含有シリル基、ビニルシリル基含有シリル基、アルコキシシリル含有シリル基、加水分解性基含有シリル基の何れかの反応性シリル基であってもよい。活性基と反応性基との組み合わせは、何れかがヒドロシリル基含有シリル基である場合に他方がビニルシリル基含有シリル基であり、何れかがアルコキシシリル含有シリル基である場合に他方がアルコキシシリル含有シリル基又は加水分解性基含有シリル基であり、何れもが加水分解性基含有シリル基であるものが、挙げられる。
このような活性シリル基は何れも、熱電変換素子の表面の水酸基に機能性アルコキシシリル化合物のアルコキシシリル基が反応することにより、形成されるものである。
このようなヒドロシリル含有シリル基で基質である熱電変換素子(Sub.:Substrate)に形成されるシリルエーテル結合は、下記化学式[1]
Sub.−O−SiR20 ・・・[1]
で表わされる。ヒドロシリル含有シリル基−SiR20は、R20が末端に-SiH(R1)2又は-SiH2(R2)(R1及びR2は、炭素数1〜4のアルキル基)を有し、又はその主鎖の途中に-SiH-基を有しているというもので、ポリシロキシ基となっていてもよいというものである。
−SiR20は、より具体的には、
-(C2H5O)2SiCH2CH2CH2Si(CH3)2H、
-(CH3O)2SiCH2CH2CH2Si(CH3)2H、
-(i-C3H7O)2SiCH2CH2CH2Si(CH3)H2
-(n-C3H7O)2SiCH2CH2CH2Si(CH3)2OSi(CH3)2CH2CH2Si(CH3)2Si(CH3)2H、
-(n-C4H9O)2SiCH2CH2CH2Si(CH3)2OSi(CH3)2H、
-(t-C4H9O)2SiCH2CH2CH2Si(CH3)2OSi(CH3)2H、
-(C2H5O)CH3SiCH2CH2CH2Si(CH3)2OSi(CH3)2H、
-(CH3O)CH3SiCH2CH2CH2Si(CH3)2OSi(CH3)2CH2CH2Si(CH3)2Si(CH3)2H、
-(CH3)2SiCH2CH2CH2Si(CH3)2OSi(CH3)2H、
-(C2H5O)2SiCH2CH2CH2Si(CH3)2OSi(CH3)2H、
-(n-C3H7)2SiCH2CH2CH2Si(CH3)2OSi(CH3)2H、
-(i-C3H7O)2SiCH2CH2CH2Si(CH3)2OSi(CH3)2H、
-(n-C4H9)2SiCH2CH2CH2Si(CH3)2OSi(CH3)2H、
-(t-C4H9O)2SiCH2CH2CH2Si(CH3)2OSi(CH3)2H、
-[(-O)(-)SiCH2CH2CH2Si(CH3)2OSi(CH3)2H]k1
-[(-O)(-)SiCH2CH2Si(CH3)2OSi(CH3)2H]k2
-[(-O)(-)SiCH2CH2CH2CH2Si(CH3)2OSi(CH3)2H]k3
-[(-O)(-)SiCH2CH2CH2CH2CH2CH2Si(CH3)2OSi(CH3)2H]k4
-[(-O)(-)SiCH2CH2CH2CH2CH2CH2CH2CH2CH2CH2Si(CH3)2OSi(CH3)2H]k5
-(CH3O)2SiCH2C6H4CH2CH2Si(CH3)2C6H4Si(CH3)2H、
-(CH3O)CH3SiCH2C6H4CH2CH2Si(CH3)2C6H4Si(CH3)2H、
-(CH3)2SiCH2C6H4CH2CH2Si(CH3)2C6H4Si(CH3)2H、
-[(-O)(-)SiCH2C6H4CH2CH2Si(CH3)2C6H4Si(CH3)2H]k6
-[(-O)(-)SiCH2CH2CH2Si(CH3)2C6H4OC6H4Si(CH3)2H]k7
-[(-O)(-)SiCH2CH2CH2Si(CH3)2C2H4Si(CH3)2H]k8
-(C2H5O)2SiCH2CH2CH2Si(CH3)2O[Si(CH3)2O]m1Si(CH3)2H、
-(C2H5)2SiCH2CH2CH2Si(CH3)2O[Si(CH3)2O]m2Si(C2H5)2H、
-(C2H5O)CH3SiCH2CH2CH2Si(CH3)2O[Si(CH3)2O]m3Si(CH3)2H、
(CH3)3SiO[-Si(CH3)]O[SiH(CH3)O]m4Si(CH3)3
(CH3)3SiO[(-Si(CH3)CH2CH2CH2)(-)SiCH3]O[SiH(CH3)O]m5Si(CH3)3
(CH3)3SiO[(-Si(OCH3)CH2CH2CH2)(-)SiCH3]O[SiH(CH3)O]m6Si(CH3)3
(CH3)3SiO[(-Si(CH3)CH2CH2CH2)(-)SiCH3]O[SiH(CH3)O]m7Si(CH3)3
(CH3)3SiO[(-Si(O-)CH2CH2CH2)SiCH3]O[SiH(CH3)O]m8Si(CH3)3
(CH3)3SiO[(-Si(CH3)O[SiH(CH3)O]m9[Si(CH3)2O]n1Si(CH3)3
(CH3)3SiO[(-Si(CH3)CH2CH2CH2CH2CH2CH2)(-)Si(CH3)O][SiH(CH3)O]m10[Si(CH3)2O]n2Si(CH3)3
(CH3)3SiO[(-Si(OCH3)CH2CH2CH2CH2CH2CH2)(-)Si(CH3)O][SiH(CH3)O]m11[Si(CH3)2O]n3Si(CH3)3
(CH3)3SiO[(-Si(O-)CH2CH2CH2CH2CH2CH2)Si(CH3)O][SiH(CH3)O]m12[Si(CH3)2O]n4Si(CH3)3
(CH3)3SiO[(-Si(OCH3)CH2CH2CH2CH2CH2CH2)(-)Si(CH3)O][SiH(CH3)O]m13[Si(CH3)2O]n5Si(CH3)3
(CH3)3SiO[-Si(C2H5)O][SiH(C2H5)O]m14Si(CH3)3
(CH3)3SiO[(-Si(O-)CH2CH2CH2CH2CH2CH2)Si(C2H5)]O[SiH(C2H5)O]m15Si(CH3)3
(CH3)3SiO[(-Si(CH3)CH2CH2CH2CH2CH2CH2)(-)Si(C2H5)]O[SiH(C2H5)O]m16Si(CH3)3
-Si(CH3)2CH2CH2CH2CH2CH2CH2(CH3)2SiO[HSi(CH3)2OSiC6H5O]m17Si(CH3)2H、
-Si(OCH3)2CH2CH2CH2CH2CH2CH2(CH3)2SiO[HSi(CH3)2OSiC6H5O]m18Si(CH3)2H、
-Si(O-)CH2CH2CH2CH2CH2CH2(CH3)2SiO[HSi(CH3)2OSiC6H5O]m19Si(CH3)2H、
H(CH3)2SiO[(-Si(CH3)2CH2CH2CH2)Si(CH3)O][HSiCH3O]m20Si(CH3)2H、
H(CH3)2SiO[(-Si(CH3)2CH2CH2CH2CH2)Si(CH3)O][HSiCH3O]m21Si(CH3)2H、
H(CH3)2SiO[(-Si(CH3)2CH2CH2CH2CH2CH2CH2)Si(CH3)O][HSiCH3O]m22Si(CH3)2H、
H(CH3)2SiO[(-Si(CH3)2CH2CH2CH2CH2CH2CH2CH2CH2)Si(CH3)O][HSiCH3O]m23Si(CH3)2H、
H(CH3)2SiO[(-Si(CH3)2CH2CH2CH2CH2CH2CH2CH2CH2CH2CH2)Si(CH3)O][HSiCH3O]m24Si(CH3)2H、
H(CH3)2SiO[(-Si(OCH3)2CH2CH2C6H4CH2CH2)Si(CH3)O][HSiCH3O]m25Si(CH3)2H、
H(CH3)2SiO[(-Si(OCH3)2CH2C6H4CH2CH2CH2)Si(CH3)O][HSiCH3O]m26Si(CH3)2H、
H(CH3)2SiO[(-Si(OCH3)2CH2C6H4CH2CH2)Si(CH3)O][HSiCH3O]m27Si(CH3)2H、
H(CH3)2SiO[(-Si(OCH3)2C6H4CH2CH2)Si(CH3)O][HSiCH3O]m28Si(CH3)2H、
H(CH3)2SiO[(-Si(OCH3)2CH2CH2CH2)Si(CH3)O][HSiCH3O]m29Si(CH3)2H、
H(CH3)2SiO[(-Si(OCH3)2CH2CH2CH2CH2)Si(CH3)O][HSiCH3O]m30Si(CH3)2H、
H(CH3)2SiO[(-Si(OCH3)2CH2CH2CH2CH2CH2CH2)Si(CH3)O][HSiCH3O]m31Si(CH3)2H、
H(CH3)2SiO[(-Si(OCH3)2CH2CH2CH2CH2CH2CH2CH2CH2)Si(CH3)O][HSiCH3O]m32Si(CH3)2H、
H(CH3)2SiO[(-Si(OCH3)2CH2CH2CH2CH2CH2CH2CH2CH2CH2CH2)Si(CH3)O][HSiCH3O]m33Si(CH3)2H、
H(CH3)2SiO[(-Si(OCH3)2CH2CH2C6H4CH2CH2)Si(CH3)O][HSiCH3O]m34Si(CH3)2H、
H(CH3)2SiO[(-Si(OCH3)2CH2C6H4CH2CH2CH2)Si(CH3)O][HSiCH3O]m35Si(CH3)2H、
H(CH3)2SiO[(-Si(OCH3)2CH2C6H4CH2CH2)Si(CH3)O][HSiCH3O]m36Si(CH3)2H、
H(CH3)2SiO[(-Si(OCH3)2C6H4CH2CH2)Si(CH3)O][HSiCH3O]m37Si(CH3)2H、
H(CH3)2SiO[(-Si(O-)CH2CH2C6H4CH2CH2)Si(CH3)O][HSiCH3O]m38Si(CH3)2H、
H(CH3)2SiO[(-Si(O-)CH2C6H4CH2CH2CH2)Si(CH3)O][HSiCH3O]m39Si(CH3)2H、
H(CH3)2SiO[(-Si(O-)CH2C6H4CH2CH2)Si(CH3)O][HSiCH3O]m40Si(CH3)2H、
H(CH3)2SiO[(-Si(O-)C6H4CH2CH2)Si(CH3)O][HSiCH3O]m41Si(CH3)2H、
H(CH3)2SiO[(-Si(O-)CH2CH2CH2)Si(CH3)O][HSiCH3O]m42Si(CH3)2H、
H(CH3)2SiO[(-Si(O-)CH2CH2CH2CH2)Si(CH3)O][HSiCH3O]m43Si(CH3)2H、
H(CH3)2SiO[(-Si(O-)CH2CH2CH2CH2CH2CH2)Si(CH3)O][HSiCH3O]m44Si(CH3)2H、
H(CH3)2SiO[(-Si(O-)CH2CH2CH2CH2CH2CH2CH2CH2)Si(CH3)O][HSiCH3O]m45Si(CH3)2H、
H(CH3)2SiO[(-Si(O-)CH2CH2CH2CH2CH2CH2CH2CH2CH2CH2)Si(CH3)O][HSiCH3O]m46Si(CH3)2H、
H(CH3)2SiO[(-Si(O-)CH2CH2C6H4CH2CH2)Si(CH3)O][HSiCH3O]m47Si(CH3)2H、
H(CH3)2SiO[(-Si(O-)CH2C6H4CH2CH2CH2)Si(CH3)O][HSiCH3O]m48Si(CH3)2H、
H(CH3)2SiO[(-Si(O-)CH2C6H4CH2CH2)Si(CH3)O][HSiCH3O]m49Si(CH3)2H、
H(CH3)2SiO[(-Si(O-)C6H4CH2CH2)Si(CH3)O][HSiCH3O]m50Si(CH3)2H、
H(CH3)2SiO[(-)Si(CH3)CH2CH2CH2CH2CH2CH2Si(CH3)2OSiC6H5O]m51[HSi(CH3)2OSiC6H5O]n6Si(CH3)2H、
H(CH3)2SiO[(-)Si(OCH3)CH2CH2CH2CH2CH2CH2Si(CH3)2OSiC6H5O]m52[HSi(CH3)2OSiC6H5O]n7Si(CH3)2H、
H(CH3)2SiO[(-)Si(O-)CH2CH2CH2CH2CH2CH2Si(CH3)2OSiC6H5O]m53[HSi(CH3)2OSiC6H5O]n8Si(CH3)2H、
-(CH3)2SiO[SiH(CH3)O]m54[SiCH3(C6H5)O]n9Si(CH3)2H、
-Si(OC2H5)2CH2CH2CH2CH2CH2CH2(CH3)2SiO[SiH(CH3)O]m55[SiCH3(C6H5)O]n10Si(CH3)2H、
-Si(O-)CH2CH2CH2CH2CH2CH2(CH3)2SiO[SiH(CH3)O]m56[SiCH3(C6H5)O]n11Si(CH3)2H、
-Si(CH3)2CH2CH2CH2CH2CH2CH2(CH3)2SiO[SiH(CH3)O]m57[SiCH3(C6H5)O]n12Si(CH3)2H、
H(CH3)2SiO(-)Si(CH3)O[SiH(CH3)O]m58[SiCH3(C6H5)O]n13Si(CH3)2H、
H(CH3)2SiO[(-)Si(OC2H5)2CH2CH2CH2Si(CH3)]O[SiH(CH3)O]m59[SiCH3(C6H5)O]n14Si(CH3)2H、
H(CH3)2SiO[(-)Si(O-)CH2CH2CH2Si(CH3)]O[SiH(CH3)O]m60[SiCH3(C6H5)O]n15Si(CH3)2H、
H(CH3)2SiO[(-)Si(CH3)2CH2CH2CH2Si(CH3)]O[SiH(CH3)O]m61[SiCH3(C6H5)O]n16Si(CH3)2H
が挙げられる。これらの基中、k1〜k8、m1〜m61及びn1〜n16は1〜100までの数である。一つの基に、ヒドロシリル基(SiH基)を、1〜99個有していることが好ましい。
このようなヒドロシリル含有シリル基を形成する機能性アルコキシシリル化合物の例として、
(CH3O)3SiCH2CH2CH2Si(CH3)2OSi(CH3)2H、
(C2H5O)3SiCH2CH2CH2Si(CH3)2OSi(CH3)2H、
(CH3O)3SiCH2CH2CH2Si(OCH3)2OSi(OCH3)3
(C2H5O)3SiCH2CH2CH2Si(OCH3)2OSi(OCH3)3
(C2H5O)3SiCH2CH2CH2Si(CH3)2H、
(CH3O)3SiCH2CH2CH2Si(CH3)2H、
(i-C3H7O)3SiCH2CH2CH2Si(CH3)H
(n-C3H7O)3SiCH2CH2CH2Si(CH3)2OSi(CH3)2CH2CH2Si(CH3)2Si(CH3)2H、
(n-C4H9O)3SiCH2CH2CH2Si(CH3)2OSi(CH3)2H、
(t-C4H9O)3SiCH2CH2CH2Si(CH3)2OSi(CH3)2H、
(C2H5O)2CH3SiCH2CH2CH2Si(CH3)2OSi(CH3)2H、
(CH3O)2CH3SiCH2CH2CH2Si(CH3)2OSi(CH3)2CH2CH2Si(CH3)2Si(CH3)2H、
CH3O(CH3)2SiCH2CH2CH2Si(CH3)2OSi(CH3)2H、
(C2H5O)3SiCH2CH2CH2Si(CH3)2OSi(CH3)2H、
(n-C3H7)3SiCH2CH2CH2Si(CH3)2OSi(CH3)2H、
(i-C3H7O)3SiCH2CH2CH2Si(CH3)2OSi(CH3)2H、
(n-C4H9)3SiCH2CH2CH2Si(CH3)2OSi(CH3)2H、
(t-C4H9O)3SiCH2CH2CH2Si(CH3)2OSi(CH3)2H、
(C2H5O)3SiCH2CH2Si(CH3)2OSi(CH3)2H、
(C2H5O)3SiCH2CH2CH2CH2Si(CH3)2OSi(CH3)2H、
(C2H5O)3SiCH2CH2CH2CH2CH2CH2Si(CH3)2OSi(CH3)2H、
(C2H5O)3SiCH2CH2CH2CH2CH2CH2CH2CH2CH2CH2Si(CH3)2OSi(CH3)2H、
(CH3O)3SiCH2C6H4CH2CH2Si(CH3)2C6H4Si(CH3)2H、
(CH3O)2CH3SiCH2C6H4CH2CH2Si(CH3)2C6H4Si(CH3)2H、
CH3O(CH3)2SiCH2C6H4CH2CH2Si(CH3)2C6H4Si(CH3)2H、
(C2H5O)3SiCH2C6H4CH2CH2Si(CH3)2C6H4Si(CH3)2H、
(C2H5O)3SiCH2CH2CH2Si(CH3)2C6H4OC6H4Si(CH3)2H、
(C2H5O)3SiCH2CH2CH2Si(CH3)2C2H4Si(CH3)2H、
(C2H5O)3SiCH2CH2CH2Si(CH3)2O[Si(CH3)2O]p1Si(CH3)2H、
C2H5O(CH3)2SiCH2CH2CH2Si(CH3)2O[Si(CH3)2O]p2Si(C2H5)2H、
(C2H5O)2CH3SiCH2CH2CH2Si(CH3)2O[Si(CH3)2O]p3Si(CH3)2H、
(CH3)3SiOSiH(CH3)O[SiH(CH3)O]p4Si(CH3)3
(CH3)3SiO[(C2H5OSi(CH3)CH2CH2CH2)SiCH3]O[SiH(CH3)O]p5Si(CH3)3
(CH3)3SiO[(C2H5OSiOCH3CH2CH2CH2)SiCH3]O[SiH(CH3)O]p6Si(CH3)3
(CH3)3SiO[(C2H5OSi(CH3)CH2CH2CH2)SiCH3]O[SiH(CH3)O]p7Si(CH3)3
(CH3)3SiO[(Si(OC2H5)2CH2CH2CH2)SiCH3]O[SiH(CH3)O]p8Si(CH3)3
(CH3)3SiOSi(OC2H5)2O[SiH(CH3)O]p9[Si(CH3)2O]q1Si(CH3)3
(CH3)3SiO[(C2H5Osi(CH3)CH2CH2CH2CH2CH2CH2)Si(CH3)O][SiH(CH3)O]p10[Si(CH3)2O]q2Si(CH3)3
(CH3)3SiO[(Si(OCH3)3CH2CH2CH2CH2CH2CH2)Si(CH3)O][SiH(CH3)O]p11[Si(CH3)2O]q3Si(CH3)3
(CH3)3SiOSi(OC2H5)2O[SiH(C2H5)O]p12Si(CH3)3
(CH3)3SiO[(Si(OC2H5)2CH2CH2CH2CH2CH2CH2)Si(C2H5)]O[SiH(C2H5)O]p13Si(CH3)3
(CH3)3SiO[(C2H5OSi(CH3)CH2CH2CH2CH2CH2CH2)Si(C2H5)]O[SiH(C2H5)O]p14Si(CH3)3
C2H5OSi(CH3)2CH2CH2CH2CH2CH2CH2(CH3)2SiO[HSi(CH3)2OSiC6H5O]p15Si(CH3)2H、
Si(OCH3)3CH2CH2CH2CH2CH2CH2(CH3)2SiO[HSi(CH3)2OSiC6H5O]p16Si(CH3)2H、
H(CH3)2SiO[(C2H5OSi(CH3)2CH2CH2CH2)Si(CH3)O][HSiCH3O]p17Si(CH3)2H、
H(CH3)2SiO[(C2H5OSi(CH3)2CH2CH2CH2CH2)Si(CH3)O][HSiCH3O]p18Si(CH3)2H、
H(CH3)2SiO[(C2H5OSi(CH3)2CH2CH2CH2CH2CH2CH2)Si(CH3)O][HSiCH3O]p19Si(CH3)2H、
H(CH3)2SiO[(C2H5OSi(CH3)2CH2CH2CH2CH2CH2CH2CH2CH2)Si(CH3)O][HSiCH3O]p20Si(CH3)2H、
H(CH3)2SiO[(C2H5OSi(CH3)2CH2CH2CH2CH2CH2CH2CH2CH2CH2CH2)Si(CH3)O][HSiCH3O]p21Si(CH3)2H、
H(CH3)2SiO[(Si(OCH3)3CH2CH2C6H4CH2CH2)Si(CH3)O][HSiCH3O]p22Si(CH3)2H、
H(CH3)2SiO[(Si(OCH3)3CH2C6H4CH2CH2CH2)Si(CH3)O][HSiCH3O]p23Si(CH3)2H、
H(CH3)2SiO[(Si(OCH3)3CH2C6H4CH2CH2)Si(CH3)O][HSiCH3O]p24Si(CH3)2H、
H(CH3)2SiO[(Si(OCH3)3C6H4CH2CH2)Si(CH3)O][HSiCH3O]p25Si(CH3)2H、
H(CH3)2SiO[(Si(OCH3)3CH2CH2CH2)Si(CH3)O][HSiCH3O]p26Si(CH3)2H、
H(CH3)2SiO[(Si(OCH3)3CH2CH2CH2CH2)Si(CH3)O][HSiCH3O]p27Si(CH3)2H、
H(CH3)2SiO[(Si(OCH3)3CH2CH2CH2CH2CH2CH2)Si(CH3)O][HSiCH3O]p28Si(CH3)2H、
H(CH3)2SiO[(Si(OCH3)3CH2CH2CH2CH2CH2CH2CH2CH2)Si(CH3)O][HSiCH3O]p29Si(CH3)2H、
H(CH3)2SiO[(Si(OCH3)3CH2CH2CH2CH2CH2CH2CH2CH2CH2CH2)Si(CH3)O][HSiCH3O]p30Si(CH3)2H、
H(CH3)2SiO[(Si(OCH3)3CH2CH2C6H4CH2CH2)Si(CH3)O][HSiCH3O]p31Si(CH3)2H、
H(CH3)2SiO[(Si(OCH3)3CH2C6H4CH2CH2CH2)Si(CH3)O][HSiCH3O]p32Si(CH3)2H、
H(CH3)2SiO[(Si(OCH3)3CH2C6H4CH2CH2)Si(CH3)O][HSiCH3O]p33Si(CH3)2H、
H(CH3)2SiO[(Si(OCH3)3C6H4CH2CH2)Si(CH3)O][HSiCH3O]p34Si(CH3)2H、
H(CH3)2SiO[(Si(OCH3)3CH2CH2C6H4CH2CH2)Si(CH3)O][HSiCH3O]p35Si(CH3)2H、
H(CH3)2SiO[(CH3O)Si(CH3)CH2CH2CH2CH2CH2CH2Si(CH3)2OSiC6H5O]p36[HSi(CH3)2OSiC6H5O]q4Si(CH3)2H、
H(CH3)2SiO[Si(OCH3)2CH2CH2CH2CH2CH2CH2Si(CH3)2OSiC6H5O]p37[HSi(CH3)2OSiC6H5O]q5Si(CH3)2H、
C2H5O(CH3)2SiO[SiH(CH3)O]p38[SiCH3(C6H5)O]q6Si(CH3)2H、
Si(OC2H5)3CH2CH2CH2CH2CH2CH2(CH3)2SiO[SiH(CH3)O]p39[SiCH3(C6H5)O]q7Si(CH3)2H、
C2H5OSi(CH3)2CH2CH2CH2CH2CH2CH2(CH3)2SiO[SiH(CH3)O]p40[SiCH3(C6H5)O]q8Si(CH3)2H、
H(CH3)2SiO(C2H5O)Si(CH3)O[SiH(CH3)O]p41[SiCH3(C6H5)O]q9Si(CH3)2H、
H(CH3)2SiO[Si(OC2H5)3CH2CH2CH2Si(CH3)]O[SiH(CH3)O]p42[SiCH3(C6H5)O]q10Si(CH3)2H
が挙げられる。これらの基中、p1〜p42及びq1〜q10は1〜100までの数である。一つの分子に、ヒドロシリル基を、1〜99個有していることが好ましい。
またビニルシリル含有シリル基で基質である熱電変換素子(Sub.)に形成されるシリルエーテル結合は、下記化学式[2]
Sub.−O−SiR21 ・・・[2]
で表わされる。ビニルシリル含有シリル基−SiR21は、R21が-Si-R3基(R3はビニル含有基)を有し、又は該基の主鎖の途中に-Si(R4)-基(R4はビニル含有基)を有しているというものである。
−SiR21は、より具体的には、
-(C2H5O)2SiCH2-CH=CH2
-(C2H5O)2SiCH2CH2-CH=CH2
-(C2H5O)2SiCH2CH2CH2CH2-CH=CH2
-(C2H5O)2SiCH2CH2CH2CH2CH2CH2-CH=CH2
-C2H5OSi(CH=CH2)OSi(OC2H5)-CH=CH2
-(CH3O)2SiCH2CH2C6H4-CH=CH2
-(CH3O)Si(CH=CH2)O[SiOCH3(CH=CH2)O]r1Si(OCH3)2-CH=CH2
-(C2H5O)Si(CH=CH2)O[SiOC2H5(CH=CH2)O]r2Si(OC2H5)2-CH=CH2
-(C2H5O)2SiCH2CH2CH2Si(CH3)2OSi(CH3)2CH2CH2[Si(CH3)2O]r3-CH=CH2
-(CH3O)2SiCH2CH2CH2Si(CH3)2OSi(CH3)2CH2CH2[Si(CH3)2O]r4-CH=CH2
-(CH3)2SiCH2CH2CH2Si(CH3)2OSi(CH3)2CH2CH2[Si(CH3)2O]r5-CH=CH2
-(C2H5O)CH3SiCH2CH2CH2Si(CH3)2OSi(CH3)2CH2CH2[Si(CH3)2O]r6-CH=CH2
-(-O)SiCH2CH2CH2Si(CH3)2OSi(CH3)2CH2CH2[Si(CH3)2O]r7-CH=CH2
-(C2H5O)2SiCH2CH2CH2Si(CH3)2OSi(CH3)2CH2CH2(Si(CH3)3O)Si(CH3)O[SiCH3(-)O]s1Si(CH3)3
-(C2H5O)2SiCH2CH2CH2Si(CH3)2OSi(CH3)2CH2CH2(Si(CH3)3O)Si(CH3)O[SiCH3(-)O]s2[Si(CH3)2O]r8Si(CH3)3
-C2H5OSi(CH=CH2)O[SiCH3(-)O]s3Si(OC2H5)2CH=CH2
-C2H5OSi(CH=CH2)O[SiCH3(-)O]s4Si(CH=CH2)OC2H5-CH=CH2
-(-O)Si(CH=CH2)O[SiCH3(-)O]s5Si(OC2H5)2CH=CH2
-(-O)Si(CH=CH2)O[SiCH3(-)O]s6Si(CH=CH2)(O-)-CH=CH2
-(-O)Si(CH=CH2)O[SiCH3(-)(O-)]s7Si(CH=CH2)(O-)-CH=CH2
-Si(CH=CH2)O[Si(-)OC2H5]s8[Si(O-)CH=CH2]2
-Si(CH=CH2)O[Si(O-)]r9[Si(-)OC2H5]s9[Si(OC2H5)2CH=CH2]2
-Si(CH=CH2)O[Si(-)(O-)]s10[Si(O-)CH=CH2]2
が挙げられる。これらの基中、r1〜r9及びs1〜s10は、1〜30の数である。一つの基に、ビニル基(CH=CH2基)を、1〜30個有していることが好ましい。
ビニルシリル含有シリル基を形成する機能性アルコキシシリル化合物の例として、
(C2H5O)3SiCH2CH=CH2
(CH3O)3SiCH2CH2CH=CH2
(C2H5O)3SiCH2CH2CH=CH2
(CH3O)3SiCH2CH2CH2CH2CH=CH2
(C2H5O)3SiCH2CH2CH2CH2CH=CH2
(C2H5O)3SiCH2CH2CH2CH2CH2CH2CH=CH2
(CH3O)3SiCH2(CH2)7CH=CH2
(C2H5O)2Si(CH=CH2)OSi(OC2H5)CH=CH2
(CH3O)3SiCH2CH2C6H4CH=CH2
(CH3O)2Si(CH=CH2)O[SiOCH3(CH=CH2)O]t1Si(OCH3)2CH=CH2
(C2H5O)2Si(CH=CH2)O[SiOC2H5(CH=CH2)O]t2Si(OC2H5)3
(C2H5O)3SiCH2CH2CH2Si(CH3)2OSi(CH3)2CH2CH2[Si(CH3)2O]t3CH=CH2
(CH3O)3SiCH2CH2CH2Si(CH3)2OSi(CH3)2CH2CH2[Si(CH3)2O]t4CH=CH2
CH3O(CH3)2SiCH2CH2CH2Si(CH3)2OSi(CH3)2CH2CH2[Si(CH3)2O]t5CH=CH2
(C2H5O)2CH3SiCH2CH2CH2Si(CH3)2OSi(CH3)2CH2CH2[Si(CH3)2O]t6CH=CH、
(C2H5O)3SiCH2CH2CH2Si(CH3)2OSi(CH3)2CH2CH2[Si(CH3)2O]t7CH=CH、
(C2H5O)3SiCH2CH2CH2Si(CH3)2OSi(CH3)2CH2CH2(Si(CH3)3O)Si(CH3)O[SiCH3(-)O]u1Si(CH3)3CH=CH2
(C2H5O)3SiCH2CH2CH2Si(CH3)2OSi(CH3)2CH2CH2(Si(CH3)3O)Si(CH3)O[SiCH3(-)O]u2[Si(CH3)2O]t8Si(CH3)3CH=CH2
(C2H5O)2Si(CH=CH2)O[SiCH3(OC2H5)O]u3Si(OC2H5)2CH=CH2
(C2H5O)2Si(CH=CH2)O[Si(OC2H5)2O]u4Si(OC2H5)2CH=CH2
(C2H5O)2Si(CH=CH2)O[Si(OC2H5)2O]u5Si(OC2H5)2CH=CH2
が挙げられる。これらの基中、t1〜t8及びu1〜u5は1〜30までの数である。一つの分子に、ビニル基を、1〜30個有していることが好ましい。
また、アルコキシシリル末端含有シリル基で基質である熱電変換素子(Sub.)に形成されるシリルエーテル結合は、下記化学式[3]
Sub.−O−SiR22 ・・・[3]
で表わされる。アルコキシシリル末端含有シリル基−SiR22は、R22が-Si(OR5)2R6基(R5及びR6は炭素数1〜4のアルキル基)、又は-Si(OR7)3基(R7は炭素数1〜4のアルキル基)を有しているものである。−SiR22は、より具体的には、
-(C2H5O)2SiCH2CH2Si(OC2H5)3
-(C2H5O)CH3SiCH2CH2Si(OC2H5)3
-(C2H5O)2SiCH=CHSi(OC2H5)3、
-(CH3O)2SiCH2CH2Si(OCH3)3、
-(CH3O)2SiCH2CH2C6H4CH2CH2Si(OCH3)3
-(CH3O)2Si[CH2CH2]3Si(OCH3)3
-(CH3O)2Si[CH2CH2]4Si(OCH3)3、
-(CH3O)CH3SiCH2CH2Si(OCH3)2CH3
-(C2H5O)CH3SiOSi(OC2H5)2CH3
-(C2H5O)Si(OC2H5)2
が挙げられる。
アルコキシシリル末端含有シリル基を形成する機能性アルコキシシリル化合物の例として、
(C2H5O)3SiCH2CH2Si(OC2H5)3
(C2H5O)2CH3SiCH2CH2Si(OC2H5)3
(C2H5O)3SiCH=CHSi(OC2H5)3
(CH3O)3SiCH2CH2Si(OCH3)3(CH3O)3SiCH2CH2C6H4CH2CH2Si(OCH3)3
(CH3O)3Si[CH2CH2]3Si(OCH3)3
(CH3O)2Si[CH2CH2]4Si(OCH3)3
(C2H5O)2Si(OC2H5)2
(CH3O)2CH3SiCH2CH2Si(OCH3)2CH3
(C2H5O)2CH3SiOSi(OC2H5)2CH3
(CH3O)3SiO[Si(OCH3)2O]v1Si(OCH3)3
(C2H5O)3SiO[Si(OC2H5)2O]v2Si(OC2H5)3
(C3H7O)3SiO[Si(OC3H7)2O]v3Si(OC3H7)3
が挙げられる。これらの基中、v1〜v3は0〜30までの数である。
また、加水分解性基含有シリル基で基質である熱電変換素子(Sub.)に形成されるシリルエーテル結合は、下記化学式[4]
Sub.−O−Si(R8)a(R9)3-a ・・・[4]
(R8は、水素原子;ハロゲン原子;炭素数1〜12のアルキル基、アルケニル基、アルキルオキシ基、フッ素置換アルキル基;アラルキル基;アリール基であり、R9は、炭素数1〜12のアシルオキシ基、アルケニルオキシ基、アルカンイミノオキシ基、アルキルオキシ基、アルキルアミノ基、ジアルキルアミノ基;含窒素複素環基、及びアリールアミノ基であり、aは0〜3の数)で表わされる。より具体的には、加水分解性基含有シリル基−Si(R8)a(R9)3-a中、R8は、H-、F-、CH3-、C2H5-、CH2=CH-、n-C3H7-、i-C3H7-、CH2=CHCH2-、C4H9-、C6H13-、C8H17-、C6H5-、CH3C6H4-、C6H5CH2-、CF3CF2CH2CH2-、CF3CF2CF2CH2CH2-、CF3CF2CF2CF2CF2CF2CF2CH2CH2-、CH3O-、C2H5O-が挙げられ、R9は、CH3COO-、CH2=C(CH3)O-、C2H5(CH3)C=NO-、CH3O-、(CH3)2N-、(C2H5)2N-、(i-C3H7)2N-、O(CH2CH2)2N-、(CH3)3CNH-、C6H10NH-、C6H5NH-が挙げられる。
加水分解性基含有シリル基を形成する機能性アルコキシシリル化合物の例として、
CH3Si(OCOCH3)3、(CH3)2Si(OCOCH3)2、n-C3H7Si(OCOCH3)3、CH2=CHCH2Si(OCOCH3)3、C6H5Si(OCOCH3)3、CF3CF2CH2CH2Si(OCOCH3)3、CH2=CHCH2Si(OCOCH3)3、CH3OSi(OCOCH3)3、C2H5OSi(OCOCH3)3、CH3Si(OCOC3H7)3、CH3Si[OC(CH3)=CH2]3、(CH3)2Si[OC(CH3)=CH2]3、n-C3H7Si[OC(CH3)=CH2]3、CH2=CHCH2Si[OC(CH3)=CH2]3、C6H5Si[OC(CH3)=CH2]3、CF3CF2CH2CH2Si[OC(CH3)=CH2]3、CH2=CHCH2Si[OC(CH3)=CH2]3、CH3OSi[OC(CH3)=CH2]3、C2H5OSi[OC(CH3)=CH2]3、CH3Si[ON=C(CH3)C2H5]3、(CH32Si[ON=C(CH3)C2H5]2、n-C3H7Si[ON=C(CH3)C2H5]3、CH2=CHCH2Si[ON=C(CH3)C2H5]3、C6H5Si[ON=C(CH3)C2H5]3、CF3CF2CH2CH2Si[ON=C(CH3)C2H5]3、CH2=CHCH2Si[ON=C(CH3)C2H5]3、CH3OSi[ON=C(CH3)C2H5]3、C2H5OSi[ON=C(CH3)C2H5]]3、CH3Si[ON=C(CH3)C2H5]3、CH3Si[N(CH3)]3、(CH3)2Si[N(CH3)]2、n-C3H7Si[N(CH3)]3、CH2=CHCH2Si[N(CH3)]3、C6H5Si[N(CH3)]3、CF3CF2CH2CH2Si[N(CH3)]3、CH2=CHCH2Si[N(CH3)]3、CH3OSi[N(CH3)]3、C2H5OSi[N(CH3)]3、CH3Si[N(CH3)]3などの昜加水分解性オルガノシランが挙げられる。
これらの機能性アルコキシシリル化合物は、水、メタノール、エタノール、イソプロパノール、エチレングリコールなどのアルコール類;アセトン、メチルエチルケトンなどのケトン類;酢酸エチルなどのエステル類;塩化メチレンなどのハロゲン化物、ブタン、ヘキサンなどのオレフィン類;テトラヒドロフラン、ブチルエーテルなどのエーテル類、ベンゼン、トルエンなどの芳香族類;ジメチルホルムアミド、メチルピロリドンなどのアミド類;及びこれらの混合溶媒などに溶解して使用される。
機能性アルコキシシリル化合物の添加量は、概ね上記の溶剤100gに対して、0.001〜5gの範囲が適当である。0.001g以下では、熱電変換素子とシリコーン部材との接着効果が十分ではなく、5g以上では条件を制御しても多層薄膜が生成し熱電変換素子とシリコーン部材とが直接に化学結合できなくなってしまうので好ましくない。
熱電変換素子のn型やp型の熱電半導体エレメントの下端やそこに接続された電極と、シリコーン部材とを化学結合させた例を示したが、n型やp型の熱電半導体エレメントや電極を包み込むように充填したシリコーン部材は、熱を伝え難い中空フィラー等が入ったシリコーン部材とし、その部材と化学結合させてもよい。
n型及びp型の熱電半導体エレメントと電極とからなる熱電変換素子にコロナ放電を施して水酸基を導入する例を示したが、大気圧プラズマ処理又は紫外線照射を施してもよい。
コロナ放電は、「コロナ処理」、日本接着学会誌、Vol.36,No.3,126(2000)に記載の方法に準じて、大気圧プラズマ処理は、「プラズマ処理」、日本接着学会誌、Vol.41,No.1,4(2005)に準じて、紫外線照射は、紫外線に暴露させて、夫々処理するというものである。これらの処理によって、L.J.Gerenser:J.Adhesion Sci.Technol.7,1019(1997)に記載のように、熱電変換素子の表面に、水酸基が生成したり、出現したりする。
それらの最適処理条件は、熱電変換素子の材質の種類や履歴によって異なるが、その表面に55kJ/m以上の表面張力が得られるまで処理し続けることが重要である。これにより、十分な接着強度が得られる。
具体的には、熱電変換素子表面のコロナ放電処理は、コロナ表面改質装置(例えば、信光電気計測(株)製コロナマスター)を用いて、電源:AC100V、出力電圧:0〜20kV,発振周波数:0〜40kHzで0.1秒〜60秒、温度0〜60℃の条件で行われる。
また、熱電変換素子表面の大気圧プラズマ処理は、大気圧プラズマ発生装置(例えば、松下電工(株)製:商品名Aiplasuma)を用いて、プラズマ処理速度10〜100mm/s,電源:200 or 220V AC(30A)、圧縮エア:0.5MPa(1NL/min),10kHz/300W〜5GHz、電力:100W〜400W,照射時間:0.1秒〜60秒の条件で行われる。
また、熱電変換素子表面の紫外線照射は、紫外線−発光ダイオード(UV-LED)照射装置(例えば、(株)オムロン製のUV-LED照射装置:商品名ZUV-C30H)を用いて、波長:200〜400nm、電源:100V AC,光源ピーク照度:400〜3000mW/cm2, 照射時間:1〜60秒の条件で行われる。
コロナ放電などの前処理により表面に水酸基を生成している熱電変換素子表面を、分子接着剤である機能性アルコキシシリル化合物の溶液に浸漬又は噴霧によって接触させてもよい。浸漬及び噴霧の時間に制限はなく、熱電変換素子表面が一様に湿潤していることが重要である。
機能性アルコキシシリル化合物が付されている熱電変換素子を、オーブンに入れたり、ドライヤーで温風を送風したり、高周波を照射したりすることにより、加熱しながら乾燥する。加熱・乾燥は、50℃〜250℃の温度範囲で、1〜60分間行われる。50℃以下では、熱電変換素子表面に生成した水酸基と機能性アルコキシシリル化合物との反応時間が長くかかりすぎて、生産性が低下し、コストの高騰を招く。また、250℃以上では、加熱乾燥時間が短くても熱電変換素子表面で、機能性アルコキシシリル化合物が分解したりしてしまう。1分間以下の加熱乾燥では熱の伝達が不十分であるため、熱電変換素子表面の水酸基と機能性アルコキシシリル化合物との結合が不十分となる。また、60分以上では生産性が低下する。
熱電変換素子表面の水酸基と機能性アルコキシシリル化合物との反応が不十分な場合には、上記の浸漬と乾燥とを1〜5回程度繰り返してもよい。それにより1回当たりの浸漬及び乾燥時間を短縮し、反応回数を増やす方が反応を十分に進行させることができる。
さらに、前記の機能性アルコキシシリル化合物とシラン化合物とを組み合わせて用いることにより、シリコーンゴム架橋反応性を有するシリルエーテルを、熱電変換素子表面に形成させることができる。
たとえば、上記の機能性アルコキシシリル化合物で熱電変換素子表面の水酸基とを反応させた後、例えば
HSi(CH3)2C6H4Si(CH3)2H、
HSi(CH3)2C6H4OC6H4Si(CH3)2H、
CH3Si(H)2C2H4Si(H)2CH3
HSi(CH3)2C2H4Si(CH3)2H、
HSi(CH3)2OSi(CH3)2H、
HSi(CH3)2O[Si(CH3)2O]x1Si(CH3)2H(但しx1=1〜840)、
(CH3)3SiO[SiH(R17)O]x2[Si(CH3)2O]y1Si(CH3)3(但しR17=CH3-、C2H5-、C6H5-;y1=1〜50;x2=0〜50)、
HSi(CH3)2O[SiC6H5(OSi(CH3)2H)]x3Si(CH3)2H(x3=1〜5)、
HSi(CH3)2O[SiCH3(H)O]x4[SiCH3(C6H5)O]y2Si(CH3)2H(x4=1〜10、y2=1〜10)
が挙げられるシラン化合物の0.01〜5%アルコール溶液に浸漬して、0〜200℃に1〜60分間加熱することによって、熱電変換装置が得られる。0.01%以下では反応時間がかかりすぎ、5%以上では洗浄・回収のコストがかかってしまう。0℃以下では反応性が低く、200℃以上では生産性が劣る。1分間以下では反応が完結せず、60分間以上では生産性が劣る。
同様に、例えば
CH2=CHCH2Si(OC2H5)3
CH2=CHCH2CH2Si(OC2H5)3
CH2=CHCH2CH2CH2CH2Si(OC2H5)3
CH2=CHCH2CH2CH2CH2CH2CH2Si(OCH3)3
CH2=CHSi(OC2H5)2OSi(OC2H5)2CH=CH2
CH2=CHC6H4CH2CH2Si(OCH3)3
CH2=CHSi(OCH3)2O[SiOCH3(CH=CH2)O]x5Si(OCH3)2CH=CH2 (但し、x5=1〜30)、
CH2=CHSi(CH3)2O[Si(CH3)2O]y3[Si(R18)2O]x6Si(CH3)2CH=CH2(但し、R18=CH3−,C2H5−,C6H5−,又はCF3CH2CH3−、x6=0〜2100、y3=0〜2100)、
(CH3)3SiO[Si(CH3)2O]y4[SiCH3(CH=CH2)O]x7Si(CH3)3(但し、x7=0〜2100、y4=0〜2100)、
(CH3)3SiO[Si(CH3)2O]y5[SiCH3(CH=CH2)O]x8[SiCH3(R19)O]z1Si(CH3)3(R19=CH3−,C2H5−,C6H5−,又はCF3CH2CH3−、x8=0〜2100、y5=0〜2100、z1=0〜2100)
のような不飽和アルコキシシラン化合物で熱電変換素子表面の水酸基と反応させた後、前記のシラン化合物の0.01〜5%と、白金触媒の10〜1000ppmとの混合物の懸濁液に、0〜200℃、1〜60分間浸漬しても熱電変換装置が得られる。
このときシラン化合物濃度が0.01%以下では反応時間がかかりすぎ、5%以上では洗浄・回収のコストがかかってしまう。白金触媒濃度が10ppmでは反応速度が遅すぎ、1000ppm以上ではコストが問題となってしまう。0℃以下では反応性が低いので生産性が低く、また200℃以上ではSiH基が酸化されて性能が低下する。1分間以下では反応が完結しない場合もあり、60分間以上では生産性が劣る。
また、機能性ポリアルコキシシランで熱電変換素子の水酸基と反応させた後、HOSi(CH3)2O[Si(CH3)2O]2Si(CH3)2OHのようなシラノール末端シロキサンの0.01〜5%のメタノール溶液に0〜200℃、1〜60分間浸漬すると、シラノール基を表面に含有した熱電変換素子が得られる。
このシラノール末端シロキサン濃度が0.01%以下では反応時間がかかりすぎ、5%以上では洗浄・回収のコストがかかってしまう。0℃以下では反応性が低いので生産性が劣り、また200℃以上では多分子膜になる場合もあるので好ましくない。1分間以下では反応が完結しない場合もあり、60分間以上では生産性が劣る。
前記のようにして得られたヒドロシリル(SiH)基、不飽和基、及びシラノール(SiOH)基などの架橋性活性基が導入された熱電変換素子は、以下に説明するようなシリコーンゴム成分組成物と接触させて、放置又は加熱することにより架橋接着を起こす。
得られた熱電変換素子の活性基を、シリコーンゴム又はレジン成分の組成物と接触させて、0〜200℃で1〜240分間、大気圧から100kg/cm2の圧力下で処理するとシリコーン部材が熱電変換素子に化学結合を介して付された熱電変換装置が得られる。
このとき0℃以下では架橋速度が遅くて生産性に劣るが、200℃以上では使用する高分子樹脂に熱安定性の限界があり好ましくない。1分以下では架橋反応が十分でなく接着しない場合が多く、240分以上では生産性が劣り好ましくない。通常発泡体を製造する以外は大気圧以下ではシリコーン部材と熱電変換素子との接合強度が低くなり、100kg/cm2以上にしても特段益がないので好ましくない。
シリコーンゴム又はレジン成分は、下記化学式[5]
H(CH3)2SiO[SiH(CH3)O]c[Si(R11)R12O]dSi(CH3)2H ・・・[5]
(式中、R11及びR12は、より具体的にはCH3−,C2H5−,CH2CH=CH2−,n-C3H7−,i-C3H7−,n-C6H13−,n-C8H17−,C6H5−,C6H5CH2−,C6H5CH2CH2−,C10H7−,CF3CH2CH2−,CF3CF2CH2CH2−,CF3CF2CF2CH2CH2−,CF3CF2CF2CF2CF2CH2CH2−,CF3CF2CF2CF2CF2CF2CH2CH2−,CF3CF2CF2CF2CF2CF2CF2CF2CH2CH2−,CF3CF2CF2CF2CF2CF2CF2CF2CF2CF2CH2CH2−,HSi(CH3)2O−で例示される基、cは1〜80の数、またdは0〜80の数)から選ばれたポリHシロキサン、
下記化学式[6]
CH2=CH(CH3)2SiO[SiCH=CH2(CH3)O]e[Si(R13)R14O]fSi(CH3)2CH=CH2 ・・・[6]
(式中、R13及びR14は、より具体的には、CH3−,C2H5−,CH2=CH−,CH2=CHCH2−,n-C3H7−,i-C3H7−,n-C6H13−,n-C8H17−,C6H5−,CH2=CHC6H4−,CH2=CHC6H4CH2−,C6H5CH2CH2−,C10H7−,CF3CH2CH2−,CF3CF2CH2CH2−,CF3CF2CF2CH2CH2−,CF3CF2CF2CF2CF2CH2CH2−,CF3CF2CF2CF2CF2CF2CH2CH2−,CF3CF2CF2CF2CF2CF2CF2CF2CH2CH2−,CF3CF2CF2CF2CF2CF2CF2CF2CF2CF2CH2CH2−,HSi(CH3)2O−で例示される基、eは1〜80の数、fは0〜80の数)
から選ばれたビニルシリコーン類、
又は下記化学式[7]
A-(CH3)2SiO[Si(CH3)2O]g[Si(R15)R16O]hSi(CH3)2-A ・・・[7]
(式中、R15及びR16はCH3−,C2H5−,CH2=CH−,CH2=CHCH2−,n-C3H7−,i-C3H7−,n-C6H13−,n-C8H17−,C6H5−,CH2=CHC6H4−,CH2=CHC6H4CH2−,C6H5CH2CH2−,C10H7−,CF3CH2CH2−,CF3CF2CH2CH2−,CF3CF2CF2CH2CH2−,CF3CF2CF2CF2CF2CH2CH2−,CF3CF2CF2CF2CF2CF2CH2CH2−,CF3CF2CF2CF2CF2CF2CF2CF2CH2CH2−,CF3CF2CF2CF2CF2CF2CF2CF2CF2CF2CH2CH2−で例示される基、AはHO−、CH3O−,C2H5O−,n-C3H7O−,i-C3H7O−,C6H5O−,CH3COO−、CH2=C(CH3)O−、C2H5(CH3)C=NO−、(CH3)2N−,(C2H5)2N−で例示される基、gは1〜80の数、hは0〜80の数)から選ばれたシラノールシリコーン類誘導体が挙げられる。
シリコーンゴム又はレジン成分の組成物は、これらのシリコーンゴム又はレジン成分の少なくとも一種類を含んでいる。化学式[5]と化学式[6]の混合物からなる付加型シリコーンゴム又はレジン組成、化学式[6]のみからなるパーオキサイド型シリコーンゴム又はレジン組成、及び化学式[7]又は化学式[5]と化学式[7]の混合物からなる縮合型シリコーンゴム又はレジン組成であってもよい。
シリコーンゴム又はレジン成分の組成物は、さらに、充填剤、架橋剤、触媒が加えられていてもよい。
充填剤は、湿式シリカ、乾式シリカ、タルク、ニプシル、カーボンブラック、金属酸化物が挙げられ、10〜100部の範囲内で添加される。10部以下では補強効果が十分でなく、また100以上では充填が困難になってしまう。
シリコーンゴム又はレジンは、パーオキサイド架橋系、付加型架橋系及び縮合型架橋系などの架橋系で形成される。これにより、熱電変換素子とシリコーン部材とが架橋して接着した熱電変換装置が得られる。
パーオキサイド型シリコーンゴム組成には、ベンゾイルぺルオキシド、t-ブチルパーベンゾエイト、ジクミルペルオキシド、ジt-ブチルペルオキシド、2,5-ジメチル-2,5-ジ(t-ブチルペルオキシ)ヘキサン、2,5-ジメチル-2,5-ジ(t-ブチルペルオキシ)ヘキシン-3、ジ(t-ブチルペルオキシイソプロピル)ベンゼンなどパーオキサイドが0.5〜5部添加される。0.5部以下では架橋が不十分であり、また5部以上では成型加工中に架橋が起こる恐れがある。
熱電変換素子表面とパーオキサイド型シリコーンゴム組成物とを、80〜200℃の温度範囲で1〜60分間加熱するとそれらが架橋した熱電変換装置が得られる。80℃以下では架橋し難く、また200℃以上ではシリコーンゴム又はレジンが黄変する場合がある。1分以下では架橋が不十分であり、また60分以上では生産性が低くコスト高となる。
付加型シリコーンゴム又はレジン組成には、付加型架橋に使用される触媒として、塩化白金酸、白金カルボニルシクロビニルメチルシロキサン錯体、白金ジビニルテトラメチルジシロキサン錯体、白金シクロビニルメチルシロキサン錯体、白金オクタナル/オクタノール錯体、トリス(ジブチルスルフィド)ロジュウムトリクロリドなどを1〜100ppmの範囲内で添加して使用される。これが1ppm以下では架橋が不十分であり、また100ppm以上ではコスト高となるので好ましくない。
上記の触媒は、付加型シリコーンゴム組成の化学式[5]のシリコーンゴム又はレジン、化学式[6]のシリコーンゴム又はレジン、及びこれら混合物のいずれかのシリコーンゴム又はレジンの成分の組成物に添加して使用される。
シリコーンゴム又はレジン成分の組成物を0〜150℃の温度範囲で、1〜240分の架橋時間で架橋できる。0℃以下では接着物が得られがたく、また150℃以上でも特段問題はない。1分以下では架橋が不十分であり、また240分以上では生産性が低くコスト高となる。シリコーンゴム又はレジン製のシリコーン部材の厚さが10mmを超えると、熱伝導率が悪くなり、内部の架橋が遅くなるために、金型温度を低温にして、長時間架橋することもある。その場合、段階的に架橋温度を変えることも可能である。比較的薄いシリコーン部材の場合、常温で例えば一昼夜かけて架橋させてもよい。その場合は、架橋温度での熱膨張と常温で使用した時の収縮が起こらず、非常に寸法精度の良い成型品が可能となる。
化学式[5]のシリコーンゴム又はレジン、化学式[6]のシリコーンゴム又はレジンの混合比は両者のSiH基/CH=CH2比が1を目途(化学量論)とするが、一般的には1.3/1〜4.5/1である。1.3/1以下では目的より硬度が低く、また4.5/1以上でも同様の結果となる場合が多い。最適なSiH基/CH=CH2比は充填剤などの添加剤の影響を受けるので、適宜選択する。
特に、熱電変換素子表面の架橋反応性基SiH基濃度が高い場合には、SiH基/CH=CH2比が高くても接着強度は高くなる。しかし、SiH基濃度が低い場合には、SiH基/CH=CH2比が高いと接着強度は低くなる。また、熱電変換素子表面の架橋反応性基CH=CH2基濃度が高い場合には、SiH基/CH=CH2比が高くしないと接着強度が高くならない。
縮合型シリコーンゴム又はレジンの組成物には、縮合型架橋剤として、CH3Si(OCOCH3)3、C2H5OSi(OCOCH3)3、CH3Si[OC(CH3)=CH2]3、CH3Si[ON=C(CH3)C2H5]]3、CH3OSi[ON=C(CH3)C2H5]]3、CH3Si[N(CH3)]3などが0.5〜10部、及び触媒としてビス(エチルヘキシル)スズ、ビス(ネオデカネート)スズ、ジブチルラアウリルスズなどの有機スズ化合物、オクチル酸亜鉛、オクチル酸鉄などの金属塩や、チタン酸エステル、チタンキレート化合物、アミン類などが0.5〜10部添加される。
縮合型シリコーンゴム又はレジンの組成物中、縮合型架橋剤は化学式[7]のシラノールシリコーン類ゴムに添加され、また触媒は化学式[5]のHシリコーンポリマー又は化学式[7]のシラノールシリコーン類ゴムのどちらか、又はこれらの混合物に添加して使用される。
熱電変換装置は、以下のような別な態様であってもよい。
熱電変換素子に、コロナ放電処理のような表面処理を施し、熱電変換素子上に水酸基を生成させ、(CH2=CH-)(CH3O-)2Si-O-[(CH2=CH-)(CH3O-)Si-O]b1-Si(-OCH3)2(-CH=CH2)のようなビニル含有シリル化合物の溶液に浸漬させて熱処理すると、熱電変換素子上の水酸基にビニル含有シリル化合物が反応する。それを、白金含有触媒、例えば白金−テトラメチルジビニルジシロキサン錯体のような白金錯体のヘキサン液に浸漬させ、乾燥させると、表面に白金含有触媒が付されている熱電変換素子が得られる。その化学的構造は必ずしも明らかではないが、熱電変換素子の表面で生成した複数のビニル含有シリル基に、白金錯体の白金原子が配位しているものと推察される。
この熱電変換素子の表面に、ヒドロシリル基含有ポリシロキサン、又はさらにビニル基含有ポリシロキサンや必要に応じて白金含有触媒を含む組成物を塗布し、硬化させる。すると、ヒドロシリル基含有ポリシロキサンのヒドロシリル基が、ビニル含有シリル基同士の架橋重合よりも優先的に、そのビニル含有シリル基の二重結合へヒドロシリル化反応して、高分子量化し、熱電変換素子の表面の上に、ポリシロキサン類で形成されるシリコーンゴム製のシリコーン部材が被覆されて接着された熱電変換装置が、得られる。
白金含有触媒として、例えば白金−テトラメチルジビニルジシロキサン錯体のヘキサン溶液、1.85〜2.1%の白金カルボニルシクロビニルメチルシロキサン錯体のビニルメチル環状シロキサン溶液であるSIP6829.2(Gelest社製の商品名)、3〜3.5%の白金−ジビニルテトラメチルジシロキサン錯体の両末端ビニルポリジメチルシロキサン溶液であるSIP6830.3(Gelest社製の商品名)、2.1〜2.4%の白金−ジビニルテトラメチルジシロキサン錯体のキシレン溶液であるSIP6831.2(Gelest社製の商品名)、2.1〜2.4%の白金−ジビニルテトラメチルジシロキサン錯体のキシレン溶液の低着色タイプであるSIP6831.2LC(Gelest社製の商品名)、2〜2.5%の白金−シクロビニルメチルシロキサン錯体の環状メチルビニルシロキサン溶液であるSIP6832.2(Gelest社製の商品名)、2〜2.5%の白金−オクタナル/オクタノール錯体のオクタノール溶液であるSIP6833.2(Gelest社製の商品名)のような白金錯体が挙げられる。白金含有触媒にかえて、ロジウム含有触媒、例えば、3〜3.5%のトリス(ジブチルスルフィド)ロジウムトリクロライドのトルエン溶液であるINRH078(Gelest社製の商品名)のようなロジウム錯体であってもよい。
単数の熱電変換素子にシリコーンゴム又はレジン製のシリコーン部材を接着させる例を示したが、複数の熱電変換装置を、接着させてもよい。
シリコーンゴム又はレジン製のシリコーン部材に代えて、シリコーンゲルを用いてもよい。
図2のように、熱電変換素子10のn型及びp型熱電半導体エレメント11・12の上側電極13と、下側電極14とを、夫々別々に、シリコーンゴム又はレジン製のシリコーン部材16a・16bで覆いつつ、化学的結合により、接着させていてもよい。
図3のように、さらに熱電変換素子10のn型及びp型熱電半導体エレメント11・12の間を、シリコーンゴム又はレジン製のシリコーン部材16a・16bとは別なゴム、例えば発泡18を有する発泡ゴム17で充填されていてもよい。
図3に、n型及びp型熱電変換半導体エレメント11・12間が、発泡ゴムで充満されている例を示したが、図3の発泡ゴム17に代えて、樹脂製若しくはガラス製中空球を有する断熱緩衝材であるシリコーンゴムやシリコーンレジンやその他のゴムで充填されていてもよい。中空球は、平均粒径40〜90μmで重量比5〜10phrのフェノール樹脂性中空球、平均粒径10〜70μmで重量比15〜30phrの真球ガラス微小中空球が挙げられる。
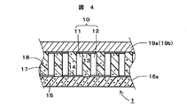
図4のように、熱電変換素子10のn型及びp型熱電半導体エレメント11・12の上側電極13が熱伝導率の良い素材、例えばアルミナ板やセラミック板のような高熱伝導性硬質板19aで半田付けされ、又は可撓性の高熱伝導性プラスチック板19bで接着され、一方、下側電極14が熱伝導率の良いシリコーンゴム又はレジン製のシリコーン部材16で覆われつつ、化学的結合により、接着されていてもよい。
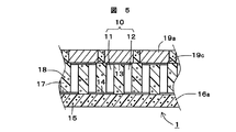
図5のように、熱電変換素子10のn型及びp型熱電半導体エレメント11・12の上側電極13が熱伝導率の良い素材、例えばアルミナ板やセラミック板のような高熱伝導性硬質板19aで一定のピッチをあけて半田付けされ、その硬質板19aの間を熱伝導率の良いシリコーンゴム製のシリコーン部材16と同種又は異種の高熱伝導性ゴムコンパウンド19cで埋められ、一方、下側電極14が熱伝導率の良いシリコーンゴム又はレジン製のシリコーン部材16で覆われつつ、化学的結合により、接着されていてもよい。ゴムはセラミックスよりも熱伝導性が劣るが、セラミックス板の間にゴムコンパウンドを挟みこむことによって、高熱伝導率と柔軟性との両立を図ることができる。
熱伝導性フィラーは、高熱伝導性を発現させる金属酸化物や金属窒化物が挙げられる。中でも、アルミナ、熱伝導率が100〜170W/mKで熱膨張係数が約4.4×10-6/Kの窒化アルミニウムであることが好ましい。熱伝導性フィラーは、高価な窒化アルミニウムよりも安価で、熱伝導率が高いアルミナであると一層好ましい。
シリコーン部材に熱伝導性フィラーを含有させるには、シリコーン組成物に熱伝導性フィラーを含有させてから、熱等によってシリコーンゴムやシリコーンレジンやシリコーンゲルを形成させることが、好ましい。シリコーン組成物の強度向上と、熱電変換素子の活性基への反応性とを、向上させるために、ハイドロゲンシリコーンオイル例えば、メチル ハイドロジェンポリシロキサンであるSH−1107(東レ・ダウコーニング株式会社製;商品名)が、シリコーン組成物中に、シリコーン重量に対する重量比で0.1〜5phr程度添加されていてもよい。
熱電変換素子10は、互いに電気的に接続されたn型熱電半導体エレメント11及びp型熱電半導体エレメント12の一対であってもよく、その対の複数が直列又は並列に接続されたものであってもよい。その対の形状は、特に限定されない。例えば、図1のように対の両エレメント11・12が電極13で繋がったπ型熱電変換素子10であってもよく、対の両エレメントが下端同士で繋がったU型熱電変換素子(不図示)であってもよい。
p型熱電半導体エレメントとn型熱電半導体エレメントとに使用される熱電変換材料としては、ペルチェ冷却素子やゼーベック発電素子の材料であれば特に限定されない。例えばp型熱電半導体のエレメントの材料としてSb2Te3-Bi2Te3合金、n型熱電半導体のエレメントの材料としてBi2Te3-Bi2Se3合金のようなペルチェ材料・ゼーベック材料が挙げられる。その他、Si-Ge合金、CoSb3系合金、FeSi2系合金、YbAl3系合金、NaCo2O4のような酸化物熱電変換材料、及びポリピロールのような導電性ポリマーからなる有機物熱電変換材料であってもよい。
p型熱電半導体エレメントとn型熱電半導体エレメントの材料は、Z=α2・σ/κ(αはゼーベック係数、σは熱電半導体エレメントの材料の電気伝導率、κは熱電半導体エレメントの材料の熱伝導率)で表される性能指数Zが、高いものが用いられる。例えばBi2Te3系の材料の性能指数Zは、3.0×10-3 K-1程度である。
発光器具は、熱電変換装置と発熱体である光源のLEDとが基板上に設けられ、光源を熱電変換素子の上下端の一方に接触させたものである。
熱電変換装置は、熱電変換素子がペルチェ冷却素子として作用するとき、以下のように動作する。発光ダイオード(LED)のような半導体発熱部品等の発熱体を、熱電変換素子の上部側電極に接触して固定させておく。熱電変換素子の両端の電極から各々延びたリード線に、直流電圧を印加する。するとペルチェ効果により、発熱体の熱を吸熱し、熱電変換素子の下部側電極近傍で発熱が起こる結果、熱交換されて、発熱体が冷却される。
熱電変換装置は、熱電変換素子がゼーベック発電素子として作用するとき、以下のように動作する。熱電変換素子の上部側電極を高温に曝し、一方、熱電変換素子の下部側電極を低温に曝す。すると、ゼーベック効果により、半導体の両端に電位差が生じる結果、発電される。
何れの動作の場合も、シリコーン部材が可撓性であり柔軟で弾性を有することと、そのシリコーン部材に熱電変換素子が化学的結合を介して強固に付されていることに、起因して、各要素の熱伝導率や熱膨張率の相違に影響されないから、熱電変換装置は、熱変化や振動や長期間の連続使用に対して、疲弊も破損も起こさず、信頼性が高いものとなっている。
シリコーン部材が、シリコーンゴムやシリコーンレジンである例を示したが、シリコーンゲルである場合には、粘着性によるファンデルワールス力のような相互作用に基づく弱い化学的結合でシリコーン部材と熱電変換素子とが着脱可能に付されているものであってもよい。
以下、本発明を適用する熱電変換装置及び発光器具を試作した実施例について、詳細に説明する。
(実施例1)
n型熱電半導体エレメントとp型熱電半導体エレメントとを下端で電極により接続している熱電変換素子を、ヘキサンで洗浄することにより脱脂した。その熱電変換素子の下端や電極に対して、コロナ放電機にてコロナ放電(出力電圧:15kV)を行った。コロナ放電処理を行った熱電変換素子の下端や電極を、ビニルメトキシシロキサンホモポリマーのエタノール溶液に浸漬させた後、熱電変換素子をオーブンにて150℃で30分間、熱処理を行った。付加型シリコーンゴムSE4410(東レ・ダウコーニング株式会社製;商品名)であって表面からヒドロシリル基が露出しているシリコーン部材に、前記処理した熱電変換素子をその下端や電極が下向きとなるようにして載せ、150℃で30分間加熱することにより反応させて加硫し、熱電変換装置を作製した。
(比較例1)
実施例1で用いたものと同種であって同様に脱脂した熱電変換素子を、実施例1と同種の付加型シリコーンゴムであるシリコーン部材に載せて、実施例1と同様に加硫し、熱電変換装置を作製した。
(剥離性試験)
実施例1と比較例1とで得られた熱電変換装置の夫々の熱電変換素子を、シリコーン部材から、引き剥がす方向へ、引張った。実施例1の熱電変換装置は、熱電変換素子を摘んで比較的弱く引張っても剥がすことができないものであった。さらに強く無理矢理、熱電変換素子を引張ると、熱電変換素子が剥がれず、シリコーン部材が破断する前に、摘む力がかかり過ぎて、熱電変換素子を破壊してしまった。一方、比較例1では、比較的弱く引張っただけで、シリコーンゴムから熱電変換素子が容易に破損することなく剥がれた。
(実施例2)
重量比でシリコーンゲルCY52−276A/B(東レ・ダウコーニング株式会社製;商品名)の100phrに対し、フェノール樹脂製中空バルーン(巴工業株式会社社製;商品名、平均粒径90μm)を、夫々5phr、10phr、15phr添加したシリコーン組成物を調製した。これらの組成物のうち、フェノール樹脂製中空バルーンを5又は10phr含有させたものは高い流動性を有しており、一方15phr含有されたものは流動性が低かった。それら組成物を、実施例1で用いたものと同種の熱電変換素子のn型及びp型熱電半導体エレメントの空隙に流し込んだところ、容易く確実に充填できた。それを120℃で40分間加熱することにより硬化させてシリコーン部材を形成させて、熱電変換装置を得た。そのシリコーン部材は、その空隙を隙間無く充填しており、優れた絶縁材及び断熱材となり得た。
(実施例3)
重量比でシリコーンゲルCY52−276A/B(東レ・ダウコーニング株式会社製;商品名)の100phrに対し、真球ガラス微小中空球であるグラスバブルス(住友スリーエム株式会社製;商品名、真密度0.125g/cm、かさ密度0.075g/cm)を、夫々5phr、10phr、15phr、20phr、25phr、30phr、35phr添加したシリコーン組成物を調製した。これらの組成物のうち、真球ガラス微小中空球を5〜30phr含有させたものは高い流動性を有しており、一方35phr含有されたものは流動性が低かった。それら組成物を、実施例1で用いたものと同種の熱電変換素子のn型及びp型熱電半導体エレメントの空隙に流し込んだところ、容易く確実に充填できた。それを150℃で30分間加熱することにより硬化させてシリコーン部材を形成させて、熱電変換装置を得た。そのシリコーン部材は、その空隙を隙間無く充填しており、優れた絶縁材及び断熱材となり得た。
(実施例4)
重量比でシリコーンゲルCY52−276A/B(東レ・ダウコーニング株式会社製;商品名)の100phrに対し、アルミナA−42−6(昭和電工株式会社製;商品名)の300phrを添加したシリコーン組成物を調製した。実施例2と同様に、加硫させたところ、熱電変換装置を得た。シリコーン部材の熱伝導率は、1.3W/m・Kであった。
(実施例5)
実施例1で得られた熱電変換装置と発熱体である光源のLEDとを基板上に設け、光源を熱電変換素子の上端の一方に接触させて、発光器具を作製した。LEDを発光させつつ、熱電変換素子のn型熱電半導体エレメントとp型熱電半導体エレメントとから夫々延びた導線に、直流電圧を印加すると、LEDからの熱が、吸熱された。
本発明の熱電変換装置は、曲面へ取り付けたり、自在に曲げたり捻ったりできるので、様々な形状の電化製品用のヒートポンプとして用いることができる。
この熱電変換装置は、熱電変換素子の片面側で発熱し、他方の片面側で吸熱するというペルチェ効果を利用して、半導体プロセス用恒温プレート、保温庫、中央演算装置(CPU)、クーラー、光源等の熱交換に用いることができる。
またこの熱電変換装置は、熱電変換素子の片面側と他方の片面側とで温度差を設けることにより電位差を生じるというゼーベック効果を利用して、腕時計等の少ない電力で駆動する機器の発電に用いることができる。
本発明を適用する熱電変換装置の一部を示す断面図である。 本発明を適用する別な態様の熱電変換装置の一部を示す断面図である。 本発明を適用する別な態様の熱電変換装置の一部を示す断面図である。 本発明を適用する別な態様の熱電変換装置の一部を示す断面図である。 本発明を適用する別な態様の熱電変換装置の一部を示す断面図である。 本発明を適用外の熱電変換装置の一部を示す断面図である。
符号の説明
1は熱電変換装置、10は熱電変換素子、11はn型熱電半導体エレメント、12はp型熱電半導体エレメント、13・14は電極、15は熱伝導性フィラー、16・16a・16bはシリコーン部材、17は発泡ゴム、18は泡、19aは高熱伝導性硬質板、19bは高熱伝導性プラスチック板、19cは高熱伝導性ゴムコンパウンド、20は熱電変換素子、21はn型熱電半導体エレメント、22はp型熱電半導体エレメント、23・24は電極、25は接着剤、26はセラミックス基板である。

Claims (12)

  1. ヒドロシリル基含有シリル基、ビニルシリル基含有シリル基、アルコキシシリル含有シリル基、及び加水分解性基含有シリル基から選ばれる少なくとも1種類の反応性シリル基からなる反応性基を有している、シリコーンゴム成分、シリコーンレジン成分、及び/又はシリコーンゲル成分を含有しているシリコーン組成物で、形成されていることによって、シリコーンゴム、シリコーンレジン、及び/又はシリコーンゲルとなっているシリコーン部材の表面から露出している前記反応性基と、
    熱電変換素子の表面部位にコロナ放電、大気圧プラズマ放電又は紫外線照射処理によって導入された水酸基の脱水素残基へ結合しているシラン化合物が有しているもので、前記熱電変換素子の表面部位から露出している、ヒドロシリル含有シリル基、ビニル含有シリル基、アルコキシシリル含有シリル基、及び加水分解性基含有シリル基から選ばれる少なくとも1種類の活性シリル基であって、前記反応性基に反応をする活性基とが、
    前記反応により、化学的に架橋して化学結合を形成していることによって、
    前記シリコーン部材に、前記熱電変換素子の少なくとも一部の表面部位が、前記化学結合を介して付されて支持されていることを特徴とする熱電変換装置。
  2. 前記シラン化合物が、前記脱水素残基へ、シリルエーテル結合していることを特徴とする請求項1に記載の熱電変換装置。
  3. 前記シラン化合物が、シロキサンホモポリマーであることを特徴とする請求項1〜2の何れかに記載の熱電変換装置。
  4. 前記活性基が、前記脱水素残基にシリルエーテル結合しつつ白金触媒又はロジウム触媒を保持している前記ビニルシリル基含有シリル基であることを特徴とする請求項に記載の熱電変換装置。
  5. 前記シリコーンゲルとなっている前記シリコーン部材、そのゲルによ粘着性を有することを特徴とする請求項1に記載の熱電変換装置。
  6. n型熱電半導体エレメントとp型熱電半導体エレメントとの対を有する前記熱電変換素子の複数が直列又は並列に接続されており、その対の両エレメント同士が下端で下部側電極により接続され、前記両エレメントと、夫々隣り合う別な対の各エレメントとが上端で上部側電極により接続されており、前記熱電変換素子の表面部位が、前記シリコーン部材へ当接されていることにより前記支持されていることを特徴とする請求項1に記載の熱電変換装置。
  7. 前記n型熱電半導体エレメントと前記p型熱電半導体エレメントとの間に、前記シリコーン部材と別なゴムが充填されていることを特徴とする請求項6に記載の熱電変換装置。
  8. 前記下部側電極及び/又は前記上部側電極で、前記シリコーン部材により前記支持されていることを特徴とする請求項に記載の熱電変換装置。
  9. 前記シリコーン部材が、熱伝導性フィラー、又は樹脂製若しくはガラス製中空球を含有していることを特徴とする請求項1に記載の熱電変換装置。
  10. 前記熱伝導性フィラーが、金属酸化物、及び/又は金属窒化物であることを特徴とする請求項9に記載の熱電変換装置。
  11. 前記金属酸化物がアルミナ、前記金属窒化物が窒化アルミニウムであることを特徴とする請求項10に記載の熱電変換装置。
  12. 発熱体に付されていることを特徴とする請求項1に記載の熱電変換装置。
JP2008152489A 2008-06-11 2008-06-11 熱電変換装置 Active JP5264307B2 (ja)

Priority Applications (1)

Application Number Priority Date Filing Date Title
JP2008152489A JP5264307B2 (ja) 2008-06-11 2008-06-11 熱電変換装置

Applications Claiming Priority (1)

Application Number Priority Date Filing Date Title
JP2008152489A JP5264307B2 (ja) 2008-06-11 2008-06-11 熱電変換装置

Publications (2)

Publication Number Publication Date
JP2009302168A JP2009302168A (ja) 2009-12-24
JP5264307B2 true JP5264307B2 (ja) 2013-08-14

Family

ID=41548790

Family Applications (1)

Application Number Title Priority Date Filing Date
JP2008152489A Active JP5264307B2 (ja) 2008-06-11 2008-06-11 熱電変換装置

Country Status (1)

Country Link
JP (1) JP5264307B2 (ja)

Families Citing this family (14)

* Cited by examiner, † Cited by third party
Publication number Priority date Publication date Assignee Title
US9944831B2 (en) 2013-09-25 2018-04-17 Lintec Corporation Heat-conductive adhesive sheet, manufacturing method for same, and electronic device using same
CN105531837B (zh) * 2013-09-25 2018-08-24 琳得科株式会社 导热性粘接片、其制造方法以及使用该导热性粘接片的电子器件
KR102501670B1 (ko) 2014-12-04 2023-02-17 브레이크스로우 테크놀로지스 엘엘씨 하이브리드 압력 및 열 교환기
JP6234617B2 (ja) * 2015-01-09 2017-11-22 株式会社朝日Fr研究所 可撓性ペルチェデバイス及び温度調整装置
JP6276726B2 (ja) * 2015-03-18 2018-02-07 富士フイルム株式会社 熱電変換素子
KR101989908B1 (ko) * 2015-10-27 2019-06-17 주식회사 테그웨이 유연 열전소자 및 이의 제조방법
WO2017074003A1 (ko) 2015-10-27 2017-05-04 한국과학기술원 유연 열전소자 및 이의 제조방법
WO2017168969A1 (ja) * 2016-03-31 2017-10-05 株式会社村田製作所 熱電変換モジュールおよび熱電変換モジュールの製造方法
JP6736154B2 (ja) * 2016-05-31 2020-08-05 株式会社朝日Fr研究所 熱電変換装置
US20190085144A1 (en) * 2016-12-28 2019-03-21 Tegway Co., Ltd. Foam composition, flexible thermoelectric device, flexible conductive laminate and production method thereof
DK3632533T3 (da) * 2017-05-26 2025-02-03 Asahi Rubber Inc Luftstrømsgenereringsindretning og fremgangsmåde til fremstilling deraf
EP3712971B1 (en) * 2017-11-13 2024-10-09 ASAHI FR R&D Co., Ltd. Thermoelectric conversion device
GB2585045A (en) * 2019-06-25 2020-12-30 Sumitomo Chemical Co Thermoelectric device
CN114981983A (zh) * 2020-01-14 2022-08-30 株式会社朝日橡胶 一种热电转换结构体

Family Cites Families (4)

* Cited by examiner, † Cited by third party
Publication number Priority date Publication date Assignee Title
JPH08186296A (ja) * 1994-12-28 1996-07-16 Matsushita Electric Ind Co Ltd ペルチェ素子
JPH08293627A (ja) * 1995-04-25 1996-11-05 Matsushita Electric Ind Co Ltd ペルチェ素子システム
JP3935530B2 (ja) * 1995-11-28 2007-06-27 東レ・ダウコーニング株式会社 プライマー組成物および接着方法
JP4112133B2 (ja) * 1999-11-05 2008-07-02 株式会社タイカ 熱電素子モジュール

Also Published As

Publication number Publication date
JP2009302168A (ja) 2009-12-24

Similar Documents

Publication Publication Date Title
JP5264307B2 (ja) 熱電変換装置
JP6234617B2 (ja) 可撓性ペルチェデバイス及び温度調整装置
CN111344874B (zh) 热电转换装置
JP3543663B2 (ja) 熱伝導性シリコーンゴム組成物及びその製造方法
JP5213351B2 (ja) 接着用基材及びそれを用いたシリコーンゴム接着体
JP4301468B2 (ja) 耐熱熱伝導性シリコーンゴム複合シート及びその製造方法
KR102641083B1 (ko) 절연 방열 시트
TWI867684B (zh) 具有熱傳導性黏著層的熱傳導性聚矽氧橡膠片及其製造方法
JP2938340B2 (ja) 熱伝導性複合シート
JP5481024B2 (ja) 積層基板
TW200415013A (en) Heat conductive silicone rubber composite sheet
JP6314915B2 (ja) 放熱パテシート
JP6791815B2 (ja) 熱伝導性シリコーン樹脂組成物
KR20200123085A (ko) 열전도성 습기 경화형 수지 조성물 및 그 경화물
JPH11199690A (ja) 低硬度熱伝導性シリコーンゴムシートの表面粘着性低減方法
JP3521781B2 (ja) 放熱部材
WO2019142688A1 (ja) 熱伝導性薄膜状硬化物及びその製造方法、ならびに熱伝導性部材
JP4395753B2 (ja) 熱伝導部材の製造方法及びこの使用方法並びに放熱構造体
EP3310142A1 (en) Device heat dissipation method
JPWO2016111358A1 (ja) 複合発熱材及びその製造方法
JP2000233907A (ja) 熱伝導性窒化ほう素微粉末、該微粉末を含有する熱伝導性シリコーン組成物、及び絶縁放熱シート
TW202340375A (zh) 熱傳導性聚矽氧組成物、熱傳導性聚矽氧片及其製造方法
TWI724156B (zh) 熱傳導性複合薄片
JP6113042B2 (ja) 熱伝導性ゴムシートの製造方法及び熱伝導性ゴムシート
JP2004176016A (ja) 熱伝導性シリコーン組成物及びその成形体

Legal Events

Date Code Title Description
A621 Written request for application examination

Free format text: JAPANESE INTERMEDIATE CODE: A621

Effective date: 20110609

A521 Request for written amendment filed

Free format text: JAPANESE INTERMEDIATE CODE: A523

Effective date: 20120327

A977 Report on retrieval

Free format text: JAPANESE INTERMEDIATE CODE: A971007

Effective date: 20121031

A131 Notification of reasons for refusal

Free format text: JAPANESE INTERMEDIATE CODE: A131

Effective date: 20121106

A521 Request for written amendment filed

Free format text: JAPANESE INTERMEDIATE CODE: A523

Effective date: 20121226

A131 Notification of reasons for refusal

Free format text: JAPANESE INTERMEDIATE CODE: A131

Effective date: 20130122

A521 Request for written amendment filed

Free format text: JAPANESE INTERMEDIATE CODE: A523

Effective date: 20130313

TRDD Decision of grant or rejection written
A01 Written decision to grant a patent or to grant a registration (utility model)

Free format text: JAPANESE INTERMEDIATE CODE: A01

Effective date: 20130409

A61 First payment of annual fees (during grant procedure)

Free format text: JAPANESE INTERMEDIATE CODE: A61

Effective date: 20130430

R150 Certificate of patent or registration of utility model

Ref document number: 5264307

Country of ref document: JP

Free format text: JAPANESE INTERMEDIATE CODE: R150

Free format text: JAPANESE INTERMEDIATE CODE: R150

R250 Receipt of annual fees

Free format text: JAPANESE INTERMEDIATE CODE: R250

R250 Receipt of annual fees

Free format text: JAPANESE INTERMEDIATE CODE: R250

R250 Receipt of annual fees

Free format text: JAPANESE INTERMEDIATE CODE: R250

S111 Request for change of ownership or part of ownership

Free format text: JAPANESE INTERMEDIATE CODE: R313113

R350 Written notification of registration of transfer

Free format text: JAPANESE INTERMEDIATE CODE: R350

R250 Receipt of annual fees

Free format text: JAPANESE INTERMEDIATE CODE: R250

R250 Receipt of annual fees

Free format text: JAPANESE INTERMEDIATE CODE: R250

R250 Receipt of annual fees

Free format text: JAPANESE INTERMEDIATE CODE: R250