JP5259583B2 - 層状の鼻デバイス - Google Patents

層状の鼻デバイス Download PDF

Info

Publication number
JP5259583B2
JP5259583B2 JP2009514398A JP2009514398A JP5259583B2 JP 5259583 B2 JP5259583 B2 JP 5259583B2 JP 2009514398 A JP2009514398 A JP 2009514398A JP 2009514398 A JP2009514398 A JP 2009514398A JP 5259583 B2 JP5259583 B2 JP 5259583B2
Authority
JP
Japan
Prior art keywords
adhesive
flap valve
nasal
layer
airflow resistor
Prior art date
Legal status (The legal status is an assumption and is not a legal conclusion. Google has not performed a legal analysis and makes no representation as to the accuracy of the status listed.)
Expired - Fee Related
Application number
JP2009514398A
Other languages
English (en)
Other versions
JP2009539479A (ja
Inventor
ドシ,ラジヴ
ルーマス,ブライアン
ピアス,ライアン・ケンダル
フェルディナンド,アーサー
サンドバール,アーサー・ジー
セルヴェイテス,ジェフリー・ダブリュー
デュラック,マシュー
ケネディ,ダニエル・フランシス
Original Assignee
ヴェンタス・メディカル・インコーポレーテッド
Priority date (The priority date is an assumption and is not a legal conclusion. Google has not performed a legal analysis and makes no representation as to the accuracy of the date listed.)
Filing date
Publication date
Application filed by ヴェンタス・メディカル・インコーポレーテッド filed Critical ヴェンタス・メディカル・インコーポレーテッド
Publication of JP2009539479A publication Critical patent/JP2009539479A/ja
Application granted granted Critical
Publication of JP5259583B2 publication Critical patent/JP5259583B2/ja
Expired - Fee Related legal-status Critical Current
Anticipated expiration legal-status Critical

Links

Images

Classifications

    • AHUMAN NECESSITIES
    • A62LIFE-SAVING; FIRE-FIGHTING
    • A62BDEVICES, APPARATUS OR METHODS FOR LIFE-SAVING
    • A62B23/00Filters for breathing-protection purposes
    • A62B23/02Filters for breathing-protection purposes for respirators
    • AHUMAN NECESSITIES
    • A62LIFE-SAVING; FIRE-FIGHTING
    • A62BDEVICES, APPARATUS OR METHODS FOR LIFE-SAVING
    • A62B23/00Filters for breathing-protection purposes
    • A62B23/06Nose filters
    • AHUMAN NECESSITIES
    • A61MEDICAL OR VETERINARY SCIENCE; HYGIENE
    • A61MDEVICES FOR INTRODUCING MEDIA INTO, OR ONTO, THE BODY; DEVICES FOR TRANSDUCING BODY MEDIA OR FOR TAKING MEDIA FROM THE BODY; DEVICES FOR PRODUCING OR ENDING SLEEP OR STUPOR
    • A61M15/00Inhalators
    • A61M15/08Inhaling devices inserted into the nose
    • A61M15/085Fixing means therefor
    • AHUMAN NECESSITIES
    • A61MEDICAL OR VETERINARY SCIENCE; HYGIENE
    • A61MDEVICES FOR INTRODUCING MEDIA INTO, OR ONTO, THE BODY; DEVICES FOR TRANSDUCING BODY MEDIA OR FOR TAKING MEDIA FROM THE BODY; DEVICES FOR PRODUCING OR ENDING SLEEP OR STUPOR
    • A61M16/00Devices for influencing the respiratory system of patients by gas treatment, e.g. ventilators; Tracheal tubes
    • A61M16/06Respiratory or anaesthetic masks
    • A61M16/0605Means for improving the adaptation of the mask to the patient
    • A61M16/0616Means for improving the adaptation of the mask to the patient with face sealing means comprising a flap or membrane projecting inwards, such that sealing increases with increasing inhalation gas pressure
    • AHUMAN NECESSITIES
    • A61MEDICAL OR VETERINARY SCIENCE; HYGIENE
    • A61MDEVICES FOR INTRODUCING MEDIA INTO, OR ONTO, THE BODY; DEVICES FOR TRANSDUCING BODY MEDIA OR FOR TAKING MEDIA FROM THE BODY; DEVICES FOR PRODUCING OR ENDING SLEEP OR STUPOR
    • A61M16/00Devices for influencing the respiratory system of patients by gas treatment, e.g. ventilators; Tracheal tubes
    • A61M16/06Respiratory or anaesthetic masks
    • A61M16/0683Holding devices therefor
    • A61M16/0688Holding devices therefor by means of an adhesive
    • AHUMAN NECESSITIES
    • A61MEDICAL OR VETERINARY SCIENCE; HYGIENE
    • A61MDEVICES FOR INTRODUCING MEDIA INTO, OR ONTO, THE BODY; DEVICES FOR TRANSDUCING BODY MEDIA OR FOR TAKING MEDIA FROM THE BODY; DEVICES FOR PRODUCING OR ENDING SLEEP OR STUPOR
    • A61M16/00Devices for influencing the respiratory system of patients by gas treatment, e.g. ventilators; Tracheal tubes
    • A61M16/08Bellows; Connecting tubes ; Water traps; Patient circuits
    • A61M16/0866Passive resistors therefor
    • AHUMAN NECESSITIES
    • A61MEDICAL OR VETERINARY SCIENCE; HYGIENE
    • A61MDEVICES FOR INTRODUCING MEDIA INTO, OR ONTO, THE BODY; DEVICES FOR TRANSDUCING BODY MEDIA OR FOR TAKING MEDIA FROM THE BODY; DEVICES FOR PRODUCING OR ENDING SLEEP OR STUPOR
    • A61M16/00Devices for influencing the respiratory system of patients by gas treatment, e.g. ventilators; Tracheal tubes
    • A61M16/10Preparation of respiratory gases or vapours
    • A61M16/105Filters
    • A61M16/106Filters in a path
    • AHUMAN NECESSITIES
    • A61MEDICAL OR VETERINARY SCIENCE; HYGIENE
    • A61MDEVICES FOR INTRODUCING MEDIA INTO, OR ONTO, THE BODY; DEVICES FOR TRANSDUCING BODY MEDIA OR FOR TAKING MEDIA FROM THE BODY; DEVICES FOR PRODUCING OR ENDING SLEEP OR STUPOR
    • A61M16/00Devices for influencing the respiratory system of patients by gas treatment, e.g. ventilators; Tracheal tubes
    • A61M16/20Valves specially adapted to medical respiratory devices
    • A61M16/208Non-controlled one-way valves, e.g. exhalation, check, pop-off non-rebreathing valves
    • AHUMAN NECESSITIES
    • A61MEDICAL OR VETERINARY SCIENCE; HYGIENE
    • A61FFILTERS IMPLANTABLE INTO BLOOD VESSELS; PROSTHESES; DEVICES PROVIDING PATENCY TO, OR PREVENTING COLLAPSING OF, TUBULAR STRUCTURES OF THE BODY, e.g. STENTS; ORTHOPAEDIC, NURSING OR CONTRACEPTIVE DEVICES; FOMENTATION; TREATMENT OR PROTECTION OF EYES OR EARS; BANDAGES, DRESSINGS OR ABSORBENT PADS; FIRST-AID KITS
    • A61F5/00Orthopaedic methods or devices for non-surgical treatment of bones or joints; Nursing devices ; Anti-rape devices
    • A61F5/01Orthopaedic devices, e.g. long-term immobilising or pressure directing devices for treating broken or deformed bones such as splints, casts or braces
    • A61F5/08Devices for correcting deformities of the nose ; Devices for enlarging the nostril, e.g. for breathing improvement
    • AHUMAN NECESSITIES
    • A61MEDICAL OR VETERINARY SCIENCE; HYGIENE
    • A61FFILTERS IMPLANTABLE INTO BLOOD VESSELS; PROSTHESES; DEVICES PROVIDING PATENCY TO, OR PREVENTING COLLAPSING OF, TUBULAR STRUCTURES OF THE BODY, e.g. STENTS; ORTHOPAEDIC, NURSING OR CONTRACEPTIVE DEVICES; FOMENTATION; TREATMENT OR PROTECTION OF EYES OR EARS; BANDAGES, DRESSINGS OR ABSORBENT PADS; FIRST-AID KITS
    • A61F5/00Orthopaedic methods or devices for non-surgical treatment of bones or joints; Nursing devices ; Anti-rape devices
    • A61F5/56Devices for preventing snoring
    • AHUMAN NECESSITIES
    • A61MEDICAL OR VETERINARY SCIENCE; HYGIENE
    • A61MDEVICES FOR INTRODUCING MEDIA INTO, OR ONTO, THE BODY; DEVICES FOR TRANSDUCING BODY MEDIA OR FOR TAKING MEDIA FROM THE BODY; DEVICES FOR PRODUCING OR ENDING SLEEP OR STUPOR
    • A61M15/00Inhalators
    • A61M15/08Inhaling devices inserted into the nose

Landscapes

  • Health & Medical Sciences (AREA)
  • General Health & Medical Sciences (AREA)
  • Pulmonology (AREA)
  • Engineering & Computer Science (AREA)
  • Biomedical Technology (AREA)
  • Public Health (AREA)
  • Heart & Thoracic Surgery (AREA)
  • Hematology (AREA)
  • Life Sciences & Earth Sciences (AREA)
  • Animal Behavior & Ethology (AREA)
  • Veterinary Medicine (AREA)
  • Anesthesiology (AREA)
  • Emergency Medicine (AREA)
  • Otolaryngology (AREA)
  • Business, Economics & Management (AREA)
  • Emergency Management (AREA)
  • Bioinformatics & Cheminformatics (AREA)
  • Orthopedics, Nursing, And Contraception (AREA)
  • Respiratory Apparatuses And Protective Means (AREA)
  • Medicinal Preparation (AREA)

Description

本出願は、2007年3月7日に出願の(「NASAL DEVICES」という名称の)第60/905,850号、2006年11月16日に出願の(「NASAL DEVICES」という名称の)第60/859,715号、2006年6月7日に出願の(「RESPIRATORY DEVICES」という名称の)第60/811,814号の米国仮特許出願の優先権を主張する。これらの仮特許出願のそれぞれは、その全体が参照によって本明細書に組み込まれる。
鼻呼吸デバイスは、以下の米国特許出願、2005年12月8日に出願の(「NASAL RESPIRATORY DEVICES」という名称の)米国特許出願第11/298,640号、2005年12月8日に出願の(「RESPIRATORY DEVICES」という名称の)米国特許出願第11/298,339号、2005年12月8日に出願の(「METHODS OF TREATING RESPIRATORY DISORDERS」という名称の)米国特許出願第11/298,362号、に詳細に記載され、そのそれぞれは全体的に本明細書に組み込まれる。
これらの特許出願は、一般に、そのようなデバイスの使用により様々な病状を治療するための、鼻呼吸デバイスおよび方法を記載する。これらの病状には、それに限定されるわけではないが、いびき、睡眠時無呼吸(閉塞性、中枢性、複合型、および混合型)、チェーンストークス呼吸、UARS、COPD、高血圧、喘息、GERD、心不全、およびその他の呼吸症状および睡眠症状が含まれる。そのような鼻呼吸デバイスは一般に、呼気終末陽圧(「PEEP」)または呼気気道内陽圧(「EPAP」)を誘発し、鼻腔と連通して除去可能に固定されるようになされる。同様に、本明細書に説明される呼吸デバイスは、1つまたは複数の呼気抵抗バルブを有する任意のデバイスを備えることができる。これらのデバイスは、近位端の開口および遠位端の開口を有する通路、通路と連通するバルブ(または気流抵抗器(airflow resistor))、および通路を形成する外壁と連通する保持具を備えることができる。保持具は、鼻腔内部(または鼻腔上もしくはその周囲)に呼吸デバイスを除去可能に固定するように構成される。バルブまたは抵抗器の例は、これまでに組み込まれた米国仮特許出願第60/811,814号に見ることもできる。
米国特許出願第11/298,640号 米国特許出願第11/298,339号 米国特許出願第11/298,362号 米国仮特許出願第60/811,814号
これらのデバイスの全体的な説明を機能的におよび例として述べてきたが、鼻呼吸デバイスのいくつかの特定の変形形態は、上記に述べられていない。したがって、前述のデバイス、キット、および方法に対して改善すること、特に鼻デバイスのいくつかの実施形態、および鼻呼吸デバイスを配置し、使用し、製造し、挿入し、除去する方法をより完全に発展させることが有益である。鼻デバイスの特定の変形形態、鼻デバイス用の付属品、鼻デバイスを使用する方法、および鼻デバイスを含むキットが下記に説明される。
鼻デバイスの特定の変形形態、鼻デバイス用の付属品、鼻デバイスを使用する方法、および鼻デバイスを含むキットが本明細書に説明される。特に、粘着性の鼻デバイスが説明される。粘着性の鼻デバイスは、片方または(より一般的には)両方の鼻孔を通る気流を修正するために対象者によって着用できる。下記により詳細に記載されるように、粘着性の鼻デバイスは、鼻孔を通る気流が主として(または排他的に)鼻デバイスを通過するように、対象者の鼻孔の上に固定できる。一般に、粘着性の鼻デバイスは、粘着剤によって、対象者の鼻孔の上に、その一部分の上に、および/またはその少なくとも一部分の内部に、除去可能に固定される。
本明細書では、用語、「粘着性の鼻デバイス」は、対象者の鼻孔のうちの片方または両方を覆うためのデバイスを指すことができる。したがって、本明細書の説明は、対象者の鼻孔の両方の上に適合するようになされた鼻呼吸デバイスに適用することができる。
本明細書に説明された粘着性の鼻デバイスは、完全に可撓性を有し、または部分的に剛性を有し、または完全に剛性を有する。たとえば、本明細書に説明されるデバイスは、少なくとも部分的に可撓性を有する粘着性保持具領域、および気流抵抗器を備えることができる。気流抵抗器は可撓性を有しても、剛性を有してもよい。いくつかの変形形態では、本明細書に説明されるデバイスは、デバイスを対象者の鼻の上に固定する場合に、対象者がデバイスの向きを決めるのを補助するための1つまたは複数の位置合わせガイドも含む。たとえば、位置合わせガイドは、気流抵抗器を対象者の鼻孔の開口の上にほぼ中心を合わせられるように位置決めするために使用できる。
一般に、粘着性の鼻デバイスは、対象者の鼻と連通し、特に対象者の鼻腔の片方または両方と連通して固定できる。典型的な粘着性の鼻デバイスは、第2の方向の気流よりも第1の方向への気流に抵抗するように構成された気流抵抗器、および少なくとも部分的に対象者の鼻孔を横切って気流抵抗器を固定するように構成された粘着性保持具を備えることができる。保持具は、生体適合性の粘着剤、および対象者の鼻の少なくとも一部分に一致するように構成された可撓性を有する領域を備えることができる。
気流抵抗器は、デバイスを通り鼻孔を出入りする空気の流れを調節できる。いくつかの変形形態では、粘着性の鼻デバイスは、1つの気流抵抗器が各鼻孔と流体連通するように構成された2つの気流抵抗器を備える。さらに、粘着性の鼻デバイスは、対象者の鼻の通路と連通して粘着性の鼻デバイスを固定するように構成された(たとえば保持具領域または層などの)粘着性保持具を備える。
本明細書に述べられる粘着性の鼻デバイスは、層で構成できる。層状の鼻デバイス(層状の粘着性の鼻デバイスと呼ばれることもある)は、前述のように完全に可撓性を有しても、部分的に可撓性を有してもよい。たとえば、層状の鼻デバイスは、第2の方向への気流よりも第1の方向への気流に抵抗するように構成された気流抵抗器(気流抵抗器はフラップバルブ制限層に隣接するフラップバルブ層を備える)、および気流抵抗器が動作可能に横切って固定される開口を備える粘着性保持具層を備えることができる。気流抵抗器は、実質的に粘着性保持具層の平面に配置できる。粘着性保持具層は、生体適合性の粘着剤を含む可撓性を有する基材から作製できる。
本明細書に述べられる任意の粘着性の鼻デバイスは、気流抵抗器が閉じた場合でも空気が通過できる1つまたは複数のリーク経路(leak pathways)を備えることができる。したがって、(たとえば呼気の間の)空気の基本的な(「リーク」)流れがある可能性がある。リーク経路は、鼻の呼吸デバイスの任意の部分または領域にあることができる。たとえば、気流抵抗器は、少なくとも1つのリーク経路を有することができる。
フラップバルブ(またはフラップバルブ層)は、複数のバルブリーフレットを備えることができる。したがって、フラップバルブは、下記により詳細に説明されるように、複数の移動可能なフラップに分割される、シリコーンまたはポリウレタン(あるいは任意のその他の適切な材料)の可撓性を有する層であることができる。たとえば、フラップバルブ層は、フラップバルブ層を横切って間隔を置いて配置された複数のバルブリーフレットを備えることができる。各バルブリーフレットは(たとえば吸気の間に開き、呼気の間に閉じるなど)開閉できる。いくつかの変形形態では、フラップバルブは、中心点から開く複数のバルブリーフレットを備える。たとえば、フラップバルブは、三角形のリーフレットを形成するために、単一の点(または領域)から放射状に広がる切り込みスポーク(cutting spokes)によって形成できる。
気流抵抗器は、フラップバルブおよびフラップバルブ・リミッタを備えることができる。フラップバルブ・リミッタは、フラップバルブ制限層として構成できる。この制限層は、フラップバルブに(直接的、または機能的に)隣接でき、1つの方向に開くフラップバルブの能力を制限できる。フラップバルブ・リミッタ(または制限層)は、1つの方向にフラップバルブが開くのを完全に防止でき、または1つの方向にフラップバルブが開くのを部分的に防止できる。たとえば、フラップバルブ・リミッタは、メッシュまたは複数のクロスストラット(cross struts)であることができる。クロスストラットは、支持部材または横ばりと呼ぶこともできる。クロスストラットまたは横ばりは、気流抵抗器(たとえばフラップバルブなど)によって調整される通路の一部分のみ横切って延びることができる。たとえば、クロスストラットは、通路全体を横切って延びることのない部分的なストラットであることができるが、それでもフラップバルブの1つまたは複数のリーフレットを支持できる。
いくつかの変形形態では、本明細書に説明される粘着性の呼吸デバイスは、1つまたは複数の位置合わせガイドを有する。位置合わせガイドは一般に、対象者が、デバイスを片方(または両方)の鼻孔に(たとえば、気流抵抗器が鼻の開口と連通して位置合わせされるように)適切な向きで装着するのを補助する。任意の適切な位置合わせガイドが使用できる。たとえば、位置合わせガイドは、片方または両方の鼻の開口に適合できる色または形状などの、(たとえば鏡で)デバイスを位置合わせするために対象者が見ることができる視覚的な位置合わせガイドを備えることができる。したがって、いくつかの変形形態では、デバイスの少なくとも1つの領域が透明または不透明であることができ、鼻の開口の少なくとも一部分がデバイスを通して見ることができるようになる。位置合わせガイドは、触覚的な位置合わせガイドであることができる。触覚的な位置合わせガイドは、対象者(たとえば対象者の指および/または鼻)によって触感できる。たとえば、位置合わせガイドは、リング、稜、隆起、柱などであることができる。いくつかの変形形態では、位置合わせガイドはデバイスが装着された場合に対象者の鼻に少なくとも部分的に延びる。たとえば、位置合わせガイドは、円錐または円錐形領域であることができる。
第2の方向への気流よりも第1の方向への気流に抵抗するように構成された層状の気流抵抗器(層状の気流抵抗器は、フラップバルブ制限層に隣接するフラップバルブを備える)、および層状の気流抵抗器を対象者の鼻腔と連通して固定するように構成された粘着性保持具層を備える対象者の鼻腔と連通して粘着的に固定されるようになされた層状の鼻デバイスも、本明細書に説明される。これらのデバイスは、少なくとも1つのリーク経路を備えることができる。たとえば、リーク経路は、層状の気流抵抗器を通ることができる。いくつかの変形形態では、気流抵抗器層は、実質的に粘着性保持具層の平面に配置できる。
粘着性保持具層は、可撓性を有する基材および生体適合性の粘着剤を含むことができる。
いくつかの変形形態では、フラップバルブは、複数のバルブリーフレットから作成される。フラップバルブは、中心点から開くように構成された複数のバルブリーフレットを備えることができる。いくつかの変形形態では、フラップバルブはフラップバルブ層の一部分である。したがって、フラップバルブは、フラップバルブ層に形成された複数のバルブリーフレットを備えることができる。いくつかの変形形態では、フラップバルブは粘着性保持具層に形成される。一般に、フラップバルブは、シリコーンまたはポリウレタンを含む任意の適切な材料から作製できる。
任意の適切なフラップバルブ制限層が使用できる。たとえば、フラップバルブ制限層はメッシュを備えることができる。いくつかの変形形態では、フラップバルブ制限層は、複数のストラットを備える。いくつかの変形形態では、フラップバルブ制限層は、複数の部分的なストラットを備える。
本明細書に述べられる任意のデバイスは、リング、円錐形の位置合わせガイド、触覚的な位置合わせガイド、または視覚的な位置合わせガイドなどの位置合わせガイドを備えることもできる。
いくつかの変形形態では、デバイスは、さらに支持フレームを備えることができる。支持フレームは除去可能であることができる。たとえば、支持フレームは、デバイスの保持具領域を含んでデバイスを支持でき、デバイスが対象者に装着された後に完全に、または部分的に除去可能である。いくつかの変形形態では、支持フレームは装着された後に鼻デバイスに残る。
第2の方向への気流よりも第1の方向への気流に抵抗するように構成された層状の気流抵抗器を備える、対象者の鼻腔と連通して粘着的に固定されるようになされた層状の鼻デバイス(層状の気流抵抗器は、フラップバルブ・リミッタに隣接するフラップバルブを備える)、および基材層、生体適合性の粘着剤の層、および生体適合性の粘着剤を少なくとも部分的に覆う除去可能な保護カバー層を備える層状粘着性保持具も本明細書に説明される。層状の粘着性保持具は、少なくとも部分的に層状の気流抵抗器を囲むことができる。位置合わせガイドは、これらのデバイスの一部分として使用することもできる。フラップバルブは、層状の保持具の基材層から形成できる。いくつかの変形形態では、フラップバルブは、中心点から開くように構成された複数のバルブリーフレットを備える。
上記に示したように、任意のこれらのデバイスは支持フレームを備えることもできる。いくつかの変形形態では、支持フレームは支持フレーム層である。粘着性の鼻デバイスの層状の粘着性保持具から保護カバーを除去するステップ(粘着性の鼻デバイスは層状の気流抵抗器を備える)と、対象者の鼻腔のうちの少なくとも1つと連通して層状の気流抵抗器を配置するステップと、粘着性の鼻デバイスを対象者の鼻に粘着的に固定するステップとを含む対象者を治療する方法も本明細書に説明される。
生体適合性の粘着剤を含む粘着層を形成するステップと、フラップバルブを形成するステップと、フラップバルブ・リミッタを形成するステップと、フラップバルブ・リミッタがフラップバルブに隣接するようにフラップバルブ・リミッタをフラップバルブおよび粘着層に固定するステップとを含む層状の鼻デバイスを製造する方法も本明細書に説明される。方法は位置合わせガイドをフラップバルブ・リミッタ、フラップバルブ、および粘着層と連通して固定するステップも含むことができる。
いくつかの変形形態では、方法は粘着層を貫通する開口を形成するステップ、およびフラップバルブ・リミッタを開口と連通してフラップバルブに隣接して固定するステップも備える。可撓性を有する粘着性基材を貫通して開口を形成するステップと、開口を横切って可撓性を有するバルブに隣接してフラップバルブ・リミッタを固定することによって開口を横切って気流抵抗器を固定するステップとを含む粘着性の鼻デバイスを作製する方法も本明細書に説明される。
層状のデバイスもバッチ(または大量)製造法によって製造できる。さらに、本明細書に説明される層状のデバイスは、通路を形成するリム本体領域を備える前述の鼻デバイス(粘着性鼻デバイスを含む)と対比できる。層状のデバイスは通路を備えることができるが、層状のデバイスは実質的に平坦であることができる。したがって、これらの層状のデバイスはリム本体領域を含まなくてもよい。
粘着性の鼻デバイスは、対象者の鼻腔と連通して除去可能に固定されるようになされてもよい。粘着性保持具は、気流抵抗器が対象者の鼻の開口と連通するように対象者の鼻あるいは片方または両方の鼻孔を横切って鼻デバイスを固定するように構成された生体適合性の粘着剤を備えることができる。デバイスを患者の鼻の開口(または鼻のオリフィス)と連通して配置する場合、気流抵抗器(たとえば気流抵抗器層)は、鼻の開口(または両方の鼻の開口)と位置合わせすることができる。本明細書に説明された任意のデバイスでは、粘着性保持具領域は、デバイスが対象者によって着用された場合に対象者の口を実質的に覆わないように構成できる。したがって、デバイスは、粘着性保持具がデバイスを対象者の鼻孔のうちの1つのみ、または対象者の鼻孔の両方と連通して固定するように構成できる。
本明細書に説明される粘着性の鼻デバイスのいくつかの変形形態(特に対象者の鼻孔の両方を覆うように構成された変形形態)では、デバイスは粘着性保持具にブリッジ領域も備えることができる。ブリッジ領域は対象者の鼻孔のそれぞれの上に、一部分の上に、および/または少なくとも一部分の内部に適合するように構成された気流抵抗器の間に配置できる。
上述のように、粘着性保持具は可撓性を有する粘着性の基材、および/または(たとえば粘着層の粘着剤を露出させるために剥がし取ることによって除去されるように構成された)保護カバーを備えることができる。デバイスは、それを装着する対象者によって把持されるように構成されたタブまたはハンドルを備えることもできる。いくつかの変形形態では、このタブまたはハンドルは、層状の粘着性保持具領域から形成される。
デバイスの様々な構成要素は、下記により詳細に説明されるような任意の適切な材料から作製できる。たとえばデバイスの様々な構成要素(たとえば位置合わせガイド)は、アクリロニトリルブタジエンスチレン(ABS)、ポリプロピレン、ポリエチレン、ポリカーボネート、ポリウレタン、またはポリエーテルエーテルケトンなどの医療グレードのプラスチックで作製できる。気流抵抗器はフラップバルブであることができ、フラップはシリコーンまたは熱可塑性ウレタンから作製できる。粘着性保持具は、シリコーン、ポリウレタン、またはポリエチレンから作製された粘着性基材を含むことができる。粘着性保持具上の生体適合性の粘着剤の例は、親水コロイドまたはアクリルを含むことができる。
いくつかの変形では、呼吸デバイスはさらに、活性剤を含むことができる。いくつかの変形では、この活性剤は(たとえば医薬などの)薬剤である。いくつかの変形では、この活性剤は香水などの臭気剤を含む。いくつかの変形では、活性剤はメントール、ユーカリ油、および/またはフェノールを含む。別の変形では、呼吸デバイスは、それに限定されるわけではないが、吸入器および噴霧器を含む治療またはその他の医療処置を行うことができる、その他の肺に関係するデバイスまたは医療用デバイスと共に使用できる。
いくつかの変形では、呼吸デバイスはさらに、フィルタを含むことができる。このフィルタは、(たとえばデバイスが吸気の間には濾過できるが呼気の間には濾過できないなど)通路を通って流れる空気を一方向に、別の方向より多く濾過するフィルタなどの移動可能なフィルタであってよい。
本明細書に示す全ての公報および特許出願は、それぞれの個別の公報または特許出願が全体を参照によって組み込むために具体的かつ個々に示されたのと同じ範囲に、それらの全体が参照によって本明細書に組み込まれる。
図1Aは層状の粘着性保持具の1つの変形形態を上面図で示す。 図1Bは層状の粘着性保持具の1つの変形形態を分解斜視図で示す。 図2Aはフラップバルブの別の変形形態である。 図2Bはフラップバルブの別の変形形態である。 図2Cはフラップバルブの別の変形形態である。 図2Dはフラップバルブの別の変形形態である。 図2Eはフラップバルブの別の変形形態である。 図2Fはフラップバルブの別の変形形態である。 図2Gはフラップバルブの別の変形形態である。 図3Aはフラップバルブの別の変形形態である。 図3Bはフラップバルブの別の変形形態である。 図3Cはフラップバルブの別の変形形態である。 図3Dはフラップバルブの別の変形形態である。 図3Eはフラップバルブの別の変形形態である。 図3Fはフラップバルブの別の変形形態である。 図3Gはフラップバルブの別の変形形態である。 図3Hはフラップバルブの別の変形形態である。 フラップバルブの異なる変形形態を示す表である。 図5Aはフラップバルブおよびフラップバルブ・リミッタの別の変形形態である。 図5Bはフラップバルブおよびフラップバルブ・リミッタの別の変形形態である。 図5Cはフラップバルブおよびフラップバルブ・リミッタの別の変形形態である。 図6Aはフラップバルブおよびフラップバルブ・リミッタの別の変形形態である。 図6Bはフラップバルブおよびフラップバルブ・リミッタの別の変形形態である。 図7Aはフラップバルブおよびフラップバルブ・リミッタの別の変形形態である。 図7Bはフラップバルブおよびフラップバルブ・リミッタの別の変形形態である。 フラップバルブおよびフラップバルブ・リミッタの別の変形形態である。 フラップバルブおよびフラップバルブ・リミッタの別の変形形態である。 フラップバルブおよびフラップバルブ・リミッタの別の変形形態である。 フラップバルブおよびフラップバルブ・リミッタの別の変形形態である。 フラップバルブおよびフラップバルブ・リミッタの別の変形形態である。 フラップバルブおよびフラップバルブ・リミッタの別の変形形態である。 フラップバルブおよびフラップバルブ・リミッタの別の変形形態である。 図9Aはフラップバルブおよびフラップバルブ・リミッタの別の変形形態である。 図9Bはフラップバルブおよびフラップバルブ・リミッタの別の変形形態である。 図9Cはフラップバルブおよびフラップバルブ・リミッタの別の変形形態である。 フラップバルブ・リミッタの別の変形形態である。 フラップバルブ・リミッタの別の変形形態である。 フラップバルブ・リミッタの別の変形形態である。 フラップバルブ・リミッタの別の変形形態である。 フラップバルブ・リミッタの別の変形形態である。 異なる背圧での異なるフラップバルブ・リミッタの流量を示すグラフである。 図11Aは気流抵抗器の側断面図である。 図11Bはフラップバルブ・リミッタの別の変形形態である。 図12Aは粘着性の鼻デバイス用の位置合わせガイドの異なる変形形態である。 図12Bは粘着性の鼻デバイス用の位置合わせガイドの異なる変形形態である。 図12Cは粘着性の鼻デバイス用の位置合わせガイドの異なる変形形態である。 図12Dは粘着性の鼻デバイス用の位置合わせガイドの異なる変形形態である。 粘着性の鼻デバイス用の位置合わせガイドの異なる変形形態である。 図14Aは粘着性の鼻デバイス用の位置合わせガイドの異なる変形形態である。 図14Bは粘着性の鼻デバイス用の位置合わせガイドの異なる変形形態である。 粘着性の鼻デバイス用の位置合わせガイドの異なる変形形態である。 リム本体の変形形態である。 リム本体の変形形態である。 フラップバルブの変形形態である。 フラップバルブの変形形態である。 粘着性の鼻デバイスの異なる変形形態を示すマトリクスである。 層状の鼻デバイスの5つの例示の変形形態を示す。 図19Aは層状の鼻デバイスを示す。 図19Bは層状の鼻デバイスを示す。 図19Cはデバイスを着用する対象者を示す。 図19Dはデバイスを着用する対象者を示す。 図19Eはデバイスを着用する対象者を示す。 図19Aおよび19Bのデバイスを製造する1つの方法を示す。 図19Aおよび19Bのデバイスを製造する1つの方法を示す。 図19Aおよび19Bのデバイスを製造する1つの方法を示す。 図19Aおよび19Bのデバイスを製造する1つの方法を示す。 図19Aおよび19Bのデバイスを製造する1つの方法を示す。 図19Aおよび19Bのデバイスを製造する1つの方法を示す。 図19Aおよび19Bのデバイスを製造する1つの方法を示す。 図21Aは別の層状の鼻デバイスを示す。 図21Bは別の層状の鼻デバイスを示す。 図21Aおよび21Bのデバイスを製造する1つの方法を示す。 図21Aおよび21Bのデバイスを製造する1つの方法を示す。 図21Aおよび21Bのデバイスを製造する1つの方法を示す。 図21Aおよび21Bのデバイスを製造する1つの方法を示す。 図21Aおよび21Bのデバイスを製造する1つの方法を示す。 図21Aおよび21Bのデバイスを製造する1つの方法を示す。 別の層状の鼻デバイスを示す。 別の層状の鼻デバイスを示す。 図23Aおよび23Bに示されるデバイスの例である。 図23Aおよび23Bに示されるデバイスの例である。 図23Cおよび23Dのデバイスを着用する対象者を示す。 図23Cおよび23Dのデバイスを着用する対象者を示す。 図23Aおよび23Bのデバイスを製造する1つの方法を示す。 図23Aおよび23Bのデバイスを製造する1つの方法を示す。 図23Aおよび23Bのデバイスを製造する1つの方法を示す。 図23Aおよび23Bのデバイスを製造する1つの方法を示す。 図23Aおよび23Bのデバイスを製造する1つの方法を示す。 図23Aおよび23Bのデバイスを製造する1つの方法を示す。 別の層状の鼻デバイスを示す。 別の層状の鼻デバイスを示す。 図25Aおよび25Bに示される粘着性の鼻デバイスを組み立てる1つの方法を示す。 別の層状の鼻デバイスを示す。 別の層状の鼻デバイスを示す。 円錐およびフラップバルブを備えるサブアセンブリを射出成形する1つの方法を示す。 円錐およびフラップバルブを備えるサブアセンブリを射出成形する1つの方法を示す。 円錐およびフラップバルブを備えるサブアセンブリを射出成形する1つの方法を示す。 射出成形されたフラップバルブを有するデバイスの異なる図を示す。 射出成形されたフラップバルブを有するデバイスの異なる図を示す。 射出成形されたフラップバルブを有するデバイスの異なる図を示す。 層状の鼻デバイスを示す。 層状の鼻デバイスを示す。 層状の鼻デバイスを示す。 層状の鼻デバイスの分解図を示す。 層状の鼻デバイスの分解図を示す。 層状の鼻デバイスの分解図を示す。 層状の鼻デバイスの分解図を示す。 本明細書に示されるような層状の鼻デバイスを製造する方法を示す。 本明細書に示されるような層状の鼻デバイスを製造する方法を示す。 層状の鼻デバイスの別の変形形態を示す。 層状の鼻デバイスの別の変形形態を示す。 層状の鼻デバイスの別の変形形態を示す。 層状の鼻デバイスの別の変形形態を示す。 本明細書に述べられるような粘着性の層状の鼻デバイスの1つの変形形態の正面図を示す。 本明細書に述べられるような粘着性の層状の鼻デバイスの1つの変形形態の背面図を示す。 図33Aおよび33Bに示されるデバイスの分解斜視図を示す。 図34Aは粘着性の鼻デバイスを使用する1つの例示の方法を示す。 図34Bは粘着性の鼻デバイスを使用する1つの例示の方法を示す。
粘着性の鼻呼吸デバイスは、一般的な鼻の呼吸デバイスの一種であり、そのデバイスでは、粘着性保持具領域がデバイスを対象者の鼻孔の片方または両方と流体連通して固定するために使用される。粘着性の呼吸デバイスを含む鼻呼吸デバイスは、対象者の呼吸を調節するために使用される。たとえば、デバイスはそれを着用する対象者が呼吸する間、呼気終末陽圧(PEEP)または呼気気道内陽圧(「EPAP」)を形成できる。本明細書に記載される粘着性の呼吸デバイスおよび方法は、様々な病状を治療するために有用であることができ、非治療的な目的にも有用であることができる。本明細書に述べられるデバイスおよび方法は、説明される特定の実施形態には限定されない。説明される特定の実施形態に変形をなすことができ、それでもなお開示の範囲内に収まる。説明される例および特定の実施形態は、限定するためのものではない。
本明細書では、粘着性の鼻デバイスは、片方の鼻孔を横切って、その一部分を横切って、その少なくとも一部分の内部に、その中に、その上におよび/またはその周囲に適合し(「片方の鼻孔用の鼻デバイス」)、または両方の鼻孔を横切って、その中に、その上に、および/またはその周囲に適合する(「鼻全体用の鼻デバイス」)ように構成できる。片方の鼻孔用の鼻デバイスおよび鼻全体用の鼻デバイスの両方は、本明細書で「粘着性の鼻デバイス」と呼ぶことができ、(文脈が特別に示さない限り)片方の鼻孔用の鼻デバイスに関して述べられる任意の特徴が鼻全体用の鼻デバイスについて使用でき、その反対についても同じことが言える。いくつかの変形形態では、粘着性の鼻デバイスは対象者の鼻に装着できる一体型の粘着性の鼻デバイスを形成するために連結された2つの片方の鼻孔用の鼻デバイスから形成される。片方の鼻孔用の鼻デバイスは、ブリッジ(またはコネクタと呼ぶこともできるブリッジ領域)によって連結できる。ブリッジは、粘着性の鼻デバイスが様々な相貌に適合するように調整できるように移動可能である(たとえば可撓性を有する)ことができる。ブリッジは、鼻デバイスと一体であることができる。いくつかの変形形態では、(使用者によって着用された場合に)粘着性保持具領域が対象者の鼻の上に重なることができるように、ブリッジによって連結されないがそれぞれが粘着性領域を含む、片方の鼻孔用の鼻デバイスが使用される。
層状の鼻デバイスは、特に興味深いものであり、下記により完全に説明される。層状の粘着性の鼻デバイスは、2つ以上の層を有することができる。たとえば、層状の鼻デバイスは粘着性保持具層および気流抵抗器層を有することができる。これらの層は、別々の層から構成でき、これらの層は他の層によって分離でき、またはそれらは隣接することができる。粘着性保持具層は、それ自体は(任意で基材層、保護的な被覆層、粘着層などの)層から形成でき、したがって層状の粘着性保持具と呼ぶことができる。同様に、気流抵抗器は(任意でフラップバルブ層、バルブリミッタ層など)複数の層から形成でき、したがって層状の気流抵抗器と呼ぶことができる。いくつかの変形形態では、層状の粘着性保持具および層状の気流抵抗器は1つまたは2つの層を共有する。たとえば、フラップバルブ層および粘着性の基材層は、同じ層であることができ、その層ではフラップバルブ層のリーフレットが基材層の材料から切断される。本明細書では、「層」は(たとえば平坦な)全体的に平面形状(planar geometry)であるが、それは断面で均一または不均一であることができる厚さを有することができる。
この明細書では、単数形「a」「an」および「the」は、文脈が明確に示さない限り、複数形の指示も含む。以下の説明は、様々な設計のパラメータまたは目標、および設計のパラメータまたは目標に適合する方法およびデバイスを含む。本明細書に説明される(および任意の請求項によって記載される)デバイスおよび方法は、任意の特定の動作の理論に限定されない。
全体的に、本明細書に記載される粘着性の鼻デバイスは、保持具領域(または保持具層)および少なくとも1つの気流抵抗器を備える。図から明らかであるように、これらのデバイスのうちの多くは、特別な工具なしに使用者によって除去可能かつ挿入可能であることができる。いくつかの変形形態では、対象者は(たとえばそれを位置合わせするのを補助するために)デバイスを装着するためのアプリケータを使用できる。
動作の際には、粘着性の鼻デバイスは、対象者の鼻を通る空気の流れを修正するために対象者の鼻孔の片方または両方と連通して配置される。したがって、本明細書に説明される呼吸デバイスは、少なくとも1つの方向に鼻を通る空気の流れを修正する1つまたは複数の気流抵抗器を備える。本明細書に説明されるデバイスのほとんどの変形形態では、気流抵抗器が、1つの方向に通路を通る気流を、反対の方向に通る気流より多く遮蔽するように構成される。たとえば、気流抵抗器は、吸気よりも多く呼気の間の気流を遮蔽できる。吸気に対する抵抗は、最小限に、または無視できるほどに増加でき、あるいは全く増加できない。気流抵抗器の例が下記に説明されるが、任意の適切な気流抵抗器が使用できる。たとえば、気流抵抗器は、気流を調節するためのバルブ(たとえばフラップバルブ、ヒンジレスバルブ(hinge−less valve)、バルーンバルブ(balloon valve)、ステッパーバルブ(stepper valves)、ボールバルブなど)であることができる。図に示され本明細書に説明される例では、気流抵抗器は一般に、抵抗器を通る流れを調節するために移動する、1つまたは複数のフラップまたはリーフを有するフラップバルブである。気流抵抗器は、フラップバルブ・リミッタなどのバルブリミッタも備えることができる。たとえば、バルブリミッタは、バルブが1つまたは複数の方向に開く能力を制限する。下記に、より詳細に説明されるように、フラップバルブ・リミッタは、バルブが実質的に1つの方向(たとえば呼気)に開くのを防止でき、またはある程度開き、または部分的に開くことを可能にすることができるが、完全に開くことは可能にしない。
本明細書に記載される任意の鼻デバイスは、通常であればバルブが閉じる場合でも空気が通過できる1つまたは複数のリーク経路も備えることができる。リーク経路は、気流抵抗器から分離でき、または(たとえばフラップバルブなどの領域を通過する)気流抵抗器の一部分であることができる。いくつかの変形形態では、気流抵抗器は、バルブが閉じた場合にリーク経路が形成されるように構成される。たとえば、フラップバルブの1つまたは複数のフラップは、バルブが閉じた場合に密封できない。リーク経路は、保持具領域を含むデバイスの任意の適切な領域を通過できる。
粘着性の鼻デバイスは、いびき、または上記に手短に説明された任意のその他の睡眠障害の呼吸を治療するように構成できる。たとえば、対象者はデバイスの保持具の上の粘着剤を露出させ(たとえば保持具の粘着性領域から保護カバー材料を除去し)、鼻孔の周囲にデバイスを粘着させるために軽い圧力を加えることによって、自身の鼻(片方または両方の鼻孔)の上に粘着性の呼吸デバイスを装着できる。このようにして、デバイスは鼻のオリフィスの周囲に着座でき(少なくとも一部分が鼻孔内に突出でき)、鼻孔から出入りする流れの大部分が鼻デバイスの通路を通過するように、鼻孔とデバイスの間に少なくとも部分的な密封を形成できる。デバイスが対象者の鼻に装着された後に、鼻孔を通る呼吸が調節できる。いくつかの変形形態では、粘着性の鼻デバイスは、吸気の間には鼻デバイスを通る(たとえば約2cmHO未満、約1cmHO未満、約0.5cmHO未満、約0.4cmHO未満、約0.3cmHO未満、約0.2cmHO未満などの)名目上の抵抗しかないが、呼気の間には気流に対する(約2cmHOより大きい、約3cmHOより大きい、約4cmHOより大きい、約5cmHOより大きい、約6cmHOより大きい、約7cmHOより大きい、約8cmHOより大きい、約9cmHOより大きい、約10cmHOより大きい、約12cmHOより大きいなどの)増加した抵抗があるように構成される。そのようなデバイスを着用する対象者の吸気の間には、対象者は鼻を通して(したがって鼻デバイスを通して)息をすることができる。呼気の間に、粘着性の鼻デバイスはデバイスを通る気流に対するより大きな抵抗をもたらす。呼気に対する抵抗はリーク経路によって限定(または設定)できる。したがって、対象者はなお呼気の間に大部分は鼻(および鼻デバイス)を通して息をすることができるが、少なくとも部分的に口を通しても息をすることができる。
対象者が長い間(たとえば睡眠の間)、鼻呼吸デバイスを着用することも有益である可能性がある。対象者の鼻または鼻の通路の中または上に便利に着用および固定できる(層状の鼻デバイスを含む)粘着性の鼻デバイスの変形形態が下記に説明される。いくつかの変形形態では、デバイスを対象者の鼻孔、鼻、または顔面に固定するのを補助するために、把持部(たとえばタブ、ハンドル、ストラップ、またはその他の追加のインターフェース領域)を有することができ、特にデバイスが装着されているとき、デバイスを配置または操作する(たとえば把持する)のに追加的または代替的に役立てることができる。この追加のインターフェース領域は、粘着性保持具領域として同じ材料から形成でき、または下記にさらに詳細に説明されるように、別個の領域であることができる。
いくつかの実施形態では、デバイスの1つまたは複数の構成要素が、使用中に吸入できる1つまたは複数の化合物で含浸され、それを含み、またはそれによって被覆される。気流、熱、またはその他の条件があることにより、化合物が吸入された空気または周囲の組織に放出することを促進できる。化合物は(メントールまたはラベンダーなどの)薬草、化学薬品、または(抗ヒスタミンまたは抗喘息薬などの)医薬品の性質をもつものであることができる。化合物に応じて、使用者は、(睡眠もしくは活動を和らげまたは促進させることができる)心地よい香りを受け、または鼻の充血の解消(nasal decongestion)や喘息の緩和(asthma relief)などの医療的な利点を得ることができる。化合物は、使用者がデバイスを着用している全て、または少なくとも一部分の時間の間、吸入できる。化合物は睡眠時無呼吸、いびきの治療の一部分として使用でき、または他の病状に関する他の実施形態に用途を見つけることができる。
別の実施形態では、デバイスは吸気時に外部の空気から粒子状物質を除去するフィルタを有することができる。除去される粒子状物質は、塵およびアレルゲンを含む可能性がある。本発明は、睡眠時無呼吸用デバイス、いびき用デバイス、呼吸デバイス内に実装でき、または自立型デバイスを備えることができる。
興味を引くその他の材料には、アレルゲン、花粉、鱗屑、スモッグなどに対するフィルタとして機能できる任意の材料が含まれる。デバイス内にフィルタを設けることによって、副鼻腔炎、睡眠時無呼吸、いびき、枯草熱、アレルギー性鼻炎、およびその他のアレルギー性呼吸症状が緩和または防止できる。このフィルタは、実際には(たとえばバルブリミッタなどの)気流抵抗器の一部分であることができ、またはデバイスの別個の構成要素であることができる。当業者に既知の任意の適切な濾過材料が、本明細書に説明された呼吸デバイスと共に使用できる。そのような材料には、それに限定されるわけではないが、活性炭フィルタ(activated carbon charcoal filters)、中空繊維フィルタなどが含まれる。
いくつかの変形では、呼吸デバイスは使用中に吸気および/または呼気の経路に残るフィルタを備えることができる。いくつかの変形では、フィルタ材料は吸気および呼気の気流の経路に残る。フィルタ材料は、いずれの方向の気流に対する抵抗も評価できるほど変えることができず、または両方の方向に(吸気および呼気)実質的に同じ程度気流を変えることができる。いくつかの変形では、フィルタは、気流が実質的に阻止されないように大きな孔寸法を有する材料を備える。
いくつかの変形では、デバイスは活性剤と共に使用される。いくつかの変形では、活性剤は薬剤を含む。活性剤(たとえば医薬)またはその他の化合物が、活性剤を口、舌、硬口蓋、軟口蓋、凹所、鼻、鼻腔、咽頭、声帯、喉頭、気道、肺、気管、気管支、細気管支、肺胞、気嚢、または吸気または呼気の気流に曝される任意の組織に送達するためにデバイスの中に、またはデバイスに配置できる。場合によっては、活性剤はデバイスまたはデバイスの構成要素に埋め込まれまたは含浸できる。場合によっては、活性剤はコーティングである。活性剤は患者に対して何らかの点で有用または望ましい任意の化合物を含むことができる。たとえば、活性剤はメントール、フェノール、ユーカリ、または吸気に香水を供給する任意の薬剤を含む臭気剤であることができる。あるいは、活性剤は有益な血管系の効果などの有益な効果を有する薬剤を含むことができる。たとえば、活性剤は、血管に作用する薬剤(オキシメタゾリンまたは任意の他の血管作用性化合物)、鼻咽頭、気道、または肺に作用する(アルブテロール、ステロイド、または他の気管支収縮化合物または気管支拡張化合物)薬剤を含むことができる。活性剤は、たとえば抗生物質またはステロイドを含むことができる。上記に挙げた活性剤は、限定するものではない。
活性剤は、デバイスの任意の部分の中または上に配置できる。さらに、呼吸デバイス内の活性剤の位置は、活性剤の送達を限定して導くことができる。たとえば、呼吸腔の内側に配置されるように構成された呼吸デバイスの変形では、保持具が活性剤(たとえば被覆され、埋め込まれ、あるいは別の場合には保持具の一部分である)を備える場合、薬剤は呼吸腔の粘膜を通して送達できる。別の例では、活性剤を呼吸器系の中にエアロゾル化および送達できる粉末または放出可能なコーティングとして含むことができる。したがって、活性剤は(たとえば通路、保持具、または気流抵抗器などの)デバイスの表面にあることができ、またはデバイスの任意の表面内に埋め込むことができる。別個の薬剤含有領域もデバイスに含むことができる。活性剤の添加は、アレルギーおよび副鼻腔炎を治療する際に特に興味深い可能性がある。したがって、呼吸デバイス(気流抵抗器を備える、または備えない)は、メントールまたは他の芳香性の化合物などの活性剤を備えることができる。
デバイスのいくつかの変形形態では、デバイス(たとえば気流抵抗器など)を対象者の鼻孔のうちの片方または両方と位置合わせするのを補助するためにアライナが使用される。アライナは、対象者の鼻または手によって感じることができる触覚的なアライナ、対象者によって視認できる(たとえば色彩、パターン、またはその他のマーキングなどの)視覚的なアライナ、または対象者の片方または両方の鼻孔の中、またはその周囲に少なくとも部分的に貫入する構造的なアライナ、またはこれらの任意の組合せを備えることができる。アライナは下記により完全に説明される。いくつかの変形形態では、アライナはたとえば鼻孔の開口の開通性を維持するのを助けることによって、デバイスと対象者の片方または両方の鼻孔との位置合わせを維持するのも補助できる。
図1Aは、本明細書に説明される層状の鼻デバイスの1つの例の上面図である。図1に示される層状の鼻デバイスは、保持具層101および気流抵抗器103を備える。図1に示されるデバイスの裏側は、保護カバーによって覆うことができる粘着性材料(図示されない)を備える。保護カバー(保護ライナとも呼ぶことができる)は、デバイスの装着の前に粘着剤を露出させるために除去できる。したがって、デバイスの保持具層は粘着剤を対象者に固定する。この保持具層は、それ自体を層状にすることができ、粘着性の基材(たとえば裏打ち層(backing layer))を備えることができる。たとえば、粘着性基材は、発泡体の裏打ちであることができる。この裏打ちは粘着性材料に関する基材として機能できる。いくつかの変形形態では、粘着性基材はそれ自体が粘着剤である。保持具層101は、(空気が流れることができる)開口を囲む周囲の鼻の領域、デバイスを把持し、装着し、除去するのを容易にすることができるタブを形成するタブ105または把持領域を含む、異なる領域を有することができる。その他の領域は、よりアグレッシブな粘着剤およびよりアグレッシブでない(たとえば粘着性材料がより多いまたはより少ない)粘着剤の領域、繰り返しの使用または長期間の使用からの炎症を防止するのを補助するために、(粘着性ヒドロゲルを含む)ヒドロゲル材料の領域を含むことができる。タブは保持具材料の一部分として(それと一体化されて)示されるが、この領域は、分離して形成することもでき、異なる材料から作製することができる。
図1Bは、図1Aのデバイスの分解図を示す。この分解斜視図は、(それ自体が層状にできる)粘着性保持具101、フラップバルブ107およびフラップバルブ・リミッタ109を備える気流抵抗器の2つの層、フラップバルブおよびフラップバルブ・リミッタを粘着性保持具に取り付けるのを補助できる粘着性リング111を含むデバイスの層を示す。保持具、気流抵抗器、位置合わせガイド、および他のデバイスの付属品が下記の節でより詳細に説明される。
気流抵抗器
気流抵抗器は一般に、鼻孔に流入および流出する空気の少なくとも一部分が気流抵抗器を通過するように、対象者の鼻孔の片方または両方と連通して配置される。一般的に、粘着性の鼻デバイスは対象者の片方または両方の鼻孔の少なくとも一部分の上に、その少なくとも一部分の内部に、または少なくとも一部分の中もしくは周囲に密封され、気流抵抗器は、抵抗の量、気流の程度、鼻デバイス間の圧力差を制御できる。任意の適切な気流抵抗器が、本明細書に説明される粘着性の鼻デバイスの一部分として使用できる。本明細書に記載された気流抵抗器は一般的に、1つの方向の気流をそれが反対方向の気流を制限するより多く制限する。たとえば、気流抵抗器は、吸気よりも呼気の間の気流を遮蔽できる。気流抵抗器の例は、その全体が参照によって本明細書に組み込まれる(2005年12月8日に出願の)「NASAL RESPIRATORY DEVICES」という名称の公開された米国特許出願第11/298,640号に見ることができる。
いくつかの実施形態では、呼気の間に気流抵抗器によって形成された圧力は、100ml/secの流量で測定された0.01と100cmの間のHOであることができる。いびきに使用されるようになされた本明細書に説明される粘着性デバイスのいくつかの変形形態では、気流抵抗器は(100cmのHOに比較して)比較的低い呼気に対して抵抗を生み出す。たとえば、呼気に対する抵抗は約0.5cmのHOと約10cmのHOの間または約2cmのHOと約8cmのHOの間、または約3cmのHOと約8cmのHOの間、または約4cmのHOであることができる。cmのHOで表した抵抗は、100ml/secの流量で測定できる。
バルブ型気流抵抗器が、特に適している。特に、使用できるバルブには、(1つまたは複数のフラップまたはリーフレットを有する)フラップバルブ、ヒンジレスバルブ、ストッパ型バルブ(stopper−type valves)、薄膜型バルブ(membrane−type valves)、ボールバルブ、バルーン型バルブなどが含まれる。このように列挙したものは、網羅的であることを意図せず、その他のタイプの選択的な気流抵抗器が使用できる。さらに、複数の気流抵抗器も使用でき、それには異なるタイプの気流抵抗器の組合せを含むことができる。フラップバルブは特に興味深いものである。フラップバルブとして構成された気流抵抗器は一般に、空気が1つの方向に流れる場合にフラップが開くことができ、空気が反対方向に流れる場合または空気が流れていない場合にフラップが閉じることができるように、移動可能に固定された1つまたは複数のヒンジ式または可撓性を有するフラップ(またはリーフ)を備える。フラップの開閉によって、空気がバルブを横切って流れることが可能になり、したがってフラップバルブが配置される通路内の気流を調節できるようになる。したがって、動作の際には、フラップバルブのフラップ部分は1つの方向の気流を別の方向よりも多く選択的に遮蔽できる。
PEEP(呼気終末陽圧)用に構成されたバルブは、本明細書に説明される任意のデバイスと共に使用することもできる。たとえば、バルブは、それを横切る圧力が、呼気の間に開くための閾値圧力未満である場合に、呼気の間にバルブが閉じられるが、呼気の間に開くための閾値圧力をバルブが超える場合に、呼気の間にバルブが開くように、呼気の間に開くための非ゼロ閾値圧力を有するように構成できる。
いくつかの変形形態では、粘着性の呼吸デバイスに使用する気流抵抗器は、フラップバルブおよびフラップバルブの移動を制限するフラップバルブ・リミッタを備える。たとえば、フラップバルブは吸気の間の(第1の方向の)気流に関する開口を形成するために曲げるまたは撓むことができる可撓性を有する材料(たとえばシリコーンなど)であることができる。フラップバルブは、フラップバルブ・リミッタによって(第2の方向の)呼気の間の気流に対して開くことを防止できる。したがって、フラップバルブ・リミッタは、フラップバルブが第2の方向に開くことを制限する(バー、柱、メッシュなどの)フラップバルブ係合面を有する構造であることができる。いくつかの変形形態では、フラップバルブ・リミッタは、フラップに連結されたテザーまたはヒンジであり、所定の位置を越えて実質的に延びることを防止する。その他のフラップバルブ・リミッタは、空気が通路を通って1つの方向に流れる場合にバルブが崩壊するのを防止するバルブ支持部(たとえばクロスバー)などとして構成できる。気流リミッタは、バルブが「閉じられた」場合にフラップが着座または当接できるバルブシール領域(たとえば縁部または稜部などの)バルブシール領域も備えることができる。
上記に示したように、1つまたは複数のリーク経路を粘着性の呼吸デバイスの一部分として含むことができる。リーク経路は一般に、バルブが閉じている場合にも通路を通って空気が流れることができるようにする。したがって、最小限の基底レベルの気流が、気流抵抗器の状態に関わらず通路を通ることが可能になる。いくつかの変形形態では、リーク経路は穴または非遮蔽通路である。リーク経路は、鼻呼吸デバイスの任意の領域の一部分であることができる。たとえば、リーク経路は気流抵抗器の一部分、保持具の一部分、(またはその組合せ)であることができる。いくつかの実施形態では、リーク経路は、(たとえばフラップバルブのリーフレットの間などの)デバイスの様々な構成要素の完全な密封または当接が意図的に欠けるようにすることから生じる。鼻呼吸デバイスは、複数のリーク経路を有するように構成できる。
フラップバルブのフラップは、可撓性を有する材料、またはヒンジ式の硬い材料から作製できる。いくつかの変形形態では、フラップは開口を横切って適合するように形作られ、フラップが閉じた場合に開口を通る気流を少なくとも部分的に遮蔽する可撓性を有する材料の薄いシートを備える。フラップは、1つまたは複数のリーク経路を通る気流を遮蔽しないように形作ることができる。
図2Aから図4は、フラップバルブの別の変形形態である。いくつかの変形形態では、フラップバルブ(またはバルブ)は、バルブ材料の複数のスロットまたは開口から形成される。したがって、フラップバルブは、切断されて異なるフラップまたはリーフを形成する材料の層から形成できる。フラップバルブは、任意の適切な形状であることができる。たとえば、図2Aは、2つのH字形のパターンを使用してバブル層を切断することによって形成される(2つのバルブ開口を形成する)4つのバルブリーフレットを有するフラップバルブを示す。同様に、図2Bは、バルブを7つの個々のフラップに切断することによって形成される複数の個別のリーフレットを有するフラップバルブを示す。それぞれのリーフレットは、曲がってフラップを開くネック領域を有する。フラップバルブは、(たとえば正方形の波型を有する図2Cに示されるような)不規則な形状の切り込みから形成できる。図2D〜2Gは、平行な層から形成されたフラップバルブを示す。側面斜視図が図2Dに示され、そこではフラップリーフレットが部分的に開いている。図2Eはこのフラップバルブの上面図を示す。図2Fおよび2Gは、フラップバルブのこの変形形態を通る気流パターンを示す。図2Fでは、図示されるように開いたバルブを通って空気が流れることができる。気流からの圧力がバルブリーフレットを開き、それを開いたままにすることができる。図2Gでは、図2Fに示されるバルブリーフレットが閉じられ、空気はバルブリーフレットを通ってほとんど、または全く流れることができない。この例では、バルブが閉じた場合に密封が形成できるように、バルブリーフレットはバルブ層の隣接するバルブリーフレットと重なる。したがって、図2Gでは、下方へ流れる気流がバルブを閉じたままにできる。
図3Aおよび3Bでは、フラップリーフレットとフラップバルブ301を形成する層の残りの部分との間に空間がある。したがって、フラップリーフレットが閉じても、フラップリーフレットの間の空間がリーク経路を形成でき、デバイスの気流の通過を可能にする。いくつかの変形形態では、フラップバルブは図3Cおよび3Dに示されるように、単一の点から開く。これらの例では、フラップバルブのフラップリーフレットは単一の点から放射状パターンに切断することで形成され、パイ形状のリーフレットになる。バルブはパイ形状の楔を曲げ戻して、単一の中央の開口を形成することによって開くことができる。この変形形態は、中心点から開くバルブリーフレットが、鼻または鼻の開口の壁と干渉せずにより高い信頼性で開くことができるので有用である可能性がある。同様に、図3Eに示されるフラップバルブは、外側に多くの点から開くリーフレットを有する。図3Fおよび3Gに示されるフラップバルブは、フラップバルブ層の長軸に沿って開き、図3Hに示されるフラップバルブの縁部は中心点に向かって開く。
フラップバルブの形状は、気流抵抗器に関する(呼気および吸気の両方に対する)抵抗を決定するのを補助できる。たとえば、図4の表は、左のコラムに示されるようなフラップバルブを有する気流抵抗器の(cmHOでの)例示の吸気抵抗および呼気抵抗を示す。この例では気流抵抗器は、フラップバルブおよびフラップバルブが(たとえば、この例でページから上方向に吸気を表す)1つの方向のみ開くことを可能にする、隣接するフラップバルブ・リミッタの両方を備える。気流抵抗器のジオメータ、リーク経路の寸法および位置、フラップバルブが作られる材料を含む他の要因も、吸気抵抗および呼気抵抗に影響を与える可能性がある。
したがって、フラップバルブ(特にフラップ領域)は、前述のものを含む任意の適切な材料を備えることができる。たとえば、フラップは高分子材料、ゴム(天然および合成)、紙、布地などを含むことができる。たとえば、使用できる材料には、ラテックス、ポリエチレン、ポリプロピレン、ポリスチレン、ポリ塩化ビニル、ポリ塩化ビニリデン、ポリ酢酸ビニル、ポリアクリレート、スチレン−ブタジエンコポリマー、塩素化ポリエチレン、ポリフッ化ビニリデン、エチレン酢酸ビニルコポリマー、エチレン−ビニルアセテート−ビニルクロライド−アクリレートコポリマー(ethylene−vinyl acetate−vinyl chloride−acrylate copolymer)、エチレン−ビニルアセテート−アクリレートコポリマー(ethylene−vinyl acetate−acrylate copolymer)、エチレン−ビニルアセテート−ビニルクロライドコポリマー(ethylene−vinyl acetate−vinyl chloride copolymer)、ナイロン、アクリロニトリル−ブタジエンコポリマー、ポリアクリロニトリル、ポリ酢酸ビニル、ポリクロロプレン、ポリブタジエン、熱可塑性ポリアミド、ポリアセタール、ポリフェニレンサルファイド、ポリカーボネート、熱可塑性ポリウレタン、熱可塑性樹脂、熱硬化性樹脂、天然ゴム、合成ゴム(クロロプレンゴム、スチレンブタジエンゴム、ニトリル−ブタジエンゴム、およびエチレン−プロピレン−ジエンターポリマーコポリマー、シリコーンゴム、フッ素ゴム、およびアクリルゴムなど)、エラストマ(軟質ウレタン、水発泡ポリウレタン(water−blown polyurethane)など)および熱硬化性樹脂(硬質ウレタン、フェノール樹脂、およびメラミン樹脂)、ならびにポリエーテルブロックアミド(たとえばPEBAX(登録商標))などの射出成形可能な材料などが含まれる。
フラップバルブを含む気流抵抗器が、層状の気流抵抗器として形成できる。さらに、フラップバルブ層が適切な様式で形成できる。たとえば、フラップバルブは切断、成形、または他の方法で材料の層からフラップバルブリーフレット(または複数のフラップバルブリーフレット)を形成することによって形作ることができる。1つの変形形態では、材料の層(たとえばシリコーン、ポリウレタンなど)が打ち抜かれて、フラップバルブ層の一部分としてフラップバルブリーフレットを形成する。レーザー切断、ジェット切断などを含むその他の切断の方法を使用して、バルブまたは各バルブリーフレットが形成されてよい。いくつかの変形形態では、フラップバルブは成形によって形成される。たとえば、フラップバルブは熱成形、射出成形などによって形成できる。いくつかの変形形態では、フラップはシリコーンまたは熱可塑性ウレタンから作製される。たとえば、フラップはシリコーンの薄く、かつ可撓性を有する片であることができる。このフラップは、(たとえば開いた位置および閉じた位置から移動するなど)可撓性を有することができる任意の適切な厚さであることができる。たとえば、フラップは0.00254ミリメートル(0.0001インチ)と2.54ミリメートル(0.1インチ)の厚さの間のシリコーンを備えることができる。いくつかの実施形態では、シリコーンはおよそ0.0508ミリメートル(0.002インチ)の厚さである。
フラップバルブが可撓性を有する材料から作製される変形形態では、フラップバルブの動作を調節するために気流抵抗器の一部分としてフラップバルブ・リミッタを備えることが特に有利である可能性がある。上記に説明したように、フラップバルブ・リミッタは一般に、フラップバルブの動作の範囲を限定する通気性構造であり、それが少なくとも1つの方向に開くことを防止する(またはそれを部分的に開くように制限する)。たとえば、フラップバルブ・リミッタは、メッシュ、格子、バー、ペグ、または空気の通過を実質的に阻止しないが、少なくとも1つの方向への1つまたは複数のフラップバルブリーフレットの移動を制限できる他の構造であることができる。図5Aは、その上に示されるフラップバルブ503と共に使用できるフラップバルブ・リミッタ501の2つの例を示す。この例では、図示されるフラップバルブ・リミッタ501は、フラップバルブ着座表面(図示される表面)を有する打抜きプラスチック片であり、その上にフラップバルブのリーフレットが載ることができる。図5Bおよび5Cは、フラップバルブおよび保持具層を貫通する開口に組み込まれた(気流抵抗器を形成する)フラップバルブ・リミッタ・アセンブリの同様の変形形態を示す。
フラップバルブ・リミッタは、任意の適切な様式で形成でき、成形(たとえば射出成形)、切断(たとえば型抜き、打抜き、レーザー切断など)、または熱硬化を含む任意の適切な様式で形成できる。いくつかの変形形態では、フラップバルブ・リミッタはメッシュから形成されるフラップバルブ層である。したがって、フラップバルブ・リミッタは切断、成形などによって形成できる。たとえば、フラップバルブ・リミッタはメッシュ材料を切断することによって形成できる。吸気(図6A)および呼気(図6B)の両方の間のフラップバルブおよびフラップバルブ・リミッタを有する気流抵抗器のその他の例が、図6Aおよび6Bに示される。図6Aでは、フラップバルブはそれを通って空気が流れることを可能にするために開かれ、図6B(呼気)では、フラップリーフレットが閉じられ、フラップバルブ・リミッタに載っている。したがって、気流抵抗器を通る気流は、呼気の間に中央のリーク経路601に限定される。中央のリーク経路501は、フラップバルブおよびリミッタを通る穴である。図7A、および7Bは、上記に手短に述べられたようにバルブリーフレット701の間の空間によって形成されたリーク経路を有する別の気流抵抗器を示す。図7Aは、フラップバルブおよび(たとえば吸気の間に)開いたフラップバルブ抵抗器を有する気流抵抗器を示す。図7Bは、呼気の間の同じ気流抵抗器の反対側面を示す。バルブリーフレットは図7Bで閉じているが、(フラップバルブ・リミッタのストラットに対してリーフレットを押す)呼気からの空気圧がリーク経路701を形成する。図8A〜8Dもこれを示す。これらの例では、フラップバルブ・リミッタはバルブリーフレットをその中心で支持することによってフラップバルブの移動を制限する。その他の変形形態では、バルブリーフレットは(たとえばフラップバルブ・リミッタがメッシュである場合に)表面全体に沿って、またはその縁部に支持できる。
図7A〜8Dに示されるフラップバルブおよびフラップバルブ・リミッタは4つのバルブリーフレットを有するように構成されるが、任意の適切な数のフラップまたはリーフレットが上記に示したように使用できる。図8Eおよび8Fは、6つのパイカットされたバルブリーフレットを有する気流抵抗器、およびそれと共に使用できるフラップバルブ・リミッタの例を示す。図8Gは、メッシュ領域およびストラット領域の両方を備えるフラップバルブ・リミッタの別の変形形態を示す。6−リーフフラップバルブと共に使用できる別のフラップバルブ・リミッタが図9Aに示され、図9Bおよび9Cは動作の際の6−リーフフラップバルブを示す。
図10Aは、メッシュ・フラップバルブ・リミッタ1010を示す。この例では、フラップバルブ・リミッタ1010が中央領域を通る穴1011を備える。この中央の穴は、図示されるようにリーク経路を形成できる。任意の適切なメッシュが使用できる。たとえば、メッシュはナイロンまたはその他の繊維状材料から形成できる。上記に手短に示されたように、バルブリーフレットは任意の適切な通気性の材料または形状で作ることができる。いくつかの変形形態では、可撓性を有する(たとえばナイロンメッシュなどの)材料を含むことが有益である可能性がある。いくつかの変形形態では、比較的硬い材料を使用することが有益である可能性がある。例示のメッシュには、(たとえば0.3556mm(0.0140’’)の厚さの)成形ポリプロピレン・プラスチックメッシュ、精密織のナイロンメッシュ(25.4ミリメートル(1インチ)当たり31.2開口×25.4ミリメートル(1インチ)当たり31.2開口)、精密織のナイロンメッシュ(80×80)、精密織のポリプロピレンメッシュ(69×69)、フィルタメッシュ、精密織のナイロンメッシュ(198×198)、PTFEダイアモンドメッシュ、精密織りのポリエステルメッシュ(109×109)、精密織りのポリエステルメッシュ(45.7×45.7)を含むことができる。
いくつかの変形形態では、フラップバルブまたはフラップバルブ・リミッタ(あるいは両方)が2つの層(たとえばフラップリーフレットが互いに貼り付きかつ/またはフラップバルブ・リミッタに貼り付くことを防止するために)2つの層の間の摩擦を増加または低下させるための材料によって被覆される。気流抵抗器のいくつかの変形形態では、(フラップバルブを形成する)フラップ層が上記に図5A〜9Cに示されるようにフラップバルブ・リミッタを形成する層に直接的に隣接して配置される。しかし、フラップバルブ層および気流抵抗器層は、直接的に隣接することはできない。たとえば、中間層があることができる。
図10B〜10Eは、4つのリーフレットを有するフラップバルブ層の動作を制限するストラットおよび部分的なストラットとして構成されたフラップバルブ・リミッタを示す。図10Bでは、フラップバルブ層の4つのフラップバルブリーフレット、およびフラップバルブによって調節された開口の中心に集まる4つのストラットを有し、2つの完全なクロスバーまたはクロスストラットを形成する、隣接する層のフラップバルブ・リミッタ層を有する層状の気流抵抗器の1つの変形形態が示される。フラップバルブ制限層を形成するストラットは、フラップバルブをほぼ各リーフレットの中心で支持する。図10Cから10Eでは、ストラットは次第に長さが短くなる部分的なストラットである。各ストラットの長さが短くなるほど、通常であれば閉じるフラップバルブを通る可能なリークがより多くなる。この効果は、図10Fで理解できる。図10Fでは、異なる流量での背圧が、異なる部分的なストラットを含む、異なるフラップバルブ・リミッタの変形形態に関してグラフによって例証される。各曲線に対応するフラップバルブ・リミッタが、グラフの右側に示される。グラフ上でボックスで囲まれた領域によって示される目標範囲が、(たとえば一般にバルブが閉じた場合の呼気の間などの)1つの可能な目標範囲である。さらに、本明細書に示される気流抵抗器は、単一のフラップバルブ層を示す。いくつかの変形形態では、気流抵抗器は複式フラップバルブ層を有することができる。たとえば、気流抵抗器は、フラップバルブリーフレットの重なる層を含むことができる。複数の層のフラップバルブ・リミッタも使用できる。これらの層のそれぞれは、(たとえばいくつかのリーフレットなど)異なる形状であることができる。上記に示したように、フラップバルブのリーフレットは、閉じた場合にも重なることができる。したがって、単一のフラップバルブ層が、連結できる(たとえばシリコーンなどの)異なる基材から形成できる。上記に説明した例は、ほとんどがフラップバルブおよびフラップバルブ・リミッタの層を示すが、気流抵抗器(さらには気流抵抗器層)は必ずしも層によって形成されない。
気流抵抗器は、フラップバルブが少なくとも1つの方向(たとえば、吸気)に自由に開き、第2の方向(たとえば、呼気)には抑制されるように組み立てることができる。図11Aは、粘着性の鼻デバイスの一部分として組み立てられた気流抵抗器の側断面図を示す。さらなる例が下記に提供される。図11Aでは、フラップバルブ層1101が、フラップバルブ・リミッタ1103に直接的に隣接して層をなしている。これらの構成要素は、上方基材1105と下方基材1107の間の定位置に固定される。これらは、定位置に、圧縮、溶接、熱かしめなどによって(たとえば粘着性保持具の粘着性の基材領域を使用することによって)粘着剤を含む任意の適切な様式で固定できる。図11Bは、図11Aのフラップバルブ層1101の上面図を示す。この例では、フラップバルブ層は、フラップバルブを定位置に固定するのを補助するために使用できる1つまたは複数の取り付け領域1109を含む。たとえば、フラップバルブ層を固定するために粘着剤が使用される場合、取付け領域(開口1109)は、フラップバルブ層の上下の層(たとえば基材層1107およびフラップバルブ・リミッタ1105など)の取付けを可能にでき、層を定位置に固定するのを助ける。これは、フラップバルブ層が、通常であればそこに接着することが困難なシリコーンなどの材料から作製される場合に特に有用であることができる。
上記に示したように、本明細書に説明される任意のデバイスは、1つまたは複数の位置合わせガイドを備えることもできる。たとえば、位置合わせガイドは、(たとえば鏡で)デバイスを位置合わせするために対象者が見ることができる視覚的な位置合わせガイドを備えることができる。たとえば、デバイスを片方または両方の鼻と位置合わせするのを補助するために、デバイスは形状、文字、または色によってマーキングすることができる。1つの変形形態では、気流抵抗器に対する開口は、対象者の鼻と位置合わせできる円によってマーキングされる。いくつかの変形形態では、デバイスの少なくとも1つの領域が透明または不透明であることができ、鼻の開口の少なくとも一部分がデバイスを通して見ることができるようになる。いくつかの変形形態では、位置合わせガイドが触覚的な位置合わせガイドである。触覚的な位置合わせガイドは、対象者(たとえば対象者の指および/または鼻)によって触感できる。たとえば、位置合わせガイドは、リング、稜、隆起、柱などであることができる。いくつかの変形形態では、位置合わせガイドはデバイスが装着された場合に対象者の鼻に少なくとも部分的に延びる。たとえば、位置合わせガイドは、円錐または円錐形領域であることができる。
図12Aから12Dは、使用できる、異なる位置合わせガイドを示す。たとえば、図12Aおよび12Bでは、位置合わせガイドは、気流抵抗器を取り囲み、少なくとも部分的に対象者の鼻孔に挿入できる円錐またはリングである。図12Cでは、位置合わせガイドは、気流抵抗器を少なくとも部分的に囲み、基材(たとえば保持具基材)から形成される稜部または縁部である。図12Dは、ガイドがデバイスの表面から突出する柱1201から作製される位置合わせガイドの別の変形形態を示す。図13は、フラップバルブおよびフラップバルブ・リミッタの形状が位置合わせガイドとして機能する、気流抵抗器の別の変形形態を示す。この例では、フラップバルブ・リミッタは(平坦ではなく)意図的に剛体のメッシュであり、したがってデバイスを着用した場合に対象者によって触感できる。したがって、使用できる位置合わせガイドの1つの変形形態は、フラップバルブ・リミッタに組み込まれる窪みまたはドームである。たとえば、フラップバルブ・リミッタがプラスチックのメッシュから形成される場合、窪みはデバイスの製造中に熱成形できる。この変形形態では、フラップバルブは、なお第1の方向に自由に開くことが可能である(抵抗があってもほんのわずかしか生じず)が、第2の方向に開く(または完全に開く)ことが抑制される(抵抗を生じる)。本明細書に示したように、位置合わせガイドは、バルブを保護するのも助けることができる。たとえば、位置合わせガイドは、デバイスのその他の部分によって、または対象者の鼻、鼻毛、「鼻くそ」、粘液などによって(たとえばフラップバルブのフラップまたはリーフなどの)バルブの可動部分と干渉するのを防止できる。
図14Aおよび14Bは、粘着性の呼吸デバイスの一部分として含まれる別の触覚的な位置合わせガイドを示す。図14Aは、気流抵抗器領域の周囲にリングを有する粘着性の呼吸デバイスを貫通する断面を示す。このリングは、図14Bの分解図に概略的に示されるようにデバイスの組み立て中に備えられるワイヤから形成できる。
図15は、図12Aおよび12Bに示される円錐形の位置合わせガイドと同様の別の位置合わせガイドの斜視図である。図13では、位置合わせガイドは、図示される切取り領域のために、いくぶん可撓性を有している。円錐形の位置合わせガイドが、Doshi等の2007年3月7日に出願の「NASAL DEVICES」という名称の米国仮特許出願に記載され、前記に参照によって組み込まれた粘着性の鼻デバイスのリム本体領域と同様であることができる。リム本体領域と同様に、本明細書に説明される位置合わせガイドは、対象者の片方または両方の鼻孔内に突出でき、鼻孔を開いたままにするのを補助し、同時に粘着性の鼻デバイスを開口と位置合わせしたままにすることができる。
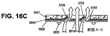
図16Aから16Dは、本明細書に説明される粘着性の鼻デバイスの1つの実施形態を示す。この例示のデバイスの分解図が図16Aに示される。この変形形態は、いびきの治療に特に優れて適している可能性があり、使用者によっていつでも、特に睡眠の前に着用できる。図16Aでは、粘着性の鼻デバイスは、(粘着剤を有する)粘着性基材3602、粘着剤の上に適合する保護カバー3601、(バルブ層から形成された複式フラップバルブを有する)気流抵抗器層3604、およびプラスチックメッシュ層から少なくとも部分的に作製されたフラップバルブ・リミッタ3608を備える。バルブリミッタは、(バルブリミッタ層に形成または取り付けられた)熱成形された配置リング3620を備える。
図16Aに示されるデバイスは、単一の鼻孔の粘着性の鼻デバイスである。この変形形態での気流抵抗器層3604は、複式フラップバルブを備える。いくつかの変形形態では、この気流抵抗器は1つまたは複数のフラップバルブに切断されるシリコーン材料を備える。図16Aでは、気流抵抗器はシリコーンの同じ片から切断されることによって並行または任意の別の向きに配置された複数の複式フラップ3612を備える。この気流抵抗器(フラップ層3604)は、粘着性保持具層3602とフラップバルブ・リミッタ3608の間に固定される。粘着層は、片側または両側で粘着性を有する発泡材料から作製できる。粘着性保持具層が両側で粘着性を有する場合、それは気流抵抗器を粘着性保持具層とフラップバルブ・リミッタ3608の間に固定するのに使用できる。気流抵抗器層3604の外周がフラップバルブ・リミッタ層3608の外周よりも小さいが、気流抵抗器層3602の内周よりも大きい。したがって、気流抵抗器層は、フラップバルブ・リミッタ3608に対して粘着性保持具3602上の粘着剤によって保持でき、粘着性保持具層3602は同様に、粘着剤によってフラップバルブ・リミッタ3608に固定できる。付加的な取付け(たとえば溶接、クリップなど)を使用して、デバイスの構成要素を共に固定することもできる。
図16Bは、図16Aに示されるデバイスと同様の組立てられた鼻デバイスの斜視図を示す。図16Bでは、発泡体の粘着性保持具層3602がフラップバルブ・リミッタ層3608と結合され、その間に気流抵抗器層3604を固定する場合に形成される中央の通路開口3705を露出させるために、保護カバー3601が部分的に再び剥がされている。したがって、この通路の開口で自由に動く気流抵抗器層3604に形成されたフラップバルブは、空気がフラップバルブ・リミッタ層3608のプラスチックメッシュを通過した後に中央の通路を通って流れることが可能になるように開くことができる。
図16Aおよび16Bに示される粘着性の鼻デバイスは、前述のようにタブまたは把持部領域3616も備える。さらに、気流抵抗器層3604は、気流抵抗器層のフラップバルブがメッシュに対して「閉じて」保たれる場合にも空気が通過できるようにする(図16Aに穴3614として示される)少なくとも1つのリーク経路3614を備えることができる。いくつかの実施形態では、独立のリーク経路が存在しなくてもよい。
図16Cおよび16Dは、それぞれ吸気および呼気の間の、デバイスが対象者によって着用された場合の図16Bのデバイスを通る気流を示す。図16Cおよび16Dは両方とも、線A−A’に沿った図16Bのデバイスを通る断面を示す。たとえば、図16Cでは、上方を示す大きな矢印は、デバイスが対象者の鼻の上に着用された場合の気流を示す。気流は、吸気の間に鼻の外側から粘着性の鼻呼吸デバイスを通過し、鼻の通路に入る。中央の矢印は、リーク経路3614を通る気流を示し、その一方で左右の矢印は、気流抵抗器(平行フラップバルブ3705)が吸気の間に開く場合の気流を示す。フラップバルブ3705は、デバイス3709を通って形成される通路内に上方に開き、空気が気流抵抗器を通り、同時にリーク経路を流れることができるようにする。
呼気の間に(図16Dに示されるように)、気流抵抗器3705のフラップバルブが、フラップバルブ制限層3608のメッシュにより、(リーク経路を通る空気の通路を示す大きな矢印によって示される)呼気の方向に開くことが阻止される。したがって、気流抵抗器は閉じたままになり、デバイスを通る気流のみが示されるようにリーク経路を通過する。いくつかの実施形態では、複式フラップ3612は、呼気の際に完全に密封できず、この密封が欠けることにより、意図的にリーク経路が形成できる。別の実施形態では、フラップの部分を所望のリーク経路を形成するために除去できる(またはたとえばそれらにノッチを付けることができる)。前述のように、気流抵抗器および/または位置合わせガイドは任意の適切な材料から作製できる。例示の材料は、金属、プラスチック、ゴム、セラミック、木材、クロム、またはその組合せを含むことができる。その他の材料は、アクリル、ラテックス、ポリエチレン、ポリプロピレン、ポリスチレン、ポリ塩化ビニル、ポリ塩化ビニリデン、ポリ酢酸ビニル、ポリアクリレート、スチレン−ブタジエンコポリマー、塩素化ポリエチレン、ポリフッ化ビニリデン、エチレン酢酸ビニルコポリマー、エチレン−ビニルアセテート−ビニルクロライド−アクリレートコポリマー、エチレン−ビニルアセテート−アクリレートコポリマー、エチレン−ビニルアセテート−ビニルクロライドコポリマー、ナイロン、アクリロニトリル−ブタジエンコポリマー、ポリアクリロニトリル、ポリ酢酸ビニル、ポリクロロプレン、ポリブタジエン、熱可塑性ポリアミド、ポリアセタール、ポリフェニレンサルファイド、ポリカーボネート、熱可塑性ポリウレタン、熱可塑性樹脂、熱硬化性樹脂、天然ゴム、合成ゴム(クロロプレンゴム、スチレンブタジエンゴム、ニトリル−ブタジエンゴム、およびエチレン−プロピレン−ジエンターポリマーコポリマー、シリコーンゴム、フッ素ゴム、およびアクリルゴムなど)、エラストマ(軟質ウレタン、水発泡ポリウレタンなど)および熱硬化性樹脂(硬質ウレタン、フェノール樹脂、およびメラミン樹脂)を含むことができる。
特に使用者に接触する可能性があるデバイスの部分に生体適合性の材料を使用することができる。上記に説明したいくつかの材料に加えて、生体適合性の材料は、生体適合性のポリマーおよび/またはエラストマも含むことができる。適切な生体適合性のポリマーは、酢酸ビニル(エチレン酢酸ビニルコポリマーおよびポリ塩化ビニルコポリマーなど)のホモポリマーおよびコポリマー、アクリレート(ポリプロピレン、ポリメチルメタクリレート、ポリエチルメタクリレート、ポリメタクリレート(polymethacrylate)、ジメタクリル酸エチレングリコール、ジメタクリル酸エチレン、およびヒドロキシメチルメタクリレート(hydroxymethyl methacrylate)など)のホモポリマーおよびコポリマー、ポリビニルピロリドン、2−ピロリドン、ポリアクロニトリルブタジエン(polyacrylonitrile butadiene)、ポリアミド、フッ化ポリマー(ポリテトラフルオロエチレン、およびポリフッ化ビニルなど)、スチレンアクリロニトリルのホモポリマーおよびコポリマー、酢酸セルロース、アクリロニトリルブタジエンスチレンのホモポリマーおよびコポリマー、ポリメチルペンテン(polymethylpentene)、ポリサルフォン、ポリイミド、ポリイソブチレン、ポリメチルスチレン(polymethylstyrene)、および当業者に知られた他の同様の化合物などの材料を含むことができる。テフロン(登録商標)、マイラー(登録商標)、PFA、LDPE、Hytrel、HDPEおよびポリエステルも、デバイスの任意の構成要素に用途を見出すことができる。
生体適合性の、および/または殺菌可能な材料も好ましいが、たとえばアクリロニトリルブタジエンスチレン(ABS)、ラテックス、ポリプロピレン、ポリカーボネート、およびポリエーテルエーテルケトンなどの医療グレードのプラスチックも好ましい可能性がある。前述の材料は、例示として意図されるに過ぎない。
図17は、気流抵抗器の構成要素の異なる変形形態から形成できる粘着性の鼻デバイスのいくつかの変形形態を示すマトリクスである。たとえば、任意のフラップバルブの形状(たとえば「S−曲線」、「魚鱗」、「パイスライス」など)が、単一の鼻孔、橋渡しした鼻孔、または両方の鼻孔形状、任意の位置合わせ方法(たとえば視覚的なアライナ、触覚など)、および任意のフラップバルブ・リミッタ(たとえばメッシュ、フルメッシュ、ローカルメッシュ、ストラットなど)で使用できる。
粘着性保持具
本明細書に説明される粘着性の鼻デバイスは、デバイスを鼻腔と連通して固定する粘着性保持具も備えることができる。粘着性保持具は、対象者の身体(たとえば皮膚および/または鼻腔など)に対して使用するのに適した1つまたは複数の粘着性の表面を備えることができる。したがって、粘着性保持具は生体適合性の粘着剤を含むことができる。粘着性保持具は、鼻孔の上、部分的にその上、部分的にその内側、またはその内側(たとえば実質的に内側)などの対象者の鼻に対して所望の位置にデバイスを配置および固定するのを促進できる。粘着性保持具は、デバイスを対象者の鼻、鼻の通路、または鼻孔を含む鼻腔、ネアリ(nares)、または鼻のチャンバ(nasal chambers)、ライメン(limen)、前庭、大鼻翼軟骨、翼状の繊維脂肪組織(afar fibrofatty tissue)、外側鼻軟骨、鼻堤、鼻腔の底面、鼻介骨、凹所(前額、篩骨、蝶形骨、上顎骨)、および鼻中隔に固定するように構成できる。用語[鼻腔]はネーサルフォッサ(Nasal Fossa)(たとえば単一の鼻孔、ネアリ、または鼻のチャンバなど)の任意の小領域を指すことができ、上記に列挙した任意の解剖学的用語を含み、またはそれらによって定義される。
全体的に、粘着性保持具は、(たとえば鼻の開口または鼻孔を囲む皮膚など)鼻の外側に大部分が装着されるように構成される。いくつかの変形では、患者の外部と鼻孔の間で交換される空気の少なくとも一部分が呼吸デバイスを通過しなければならないように、保持具は呼吸デバイスと鼻の間に密封を形成することもできる。いくつかの変形では、保持具は、鼻孔(または複数の鼻孔)を通る全ての空気がデバイスを通って交換されなければならないように、デバイスを鼻と完全に連通して密封する。いくつかの変形では、患者と外部の環境との間で交換される空気のほんの一部分がデバイスを通過するように、保持具の密封は不完全である。本明細書では、「空気」は患者の外部の環境からの空気であることができ、または(たとえば純酸素または混合された酸素、CO、ヘリオックス、または使用者に供給される他のガス混合物などの)任意の呼吸ガスであることができる。
粘着性保持具は、比較的不規則な形状である可能性があり、毛などを含む可能性のある対象者の皮膚の表面と一致するように、可撓性を有することができる。いくつかの変形形態では、粘着性保持具は水蒸気、液体の水、汗、および/または油の通過を可能にする材料から作製され、それは快適さを向上させることができる。粘着性保持具は、対象者の鼻の領域への接合を向上させるために織地状またはパターン化されたレリーフ面を有することもできる。
粘着性保持具は、複数の層から作製できる。したがって、粘着性保持具は層状の保持具(または層状の粘着性保持具)と呼ぶことができる。たとえば、粘着性保持具は、生体適合性の粘着剤が塗布される基材層を含むことができる。基材は、一般に可撓性を有する平坦な(大部分が両面の)材料である。粘着剤は、基材の少なくとも1つの表面に存在することができ、基材が対象者の鼻の領域に粘着できるようにする。いくつかの変形形態では、基材層は粘着剤を付け加える必要がなく、それ自体が粘着性である。追加の保護カバーを粘着層の粘着剤に除去可能に取り付けることもできる。保護カバーは、デバイスを指または体の他の部分に間違って粘着させることなく、デバイス(特に粘着性保持具)を操作できるようにし、それは粘着剤の汚染も防止できる。ライナは、剥がし取り、またはその他の方式で粘着剤を露出させるために除去できる除去可能な紙または他のフィルムであることができる。いくつかの変形形態では、粘着性保持具の粘着剤は活性化可能である。たとえば、粘着剤は、(水、空気、光などの)アクチベータ(activator)に曝された後にのみ「粘着性を有するように」なる。いくつかの変形形態では、粘着剤は、デバイスが装着されるより先に、まず液体の形で鼻に装着できる。
いくつかの変形形態では、保護カバーが使用されない。既に示したように、いくつかの変形形態では、基材が粘着性材料または活性化して粘着剤になることができる材料を含むように、基材および粘着剤は単一の層である。粘着性保持具は、任意の適切な材料を含むことができる。たとえば、粘着性基材は、シリコーン、ポリエチレン、またはポリエチレン発泡体などの生体適合性の材料であることができる。他の適切な生体適合性の材料には、生体適合性のポリマーおよび/またはエラストマなどの前述の材料のうちのいくつかを含むことができる。適切な生体適合性のポリマーは、酢酸ビニル(エチレン酢酸ビニルコポリマーおよびポリ塩化ビニルコポリマーなど)のホモポリマーおよびコポリマー、アクリレート(ポリプロピレン、ポリメチルメタクリレート、ポリエチルメタクリレート、ポリメタクリレート、ジメタクリル酸エチレングリコール、ジメタクリル酸エチレン、ヒドロキシメチルメタクリレートなど)のホモポリマーおよびコポリマー、ポリビニルピロリドン、2−ピロリドン、ポリアクリロニトリルブタジエン、ポリアミド、フッ化ポリマー(ポリテトラフルオロエチレン、およびポリフッ化ビニルなど)、スチレンアクリロニトリルのホモポリマーおよびコポリマー、酢酸セルロース、アクリロニトリルブタジエンスチレンのホモポリマーおよびコポリマー、ポリメチルペンテン、ポリサルフォン、ポリイミド、ポリイソブチレン、ポリメチルスチレン、および当業者に知られた他の同様の化合物などの材料を含むことができる。構造的には、基材は、フィルム、箔、織布、不織布、発泡体、または(たとえばポリオレフィン不繊材料、ポリウレタン織布材料、ポリエチレン発泡体、ポリウレタン発泡体、ポリウレタンフィルムなどの)組織材料であることができる。
粘着剤が基材に塗布される変形形態では、粘着剤は親水コロイドまたはアクリルなどの医療グレードの粘着剤を含むことができる。医療グレードの粘着剤は、発泡粘着剤、アクリルコポリマー粘着剤、多孔性アクリル、合成ゴムベースの粘着剤、(たとえばシリコーンゲル粘着剤などの)シリコーン粘着剤配合物、ならびに高吸収性の親水コロイドおよびヒドロゲルを含むことができる。
いくつかの変形形態では、粘着剤は構造的な粘着剤である。たとえば、粘着剤は、ファンデルワールス力に基づいて粘着できる。米国特許第7,011,723号、米国特許第6,872,439号、米国特許第6,737,160号、および米国特許第7,175,723号には、その形状および寸法が粘着力をもたらす剛毛様構造が述べられている。これらの特許は、その全体が参照によって本明細書に組み込まれる。
除去可能なライナ層が、粘着剤から解離できる任意の適切な物質から作製できる。たとえば、ライナ材料はクラフト紙(craft paper)を含むことができる。いくつかの変形形態では、ライナ材料は、ポリエチレンフィルムまたはポリエチレン被覆紙(たとえばクラフト紙(kraft paper)など)を備える。ライナは、本明細書に説明される任意の他の材料であることができる。
一般に、バンデージ(特に、バンドエイド(商標)などの使い捨てバンデージ)、オストミー装具、および傷治療製品の製造に共通して使用される材料のいずれもが、本明細書に説明される任意または全てのデバイスの構成要素に使用できる。粘着層(または粘着性保持具層)は、任意の適切な方法、特に本明細書に説明される方法で形成できる。たとえば、粘着層は、粘着性基材、生体適合性の粘着剤、および保護カバーを任意の所望の形状に切断すること(打抜き、型抜き、レーザー切断など)によって形成できる。粘着層を形成するために複数の段階が使用できる。たとえば、粘着層は、外周を切断(またはその他の方式で形成し)、次いで内部開口を切断する(またはその他の方式で形成する)ことによって形成できる。
一般に、粘着性保持具は、鼻の通路を通る気流の一部分(または大部分)が粘着性の鼻デバイスを通過しなければならないように、気流抵抗器が片方または両方の鼻の通路に対して配置できるようにする任意の適切な形状を含むことができる。いくつかの変形形態では、粘着性保持具は鼻(または鼻の通路)に取り付けられ、それと部分的または完全な密封を形成し、それによって気流をデバイスを通して鼻の通路に流入させ、または通路から流出させ、またデバイスを定位置に固定する。したがって、これらの基準を満たす多くの設計があり、その多くが下記に説明される。
全体の粘着性保持具領域が粘着剤を含むことは必要でないが、前述の図に描かれた実質的に平坦な保持具領域の多くは、皮膚に接触する表面の大部分の上に生体適合性の粘着剤を有することができる(しかし、それは後に少なくとも部分的に除去できる保護カバーによって覆うことができる)。いくつかの変形形態では、(外側の層を含む)保持具領域の一部のみが粘着剤を含む。たとえば、リム本体に隣接する領域は粘着剤を含まないことができ、またはタブまたは把持部の下の領域は粘着剤を含まなくてもよい。
いくつかの変形形態では、本明細書に説明される粘着性の鼻デバイスは寸法および形状、特に使用者の鼻の形状および寸法の多様性を有する、異なる使用者に適合するようになされる。既に説明したように、特に粘着性保持具領域を有するデバイスは、異なる鼻の形状に適合可能なように構成できる。いくつかの変形形態では、保持具領域は鼻の通路の外面の周囲に粘着するだけでなく、鼻孔内に延びることができる。たとえば、粘着性保持具は鼻孔内に突出する領域を含むことができ、鼻孔の壁に対して固定できる。いくつかの変形形態では、内側に突出する領域は、それが鼻の通路内に固定でき、かつ/または対象者の鼻孔内に突出する内側のリムベース領域(または粘着性の鼻デバイスの任意の他の部分)を緩衝することができるように圧縮可能な材料(たとえば発泡体など)を含むことができる。したがって、いくつかの変形形態では、保持具の内側に突出する部分は鼻の開口よりも小さく、必ずしも対象者の鼻の通路の側面に接触しない。
粘着性の鼻デバイスの例示の積層物
図18は、本明細書に説明される層状の鼻デバイスの5つの例示の変形形態を示す。これらの変形形態のそれぞれは、添付の図面によって下記に手短に説明される。
図19Aおよび19Bは、可撓性を有するメッシュから作製されたフラップバルブ・リミッタを備える気流抵抗器を有する層状の鼻デバイスの1つの変形形態を示す。フラップバルブ・リミッタは、局所的な可撓性を有するメッシュバルブリミッタと呼ぶことができ、それはこのメッシュ層が、(たとえばそれがフラップバルブ・リミッタの下にだけあるように)切り落とされ、粘着性保持具領域の粘着剤と同一の広がりを持たないからである。これは、図19Aに示される断面および図19Bに示される円形の詳細領域で理解することができる。図19Bの左側は、粘着性の鼻デバイスの変形形態の底面図を示す。
粘着性の鼻デバイスは(粘着性保持具を形成する)両面粘着剤の片面を保護する裏打ち層の上に順次に積層し、この粘着性保持具基材を貫通する開口を切り抜き(たとえば型抜きし)、フラップバルブが開口にまたがるように(上記に説明した任意のフラップバルブであることができるがここではシリコーンSカットフラップバルブとして示される)フラップバルブ層を装着し、(開口にまたがるフラップバルブの上に)予め切り抜かれたメッシュを装着し、挟持されたフラップバルブおよびメッシュの上に対応する開口を有する別の(片面の)粘着層を固定することによって形成できる。
図19Aおよび19Bに示される粘着性の鼻デバイスは、図19Cから19Eで対象者によって着用されて示される。図20A〜20Gは、図19Aおよび19Bに示されるような複数の粘着性の鼻デバイスを製造する1つの方法を示す。
図21Aおよび21Bは、可撓性を有するメッシュから作製されたフラップバルブ・リミッタを備える気流抵抗器を有する層状の鼻デバイスの1つの変形形態を示す。このフラップバルブ・リミッタは、このリミッタ層を形成するメッシュは切り落とされず、さらに粘着性保持具領域を通る開口より遠くに延びるので、完全に可撓性を有するメッシュと呼ぶことができる。これは、図21Aに示される断面および図21Bに示される円形の詳細領域で理解することができる。図21Bの左側は、部分的に構築された粘着性の鼻デバイスの上面図を示す。
このデバイスは(粘着性保持具を形成する)両面粘着剤の片面を保護する裏打ち層を順次に積層し、この基材を貫通する開口を切り抜き(たとえば型抜きによって)、この開口にまたがる(たとえば上記に説明した任意のバルブ、ここでは魚鱗フラップバルブとして示される)フラップバルブ層を装着し、メッシュによってフラップバルブを挟持するためにフラップバルブ層の上に切り落とされないメッシュを装着することによって形成できる。
図22A〜22Fは、図19Aおよび19Bに示されるように、複数の粘着性の鼻デバイスを製造する1つの方法を示す。
図23Aおよび23Bは、メッシュから作製され、ここでは円錐として示す位置合わせガイドを備えるフラップバルブ・リミッタを備える気流抵抗器を有する層状の鼻デバイスの別の変形形態を示す。これは、図23Aに示される断面および図23Bに示される円形の詳細領域で理解することができる。図23Bの左側は、部分的に構築された粘着性の鼻デバイスの上面図を示す。
上記のデバイスと同様に、このデバイスは(粘着性保持具を形成する)両面粘着剤の片面を保護する裏打ち層を順次に積層し、この基材を貫通する開口を切り抜き(たとえば型抜きによって)、開口に位置合わせガイド円錐を挿入し、この開口にまたがる(上記に説明した任意のフラップバルブ、ここではシリコーンの6つのパイカットフラップバルブとして示される)フラップバルブ層を装着し、開口にまたがるフラップバルブの上に予め切り落とされたメッシュを装着し、挟持されたフラップバルブおよびメッシュの上に対応する開口を有する別の(片面の)粘着層を固定することによって形成できる。
図23Aおよび23Bに示される粘着性の鼻デバイスは、図23Cおよび23Dに示され、図23Eおよび23Fで対象者によって着用されて示される。図24A〜24Fは、図23Aおよび23Bに示されるような複数の粘着性の鼻デバイスを製造する1つの方法を示す。
図25Aおよび25Bは、射出成形によって形成される予め成形されたメッシュであり、円錐の位置合わせガイドを備えるフラップバルブ・リミッタを備える気流抵抗器を有する層状の鼻デバイスの別の変形形態を示す。これは、図25Aに示される断面および図25Bに示される円形領域の詳細で理解することができる。図25Bの左側は、部分的に構築された粘着性の鼻デバイスの上面図を示す。
粘着性の鼻デバイスのこの変形形態は、(粘着性保持具を形成する)両面粘着剤の片面を保護する裏打ち層の上に順次に積層し、開口に予め成形された位置合わせガイド円錐を挿入し、(たとえば上記に説明した任意のバルブ、ここではシリコーンの6つのパイカットフラップバルブとして示される)フラップバルブ層を装着し、予め成形されたメッシュを挿入し、定位置にメッシュ、バルブ、および円錐を固定するために対応する開口を有する別の(片面の)粘着層を固定することによって形成できる。
図25Aおよび25Bに示される粘着性の鼻デバイスを組み立てる1つの可能性のある方法が、図25Cに示される。この例では、円錐(装着ガイド)、フラップバルブ、およびフラップバルブ・リミッタ(メッシュ)を超音波溶着によって製造する方法が説明される。溶着ホーンおよび溶接ジグを使用して、図示されるようにサブアセンブリを形成するためにこれらの3つの構成要素を共に超音波溶着する。次いでこのサブアセンブリは、粘着性基材(粘着性保持具)に形成された開口に挿入できる。
図26Aおよび26Bは、予め成形された(たとえば射出成形によって形成された)フラップバルブを備える気流抵抗器を有し、円錐の位置合わせガイドを備える層状の鼻デバイスの別の変形形態を示す。これは、図26Aに示される断面および図26Bに示される円形領域の詳細で理解することができる。図26Bの左側は、粘着性の鼻デバイスの上面図を示す。
粘着性の鼻デバイスのこの変形は、(粘着性保持具を形成する)両側粘着剤の片側を保護する裏打ち層に開口を切断し、予め成形されたフラップバルブおよび円錐サブアセンブリを開口に挿入し、フラップバルブ・リミッタ(メッシュ)をフラップバルブの上に装着し、定位置にメッシュ、バルブ、および円錐を固定するために気流抵抗器の周囲の対応する開口を有する別の(片面の)粘着層を固定することによって形成できる。
図26C〜26Dは、円錐およびフラップバルブを備えるサブアセンブリを射出成形する1つの方法を示す。この例では、円錐が(図26Cで)最初に射出成形され、次いでフラップバルブ層が(図26Dで)円錐内でおよそ0.0762ミリメートル(0.003インチ)の厚さに射出成形される(またはLIM成形される)。最後に、フラップバルブリーフレット部が、(図26Eで)成形されたフラップバルブ層から打ち抜かれる。図27Aから27Cは、射出成形されたフラップバルブを有するデバイスの異なる図も示す。
図28Aは、粘着性の鼻デバイスの分解図を示し、そこでは気流抵抗器が、フラップバルブを固定し、フラップバルブ・リミッタとして機能する硬い(たとえば打ち抜きまたは射出成形された)プラスチック片を備える。この気流抵抗器サブアセンブリは、粘着性の鼻デバイスを形成するために粘着性保持具の切断領域内に固定できる。図28Bおよび28Cは、それぞれこの変形形態の底面図および上面図を示す。硬いサブアセンブリは、鼻の通路を開いた状態に支えるように機能し、同時に位置合わせガイドとして作用する。
図29Aおよび29Bは、わずかに異なる層の配置を有する層状の鼻デバイスの分解図を示す。たとえば、図29Aに示される粘着性の鼻デバイスと比較して、図29Bでは、追加の粘着層がフラップバルブ・リミッタとフラップバルブの間に存在する。これらの分解図は、本明細書に説明されるデバイスの製造の一般的な方法を示す助けとなることができる。図29Cおよび29Dは、例示の層状の鼻デバイスを製造する、可能な方法を示す。
本明細書に説明されるデバイスは、バッチ式製造、または人の手によって製造できる。特に、本明細書に説明される層状のデバイスは、順次に様々なものを積層して最終的なデバイスを形成することによって製造できる。層は、切断、切落としなど、またはその他の方式でそれを変更することによって予め加工できる。バッチ生産方式は、異なる層に対応するストリップまたはシートを積層し、ストリップまたはシートが少なくとも部分的に組み立てられた後に、デバイスをそこから切断しまたは打ち抜くことによって行うことができる。図29Cおよび29Dは、層状のストリップからデバイスを製造する1つの方法を概略的に示す。たとえば、図29Cでは、デバイスを形成する層は、各層が形成された後に順次に加えることができる。粘着性保持具層2097(粘着性基材および粘着剤を備える)は、たとえば図示されるように最初に連結される連続的な環形状のストリップ2911を切断することによって形成できる。次いで層状の気流抵抗器が、フラップバルブ基材(たとえばシリコーン層)からフラップバルブリーフレット部を切断し、連結されたフラップバルブの連続的なストリップでもあるフラップバルブ層2901を形成し、フラップバルブ層をフラップバルブ制限層2903に隣接して配置することによって形成できる。次いでこの層状の気流抵抗器は、粘着性リング2905によって粘着性保持具層に取り付けることができる。層が組み立てられた後に、個々のフラップバルブは切断またはその他の方式で連結領域2911を除去することによって分離できる。製造されるデバイスがここで円錐形のアライナ2909として示されるアライナも含むことを除いて、同様のプロセスが図29Dに示される。図29Dでの層の順序は、図29Cに示される配置と異なる。図29Dでは、粘着性保持具の皮膚に接触する表面は、(ページの「上」に面して)可視であり、フラップバルブ・リミッタはフラップバルブ層と粘着性基材の間にある。図29Cでは、粘着性保持具の皮膚に接触する表面は、(ページの「下」に面して)可視でなく、フラップバルブ層はフラップバルブ制限層と粘着性保持具層の間にある。
1つの変形形態では、鼻の粘着性デバイスは、各層を形成し(ただしたとえば、粘着性保持具基材、フラップリーフレット部などは切断し)、およびフラップバルブ・リミッタの位置をフラップバルブ層に隣接して配置し、(たとえば粘着性リングを使用して)層を粘着的に固定することによって製造できる。下記の例のうちの1つに説明されるように、フラップバルブリーフレット部は粘着性基材層から形成できる。連続的な製造過程が、図30に示されるように、順次に積層される材料のローリングストリップの一部分としてデバイスを積層するステップを含むことができる。図30(1)では、開口は、両面テープ基材および除去可能な裏打ち層からなる粘着性保持具層から押し抜きまたは裁断される。ステップ(2)では、フラップバルブ材料のストリップが加えられ、フラップバルブ材料が切断されて(たとえば型抜きされて)ステップ(3)でフラップリーフレット部を形成する。メッシュが開口およびフラップバルブと整列するように、メッシュ(フラップバルブ・リミッタ)がステップ(4)で装着される。粘着性保持具の開口内で気流抵抗器を密封するために追加の粘着層がステップ(5)で装着され、ステップ(6)に示されるように、個々の粘着性の鼻デバイスがストリップから切断できる。図31は同様の製造方法を示す。その他のバッチ製造方法が、たとえば図20A〜20G、図22A〜22E、および図24A〜24Fで上記に説明した変形形態のうちのいくつかに関してこれまでに例示された。
図32A〜32Dは、層状の鼻デバイスの別の変形形態を示す。このデバイスは、多層の層状のデバイスである。図示されたデバイスは、粘着(粘着性保持具)層、通気性バリア(バルブ制限層)、およびエラストマバルブ層の3つの層を有する。これらの層は、図32Aに示される。図32Aおよび32Bは、粘着性の鼻デバイスを形成する3つの層の配置を示す。粘着層は、その上に気流抵抗器層(通気バリアおよびエラストマ)が固定される基材を形成する。前述の例のように粘着性保持具を通る開口が、メッシュのような通気層によって覆われる。この層の縁部は、(粘着層の粘着剤、または付加的な粘着剤を使用するステップを含む)任意の適切な方法によって粘着層に固定できる。エラストマ材料の2つの平行なストリップが開口にまたがる通気層に隣接して配置され、端部に(おそらく1つの側面に沿って)固定される。間隙(リーク経路を形成する)が、図32Dに示されるように2つのストリップの間に残ることができる。いくつかの変形形態では、多数のストリップを使用してバルブを形成できる(図2E〜2Gを参照されたい)。
この粘着性の鼻デバイスは、対象者が吸気するとき、バルブを形成するエラストマバンドが通気層(バルブ制限層)から離れて撓み、最小限の抵抗だけで空気が流れることを可能にするために開くように、対象者の片方または両方の鼻孔と連通して配置できる。これは図32Bに示されている。呼気の間、バルブを形成するエラストマ材料のストリップは、通気バリアから形成されるバルブ制限層によって撓むことが制限され、空気がバルブ層を形成するストリップの間のリーク経路しか通過できなくなるので呼気に対する抵抗が生じる。
図32A〜32Dに示されるデバイス、および本明細書に説明される任意のデバイスは、いびきを含む病状を治療するために使用することができ、一般に(たとえば約2cmと約20cmのHOの間、約2cmと約8cmのHOの間、または約2cmと約6cmのHOの間、または約4cmのHOなどの)呼気に対するわずかな抵抗をもたらすように対象者によって装着できる。
図33Aおよび33Bは、層状の鼻デバイスの別の例を示す。図33Aは、デバイスの正面図を示す。デバイスは、タブまたはハンドル3311の部分を備える粘着性保持具領域を備える。粘着性保持具は、(この例では)フラップバルブおよびフラップバルブ・リミッタを含む気流抵抗器領域を囲む層である。フラップバルブ・リミッタは、図33Aで層3305として可視であり、粘着性基材3307の部分も同様である。この例では、粘着性基材は、材料の薄いフィルムから形成され、気流抵抗器は分解図33Cでより容易に明らかになるように粘着性基材層に形成されるフラップバルブである。この材料の薄いフィルム(たとえばシリコーン、ポリウレタン、またはその他の薄いフィルム材料など)は非常に可撓性を有するものであり、粘着性材料を含むことができ(またはそれによって被覆でき)、粘着性保持具が対象者の鼻の領域に快適に適合することができるようにする。
図33Aのデバイスは、支持フレーム3309も備える。支持フレーム3309は、粘着性基材の薄いフィルムを支持するのを補助でき、望ましくない形で折り曲がり、または皺がよる(または違った形でその形を損なう)ことを防止する。支持フレームは粘着性基材に粘着的に取り付けることができ、それが対象者の鼻腔の上に配置された後に、デバイスから(上記に説明した保護コーティング領域と同様に)除去することができる。支持フレームを除去することにより、デバイスが対象者の鼻腔の上に合致(およびおそらく密封)可能にすることができる。支持フレームは、デバイスの一方の側面(一般に皮膚に接触しない側面)の一部分を横切って延びることができる。一般に、支持フレームは粘着性保持具領域の全体的な形状を維持するために、粘着性保持具の少なくとも3つの側面を支持するために延出できる。いくつかの変形形態では、支持フレームはデバイスの表面全体(デバイスが対象者によって着用される場合に皮膚に接触しない側面)を覆う。支持フレームは、保護カバーに関して上記に説明した材料を含む、任意の適切な材料から作製できる。支持フレームは、図33Aおよび33Cに示されるように、層として考えることもできる。支持フレームは、デバイスがおおよそ配置された場合に、(たとえばそれを剥ぎ取ることによって)デバイスからの支持フレームの除去の促進を補助するためのハンドルまたはタブ領域を備えることもできる。
図33Bは、図33Aに示すデバイスの反対側を示す。デバイスのこの側面は、一般に図33Bでは保護カバー3315、3315’の下で可視でない、粘着性保持具の粘着側面を備えるので、皮膚接触側面と呼ぶことができる。この保護カバー3315、3315’は、個別に除去することができる2つの領域を有する。保護カバー3315の第1の領域は、位置合わせガイド3313を含む気流抵抗器の周囲の粘着性保持具を覆う。第2の保護カバー3315’は、タブ(または把持部)領域3311を覆う。第1の保護カバーは、対象者にデバイスを(たとえば対象者の鼻腔と連通して)配置し、最初に取り付けるために除去することができる。次いで、第2の保護カバー3315’を除去して、さらにタブ領域を取り付けることができる。最後に、(いくつかの変形形態では)、次いで支持フレーム層を(外側に面する)反対側面から除去することができ、デバイスが上記に説明したように皮膚に完全に粘着できるようになる。
図33Cは、図33Aおよび33Bに示されるデバイスの分解図を示す。図33Cでは、個別の層を見せている。中央の層は、薄いフィルムの粘着性基材層3321である。この層もフラップバルブ層であり、中央のフラップバルブリーフレット部3323が切断されて層になる。フラップバルブ制限層3325は、フラップバルブに隣接して配置され、粘着剤3327のリングと共に定位置に固定される。支持フレーム3311が、粘着性基材層の薄いフィルムに(たとえば粘着剤を介して)固定できる。
粘着剤の層3331が、薄いフィルムの粘着性基材の反対側面に装着またはその他の方式で固定できる。いくつかの変形形態では、粘着性基材の両側面が粘着性であり(または粘着層を含み)、または薄いフィルムの粘着性基材それ自体が粘着性である。次いで位置合わせガイド3313は、気流抵抗器の周囲に取り付けることができ、粘着剤リング3337(たとえば両面粘着性リングなど)によって層状の粘着性保持具に固定できる。
使用方法
前述のように、本明細書に説明される任意の層状の粘着性デバイスは、いびきまたは他の睡眠障害の呼吸を治療するために使用できる。対象者は、デバイスを自身の鼻に装着できる。たとえば、デバイスは最初に、清浄なまたは無菌の包装から除去できる。本明細書に説明されるデバイスは、大きさを決められ(たとえば小児用/成人用、小、中、大など)またはフリーサイズであることができる。粘着性の鼻デバイスの配置は、鏡の前で行うことができ、または鏡を見ずに行うことができる。保護カバーを備える粘着性保持具を有するデバイスは、保護カバーを最初に除去し、次いで気流抵抗器(または位置合わせガイド)を(デバイスに応じて)片方または両方の鼻孔と位置合わせすることによって装着の準備をすることができる。次いで、デバイスは気流抵抗器を片方または両方の鼻孔と連通して固定するために粘着性保持具を鼻孔に押し付けることによって、鼻孔に(たとえば鼻孔の上に)装着できる。粘着性の鼻デバイスの配置の後に、使用者は、様々な方法によって粘着性保持具と鼻孔の中、鼻孔、鼻孔の上、または鼻孔の周囲の領域との間に適切な密封が形成され、または保たれるかどうか試すことができる。たとえば、呼気において、呼気がより困難になったことにより、良好な密封がデバイスとその鼻腔の間に形成されたかどうかは使用者により明白になる。同様に、デバイスは粘着性保持具を鼻孔から剥ぎ取ることによって除去できる。
粘着性の鼻デバイスは一般に、気流抵抗器が、鼻孔を通る気流が実質的に吸気によって影響されないことを可能にするが、鼻を通る呼気の気流に対する抵抗をもたらすように、各鼻孔の上に一般的に装着される。しかし、呼気の気流を阻止し、鼻を通る呼気の気流が実質的な抵抗なしに行うことができるようにするために、この配置を逆にすることが有利である可能性がある。いくつかの変形形態では、気流抵抗器は、呼気の間に片方の鼻孔だけに気流に対する抵抗があり、もう一方の鼻孔を通る吸気または呼気に対する実質的な抵抗が全くないように、片方の鼻孔のみに着用できる。1つの変形形態では、(吸気および呼気の両方に対する)固定された抵抗を有するデバイスを片方の鼻孔の上、その周囲、またはその中に着用できるが、もう一方の鼻孔は吸気抵抗がほとんどなく、かなりの呼気抵抗があるように構成された気流抵抗器と連通する。いくつかの変形形態では、デバイスは、片方の鼻孔では吸気の間に気流に対するより大きな抵抗があり、もう一方の鼻孔では呼気の間に気流に対するより大きな抵抗があるように着用または構成できる。しかし一般に、両方の鼻孔に呼気の間に気流に対するわずかな抵抗をもたらすことが、いびきまたは他の睡眠障害の呼吸を治療するために使用できると考えられている。
図34Aおよび34Bは、上記に説明したもののような、粘着性の片方の鼻孔用の鼻デバイスを示す。図34Aでは、使用者は粘着性保持具領域を露出させて、最初に保護カバーの全部(または一部分)を剥ぎ取ることができる。次いで使用者は、デバイスを通る通路が鼻の開口と位置合わせされるように、鼻孔のうちの片方の上にデバイスを配置できる。位置合わせガイドは、使用者が鼻の開口およびデバイスの中央の通路を位置合わせするのを補助できる。配置リングは、使用者が触感し、デバイスを正確に位置決めするのを助ける織地、色、または形状を有することができる。たとえば、位置合わせガイドは熱成形リングである配置リングであることができる。粘着性デバイスは、定位置に固定するために鼻孔に対して装着できる。使用者は、最初に、粘着性デバイスと鼻孔および/または鼻との間の粘着(および/または密封)を妨げるおそれのある物質(たとえば汚れ、油など)を除去するために、粘着性デバイスが装着される領域を洗浄できる。
片方の鼻孔用のデバイスが、(図34Bに示されるように)片方の鼻孔の上に装着された後に、第2のデバイスがもう一方の鼻孔に装着できる。2つのデバイスの粘着性保持具領域は重なることができる。デバイスを除去するには、使用者は単に粘着性デバイスを剥ぎ取るだけでよい。場合によっては、2つの以前に独立していたデバイスが共に粘着できるので、片方のデバイス除去されると、第2のデバイスの除去が促進される。説明および例によって方法およびデバイスをここにある程度詳細に述べてきたが、そのような説明および例は理解を明確にする目的のために過ぎない。本明細書の教示に照らして、当分野の技術者には、本発明の趣旨および範囲から逸脱せずにそこにある程度の変更および修正を行うことができることが直ちに明らかになるであろう。

Claims (14)

  1. 対象者の鼻腔と連通して固定されるようになされた粘着性の鼻デバイスであって、
    吸気よりも呼気を阻止するようになされた気流抵抗器(103、3705)であって、フラップバルブ層(107、503、1101、3604)およびバルブリミッタ(109、501、1010、1103、3608)を備える層状の前記気流抵抗器(103、3705)と、
    前記気流抵抗器を前記対象者の鼻腔と連通して固定するように構成された可撓性を有する粘着性保持具層(101、2097、3602)であって、前記粘着性保持具層が前記気流抵抗器の周囲に少なくとも部分的に延びる粘着性保持具層(101、2097、3602)とを備える、粘着性の鼻デバイス。
  2. 位置合わせガイドをさらに備える、請求項1に記載のデバイス。
  3. 前記気流抵抗器が、実質的に平坦な層状の気流抵抗器を備える、請求項1に記載のデバイス。
  4. 前記粘着性の鼻デバイスが、対象者の両方の鼻孔の上に固定されるようになされた、請求項1に記載のデバイス。
  5. 前記可撓性を有する粘着性保持具層が、前記気流抵抗器から離れて延び、前記対象者の鼻孔のうちの片方または両方の周囲に密封を形成するように構成された、請求項1に記載のデバイス。
  6. 前記可撓性を有する粘着性保持具層が、基材層および生体適合性の粘着剤を備える、請求項1に記載のデバイス。
  7. 前記粘着性の鼻デバイスが全体的に平坦であり、対象者の鼻孔のうちの少なくとも片方の上に固定されるように構成される、請求項1に記載のデバイス。
  8. 前記気流抵抗器がリム本体を備える、請求項1に記載のデバイス。
  9. 前記気流抵抗器がフラップバルブを備える、請求項1に記載のデバイス。
  10. 前記気流抵抗器が、呼気の間に閉じた場合でも、空気が通過できるリーク経路を備える、請求項1に記載のデバイス。
  11. 粘着性の鼻デバイスを作製する方法であって、
    可撓性を有する粘着性基材を貫通する開口を形成するステップと、
    前記開口を横切って可撓性を有するバルブ(107、503、1101、3604)に隣接してフラップバルブ・リミッタ109、501、1010、1103、3608)を固定することによって、前記開口を横切って前記気流抵抗器を固定することにより、前記開口を横切って気流抵抗器を固定するステップであって、前記気流抵抗器が吸気よりも呼気を阻止するように構成されたステップと、
    前記可撓性を有する粘着性基材が、鼻、またはその周囲に前記粘着性の鼻デバイスを固定できるように、前記可撓性を有する粘着性基材を構成するステップとを含む方法。
  12. 前記可撓性を有する粘着性基材を構成する前記ステップが、対象者の鼻腔の上に適合するように前記可撓性を有する粘着性基材を切断するステップを含む、請求項11に記載の方法。
  13. 前記固定するステップが、前記開口にリム本体を固定するステップを含み、前記リム本体がバルブを少なくとも部分的に囲む、請求項11に記載の方法。
  14. 前記固定するステップが、前記開口を横切ってフラップバルブを備える気流抵抗器を固定するステップを含む、請求項11に記載の方法。
JP2009514398A 2006-06-07 2007-06-07 層状の鼻デバイス Expired - Fee Related JP5259583B2 (ja)

Applications Claiming Priority (7)

Application Number Priority Date Filing Date Title
US81181406P 2006-06-07 2006-06-07
US60/811,814 2006-06-07
US85971506P 2006-11-16 2006-11-16
US60/859,715 2006-11-16
US90585007P 2007-03-07 2007-03-07
US60/905,850 2007-03-07
PCT/US2007/013523 WO2007146133A2 (en) 2006-06-07 2007-06-07 Layered nasal devices

Publications (2)

Publication Number Publication Date
JP2009539479A JP2009539479A (ja) 2009-11-19
JP5259583B2 true JP5259583B2 (ja) 2013-08-07

Family

ID=38832411

Family Applications (2)

Application Number Title Priority Date Filing Date
JP2009514398A Expired - Fee Related JP5259583B2 (ja) 2006-06-07 2007-06-07 層状の鼻デバイス
JP2009514418A Expired - Fee Related JP5261378B2 (ja) 2006-06-07 2007-06-07 鼻用装置

Family Applications After (1)

Application Number Title Priority Date Filing Date
JP2009514418A Expired - Fee Related JP5261378B2 (ja) 2006-06-07 2007-06-07 鼻用装置

Country Status (8)

Country Link
US (4) US7506649B2 (ja)
EP (2) EP2032214B1 (ja)
JP (2) JP5259583B2 (ja)
KR (1) KR101447903B1 (ja)
AU (1) AU2007258524B2 (ja)
CA (1) CA2658966A1 (ja)
IL (1) IL195700A (ja)
WO (2) WO2007146207A2 (ja)

Families Citing this family (154)

* Cited by examiner, † Cited by third party
Publication number Priority date Publication date Assignee Title
AU2001267097A1 (en) 2000-06-16 2001-12-24 Rajiv Doshi Methods and devices for improving breathing in patients with pulmonary disease
US10610228B2 (en) 2004-12-08 2020-04-07 Theravent, Inc. Passive nasal peep devices
US9833354B2 (en) 2004-12-08 2017-12-05 Theravent, Inc. Nasal respiratory devices
SG158120A1 (en) * 2004-12-08 2010-01-29 Ventus Medical Inc Respiratory devices and methods of use
US7644714B2 (en) * 2005-05-27 2010-01-12 Apnex Medical, Inc. Devices and methods for treating sleep disorders
GB0610171D0 (en) 2006-05-23 2006-06-28 Robitaille Jean Pierre Valved nasal canula
US7856979B2 (en) 2006-05-23 2010-12-28 Ventus Medical, Inc. Nasal respiratory devices
US20090145441A1 (en) * 2007-12-06 2009-06-11 Rajiv Doshi Delayed resistance nasal devices and methods of use
WO2007146189A2 (en) * 2006-06-07 2007-12-21 Ventus Medical, Inc. Nasal respiratory devices for positive end-expiratory pressure
US20110203598A1 (en) * 2006-06-07 2011-08-25 Favet Michael L Nasal devices including layered nasal devices and delayed resistance adapters for use with nasal devices
EP2032214B1 (en) 2006-06-07 2017-12-06 Theravent, Inc. Layered nasal devices
US20110180076A1 (en) * 2006-06-19 2011-07-28 Kasey K. LI Wearable tissue retention device
US8613283B2 (en) 2006-06-19 2013-12-24 Insono Therapeutics, Inc. Mandibular advancement appliance
US8857439B2 (en) * 2006-06-19 2014-10-14 Insono Therapeutics, Inc. Variable automated tissue retention system
US8347890B2 (en) * 2006-06-19 2013-01-08 Insono Therapeutics, Inc. Automated tissue retention system
US9205262B2 (en) 2011-05-12 2015-12-08 Cyberonics, Inc. Devices and methods for sleep apnea treatment
US9186511B2 (en) 2006-10-13 2015-11-17 Cyberonics, Inc. Obstructive sleep apnea treatment devices, systems and methods
EP3527255B1 (en) 2006-10-13 2020-08-05 Cyberonics, Inc. Obstructive sleep apnea treatment devices and systems
US9913982B2 (en) 2011-01-28 2018-03-13 Cyberonics, Inc. Obstructive sleep apnea treatment devices, systems and methods
US9744354B2 (en) 2008-12-31 2017-08-29 Cyberonics, Inc. Obstructive sleep apnea treatment devices, systems and methods
US8855771B2 (en) 2011-01-28 2014-10-07 Cyberonics, Inc. Screening devices and methods for obstructive sleep apnea therapy
WO2008061250A2 (en) 2006-11-16 2008-05-22 Ventus Medical, Inc. Adjustable nasal devices
TW200836781A (en) * 2007-03-07 2008-09-16 Ventus Medical Inc Nasal devices
US20080247214A1 (en) * 2007-04-03 2008-10-09 Klaus Ufert Integrated memory
AU2008202850A1 (en) * 2007-06-29 2009-01-15 Bird Healthcare Pty Ltd Inhalation device
CN101854975A (zh) 2007-10-03 2010-10-06 桑诺斯泰克公司 鼻腔插入物
BRPI0820581A8 (pt) 2007-11-19 2015-11-10 Koninl Philips Electronics Nv Dispositivo de interface com paciente, e, cânula nasal
US8020700B2 (en) 2007-12-05 2011-09-20 Ventus Medical, Inc. Packaging and dispensing nasal devices
WO2009099995A1 (en) * 2008-02-01 2009-08-13 Ventus Medical, Inc. Cpap interface and backup devices
CN104127924B (zh) 2008-03-05 2017-07-21 凯希特许有限公司 用于将减压施加到组织部位并收集和存储组织部位的流体的敷料和方法
WO2009117012A1 (en) * 2008-03-17 2009-09-24 Ventus Medical, Inc. Adhesive nasal respiratory devices
CN106039505A (zh) 2008-06-04 2016-10-26 瑞思迈有限公司 患者接口系统
WO2010004446A1 (en) * 2008-06-15 2010-01-14 Liang Zhang Nasal device for obesity prevention and treatment
US20090308398A1 (en) * 2008-06-16 2009-12-17 Arthur Ferdinand Adjustable resistance nasal devices
WO2010027471A2 (en) 2008-09-04 2010-03-11 The General Hospital Corporation Hydrogels for vocal cord and soft tissue augmentation and repair
US20110218451A1 (en) * 2008-09-15 2011-09-08 Danny Yu-Youh Lai Nasal devices, systems and methods
US20110232636A1 (en) * 2008-12-18 2011-09-29 Koninklijke Philips Electronics, N.V. Valved holding chamber and mask therefor
US20100163048A1 (en) * 2008-12-29 2010-07-01 Owel Siordia Nose filters
EP2384174B1 (en) * 2008-12-30 2013-07-24 Koninklijke Philips Electronics N.V. System and respiration appliance for supporting the airway of a subject
EP2384173B1 (en) * 2008-12-30 2013-07-17 Koninklijke Philips Electronics N.V. System and respiration appliance for supporting the airway of a subject
US8607797B2 (en) * 2009-03-20 2013-12-17 Kasey K. LI Airflow restriction system
US8646453B2 (en) * 2009-03-20 2014-02-11 Kasey Kai-Chi Li Extendable airflow restriction system
US20100241159A1 (en) * 2009-03-20 2010-09-23 Li Kasey K Airflow restriction system
US20110108041A1 (en) * 2009-11-06 2011-05-12 Elliot Sather Nasal devices having a safe failure mode and remotely activatable
EP2521585B1 (en) 2010-01-05 2021-05-26 Yeda Research and Development Co. Ltd. Odor device for preventing snoring or apnea events
IT1398484B1 (it) * 2010-02-24 2013-03-01 Mistro Dilatatore anatomico nasale.
US8177689B2 (en) * 2010-03-01 2012-05-15 Bas Rutten Oxygen trainer device
US9198568B2 (en) 2010-03-04 2015-12-01 The General Hospital Corporation Methods and systems of matching voice deficits with a tunable mucosal implant to restore and enhance individualized human sound and voice production
US9901487B2 (en) * 2010-03-10 2018-02-27 C. Howard Steinberg Anus crevice insert
US9339626B2 (en) * 2010-03-16 2016-05-17 Carefusion 207, Inc. Seal for variable compression interfaces
US8814842B2 (en) 2010-03-16 2014-08-26 Kci Licensing, Inc. Delivery-and-fluid-storage bridges for use with reduced-pressure systems
SE535494C2 (sv) * 2010-05-17 2012-08-28 Mindray Medical Sweden Ab Koaxiellt flödesmätarelement och förfarande för att mäta ett flöde
WO2011144641A1 (en) 2010-05-17 2011-11-24 Mindray Medical Sweden Ab Coaxial means for measuring a flow and a method of measuring a flow
US8393228B2 (en) 2010-05-18 2013-03-12 Mindray Medical Sweden Ab Method and system for measuring a flow
US8276618B2 (en) * 2010-05-18 2012-10-02 Mindray Medical Sweden Ab Flow restrictor and method for reducing resistance of a flow
US8875711B2 (en) 2010-05-27 2014-11-04 Theravent, Inc. Layered nasal respiratory devices
USD652518S1 (en) * 2010-06-18 2012-01-17 Eva Jensen Nasal respirator
US20120006329A1 (en) * 2010-07-06 2012-01-12 Beevers Katherine K Method of partially adhering cpap mask to face
US20120125327A1 (en) * 2010-10-18 2012-05-24 Patricia Blair Huntington Nasal Passage Strip
USD671620S1 (en) * 2010-11-22 2012-11-27 Hollister Incorporated Valve with tactile position indication
US9084859B2 (en) 2011-03-14 2015-07-21 Sleepnea Llc Energy-harvesting respiratory method and device
US10603456B2 (en) 2011-04-15 2020-03-31 Fisher & Paykel Healthcare Limited Interface comprising a nasal sealing portion
WO2012151095A1 (en) * 2011-05-04 2012-11-08 First Defense Holdings Llc Nasal filter structure
US9486602B2 (en) 2011-06-22 2016-11-08 Breathe Technologies, Inc. Ventilation mask with integrated piloted exhalation valve and method of ventilating a patient using the same
US8844533B2 (en) 2011-06-22 2014-09-30 Breathe Technologies, Inc. Ventilation mask with integrated piloted exhalation valve
US9038634B2 (en) 2011-06-22 2015-05-26 Breathe Technologies, Inc. Ventilation mask with integrated piloted exhalation valve
WO2013046013A1 (en) 2011-09-29 2013-04-04 Trudell Medical International Nasal insert and cannula and methods for the use thereof
US10463529B2 (en) * 2012-11-05 2019-11-05 Jennifer Sparr Device and method for deterring back-lying snoring posture
US10905842B2 (en) 2011-11-21 2021-02-02 Snap Cpap, Llc Respiratory assembly
US11207484B2 (en) 2011-11-21 2021-12-28 Snap Cpap, Llc Respiratory assembly
US9149595B2 (en) 2011-11-21 2015-10-06 Stuart Heatherington Respiratory mask assembly
US10265493B2 (en) 2011-11-21 2019-04-23 Snap Cpap, Llc Respiratory assembly
WO2013090810A1 (en) 2011-12-16 2013-06-20 Kci Licensing, Inc. Releasable medical drapes
US10940047B2 (en) 2011-12-16 2021-03-09 Kci Licensing, Inc. Sealing systems and methods employing a hybrid switchable drape
US10238827B2 (en) * 2012-03-12 2019-03-26 Mark T. Holtzapple Air-delivery system for breathing-assist devices
JP6292600B2 (ja) * 2012-10-09 2018-03-14 学校法人慶應義塾 呼吸補助装置
CA2888030A1 (en) 2012-10-16 2014-11-27 Cook Medical Technologies Llc Method and apparatus for treating obstructive sleep apnea (osa)
JP6360485B2 (ja) 2012-10-17 2018-07-18 フィッシャー アンド ペイケル ヘルスケア リミテッド 鼻封止部分およびローリングヒンジを備えるインタフェース
EP2919730B1 (en) 2012-11-16 2016-06-01 KCI Licensing, Inc. Medical drape with pattern adhesive layers and method of manufacturing same
US9795756B2 (en) 2012-12-04 2017-10-24 Mallinckrodt Hospital Products IP Limited Cannula for minimizing dilution of dosing during nitric oxide delivery
KR102357044B1 (ko) 2012-12-04 2022-02-08 말린크로트 파마슈티칼스 아일랜드 리미티드 일산화질소 전달 동안 투약량의 희석을 최소화하기 위한 캐뉼라
ITRM20130132A1 (it) * 2013-03-06 2014-09-07 Hsd Holding Smart Device S R L Elemento inalatore di sostanze medicamentose.
US11648370B2 (en) * 2013-03-06 2023-05-16 Jed Eric Black Devices and methods for encouraging nasal breathing
US9849260B2 (en) * 2013-03-06 2017-12-26 Jed Eric Black Adhesive devices and methods for improving breathing and/or sleep using such devices
WO2014141270A1 (en) * 2013-03-13 2014-09-18 Emmanuel Goldschmidt Method and system for breathing modulation
EP3865168B1 (en) 2013-08-05 2025-11-19 Fisher & Paykel Healthcare Limited Interface
AU2014306232B2 (en) 2013-08-05 2018-12-06 C2Dx, Inc. Medical devices having a releasable tubular member and methods of using the same
US10946124B2 (en) 2013-10-28 2021-03-16 Kci Licensing, Inc. Hybrid sealing tape
EP3744361B1 (en) 2013-10-30 2024-07-24 Solventum Intellectual Properties Company Absorbent conduit and system
WO2015065616A1 (en) 2013-10-30 2015-05-07 Kci Licensing, Inc. Dressing with sealing and retention intereface
WO2015065614A1 (en) 2013-10-30 2015-05-07 Kci Licensing, Inc. Dressing with differentially sized perforations
EP3513773A1 (en) 2013-10-30 2019-07-24 KCI Licensing, Inc. Condensate absorbing and dissipating system
US20150216709A1 (en) * 2014-01-31 2015-08-06 Joe Peck Nasal Dilator
US20150216711A1 (en) * 2014-01-31 2015-08-06 Joe Peck Protective Adhesive Safety Strips
US11383083B2 (en) 2014-02-11 2022-07-12 Livanova Usa, Inc. Systems and methods of detecting and treating obstructive sleep apnea
WO2015123525A2 (en) 2014-02-14 2015-08-20 O'day John M Nasopharyngeal device for obstructive sleep apnea syndrome
US11026844B2 (en) 2014-03-03 2021-06-08 Kci Licensing, Inc. Low profile flexible pressure transmission conduit
US9974563B2 (en) 2014-05-28 2018-05-22 Cook Medical Technologies Llc Medical devices having a releasable member and methods of using the same
EP3151795B1 (en) 2014-06-05 2017-09-27 KCI Licensing, Inc. Dressing with fluid acquisition and distribution characteristics
EP4245343B1 (en) 2014-06-17 2024-12-25 Fisher & Paykel Healthcare Limited Patient interfaces
EP3177219B1 (en) 2014-08-04 2018-09-26 Cook Medical Technologies LLC Medical devices having a releasable tubular member
US10086161B1 (en) 2014-09-05 2018-10-02 Briggs Medical, Llc Respiratory apparatus and method for treating sleep apnea
US10646679B2 (en) 2014-09-05 2020-05-12 Bryggs Medical Llc Respiratory apparatus and method for treating sleep apnea
CN104307120A (zh) * 2014-10-27 2015-01-28 安徽省科普产品工程研究中心有限责任公司 一种防尘鼻塞及其防尘效果的测试方法
DE102014016608B3 (de) * 2014-11-10 2016-04-07 Ndd Medizintechnik Ag Atemrohr zum Einsatz in Ultraschall-Durchflussmesssystemen
US20160135980A1 (en) * 2014-11-14 2016-05-19 Derrick D. Earls SINU Pads
WO2016100098A1 (en) 2014-12-17 2016-06-23 Kci Licensing, Inc. Dressing with offloading capability
US20160243323A1 (en) * 2015-02-24 2016-08-25 Kevin W. Burns Barrier Device
US10195088B2 (en) * 2015-04-13 2019-02-05 Emergency Medical Innovation LLC Nasal compression device
WO2016182977A1 (en) 2015-05-08 2016-11-17 Kci Licensing, Inc. Low acuity dressing with integral pump
KR20180016419A (ko) 2015-06-05 2018-02-14 에이에스에이피 브리드어시씨스트 피티와이 엘티디 코 확장기
US20170016648A1 (en) * 2015-07-14 2017-01-19 Rommy Zohair Ahmed Nasal strip face warmer
WO2017040045A1 (en) 2015-09-01 2017-03-09 Kci Licensing, Inc. Dressing with increased apposition force
AU2016314605B2 (en) 2015-09-04 2021-05-20 Fisher & Paykel Healthcare Limited Patient interfaces
US10525227B1 (en) 2015-09-10 2020-01-07 Stock IP Holdings LLC Nasal EPAP dilator
WO2017048866A1 (en) 2015-09-17 2017-03-23 Kci Licensing, Inc. Hybrid silicone and acrylic adhesive cover for use with wound treatment
US11511066B2 (en) 2015-10-06 2022-11-29 Snap Cpap, Llc Respiratory assembly
DE16195925T1 (de) * 2016-02-04 2017-06-01 Atos Medical Ab Tracheostomievorrichtungshälter
KR200482172Y1 (ko) 2016-03-15 2016-12-30 김형준 방호재패키지
WO2017165583A1 (en) * 2016-03-23 2017-09-28 Sanostec Corp Nasal insert having one or more sensors
US10828459B2 (en) 2016-05-04 2020-11-10 George Volgyesi Breath powered positive airway pressure device
US10576241B2 (en) 2016-05-04 2020-03-03 George Volgyesi Breath powered positive airway pressure device
CN114904112B (zh) 2016-10-05 2026-02-03 费雪派克医疗保健有限公司 患者接口
US20200188709A1 (en) * 2016-11-14 2020-06-18 Nanoclean Global Pvt. Ltd. Nanofiber based nasal filter and a process of preparation thereof
US20180221618A1 (en) * 2017-02-03 2018-08-09 Lunatussin, LLC Inhalation Therapy Device
WO2018165372A1 (en) 2017-03-08 2018-09-13 Ohio State Innovation Foundation Nasal plug
WO2018211474A1 (en) 2017-05-19 2018-11-22 Trudell Medical International Positive expiratory pressure device
CN107308565A (zh) * 2017-07-01 2017-11-03 高级全球创新有限公司 一种新型过滤口罩
KR101904138B1 (ko) * 2017-07-26 2018-10-04 유한책임회사 샤워트리 비공 삽입 필터형 마스크
WO2019046728A1 (en) * 2017-09-02 2019-03-07 Snap Cpap, Llc RESPIRATORY ASSEMBLY
USD884153S1 (en) 2018-04-04 2020-05-12 Fisher & Paykel Healthcare Limited Frame for a mask assembly
JP2019180567A (ja) * 2018-04-04 2019-10-24 株式会社パタカラ 鼻腔挿入具
KR20190127668A (ko) * 2018-05-02 2019-11-13 이노스파크스 피티이 엘티디 호흡 장치용 멀티 플랩 밸브
USD932015S1 (en) 2018-05-08 2021-09-28 Resprana, Inc. Nasal filter
USD874064S1 (en) 2018-05-18 2020-01-28 Trudell Medical International Mask
USD903097S1 (en) 2018-05-18 2020-11-24 Trudell Medical International Mask
US10335311B1 (en) * 2018-05-31 2019-07-02 Barry I. Altman Anti-snoring device
RU2710608C1 (ru) * 2018-09-27 2019-12-30 Денис Александрович Горбатюк Устройство для ингаляции
USD893806S1 (en) 2018-11-09 2020-08-18 Trudell Medical Internationl Mask and shroud
US11484677B2 (en) * 2019-03-28 2022-11-01 Koninklijke Philips N.V. Adhesive patient interface assembly with removal tabs
US11571537B2 (en) 2019-03-28 2023-02-07 Koninklijke Philips N.V. Adhesive alignment system for patient interfaces
KR102064174B1 (ko) * 2019-04-24 2020-01-08 백수정 인체접착 먼지제거 판
CN110403746B (zh) * 2019-07-08 2024-09-24 中山大学孙逸仙纪念医院 膀胱造瘘管
EP4037744B1 (en) * 2019-09-30 2025-01-01 Koninklijke Philips N.V. Variable skin breathability adhesive arrangements for patient interfaces
PH12022551856A1 (en) 2020-01-22 2024-01-03 Seelos Therapeutics Inc Reducing side effects of nmda antagonists
EP4106686A4 (en) 2020-02-21 2024-06-05 Ohio State Innovation Foundation Vented nasal plug
KR102208982B1 (ko) * 2020-04-14 2021-01-29 주식회사 위리코 이물질의 유입을 차단하고 통기성을 향상시키기 위한 단일 또는 다층 구조의 방향성을 가지는 통기성 시트, 이를 이용한 마스크 및 제조방법, 이를 이용한 식품용기 및 이를 이용한 창문형 에어필터
US11154102B1 (en) 2020-04-24 2021-10-26 David J. Ahearn Self-adhesive nasal mask
CN115697451A (zh) 2020-06-04 2023-02-03 皇家飞利浦有限公司 可调呼气气道正压(tepap)装置和方法
US12064559B2 (en) * 2020-06-08 2024-08-20 Koninklijke Philips N.V. Sealing arrangement for forming a seal between a patient and a patient interface device
WO2022241214A1 (en) 2021-05-14 2022-11-17 Seelos Therapeutics, Inc. Methods of using nmda receptor antagonists
CN216294938U (zh) * 2021-07-29 2022-04-15 方卓元 一种自动增压呼吸面罩
JP2025502509A (ja) * 2022-01-25 2025-01-24 スナップ シーパップ,エルエルシー 選択的にアクセス可能な口閉じマスク
WO2023183792A2 (en) 2022-03-22 2023-09-28 Nasaclip, Inc. Nasal compression device

Family Cites Families (300)

* Cited by examiner, † Cited by third party
Publication number Priority date Publication date Assignee Title
US53460A (en) * 1866-03-27 Improved composition for core-powder
US23007A (en) * 1859-02-22 Machine eoe
US99021A (en) * 1870-01-18 Improved clothes-sprinkler
US41397A (en) * 1864-01-26 Improvemeni in sawlng-machines
US5520A (en) * 1848-04-18 Oegan-pipb
US5529A (en) * 1848-04-25 Improvement in plows
US87286A (en) * 1869-02-23 Improvement in lawn-mowers
US16450A (en) * 1857-01-20 Hose-cottplin-g
US5528A (en) * 1848-04-25 Improvement in casting rolls
US5530A (en) * 1848-04-25 Horse-power
US69396A (en) 1867-10-01 Robert brayton and samuel curtis
US628111A (en) * 1899-03-11 1899-07-04 Samuel M Mchatton Nose-screen.
US675275A (en) 1900-05-25 1901-05-28 Josephus H Gunning Nasal device.
US669098A (en) * 1900-05-26 1901-03-05 Timothy Taylor Overshiner Inhaler.
US718785A (en) * 1902-09-16 1903-01-20 James Welch Mcnary Respirator.
US746869A (en) 1903-08-05 1903-12-15 Stillman Augustus Moulton Device for preventing snoring.
US774446A (en) 1904-05-19 1904-11-08 Stillman Augustus Moulton Device for preventing snoring.
US810617A (en) 1905-01-03 1906-01-23 Thomas Carence Nasal shield.
US810517A (en) * 1905-04-21 1906-01-23 Emil Theodor Zeidler Weighing device for vehicles.
US1819884A (en) 1930-04-14 1931-08-18 Fores Fernando Nostril insert
US2198959A (en) * 1939-06-07 1940-04-30 Hubert E Clarke Nasal filter
US2237954A (en) * 1939-06-30 1941-04-08 William R Wilson Nasal filter and inhaler
US2282681A (en) * 1939-08-14 1942-05-12 Cha Gobe Company Nasal filter
US2264153A (en) 1940-02-19 1941-11-25 Madeleine Pope Nasal appliance
US2274886A (en) * 1940-08-10 1942-03-03 Harold D Carroll Nasal respirator
US2335936A (en) 1940-09-30 1943-12-07 Joseph T Hanlon Nasal dilating device
US2448724A (en) 1946-04-02 1948-09-07 Clarence L Mcgovney Nasal filter
US2433565A (en) 1946-06-21 1947-12-30 Korman Alexander Nose filter
US2593315A (en) * 1946-10-31 1952-04-15 Dole Valve Co Flow control device
US2672138A (en) * 1950-09-05 1954-03-16 Carlock Marion Pomeroy Device to promote nasal breathing and prevent snoring
US2751906A (en) 1953-10-26 1956-06-26 Mary E Irvine Nose filters
US2777442A (en) * 1955-04-11 1957-01-15 Zelano Joseph Nasal filter
US3145711A (en) 1961-12-08 1964-08-25 Beber Arthur Disposable nasal filter
US3315701A (en) * 1962-08-13 1967-04-25 Fmc Corp Flow timing device
DE1616422B1 (de) * 1964-06-15 1971-11-18 Laerdal A S Ventil fuer Wiederbelebungsapparate
US3370305A (en) * 1965-05-28 1968-02-27 Goott Bernard Heart valve with magnetic hinge means
US3451392A (en) 1966-02-24 1969-06-24 Irving L Cook Nose filter
US3513839A (en) 1968-01-02 1970-05-26 Matthew Vacante Valved nose filter
US3463149A (en) 1968-07-05 1969-08-26 Theodor Albu Nose air filter
ES149951Y (es) * 1969-06-30 1970-06-01 Ramos Caballero Dispositivo para facilitar la respiracion nasal.
US3616802A (en) * 1969-08-20 1971-11-02 Frank A Marinaccio Filtering device
US3657855A (en) * 1969-08-25 1972-04-25 Union Camp Corp Process and apparatus for forming display packages
US3695265A (en) 1970-10-26 1972-10-03 Elmer Lawrence Brevik Face mask
US3722509A (en) * 1971-01-05 1973-03-27 J Nebel Nasal filters
US3747597A (en) 1971-11-03 1973-07-24 V Olivera Nasal filter
US3802426A (en) * 1972-09-08 1974-04-09 M Sakamoto Nasal filter
US3884223A (en) * 1974-06-26 1975-05-20 Lawrence Peska Ass Inc Nasal filter
US3902621A (en) 1974-08-05 1975-09-02 Walter E Hidding Tamperproof closure with grippable handle
USRE31040E (en) 1975-04-24 1982-09-28 St. Jude Medical, Inc. Heart valve prosthesis
US4004584A (en) * 1975-07-28 1977-01-25 Alleraid Company, Inc. Facially-worn breathing filter
US4054134A (en) 1975-09-15 1977-10-18 Kritzer Richard W Respirators
US4030491A (en) * 1975-10-31 1977-06-21 Alvin Mattila Nasal filter
JPS52123786A (en) 1976-04-07 1977-10-18 Mitsubishi Plastics Ind Ltd Method of packaging skin
US4062358A (en) 1976-04-21 1977-12-13 Kritzer Richard W Respirators
US4094316A (en) 1976-08-26 1978-06-13 Eric Nathanson Adhesive bandage with reusable applique
US4040428A (en) 1976-08-30 1977-08-09 The Aro Corporation Control valves for tracheotomy patient or laryngeal prosthesis
US4143872A (en) * 1977-04-07 1979-03-13 Hudson Oxygen Therapy Sales Company Lung volume exerciser
US4212296A (en) 1978-04-20 1980-07-15 The Kendall Company Bandage with protective member
US4221217A (en) 1978-05-01 1980-09-09 Amezcua Saul O Nasal device
US4220150A (en) 1978-09-13 1980-09-02 King John R Nasal dust filter
US4226233A (en) 1978-10-10 1980-10-07 Longevity Products, Inc. Respirators
JPS5720190Y2 (ja) 1979-02-24 1982-04-30
US4354489A (en) 1979-04-16 1982-10-19 Florence Riaboy Individual nose and mouth filters
US4240420A (en) 1979-04-16 1980-12-23 Florence Riaboy Nose and mouth filter combination
US4267831A (en) 1979-09-24 1981-05-19 Aguilar Rogelio M Nasal air filter and medicament dispenser device
US4327719A (en) * 1980-12-15 1982-05-04 Childers Irene J Nose filter
GB2096574B (en) 1981-04-10 1985-07-10 Fraser Chemicals Nottingham Lt Package assemblies
US4403616A (en) 1981-06-09 1983-09-13 K-Med, Inc. Expiratory breathing exercise device
US4487207A (en) 1981-10-15 1984-12-11 Edward Fitz Lung exercising device and method
US4533137A (en) 1982-01-19 1985-08-06 Healthscan Inc. Pulmonary training method
JPS6057B2 (ja) 1982-02-05 1985-01-05 好宏 与那原 呼吸消音器
US4456016A (en) 1982-07-01 1984-06-26 Trutek Research, Inc. Inhalation valve
US4860766A (en) 1983-11-18 1989-08-29 Respitrace Corp. Noninvasive method for measuring and monitoring intrapleural pressure in newborns
US4584997A (en) * 1984-02-27 1986-04-29 Delong Harold D Volumetric flow gauge
US4601465A (en) 1984-03-22 1986-07-22 Roy Jean Yves Device for stimulating the human respiratory system
US4640277A (en) * 1984-05-17 1987-02-03 Texas College Of Osteopathic Medicine Self-contained breathing apparatus
US4582058A (en) * 1984-11-26 1986-04-15 Bivona, Inc. Tracheostoma valves
US4739987A (en) * 1985-10-28 1988-04-26 Nicholson Marguerite K Respiratory exerciser
US4651873A (en) * 1985-11-04 1987-03-24 Stolcenberg Dennis A Can caddy device, and methods of constructing and utilizing same
US5052400A (en) 1986-02-20 1991-10-01 Dietz Henry G Method and apparatus for using an inhalation sensor for monitoring and for inhalation therapy
US4702374A (en) 1986-04-21 1987-10-27 Robert Kelner Package assembly with testing feature for illuminated product
ES1001021U (es) * 1986-09-02 1988-04-16 Moriones Elosegui Ignacio Protesis valvular mecanica para uso en cirugia cardiaca
US4718554A (en) * 1986-10-21 1988-01-12 Pakula And Company Method of carding pierced earrings and assembly thereby formed
FR2612597B1 (fr) * 1987-03-20 1989-06-23 Colon Jean Valve a au moins un volet basculant par rapport a des pivots elastiques
US4984302A (en) * 1987-03-20 1991-01-15 Robert A Lincoln Nose-worn air filter
JPH0747126B2 (ja) 1987-04-22 1995-05-24 三菱重工業株式会社 排ガス処理用触媒
JPH0131232Y2 (ja) 1987-05-29 1989-09-25
US5522382A (en) 1987-06-26 1996-06-04 Rescare Limited Device and method for treating obstructed breathing having a delay/ramp feature
US4862903A (en) 1987-10-09 1989-09-05 U.S. Divers Company, Inc. Breathing mouthpiece for contacting upper palate and lower jaw of user's mouth
US4913138A (en) * 1987-11-07 1990-04-03 Haruo Yoshida Adhesive bandage for personal use
SE467196B (sv) * 1987-11-13 1992-06-15 Bjoern Nordenstroem Anordning foer att tillfoera elektrisk energi till biologisk vaevnad foer att simulera den fysiologiska laekningsprocessen
US4854574A (en) 1988-03-15 1989-08-08 501 Healthscan, Inc. Inspirator muscle trainer
SU1586709A1 (ru) 1988-07-05 1990-08-23 Киевский Политехнический Институт Им.50-Летия Великой Октябрьской Социалистической Революции Устройство дл нормализации функции дыхательной системы
CH678151A5 (en) 1988-07-13 1991-08-15 Heinz Hermann Weick Self-medication nasal dispenser
US4984581A (en) * 1988-10-12 1991-01-15 Flexmedics Corporation Flexible guide having two-way shape memory alloy
US5074293A (en) 1988-11-30 1991-12-24 Sherwood Medical Company Wound dressing having peeling-force varying release liners
EP0372148A1 (en) 1988-12-09 1990-06-13 Erik Folke Norell Lung exercising device
WO1990012614A1 (en) 1989-04-25 1990-11-01 Lincoln Robert A Nose-worn air filter
US4979505A (en) 1989-06-06 1990-12-25 Cox Everard F Tracheal tube
US5239995A (en) 1989-09-22 1993-08-31 Respironics, Inc. Sleep apnea treatment apparatus
US5038621A (en) 1989-11-06 1991-08-13 Bicore Monitoring Systems Variable area obstruction gas flow meter
US5033312A (en) * 1989-11-06 1991-07-23 Bicore Monitoring Systems Gas flow meter housing
CA2003895C (en) 1989-11-16 1999-03-30 Jean-Pierre Robitaille Filtre intra-nasal
GB8928927D0 (en) 1989-12-21 1990-02-28 Smiths Industries Plc Adhesive dressing assemblies and methods of dressing
US5078739A (en) * 1990-07-20 1992-01-07 Janus Biomedical, Inc. Bileaflet heart valve with external leaflets
RU1767723C (ru) * 1990-08-14 1995-01-27 Кирово-Чепецкий химический комбинат Протез клапана сердца
US5092781A (en) * 1990-11-08 1992-03-03 Amp Incorporated Electrical connector using shape memory alloy coil springs
US5059208A (en) 1991-02-04 1991-10-22 Helix Medical, Inc. Adjustable tracheostoma valve
GB9102928D0 (en) * 1991-02-12 1991-03-27 Smith & Nephew Tampon applicators
RU2048820C1 (ru) 1991-03-12 1995-11-27 Владимир Андреевич Старцев Устройство в.а.старцева для насыщения воздуха лекарственными веществами
US5394867A (en) * 1991-06-05 1995-03-07 Brookdale International Systems Inc. Personal disposable emergency breathing system with dual air supply
JPH0540589A (ja) 1991-08-02 1993-02-19 Canon Inc マルチウインドウ表示方法及びその装置
DK0612232T3 (da) 1991-11-06 1999-11-08 Bioderm Inc Tillukkende sårforbinding samt applikator
US5391205A (en) * 1991-12-17 1995-02-21 Knight; Roy F. Tracheoesophageal voice prosthesis
US5255687A (en) 1992-01-21 1993-10-26 Mckenna Charles L Zero dead space respiratory exercise valve
US5490502A (en) 1992-05-07 1996-02-13 New York University Method and apparatus for optimizing the continuous positive airway pressure for treating obstructive sleep apnea
JP2815763B2 (ja) 1992-08-17 1998-10-27 スズキ株式会社 電動パワーステアリング制御装置及び方法
JPH06230457A (ja) 1993-02-01 1994-08-19 Konica Corp カメラ
IL105828A (en) 1993-05-28 1999-06-20 Medinol Ltd Medical stent
IL105930A (en) * 1993-06-07 1997-03-18 Natan Oren Therapeutic respiration device
US5727546A (en) * 1993-08-18 1998-03-17 Fisons Plc Powder inhaler with breath flow regulation valve
US5383470A (en) * 1993-09-20 1995-01-24 Steve Novak Portable spirometer
DE4336899C1 (de) * 1993-10-28 1994-12-01 Novacor Gmbh Doppelflügel-Herzklappenprothese
DK171592B1 (da) 1993-12-21 1997-02-17 Maersk Medical As Anordning for tilførsel af ilt og/eller andre gasser til en patient
US5415660A (en) * 1994-01-07 1995-05-16 Regents Of The University Of Minnesota Implantable limb lengthening nail driven by a shape memory alloy
US5392773A (en) * 1994-04-13 1995-02-28 Bertrand; Archie A. Respiratory particulate filter
GB9422692D0 (en) * 1994-04-22 1995-01-04 Williamson John B Disposable nasel band filter
GB9411023D0 (en) 1994-06-02 1994-07-20 Hurlin Noreen Filtration device
US5425359A (en) * 1994-08-29 1995-06-20 Liou; Nan-Tien Nose plug structure with filter
ATE407716T1 (de) 1994-10-14 2008-09-15 Bird Products Corp Tragbares, mechanisches und mit einem umlaufverdichter angetriebenes beatmungsgerät
AU4920596A (en) * 1995-02-10 1996-08-27 Everett D. Hougen A portable, personal breathing apparatus
US6083141A (en) 1995-02-10 2000-07-04 Hougen; Everett D. Portable respiratory exercise apparatus and method for using the same
US5658221A (en) * 1995-02-10 1997-08-19 Hougen; Everett D. Portable personal breathing apparatus and method of using same
US5572994A (en) 1995-06-07 1996-11-12 Smith; Steven W. Occlusion resistant oxygen supply conduit for a nasal cannula
GB9515213D0 (en) 1995-07-25 1995-09-20 Kaptex Healthcare Limited Filter assembly
US5568808A (en) 1995-08-08 1996-10-29 Amtec Products, Incorporated Nose filters
ATE201315T1 (de) 1995-11-17 2001-06-15 Univ New York Vorrichtung und verfharen zur druck- und temperaturwellenformanalyse
US5763979A (en) 1996-02-29 1998-06-09 The United States Of America As Represented By The Secretary Of The Navy Actuation system for the control of multiple shape memory alloy elements
US5743256A (en) * 1996-03-07 1998-04-28 Jalowayski; Alfredo A. Nostril closure means
US5899832A (en) 1996-06-14 1999-05-04 Hougen; Everett D. Compact lung exercising device
US5797920A (en) 1996-06-14 1998-08-25 Beth Israel Deaconess Medical Center Catheter apparatus and method using a shape-memory alloy cuff for creating a bypass graft in-vivo
FR2750315B1 (fr) * 1996-06-26 1998-12-18 Novatech Inc Prothese intralaryngee
SE515129C2 (sv) * 1996-07-01 2001-06-11 Astrazeneca Ab Blisterförpackning, apparat och förfarande för tillverkning av en blisterförpackning samt användning av en blisterförpackning
US5665104A (en) 1996-08-20 1997-09-09 Lee; Chi Hao Edwin Breathing enhancer
US5730122A (en) * 1996-11-12 1998-03-24 Cprx, Inc. Heart failure mask and methods for increasing negative intrathoracic pressures
US5896857A (en) * 1996-12-20 1999-04-27 Resmed Limited Valve for use in a gas delivery system
US6177482B1 (en) * 1996-12-23 2001-01-23 The Proctor & Gamble Company Adhesive for secure topical attachment to the skin and comfortable removal
US6769428B2 (en) * 1997-01-29 2004-08-03 Peter J. Cronk Adhesively applied external nasal strips and dilators containing medications and fragrances
US5782896A (en) * 1997-01-29 1998-07-21 Light Sciences Limited Partnership Use of a shape memory alloy to modify the disposition of a device within an implantable medical probe
RU2130790C1 (ru) * 1997-04-15 1999-05-27 Халезов Юрий Васильевич Прибор для защиты органов дыхания человека
US5803121A (en) 1997-04-17 1998-09-08 Chrysler Corporation Air bag venting system
US6058932A (en) 1997-04-21 2000-05-09 Hughes; Arthur R. Acoustic transceiver respiratory therapy apparatus
GB2324729B (en) 1997-04-30 2002-01-02 Bradford Hospitals Nhs Trust Lung treatment device
US5775335A (en) * 1997-05-29 1998-07-07 Seal; Daniel J. Apparatus to diminish or eliminate snoring
IL121316A (en) * 1997-07-15 2001-07-24 Litana Ltd A medical device for planting in an alloy body with memory properties
SE513761C2 (sv) 1997-07-18 2000-10-30 Optovent Ab Förfarande och anordning för att avkänna andningen
US5865170A (en) * 1997-07-23 1999-02-02 Moles; Randall C. Customizable mouthpiece for scuba-divers
US5954766A (en) 1997-09-16 1999-09-21 Zadno-Azizi; Gholam-Reza Body fluid flow control device
US5947119A (en) 1997-10-31 1999-09-07 Reznick; Jerald M. Therapeutic process and apparatus for nasal passages
US6369126B1 (en) * 1997-12-22 2002-04-09 The Procter & Gamble Co. Adhesive for secure topical attachment to the skin and comfortable removal
US5957978A (en) 1997-12-22 1999-09-28 Hansa Medical Products, Inc. Valved fenestrated tracheotomy tube
US6004342A (en) 1998-03-26 1999-12-21 Filis; Elias A. Nasal insert device for improving breathing
DE19980731D2 (de) 1998-04-30 2001-05-10 Siemens & Co Quellenprodukte Vorrichtung zum Einsetzen in die menschliche Nase
US6609516B2 (en) 1998-06-17 2003-08-26 Fire Drill, Llc Smoke escape mask
US20020157673A1 (en) 1998-07-14 2002-10-31 Kessler Fred B. Nasal cannula retainer
US6328038B1 (en) 1998-07-14 2001-12-11 Fred Bruce Kessler Nasal cannula retainer
JP3059270U (ja) 1998-08-14 1999-07-09 淳 後藤 通気弁を設けたいびき防止用鼻栓
US6213955B1 (en) * 1998-10-08 2001-04-10 Sleep Solutions, Inc. Apparatus and method for breath monitoring
USD430667S (en) 1998-10-15 2000-09-05 Harold Rome Tapered ring nasal passage dilation device
US7178524B2 (en) * 1998-10-30 2007-02-20 Linda Noble Nasal gas delivery system and method for use thereof
US6848446B2 (en) * 1998-10-30 2005-02-01 Linda Noble Nasal gas delivery system and method for use thereof
US7047969B2 (en) 1998-10-30 2006-05-23 Linda Noble Nasal gas delivery system and method for use thereof
CA2348455A1 (en) 1998-11-06 2000-05-18 Walter Van Horn Nebulizer mouthpiece and accessories
NL1010570C2 (nl) 1998-11-17 2000-05-18 Martin Johan Brinckman Wegwerp neusfilter.
US6119690A (en) 1998-12-04 2000-09-19 Pantaleo; Joseph M. Nostril filter system
US5992006A (en) 1998-12-23 1999-11-30 Fonar Corporation Method for passive control of magnet hemogeneity
EP1025874B1 (de) 1999-02-01 2003-08-27 Adeva Medical Gesellschaft für Entwicklung und Vertrieb von Medizinischen Implantat-Artikeln mbH Tracheostomaventil
WO2000050121A1 (en) 1999-02-25 2000-08-31 Respironics, Inc. Adhesive nasal mask assembly, system and method of using same
US6776162B2 (en) 2000-03-13 2004-08-17 Innomed Technologies, Inc. Ventilation interface for sleep apnea therapy
US6595215B2 (en) * 2000-03-13 2003-07-22 Innomed Technologies, Inc. Ventilation interface for sleep apnea therapy
FR2793148B1 (fr) 1999-05-07 2001-06-29 Monique Desbois Dispositif de positionnement d'un element de protection et/ou filtrant
DE60006380T2 (de) * 1999-05-13 2004-05-13 Hisamitsu Pharmaceutical Co., Inc., Tosu Pflaster
FR2794969B1 (fr) 1999-06-16 2002-01-18 Technosphere Sarl Pansement adhesif
CA2377559A1 (en) * 1999-06-18 2000-12-28 Powerlung,Inc Pulmonary exercise device
US6287290B1 (en) 1999-07-02 2001-09-11 Pulmonx Methods, systems, and kits for lung volume reduction
US6610043B1 (en) 1999-08-23 2003-08-26 Bistech, Inc. Tissue volume reduction
US6293951B1 (en) 1999-08-24 2001-09-25 Spiration, Inc. Lung reduction device, system, and method
US6398775B1 (en) 1999-10-21 2002-06-04 Pulmonx Apparatus and method for isolated lung access
US6581598B1 (en) 1999-11-24 2003-06-24 Dhd Healthcare Corporation Positive expiratory pressure device
RU2166341C1 (ru) 1999-12-10 2001-05-10 Общество с ограниченной ответственностью "Алгоритм" Дыхательный фильтр
US6737160B1 (en) * 1999-12-20 2004-05-18 The Regents Of The University Of California Adhesive microstructure and method of forming same
US6510846B1 (en) * 1999-12-23 2003-01-28 O'rourke Sam Sealed back pressure breathing device
US6786216B2 (en) 1999-12-23 2004-09-07 O'rourke Sam Sealed back pressure breathing device
ITTO20000008A1 (it) * 2000-01-05 2001-07-05 Ivano Montanari Filtro nasale.
US6311839B1 (en) 2000-02-02 2001-11-06 Excel Scientech Co., Ltd. Interactive blister package
AUPQ582100A0 (en) 2000-02-24 2000-03-16 Irm Technologies Pty Ltd Nasal filter and sampler
US6679264B1 (en) * 2000-03-04 2004-01-20 Emphasys Medical, Inc. Methods and devices for use in performing pulmonary procedures
JP2001299916A (ja) 2000-04-18 2001-10-30 Kao Corp マスク型吸入器
AU6084001A (en) 2000-05-18 2001-11-26 Shaw Medical Inv S Ltd Bronchiopulmonary occlusion devices and lung volume reduction methods
TW453865B (en) 2000-05-23 2001-09-11 Optovent Ab Apparatus and method for monitoring a patient's breath and supplying a gas or gases different from ambient air to the patient, and nose adapter for the apparatus
US6551285B1 (en) * 2000-06-08 2003-04-22 Venetec International, Inc. Medical line securement device for use with neonates
AU2001267097A1 (en) * 2000-06-16 2001-12-24 Rajiv Doshi Methods and devices for improving breathing in patients with pulmonary disease
AUPQ821500A0 (en) * 2000-06-19 2000-07-13 Australian Centre For Advanced Medical Technology Ltd Mask
US20030140925A1 (en) 2000-07-19 2003-07-31 Sapienza Christine A. System for conditioning expiratory muscles for an improved respiratory system
AU2001275974A1 (en) 2000-07-19 2002-01-30 University Of Florida Method for treating chronic obstructive pulmonary disorder
US7055526B2 (en) 2000-08-09 2006-06-06 Mohamed Ali Bakarat Anti-snoring device comprising a skin compatible adhesive
US6561188B1 (en) * 2000-08-21 2003-05-13 Ellis Alan D Nasal breathing apparatus and methods
JP3638869B2 (ja) 2000-09-06 2005-04-13 ダイヤシステム株式会社 医療用補助具の収容体
US6369775B1 (en) * 2000-09-25 2002-04-09 Amphenol-T&M Antennas Antenna assembly and multiband stubby antenna
US6626179B1 (en) * 2000-09-29 2003-09-30 Philip Pedley Breathing valve for improving oxygen absorption
US6585639B1 (en) 2000-10-27 2003-07-01 Pulmonx Sheath and method for reconfiguring lung viewing scope
US6527761B1 (en) 2000-10-27 2003-03-04 Pulmonx, Inc. Methods and devices for obstructing and aspirating lung tissue segments
US6811538B2 (en) 2000-12-29 2004-11-02 Ares Medical, Inc. Sleep apnea risk evaluation
JP2002219174A (ja) 2001-01-24 2002-08-06 Akio Shirasaki 簡易腹式呼吸機
DE10105383C2 (de) * 2001-02-06 2003-06-05 Heptec Gmbh Antischnarchgerät
US20020112729A1 (en) 2001-02-21 2002-08-22 Spiration, Inc. Intra-bronchial obstructing device that controls biological interaction with the patient
ZA200306564B (en) 2001-02-26 2004-10-15 Optinose As Nasal devices.
US7798147B2 (en) * 2001-03-02 2010-09-21 Pulmonx Corporation Bronchial flow control devices with membrane seal
US7013896B2 (en) * 2001-05-08 2006-03-21 Trudell Medical International Mask with inhalation valve
US8403954B2 (en) * 2001-05-22 2013-03-26 Sanostec Corp. Nasal congestion, obstruction relief, and drug delivery
US7390331B2 (en) 2001-05-22 2008-06-24 Sanostec Corp Nasal inserts
US6562057B2 (en) 2001-05-22 2003-05-13 Ernest Santin Nasal breathing assist devices
JP2002345966A (ja) 2001-05-24 2002-12-03 Shuichi Aramaki 吸入器への呼気逆流防止装置
JP2002345963A (ja) 2001-05-28 2002-12-03 Ikuo Honma 呼吸筋活動による残気量改善装置及び残気量改善方法
US6484725B1 (en) 2001-06-25 2002-11-26 Min Hung Chi Nose plug device having air breathing structure
US6592995B2 (en) 2001-07-24 2003-07-15 Kimberly-Clark Worldwide, Inc. Humidity activated materials having shape-memory
US6743259B2 (en) * 2001-08-03 2004-06-01 Core Medical, Inc. Lung assist apparatus and methods for use
US20030050648A1 (en) 2001-09-11 2003-03-13 Spiration, Inc. Removable lung reduction devices, systems, and methods
AU2002347900B8 (en) 2001-10-11 2006-01-12 Emphasys Medical, Inc. Bronchial flow control devices and methods of use
US6592594B2 (en) 2001-10-25 2003-07-15 Spiration, Inc. Bronchial obstruction device deployment system and method
NZ570486A (en) * 2001-12-31 2010-01-29 Cns Inc Nasal devices including dilation and user comminication and methods if using same
US6913017B2 (en) 2002-01-04 2005-07-05 Bevely Roberts Apparatus for delivering inhalant and monitoring exhaled fluid, method of making same, and method of delivering inhalant and monitoring exhaled fluid
US6863066B2 (en) * 2002-01-28 2005-03-08 Ronald Jack Ogle Adjustable nasal dilator filter
US6929637B2 (en) 2002-02-21 2005-08-16 Spiration, Inc. Device and method for intra-bronchial provision of a therapeutic agent
US20030154988A1 (en) 2002-02-21 2003-08-21 Spiration, Inc. Intra-bronchial device that provides a medicant intra-bronchially to the patient
US6776163B2 (en) 2002-03-06 2004-08-17 The Boc Group, Plc Nasal cannulae
US20030216769A1 (en) * 2002-05-17 2003-11-20 Dillard David H. Removable anchored lung volume reduction devices and methods
US20030212416A1 (en) * 2002-03-29 2003-11-13 The Procter & Gamble Company Hydrogel adhesives with enhanced cohesiveness, and peel force for use on hair or fiber-populated surfaces
US6769432B1 (en) * 2002-04-10 2004-08-03 Hamilton Medical, Inc. Method and apparatus for non-abrasive cushioning seal of assisted breathing devices
US20040020492A1 (en) * 2002-05-02 2004-02-05 Dubrul William R. Upper airway device and method
US6872439B2 (en) * 2002-05-13 2005-03-29 The Regents Of The University Of California Adhesive microstructure and method of forming same
US6752149B2 (en) * 2002-07-25 2004-06-22 Realaid, Inc. Nasal mask with replaceable filter
US20050010125A1 (en) 2002-11-26 2005-01-13 Joy James A. Systems and methods for respiration measurement
WO2004060438A2 (en) * 2002-12-16 2004-07-22 Children's Hospital Medical Center Tracheotomy valve unit
US7992566B2 (en) 2002-12-30 2011-08-09 Quiescence Medical, Inc. Apparatus and methods for treating sleep apnea
US6968950B2 (en) 2003-01-30 2005-11-29 United Global Sourcing, Inc. Interactive merchandising packaging
US20070051364A1 (en) * 2003-03-06 2007-03-08 Jacobson Abby N Method For Treating Nasal Irritation
GB0306703D0 (en) 2003-03-24 2003-04-30 Hoarau Brendan Filtering device
AU2004202274B2 (en) 2003-05-30 2006-10-26 Fisher & Paykel Healthcare Limited Breathing Assistance Apparatus
US7878980B2 (en) 2003-06-13 2011-02-01 Treymed, Inc. Gas flow diverter for respiratory monitoring device
US8020555B2 (en) 2003-06-18 2011-09-20 New York University System and method for improved treatment of sleeping disorders using therapeutic positive airway pressure
US7559326B2 (en) 2003-06-18 2009-07-14 Resmed Limited Vent and/or diverter assembly for use in breathing apparatus
US20040261798A1 (en) 2003-06-24 2004-12-30 Ron Rimkus Nose filter
US20040261791A1 (en) 2003-06-24 2004-12-30 Horian Richard C. Nasal dilator and method of nasal dilation
KR200329002Y1 (ko) 2003-07-02 2003-10-04 김영호 음이온 방출 및 방진용 코 마스크
US20050011524A1 (en) * 2003-07-17 2005-01-20 Marguerite Thomlinson Nasal interface apparatus
US7191781B2 (en) 2003-08-05 2007-03-20 Innomed Technologies, Inc. Nasal ventilation interface and system
US20050051170A1 (en) * 2003-09-09 2005-03-10 Koo Myung Hoe Wearable inhalation filter
US7175723B2 (en) * 2003-10-03 2007-02-13 The Regents Of The University Of California Structure having nano-fibers on annular curved surface, method of making same and method of using same to adhere to a surface
FR2862614B1 (fr) 2003-11-24 2007-01-12 Biopack Dispositif et procede de groupage de cartes d'echantillons de parfum
DE10355752B3 (de) * 2003-11-28 2005-04-28 Draegerwerk Ag Atemmaske
EP2353560B1 (en) * 2003-11-28 2017-09-13 Coloplast A/S A dressing product
US7918225B2 (en) 2004-03-19 2011-04-05 Airwave, Inc. Breathing air filtration devices
US7156098B2 (en) * 2004-03-19 2007-01-02 Dolezal Creative Innovations, Llc Breathing air filtration system
US7481219B2 (en) 2004-06-18 2009-01-27 Mergenet Medical, Inc. Medicine delivery interface system
DE102004030069B3 (de) 2004-06-23 2005-12-22 Drägerwerk AG Atemmaske mit einer adhäsiven Dichtung
US20060016450A1 (en) 2004-06-29 2006-01-26 Pearson Alfred E Air filter device for the nose
US9625065B2 (en) * 2004-09-03 2017-04-18 Loewenstein Medical Technology S.A. Plastics for medical technical devices
SI1804871T1 (sl) 2004-10-15 2012-11-30 Cipla Ltd Izboljšan distančni kos
SG158120A1 (en) 2004-12-08 2010-01-29 Ventus Medical Inc Respiratory devices and methods of use
US7347209B2 (en) 2005-01-20 2008-03-25 Bovo Peter J Free breathing apparatus
US9095735B2 (en) 2005-05-17 2015-08-04 Boris Kashmakov Nose filter
US7559327B2 (en) 2005-05-31 2009-07-14 Respcare, Inc. Ventilation interface
CN101237902B (zh) 2005-06-06 2012-02-29 雷斯梅德有限公司 面罩系统
US20070016123A1 (en) * 2005-07-18 2007-01-18 Jentec, Inc. Wound dressing having a folded release sheet
JP3787636B1 (ja) 2005-08-26 2006-06-21 国立大学法人 岡山大学 構音障害改善用鼻孔栓
US7422014B1 (en) 2005-11-04 2008-09-09 Smith Karen K Airflow monitor and breathing device and method
US7578294B2 (en) 2005-12-02 2009-08-25 Allegiance Corporation Nasal continuous positive airway pressure device and system
US7640934B2 (en) * 2005-12-02 2010-01-05 Carefusion 2200, Inc. Infant nasal interface prong device
USD542407S1 (en) * 2006-01-12 2007-05-08 Resmed Limited Vent for respiratory mask
US20070175478A1 (en) 2006-02-01 2007-08-02 Brunst Robert F Nasal air purifier
KR100726135B1 (ko) 2006-05-10 2007-06-13 정진구 방진마스크
US7856979B2 (en) 2006-05-23 2010-12-28 Ventus Medical, Inc. Nasal respiratory devices
GB0610171D0 (en) 2006-05-23 2006-06-28 Robitaille Jean Pierre Valved nasal canula
US20090145441A1 (en) 2007-12-06 2009-06-11 Rajiv Doshi Delayed resistance nasal devices and methods of use
EP2032214B1 (en) 2006-06-07 2017-12-06 Theravent, Inc. Layered nasal devices
WO2007146189A2 (en) 2006-06-07 2007-12-21 Ventus Medical, Inc. Nasal respiratory devices for positive end-expiratory pressure
US20070287976A1 (en) 2006-06-13 2007-12-13 Sherrill Ronald N Adult incontinence management system
USD566834S1 (en) 2006-06-15 2008-04-15 Barton Thomas M Nose-worn air filter
EP2068992B1 (en) 2006-08-03 2016-10-05 Breathe Technologies, Inc. Devices for minimally invasive respiratory support
US20080041397A1 (en) 2006-08-17 2008-02-21 Gene Hirs Article & method for inducing proper breathing during sleep cycles to reactivate bodily functions
US7775211B2 (en) 2006-08-30 2010-08-17 Wilson John K Snoring treatment and associated apparatus, system and method
US20080087286A1 (en) 2006-10-11 2008-04-17 James Jones Disposable nasal filter
US8110061B2 (en) 2006-10-31 2012-02-07 Moore Joseph K Respiratory nasal filter
WO2008061250A2 (en) 2006-11-16 2008-05-22 Ventus Medical, Inc. Adjustable nasal devices
US20080142014A1 (en) 2006-12-18 2008-06-19 Yandong Jiang Method and device for improving efficiency of breathing
TW200836781A (en) 2007-03-07 2008-09-16 Ventus Medical Inc Nasal devices
US8020700B2 (en) 2007-12-05 2011-09-20 Ventus Medical, Inc. Packaging and dispensing nasal devices
WO2009099995A1 (en) 2008-02-01 2009-08-13 Ventus Medical, Inc. Cpap interface and backup devices
WO2009117012A1 (en) * 2008-03-17 2009-09-24 Ventus Medical, Inc. Adhesive nasal respiratory devices

Also Published As

Publication number Publication date
KR101447903B1 (ko) 2014-10-07
US20090188493A1 (en) 2009-07-30
US20110240038A1 (en) 2011-10-06
EP2032213A4 (en) 2014-02-19
JP2009539479A (ja) 2009-11-19
EP2032214B1 (en) 2017-12-06
JP5261378B2 (ja) 2013-08-14
JP2009539484A (ja) 2009-11-19
US20080041373A1 (en) 2008-02-21
AU2007258524A2 (en) 2009-01-29
IL195700A0 (en) 2009-09-01
US20070283962A1 (en) 2007-12-13
IL195700A (en) 2012-04-30
EP2032214A4 (en) 2014-02-19
KR20090024783A (ko) 2009-03-09
EP2032214A2 (en) 2009-03-11
CA2658966A1 (en) 2007-12-21
AU2007258524B2 (en) 2012-05-03
AU2007258524A1 (en) 2007-12-21
WO2007146133A3 (en) 2009-04-02
WO2007146133A9 (en) 2008-02-14
WO2007146207A3 (en) 2008-08-21
US7987852B2 (en) 2011-08-02
US8985116B2 (en) 2015-03-24
US7506649B2 (en) 2009-03-24
WO2007146133A2 (en) 2007-12-21
EP2032213A2 (en) 2009-03-11
WO2007146207A2 (en) 2007-12-21

Similar Documents

Publication Publication Date Title
JP5259583B2 (ja) 層状の鼻デバイス
CN101489630B (zh) 分层鼻装置
US8302607B2 (en) Adhesive nasal respiratory devices
DK2081650T3 (en) Breathing Nasal Filter
US20110218451A1 (en) Nasal devices, systems and methods
TW200836781A (en) Nasal devices
JP2011512233A (ja) 慢性閉塞性肺疾患を治療するための可撓性肺孔管理システムおよび方法
WO2009117400A2 (en) Noise-reduced nasal devices and adjustable resistance nasal devices
JP2010531182A (ja) ストーマ用プロテクタ

Legal Events

Date Code Title Description
A621 Written request for application examination

Free format text: JAPANESE INTERMEDIATE CODE: A621

Effective date: 20100511

A977 Report on retrieval

Free format text: JAPANESE INTERMEDIATE CODE: A971007

Effective date: 20120220

A131 Notification of reasons for refusal

Free format text: JAPANESE INTERMEDIATE CODE: A131

Effective date: 20120227

A601 Written request for extension of time

Free format text: JAPANESE INTERMEDIATE CODE: A601

Effective date: 20120525

A602 Written permission of extension of time

Free format text: JAPANESE INTERMEDIATE CODE: A602

Effective date: 20120601

A521 Request for written amendment filed

Free format text: JAPANESE INTERMEDIATE CODE: A523

Effective date: 20120827

TRDD Decision of grant or rejection written
A01 Written decision to grant a patent or to grant a registration (utility model)

Free format text: JAPANESE INTERMEDIATE CODE: A01

Effective date: 20130220

R155 Notification before disposition of declining of application

Free format text: JAPANESE INTERMEDIATE CODE: R155

A61 First payment of annual fees (during grant procedure)

Free format text: JAPANESE INTERMEDIATE CODE: A61

Effective date: 20130424

FPAY Renewal fee payment (event date is renewal date of database)

Free format text: PAYMENT UNTIL: 20160502

Year of fee payment: 3

R150 Certificate of patent or registration of utility model

Ref document number: 5259583

Country of ref document: JP

Free format text: JAPANESE INTERMEDIATE CODE: R150

Free format text: JAPANESE INTERMEDIATE CODE: R150

R250 Receipt of annual fees

Free format text: JAPANESE INTERMEDIATE CODE: R250

R250 Receipt of annual fees

Free format text: JAPANESE INTERMEDIATE CODE: R250

R250 Receipt of annual fees

Free format text: JAPANESE INTERMEDIATE CODE: R250

R250 Receipt of annual fees

Free format text: JAPANESE INTERMEDIATE CODE: R250

LAPS Cancellation because of no payment of annual fees