JP5259235B2 - 冷却ユニット - Google Patents

冷却ユニット Download PDF

Info

Publication number
JP5259235B2
JP5259235B2 JP2008103651A JP2008103651A JP5259235B2 JP 5259235 B2 JP5259235 B2 JP 5259235B2 JP 2008103651 A JP2008103651 A JP 2008103651A JP 2008103651 A JP2008103651 A JP 2008103651A JP 5259235 B2 JP5259235 B2 JP 5259235B2
Authority
JP
Japan
Prior art keywords
cooling
evaporator
cooling unit
fan
cooling chamber
Prior art date
Legal status (The legal status is an assumption and is not a legal conclusion. Google has not performed a legal analysis and makes no representation as to the accuracy of the status listed.)
Expired - Fee Related
Application number
JP2008103651A
Other languages
English (en)
Other versions
JP2009257598A (ja
Inventor
浩一郎 落合
則秋 阪本
達哉 尾崎
幸作 足立
Current Assignee (The listed assignees may be inaccurate. Google has not performed a legal analysis and makes no representation or warranty as to the accuracy of the list.)
Toshiba Corp
Toshiba Lifestyle Products and Services Corp
Original Assignee
Toshiba Corp
Toshiba Consumer Electronics Holdings Corp
Toshiba Home Appliances Corp
Priority date (The priority date is an assumption and is not a legal conclusion. Google has not performed a legal analysis and makes no representation as to the accuracy of the date listed.)
Filing date
Publication date
Application filed by Toshiba Corp, Toshiba Consumer Electronics Holdings Corp, Toshiba Home Appliances Corp filed Critical Toshiba Corp
Priority to JP2008103651A priority Critical patent/JP5259235B2/ja
Publication of JP2009257598A publication Critical patent/JP2009257598A/ja
Application granted granted Critical
Publication of JP5259235B2 publication Critical patent/JP5259235B2/ja
Expired - Fee Related legal-status Critical Current
Anticipated expiration legal-status Critical

Links

Images

Landscapes

  • Removal Of Water From Condensation And Defrosting (AREA)
  • Devices For Blowing Cold Air, Devices For Blowing Warm Air, And Means For Preventing Water Condensation In Air Conditioning Units (AREA)

Description

本発明は、冷却対象物に冷気を供給してこれを冷却するようにした冷却ユニットの構成に関する。
従来、食品などを収納冷蔵する冷蔵貯蔵庫などのキャビネット装置に連結して、キャビネット内部を所定温度に冷却保持するようにした冷却ユニットが存在する(例えば、特許文献1参照)。
これに対して、本出願人らは、比較的小型の冷却対象物、例えば、トラックや乗用車などの車内で仮眠するような場合に、エンジンをアイドリング状態にしておこなうカーエアコンによる冷房ではなく、冷凍サイクルをユニット化してコンパクト化するとともに、これらの設置スペースを可能な限り小さくして据え付け安定性を良好にして車内に取り付け、冷風の吹き出しによって限られた空間を外部雰囲気温度に拘わらずに冷却して快適な睡眠環境を形成する冷却性能の高い冷却ユニットを発明し、特願2007−164893号として出願している。
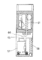
この冷却ユニット(51)は、図7、図8に示すように、圧縮機(57)と凝縮器(58)と蒸発器(61)とを連結して冷凍サイクル(56)を形成し、前記蒸発器(61)を断熱壁体(67)で形成した冷却室(71)内に収納するとともに、圧縮機(57)と凝縮器(58)とを機械室(55)内に配設し、前記冷却室(71)を機械室(55)の上部に載置することで冷凍サイクル(56)をユニット化しコンパクト化するとともに、これらの設置スペースを可能な限り小さくして据え付け安定性を良好にしたものである。
特開2006−329554号公報
しかしながら、前記冷却ユニット(51)を床面に設置したマット部分に冷気を供給する空気循環式の寝具(76)に適用したような場合には、冷気を発生する冷却室(71)が機械室(55)の上部に位置していることから、この冷却室(71)から床面に設置したマットまで冷気を供給するためには長尺の送風ダクト(75)が必要となり、その分設置スペースが増加するだけでなく、部品材料が多くなり、コスト高になるとともに据え付け部における長尺のダクトの存在は外観を損なう不具合があった。
本発明は、上記の点を考慮してなされたものであり、冷却ユニットにおける冷却室と機械室とのレイアウトを変更することにより、冷却対象物と冷却室との距離を最短にして、設置スペースが小さく、安価に製造でき、外観的にも良好な冷却ユニットを提供することを目的とする。
上記課題を解決するために本発明の冷却ユニットは、圧縮機と凝縮器と蒸発器とを環状に連結して形成した冷凍サイクルと、断熱壁体で形成され内部に前記蒸発器と冷却ファンを収納するとともに冷気の外部への吹き出し風路および戻り風路を形成した冷却室と、前記圧縮機と凝縮器とを配設した機械室とを備え、前記冷却室を機械室の下方に配置した冷却ユニットにおいて、蒸発器は、幅寸法及び高さ寸法が奥行き寸法に比べて大きく、冷却室の前面に沿わせ立設され、蒸発器の一端側の冷却室の側部に冷却ファンが設けられ、蒸発器の前方に吸い込み流路が設けられ、冷却ファンの前方に吹き出し流路が設けられ、吸い込み流路から吸い込んだ空気は、蒸発器の前面から後方へ流れ、冷却ファンによって前方へ向け吹き出し流路から吹き出されることを特徴とする冷却ユニット。
本発明によれば、床面に設置した空気循環式マットなどの冷却対象物と冷却室との距離を最短化することができるので、送風ダクトの長さの短縮、あるいはダクトの設置自体をなくすことができ、設置スペースの縮小とともに部品のコスト低減が可能となり、外観を良好に保つことができる。
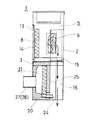
以下、図面に基づき本発明の1実施形態について説明する。冷却ユニット(1)の正面からの断面図である図1、および図1の側断面図である図2に示すように、薄鋼板製の外板(2)で横長の所定高さを有する箱体状の外郭を形成し、高さ方向のほぼ中央部を発泡スチロール成型体などからなる断熱仕切壁(3)で上下の空間に区分している。
前記断熱仕切壁(3)の上方の空間には、冷凍サイクル(6)の一環をなす冷媒を圧縮して吐出する圧縮機(7)と、吐出された高温高圧の冷媒を受けて放熱し凝縮する凝縮器(8)およびこれら凝縮器(8)などの高温部品を冷却する放熱ファン(9)を剛性のある鋼板などで形成した仕切板(4)上に設置し、機械室(5)としている。
前記冷凍サイクル(6)は、図3に示すように、前記圧縮機(7)、凝縮器(8)、減圧器である毛細管(10)、および詳細を後述する蒸発器(11)を環状に連結して、圧縮機(7)の駆動により冷媒を循環し、蒸発器(11)で蒸発させることによって冷気を生成するものであり、前記機械室(5)内の横断面図である図4に示すように、重量物である圧縮機(7)は、前記底板(4)上の幅方向の一側に偏倚して振動吸収用のクッション体(12)を介して固着されている。
蛇行曲げした冷媒管を多数のフィンに嵌入させて奥行き寸法を薄くした直方体状の凝縮器(8)は、面積の大きなその前面を外板(2)の前面に形成した吸込み開口(13)に沿わせて立設させ、この吸込み開口(13)と凝縮器(8)との間には埃などを遮蔽するためにフィルター(14)を設けている。
凝縮器(8)の背面には、前記圧縮機(7)の運転に同期して駆動する放熱ファン(9)を前記圧縮機(7)に対向する平面における1コーナーの底部に開口した排気口(15)の端縁に面して立設させており、駆動時には、外気を前面の開口(13)から内部に吸引して凝縮器(8)を冷却し、熱交換した空気を外板(2)の前記排気口(15)から下方の排気ダクト(16)に向けて放出するようにしている。
このとき、前述したように、圧縮機(7)は機械室(5)内の側部に偏倚しているため放熱ファン(9)による冷却作用を直接受けないようにしており、過冷却による蒸発温度を低下を防いでいるとともに、偏倚している分奥行き方向で放熱ファン(9)と圧縮機(7)が重ならないように配置することで、機械室(5)の奥行き寸法の短縮化をはかっている。
そして、前記機械室(5)の上部には、PC基板上にDC−ACインバータを収納した幅方向に長い筒状の電装室(17)を区画して配設するとともに、その前面には操作パネル(18)を配置して冷却ユニット(1)の運転を制御するようにしている。
しかして、前記断熱仕切壁(3)の下方空間には、前記断熱仕切壁(3)に連なるように同様の材料で形成された断熱側壁(19)を外板(2)の内面側に配設し、底部には剛性のある断熱壁(20)を設けることで内部を断熱空間とした冷却室(21)を設置しており、図5の横断面図で示すように、その中央部から前方の部分には、前記凝縮器(8)からの冷媒を受けてこれを蒸発させることで低温化した冷気を生成する蒸発器(11)を冷却室(21)の幅方向に亙って立設状態で配置している。
この蒸発器(11)も前記凝縮器(8)と同様に、蛇行曲げした冷媒管と冷媒管に嵌着した多数のフィンとから所定の幅と高さ寸法を有して奥行き寸法を薄くした横長の直方体を形成しており、前記蒸発器(11)の一端側の冷却室(21)の側部、すなわち、図5中の左側には、シロッコファンからなる冷却ファン(22)を蒸発器(11)の長手方向に直交するように、冷却室(21)の奥行き方向に亙り、立設させて併置している。
前記蒸発器(11)の下面に対応する冷却室(21)の底面には、一側に向かって下方傾斜させた露受け樋(23)を形成しており、この露受け樋部(23)によって、冷却運転時に蒸発器(11)に付着する霜の融解水を集めるようにしている。集められたドレン水は、露受け樋(23)の傾斜下端部と前記排気ダクト(16)とを連通するように形成した排水路(24)を流下し、排気ダクト(16)から外部に流出する。
前記排気ダクト(16)は、冷却室(21)をその平面からみた状態で、前記機械室(5)の底部に開口させた前記排気口(15)に対応する断熱仕切壁(3)、断熱側壁(19)および底面の断熱壁(20)の1コーナー部、本実施例では右奥のコーナー部を内方に凹陥させて形成した凹陥部(25)と前記排気口(15)とによって設けられたものであり、上方に位置する機械室(5)から本体底面まで貫通させることで、冷却ユニット(1)の駆動時には、凝縮器(8)や圧縮機(7)と熱交換して温度上昇した空気を前記放熱ファン(9)の回転により下方に流下させ、外気中に放出するようにしている。
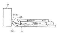
冷却室(19)における前記冷却ファン(22)の設置部の前方には、ファンケーシングによって連結され、冷却対象物、例えば、図6に示す冷却ユニット(1)の前面側に相対向して配置した空気循環式の冷却マット(26)の空洞内部に冷気を導入するようにその冷気取り入れ口(26a)に連結した円筒状の吹き出し風路(27)を外方に突出させている。また、この吹き出し風路(27)の幅方向の反対側に位置する前記蒸発器(11)の前面には、戻り風路(28)を前記吹き出し風路(27)と同様に突出させて設けており、前記冷却マット(26)内を循環冷却した冷気を戻り口(26b)から前記戻り風路(28)を介して冷却室(21)内の前記蒸発器(11)の一端側に流入させるようにしている。
以上の構成により、冷却ユニット(1)における圧縮機(7)を運転した場合には、凝縮器(8)からの冷媒を蒸発させることで蒸発器(11)を低温化して冷却室(21)内の空気を冷却し、生成された冷気を冷却ファン(20)によって吹き出し風路(31)から冷却マット(25)などの冷却対象物に吹き出してこれを冷却するものであり、循環後は戻り風路(28)から冷却室(19)内の蒸発器(11)に流入させ、再び冷却して吹き出す冷気循環を繰り返す。
したがって、従来の冷却室(71)を機械室(55)の上方に配置する構成に比して、冷却室(21)を機械室(5)の下方に配設したので、前記図6に示すように、冷却室(21)からの冷気の吹き出し風路(27)や戻り風路(28)の位置が冷却ユニット(1)の低部となり、特に、冷却対象物が前記空気循環式の冷却マット(26)などのように床面近傍に配置するものの場合は、その接続構成がきわめて容易となり、熱損失が少ないので冷気の伝達効率を向上させることができる。また、床面近傍に設置した冷却マット(26)の冷気取り入れ口(26a)や戻り口(26b)と前記冷気吹き出し風路(27)や戻り風路(28)とを直接連結することができるので、長尺のダクト部材が不必要になり、ダクトスペースを削減できるばかりか、部品数やコストアップを抑制でき、ダクト部材が突出しないので外観を良好に保つことができる。
上記のように、機械室(5)においては、凝縮器(8)や圧縮機(7)の配設位置に対向するコーナー部に排気口(15)を、冷却室(21)においては、蒸発器(11)やこの蒸発器(11)の長手方向と直交する側部に配置した冷却ファン(22)と対向するコーナー部に凹陥部(25)をそれぞれ設けることによって排気ダクト(16)を形成したので、各室(5)(21)への効果的な部品配置により生み出したスペース空間を活用して大きな排気スペースとすることができ、放熱効率を高くして冷凍サイクル(6)の効率を向上できるとともに、冷却ユニット(1)としての外形を最小レベルまでコンパクト化でき、設置スペースの縮小が可能となるものである。
特に、前記構成においては、冷却ファン(22)を蒸発器(11)の長手方向の一端側に直交して配置していることから、冷却ファン(22)の径寸法を冷却室(21)の奥行き長さに合わせてその側部に設置することができ、その分他のスペースを活用できるので、冷却ファン(22)に対向する1コーナー部に排気ダクト(16)を形成する凹陥部(25)をより拡大した状態で容易に設けることができるものである。
また、前記蒸発器(11)の露水を受ける露受け樋(22)と集められたドレン水を排気ダクト(16)に導く排水路(24)により、機械室(5)内の排気と冷却室(21)内のドレン水とを排気ダクト(16)を介して外部に流出させることができるので、従来のように、圧縮機(57)の上部に設けたドレン蒸発装置(65)が不要になるとともに、露受け樋(73)と前記蒸発装置(65)とを連結するドレンホース(66)などの部品配置が不要となり、スペース削減効果が大きくなるばかりでなく、部品数や製造工数削減によるコスト低減に寄与できる。
さらに、前記のように排気ダクト(16)を構成する凹陥部(25)は、前記機械室(5)に配置した圧縮機(7)および凝縮器(8)から導出した配管と下方の蒸発器(11)からの延出管とを接続する配管スペースとしても利用することができ、このようにすれば、外板(2)の外部空間に接続スペースを設ける必要がなく、冷却ユニット(1)自体の外形寸法の拡大を防ぐ効果を有する。
なお、前記冷却対象物としての前記冷却マット(26)は、内部の空洞内に冷気を導入することにより、その上部や内部に入る人体を冷却するものであるが、冷却対象物はこれに限るものではなく、その形態や設置スペースから、冷却ユニットと冷却対象物とが一体化できない構成のものであればよく、断熱箱体の内部に冷気を導入して収納されている食品などを冷却する冷却貯蔵庫としてもよい。また、小部屋や室内の一部の空気冷却に用いることを目的としたスポットクーラーでもよく、さらに、これらの冷却対象物を戸外で使用する場合を考慮すれば、電源は、交流電源に限らず電池を使用するようにしてもよい。
本発明の1実施形態を示す冷却ユニットの正面からの断面図である。 図1の側断面図である。 図1に配設した冷凍サイクルの概略構成図である。 図1における上部機械室部分の横断面図である。 図1における下部冷却室部分の横断面図である。 図1の冷却ユニットの使用状態の例を示す説明図である。 従来の冷却ユニットの正面からの断面図である。 図7の側断面図である。
符号の説明
1 冷却ユニット 2 外板 3 断熱仕切壁
4 仕切板 5 機械室 6 冷凍サイクル
7 圧縮機 8 凝縮器 9 放熱ファン
11 蒸発器 13 吸込み開口 14 フィルター
15 排気口 16 排気ダクト 17 電装室
19 断熱側壁 20 断熱壁 21 冷却室
22 冷却ファン 23 露受け樋 24 排水路
25 凹陥部 26 冷却マット 26a 冷気取り入れ口
26b 戻り口 27 吹き出し風路 28 戻り風路

Claims (5)

  1. 圧縮機と凝縮器と蒸発器とを環状に連結して形成した冷凍サイクルと、断熱壁体で形成され内部に前記蒸発器と冷却ファンを収納するとともに冷気の外部への吹き出し風路および戻り風路を形成した冷却室と、前記圧縮機と凝縮器とを配設した機械室とを備え、前記冷却室を機械室の下方に配置した冷却ユニットにおいて、
    蒸発器は、幅寸法及び高さ寸法が奥行き寸法に比べて大きく、冷却室の前面に沿わせ立設され、蒸発器の一端側の冷却室の側部に冷却ファンが設けられ、蒸発器の前方に吸い込み流路が設けられ、冷却ファンの前方に吹き出し流路が設けられ、吸い込み流路から吸い込んだ空気は、蒸発器の前面から後方へ流れ、冷却ファンによって前方へ向け吹き出し流路から吹き出されることを特徴とする冷却ユニット。
  2. 冷却室の平面からみた1コーナー部を内方に凹陥するように断熱壁体を形成し、前記1コーナー部に形成された凹陥部を、上方に位置する機械室から本体底面に貫通する排気ダクトの一部としたことを特徴とする請求項1記載の冷却ユニット。
  3. 前記冷却ファンは、回転軸方向の寸法に比べて径方向の寸法が長いシロッコファンからなり、前記シロッコファンの長手方向を前記蒸発器の幅方向に直交させて前記冷却室の側部に設置したことを特徴とする請求項1または2記載の冷却ユニット。
  4. 蒸発器の下面に対応する冷却室底面には前記蒸発器に付着する露水を受ける露受け樋を設け、この露受け樋で受けたドレン水を排水路を介して排気ダクトに導き外部に流出させるようにしたことを特徴とする請求項2記載の冷却ユニット。
  5. 前記凹陥部は、前記冷却ファンと幅方向に対向する1コーナー部に形成され、
    前記凹陥部の蒸発器と対向する面が、冷却ファン側に行くほど後方へ傾斜する傾斜面をなしていることを特徴とする請求項2記載の冷却ユニット。
JP2008103651A 2008-04-11 2008-04-11 冷却ユニット Expired - Fee Related JP5259235B2 (ja)

Priority Applications (1)

Application Number Priority Date Filing Date Title
JP2008103651A JP5259235B2 (ja) 2008-04-11 2008-04-11 冷却ユニット

Applications Claiming Priority (1)

Application Number Priority Date Filing Date Title
JP2008103651A JP5259235B2 (ja) 2008-04-11 2008-04-11 冷却ユニット

Publications (2)

Publication Number Publication Date
JP2009257598A JP2009257598A (ja) 2009-11-05
JP5259235B2 true JP5259235B2 (ja) 2013-08-07

Family

ID=41385250

Family Applications (1)

Application Number Title Priority Date Filing Date
JP2008103651A Expired - Fee Related JP5259235B2 (ja) 2008-04-11 2008-04-11 冷却ユニット

Country Status (1)

Country Link
JP (1) JP5259235B2 (ja)

Families Citing this family (1)

* Cited by examiner, † Cited by third party
Publication number Priority date Publication date Assignee Title
KR101206507B1 (ko) 2010-12-08 2012-11-29 (주)부성 인출타입 냉각유닛이 구비된 냉장고

Family Cites Families (10)

* Cited by examiner, † Cited by third party
Publication number Priority date Publication date Assignee Title
JPS4429496Y1 (ja) * 1967-06-27 1969-12-05
JPS5467261A (en) * 1977-11-09 1979-05-30 Hitachi Ltd Refrigerating machine for refrigerator
JPS5854103Y2 (ja) * 1981-08-10 1983-12-09 正和 松本 冷水装置を備えた寝具
JPS58140582A (ja) * 1982-02-17 1983-08-20 株式会社日立製作所 車載用冷蔵庫の蒸発器
JPS6062582A (ja) * 1984-07-30 1985-04-10 株式会社日立製作所 冷蔵庫
JP3741833B2 (ja) * 1997-08-07 2006-02-01 ホシザキ電機株式会社 冷蔵庫
JP2003065651A (ja) * 2001-08-21 2003-03-05 Hoshizaki Electric Co Ltd 冷凍機ユニット
JP2006329554A (ja) * 2005-05-27 2006-12-07 Matsushita Electric Ind Co Ltd 冷却ユニット
JP2007098044A (ja) * 2005-10-07 2007-04-19 Twinbird Corp 寝袋
JP2009002596A (ja) * 2007-06-22 2009-01-08 Toshiba Corp 冷却ユニット

Also Published As

Publication number Publication date
JP2009257598A (ja) 2009-11-05

Similar Documents

Publication Publication Date Title
JP2007309608A (ja) トレーラー用冷凍装置
JP2005098559A (ja) 冷蔵庫
JPH07146054A (ja) 冷蔵庫
JP4473788B2 (ja) 冷蔵庫
JP2006138609A (ja) 冷蔵庫
JP5259271B2 (ja) 冷却ユニット
JP5259235B2 (ja) 冷却ユニット
JP2009002596A (ja) 冷却ユニット
JP2009185775A (ja) 冷却ユニット
CN104380015A (zh) 冰箱
JP2014066494A (ja) 冷蔵庫
JP2003042636A (ja) 冷蔵庫
JP2003287342A (ja) 冷蔵庫
JP2012255638A (ja) 冷蔵庫
JP3855143B2 (ja) 冷蔵庫
JPH0791811A (ja) 冷蔵庫
JP2008292093A (ja) 冷蔵庫
JP2001324174A (ja) 冷凍機ユニット
KR101202872B1 (ko) 냉장고의 기계실
JP3954829B2 (ja) 熱交換器及び熱交換ユニット並びに冷却貯蔵庫
JP2009192147A (ja) 冷却ユニット
JP4621567B2 (ja) 冷蔵庫
JP4156952B2 (ja) 冷却貯蔵庫
WO2010098049A1 (ja) 車載用温度調節装置
JP2007046865A (ja) 冷蔵庫

Legal Events

Date Code Title Description
A621 Written request for application examination

Free format text: JAPANESE INTERMEDIATE CODE: A621

Effective date: 20110316

A977 Report on retrieval

Free format text: JAPANESE INTERMEDIATE CODE: A971007

Effective date: 20120831

A131 Notification of reasons for refusal

Free format text: JAPANESE INTERMEDIATE CODE: A131

Effective date: 20120911

A521 Written amendment

Free format text: JAPANESE INTERMEDIATE CODE: A523

Effective date: 20121109

TRDD Decision of grant or rejection written
A01 Written decision to grant a patent or to grant a registration (utility model)

Free format text: JAPANESE INTERMEDIATE CODE: A01

Effective date: 20130402

A61 First payment of annual fees (during grant procedure)

Free format text: JAPANESE INTERMEDIATE CODE: A61

Effective date: 20130424

FPAY Renewal fee payment (event date is renewal date of database)

Free format text: PAYMENT UNTIL: 20160502

Year of fee payment: 3

R150 Certificate of patent or registration of utility model

Free format text: JAPANESE INTERMEDIATE CODE: R150

LAPS Cancellation because of no payment of annual fees