JP5225734B2 - 多層配線基板 - Google Patents
多層配線基板 Download PDFInfo
- Publication number
- JP5225734B2 JP5225734B2 JP2008108890A JP2008108890A JP5225734B2 JP 5225734 B2 JP5225734 B2 JP 5225734B2 JP 2008108890 A JP2008108890 A JP 2008108890A JP 2008108890 A JP2008108890 A JP 2008108890A JP 5225734 B2 JP5225734 B2 JP 5225734B2
- Authority
- JP
- Japan
- Prior art keywords
- layer
- layers
- fiber bundle
- resin base
- substrate
- Prior art date
- Legal status (The legal status is an assumption and is not a legal conclusion. Google has not performed a legal analysis and makes no representation as to the accuracy of the status listed.)
- Expired - Fee Related
Links
Images
Landscapes
- Production Of Multi-Layered Print Wiring Board (AREA)
Description
導電材料からなる配線と絶縁性の樹脂で構成されたn(nは4以上の整数)層の配線層と、繊維束に絶縁性の樹脂が含浸された(n−1)層の樹脂基材層とが、交互に重なり合う状態で積層された多層配線基板であって、
前記配線層間の熱膨張量の差を打ち消すように、
前記(n−1)層の樹脂基材層は、そのうちの1つの層と、それ以外の他の層との2種類の層があり、
前記1つの層と、前記他の層とは、層厚、並びに、前記繊維束の種類および太さは互いに同じであるが、前記1つの層だけが前記繊維束の間隔が前記他の層の前記繊維束の間隔と異なり、これにより、前記1つの層の繊維束含有率だけが、前記他の層の繊維束含有率と異なり、前記他の層の繊維含有率は互いに差異がない、多層配線基板である。ここで、前記1つの層に、色素を加えて、前記他の層と見分けがつくようにするのも好ましい。
n/2番目の前記樹脂基材層を境として、一方の実装面から数えて1番目から(n/2)番目までの前記配線層の残銅率の平均値が、(n/2+1)番目からn番目までの前記配線層の残銅率の平均値より大きく、
1番目から(n/2−1)番目までの前記樹脂基材層のうちの1層が前記1つの層であり、その繊維束含有率が、前記他の層の繊維束含有率よりも小さいことが好ましい。
(n+1)/2番目の前記配線層を境として、一方の実装面から数えて1番目から(n−1)/2番目までの前記配線層の残銅率の平均値が、(n+3)/2番目からn番目までの前記配線層の残銅率の平均値より大きく、
1番目から(n−1)/2番目までの前記樹脂基材層のうちの1層が前記1つの層であり、その繊維束含有率が、前記他の層の繊維束含有率よりも小さいことが好ましい。
n/2番目の前記樹脂基材層を境として、一方の実装面から数えて1番目から(n/2)番目までの前記配線層の残銅率の平均値が、(n/2+1)番目からn番目までの前記配線層の残銅率の平均値より小さく、
1番目から(n/2−1)番目までの前記樹脂基材層のうちの1層が前記1つの層であり、その繊維束含有率が、前記他の層の繊維束含有率よりも大きいことが好ましい。
(n+1)/2番目の前記配線層を境として、一方の実装面から数えて1番目から(n−1)/2番目までの前記配線層の残銅率の平均値が、(n+3)/2番目からn番目までの前記配線層の残銅率の平均値より小さく、
1番目から(n−1)/2番目までの前記樹脂基材層のうちの1層が前記1つの層であり、その繊維束含有率が、前記他の層の繊維束含有率よりも大きいことが好ましい。
(1)コア基材層104の下側の積層基材層105(樹脂基材層B4およびB5)のうち少なくとも1層に、他の積層基材層105の繊維束含有率より繊維束含有率が小さい樹脂基材層を用いる。
(2)コア基材層104の上側の積層基材層105(樹脂基材層B1およびB2)のうち少なくとも1層に、他の積層基材層105の繊維束含有率より繊維束含有率が大きい樹脂基材層を用いる。
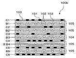
最初に、図1に示した本実施の形態の基板100bの構成、すなわち5層の樹脂基材層のうちB1、B2、B3、B5には繊維束含有率が75%の基材を用い、B4のみ繊維束含有率が63%の基材を用いた場合についてシミュレーションを行った。各配線層の残銅率はC1から順に、32%、28%、37%、46%、52%、54%である。各配線層Cの厚みは10μm、各樹脂基材層Bの厚みは30μmである。また基板の大きさは50mm×50mmである。
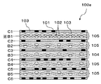
次に、図10に示す従来の基板100fについて反りシミュレーションの結果を説明する。従来の基板100fでは、5層の樹脂基材層(B1〜B5)に繊維束含有率が75%の基材を用いている。各配線層の残銅率は上述した例と同じ、すなわち図10に示した配線層C1から順に、32%、28%、37%、46%、52%、54%である。各配線層Cの厚み(10μm)、各樹脂基材層Bの厚み(30μm)および基板の大きさ(50mm×50mm)共に、上述した例と同じである。また、反りシミュレーションにおける基板の各部材の物性値についても、上述した例と同じである。
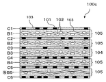
図3は基板100cの構成を示す。基板100cは、上部から順にC1〜C6までの6層の配線層を有し、各配線層Cの間に、上部から順にB1、B2(ともに積層基材層105)、B3(コア基材層104)、B4、B5(ともに積層基材層105)の5層の樹脂基材層を有している。また各配線層Cの残銅率は配線層C1から順に、32%、28%、37%、46%、52%、54%である。これらの配置および構成は、前述した基板100bと同じである。
図5に基板100dの構成を示す。基板100dは、上部から順にC1〜C6までの6層の配線層を有し、各配線層の間に、上部から順にB1、B2(ともに積層基材層105)、B3(コア基材層104)、B4、B5(ともに積層基材層105)の5層の樹脂基材層を有している。また各配線層の残銅率は、C1から順に、32%、28%、37%、46%、52%、54%である。これらの配置および構成は、前述した基板100bと同じである。
図7に基板100eの構成を示す。基板100eは、上部から順にC1〜C6までの6層の配線層を有し、各配線層の間に、上部から順にB1、B2(ともに積層基材層105)、B3(コア基材層104)、B4、B5(ともに積層基材層105)の5層の樹脂基材層を有している。各配線層Cの残銅率は配線層C1から順に、32%、28%、37%、46%、52%、54%である。これらの配置および構成は、前述した基板100bと同じである。
これに限定されるものではない。また本実施の形態では、基板の中央にコア基材層104がある場合、すなわち配線層が偶数ある場合について説明したが、本発明はこれに限定されない。本発明は、基板の中央にコア基材層104がなく、基板が積層基材層105だけで構成されている場合、すなわち配線層が奇数ある場合についても、上述した実施の形態と同様の効果を発揮できる。
(1)基板の下側の積層基材層105のうち少なくとも1層に、他の積層基材層105の繊維束含有率より繊維束含有率が小さい樹脂基材層を用いる。
(2)基板の上側の積層基材層105のうち少なくとも1層に、他の積層基材層105の繊維束含有率より繊維束含有率が大きい樹脂基材層を用いる。
C1〜C6 配線層
100b〜100e 多層配線基板
101 銅配線
102 繊維束
103 樹脂
104 コア基材層
105 積層基材層
108 ダミーパターン
Claims (6)
- 導電材料からなる配線と絶縁性の樹脂で構成されたn(nは4以上の整数)層の配線層と、繊維束に絶縁性の樹脂が含浸された(n−1)層の樹脂基材層とが、交互に重なり合う状態で積層された多層配線基板であって、
前記配線層間の熱膨張量の差を打ち消すように、
前記(n−1)層の樹脂基材層は、そのうちの1つの層と、それ以外の他の層との2種類の層があり、
前記1つの層と、前記他の層とは、層厚、並びに、前記繊維束の種類および太さは互いに同じであるが、前記1つの層だけが前記繊維束の間隔が前記他の層の前記繊維束の間隔と異なり、これにより、前記1つの層の繊維束含有率だけが、前記他の層の繊維束含有率と異なり、前記他の層の繊維含有率は互いに差異がない、多層配線基板。 - 前記1つの層に、色素を加えて、前記他の層と見分けがつくようにした請求項1記載の多層配線基板。
- nは偶数であり、
かつn/2番目の前記樹脂基材層を境として、一方の実装面から数えて1番目から(n/2)番目までの前記配線層の残銅率の平均値が、(n/2+1)番目からn番目までの前記配線層の残銅率の平均値よりも大きく、
1番目から(n/2−1)番目までの前記樹脂基材層のうちの1層が前記1つの層であり、その繊維束含有率が、前記他の層の繊維束含有率よりも小さいことを特徴とする請求項1に記載の多層配線基板。 - nは奇数であり、
かつ(n+1)/2番目の前記配線層を境として、一方の実装面から数えて1番目から(n−1)/2番目までの前記配線層の残銅率の平均値が、(n+3)/2番目からn番目までの前記配線層の残銅率の平均値より大きく、
1番目から(n−1)/2番目までの前記樹脂基材層のうちの1層が前記1つの層であり、その繊維束含有率が、前記他の層の繊維束含有率よりも小さいことを特徴とする請求項1に記載の多層配線基板。 - nは偶数であり、
かつn/2番目の前記樹脂基材層を境として、一方の実装面から数えて1番目から(n/2)番目までの前記配線層の残銅率の平均値が、(n/2+1)番目からn番目までの前記配線層の残銅率の平均値よりも小さく、
1番目から(n/2−1)番目までの前記樹脂基材層のうちの1層が前記1つの層であり、その繊維束含有率が、前記他の層の繊維束含有率よりも大きいことを特徴とする請求項1に記載の多層配線基板。 - nは奇数であり、
かつ(n+1)/2番目の前記配線層を境として、一方の実装面から数えて1番目から(n−1)/2番目までの前記配線層の残銅率の平均値が、(n+3)/2番目からn番目までの前記配線層の残銅率の平均値より小さく、
1番目から(n−1)/2番目までの前記樹脂基材層のうちの1層が前記1つの層であり、その繊維束含有率が、前記他の層の繊維束含有率よりも大きいことを特徴とする請求項1に記載の多層配線基板。
Priority Applications (3)
| Application Number | Priority Date | Filing Date | Title |
|---|---|---|---|
| JP2008108890A JP5225734B2 (ja) | 2008-04-18 | 2008-04-18 | 多層配線基板 |
| US12/193,311 US8022310B2 (en) | 2007-08-23 | 2008-08-18 | Multilayer wiring board |
| CN2008101459974A CN101374391B (zh) | 2007-08-23 | 2008-08-22 | 多层布线基板 |
Applications Claiming Priority (1)
| Application Number | Priority Date | Filing Date | Title |
|---|---|---|---|
| JP2008108890A JP5225734B2 (ja) | 2008-04-18 | 2008-04-18 | 多層配線基板 |
Publications (2)
| Publication Number | Publication Date |
|---|---|
| JP2009260123A JP2009260123A (ja) | 2009-11-05 |
| JP5225734B2 true JP5225734B2 (ja) | 2013-07-03 |
Family
ID=41387161
Family Applications (1)
| Application Number | Title | Priority Date | Filing Date |
|---|---|---|---|
| JP2008108890A Expired - Fee Related JP5225734B2 (ja) | 2007-08-23 | 2008-04-18 | 多層配線基板 |
Country Status (1)
| Country | Link |
|---|---|
| JP (1) | JP5225734B2 (ja) |
Families Citing this family (5)
| Publication number | Priority date | Publication date | Assignee | Title |
|---|---|---|---|---|
| JP5471870B2 (ja) * | 2010-06-17 | 2014-04-16 | 富士通株式会社 | 配線基板 |
| JP2015038911A (ja) | 2012-09-27 | 2015-02-26 | イビデン株式会社 | プリント配線板及びプリント配線板の製造方法 |
| US9384314B2 (en) | 2014-02-28 | 2016-07-05 | International Business Machines Corporation | Reduction of warpage of multilayered substrate or package |
| JP6386252B2 (ja) * | 2014-04-23 | 2018-09-05 | イビデン株式会社 | プリント配線板 |
| JP6878794B2 (ja) * | 2016-08-31 | 2021-06-02 | 大日本印刷株式会社 | 有孔基板の製造方法及び有孔基板 |
Family Cites Families (4)
| Publication number | Priority date | Publication date | Assignee | Title |
|---|---|---|---|---|
| JP2001111218A (ja) * | 1999-10-13 | 2001-04-20 | Hitachi Ltd | 多層プリント回路基板および電子装置 |
| JP2001217514A (ja) * | 2000-02-03 | 2001-08-10 | Denso Corp | 多層配線基板 |
| JP2003324282A (ja) * | 2002-04-26 | 2003-11-14 | Matsushita Electric Works Ltd | 内層回路入り積層板用接着シート及びこの内層回路入り積層板用接着シートを用いてなる内層回路入り積層板、内層回路入り積層板用接着シートの製造方法 |
| JP2004026997A (ja) * | 2002-06-25 | 2004-01-29 | Noritake Co Ltd | 無機織布強化樹脂基板、無機織布、およびその無機織布の開繊方法 |
-
2008
- 2008-04-18 JP JP2008108890A patent/JP5225734B2/ja not_active Expired - Fee Related
Also Published As
| Publication number | Publication date |
|---|---|
| JP2009260123A (ja) | 2009-11-05 |
Similar Documents
| Publication | Publication Date | Title |
|---|---|---|
| JP5302635B2 (ja) | 多層配線基板 | |
| JP5497334B2 (ja) | 多層配線基板 | |
| US8022310B2 (en) | Multilayer wiring board | |
| US8686821B2 (en) | Inductor structure | |
| CN103582295B (zh) | 电路板及其制造方法 | |
| JP5225734B2 (ja) | 多層配線基板 | |
| CN101374391B (zh) | 多层布线基板 | |
| CN101547555A (zh) | 印刷电路板 | |
| JP2011171473A (ja) | プリント配線板 | |
| JP5194951B2 (ja) | 回路基板の製造方法 | |
| JP4869007B2 (ja) | プリント配線板 | |
| JP5506984B2 (ja) | 多層配線基板 | |
| KR101951654B1 (ko) | 평탄도 개선을 위한 인쇄회로기판의 제조 방법 | |
| US20150062850A1 (en) | Printed circuit board | |
| CN117794051A (zh) | Gsg叠层结构及其制作方法、印制电路板、电子设备 | |
| KR20140148111A (ko) | 경연성 인쇄회로기판 및 그 제조방법 | |
| JP2004146624A (ja) | 内層回路入り金属箔張り積層板の製造法 | |
| JP7101454B2 (ja) | 光電気混載基板 | |
| JP5023796B2 (ja) | プリント配線板およびその製造方法 | |
| JP2018190765A (ja) | リジッド・フレックス多層プリント配線板 | |
| JP2017159615A (ja) | 金属張積層体 | |
| US20140116755A1 (en) | Laminate circuit board structure | |
| KR102194717B1 (ko) | 인쇄회로기판 및 그 제조 방법 | |
| KR101156810B1 (ko) | 다층기판의 제조방법 | |
| JP2010109042A (ja) | 回路基板の製造用クッション材 |
Legal Events
| Date | Code | Title | Description |
|---|---|---|---|
| A621 | Written request for application examination |
Free format text: JAPANESE INTERMEDIATE CODE: A621 Effective date: 20101227 |
|
| A977 | Report on retrieval |
Free format text: JAPANESE INTERMEDIATE CODE: A971007 Effective date: 20120406 |
|
| A131 | Notification of reasons for refusal |
Free format text: JAPANESE INTERMEDIATE CODE: A131 Effective date: 20120412 |
|
| A521 | Request for written amendment filed |
Free format text: JAPANESE INTERMEDIATE CODE: A523 Effective date: 20120606 |
|
| A02 | Decision of refusal |
Free format text: JAPANESE INTERMEDIATE CODE: A02 Effective date: 20121108 |
|
| A521 | Request for written amendment filed |
Free format text: JAPANESE INTERMEDIATE CODE: A523 Effective date: 20130108 |
|
| A911 | Transfer to examiner for re-examination before appeal (zenchi) |
Free format text: JAPANESE INTERMEDIATE CODE: A911 Effective date: 20130116 |
|
| TRDD | Decision of grant or rejection written | ||
| A01 | Written decision to grant a patent or to grant a registration (utility model) |
Free format text: JAPANESE INTERMEDIATE CODE: A01 Effective date: 20130215 |
|
| A61 | First payment of annual fees (during grant procedure) |
Free format text: JAPANESE INTERMEDIATE CODE: A61 Effective date: 20130313 |
|
| R150 | Certificate of patent or registration of utility model |
Ref document number: 5225734 Country of ref document: JP Free format text: JAPANESE INTERMEDIATE CODE: R150 Free format text: JAPANESE INTERMEDIATE CODE: R150 |
|
| FPAY | Renewal fee payment (event date is renewal date of database) |
Free format text: PAYMENT UNTIL: 20160322 Year of fee payment: 3 |
|
| LAPS | Cancellation because of no payment of annual fees |
