JP5147331B2 - レーザ光制御装置及び画像形成装置 - Google Patents
レーザ光制御装置及び画像形成装置 Download PDFInfo
- Publication number
- JP5147331B2 JP5147331B2 JP2007214744A JP2007214744A JP5147331B2 JP 5147331 B2 JP5147331 B2 JP 5147331B2 JP 2007214744 A JP2007214744 A JP 2007214744A JP 2007214744 A JP2007214744 A JP 2007214744A JP 5147331 B2 JP5147331 B2 JP 5147331B2
- Authority
- JP
- Japan
- Prior art keywords
- laser light
- laser
- lens
- optical element
- detection
- Prior art date
- Legal status (The legal status is an assumption and is not a legal conclusion. Google has not performed a legal analysis and makes no representation as to the accuracy of the status listed.)
- Expired - Fee Related
Links
Images
Classifications
-
- G—PHYSICS
- G02—OPTICS
- G02B—OPTICAL ELEMENTS, SYSTEMS OR APPARATUS
- G02B26/00—Optical devices or arrangements for the control of light using movable or deformable optical elements
- G02B26/08—Optical devices or arrangements for the control of light using movable or deformable optical elements for controlling the direction of light
- G02B26/10—Scanning systems
-
- H—ELECTRICITY
- H01—ELECTRIC ELEMENTS
- H01S—DEVICES USING THE PROCESS OF LIGHT AMPLIFICATION BY STIMULATED EMISSION OF RADIATION [LASER] TO AMPLIFY OR GENERATE LIGHT; DEVICES USING STIMULATED EMISSION OF ELECTROMAGNETIC RADIATION IN WAVE RANGES OTHER THAN OPTICAL
- H01S5/00—Semiconductor lasers
- H01S5/06—Arrangements for controlling the laser output parameters, e.g. by operating on the active medium
- H01S5/068—Stabilisation of laser output parameters
- H01S5/0683—Stabilisation of laser output parameters by monitoring the optical output parameters
-
- G—PHYSICS
- G02—OPTICS
- G02B—OPTICAL ELEMENTS, SYSTEMS OR APPARATUS
- G02B26/00—Optical devices or arrangements for the control of light using movable or deformable optical elements
- G02B26/08—Optical devices or arrangements for the control of light using movable or deformable optical elements for controlling the direction of light
- G02B26/10—Scanning systems
- G02B26/12—Scanning systems using multifaceted mirrors
- G02B26/127—Adaptive control of the scanning light beam, e.g. using the feedback from one or more detectors
-
- G—PHYSICS
- G03—PHOTOGRAPHY; CINEMATOGRAPHY; ANALOGOUS TECHNIQUES USING WAVES OTHER THAN OPTICAL WAVES; ELECTROGRAPHY; HOLOGRAPHY
- G03G—ELECTROGRAPHY; ELECTROPHOTOGRAPHY; MAGNETOGRAPHY
- G03G15/00—Apparatus for electrographic processes using a charge pattern
-
- G—PHYSICS
- G03—PHOTOGRAPHY; CINEMATOGRAPHY; ANALOGOUS TECHNIQUES USING WAVES OTHER THAN OPTICAL WAVES; ELECTROGRAPHY; HOLOGRAPHY
- G03G—ELECTROGRAPHY; ELECTROPHOTOGRAPHY; MAGNETOGRAPHY
- G03G15/00—Apparatus for electrographic processes using a charge pattern
- G03G15/04—Apparatus for electrographic processes using a charge pattern for exposing, i.e. imagewise exposure by optically projecting the original image on a photoconductive recording material
-
- H—ELECTRICITY
- H01—ELECTRIC ELEMENTS
- H01S—DEVICES USING THE PROCESS OF LIGHT AMPLIFICATION BY STIMULATED EMISSION OF RADIATION [LASER] TO AMPLIFY OR GENERATE LIGHT; DEVICES USING STIMULATED EMISSION OF ELECTROMAGNETIC RADIATION IN WAVE RANGES OTHER THAN OPTICAL
- H01S5/00—Semiconductor lasers
-
- H—ELECTRICITY
- H04—ELECTRIC COMMUNICATION TECHNIQUE
- H04N—PICTORIAL COMMUNICATION, e.g. TELEVISION
- H04N1/00—Scanning, transmission or reproduction of documents or the like, e.g. facsimile transmission; Details thereof
- H04N1/40—Picture signal circuits
- H04N1/40025—Circuits exciting or modulating particular heads for reproducing continuous tone value scales
-
- H—ELECTRICITY
- H01—ELECTRIC ELEMENTS
- H01S—DEVICES USING THE PROCESS OF LIGHT AMPLIFICATION BY STIMULATED EMISSION OF RADIATION [LASER] TO AMPLIFY OR GENERATE LIGHT; DEVICES USING STIMULATED EMISSION OF ELECTROMAGNETIC RADIATION IN WAVE RANGES OTHER THAN OPTICAL
- H01S5/00—Semiconductor lasers
- H01S5/005—Optical components external to the laser cavity, specially adapted therefor, e.g. for homogenisation or merging of the beams or for manipulating laser pulses, e.g. pulse shaping
-
- H—ELECTRICITY
- H01—ELECTRIC ELEMENTS
- H01S—DEVICES USING THE PROCESS OF LIGHT AMPLIFICATION BY STIMULATED EMISSION OF RADIATION [LASER] TO AMPLIFY OR GENERATE LIGHT; DEVICES USING STIMULATED EMISSION OF ELECTROMAGNETIC RADIATION IN WAVE RANGES OTHER THAN OPTICAL
- H01S5/00—Semiconductor lasers
- H01S5/06—Arrangements for controlling the laser output parameters, e.g. by operating on the active medium
- H01S5/068—Stabilisation of laser output parameters
- H01S5/06825—Protecting the laser, e.g. during switch-on/off, detection of malfunctioning or degradation
Landscapes
- Physics & Mathematics (AREA)
- General Physics & Mathematics (AREA)
- Optics & Photonics (AREA)
- Condensed Matter Physics & Semiconductors (AREA)
- Electromagnetism (AREA)
- Engineering & Computer Science (AREA)
- Multimedia (AREA)
- Signal Processing (AREA)
- Facsimile Scanning Arrangements (AREA)
- Mechanical Optical Scanning Systems (AREA)
- Laser Beam Printer (AREA)
Description
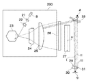
図1は、本発明の実施の形態に係るレーザ光制御装置を備える画像形成装置の構成を概略的に示す図である。
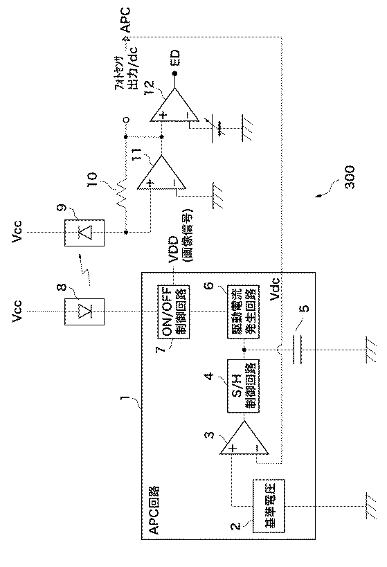
図2は、図1のレーザダイオード8を発光駆動するレーザ駆動回路の内部構成を示すブロック図である。
以下、検出センサ9の構成を図1を参照しながら説明する。本実施の形態では、複合機能光学素子として、主走査方向の画像書き出し位置制御を行うための画像書き出し基準信号(BD信号)を生成するのに使用するBDレンズ30と光量制御を行うのに使用するAPC用レンズ31を図5で示すように一体成型として構成する。尚、検出センサ9にレーザ光を入射できる構成であれば、複合機能光学素子は一体成型に限られるものではない。
本発明の第2の実施の形態では、レーザ走査装置の電源をONした直後であって、APC制御を開始する前に、レーザダイオード8及び検出センサ9の異常(エラー)検知を行う。
4 S/H制御回路
5 S/Hコンデンサ
8 レーザダイオード
9 検出センサ
11,12 差動増幅器
15 スイッチ
21 コリメータレンズ
22 スリット
23 回転多面鏡
24,25 焦点レンズ
26 反射ミラー
27 感光ドラム
28 BDミラー面
30 BDレンズ
31 APC用レンズ
300,400 レーザ駆動回路
Claims (6)
- 感光体上に静電潜像を形成するために前記感光体を露光するレーザ光を出射する半導体レーザと、
前記半導体レーザから出射されたレーザ光が前記感光体上を走査するように前記レーザ光を偏向する偏向手段と、
前記偏向手段によって偏向されたレーザ光が入射する複合機能光学素子と、
前記複合機能光学素子を通過したレーザ光を検出する検出手段と、
前記検出手段の検出結果に基づいて、半導体レーザから出射される前記レーザ光の光量及び前記レーザ光が前記感光体上を走査する走査方向における前記静電潜像の書き出し位置を制御する制御手段と、を備え、
前記複合機能光学素子は、前記偏向手段によって偏向されて前記複合機能光学素子を通過したレーザ光が前記検出手段に入射するように、前記複合機能光学素子に入射するレーザ光の走査方向と垂直な方向に前記レーザ光を屈折させる屈折力を有する第1の特性を有する第1のレンズ部と、前記偏向手段によって偏向されて前記複合機能光学素子を走査するように当該複合機能光学素子に入射するレーザ光を前記検出手段の検出面上に静止させる第2の特性を有する第2のレンズ部と、を有し、前記第1のレンズ部及び第2のレンズ部は前記複合機能光学素子に入射するレーザ光の走査方向において並べて配置され、
前記制御手段は、前記第1のレンズ部を通過して前記検出手段によって検出されるレーザ光の検出結果に基づいて前記静電潜像の書き出し位置を制御し、前記第2のレンズ部を通過して前記検出手段によって検出されるレーザ光の検出結果に基づいて前記レーザ光の光量を制御することを特徴とするレーザ光制御装置。 - 前記複合機能光学素子に入射するレーザ光の走査方向において前記第2のレンズ部は前記第1のレンズ部よりも下流側に配置されていることを特徴とすることを特徴とする請求項1に記載のレーザ光制御装置。
- 前記偏向手段によって偏向されたレーザ光を反射して前記複合機能光学素子に入射させる反射ミラーを備え、前記第1のレンズ部は、前記反射ミラーの設置角度に拘わらず前記第1のレンズ部に入射したレーザ光が前記検出手段に入射するような屈折力を備えることを特徴とする請求項1又は2に記載のレーザ光制御装置。
- 前記制御手段は、前記第1のレンズ部を通過して前記検出手段によって検出されるレーザ光の検出結果に基づいて前記静電潜像の書き出し位置を制御し、前記第2のレンズを通過して前記検出手段によって検出されるレーザ光の検出結果に基づいて前記レーザ光の光量を制御することを特徴とする請求項1乃至3のいずれか1項に記載のレーザ光制御装置。
- 前記複合機能光学素子は、前記第1のレンズ部と前記第2のレンズ部とを一体化した単一のレンズであることを特徴とする請求項1乃至4いずれか1項に記載のレーザ光制御装置。
- 前記感光体と請求項1乃至5のいずれか1項に記載のレーザ光制御装置を備える画像形成装置。
Priority Applications (6)
| Application Number | Priority Date | Filing Date | Title |
|---|---|---|---|
| JP2007214744A JP5147331B2 (ja) | 2006-08-23 | 2007-08-21 | レーザ光制御装置及び画像形成装置 |
| EP07016480A EP1892806B1 (en) | 2006-08-23 | 2007-08-22 | Laser light control device for image forming apparatus, and image forming apparatus |
| US11/844,310 US7692678B2 (en) | 2006-08-23 | 2007-08-23 | Laser light control device for image forming apparatus, and image forming apparatus |
| CN2007101427447A CN101135876B (zh) | 2006-08-23 | 2007-08-23 | 用于图像形成设备的激光控制装置以及图像形成设备 |
| TW096131246A TWI367467B (en) | 2006-08-23 | 2007-08-23 | Laser light control device for image forming apparatus, and image forming apparatus |
| KR1020070085158A KR100934055B1 (ko) | 2006-08-23 | 2007-08-23 | 화상 형성 장치용의 레이저 광 제어 장치 및 화상 형성장치 |
Applications Claiming Priority (3)
| Application Number | Priority Date | Filing Date | Title |
|---|---|---|---|
| JP2006226726 | 2006-08-23 | ||
| JP2006226726 | 2006-08-23 | ||
| JP2007214744A JP5147331B2 (ja) | 2006-08-23 | 2007-08-21 | レーザ光制御装置及び画像形成装置 |
Publications (2)
| Publication Number | Publication Date |
|---|---|
| JP2008074098A JP2008074098A (ja) | 2008-04-03 |
| JP5147331B2 true JP5147331B2 (ja) | 2013-02-20 |
Family
ID=38626232
Family Applications (1)
| Application Number | Title | Priority Date | Filing Date |
|---|---|---|---|
| JP2007214744A Expired - Fee Related JP5147331B2 (ja) | 2006-08-23 | 2007-08-21 | レーザ光制御装置及び画像形成装置 |
Country Status (6)
| Country | Link |
|---|---|
| US (1) | US7692678B2 (ja) |
| EP (1) | EP1892806B1 (ja) |
| JP (1) | JP5147331B2 (ja) |
| KR (1) | KR100934055B1 (ja) |
| CN (1) | CN101135876B (ja) |
| TW (1) | TWI367467B (ja) |
Families Citing this family (14)
| Publication number | Priority date | Publication date | Assignee | Title |
|---|---|---|---|---|
| US7385128B2 (en) * | 2004-12-06 | 2008-06-10 | Tailgaitor, Inc. | Metronome with projected beat image |
| JP5147331B2 (ja) * | 2006-08-23 | 2013-02-20 | キヤノン株式会社 | レーザ光制御装置及び画像形成装置 |
| JP5338091B2 (ja) * | 2008-03-07 | 2013-11-13 | 株式会社リコー | 光走査装置および画像形成装置 |
| JP5053204B2 (ja) * | 2008-08-08 | 2012-10-17 | 株式会社リコー | 半導体集積回路装置、半導体集積回路装置を用いた光走査装置及び戻り光識別方法並びに光走査装置を用いた画像形成装置 |
| JP5678495B2 (ja) | 2010-07-06 | 2015-03-04 | 株式会社リコー | 光学装置および光学装置の制御方法、ならびに、画像形成装置 |
| JP5605042B2 (ja) * | 2010-07-15 | 2014-10-15 | 株式会社リコー | 半導体レーザ駆動装置およびその駆動装置を備えた画像形成装置 |
| JP5791269B2 (ja) * | 2010-12-14 | 2015-10-07 | キヤノン株式会社 | 画像形成装置 |
| JP6157091B2 (ja) * | 2011-12-08 | 2017-07-05 | キヤノン株式会社 | 画像形成装置 |
| JP5865280B2 (ja) * | 2013-02-28 | 2016-02-17 | 京セラドキュメントソリューションズ株式会社 | レーザー光制御装置及び画像形成装置 |
| JP6187276B2 (ja) * | 2014-01-20 | 2017-08-30 | ソニー株式会社 | 光源装置、及び画像表示装置 |
| JP6036755B2 (ja) * | 2014-07-09 | 2016-11-30 | コニカミノルタ株式会社 | 光書込み装置及び画像形成装置 |
| JP6965800B2 (ja) * | 2018-03-16 | 2021-11-10 | コニカミノルタ株式会社 | 光走査装置、およびそれを備えた画像形成装置 |
| CN110798589A (zh) * | 2019-10-22 | 2020-02-14 | 苏州凸现信息科技有限公司 | 一种基于办公自动化的智能工作扫描装置 |
| JP2024087228A (ja) * | 2022-12-19 | 2024-07-01 | キヤノン株式会社 | 光学走査装置及び画像形成装置 |
Family Cites Families (15)
| Publication number | Priority date | Publication date | Assignee | Title |
|---|---|---|---|---|
| JPS58143357A (ja) * | 1982-02-19 | 1983-08-25 | Fuji Xerox Co Ltd | 電子写真式プリンタ |
| US5210634A (en) | 1989-05-16 | 1993-05-11 | Asahi Kogaku Kogyo K.K. | Light beam scanner |
| JPH05215981A (ja) | 1992-02-05 | 1993-08-27 | Fuji Photo Optical Co Ltd | 光走査装置 |
| JPH09230259A (ja) * | 1996-01-25 | 1997-09-05 | Canon Inc | 複数ビーム書込装置 |
| JPH09321377A (ja) | 1996-05-27 | 1997-12-12 | Canon Inc | 半導体レーザの出射パワー調整方法および装置 |
| JPH1140875A (ja) * | 1997-07-15 | 1999-02-12 | Canon Inc | レーザ駆動回路、画像形成装置及び複写機 |
| JP2001150726A (ja) * | 1999-11-30 | 2001-06-05 | Ricoh Co Ltd | 光書込装置 |
| US6243126B1 (en) * | 2000-03-09 | 2001-06-05 | Toshiba Tec Kabushiki Kaisha | Image forming apparatus in which a laser beam is applied from a semiconductor laser to scan an image carrier, and method of controlling the apparatus |
| JP4220655B2 (ja) * | 2000-06-23 | 2009-02-04 | 株式会社リコー | レーザダイオード制御装置 |
| JP2002131664A (ja) * | 2000-10-25 | 2002-05-09 | Canon Inc | 光走査装置及びそれを用いた画像形成装置 |
| JP2003191520A (ja) * | 2001-12-25 | 2003-07-09 | Ricoh Co Ltd | 画像形成装置 |
| JP2004021171A (ja) * | 2002-06-20 | 2004-01-22 | Canon Inc | 光走査装置及びそれを用いた画像形成装置 |
| KR100555728B1 (ko) * | 2003-10-16 | 2006-03-03 | 삼성전자주식회사 | 레이저 스캐닝 유닛의 광파워 밸런스 조정방법 |
| JP4642627B2 (ja) | 2005-10-12 | 2011-03-02 | キヤノン株式会社 | 走査光学装置及びそれを用いた画像形成装置 |
| JP5147331B2 (ja) * | 2006-08-23 | 2013-02-20 | キヤノン株式会社 | レーザ光制御装置及び画像形成装置 |
-
2007
- 2007-08-21 JP JP2007214744A patent/JP5147331B2/ja not_active Expired - Fee Related
- 2007-08-22 EP EP07016480A patent/EP1892806B1/en not_active Ceased
- 2007-08-23 US US11/844,310 patent/US7692678B2/en not_active Expired - Fee Related
- 2007-08-23 CN CN2007101427447A patent/CN101135876B/zh not_active Expired - Fee Related
- 2007-08-23 TW TW096131246A patent/TWI367467B/zh not_active IP Right Cessation
- 2007-08-23 KR KR1020070085158A patent/KR100934055B1/ko not_active Expired - Fee Related
Also Published As
| Publication number | Publication date |
|---|---|
| JP2008074098A (ja) | 2008-04-03 |
| CN101135876A (zh) | 2008-03-05 |
| TW200826020A (en) | 2008-06-16 |
| KR20080018152A (ko) | 2008-02-27 |
| EP1892806A1 (en) | 2008-02-27 |
| US20080049797A1 (en) | 2008-02-28 |
| CN101135876B (zh) | 2011-05-18 |
| US7692678B2 (en) | 2010-04-06 |
| EP1892806B1 (en) | 2012-01-11 |
| KR100934055B1 (ko) | 2009-12-24 |
| TWI367467B (en) | 2012-07-01 |
Similar Documents
| Publication | Publication Date | Title |
|---|---|---|
| JP5147331B2 (ja) | レーザ光制御装置及び画像形成装置 | |
| US20060209372A1 (en) | Scanning device | |
| JPH09183249A (ja) | 光ビーム記録装置 | |
| US7995088B2 (en) | Optical scanning apparatus and image forming apparatus comprising the same | |
| JP4906081B2 (ja) | 光ビーム走査装置 | |
| JP2005156933A (ja) | 光走査装置 | |
| KR20120059356A (ko) | 광 주사장치 및 화상형성장치 | |
| JP2008310257A (ja) | 走査光学系、それを備える光走査装置及び画像形成装置 | |
| JP2008181103A (ja) | 光走査装置及びそれを備えた画像形成装置 | |
| JP2008304607A (ja) | 光走査装置及びそれを用いた画像形成装置 | |
| JP4655714B2 (ja) | 光走査装置 | |
| JP2013059906A (ja) | レーザ光出射装置、及び該レーザ光出射装置を備える画像形成装置 | |
| JP2001264668A (ja) | 光走査装置 | |
| JP5094170B2 (ja) | 画像形成装置 | |
| JPH05318817A (ja) | レーザプリンタ | |
| US8823761B2 (en) | Optical scanning device and image forming apparatus | |
| JPH0995008A (ja) | レーザビーム走査光学装置 | |
| JP2008058884A (ja) | 走査露光装置及びこれを備えた画像形成装置 | |
| JP5803396B2 (ja) | 光源装置、光走査装置及び画像形成装置 | |
| JP2001350114A (ja) | 光走査装置 | |
| JPH05328072A (ja) | レーザプリンタ | |
| JP2003191520A (ja) | 画像形成装置 | |
| JP3417188B2 (ja) | 画像形成装置 | |
| JPH09105876A (ja) | レーザ走査光学装置 | |
| JPH1142813A (ja) | 走査光学装置 |
Legal Events
| Date | Code | Title | Description |
|---|---|---|---|
| A621 | Written request for application examination |
Free format text: JAPANESE INTERMEDIATE CODE: A621 Effective date: 20100609 |
|
| A977 | Report on retrieval |
Free format text: JAPANESE INTERMEDIATE CODE: A971007 Effective date: 20120305 |
|
| A131 | Notification of reasons for refusal |
Free format text: JAPANESE INTERMEDIATE CODE: A131 Effective date: 20120313 |
|
| A521 | Written amendment |
Free format text: JAPANESE INTERMEDIATE CODE: A523 Effective date: 20120511 |
|
| TRDD | Decision of grant or rejection written | ||
| A01 | Written decision to grant a patent or to grant a registration (utility model) |
Free format text: JAPANESE INTERMEDIATE CODE: A01 Effective date: 20121029 |
|
| A61 | First payment of annual fees (during grant procedure) |
Free format text: JAPANESE INTERMEDIATE CODE: A61 Effective date: 20121127 |
|
| FPAY | Renewal fee payment (event date is renewal date of database) |
Free format text: PAYMENT UNTIL: 20151207 Year of fee payment: 3 |
|
| LAPS | Cancellation because of no payment of annual fees |
