JP4988397B2 - アームピースカバー - Google Patents

アームピースカバー Download PDF

Info

Publication number
JP4988397B2
JP4988397B2 JP2007074696A JP2007074696A JP4988397B2 JP 4988397 B2 JP4988397 B2 JP 4988397B2 JP 2007074696 A JP2007074696 A JP 2007074696A JP 2007074696 A JP2007074696 A JP 2007074696A JP 4988397 B2 JP4988397 B2 JP 4988397B2
Authority
JP
Japan
Prior art keywords
arm piece
arm
cover
retainer
piece cover
Prior art date
Legal status (The legal status is an assumption and is not a legal conclusion. Google has not performed a legal analysis and makes no representation as to the accuracy of the status listed.)
Expired - Fee Related
Application number
JP2007074696A
Other languages
English (en)
Other versions
JP2008230471A (ja
Inventor
和知 田中
Current Assignee (The listed assignees may be inaccurate. Google has not performed a legal analysis and makes no representation or warranty as to the accuracy of the list.)
Nippon Wiper Blade Co Ltd
Original Assignee
Nippon Wiper Blade Co Ltd
Priority date (The priority date is an assumption and is not a legal conclusion. Google has not performed a legal analysis and makes no representation as to the accuracy of the date listed.)
Filing date
Publication date
Application filed by Nippon Wiper Blade Co Ltd filed Critical Nippon Wiper Blade Co Ltd
Priority to JP2007074696A priority Critical patent/JP4988397B2/ja
Publication of JP2008230471A publication Critical patent/JP2008230471A/ja
Application granted granted Critical
Publication of JP4988397B2 publication Critical patent/JP4988397B2/ja
Expired - Fee Related legal-status Critical Current
Anticipated expiration legal-status Critical

Links

Images

Description

本発明は、ワイパーアームのアームピースに装着されるアームピースカバーに関する。
ワイパー装置に備えられるワイパーアームとしては、リテーナにアームピースを保持したものが知られている。図6、図7には、このようなワイパーアーム1を示す。図示されるように、ワイパーアーム1は、アームヘッド2と、アームヘッド2に回動可能に連結されたリテーナ3と、リテーナ3に保持されたアームピース4とから構成される。
このようなワイパーアーム1においては、アームピース4は、リテーナ3の先端3Bから前方に延び出すようになっている。このため、リテーナ3の先端3Bにおいて、リテーナ3とアームピース4の間には、リテーナ3の厚み分の段差が生じてしまい、この段差の存在は、ワイパーアーム1の外観を損ねていた。
本発明はこのような問題点に着目してなされたもので、ワイパーアームのアームピースに装着されるアームピースカバーであって、ワイパーアームの外観を向上させうるものを提供することを目的とする。
本発明は、アームピースをリテーナで保持するワイパーアームに用いられ、前記リテーナの先端に隣接して配置され、前記アームピースに装着され得るアームピースカバーにおいて、前記アームピースの上側に当接して配置可能な上面と、前記アームピースの下側に当接して配置可能な下面と、前記アームピースの一方の側部に当接して配置可能な第1の側面と、前記アームピースの他方の側部に当接して配置可能な第2の側面とを備え、前記上面と前記下面の間に第1の隙間を形成し、前記下面と前記第2の側面との間に前記第1の隙間から連なる第2の隙間を形成し、前記アームピースが、前記第1及び第2の隙間を通して、前記上面と下面の間及び前記第1と第2の側面の間にはめ込まれ得るようにした。
前記上面は、前記リテーナの先端に当接して配置可能であってもよい。
前記上面の厚みは、前記リテーナの上面と前記アームピースの上面の間の段差の大きさと略等しくしてもよい。
前記第一の側面の厚みは、前記リテーナの側面と前記アームピースの側面の間の段差の大きさと略等しくしてもよい。
前記第2の側面の前記下面と向き合う端辺を傾斜させてもよい。
前記下面又は前記上面に、前記アームピースに対する前記アームピースカバーの位置を固定するための位置決め手段を備えてもよい。
前記位置決め手段は、前記アームピースに設けられたダボ又はダボ孔に嵌合するダボ孔又はダボであってもよい。
前記アームピースカバーは、弾性部材で形成されていてもよい。
本発明によれば、アームピースカバー(例えばアームピースカバー10)は、上面(例えば上面11)と下面(例えば下面12)でアームピース(例えばアームピース4)を上下から挟持して保持し、第1の側面(例えば側面13)と第2の側面(例えば側面14)でアームピースを左右から挟持して保持するので、アームピースに対して脱落しにくく装着できる。また、第1の隙間(例えば隙間15)及び第2の隙間(例えば隙間16)内にアームピースをはめ込むことにより、アームピースカバーのアームピースへの装着がなされるので、装着作業は容易である。
また、上面の厚みを、リテーナ(例えばリテーナ3)の上面とアームピースの上面の間の段差の大きさと略等しくし、第1の側面の厚みを、リテーナの側面とアームピースの側面の間の段差の大きさと略等しくすれば、アームピースカバーとリテーナは、段差無くなだらかに連なるようにできるので、アームピースカバーの先端部(第1の側面13の延長部13A及び第2の側面13)のデザインを整えることにより、ワイパーアーム(例えばワイパーアーム1)全体を段差のない形状とすることができ、ワイパーアームの外観が向上する。
また、第2の側面の下面と向き合う端辺(例えば傾斜部14A)を傾斜させれば、第1の隙間と第2の隙間の作る角度を小さくできるので、第1の隙間及び第2の隙間にアームピースをはめ込み易くなり、アームピースカバーの装着が更に容易となる。
また、下面又は上面に、アームピースに対するアームピースカバーの位置を固定するための位置決め手段(例えばアームピース4のダボ4Bに嵌合するダボ孔12A)を備えれば、アームピースカバーは、アームピースに対して適切な位置に正しく配置されるとともに、アームピースカバーのアームピースからの脱落は、より確実に防止できる。
以下、添付図面を参照して本発明の各実施形態を説明する。
図1、図2には、本実施形態のワイパーアームピースを装着したワイパーアームの全体構成を示す。図示されるように、ワイパーアーム1は、アームヘッド2と、リテーナ3と、アームピース4とから構成される。
アームヘッド2は、ワイパーアーム1の基端側を構成する部分で、その基端は、リンク機構(図示せず)を介して駆動モータ(図示せず)に連結される連結部2Aとなっている。一方、アームヘッド2の先端部2Bには、リテーナ3の基端部3Aが回動可能に連結されている。
リテーナ3は、アームピース4の基端側を収容して保持する部材で、その先端部3Bからアームピース4の先端側が突出している。アームピース4は、ワイパーブレード(図示せず)と連結される部材で、先端にU字型のフック部4Aを備えている。このフック部4Aがワイパーブレードの装着部に係合することにより、ワイパーアーム1とワイパーブレードの連結がなされる。
アームピース4には、リテーナ3の先端3Bと隣接する位置に、アームピースカバー10が装着される。アームピースカバー10は、例えば樹脂等の弾性部材で形成されたものである。
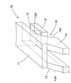
図3には、ワイパーアーム1のアームピースカバー10周辺部分を示す。また、図4には、アームピースカバー10を単体で示す。図示されるように、アームピースカバー10は、上面11と、下面12と、第1の側面13と、第2の側面14とから構成される。
上面11は、アームピースカバー10がアームピース4に装着されたときにアームピース4の上側に当接して配置される部分で、略長方形の板状の部分である。上面11の厚みは、アームピース4の上面とリテーナ3の上面との間の段差dと略等しくなっている。これにより、アームピースカバー10がアームピース4に装着されたときに、リテーナ3の上面とアームピースカバー10の上面11が、段差無くなだらかに連なるようになっている。
第1の側面13は、アームピースカバー10がアームピース4に装着されたときにアームピース4の一方の側部に当接して配置される部分で、上面11の一方の側部から下方に向けて略直角に延び出している。側面13の先端部(アームピース4への装着時にリテーナ3と反対側に配置される端部)は、上面11より前方に延び出す延長部13Aとなっている。延長部13の上面は、前方に向けてなだらかに傾斜した形状となっている。また、側面13の厚みは、アームピース4の側面とリテーナ3の側面との間の段差と略等しくなっている。これにより、アームピースカバー10がアームピース4に装着されたときに、リテーナ3の側面とアームピースカバー10の側面13は、段差無くなだらかに連なるようになっている。
下面12は、アームピースカバー10がアームピース4に装着されたときにアームピース4の下側に当接して配置される略長方形の板状の部分で、側面13の下端部から略直角に、上面11と同じ側に延び出している。下面12は、上面11と略同じ幅を有する一方で、その長さ(アームピース4の長手方向の幅)は、上面11の略半分程度となっており、アームピースカバー10の基端側(アームピース4への装着時にリテーナ3と当接して配置される側)に配置されている。また、下面12は、上面11との間にアームピース4をちょうど挟み込める空間が形成されるように、上面11からアームピース4の厚み程度の間隔をもって、上面11と平行に配置されている。これにより、アームピースカバー10の側部には、上面11と下面12の間の隙間15が形成されている。
下面12には、ダボ孔12Aが形成されている。図5に示すように、アームピース4の下面には、ダボ4Bが形成されている。アームピースカバー10がアームピース4に装着されたとき、下面12のダボ孔12Aに、アームピース4のダボ4Bが嵌合する。これにより、アームピースカバー10のアームピース4の長手方向への動きが制限され、アームピースカバー10の脱落が防止される。
図4に示すように、第2の側面14は、アームピースカバー10がアームピース4に装着されたときにアームピース4の側面13と当接する側面と反対側の側面に当接する部分であり、上面11の側面13と反対側の側部から下方に向けて略直角に延び出している。側面14は、略平行四辺形形状の板部材で、そのアームピース4の長手方向の幅は、上面11の半分以下となっており、上面11の前端付近から前方に向けて延び出している。これにより、下面11の前端と、側面14の後端辺である傾斜部14Aとの間に、アームピース4が挿入されうる隙間16が形成されている。また、側面14の上面11よりも前方に延び出した部分は、その上面が前方に向けてなだらかに傾斜した形状となっており、第1の側面の延長部13Aと、略左右対称となっている。
つぎに、本実施形態のアームピースカバー10のアームピース4への装着方法について説明する。アームピースカバー10のアームピース4への装着時には、アームピースカバー10の第2の側面14側を、アームピース4の一方の側部に向けて配置し、アームピースカバー10の隙間15及び隙間16にアームピース10を挿入していく。この場合、アームピースカバー10は、樹脂等の弾性部材で形成されているので、適度に変形して、アームピース4を隙間15及び隙間16内に導入していくことができる。また、側面14の傾斜部14Aは、前方に向けて傾斜しているので、隙間15と隙間16は小さな角度でなだらかに連なっており、アームピース4の挿入は、側面14との干渉により阻害されることなくスムーズに行える。
このようにアームピース4をアームピースカバー10の隙間15及び隙間16に対して挿入していくと、アームピース4は、側面14を乗り越えて行き、上下方向には上面11と下面12の間に、幅方向には側面13Aと側面14Aとの間に、それぞれ配置されて保持される。また、アームピース4のダボ4Bが、アームピースカバー10のダボ孔12Aに嵌合することにより、アームピース4の長手方向へのアームピースカバー10の位置決めがなされる。これにより、アームピースカバー10は、その上面11及び下面12の後端がリテーナ3の前端3Bに当接する位置に正しく配置され、リテーナ3とアームピースカバー10が段差無くなだらかに連なった状態となる。
以上のように、本実施形態のアームピースカバー10によれば、アームピースカバー10の上面11及び側面13の厚みが、リテーナ3とアームピース4の間の段差の大きさと略等しくなっているので、アームピースカバー10とリテーナ3は段差無くなだらかに連なるようにできる。さらに、第1の側面13の延長部13A及び第2の側面13の形状は、前方に向けてなだらかに傾斜した形状となっているので、ワイパーアーム1は全体として段差のない形状となる。よって、ワイパーアーム1の外観が向上する。
また、アームピースカバー10の装着は、アームピースカバー10の隙間15及び16にワイパーアーム4をはめ込むだけで行えるので、極めて容易である。
また、アームピースカバー10は、上面11及び下面12でアームピース4を上下から挟持して保持するとともに、側面13及び側面14でアームピース4を左右から挟持して保持するようになっているので、アームピースカバー10に対して脱落しにくい。さらに、アームピースカバー10の下面12Aに形成されたダボ孔12Aに、アームピース4のダボ4Bが嵌合するので、アームピースカバー10は、アームピース4に対して適切な位置に正しく配置されるとともに、アームピースカバー10のアームピース4からの脱落は、より確実に防止できる。
なお、上記実施形態では、アームピースカバー10の下面12Aにダボ孔12Aを設け、アームピース4の下面にダボ4Bを設けたが、本発明の範囲は、このような形態に限られない。例えば、アームピース10の下面12Aにダボを設け、アームピース4の下面にダボ孔を設けることも可能である。また、アームピース10の上面12Aにダボ又はダボ孔を設け、アームピース4の上面にダボ孔又はダボを設けるようにしても良い。さらに、アームピースカバー10とアームピース4間の位置決め手段は、ダボとダボ孔に限られず、アームピース4の長手方向へのアームピースカバー10の動きを規制しうる任意の構成が含まれる。
本発明の実施形態のアームピースカバーが装着されたワイパーアームを示す側面図である。 本発明の実施形態のアームピースカバーが装着されたワイパーアームを示す平面図である。 本発明の実施形態のアームピースカバーが装着されたワイパーアームのアームピースカバー周辺を示す斜視図である。 本発明の実施形態のアームピースカバーを示す斜視図である。 本発明の実施形態のアームピースカバーが装着されるワイパーアームの一部を示す側面図である。 従来のワイパーアームを示す側面図である。 従来のワイパーアームを示す平面図である。
符号の説明
1 ワイパーアーム
2 アームヘッド
3 リテーナ
3B リテーナの前端
4 アームピース
4B ダボ
10 アームピースカバー
11 上面
12 下面
12A ダボ孔
13 第1の側面
14 第2の側面
14A 傾斜部
15 隙間
16 隙間

Claims (8)

  1. アームピースをリテーナで保持するワイパーアームに用いられ、前記リテーナの先端に隣接して配置され、前記アームピースに装着され得るアームピースカバーにおいて、
    前記アームピースの上側に当接して配置可能な上面と、
    前記アームピースの下側に当接して配置可能な下面と、
    前記アームピースの一方の側部に当接して配置可能な第1の側面と、
    前記アームピースの他方の側部に当接して配置可能な第2の側面と
    を備え、
    前記上面と前記下面の間に第1の隙間を形成し、
    前記第2の側面は、前記下面と向き合う端辺を傾斜させた傾斜部を有しており、
    前記下面と前記第2の側面の傾斜部との間に前記第1の隙間から連なる第2の隙間を形成し、
    前記アームピースが、前記第1及び第2の隙間を通して、前記上面と下面の間及び前記第1と第2の側面の間にはめ込まれ得るようにしたアームピースカバー。
  2. 前記上面は、前記リテーナの先端に当接して配置可能である請求項1に記載のアームピースカバー。
  3. 前記上面の厚みは、前記リテーナの上面と前記アームピースの上面の間の段差の大きさと略等しくなっている請求項2に記載のアームピースカバー。
  4. 前記第の側面の厚みは、前記リテーナの側面と前記アームピースの側面の間の段差の大きさと略等しくなっている請求項2又は請求項3に記載のアームピースカバー。
  5. 前記下面又は前記上面に、前記アームピースに対する前記アームピースカバーの位置を固定するための位置決め手段を備えた請求項1から請求項4のいずれか1つに記載のアームピースカバー。
  6. 前記位置決め手段は、前記アームピースに設けられたダボ又はダボ孔に嵌合するダボ孔又はダボである請求項5に記載のアームピースカバー。
  7. 前記アームピースカバーは、弾性部材で形成されている請求項1から請求項6のいずれか1つに記載のアームピースカバー。
  8. 前記第1の側面と前記第2の側面は、略平行四辺形形状となっており、
    前記アームピースは、ワイパーブレードと連結される部材で、先端にU字型のフック部を備えており、
    前記アームピースが、前記第1及び第2の隙間を通して、前記上面と下面の間及び前記第1と第2の側面の間にはめ込まれたとき、前記アームピースの前記フック部は、前記アームピースカバーの前記上面、前記下面、前記第1の側面、及び第2の側面を超えて延びる請求項1から請求項7のいずれか1つに記載のアームピースカバー。
JP2007074696A 2007-03-22 2007-03-22 アームピースカバー Expired - Fee Related JP4988397B2 (ja)

Priority Applications (1)

Application Number Priority Date Filing Date Title
JP2007074696A JP4988397B2 (ja) 2007-03-22 2007-03-22 アームピースカバー

Applications Claiming Priority (1)

Application Number Priority Date Filing Date Title
JP2007074696A JP4988397B2 (ja) 2007-03-22 2007-03-22 アームピースカバー

Publications (2)

Publication Number Publication Date
JP2008230471A JP2008230471A (ja) 2008-10-02
JP4988397B2 true JP4988397B2 (ja) 2012-08-01

Family

ID=39903777

Family Applications (1)

Application Number Title Priority Date Filing Date
JP2007074696A Expired - Fee Related JP4988397B2 (ja) 2007-03-22 2007-03-22 アームピースカバー

Country Status (1)

Country Link
JP (1) JP4988397B2 (ja)

Families Citing this family (4)

* Cited by examiner, † Cited by third party
Publication number Priority date Publication date Assignee Title
JP4436393B2 (ja) 2007-09-11 2010-03-24 本田技研工業株式会社 ワイパー装置
JP7194653B2 (ja) * 2019-07-31 2022-12-22 株式会社ミツバ ワイパアームおよびその製造方法
JP7194652B2 (ja) * 2019-07-31 2022-12-22 株式会社ミツバ ワイパアーム
US11731589B2 (en) 2019-07-31 2023-08-22 Mitsuba Corporation Wiper arm and method of manufacturing same

Family Cites Families (4)

* Cited by examiner, † Cited by third party
Publication number Priority date Publication date Assignee Title
JP4091493B2 (ja) * 2003-07-08 2008-05-28 アスモ株式会社 連結装置、及びワイパブレード
JP2007008279A (ja) * 2005-06-29 2007-01-18 Mitsuba Corp ワイパ装置
JP2007276669A (ja) * 2006-04-07 2007-10-25 Asmo Co Ltd 車両用ワイパ及びカバー部材
JP4922788B2 (ja) * 2007-02-28 2012-04-25 株式会社ミツバ ワイパ装置

Also Published As

Publication number Publication date
JP2008230471A (ja) 2008-10-02

Similar Documents

Publication Publication Date Title
JP4988397B2 (ja) アームピースカバー
JP2010019364A (ja) ディスクブレーキ装置用パッドクリップ
JP2015012151A (ja) シールドケース把持部材
JP4405780B2 (ja) マスクの紐長さ調整部材
JP2021077599A5 (ja)
JP4195438B2 (ja) コネクタ
KR101248050B1 (ko) 내장형 중심 스트립을 갖는 슬라이더 니들
JP4577285B2 (ja) 直動案内装置の仮軸
JP4144266B2 (ja) キャブステーストッパ
JP3806586B2 (ja) 半導体レーザ装置
JP2006329378A (ja) ブレードテンショナ
CN103039135B (zh) 印刷基板保持装置
WO2020096005A1 (ja) 固定具
JP2011079139A (ja) クリップ
WO2008065770A1 (fr) Support de câble électrique
JP5323227B2 (ja) ディスクブレーキ装置用パッドクリップ
JP2008303935A (ja) 隙間調整用シム
JP4853766B2 (ja) 電子鍵盤楽器の鍵ガイド構造
JP6604252B2 (ja) カバー部材、ハードディスクユニットおよびカバー部材形成方法
JP4893461B2 (ja) 電子機器の保護板
JP4148963B2 (ja) 半導体レーザ装置
JP5195411B2 (ja) コネクター固定具
JP5606287B2 (ja) 素子の取付構造
JP6532782B2 (ja) マグネットキャッチ
JP4430471B2 (ja) 部品取り付け構造

Legal Events

Date Code Title Description
A621 Written request for application examination

Free format text: JAPANESE INTERMEDIATE CODE: A621

Effective date: 20100323

RD04 Notification of resignation of power of attorney

Free format text: JAPANESE INTERMEDIATE CODE: A7424

Effective date: 20110912

A977 Report on retrieval

Free format text: JAPANESE INTERMEDIATE CODE: A971007

Effective date: 20111215

A131 Notification of reasons for refusal

Free format text: JAPANESE INTERMEDIATE CODE: A131

Effective date: 20120112

A521 Request for written amendment filed

Free format text: JAPANESE INTERMEDIATE CODE: A523

Effective date: 20120307

TRDD Decision of grant or rejection written
A01 Written decision to grant a patent or to grant a registration (utility model)

Free format text: JAPANESE INTERMEDIATE CODE: A01

Effective date: 20120328

A01 Written decision to grant a patent or to grant a registration (utility model)

Free format text: JAPANESE INTERMEDIATE CODE: A01

A61 First payment of annual fees (during grant procedure)

Free format text: JAPANESE INTERMEDIATE CODE: A61

Effective date: 20120426

R150 Certificate of patent or registration of utility model

Ref document number: 4988397

Country of ref document: JP

Free format text: JAPANESE INTERMEDIATE CODE: R150

Free format text: JAPANESE INTERMEDIATE CODE: R150

FPAY Renewal fee payment (event date is renewal date of database)

Free format text: PAYMENT UNTIL: 20150511

Year of fee payment: 3

R250 Receipt of annual fees

Free format text: JAPANESE INTERMEDIATE CODE: R250

R250 Receipt of annual fees

Free format text: JAPANESE INTERMEDIATE CODE: R250

R250 Receipt of annual fees

Free format text: JAPANESE INTERMEDIATE CODE: R250

R250 Receipt of annual fees

Free format text: JAPANESE INTERMEDIATE CODE: R250

R250 Receipt of annual fees

Free format text: JAPANESE INTERMEDIATE CODE: R250

S531 Written request for registration of change of domicile

Free format text: JAPANESE INTERMEDIATE CODE: R313531

S533 Written request for registration of change of name

Free format text: JAPANESE INTERMEDIATE CODE: R313533

R350 Written notification of registration of transfer

Free format text: JAPANESE INTERMEDIATE CODE: R350

R250 Receipt of annual fees

Free format text: JAPANESE INTERMEDIATE CODE: R250

LAPS Cancellation because of no payment of annual fees